Физико-химические методы исследования нефтяного шлама

  • Вид работы:
    Курсовая работа (т)
  • Предмет:
    Химия
  • Язык:
    Русский
    ,
    Формат файла:
    MS Word
    117,22 Кб
  • Опубликовано:
    2012-11-06
Вы можете узнать стоимость помощи в написании студенческой работы.
Помощь в написании работы, которую точно примут!

Физико-химические методы исследования нефтяного шлама

МИНИСТЕРСТВО ОБРАЗОВАНИЯ И НАУКИ РЕСПУБЛИКИ КАЗАХСТАН

Западно-Казахстанский аграрно-технический университет имени Жангир хана

Кафедра «Химия и химическая технология»








КУРСОВАЯ РАБОТА

по дисциплине «Химия и физика органических веществ»

Тема: Физико-химические методы исследования нефтяного шлама


Подготовил(а): студент Зулкашева Г.М.

Группа ХТОВ курс 3

Проверила: ст. преп. Бегалиева Р.С.




Уральск, 2012

Содержание

Аннотация

Нормативные ссылки

Введение

. Нефтяные шламы

.1 Виды нефтяных шламов

.2 Образование нефтяных шламов

.3 Переработка нефтяных шламов

.4 Удаление нефтяного шлама из резервуаров

.5 Система предварительной обработки шлама

.6 Химическая дозирующая система

.7 Трёхфазный горизонтальный декантатор

.8 Способ обработки и утилизации нефтяных шламов

. Методика определения

.1 Методы определения содержания воды в нефтяном шламе

.1.1 Проба на потрескивание

.1.2 Определение содержания воды по методу Дина и Старка

.1.3 Определение содержания воды по методу Фишера

.2 Механические примеси в нефтях и нефтепродуктах

.2.1 Определение механических примесей весовым методом

2.3 Выделение и определение ароматических углеводородов

.3.1 Определение содержания ароматических углеводородов весовым методом

2.4 Определение вязкости

.4.1 Определение кинематической вязкости

2.4.2 Определение условной вязкости

3. Экспериментальная часть

.1 Определение содержания воды в нефтяном шламе методом потрескивания

.2 Определение механических примесей весовым методом

.3 Определение содержания ароматических углеводородов весовым методом

.4 Определение кинематической вязкости

Заключение

Список использованной литературы

Аннотация

Данная курсовая работа на тему: «Физико-химические методы исследования нефтяного шлама» выполнена согласно заданию и состоит из следующих разделов: введения, литературного обзора, экспериментальной части, заключения и списка использованной литературы.

В литературном обзоре анализированы данные по нахождению, образованию, удалению и переработке нефтяного шлама по отечественным и зарубежным литературным источникам. В экспериментальной части с помощью лабораторных исследований определены состав и свойства анализируемого нефтяного шлама.

Данная курсовая работа содержит …. страниц, 2 таблицы, 4 рисунка.

Нормативные ссылки

ГОСТ 12.1.005-88 ССБТ. Общие санитарно-гигиенические требования к воздуху рабочей зоны.

ГОСТ 12.2.033-88 ССБТ. Рабочее место при выполнении работ стоя. Общие эргономические требования.

ГОСТ 33-2000. Нефтепродукты. Прозрачные и непрозрачные жидкости. Определение кинематической вязкости и расчет динамической вязкости.

ГОСТ 2477-65. Нефтепродукты. Метод определения содержания воды.

ГОСТ 2517-95. Нефть и нефтепродукты. Методы отбора проб. Определение кинематической вязкости и расчет динамической вязкости.

ГОСТ 6370-93. Нефть, нефтепродукты и присадки. Метод определения механических примесей.

ГОСТ 12329-77. Нефтепродукты и углеводородные растворители. Метод определения анилиновой точки и ароматических углеводородов.

Введение

При добыче, транспортировке и переработке нефти происходит образование и накопление нефтяных шламов. В самом общем виде все нефтяные шламы могут быть разделены на три основные группы в соответствии с условиями их образования: грунтовые, придонные и резервуарного типа. Первые образуются в результате проливов нефтепродуктов на почву в процессе производственных операций, либо при аварийных ситуациях. Придонные шламы образуются за счет оседания нефтяных разливов на дно водоемов, а нефтяные шламы резервуарного типа - при хранении и перевозке нефтепродуктов в емкостях разной конструкции.

В наиболее упрощенном виде нефтяные шламы представляют собой многокомпонентные устойчивые агрегативные физико-химические системы, состоящие главным образом, из нефтепродуктов, воды и минеральных добавок (песок, глина, окислы металлов). Главной причиной образования нефтяных шламов является физико-химическое взаимодействие нефтепродуктов в объеме конкретного нефте-приемного устройства с влагой, кислородом воздуха и механическими примесями. В результате таких процессов происходит частичное окисление исходных нефтепродуктов с образованием смолоподобных соединений. Попадание в объем нефтепродукта влаги и механических загрязнений приводит к образованию водно-масляных эмульсий и минеральных дисперсий. Поскольку любой шлам образуется в результате взаимодействия с конкретной по своим условиям окружающей средой и в течение определенного промежутка времени, одинаковых по составу и физико-химическим характеристикам шламов в природе не бывает [1].

Актуальность темы. Производственная деятельность нефтеперерабатывающих и нефтегазодобывающих предприятий неизбежно оказывает техногенное воздействие на объекты природной среды, поэтому вопросы охраны окружающей среды и рационального использования природных ресурсов имеют важное значение. Одним из наиболее опасных загрязнителей практически всех компонентов природной среды, поверхностных и подземных вод, почвенно-растительного покрова, атмосферного воздуха являются нефтешламы.

В настоящее время перестройка структуры производства НПЗ направлена

в сторону развития безотходных природоохранных технологий, приоритет в финансировании получают проекты, в соответствии с которыми минимизируется количество нефтеотходов, или они повторно и с выгодой используются. Поэтому известные на сегодняшний день практические разработки по технологии утилизации нефтяных шламов, как отечественных, так и зарубежных фирм, в основном направлены на выделение и утилизацию нефти и нефтепродуктов. Оставшаяся после этого сточная вода и твёрдая или полужидкая масса, насыщенная химреагентами и углеводородами, практически не утилизируются, хотя по токсичности являются более опасными для окружающей среды.

Поэтому только комплексная переработка и использование отходов в качестве вторичного сырья обеспечивают сохранение природных ресурсов. При этом резко снижается уровень загрязнения окружающей среды.

Цель исследования - физико-химическими методами исследовать нефтяной шлам в лабораторных условиях.

Задачи - определить и установить физико-химические характеристики анализируемого нефтяного шлама ниже перечисленными способами:

понять типы и сущность происхождения нефтяного шлама, изучить методы его обработки и утилизации.

предложить методы определения физико-химического состава нефтяного шлама.

в лабораторных условиях определить и рассчитать качественный и количественный состав нефтяного шлама.

Объектом исследования являются нефтяные шламы, накапливаемые в амбарах, которые представляют собой сложную многофазную гетерогенную среду из смеси окисленных углеводородов (смол, асфальтенов, парафина), песка, растительного слоя земли, воды, солей, различных химических реагентов, использованных в процессах добычи, сбора и подготовки товарной нефти. Накопление и хранение нефтесодержащих шламов в амбарах происходит в течение многих лет. Они занимают существенные площади земли, создают серьезную угрозу окружающей среде, так как проникают в почву, попадают в источники воды, испаряются в атмосферу и являются причиной потери значительного количества углеводородного сырья.

нефтяной шлам углеводород примесь

1. Нефтяные шламы

Нефтяные шламы - это устойчивые многокомпонентные агрегатные физико-химические системы, состоящие из нефтепродуктов, минеральных примесей и воды. Причина возникновения нефтяных шламов, это физико-химическое взаимодействие нефти или нефтепродуктов с кислородом, влагой и механическими примесями, в отдельно взятой среде.


В процессе производственной деятельности при добыче, переработки нефти - сырца, транспортировке образуются нефтяные шламы. В результате взаимодействия с условиями окружающей среды образуется любой шлам и в течение какого-либо промежутка времени одинаковых по физико-химическим характеристикам и составам в природе шламов не бывает.

При многообразии нефтяных отходов (в обобщенном виде) нефтяные шламы могут быть подразделены на три группы согласно условиям их образования:

- Грунтовые (образуются в случаях пролива нефтепродуктов и сырой нефти на почву в процессе производства или аварийных ситуациях).

- Придонные (образуются при оседании разливов нефти на дне водоема).

Резервуарного типа (образуются при перевозке нефтепродуктов и хранения в емкостях различной конструкции).

- Нефтяные шламы, которые образуются в процессе добычи нефти, являются отдельной группой. Выходящая на поверхность земли из нефтяного пласта (так называемая «дневная поверхность») нефть содержит воду, взвешенные частицы горных пород, растворенные в ней газы и соли. Сырой нефтью называют - нефть, получаемую непосредственно из скважин, которая транспортируется сразу в ближайшие центры переработки нефти. Однако добываемая нефть, в большинстве случаев, проходит промысловую подготовку, зачастую она предназначена для экспорта или для транспортировки на нефтеперерабатывающие заводы, находящиеся в отдаленных от места добычи районах. Все эти примеси вызывают серьезные затруднения при перевозке и переработке нефтяного сырья, коррозию оборудования. Перед транспортированием сырая нефть проходит этап подготовки: из нее удаляется большое количество механических примесей, вода, выпавшие твердые углероды и соли. Впоследствии вода снова закачивается в нефтяной пласт для поддержания давления, а механические примеси с нефтью превращаются в нефтяной шлам [2].

Углеводородный (нефтяной) компонент нефтяных шламов может быть представлен различными соединениями, которые в результате длительного хранения, под действием природных сил, могут преобразовываться в другие соединения за счет процессов конденсации, полимеризации, изомеризации.

.2 Образование нефтяных шламов

В результате физико-химического взаимодействия нефтяных продуктов в объеме нефтеприемного устройства с влагой, механическими примесями, кислородом воздуха и с материалом резервуарных стенок происходит образование так называемых резервуарных нефтешламов. В результате данных процессов происходит окисление нефтепродуктов и приводит к образованию смолоподобных соединений и коррозии (ржавления) стенок резервуара [7].

В результате исследований соотношение нефтепродуктов в нефтяных шламах резервуарного типа, механических примесей (частицы глины, ржавчины, песка и т.д.) и воды происходит колебание в пределах 5-90% составляют углеводороды, 1-52% - вода, 0,8-65% твердые примеси. Изменение составов нефтяных шламов как и шкала изменения их физико-химических характеристик обширны. Плотность нефтяных шламов в пределах 830-1700 кг/м3, а температура застывания от -3 єС до +80 єС, t вспышки от 35є С до 120 єС. Образование эмульсий типа вода-масло происходит при попадании воды в нефтяные продукты, из-за стабилизации содержания в нефтепродуктах природных стабилизаторов: асфальтенов, парафинов и смол.

Верхний слой нефтяного шлама - это обводненный нефтяной продукт, содержащий до 5% тонкодисперсных примесей, и принадлежит к категории эмульсий «вода в масле». Данный слой содержит 70-80% масел, 7-20% смол, 6-25% асфальтенов, 1-4% парафинов, содержание воды не более 5-8%. Органическая часть недавно образованного верхнего слоя нефтяного шлама по свойствам и составу сходна с хранящимися в резервуарах исходными нефтепродуктами. Данная ситуация типична в расходных резервуарах АЗС.

Небольшой по объему слой, так называемый средний, представляет эмульсию типа «масла в воде». Он содержит 1,5-15% механических примесей и 70-80% воды.

Последующий слой образован отстоявшейся минерализованной водой, плотность которой 1,01-1,19 г/см3.

Придонный слой (донный ил) является твердой фазой, которая включает в себя органики до 45%, твердые механические примеси 52-88%, окислы железа. Донный ил это гидратированная масса, которая содержит до 25% воды [3].

Нефтяные шламы резервуарного происхождения по составу и свойствам принадлежат разным типам, поэтому, в процессе переработки шламов и зачистки применяются различные технологические приемы. Это зависит от физико-механических характеристик нефтяных шламов. Основная часть их состоит из вязких жидкостей с высоким процентом содержания органики и воды и небольшой процент механических примесей. С помощью разнообразных насосов данные шламы легко эвакуируются из отстойников и резервуаров в сборные емкости. По стенкам емкостей образуются, как правило, гелеобразные системы. В случаях, когда внутренние резервуарные покрытия не обладают коррозионностойкой и топливной защитой, в них очень легко образуются нефтяные шламы [4].

.3 Переработка нефтяных шламов

Во время добычи, перевозки и переработки нефти, некоторая ее часть

входит в физико-химическую реакцию с соприкасающейся средой, образуя нефтяные шламы.

Переработка нефтяных шламов на данный момент является необходимым процессом, так как в ходе переработки нефтяного шлама удается восстановить некую часть утраченного нефтепродукта. Нефтяные шламы различают трех видов:

Природные. Природными нефтяными шламами называют вещество, которое появляется впоследствии оседания нефти на дно, каких либо водоемов и смешиванием ее с мулом и водой.

Грунтовые. Грунтовые нефтяные шламы появляются впоследствии пролива нефти на землю.

Резервуарные. Во время хранения нефть вступает в химическую реакцию с поверхностью резервуара, тем самым создавая нефтяной шлам, который называют резервуарным [5].

1.4 Удаление нефтяного шлама из резервуаров

Для зачистки резервуаров используется высокопроизводительное разборное устройство - трактор для компактного сбора и разжижения отложений со дна резервуара. Устройство представляет собой миниатюрный разборный бульдозер-экскаватор с гидравлическим приводом и винтовым насосом для перекачки отложений, разжижаемых с помощью установленных перед входом в насос специальных насадок, на их дальнейшую обработку и фазоразделение. Трактор вносится в резервуар по частям через люк (510 мм) и собирается внутри. Трудозатраты на сборку - от 3 до 4 человеко-часов. Наиболее тяжелая часть механизма весит около 30 кг. На предварительной стадии работ имеющаяся жидкая фаза откачивается дополнительным насосом, входящим в состав комплекса. После максимального удаления жидкой фазы из резервуара начинается его очистка от тяжелых «донных» шламов-осадков (парафинов, асфальтенов, слежавшейся грязи и посторонних предметов) мини-бульдозером на траках с циркуляционным разжижением осадка. Снятие донных отложений проводится до появления поверхности, не загрязненной нефтепродуктами.

Также имеются дополнительное навесное оборудование: погрузочный ковш и ковш со шнековым механизмом. Бульдозер удовлетворяет требованиям безопасности для работ в таких условиях, его гидропривод питается от внешнего гидравлического блока питания. Одна из частей составного трубопровода от блока питания включает дыхательный воздухопровод для оператора [6].

.5 Система предварительной обработки шлама

После того, как нефтяные шлам вынут из накопителей, в работу подключается установка предварительной обработки для удаления любого тяжелого материала, как например камни и др. Система позволяет безопасно и эффективно нагревать, перемешивать, циркулировать и осветлять шлам. Благодаря использованию паровых змеевиков, нефтяной шлам можно безопасно нагревать до необходимой температуры для получения оптимальной сепарации в декантере. Миксеры с двойной крышей позволяют перемешивать нефтяной шлам для фильтрации любых твёрдых веществ, предотвратить образование осадка и гарантировать, что нефть будет обработана. Для дальнейшего улучшения эффективности, для шлама, которому необходим дополнительный нагрев для получения хорошего качества сепарации, может быть задействован теплообменник. Это даёт возможность увеличить нагрев, когда необходимо, без задержек в производстве.

Теплообменник устанавливается в системе рециркуляции около установки первичной обработки. Когда шлам нагрет и гомогенизирован, он закачивается при контролируемой скорости в трёхфазный горизонтальный декантатор через смесительный трубопровод и химическую дозирующую систему [7].

1.6 Химическая дозирующая система

Химические флокуливующие средства также подаются в центрифугированный сырьевой трубопровод через смесительный трубопровод. Это позволяет хорошо перемешивать шлам с химическими агентами. Химическая дозирующая система позволяет перемешивать порошкообразные химикаты и добавлять их в различных контролируемых количествах. Дозировочные резервуары установлены со смесительными мешалками для перемешивания сухих порошкообразных флокуливующих агентов с водой. Дозирующая система состоит из двух резервуаров, так как для должного перемешивания порошка и воды требуется время. Для корректной работы флокуливующие средства необходимо перемешивать не менее часа. Пока один резервуар перемешивает, другой питает пульпопровод декантатора. Размер резервуаров сконструирован таким образом, чтобы опустошаться как раз за час, за это время, закрывая один клапан, открывается другой и питание может быть переключено на полный резервуар, где флокуливующие агенты основательно перемешаны.

.7 Трёхфазный горизонтальный декантатор

Статичная декантация это процесс, в котором взвешенные твёрдые вещества в жидкости в контейнере отделяются. Сила центрифугирования усиливает данный процесс. Удельная масса продукта определяет выход из центрифуги. Центрифуга состоит из двух принципиальных элементов: вращающейся чаши - отстойника и винтового конвейера, который подводит твёрдые вещества, которые были отделены в центрифуге, к выходным отверстиям. Декантатор позволяет разделять нефтяной шлам на три фазы: воду, нефть и твёрдые вещества, которые более приемлемы с точки зрения экологии, нежели традиционные двухфазные системы, которые отделяют только твёрдые вещества и жидкость (нефтяную суспензию), которую приходится вторично перерабатывать. Объём отходов значительно сокращается и, затем, может быть безопасно использован.

.8 Способ обработки и утилизации нефтяных шламов

Наибольшей проблемой, связанной с очисткой сточных вод нефтеперерабатывающих предприятий, является проблема утилизации тяжелых нефтяных шламов, оседающих на дне иловых площадок и шламо-накопителях, а также образующегося после центрифугирования, легких фракций - кека. В связи с этим был разработан способ обработки и утилизации нефтяных шламов, согласно которому исходный продукт в зависимости от своего состава подвергается следующим видам обработки: центрифугирование, экстракция, выделение тяжелых металлов электролитическим методом, компостирование или изготовление гидроизоляционных материалов, утилизация на полигонах твердых бытовых отходов [8].

В первом разделе курсовой работы определяются сущность нефтяного шлама, причины и источники образования нефтяных шламов на нефтеперерабатывающих заводах, приводятся данные по их количеству и компонентному составу, приведены методы по переработки и предварительной обработки нефтяных шламов, методы по удалению нефтяных шламов из резервуаров, производится анализ современных методов утилизации нефтешламов.

2. Методики исследования нефтяного шлама

.1 Методы определения содержания воды в нефтяном шламе

Методы определения воды в нефти и нефтепродуктах могут быть разбиты на две группы: качественные и количественные.

Качественные испытания позволяют определять не только эмульсионную, но и растворенную воду. К этим методам относятся пробы на прозрачность, Клиффорда, на потрескивание и на реактивную бумагу. Первые два из этих методов используют для определения воды в прозрачных нефтепродуктах. Наиболее часто применяемым методом качественного определения воды является проба на потрескивание.

Для количественного определения воды в нефти и нефтепродуктах можно использовать различные их свойства, функционально связанные с содержанием в них воды: плотность, вязкость, поверхностное натяжение, диэлектрическую проницаемость, электропроводимость, теплопроводность и т.д. Заранее рассчитать вид функции, как правило, невозможно из-за неаддитивного вклада воды в измеряемый параметр. Не аддитивность обусловлена химическим взаимодействием молекул воды и вещества. По этой причине математическую зависимость обычно находят, используя экспериментальные данные.

Другая группа методов основана на использовании химических и физико-химических свойств самой воды. К ним, например, относятся метод титрования реактивом Фишера, гидрид кальциевый.

Существующие количественные методы определения воды в жидких продуктах, кроме того, делят на прямые и косвенные. К прямым методам относят: метод Дина и Старка, титрование реактивом Фишера, гидрид кальциевый метод и центрифугирование, к косвенным: диэлькометрический, ИК - спектрофотометрический, кондуктометрический, колориметрический и другие [9].

.1.1 Проба на потрескивание

Цель работы: качественное определение воды в нефти

Приборы: пробирка диаметром 10-15 и высотой 120-150 мм, термометр, термостат.

Ход определения

При нагревании нефти или нефтепродукта до 150 °С содержащаяся в них вода вскипает и образует пену, вызывая треск и помутнение продукта. По этим признакам делают заключение о наличии или отсутствии воды в продукте.

В стеклянную пробирку диаметром 10 - 15 и высотой 120 - 150 мм наливают испытуемый продукт до высоты 80 - 90 мм. Пробирку закрывают пробкой, снабженной термометром и имеющей отверстие для прохождения образующихся паров. Шарик термометра должен находиться на расстоянии 20 - 30 мм от дна пробирки. Пробирку с испытуемым продуктом вставляют вертикально в термостат (в соответствии с рисунком 1), нагретый до 170 °С, и наблюдают за ней в течение нескольких минут, пока температура в пробирке не достигнет 150 °С. При наличии в продукте влаги он начинает пениться, слышится треск. Наличие влаги считается установленным, если явственный треск слышен не менее двух раз.

Рисунок 1 - Прибор для определения влаги пробой на потрескивание

Если при первом испытании наблюдались только однократный треск и вспенивание, или малозаметный треск и вспенивание, или только вспенивание, то опыт повторяют. Наличие влаги в испытуемом продукте считается установленным, если при повторном испытании обнаруживается, хотя бы однократный треск и вспенивание.

2.1.2 Определение содержания воды по методу Дина и Старка

Цель работы: Количественное определение содержания воды в нефти и нефтепродукте методом азеотропной перегонки.

Это наиболее распространенный и достаточно точный метод определения количественного содержания воды в нефтях и нефтепродуктах. Он основан на азеотропной перегонке пробы нефти или нефтепродукта с растворителями и применяется: во многих странах. В нашей стране определение воды по этому методу проводят по ГОСТ 2477-65.

Приборы, лабораторная посуда, реактивы, материалы: колбо нагреватель или электроплитка, приемник-ловушка, обратный холодильник, колба круглодонная вместимостью 0,5 л, мерный цилиндр на 1 л, бензин марки БР-1, кипелки (кусочки пемзы, фарфора, стеклянных капиллярных трубок).

Ход определения

Подготовка к анализу. По этому методу в качестве растворителя используют бензин-растворитель для резиновой промышленности марки БР-1, выкипающий при 80 - 120 °С и содержащий не более 3% ароматических углеводородов. Пробу нефти тщательно перемешивают встряхиванием в склянке в течение 5 мин. Высоковязкие нефти и нефтепродукты предварительно нагревают до 40 - 50 °С. Из перемешанной пробы нефти или нефтепродукта берут навеску 100 г в чистую сухую, предварительно взвешенную стеклянную колбу 1 (в соответствии с рисунком 2). Затем в колбу 1 приливают 100 мл растворителя и содержимое перемешивают. Маловязкие нефтепродукты допускается брать в колбу по объему. В этом случае мерным цилиндром отмеряют 100 мл испытуемого нефтепродукта и выливают в колбу 1. Затем этим же цилиндром отмеряют 100 мл растворителя и так же выливают в колбу. Для равномерного кипения в колбу бросают несколько стеклянных капилляров или несколько кусочков пемзы или фарфора. Колбу при помощи шлифа присоединяют к отводной трубке приемника-ловушки 2, а к верхней части приемника-ловушки на шлифе присоединяют холодильник 3. Приемник-ловушка и холодильник должны быть чистыми и сухими. Во избежание конденсации паров воды из воздуха верхний конец холодильника необходимо закрыть ватой [10].

Проведение анализа. Содержимое колбы нагревают с помощью колбонагревателя или на электрической плитке. Перегонку ведут так, чтобы из трубки холодильника в приемник-ловушку падали 2-4 капли в секунду. Нагрев прекращают после того, как объем воды в приемнике-ловушке перестанет увеличиваться и верхний слой растворителя станет совершенно прозрачным. Продолжительность перегонки должна быть не менее 30 и не более 60 мин. Если на стенках трубки холодильника имеются капельки воды, то их сталкивают в приемник-ловушку стеклянной палочкой. После охлаждения испытуемого продукта до комнатной температуры прибор разбирают. Если количество воды в приемнике-ловушке не более 0,3 мл и растворитель мутный, то приемник помещают на 20 - 30 мин в горячую воду для осветления и снова охлаждают до комнатной температуры. После охлаждения определяют объем воды в приемнике-ловушке с точностью до одного верхнего деления.

Массовую долю воды X, %, рассчитывают по формуле:

=100V/G,

где V - объем воды, собравшейся в приемнике-ловушке мл;- навеска нефти или нефтепродукта, взятая для испытания, г.

Количество воды в приемнике-ловушке 0,03 мл и меньше считается следами.

Расхождение между двумя параллельными определениями содержания воды не должны превышать одного верхнего деления занимаемой водой части приемника-ловушки.

1 - круглодонная колба; 2 - приемник-ловушка; 3 - холодильник

Рисунок 2 - Прибор Дина и Старка

.1.3 Определение содержания воды по методу Фишера

Цель работы: Количественное определение содержания воды в нефти и нефтепродукте методом взаимодействия реагентов в присутствии воды.

Метод основан на взаимодействии йода с сернистым ангидридом в присутствии воды в среде метанола или метилцеллозольва и пиридина. Определение воды проводят в соответствии с ГОСТ 24629 - 81.

Реактив Фишера представляет собой раствор обезвоженного метанола или метилцеллозольва, йода и пиридина, насыщенный сухим сернистым ангидридом при температуре не выше 20 °С.

Ход определения

Подготовка к испытанию. Для проведения анализа собирают прибор (в соответствии с рисунком 3) и определяют титр реактива Фишера в соответствии с ГОСТ 24629-81.

Массу навески анализируемого нефтепродукта берут из такого расчета, чтобы на титрование расходовалось 3 - 8 мл реактива Фишера. В качестве растворителя используют метиловый спирт.

Проведение испытания. В стакан для титрования вводит обезвоженный метанол в объеме, необходимом для погружения платиновых электродов, и оттитровывают реактивом Фишера воду, содержащуюся в обезвоженном метиловом спирте, а также адсорбированную стенками колбы и электродами.

Рисунок 3 - Схема установки для определения воды по методу Фишера

В начале титрования реактив Фишера подают по каплям со скоростью одна капля в секунду. При этом стрелка микроамперметра незначительно отклоняется от нулевого деления.

Когда стрелка начнет сильно колебаться, реактив Фишера добавляют со скоростью одна капля за 5 с, а при приближении к точке эквивалентности - со скоростью одна капля за 10 с.

Титрование проводят до тех пор, пока стрелка микроамперметра не установится на определенном делении шкалы и не продержится на этом делении в течение 30 с. Такое положение стрелки свидетельствует о конце титрования.

После этого в оттитрованную смесь вносят взвешенную массу или отмеренный объем анализируемого продукта и снова титруют реактивом Фишера до эквивалентной точки.

Одновременно проводят контрольный опыт определения воды в растворителе, взятом для растворения нефтепродукта.

При обнаружении воды в растворителе в результаты определения вносят поправку [11].

Массовую долю воды X, %, вычисляют по формуле:

Х=ТV1 /V2р·10,

где Т - титр реактива Фишера, мг/см3; V1 - объем реактива Фишера, израсходованный на титрование анализируемого продукта, мл; V2 - объем анализируемого продукта, мл; р - плотность анализируемого продукта, г/см3. За результат анализа принимают среднее арифметическое двух параллельных определений.

.2 Механические примеси в нефтях и нефтепродуктах

Механические примеси содержатся в сырой нефти в виде песка, глинистых минералов и различных солей, которые находятся во взвешенном состоянии. При исследованиях нефтей большое содержание механических примесей может в значительной степени повлиять на правильность определения таких показателей, как плотность, молекулярная масса, коксуемость, содержание серы, азота, смолисто-асфальтеновых веществ и микроэлементов. Поэтому нефть перед поступлением на анализ необходимо освободить от них отстаиванием или фильтрованием [12].

В процессе переработки нефти в нефтепродукты могут попасть продукты коррозии аппаратов и трубопроводов, катализаторная пыль, мельчайшие частицы отбеливающей глины, минеральные соли. Загрязнение нефти и нефтепродуктов может происходить также при хранении и транспортировке.

Механические примеси в топливе могут привести к засорению топливо-проводов, фильтров, увеличению износа топливной аппаратуры, нарушению питания двигателя. Эти же примеси в маслах и смазках могут вызвать закупорку маслопроводов, поломку смазочной аппаратуры, образование задиров на трущихся поверхностях.

Из механических примесей наиболее опасными являются песок и другие твердые частицы, истирающие металлические поверхности.

Методы определения общего содержания механических примесей основаны на способности всех органических компонентов нефти растворяться в органических растворителях. Нерастворившийся остаток, задерживаемый фильтром при фильтровании раствора нефти или нефтепродукта, характеризует содержание в них механических примесей [13].

.2.1 Определение механических примесей весовым методом

Цель работы: Определение механических примесей в сырой нефти весовым методом

Приборы и реактивы: стаканчик с крышкой, стакан высокий с носиком, воронка стеклянная, палочка стеклянная с оплавленным концом, промывалка с резиновой грушей, бумажные фильтры беззольные, бензол иди бензин марки Б-70 или БР-1, этиловый спирт-ректификат, смесь этилового спирта и этилового эфира в соотношении 4:1 (по объему), нефтяной шлам.

Ход определения

Бумажный фильтр предварительно высушивают в стаканчике до постоянной массы при 105-110 °С. Перед взятием навески пробу нефти хорошо перемешивают встряхиванием в течение 5 мин. Если нефть высоковязкая, то предварительно ее нагревают на водяной бане до 40-80 °С.

Навеску берут с погрешностью до 0,05 г и разбавляют подогретым на водяной бане растворителем.

Горячий раствор навески фильтруют через высушенный до постоянной температуры фильтр, который помещают в стеклянную воронку, укрепленную в штативе.

Воронку наполняют не более чем на 3/4 высоты фильтра. Раствор наливают на фильтр по стеклянной палочке с оплавленным концом.

Стакан ополаскивают горячим растворителем и сливают на фильтр.

После окончания фильтрования фильтр промывают горячим раствором при помощи промывалки до тех пор, пока на нем не останется следов нефти, а фильтрат не будет совершенно прозрачным и бесцветным.

Затем фильтр переносят в стаканчик, в котором сушился чистый фильтр, и сушат в течение 1 часа в термостате при 105-110 °С.

После этого стаканчик закрывают крышкой, охлаждают в эксикаторе в течение 30 мин и взвешивают с погрешностью до 0,0002 г.

Операцию повторяют до получения расхождения между двумя последовательными взвешиваниями не более 0,0004 г.

Массовую долю механических примесей, рассчитывают по формуле [17]:

М = [(m1 - m2)/ m3] · 100,

где m1 - масса стаканчика с фильтром после фильтрования, г;2 - масса стаканчика с чистым фильтром, г;3 - масса навески нефти, г.

Содержание механических примесей вычисляют как среднее арифметическое из результатов двух параллельных определений.

Если механических примесей содержится не более 0,005%, то это рассматривается как их отсутствие.

2.3 Выделение и определение ароматических углеводородов

Действие серной кислоты на углеводороды

Серная кислота является реагентом, при помощи которого можно установить присутствие углеводородов ароматического ряда в углеводородных смесях. Серная кислота реагирует также с ненасыщенными углеводородами, но при соблюдении определенных условий, т. е. при последовательной обработке углеводородной смеси серной кислотой различной концентрации можно определить присутствие тех и других углеводородов. При концентрациях несколько ниже 100% (т.е. при тех, какие применяют для определения присутствия ароматических углеводородов) и при невысокой температуре серная кислота практически не реагирует ни с нафтенами, ни с парафинами.

Серная кислота реагирует с ароматическими углеводородами по уравнению:

НО

С6Н6 + SO2 → С6Н5 SO2OH + H2O

НО

Эта реакция при соблюдении определенных условий протекает количественно или почти количественно.

При обработке углеводородной смеси серной кислотой в отсутствии непредельных углеводородов реагируют только углеводороды ароматического ряда с образованием только моносульфоновых кислот ароматического ряда. Полисульфоновые кислоты при этом не образуются. Для их образования требуются более концентрированная кислота и повышенная температура реакции. В лабораториях и вообще на практике обработку дистиллятов (или смеси углеводородов) серной кислотой для определения содержания ароматических углеводородов ведут обычно при комнатной температуре [14].

.3.1 Определение содержания ароматических углеводородов весовым методом

Цель работы: определение содержания в исследуемой фракции нефтяного шлама ароматических углеводородов весовым методом

Приборы и реактивы: делительная воронка емкостью 1-2 л, прибор для перегонки с перегретым водяным паром, серная кислота концентрированная (моногидрат) 98%, раствор едкого натра 0,5 Н.

Ход определения

Чистую сухую делительную воронку взвешивают на аналитических весах с точностью до 0,01 г. Затем в делительную воронку наливают при помощи измерительного прибора - цилиндра 10 мл испытуемого нефтепродукта, после чего воронку взвешивают опять и вычисляют навеску нефтепродукта. В делительную воронку с нефтепродуктом наливают 30 мл серной кислоты (98%-я) и содержимое воронки взбалтывают в течение 30 мин., периодически открывая пробку делительной воронки во избежание образования повышенного давления.

Делительную воронку оставляют в покое на 1 ч., после чего тщательно отделяют нижний слой. Верхний слой от испытуемого нефтепродукта удаляют при помощи фильтровальной бумаги. Делительную воронку с оставшимся нефтепродуктом взвешивают с точностью 0,01 г. и вычисляют вес нефтепродукта после обработки серной кислотой. Затем делительную воронку укрепляют вертикально и сливают нефтепродукт в коническую колбочку. Пробку делительной воронки и внутреннюю поверхность воронки промывают из промывки дистиллированной водой, собирая промывные воды в коническую колбу с испытуемым продуктом [15].

Содержание колбы титруют в присутствии нескольких капель раствора фенолфталеина 0,5 Н раствором едкого натра до появления слаборозового окрашивания. Количество серной кислоты, оставшееся на стенках делительной воронки в граммах вычисляют по формуле:

Сn=  =0.0249V

где: V - объем раствора едкого натра (в пересчете на точно 0,5Н раствор), израсходованное на титрование, в мл.

,02452 - количество серной кислоты, соответствующее 1 мл точно 0,5 Н раствора едкого натра, в г.

Содержание в испытуемом нефтепродукте ароматических углеводородов в весовых процентах (А) вычисляют по формуле:

А=С1-(С2n)

где: С1 - вес испытуемого нефтепродукта до обработки серной кислоты, в г.

С2 - вес испытуемого нефтепродукта после обработки серной кислоты, в г.

За конечное определение принимают среднее арифметическое двух параллельных определений, расхождение между которыми в содержании ароматических углеводородов не должно превышать 1%

.4 Определение вязкости

Вязкость - важный физико-химический параметр, используемый при подсчете запасов нефти, проектировании разработки нефтяных месторождений, выборе способа транспорта и схемы переработки нефти, в химмотологии. Различают динамическую, кинематическую и условную (удельную) вязкость [16].

.4.1 Определение кинематической вязкости

Цель работы: Определение кинематической вязкости нефтей, светлых и темных нефтепродуктов

Приборы: вискозиметр стеклянный типа ВПЖТ, ВНЖТ или ВПЖ, ВНЖ, термостат, резиновая трубка, водоструйный насос или резиновая груша, секундомер.

Ход определения

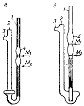
Сущность метода заключается в измерении времени истечения определенного объема испытуемой жидкости под влиянием силы тяжести. Испытание проводят в капиллярных стеклянных вискозиметрах. Для проведения анализа подбирают вискозиметр с таким диаметром капилляра, чтобы время истечения жидкости составляло не менее 200 с. В лабораторной практике наиболее распространены вискозиметры Пинкевича типа ВПЖТ-4 и ВПЖТ-2 (в соответствии с рисунком 4)[17, 18].

Далее, зажав пальцем колено 2 и перевернув вискозиметр, опускают колено 1 в сосуд с нефтью (нефтепродуктом) и засасывают нефть (нефтепродукт) с помощью резиновой груши, водоструйного насоса или иным способом до метки M2, следя за тем, чтобы в нефти (нефтепродукте) не образовалось пузырьков воздуха.

а- тип ВПЖТ-4; б- ВПЖТ-2: 1,2-колено; 3-отводную трубку; 4- расширение капиллярной трубки.

Рисунок 4 - Вискозиметры Пинкевича

Вынимают вискозиметр из сосуда и быстро возвращают в нормальное положение. Снимают с внешней стороны конца колена 1 избыток нефти (нефтепродукта) и надевают на его конец резиновую трубку. Вискозиметр устанавливают в термостат (баню) так, чтобы расширение 4 было ниже уровня нефти (нефтепродукта). После выдержки в термостате не менее 15 мин засасывают нефть (нефтепродукт) в колено, примерно до 1/3 высоты расширения 4. Соединяют колено 1 с атмосферой и определяют время перемещения мениска нефти (нефтепродукта) от метки М1 до М2 (с погрешностью не более 0,2 с). Если результаты трех последовательных измерений не отличаются более расширение капиллярной трубки чем на 0,2%, кинематическую вязкость υ, мм2/с, вычисляют как среднее арифметическое по формуле [19, 20]:

υ = Cτ,

где С - постоянная вискозиметра, мм22;

τ - среднее время истечения нефти (нефтепродукта) в вискозиметре, с.

Динамическую вязкость η, мПа·с, исследуемой нефти (нефтепродукта) вычисляют по формуле:

η=υρ,

где υ - кинематическая вязкость мм2/с;

ρ - плотность при той же температуре, при которой определялась вязкость, г/см3.

2.4.2 Определение условной вязкости

В нефтяной практике обычно определяют условную вязкость при помощи технических вискозиметров различных систем. Наиболее широко распространены вискозиметры Энглера. Вязкость, измеренную вискозиметром Энглера, выражают в градусах ВУ и обозначают цифрой, перед которой ставят знак ВУt, или Еt. Индекс t обозначает температуру, при которой была определена вязкость.

Предварительно обезвоженный и освобожденный от механических примесей нефтепродукт наливают во внутренний цилиндр несколько выше острия. Во внешний цилиндр наливают воду, нагретую до необходимой температуры. Установив прибор в строго горизонтальном положении, закрывают его крышкой и под спусковую крышку ставят мерную колбу. Для равномерного нагревания испытуемый продукт перемешивают термометром, вращая крышку вискозиметра вокруг палочки[21].

После доведения температуры продукта до 50, 80 или 100 °С выдерживают еще несколько минут при непрерывном помешивании, следя за тем, чтобы температура не изменялась, затем быстро вынимают палочку и одновременно пускают в ход секундомер. Когда продукт дойдет до метки в колбе 200 мл, секундомер останавливают, замечают время и начисляют вязкость в градусах ВУ по формуле:

ВУttН2О

где τt - время истечения 200 мл продукта при заданной температуре,

τН2О - время истечения 200 мл воды при 20 °С

Во втором разделе курсовой работы приведены методы исследования нефтяного шлама, способы определения качественного состава нефтяного шлама и уравнения для расчетов количественного состава нефтяного шлама.

Мною из представленных методов исследования нефтяного шлама были выбраны методы, которые можно проводить в лабораторных условиях, были просты в определении, и методы, на определение которых имелись все необходимые приборы и реактивы.

Перечень методов определения нефтяного шлама, с помощью которых, мною, в лабораторных условиях, был исследован физико-химический состав нефтяного шлама:

определение воды методом потрескивания. Был выбран именно этот метод исследования из перечисленных методов по определению воды, так как для меня важно было определить качественное содержание воды в нефтяном шламе, так же этот метод определения является наиболее простым методом при определении содержания воды в нефтяном шламе.

определение механических примесей весовым методом. Был выбран именно это метод исследования механических примесей, так как в лабораторных условиях удобнее определять содержание примесей именно весовым методом.

определение содержания ароматических углеводородов в нефтяном шламе весовым методом. Проводилось исследование этим методом, потому что действием серной кислоты на нефтяной шлам можно установить содержание ароматических углеводородов.

определение кинематической вязкости. Вязкость нефтяного шлама была определена этим методом, так как определение производилось с помощью стеклянного капиллярного вискозиметра, определив кинематическую вязкость, можно рассчитать и динамическую вязкость. Вязкость не исследовали методом определения условной вязкости, так как в нефтяной практике определяют условную вязкость при помощи технических вискозиметров, а для лабораторного опыта используют обычно стеклянный вид вискозиметра.

3. Экспериментальная часть

3.1 Определение содержания воды в нефтяном шламе методом потрескивания

Согласно методике в стеклянную пробирку диаметром 15 и высотой 120 мм был налит нефтяной шлам до высоты 85 мм. Пробирка с нефтяным шламом, закрытая на пробке, снабженной отверстием и термометром, нагревалась на термостате в вертикальном положении. При 40 єС слышался треск, число потрескивании увеличивалось при увеличении температуры в пробирке. При 75 єС нефтяной шлам начал пенится. При повторном испытании наблюдался неоднократный треск и вспенивание.

Этот опыт был проведен в соответствии с ГОСТ 2477-65, который является качественным методом, и наглядным образом доказал присутствие воды в нефтяном шламе. В было определено качественное содержание воды в нефтяном шламе.

.2 Определение механических примесей весовым методом

Согласно методике бумажный фильтр был высушен до постоянной массы, при 105 єС. Навеска нефтяного шлама была предварительно нагрета на водяной бане до 40 єС, так как анализируемый нефтяной шлам высоковязкий.

Далее навеску нефтяного шлама массой 50 г разбавили бензином массой 25 г, так как нефтяной шлам является высоковязким.

Горячий раствор навески был профильтрован через высушенный бумажный фильтр, помещенный в стеклянную воронку.

После фильтрования фильтр был перенесен в стаканчик и взвешен, масса стаканчика с фильтром после фильтрования составило 79,278г. Затем закрытый стаканчик с фильтром сушился в термостате в течение 1 часа.

После сушки, стакан был охлажден в эксикаторе, после чего был взвешен на аналитических весах, масса стаканчика с чистым фильтром составило 70,595г.

По формуле:

М = [(m1 - m2)/ m3] · 100

была рассчитана массовая доля механических примесей:

М = [(79,278-70,795)/100]·100 = 8,683%

В процессе определения механических примесей метод был проведен в соответствии с ГОСТ 6370-83. Массовая доля механических примесей в нефтяном шламе составило 8,683%, следовательно, анализируемый нефтяной шлам содержит большое количество механических примесей.

.3 Определение содержания ароматических углеводородов весовым методом

Согласно методике исследования чистая делительная воронка была взвешена на аналитических весах, масса чистой воронки составило 159,16 г. Затем в воронку был налито 3 мл. нефтяного шлама, после чего делительная воронка с нефтяным шламом была вновь взвешена на аналитических весах, для определения массы нефтяного шлама, общая их масса составило 161,36 г, следовательно масса нефтяного шлама равнялась 2,2 г.

В делительную воронку было налито 9 мл. концентрированной Н2SO4 и содержимое воронки взбалтывалось в течении 30 мин.

Затем воронка установленная на штатив отстоялся 1 час. Затем отслоившийся нижний слой был отделен от верхнего слоя в коническую колбу, и взвешен на аналитических весах, масса нефтяного шлама после испытания с серной кислотой составило 1,9 г.

Нефтяной шлам, в конической колбе, был оттитрован 0,5 Н NaOH до появления слаборозового окраса, объем едкого натра ушедшего на титрование составило 5,2 мл.

Количество серной кислоты, которое осталось делительной воронки была рассчитана по следующей формуле:

Сn=0.0249V

Сn=0.0249·5.2=0.12948 г

Содержание ароматических углеводородов была рассчитана по формуле:

А=С1-(С2n)

А=2,2-(1,9-0,12948)=0,42948%

Метод определения содержания ароматических углеводородов в нефтяном шламе был проведен в соответствии с ГОСТ 12329-77. Содержание ароматических углеводородов в нефтяном шламе, после расчетов, составило 0,42948 в весовых процентах.

.4 Определение кинематической вязкости

Согласно методике исследования определение вязкости нефтяного шлама был произведен в вискозиметре Пинкевича типа ВПЖТ-2, с постоянной вискозиметра С равной 0,73 мм22.

Нефтяной шлам предварительно был нагрет до 40 єС, так как является высоковязким.

Время истечения нефтяного шлама в вискозиметре составило 12 мин 37 с или 757 с.

По следующей формуле:

υ = Cτ

была определена кинематическая вязкость:

υ = 0,73·757=552,61 мм2

Определив кинематическую вязкость нефтяного шлама можно рассчитать динамическую вязкость нефтяного шлама η, мПа·с по формуле:

η=υρ

Подставив значения, получили:

η=552,61·0,8318=459,66 мПа·с

Определение кинематической вязкости нефтяного шлама и расчет динамической вязкости нефтяного шлама был произведен в соответствии с ГОЧТ 33-2000. По полученным данным кинематическая вязкость нефтяного шлама составило 552,61 мм22, после определения кинематической вязкости была рассчитана динамическая вязкость, которая составило 549,66 мПа·с.

В третьей главе курсовой работы экспериментальными методами рассчитаны и определены важные химические и физические свойства нефтяного шлама:

качественным методом было обнаружено содержание воды в нефтяном шламе.

количество механических примесей содержащихся в нефтяном шламе составило 8,683%.

количественное содержание ароматических углеводородов в нефтяном шламе составило 0,42948%



Заключение

В результате выполнения данной курсовой работы были описаны виды нефтяных шламов, причины и источники образования нефтяных шламов, пути их переработки и утилизации с резервуаров.

Приведены физико-химические методы исследования нефтяных шламов позволяющих в лабораторных условиях определить качество нефтяного шлама.

Экспериментальными методами установлены и рассчитаны качественный и количественный состав нефтяного шлама, а именно: содержание воды, содержание механических примесей, содержание ароматических углеводородов, определены кинематическая и динамическая вязкости.

Использование этих данных в нефтеперерабатывающей промышленности позволит определить качество нефтяного шлама и определить пути существенного улучшения экологической обстановки на нефтеперерабатывающих и нефтегазодобывающих предприятиях [21].

Список литературы

1. Карпухин И.А. Переработка и утилизация нефтешламов резервуарного типа / И.А. Карпухин // «Нефтегазовое дело». Уфа 2009.- №8. С. 32-40.

. Курочкин А.К. Переработка нефти и газа /А.К. Курочкин// «Сфера Нефтегаз». Санкт-Петербург. 2010.-№4.- С. 72-75.

3. Рябов, В.Д. Химия нефти и газа / В.Д. Рябов. - М.: РГУ НиГ им. И.М. Губкина, 2004. - 288 с.

4. Химия нефти / Под ред. З.И. Сюняева. - Л.: Химия, 1984. - 315 с.

. Проскуряков, В.A. Химия нефти и газа / В.A. Проскуряков, А.Е. Драбкин. - Л.: Химия, 1981. - 345 с.

. Дияров, И.Н. Химия нефти / И.Н. Дияров, И.Ю. Батуева, А.Н. Садыков. - Л.: Химия, 1990. - 170 с.

. Соколов, Р.С. Практические работы по химической технологии / Р.С. Соколов. - М.: Гуманитар. Изд. Центр ВЛАДОС, 2004. - 271 с.

8. Иванова, Ю.В. Химия нефти / Ю.В. Иванова, Р.И. Кузьмина, И.В. Кожемякин. - Саратов: Изд. Саратовского университета, 2006. - 56 с.

9. Шур, А.М. Высокомолекулярные соединения / А.М. Шур. - М.: Высшая школа, 1981. - 656 с.

10. Платэ, Н.А. Основы химии и технологии мономеров / Н.А. Платэ, Е.В. Сливинский. - М.: Наука, МАИК «Наука интерпериодика», 2002. - 696 с.

11. Тагер, А.А. Физико - химия полимеров / А.А. Тагер. - М.: Химия, 1978. - 537 с.

. Сафиева Р.З. Физикохимия нефти./ Р.З. Сафиева. - М.: РГУ НиГ им. И.М.Губкина, 2001.- 449с

. Камнева А.И., Теоретические основы химической технология горючих ископаемых./ А.И. Камнева. -М.: Химия, 1990. - 288с.

. Надиров Н.К. Высоковязкие нефти и природные битумы./ Н.К. Надиров.- Алматы.: Гылым. 2001., т. 1- 360с.; т.2- 344с.; т.3- 415с.; т.4-369с.

. Нефтегазэксперт - Новости нефтегазовой отрасли / Добыча нефти в США в 2008г.

. Ковалева Л.А., Миннигалимов Р.З, Зиннатуллин P.P. Электромагнитные технологии в нефтедобыче и нефтяной экологии //Недропользование - XXI век, 2009. № 6. С. 56-59.

. Котенев Ю.А., Андреев В.Е., Давыдов В.П., Юсупов О.М., Сиднев A.B. Экологические аспекты функционирования нефтегазовых техноприродных систем: Учебное пособие.- Уфа: Изд-во УГНТУ, 1998

. Миннигалимов Р.З., Нафикова P.A. Методика расчета характеристик процесса разделения нефтяных шламов в поле центробежных сил. // В сб. научн.тр. Технологии нефтегазового дела. Уфа: Изд-во УГНТУ. - 2007. - С. 161-166.

. Валеев М.Д., Бриль Д.М., Миннигалимов Р.З. Выбор технологии переработки нефтешламов на предприятиях АНК "Башнефть" //Сб.научн. трудов БашНИПИнефть, Вып.92, 1997. -С.21-28.

. Булатов В.И. Нефть и экология: научные приоритеты в изучении нефтегазового комплекса. Новосибирск, 2004. -156с.

. Миннигалимов Р.З., Нафикова P.A. Современные пути решения проблем переработки шламов в нефтедобыче и в переработке. //В сб. научн.тр. Технологии нефтегазового дела. Уфа: Изд-во УГНТУ. 2007. - С. 166-171.

Похожие работы на - Физико-химические методы исследования нефтяного шлама

 

Не нашли материал для своей работы?
Поможем написать уникальную работу
Без плагиата!
Без нейросетей!