Метод кажущегося сопротивления
Содержание
Введение
Физические основы метода кажущегося
сопротивления
.1 Зонды микрокаротажа
. Аппаратура микрокаротажа
.1 Интерпретация результатов
.1 Применение метода микрокаротажа
Заключение
Список использованных источников
Приложение А: Кривые КС микрозондов
Введение
Поиски и разведка полезных ископаемых
сопровождаются бурением скважин. В нефтяной и газовой промышленности последние
служат не только для поисков и разведки месторождений нефти и газа, но и для их
разработки. В целях изучения геологического разреза скважин, их технического
состояния и контроля за режимом разработки месторождений в них проводят
геофизические исследования
Комплекс ГИС назван промысловой геофизикой.
Изучение геологического разреза скважины
заключается в определении последовательности и глубины залегания пластов, их
литолого-петрографических свойств, оценке наличия и количественного содержания
в недрах полезных ископаемых. Изучение разреза возможно путем отбора керна.
Однако он связан с применением специальных долот, что приводит к ограничению и
замедлению бурения, а в конечном счете - к его удорожанию. Кроме того, керн не
всегда удается извлечь из нужного интервала (неполный вынос керна), а при его
отборе и выносе на поверхность свойства породы и насыщающей ее жидкости заметно
изменяются, поэтому результаты анализа керна и шлама не дают полного
представления о геологическом разрезе. Вместе с тем некоторые физико-химические
свойства пород (электропроводность, электрохимическая активность,
радиоактивность, температуропроводность, упругость и др.) поддаются изучению
непосредственно в скважине в условиях их естественного залегания путем
проведения в ней соответствующих геофизических или геохимических исследований.
Такие исследования, заменяющие частично или полностью отбор керна, названы
каротажем; результаты их изображаются в виде диаграммы изменения физических
свойств пород вдоль скважин - каротажных диаграмм. В зависимости от изучаемых
свойств горных пород известны следующие виды каротажа: электрический,
радиоактивный, термический, акустический и др.
Результаты каротажа дают возможность определять
последовательность и глубину залегания пластов, вскрываемых скважиной, их
литологические свойства и содержание в них полезных ископаемых (нефть, газ,
уголь, руды, нерудное сырье). Полученные данные являются исходными для изучения
геологического строения месторождения и региона в целом, а также для подсчета
запасов и проектирования рациональной системы разработки залежи. Геофизические
данные являются в настоящее время основными и служат для оценки коллекторских
свойств пород и степени их насыщения нефтью, газом или водой. Отбор керна в
таких скважинах доводится до оптимального минимума, а в тех случаях, когда
разрез месторождения хорошо изучен, бурение ведется без отбора керна. Однако полностью
отказаться от него, особенно в разведочных скважинах, нерационально. Данные о
пористости, проницаемости, глинистости, нефтегазонасыщенности и других
свойствах, полученные при анализе керна, являются часто исходными для
корректировки результатов интерпретации материалов геофизических исследований.
Контроль за разработкой нефтяных и газовых
месторождений включает комплекс геофизических исследований в действующих и
контрольных (одиночных) скважинах, размещенных в пределах эксплуатируемой
залежи для изучения процесса вытеснения нефти в пласте и закономерностей
перемещения водонефтяного, газонефтяного и газоводяного контактов.
Изучение технического состояния скважин
проводится на всех этапах их действия: бурения, перед вводом в эксплуатацию, в
процессе эксплуатации. Во время бурения инклинометром определяют искривления
ствола скважины, каверномером - ее диаметр, резистивиметром и электрическим
термометром - места поступления жидкости из пласта в скважину и поглощения
промывочной жидкости. Перед вводом скважины в эксплуатацию проводится изучение
технического состояния колонны на герметичность и качество цементирования. В
эксплуатационных скважинах контроль их технического состояния заключается в
выявлении мест нарушения герметичности цементного кольца, нарушений сцепления
цемента с колонной и породой, вызывающих возникновение затрубной циркуляции
жидкости.
К ГИС принято также относить
прострелочно-взрывные работы, опробование пластов приборами на кабеле, отбор
керна боковыми грунтоносами, перфорацию колонн при вскрытии пластов, обсаженных
трубами, торпедирование. Связь этих работ с геофизическими вызвана тем, что для
их выполнения применяется то же оборудование, что и при ГИС.
В процессе бурения производят отбор образцов
пород из стенки скважины боковым грунтоносом для дополнительного изучения
вскрываемого разреза, отбор жидкостей и газов приборами на кабеле (ОПК) для
оперативного опробования пластов в необсаженных скважинах, торпедирование
бурильного инструмента и металлических предметов, оставленных в скважине при
ликвидации аварий. При вводе скважины в эксплуатацию для сообщений скважины с
пластом осуществляют перфорацию колонны против продуктивных горизонтов.
В эксплуатационных и нагнетательных скважинах с
открытым забоем с помощью пороховых генераторов давления и торпедирования
производят разрыв пластов и тем самым повышают их отдачу или приемистость.
Геофизические исследования являются в настоящее время неотъемлемой частью
геологических, буровых и эксплуатационных работ, проводимых при разведке и
разработке нефтяных, газовых и других месторождений полезных ископаемых.
1. Физические основы метода кажущегося
сопротивления
Методы кажущегося сопротивления основаны на
изучении распределения искусственного стационарного и квазистационарного
электрического поля в горных породах. Обычно определяется кажущееся удельное
сопротивление среды, окружающей зонд, по наблюденным величинам потенциала U,
разности потенциалов DU
или напряженности электрического поля Е, созданного источником тока силой I.
Связь между удельным электрическим сопротивлением ρ
(электропроводностью
σ)
изотропной
среды, плотностью тока jпр,
напряженностью и потенциалом поля выражается соотношением:
jпр = σE = 
(1)
полезный ископаемое
скважина микрокартаж
где r -
расстояние между источником тока и точкой, в которой определяется потенциал или
напряженность электрического поля.
В случае однородной изотропной среды
величина ρ
в
формуле (1) есть ее истинное удельное сопротивление, в случае неоднородной
среды - кажущееся удельное сопротивление ρк.
Бескерновое изучение разрезов
скважин по величине удельного электрического сопротивления горных пород
основано на его изменении в весьма широких пределах - от долей ом-метра до
сотен тысяч ом-метров. Удельное электрическое сопротивление горных пород
определяется рядом факторов: их минеральным составом, пористостью,
температурой, давлением, минерализацией пластовых вод, извилистостью поровых
каналов, соотношением воды и углеводородов (нефти, газа) в поровом пространстве
и др. Следовательно, по величине удельного электрического сопротивления можно
установить литологию пород, их структуру, содержание в разрезах полезных
ископаемых (нефти, газа, руд, углей и пр.), оценить величину нефтеотдачи.
Электрическое стационарное или
квазистационарное поле создается в горных породах, вскрытых скважинами, с
помощью питающих электродов А и В; измерение потенциала, разности потенциалов и
напряженности поля осуществляется посредством измерительных электродов М и N.
Электрический ток на питающие заземления А и В подается от генератора тока.
Сочетания электродов А, В, М и N,
расположенных в скважине на разных расстояниях друг от друга, образуют зонды
КС. Зонд подсоединяется к кабелю с токопроводящими и измерительными жилами и
опускается в скважину. Обычно при измерении КС три электрода - А, М и N или А,
В и М помещают в скважину, а четвертый - В или N находится на поверхности (Рис.
1). Возможны случаи, когда только два электрода - А и М опускают в скважину, а
два других - В и N устанавливают на поверхности. Не исключен и следующий
вариант: все четыре электрода помещают в скважину. Чтобы установить связь
удельного электрического сопротивления изучаемой среды с измеряемой
характеристикой электрического поля (U, DU и Е), силой
тока и геометрическими размерами зонда, необходимо определить величину
потенциала в однородной изотропной среде, где расположен точечный источник
тока.
1.1 Зонды микрокаротажа
С целью более детального изучения структуры
пластов, выделения тончайших прослоев и наиболее точного определения их
мощности по методу кажущихся сопротивлений применяются микрозонды.
Метод микрозондирования (МКЗ)
заключается в детальном исследовании кажущегося сопротивления при скважинной
части разреза зондами очень малой длины - микрозондами.
Микрозонд смонтирован на
внешней стороне башмака из изоляционного материала.
Для исключения влияния скважины
на результаты измерений башмак внешней стороной прижимается к стенке скважины
прижимным устройством, которое может быть либо рессорным, либо управляемым
рычажным. В первом случае микрозонд представляет собой штангу с надетыми на нее
муфтами, к которым прикреплены под углом 120° три шарнирно соединенные рессоры,
образующие «фонарь» (Рис. 1.1, а). На рессорах укреплены три башмака, на одном
из которых смонтированы электроды микрозонда. Рессоры, перемещаясь по штанге,
изменяют размер «фонаря» в зависимости от диаметра скважины.
В микрозонде с управляемым
рычажным прижимным устройством башмак с электродами шарнирно укрепляется на
одной из двух пар рычагов, которые прижимаются спиральной пружиной к стенке
скважины любого диаметра с постоянным усилием (Рис. 1.1, б). Прижимное
устройство опускается в скважину в закрытом состоянии, а в интервале записи
открывается по команде с поверхности. Наряду с кривыми микрозондов это
устройство позволяет регистрировать одновременно кривую изменения диаметра
скважины с глубиной - микрокавернограмму.
Электроды микрозонда
изготовлены из латунного стержня диаметром 10 мм и вмонтированы в резину
башмака, которая обеспечивает изоляцию их друг от друга, от корпуса и
промывочной жидкости. Расстояние между электродами 2,5 см.
Кажущееся сопротивление, измеряемое с помощью
микрозонда , зависит от размера зонда, а также от размера и формы непроводящей
пластины, на которой укреплены электроды. Для того, чтобы диаграммы микрозондов
были сопоставимы между собой, их следует регистрировать во всех скважинах с
микрозондом одного типа и размера.
В практике в настоящее время применяются два
типа микрозондов: микроградиент-зонды А0,025М0,025N
и микропотенциал-зонды A0,05M.
На характер измерения кажущихся сопротивлений, получаемых с помощью
микрозондов, оказывает влияние глинистая корка, образующаяся на стенках
скважины, а также пленка бурового раствора, возникающая между глинистой коркой
и резиновой пластиной с электродами. С целью учета этих влияний регистрация
проводится обоими зондами одновременно. Если электроды микрозонда достаточно
удалены от стенок скважины, измеряемое сопротивление равно сопротивлению
бурового раствора. Кажущееся сопротивление, записанное микроградиент-зондом, в
большей степени зависит от сопротивления глинистой корки, чем ρк
, полученное с микропотенциал-зондом. Так как удельное сопротивление глинистой
корки обычно ниже, чем сопротивление вмещающих пород и углей (за ислючением
антрацита), то в углях кажущееся сопротивление, полученное
микропотенциал-зондом, больше, чем зарегистрированное микроградиент-зондом.
Стандартный микрозонд дает возможность проводить
измерения микроградиент-зондом А0,025М0,025N
и микропотенциал-зондом A0,05M
с отнощением их размеров 1,33. Регистрация диаграмм кажущегося сопротивления с
микрозондами аналогична регистрации диаграмм кажущегося сопротивления с
обычными микрозондами. Для определения коэффициента микрозонда формулы, рассмотренные
ранее, неприменимы в связи со сложной геометрией электрического поля. Поэтому
коэффициент К микрозонда находится экспериментально путем измерений в ванне или
водоема, заполненных водой известного удельного сопротивления.
При исследованиях с микропотенциал-зондом, когда
один из питающих и один из измерительных электродов находятся на поверхности, в
измерительной линии возникают индуктивные наводки, обусловленные большой
индуктивной и емкостной связью между питающей и измерительной жилами кабеля. Индуктивная
наводка вызывает смещение нулевой линии ρк
. Это смещение (чаще всего влево от нулевого положения) увеличивается с
уменьшением глубины замера микрозондом и увеличением частоты пульсатора. С
целью учета индуктивных помех вводится поправка в положение нулевой линии.
Величина этой поправки может быть определена двумя способами.
. На участке большого диаметра скважины (
например, в зоне каверны), где микрозонд практически дает сопротивление
бурового раствора, проводятся измерения ρк
микропотенциал - и микроградиент-зондами. В этом случае оба зонда должны дать
одинаковую величину сопротивления бурового раствора. Поэтому для учета поправки
на индуктивность достаточно совместить зарегистрированные в указанном интервале
скважины диаграммы и перенести нулевую линию с кривой микроградиент-зонда на
кривую микропотенциал-зонда.
. При измерении микропотенциал-зонда в
скважине, обсаженной колонной величина индуктивной помехи равна отклонению
кривой ρк
от нулевой линии.
Обработка диаграмм ρк
микрозондов выполняется так же, как и диаграмм обычного метода кажущихся
сопротивлений. Рассмотрим результаты применения микрозондов для изучения
разрезов скважин.
Диаграммы сопротивления микрозондов более
дифференцированы, чем аналогичные диаграммы, полученные со стандартными зондами.
Это позволяет по диаграммам микрозондов проводить детальное литологическое
расчленение разрезов скважин. Наиболее эффективно диаграммы микрозондов
используются для литологического расчленения
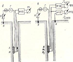
1 - башмак;
- рессора;
- рычаг;
- штанга;
- пружина;
- электроды.
Рисунок 1. 1 - Схемы
конструкций микрозондов с рессорным (а) и управляемый рычажным (б) прижимными
устройствами.

Рисунок 1.2 Принципиальные
схемы измерения кажущегося сопротивления пород микрозондами с многожильным
кабелем.
а, б - раздельная запись
соответственно кривых микроградиент-зонда и микропотенциал-зонда; в, г -
одновременная запись кривых микроградиент-зонда и микропотенциал-зонда соответственно
с трехжильным и четырехжильным кабелем.
ФЧВ - фазочувствительный
выпрямитель;
Б - башмак микрозонда.
Г - генератор тона для создания
электрического поля в скважине;
R
- реостат;
РП - регистрирующий прибор;
2. Аппаратура микрокаротажа
Аппаратура для регистрации
кривых микрозондирования.
Измерение КС микроградиент- и
микропотенциал-зондами может быть осуществлено раздельно или одновременно с
помощью многожильного или одножильного кабеля.
При раздельной записи кривых ρк
микроградиент-зонда и микропотенциал-зонда башмак микрозонда перемещается по
стенке скважины в неодинаковых условиях (различная толщина промежуточного слоя
между башмаком и породой, разная степень микрокавернозности пород и пр.),
поэтому не всегда эти кривые сопоставимы. При записи кривой ρк
микропотенциал-зонда в качестве электрода N
используется корпус микрозонда.
В настоящее время широко
распространена двухканальная аппаратура микрозондов для работы с одножильным и
трехжильным кабелем, сконструированная на основе телеизмерительной системы с
частотной модуляцией и частотным разделением каналов. Такая аппаратура
позволяет регистрировать одновременно две кривые ρк
- микроградиент-зонда и микропотенциал-зонда.
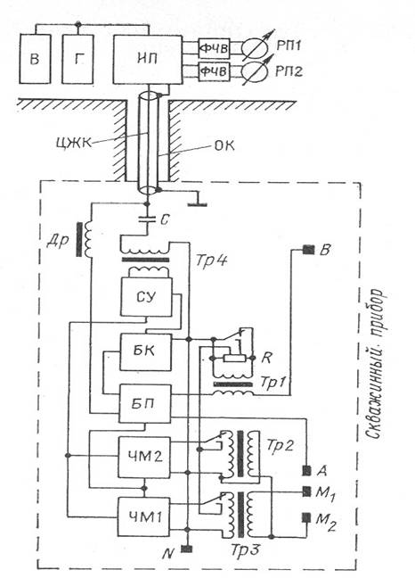
Вариант двухканальной
аппаратуры микрозонда с одножильным кабелем МДО-2 представлен на рис. 2.3.
Питание скважинного прибора осуществляется стабилизированным переменным
напряжением с частотой тока 300 Гц от генератора Г и выпрямителя В. В цепи
электродов АВ протекает переменный ток силой 5 мА от блока питания БП через
первичную обмотку трансформатора Тр1. Разность потенциалов DU
измеряется между электродами М1 и М2 (микроградиент-зонд) и М2 и N
(микропотенциал-зонд). В качестве электрода N используется корпус скважинного
прибора.
Одновременная передача сигналов
от измерительных электродов микрозондов по одножильному кабелю осуществляется
по принципу частотного разделения каналов при частотной модуляции измеряемых
сигналов. С этой целью разность потенциалов с электродов и М1 подается через
трансформатор Тр3 на частотный модулятор ЧМ2 с несущей частотой 25,7 кГц, а с
электродов М2 и N - через трансформатор Тр2 на частотный модулятор ЧМ2 с
несущей частотой 7,8 кГц. Промодулированные по частоте сигналы поступают на
сумматор (усилитель мощности) СУ и далее через согласующий трансформатор Тр4 и
разделительную емкость С на кабель и вход панели ИП. В панели ИП измеряемые
сигналы разделяются по частоте и распределяются по соответствующим каналам, где
они усиливаются, демодулируются, а затем выпрямляются фазочувствительными
выпрямителями ФЧВ и подаются на регистрирующие приборы РП1 и РП2.
Рисунок 2.1 - Блок-схема
измерения кажущегося сопротивления аппаратуре микрозонда МДО-2 (одножильный
вариант)
Рисунок 2.2. Блок-схема измерения кажущегося
сопротивления аппаратурой микро-зонда типа ТМДО
Блок питания скважинного прибора обеспечивает
питание цепи АВ переменным током, а питание частотных модуляторов, сумматора а
блока коммутации БК - постоянным током. Блок питания подключается к кабелю
через заградительную индуктивность Др, которая предотвращает шунтирование
высокочастотных сигналов от сумматора. Блок коммутации позволяет производить
калибровку аппаратуры путем подачи нуль-сигнала и стандарт-сигнала. Напряжение
стандарт-сигнала снимается с резистора R,
включенного через трансформатор Тр1 в цепь литания АВ. Глубина исследования
аппаратурой МДО-2 - до 4000 м при температуре до 100° С. Микрозонд типа ТМДО(
рис. 2.4) позволяет исследовать более глубокие, чем МДО-2, скважины при
температуре до 200° С и давлении до 108 Па.
Аппаратура ТМДО применяется с
автоматическими станциями типа АКС на одножильном, кабеле и состоит из
скважинного прибора, наземного пульта управления и унифицированного блока
питания УВК-1. Постоянный ток, поступающий от УВК-1 по кабелю в скважинный
прибор, преобразуется генератором Г в переменный ток частотой 400 Гц и подается
к токовым электродам А и В. Разность потенциалов между электродами Мг и М2, М%
и Лг через трансформаторы Тр1 и Тр2 подается на частотные модуляторы ЧМ1 и ЧМ2
и далее через сумматор СУ - на центральную жилу кабеля. Переменный ток от
сумматора проходит через фильтр Ф, который служит для разделения переменного
измеряемого сигнала и тока питания, и поступает на два измерительных канала.
Индуктивность Др устраняет
шунтирование измеряемого сигнала через сопротивление источника питания. С
помощью блоков ИП1 и ИП2 сигналы разделяются по частоте, усиливаются и проходят
через частотные дискриминаторы, затем выпрямляются: по ФЧВ и поступают на
регистрирующие приборы РП1 и РП2. Блок калибровки БК позволяет калибровать
аппаратуру путем подачи стандарт-сигнала и нуль-сигнала.
Точкой записи кривой ρк
микроградиент-зонда является середина между электродами М1 и М2 а кривой ρк
микропотенциал-зонда - электрод М2, т. е. точки записи кривых КС при обычных
масштабах записи по глубине практически совпадают. Кривые КС микрозондов в
нефтяных я газовых скважинах регистрируются в интервале проведения БЭЗ в масштабе
глубин 1:200. Омический масштаб кривых выбирают от 0,5 до 2 Ом·м/см, при этом
отклонение кривых от нулевой линии должно быть не менее 0,5 см.
Скорость регистрации кривых ρг;
микрозондов зависит от степени дифференциации разреза по величине удельного электрического
сопротивления и обычно не превышают 1500-2000 м/ч.
Перед замером и после него
проверяется изоляция микрозонда. Ее сопротивление между электродами микрозонда
и его корпусом должно быть не менее 1-2 МОм.
3.1 Интерпретация результатов МКЗ
Интерпретация кривых,
полученных обычным микрозондом, заключается в решении следующих задач: 1)
расчленение разреза на проницаемые и непроницаемые пласты; 2) уточнение
литологического состава пород; 3) определение границ пластов и их мощности; 4)
оценка удельного сопротивления части пласта, прилегающей к скважине, и толщины
промежуточного слоя (глинистой корки и пленки).
В настоящее время в практике
геофизических работ применяют обычные и экранированные микрозонды. При обычном
микрозондировании производят измерения градиент-микрозондом A0,025M0,025N
и потенциал-зондом А0.05М.
Экранированные микрозонды
бывают трех разновидностей: двух-, трех- и четырех электродные.
Двухэлектродный экранированный
микрозонд - это аналог трехэлектродного зонда БМ.
Трехэлектродный экранированный
микрозонд отличается от двухэлектродного наличием между основным Ао и экранным
Аэ электродами дополнительного рамочного измерительного электрода М, потенциал
которого в процессе записи поддерживается равным потенциалу электроду Аэ. За
счет этого существенно (по сравнению с двухэлектродным) увеличивается
глубинность его исследований. Поэтому измерения трехэлектродным экранированным
микрозондом называются каротажем ближней зоны.
Принцип действия
четырехэлектродного экранированного микрозонда такой же, как семиэлектродного
экранированного зонда.
Диаграммы обычных микрозондов
используют в основном для целей качественной интерпретации. Однако существует и
принципиальная возможность количественного определения удельного сопротивления.
Для этого необходимо располагать значениями кажущегося сопротивления,
полученными обоими микро-зондами: микроградиент- и микропотенциал-зондами. Для
этого выделяют пласт (границы пласта проводят по точкам перегиба кривой КС) и
против него отсчитывают значения рк. Далее определяют сопротивление глинистой
корки ргк, которое в первом приближении принимается за сопротивление
промежуточной зоны. Затем с помощью специальных палеток, построенных для
микрозондов соответствующих конструкций, находят сопротивление прискважинной зоны
рпп и толщину промежуточной зоны. Однако следует помнить, что погрешность
определения сопротивления может значительно превышать допустимые пределы. При
рпп / ргк >20 количественная интерпретация вообще нецелесообразна.
Плотные непроницаемые породы
характеризуются общим высоким уровнем кажущегося сопротивления и изрезанностью
кривой рк, связанной с шероховатостью стенок скважины и неравномерностью
прижатия электродов к породе.
Рисунок 3. 1- Кривые,
полученные разными геофизическими методами
- глина; 2 - песчаник
нефтеносный;3 - песчаник водоносный;4 - песчаник известковистый плотный;5 -
алевролит.
В пластах, образующих каверны,
получаемое обоими микрозондами кажущееся сопротивление близко к сопротивлению
промывочной жидкости.
В проницаемых пластах, против
которых на стенке скважины образуется глинистая корка, показания
микропотенциал-зонда превышают показания микроградиент-зонда. Это связано с
различным влиянием на показания микрозондов промежуточного слоя, поскольку они
обладают разной глубиной исследования. При прочих равных условиях расхождение
тем больше, чем меньше пористость пласта. С увеличением толщины глинистой корки
разница в показаниях уменьшается. При большой толщине глинистой корки или при
ее отсутствии приращение отсутствует. Могут быть и другие соотношения между
показаниями микропотенциал-зонда и микроградиент-зонда.
Обработка диаграмм
экранированных микрозондов начинается с проверки их качества в соответствии с
требованиями технической инструкции.
Поскольку радиус исследования
экранированных микрозондов составляет 10-20 см, с их помощью можно оценивать
сопротивление прискважинной части пласта. В проницаемых пластах это
соответствует промытой зоне.
Толщина пласта, если она
превышает 20-30 см, не влияет на показания экранированного микрозонда.
Кривые КС микрозондов
Малые резмеры позволяют определять границы
отдельных пластов и прослоев разного сопротивления с точностью до 5 - 10 см по
резким имениям аномалии кривых КС. Кривы КС микрозондов можно рассматривать как
симметричные относительно середины пластов.
Наибольшая информация о размете может быть
получена при одновременной интепритации кривых ρк
градиент - микрозонда и потенциал - микрозонда. Поскольку радиус исследования
градиент - микрозонда меньше, чем потенциал - микрозонда, то на его показания
оказывают большее влияние промывочная жидкость и глинистая корка, а на
показания потенциал - микрозонда - промытая зона. Если минерализации пластовой
воды выше, чем промывочной жидкости, то против проницаемого пласта ρк,гмз
меньше ρк,пмз
(см.рис. 3.1). В этом случае имеет место так называемая положительное
приращение микрозондов ρк =(
ρк,пмз-
ρк,гмз)
>0. Показания против водоносных и нефтегазоностных пластов не различаются, а
значения против продуктивных пластов выше, чем против водоносных пластов, за
счет остаточного нефтенасыщения. Непроницаемые плотные породы выделяются весьма
изрезанными кривыми КС, а ρк
составляют (10-30) ρр. Глинистые
породы отмечаются низкими значениями ρк.
Кривые КС против них носят пилообразный характер (см. рис. 3.1).
По результатам измерения ρк
микрозондами можно также определить уделбное сопротивление промытой зоны пласта
и по специальным палеткам оценить толщину глинистой корки.
4.1 Применение метода МКЗ и решаемые им
геологические задачи
Методом микрозондирования исследуются скважины,
заполненные сравнительно слабой минерализованной промывочной жидкостью, с целью
детального изучения строения пластов и получения количественных и качественных
физических характеристик пород.
Данные микрозондирования служат для детального
расчленения разреза скважин, четкой отбивки границ пластов и определения их
мощности, уточнения литологии разреза, выделения маломощных прослоев и пластов
- коллекторов, оценки эффективной мощности продуктивных горизонтов, определения
пористости и трещиноватости пород, выделение продуктивных пластов и оценки их
нефтегазонасыщения, оценки нефтеотдачи пластов.
Из анализа приведенных материалов можно сделать
следующие выводы.
) В интервалах разреза с разрушенными
стенками скважины и образовавшимися кавернами применения микрозондов не дает
положительных результатов. Частое образование каверн в угольных пластах создает
ограничение для использования микрозондов с целью исследования угольных
пластов.
) Возможности широкого применения
микрозондов ограничены трудностью спуска их в скважину, а также частыми
прихватами и обрывами в скважине вследствие громоздкости конструкции.
) Исследования микрозондами разрезов
скважин должны обязательно дополняться кавернометрическими измерениями диаметра
скважины.
) Микрозонды целесообразно применять для
исследования тонкой структуры угольных пластов сложного строения с целью
выявления в них очень тонких природных прослоев. При изучении угольных пластов,
представленных тонким переслаиванием угля и углистых пород, микрозонды дают
наилучшие результаты по сравнению с другими геофизическими методами при условии
отсутствия каверн в исследуемом интервале скважины.
) Микрозонды целесообразно также
использовать для исследования угольных пластов с крутыми углами падения.
) Применять микрозонды для выявления
угольных пластов в разрезе скважин и определения их мощности, а также для
литологического расчленения пород не является необходимым, так как эти задачи
разрешаются с помощью других геофизических методов. Измерительные установки
этих методов легче спускаются в скважину и извлекаются из нее, чем микрозонд.
Лишь на самых тонких угольных пластах, находящихся на пределе рабочей мощности,
можно применять микрозонды для уточнения мощности этих пластов.
Заключение
Метод микрозондирования используется для
исследования скважин, заполненных сравнительно слабоминерализованной
промывочной жидкостью, с целью детального изучения строения пластов и получения
количественных и качественных физических характеристик пород.
Данные микрозондирования служат для детального
расчленения разреза скважины, четкой отбивки границ пластов и определения их
мощности, уточнения литологии разреза, выделения маломощных прослоев, выделения
пластов-коллекторов и оценки эффективной мощности продуктивных горизонтов,
определения пористости и трещиноватости пород, выделения продуктивных пластов и
оценки их нефтегазонасыщения, оценки нефтеотдачи пластов.
Диаграммы обычных микрозондов используют в
основном для целей качественной интерпретации. Однако существует и
принципиальная возможность количественного определения удельного сопротивления.
Для этого необходимо располагать значениями кажущегося сопротивления,
полученными обоими микро-зондами: микроградиент- и микропотенциал-зондами. Для
этого выделяют пласт (границы пласта проводят по точкам перегиба кривой КС) и
против него отсчитывают значения рк. Далее определяют сопротивление глинистой
корки ргк, которое в первом приближении принимается за сопротивление
промежуточной зоны. Затем с помощью специальных палеток, построенных для
микрозондов соответствующих конструкций, находят сопротивление прискважинной
зоны рпп и толщину промежуточной зоны. Однако следует помнить, что погрешность
определения сопротивления может значительно превышать допустимые пределы. При
рпп / ргк >20 количественная интерпретация вообще нецелесообразна.
Плотные непроницаемые породы характеризуются
общим высоким уровнем кажущегося сопротивления и изрезанностью кривой рк,
связанной с шероховатостью стенок скважины и неравномерностью прижатия
электродов к породе.
Список использованных источников
1. Знаменский
В.В, Жданов М.С, Петров Л.П. Геофизические методы разведки и исследования
скважин. М.: Недра, 1981
2. Итенберг
С.С, Т. Д. Дахкильгов Т.Д. Геофизические исследования в скважинах. М.: Недра,
1982
3. Итенберг
С.С. Интерпритация результатов геофизических исследований скважин. М.: Недра,
1987
4. Дьяконов
Д.И. Леонтьев Е.И, Кузнецов Г.С. Общий курс геофизических исследований скважин.
М.: Недра, 1977.