Разработка системы управления ГАП (РТК), механообработка
Министерство образования Республики
Беларусь
Белорусский национальный технический
университет
Факультет информационных технологий и
робототехники
Кафедра "Робототехнические
системы"
КУРСОВАЯ РАБОТА
по дисциплине "Системы
управления технологическим оборудованием"
Тема: Разработка системы управления
ГАП (РТК), механообработка
Минск 2011 г.
Содержание
Введение
1. Постановка задачи
2. Анализ и выбор компоновки ГАП (РТК)
3. Выбор комплектующих ГАП (РТК)
4. Информационные системы
5. Выбор системы управления
6. Контроль работы исполнительных устройств
Заключение
Список используемых источников
Введение
Сегодня можно с уверенностью утверждать, что направление
технического перевооружения производства на основе гибкой автоматизации всех
его процессов получило всеобщее признание в машиностроении.
Комплексно-автоматизированное машиностроительное производство создает условия
для одновременного достижения высокой производительности, сопоставимой с
возможностями автоматических поточных линий, и технологической гибкости,
обеспечиваемой ранее лишь непосредственным участием человека в производственном
процессе.
Гибкие производственные системы (ГПС) получили пока
наибольшее распространение в области обработки металлов резанием, что связано с
большей подготовленностью этой области производства к внедрению гибкой
технологии и автоматизации самих технологических процессов. Однако в последнее
время разворачиваются работы в этом направлении в заготовительном и сборочном
производствах. Создаются ГПС, включающие не только металлорежущее оборудование,
но и литейное, кузнечно-прессовое, лазерное, сборочное и некоторые другие типы.
Актуальной является проблема создания интегрированных производственных систем.
Для этого необходимо решение ряда важных научных и инженерных задач создания
технических и программных средств управления, измерения, контроля за ходом
производственного процесса, диагностики, манипулирования обрабатываемыми
деталями, конструирования инструмента, выбора технологической стратегии и др.
Таким образом, проблема ГАП является многоплановой.
Применение ГПС обеспечивает распространение преимуществ
массового производства, на серийное, что включает в себя повышение
производительности, сокращение численности работающих и расхода фонда
заработной платы, повышение качества изделий, возможности организации
безлюдного производства в третью смену, сокращение времени пролёживания
деталей, более быструю окупаемость капитальных вложений, сокращение времени
сборочных операций и т.д.
Основными проблемами при создании и внедрении ГПС являются:
контроль износа инструмента, что вызывает внеплановые потери времени на замену
инструмента и необходимость проведения тщательного контроля обработанных
деталей; удаление стружки из зоны обработки, особенно организация отдельного
сбора стружки по видам обрабатываемых материалов; автоматический активный
контроль размеров деталей в процессе обработки и т.д.
При обработке деталей типа тел вращения основным
оборудованием в ГПС являются токарные станки с ЧПУ. Оснащение этих станков системой
автоматического разделения пропуска, циклом резьбонарезания, подпрограммами
обработки фасок и выточек, а также многоместными инструментальными магазинами,
имеющими автономный привод, и устройство торможения шпинделя, превращает их в
токарные многоцелевые станки. Оснащение ЧПУ запоминающими устройствами большой
емкости позволяет быстро переналаживать станок на другие программы, что снижает
подготовительно-заключительное время.
Обеспечение полностью автоматического и автономного цикла
работы токарных станков достигается установкой накопителя заготовок,
организацией их автоматической загрузки и разгрузки, а также контроля за
состоянием инструментов и размерного контроля.
С целью наиболее эффективного использования станочного
оборудования в ГПС необходимо, чтобы его производительность и технологические
возможности охватывали различные типы производства изделий от мелкосерийного до
крупносерийного, отличающегося ограниченной номенклатурой, большими партиями и
сравнительно редкими переналадками по отношению к мелкосерийному производству.
Поэтому тенденция к преимущественному использованию в ГПС одношпиндельных
многоцелевых станков обоснована при малой серийности обрабатываемых деталей и
частой переналадке. При увеличении серийности наиболее эффективно применять в
ГПС многошпиндельные станочные модули с программным управлением.
Таким образом, применение ГПС и РТК обеспечивает: увеличение
уровня технической вооруженности производства за счет автоматизации практически
всех основных и вспомогательных операций; повышение производительности труда, в
том числе за счет сокращения численности работающих; решение проблемы
сокращения дефицита рабочих, выполняющих как основные, так и вспомогательные
операции; изменение условий и характера труда за счет увеличения доли умственного
и сведения к минимуму физического труда; сокращение в 2.3 раза численности
обслуживающего персонала, работающего во вторую и третью смены; облегчение
организации и обслуживания производства; повышение требований к квалификации
обслуживания, диагностики и ремонта; создание условий для ритмичной работы
предприятия и другие преимущества. [1]
система управление горячая штамповка
1. Постановка
задачи
Задачей данной курсовой работы является разработка системы
управления ГАП (РТК) для горячей штамповки. В качестве основного
технологического оборудования было принято решение использовать обрабатывающие
центры ИРТ180ПМФ4. В качестве вспомогательного оборудования были выбраны:
автоматический склад СТАС-250 и транспортные тележки НЦТМ-25.
Автоматический склад стеллажного типа СТАС-250, изображённый
на рисунке 1.1 обслуживается автоматическими кранами-штабелёрами. Для
перегрузки тары с грузом с крана-штабелёра на накопитель (например,
конвейерного типа) транспортной системы ГПС или в обратном направлении используются
специальные приёмные секции стеллажа.
В состав данного автоматизированного технологического
(складского) модуля входят: два каркасных стеллажа 1 с полками 2 для размещения
тары с грузом; автоматический кран-штабелёр 3, перемещающийся по рельсу 4; приёмное
устройство, выполненное в виде загрузочно-разгрузочного поворотного стола 5 с
механизмом подъёма; устройство управления с пультом оператора 6; шкаф
электрооборудования 7, который кабелем 8, подвешенным на кронштейнах 9,
соединён с краном-штабелёром.
Кран-штабелёр состоит из колонны с грузоподъёмной платформой,
на которой смонтирован выдвижной телескопический стол 10 для установки на нём
тары 11 с грузом. По команде от системы управления на загрузку склада
кран-штабелёр подаёт на приёмное устройство пустую тару или столы-спутники,
которые загружаются заготовками, а затем транспортируются краном штабелёром в
определённую ячейку стеллажа.
Рисунок 1.1 - СТАС-250
При поступлении команды на разгрузку склада кран-штабелёр
забирает заготовки вместе с приспособлением-спутником или тарой из ячейки
стеллажа, адрес которой задаётся системой управления, транспортирует и
устанавливает их на стол загрузки-разгрузки. После окончания обработки по
команде управления готовые детали с приспособлением-спутником (или в таре)
снимаются штабелёром в заданную ячейку стеллажа.
На рисунке 1.2 показана безрельсовая транспортная
тележка-транспортный робот (ТР) "Электроника НЦТМ-25". Особенностью
данного ТР является оснащение его автономным источником питания,
микропроцессорным устройством управления, обеспечивающим слежение за трассой в
виде светоотражающей полосы, и загрузочно-разгрузочным столом, на котором
устанавливаются тара и сменные столы-спутники с заготовками, деталями,
инструментами или технологической оснасткой. ТР предназначен для
автоматического перемещения названных изделий между складом-стеллажом,
участками комплектования и ГПМ или РТК в составе ГПС для механообработки.
Рабочее место (станция) ТР содержит две стойки, симметрично расположенные
по обе стороны трассы. На стойке автоматически устанавливается и с них
снимается тара или стол-спутник при помощи подъёмного загрузочно-разгрузочного
стола, смонтированного на тележке. Станция ТР оснащена датчиками типа конечных
выключателей.
Тележка выполнена в виде шасси 1 с двумя ведущими колёсами 2,
установленными на поперечной оси в центре шасси, и четырьмя опорными колёсами 3
на продольных осях спереди и сзади. Приводы 4 тележки смонтированы с двух
сторон на шасси в его центральный части и связаны с каждым из ведущих колёс.
Здесь же размещён привод 5 стола с подъёмными механизмами 6. С одной стороны
тележки установлены аккумуляторные батареи 7, а с противоположной стороны -
блок управления 8 со встроенной микро ЭВМ 9. Фотоэлектрические датчики 20 для
слежения за трассой по светоотражающей полосе, нанесённой на полу, размещены с
двух сторон в нижней части шасси. С каждой стороны тележки имеются упоры 11 с
устройствами аварийного останова и фары 12. Контактное устройство 13
предназначено для автоматического подключения ТР к зарядному устройству. Для
контроля перемещения тележки используются специальные устройства - измерители
пути 14. Механизмы тележки сбоку и сверху закрыты кожухами 15 (на рисунке не
показаны).
Рисунок 1.2 - Электроника НЦТМ-25
. Анализ и
выбор компоновки ГАП (РТК)
Роботизированные комплексы для механообработки заготовок типа тел
вращения могут иметь различные компоновочные схемы в зависимости от выполняемых
ими технологических задач.
Наибольшее применение в машиностроении получили РТК, состоящие из
автоматизированных станков (токарных, круглошлифовальных, многоцелевых и др.), оснащенных
накопительными устройствами для заготовок и деталей, системой программного управления
и обслуживаемых с помощью ПP. В первую очередь такие РТК предназначаются для серийного
изготовления деталей мелких и средних размеров с небольшим временем обработки. Комплексы
могут оснащаться как встроенным в станок, так и внешними ПР напольного или портального
типа.
РТК мод. М01И611 - "Ритм" показанный на рисунке 2.1
предназначен для токарной (патронной и центровой) обработки мелких деталей типа
тел вращения из штучных заготовок массой до 0,1 кг. ПР мод.
"Ритм-01.08", установленный на крышке шпиндельной бабки токарно-винторезного
станка с ЧПУ мод.1И611ПМФЗ, производит его загрузку заготовками, находящимися на
позиции выдачи их вибробункером. Обработанные изделия ПР снимает со станка и
сбрасывает в тару через специальный лоток.
Рисунок 2.1 - РТК модели М01И611
Для токарной обработки деталей типа длинных валов массой до 5 кг из
штучных заготовок используют РТК мод.1708ПР4 (рисунок 2.2), включающий в себя многорезцовый
станок-полуавтомат типа 1708, автоматизированное загрузочное устройство
(тактовый стол) для поштучной выдачи заготовок и обслуживающий их ПР напольного
типа мод. ПР4.
ПР в составе комплекса выполняет следующие операции: загрузку и разгрузку
станка, сбрасывание детали в тару, а также управление включением
автоматического цикла работы станка. В станке имеется конвейер для удаления
стружки, которая автоматически подается в тару.
Рисунок 2.2 - РТК модели 1708ПР4
Для токарной патронной или патронно-центровой обработки деталей средних
типоразмеров (с массой заготовки до 10 кг) за одну или две установки (с
возможностью поворота заготовки на 180') в настоящее время широко используют РТК
16К2ОФЗ. Р132 (рисунок 2.3) и его модификации.
Встроенный в станок 16К2ОФЗ ПР мод. М10П62.01 выполняет в составе
комплекса следующие операции: снятие заготовки с определенной позиции тактового
стола типа СТ220; установку заготовки в патрон станка; снятие и возвращение обработанной
детали на ту же позицию тактового стола. Установка заготовок на подвижные платформы
тактового стола осуществляется в ориентированном виде посредством специальной оснастки.
ПР может оснащаться различными типами схватов в зависимости от вида заготовок.
Рисунок 2.3 - РТК модели 16К20Ф3. Р132
РТК мод. БРСК-01 (рисунок 2.4) предназначен для автоматизации
процесса токарной обработки в условиях мелкосерийного производства широкой номенклатуры
фланцевых деталей массой до 10 кг. Комплекс построен на базе токарно-револьверного
станка с ЧПУ мод.1В340ФЗО или аналогичных токарных станков с ЧПУ (мод.1П426ФЗ, 1,
Б616ФЗ и др.), обслуживаемых совместно с магазинным накопителем (с поворотным столом)
с помощью ПР портального типа мод. М2ОЦ.48.01.
ПР в составе комплекса выполняет загрузку станка заготовками из магазина-накопителя,
снятие обработанных деталей и укладку их в тот же магазин.
Рисунок 2.4 - РТК модели БРСК-01
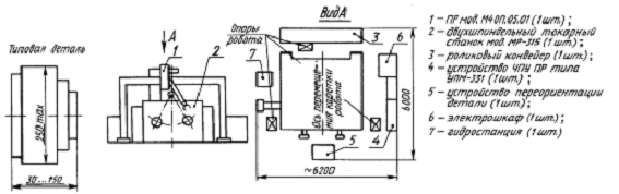
На базе автоматизированного двухшпиндельного токарного станка мод.
МР-315, ПР портального типа мод. М40П. О5.01, роликового конвейера-накопителя и
поворотного устройства для переориентации заготовки (поворота ее на 180') создан
РТК мод. МРК-40.202 (рисунок 2.5) для двусторонней обработки фланцевых деталей массой
до 40 кг.
ПР в составе комплекса выполняет следующие операции: захват заготовки
из тары, находящейся в позиции загрузки на роликовом конвейере; установку
заготовки в патрон первого шпинделя; установку заготовки после обработки ее с одной
стороны на позицию переориентации; установку повернутой на 180' заготовки во второй
шпиндель; перенесение обработанной детали к конвейеру-накопителю и установку ее
в тару.
Для совмещения операций снятия и установки заготовки и детали в
шпиндель станка ПР снабжен двухзахватным устройством. При необходимости ПР может
выполнять параллельную загрузку и разгрузку двух шпинделей станка.
Рисунок 2.5 - РТК модели МРК-40.202
Кроме индивидуальных РТК, в механообрабатывающем производстве в
настоящее время используют групповые роботизированные комплексы (участки и линии),
обеспечивающие полную токарную обработку деталей с двух сторон, а в ряде случаев
подготовку баз под последующую обработку (например, фрезерование торцев и зацентровку
валов) и финишную (например, шлифовальную) обработку. В состав РТУ и РТК включают
несколько станков одного или различных типов, которые взаимно дополняют или заменяют
друг друга.
В РТЛ оборудование обслуживается ПР в последовательности выполнения операций
для заданного технологического процесса. В отличие от этого на РТУ предусматривается
возможность изменения последовательности использованияоборудования в зависимости
от конкретного варианта обрабатываемого изделия. В робототехнических комплексах
ПР кроме операций обслуживания оборудования выполняет межоперационное
транспортирование, переориентацию и раскладку деталей в тару. Для обеспечения условий
техники безопасности комплексы имеют ограждение с системой светозащиты.
Последовательность обработки на взаимодополняющих или заменяющих
друг друга станках может быть как постоянной, так и изменяющейся в зависимости от
технологического задания или текущего состояния станков.
Комплекс на базе токарного автоматизированного станка мод.1713
(рисунок 2.6) и ПР портального типа мод. МП (двурукое исполнение) предназначен для
крупносерийного производства валов (массой до 10 кг) для коробок передач сельскохозяйственных
машин. Заготовки вручную устанавливаются в ориентированном виде на тактовом столе,
который периодически их подает в зону обслуживания ПР. Последующие загрузочно-разгрузочные,
транспортные операции, передача заготовки между станками и возврат детали на тактовый
стол выполняются ПР в технологической последовательности.
Рисунок 2.6 - РТК модели 1713-МП
Для токарной обработки заготовок типа дисков, колец, втулок, фланцев
(массой до 40 кг) применяют комплекс на базе патронного токарного станка с ЧПУ агрегатного
типа мод. АТ250П, обслуживаемого универсальным ПР напольного типа мод. УМ1
показанные на рисунке 2.7.
ПР в составе комплекса осуществляет загрузку и разгрузку станков из
магазина карусельного типа и укладку деталей после обработки в тот же магазин, который
периодически поворачивается в следующую позицию.

РТУ мод. АСВР-041 (рисунок 2.8) предназначен для обработки различных тел
вращения - валов (массой до 40 кг) в условиях серийного производства. Комплекс построен
на базе двух токарных станков с ЧПУ мод.16К2ОФЗ, накопителей заготовок и деталей,
устанавливаемых в них в ориентированном виде, промежуточных однопозиционных столов
для обработанных на станках деталей и обслуживающего ПР портального типа мод. СН4ОФ2.80.01.
ПР в составе комплекса выполняет загрузку станков заготовками, их
разгрузку на промежуточной позиции после обработки, межстаночное транспортирование
обработанных деталей, перебазирование и раскладку заготовок и деталей в накопители,
а также поиск в них нужных заготовок и деталей. РТУ снабжен системой светозащиты
рабочей зоны.
Рисунок 2.8 - РТК модели АСВР-041
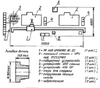
РТЛ для обработки деталей типа буксы массой до 160 кг построена
на базе двух токарных станков с ЧПУ мод. 1П752МФЗ (рисунок 2.9), двухпозиционного
накопителя с поворотным столом и обслуживающего ПР портального типа мод. УМ16ОФ2.81.02.
Комплекс с помощью загрузочного устройства непосредственно взаимодействует с автоматизированным
складом, в ячейках которого устанавливается тара с заготовками и обработанными деталями.
ПР в составе комплекса осуществляет следующие операции: выбор заготовки
из тары, расположенной на поворотном устройстве, и загрузку первого станка для обработки
одной ее стороны; последовательную загрузку другого станка для обработки второй
ее стороны; установку готовой детали на поворотное устройство. При повороте стола
этого устройства тара перемещается в загрузочную позицию склада.
Рисунок 2.9 - РТК модели 1П752МФ3
РТК для полной обработки вальцов сельскохозяйственных машин
(массой до 40 кг) состоит из станков: агрегатно-расточного мод.10А803 (рисунок
2.10), двух токарно-винторезных мод.16К20, специализированного многорезцового
токарного мод. МТ57 и специального агрегатного. Каждый из станков индивидуально
обслуживается ПР или манипулятором. При помощи ПР мод. СМ40Ц.40.11 осуществляется
загрузка агрегатно-расточного станка мод.10А803 заготовками из накопительного устройства
и передача их после обработки на штанговый конвейер, с которого остальные станки
последовательно загружаются манипуляторами мод. МР80.
Рисунок 2.10 - РТК модели 10А803
РТУ мод. АСВР-01 (рисунок 2.11) предназначен для обработки валов
(массой до 160 кг) для электродвигателей 30 типоразмеров в условиях серийного производства.
Заготовки в виде резаного проката подводятся электрокаром и загружаются
на подающий конвейер, с загрузочной позиции которого их снимает ПР мод. УМ160Ф2.81.01
и раскладывает в ориентированном виде в тару магазина.
Участок укомплектован фрезерно-центровальным станком мод. МР179 и
двумя токарными станками с ЧПУ мод.1Б732ФЗ или 1740ФЗ, на которых производится подрезка
торцов, центрование и токарная обработка валов. Обслуживание роботом станков осуществляется
по их вызовам. При одновременном поступлении двух заявок ПР обслуживает станок с
более длительным циклом работы.
Между станками расположены промежуточные магазины-накопители с тарой для
частично. и полностью обработанных заготовок. Непосредственно у каждого станка имеется
промежуточный накопитель обработанных деталей. Стружка убирается конвейером, проходящим
сзади станков (на схеме планировки не показан).
ПР в составе комплекса выполняет загрузку и разгрузку станков заготовками,
межстаночное транспортирование, перебазирование заготовок и деталей, а также поиск
заготовок в накопителе и раскладку деталей в тару. Безопасность работы обеспечивается
системой светозащиты с фотодатчиками, расположенными в стойках ограждения.
Рисунок 2.11 - РТК модели АСВР-01
РТЛ мод. АСВР-07 (рисунок 2.12) предназначена для финишной обработки
деталей типа валов (массой до 160 кг) в условиях серийного производства.
В состав комплекса включены центродоводочный станок МА3926 и два круглошлифовальных
станка с ЧПУ мод. ЗМ163Ф2. Обслуживание станков вместе с накопительным и контрольно-измерительными
устройствами осуществляет ПР мод. УМ16ОФ2.81.01.
ПР в составе комплекса выполняет загрузку станков заготовками, снятие
со станка, межстаночное транспортирование, перебазирование заготовок и деталей,
а также поиск заготовок в магазине и перенос их на позицию контроля перед загрузкой
в станок. Заготовки располагаются в магазине в ориентированном виде. Комплекс оснащен
системой светозащиты.
Рисунок 2.12 - РТК модели АСВР-07
РТЛ для обработки валов (массой до 40 кг) в крупносерийном производстве
построена на базе фрезерно-центровального станка с ЧПУ МР71, токарного станка с
ЧПУ моделей 1А730 или КМ144, шаговых конвейеров-накопителей заготовок и обработанных
деталей, обслуживаемых с помощью ПР начального типа СМ40Ц.40.11 и показана на
рисунке 2.13.
ПР в составе комплекса выполняет операции загрузки и разгрузки станков
в соответствии с заданной технологической схемой обработки, осуществляет
координацию автоматических циклов их работы. [2]
Рисунок 2.13 - РТК модели МР71
3. Выбор
комплектующих ГАП (РТК)
Проанализировав варианты компоновок и поставленную задачу
была выбран РТК типа "Модуль ИРТ180ПМФ4” основные характеристики которого
указаны в 3.1 Схему компоновки смотри в приложение.
Станок мод. ИРТ180ПМФ4 в составе РТК предназначен для
комплексной патронной обработки особо сложных изделий из черных и цветных
металлов в условиях гибкого автоматизированного производства. На станке можно
выполнять операции точения, фрезерования плоскостей, криволинейных поверхностей
и пазов сложной формы, сверления и растачивания отверстий на наружной
цилиндрической и торцевой плоскостях, нарезание резьбы резцами и метчиками.
Станок имеет прямолинейную станину 1, на которой жестко
закреплена шпиндельная коробка 2. По стальным закаленным направляющим
параллельно оси шпинделя (ось Z) перемещаются сани 3, на которых установлен
поперечно-подвижный (ось Х) ползун 4. Совместно сани и ползун образуют
двухкоординатный суппорт станка, на котором монтируется 12-позиционная
револьверная головка 5 с горизонтальной осью вращения. На ползуне имеется
дополнительный привод вращения сверлильно-фрезерных инструментальных блоков 6.
Шпиндельная коробка, помимо привода главного движения,
обеспечивающего возможность токарной обработки, имеет привод круговой подачи и
точного позиционирования шпинделя 7 по координате C. Трехкулачковый
самоцентрирующий патрон 8 с быстросменными комплектами кулачков обеспечивает
быструю переналадку.
Станок имеет герметичное ограждение 9 рабочей зоны
позволяющее вести обработку с обильной подачей СОЖ (до 100 л/мин). Уборка
стружки осуществляется автоматически конвейером 10 расположенным непосредственно
под зоной резания.
Автоматическая смена обрабатываемых заготовок выполняется
промышленным роботом 11 типа М1ОП62.01, встроенным в станок; ПР осуществляет
снятие заготовки с тактового стола-накопителя 12 и установку ее в патрон
станка, а также снятие обработанной на станке детали и укладку ее в тару на
столе. Загрузка и разгрузка тактового стола может выполняться автоматически во
время работы станка.
Станок оснащается отдельно стоящим устройством 13 для
автоматической смены инструментальных барабанов на револьверной головке.
Сменные барабаны предварительно устанавливается в накопителе 14, в котором
возможно выполнять их переналадку во время работы станка. Автоматическая
размерная настройка инструментов осуществляется непосредственно на станке с помощью
измерительной контактной головки 15, которая во время обработки убирается в
специальный кожух.
Для автоматического контроля размеров заготовки и
обработанной на станке детали в инструментальном барабане дополнительно
устанавливается контактная измерительная головка. Система автоматического
измерения заготовок и деталей позволяет вводить необходимую коррекцию в
управляющую программу для обеспечения заданного качества обработки.
Пульт 16 устройства ЧПУ устанавливается на кронштейне 17 у
передней стенки станка.
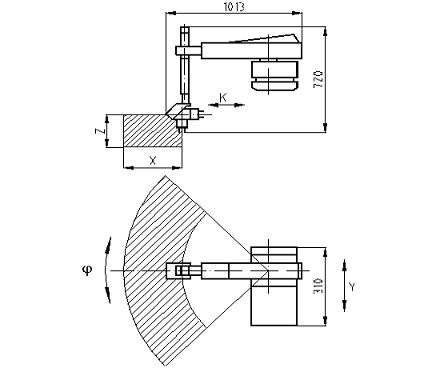
Промышленный робот М1ОП62.01 показан на рисунке 3.1
Технические характеристики М1ОП62.01 указаны в таблице 3.2 [3]
Таблица 3.1 - Характеристики модуля ИРТ180ПМФ4
|
Наибольшие
размеры обрабатываемой детали, мм диаметр длинна
|
200 160
|
|
Наибольший
диаметр прутка, проходящего через отверстие в шпинделе, мм
|
50
|
|
Конус шпинделя
по ГОСТ 12595-72
|
1-6м
|
|
Число
индексируемых позиций револьверной головки, шт.
|
12
|
|
Число
инструментальных гнёзд, шт.
|
2*12
|
|
Число
управляемых осей координат (в том числе одновременно), шт.
|
3 (2)
|
|
Наибольшее
перемещение подвижных узлов, мм ползуна (поперечное - Х) саней (продольное - Z)
|
245 400
|
|
Дискретность
перемещений: линейных (X и Z), мм угловых (С)
|
0.001 0.0010
|
|
Точность
позиционирования, мкм по Х по Z
|
16 20
|
|
Частота вращения
шпинделя, мин-1
|
20-4000
|
|
Рабочие
скорости: по Х, мм/мин по С, мин-1
|
1-5000
0.01-16
|
|
Установочные
перемещения: по Х, м/мин по Z, м/мин по С,
мин-1
|
10 15 16
|
|
Частота
вращения приводного вала инструмента, мин-1
|
40-4000
|
|
Наибольшее
усилие развиваемое по Х и Z, кН
|
4; 6
|
|
Наибольший
крутящий момент на шпинделе, Нм
|
630
|
|
Мощность
привода главного движения, кВт
|
18.5-25
|
3.5-5.5
|
Рисунок 3.1-М10П62.01
Таблица 3.2 - Основные характеристики М10П62.01
|
Число степеней
подвижности
|
Тип привода
|
Устройство
управления
|
Способ
программирования перемещений
|
Погрешность
позиционирования, мм
|
Линейные
перемещения, мм
|
|
|
|
|
|
Х (со скоростью
0.05 м/с)
|
Z (со скоростью 0.05 м/с)
|
Y (со скоростью 0.1 м/с)
|
|
5
|
Электромеханический
|
Позиционное
|
Обучение по
первому циклу
|
0.5
|
300
|
160
|
300
|
4.
Информационные системы
Технические средства для контроля объектов на нижнем (исполнительном)
уровне АСУ ГПС определяются их назначением, конструкцией и условиями работы, Для
металлорежущих станков ими могут быть датчики перемещений рабочих органов, путевые
(контактные и бесконтактные) выключатели, датчики контроля параметров процесса
(усилия резания, температуры в шпиндельном узле, положения режущей кромки инструмента,
виброускорений в резцовой головке и другие), обеспечивающие работу станка в автоматическом
режиме. Промышленные роботы обычно оснащаются датчиками позиционирования и касания
(для контроля захвата изделия), а транспортно-накопительные устройствадатчиками
типа путевых выключателей.
Датчики перемещений являются техническими средствами измерений,
предназначенными для преобразования параметра пути при линейных или угловых (круговых)
движениях в электрический сигнал, пригодный для последующей обработки в
преобразователе, входящем в состав измерительной системы. Выходной
электрический сигнал измерительной системы, содержащий информацию о величине и направлении
перемещений, формируется в соответствии со стандартами на устройства ЧПУ и автоматические
системы управления. Измерительная система гибкого производственного, комплекса представляет
собой совокупность совместно функционирующих датчиков и преобразователей,
соединенных между собой каналами связи.
Параметры выходных сигналов измерительных систем определяются типом
датчиков: импульсных, фазовых (фазоимпульсных), кодовых (цифровых).
В состав информационно-измерительной системы, кроме того, входят отсчетные
устройства для представления выходной информации в стандартном
буквенно-цифровом коде для возможности индикации, например на экране дисплея.
Создание унифицированных информационно-измерительных систем позволяет проектировать
устройства автоматического управления независимо от типа оборудования для ГПС с
различным уровнем автоматизации.
Угловая ориентация шпинделя станка осуществляется с помощью
фотоэлектрического датчика кругового перемещения показанного на рисунке 4.1.
Рисунок 4.1 - Датчик модели ВЕ-51В и его характеристики
Контроль положения ползуна осуществляется датчиком ИПЛ-30К1
показанным на рисунке 4.2.
Рисунок 4.2 - Датчик ИПЛ-30К1
Лазерный измеритель пути ИПЛ-30К1 служит для высокоточных
измерений линейных и угловых перемещений, а также контроля прямолинейности
движения. Измеритель состоит из лазерного интерференционного преобразователя,
нормирующего преобразователя, блоков индикации и автоматики.
Контроль положений элементов в РТК осуществляется
бесконтактными путевыми выключателями показанными на рисунке 4.3 Путевые
выключатели широко используются в цепях обратной связи систем управления
станками и другим технологическим оборудованием ГПС. [4]
Рисунок 4.3 - Путевые выключатели
5. Выбор
системы управления
РТК и ГПС в машиностроении строятся на базе оборудования с программным
управлением: цикловым и числовым (позиционным контурным или комбинированным). Для
управления металлообрабатывающими станками в составе РТК и ГПМ наибольшее применение
в настоящее время получили многоцелевые устройства ЧПУ
В основу микропроцессорных устройств ЧПУ положены:
) функционально-модульный принцип построения как аппаратной части, так
и внутреннего программного обеспечения;
) использование принципа общей шины для достижения функциональной и конструктивной
законченности и независимости модулей друг от друга. Все это позволяет создавать
различные модификации устройств ЧПУ путем изменения числа или набора используемых
модулей, а также разработкой дополнительного внутреннего программного обеспечения
для конкретного типа станков.
Ко всем устройствам ЧПУ, которые используются в современных ГПС,
предъявляются следующие основные требования: наличие достаточного ресурса
памяти, играющей определяющую роль в многоцелевых перепрограммируемых системах управления;
свободное программирование различных законов управления, и контроля с сохранением
системного программного обеспечения (СПО) в оперативной памяти; энергозависимость
перепрограммируемой памяти для обеспечения длительного хранения СПО, накопленного
за период эксплуатации, информации для коррекции законов управления (например, результатов
обработки данных автоматического измерения погрешностей работы различных узлов
оборудования), управляющих программ обработки, контроля и диагностики; высокая помехоустойчивость,
позволяющая управлять различным технологическим оборудованием при размещении устройств
ЧПУ в непосредственной близости с объектом и питанием от общей энергосети; обеспечение
требуемого быстродействия и точности управления (например, формирование траектории
движения одновременно по десяти и более координатам со скоростью до 20 м/мин
при точности вычисления до 1 мкм).
Аппаратная часть современных устройств ЧПУ станками может строиться на
основе универсальных или специализированных микроЭВМ. Конструктивно устройство Ч
[1У выполняется, как правило, в виде двух взаимосвязанных блоков: вычислителя
(на базе микроЭВМ) и внешних устройств, реализующих функции ЧПУ.
Блок вычислителя устройства ЧПУ типа 2М43 размещен в подвесном пульте оператора.
Основу вычислителя составляет микроЭВМ типа "Электроника-60М", в состав
которой входит центральный процессор, модули оперативной памяти объемом до 16 К
(1 К= 1024 восьмиразрядных слов - ~байт) для хранения управляющих программ и
перепрограммируемой памяти (объемом до 4 К), для хранения СПО ЭВМ, устройство управления
и модули связи со стандартным фотосчитывающим и другими устройствами ввода-вывода
информации. Каналы микроЭВМ и ЧПУ связаны между собой через адаптер. Канал ЧПУ,
в отличие от магистрали микроЭВМ типа общей шины, имеет специальную шину адресов
блоков ЧПУ, что упрощает схему подключения этих блоков.
В числе устройств, подключаемых к каналу ЧПУ, имеется дополнительный
модуль внешней, перепрограммируемой памяти объемом 16 К, который предназначен для
хранения системного программного обеспечения ЧПУ. В числе других блоков устройства
ЧПУ имеются: блоки связи с электроавтоматикой, с датчиками обратной связи по перемещению
и с приводами; пульт управления и наладки с клавишами, переключателями и устройством
индикации; алфавитно-цифровой дисплей; блок сопряжения с внешней памятью
(например, кассетным наполнителем на магнитной ленте); программируемый контроллер
для управления электроавтоматикой; блок питания и другие специализированные блоки.
В устройстве ЧПУ имеются постоянное и оперативное (статического и
динамического типов) устройства. Свободно программируемые устройства памяти
сохраняют информацию при отключении питания от сети. Блоки ЧПУ, обеспечивающие выполнение
различных специализированных функций, в том числе связь с периферийными устройствами
и внешними объектами, объединены в общий интерфейсный блок микроЭВМ.
Обмен информацией между центральным процессором и периферийными
устройствами ЧПУ осуществляется по основной и внутренней магистралям. Основная магистраль
представляет собой канал микроЭВМ, выполненный по типу общей шины, к которой непосредственно
подключены динамическое запоминающее устройство и устройство управления, обеспечивающее
связь основной магистрали с устройствами ввода и вывода информации и пультом
оператора. Основные периферийные блоки устройства ЧПУ связываются с основной магистралью
через внутренний магистральный канал при помощи шинного согласователя и адаптера.
Адаптер обеспечивает связь центрального процессора с абонентами внутренней магистрали
путем трансформации передаваемых сигналов. Кроме того, в адаптере формируются необходимые
для обмена управляющие сигналы, а также осуществляется запоминание и дешифрация
адреса абонента на время связи с ним центрального процессора.
Блок умножения обеспечивает аппаратное перемножение 16-разрядных
двойных чисел, что существенно увеличивает быстродействие устройства ЧПУ. Таймер
позволяет формировать запрограммированные выдержки времени, по которым организуются
сигналы прерывания работы центрального процессора. Характеристики системы ЧПУ
2М43 указаны в таблице 5.1, а структурная схема показана в приложении.
Управление тактовым столом и манипулятором также
осуществляется при помощи ЧПУ. [5]
Таблица 5.1-Характеристики ЧПУ 2М43
|
Управляемое
оборудование
|
Базовая
микро-ЭВМ
|
Объём
памяти-ОЗУ, Кбайт
|
Быстродействие
103 операций/с
|
Число
управляемых координат, шт
|
Скорость
быстрого хода, м/мин
|
Скорость
рабочей подачи, м/мин
|
Контроль
состояния инструмента
|
Привод
|
Датчики
перемещения
|
|
Тяжёлые
уникальные станки и ГПМ
|
Электроника -
60
|
16 и 32
|
500-700
|
До 12
|
20
|
0.01-10
|
Имеется
|
Следящий
|
Фотоимпульс-ный,
резольвер, индуктосин
|
6. Контроль
работы исполнительных устройств
В первый момент времени от системы ЧПУ РТК на ЭВМ верхнего
уровня (ЭВМВУ) подаётся сигнал об отсутствии на тактовом столе паллеты с
заготовками. ЭВМВУ сигнализирует об этом транспортно-складской СУ (ТССУ),
передавая так же адрес станка, и тип заготовок необходимых данному РТК. ТССУ в
свою очередь даёт команду роботу-штабелёру на доставку из определённой ячейки
склада необходимой паллеты, и загрузки её на свободного транспортного робота.
Сразу после этого в ЭВМ транспортного робота заносится информация о адресе
станка и даётся разрешающая команда на выезд.
В паллете содержится стандартное количество заготовок и все
они находятся в строго ориентированном виде. Количество заготовок в паллете
заносится в память ЧПУ, и при обработки этого количества деталей ЧПУ
сигнализирует ЭВМВУ о переполнении. ЭВМВУ управляя ТССУ отправляет к РТК транспортную
тележку и цикл повторяется заново.
Схему компоновки ГАУ и циклограмму работы смотри в
приложении.
Заключение
В ходе курсовой работы была выполнена заключительная часть
задачи по автоматизации технологического процесса производства эксцентриковых
кулачков, а именно разработка системы управления (СУ) РТК как части СУ гибкого
автоматического участка, в рамках курсовых проектов по предметам
"Технологические процессы и оборудование в приборостроении и
радиоэлектронной промышленности", "Проектирование систем
автоматики", "Системы управления технологическим оборудованием".
Проанализировав полученные ранее данные, было подобрано
вспомогательное и технологическое оборудование необходимое для выполнения
задачи, а также информационные системы и СУ, позволившие полностью
автоматизировать производство детали.
Список
используемых источников
1. Роботы
и автоматизация производства. Пер. с англ.М.Ю. Евстегнеева и др. - М.: Маш-е,
1989.
2. Робототехнические
комплексы и ГПС в машиностроении. Альбом схем и чертежей. Под ред. Соломенцева
Ю.М. - М: Маш-е, 1989.
. Козырев
Ю.Г. Промышленные роботы: Справочник - М.: Маш-е, 1988.
. Датчики.
Устройство и применение. Пер. с нем. М.А. Хацериова - М.: Мир, 1989.
. Тихомиров
В.И. и др. Микропроцессорное управление приводами станков с ЧПУ. - М.: Маш-е,
1990.