Проектирование цифровых телекоммуникационных систем
Особенности СЦИ
Синхронная цифровая иерархия (СЦИ) - это
международный стандарт высокоскоростных синхронных сетей связи, обеспечивающий
прогрессивный подход к построению транспортных сетей и организации сетевого
управления.
Технология СЦИ обеспечивает технические
возможности построения транспортных сетей и позволяет оператору быстро
откликаться на изменение требований пользователей и пропускной способности.
Сети СЦИ могут иметь конфигурации, обеспечивающие возможности автоматического
восстановления для повышения надежности сетевой инфраструктуры. Принцип
мультиплексирования СЦИ позволяет осуществлять коммутацию (оперативное
переключение) низкоскоростных потоков в составе высокоскоростных без
необходимости полного демультиплексирования последних, что является одним из
самых важных преимуществ СЦИ по сравнению с принципами, принятыми в
плезиохронной цифровой иерархии (ПЦИ). Основными преимуществами СЦИ являются:
наличие единых международных стандартов;
меньшие размеры оборудования по сравнению с
оборудованием ПЦИ;
гибкость и надежность сетевой инфраструктуры;
развитое сетевое управление;
совместимость оборудования различных
производителей.
Технология СЦИ изменила подходы к построению не
только телекоммуникационного оборудования, но и к самой структуре сетей связи.
Эта технология определяет не отдельные участки транспортной сети,
организованные системами передачи ПЦИ по топологии «точка-точка», а всю
транспортную сеть, включая удаленное управление и коммутацию потоков. Таким
образом, структура транспортной сети трансформируется от совокупности
соединений «точка-точка» к однородной сети управляемых узлов, причем системы
удаленного управления становятся стандартными компонентами транспортной сети.
Технология СЦИ характеризуется следующими
принципами построения сетей:
широким использованием кольцевых сетевых
структур;
оптимальным использованием существующей сетевой
инфраструктуры;
применением интегрированной системы управления.
Эти принципы позволяют наиболее полно
использовать возможности волоконно-оптических кабелей и преимущества технологии
СЦИ по вводу/выводу цифровых потоков информации стандартными компонентами
транспортной сети.
Характеристика транспортной сети
Общие принципы построения СЦИ
Принципами СЦИ предусматривается создание на
сети связи универсальной транспортной сети, объединяющей сетевые ресурсы,
которые выполняют функции передачи информации, контроля и управления
(оперативного переключения, резервирования и др.).
Рис. 1
Транспортная сеть СЦИ является базой для всех
существующих и планируемых служб, интеллектуальных, персональных и других
сетей.
Информационной нагрузкой транспортной сети СЦИ
могут быть сигналы систем передачи ПЦИ, потоки ячеек ATM или иные цифровые
сигналы. Возможности транспортирования разнородных сигналов нагрузки
достигаются в СЦИ благодаря использованию принципа контейнерных перевозок. В
транспортной сети СЦИ перемещаются специальные цифровые структуры - виртуальные
контейнеры, в которых размещаются блоки передаваемых сигналов. Основных слоев в
СЦИ 3 (см. рис. 1).
Информационными цифровыми структурами,
образуемыми в сетевых слоях секций и трактов, являются следующие:
Синхронный транспортный модуль (Synchronous
Transport Module, STM) является блочной информационной структурой длительностью
125 мкс, используемой для организации соединений в слое секций СЦИ.
Виртуальный контейнер (Virtual Container, VC-n,
т) является блочной информационной структурой, используемой для организации
соединений в слое трактов СЦИ
Административный блок (Administrative Unit-n,
AU-ri) представляет собой информационную структуру, обеспечивающую согласование
между слоем трактов верхнего ранга и слоем мультиплексных секций.
Субблок или компонентный блок (Tributary Unit-m,
TU-m) также блочная информационная структура, обеспечивающая согласование между
слоем трактов нижнего ранга и слоем трактов верхнего ранга.
Субсинхронные транспортные модули -
информационные структуры, используемые для организации относительно
низкоскоростных соединений в слое секций СЦИ
Контейнер (С-п) представляет собой
информационную структуру, формирующую синхронную с сетью информационную
нагрузку для виртуального контейнера.
Схема образований СЦИ приведена на рис.2. В
качестве полезной информации могут использоваться сигналы ПЦИ, ячейки АТМ и др.
сигналы
Рис. 2
Мультиплексоры СЦИ являются универсальными
сетевыми элементами, позволяющими решать практически все перечисленные выше
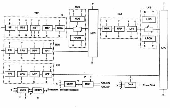
задачи. На рисунке 3 показана обобщенная функциональная схема мультиплексора.
Рассмотрим вначале последовательность преобразования сигнала при прохождении
его через мультиплексор от входа сети доступа (соответствующего цифровому
сетевому стыку по ГОСТ 26886-86) до выхода в синхронную сеть (образование
синхронного модуля STM-N).
Рис. 3 - Обобщенная функциональная схема
мультиплексора
/LPA (PDH Physical Interface)l(Lower order Path
Adaptation) (Физический стык ПЦИ/адаптация тракта низшего порядка) - образует
сетевой цифровой стык, соответствующий ГОСТ 26886-86, и вводит нагрузку в
контейнер.(Lower order Path Protection) (Резервирование тракта низшего порядка)
- обеспечивает возможность ответвления сигнала на позиции другого тракта
низшего порядка для резервирования.(Lower order Path Termination) (Окончание
тракта низшего порядка) - добавляет трактовый заголовок контейнера VC-m.(Lower
order Path Connection) (Соединение трактов низшего порядка) - позволяет
осуществлять гибкое соединение контейнеров VC-m, (кросс-коннекция), то есть
распределяет.(Lower order Path Unequipped Generator) (Генерация сигнала
необорудованного тракта низшего порядка) - в случае «неиспользуемого»
соединения генерирует действительный контейнер VC-n, со значением метки сигнала
«необорудованный».(Higher order Path Adaptation) (Адаптация тракта высшего
порядка) - осуществляет обработку указателя блока TU для индикации фазы первого
байта заголовка VC-m относительно первого байта заголовка VC-n и формирует
полный контейнер VC-n.
НРР (Higher order Path Protection)
(Резервирование тракта высшего порядка) - обеспечивает возможность ответвления
сигнала на позиции другого тракта высшего порядка для целей
резервирования.(Higher order Path Termination) (Окончание тракта высшего
порядка) - добавляет трактовый заголовок контейнера VC-n.
НРС (Higher order Path Connection) (Соединение
трактов высшего порядка) - осуществляет гибкое соединение контейнеров VC-n
(кросс-коннекция).(Higher order Path Unequipped Generator) (Генерация сигнала
необорудованного тракта высшего порядка) - в случае «неиспользуемого»
соединения генерирует действительный контейнер VC-n со значением метки сигнала
«необорудованный».(Multiplex Section Adaptation) (Адаптация мультиплексной
секции) - обрабатывает указатель блока AU-4 для индикации фазы заголовка VC-n
(РОН) относительно заголовка STM-N (SOH). Осуществляет объединение групп
административных блоков (AUG) по байтам для формирования полного цикла
STM-N.(Multiplex Section Protection) (Резервирование мультиплексной секции) -
обеспечивает возможность ответвления сигнала на другое линейное оборудование
для резервирования.(Multiplex Section Termination) (Окончание мультиплексной
секции) - генерирует подзаголовок MSOH.(Regeneration Section Termination)
(Окончание регенерационной секции) - генерирует подзаголовок RSOH; затем сигнал
STM-N скремблируется, за исключением ряда 1 заголовка SOH, в котором содержится
цикловой синхросигнал.(SDH Physical Interface) (Физический стык СЦИ) -
преобразует сигнал STM-N внутреннего логического уровня в стыковый сигнал
STM-N. Стыковым сигналом может быть либо агрегатный оптический сигнал, либо
компонентный, как электрический (только для N=1), так и оптический сигнал.
При обратном прохождении сигнала (от синхронной
сети к сети доступа) все операции, кроме операций, указанных ниже, являются
обратными. Исключение составляет функция адаптации тракта низшего порядка,
которая должна обеспечивать буферную память и сглаживающую схему для уменьшения
фазовых флуктуации синхросигнала, выделяемого из принимаемого информационного
сигнала, которое возникает в процессе группообразования и смещения
указателя.(Физический стык СЦИ) - преобразует стыковой сигнал STM-N в сигнал
STM-N внутреннего логического уровня и выделяет синхросигнал из линейного
сигнала.(Окончание регенерационной секции) - определяет цикловой синхросигнал
STM-N, дескремблирует сигнал и осуществляет обработку подзаголовка RSOH.
НРОМ (Higher order Path Overhead Monitor)
(Контроль заголовка тракта высшего порядка) - контролирует трактовый заголовок
контейнера VC- n без его изменения.(Lower order Path Overhead Monitor)
(Контроль заголовка тракта низшего порядка) - контролирует трактовый заголовок
контейнера VC- m без его изменения.
Обозначения на рисунке 3 ясны из описания
прохождения сигнала через мультиплексор. К ним нужно добавить следующие.-
эталонные точки управления - точки взаимодействия с функцией SEMF.(Synchronous
Equipment Management Function) - функция управления синхронной
аппаратурой.(Synchronous Equipment Timing Physical Interface) - физический стык
тактового генератора.
SETS (Synchronous Equipment Timing
Source) - тактовый генератор.
T - эталонные точки хронирования.(Transport
Terminal Function) - функция транспортного терминала.- эталонная точка стыка
между SEMF и MCF. U - эталонные точки доступа к заголовку.- эталонные точки
состояния синхронизации.(Message Communication Function) - функция формирования
сообщений.
Реальные мультиплексоры обычно выполняют лишь
некоторые функции из тех, которые представлены на обобщенной схеме (рисунок 3).
Перечень функций данного мультиплексора определяется его конфигурацией.
Характеристики СЦИ
В курсовом проекте была выбрана сетевая
структура типа «совмещенные кольца». На рисунке 4 представлена карта местности
с населенными пунктами, железными и атомобильными дорогами.
Число узлов в кольце не должно превышать 16, так
как емкость адресного поля в байтах автоматического переключения на резерв К1 и
К2 MSOH ограничена четырьмя разрядами, поэтому число узлов в данной сети было
выбрано равным 4 в одном кольце, и 3 в другом. В таблице 1 указано расстояние
между узлами сети. На рис. 5 представлена расчетная схема связи.
Таблица 1
|
Участок
|
Номера
узлов
|
Протяженность,
км
|
|
Санкт-Петербург-Шлиссельбург
|
1-2
|
42.6
|
|
Шлиссельбург-Тосно
|
2-3
|
50
|
|
Тосно-Гатчина
|
3-4
|
43.5
|
|
Гатчина-Санкт
Петербург
|
4-1
|
43
|
|
Луга-Чудово
|
5-6
|
135
|
|
Чудово-Великий
Новгород
|
6-7
|
70
|
|
Великий
Новгород-Луга
|
7-5
|
87
|
|
Тосно-Чудово
|
3-6
|
65.3
|
|
Гатчина-Луга
|
4-5
|
95
|
Рис. 4 - Карта местности
Рис. 5 - Начало построения расчетной схемы связи
Характеристики узлового оборудования
Мультиплексор доступа 1655 Metropolis AMU
Рис. 6
Семейство мультиплексоров Metropolis компании
Lucent Technologies (с декабря 2007 года Alcatel-Lucent) дополнено новой серией
устройств Metropolis AMU - компактными мультиплексорами доступа уровня STM-1,
STM-4 и STM-16 с высокой плотностью портов, которые позволяют операторам связи
рентабельно предоставить надежные, высокопроизводительные и высокоскоростные
коммуникационные услуги, например удаленное подключение локальных сетей
абонентов, обеспечение доступа в Интернет или поддержку голосовых каналов. Эти
устройства могут использоваться как мультиплексоры вставки/выделения ADM,
терминальные мультиплексоры, либо устройства местного кросс-коннекта LXC.
Мультиплексоры AMU обеспечивают соединения «точка-точка», кольцевое
подключение, а также подключение по схеме «звезда».
Мультиплексор комплектуется следующими типами
трибутарных плат:
63 × E1 (варианты 120 или 75
Ом).
2 × 10/100 BaseT + 2 × 10/100/1000 BaseT
или
2 ×
GbE (SX или
LX с разъемами SFP) + 4 × E1 (120 или
75 Ом). Плата позволяет организовать частные линии Ethernet, Fast Ethernet или
Gigabit Ethernet на полной скорости линии и отображением GFP для контейнеров
VC-4/3/12 вместе с LCAS для каждого порта региональной сети WAN.
4 × 10/100 BaseT + 32 × E1 (75 Ом).
Плата позволяет организовать частные линии Ethernet, Fast Ethernet или Gigabit
Ethernet на полной скорости линии и отображением GFP для контейнеров VC-3/12
вместе с LCAS для каждого порта региональной сети WAN.
2 × E/FE, 2 × FE/GE, 4 × E1, L2
switch: службы
Fast Ethernet (10/100BASE-T), Gigabit Ethernet (1000BASE-SX/LX), транспорт ЛВС
«точка-точка», многоточечное межсоединение ЛС, алгоритм Rapid Spanning Tee
Protocol (для коммутации IEEE 802.1w Layer 2), виртуальные ЛВС (по 802.1q),
двойное тегирование для «прозрачного» транспорта VLAN пользователей, LCAS по
G7041.
2 × STM4 / 8 × STM-1, SFP: S1.1, L1.1,
L1.2, S4.1, L4.1, L4.2.
Технические характеристики Metropolis AMU
|
Кол-во
слотов
|
2
для плат управления и 4 для интерфейсных плат (2m/4o) 1 для платы управления
и 1 для интерфейсной платы (1m/1o)
|
|
Линейные
интерфейсы
|
2
× STM-1/4 (переменная
скорость) и 2 × STM-1
(фиксированная скорость). Варианты: S1.1, L1.1, L1.2, S4.1, L4.2.
|
|
Трибутарные
интерфейсы
|
E1
(варианты для 120 или 75 Ом) 10/100 BaseT 10/100/1000 BaseT 1000 BaseX (SX
или LX)
|
|
Габаритные
размеры (Ш ×
В
x Г, мм)
|
224
× 300 × 270 (2m/4o) 88 × 300 × 270 (1m/1o)
|
|
Питание
|
От
-40,5 до -72 В
|
|
Рассеиваемая
мощность
|
100
Вт (средняя для комплектации STM-1/4)
|
|
Надежность
|
Операторский
класс
|
|
Поддержка
служб Ethernet
|
Общая
процедура кадрирования GFP-F (ITU-T G.7041) Виртуальная конкатенация (VCAT)
Схема регулировки емкости канала (LCAS) Коммутация IEEE 802.1D Частные линии
«точка-точка» Выделенные локальные сети «точка-несколько точек» (TLS)
Виртуальные локальные сети «точка-несколько точек» (пакетные кольца) с общей
полосой пропускания и статистическим мультиплексированием Маркировка/транкинг
VLAN по IEEE 802.1Q и стеки меток VLAN IEEE 802.1ad GVRP Приоритезация IEEE
802.1p/DiffServ (QoS) Управление трафиком CIR/PIR
|
|
Резервирование
|
SFP,
матрица коммутации, подсистема синхронизации и питание (для шасси 2m/4o) 1+1
MSP SNCP для VC-12, VC-3 и VC-4 LCAS Быстрое покрывающее дерево IEEE 802.1w
|
|
Сетевое
управление
|
WaveStar
ITM-SC (сетевые элементы) Navis Optical Network Management System (NMS) Navis
Optical Management System (OMS) Локальный терминал ITM-CIT Загрузка ПО по DCC
|
1660SM Optinex для STM-16
Основным требованием,предъявляемым к большим
городским и зоновым сетям, является использование высокоскоростных кольцевых
структур, обеспечивающих высокую надежность, а также возможность гибкой
адаптации к изменяющемуся содержанию информационных потоков. Alcatel OPTINEX™
1660SM является мультисервисным элементом для создания местных, городских и зоновых
сетей. Его компактная конструкция удобна для размещения в офисных помещениях.
|
Optinex
1660 SM
|
|
|
Интерфейсы:
|
1,5, 2M, 34M, 45M, 140M, STM-1,
OC-3, STM-4, STM-16
|
|
|
Матрица
кроссового переключения VC высокого порядка:
|
эквивалентная
96 х 96 STM-1
|
|
|
Матрица
кроссового переключения VC низкого порядка:
|
эквивалентная
64 х 64 STM-1
|
|
|
Возможности
доступа для колец STM-16:
|
378
x 2 Мбит/с на основной секции 756 х 2 Мбит/с в стойке при установке двух
1660SM
|
|
|
Методы
защиты:
|
SNC-P/I,
SNC-P/N, линейный MSP, MS-SPRing, Drop & Continue для SNC-P и MS-SPRing
Защитное переключение оборудования на всех центральных блоках, а также
компонентных и линейных портах
|
|
|
Синхронизация:
|
-
Внутренний источник синхронизации ±4,6 ppm - Уход в режиме удержания ± 0,37
ppm в день - Внешние источники синхронизации: порты STM-n, порты 2 Мбит/с -
Внешние порты ввода/вывода (I/O) 2 МГц и 2 Мбит/с - Алгоритмы приоритета и
качества синхронизации (SSM)
|
|
|
Сменные
блоки:
|
-
63 х 2 Мбит/с ; - 63 х 1,5 Мбит/с ; - 3 х 34/45 Мбит/с переключаемые ; - 4 х
140 Мбит/с/STM-1 электрические переключаемые ; - 4 х STM-1
электрические/оптические* ; - 4 х ОС-3/STS-3* ; - 1 x STM-4 оптический ; - 1
x STM-16 оптический ; - Матрица кроссового переключения SDH (кроссовое
переключение VC и тактовый генератор) ; - Контроллер оборудования ; - Плата
коммутации/маршрутизации ATM/IP ;
|
|
|
Габариты
секции, Ш х В, мм:
|
482
х 650
|
|
|
Электропитание:
|
-48В/-60В
DC
|
|
|
Рассеиваемая
мощность:
|
200
Вт
|
|
|
Условия
эксплуатации:
|
ETS
300 019-класс 3.2
|
|
|
Условия
хранения:
|
ETS
300 019-класс 1.2
|
|
|
*
- Электрические/оптические интерфейсы STM-1 устанавливаются на съемных
модулях, которые обеспечивают универсальную комбинацию электрических или
оптических портов (любого типа для передачи на малое или большое расстояние)
в одном и том же блоке
|
Расчет межстанционной нагрузки в
рабочем состоянии
В данной работе будем рассчитывать
геометрические величины межстанционного трафика. Заданная сетевая структура
изображена на рисунке 7:
Рис. 7
Для нее составлена таблица телефонной нагрузки
(табл. 2) и таблица интернет нагрузки (табл. 3). В верхней части ячеек указано
количество потоков со скоростями 2.048 Мбит/с, которые должны быть организованы
между соответствующими узлами. В нижней части ячеек указаны маршруты этих
потоков (номера оконечных и промежуточных узлов). Поскольку потоки
предполагаются двусторонними, таблица будет симметрична относительно диагонали.
|
Телефонная
нагрузка
|
|
№№
узлов
|
1
|
2
|
3
|
4
|
5
|
6
|
7
|
|
1
|
|
10
1-2
|
30
1-2-3
|
30
1-4
|
40
1-4-5
|
20
1-3-6
|
30
1-4-5-7
|
|
2
|
|
|
10
2-3
|
20
2-1-4
|
20
2-3-4-5
|
20
2-3-6
|
30
2-3-6-7
|
|
3
|
|
|
|
10
3-4
|
20
3-4-5
|
10
3-6
|
20
3-6-7
|
|
4
|
|
|
|
|
10
4-5
|
30
4-5-6
|
30
4-5-7
|
|
5
|
|
|
|
|
|
10
5-6
|
30
5-7
|
|
6
|
|
|
|
|
|
|
20
6-7
|
|
7
|
|
|
|
|
|
|
|
|
Интернет
нагрузка
|
|
№№
узлов
|
1
|
2
|
3
|
4
|
5
|
6
|
7
|
|
1
|
|
50
1-2
|
50
1-2-3
|
50
1-4
|
100
1-4-5
|
10
1-3-6
|
10
1-4-5-7
|
|
2
|
|
|
0
2-3
|
0
2-1-4
|
10
2-3-4-5
|
0
2-3-6
|
0
2-3-6-7
|
|
3
|
|
|
|
0
3-4
|
10
3-4-5
|
0
3-6
|
0
3-6-7
|
|
4
|
|
|
|
|
10
4-5
|
0
4-5-6
|
0
4-5-7
|
|
5
|
|
|
|
|
|
50
5-6
|
50
5-7
|
|
6
|
|
|
|
|
|
|
0
6-7
|
|
7
|
|
|
|
|
|
|
|
|
Суммарная
нагрузка
|
|
№№
узлов
|
1
|
2
|
3
|
4
|
5
|
6
|
7
|
|
1
|
|
10+50=60
1-2
|
30+50=80
1-2-3
|
30+50=80
1-4
|
40+100=140
1-4-5
|
20+10=30
1-3-6
|
30+10=40
1-4-5-7
|
|
2
|
|
|
10
2-3
|
20
2-1-4
|
20+10=30
2-3-4-5
|
20
2-3-6
|
30
2-3-6-7
|
|
3
|
|
|
|
10
3-4
|
20+10=30
3-4-5
|
10
3-6
|
20
3-6-7
|
|
4
|
|
|
|
|
10+10=20
4-5
|
30
4-5-6
|
30
4-5-7
|
|
5
|
|
|
|
|
|
10+50=60
5-6
|
30+50=80
5-7
|
|
6
|
|
|
|
|
|
|
20
6-7
|
|
7
|
|
|
|
|
|
|
|
|
Нагрузка
интерфейсов доступа
|
|
№№
узлов
|
1
|
2
|
3
|
4
|
5
|
6
|
7
|
Σ
|
|
1
|
|
60
|
80
|
80
|
140
|
30
|
40
|
430
|
|
2
|
60
|
|
10
|
20
|
30
|
20
|
30
|
170
|
|
3
|
80
|
10
|
|
10
|
30
|
10
|
20
|
160
|
|
4
|
80
|
20
|
10
|
|
20
|
30
|
30
|
190
|
|
5
|
140
|
30
|
30
|
20
|
|
60
|
80
|
360
|
|
6
|
30
|
20
|
10
|
30
|
60
|
|
20
|
170
|
|
7
|
50
|
30
|
20
|
30
|
80
|
20
|
|
230
|
Теперь по данным таблицы 5, можно легко
рассчитывать нагрузку на соединительные линии (СЛ) структуры сети (табл. 6), во
втором столбце которой указаны потоки, проходящие по соответствующей СЛ, в
третьем - величины этих потоков, а в четвертом отображена нагрузка на соответствующую
соединительную линию.
|
Расчет
нагрузки на СЛ
|
|
Линия
|
Маршруты
|
Потоки
|
Нагрузка
|
|
1-2
|
1-2,1-2-3,
2-1-4
|
60+80+20
|
160
|
|
2-3
|
1-2-3,
2-3, 2-3-4-5, 2-3-6, 2-3-6-7
|
80+10+30+20+30
|
170
|
|
3-4
|
2-3-4-5,
3-4, 3-4-5
|
30+10+30+110+320
|
500
|
|
1-4
|
1-4,
1-4-5, 1-4-5-7, 2-1-4
|
80+140+20
|
240
|
|
5-6
|
4-5-6,
5-6
|
30+60+110+320
|
|
6-7
|
2-3-6-7,
3-6-7, 6-7
|
30+20+20
|
70
|
|
7-5
|
1-4-5-7,
4-5-7, 5-7
|
40+30+80
|
150
|
|
3-6
|
1-3-6,
2-3-6, 2-3-6-7, 3-6, 3-6-7
|
30+20+30+10+20
|
110
|
|
4-5
|
1-4-5,
1-4-5-7, 2-3-4-5, 3-4-5, 4-5, 4-5-6, 4-5-7
|
140+40+30+30+20+30+30
|
320
|
Выбор схемы защиты
Защита типа «выделение с продолжением» будет
установлена только на кольцо 1-2-3-4, что указано на рисунке 8.
Рис. 8
Нагрузка на СЛ 4-5 постоянно присутствует на СЛ
4-3 и в аварийном режиме - на СЛ 3-6.
Для кольца №1 (1-2-3-4) выберем защиту типа MS
SPRING и оборудование STM-16. При этом понадобится емкость 500х2 = 1000 каналов
Е1. Запас по каналам в этом случае составит 1008 - 1000 = 8 каналов Е1.
Для кольца №2 (6-7-8) выберем защиту MS DPRING и
оборудование STM-4. Для этого откажемся от потоков «продолжения». Таким
образом, нагрузка на СЛ составит 90+70+150 = 310 каналов Е1. При этом запас по
каналам составит 504-310=194 канала Е1.
Выбор оптических интерфейсов и типов
оптических волокон
Параметры оптических интерфейсов (точек стыков)
соответствуют параметрам оборудования к концу срока его службы при наихудшем
сочетании климатических и других условий эксплуатации. Особенности
нормирования, контроля и измерения параметров оптических интерфейсов
определяются постоянным совершенствованием элементной базы оборудования и
требованиями современной концепции контроля и управления.
Типовая структурная схема участка линейного
тракта с использованием ОВ (для одного направления передачи) между соседними
пунктами приведена на рисунке 8. В любом случае эта схема состоит из
последовательного соединения передающего устройства (ПдУ) аппаратуры окончания
оптического линейного тракта (АЛТ), станционного оптического кабеля (СОК),
линейного оптического кабеля (ЛОК), СОК и приемного устройства (ПрУ) АЛТ.
Рис. 9 - Схема участка линейного тракта ВОСП
АЛТ оборудования СЦИ представляет собой плату
оптического стыка в составе аппаратуры синхронного мультиплексора STM-N, на
цифровом стыке которой формируется цифровой электрический сигнал STM-N N-гo
уровня иерархии СЦИ (N = 1, 4, 16, 64,256), параметры которого определены в
Рекомендации МСЭ-Т G.707.Y.1322.
Как видно из рисунка 8, параметры оптического
стыка могут измеряться либо непосредственно на разъемах оптических соединениях
АЛТ (p1 - уровень мощности оптического излучения на выходе ПдУ, p2 - уровень
мощности оптического излучения на выходе ПрУ), либо в точках соединения между
СОК и ЛОК на передаче Пд и на приеме Пр. В соответствии с принятыми стандартами
нормирования параметров оптического стыка должно осуществляться именно в точках
оптического тракта Пд (нормируемый уровень мощности p1H) и Пр (нормируемый
уровень мощности p2H).
Выбор оптического волокна
В качестве оптического волокна было выбрано
волокно Corning SMF-28.
Волокно Corning SMF-28ULL, полностью совместимое
со стандартным одномодовым волокном (группа G.652 по классификации ITU-T),
имеет самые низкие потери среди известных волокон, предназначенных для наземных
систем связи и самую низкую поляризационно-модовую дисперсию среди волокон
группы G.652. Это позволяет увеличить протяженность усилительного участка сети
и увеличить скорость передачи.
Оптические характеристики:
|
Характеристика
ОВ стандарта G.652
|
|
Рабочая
длина волны
|
1310,
1550
|
|
Коэффициент
затухания на опорной длине волны, дБ/км:
|
λ=1310
нм
- ≤0,36 λ=1550
нм
- ≤0,22
|
|
Коэффициент
на старение кабеля, дБ/км:
|
0,05
|
|
Длина
волны нулевой дисперсии, нм
|
λ=(1285-1330)
|
|
Наклоны
дисперсионной характеристики в области длины волны нулевой дисперсии,
пс/км1/2
|
≤0,093
|
|
Километрическое
затухание α,
дБ\км
|
0,22
|
|
Коэффициент
хроматической дисперсии, пс/нм*км
|
≤18
|
Рис. 10
Рис. 1ё
Рис. 12
Выбор кодов оптических интерфейсов
Выбор кодов оптических интерфейсов производится
на основе данных об уровне СЦИ и протяженности той или иной соединительной
линии.
Для участков 7-5 и 3-6 кабель прокладывается в
контактной сети железной дороги. Для других участков кабель прокладывается в
канализации, также с частичным использованием ж/д путей.
Коды применения для оборудования СЦИ
представлены в таблице 2:
Таблица 2
Проведем выбор, задавшись длинами соединительных
линий, приведенных в таблице 3.
Таблица 3
|
Линия
|
1-2
|
2-3
|
3-4
|
4-1
|
5-6
|
6-7
|
7-5
|
3-6
|
4-5
|
|
Длина,
км
|
42.6
|
50
|
43.5
|
43
|
135
|
70
|
87
|
65.3
|
95
|
|
Номинальная
длина волны источника, нм
|
1550
|
1550
|
1550
|
1550
|
1530
|
1550
|
1550
|
1550
|
1530
|
|
Код
МСЭ-Т
|
S-16.2
|
S-16.2
|
S-16.2
|
S-16.2
|
V-4.2
|
S-4.2
|
L-4.2
|
S-4.2
|
V-4.2
|
|
Уровни
СЦИ
|
STM-16
|
STM-16
|
STM-16
|
STM-16
|
STM-4
|
STM-4
|
STM-4
|
STM-4
|
STM-4
|
|
Тип
волокна (Рек. МСЭ-Т)
|
G.652
|
Рис. 13
Таблица 4
|
Наименование
|
Значение
параметров
|
|
для
STM
|
4
|
16
|
|
Номинальная
скорость передачи, кбит/с
|
622080
|
2488320
|
|
Код
применения
|
V-4.2
|
S-4.2
|
L-4.2
|
S-16.2
|
|
Рабочий
диапазон длин волн, нм
|
1530-1565
|
1430-1580
|
1480-1580
|
1430-1580
|
|
Передающее
устройство в эталонной точке Пд(S)
|
|
Тип
источника
|
SLM
|
SLM
|
SLM
|
SLM
|
|
Спектральные
характеристики:
|
|
Среднеквадратичная
ширина, не более, нм; ширина спектра на уровне -20дБ, не более, нм;
|
-
1
|
-
1
|
-
1
|
-
1
|
|
Уровень
излучаемой мощности: максимальный, дБм минимальный, дБм Диапазон
перекрываемого затухания, дБ
|
13
10 22-33
|
-8
-15 0-12
|
+2
-3 10-24
|
0
-5 0-12
|
|
Уровень
чувствительности, не более, дБм
|
-24
|
-28
|
-28
|
-18
|
|
Уровень
перегрузки, не менее, дБм
|
-9
|
-8
|
-8
|
0
|
|
Дополнительные
потери оптического тракта, дБ
|
1
|
1
|
1
|
1
|
|
|
10-(-24)
= 34
|
-15-(-28)=13
|
-3-(-28)
= 25
|
-5-(-18)
= 13
|
|
Затухание
неразъемного соединения Ан, дБ
|
0.05
|
0.05
|
0.05
|
0.05
|
|
Затухание
разъемного соединения Ар, дБ
|
0.15
|
0.15
|
0.15
|
0.15
|
|
4-(-18)
= 22
|
-8-(-8)=0
|
2-(-8)
= 10
|
0-0
= 0
|
После выбора кода оптического интерфейса для той
или иной секции следует осуществить поверочный расчет длины секции. При этом
можно использовать стандартные параметры интерфейсов, приведенные в таблицах
П1.1...П1.7 Приложения 1. Поверочный расчет длины секции производится по двум
критериям: по потерям мощности оптического сигнала на кабельном участке и по
допустимой дисперсии кабельного участка (допустимому уширению передаваемых
импульсов).
Для расчета по потерям мощности рассмотрим
диаграмму уровней оптической секции, представленную на рисунке 14.
Рис. 14
На этой диаграмме приняты обозначения:
Рпер макс, Рпер мин ~ максимальный и минимальный
соответственно уровни передачи оптического передатчика;
Рпр макс - уровень перегрузки оптического
приемника;
Рпр мин - минимальный уровень приема, при
котором обеспечивается необходимое качество передачи;
Аэз - эксплуатационный запас оптического тракта;
А макс Амин - максимальное и минимальное
соответственно допустимые затухания оптического тракта;
Э - энергетический потенциал системы передачи.
Величины Рпер макс, Рпер мин, Рпр макс, Рпр мин,
Аэз соответствуют выбранному интерфейсу и могут быть взяты из таблиц
П1.1...П1.7 Приложения 1 или из технических данных
Следует заметить, что параметры оборудования
обычно превышают стандартные, что позволяет в ряде случаев понизить уровень
кода интерфейса, снизив тем самым стоимость оборудования, или увеличить
протяженность секции.
Максимальная длина секции (кабельного участка
КУ) подсчитывается по формуле (1)
где Ан - затухание неразъемного (сварного)
соединения (по требованию «Ростелеком» Ан < 0,05 дБ), Ар - затухание
разъемного соединения, а - километрическое затухание ОВ, дБ/км, 1стр
-строительная длина кабеля, ∆Атр - запас на старение кабеля. Две
последние величины определяются маркой выбранного кабеля, затухания вариантов
разъемных соединений приведены в таблице 11 (можно воспользоваться средними
значениями).
Таблица 5
Если рассчитанная величина lку макс оказывается
меньше протяженности проектируемой секции, следует или выбрать другое
оборудование, или повысить уровень интерфейса и снова произвести указанные
расчеты. При существенном превышении рассчитанного значения протяженности
проектируемой секции следует понизить уровень интерфейса, произведя,
естественно, соответствующие расчеты.
Следует также убедиться в том, что минимальное
затухание проектируемой секции превышает минимально допустимое для данного
оборудования или равно ему (или минимально допустимое затухание для данного
кода интерфейса) Амин. Очевидно, должно выполняться неравенство
где lку - протяженность проектируемой секции.
Если неравенство (2) не удовлетворяется, на выходе передающего оборудования
следует установить оптический аттенюатор, дополняющий минимальное затухание
секции до величины Амин.
При проектировании должна рассчитываться также
максимальная длина кабельного участка по дисперсии 1куд макс в оптическом
волокне. Для одномодовых волокон при скорости передачи до 2,5 Гбит/с и
среднеквадратической ширине полосы источника излучения свыше 1,5 нм можно
принять
где D - удельный коэффициент хроматической
дисперсии пс/(нм*км); ∆λ,-
среднеквадратическая ширина полосы оптического излучения, нм; В - скорость
передачи Мбит/с. Величина е выбрана из условия раскрыва глаз-диаграммы на
приеме не менее 80% и составляет:
,306 - для светодиодов (LED) и одномодовых
лазеров (SLM);
,491 -для тракта STM-16;
,115 - для многомодовых лазеров (MLM) (учет шума
разделения мод).
Если ширина спектра определена на уровне -20 дБ
(∆λ20),
то
среднеквадратическая ширина определяется как ∆λ.
= ∆λ20/6,07.
В случае, если 1куд макс меньше протяженности
проектируемой секции, следует или применить кабель с меньшим удельным
коэффициентом дисперсии, или передающее оборудование со спектром источника
излучения меньшей ширины.
Рассчитаем параметры по формулам (1), (2), (3)
для всех секций нашей сети (см. таблицу 6).
Таблица 6
|
№
Секции Параметр
|
1-2
|
2-3
|
3-4
|
4-1
|
5-6
|
6-7
|
7-5
|
3-6
|
4-5
|
|
Расстояние
|
42.6
|
50
|
43.5
|
43
|
135
|
70
|
87
|
65.3
|
95
|
|
Код
применения
|
S-16.2
|
S-16.2
|
S-16.2
|
S-16.2
|
V-4.2
|
S-4.2
|
L-4.2
|
S-4.2
|
V-4.2
|
|
lку
макс
|
54.62
|
54.62
|
54.62
|
54.62
|
145
|
84.7
|
110
|
84.7
|
145
|
|
1куд
макс
|
67.64
|
67.64
|
67.64
|
67.64
|
165.9
|
165.9
|
165.9
|
165.9
|
165.9
|
|
Амин
|
10.15
|
11.87
|
10.36
|
10.24
|
31.63
|
16.52
|
20.47
|
15.43
|
22.33
|
Эксплуатационные нормы на параметры
ошибок трактов и секций оборудования СЦИ
Проектирование сетевой структуры системы СЦИ,
проведенное корректно, предполагает что каналы и тракты, организованные в этой
структуре, будут отвечать целевым нормам качества передачи, важнейшими из которых
являются нормы на ошибки. Поскольку соответствие проектируемых объектов целевым
нормам может быть установлено в результате относительно долгосрочных наблюдений
(от месяца до года), при вводе объектов технической эксплуатации (ОТЭ) в
эксплуатацию, в процессе эксплуатации и при их восстановлении используют
эксплуатационные нормы. Оценка соответствия ОТЭ эксплуатационным нормам
проводится за периоды 15 минут, 2 часа и 24 часа. Соответствие объекта
эксплуатационным нормам с высокой степенью вероятности гарантирует выполнение
целевых норм. Определяются исходные эксплуатационные нормы (Maintenance
Perfomance Objectives, МРО), как и целевые, на гипотетический эталонный (полный
цифровой) тракт.
Дня поддержания качественных показателей,
обеспечивающих целевые нормы с помощью эксплуатационного контроля, используются
три принципа:
исходные эксплуатационные нормы для
гипотетического эталонного тракта, используемые для расчета порогов ввода в
эксплуатацию, принимаются в два раза жестче по сравнению с целевыми;
при расчете эксплуатационных порогов
используются коэффициенты, учитывающие старение аппаратуры и среду передачи;
в формулы для расчета эксплуатационных порогов
вводится зависимость величины порогов от длительности измерений.
Эксплуатационные пороги снижения качества (DPL -
Degraded Perfomance Limit) и недопустимого качества (UPL - Unacceptable
Perfomance Limit) определяют необходимость вмешательства обслуживающего
персонала по результатам непрерывного контроля. Для этого результаты
непрерывного контроля ошибок на отрезках в 24 часа сравниваются с DPL, а
результаты непрерывного контроля ошибок на 15 - минутных отрезках сравниваются
с UPL.
Для определения норм на параметры ошибок в
цифровом тракте необходимо выполнить разделение реального цифрового тракта на
однородные участки так, чтобы нормы на реальный тракт бьши равны сумме
составляющих однородных участков. В пределах однородного участка действует зона
ответственности одного оператора, имеется однотипная среда передачи и цифровой
тракт принадлежит одной категории (т. е. является либо транзитным участком
транспортной сети, либо национальным участком транспортной сети, либо участком
доступа).
Принадлежность цифрового тракта СЦИ или ПЦИ
определенному участку транспортной сети (транзитному или национальному) определяется
с учетом следующего:
по результатам измерения показателей ошибок;
по возможности организации транзита через данный
тракт международного трафика зарубежных стран, для которых данный тракт
является промежуточным (при этом принимаются во внимание возможные сетевые
переключения);
цифровой магистральный тракт СЦИ или ПЦИ может
принадлежать как транзитному, так и национальному участку транспортной сети;
цифровые тракты СЦИ или ПЦИ местной сети
относятся к национальному участку транспортной сети;
цифровой внутризоновый тракт СЦИ или ПЦИ, как
правило, относится к национальному участку транспортной сети;
цифровой тракт ПЦИ, образованный в системах ПЦИ
на металлическом кабеле, не рекомендуется применять для транзитного участка
транспортной сети.
Во всех случаях оператор определяет
принадлежность тракта к определенной категории в зависимости от конкретного
назначения тракта и результатов измерения показателей ошибок.
Нормы на ошибки для каждого однородного участка
определяются в соответствии с долями, приведенными в разделах соответствующих
таблиц.
Общие характеристики трактов СЦИ содержатся в
таблице 13.
Таблица 7 - Общие характеристики тракторов СЦИ
|
Информационная
структура ЦСП
|
Скорость
передачи, кбит/с
|
Число
бит в блоке
|
Число
блоков в сек.
|
КОО
|
|
VC-12
|
2240
|
1120
|
2000
|
BIP-2
|
|
VC-2
|
6848
|
3424
|
2000
|
В1Р-2
|
|
VC-3
|
48960
|
6120
|
8000
|
BIP-8
|
|
VC-4
|
150336
|
18782
|
8000
|
BIP-8
|
|
VC-4-4C
|
601344
|
75168
|
8000
|
BIP-8
|
|
VC
-4-16С
|
2405376
|
300672
|
8000
|
BIP-8
|
|
VC
-4-64C
|
9621504
|
1202688
|
8000
|
BIP-8
|
|
STM-0
|
51840
|
801
|
64000
|
8XBIP-1
|
|
STM-N
|
155520XN
|
801
|
192000XN
|
24NXB1P-N
Таблица 8 - Исходные эксплуатационные нормы МРОN
|
Тип
тракта
|
ESR
|
SESR
|
BBER
|
|
VC-12
|
0,005
|
0,001
|
2,5*
|
|
VC-2
|
0,005
|
0,001
|
2,5*
|
|
VC-3
|
0,01
|
0,001
|
2,5*
|
|
VC-4
|
0,02
|
0,001
|
5*
|
|
VC-4-4C
|
Не
применяется
|
0,001
|
5*
|
|
VC
-4-16С
|
Не
применяется
|
0,001
|
5*
|
|
VC
-4-64C
|
Не
применяется
|
0,001
|
5*
|
Исходные эксплуатационные нормы  на цифровые тракты,
образованные с помощью аппаратуры СЦИ, изготовленной до марта 2000 года,
показаны в таблице 9.
Таблица 9 - Исходные эксплуатационные нормы МРОр
(для аппаратуры, изготовленной до марта 2000 года)
|
Тип
тракта
|
ESR
|
SESR
|
BBER
|
|
VC-12
|
0,02
|
0,001
|
He
применяется
|
|
VC-2
|
0,025
|
0,001
|
He
применяется
|
|
VC-3
|
0,0375
|
0,001
|
He
применяется
|
|
VC-4
|
0,08
|
0,001
|
He
применяется
|
|
VC-4-4c
|
He
применяется
|
0,001
|
He
применяется
|
|
VC
-4-16с
|
He
применяется
|
0,001
|
He
применяется
|
|
VC
-4-64с
|
He
применяется
|
0,001
|
He
применяется
|
Для транзитного участка транспортной сети доли  исходной
эксплуатационной нормы (%) в зависимости от длины приведены в таблице 10.
Таблица 10 - Национальный участок транспортной
сети
|
Длина
L однородного участка тракта, км
|
Доля
исходной нормы (aN). %
|
|
Для
аппаратуры, изготовленной после марта 2000 г.
|
Для
аппаратуры, изготовленной до марта 2000 г.
|
|
L≤100
|
4
|
4.8
|
|
100
< L ≤200
|
4.2
|
4.8
|
|
200
< L ≤ 300
|
4.4
|
4.8
|
|
300
< L ≤ 400
|
4.6
|
4.8
|
|
400
< L ≤ 500
|
4.8
|
4.8
|
|
500
< L ≤ 1000
|
5.8
|
5.8
|
|
1000
< L ≤ 2500
|
6.8
|
6.8
|
|
2500
< L ≤ 5000
|
8.8
|
8.8
|
|
5000
< L ≤ 7500
|
10.8
|
10.8
|
|
L
> 7500
|
12.8
|
12.8
|
Для участка доступа доля а исходной
эксплуатационной нормы (%) составляет 10 % независимо от длины.
Определение пороговых значений при
вводе в эксплуатацию трактов СЦИ
Секции 3-6, 4-5, 6-7 и 7-5.
Идентификация типов тракта: Тип тракта -
VC-4-4c, так как во всех секциях используется STM-4
Число однородных участков в данном тракте: Все
участки однородны, так как: тракт входит в зону ответственности одного оператора,
тракт состоит из участков одной категорий, тракт образован системами передачи с
однотипной средой передачи.
Определение MPOi для показателей
ESR, SESR и BBER, доли ai и запас Fi
- исходные нормы для однородного участка,
зависящие от типа тракта и времени изготовления аппаратуры (таблицы 14 и 15) и
для тракта VC-4-4c изготовленной после марта 2000 г. составляют:- не
применяются,- 0.001;- 5 · 10-5;- доля исходной нормы (%) для данного
однородного участка, зависящая от длины, времени изготовления аппаратуры и
категории участка (таблицы 15 и 16) и для однородного участка тракта длинной
менее 100 км составляет:= 4- эксплуатационный запас для трактов РРЛ, связанный
с неблагоприятными условиями распространения (для участка тракта СЦИ,
образованного в кабельных ЦСП, Fi = 1;
Определение выделенной доли SPO (ES,
SES и ВВЕ) эксплуатационных норм
(5)
где i - номер однородного участка, входящего в
цифровой тракт; М- общее число однородных участков в цифровом тракте;= не применяются;=
0.00016;= 0.000008;
Определение выделенной доли АРО событий ошибок
(ES, SES и ВВЕ).
Испытание 15 минут= не применяются,= 0.144 с;=
57.6 блок;
Испытание 2 часа= не применяются,= 1.152 с;=
460.8 блок;
Испытание 24 часа= не применяются,= 13.824 с;=
5530 блок;
Вычисление BISPO - количество событий ошибок при
вводе в эксплуатацию.
Если неокругленное значение BISPO меньше 3 для
данной длительности теста, то измерения не гарантируют выполнение целевых норм
с требуемой вероятностью.
Испытание 15 минутES = не применяются,
BISPO SES = 0.072 с;BBE
= 28.8 блок;
Испытание 2 часаES = не применяются,
BISPO SES = 0.576 с;BBE
= 230.4 блок;
Испытание 24 часаES = не применяются,
BISPO SES = 6.912 с;BBE
= 2765 блок;
Вычисление пороговых значений S, по которым
принимается решение о вводе тракта СЦИ в эксплуатацию.
(8)
Значения S округлить до ближайших целочисленных
значений > 0.
Испытание 15 минутES = не применяются;SES =
-0.465;BBE = 18.067;
Испытание 2 часаES = не применяются;SES =
-0.942;BBE = 200.042;
Испытание 24 часаES = не применяются,
S SES = 1.654;BBE = 2660;
Секция 5-6.
Идентификация типов тракта: Тип тракта -
VC-4-4c, так как во всех секциях используется STM-4
Число однородных участков в данном тракте: Все
участки однородны, так как: тракт входит в зону ответственности одного
оператора, тракт состоит из участков одной категорий, тракт образован системами
передачи с однотипной средой передачи.
Определение MPOi для показателей
ESR, SESR и BBER, доли ai и запас Fi
- исходные нормы для однородного участка,
зависящие от типа тракта и времени изготовления аппаратуры (таблицы 14 и 15) и
для тракта VC-4-4c изготовленной после марта 2000 г. составляют:- не
применяются,- 0.001;- 5 · 10-5;- доля исходной нормы (%) для данного
однородного участка, зависящая от длины, времени изготовления аппаратуры и
категории участка (таблицы 15 и 16) и для однородного участка тракта длинной
менее 100 км составляет:= 4.2- эксплуатационный запас для трактов РРЛ,
связанный с неблагоприятными условиями распространения (для участка тракта СЦИ,
образованного в кабельных ЦСП, Fi = 1;
Определение выделенной доли SPO (ES, SES и ВВЕ)
эксплуатационных норм.
(5)
где i - номер однородного участка, входящего в
цифровой тракт; М- общее число однородных участков в цифровом тракте;= не
применяются;= 0.000042;
SPOBBE = 0.0000021;
Определение выделенной доли АРО событий ошибок
(ES, SES и ВВЕ).
Испытание 15 минут= не применяются,= 0.038 с;=
15.12 блок;
Испытание 2 часа= не применяются,= 0.302 с;=
460.8 блок;
Испытание 24 часа= не применяются,= 13.824 с;=
5530 блок;
Вычисление BISPO - количество событий ошибок при
вводе в эксплуатацию.
Если неокругленное значение BISPO меньше 3 для
данной длительности теста, то измерения не гарантируют выполнение целевых норм
с требуемой вероятностью.
Испытание 15 минутES = не применяются,
BISPO SES = 0.019 с;BBE
= 7.56 блок;
Испытание 2 часаES = не применяются,
BISPO SES = 0.576 с;BBE
= 230.4 блок;
Испытание 24 часаES = не применяются,
BISPO SES = 6.912 с;BBE
= 2765 блок;
Вычисление пороговых значений S, по которым
принимается решение о вводе тракта СЦИ в эксплуатацию.
(8)
Значения S округлить до ближайших целочисленных
значений > 0.
Испытание 15 минутES = не применяются;SES =
-0.256;BBE = 2.061;
Испытание 2 часаES = не применяются;SES =
-0.942;BBE = 200.042;
Испытание 24 часаES = не применяются,
S SES = 1.654;BBE = 2660;
Секции 1-2, 2-3,
3-4 и
4-1.
Идентификация типов тракта: Тип тракта -
VC-4-16c, так как во всех секциях используется STM-16
Число однородных участков в данном тракте: Все
участки однородны, так как: тракт входит в зону ответственности одного
оператора, тракт состоит из участков одной категорий, тракт образован системами
передачи с однотипной средой передачи.
Определение MPOi для показателей
ESR, SESR и BBER, доли ai и запас Fi
- исходные нормы для однородного участка,
зависящие от типа тракта и времени изготовления аппаратуры (таблицы 14 и 15) и
для тракта VC-4-16c изготовленной после марта 2000 г. составляют:- не
применяются,- 0.001;- 5 · 10-5;- доля исходной нормы (%) для данного
однородного участка, зависящая от длины, времени изготовления аппаратуры и
категории участка (таблицы 15 и 16) и для однородного участка тракта длинной
менее 100 км составляет:= 4- эксплуатационный запас для трактов РРЛ, связанный
с неблагоприятными условиями распространения (для участка тракта СЦИ,
образованного в кабельных ЦСП, Fi = 1;
Определение выделенной доли SPO (ES, SES и ВВЕ)
эксплуатационных норм.
(5)
где i - номер однородного участка, входящего в
цифровой тракт; М- общее число однородных участков в цифровом тракте;= не
применяются;= 0.00016;= 0.000008;
Определение выделенной доли АРО событий ошибок
(ES, SES и ВВЕ).
Испытание 15 минут= не применяются,= 0.144 с;=
57.6 блок;
Испытание 2 часа= не применяются,= 1.152 с;=
460.8 блок;
Испытание 24 часа= не применяются,= 13.824 с;=
5530 блок;
Вычисление BISPO - количество событий ошибок при
вводе в эксплуатацию.
Если неокругленное значение BISPO меньше 3 для
данной длительности теста, то измерения не гарантируют выполнение целевых норм
с требуемой вероятностью.
Испытание 15 минутES = не применяются,
BISPO SES = 0.072 с;BBE
= 28.8 блок;
Испытание 2 часаES = не применяются,
BISPO SES = 0.576 с;BBE
= 230.4 блок;
Испытание 24 часаES = не применяются,
BISPO SES = 6.912 с;BBE
= 2765 блок;
Вычисление пороговых значений S, по которым
принимается решение о вводе тракта СЦИ в эксплуатацию.
(8)
Значения S округлить до ближайших целочисленных
значений > 0.
Испытание 15 минутES = не применяются;SES =
-0.465;BBE = 18.067;
Испытание 2 часаES = не применяются;SES =
-0.942;BBE = 200.042;
Испытание 24 часаES = не применяются,SES =
1.654;BBE = 2660;
Принципы управления ЦСП СЦИ
Общие принципы
Сеть управления ЦСП СЦИ (SMN - SDH Management
Network ) входит в состав сети управления электросвязью (TMN -
Telecommunication Management Network) и управляет сетевыми элементами ЦСП СЦИ.
SMN может подразделяться на ряд подсетей управления ЦСП СЦИ (SMS - SDH
Management Subnetwork).состоит из отдельных встроенных каналов управления ЦСП
СЦИ, которые используются для организации сети управления передачи операционных
данных в пределах любой заданной топологии ЦСП СЦИ. SMS представляет собой
специфическую локальную вычислительную сеть, которая является частью SMN или
TMN.
Встроенный канал управления (ЕСС - Embedded
Communications Channel) обеспечивает канал логических операций между сетевыми
элементами ЦСП СЦИ, используя канал передачи данных (DCC - Data Communication
Channel).
В сигнале STM-1 организованы два канала DCC,
содержащие байты D1-D3 заголовка регенерационной секции (скорость передачи 192
кбит/с) и байты D4-D12 заголовка мультиплексной секции (скорость передачи 576
кбит/с). Байты D1-D3 (DCCR) доступны для всех сетевых элементов ЦСП СЦИ, в то
время как байты D4-D12 (DCCM), не доступны в регенераторах.
Общая схема управления телекоммуникационными
сетями TCN с помощью сети управления TMN приведена на рис. 11. Как видно из
рисунка, управляющие системы ОС могут быть связаны между собой через общую сеть
передачи данных СПД, которая, в свою очередь, управляется рабочей станцией PC.
Сеть передачи данных связывает ОС с различным аналоговым и цифровым
телекоммуникационным оборудованием, объединенным в общую телекоммуникационную
сеть TCN. Предполагается, что TMN будет поддерживать пять типов менеджмента и
управления:
управление рабочими характеристиками систем;
управление отказами и обеспечение надежности
работы систем;
управление конфигурацией систем;
менеджмент бухгалтерской отчетности и
тарификации (бил-линга) в системе;
управление безопасностью систем и обеспечение
конфиденциальности информации, циркулирующей в ней.
Рис. 15 - Общая схема управления
телекоммуникационными сетями: ОС - управляющая станция; СЭ - сетевой элемент;
РС - рабочая станция
Взаимодействия между SMS, SMN и TMN приведены на
рисунке 14.
Доступ к SMS всегда обеспечен посредством функционального
блока сетевого элемента ЦСП СЦИ. Сетевой элемент ЦСП СЦИ может быть подключен к
другим участкам сети СУЭ через следующие совокупности стыков:
рабочая станция (стык F);
устройство взаимодействия (стык Q);
операционная система (стык Q).
Рис. 16 - Модель TNM, SMN и SMS
Функционирование системы управления
на сетевом и элементном уровне
Система управления предназначена для контроля и
управления всеми операциями, необходимыми для функционирования аппаратуры и
сети ЦСП СЦИ. Система управления сетью ЦСП СЦИ (СУ) функционирует на двух
уровнях: сетевом, то есть на уровне управления сетью или подсетью (SMN, SMS) и
уровне элементов, то есть на уровне управления сетевыми элементами (СУЭ, EMS).
На первом уровне создаются объекты управления -
сетевые элементы (СЭ), линии между СЭ и тракты виртуальных контейнеров (VC-n),
соединяющие оконечные СЭ через промежуточные.
На втором уровне создаются и обслуживаются СЭ.
Информация о СЭ может вводиться вручную - указанием типа, наименования
аппаратуры и данных конфигурирования, либо считыванием данных существующих СЭ и
целых подсетей.
На этих двух уровнях в системе управления должны
выполняться следующие основные операции:
доступ в систему управления;
конфигурирование;
сигнализация и регистрация аварийной информации;
контроль качества;
администрирование.
Для получения доступа в систему управления
оператор системы управления должен знать индивидуальное имя пользователя и
пароль. Для каждого сетевого элемента может быть зарегистрирована определённая
группа пользователей.
Конфигурирование на сетевом уровне подразумевает
конфигурирование трактов VC-n, m. Аналогично на этом уровне производится
конфигурация трактов сети доступа и каналов, образуемых посредством
соответствующих трактов.
Конфигурирование на уровне элементов относится к
конфигурированию сетевых узлов (СЭ). Кроме этого осуществляется
конфигурирование синхронизации, которое заключается в выборе режима
синхронизации для каждого узла в системе, конфигурирование оперативных переключений,
резервирования блоков, трактов VC-n,m, уровней срабатывания аварийной
сигнализации и некоторых других.сигнализация и регистрация аварийной информации
в системе управления должны использоваться для того, чтобы технический персонал
обратил внимание на повреждение аппаратуры и принял соответствующие меры для их
устранения.
Контроль качества в системе управления,
состоящей из сетевых элементов ЦСП СЦИ. Поддерживается функция контроля
качества на интерфейсах ПЦИ и СЦИ (сетевых трактов Е1, ЕЗ, Е4, трактов VC-n,m,
мультиплексных и регенерационных секций).
Администрирование заключается в создании,
модификации и уничтожении пользователей. Эти операции позволяют создать
пользователя со своим именем и паролем, изменить привилегии пользователя и
изъять пользователя из системы управления.
Сигналы технического обслуживания представляют
собой сигнал индикации аварийного состояния (СИАС) секции группообразования и
сигнал отказа при приеме на дальнем конце (RDI). На уровне трактов определяются
сигнал СИАС тракта и информация о состоянии тракта и форме отказа при приеме на
дальнем конце (RDI) и ошибки в блоке на дальнем конце (RDI). Указанные сигналы
технического обслуживания тракта применимы к трактам как высшего, так и низшего
порядка. На рисунке 13 показано взаимодействие сигналов технического
обслуживания от уровня к уровню и между равнозначными уровнями, которое
обеспечивается в заголовке СЦИ.
Рис. 17 - Взаимодействие сигналов технического
обслуживания
сеть волокно синхронизация нагрузка
Выбор схемы управления
С учетом сказанного, обратимся к сетевой
структуре, приведенной на рисунке 6, для того, чтобы показать для нее возможный
вариант реализации системы управления подсети (SMS):
Рис. 18 - Пример схемы управления сетевой
структурой “Совмещенные кольца”
На узле 1, сетевой элемент (СЭ 1), располагаем
основную сетевую станцию, имеющую в своем составе специализированный компьютер
и соединенную с СЭ 1 участком локальной сети (например, Ethernet),
поддерживающей интерфейсы типа Q. Эта же локальная сеть обеспечивает выход
системы управления на следующий уровень (например SNM и TMN). Остальные сетевые
узлы связаны с СЭ 1 каналами управления ЕСС (образованных байтами D
транспортных модулей STM).
Резервная сетевая станция располагается на узле
7, она также связана с СЭ через сеть поддерживающую интерфейс типа Q. Рабочие
станции организованны на узлах 3 и 6.
Заметим, что рабочие станции могут быть
организованны на любом узле посредством подсоединения персонального компьютера
к интерфейсу F. Заметим также, что мониторы сетевых станций также подключаются
к системным блокам станций (серверам) посредством интерфейса F.
Тактовая синхронизация сетей СЦИ
Общие принципы
Система тактовой синхронизации ТС СЦИ
обеспечивает сетевые элементы транспортной сети СЦИ, содержащие внутренние
генераторы, внешним сигналом синхронизации.
Для достижения наивысшего качества связи сеть
СЦИ одного оператора Должна работать в синхронном режиме, образуя единую
синхронную зону. В этом режиме все ЗГ сети должны получать синхросигнал от
первичного эталонного генератора (ПЭГ), в качестве которого должен
использоваться источник, отвечающий Рек. G. 811 MСЭ-Т.
В линиях «точка-точка», когда нагрузкой STM-N
являются только плезиохронные сигналы (Рек G 702 МСЭ-Т) и не требуется
обработка указателей ТU и AU, синхронизация не нужна.
В отсутствие взаимодействия данной сети СЦИ с
другими сетями в качестве главного ЗГ синхронной зоны можно использовать ЗГ
сетевого узла: вторичный (ВЗГ) или местный (МЗГ) задающий генератор, или
генератор сетевого элемента (ГСЭ). Задающие генераторы ПЭГ, ВЗГ, МЗГ и ГСЭ
образуют четырехступенную иерархию, высшую ступень которой занимает ПЭГ.
При взаимодействии сетей СЦИ разных операторов в
пределах России предпочтительно создание объединенных синхронных зон.
Взаимодействие сетей СЦИ, составляющих разные синхронные зоны, должно
осуществляться в псевдосинхронном режиме (Псевдосинхронный режим является
разновидностью автономной синхронизации с применением устройств обеспечивающих
управляемые проскальзывания). В этом случае ПЭГ каждой зоны должен отвечать
требованиям Рекомендации МСЭ-Т G.811. Этот режим, если не достигнуто иного
соглашения, должен использоваться и при международных соединениях. Архитектура
сети синхронизации представлена на рис. 19.
Рис. 19 - Архитектура сети синхронизации
Поскольку мультиплексоры сети СЦИ содержат
синхронизируемые генераторы низкого уровня (генераторы сетевых элементов ГСЭ),
то для предотвращения поступления синхросигналов от ГСЭ на генераторы более
высоких уровней (ВЗГ) в заголовке STM-N передаются SSM биты, определяющие
качество источника синхронизации (см. таблицу 18). Считается, что качество
синхросигнала будет приемлемым, если отдельная цепь синхронизации соответствует
эталонной (рис. ЙЙ). Очевидно, при создании сети синхронизации надо стремиться
к тому, чтобы ее отдельные ветви были бы возможно короче.
Таблица 11 - Основные параметры генераторов
|
SSM
биты (S1,5-8 бит)
|
Обозначение
качества Q
|
Уровень
качества
|
Тип
источника синхронизации
|
Дополнительно
|
|
0010
|
2
|
Наивысшее
|
ПЭГ
|
Соответствует
Рек. G.811
|
|
0000
|
0
|
Неизвестное
|
unknown
|
Оборудование
прежних поколений
|
|
0100
|
4
|
Высокое
|
B3r(SSU-A)
|
Соответствует
Рек. С812тип1
|
|
1000
|
8
|
Среднее
|
M3r(SSU-B)
|
Соответствует
стандарту ETSI300 462-7-1-1
|
|
1011
|
11
|
Низкое
|
ГСЭ
(SEC)
|
Соответствует
Рек. G.813
|
|
1111
|
15
|
Не
использовать
|
DNU
(do not use)
|
Для
синхронизации использовать нельзя
|
Поэтому если внутри узла имеется несколько
сетевых элементов, их генераторы должны синхронизироваться методом
«распределенный ведущий», т.е. внутриузловая сеть синхронизации должна быть
звездообразной, как показано на рис. 19.
Таким образом, все генераторы на сети
синхронизации располагаются на трех иерархических уровнях: верхний уровень
занимает первичный эталонный генератор ПЭГ, ко второму уровню принадлежат
вторичные задающие генераторы ВЗГ, а к третьему - генераторы мультиплексоров -
местные задающие генераторы МЗГ (задающие генераторы оборудования, SEC, SETS).
Вторичные задающие генераторы подразделяются на два типа: транзитные сетевые
таймеры (TNC) и локальные (местные) сетевые таймеры (LNC).
Рис. 20 - Эталонная цепь синхронизации
Рис. 21 - Внутриузловая синхронизация
Порядок распределения синхросигналов в
мультиплексоре показан на рисунке 18. На вход мультиплексора поступают
различные виды сигналов, из которых выделяются (формируются) синхросигналы.
Так, сигнал Т1 получают из сигналов STM-N, сигнал Т2 - из потока Е1 (2048
кбит/с), сигнал Т3 - от внешнего синхросигнала. Схема 1 выбора синхросигнала
обеспечивает выбор сигнала с наивысшим качеством Q, а при равном качестве - по
установленному приоритету. Посредством фильтра ФНЧ и буферной памяти БП в
выбранном сигнале подавляются помехи и осуществляется управление частотой
генератора мультиплексора ГСЭ. Кроме того, функция управления ГСЭ должна
контролировать ступенчатое изменение частоты, вызванное сменой источника
синхросигнала, таким образом, чтобы скорость изменения частоты в точке Т0 не
превышала определенной величины. Это относится к следующим трем случаям:
переход от одного эталонного источника к
другому;
переход от эталонного источника к внутреннему
генератору;
переход от внутреннего генератора к эталонному
источнику.
Последний случай на практике считается наиболее
тяжелым.
Сигнал с ГСЭ (То) поступает на формирователь
сигналов выхода, после чего в составе модулей STM-N передается в линию. Кроме
этого, сигнал Т0 может быть использован для получения выходного синхросигнала
Т4, который используется для синхронизации других элементов данного узла.
Сигнал Т4 может быть получен непосредственно из сигнала Т1 Порядок формирования
выходного сигнала Т4 устанавливается оператором. Если сигнал Т0 сформирован
данным ГСЭ (имеет низкий уровень), то выходной сигнал Т4 отключается.
Рис. 22 - Распределение сигнала синхронизации в
мультиплексоре СП СЦИ
Построение сети ТС
При построение сети ТС обратимся к схеме нашей
СЦИ на рисунке ХХ. Сетевая структура содержит 8 узлов. На узле 1 установлено
внешнее оборудование синхронизации (ВОС), представляющее собой вторичный
задающий генератор (ВЗГ), подсоединенный к базовой (магистральной) сети ТС по 1
классу. Мультиплексор 5 узла подсоединен к базовой (магистральной) сети ТС по 2
классу. Узлы 1-2-3-4-5 объединены в кольцо с защитой типа SNCP, и узлы
1-6-7-8-5 также в кольцо с защитой типа SNCP.
Построение сети ТС удобно начинать с ее
разбиения на секции (трассы) первичных (основных) и вторичных (резервных)
синхросигналов. При разбиении сети ТС на секции следует исходить из следующих
посылок:
количество секций должно быть минимальным;
секции должны содержать минимальное число
мультиплексоров;
секции не должны образовывать замкнутых петель;
секции должны начинаться от узла, содержащего
источник синхросигнала наиболее
высокой ступени иерархии, и заканчиваться на
узле, содержащем резервный источник синхросигнала возможно более высокой
ступени иерархии, или на узле, примыкающем к нему.
На рисунке 19 показана схема сети ТС, полученная
для данной транспортной сетевой структуры с учетом перечисленных выше условий,
а в таблице 19 для каждого узла перечислены доступные источники синхронизации.
Рис. 23 - Схема первичной и вторичной ТС сетевой
структуры “Совещенные кольца”
Таблица 12
|
№СЭ
|
1
|
2
|
3
|
4
|
5
|
6
|
7
|
|
Приоритеты
|
1
|
Внешний
ВЗГ(1)
|
STM-16(1)
|
STM-16(2)
|
STM-16(1)
|
STM-4(4)
|
STM-4(3)
|
STM-4(5)
|
|
2
|
STM-16(4)
|
STM-16(3)
|
STM-16(6)
|
STM-16(5)
|
STM-4(7)
|
STM-4(7)
|
Внешний
ВЗГ(2)
|
|
3
|
ГСЭ
|
ГСЭ
|
ГСЭ
|
ГСЭ
|
ГСЭ
|
ГСЭ
|
ГСЭ
|
|
(1),
(2) - первый и второй классы подсоединения соответственно к базовой сети ТС
(N) - номер узла
|
Литература
1.
Гордиенко В.Н., Тверецкий М.С. Многоканальные телекоммуникационные системы:
учебник для вузов. - М.: Горячая линия - Телеком, 2005. - 416 с.
.
Гордиенко В.Н., Кунегин СВ., Тверецкий М.С. Современные высокоскоростные
цифровые телекоммуникационные системы. Проектирование высокоскоростных
синхронных сетей СЦИ: Учебное пособие / М.: ООО «Инсвязьиздат» - 2001. - 30 с.
.
Тверецкий М.С. Проектирование цифровых телекоммуникационных систем: учебное
пособие/ МТУСИ. - М., 2007. - 87с.
Похожие работы на - Проектирование цифровых телекоммуникационных систем
|