Технология получения заготовок детали 'Крышка шатуна'

  • Вид работы:
    Курсовая работа (т)
  • Предмет:
    Другое
  • Язык:
    Русский
    ,
    Формат файла:
    MS Word
    304,71 Кб
  • Опубликовано:
    2012-10-07
Вы можете узнать стоимость помощи в написании студенческой работы.
Помощь в написании работы, которую точно примут!

Технология получения заготовок детали 'Крышка шатуна'














Курсовая работа

По дисциплине Технология конструкционных материалов

Технология получения заготовок детали "Крышка шатуна"

Введение

 

Курсовая работа «Технология получения заготовок детали "Крышка шатуна"» является заключительной и обобщающей работой по дисциплине «Технология конструкционных материалов».

Целью данной работы является разработка технологического процесса получения детали «крышка шатуна» с заданными механическими свойствами и условиями эксплуатации.

При разработке необходимо обеспечить высокую производительность труда, наиболее экономическое использование металла, ресурсов оборудования и оснастки, энергии.

На основании требований, с использованием справочной литературы выбирается материал, способ получения заготовки, термическая, механическая.

1. 
Общая схема получения детали

2. Выбор марки материала

Согласно исходным данным, крышка шатуна работает при умеренных нагрузках, без трения. Материал, из которого изготовлено изделие, должен обладать демпфирующей способностью, σв > 98 МПа, 143 - 230 НВ.

Этим условиям соответствует чугун марки: СЧ10. Другие конструкционные материалы не рассматриваются, в связи невозможности достижения заданных требований.

Литейные сплавы обладают широким диапазоном механических свойств, особенно железоуглеродистые сплавы - чугуны.

При проектировании детали в первую очередь учитывают механические свойства сплава. Основными механическими сплава являются предел его прочности при растяжении и удлинении, определяющее пластичность сплава.

Максимальную прочность имеет легированная сталь и высокопрочный чугун, но они характеризуются удлинением 5 - 10 %.плохой пластичностью обладает серый чугун (удлинение 0,25 %), однако он имеет другие ценные свойства, о которых сказано ниже. Меньше прочность магниевых и алюминиевых сплавов, но у них небольшая плотность. Медные сплавы имеют довольно высокую прочность, пластичность и коррозионную стойкость, но являются дорогостоящими. Кроме пластичности и прочности, при выборе сплава учитывают и другие их свойства.

Для изготовления одних деталей основным свойством является плотность, для других - жаропрочность, коррозионная стойкость, износостойкость и т.д.

По исходным данным и условиям эксплуатации детали, из выше перечесленных материалов нам подходит серый чугун СЧ10 ГОСТ 1412 - 85

Таблица 1 - Механические свойства СЧ10 ГОСТ 1412 - 85

Марка

Временное сопротивление, σв , МПа

Твердость, НВ

СЧ10

100

143 - 230


Таблица 2 - Химические свойства СЧ10 ГОСТ 1412 - 85

Марка

С

Si

Mn

P

S

СЧ10

3,5-3,7

2,2-2,6

0,5-0,8

до 0,3

до 0,15


Таблица 3 - Основные литейные свойства

Литейный сплав

Плотность, г/см3

Линейная усадка сплава, %

Температура, °С




плавления

заливки в литейные формы

СЧ10

6,8-7,2

0,8-1,2

1150-1260

1260-1400


Рисунок 1 - Диаграмма состояния системы Fe - Fe3C.[1]

В отечественном машиностроении 74% всех отливок изготовляют из серого чугуна, 21% из стали, 3% из ковкого чугуна и 2% из цветных сплавов (алюминиевых, медных и др.).

При выборе сплава необходимо учитывать его свойства и стоимость. Если принять среднюю стоимость отливку из серого чугуна за 100%, то стоимость отливки из других сплавов составляет 130% из ковкого чугуна, 150% из стали, 300 - 600 % из цветных сплавов.

Серый чугун является самым дешевым из литейных сплавов. Его механические свойства зависят от величины зерна металла, от размеров и характера распределения включений графита, а также от соотношения между общим, связанным и свободным углеродом (графитом). В обычном сером чугуне графит кристаллизуется в виде пластинок, которые расчленяют основную металлическую массу и действуют как внутренние трещины. По этой причине серый чугун с пластинчатым графитом обладает низкой прочностью и малой пластинчатостью (до 0,3%). Однако наличие графита в чугуне придает ему меньшую чувствительность к внешним надрезам. В следствии этого конструкционная прочность чугунной отливки незначительно снижает наличие острых углов, резких переходов, неметаллических включений, небольших газовых раковин и пор.

Серый чугун обладает способностью рассеивать вибрационные колебания при переменных нагрузках. Это свойство называется циклической вязкостью.

Благодаря высокой демпфирующей способности серый чугун является хорошим конструкционным материалом, которым во многих случаях можно заменить более дорогостоящую сталь, например при изготовлении коленчатых валов.

Серый чугун имеет хорошие литейные свойства. Кроме того, отдельные марки серого чугуна обладают достаточно высокой прочностью и износостойкостью. Все это обуславливает широкое применение серого чугуна для изготовления разнообразных машиностроительных деталей.

3. Получение материала

Выбор получения чугуна в вагранке, обуславливается тем, что она имеет ряд достоинств по сравнению с другими способами. К основным особенностям вагранки относятся непрерывность плавки, относительно низкий расход топлива и сравнительно высокий КПД(40-50%). Вагранки обычно строятся производительностью 5-20 т/ч; в отдельных случаях их производительность достигает 30-45 т/ч.

Непрерывное повышение требований, предъявляемых машиностроителями к качеству чугуна, а также дефицитность кокса привели к созданию специальных вагранок, работающих на подогреваемом дутье.

В крупных механизированных цехах, изготовляющих литьё из серого и ковкого чугуна, электрические печи применяются в сочетании с вагранками, при этом расплавление чугуна производиться в вагранке, а доводка по составу и температуры - в электрической печи. Такой процесс плавки называется дуплекс - процессом.

При плавке чугуна применяются металлические шихтовые материалы, топливо и флюсы. В состав металлической шихты обычно входят чушковые чугуны, покупной лом (чугун, сталь), цеховые отходы (брак, литники), скрап и стружка. Кроме этих материалов для получения чугуна требуемого химического состава, а также для его раскисления и модифицирования применяются различные ферросплавы.

В качестве топлива при плавке в вагранке наиболее часто применяется каменноугольный кокс, природный газ.

Для получения шлаков определенного состава, обладающих необходимой плавкостью и текучестью, применяется известняк и основной мартеновский шлак.

Для футеровки вагранки и печей применяются различные огнеупорные материалы.

3.1 Конструкция вагранки

До последнего времени из числа применяемых для плавки чугуна печей наибольшее применение имеют вагранки, в которых переплавляются около 80% чугуна для производства отливок.

Исследования работы вагранок, начатые ещё в середине позапрошлого века, и усовершенствование их конструкции были направлены главным образом на повышение температуры жидкого чугуна, повышение производительности вагранок, уменьшение расходов кокса и облегчение обслуживания вагранок. При исследовании было установлено, что лучшие результаты плавки получаются в вагранках с цилиндрической шахтой и равномерным распределением дутья.

В процессе исследования вагранок этой конструкции установлено, что они характеризуются повышенным КПД, пониженным расходом кокса, более высокой производительностью; жидкий чугун из таких вагранок имеет повышенную температуру.

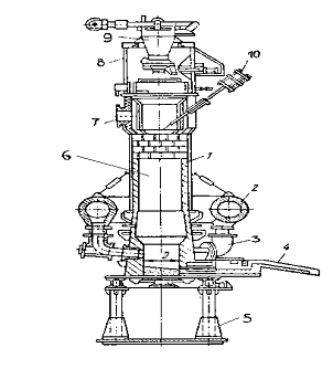
Для плавки чугуна применяют водоохлаждаемые вагранки с основной футеровкой и с подогревом дутья, что позволяет получать высокую температуру чугуна при выпуске. На рисунке 3 показана вагранка закрытого типа, представляющая собой шахту 1 доменного профиля с водоохлаждающими фурмами 3, в которую через шлюзовое загрузочное устройство 8 определенными порциями (калошами) загружают шихту попеременно коксом и флюсами (известняком) 2-3 раза. В качестве металлической шихты используют литейные и передельные доменные чугуны, отходы собственного производства, чугунный и стальной лом, ферросплавы и другие материалы.

Для горения топлива (кокс, природный газ) в вагранку через фурменный пояс 2 подается подогретая до температуры 1450 - 1550 0С воздушно-кислородная смесь












Рисунок 2 - Вагранка закрытого типа:

-шахта доменного профиля, 2-фурменный пояс, 3-водоохлождаемые фурмы,4-желоб, 5-стойка, 6-водоохлаждаемая шахта вагранки,7-патрубок отсоса ваграночных газов, 8-загрузочное приспособление, 9-загрузочный бункер шихты, 10-уравномер шихты в вагранке.

За счет теплоты выделяющейся при горении топлива, металлическая шихта расплавляется. Расплавленный чугун по желобу 4 с устройством для непрерывного отбора шлака выпускается в копильник.

3.2 Расчет шихты

Механические свойства чугунных отливок находятся в зависимости от структуры чугуна, которая, в свою очередь, определяется химическим составом и скоростью затвердевания и охлаждения отливки в форме. Следовательно, расчету шихту должен предшествовать правильный выбор химического состава и структуры чугуна в соответствии с требованиями, предъявляемые к отливке.

Расчет шихты заключается в подборе состава металлической завалки, которое обеспечивает получение из вагранки чугуна требуемого химического состава. Шихта обычно состоит из чушкового чугуна (30-40%), чугунного и стального лома (30-35%), цеховых и заводских отходов (25-30%) и ферросплавов. Содержание элементов в этих материалах определяется по сертификату завода - поставщика и поверочным анализам заводской лаборатории. В процессе плавки происходит изменение химического состава шихтовых материалов вследствие окисления (угара) отдельных элементов. Содержание углерода практически мало изменяется.

Величина угара кремния составляет 10-12%, а марганца - 15-18%, при применении в составе шихты ферросплавов угар кремния достигает 20-25%, а марганца - 30-40%. Никель, как элемент трудноокисляющийся, не даёт угара; угар хрома равен 20-30%; фосфор при плавке не выгорает. Количество серы в чугуне увеличивается на 30-40% по сравнению с содержанием её в шихте вследствие того, что часть серы, содержащейся в коксе, поглощается чугуном. Зная химический состав имеющихся в наличии шихтовых материалов и величину угара отдельных элементов в процессе плавки, можно перейти к расчёту шихты.

3.3 Подготовка шихты

Для получения чугуна с достаточным перегревом необходимо тщательно подготовить все шихтовые материалы.

Чушки чугуна должны быть разбиты по пережимам на 2 или 3 части, размер каждой части не должен превышать 1/3 диаметра вагранки. Лом сортируют и разбивают на куски, желательно чтобы вес отдельных кусков не превышал 10 - 15 кг. Ферросплавы дробят на куски 3 - 5 кг.

Кокс просеивают через грохот с размером ячеи ~ 40 мм. Для погрузки кокса в короба применяют вилы с расстоянием между рожками 25 - 30 мм. флюсы (известняк, мартеновский шлак) дробят на куски размером 40 - 50 мм.

.4 Подача дутья

Когда шахта вагранки заполнена шихтой до нижнего порога загрузочного окна, шихте дают прогреется при естественной тяге 15 - 30 мин. В течении этого времени чугунную и шлаковую летки заделывают тощей формовочной смесью, которая должна заполнить отверстия леток на всю длину, затем присыпают еще немного формовочной смеси и утрамбовывают ее в виде горки над леткой.

В начале пуска дутья глазки нижних фурм должны оставаться открытыми для удаления из фурменной коробки окиси углерода, проникающий из шахты.

При несоблюдении этого правила окись углерода, соединяясь с воздухом, образует взрывчатую смесь, которая проникает вместе с дутьем в вагранку и может вызвать в ней сильный взрыв.

Для подачи дутья в вагранку наибольшее распространение получили центробежные вентиляторы, отличающиеся простотой конструкции. Для измерения давления дутья применяют водяной манометр.

3.5 Выпуск чугуна и шлака

При емкости копильника, составляющий обычно 0,8 часовой производительности вагранки, спустя 35 - 45 мин. после подачи дутья можно приступать к выпуску чугуна. Сначала удаляется горка формовочной смеси, затем вагранщики становиться слева от стороны желоба и коротким ломиком пробивают летку. В начале выпуска чугуна для полного удаления остатков пробки летка прочищается тонким прутком.

При первом выпуске желательно выпустить из копильника как можно больше чугуна для прогрева летки и удаления первых порций недостаточно прогретого чугуна. После выпуска нужного количества чугуна или при появлении шлака летка закрывается глиняной пробкой из огнеупорной массы следующего состава (в объемных частях): 2 части кварцевого песка, 4 части огнеупорной глины и одна части графита.

4       
Оценка технологичности детали

В данной курсовой работе для изготовления детали (крышка шатуна) выбирается литьё, потому что:

именно литьё обеспечивает экономичность производства детали в связи с её невысокой серийностью (300 штук в год) по сравнению с другими способами производства;

конфигурация детали проста, размеры невелики, что способствует повышению качества литой детали;

чугун является малопластичным, а значит, не поддаётся обработке давлением (ковке, штамповке), но с успехом используется при литье, что позволяет получить отливки, не требующие дефицитных материалов и больших энергозатрат.

Деталь крышка шатуна имеет не сложную конфигурацию: внутренняя поверхность образуется формовочной смесью, отверстия с помощью механичской обработки. Наружная поверхность детали также частично выполняется механической обработкой. Последовательность механической обработки заключается в снятии припусков и напусков (которые назначаются при литье), получении необходимой шероховатости, высверливании отверстий.

Трудности выбора способа литья усугубляется тем, что большую часть отливок можно изготовить несколькими способами, которые в равной степени обеспечивают требуемые свойства литой детали. В этом случае решающим фактором, указывающим на наиболее рациональный технологический процесс производства заданного числа отливок, является его экономичность. Литьё в оболочковые формы, по выплавляемым моделям, в кокиль, и центробежное является серийным, крупносерийным и массовым производством, а значит, не подходит для изготовления заданной детали, серийность которой составляет 300 штук в год. Рассматривая эти способы литья, каждый из них отвергается по определенным причинам, склоняясь к выбору литья в песчано-глинистые формы. недостатком литья в оболочковые формы является высокая стоимость песчано-смоляных смесей. Литьё по выплавляемым моделям является очень трудоёмким и сложным процессом, длящимся более двух суток, имеет высокую стоимость. Литьё в кокиль имеет значительную стоимость кокилей, характеризуется трудностью получения отливок из серого чугуна, особенно тонкостенных, без отбеленного плохо обрабатываемого слоя. Литьё под давлением имеет высокую стоимость пресс - форм, характеризуется образованием пористости и раковин в массивных частях отливки. При центробежном литье происходит загрязнение внутренней поверхности отливок неметаллическими включениями, внутренняя поверхность отливок получается неровной и требует введение для внутренних размеров сравнительно больших припусков.

5. Выбор способа получения заготовки

Исходя из выше сказанного, окончательно останавливаются на получении заданной детали путем литья в песчано - глинистые формы. Литьё в песчано - глинистые формы является универсальным и достаточно простым методом. Этот метод литья применяется для изготовления отливок самой разнообразной формы, габаритов и массы.

6. Разработка чертежа отливки

Исходными данными для проектирования чертежа отливки являются: чертеж готовой детали, сведения о готовой программе выхода, материал детали, ее назначение и др. На чертеже отливки указывают все элементы, отличающие размеры отливок от размеров детали: припуски на механическую обработку, напуски, формовочные уклоны, радиусы закруглений, специальные требования к отливке и другое.

 

.1 Выбор положения отливки в форме и определение разъема формы


Для данной детали выбрано горизонтальное положение. С разъемом формы по середине детали.

 

.2 Припуски на механическую обработку


Величина припусков зависит от материала литой детали, характера производства, положения обрабатываемой поверхности в форме и регламентируется ГОСТ 26645-85. Припуск на верхние поверхности отливки должен быть больше, так как в верхней части отливки могут скапливаться мелкие частицы шлака, неметаллические включения и газовые пузыри.

Таблица 4 - Припуски на механическую обработку ГОСТ 26645-85

Положение поверхности при заливке

Размеры, на которые назначается припуск, мм


до 50

51 - 120

121 - 260

верх низ, бок

 4,0 3,0

4,5 3,5

5,0 4,0

 

.3 Припуск на усадку


Величина припуска на усадку выбирается в зависимости от материала. На чертеже отливки величину припуска указывают в примечании или в правом нижнем углу. Модельщик при изготовлении модели использует соответствующий усадочный метр. Для серого чугуна при литье деталей малого веса (до 100 кг) составляет 1,0%

 

.4 Формовочные (литейные) уклоны


Величина формовочных уклонов выбирается в зависимости от вида литья, материала модели и высоты поверхности, на которую назначается уклон, и обозначается в градусах или в миллиметрах. На высоту 55 мм назначается уклон с углом b = 45’, а=0,85 мм.

 

.5 Напуски


Напуск служит для упрощения изготовления отливки. Например, отверстие диаметром 50 мм и меньше можно не оформлять в отливке, поскольку его целесообразнее просверлить в процессе механической обработки. По этой же причине сквозные и несквозные пазы менее 50 мм не отливаются. Также в данной работе напуски будут назначены на бобышки: две бобышки соединяются, третья же продолжается до линии разъема формы. Точно также поступают с «ушками»: их соединяют сплошным слоем металла.

6.6 Галтели и литейные радиусы


Радиус галтели R определяется по формуле

                                                    (1)

где а и в - толщины сопрягаемых стенок отливки, мм (рисунок 4).

Полученные по формуле значения округляют доследующих величин

(нормальный ряд радиусов): 1, 2, 3, 5, 8, 10, 16, 20, 25, 40. Так как на отливках не должно быть острых углов (они являются концентраторами напряжений и затрудняют получение четкого контура отливки), все острые кромки округляют радиусами, размер которых не превышает 3-5 мм.

Размеры литейных радиусов в курсовой работе равны 3мм.

.7 Расчет размеров исходной заготовки

Масса детали и отливки сосчитаны в системе «Трехмерного моделирования КОМПАС-3D V9».

Рисунок 2 - Деталь (Крышка шатуна)

Масса детали равна: M = 17,218 кг.

Рисунок 3 - Крышка шатуна (отливка)

Масса отливки равна: М= 21,138 кг

.8 Степень точности поверхностей отливок

(СТП). Качество поверхности отливок оценивается по ГОСТ 26645-85 степенью точности поверхности (таблица 4). По СТП определяются размеры припусков на обработку отливок. Точность отливки ГОСТ 26645-85.Класс размерной точности - 11Степень коробления - 8Степень точности поверхностей - 12Класс точности массы - 10

Точность отливки 11 - 8 - 12 - 10 ГОСТ 26645-85

7. Разработка технологического процесса получения заготовки.Оборудование

.1 Основные этапы процесса изготовления отливки

Отливки получают в литейной форме, полость которой соответствует конфигурации отливки. Форму изготовляют из формовочной смеси, состоящей из формовочных материалов (песка, глины и добавок воды, связующих материалов и т.д.). Формовочную смесь засыпают в литейные опоки и выполняют в них отпечаток модели. Модель имеет конфигурации внешней поверхности отливки; ее изготовляют из древесины (преимущество деревянных моделей - дешевизна, простота изготовления, небольшая масса). В нашем случае применяем модель из сосны. Рассмотрим последовательность изготовления отливки в песчаной форме.

По чертежу детали разрабатывается чертеж отливки. По чертежу отливки изготовляют деревянные модели. Для облегчения изготовления формы модель делают разъёмными.

Затем устанавливают вторую опоку, засыпают в нее формовочную смесь и уплотняют. Далее поднимают верхнюю полуформу, извлекают из обеих полуформ половину модели и модель литниковой системы и накрывают нижнюю полуформу верхней.

В плавильном отделении в специальных плавильных печах расплавляют металл и заливают им формы. После затвердевания металла образуется отливка, которую извлекают, разрушая форму.

В очистном отделении из отливки выбивают стержни, отбивают или отрезают литники, очищают отливку от пригоревшей формовочной смеси, зачищают остатки литников и при необходимости подвергают термической обработке. После очистки и контроля отливки направляют в механический цех для обработки, затем на склад готовой продукции.

Таблица 6 - Основные операции технологического процесса

Содержание операции

Схема операции

1 Установить нижнюю опоку на подмодельную плиту разъёмом вниз

2 Установить нижнюю половину модели отливки и модель питателя


3 Заполнить формовоч-ной смесью и утрамбовывать


4 выровнять поверх-ность

 

5 Перевернуть нижнюю опоку на 180о

6 Установить верхнюю опоку на нижнюю разъёмом вниз


7 Установить верхнюю половину модели отливки, модель выпора и стояка


8 Посыпать плоскость разъёма сухим песком


9 Заполнить формовоч-ной смесью и утрамбовывать


10 Разобрать форму


11 Извлечь модели выпора, стойки и отливки


Содержание операции

Схема операции

12 Установить стержень

По чертежу ТПЖА.301525.918 ДПЛ

13 Собрать форму под заливку


14 Залить расплав


15 Остудить отливку


16 Извлечь отливку


17 Отделить от отливки элементы литниковой системы


18 Очистить отливку


19 Осмотреть отливку на наличие видимых дефектов


1 - подопочная плита; 2 - полумодель отливки; 3 - формовочная смесь; 4 - нижняя опока; 5 - выпор; 6 - питатель и шлакоуловитель, 7 - стояк; 8 - верхняя опока.


8. Термическая обработка заготовки


Термическая обработка представляет собой совокупность операций нагрева, выдержки и охлаждения, проводимых в определенной последовательности с целью изменения внутреннего строения сплава и получения нужных свойств

Для снятия литейных напряжений и стабилизации размеров чугунные отливки отжигают при температуре 5000 - 5700С. В зависимости от размеров и формы отливки выдержка при температуре отжига составляет 3 - 10 часов. Охлаждение после отжига медленное, вместе с печью. После такой обработки механические свойства изменяются мало, а внутренние напряжения снижаются на 80 - 90 %. Иногда для снятия напряжений в чугунных отливках применяют естественное старение чугуна - выдержка их на складе в течение 6 -10 месяцев.

Такая выдержка снижает напряжения на 40 -50 %.

В данном случае применяется отжиг при температуре 5000 - 5700С в течение 3 - 5 часов и с последующим охлаждением с печью.

 

9. Механическая обработка

 

Механическая обработка начинается с выбора базы обрабатывания детали.

База для первой операции должна выбираться с учетом обеспечения лучших условий обработки поверхностей, принимаемых в дальнейшем в качестве технологических баз. В качестве технологических баз следует принимать поверхности достаточных размеров, что обеспечивает большую точность базирования и закрепления заготовки в приспособлении, эти поверхности должны иметь боле высокий квалитет точности, наименьшую шероховатость, не иметь литейных прибылей, литников, окалины и других дефектов.

заготовка крышка шатун технология

Таблица 6 - Механическая обработка

Номер операции

Содержание операции

Тип станка

Режущий инструмент

1

Фрезерование верхних поверхностей (3 мм) и нижних поверхностей (3 и 3,5 мм)

Фрезеный станок

Торцевая фреза Р6М5


Заключение

Таким образом, в данной работе был создан технологический процесс получения детали “Крышка шатуна” с заданными механическими свойствами.

В качестве материала для детали применен СЧ10. При годовой программе выпуска 300 штук в год деталь получается литьем в песчано - глинистые формы.

Разработан чертеж отливки, назначены припуски, допуски, выбран режим термической обработки и схема механической обработки.

Коэффициент использования металла (КИМ) составляет 81 %, что является вполне удовлетворительным для данного способа получения заготовки.

Библиографический список

заготовка крышка шатун технология

1.  Конструкционные материалы /Справочник под редакцией Б.Н. Арзамасова. М., Машиностроение, 1990

2.       Гуляев А.П. Металловедение /М., Металлургия, 1986.

.        Лахтин Ю.М., Леонтьева В.Л. Материаловедение /М., Машиностроение, 1990

.        Дальский А.М. и др. Технология конструкционных материалов / М., Машиностроение, 1985

.        Кнорозов Б.В. и др. Технология металлов и материаловедение /М., Металлургия, 1987

.        Металловедение и термическая обработка / под ред. Бернштейна М.Л. и др. Т.3. М., Металлургия, 1983.

.        Разработка технологического процесса получения литых заготовок. Метод. Указание. Киров, 1989.

Похожие работы на - Технология получения заготовок детали 'Крышка шатуна'

 

Не нашли материал для своей работы?
Поможем написать уникальную работу
Без плагиата!
Без нейросетей!