Технология восстановления подшипников скольжения
Содержание
Введение
. Технология нанесения электрохимических покрытий и их
свойства
.1 Приготовление электролитов суспензий
.2 Способы и устройства для электроосаждения
.3 Влияние условий электролиза на физико-механические
свойства износостойких покрытий
.4 Электролитическое никелирование
.5 Свойства композиционных никелевых покрытий с различными
типами ультрадисперсных алмазных частиц
.6 Микроструктура композиционных и поликомпозиционных
покрытий
.7 Твердость композиционных покрытий
.8 Трение и износ композиционных гальванических покрытий
.9 Свойства никелевых КЭП с нанодисперсными частицами (МоОз)n(Н2O)m
.10 Оптимизация износостойкости композиционных гальванических
покрытий с включениями твердых чатиц
.11 Структура и свойства подшипниковых сплавов
. Методика испытаний
.1 Методика триботехнических испытаний
.2 Методика измерения микротвердости
.3 Методика исследования поверхности твердых материалов
.4 Методика определения профиля дорожки трения
. Результаты триботехнических испытаний
.1 Результаты триботехнических испытаний никелевых КЭП с
нанодисперсными частицами (МоОз)n(Н2O)m и (WОз)n(Н2O)m
.2 Результаты триботехнических испытаний гальванических
покрытий Pb-Sn, Pb-Sn-Sb
. Технология восстановления подшипников скольжения
Заключение
Литература
Введение
Основными причинами выхода из строя деталей машин и металлоконструкций
являются процессы изнашивания и коррозия. Известно, что в результате
естественного изнашивания выходит из строя до 70% деталей и их соединений.
Потери от коррозии также велики. Ежегодные потери металла от трения и износа в
высокоразвитых капиталистических странах составляют до 4-5% валового
национального дохода. Именно поэтому поиск путей снижения таких потерь актуален
и исследования сегодня ведутся по многим направлениям. Одно из них - разработка
новых технологий нанесения антифрикционных покрытий на детали, работающие в
условиях трения (подшипники, втулки, направляющие вкладыши и т.п.). Такие
покрытия должны обладать хорошей прирабатываемостью, износостойкостью, низким
коэффициентом трения и малым износом контактирующего материала.
Появлению антифрикционных свойств в условиях трения способствует наличие
в покрытиях таких металлов, как медь, свинец, олово, алюминий или включения
частиц компонентов, обладающих смазочным действием (фторопласт, полиэтилен,
фторированный графит, сульфид молибдена).
Использование метода гальванического нанесения антифрикционных покрытий
из растворов позволяет проводить процесс при низких температурах и одновременно
обрабатывать большое количество деталей. Кроме того, за счёт использования
специальных приспособлений для крепления деталей, анодов сложной формы и
экранов существует возможность размерного нанесения покрытий, что устраняет
необходимость последующей механической обработки. Литературные сведения о таких
покрытиях, растворах и способах их получения крайне ограничены, носят
фрагментарный характер, и требуются дополнительные исследования для
осуществления их реализации на практике.
При осаждении многих компонентных сплавов из фторборатных электролитов
можно осаждать покрытия, обладающие антифрикционными свойствами, со скоростью
порядка 1 мкм/мин до толщины 250-300 мкм. Испытания таких покрытий на вкладышах
сельхозтехники показали, что по комплексу технических (микротвёрдость до 3200
Н/мм2, толщина не менее 50 мкм, устойчивость к воздействию нагрузок не менее
500 кг, адгезия не менее 600-800 Н/м) и технологических параметров (потребление
энергоресурсов и материалов) предварительный вариант технологии и покрытия
приближаются к лучшим зарубежным аналогам.
Высокими антифрикционными характеристиками обладает свинец. Высокая
коррозийная стойкость свинца в различных средах в сочетании с низким
коэффициентом трения позволяет использовать его плёнки для нанесения на
специальные подшипники качения и скольжения. Легирование свинца другими
металлами придаёт его поверхности новые свойства. В промышленности
распространены сплавы свинца с оловом. Сплавы, содержащие до 5-25% олова,
применяются как антифрикционные. Наиболее известными из тройных сплавов на
свинцовооловянистой основе являются сплавы с медью и сурьмой, обеспечивающие
хорошую прирабатываемость, большую износостойкость и стойкость против эррозии
[10,13].
Введение в двойные сплавы третьего компонента (преимущественно сурьмы или
меди) может существенно улучшить их физкомеханические свойства. Покрытия этими
сплавами могут обеспечить хорошую прирабатываемость, высокую стойкость против
эрозии и истирания. Скорость усталостного разрушения покрытий из сплавов Pb-Sn-Sb или Pb-Sn-Cu в 5 раз меньше,
чем скорость усталостного разрушения сплавов Pb-Sn.
Однако в литературных источниках не приводятся данные о триботехнических
свойствах антифрикционных сплавов в режиме граничного трения и трения без
смазки в парах трения со сталью. Как известно, наиболее интенсивный износ
подшипников скольжения наблюдается в момент начала движения сопрягаемых
поверхностей, когда трущиеся поверхности разделены тонким слоем смазки.
Таким образом, в данном дипломном проекте рассмотрены два вида
электрохимических покрытий: твёрдое (никелевые композиционные материалы) при
сухом трении в паре с ситаллом и мягкие (Pb-Sn-Sb, Pb-Sn) в паре со
сталью.
1. Технология нанесения электрохимических покрытий и их свойства
.1 Приготовление электролитов суспензий
Повышение качества ремонта и восстановления изношенных деталей, снижение
при этом энергетических ресурсов с широким применением безотходных технологий
возможно на базе концентрации, специализации и кооперации производства с
использованием автоматических и полуавтоматических производственных процессов и
индустриально упрочняющей технологии восстановления деталей [7].
Внедрение технологических процессов упрочнения и восстановления деталей
машин композиционными покрытиями связано также с технологической подготовкой
производства. Основные нормативы проектирования гальванических цехов и
участков, разработки технологических процессов по подготовке поверхности
деталей к нанесению покрытий, а также выбор для этих целей оборудования,
приспособлений, средств автоматизации и контроля вполне пригодны и для
подготовки производства осаждения КЭП. Технологические особенности
электроосаждения КЭП обусловлены только наличием в электролите дисперсной фазы.
Поэтому вопросы приготовления электролита-суспензии (ЭС), выбора оптимальной
схемы транспортировки дисперсной фазы к поверхности деталей, создание
универсального или специального оборудования для осаждения КЭП, оптимизация
технологических режимов электроосаждения, подбор номенклатуры упрочняемых или
восстанавливаемых деталей требуют дополнительного обсуждения.
Для приготовления ЭС в качестве жидкой фазы используют различные
электролиты никелирования широко применяемые в гальванотехнике. Выбор
электролита обусловливается необходимостью сообщения матрице КЭП определенного
свойства, например высокой износостойкости или высокой электропроводности.
Технология приготовления и анализ электролитов для осаждения металлов и сплавов
широко известны в гальванотехнике и могут быть полностью заимствованы при
разработке технологии электроосаждения КЭП. В таблице 1 приведены составы
некоторых электролитов для получения КЭП, большинство из которых применяют в
гальванотехнике. Однако не исключаются случаи, когда осаждение металла и
порошка требует разработки новых электролитов.
В качестве дисперсной добавки к электролитам применяют различные порошковые
материалы, оксиды, карбиды, бориды, нитриды, алмазы и т. д. Для получения
самосмазывающихся покрытий используют порошки твердых смазочных материалов. В
качестве твердых смазочных материалов можно применять материалы из группы
халькогенидов. Сульфиды, селениды и теллуриды имеют слоистую структуру, которая
обеспечивает легкое расслоение частиц при трении подобно графиту, обладают
высокой адгезией к металлическим поверхностям, не гидролизуются в воде, мало
подвержены действию кислот и щелочей. Синтетически полученные халькогениды не
содержат абразивных примесей и могут с успехом применяться как антизадирные
присадки к маслам, в качестве твердых смазочных материалов для узлов трения,
работающих на воздухе и в вакууме, для получения самосмазывающихся композиционных
электрохимических композиционных покрытий.
В приготовленный электролит вводят небольшими порциями порошок и
тщательно размешивают. Для повышения смачиваемости порошка в электролит часто
вводят поверхностно-активные вещества (ПАВ). Необходимость увеличения
количества включений частиц в покрытия и сообщения им определенного знака
заряда побуждает вводить в ЭС специальные добавки. Выбор добавки, регулирующей
электрокинетические свойства частиц, производят на основе эксперимента.
Традиционно используемые для получения КП дисперсные частицы
труднодоступны и дороги. Нанодисперсные частицы гидратированного триоксида
молибдена синтезировались путем термообработки растворов молибденовой кислоты,
полученной в результате ионного обмена из растворов молибдата натрия.
Установлено, что стабильность частиц дисперсной фазы в электролите
никелирования определяется их размерами и степенью кристалличности. Аморфные
частицы оксида, синтезируемые при низкотемпературном термостатировании (30-60
°С) или кипячении разбавленных (0.1 моль/л) растворов молибденовой кислоты, в
среде электролита растворяются. При двустадийном последовательном кипячении
вначале кратковременно (2-5мин) концентрированного (1 моль/л), а затем
длительно (4 часа) разбавленного (0.1 моль/л) растворов молибденовой кислоты
формируются кристаллические частицы оксида, характеризующихся небольшими
размерами (60-120 нм), устойчивые в среде электролита. Сходные частицы
формируются и в процессе гидротермального воздействия на разбавленные растворы
молибденовой кислоты (0.1 моль/л) при давлении 5-20 атм. Полученные при
использовании двух указанных методов частицы (МоОз)n(Н2O)m характеризуются наличием
отрицательного заряда.
Синтезированные в процессе двустадийного кипячения раствора молибденовой
кислоты частицы оксида при их введении в объем сульфатного электролита
никелирования, включаются в формирующееся на катоде металлическое покрытие с
образованием композитных пленок Ni-(МоОз)n(Н2O)m.
Для повышения физико-механических свойств КЭП и их износостойкости
необходимы порошки с размерами частиц 0,1...0,2 мкм.
Для уменьшения агрегатирования порошки измельчают либо непосредственно в
выбранном и приготовленном электролите, либо в воде, спиртовых растворах и т.
д. Введение различных добавок, изменяющих поверхностные свойства частиц при
ультратонком измельчении, имеет весьма существенное значение.
Таблица 1- Электролиты-суспензии (ЭС) для получения никелевых КЭП
|
ЭС
|
Состав электролита, кг/м3
|
Дисперсная фаза
|
|
1
|
Никель сернокислый 167-233,
магний сернокислый 10-20, муравьиная кислота 60-80
|
MoS2, WS2,
Al2O3, ZrO2, WC, алмаз
|
|
2
|
Никель сернокислый 300-400,
натрий фосфорнокислый 15-20, ортофосфорная кислота 60-70, спирт этиловый
15-20
|
MoS2, TiC, ZrB2,
HfB2
|
|
3
|
Никель сернокислый 245,
никель хлористый 30, аминоуксусная кислота 20
|
MoS2
|
|
4
|
Никель сернокислый 180-200,
никель хлористый 25-35, натрий фосфорноватистокислый 5-10, ортофосфорная
кислота 30-40
|
MoS2
|
|
5
|
Никель хлористый 200,
соляная кислота 200
|
ZrB2
|
|
6
|
Никель сульфаминовокислый
300, никель хлористый 30, борная кислота 30
|
-BN
|
Если жидкость или вводимые добавки обеспечивают повышение смачиваемости,
то достигается высокая агрегативная устойчивость суспензии. Измельчение
порошков связано с возможностью загрязнения ЭС продуктами износа механических
частей измельчения вследствие кавитационной коррозии. Процесс магнитной
сепарации не всегда позволяет избавиться примесей. Если диспергирование
проводят в жидкостях, которые в дальнейшем выпаривают, то можно подобрать
кислоту или смесь кислот, промывка в которых растворяет примеси. При
измельчении порошка непосредственно в электролите необходимо откорректировать
его рН, а перед осаждением КЭП суспензию проработать под током. Порошки очищают
от примесей в случае получения КЭП со строго контролируемыми свойствами.
Очистка желательна, если производят осаждение КЭП для работы в вакууме.
Применение для осаждения с металлом частиц ультратонкого измельчения
существенно облегчает решение вопросов очистки ЭС от шлама и других
загрязнений. С этой целью можно использовать бумажные, тканевые, керамические
или другие фильтры, которые пропускают мелкие частицы, но задерживают
нерастворимые примеси анодов с размерами более 0,1 мкм. Аноды помещают в мешки
из хлопчатобумажной ткани и других материалов [8].
.2 Способы и устройства для электроосаждения
Наличие дисперсной фазы в электролитах обусловливает выбор способов
транспортировки частиц к катоду и конструктивное оформление электролизера в
связи с конфигурацией деталей и программой выпуска изделий. Подвод частиц к поверхности
детали часто лимитирует весь процесс образования КЭП, поэтому необходимо
направленное перемещение к катоду частиц и жидкости [3].
На рисунке 1 представлены некоторые способы доставки частиц в зону
катода: а - покачиванием анодных штанг; б - осаждением в засыпанном порошке или
в поле сил тяжести; в - барботированием суспензии сжатым воздухом или газом; г
- вращением изделия; д - механическими мешалками; е - центробежным полем; ж -
непрерывной седиментацией; з - ультразвуковыми или акустическими волнами.
Перспективным способом электроосаждения КЭП является электронатирание
поверхностей в суспензиях. Способ производительный и позволяет получить КЭП с
большим количеством включений частиц в покрытии. При разработке технологии
восстановления изношенных деталей двигателей внутреннего сгорания
электроосаждением КЭП, использовали специализированные установки для
электронатирания, разработанные в Хабаровском политехническом институте.
Рисунок 1. Некоторые способы доставки частиц в зону катода.
- ванна; 2 - электролит; 3 - анод; 4 - деталь; 5 - вентиль; 6 - насос; 7
- мешалка; 8 - вращающее устройство; 9 - компрессор; 10 - источник колебаний;
11 - воздушный фильтр; 12 - корзина; 13 - фильтр крупных частиц.
.3 Влияние условий электролиза на физико-механические свойства
износостойких покрытий
Изменение условий электролиза существенно влияет на свойства
гальванических покрытий. При осаждении КЭП плотность тока, состав электролита и
температура ванны также определяют количество включений в покрытии. Рассмотрим
влияние технологических режимов осаждения на примере композиции Ni-MoS2.
С увеличением катодной плотности тока микротвердость электролитических
композиций, полученных из ЭС1 и ЭС2, повышалась до 4000 МПа. Микротвердость
осадков из ЭСЗ проходила через максимум (4300 МПа) и затем снижалась. Некоторое
увеличение микротвердости наблюдалось при получении самосмазывающегося КЭП
(СКЭП) из ЭС4. Максимальная микротвердость (4100 МПа) соответствовала изменению
катодной плотности тока 6...10 А/дм2. Для оценки влияния плотности тока и
количества включений на изменение мпкротвердости ставили дополнительные опыты.
При тех же условиях электролиза получали осадки никеля без MoS2. Результаты показывают
превалирующее влияние дисперсной добавки на увеличение микротвердости покрытий.
Прирост микротвердости за счет дисперсной фазы в 1,5...2,0 раза выше. С
уменьшением рН электролитов твердость композиций значительно изменялась. Она
повышалась с 3400 до 4000 МПа у осадков из ЭС1, проходила через максимум (4100
и 4250 МПа) при получении покрытий из ЭС2 и ЭСЗ, снижалась с 4500 до 4000 МПа
при повышении рН ЭС4. Изменяя рН электролитов в тех же пределах, как и при
осаждении композиционных покрытий, получали никелевые покрытия без MoS2.
Результаты измерения микротвердости еще раз подтвердили превалирующее влияние MoS2 (но не параметров процесса) на
микротвердость композиций.
Исследования влияния плотности тока на сцепляемость с подложкой показали,
что увеличение плотности тока снижает сцепляемость покрытий на 10-20 МПа
вследствие повышенного включения MoS2 в покрытия. Поскольку количество
включений из ЭСЗ-больше, то и снижение сцепляемости КЭП с подложкой оказывается
заметней. С увеличением рН количество включений из ЭС1 и ЭСЗ возрастает. В этом
случае наблюдаются такие же закономерности изменения внутренних напряжений и
сцепляемости, как и при регулировании плотности тока.
Сравнивая результаты изменения микротвердости, внутренних напряжений и
сцепляемости с количеством включений дисульфида в осадке от изменения режимов
осаждения следует отметить корреляцию между ними до определенного предела. Так,
микротвердость возрастала при увеличении содержания МоS2 в покрытиях до 3%. Дальнейшее повышение дисперсной фазы в
покрытиях снижало микротвердость. Подобная закономерность обнаружена и при
получении КЭП на основе железа с включениями MoS2 или WS2 и
при осаждении никеля с карбидом титана и двуокисью циркония. Отмеченную выше
закономерность можно объяснить, связывая изменение механических свойств
композиций с влиянием дисперсной фазы и условий осаждения на процесс
электрокристаллизации и структуру металла.
При использовании КЭП в узлах трения часто требуется обеспечить хорошую
сцепляемость покрытия с подложкой, высокую износостойкость среднего слоя и
иметь сравнительно мягкий приработочный слой, т. е. иметь определенные
механические и антифрикционные свойства по толщине покрытия. В принципе эта
задача может быть решена использованием в узлах трения поликомпознционных
покрытий: твердые частицы позволяют за счет изменения объемного содержания по
толщине покрытия регулировать механические свойства, а изменение количества
смазочного материала позволяет регулировать антифрикционные свойства (рисунок
2)
Однако реализация поставленной задачи в настоящее время вызывает затруднение.
Наибольшую сцепляемость покрытия с деталью можно обеспечить нанесением подслоя
чистого покрытия или плавным выведением ванны на рабочий режим при отключенных
средствах транспортировки частиц к катоду. Но требуемые свойства для зоны
истирания и приработки могут быть обеспечены только программным изменением
режима электроосаждения.
Рисунок
2 - Характер оптимального соотношения твердых (1) и смазывающих (2) частиц по
толщине ПКЭП (I-зона сцепления; II- зона истирания; III- зона
приработки)
.4
Электролитическое никелирование
Никелевое покрытие классифицируется как защитно-декоративное и наносится
на сталь непосредственно или с подслоем меди. На детали из медных сплавов
никелевое покрытие наносится непосредственно.
Никелевые покрытия практически не изменяют прочностных пластических
характеристик сталей в условиях приложения статических и динамических нагрузок.
Рассмотрим основные свойства никелевых покрытий. Твердость никелевых
покрытий от 200 до 400 единиц HV.
Предложен новый способ получения покрытий, обладающих повышенной твёрдостью. Он
состоит в том, что гальваническое покрытие осаждается на электролите, в котором
дисперированы твёрдые частицы. Эти частицы включаются в осадок, тем самым
повышая его твёрдость[15].
Покрытия, полученные на никелевой основе, достигают прочности от 63 до
140 кг/мм2 . При сочетании твёрдость покрытия достигает 263 Rc. Такое покрытие сохраняет высокую
твёрдость до температуры 2600 С .
Для защиты трущихся деталей никелевые покрытия могут быть рекомендованы
при условии, незначительных нагрузок вследствие склонности покрытий к
задиранию.
Никелевое покрытие по отношению к конструкционным сталям в электролитах
является катодным. Покрытие обладает значительной пористостью, которая
уменьшается пропорционально увеличению толщины слоя самого никеля или подслоя
меди. Никелевое покрытие в зависимости от условий осаждения, предварительной
подготовки поверхности или последующей отделки может быть блестящим, матовым
или зеркальным; цвет покрытия белый с желтоватым оттенком.
При назначении никелевых покрытий на детали сложной конфигурации следует
иметь в виду, что в углублениях (вследствие невысокой рассеивающей способности
электролита) толщина слоя уменьшается до 50%, а в отверстиях, каналах и щелях
может отсутствовать.
Покрытие выдерживает запрессовку, изгибы; при расклепке и развальцовке
возможны случаи отслаивания.
Сплавы вольфрама удается получить в основном только с хромом, железом,
кобальтом и никелем. В электролите, содержащем 250 г/л сульфата никеля, 20 г/л
хлорида никеля, 30г/л борной кислоты и 2 г/л вольфрамата натрия, при
температуре 50°С и катодной
плотности тока 0,2 А/дм2 можно получить никельвольфрамовые покрытия с 7 - 8%
вольфрама.
При повышенных значениях pH и
увеличении растворимости солей вольфрама за счет комплексобразования с
органическими кислотами удается получать сплавы, содержащие до 45% вольфрама.
Аналогичным путем из лимоннокислых комплексов в присутствии аммиака получают
вольфрамокобальтовые сплавы с содержанием вольфрама до 65% [15].
1.5 Свойства композиционных никелевых покрытий с различными типами
ультрадисперсных алмазных частиц
В настоящее время растет интерес к получению покрытий, содержащих
ультрадисперсные частицы, размеры которых составляют лишь несколько десятков
или сотен ангстрем. Ультрадисперсные системы могут быть применены для создания
сверхтвердых композиционных материалов, дисперсного упрочнения металлов и
сплавов, для разработки металлокерамического режущего инструмента .
Использование определенных ультрадисперсных систем в качестве второй фазы в
композиционных покрытиях приводит к улучшению их физико-механических свойств,
измельчению структуры (величина блоков уменьшается до 100 нм и менее) по
сравнению с аналогичными чистыми покрытиями, что может найти широкое применение
при разработке и изготовлении микродвигателей, микропереключателей и других
микромеханических устройств. Среди известных ультрадисперсных систем интерес
представляют ультрадисперсные алмазы (УДА), образующиеся при детонации
некоторых видов взрывчатых веществ в замкнутом объеме. Описаны условия
получения и свойства композиционных электрохимических покрытий на основе хрома,
цинка, никеля, благородных и иных металлов и сплавов с включением в состав
гальванического осадка от десятых долей до нескольких массовых процентов УДА.
Упрочняющие эффекты, вызванные столь малым содержанием частиц УДА, могут быть
обусловлены не только размером и числом соосажденных ультрадисперсных частиц,
но также строением и свойствами поверхности УДА, в том числе такими, как
величина удельной поверхности и ее химический состав, удельная адсорбция ионов
электролитов, знак и величина электрокинетического потенциала. Показано, что
такие характеристики могут варьироваться в зависимости от условий получения и
химической обработки УДА. Целью настоящей работы являлось исследование
структурных и физико-механических свойств никелевых композиционных покрытий,
полученных электрохимическим методом с тремя типами ультрадисперсных алмазных
частиц, различных по адсорбционно-структурным характеристикам [12].
Композиционные никелевые покрытия толщиной 20 мкм, содержащие УДА,
осаждали на стальные образцы (20x40x1 мм) из электролита типа Уоттса,
содержащего, в г/л: NiSO4*7H30 - 240 г/л, NiCl2*2Н2О - 40, Н3ВО2 - 30 г/л, рН 3,8
при температуре 50"С, плотности тока 6 А/дм2. Концентрацию алмазных
частиц, полученных методом детонационного синтеза (НПО "СИНТА",
Беларусь), меняли в электролите от 0 до 20 г/л. Использовали три типа
ультрадисперсных алмазных частиц с размером 4-6 нм (таблица 2). Частицы УДА,
введенные в электролит никелирования, склонны к коагуляции и оседанию в виде
подвижного рыхлого слоя на дно ванны. Для поддержания частиц во взвешенном
состоянии применялось умеренное перемешивание электролита.
Содержание ультрадисперсных алмазных частиц определяли кулонометрическим
методом на экспресс-анализаторе АН-7529 (СССР) и Оже-электронной
спектроскопией. Микротвердость по Vickers определяли на MICROMET-II с нагрузкой 0,5 Н. Структуру
композиционных покрытий исследовали методом просвечивающей электронной
микроскопии с ускоряющим напряжением 100 кВ.
Таблица 2 -
Свойства трёх типов ультрадисперсных алмазных частиц
|
Тип частиц
|
Свойства частиц
|
Внешний вид частиц
|
|
а
|
б
|
в
|
г
|
|
|
1
|
98,5/1,5
|
323
|
0,3-0,6
|
0,9-1,8
|
Серые
|
|
2
|
95/5
|
287
|
2,1
|
7,5
|
Тёмно-серые
|
|
3
|
75/25
|
265
|
4,5
|
17
|
Чёрные
|
а - соотношение алмазной к неалмазной формам углерода, (масс. %); б-
удельная поверхность, (м2/г); в- адсорбция потенциал-определяющих ионов, (Н+,
ОН-, мг-экв/г); г- адсорбция потенциал-определяющих ионов (Н+ и ОН-, мг-экв/м2).
После отделения от подложки осадки утонялись с обеих сторон
электрохимическим способом в растворе, содержащем 640 мл ортофосфорной кислоты,
200 мл серной кислоты, 150 мл воды, при анодной плотности тока 15 мА/см2.
Коэффициент трения и износ исследовали на фреттинг-анализаторе с
микропроцессорным управлением и цифровой обработкой данных. В качестве
контртела в фреттинг анализаторе использовали корундовый шарик диаметром 10 мм,
твердостью 2000 кг/мм2 и шероховатостью поверхности 0,2 мкм. Горизонтально расположенная
плоская поверхность исследуемого образца подвергалась линейному вибрационному
перемещению с постоянной частотой (2 и 8 Гц) и амплитудой (0,5 и 0,1 мм).
Испытания проводились при температуре 20°С в обычной атмосфере и влажности 50%.
Объемный износ был оценен лазерным интерферометром после 100000 фреттинговых
циклов.
Свойства полученных композиционных покрытий заметно различаются в
зависимости от типа алмазных частиц. Основой всех испытанных образцов УДА
является алмазный кристаллический остов. Особенностью каждого типа УДА является
сформированная в процессе химической обработки периферия алмазной частицы,
состоящая преимущественно из "неалмазных" полициклических углеродных
структур. В процентном отношении доля неалмазного углерода в УДА изменяется от
1,5% (тип 1) до 25% (тип 3) от массы вещества. Существенно, что так называемый
неалмазный углерод в данном случае не составляет отдельной фазы или отдельных
частиц и не определяется кристаллографически как графит или микрографит. Две
формы углерода - алмазная и неалмазная дифференцируются по электронному
состоянию атомов и химической реакционной способности в отношении жидко-фазных
окислителей. Роль и задача периферических неалмазных структур - обеспечить
максимальное взаимодействие частицы с матричным материалом, в данном случае - с
никелем в момент его электрокристаллизации на катоде, "Алмазный"
тетраэдрический 5р3-углерод в химическом и сорбционном плане малоактивен,
"неалмазные" электронные конфигурации углерода (sp2 и sp) гораздо более лабильны и вместе с гетероатомами кислорода и
водорода формируют адсорбционно активную "шубу" поверх алмазного
ядра, связанную с кристаллическим остовом частицы устойчивыми химическими
связями. Таким образом, испытуемые типы УДА можно считать алмазными частицами с
алмазной (тип 1), комбинированной (тип 2) и "неалмазной" (тип 3)
поверхностью. Результаты экспериментов показывают, что тип и свойства
поверхности влияют на то, как активно частицы УДА внедряются в металлическую
матрицу, а главное - влияют на структуру и свойства покрытия. Под активностью
частиц УДА в данном случае мы понимаем не только количество алмазов, которые
включаются в покрытие, но и степень влияния алмазных частиц на структуру и
свойства гальванического осадка. Иными словами, "активные" частицы
УДА внедряются в покрытие в большем количестве при прочих равных условиях (в
первую очередь при одинаковой концентрации УДА в электролите).
Во время электроосаждения взвешенные алмазные частицы взаимодействуют с
поверхностью растущего осадка благодаря гидродинамическим, молекулярным и
электростатическим силам. Этот сложный процесс приводит к формированию
композиционных электрохимических покрытий. Оже-электронные профили показывают,
что ультрадисперсные частицы внедряются в никелевую матрицу, причем, поверхностные
слои никелевой матрицы содержат большее количество частиц УДА. Зависимость
количества алмазных частиц от их концентрации в растворе, приведенная на
рисунке3 показывает, что исследуемую систему можно объяснить моделью Гуглиелми
[12].
В никелевые покрытия, полученные из электролита, содержащего УДА типа 3,
внедряется наибольшее количество частиц, что кореллирует с адсорбционными
характеристиками порошков (таблица 2). Поверхность алмазных частиц типа 3
обладает более выраженными сорбционными свойствами по отношению к ионам Н+,
ОН-. В свою очередь высокая удельная адсорбция этих ионов приводит к увеличению
молекулярного и электростатического взаимодействия между частицами дисперсной
фазы и матричным металлом и облегчает внедрение частиц в матрицу.
Рисунок 3 - Содержание алмазных частиц в покрытии (масс.%) в зависимости
от их концентрации в электролите-суспензии (г/л). 1-частицы типа-1, 2-частицы
типа-2, 3-частицы типа-3.
Композиционные покрытия имеют велюровый вид от светло-серого (тип 1) до
серого (тип 3), ямки питтинга отсутствуют.
Структурные исследования показали, что чистые никелевые покрытия содержат
двойники, дислокационные скопления внутри зерен, сосредоточение отдельных
дислокаций, дислокационных стенок толщиной 20 нм вдоль границ зерен. Средний
размер зерна составляет 5OO нм. Размер зерна композиционных никелевых покрытий
различается в зависимости от типа внедренных алмазных частиц. Внедрение частиц
типа 1 и 2 в никелевую матрицу приводит к уменьшению размера зерна до 300 нм,
образованию дислокационных стенок толщиной 50 нм, дислокаций в виде клубков и
сеток вдоль зеренных границ и утолщению границ зерен. Размер зерна
композиционных покрытий, содержащих частицы типа 3, составляет 50-100 нм,
дислокации клубкового типа сосредоточены вдоль границ.
Микротвердость композиционных покрытий зависит от концентрации
соосажденных алмазных частиц для всех исследуемых типов УДА (рисунок 4) и
увеличивается на 50-75% по сравнению с чисто никелевым покрытием. Покрытия с
частицами типа 3 имеют более высокую микротвердость по сравнению с покрытиями,
содержащими два другие типа частиц. Это может быть связано с измельчением
никелевой матрицы в результате внедрения большего количества частиц. В
отношении функциональности покрытий наиболее важными свойствами являются
коэффициент трения и износостойкость. Композиционные никелевые покрытия,
содержащие частицы УДА типа 3, имеют наименьший коэффициент трения (рисунок 5 и
6). Объемный износ для чистого никелевого и композиционных покрытий, содержащих
час- тицы типа 3 (рисунок 7), определен для 100 000 фрет-тинговых циклов.
Износостойкость КЭП с УДА частицами типа 3 в 2 раза выше, чем чисто никелевого
покрытия (рисунок 7). На объемный износ влияют как концентрация, так и тип
алмазных частиц.
Фрикционное поведение многофазных материалов описано в литературе. Однако
приведенные подходы статистически применимы к идеальным поверхностям, в то
время как при износе многофазных материалов топография поверхности изменяется
практически постоянно. Локализованный износ имеет место в первой фазе
истирания, после чего частицы становятся более загруженными. Этот динамический
процесс может вести к увеличению износостойкости композиционных материалов.
Фреттинговые свойства осадков в общем случае зависят от размера, формы и
распределения второй фазы. В случае ультрадисперсных частиц, собственный размер
которых пренебрежимо мал по сравнению с высотой микрорельефа в лунке износа,
определяющими становится структурные особенности испытуемого покрытия.
Экспериментальные данные показывают, что износ композиционных покрытий
уменьшается с увеличением содержания частиц в покрытиии это коррелирует со
структурными изменениями, в частности, с уменьшением размера зерна никеля. Рост
износостойкости наиболее значителен в случае частиц типа 3 (рисунок 7).
Таким образом, композиционные никелевые покрытия с включением ультра
дисперсных алмазных частиц типа 3 имеют одновременно наилучшие характеристики
микротвердости и износостойкости. Это необычное сочетание свойств дает
основание говорить о том, что ультрадисперсные частицы алмаза, в отличие от
обычных мелкодисперсных порошков, являются не столько наполнителем, или второй
фазой, сколько специфическим структурообразующим агентом в процессе
электрокристаллизации металла.
Рисунок 4 - Микротвердость композиционных покрытий в зависимости от
концентрации частиц в электролите-суспензии. 1-частицы типа-3, 2-частицы
типа-2, 3-частицы типа-1.
Очевидно, что в силу малого размера частиц и их невысокого содержания в
покрытии, повышение микротвердости КЭП не может быть связано с твердостью
алмаза, а улучшение антифрикционных свойств - с низким коэффициентом трения
алмаза или смазывающими свойствами графитоподобных структур. В основе
упрочнения УДА-содержащих покрытий лежит целый ряд благоприятных изменений
структуры металлического осадка. По-видимому, наиболее существенной причиной
для такого рода изменений может служить наличие в покрытии чрезвычайно развитых
по площади граничных слоев "алмаз-металл". Расчеты показывают, что в
композиционном никелевом покрытии, содержащем один массовый процент УДА с
удельной площадью поверхности порядка 300 м2/г, площадь граничных слоев может
достигать 20-25 м2 на 1 см3 никелевого осадка. Не менее важным фактором
является, по-видимому, характер взаимодействия веществ на границе раздела
"алмаз-металл". Из полученных результатов видно, что адсорбционно и
химически активная поверхность частиц типа 3 обеспечивает более высокий уровень
упрочнения покрытий, чем алмазная поверхность частиц е низкой удельной
адсорбцией. Исходя из такой модели, можно прийти к выводу, что важнейшей
задачей в создании КЭП с ультрадисперсными частицами является формирование
заданных свойств поверхности этих частиц с тем, чтобы граница раздела
"частица-металл" служила не слабым, но усиливающим и упрочняющим
звеном в структуре композиционного покрытия.
Рисунок 5 - Изменение коэффициента трения поктытий в зависимости от числа
фреттинговых циклов.1- без частиц; 2-частицы типа 3; 3- чаcтицы типа 2; 4- частицы типа 1.
Рисунок 6 - Зависимость коэффициента трения от числа фреттинговых циклов
Рисунок 7 - Обьемный износ композиционных покрытий в зависимости от содержания
частиц типа 3
Исходя из исследований никелевых композиционных покрытий, содержащих
различные типы алмазных частиц, можно сделать следующие выводы:
1. Электролитическое осаждение никеля с ультрадисперсными алмазными
частицами из электролита типа Уоттса зависит от адсорбционноструктурных
характеристик поверхности УДА. Содержание алмазных частиц в покрытии не
превышает 1 масс. %.
. Размер зерна и структура электролитического никелевого покрытия зависит
от типа соосажденных ультра дисперсных алмазных частиц. Получены
нанокристаллические никелевые осадки с.размером зерна никеля 50-100 нм,
3. Коэффициент трения никелевых покрытии, содержащих УДА типа 3, по
сравнению с чистыми никелевыми покрытиями уменьшается с 0,43 до 0,33;
микротвердость растет от 250 до 440 кг/мм2,износостойкость увеличивается в 2
раза [ 12 ].
1.6 Микроструктура композиционных и поликомпозиционных покрытий
Структура электроосаждаемых металлов зависит от многих факторов и
определяется относительной скоростью образования центров кристаллизации
(зародышей и их роста). Диспергированные в электролите частицы ужесточают
условия кристаллизации металлов вследствие их непрерывного контактирования и
включения в катод. Это влечет за собой непрерывное изменение микроповерхности
катода, перераспределение катодного тока и изменение условий свободного роста
кристаллов [9].
От структуры матрицы, количества и свойств дисперсной фазы зависят
механические и эксплуатационные свойства КЭП. Например, твердость, прочность,
пределы текучести и выносливости, внутренние напряжения первого рода
определяются объемом структуры, превышающим величину зерна. Микротвердость,
микропластичность, микронапряжения локализуются в объеме зерна. Границы зерен,
блоки мозаики, неметаллические включения, дефекты, связанные с субструктурными
несовершенствами, определяют фазовые переходы, теплофизические,
электрофизические и другие свойства КЭП.
Для получения покрытий использовали MoS2 с размерами частиц основной фракции 0,75-2,0 мкм.
Однако в покрытиях равномерно распределяются частицы 0,1-0,5 мкм
пропорционально концентрации в суспензии. Изучение шлифов КЭП Cu- MoS2, Ni- MoS2, Fe- MoS2 показало, что
в покрытии частицы MoS2 изменяют свою
первоначальную форму - становятся шарообразными под действием
кристаллизационного давления. С увеличением дисперсной фазы в электролите
отчетливо проявляется тенденция частиц к агрегатированию. Исследования
микроструктуры показывают, что количество частиц, захваченных матрицей, зависит
от их природы. Наиболее легко заращиваются электропроводные частицы или частицы
полупроводниковой природы, они обеспечивают наибольшее количество включений в
покрытия. Послойное заращивание частицы приводит к сильному искривлению слоёв
роста покрытий. Поскольку частица частично экранирует поверхность катода от
силовых линий, у её основания всегда имеются тонкие слои (около 10-5 см). По
мере приближения к вершине частицы толщина слоя повышается до 10-4 см.
Исследования микроструктуры показывают, что, регулируя количество
дисперсной фазы в покрытиях, можно изменять напряженное состояние
поверхностного слоя. В силу наибольшего развития внутренних напряжений сжатия
количество микротрещин, пор и других несплошностей матрицы значительно
снижается. Поскольку преобладает включение мелких частиц в покрытия, это должно
весьма существенно влиять на изменение размера блоков, плотности дислокаций и,
как следствие, - на физико-механические свойства КЭП.
Из изложенного следует, что структура покрытий электроосаждаемых металлов
в процессе получения КЭП должна быть мелкокристаллической, более сложной, менее
текстурированной, чем при обычном электроосаждении металлов.
Покрытия с максимально допустимым количеством частиц будут иметь наиболее
сложную структуру и высокую прочность металла [9].
.7 Твердость композиционных покрытий
Твердость КЭП определяется условиями кристаллизации металла, содержанием
и свойствами дисперсных материалов, условиями электролиза и в большинстве
случаев имеет более высокие значения, чем чистые металлы.
Понижение твердости КЭП наблюдается в случае применения материалов с
низкой плотностью типа графита, дисульфида молибдена. Это объясняется тем, что
в момент контактирования с катодом эти частицы в большинстве тем, что в момент
контактирования с катодом эти частицы в большинстве случаев не обладают
достаточным импульсом силы для создания плотного контакта, наклепа, изменения
условий кристаллизации и, в некоторых случаях, внедряется в покрытие в виде
агломерированных групп, придающих покрытию повышенную прочность [9].
Исследованию твердости придают большое значение, так как это позволяет
косвенно судить о некоторых физико-химических и физико-механических свойствах
КЭП. Характер изменения твердости в ряде случаев удовлетворительно коррелирует
с износостойкостью. Однако максимальная твердость не всегда соответствует
высокой износостойкости, поскольку последняя является интегральной
характеристикой сложного взаимодействия различных факторов процесса, влияющих
на внутренние напряжения, наводороживание покрытий и в значительной мере
обусловлена внешними условиями трения. Твердость КЭП зависит главным образом от
влияния водорода и дисперсных частиц на искажение кристаллической решетки
металла. Наибольшую твердость имеют КЭП с явно выраженным повреждением
кристаллической решетки. Поэтому при получении КЭП следует стремиться к высокой,
но не максимальной твердости.
Микротвердость покрытий измеряли на приборе ПМТ-3. На рисунке 8 показано
влияние дисперсной фазы на твердость покрытий. С увеличением количества частиц
в покрытиях твердость возрастает. Независимо от кристаллического строения
частиц оксиды, карбиды и бориды повышают твердость никелевых КЭП на 800...2000
МПа. Это можно обьяснить тем, что модуль сдвига дисперсных материалов выше, чем
у никеля и железа.
Рисунок 8 -Зависимость твердости никелеквых покрытий от концентрации
частиц в ванне (50А/дм2; pH=1,5; 600C);1- Ni- WC; 2- Ni - TiC; 3- Ni - ZrO2; 4
- Ni - Al2O3; 5- Ni- ZrB2; 6 - Ni - HfB2
.8 Трение и износ композиционных гальванических покрытий
Для восстановления деталей машин с небольшим износом могут быть
использованы электролитические покрытия, при нанесении которых возможно
применение автоматических линий и обеспечение оптимальных припусков для
механической обработки. В этом случае возникает необходимость нанесения
покрытий толщиной 0,5 мм и более, что исключает влияние основы на процессы
трения и износа. На трибологические свойства осадков влияют условия электролиза
и способы их обработки. Физико-механические свойства покрытий существенно
зависят от состава электролита, режимов электролиза, вида источника питания и
технологии их нанесения. Поэтому трение и износ гальванических покрытий могут
быть рассмотрены только в тесной связи с особенностями формирования их
структуры на катоде [7].
Для обработки электролитических покрытий, как правило, применяется
шлифование. В отдельных случаях они подвергаются точению и поверхностному
пластическому деформированию.
В ремонтной практике необходимы покрытия большой толщины. Поэтому следует
уделять внимание повышению скорости осаждения.
Большое значение для КЭП имеет выбор материала матрицы. Металлы с
гексагональной кристаллической структурой имеют более низкий коэффициент трения
и износ по сравнению с объемно или гранецентрированными кубическими решетками.
Например, рутений имеет коэффициент трения в 6 раз меньший, чем родий, хотя по
физико-механическим свойствам эти металлы близки и основное их различие
заключается в кристаллическом строении.
Низкие значения коэффициента трения металлов с гексагональной решеткой
обусловлены сравнительно небольшим количеством плоскостей скольжения, низкой
пластичностью и высокой хрупкостью. Свойство низкой адгезии у металлов с
гексагональной кристаллической структурой чрезвычайно важно для получения КЭП,
работающих в вакууме, где адгезионная составляющая силы трения составляет
примерно 80%. Невозможно подобрать пару трения, которая не имела бы схватывания.
Отсюда совершенно очевидна важная роль адсорбированных окисных и других пленок
в условиях трения без смазочного материала на воздухе и необходимость наличия
смазочной пленки при трении в вакууме.
Гальваническое покрытие при отсутствии смазочного материала эффективно
снижает коэффициент трения только в случае нанесения на твердую подложку.
Покрытие стали медью, цинком, оловом, свинцом, серебром обеспечивает низкий
коэффициент трения. Нанесение таких покрытии на мягкую подложку (например, медь
на цинк) совершенно непригодно для узлов трения. Помимо упрочняющего влияния,
которое твердые частицы оказывают на матрицу, частицы могут снижать коэффициент
трения в случае адсорбции на них мономолекулярных слоев жидкости или газов. В
другом случае частицы пропахивают материал контртела, если прочно связаны с
матрицей или, покидая ее, в силу слабой адгезионной связи, увеличивают
абразивный износ сопрягаемых поверхностей.
Кристаллическая структура частиц существенно влияет на механические и
антифрикционные свойства КЭП. Исследование физико-механических свойств и
износостойкости КЭП на основе никеля, железа, хрома с частицами гексагональной
и кубической кристаллической структуры показало неоднозначное влияние природы и
строения частиц на твердость и износостойкость КЭП в условиях трения без
смазочного материала. Наиболее эффективно повышают твердость КЭП бориды, менее
эффективно карбиды. Частицы с кубической кристаллической структурой намного
повышают твердость никеля. Это связано с более равномерным распределением по
объему покрытия локальных напряжений и значительным повышением упругих свойств
матрицы. Уменьшение пластичности матрицы связано с большим влиянием
кристаллического строения частиц на твердость.
Не найдено существенного влияния природы частиц на износостойкость КЭП:
для осаждения с никелем более эффективны оксиды, с железом - бориды, с хромом -
карбиды. Проведенные исследования позволяют сделать вывод о значительном
влиянии на износостойкость механических характеристик твердых частиц, которые в
основном характеризуют их склонность к сопротивлению деформациям сдвига и
хрупкому разрушению.
Большой ряд дисперсных материалов, имеющих слоистое строение, способен
обеспечить низкий коэффициент трения на воздухе и в вакууме. Многие из них
использованы для получения самосмазывающихся и поликомпозиционных покрытий.
Введение в матрицу таких частиц обычно повышает ее пластичность и склонность
покрытий к деформационному упрочнению. Покрытия с твердыми смазочными
материалами пригодны для работы в условиях вакуума, применение их для узлов
трения на воздухе ограничивается температурным режимом и окисляемостью частиц,
вследствие чего коэффициент трения резко возрастает. Однако при умеренных нагрузках
и скоростях скольжения (до 4 м/с) твердые смазочные материалы значительно
снижали трение и износ КЭП. Таким образом, дисперсные частицы для получения КЭП
необходимо выбирать с учетом их свойств, природы и кристаллического строения,
свойств матрицы, ее кристаллической структуры и условий трения.
Особый интерес представляют самосмазывающиеся покрытия СКЭП. Требования
высокой надежности к покрытиям обусловливаются влиянием внешних факторов:
вакуума, ионизирующего излучения, агрессивных сред, перепадов температур и т.
д. Для покрытий, работающих в условиях вакуума, в. качестве показателя
надежности можно использовать коэффициент трения. Установлено, что он зависит
от окружающей среды, удельных нагрузок, скоростей скольжения, температуры. С
другой стороны, эти же факторы влияют и на смазывающие свойства дисперсных
материалов [3].
С увеличением объема включений MoS2 до 1,5% в композициях коэффициент трения на воздухе снижался от 0,23 до
0,08. Интенсивность изнашивания контртела также снижалась. В процессе трения
температура в узле трения возрастала от 150 до 240°С, а интенсивность
изнашивания КЭП повышалась, что связано с высокими внутренними напряжениями,
наводороживанием и снижением модуля сдвига матрицы. Дисульфид молибдена,
переходя в процессе трения на контртело, напротив, снижал его износ.
Следовательно, малое содержание MoS2 в
покрытиях недостаточно эффективно, так как с повышением температуры в зоне
трения прогрессирует окислительное изнашивание.
Для выяснения влияния дисперсной фазы ЭС на антифрикционные свойства
покрытий в вакууме, пакрытия испытывали в вакууме 1,33 10-3 Па при скорости
скольжения 1,0 м/с и нагрузке 19,62 Н/см2. Коэффициент трения, температура в
узле трения и интенсивность изнашивания СКЭП с увеличением объема MoS2 в
покрытиях до 20% снижаются однозначно. Наименьший износ покрытий наблюдался в
паре трения со сталями 20Х13, бронзой и титаном. Низкий коэффициент трения
(0,1-0,15) этих материалов обусловлен их высокой поверхностной энергией и
адгезией дисульфида молибдена. Кроме того, эти материалы имеют низкий
коэффициент трения в паре с никелем и его окислами.
Наилучшей работоспособностью в вакууме обладают СКЭП в паре трения со
сталью 20Х13. Испытания титана в паре с композиционным покрытием показали, что
он работоспособен как на воздухе, так и в вакууме. По сравнению с трением на
воздухе температура в зоне трения несколько повышалась, это объясняется
отсутствием конвективного теплообмена в вакууме и связано с некоторым
повышением интенсивности изнашивания покрытий.
Рассмотрим триботехнические характеристики никелевых КЭП:
Наибольшее количество КЭП получают на основе никеля благодаря
технологичности процесса, хорошей осаждаемости никеля с дисперсными частицами и
высоких физико-механических свойств покрытий. Исследования износостойкости
никелевых покрытий в условиях трения без смазочного материала выполнены М.И.
Быковой. При полужидкостной смазке износостойкость КЭП с ZrO2 и А12О3 возрастает в 1,5...2,5
раза. При наличии в никеле (9...12% объема) карбидов титана, вольфрама или
хрома износостойкость КЭП в 20...50 раз выше, чем у никелевых покрытий, что
также превышает износостойкость стали 45, закаленной ТВЧ.
В условиях трения без смазочного материала испытаны никелевые КЭП с
карбидами, оксидами, боридами. Композиции никеля с частицами WC, А12О3 и ZrO2
получены из ЭС1 (см. таблицу 3). Из ЭС2 получены композиции Ni-TiC и Ni-HfB2.
Из ЭС5 никель осаждали с боридом циркония. Наличие в электролитах никелирования
взвешенных частиц по-разному влияет на износостойкость КЭП. Минимальный
удельный износ имеют композиции с карбидом титана (кубическая кристаллическая
структура, собственная твердость 32000 МПа). Весьма эффективно снижает износ
А12О3 (кубическая кристаллическая решетка). В общем случае дисперсная фаза
снижает удельный износ никелевых КЭП в 2,5...5 раз по сравнению с
гальваническими покрытиями (рисунок 9).
Износостойкость никелевых КЭП равна или выше износостойкости закаленных
углеродистых, конструкционных и легированных сталей. Никелевые
поликомпозиционные покрытия получают из тех же электролитов, что и КЭП.
Характер изменения удельного износа определяется количеством включений в
покрытии и их влиянием на предел текучести матрицы. Установлено, что ПКЭП Ni-Al2O3-MoS2, Ni-TiC-MoS2, Ni-HfB2-MoS2, Ni-ZrB2-MoS2 по износостойкости превосходят
ранее полученные композиции железа и закаленные стали ЗОХГТ, У 10, У12А, 40Х,
45. Они конкурируют с хромовыми покрытиями и имеют коэффициент трения ниже, чем
аналогичные композиции без дисульфида молибдена. В таблице 3 приведена
износостойкость никелевых КЭП, полученных по оптимальной технологии
электроосаждения.
- Ni-WC-MoS2; 2- Ni-TiC-MoS2; 3- Ni-Аl2Оз-MoS2; 4- Ni-ZrO2-MoS2; 5- Ni-ZrB2-MoS2; 6- Ni-HfB2-MoS2
Рисунок 9 - Изменение удельного износа никелевых покрытий в зависимости от
концентрации суспензии (50 А/дм2; pH=1,5; 60 °С)
- Ni-WC-MoS2; 2- Ni-TiC-MoS2; 3- Ni-Аl2Оз-MoS2; 4- Ni-ZrO2-MoS2; 5-
Ni-ZrB2-MoS2; 6- Ni-HfB2-MoS2
Рисункок 10 - Изменение удельного износа никелевых ПКЭП в зависимости от
концентрации в ванне MoS2 (a) и твердых частиц (б) (80 А/дм2; рН=1,4; 20°С)
Таблица 3 - Износостойкость никелевых КЭП при трении без смазочного
материала
|
Покрытие
|
Объёмная доля включений, %
|
Микротведость, МПа
|
Удельный износ, W
10-5мм3/Н м
|
|
Ni-WC
|
0…4,0
|
3600…4000
|
5,2…2,0
|
|
Ni-TiC
|
0…4,0
|
3600…5200
|
5,2…1,4
|
|
Ni-Al2O3
|
0…8,1
|
3600…5000
|
5,2…0,8
|
|
Ni-ZrO2
|
0…8,2
|
3600…5000
|
5,2…2,0
|
|
Ni-ZrB2
|
0…4,5
|
3600…4500
|
5,2…1,8
|
|
Ni-HfB2
|
0…2,3
|
3600…4600
|
5,2…1,6
|
|
Ni-WC-MoS2
|
0…6,4
|
3600…3900
|
5,2…1,8
|
|
Ni-TiC-MoS2
|
0…8,6
|
3600…4500
|
5,2…0,4
|
|
Ni-Al2O3-oS2
|
0…7,3
|
3600…3800
|
5,2…0,3
|
|
Ni-ZrO2-MoS2
|
0…6,2
|
3600…3800
|
5,2…1,8
|
|
Ni-ZrB2-MoS2
|
0…6,2
|
3600…3800
|
5,2…1,2
|
|
Ni-HfB2-MoS2
|
0…4,0
|
3600…4000
|
5,2…0,6
|
1.9 Свойства никелевых КЭП с нанодисперсными частицами (МоОз)n(Н2O)m
Покрытия
сплавом Ni-Mo обладают высокой коррозионной стойкостью в кислых
средах и успешно используются для защиты изделий от коррозии в растворах H2SO4 и
HCl. Для осаждения таких покрытий применяют электролит
(г/л): никель сернокислый - 35-45, молибдат натрия - 15-25. Режим электролиза:
температура 55-65
C, pH=8.5,
ik=2-3 A/дм2, аноды - из никеля. Содержание молибдена в сплаве
-15-25%.
При
осаждении никель-молибденовых покрытий, содержащих 28% молибдена, на катоде
формируются полублестящие высокодисперсные покрытия, состоящие из кристаллитов,
размер которых не превышает 0,05мкм[4].
Установлено,
что при осаждении КП из электролитов-суспензий с концентрацией дисперсной фазы
0.5-3 г/л скорость их формирования практически не отличается от скорости осаждения
никеля и составляет около 20 мкм/ч . Содержание оксида в композитной пленке с
ростом концентрации дисперсной фазы в электролите в указанных пределах
увеличивается от 4.2 до 9.1 масс % . При возрастании содержания частиц (МоОз)n(Н2O)m в
электролите до 5 г/л скорость формирования КП заметно снижается, уменьшается и
содержание оксида в КП (до 2.1 % масс.). Скорость осаждения композиционных
покрытий и содержание в них оксида зависят также от размеров частиц последнего,
температуры электролита и плотности тока.
Введение
в электролит частиц триоксида молибдена, полученных в результате
гидротермального воздействия, более заметно снижает скорость осаждения
композиционных покрытий, чем синтезированные при кипячении частицы. При
концентрации таких частиц 0.5 г/л скорость формирования КП в 2.5 раза ниже, чем
скорость осаждения никеля.
Износостойкость
композиционных покрытий никель-нанодисперсный оксид молибдена определяется
концентрацией и размерами внедренных в никелевую матрицу частиц оксида и
условиями формирования КП. Максимальной износостойкостью (потери массы при
трении в течение зафиксированного времени в несколько десятков раз ниже, чем
для чистого никеля) характеризуются композитные пленки, полученные из растворов
при содержании оксидной фазы в электролите 0.5 г/л (содержание оксида в КП- 4.2
масс.%, размеры частиц 60-120 нм). С возрастанием концентрации дисперсной фазы
в электролите устойчивость к истиранию падает, и при содержании оксида в
электролите 5 г/л (2.1 масс.% триоксида молибдена в композитной пленке)
износостойкость ниже чем аналогичный параметр для пленок никеля. Т. о.
разработаны методики низкотемратурного синтеза композиционных покрытий Ni-(МоОз)n(Н2O)m,
характеризующихся улучшенными триботехническими характеристиками в сравнении с
пленками никеля. Причины значительного возрастания износостойкости КП при
включении частиц гидратированного триоксида молибдена не вполне ясны. Можно
только предполагать, что существенное изменение прочностных характеристик при
внедрении в матрицу никеля нанодисперсных частиц триоксида молибдена связано с
их слоистой структурой. При таком строении эти частицы могут выполнять ту же
функнкцию, что и слоистые частицы дисульфида молибдена, известные как
дисперсная фаза, способствующая формированию антифрикционных металлических
пленок, т.е. пленок с низким коэффициентом трения и обладающие так называемыми
самосмазывающими свойствами[10].
.10 Оптимизация износостойкости композиционных гальванических покрытий с
включениями твердых частиц
Уже более двадцати лет в нашей стране и за рубежом ведутся интенсивные
исследования в области изучения КГП на основе различных металлов и с азличными
частицами дисперсной фазы. Несмотря наэто, до сих пор не определены основные
требования, предъявляемые к структуре и физико-механическим свойствам
гетерофазных износостойких материалов, наносимых в виде электрохимических
покрытий. В частности, требуют решения следующие вопросы:
какой размер дисперсных частиц второй фазы отвечает условиям формирования
наиболее износостойкой структуры?
каковы должны быть твердость и упругопластические свойсгва частиц второй
фазы для создания наиболее износостойких КГП?
каким должно быть объемное содержание частиц второй фазы в наиболее
износостойких покрытиях?
каково должно быть оптимальное соотношение между физико-механическими
свойствами матрицы и частиц второй фазы для получения наиболее износостойких
КГП?
Анализируя литературные источники об износостойкости КГП на основе
железа, меди, хрома, никеля, серебра, золота, кадмия, олова, сплава Co-Ni с включениями частиц второй фазы различной природы,
различных размеров и количества видно что твердость частиц дисперсной фазы в
этих исследованиях изменялась от 1000 до 4500 кгс/см2, размер - от 0,5 до 40
мкм. Частичная (численная) концентрация частиц в покрытии изменялась от 1-106
до 1-1012 частиц/см3. Стоимость частиц колеблется в очень широких пределах. Все
это объясняется тем, что в настоящее время нет единых критериев выбора
физико-механических свойств, размеров и количества частиц второй фазы для
получения износостойких покрытий.
Несмотря на то, что испытания проводились при различных режимах трения и
на принципиально отличающихся друг от друга установках с применением в качестве
контртела различных материалов при удельном давлении от 1 до 75 кгс/см2 и
более, все авторы получили относителъную износостойкость, значительно большую
(в насколько раз, а иногда и в десятки раз) для КГП, чем для чистых покрытий.
Ото oбьясняется тем, что частицы как более
износостойкая часть покрития.выступая в процессе изнашивания из материала покрытия,
являлись теми площадками контакта, которые при трении подвергаются наиболее
высокому нагружению. Обладая высокими физико-механическими свойствами, они
предотвращают адгезию металлических поверхностей и схватывание, а также
способствуют лучшему распределению смазки по рабочей поверхности сопрягаемых
деталей при ее недостаточной подаче в сопряжение.
Рисунок 11 - Схема КГП с монодисперсными частицами второй фазы
Повышение износостойкости КГП при сухом трении достигается вероятно, за
счет предотвращения частицами процесса схватывания поверхности покрытия с
контртелом и лучшего сохранения покрытиями оксидной пленки вследствие
сокращения процессов деформации.
Обобщив и математически обработав экспериментальные данные различных
авторов, можно сделать следующие выводы:
. Износостойкость композиционных электрохимических покрытий зависит от
расстояния между частицами, т.е. от количественной (численной) концентрации
частиц. Наибольшая износостойкость наблюдается при расстояний между частицами,
равном примерно 0,8 (рисунок 1 ) диаметра частиц.
. Для получения высокой износостойкости покрытий необходимо применять
частицы размером от 1 - 3 до 10 мкм. Исходя из этого можно также предположить,
что увеличение износостойкости будет наблюдаться и при использовании для
получения КГП частиц размером более 40 - 50 мкм.
. Не менее важным фактором, влияющим на износостойкость покрытия,
является микротвердость КГП [Анализ зависимости износостойкости покрытия от его
микротвердости показал, что при увеличении твердости покрытия до 800 - 900
кгс/мм2 наблюдается повышение износостойкости КГП по сравнению с чистым
покрытием в 16 - 18 раз. Использование сверхтвердых материалов и повышение
микротвердости КГП до 1400 - 1500 кгс/мм2 дальнейшего увеличения
износостойкости не дает[7].
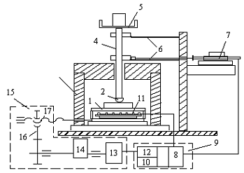
.11 Структура и свойства подшипниковых сплавов
Металл вкладыша должен обладать следующими свойствами: 1) коэффициент
трения со стальной поверхностью должен быть небольшим; 2) обе трущиеся
поверхности должны мало изнашиваться; 3) этот материал должен выдерживать
достаточные удельные давления.
Первое
и второе требования удовлетворяются тогда, когда поверхность вала и вкладыша
разделена пленкой смазки. Если структура вкладыша неоднородна и состоит из
твердых включений и мягкой основы, то после непродолжительной работы
(«приработки») на поверхности вкладыша образуется микрорельеф - выступают
твердые включения и между валом и вкладышем образуется пространство, в котором
удерживается смазка (так называемый «принцип Шарпи»). Схематически условия,
создающиеся при работе вала с вкладышем, имеющим такую структуру, показаны на
рисунке 12. Вполне естественно, что основа сплава не должна быть слишком
мягкой, иначе вследствие наличия давления на подшипник материал вкладыша будет
просто выдавливаться, наволакиваться на вал и т. д., твердые включения не будут
держиваться основной массой, и такой материал не будет пригоден для работы.
Рисунок
12- Схема работы вала с вкладышем
Количество твердых включений также не должна быть слишком велико, иначе
подшипник будет плохо прирабатываться. Под давлением вала твердые частицы будут
ломаться, осколки, попадая между валом и вкладышем, будут действовать как
абразив, царапая вал. При значительных количествах твердой фазы сам вкладыш
будет разрушаться. Подобной структурой обладают сплавы олова и сплавы свинца.
Однако эти сплавы из-за своей низкой прочности не могут выдерживать больших
давлений, а вследствие низкой температуры плавления - сравнительно небольшого
нагрева.
В современном машиностроении для вкладышей подшипников применяют чугуны,
бронзы и баббиты.
Чугунные вкладыши изготавливают из серого перлитного чугуна (марки АЧЦ-1
и АЧЦ-2); это самый дешевый материал для вкладышей; он может выдерживать
значительные удельные давления, но из-за более высокого коэффициента трения (у
пары сталь - чугун по сравнению с парой бронза - сталь или баббит - сталь)
чугунные вкладыши не следует применять в быстроходных двигателях. Бронзовые
вкладыши изготавливают из оловянистой и свинцовистой бронз. Благодаря
неоднородной структуре бронзы (у оловянистой бронзы α-твердый раствор является мягкой
основой, а эвтектоид α+β-твердым включением) смазка хорошо
удерживается на поверхности вкладыша. Бронзы обладают высокой прочностью.
Сказанное позволяет применять бронзовые вкладыши для ответственных подшипников,
работающих в тяжелых условиях (большие удельные давления, большие числа
оборотов).
При применении очень мягких легкоплавких подшипниковых сплавов
обеспечивается меньший износ шейки вала. Баббиты, кроме того, имеют и
минимальный коэффициент трения со сталью и хорошо удерживают смазку. Поэтому
наряду с чугунными и бронзовыми вкладышами в машиностроении для вкладышей
подшипников широко применяют легкоплавкие сплавы на основе олова, свинца, а
также цинка и алюминия и металлокерамические подшипниковые материалы.
Для легкоплавких подшипниковых сплавов применяют сплавы системы Pb - Sb, Sn - Sb и Pb - Sn - Sb а также цинковые баббиты на основе
цинка (с добавками меди и алюминия) и алюминиевые баббиты на основе алюминия (с
добавками меди, никеля, сурьмы). В таблице 4 приведен химический состав сплавов
на основе олова и свинца, в таблице 5 - механические свойства и назначение этих
сплавов назначение наиболее часто применяемых сплавов на основе олова и свинца,
получивших название баббиты. Баббиты имеют низкую прочность σв= 60-120 МПа, НВ 13-35, невысокую
температуру плавления (220-320 °С), повышенную размягченность HВ 100-250 МПа при 100 °С, отлично
прирабатываются и обладают хорошими антифрикционными свойствами.
Таблица 4-Химический состав и структура баббитов
|
Марка
|
Содержание основных
элементов, %
|
Структура
|
|
Sn
|
Sb
|
Cu
|
Pb
|
прочие
|
сумма примесей
|
основа
|
тв. включ.
|
|
Б83
|
Осн.
|
10-12
|
5,5-6,5
|
-
|
-
|
0,55
|
Sn
|
Sn Sb, Cu3Sn
|
|
Б89
|
Осн.
|
7-8
|
2.5-3.5
|
-
|
-
|
0,55
|
Sn
|
Cu3Sn
|
|
Б6
|
5-6
|
14-16
|
2.5-3.0
|
Осн.
|
1,7-2,2 Cd
|
0,4
|
Pb
|
SnSb, Cu3Sn
|
|
БТ
|
9-11
|
14-16
|
0.7-1.1
|
Осн.
|
0.05-0.2 Te
|
0,6
|
Pb
|
SnSb
|
|
БН
|
9-11
|
13-15
|
1.5-2.0
|
Осн.
|
0.5-0.9 As
0.75-1.2 Ni 1.25-1.7 Cd
|
0,35
|
Pb
|
SnSb,SnAs2
|
|
Б16
|
15-17
|
15-17
|
1.5-2.0
|
Осн.
|
-
|
0,6
|
Pb
|
SnSb, Cu3Sn
|
|
БС
|
-
|
16-18
|
1.01.5
|
Осн.
|
-
|
0,5
|
Pb+Sb
|
Sb
|
|
БК
|
-
|
-
|
-
|
Осн.
|
0.85-1.2 Ca
0.6-0.9 Na
|
0,7
|
Pb3Ca,
Pb3Na
|
Приведенные в таблице 4 составы баббитов можно разделить на три группы. К
первой относятся оловянносурьмяные (Б83 и Б89) ко второй -
свинцовооловянносурьмяные (Б6, БТ, БН, Б16), к третьей - свинцовые баббиты, не
содержащие олова.
В системе Sn-Sb олово имеет низкую твердость - около
НВ 5. Оптимальной композицией будет сплав, состоящий из 13% Sb и 87% Sn, имеющий двухфазную структуру α+β', где α-твердый раствор на базе олова
(мягкая основа), β'-твердый раствор на базе интерметаллидного соединения
SnSb (твердые включения) с высокой
твердостью. Таким образом, сурьма упрочняет основу оловянных антифрикционных
сплавов и создает опорные включения высокой твердости в виде химических
соединений.
Сурьма и олово различаются по плотности, поэтому сплавы этих металлов
способны к значительной ликвации. Для предупреждения этого дефекта в баббиты
вводят медь. Она образует с сурьмой химическое соединение Cu3Sn. Это соединение имеет более высокую температуру плавления и
кристаллизуется первым, образуя разветвленные дендриты, которые препятствуют
ликвации кубических кристаллов β (SnSb). Кроме того, кристаллы Cu3Sn образуют в
баббите твердые включения, дополнительно повышающие износостойкость вкладышей.
Таблица 5- Механические свойства баббитов
|
Марка
|
Свойства
|
|
плотность, г/см3
|
tпл,
оС
|
σв, кгс/мм2
|
δ,%
|
α
106
|
|
Б83
|
7,4
|
380
|
9
|
6
|
21
|
|
Б89
|
7,3
|
342
|
9
|
9
|
21
|
|
Б6
|
9,6
|
460
|
7
|
0,5
|
21
|
|
БТ
|
-
|
-
|
8
|
2
|
23
|
|
БН
|
9,5
|
400
|
7
|
1
|
-
|
|
Б16
|
9,3
|
410
|
8
|
0,5
|
24
|
|
БС
|
10,1
|
410
|
4
|
0,5
|
26
|
|
БК
|
10,5
|
470
|
10
|
2,5
|
26
|
Диаграмма состояния Sn-Sb показана на рисунке 13.
Рисунок 13-Диаграмма состояния Sn-Sb
Типичная структура оловянносурьмяномедного баббита Б83 приведена на
рисунке 14.
Рисунок 14 - Микроструктура баббита Б83
Темное поле представляет собой пластичную массу β-твердого раствора сурьмы и меди в
олове, светлое - кристаллы квадратной формы соединение SnSb (β), кристаллы в виде звездочек или
удлиненных игл - соединение Cu3Sn. В случае нагрева образуются более
крупные включения, и качество баббита ухудшается.
Так как олово - дорогой и дефицитный элемент, оловянные баббиты применяют
только в особо ответственных случаях. Для подшипников более широкого применения
в баббиты в значительных количествах вводят свинец и понижают содержание олова
до 6-10% или совсем его не вводят. В таких сплавах основой служит уже свинец.
Свинец имеет твердость около HB 3, сурьма около HB 30. Эвтектика состоит из 13% Sb и 87% Рb,
твердость около HB 7-8. Диаграмма
состояния Рb- Sb показана на рисунке 16. Очевидно, доэвтектические сплавы, т.
е. имеющие структуру эвтектика + свинец, слишком мягки, и лучшими являются
заэвтектические сплавы, содержащие 16-18% Sb. Мягкой основой является эвтектики α +
β (мягкая
составляющая), а твердыми включениями - β (SnSb), Cu3Sn и Cu2Sb количество которых составляет около 5% общего объема сплава
(рисунок 16).
Рисунок 15-Диаграмма состояния Рb- Sb
Рисунок 16- Микроструктура сплава Б16
Баббиты второй группы кроме олова, сурьмы и меди, содержат еще добавки
других компонентов. Назначение этих присадок различное - никель упрочняет α-раствор, что уменьшает износ, аналогично
влияет и кадмий . Кадмий с мышьяком (сплав БН) образует соединения AsCd,которые служат зародышами для
формирования соединения SnSb (β-фазы). Мышьяк увеличивает жидкотекучесть (облегчается
заливка вкладыша). Роль теллура и мышьяка - образовывать мелкие твердые
включения (ТеРЬ и AsPb), повышающие
износоустойчивость баббита.
Оловянносурьмяные баббиты (Б83 и Б89) являются наилучшими. Оловянная
основа вязкая и пластичная и менее склонна к усталостному разрушению. На втором
месте стоит оловянносвинцовосурьмяный баббит (Б16), в котором мягкая основа -
свинец. Оловянносвинцовосурьмяные баббиты значительно дешевле
оловянносвинцовых, а по качеству уступают им ненамного. Хуже свинцовосурьмяный
баббит (БС), основой которого является недостаточно пластичная эвтектика.
На железнодорожном транспорте применяют кальциевые баббиты, БК2, БК2Ш,
содержащие кальций (0,90-1,15 %), натрий (0,7-0,8 %), олово (1,5-2,0 %) магний
(0,5-0,15 %), остальное свинец.
Мягкой составляющей баббита БК является α-фаза (твердый раствор Na и Са в РЬ), а твердой составляющей -
кристаллы РЬ,Са. Натрий и другие элементы, вводимые в сплав, повышают твердость
α-раствора.
Дефицитность олова, а также свинца заставляет изыскивать и применять
сплавы на другой, менее дефицитной основе (цинка, алюминия).
В качестве цинковых подшипниковых применяют сплавы марки ЦАМ10-5 и
ЦАМ5-10.
Вследствие высоких антифрикционных свойств и достаточной прочности эти
сплавы могут заменить бронзы для узлов трения, температура которых не превышает
100 оС, но эти сплавы уступают баббитам на оловянной основе по пластичности,
коэффициенту трения и коэффициенту линейного расширения и примерно равноценны
свинцовистым баббитам.
Имеется также серия алюминиевых сплавов, применяемых как подшипниковые.
Это двухфазные высоколегированные сплавы, в которых твердый раствор на базе
алюминия является мягкой основой, а химические соединения - твердыми
включениями.
Алюминиевые подшипниковые сплавы обладают высокими свойствами (низким
коэффициентом трения и высокой износостойкостью). Но по технологичности они
уступают обычным баббитам. Их более высокая твердость является скорее
недостатком, чем преимуществом сплава, так как требует обработки цапф и
вкладыша повышенной чистоты, а шейка вала должна быть твердой. Несоблюдение
этих условий вызовет ускоренный износ. Высокий коэффициент линейного расширения
алюминиевых баббитов требует более тщательной сборки с большими зазорами.
Повышенные антифрикционные свойства и высокое сопротивление усталостным
разрушениям обеспечивают новые триметаллические подшипники. Наиболее
распространенные отечественные композиции трехслойных вкладышей состоят из
стальной основы, промежуточного пористого медноникелевого или порошкового слоя
и бабита, заполняющего поры промежуточного слоя и образующего рабочий
поверхностный слой толщиной до 100 мкм.
Баббиты, имея небольшую прочность, могут применяться только в
подшипниках, имеющих прочный стальной (чугунный) или бронзовый корпус.
Тонкостенные подшипниковые вкладыши изготовляют штамповкой из биметаллической
ленты, полученной на линии непрерывной заливки. Подшипники большого диаметра
заливают индивидуально стационарным или центробежным способами, а также литьем
под давлением.
На основе опытов эксплуатации и результатов исследований установлено, что
структура баббита оказывает значительное влияние на долговечность работы
подшипников скольжения.
Как показали механические испытания, прочность и твердость баббитов с
мелкозернистой структурой на 20 % выше, чем с крупнозернистой. Особенно
значительное влияние структуры баббита на его сопротивление усталости, которое
при изгибе с симметричным циклом нагружения у крупнозернистых баббитов на 10 %
ниже, чем у мелкозернистых. Так же связи на срез и отрыв у мелкозернистого
баббита выше, чем у крупнозернистого.
Стационарная заливка баббитов не позволяет получить мелкозернистой
структуры из-за малой скорости охлаждения вкладыша подшипника. При центробежной
заливке на формирование структуры оказывает влияние различие удельных весов
компонентов баббита. Особенно сильно это проявляется в свинцовистых баббитах, в
которых наблюдается ликвация в направлении корпуса подшипника и значительная
структурная неоднородность по толщине слоя баббита.
Получение покрытий баббитов на подшипниках скольжения электохимическими
методами позволяет управлять структурой покрытия. Например: зернистость
структуры покрытия получаемого из фторборатных электролитов регулируется
количеством клея; содержание свинца в сплаве регулируется изменением плотности
тока. Поэтому в последнее время интенсивно развиваются технологии нанесения
покрытий и восстановление покрытий баббитов электролитическими методами,
которые позволяют значительно увеличить скорость нанесения покрытий и повысить
качество покрытий.
Свинцово-оловянистые покрытия могут быть нанесены из фторборатных,
кремнефторидных, пирофосфатных, фенолсульфоновых, сульфоматных и перлхлоратных
электролитов (таблица 6). Наибольшее распространение получили фторборатные
электролиты (таблица 7).
Таблица 6 - Состав электролитов для осаждения свинцово-оловянистых
сплавов
|
Компоненты электролита и
режимы осаждения
|
Электролиты
|
|
кремнефтридный
|
пирофофатный
|
фенолсульфонвый
|
сульфаманый
|
|
Состав, г/л:
|
|
|
|
|
|
свинца кремнефторид
|
100-150
|
-
|
-
|
-
|
|
олова кремнефторид
|
15-20
|
-
|
-
|
-
|
|
кремнефтористоводородная
|
60-100
|
-
|
-
|
-
|
|
олова пирофосфат
|
-
|
20-22
|
-
|
-
|
|
свинца нитрат
|
-
|
15-18
|
-
|
-
|
|
натрия пирофосфат
|
-
|
120
|
-
|
-
|
|
свинец фенолсульфоновый
|
-
|
-
|
100-130
|
-
|
|
олово фенолсульфоновое
|
-
|
-
|
25
|
-
|
|
парафенолсульфоновоя
кислота
|
-
|
-
|
60-95
|
-
|
|
свинца сульфамат
|
-
|
-
|
-
|
40
|
|
олова сульфамат
|
-
|
-
|
|
105
|
|
сульфаминовая кислота
|
-
|
-
|
-
|
40
|
|
столярный клей
|
1
|
-
|
-
|
-
|
|
пептон
|
-
|
-
|
-
|
2
|
|
желатин
|
-
|
-
|
2
|
-
|
|
Режимы осаждения
|
|
|
|
|
|
катодная плотность тока,
А/дм2
|
5
|
0,5-4
|
1-2
|
1-2
|
|
анодная плотность тока,
А/дм2
|
2-3
|
0,1-1
|
1-2
|
18-25
|
|
температура, 0С
|
18-25
|
60
|
20-40
|
50-60
|
|
содержание олова в сплаве,
%
|
10
|
1-12
|
8-10
|
3-10
|
Как отмечалось ранее введение в свинцово-оловянистые сплавы небольших
количеств третьего компонента позволяет улучшить их свойства и расширить
область их применения. Наиболее известных из применяемых тройных сплавах на
свинцово-оловянистой основе - сплавы с медью, сурьмой, цинком и кадмием.
Таблица 7 - Состав фторборатных электролитов для осаждения
свинцово-оловянистых сплавов
|
Состав электролита и режим
осаждения
|
№ 1
|
№ 2
|
№ 3
|
|
Свинца фторборат, г/л
|
100-200
|
45-50
|
50-60
|
|
Олова фторборат, г/л
|
25-75
|
40-50
|
20-25
|
|
Кислота борфторводородная,
г/л
|
40-100
|
40-75
|
100-150
|
|
Клей столярный, г/л
|
1-3
|
3-5
|
1
|
|
Кислота борная, г/л
|
-
|
25-35
|
-
|
|
Катодная плотность тока,
А/дм2
|
до 2
|
08-1
|
4-5
|
|
температура, 0С
|
15-25
|
18-25
|
18-25
|
|
Содержание олова в сплаве
|
5-17
|
40-60
|
18-25
|
|
Аноды
|
Сплав Pb-Sn
|
Pb
|
Pb/ Sn = 7/3
|
Для нанесения антифрикционных покрытий на детали подшипников скольжения с
успехом применяют свинцово-оловянистые сплавы, содержащие медь и сурьму. Эти
сплавы обеспечивают хорошую прирабатываемость покрытия, его хорошую износостойкость
и стойкость против эрозии. Обычный состав сплавов: 90-93% Pb, 6-9% Sn, 0.7-2 % Cu; 82
% Pb, 11% Sn, 7% Sb.
Для электроосаждения всех тройных сплавов применяют, как правило, в
фторборатные электролиты - смотри таблицу 8.
Фторборатные электролиты готовят растворением солей свинца и олова в
борфтористоводородной кислоте с последующей добавкой столярного клея.
Фторборатные электролиты применяются в тех случаях, когда не требуется
высокая рассеивающая способность, но имеют значение большая скорость осаждения
и высокое качество покрытий.
К преимуществам фторборатных электролитов можно отнести:
) высокую скорость осаждения металла;
) приблизительно 100% -ный катодный и анодный выход потоков;
) мелкозернистую структуру осадков;
) простоту состава и приготовление электролита, а так же высокую
стабильность его работы;
) высокую электропроводность и кроющую способность;
) возможность ведения электролиза при комнатной температуре.
Таблица 8 - Состав электролитов и режимы осаждения тройных сплавов на
свинцово-оловянистой основе
|
Состав электролита и режим
осаждения
|
Электролит для осаждения
тройного сплава
|
|
с Zn
|
с Cu
|
с Sb
|
|
Состав, г/л:
|
|
|
|
|
свинца фторборат
|
100-180
|
100-120
|
100
|
|
олова фторборат
|
12-15
|
25-75
|
30
|
|
цинка оксид
|
0.3-0.6
|
-
|
-
|
|
сурьмы фторборат
|
-
|
-
|
5-6
|
|
меди фторборат
|
-
|
18-20
|
-
|
|
кислота борфторводородная,
|
45-180
|
40-60
|
80
|
|
кислота борная
|
-
|
-
|
25
|
|
столярный клей
|
1-2
|
1-3
|
-
|
|
гидрохинон
|
-
|
-
|
0.5
|
|
пептон
|
-
|
15
|
15
|
|
Режимы осаждения
|
|
|
-
|
|
катодная плотность тока,
А/дм2
|
1.0-1.5
|
0.5
|
4
|
|
температура, 0С
|
18-25
|
18-25
|
18-25
|
Недостатки фторборатных электролитов :
) низкая рассеивающая способность;
) склонность к дентритообразованию;
) необходимость применения специальных материалов для изготовления ванн и
непригодности стеклянного электрода для контроля рН;
) сложность приготовления электролита и содержания в нем токсичной
плавиковой и борной кислот.
Методика приготовления фторборатных электролитов описана П. М.
Вячеславовым [], Н. Н. Бибиковым и Л. К. Гуревичем []. Осаждение сплавов
производиться с раздельными анодами из сплава олово-свинец. Элекролизоры могут
быть изготовлены из эбонита, винипласта, а так же из стали, футированной
полиэфирной смолой или гуммированной.
Осаждение сплавов свинец-олово можно производить способом
электронатирания, получившим название Dalis process []. Пропитанный
электролитом тампон с помощью угольного электрода подключается к
положительному, а покрываемая деталь к отрицательному полису источника
постоянного тока. При непрерывном перемещении тампона (анода) по поверхности
детали получаются равномерные покрытия требуемой толщины.
Н. Н. Бибиковым и Л. К. Гуревичем было установленно, что состав осадков
сплавов свинец-олово, свинец-олово-сурьма зависит от соотношения концентрации
металла в растворе; содержание свинца в сплаве снижается с повышением плотности
тока. Присутствие в электролите 1 - 5 г/л клея способствует образованию
мелкозернистой структуре сплавов.
В последнее время в технике стали применятся сплавы свинца легированные
индием, таллием, марганцем, висмутом, кадмием и др. Покрытия свинца с индием используют
вместо свинцовых для защиты пар трения при их работе в минеральных маслах. Эти
сплавы характеризуются хорошей прирабатываемостью, высокой коррозионной
стойкостью в маслах, повышенной работоспособностью при высоких давлениях и
скоростях в подшипниках скольжения.
Cплавы
свинца с таллием обладают хорошими антифрикционными характеристиками. Покрытие
содержит до 70-80 Tl. Сплавы свинца
с таллием и свинца с индием получают из фторборатных электролитов.
Работу узлов трения при температурах выше 250 0С требует нанесения на их
поверхность более высокотемпературных металлических пленок. Для этих целей
можно использовать сплав свинец-марганец, которые осаждают из
трилонаноцитратного электролита. Покрытие содержит до 20% Mn. Микротвердость покрытий в 2-6 раз превышает
микротвердость свинца.
Сплавы свинца с висмутом, обладающие высокой коррозионной стойкостью,
могут быть осаждены из фторборатных и нитратных электролитов. Они содержат 4-30
% Bi.
Антифрикционные сплавы свинца с кадмием (2-90 % Cd) осаждают из фторборатных и цитратно-полиэтиленполиаминовых
электролитов. Их применяют в качестве антифрикционого слоя в подшипниках.
Высокими антифрикционными свойствами и износостойкостью обладают сплавы
свинца с серебром, с содержанием свинца до 4,5 %. Твердость таких сплавов в 1,5
раза превышает твердость серебряных покрытий, а износостойкость при «сухом»
трении по стали превышает износостойкость чистого серебра в десятки раз.
2. Методика испытаний
.1 Методика триботехнических испытаний
Триботехнические испытания проводили на микротрибометре ММТ, по схеме
сфера - плоскость. Опытные образцы
испытывались при сухом трении. На рисунке 17 приведена схема возвратно - поступательного микротрибометра ММТ.
1 - плоский образец;
- термокамера;
- калиброванный груз;
- система измерения силы трения;
- пульт управления;
- блок измерения контактного сопротивления;
- двигатель;
- механизм перемещения;
- держатель зонда;
- механизм нагружения;
- упругие элементы;
- механизм перемещения;
- блок регулирования скорости
- нагревательный элемент;
- редуктор;
- 17 - привод.
Рисунок 17 - Схема микротрибометра ММТ
Нагрузка на сферический образец задаётся установкой соответствующих
калиброванных грузов - 5.
Регистрация силы трения основана на измерении деформации упругих элементов - 6 связанных с держателем
сферического образца с помощью прибора для измерения малых перемещений типа
275-01 Московского завода "Калибр". Механизм перемещения -8 создан на базе реверсивного
двигателя - 13 через
кинематическую цепь, включающую редуктор - 14, ременную передачу - 16, пару винт-гайка -17, обеспечивает возвратно-поступательное перемещение
держателя плоского образца с возможностью плавного регулирования скорости
скольжения. Электронные блоки регулирования скорости перемещения -10, подвижного образца вмонтированы в
пульт управления-9.
В ходе триботехнических испытаний регистрировался коэффициент трения для
каждого числа циклов трения.
Композиционные покрытия были нанесены на шарик диаметра 7мм (сталь ШХ
15), контр-телом являлась ситаловая подложка. Толщина покрытия - 20 мкм.
Режим испытаний образцов с КЭП:
нагрузка Р = 90 г;
диаметр индентора d = 7
мм;
скорость возвратно-поступательного движения v = 3,41*10-2 м/с;
длина дорожки трения - 13 мм;
число циклов N=1000;
относительная влажность-50%;
Покрытия были нанесены на стальную подложку (сталь 45) и отличались
различным содержанием Sb в
электролите. Толщина покрытия - 50 мкм.
нагрузка P = 150 г;
диаметр индентора d = 6
мм;
скорость возвратно-поступательного движения v = 3,41*10-2 м/с;
длина дорожки трения - 13 мм;
относительная влажность-50%;
Число циклов различно для каждого образца.
Полученные результаты обрабатывались с помощью программы ORIGIN с получением графиков и диаграмм.
.2 Методика измерения микротвердости
Измерение твердости покрытий Pb-Sn, Pb-Sn-Sb проводили на микротвердомере ПМТ-3
при нагрузке 50 г. Микротвердомер ПМТ-3 представляет собой специальный
микроскоп для измерения микротвердости различных материалов. Метод измерения
микротвердости на приборе ПМТ-3 основан на измерении линейной величины
диагонали оттиска, получаемого от вдавливания под определенной нагрузкой
алмазной пирамиды в исследуемый материал. Алмазная пирамида имеет квадратное
основание и угол при вершине 1360 между противолежащими гранями. Размеры
отпечатков измеряют с помощью микроскопа и винтового окулярного микрометра.
Микротвердомер ПМТ-3 снабжен двумя ахроматическими эпиобъективами F=6.16,
A=0.65 и F=2.32. A=0.17, рассчитанными для тубуса длиной “бесконечность” и
корригированными для препаратов без покровного стекла.
Специальный осветитель прибора совместно с эпиобъективами обеспечивает
возможность наблюдения объектов в светлом и темном поле. Микротвердомер ПМТ-3
снабжен вращающимся предметным столиком, расположенным на основании прибора.
Перемещение столика осуществляется двумя микрометрическими винтами в двух
взаимно перпендикулярных направлениях. Цена деления барабана винтов равна
0,01мм.
При статистической обработке результатов измерения микротвердости
покрытий Pb-Sn-Sb ,было
рассчитано что, среднее арифметическое отклонение экспериментальных данных а1 ,
а2 , а3 , … , аn , при прямых
измерениях равно :
, ( 1 )
=29,3
кг/мм2 ;
Отклонение
измерений от среднего арифметического
оценивали
средней кубической погрешностью:
, ( 2 )
N = 0,93;
Тогда среднее квадратичное отклонение можно определить из выражения:
, ( 3 )
C учетом
надежности (Р=0,95) и числа измерений,определим коэффициент Стьюдента ta ,
вычислим доверительный интервал :
tp= 2.75 ;
=tp*SN
, ( 4 )
2,56
кг/мм2 ;
Тогда
искомую величину можно записать
а
= (29,3
0,93) кг/мм2 .
Относительная
погрешность в этом случае равна:
100% , (
5 )
100%=8% .
Таким
образом относительная погрешность измерения микротвердости составила 8%.
.3 Методика исследования поверхности твердых материалов
Дорожки и пятна трения твердых материалов исследовались при помощи
металлографического микроскопа МИМ-7.
Данный Микроскоп МИМ-7 предназначен для наблюдения и фотографирования
микроструктуры металлов в обыкновенном свете в светлом и тёмном поле и в
поляризованном свете - в светлом поле.
Прибор состоит из четырёх основных частей:
.Осветители, установленного на направляющие основания. Осветитель состоит
из фонаря, закреплённого на угольнике. Угольник имеет направляющие, позволяющие
перемещать весь осветитель вдоль оси относительно коллектора. Фиксация
положения осветителя производится рукояткой 12(рисунок 18). Фонарь опирается на
угольник двумя центровочными винтами. С помощью этих винтов производится
центровка нити лампы относительно оси прибора.
.Корпуса прибора с фотокамерой и узлом апертурной диафрагмы. На стороне
корпуса микроскопа, обращённой к осветителю, находится коллектор и рукоятка 13
диска с набором светофильтров.
Слева от наблюдателя на корпусе находится рукоятка переключателя
фотоокуляров.
Рисунок 18 - Общий вид микроскопа МИМ-7
1-основание микроскопа
-коллектор
-фотокамера
-зеркало
-визуальный тубус
-рукоятка диафрагмы
-иллюминатор
-предметный столик
9-рукоятки перемещения стола
-клеммы
-осветитель
-рукоятка стопорного устройства стола
-рукоятка дисков c
набором фотофильтров
-рукоятка трубы подачи стола
-матовая пластина
-анализатор
-корпус центральной части
.Верхние части прибора с иллюминатором, визуальным тубусом и механизмами
грубой подачи предметного столика и микрометронной подачи объектива. В верхней
части прибора находится:
Осветительный тубус, в верхнем срезе которого имеется посадочное
отверстие под объектив в виде гладкого кольца. На патрубке осветителя тубуса
находиться рамка с линзами для работы в светлом и тёмном поле, а под кожухом
пентапризма. В нижней части кожуха располагаются центрировочные винты полевой
диафрагмы. Изменение диаметра полевой диафрагмы производится рукояткой. Под
корпусом полевой диафрагмы находится фотозатвор-шторка. При открытом
фотозатворе свет идет в фотокамеру.
2.4 Методика определения профиля дорожки трения
Для оценки глубины дорожки трения использовались профилограммы,
полученные при помощи профилометра “Калибр”, подключенного к компьютеру через
аналогово-цифровое устройство.
Прибору задавалась длина пути зонда L=1.6мм. Предел измерения составлял - 1мкм. Тарировочный
коэффициент k=0.01мкм.
В ходе эксперимента регистрировалось изменение высоты профиля образца с
дорожкой трения в каждой точке длины пути зонда. Полученные результаты
обрабатывались с помощью программы ORIGIN с получением графиков.
Пример профилограммы дорожки трения покрытия Pb-Sn представлен на
рисунке.
Рисунок 19 - Профилограмма дорожки трения покрытия Pb-Sn
3. Результаты триботехнических испытаний
.1 Результаты триботехнических испытаний никелевых КЭП с нанодисперсными
частицами (МоОз)n(Н2O)m и (WОз)n(Н2O)m
Испытания по определению интенсивности изнашивания проводились на микротрибометре
ММТ по схеме сфера-плоскость при нагрузке 90 г и скорости 3,41*10-2 м/с.
Образцы были изготовлены из закаленной стали ШХ 15 (HRC 58-60) и на них было нанесено покрытие - чистый Ni, Ni-МоОз и Ni-WO3.
Были исследованы образцы со следующими покрытиями:
чистый никель;
№1-№ 3-сплав Ni-MoO3. Здесь триоксид Мо получен при иcпользовании ионнообменной колонки
большого объема и в при увеличении объема в 5 раз на стадии созревания золя.
Частицы Ni-MoO3 №1 представляют собой иглы с размерами 50 нм-1.5 мкм.
№2. Малый объем ионообменной колонки и реактора (как во всех предыдущих
образцах , перемешивание). Частицы Ni-MoO3 представляют собой квадратные
параллелепипеды с размерами 2.5-18 мкм.
№3. Как в №2, но в присутствии 2 10-2 молибдата натрия. Частицы представляют
собой квадратные параллелепипеды с размерами 0.5-4 мкм. Таким образом сплавы
№1-№ 3 различаются размерами и формой частиц, а также формой реактора в
процессе термообработки (стакан - №2 и коническая колба -№3), присутствием
молибдата. Игольчатые частицы триоксида молибдена представлены на рисунке 20
№10 -сплав Ni-WO3. Содержание триоксида вольфрама в
электролите 0.2 г/л, оксид получен через ионообменную колонку,
электролит-суспензия хранился и эксплуатировался 2 мес.
№ 11 -сплав Ni-WO3. Здесь то же содержание оксида в
электролите, но он свежеприготовленный, оксид был получен без использования
ионообменной колонки. Таким образом образцы сплавы №10-№11 отличаются временем
хранения электролита-суспензии и способом получения оксида.
Толщина покрытия составляет 20 мкм.
Рисунок 20 - Игольчатые частицы MoO3 без образования на них покрытия.
Размер квадрата 1мкм.
Рисунок 21 - Частицы MoO3 в
форме параллелепипедов длинной 3-10мкм с образованием на них покрытия Ni-MoO3. CMoO3=0,5
г/л
Объемный износ для чистого никелевого покрытия и для композиционных
покрытий определен для 1000 циклов истирания. Зависимость коэффициента трения
покрытий Ni, Ni-MoO3, Ni-WO3 от числа циклов представлена на рисунке 22.
Рисунок 22 - Зависимость коэффициента трения покрытий Ni, Ni-MoO3, Ni-WO3 от числа циклов истирания.
Результаты триботехнических испытаний представлены в таблице 9 и на
рисунках 22 - 25. За критерий интенсивности изнашивания принимаем высоту
изношенного сегмента*10-7, м.
Таблица 9 - Результаты триботехнических испытаний никелевых КЭП
|
образец
|
d пятна
*10-6,м
|
обьем изношенного сегмента V*10-15,м3
|
коэффициент износа ki,м3/H*м*10-16
|
высота изношенного сегмента
*10 -7, м
|
|
Ni
|
161
|
9.425
|
0.428
|
9.259
|
|
Ni-MoO3 №1
|
136
|
4.799
|
0.2051
|
6.606
|
|
Ni-MoO3 №2
|
137
|
4.941
|
0.211
|
6.704
|
|
Ni-MoO3 №3
|
151
|
7.293
|
0.3116
|
8.144
|
|
Ni-WO3 №10
|
129
|
3.884
|
0.166
|
5.944
|
|
Ni-WO3 №11
|
142
|
5.703
|
0.2437
|
7.202
|




а - чистый Ni; б - Ni-MoO3№1; в - Ni-MoO3№2; г - Ni-MoO3№3
д - Ni-WO3№10; е - Ni-WO3№11.
Рисунок 23 - Микроснимки пятен трения никелевых КЭП
Рисунок
24 - Интенсивность изнашивания никелевых КЭП с нанодисперсными частицами MoO3
Результаты
экспериментов показывают что тип и форма частиц MoO3, а также
форма реактора в процессе термообработки влияют на триботехнические свойства
покрытия Ni-MoO3.
Как
видно из таблицы 9, у образцов с триоксидом молибдена лучшие триботехнические
свойства показало покрытие №2, т. к. оно обладает наименьшим коэффициентом
трения (f=0.85) и малой интенсивностью изнашивания (меньше чем
у чисто никелевого покрытия в 1.38 раза). Более высокий установившийся
коэффициент трения (f=1.65) показало покрытие №1, несмотря на низкую
интенсивность изнашивания. Покрытие №3 в данных триботехнических испытаниях
показало самое высокое изнашивание и коэффициент трения f=1.45.
Это может быть обусловлено формой и размерами частиц MoO3 (0,5-4)
мкм. Однако, сравнивая покрытие Ni-MoO3 № 3 с покрытием чистым никелем, можно сделать вывод,
что композиционное покрытие имеет лучшие триботехнические характеристики.
Рисунок
25 - Интенсивность изнашивания никелевых КЭП с нанодисперсными частицами WO3
Анализируя
полученные данные, видно, что износостойкость покрытия №11 в 1.3 раза выше, чем
никелевого. Износостойкость композиционного покрытия Ni-WO3
№10, равная 5.944*10-7м, в 1.5 раза выше, чем Ni покрытия
(9.259*10-7м) и в 1.2 раза выше, чем у покрытия №11. Т.е. оксид вольфрама, полученный
из свежеприготовленного электролита хуже оксида вольфрама полученного из
электролита-суспензии который хранился и эксплуатировался 2 месяца.
.2
Результаты триботехнических испытаний гальванических покрытий Pb-Sn, Pb-Sn-Sb
С
целью выявления механизма трения и износа трехкомпонентных гальванических
сплавов, содержащих сурьму, триботехнические свойства этих покрытий были
исследованы в режиме сухого трения на микротрибометре ММТ по схеме
шар-плоскость. Покрытия были нанесены на стальную подложку и отличались
различным содержанием Sb в электролите. Толщина покрытия составляет 50мкм. В
ходе эксперимента регистрировался коэффициент трения для каждого числа циклов
трения. Режимы и результаты испытаний представлены в таблице
Таблица
10 - Результаты триботехнических испытаний покрытий Pb-Sn, Pb-Sn-Sb
|
покрытие
|
содержание Sb(BF4)
в р-ре электролита
|
нагрузка,г
|
длина дорожки lдор,мм
|
путь трения Lтр,м
|
глубина дорожки трения H,мкм
|
удельн. глуб.Hуд,мкм/м
|
число циклов N
|
|
Pb-Sn
|
не содержит
|
150
|
13
|
3,25
|
26
|
8
|
250
|
|
Pb-Sn-Sb №3
|
0.025 моль/л
|
150
|
13
|
15,028
|
20
|
1,33
|
1156
|
|
Pb-Sn-Sb №5
|
0.037 моль/л
|
150
|
13
|
3,25
|
22
|
6,77
|
250
|
|
Pb-Sn-Sb №7
|
0.049 моль/л (стандарт)
|
150
|
13
|
5,85
|
13
|
2,22
|
450
|
|
Pb-Sn-Sb №9
|
0,061 моль/л
|
150
|
13
|
5,2
|
21
|
4,04
|
400
|
За критерий износостойкости была принята глубина дорожки трения
Hуд
,мкм/м.
Hуд=H/L, (6)
где Н - глубина дорожки трения, мкм
Lтр -
путь трения, м
Lтр=lдор*N, м (7)
где lдор - длина дорожки трения, мкм
N -
число фреттинговых циклов.
При анализе зависимости глубины дорожки трения от концентрации сурьмы в
электролите, что видно из рисунка 26, были выявлены экстремальные зависимости
этих характеристик.
Так на рисунке 26 видно, что минимальным износом при сухом трении
обладает покрытие Pb-Sn-Sb №3 с содержанием соли сурьмы в электролите
CSb=0.025
моль/л. Износ для этого покрытия составляет Нуд=1,33 мкм/м, что в 6 раз ниже
интенсивности изнашивания базового покрытия Sn-Sb (Нуд=8мкм/м),
несмотря на его максимальную твердость BSn-Sb=102,5
кг/мм2 (рисунок 26), и в 3 раза ниже интенсивности изнашивания покрытия
Pb-Sn-Sb № 9 с содержанием сурьмы C=0,061 моль/л.
Рисунок 26 - Зависимость удельной глубины дорожки трения от концентрации Sb в электролите
Таблица 11 - Результаты измерения микротвердости покрытий Pb-Sn-Sb
|
образец
|
нагрузка,г
|
размер пятна,мкм
|
твердость,кг/мм2
|
средняя твердость B50,кг/мм2
|
|
Pb-Sn
|
50
|
140 183 144 125 111
|
95.33 55.79 90.11 119.58 151.65
|
102.5
|
|
Pb-Sn-Sb №3
CSb=0.025 моль/л.
|
50
|
247 255 250 261
189
|
30.63 28.73
29.90 27.43 52.31
|
33.8
|
|
Pb-Sn-Sb №5
0.037 моль/л
|
50
|
262 247 259 226
277
|
27.22 30.63
27.85 36.58 24.35
|
29.3
|
|
Pb-Sn-Sb №7 0.049 моль/л (стандарт)
|
50
|
226 276 349 308 273
|
36.58 24.53
15.34 19.70 25.07
|
24.2
|
|
Pb-Sn-Sb №9 0,061 моль/л
|
50
|
200 202 245 253 253
|
46.71 45.79
31.13 29.19 19.19
|
34.4
|
Анализируя зависимость твердости покрытия от концентрации Sb (рисунок 27) можно сделать вывод,
что введение в электролит сурьмы значительно снижает твердость покрытия (см.
таблицу 11). Принимая во внимание то, что при измерении микротвердости
погрешность измерения составила 8%, можно сделать вывод, что твердость тройных
сплавов Pb-Sn-Sb от концентрации
Sb в электролите зависит незначительно.
Рисунок 27 - Зависимость твердости от концентрации Sb в электролите
На рисунке 28 представлены графики зависимости коэффициента трения
покрытий от числа циклов истирания.
Рисунок 28 - Зависимость коэффициента трения покрытий от числа циклов
истирания. Здесь 1-покрытие Pb-Sn; 2-покрытие Pb-Sn-Sb №3, 3-покрытие Pb-Sn-Sb №5, 4-покрытие Pb-Sn-Sb №7, 5-покрытие Pb-Sn-Sb №9;
Коэффициент трения выходит на установившийся режим при различном числе
циклов ( рисунок 28 ). Так диаграмма ( рисунок 29 ) показывает, что наибольшее
число циклов трения до схватывания ( N=359 ) выдерживает образец Pb-Sn-Sb №7, для которого содержание сурьмы в электролите стандартное
( CSb=0,049 моль/л ). В то время как
двойной сплав выдерживает всего 52 цикла.
Рисунок
29 - Число циклов трения до установившегося режима
В
ходе эксперимента было установлено, что коэффициент сухого трения покрытий Pb-Sn-Sb
при установившемся режиме практически не зависит от содержания в них сурьмы и
составляет для всех покрытий f = 1,15
0,05 (
Таблица 12 , рисунок 30).
Таблица
12 - коэффициент трения при установившемся режиме трения
|
покрытие
|
содержание Sb(BF4)
в р-ре электролита
|
установившийся коэффициент
трения
|
|
Pb-Sn
|
не содержит
|
1,01
|
|
Pb-Sn-Sb №3
|
0,025 моль/л
|
1,2
|
|
Pb-Sn-Sb №5
|
0,037 моль/л
|
1,18
|
|
Pb-Sn-Sb №7
|
0,049 моль/л
|
1,12
|
|
Pb-Sn-Sb №9
|
0,061 моль/л
|
1,1
|
Рисунок 30 - Установившийся коэффициент трения при схватывании в
зависимости от концентрации сурьмы в электролите
На рисунке 31 представлены микроснимки дорожек трения тройных сплавов
после испытания в режиме сухого трения, где отчетливо видны изрезанные в
процессе трения площади контакта образца и контртела, и глубокие впадины
(темные участки на снимках). Так как поверхность контртела (стальной шарик)
после эксперимента была покрыта частицами износа покрытия, с высокой степенью
адгезии связанными с контртелом, можно предположить, что по происхождению эти
впадины являются результатом задиров в процессе сухого трения.
|
|
|
|
|
|
|
а)
|
б)
|
в)
|
г)
|
д)
|
|
Pb-Sn
|
Pb-Sn-Sb №3
|
Pb-Sn-Sb №5
|
Pb-Sn-Sb №7
|
Pb-Sn-Sb №9
|
|
Рисунок 31 - Микроснимки
дорожек трения покрытий Pb-Sn и Pb-Sn-Sb после испытаний в режиме сухого трения
|
|
|
|
|
|
|
|
Сравнивая между собой микроснимки дорожек трения покрытий Pb-Sn и Pb-Sn-Sb №5, которые испытывались при одинаковом числе фреттинговых
циклов и одинаковой нагрузке, видно, что тройной сплав изнашивается более
равномерно. Это подтверждают и профилограммы дорожек трения этих покрытий,
представленные на рисунке 32.

Рисунок 32 - Профилограммы дорожек трения покрытий Pb-Sn (справа) и Pb-Sn-Sb № 5 (слева)
4. Технология восстановления подшипников скольжения
Одним из путей снижения потерь металла от трения и износа является
разработка новых технологий нанесения антифрикционных покрытий на детали,
работающие в условиях трения (подшипники, втулки, направляющие вкладыши и
т.п.). К таким сплавам относятся сплавы типа олово-свинец-сурьма.
Подшипниковыми сплавами называются сплавы, из которых изготавливают
вкладыши подшипников. Для этой цели применяют чугун, бронзу и легкоплавкие
сплавы на основе свинца, олова, цинка или алюминия, так называемые баббиты.
Несмотря на все большее применение в машинах подшипников качения
(шариковых или роликовых подшипников), подшипники скольжения также применяют
достаточно широко.
Требования предъявляемые к подшипникам скольжения узлов дизель-поездов по
их эксплуатации [16]:
Вкладыши коренных подшипников коленчатых валов дизелей типа Д100 и 2Д100
отлиты из бронзы ОЦС 3-12-5 ГОСТ 613-65 и залиты баббитом Б2. Шероховатость
рабочей и не рабочей поверхности подшипника не ниже 7-го класса. Твердость
баббита HB 13-23. Вкладыши коренных и шатунных
подшипников коленчатого вала бракуют при наличии хотя бы одного из дефектов :
а) коррозия заливки более 20% поверхности в нерабочей части (в рабочей
части не допускеется);
б) выкрашивание более 10%;
в) трещина в корпусе вкладыша;
г) потеря торцового натяга, когда рекомендуемым способом устранить его не
возможно;
д) износ по толщине более 0,15 мм для рабочих и более 0,20 мм для
нерабочих вкладышей ( на ТР-1 и ТР-2 допускается износ рабочих вкладышей до
0,18 мм).
Для электроосаждения всех тройных сплавов применяют, как правило, в
фторборатные электролиты ( смотри таблицу 12).
Фторборатные электролиты готовят растворением солей свинца и олова в
борфтористоводородной кислоте с последующей добавкой столярного клея.
Таблица 13 - Состав электролитов и режимы осаждения тройных сплавов на
свинцово-оловянистой основе
|
Состав электролита и режим
осаждения
|
Электролит для осаждения
тройного сплава
|
|
с Zn
|
с Cu
|
с Sb
|
|
Состав, г/л:
|
|
|
|
|
свинца фторборат
|
100-180
|
100-120
|
100
|
|
олова фторборат
|
12-15
|
25-75
|
30
|
|
цинка оксид
|
0.3-0.6
|
-
|
-
|
|
сурьмы фторборат
|
-
|
-
|
5.225
|
|
меди фторборат
|
-
|
18-20
|
-
|
|
кислота борфторводородная
|
45-180
|
40-60
|
80
|
|
кислота борная
|
-
|
-
|
25
|
|
столярный клей
|
1-2
|
1-3
|
-
|
|
гидрохинон
|
-
|
-
|
0.5
|
|
пептон
|
-
|
15
|
15
|
|
Режимы осаждения
|
|
|
-
|
|
катодная плотность тока,
А/дм2
|
1.0-1.5
|
0.5
|
4
|
|
температура, 0С
|
18-25
|
18-25
|
18-25
|
Технологический процесс осаждения гальванических покрытий из тройных
сплавав представлен на рисунке 33
Рисунок 33 - Технологический процесс нанесения гальванических покрытий
Технология нанесения трехкомпонентных сплавов олово-свинец-сурьма
позволяет получить покрытия общей площадью Sобщ = 24 кв. м. из ванны, емкостью 400 л. В таблице 13
приведен перечень химических реактивов, необходимых для нанесения покрытий и их
количество в ванне, емкостью 400 л.
Таблица 14 - Химические реактивы для нанесения покрытий
|
название реактива
|
масса реактива на 1 литр
эл-та, г.
|
масса реактива на 400
литров эл-та, кг.
|
стоимость 1кг реактива, руб.
|
стоимость реактива в ванне
на 400 л, руб.
|
|
свинца фторборат
|
185
|
74
|
20400
|
1509600
|
|
олова фторборат
|
74
|
29,6
|
20400
|
603840
|
|
сурьмы фторборат
|
18,8
|
5,64
|
20400
|
115056
|
|
борная кислота
|
25
|
10
|
6000
|
60000
|
|
борфтористоводородная
кислота
|
80
|
32
|
10000
|
320000
|
|
резорцин
|
7
|
2
|
800000
|
1600000
|
|
желатин
|
1
|
0,2
|
2004000
|
400800
|
|
соляная кислота
|
80
|
0,24
|
92
|
17,2
|
|
натр едкий
|
15
|
0,72
|
4320
|
3110
|
|
Итого
|
4612423
|
Произведем расчет стоимости изготовления вкладышей подшипников скольжения
дизелей типа Д100 и 2Д100. Цена нового комплекта вкладышей составляет ЦН = 30
тыс. руб. Общая площадь вкладышей коленчатого вала этого двигателя составляет Sвкл = 0,138 кв. м.. Следовательно
стоимость восстановления комплекта цВ вкладышей составляет:
композиционный
гальванический покрытие подшипник
цВ = Sвкл ×Цпокр/ Sобщ , ( 8 )
цВ = 0,138×4612423/24 =26521 руб.
Экономический эффект Эвос технологии восстановления вкладышей составит:
Эвос= (Цн - Цв)·100/Цв, ( 9 )
Эвос = (30000 - 26521)·100/26521=13%
Учитывая, что интенсивность изнашивания сплава олово-свинец-сурьма в 6
раз меньше базового, а следовательно и срок службы в 6 раз больше, то общая
экономическая эффективность внедрения составит:
Эвнед = (Цн / tн )·100/( Цв / tв) = (tв / tн )
·100·Цн / Цв , ( 10 )
где tв / tн - отношение срока службы восстановленного вкладыша к сроку
службы нового, tв / tн=6.
Эвнед = 6·100·30000/26521=678%.
Заключение
. Проведен анализ влияния технологических режимов формирования на
структуру, физико-механические свойства композиционных гальванических покрытий,
содержащих микро и наночастицы. Рассмотрены особенности трения и изнашивания
КЭП и, в частности, никелевых покрытий. Для исследования триботехнических
свойств гальванических покрытий использована схема испытаний шар- плоскость при
возвратно поступательном движении индентора, при этом нанокомпозиционные
покрытия никеля, толщиной 20 мкм, содержащие частицы триоксида молибдена
формировались на поверхности шарового индентора, а гальванические покрытия из
тройных сплавов Pb-Sn-Sb, толщиной 50 мкм наносили на поверхность плоских образцов.
. Триботехнические испытания композиционных никелевых покрытий показали,
что на коэффициент трения, интенсивность изнашивания значительное влияние
оказывает форма и размер частиц. Было установлено, что наименьшей
интенсивностью изнашивания равной 6.606 10-7м, что в 1.4 раза меньше, чем
интенсивность изнашивания чистого никеля, обладают покрытия Ni-MoO3 , содержащие частицы триоксида молибдена в форме игл
с размерами 50 нм-1.5 мкм и частицы триоксида молибдена в форме квадратных
параллелепипедов с размерами 2.5-18 мкм. При этом наименьшим установившимся
коэффициентом трения по ситаллу равным 0.85 и наименьшем временем приработки
обладают покрытия Ni-MoO3, содержащие частицы триоксида
молибдена в форме квадратных параллелепипедов с размерами 2.5-18 мкм.
. Триботехнические испытания никелевых покрытий, содержащих частицы WO3 показали, что выдержка
электролита-суспензии в течение двух месяцев при одинаковом исходном содержании
в ней триоксида вольфрама не только не уменьшает, но даже увеличивает
износостойкость формируемх композиционных никелевых покрытий на 20 %.
. Исследованы триботехнические свойства, микротвердость гальванических
покрытий из тройных сплавов Pb-Sn-Sb, полученных из фторборатных электролитов. Было установлено,
что интенсивность изнашивания трехкомпонентного сплава Pb-Sn-Sb от содержания Sb(BF4) в растворе электролита при сухом трении имеет
экстремальную зависимость. Минимальной интенсивностью изнашивания обладает
покрытие, сформированное из электролита с содержанием соли сурьмы в электролите
CSb=0.025 моль/л. Износ для этого
покрытия составляет Нуд=1,33 мкм/м, что в 6 раз ниже интенсивности изнашивания
покрытия из двойного сплава Sn-Sb (Нуд=8мкм/м). Введение сурьмы в
электролит значительно, более чем в три раза, снижает микротвердость покрытия и
она слабо зависит от содержания сурьмы в электролите в интервале ее изменения
от 24 до 34 кг/мм2. Анализ профилограмм и микроснимков дорожек трения покрытий Pb-Sn и Pb-Sn-Sb показал, что основным механизмом изнашивания покрытия
является микросхватывание и образование слоев переноса. При этом изнашивание
покрытий из тройных сплавов является более равномерным.
. Разработан и экономически обоснован проект технологического процесса
восстановления вкладышей подшипников скольжения коленчатого вала дизеля типа
Д100. Показано, что восстановление вкладышей является экономически выгодным.
Так стоимость нового комплекта вкладышей равняется 30000 рублей, а технология
восстановления комплекта при предполагаемом увеличении ресурса работы изделий в
3-6 раз равняется 26521 рубль. Таким образом экономический эффект технологии
восстановления вкладышей составил 13%.
Техника
безопасности
Для обеспечения безопасных условий работы необходимо знать допустимые
концентрации токсичных и вредных веществ, входящих в состав растворов и
электролитов (трихлорэтилен, цианиды, кислоты, щелочи и др.)
Основные
положения по охране труда предусмотрены в «Кодексе о законах по труде», в
котором регламентируются правовые нормы труда и отдыха, а так же мероприятия по
технике безопасности и нормы производственной санитарии.[1]
Растворы
и электролиты подвергают нагреву, фильтрации, непрерывной циркуляции; детали
подвергают вращению, покачиванию, воздействию ультразвука и вибрации.
Таким
образом, гальваническое производство - сложное, многопроцессное производство,
требующее строгого соблюдения всех правил техники безопасности, санитарных норм
и норм пожарной безопасности.
Производство
всех видов покрытий должно соответствовать ГОСТ 12.3.008-75 и ГОСТ 12.3.002-75.
Должны строго выполняться строительные нормы и правила проектирования пром.
предприятий, санитарные правила организации технологических процессов и
гигиенические требования к производственному оборудованию, утвержденные
Министерством Здравоохранения РБ.
Оборудование,
применяемое в гальваническом производстве должно соответствовать требованиям
ГОСТа 12.2.003-74.
Места
хранения хим. веществ должны иметь стеллажи, шкафы, приспособления, инвентарь,
специальную тару, а так же быть обеспеченными средствами индивидуальной защиты.
Химические вещества должны быть хорошо упакованными, иметь исправную тару и
сопроводительную документацию.
В
гальванических цехах следует иметь горячую и холодную воду для смывания вредных
вредных, попавших на рабочего; аптечки, укомплектованные средствами, необходимыми
для оказания первой помощи при отравлении, ожогах и т.д. Средства
индивидуальной защиты рабочих должны соответствовать требованиям ГОСТа
12.4.011-75.
Рабочие
и инженерно-технический персонал должен проходить медицинский осмотр при
поступлении на работу, а так же подвергаться периодическому медицинскому
осмотру. Все рабочие, служащие и инженерно-технические работники должны
проходить инструктаж по безопасности труда: вводный, первичный, повторный,
внеплановый (при изменении технологического процесса, смене оборудования,
нарушениях требований безопасности и несчастных случаях) с регистрацией в
специальном журнале.[1]
К
проведению подготовительных операций и нанесению покрытий допускаются рабочие в
соответствующей спецодежде (комбинезоне или халате, резиовых сапогах и
резиновых перчатках). Спецодежда работающих, занятых в гальваническом
производстве, должны периодически подвергаться стирке, а спецодежда, работающих
с ядовитыми веществами и растворами должна предварительно обезвреживаться.
Ванны
с цианистым и цианидферратными электролитами должны быть оборудованы
двусторонней бортовой вентиляцией и блокировкой, сообщающей об ее отключении .
Концентрированные цианистые растворы следует готовить в отдельном изолированном
помещении, снабженном обособленной вентиляцией и всеми средствами безопасности
(шланговым противогазом, сигнализацией, блокировкой и др). Список работающих
утверждает главный инженер предприятия.
При
приготовлении и корректировании, а так же применении электролитов и растворов
работающие должны пользоваться защитными мазями и пастами.
При
работе с растворителями не следует допускать искрообразования и накопления
статического электричества, а также близкого контакта с электро- или
теплоносителями. Промывные ванны необходимо устанавливать в непосредственной
близости от рабочих ванн с тем, чтобы исключить попадание электролита на пол.
При
применении абразивного инструмента следует руководствоваться правилами и
нормами безопасной работы (загрузка и возврат абразива в установках для
дробеструйной и гидропескоструйной очистки, включение и выключение подачи
сжатого воздуха должны быть механизированы, применение сухого кварцевого песка
для очистки деталей не допускается; шлифовально-полировальные станки должны
быть оборудованы защитными экранами и местными отсосами). Чистку и ремонт
оборудования от остатков органических растворителей после обезжиривания деталей
необходимо производить после продувки его воздухом или паром до полного
удаления паров растворителя.
При
загрузке и разгрузке деталей, обезжиривающих, цианистых и других токсичных
растворов, а также при розливе кислот и щелочей, дроблении и взвешивании
различных химикатов необходимо пользоваться защитными очками.
Отработанные
растворы и электролиты перед спуском в сточные воды должны быть нейтрализованы.
Шлам, содержащий токсичные вещества должен подвергаться обезвреживанию. Полнота
нейтрализации и обезвреживания подтверждается данными анализа.
Чистку
ванн и другого оборудования, а так же штанг, электрокантактов, анодов, анодных
крючков следует производить с увлажненной поверхностью [1].
Контроль
воздушной среды на содержание пыли и вредных веществ необходимо систематически
осуществлять по методикам и ГОСТам 12.1.005-76, 12.1.014-79 и 12.1.016-79.
График анализа воздуха, в зависимости от конкретных условий производства,
устанавливается и утверждается администрацией предприятия.
При
любых изменениях технологического процесса (смена оборудования, режимов
обработки, введение новых компонентов в состав электролитов или растворов и т.
п.) необходимо произвести внеочередной анализ. При обнаружении вредных веществ
в воздухе рабочей зоны в количестве, превышающем предельно допустимой
концентрации, работа должна быть приостановлена и приняты меры по дегазации
помещения и установления причин, вызвавших загазованность воздушной среды.
Контроль
за технологическим оборудованием, создающим шум в воздушной среде следует
производить по ГОСТу 20445-75.
Контроль
оборудования, создающего вибрацию, следует производить на соответствие
требованиям ГОСТа 16878-73, ГОСТ 8.246-77, ГОСТ 13731-68.
Контроль
электробезопасности следует производить в соответствии с требованиями «Правил
технической эксплуатации электроустановок потребителей и правил техники
безопасности при эксплуатации электроустановок потребителей».
Контроль
уровней освещенности следует производить в соответствии с Методическими
указаниями Министерства Здравоохранения РБ.
Литература
1. Гальванические покрытия в машиностроении. Справочник. В
2-х томах / Под ред. М. А. Шлугера, Л. Д. Тока. - М.: Машиностроение, 1985.
. Справочное руководство по гальванотехнике. Ч. 1. Перев. с
нем. «Металлургия», с. 488. 1972.
. Сайфуллин Р. C.
Композиционные покрытия и материалы. М.: «Химия»,1977.
. Сайфулин Р. C.
Неорганические композиционные материалы. М.: «Химия», 1983. - 304 c., ил.
. Физикохимия неорганических полимерных и композиционных
материалов / Р. C. Сайфуллин. -
М.: «Химия», 1990. - 240 c.
. Мельников П. C.
Справочник по гальванопокрытиям в машиностроении. - 2-е изд., перераб. и доп. -
М.: Машиностроение, 1991. - 384 с., ил.
. Восстановление деталей машин электрохимическим способом.
Кишинев, Штиинца, 1984.
. Лобанов С. А. Практические советы гальванику. - Л.:
Машиностроение, 1983. - 248 с., ил.
. Антропов Л. И., Лебединский Ю. Н. Композиционные
электрохимические покрытия и материалы. - К.: Техника, 1986. - 200 c., ил.
. Основы материаловедения: Учебник для техникумов. Лахтин Ю.
М. - М.: Металлургия, 1988. - 320 с.
. Казаков В. А., Шлугер М. А. Износостойкие и антифрикционные
гальванические покрытия в машиностроении. - Л.: Машиностроение, 1981. - 212 с.
. Ю. В. Тимошков, Т. М. Губаревич, Т. И. Ореховская, И. C. Молчан, В. И. Курмашев.
Наноструктурные материалы : получение и свойства. Мн.:НАН Б, 1999, № 2. - c. 20
. А. П. Гуляев Металловедение, 5-ое переработанное издание.
М.: Металлургия, 1978. - 646 с.
. А. И. Самохоцкий, М. Н. Кунявский Металловедение, 6-ое
переработанное издание. М.: Металлургия, 1999. - 546 c.
. Казаков В. А., Шлугер М. А. Износостойкие и антифрикционные
гальванические покрытия в машиностроении. - Л.: Машиностроение, 1981. - 212 c.
. Справочник по ремонту тепловозов. Кокошинский И. Г.,
Клименко Л. В., Горбатюк В. А., Стеценко Е. Г. . - 2-е изд.,
перераб. и доп. - М.: Транспорт, 1978. - 304с.