Назначение и возможности систем вибрационного мониторинга и диагностики роторного оборудования

  • Вид работы:
    Дипломная (ВКР)
  • Предмет:
    Другое
  • Язык:
    Русский
    ,
    Формат файла:
    MS Word
    5,81 Mb
  • Опубликовано:
    2011-10-29
Вы можете узнать стоимость помощи в написании студенческой работы.
Помощь в написании работы, которую точно примут!

Назначение и возможности систем вибрационного мониторинга и диагностики роторного оборудования

Реферат

Вибрационная диагностика - это функциональная диагностика определяющая техническое состояние работающего оборудования по анализу вибрации данного оборудования.

Цель работы - показать возможность контроля технического состояния оборудования по вибрации этого оборудования, а также рассмотреть назначение и возможности систем вибрационного мониторинга и диагностики роторного оборудования.

Назначением вибрационного мониторинга является обнаружение изменений вибрационного состояния контролируемого объекта в процессе эксплуатации, причинами которых во многих случаях являются дефекты.

Назначением вибрационной диагностики в процессе эксплуатации оборудования является обнаружение изменений и прогноз развития не вибрационного, а технического состояния, причем каждого из его элементов, для которого существует реальная вероятность отказа в период между ремонтами. Для этого измеряется не только низкочастотная и среднечастотная, но и высокочастотная вибрация, а также используются более сложные, чем при мониторинге, методы анализа вибрации, позволяющие получать полный объем диагностической информации.

Вибрационная диагностика может проводиться как на стационарном оборудовании, так и на мобильном. Различия диагностирования заключаются только в местах крепления и видах крепления датчиков. На современном этапе развития вибрационной диагностики, диагностирование оборудования, как стационарного, так и мобильного производится без изменений рабочего режима оборудования. При этом применяемые системы диагностики могут быть как стационарными так и переносными.

Так как на данном этапе развития систем вибрационного контроля основой комплексов являются компьютеры, методика проведения мониторинга и диагностики на различных комплексах и различном оборудовании примерно одинакова:

Первое - конфигурирование объекта диагностики в программном обеспечении комплекса.

Второе - выбор параметров диагностирования объекта.

Третье - определение точек контроля вибрации на данном объекте.

Четвертое - определение вида крепления датчиков и подготовка мест крепления датчиков.

Пятое - снятие показаний вибрации объекта.

Шестое - обработка и анализ снятых показаний.

Седьмое - выдача информации о техническом состоянии объекта.

Выбор диагностических параметров используемых для глубокой диагностики узлов объекта производится исходя из возможности контроля высокочастотной вибрации, для обнаружения дефекта, а по параметрам низкочастотной и среднечастотной вибрации уточняется величина развитых дефектов. Для каждого объекта диагностические параметры индивидуальны и корректируются по мере накопления диагностической информации об объекте.

Определение точек контроля вибрации осуществляется исходя из конструкции объекта и местонахождения узлов подлежащих диагностированию. Значение имеет не только правильный выбор точки но и направление измерения вибрации. При этом следует соблюдать следующие основные правила:

точка контроля вибрации должна быть как можно ближе к месту действия статической нагрузки.

между точкой контроля и местом формирования высокочастотных колебательных сил должен быть минимум контактных поверхностей и не должно быть резких изменений сечения тех элементов по которым распространяется высокочастотная вибрация;

вибрация на средних и низких частотах измеряется преимущественно в направлении действия статической нагрузки.

место установки датчика должно быть ровным, зачищенным от краски и грязи, и покрыто консистентной смазкой.

На данном этапе развития систем вибродиагностики обработка и анализ данных производится в автоматическом или полуавтоматическом режиме. Вся собранная информация группируется в базе данных программного обеспечения диагностического комплекса. По мере накопления диагностической информации создаются вибрационные эталоны диагностируемых узлов, производится корректировка уже имеющихся эталонов и корректируются параметры снятия с узла вибродиагностической информации. Также производится корректировка параметров проведения анализа при обработке информации.

Результатом обработки и анализа диагностической информации является информация о текущем техническом состоянии объекта и прогноз изменения технического состояния объекта на период работы объекта до проведения следующей диагностики.

В данной работе назначение и возможности систем вибрационного контроля рассмотрены на примере переносного диагностического комплекса ВЕКТОР - 2000, разработанного ассоциацией «ВАСТ» г. Санкт Петербург.

В экспериментальной части данной работы рассмотрена технология проведения вибрационной диагностики с использованием диагностического комплекса ВЕКТОР - 2000, обоснован выбор точек контроля вибрации оборудования, рассмотрены диагностируемые узлы и обнаруживаемые дефекты. Так же приведены возможности виброанализатора СД - 12М и примеры результатов измерений.

Основное преимущество вибродиагностики перед другими средствами неразрушающего контроля это возможность глубокой диагностики (определение достоверного технического состояния оборудования) без остановки данного оборудования, т.е. в рабочем режиме. Что дает возможность эксплуатации оборудования до наступления критического состояния, а также определение состояния оборудования в межремонтный период и возможность корректировки размеров данного периода.

Введение

Вибрационная диагностика появилась на железнодорожном транспорте в 1996 году. И фактически сразу заняла ведущее место среди средств неразрушающего контроля состояния машин и механизмов.

Вибрационная диагностика объединила задачи определения и прогноза технического состояния машин и оборудования по их вибрационному состоянию. Вибрационная диагностика проводится на работающих машинах и механизмах, как при эксплуатации, так и при установке на стенде.

На железнодорожном транспорте России используется диагностическое программное обеспечение Ассоциации ВАСТ в составе переносных вибродиагностических комплексов «Вектор - 2000» и «Прогноз - 1». Их основное назначение - диагностика и долгосрочный прогноз состояния узлов вращения, таких как подшипники качения и скольжения, роторы, соединительные муфты, шестерни, ремни, рабочие колеса потокосоздающих агрегатов, электромагнитные системы электрических машин. Но чаще всего они применяются для контроля и прогноза состояния колесно-моторных (КМБ) и колесно-редукторных блоков (КРБ) с тяговыми двигателями постоянного тока.

Оба комплекса включают в себя прибор, обеспечивающий измерение и анализ вибрации, а также программное обеспечение для персонального компьютера, предназначенное для автоматической постановки диагноза и прогноза состояния диагностируемых узлов. В «Векторе - 2000» используется автономный прибор - сборщик данных анализатор СД - 12. В «Прогнозе - 1» используется виртуальный прибор на базе компьютера, в который устанавливается и диагностическое программное обеспечение. Обязательным условием использования обоих комплексов является измерение вибрации в контрольных точках колесно-моторого блока в установившемся режиме его работы. Питание КМБ осуществляется от автономного стабилизатора напряжения как при диагностике КМБ на стенде, так и в составе локомотива, установленного на домкратах. Требования по нагрузке к КМБ, как правило, не предъявляются, но частота вращения колесной пары должна быть выше 250 об/мин. В этом случае время диагностических измерений вибрации минимально, а достоверность получаемых результатов приближается к предельно достижимой.

Многие пользователи систем мониторинга хотят решать такую сложную задачу как переход на обслуживание и ремонт оборудования по фактическому состоянию. Но для этого необходимо обнаруживать и идентифицировать все потенциально аварийно-опасные дефекты на ранней стадии развития, за несколько месяцев до того, как необратимое изменение состояния будет зафиксировано системой мониторинга. Такую задачу могут решать средства превентивной диагностики, которые для каждого вида дефекта используют свои диагностические признаки, позволяющие своевременно его обнаружить, однако в современных системах мониторинга такие средства используются далеко не всегда.

Система мониторинга и диагностики "Dream for Windows" в полной мере использует основные возможности превентивной диагностики узлов роторного оборудования. Ее разработчики являются одними из основателей превентивной вибрационной диагностики, и первыми в начале 90-х годов создали систему автоматической диагностики подшипников качения, вложив в нее искусственный интеллект, заменяющий эксперта высокой квалификации.

Система "Dream for Windows" ориентирована, прежде всего, на массовое диагностическое обслуживание роторного оборудования, обеспечивающее практический переход на ремонт оборудования по фактическому состоянию. Необходимая для этого автоматизация процессов постановки диагноза и прогноза является основной отличительной особенностью системы, позволяющей снизить затраты на мониторинг и диагностику за весь жизненный цикл оборудования до 1 -2% от его стоимости.

1. Техническая диагностика

Техническая диагностика - молодая наука, возникшая в последние четыре десятилетия в связи с потребностями современной техники. Все возрастающее значение сложных и дорогостоящих технических систем, особенно в машиностроении и радиоэлектронике, требования безопасности, безотказности и долговечности делают весьма важной оценку состояния системы, ее надежности. Техническая диагностика - наука о распознавании состояния технической системы, включающая широкий круг проблем, связанных с получением и оценкой диагностической информации в процессе эксплуатации системы.

Изучение общих методов распознавания и математической теории диагностики дает возможность более обоснованного выбора конкретных способов диагностики и соответствующих им правил решения. При изложении теории диагностики особых требований к математической подготовке инженеров не предъявляется, хотя некоторые моменты могут показаться трудными при первоначальном ознакомлении. Математизация инженерных знаний является неизбежным процессом, связанным с развитием техники, однако следует всегда помнить, что цель расчета не число, а понимание.

Термин «диагностика» происходит от греческого слова «диагнозис», что означает распознавание, определение.

В процессе диагностики устанавливается диагноз, т. е. определяется состояние больного (медицинская диагностика) или состояние технической системы (техническая диагностика).

Технической диагностикой называется наука о распознавании состояния технической системы.[2 стр. 3 - 5]

1.1 Цели технической диагностики

Цели технической диагностики. Рассмотрим кратко основное содержание технической диагностики. Техническая диагностика изучает методы получения и оценки диагностической информации, диагностические модели и алгоритмы принятия решений. Целью технической диагностики является повышение надежности и ресурса технических систем.

Как известно, наиболее важным показателем надежности является отсутствие отказов во время функционирования (работы) технической системы. Отказ авиационного двигателя в полетных условиях, судовых механизмов во время плавания корабля, энергетических установок в работе под нагрузкой может привести к тяжелым последствиям.

Техническая диагностика благодаря раннему обнаружению дефектов и неисправностей позволяет устранить подобные отказы в процессе технического обслуживания, что повышает надежность и эффективность эксплуатации, а также дает возможность эксплуатации технических систем ответственного назначения по состоянию.

В практике ресурс таких систем определяется по наиболее «слабым» экземплярам изделий. При эксплуатации по состоянию каждый экземпляр эксплуатируется до предельного состояния в соответствии с рекомендациями системы технической диагностики. Эксплуатация по техническому состоянию может принести выгоду, эквивалентную стоимости 30% общего парка машин.[2 стр. 5 - 6]

1.2 Задачи технической диагностики

Основные задачи технической диагностики. Техническая диагностика решает обширный круг задач, многие из которых являются смежными с задачами других научных дисциплин. (Основной задачей технической диагностики является распознавание состояния технической системы в условиях ограниченной информации.)

Техническую диагностику иногда называют безразборной диагностикой, т. е. диагностикой, осуществляемой без разборки изделия. Анализ состояния проводится в условиях эксплуатации, при которых получение информации крайне затруднено. Часто не представляется возможным по имеющейся информации сделать однозначное заключение и приходится использовать статистические методы.

Теоретическим фундаментом для решения основной задачи технической диагностики следует считать общую теорию распознавания образцов. Эта теория, составляющая важный раздел технической кибернетики, занимается распознаванием образов любой природы (геометрических, звуковых и т. п.), машинным распознаванием речи, печатного и рукописного текстов и т. д. Техническая диагностика изучает алгоритмы распознавания применительно к задачам диагностики, которые обычно могут рассматриваться как задачи классификации.

Алгоритмы распознавания в технической диагностике частично основываются на диагностических моделях, устанавливающих связь между состояниями технической системы и их отображениями в пространстве диагностических сигналов. Важной частью проблемы распознавания являются правила принятия решений (решающие правила).

Решение диагностической задачи (отнесение изделия к исправным или неисправным) всегда связано с риском ложной тревоги или пропуска цели. Для принятия обоснованного решения целесообразно привлекать методы теории статистических решений, разработанные впервые в радиолокации.

Решение задач технической диагностики всегда связано с прогнозированием надежности на ближайший период эксплуатации (до следующего технического осмотра). Здесь решения должны основываться на моделях отказов, изучаемых в теории надежности.

Вторым важным направлением технической диагностики является теория контролеспособности. Контролеспособностью называется свойство изделия обеспечивать достоверную оценку его технического состояния и раннее обнаружение - неисправностей и отказов. Контролеспособность создается конструкцией изделия и принятой системой технической диагностики.

Крупной задачей теории контролеспособности является изучение средств и методов получения диагностической информации. В сложных технических системах используется автоматизированный контроль состояния, которым предусматривается обработка диагностической информации и формирование управляющих сигналов. Методы проектирования автоматизированных систем контроля составляют одно из направлений теории контролеспособности. Наконец, очень важные задачи теории контролеспособности связаны с разработкой алгоритмов поиска неисправностей, разработкой диагностических тестов, минимизацией процесса установления диагноза.[2 стр. 6 - 7]

1.3 Структура технической диагностики

На рис. 1.1. показана структура технической диагностики. Она характеризуется двумя взаимопроникающими и взаимосвязанными направлениями: теорией распознавания и теорией контролеспособности. Теория распознавания содержит разделы, связанные с построением алгоритмов распознавания, решающих правил и диагностических моделей. Теория контролеспособности включает разработку средств и методов получения диагностической информации, автоматизированный контроль и поиск неисправностей. Техническую диагностику следует рассматривать как раздел общей теории надежности. [2 стр. 7]

Рис. 1.1. Структура технической диагностики

1.4 Постановка задач технической диагностики

Пусть требуется определить состояние шлицевого соединения валов редуктора в эксплуатационных условиях. При большом износе шлицев появляются перекосы и усталостные разрушения. Непосредственный осмотр шлицев невозможен, так как требует разборки редуктора, т. е. прекращения эксплуатации. Неисправность шлицевого соединения может повлиять на спектр колебаний корпуса редуктора, акустические колебания, содержание железа в масле и другие параметры.

Задача технической диагностики состоит в определении степени износа шлицев (глубины разрушенного поверхностного слоя) по данным измерений ряда косвенных параметров. Как указывалось, одной из важных особенностей технической диагностики является распознавание в условиях ограниченной информации, когда требуется руководствоваться определенными приемами и правилами для принятия обоснованного решения.

Состояние системы описывается совокупностью (множеством) определяющих ее параметров (признаков). Разумеется, что множество определяющих параметров (признаков) может быть различным, в первую очередь, в связи с самой задачей распознавания. Например, для распознавания состояния шлицевого соединения двигателя достаточна некоторая группа параметров, но она должна быть дополнена, если проводится диагностика и других деталей.

Распознавание состояния системы - отнесение состояния системы к одному из возможных классов (диагнозов). Число диагнозов (классов, типичных состояний, эталонов) зависит от особенностей задачи и целей исследования.

Часто требуется провести выбор одного из двух диагнозов, например, «исправное состояние» и «неисправное состояние». В других случаях необходимо более подробно охарактеризовать неисправное состояние, например повышенный износ шлицев, возрастание вибраций лопаток и т. п. В большинстве задач технической диагностики диагнозы (классы) устанавливаются заранее, и в этих условиях задачу распознавания часто называют задачей классификации.

Так как техническая диагностика связана с обработкой большого объема информации, то принятие решений (распознавание) часто осуществляется с помощью электронных вычислительных машин (ЭВМ).

Совокупность последовательных действий в процессе распознавания называется алгоритмом распознавания. Существенной частью процесса распознавания является выбор параметров, описывающих состояние системы. Они должны быть достаточно информативны, чтобы при выбранном числе диагнозов процесс разделения (распознавания) мог быть осуществлен.

Существуют два основных подхода к задаче распознавания: вероятностный и детерминистский. Постановка задачи при вероятностных методах распознавания такова. Имеется система, которая находится в одном из п случайных состояний Di. Известна совокупность признаков (параметров), каждый из которых с определенной вероятностью характеризует состояние системы. Требуется построить решающее правило, с помощью которого предъявленная (диaгнocтиpyeмaя) совокупность признаков была бы отнесена к одному из возможных состояний (диагнозов). Желательно также оценить достоверность принятого решения и степень риска ошибочного решения.

При детерминистских методах распознавания удобно формулировать задачу на геометрическом языке. Если система характеризуется ν - мерным вектором X, то любое состояние системы представляет собой точку в ν - мерном пространстве параметров (признаков). Предполагается, что диагноз Di соответствует некоторой области рассматриваемого пространства признаков. Требуется найти решающее правило, в соответствии с которым предъявленный вектор X* (диагностируемый объект) будет отнесен к определенной области диагноза. Таким образом, задача сводится к разделению пространства признаков на области диагнозов.

При детерминистском подходе области диагнозов обычно считаются «непересекающимися», т. е. вероятность одного диагноза (в область которого попадает точка) равна единице, вероятность других равна нулю. Подобным образом предполагается, что и каждый признак либо встречается при данном диагнозе, либо отсутствует.

Вероятностный и детерминистский подходы не имеют принципиальных различий. Более общими являются вероятностные методы, но они часто требуют и значительно большего объема предварительной информации. Детерминистские подходы более кратко описывают существенные стороны процесса распознавания, меньше зависят от избыточной, малоценной информации, больше соответствуют логике мышления человека.[2 стр. 8 - 10]

1.5 Прикладные вопросы технической диагностики

В механических системах (двигатели, насосы и т. п.) основное назначение технической диагностики - повышение надежности и ресурса изделий с помощью раннего обнаружения дефектов и оптимизации процессов технического обслуживания. Техническая диагностика сложных систем представляет собой систему, которая должна иметь информационное, техническое и математическое обеспечение.

Информационное обеспечение включает способы получения диагностической информации, ее хранение и систематизацию. Информационное обеспечение содержит необходимый массив восполняемых технических сведений (обучающие последовательности и др.).

Техническое обеспечение представляет собой совокупность устройств получения и обработки информации (диагностические приборы, датчики, сигнализаторы и т. п.). Важную часть технического обеспечения современных систем диагностики составляют ЭВМ, устройства типа «аналог - код» и др.

Математическое обеспечение содержит алгоритмы и программы распознавания.

Техническая диагностика как система включает также и коллектив специалистов, ответственных за принятие решений.

В настоящее время системный подход к задачам технической диагностики находится в начальной стадии развития. Большинство опубликованных результатов относится только к отдельным элементам системы. [2 стр. 185]

.6 Контролеспособность и получение диагностической информации

Контролеспособностью называется свойство изделия, заключающееся в его приспособленности к раннему обнаружению и предупреждению отказов и неисправностей. Под ранним обнаружением понимается выявление дефекта или неисправности в начальной стадии, при которой еще не проявляются отрицательные последствия для надежности или работоспособности изделия.

Контролеспособность в первую очередь зависит от качества и объема диагностической информации, которая может быть получена при эксплуатации изделия и его техническом обслуживании, а также при специальных диагностических испытаниях (диагностических тестах).[2 стр. 185]

1.6.1 Основные виды диагностической информации

Большая часть информации о поведении системы имеет диагностическую ценность, так как она отражает состояние системы. Состав и состояние сред, взаимодействующих с изделием (воздух, вода, масло, топливо, продукты сгорания и др.), рабочие параметры процесса (частота вращения, температура, давление и т. п.), вибрация, акустическое и тепловое излучения и т. д, содержат диагностическую информацию. Во многих случаях весьма полезным оказывается непосредственное визуальное наблюдение состояния элементов машины с помощью оптических трубок (бороскопов), позволяющее обнаружить наличие трещин, перегрева, коробления и т. п.

К основным видам диагностической информации относятся: спектр вибрации элементов конструкции; спектр акустических колебаний; значение параметров, характеризующих функционирование системы; состояние соприкасающихся сред; визуальные наблюдения; данные дефектоскопии.

Диагностическое значение имеют не только величины параметров в данный момент времени, но и их изменение во времени (кинетика информативных параметров). [2 стр. 186]

1.6.2 Измерение постоянных и переменных деформаций и усилий

Диагностическую ценность имеют измерения постоянных и переменных деформаций в элементах конструкций в рабочих условиях. Для измерений используются тензорезисторы в виде петлевого участка тонкой проволоки с диаметром 0,025-0,050 мм (проволочные тензометры). При растяжении уменьшается поперечное сечение проволоки и возрастает омическое сопротивление, что и регистрируется с помощью потенциометрической схемы. Сопротивление тензорезисторов обычно составляет -100 Ом.

Тензорезисторы наклеивают на деталь и закрепляют с помощью бумажной ленты, фольги или цемента. При измерении постоянных деформаций тензорезисторы используют до 400 °С, так как при более высокой температуре весьма трудно компенсировать температурные погрешности.

При измерении переменных напряжений тензорезисторы могут работать при температуре до 900° С. Точность измерения деформаций составляет 1-5%, величина наибольшей деформации зависит от механических свойств проволоки (при постоянной деформации она составляет несколько процентов, при переменной деформации -0,1%). [2 стр. 186]

1.6.3 Измерения параметров процесса

Эти измерения относятся к давлению, температуре, частоте вращения и другим параметрам.

Давление в различных полостях машин замеряется с помощью манометров с манометрическими трубками, сильфонами и т. д. Для регистрации быстро изменяющихся процессов применяются датчики давления, использующие пьезоэлектрические, индуктивные и тензорезисторные элементы.

Температура в области от -200 до 700° С измеряется термометрами сопротивления. Их действие основано на зависимости омического сопротивления от температуры. Для измерения температуры до 1600° С используются термоэлектрические пирометры, датчиками которых являются термопары. Регистрация показания температур осуществляется с помощью устройств типа милливольтметров с записью на самописец или в цифровом виде. Для диагностических целей используются также оптические и другие пирометры, регистрирующие излучение нагретых элементов конструкции, в том числе быстровращающихся.

Частота вращения замеряется индукционными и фотоэлектрическими тахометрами. Наибольшее распространение получили индукционные тахометры, обладающие высокой точностью измерений и надежностью при длительной эксплуатации. В качестве датчика в индукционном тахометре используется вращающийся ротор миниатюрного генератора переменного тока, запись сигнала производится специальными вольтметрами или электронными частотомерами.

Регистрация состояния соприкасающихся сред. Весьма важную диагностическую информацию несет масло, которое используется для смазывания и охлаждения трущихся поверхностей (подшипников, шестерен и т. д.). Диагностический контроль осуществляется по наличию стружки и содержанию железа в масле. Используются специальные приборы - сигнализаторы стружки, которые выдают сигнал при наличии в масле металлических частиц. Металлические частицы в выхлопных газах могут быть замечены с помощью датчиков, воспринимающих ионизацию среды. Диагностическое значение имеет анализ химического состава выхлопных газов и других продуктов выхлопа.

Визуальные наблюдения осуществляются с помощью оптических трубок (бороскопов). Для возможности визуального наблюдения конструкция должна иметь соответствующие полости (лючки и т. п.), позволяющие проводить осмотр. Применяются оптические трубки, дающие увеличение в два-три и более крат, с диаметром поля зрения 3-20 мм. Используются оптические трубки с внутренними зеркалами, позволяющие передать изображение по криволинейному каналу. В последние годы для этой цели используются световоды, выполненные на основе волоконной оптики. Принципиальная схема бороскопа показана на рис. 1.2.

С помощью визуального наблюдения обнаруживают повреждения и разрушения поверхности, коробление, трещины, перегрев, износ и т. п. [2 стр. 188 - 190]

Рис. 1.2. Схема бороскопа: /-рабочие лопатки, подлежащие осмотру; 2 - трубка бороскопа; 3 - окуляр; 4 - глаз наблюдателя; 5 - стекловолоконный кабель; 6 - источник света; 7 - корпус компрессора.

1.6.4 Данные дефектоскопии

В последние годы методы дефектоскопии (обнаружения дефектов) получили широкое применение в процессе производства и ремонта. Использование методов дефектоскопии в эксплуатационных условиях чрезвычайно затруднено, так как в большинстве случаев требует частичной или полной разработки изделия. Однако некоторые методы дефектоскопии могут быть использованы в эксплуатационных условиях.

Для обнаружения трещин используется токовихревой метод, основанный на возбуждении и измерении вторичных электромагнитных полей вихревых токов. С помощью специального датчика обнаруживаются поверхностные трещины и другие дефекты (рис. 1.3.). Широко применяется ультразвуковой метод, при котором специальным излучателем вводятся ультразвуковые колебания, после отражения улавливаемые приемным устройством.

Рис. 1.3. Схема токовихревого датчика: 1 - рукоятка; 2 - феррит; 3 - катушка; 4 - лопатка; 5-дефект; 6 - генератор высокой частоты; 7 - усилитель; 8 - детектор; 9 - измерительный прибор; 10 - след дефекта; 11 - осциллограф.

Трещины, раковины рассеивают колебания и уменьшают интенсивность отраженного сигнала.

Находят применение методы рентгенографии с помощью изотопного источника излучения. Такой источник вводится во внутренние полости, и на фотопленке, расположенной за просвечиваемой деталью, получается рентгеновское изображение. По снимку можно обнаружить наличие трещин, обрывов, сколов и т. п. Они в меньшей степени поглощают излучение и потому проявляются на пленке в виде затемненных зон.

В некоторых случаях могут быть использованы методы цветной или люминесцентной дефектоскопии. При цветной дефектоскопии детали покрывают краской, проникающей в трещины и поры. Далее слой основной краски смывается, и деталь покрывается другой адсорбирующей краской, на которой в виде штрихов и пятен выступает хорошо заметная основная краска, оставшаяся в трещинах. При люминесцентном методе основная краска обладает свойством флюоресценции при облучении ультрафиолетовыми лучами ртутно-кварцевых ламп. После удаления основной краски (вещества) некоторые частицы остаются в трещинах и при ультрафиолетовом свете дают четкое свечение на темном фоне поверхности детали. Указанные методы позволяют выявить трещины глубиной порядка 0,01-0,10 мм. [2 стр. 190 - 191]

1.6.5 Измерение вибраций

В процессе работы элементы машины получают перемещения, изменяющиеся во времени (вибрационные перемещения). Причинами возникновения вибрационных перемещений могут быть циклические процессы при работе машины (вращение роторов, периодические нагрузки и т. п.), собственные колебания элементов конструкции и др.

В общем случае каждая точка конструкции имеет пространственное смещение, которое представляет собой геометрическую сумму трех компонентов смещений и (t), v (t), w (t). В каждый момент времени вибросмещения могут быть представлены в виде наложения элементарных гармонических колебаний с различной частотой и амплитудой. Обычно в задачах технической диагностики измеряется частота до 30 000 Гц (чаще до 10 000 Гц), виброускорения до 1000 м/с2.

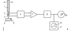
Рис. 1.4. Структурная схема измерений:

Д - датчик; П - преобразователь; У - усилитель; Р - регистратор

Достаточно общая структурная схема измерений показана на рис. 1.4. Она применяется, в частности, для измерений вибраций.

Датчик Д преобразует неэлектрические величины (механические перемещения, давления и т. п.) в электрический сигнал. Преобразователь П осуществляет первичные преобразования сигнала (фильтрацию и т. п.). Усилитель У и регистратор Р усиливают и регистрируют сигнал на магнитную или бумажную ленты. Цепь измерения может заканчиваться регистратором, но в современных системах сигнал поступает дальше для обработки и анализа в ЭВМ.

В качестве датчиков вибраций используются индукционные и пьезометрические. Последние являются более эффективными, так как имеют небольшие размеры и массу, обладают высокой вибропрочностью и термостойкостью (до 500° С). Вибродатчики закрепляют на детали с помощью фланца или ввертывают в резьбовое отверстие.

Конструктивная схема пьезометрического датчика показана на рис. 1.5. Корпус датчика 1 содержит два пьезоэлемента 6, разделенных токосъемной пластиной 3. Пьезоэлемент обладает тем свойством, что под влиянием механического напряжения в нем вырабатывается разность потенциалов.

Давление на поверхности пьезоэлемента создается инерционной массой 2, которая поджимается упругим элементом 7. Датчик закрепляется с помощью резьбового хвостовика 5, сигнал поступает к проводнику 4.

Для устранения динамических погрешностей первая собственная частота датчика должна превышать измеряемую частоту в 4-6 раз.

Измерение акустических колебаний. Вибрация элементов машин, происходящая в результате рабочего процесса, собственных колебаний, соударений и т. п., вызывает колебания окружающей среды (воздуха), т. е. служит источником акустических колебаний. В некоторых машинах, например в авиационных двигателях, мощным источником акустических колебаний (шума) является струя выходящих газов из реактивного сопла, акустическое излучение лопаток компрессора и др.

Акустические колебания характеризуются широким непрерывным спектром с отдельными дискретными составляющими. Акустические колебания представляют стохастический процесс, амплитуды и частоты которого носят случайный характер.

Рис. 1.5. Схема пьезометрического датчика

Состав спектра, его амплитудно-частотная характеристика (в вероятностном или детерминистском аспекте) имеет большое диагностическое значение для состояния машин. Известно, что опытные механики часто могут «на слух» определить характер неисправности двигателя, турбины и т. п.

Естественно, что измерение акустических колебаний, их спектральный анализ повышает ценность акустической диагностики. Для измерения используются микрофоны, основанные на электрических или пьезоэлектрических эффектах с диапазоном частот измерения от 5 до 100 кГц (частота «слышимого» звука 20 кГц).

Основной трудностью при использовании виброакустических методов является выделение полезного сигнала на фоне помех. Для обнаружения сигналов, несущих диагностическую информацию, используются фильтры.

В последние время установлено, что при появлении трещины образуется интенсивное акустическое излучение с частотой порядка от 50 до 500 кГц. Это явление может быть использовано для обнаружения трещин.[2 стр. 186 - 188]

Виброакустическая диагностика будет подробно рассмотрена в данной работе.

1.7 Примеры технической диагностики

Ниже приводятся некоторые примеры технической диагностики в различных областях машиностроения. Широкое практическое внедрение методов технической диагностики началось 10 - 15 лет назад, однако результаты свидетельствуют о возможностях существенного повышения надежности и ресурса машин с помощью диагностики.

Техническая диагностика авиационных двигателей. В процессе эксплуатации современных пассажирских двигателей контролируется 20-40 параметров, причем показания приборов имеют три уровня информации: индикация в кабине летчика; регистрация на борту самолета; наземные проверки.

В кабину летчика выводятся показания важнейших параметров (например, уровня вибрации двигателей), сведения о которых необходимы для правильного пилотирования самолета. Во всех случаях, когда значения параметров достигают предельно допустимых, используется дополнительная сигнализация (световая или звуковая). Значительное количество информации регистрируется на борту самолета с помощью специальных записывающих устройств с последующим хранением информации на магнитных лентах.

Ряд диагностических признаков выявляется при наземной проверке (визуальные осмотры, проверка фильтров и т. п.). На американском двигателе CF-6 контролируются приблизительно 40 параметров, среди которых: температура газа за турбиной; температура за компрессором; частоты вращения компрессора и вентилятора; давление за вентилятором и компрессором; вибрация в зонах вентилятора, компрессора и на корпусах подшипников.

Регистрируются количество и температура масла, показания детекторов стружки в откачивающей магистрали, перепад давления на маслофильтре, сигнализатор минимального давления масла. Контролируются параметры топливной системы, системы запуска, отбора воздуха и других систем.

Большинство параметров записываются 1-2 раза за полет (давление, уровень вибрации, частота вращения) и далее направляются в диагностический центр для анализа. В результате анализа и сопоставления с предыдущими показаниями принимается решение о продолжении нормальной эксплуатации, либо о дополнительном осмотре, замене детали, узла или снятии двигателя с эксплуатации. В диагностическом центре решение принимается группой специалистов, анализирующих поступающую информацию. Для выработки решений могут использоваться ЭВМ, что способствует принятию более обоснованных решений.

Применение счетчиков ресурса. Эквивалентные испытания авиационных двигателей показали, что наибольшие повреждения, особенно деталей горячей части, происходят при работе на наиболее тяжелом (взлетном) режиме. При эксплуатации процент использования тяжелых режимов в двигателях гражданской авиации различен, он зависит от продолжительности полета и других условий. В некоторых американских авиакомпаниях на двигателях устанавливается счетчик ресурса, учитывающий суммарную длительность наработки на тяжелых режимах и число полетных циклов.

Техническая диагностика поршневых двигателей. Поршневые двигатели (автомобильные, тракторные, стационарные и транспортные дизели) имеют широкое применение. Эксплуатация автомобильных и тракторных двигателей носит массовый характер. Определение технического состояния двигателя без разборки позволяет повысить его надежность и улучшить техническое обслуживание. Следует учесть, что трудоемкость ремонта двигателей массового производства превосходит трудоемкость изготовления в 5-10 раз. Проведение профилактических работ и ремонта «по состоянию» дает значительный экономический эффект. Диагностика осуществляется с помощью передвижных станций, оснащенных виброакустической аппаратурой. Вопросы вибрационной и акустической диагностики поршневых двигателей рассматриваются в работах [8, 9]. В работе [5] описывается диагностический прибор, основанный на использовании логических методов диагноза. Этот прибор, построенный по схеме диодной матрицы, позволяет различать 33 неисправности двигателя по 53 признакам. В качестве признаков используются, например, «белый дым», «низкая компрессия», «повышенный расход масла», «стук в момент пуска» и т. п. Диагностика поршневых двигателей с помощью построения топологических моделей рассматривается в работе [6].

Техническая диагностика судовых механизмов. В Канаде на 100 типах механизмов и электромашин кораблей систематически используется анализатор вибраций [7]. Обнаруживаются повреждения, вызванные неуравновешенностью, расцентровкой и изгибом валов, неисправности шестерен и подшипников. Состояние определяется с помощью ЭВМ, которая сопоставляет уровень вибраций с прежними значениями и нормами.

На основании статистических сведений получены данные, показывающие зависимость среднего срока службы механизма от уровня вибрации, позволяющие своевременно производить профилактические работы и замены.

Указывается, что диагностическая система дает 2 млн. долларов экономии; число неисправностей, обнаруживаемых в процессе непосредственной эксплуатации, снизилось на 45%. Подробный анализ технического состояния судовых механизмов и применение диагностических методов содержится в книге [9]. В числе судовых механизмов рассматриваются паровые и газовые турбины, дизели, насосы, компрессоры и др. Основное внимание уделяется вопросам акустической диагностики. [2 стр. 191 - 193]

2. Виброакустическая диагностика

.1 Назначение виброакустической диагностики

Вибродиагностика, являясь разделом технической диагностики, есть отрасль знаний, включающая в себя теорию и методы организации процессов распознавания технических состояний машин и механизмов по исходной информации, содержащейся в виброакустическом сигнале.

Основным физическим носителем информации о состоянии элементов работающего оборудования в вибродиагностике является виброакустический сигнал - собирательное понятие, включающее информацию о колебательных процессах (вибрационных, гидро- или газодинамических и пр.) и акустическом шуме механизма в окружающей среде. Следовательно, вибродиагностированию может подвергаться любое оборудование, функционирование которого сопровождается возбуждением колебательных процессов. В данной работе будут рассмотрены в основном проблемы диагностирования дефектов узлов роторных машин и механизмов (в дальнейшем агрегатов). Всякое отклонение параметров функционирования оборудования от нормы приводит к изменению характера взаимодействия его элементов и к изменению сопровождающих взаимодействия виброакустических процессов.[3]

Назначением систем вибрационного мониторинга стали контроль и прогноз вибрационного состояния оборудования в процессе эксплуатации. Назначением индикаторов состояния оборудования, и, прежде всего подшипников качения по сигналу вибрации, стало обнаружение определенного вида дефектов этого оборудования в процессе эксплуатации. При этом делается допущение, что эти дефекты неизбежно появятся в оборудовании до того, как произойдет его аварийный отказ.

Наиболее сложными являются системы диагностики вращающегося оборудования. Их назначением стало обнаружение всех основных дефектов на этапе зарождения, наблюдение за развитием обнаруженных дефектов и долгосрочный прогноз технического состояния узлов этого оборудования.

Особенность методов диагностирования дефектов, особенно на ранней стадии развития, заключается в использовании разнообразных приемов повышения чувствительности компонентов вибросигнала к изменению технического состояния механизма, поскольку на стадии зарождения дефектов во многих случаях помеха значительно превышает уровень полезного сигнала, содержащего информацию об изменении технического состояния.

Далеко не всегда удается найти оптимальную совокупность необходимого количества просто измеряемых диагностических параметров на все виды зарождающихся дефектов. Тогда приходится отказываться от обнаружения конкретного вида зарождающихся дефектов и ждать момента появления цепочки развитых дефектов, один из которых легко обнаруживается выбранной совокупностью параметров. Естественно, что в этом случае страдает качество долгосрочного прогноза состояния диагностируемого узла (машины).

Основная особенность систем вибрационного мониторинга и диагностики, определяемая их назначением: дефекты, обнаруживаемые этими системами, не имеют количественных характеристик, аналогичных тем, которые есть у структурных параметров объекта, и контролируются при изготовлении, ремонте или дефектации его узлов и элементов. В частности при вибрационной диагностике не определяются геометрические размеры элементов, величины зазоров и т.п. Количественными характеристиками обнаруживаемых дефектов может считаться вероятностная оценка опасности возникновения аварии при дальнейшей эксплуатации оборудования (узла). Поэтому и название обнаруживаемых дефектов часто не соответствует названиям тех отклонений состояния элемента от нормального, которые контролируются при дефектации узлов оборудования.

Первыми техническими средствами, которые стали использоваться в вибрационной диагностике, являлись виброметры, измеряющие величину низкочастотной вибрации (до 1000 Гц). Они использовались как контрольные приборы при допуске машин в эксплуатацию, позволяя уйти от субъективных ощущений операторов, но не давали информации о наличии многих развитых дефектов, так как не обеспечивали возможности разделения вибрации на составляющие разной частоты. Именно поэтому такие средства не смогли заменить опытных операторов, определяющих состояние машин «на слух».

Второй этап в развитии виброакустической диагностики связан с появлением приборов, измеряющих ультразвуковую вибрацию, которая не попадает в диапазон звуковых частот, воспринимаемых органами слуха человека. Такие приборы рассчитаны в первую очередь на обнаружение зарождающихся дефектов в подшипниках качения. В связи с этим приборы, измеряющие вибрацию вращающихся узлов на частотах выше 15 - 25 кГц, с целью обнаружения зарождающихся дефектов, стали называться индикаторами состояния диагностируемых узлов (подшипников качения). Но и эти приборы не позволяли определять реальную опасность обнаруживаемых дефектов, а также достаточно часто не реагировали на появление сильных дефектов, пропуская предаварийные ситуации. Поэтому в состав индикаторов стали включать дополнительно виброметры для измерения уровня низкочастотной вибрации, а также «звуковые каналы», преобразующие вибрацию в звуковом диапазоне частот в воздушный шум, прослушиваемый оператором с помощью наушников.

Третий этап развития средств виброакустической диагностики связан с появлением вычислительной техники для спектрального анализа сигналов. Разделение сигнала вибрации на большое число (400 и более) частотных составляющих позволило создать приборы с возможностями, превышающими характеристики органов слуха человека. Последующее появление доступных для многих пользователей средств измерения и спектрального анализа вибрации привело к созданию эффективных систем вибрационного мониторинга и диагностики вращающегося оборудования.

Именно на этом этапе окончательно определилось назначение различных систем, использующих результаты измерения вибрации машин и оборудования. Так, средства вибрационного контроля, в частности виброметры, стали использоваться как составные части систем выходного контроля машин после изготовления и ремонта на соответствие различным нормам и требованиям. Кроме того, в стационарном исполнении эти средства стали входить в системы аварийной защиты различного оборудования.

Назначением систем вибрационного мониторинга (и вибрационных каналов в системах общего мониторинга) стали контроль и прогноз вибрационного состояния оборудования в процессе эксплуатации. В эти же системы иногда стали включаться и подсистемы диагностики, назначением которых стало выявление причин изменений вибрационного состояния оборудования. Назначением индикаторов состояния оборудования и, прежде всего подшипников качения по сигналу вибрации, стало обнаружение определенного вида дефектов этого оборудования в процессе эксплуатации. При этом делается допущение, что эти дефекты рано или поздно, но неизбежно появятся в оборудовании до того, как произойдет его аварийный отказ.

Наиболее сложными являются системы профилактической (глубокой) диагностики вращающегося оборудования. Их назначением стало обнаружение всех основных дефектов на этапе зарождения, наблюдение за развитием обнаруженных дефектов и долгосрочный прогноз технического состояния узлов этого оборудования. Такие системы стали, как правило, использоваться совместно с системами мониторинга оборудования по вибрации.[1]

2.2 Задачи вибродиагностики

Вибродиагностическими методами решаются две основные задачи диагностики эксплуатируемых агрегатов: распознавание состояния эксплуатируемого агрегата и выявление причин и условий, вызывающих неисправности, которые следует устранить.

В теоретическом плане задача вибродиагностики при мониторинге парка агрегатов и выявлений изделий с потенциально ненадежными деталями может рассматриваться применительно к эксплуатации сложных систем по фактическому техническому состоянию как часть задачи управления случайным процессом повреждаемости на основе косвенной информации о процессе. При этом управление процессом или наблюдение за ним во многих случаях начинается не с начала эксплуатации агрегата, а по событию - проявлению неисправности, и проводится зачастую в условиях неполноты и неопределенности информации.

Косвенность информации заключается в том, что для определения состояния деталей используют вибрационные сигналы, прошедшие через динамическую систему и преображенные ею. Неполнота информации обусловлена технической невозможностью получить все необходимые сведения, неопределенность - неточностями постановки задачи и описания диагностируемых состояний, влиянием помех.

Основной подход к решению поставленных задач состоит в следующем:

Используя упрощенные математические модели колебаний в динамических системах, ранее накопленный опыт и широкие, достаточно тонкие экспериментальные исследования единичных объектов, получают информацию о диагностических признаках, например опасных колебаниях. На этой основе оценивают состояние всего парка эксплуатируемых машин. В дальнейшем используют статистику парка машин и результаты их диагностирования, проводя коррекцию критериев оценки состояний исследуемой системы, параметров ее состояний и их диагностических признаков, т. е. реализуют обратную связь на основе диагностирования парка машин.

Решение указанной общей задачи складывается из поэтапного решения нескольких задач более низкого уровня.

Признаками состояний диагностируемых элементов агрегатов служат характеристики переменных напряжений в деталях, характеристики колебаний деталей, геометрические погрешности изготовления деталей и сборки узлов, параметры рабочих процессов, протекающих в агрегатах, и т. п. Признаки состояния могут количественными или качественными, ранговыми или качественными классификационными (не связанными с естественным упорядочением). Характер признаков распознаваемых состояний в значительной степени определяет особенности методов выявления диагностических параметров и методов принятия решений при диагностировании.

С точки зрения вибрационной прочности в агрегатах наиболее опасны колебания периодического характера, имеющие спектры с явно выраженными дискретными составляющими. Подобные опасные колебания в основном являются сильными диагностическими сигналами (т. е. хорошо выделяется на фоне помех).

При возникновении и развитии дефектов с малой виброактивностью, возбуждаются колебания, которые, как правило, являются слабыми диагностическими сигналами. Неисправности порождают узкополосные и широкополосные сигналы стационарного и нестационарного характера.

Ввиду сложности определения неисправностей и дефектов в машинах и необходимости анализа слабых сигналов в качестве диагностических параметров используют большое число количественных характеристик сигналов и их комбинаций. К ним относятся все общеизвестные количественные характеристики детерминированных и случайных процессов, спектральная плотность, кепстр (спектр логарифмированного спектра), выделение огибающей и т. д. Кроме того, в качестве диагностических параметров используют различные комбинации количественных характеристик процессов, например, уровни отдельных составляющих в спектрах детерминированных и случайных сигналов, а также характеристики изменения перечисленных выше параметров.

Для обоснования выбора диагностических параметров в каждом конкретном случае необходимы экспериментальные исследования агрегатов в рабочем и неисправном состояниях. При этом следует учитывать, что дефекты обычно характеризуются комплексом диагностических параметров.

Вибрация агрегатов, рассматриваемая при диагностических исследованиях в широком диапазоне частот и амплитуд, является комплексным диагностическим сигналом, представляющим собой совокупность аддитивных и мультипликативных комбинаций сложных слабых и сильных "элементарных" диагностических сигналов, возбуждаемых различными источниками колебаний. При этом частотный состав большинства "элементарных" сигналов может значительно изменяться даже на установившихся режимах работы агрегата.

Разнообразие дефектов, обнаруживаемых методами вибрационной диагностики, и сложность сигналов, порождаемых неисправностями и колебаниями деталей агрегатов, заставляет при выявлении и измерении диагностических параметров проводить разнообразную обработку сигналов:

· разделение вибрационного сигнала в частотно - фазовой и временной областях на "элементарные" сигналы, т. е. на компоненты, обусловленные различными факторами, каждый из которых является самостоятельным источником, вызывающим колебания;

· пространственное разделение вибрационных сигналов;

· восстановление форм выделенных "элементарных" сигналов;

· линейные и нелинейные преобразования сигналов (фильтрацию, нормализацию, интегрирование, дифференцирование и т. д.);

· измерение отдельных параметров и статистических характеристик сигналов;

· измерение характеристик взаимосвязи сигналов.

Выбор способа обработки сигнала и соответствующей структурной схемы измерительного канала определяется постановкой диагностической задачи, особенностями исследуемого и выделяемого сигналов, особенностями конструкции обследуемого оборудования и прочими факторами.

Успех решения задач вибродиагностики при эксплуатации парка оборудования во многом зависит от контролепригодности конкретных агрегатов.[3]

2.3 Разбиение агрегата, как объекта диагностирования, на элементарные блоки

Любой сложный агрегат состоит из ряда деталей (элементов, узлов), соединенных между собой, поэтому отказ любого из элементов может вызвать нарушение работоспособности всего агрегата. Сложные функциональные зависимости при взаимодействии элементов агрегата и большое число структурных параметров затрудняют описание его поведения. Методы и приемы, облегчающие процесс диагностирования сложных систем, сводятся к следующим операциям: агрегат разбивается на подсистемы, которые в свою очередь разбиваются на точки, связанные между собой иерархической структурой. Разбиение агрегата на узлы способствует упрощению процедуры поиска возможных неисправностей, приводящих к отказу. Во многих случаях, если пренебречь некоторыми связями, диагностирование узлов возможно независимо друг от друга. Для получения достоверной информации о состоянии оборудования используются различные виды диагностических обследований, например общее по основным параметрам работоспособности объекта и поэлементное, сопровождающееся последовательным распознаванием неисправностей механизма.

Состояние элементов выявляется некоторой последовательностью проверок (измерений) называемых работами по исследованию вибрации. Совокупность проверок, достаточную для определения состояния агрегата вплоть до выявления характера неисправностей, называют диагностическим тестом. Такая проверка может быть поэлементной, когда проверяется исправность каждого элемента (узла) в отдельности; по модулям, когда производятся измерения в отдельных блоках, состоящих из ряда элементов, и по группам элементов, составляющим функциональное звено системы - отдельный механизм агрегата.

Первоочередными объектами диагностирования являются те элементы и сопряжения (узлы), отказ которых наиболее вероятен. Такие узлы называют критическими.

Критичность узлов оценивают коэффициентом повторяемости неисправностей, их средней частотой, процентным отношением числа появлений неисправностей данного элемента, а также стоимостными и трудовыми затратами на устранение пропущенных отказов и проведение диагностирования.

Статистический анализ показателей надежности и затрат на восстановление узлов позволяет получить характеристику и адрес наиболее слабого звена. Кроме указанных выше затрат, объект диагностирования характеризуется непрерывными затратами на поддержание его работоспособности.[3]

2.4 Виды отказов и дефектов и их связь с вибропроцессами

Достоверность оценки состояния агрегата при техническом обслуживании, включающем в качестве необходимой составной части техническое диагностирование, зависит от понимания сущности рабочих процессов, выступающих в качестве носителей диагностической информации, и от знания законов возникновения и развития неисправностей.

Отказы и дефекты связаны с вибрационными процессами в оборудовании различным образом, они могут быть вызываемыми вибропроцессами, вызывающими вибропроцессы или изменяющими их. При разработке методик диагностирования полезно выделять характерные стадии развития дефекта (отказа), поскольку каждая из них может характеризоваться своим комплексом диагностических параметров. Обычно различают следующие стадии:

· появление причин, вызывающих дефект или отказ;

· инкубационный период (накопление повреждаемости, зарождение дефекта и ранняя стадия развития, вызывающая изменение свойств, иногда трудно обнаруживаемого используемыми методами диагностики);

· развитый дефект, т. е. дефект, обнаруживаемый методами диагностики, но не вызывающий вторичных повреждений;

· развитие дефекта, вызывающее вторичные повреждения или изменения в оборудовании, характеризующиеся своими диагностическими параметрами;

· внезапное или мгновенное разрушение (имеет место не для всех дефектов), которое может вызывать или не вызывать вторичных разрушений.

Первые две стадии в большинстве случаев диагностируют по параметрам, характеризующим причины дефекта, длительность и степень их воздействия. Развитый дефект обнаруживают по параметрам, характеризующим степень его развития. Развитие дефекта, вызывающее вторичные повреждения дополнительно обнаруживается по диагностическим параметрам этих повреждений. В задаче диагностики внезапного или мгновенного разрушения, которое необходимо предотвратить при контроле оборудования, следует использовать параметры, характеризующие первые две стадии его развития.

В вибродиагностике следует учитывать тот факт, что дефекты на разных стадиях развития могут быть связаны с вибрационными процессами в оборудовании (колебаниями его деталей или динамическими процессами, их взывающими) различным образом, а переход от одной стадии развития к другой может быть постепенным или скачкообразным.

Дефекты обычно классифицируют по следующим аспектам, учитываемым при разработке и использовании методов и средств диагностики:

· по виду разрушения (усталость, износ, ползучесть, коррозия, термодеформации и т. д.);

· по моментам проявления (в процессе работы, при осмотрах и техническом обслуживании, при разборке);

· по временному характеру проявления (внезапные, постепенные, сбои, перемежающиеся отказы);

· по причинам возникновения (конструктивные, технологические, производственные, эксплуатационные, дефекты материала);

· по степени опасности;

· по последствиям (отказ, устраняемый при эксплуатации; отказ, ведущий к досрочному выводу оборудования из эксплуатации; отказ, ведущий к происшествию; отказ, ведущий к аварии);

· по способам устранения (заменой детали, регулировкой, мелким ремонтом, заменой узлов в эксплуатации, доработкой в заводских условиях и т.д.);

•         по связи дефектов и отказов между собой (независимые и зависимые).

 Рассмотрим основные факторы и процессы, вызывающие прочностные отказы и дефекты оборудования, их связь с вибрационными процессами.[3]

2.4.1 Загруженность деталей оборудования

Нагрузки бывают нескольких видов: статические, динамические (переменные и ударные), циклические.

Статические нагрузки могут оказывать влияние на вибрации в оборудовании, главным образом в тех случаях, когда они вызывают изменение геометрической формы деталей, например кинематических пар. Кроме того, под действием статических нагрузок могут изменяться частоты собственных колебаний деталей, вследствие увеличения жесткости, например, действие центробежных сил на диски и лопатки турбомашин. При действии достаточно высоких статических нагрузок в течение длительного времени, явления ползучести материала могут привести к изменению геометрической формы деталей и появлению трещин.

Циклические нагрузки не вызывают вибраций оборудования, но приводят к явлениям усталости металла, что в свою очередь может оказать влияние на вибрацию.

Динамические нагрузки - основная причина колебания деталей агрегатов и их динамической напряженности, приводящей к усталостным поломкам.[3]

2.4.2 Усталость

Существуют несколько видов усталостных разрушений деталей: типичная усталость под действием переменных напряжений происходит из-за развития трещины, распространяющейся в материале по экспоненциальному закону; контактно - усталостные разрушения (питтинг, шелушение, усталостное выкрашивание контактных пар), начинающиеся с зарождения язвины или отдельного очага усталостного разрушения и, затем, с увеличением числа язвин относительно быстрого разрушения; коррозионно-усталостные разрушения деталей начинаются с очага коррозии (например, подверженных воздействиям агрессивных газов), служащего началом трещин, после заполнения, которых продуктами коррозии происходит коррозионное растрескивание и разрушение деталей; термическая усталость на начальной стадии сопровождается слабым изменением геометрической формы тела вследствие образования сетки мелких трещин, затем магистральных трещин, приводящих к разрушению под действием динамических напряжений.

Под действием переменной нагрузки усталостная долговечность имеет обратно - степенную зависимость от ее значения с показателем степени порядка восьми и более в зависимости от материала.[3]

2.4.3 Связь усталости и вибрации

Вибрация вызывает усталостные разрушения деталей, действуя, как переменная нагрузка. При появлении усталостных трещин изменяются собственные частоты колебаний деталей вследствие изменения их жесткости и могут изменяться демпфирование и характер колебаний (например, начинают проявляться эффекты нелинейности), что может вызвать изменение характера вибрации данной детали.

Характер изменений при усталостных процессах таков, что существует инкубационный, обычно длительный, период медленного накопления повреждений с постоянной скоростью, после которого происходит резкое увеличение скорости накопления повреждений. Такому закону, очевидно, должно следовать и изменение интенсивности вибрации, связанной с явлениями усталости. Однако при этом следует учитывать возможное изменение частот и форм колебаний вибрирующих деталей - возможны резкие изменения интенсивности колебаний деталей, вошедших в резонанс. Для нормально работающих деталей (исправное состояние) в инкубационном периоде развития усталостных дефектов изменение вибрации происходит с постоянной скоростью (при этом возможно случайное медленное флуктуирующее изменение интенсивности). На стадии быстрого разрушения увеличивается частота случайных флуктуации и их размах (дисперсия), т.к. увеличивается скорость случайных изменений.[3]

2.4.4 Закономерности ползучести

В процессе ползучести выделяют три периода: сначала постепенное уменьшение скорости пластической деформации, затем процесс протекает с минимальной постоянной скоростью, причем с ростом напряжения и температуры скорость пластической деформации растет, и при этом продолжительность данного периода с точки зрения эксплуатации агрегата уменьшается, и, наконец, скорость деформации нарастает, пока не наступит разрушение.[3]

2.4.5 Остаточная деформация

Нагрузки, вызывающие напряжения, которые превышают предел упругости, могут привести к остаточной деформации и появлению трещин. Остаточные деформации изменяют геометрическую форму и размеры деталей, что влияет на вибрационные процессы, генерируемые взаимодействием деталей (кинематических пар).[3]

2.4.6 Износ

Возможны несколько видов износа, которые появляются в связи с одним или несколькими следующими процессами: микросрезанием, пластической или упругой деформацией, возникающей вследствие высоких местных напряжений, поверхностной усталостью при повторяющихся упругих деформациях поверхности, местным перегревом, окислением, забиванием микротрещин смазкой, что является причиной возрастания давления, которое приводит к повреждению поверхностного слоя. Эти процессы могут происходить одновременно и приводить к ниже перечисленным видам износа.

Абразивный износ. Возникает вследствие истирания трущихся поверхностей и прямо пропорционален удельному давлению на трущиеся поверхности и пути скольжения. Пример - износ подшипников. Истирание трущихся поверхностей, разделенных смазкой, вызывает струйный износ, а контактирующих (например, при задеваниях) фрикционный.

Заедание. Возникает вследствие контакта поверхностей в условиях разрушения масляной пленки. Различают следующие стадии этого процесса: увеличение коэффициента трения из-за нарушения режима смазки, резкий нагрев, разрушение поверхностного слоя, сопровождающееся свариванием металла двух поверхностей. Наиболее часто встречается в зубчатых муфтах и зацеплениях, а также поршневых агрегатах.

Усталостный износ (питтинг). Возникает вследствие усталости поверхностного слоя и при относительном скольжении поверхностей и вследствие микрошероховатостей. Наиболее часто встречается в зубчатых парах и подшипниках качения.

Коррозионный износ. Возникает вследствие взаимодействия деталей агрегата с агрессивной средой.

Кавитационная эрозия. Возникает вследствие локальных гидравлических ударов жидкости в зоне кавитации.

В процессе износа выделяют три стадии:

·   приработка, когда изменяется микро - и макроструктура поверхностей и имеет место уменьшение скорости износа;

·   нормальный износ, когда можно принять линейную связь между значением износа и временем;

·   прогрессивный износ, когда имеет место возрастание скорости износа.

Основными факторами, влияющими на значение нормального износа, являются удельное давление и относительная скорость движения трущихся деталей.

Износ деталей кинематических пар приводит к увеличению зазоров в парах, что усиливает проявление динамических сил взаимодействия деталей, приобретающего в некоторых случаях ударный характер, и обогащение вибросигнала шумовыми и импульсными составляющими. Износ может также изменить жесткостные характеристики системы, что влияет на частоты и формы колебаний.

Отказы из-за несовершенства изготовления и сборки оборудования.

Причинами отказов могут быть как эксплуатационные факторы, так и несовершенство изготовления и сборки оборудования. Эти причины весьма многообразны.

Причины отказов, закладываемые при проектировании машины, могут быть следующими: неудачный выбор формы деталей, например, с концентраторами напряжений и резким изменением сечений; неудачный выбор материалов и их сочетаний; недооценка нагрузок и действующих сил; неучет их возможных изменений в процессе эксплуатации машины и т. д.

Причинами отказов, закладываемыми при изготовлении машины, могут быть, например, неудачные допуски, использование бракованных деталей и материалов, нарушения технологии изготовления, неполнота контроля.

Нарушение технологии в процессе сборки - частая причина отказов, например, из-за неправильно установленных зазоров, пятна контакта, нарушения посадок, ослабления затяжки и др.

Другая частая причина - изменения конструкции или технологии, влияние которых на надежность машины трудно определяется при разработке и внедрении и проявляется в ходе эксплуатации машины.

В машинах протекают различные, связанные с их функционированием, динамические процессы, происходящие в различных средах: газовых, жидкостных, воздушных и т. д. Большинство этих процессов оказывают динамическое воздействие на элементы конструкции и вызывают их колебания. Некоторые динамические процессы (вибрационное горение, кавитация и др.) вызывают разрушение деталей машин. В диагностическом плане динамические процессы могут быть связаны с колебаниями элементов конструкции и как возбуждающие вибрацию, и как изменяющие ее.

Итак, I в процессе эксплуатации структурные параметры оборудования изменяются, упорядоченность системы в целом и ее функциональные качества ухудшаются, деградируют. Для того чтобы измерить степень этой деградации в данный момент и прогнозировать ее на ближайшее время, необходимо знать закономерность изменений структурных параметров под воздействием типичных эксплуатационных факторов. Такими изменениями структурных параметров механизмов являются изменения, приводящие к постепенному или внезапному отказу механизма.

Неисправности элементов конструкции механизма, развитие которых в процессе эксплуатации до критического уровня, т. е. до наступления отказа, не может быть зарегистрировано и проконтролировано средствами диагностирования, условно называются неисправностями, вызывающими внезапный отказ. Как говорилось ранее, такого рода отказы возникают, например, при статическом разрушении от действия мгновенно возникшей нагрузки, превышающей прочность элемента, при усталостном разрушении, возникающем в результате производственных дефектов (трещина, не снятые напряжения). Внезапный характер возникновения таких изменений затрудняет их индивидуальное прогнозирование. Неисправности элементов конструкции механизма, возникновение и развитие которых может быть зарегистрировано на ранней стадии возникновения и проконтролировано до критического уровня, называются неисправностями, вызывающими постепенный отказ. Такого рода отказы являются следствием естественного износа, в результате чего происходит постепенное, монотонное изменение структурных параметров. При этом износ может быть прогрессирующим, ускоряющимся, в случае жесткого сопряжения элементов, либо замедляющимся в случае упругих сопряжений.

Рис. 2.1. Схема характерных процессов изнашивания узлов механизма в зависимости от наработки. 1 - износ упругого сопряжения; 2 - износ жесткого сопряжения; 3 - классическая кривая Лоренца; 4 - усталостный или кавитационный износ; 5 - коррозионный износ.

Для выкрашивания, кавитации, коррозионного и некоторых других видов износа характерно наличие инкубационного периода tИ. Анализируя графики, приведенные на рис. 2.1., можно заметить некоторую общность кривых и возможность с достаточной точностью их описания функцией вида:

x = v tα ,

где х - значение параметра; v - скорость изменения параметра при t = l, уменьшенная в а раз; α - показатель степени; t - наработка.

В настоящее время показатель, α экспериментально определен для многих характерных объектов диагностирования. Например, для изменения теплового зазора клапана двигателя α = 1,1; для износа зубьев шестерен α = 1.5 и т. д.

В реальных условиях имеет место одновременное существование всех перечисленных типов деградации узлов механизма. Для того чтобы разработать метод и технологию диагностирования какого-либо объекта, необходимо знать закономерности изменения виброакустических характеристик со временем наработки.

Рис. 2.2. График изменения уровня вибрации с наработкой при локальном износе контактирующих поверхностей.

Как правило, эти закономерности не совпадают с изображенными на рис. 6, например, локальный износ контактирующих поверхностей вызывает сначала падение уровня вибрации (этап приработки), затем этот уровень практически остается неизменным на достаточно большом интервале времени (нормальная работа), и только на третьем этапе (интенсивный износ) наработки уровень начинает расти по экспоненте до момента отказа (рис. 2.2.).[3]

2.5 Требования к диагностическим признакам

Вибродиагностика оборудования есть не что иное, как распознавание классов технических состояний агрегата по совокупности его вибрационных характеристик. Эта проблема может быть решена как методами статистической теории распознавания при наличии большого объема информации, так и детерминистскими методами, более кратко описывающими наиболее существенные стороны явления.

Распознавание состояний оборудования - это отнесение предъявленного к опознанию виброакустического образа к одному из возможных классов (диагнозов) с помощью специально построенного решающего правила. Для успешного решения этой задачи должна быть набрана статистика соответствия диагностических признаков классам технических состояний. Исходя из изложенного выше, задачу диагностирования можно рассматривать как двойственную задачу: с одной стороны, задачу построения характеристики класса состояний, которому принадлежит совокупный виброакустический образ, и, с другой стороны, задачу принятия решения о принадлежности к одному из классов состояний испытуемого виброакустического образа. Решение такой задачи обеспечивается правильным выбором ряда структурных параметров (диагностических признаков), в частности параметров вибрации.

Рациональный выбор диагностических признаков, т. е. соответствующим образом представленных характеристик колебательных процессов, чувствительных к изменению технического состояния машин и механизмов, в значительной мере определяет успех диагностирования. Казалось бы, чем больше число признаков, тем полнее они характеризуют объект диагностирования и тем надежнее распознавание. Но это справедливо лишь в том случае, когда признаки независимы. Очевидно, что наиболее полезными признаками являются те, которые инвариантны (нечувствительны) к изменению внутри класса и резко меняются при переходе от одного класса к другому. Каждый из признаков, характеризующих состояние механизма, при измерении может получать случайные значения, как в результате погрешностей измерения, так и в результате разброса параметров состояний, принадлежащих одному классу. Наиболее информативными являются такие характеристики виброакустического сигнала, которые мало меняются от эксперимента к эксперименту при задании одних и тех же параметров технического состояния, т. е. имеют наименьшую дисперсию при условии, что средние значения этих признаков для разных дефектных состояний достаточно отличаются друг от друга, иначе говоря, дисперсия по всей совокупности состояний велика.

При выборе диагностических признаков необходимо учитывать ряд требований, вытекающих из задачи оптимизации диагностической системы. Прежде всего, признаки должны быть связаны с состоянием объекта, бразовывать достаточную систему для обеспечения достоверного диагноза. Предпочтительны признаки, которые позволяют обнаружить дефекты на возможно более ранних стадиях их развития. Признаки должны обеспечивать требуемую глубину диагноза, не усложняя процедуры и не увеличивая стоимости средств диагностирования.

В виброакустической диагностике часто прибегают к выбору таких признаков состояний, каждый из которых характеризует свой образ (характерные признаки), а минимизация описания объекта производится исходя из физических соображений.

Выбор информативных диагностических признаков тесно связан со структурой виброакустического сигнала агрегата. Именно поэтому в вибродиагностике важнейшая роль отводится модели формирования и изменения виброакустического сигнала при появлении и развитии дефектов.

Больше других разработаны детерминированные модели, в которых колебательные процессы представляются периодическими функциями, связанными с вращением или периодическим соударением элементов узлов механизма. Информативными диагностическими признаками здесь являются амплитуда, продолжительность и момент появления импульса, а также частота, амплитуда и фаза гармонического сигнала. Модели с детерминированными сигналами оправдали себя и дают хорошие практические результаты для сравнительно низкооборотных (1500...15000 об/мин) агрегатов с малым количеством источников возбуждения колебаний.

Наиболее употребительной характеристикой виброакустического - сигнала является энергетический спектр - поставщик информации об амплитудно-частотных изменениях в сигнале при появлении неисправности. В ряде случаев, например, при разработке системы диагностирования работоспособности агрегата, достаточно ограничиться данными спектрального анализа.

Намного сложнее обнаружить зарождающийся дефект высокооборотного (более 15000 об/мин) агрегата с большим числом взаимосвязанных источников возбуждения. Виброакустические сигналы в таких объектах, как правило, являются случайными процессами, а информативными признаками служат довольно сложные характеристики сигналов (корреляционные функции, кепстры, биспектры, функции распределения вероятностей, моментные характеристики и др.), получение которых доступно иногда только при использовании многоканальных виброанализаторов.

Перечень характеристик виброакустических процессов, наиболее часто используемых в диагностических целях при проведении мониторинга оборудования с помощью одноканальных сборщиков данных, приведен в приложениях.

Для выявления характерных диагностических признаков виброакустический процесс подвергается предварительной спектральной обработке, позволяющей выявить зоны и характер наибольших изменений сигнала в частотной области. На основании спектрального анализа выбирается способ извлечения из сигнала информативного компонента путем подавления помехи за счет фильтрации, интегрирования, детектирования, усреднения и т. п. Затем составляется перечень (словарь) диагностических признаков, чувствительных к определенному дефекту.[3]

2.6 Свойства вибросигнала роторных агрегатов

Представление вибросигнала полигармонической и квазиполигармонической моделями.

В оборудовании, рассматриваемом в настоящей книге, характер взаимодействия элементов подчинен периодическому закону, связанному с вращательным движением. К такого рода агрегатам относятся роторные, где периодическое возбуждение в наиболее простом виде проявляется как сумма гармонических составляющих, кратных основной частоте возмущения, т.е. в виде полигармонической вибрации.

x(t) = Σ ak·cos (k·ωr·t + φk)

В роторных агрегатах одной из основных частот возбуждения вибрации является оборотная (роторная) частота, называемая в дальнейшем частотой вращения ротора:

fr = ωr / 2π ,

где ωr - угловая частота вращения ротора.

На установившихся режимах спектр колебаний - дискретный со спектральными составляющими на частоте вращения ротор и ее гармониках (kfr).

Таким образом, информативными параметрами в такой модели колебаний являются значения амплитуд дискретных составляющих спектра на частоте вращения ротора и ее гармониках и скорость их изменения при увеличении наработки механизма. Амплитуды колебаний на роторных частотах определяются чаще всего величиной дисбаланса, несоосностью валов, кинематическими погрешностями и отношением критической частоты вращения ротора к рабочей.

Помимо упомянутой выше вибрации, кратной частоте вращения ротора, в спектре вибросигнала роторного агрегата могут присутствовать такие характерные частотные составляющие, как

fz = k (frz) , к = 1, 2, 3…n,

где z - число элементов взаимодействия на окружности ротора. Для зубчатого зацепления z равно числу зубьев шестерни; для турбины, насоса и вентилятора - числу лопаток на рабочего колеса и т. п.

Модель полигармонического возбуждения колебаний в роторных агрегатах является удобной формой представления спектра колебательного процесса, позволяющего сконцентрировать внимание лишь на определенных частотах kfB, кратных основной частоте возбуждения колебаний fB диагностируемого узла агрегата. Первичный процесс локализации источников повышенной виброактивности конструкции агрегата состоит как раз в выявлении потенциальных источников возбуждения, вызывающих колебания на данной частоте.

Практика вибродиагностики роторных агрегатов показала, что полигармоническая модель вибросигнала является лишь нулевым приближением в описании сложного колебательного процесса реального агрегата, хотя может с успехом использоваться в задачах локализации источников и в задачах диагностирования грубых дефектов типа разрушения лопаток турбины, деталей подшипников, поломки зубьев и т. п., вызывающих существенное увеличение уровня колебаний на определенных частотах. В работе реального агрегата абсолютное повторение с течением времени условий взаимодействия его деталей между собой и с внешней средой практически невозможно.

Погрешности изготовления и монтажа деталей, температурные изменения геометрических параметров деталей и зазоров в сочленениях, изменение вязкости смазки, искажение формы и качества поверхностей взаимодействующих деталей с наработкой, наконец, нестабильность оборотов вала двигателя, вызванная, например, нестабильностью частоты сетевого напряжения, и множество других случайных факторов приводят к флуктуациям амплитуд и размытию дискретных линий спектра полигармонических колебаний.

Более адекватной моделью процесса возбуждения колебаний является суперпозиция узкополосных случайных процессов с кратными средними частотами:

x(t) = ΣAk(t)·cos·[k·ωr·t - φk(t)] + ψ(t);         [1.1]

где kωr - средняя частота узкополосного процесса, Ak(t) - случайная, медленно меняющаяся огибающая узкополосного процесса, φk(t) - случайная, медленно меняющаяся фаза, ψ(t) - уровень шумового возбуждения.

Рис. 2.3. Спектры полигармонического и квазиполигармонического процесса.

Энергетический спектр такого процесса (см. рис. 2.3.) сосредоточен в узких полосах частот в окрестности kfr.

При моделировании возбуждения колебаний в роторных агрегатах изменение состояния агрегата можно оценивать по изменению не только величин амплитуд спектральных составляющих, но и уровня шумового возбуждения ψ(t) с равномерным спектром Sш (ω) в рассматриваемом диапазоне частот. Такая форма представления вибросигнала достаточно хорошо моделирует износ контактирующих поверхностей зубьев колес в редукторе, в подшипниках качения и т. п.

Соотношение энергии периодического и шумового компонентов является информативным параметром вибросигнала, широко используемым при формировании диагностических признаков состояния агрегата.

Импульсная модель акустического сигнала.

Квазиполигармоническая модель колебательного процесса [1.1] мало что говорит о соотношении амплитуд спектра на частотах kfr. Эту информацию может дать модель, базирующаяся на представлении процессов возбуждения колебаний в роторных агрегатах в виде периодической последовательности импульсов определенной формы. Такая модель достаточно универсальна, так как она позволяет математически описать процессы возбуждения колебаний как в роторных механизмах типа зубчатого зацепления, подшипников качения и скольжения, турбинах, вентиляторах, циркуляционных и центробежных насосах, так и в поршневых машинах с механизмами циклического ударного действия.

Обозначая функцию, определяющую отдельный импульс, через f(t), можно представить периодическую последовательность импульсов в виде

ξ(t) = Σf·(t - tk); [1.2]

где tk = kT + t0 , a k - целое число.

Функция ξ(t) может быть как детерминированной, так и случайной, отражающей случайность одиночного импульса, которая заключается в том, что его амплитуда, длительность и момент появления могут быть, вообще говоря, случайными величинами.

В ряде практических моделей вибросигнала функционирующих механизмов имеет место периодическая последовательность импульсов, модулированных по амплитуде, при неизменной форме, длительности и частоты следования импульсов. Такой вид модуляции, называемой амплитудно-импульсной модуляцией (АИМ), наиболее часто используется для математического представления акустического сигнала.

Если импульсы, сохраняя свою форму и величину, смещаются во времени на величину At, то имеет место временная импульсная модуляция (ВИМ). При этом различают фазово-импульсную модуляцию (ФИМ), когда импульсы имеют постоянную амплитуду и длительность, а меняется их положение на оси времени от периода к периоду, частотно - импульсную модуляцию (ЧИМ), когда импульсы сохраняют амплитуду и положение на оси времени, но меняется их длительность. Все виды модуляции в той или иной мере применимы к задачам моделирования акустического сигнала.

В работающем агрегате в зависимости от характера физического процесса, протекающего в нем, возможны различные отклонения в последовательности импульсов, которые можно охарактеризовать модуляцией амплитуды, длительности или моментов появления импульсов, однако при функционировании оборудования с заданной функцией взаимодействия деталей, определяющейся кинематикой агрегата, наиболее часто встречается амплитудная модуляция, обусловленная разбросом величины силы взаимодействия его элементов в каких-то пределах (неоднородность структуры контактирующих поверхностей зубьев, приводящая к вариации пятна контакта колес зубчатого зацепления; неравномерность воздушного потока в зазоре, отклонение геометрических размеров лопаток турбины вследствие обгара, эрозии и др.). В то же время погрешность окружного шага или явление заедания в зубчатом зацеплении, изгибная деформация, приводящая к неравномерному размещению лопаток в диске или на рабочем колесе турбины, являются причиной возбуждения модулированных по фазе импульсных колебаний.

На рис. 2.4. приведен случай периодической последовательности импульсов, следующих с тактовым интервалом Т, равным, например, периоду пересопряжения зубьев в зубчатом зацеплении, модулированных по амплитуде квазидетерминированным процессом. То - период низкочастотного процесса, например оборотов вала шестерни. В нижней части рисунка изображен спектр такого колебательного процесса. В окрестности основных частот 2π/Тz следования импульсов в спектре присутствуют комбинационные частоты, отстоящие от основных на q(2π/To), где q - целое число. Амплитуды комбинационных составляющих равны 2σ2q/T, где σ2q - дисперсия компоненты с номером q, σ2 - суммарная дисперсия модулирующей функции.

Рис. 2.4. Последовательность равноотстоящих прямоугольных импульсов, имеющих одинаковую длительность и случайную амплитуду (верхний график) и спектр периодической последовательности прямоугольных импульсов, модулированных по амплитуде низкочастотным полигармоническим процессом.

Для формирования диагностического признака используют обычно представление сигнала в достаточно узком диапазоне частот, например, в зоне одной из гармоник основной частоты возбуждения механизма (зубцовой, винтовой, лопаточной и др.).

Рис. 2.5. Узкополосный случайный процесс (сплошная линия), его огибающая (пунктир) и спектр огибающей.

При этом представляют колебания в виде модуляции высокочастотного гармонического сигнала суммой гармонических же низкочастотных колебаний.

На рис. 2.5 приведен узкополосный случайный процесс (амплитудная модуляция), описываемый математическим выражением вида:

y (t) = A [1+m·E (t)] ·cos (ω0t + φ0);

где ω0 - несущая частота, например, частота пересопряжения зубьев, А - амплитуда, m - глубина модуляции (меняется от 0 до 1). E(t) - в общем виде сумма гармонических низкочастотных колебаний кратных основной частоте возбуждения Ω0, например, частоте вращения шестерни:

E(t)= ΣBkcos(kΩ0t + φk).

Выделение огибающей производится с помощью амплитудного детектора.[3]

2.7 Методика диагностирования зарождающихся дефектов

Дефекты контактирующих поверхностей и характер их проявления в виброакустическом сигнале.

Вибродиагностика базируется на анализе изменений свойств вибропроцессов, предполагая, что вибросигнал работающего агрегата содержит всю информацию о взаимодействии его деталей. Задача заключена в разработке алгоритмов извлечения из него информации о состоянии определенного узла и локализации возникающих неисправностей. Большой уровень помех и сравнительно малые изменения полезного сигнала определяют специфику поиска информативных диагностических признаков, чувствительных к развивающемуся дефекту и инвариантных к мешающим факторам. Лишь в исключительных случаях увеличение общего уровня вибросигнала свидетельствует о зарождении определенного дефекта. Как правило, существенное увеличение общего уровня вибрации или отдельных спектральных компонентов говорит лишь о грубых изменениях состояния диагностируемого агрегата, приводящих к потере его работоспособности. Локализация же развивающейся неисправности, еще не приведшей к развитому дефекту, определение степени развития зарождающегося дефекта и прогнозирование возможны лишь на основе исследований тонкой структуры виброакустического сигнала и связи его с кинематикой и динамикой агрегата.

Изучение свойств вибропроцессов роторных агрегатов, показало, что при появлении неисправности меняется структура сигнала, т. е. меняется соотношение между его компонентами или появляются новые. Это подтверждается моделированием колебаний кинематических звеньев механизмов, представляемых в виде суперпозиции квазиполигармонических и шумовых процессов.

Периодическая последовательность импульсов, следующих с частотой пересопряжения зубьев в зубчатых передачах, модулированных по фазе и амплитуде низкочастотным полигармоническим процессом, и шумовой компонент имеют спектр мощности, вида:

S(t) = Σakδ(f - kfr) + Σamδ(f - mfz) + Σ аkmδ[f - (mfz ± kfr)] + SN(f) [1.3]

содержащий:

спектр низкочастотного и среднечастотного процесса с частотами, кратными оборотной частоте fr;

спектр высокочастотного процесса с частотами, кратными зубцовой частоте fz;

спектр комбинационных частот mfz ±kfr;

спектр шумовой компоненты SN(f).

Аналогичная картина наблюдается при возбуждении колебаний в других механизмах с вращающимися деталями и их узлов, содержащих пару трения, например, турбин, насосов, подшипников качения и скольжения. При появлении неисправностей механизма меняется характер взаимодействия элементов кинематической пары, что приводит к изменению энергетического баланса выражения [1.3].

Характер изменения вибрационных процессов, вызванных изменением состояния контактирующих поверхностей, имеет ряд общих черт, несмотря на различие конструкций и назначение кинематических узлов. Это позволяет сформулировать некоторые правила диагностирования дефектов контактирующих поверхностей типа абразивного износа, выкрашивания и задира, общие для пары зубчатых колес, подшипников скольжения и качения, сопряжения втулка цилиндра-поршень и других узлов, содержащих пару трения.

Истирание (абразивное изнашивание) контактирующих поверхностей сопровождается появлением микронеровностей в зоне контакта, нарушением микро- и макрогеометрии деталей, следствием чего является рост шумовой компоненты SN(f), увеличение амплитуд гармонического ряда mfz основной частоты возбуждения кинематического узла и перераспределение амплитуд между гармониками этого ряда.

Выкрашивание (локальное изнашивание) контактирующих поверхностей, проявляющееся в развитии раковин в зоне контакта, вызывает появление периодических всплесков вибросигнала, модулирующих основной процесс возбуждения колебаний.

Периодическое попадание раковин в зону контакта при вращательном движении элементов агрегата (зубчатых колес, тел вращения, сепаратора или обоймы подшипников качения) приводит к появлению в спектре сигнала комбинационных частот mfz±kfr в окрестности основных частот возбуждения, вызванных амплитудной модуляцией. Рост числа выбросов при увеличении их амплитуд, вызванных развитием данного дефекта, приводит к увеличению глубины амплитудной модуляции, росту числа комбинационных частот и перераспределению энергии между ними при неизменности амплитуд основных частот возбуждения.

Развитие трещины в теле детали вращения, приводящее к поломке (зубьев колеса редуктора, сепаратора или обоймы подшипника качения), очень сходно по своему проявлению в спектре сигнала с развитием выкрашивания, но скорость развития данного дефекта значительно выше.

Задир контактирующих поверхностей, являющийся следствием увеличения коэффициента демпфирования механической системы, сопровождается мгновенным разогреванием локальных участков, "схватыванием" поверхностей в зоне контакта и последующим наволакиванием металла. Как правило, задир (заедание) развивается при неправильных условиях эксплуатации механизмов: при нарушении условий смазки, при увеличении нагрузки сверх допустимых пределов, при попадании посторонних предметов в зону контакта. Явление задира приводит к нарушению периодичности движения деталей агрегата, к флуктуациям скорости вращения, к появлению выбросов в вибросигнале, к явлению фазовой модуляции на основных частотах возбуждения. С развитием задира вибросигнал становится существенно нестационарным из-за нерегулярности выбросов. В спектре сигнала наблюдается падение амплитуд основных частот возбуждения mfz при одновременном росте амплитуд комбинационных частот (mfz±kfr).

Известно, что отклик механической системы на воздействие кратковременного одиночного импульса, имеющего широкополосный спектр, можно наблюдать на собственных частотах системы, но энергия отклика на каждой из этих частот мала даже при воздействии на систему последовательности импульсов, поэтому данные спектрального анализа колебаний при зарождении и развитии дефектов типа выкрашивания, появления трещин и задира не позволяют с достаточной достоверностью определить вид дефекта. Спектр мощности, являясь усредненной энергетической характеристикой сигнала, годен лишь для распознавания предаварийных ситуаций, находящихся на грани катастрофических изменений в механизме.

Для выявления дефектов на ранней стадии необходимо привлекать более информативные характеристики, такие, например, как число выбросов сигнала в единицу времени, превышающих некоторое пороговое значение, глубина амплитудной и фазовой модуляции, спектр огибающей, кепстр.

Большинство методов диагностирования зарождающихся дефектов механизмов имеет в своей основе одну и ту же отправную диагностическую модель: развитие дефекта вызывает рост амплитуд и числа кратковременных импульсов в вибросигнале. Задача состоит в применении оптимального способа обработки сигнала, который сводит к минимуму влияние помех и позволяет однозначно соотнести полученную характеристику сигнала с видом дефекта.[3]

.8 Способы выделения информативных компонентов

Характер изменения структуры вибросигнала при выявлении неисправности определяет способ его обработки для выделения информативного компонента, характеризующего изменение технического состояния объекта диагностирования. В зависимости от типа агрегата и вида возникшего в нем дефекта используются различные способы увеличения отношения сигнал/помеха.

Если физика воздействия неисправности на колебания механизма связана с появлением амплитудной или фазовой модуляции, то исследуются свойства огибающей вибросигнала.

Появление в сигнале или усиление периодического компонента заставляют искать эффективный способ выделения периодического сигнала на фоне помехи, например, к методу синхронного накопления.

Появление или усиление полигармонических колебаний можно уловить с помощью кепстрального анализа, сжимающего информацию об изменениях в сигнале до обозримого количества гармоник, амплитуды которых легко оценить количественно.

Возникновение и развитие дефектов в механизмах приводят к появлению нелинейных эффектов, использование которых для формирования диагностических признаков позволяет получить более ценную диагностическую информацию, чем на основе рассмотрения линейных динамических моделей. Для этой цели используют величины амплитуд комбинационных частот, глубину амплитудной модуляции или частотной девиации.

Перечисленные выше методы анализа виброакустических процессов позволяют сформировать характерные диагностические признаки зарождающихся дефектов даже в тех случаях, когда спектр мощности сигнала практически не меняется. При наличии инвариантности диагностических признаков гарантируется достоверность диагностирования даже на ранней стадии развития дефекта.[3]

2.9 Методика проведения диагностических виброизмерений роторных агрегатов

Последовательность действий при измерении вибрации и оценке состояния оборудования и выводе оборудования в ремонт должна детально определяться требованиями заводов изготовителей, отраслевыми Руководящими Документами, стандартами России и Регламентом, утвержденным руководителем предприятия, при этом отступления недопустимы. При разработке Регламента предприятия в качестве дополнительной информации следует учитывать приведенные в этой главе сведения. Авторы не несут ответственности за внеплановые отказы оборудования и финансовые издержки, связанные с неправильным применением описанной методологии, поскольку виды, периодичность, необходимая точность измерений для вибрационного диагностирования, решение задач контроля, оценки технического состояния агрегатов, выявления дефектов и причин их образования, а также назначения оптимальных сроков эксплуатации до ремонта определяются в первую очередь спецификой оборудования, уровнем технологии ТО, квалификацией обслуживающего персонала и многими другими факторами, которые должны учитываться в каждом конкретном случае при формировании комплекса работ по вибромониторингу оборудования. В настоящей главе излагается только общий подход, которому, по мнению авторов, рекомендуется следовать при решении данного вопроса.

Организация работ по исследованию вибрации.

Категории оборудования и мониторинг.

В силу того, что организация технического обслуживания оборудования по фактическому техническому состоянию (ОФС) требует значительных исходных вложений трудовых и финансовых ресурсов, целесообразно при его организации рассматривать различные компромиссные варианты, которые могут быть приняты для максимизации экономического эффекта. Поскольку во многих случаях нерационально затрачивать время и прикладывать значительные усилия, производя оценку состояния всего парка оборудования предприятия с использованием детального спектрального, кепстрального виброанализа, анализа огибающих и др., оптимально разработать для каждой конкретной группы агрегатов и ситуации индивидуальный подход распознавания состояния с использованием минимума необходимой для этого информации, а затем подвергать более детальному виброанализу только ту часть оборудования, состояние которой изменяется достаточно быстро.

Для решения этой задачи необходимо оборудование разделить на категории в зависимости от потенциальной возможности и значимости внеплановых отказов, а также сложности обслуживания. Как правило, большая часть роторных агрегатов может быть отнесена к одной из следующих пяти категорий:

-я категория - критические основные агрегаты большой единичной мощности, где внеплановый отказ или авария сопровождаются значительными потерями продукции, серьезными экологическими последствиями и др.; в эту категорию включают, как правило, непрерывно эксплуатируемые безрезервные турбоагрегаты, компрессора и насосы единичной мощностью свыше 1 МВт;

-я категория - критические основные агрегаты средней единичной мощности, где внеплановый отказ или авария сопровождаются значительными потерями продукции, серьезными экологическими последствиями и др.; в эту категорию включают, как правило, непрерывно эксплуатируемые безрезервные турбоагрегаты, компрессора и насосы единичной мощностью 0,2...1 МВт;

-я категория - критические или, возможно, склонные к внеплановым отказам и авариям основные агрегаты со сложным ТО, где внеплановый отказ или авария подвергнет опасности остановки, но не прервет основное производство; в эту категорию включают, как правило, резервированные турбоагрегаты, компрессора и насосы единичной мощностью свыше 200 кВт;

-я категория - критическое вспомогательное оборудование, требующее необременительного обслуживания; в эту категорию включают, как правило, компрессора и насосы единичной мощностью менее 200 кВт;

-я категория - некритическое вспомогательное оборудование, технологические обвязки (трубопроводы, аппараты, арматура).

Оборудование 1 категории и наиболее ответственные позиции оборудования 2 и 3 категорий целесообразно оснащать стационарной аппаратурой контроля рабочих параметров, т.е. применять непрерывный контроль, позволяющий быстро распознать состояние и продиагностировать агрегат. Поскольку этот способ является дорогостоящим, в промышленной практике существует ограниченный ряд агрегатов, где непрерывный контроль может окупить вложенные средства. К ним относятся:

критические агрегаты и агрегаты, определяющие качество продукции: например, если внеплановый отказ приведет к дорогостоящему ремонту или к значительному снижению выпуска продукции, или если в производственных процессах повышенная вибрация оборудования может ухудшить качество продукции, то для таких агрегатов непрерывный контроль позволит быстро предупредить об изменении контролируемого параметра (уровня вибрации и др.), т.е. изменении состояния, что обеспечит персоналу предприятия возможность предвидеть развитие проблемы и принять Необходимые меры до того, как будет нанесен экономический ущерб;

пожаро- и взрывоопасные производства, и агрегаты в которых могут скоротечно развиваться катастрофические поломки, разрушающие сам агрегат или соседнее оборудование;

агрегаты, находящиеся в труднодоступных местах;

агрегаты с периодически возникающими отказами;

агрегаты, на которых в прошлом имели место внезапные отказы, или непонятные процессы вызывают выход агрегата из строя;

требования производственного процесса.

Масштаб охвата периодическим мониторингом (распознаванием состояния) агрегатов четвертой и пятой категорий зависит от многих факторов, индивидуальных для каждого предприятия, немаловажное место среди которых занимают наличие специалистов и виброизмерительного оборудования, а также результаты функционально - стоимостного анализа.[3]

2.10 Виброконтролепригодность оборудования

Виброконтролепригодность - это пригодность агрегата для вибродиагностики. Она должна обеспечиваться при проектировании агрегата, в ходе его доводки, монтажа или эксплуатации конструктивными решениями, выбором диагностических средств и проведением специальных испытаний для отработки диагностических методов и средств.

Пригодность эксплуатируемого агрегата для вибродиагностики определяется возможностями использования штатных и дополнительных средств. При конструировании, доводке, монтаже и эксплуатации агрегатов наибольшие затруднения обычно вызывает определение мест установки вибродатчиков, которые требуется ставить с учетом местонахождения устраняемой неисправности.

Основное правило размещения вибродатчиков - максимально возможное их приближение к диагностируемому узлу и установка на жесткие элементы конструкции с подготовленной поверхностью. Желательно, чтобы число стыков деталей на путях прохождения вибросигналов от диагностируемой детали к месту установки датчика было минимальным. При выборе этого места учитывают также резонансные свойства конструкции в требуемой полосе частот. Направление измерительной оси вибродатчика желательно ориентировать по линии действия силы, вызывающей виброакустический сигнал.

Значительную часть потенциально ненадежных деталей выявляют ускоренными эквивалентными и циклическими испытаниями агрегатов еще в ходе отработки опытных образцов. При доработке конструкции по выявленным "слабым местам" предусматривают конструктивные решения, обеспечивающие требования вибродиагностики. Однако, иногда ненадежные детали со значительно укороченным (по сравнению с другими деталями агрегата) ресурсом проявляются лишь на этапе эксплуатации и требуют особого наблюдения.

Возможность установки вибродатчика обеспечивается созданием соответствующих площадок (на фланцах, бобышках, приливах и т. д.), либо возможностью установок специальных крепежных элементов (болтов, гаек с площадками под вибропреобразователи) взамен штатных, либо возможностью установок специальных кронштейнов.

В вибродиагностике машин широко используют пьезоэлектрические вибропреобразователи (пьезодатчики), обычно малогабаритные, что облегчает задачу по выбору мест их установки.

Места установки вибродатчиков, которые будут использоваться только в случаях необходимости для специальных исследований при возникновении неисправностей при эксплуатации, следует указывать в технической документации машины и Регламенте проведения виброизмерений предприятия. Кроме того, должны быть указаны способы крепления преобразователей, технология прокладки электропроводки от вибродатчика к средствам диагностики и возможности использования других сигналов, например, сигналов частоты вращения роторов.

В связи с тем, что техническое обслуживание эксплуатируемых агрегатов иногда проводится по "непредусмотренным" при проектировании агрегата отказам, требуется реализация принципа адаптирования контролепригодности к отказам, возникающим в ходе эксплуатации.[3]

2.11 Контрольные точки измерений вибрации

Поскольку реакции механических систем на возбуждение механическими колебаниями определяются сложными физическими процессами, то при измерении даже на одном элементе агрегата в близких друг к другу точках ввода может наблюдаться различный характер исследуемых колебаний. Вышесказанное особенно актуально для высокочастотной составляющей вибросигнала, что часто определяется различными типами распространения высокочастотных колебаний по поверхности.

Важно производить замеры вибрации в одних и тех же местах, называемых контрольными (штатными) точками измерения вибрации.

Обычно, измерения параметров вибрации в контрольных точках производятся на подшипниковых опорах агрегата, корпусе агрегата и на анкерных фундаментных болтах.

Абсолютную вибрацию (при диагностировании большинства механических дефектов) рекомендуется измерять в трех взаимно перпендикулярных направлениях: вертикальном, горизонтально - поперечном и осевом. Преобразователи для измерения горизонтально - поперечной составляющей вибрации крепят на уровне оси вала против середины длины опорного вкладыша. Осевую составляющую вибрации следует измерять в точке, максимально приближенной к оси вала на корпусе опоры подшипника вблизи горизонтального разъема между крышкой и корпусом. Вертикальную составляющую вибрации измеряют на верхней части крышки подшипника над серединой его вкладыша.

Рис. 2.6. Типичные контрольные точки измерений вибрации на корпусе подшипника.

Допускается измерение вертикальной, горизонтальной и осевой составляющих вибрации путем установки на верхнюю часть крышки подшипника трехкомпонентного вибродатчика для измерений вибрации во взаимно перпендикулярных направлениях совпадающих с главными осями агрегата.

В силу экономических соображений при изучении виброконтролепригодности каждого конкретного агрегата и подготовке контрольных точек всегда возникает вопрос о пространственном направлении измерений, оптимальном с точки зрения распознавания состояния определенного узла агрегата. Решающего правила или общего ответа на этот вопрос нет, но если невозможно проведение измерений в по трем главным направлениям в зоне одного подшипника или требуется минимизация количества замеров, то допускается измерение вибрации по двум направлениям: осевом и одном из поперечных направлений. Предпочтение отдается поперечному направлению, как правило, соответствующему направлению минимальной жесткости системы. Допускается также осевую вибрацию привода, нагнетателя и др. узлов агрегата измерять только у подшипника свободного конца вала.

Измерение вибрации при диагностировании подшипников качения производится на подшипниковых щитах в поперечном направлении, желательно в нижней части щита, как показано на рис. 2.7. а).

Рис. 2.7. Направления и точки измерения вибрации электрической машины при диагностировании механической (а) и электромагнитной (б) систем.

Точки и направления измерения сигнала вибрации для диагностирования моделей механической и электромагнитной систем электрических машин различны. На рис. 2.7. б) показаны основные точки измерения сигнала вибрации на корпусе машины при вибродиагностировании ее электрической несимметрии. В ряде случаев эти точки при измерении поперечной составляющей вибрации могут совпадать с точками измерения вибрации на подшипниковых щитах.

Нарушения гидродинамики потока, например, кавитацию, во многих случаях следует контролировать, измеряя сигнал вибрации на корпусе в районе входного патрубка насоса.

Места установки датчиков.

Датчик следует закреплять так, чтобы его измерительная ось совпадала с нужным при измерении направлением. Как правило, измерительная ось перпендикулярна плоскости крепления датчика (его рабочей поверхности). Цель измерения и анализа вибрации обычно диктует расположение мест крепления пьезодатчика на исследуемом объекте, см. приведенный на рис. 2.8. пример.

Рис. 2.8. Рекомендуемые места крепления датчика.

В большинстве случаев целью измерений вибрации является контроль условий работы вала и подшипника. Датчик следует устанавливать так, чтобы на его рабочую поверхность непосредственно действовали механические колебания подшипника. Датчик 3 воспринимает механические колебания подшипника при меньшем влиянии вибрации, возбуждаемой другими узлами и деталями агрегата, по сравнению с датчиком 4, который воспринимает преобразованные при прохождении через разъемное соединение колебания подшипника и механические колебания, генерируемые другими узлами агрегата. Аналогично, датчик 1 расположен более целесообразно с точки зрения распространения механических колебаний, чем датчик 2. Измерение вибрации на тонкостенных участках корпусов и крышек недопустимо.[3]

2.12 Способы крепления датчика на поверхности

виброакустический диагностика дефект оборудование

Качественное и надежное крепление вибродатчика на поверхности исследуемого объекта является одним из самых важных условий достижения точных и надежных результатов при измерениях вибрации и распознавании состояния оборудования. Ненадежное крепление датчика приводит к уменьшению области линейности амплитудной характеристики датчика, и, следовательно, значительному уменьшению диапазона измерений акселерометра.

При проведении измерений измерительный кабель не должен подвергаться интенсивным колебаниям и должен быть удален (по мере возможности) от источников сильных электромагнитных полей.

Наилучшим считается крепление датчика на гладкой плоской поверхности ввода прочной стальной шпилькой. На рабочую поверхность датчика рекомендуется наносить слой консистентной (силиконовой) смазки, что увеличивает общую жесткость механического соединения датчика и объекта измерений и создает хороший акустический контакт.

Глубина резьбового отверстия должна быть достаточной, чтобы шпилька не упиралась в дно отверстия в основании датчика. В соответствии с рекомендациями ISO 1101 - 1969 поверхность для крепления датчика должна удовлетворять следующим условиям:

•         шероховатость поверхности - не более 1,6 мкм;

•         неперпендикулярность оси резьбового соединения к плоскости крепления преобразователя - не более 0,02 %;

•         неплоскостность поверхности крепления - 0,01 % .

Оптимальный крутящий момент при креплении датчика на шпильку диаметром 5...7 мм - 1,7...2 Нм.

На рис. 2.9. показана амплитудно-частотная характеристика пьезодатчика общего назначения, закрепленного стальной шпилькой на гладкой поверхности объекта. В этом случае резонансная частота пьезодатчика практически совпадает с резонансной частотой полученной при калибровке производителем (примерно 33 кГц).

Рис. 2.9 Амплитудно-частотная характеристика пьезодатчика при применении для крепления датчика стальной шпильки

Крепление при помощи шпильки имеет неудобства: затраты времени при выполнении крепежа и необходимость проведения слесарных работ.

Альтернативным методом крепления пьезодатчиков является крепление на тонком слое пчелиного воска. При этом незначительно уменьшается его резонансная частота (примерно 29 кГц).

Рис. 2.10. Амплитудно-частотная характеристика пьезодатчика при применении для крепления датчика пчелиного воска.

Недостатками этого метода крепления являются размягчение воска с ростом температуры, так, что его можно применять в температурном диапазоне до 35...40 градусов Цельсия и ненадежность крепления сравнительно крупных датчиков, особенно в направлении измерения, отличном от вертикального. Крепление датчика пчелиным воском на гладкой чистой поверхности при измерении вибрации в вертикальном направлении можно считать допустимым для датчиков массой не более 20 г при виброускорениях с амплитудами (диапазон измерений) до 100 м/с2. При креплении пьезодатчика при помощи воска необходим определенный опыт, иначе этот метод крепления может оказаться ненадежным.

Широкое распространение в силу простоты и дешевизны нашло крепление датчиков на гладкой поверхности объекта с помощью постоянного магнита. При этом статическая сила сцепления магнита с измерительной поверхностью во многом влияет на диапазон измерений. Требования к обработке поверхности те же что и для шпилечного соединения.

Рис. 2.11. Амплитудно-частотная характеристика пьезодатчика при применении для крепления датчика постоянного магнита.

Резонансная частота в этом случае уменьшается примерно до 7... 15 кГц и зависит от типа магнита. То есть, этим методом можно пользоваться при измерении и анализе вибрации с верхним пределом частотного диапазона измерений 2...5 кГц.

Рис. 2.12. Амплитудно-частотная характеристика пьезодатчика при применении щупа.

Наиболее простым и быстрым является измерение вибрации с помощью щупа, соединенного с вибродатчиком. Однако рабочий частотный диапазон при этом в большинстве случае составляет примерно 10... 1000 Гц.

Угол между измерительной осью вибродатчика и направлением измерения не должен превышать 25 градусов. Следует также учитывать, что при применении различных типов щупов рабочий частотный диапазон может существенно изменяться.[3]

2.13 Обозначение точек контрольных измерений вибрации

Обозначение точек измерения устанавливается Регламентом измерений предприятия для типов оборудования по единой схеме. Обычно, в буквенно-цифровую комбинацию, составляющую код измерительной точки могут вносить:

•         индекс принадлежности к узлу агрегата (например, М - мультипликатор, Д - двигатель, К - компрессор и т. д.);

•         номер или положение подшипника (например, передний подшипник - П или У - упорный и т. д.);

•         направление измерения (например, V - вертикальное, Н - горизонтально - поперечное и т. д.);

Обычно карты регистрации уровней вибрации и программы обработки информации содержат наименования узлов агрегата, принятые Регламентом предприятия.[3]

2.14 Данные измерения вибрации и способы ведения мониторинга

При проведении периодического вибромониторинга обычно используют три основных типа данных получаемых при измерении вибрации: общие уровни вибрации, формы и спектры сигнала вибрации. На многих предприятиях проводят измерения только общих уровней вибрации и анализ их трендов, в то время как спектры и формы сигналов вибрации или не собираются вовсе, или собираются лишь с агрегатов, имеющих развитые дефекты.

Однако оказывается, что появление и развитие многих дефектов оборудования может сопровождаться при его работе ростом не столько "высокоэнергетичных" составляющих вибрации, сколько отдельных частотных составляющих или их групп сравнительно низкой амплитуды. Следовательно можно установить (определить) некоторые полосы частот, соответствующие отдельным дефектам или группам дефектов. Вибрацию в частотных полосах весьма удобно и целесообразно просматривать с целью поиска изменений уровней вибрации, которые могут говорить об изменении состояния агрегата и, в этом случае, проведении более детального анализа. Данный поиск обычно включает как сравнение амплитуд вибрации с фиксированными уровнями тревог, так и статистический анализ изменений, и сравнение с исходными значениями. Только в этом случае суждение о текущем состоянии агрегата будет выноситься с учетом его предыдущих состояний.

Для агрегатов с изменяемой частотой вращения ротора необходимо обеспечить измерение фактической частоты вращения и получение соответственно установленных параметров анализа и частотных полос. Эта процедура называется "частотной нормализацией". При использовании такой процедуры, ширина частотных полос определяется как функция частоты вращения ротора. Таким образом, ширина каждой частотной полосы автоматически регулируется во время сбора данных на основе фактической частоты вращения ротора агрегата.

При плановых остановах рекомендуется записывать частотные характеристики на выбеге и/или пуске агрегата. Текущие данные измерения вибрации необходимо сравнивать с записанными ранее. При сравнении однотипных данных, полученных в разное время, легко зафиксировать любое изменение резонансных частот и амплитуд, которое может указывать на происходящие изменения в системе ротор - опора - фундамент.

Весьма важным при приведении мониторинга состояния оборудования может оказаться периодический анализ изменений фазы вибрации на частоте вращения ротора. Фазовое окно должно быть установлено таким образом, чтобы учесть возможные изменения режима. Для установки пределов такого окна может потребоваться накопление статистических данных, т.е. проведение нескольких замеров вибрации.[3]

2.15 Проведение измерений

.15.1 Подготовка к проведению измерений

При развертывании системы периодического мониторинга оборудования или включении дополнительного агрегата в число диагностируемых по параметрам вибрации необходимо оборудование точек измерения вибрации. Точки измерения обычно назначаются в соответствии с Регламентом предприятия. Требования к оборудованию точек измерений описано ранее.

Механики или операторы цехов (установок, станций) должны иметь карты регистрации уровней вибрации диагностируемого оборудования, содержащие нормируемые уровни вибрации и перечень регистрируемых сопровождающих технологических параметров. Карты регистрации уровней вибрации разрабатываются и распространяются службой Технической диагностики.[3]

2.15.2 Проведение измерений

Диагностические измерения и исследования вибрации оборудования можно условно разделить на следующие виды: контрольные измерения работающего агрегата, специальные диагностические измерения работающего агрегата, а также обследование остановленного агрегата.

Контрольные измерения предназначены для распознавания и прогнозирования технического состояния агрегата с учетом влияния на состояния технологических режимов эксплуатации оборудования. Контрольные измерения в свою очередь можно разделить на текущее контрольное измерение вибрации и полное контрольное измерение вибрации.

Специальные диагностические измерения и обследование остановленного агрегата предназначены для выявления дефектов и причин их возникновения, оценки и прогнозирования степени развития дефектов и разработки Рекомендаций по их устранению.[3]

2.15.3 Текущее контрольное измерение

Задачей текущего контрольного измерения вибрации является:

•         определение текущего общего уровня вибрации в контрольных точках;

•         сравнения текущего общего уровня вибрации с нормами (уровнями тревог);

•   если обнаружено превышение общим уровнем вибрации установленных норм (уровней тревог) или появление тенденции возрастания уровня вибрации (например, более чем 1 мм/с за неделю), необходимо безотлагательное проведение полных контрольных измерений;

Целесообразно проводить контрольные измерения с момента пуска агрегата после ремонта и до остановки агрегата с периодичностью раз в сутки или раз в смену, что должно определяться Регламентом предприятия. Результаты измерений должны регистрироваться в вахтовом журнале или ответственным специалистом, осуществляющим мониторинг.

Для оборудования 4 и 5 категорий число измерительных точек агрегата для текущих контрольных измерений иногда минимизируют, оставив только точку с максимальной вибрацией на каждом подшипниковом узле. Достаточно часто, если проведение полных контрольных измерений не показывает изменения вибросостояния такого оборудования, для текущих контрольных измерений оставляют по одной точке на каждый узел агрегата.

Текущее контрольное измерение позволяет с минимальными трудозатратами обеспечить мониторинг состояния оборудования в период между более дорогими полными контрольными измерениями вибрации и, в большинстве случаев, вовремя обратить внимание на изменение состояния оборудования, если оно происходит.[3]

2.15.4 Полное контрольное измерение вибрации

Задачей полного контрольного измерения вибрации является:

•         определение текущего уровня контролируемого параметра вибрации в контрольных точках;

•         распознавание состояния оборудования, включающее сравнение текущего уровня контролируемого параметра вибрации с нормами (уровнями тревог);

•         предварительная оценка степени опасности повышенной вибрации (связанных с этим обстоятельств) и локализация мест с максимальной вибрацией, если обнаружено превышение уровнем вибрации норм (уровней тревог);

•         принятие немедленного решения о допустимости эксплуатации оборудования: если проблема очень серьезна (в зависимости от особенностей Регламента виброизмерений предприятия), возможно проведение частотного анализа и установление общего характера вибрации на месте измерения; при необходимости измеряется вибрация в дополнительных точках;

•         регистрация, запоминание и анализ (при необходимости) результатов измерений;

•   составление заключения о текущем состоянии агрегата и возможности его дальнейшей эксплуатации (например, неограниченная по времени эксплуатация, ограниченная по времени эксплуатация, эксплуатация недопустима и др.) и, по возможности, определение объема работ по устранению повышенной вибрации (в том случае, если установлено превышение уровнем вибрации норм, и при этом становятся ясными причины повышенной вибрации).

Полное контрольное измерение вибрации должно включать в себя опрос эксплуатационного персонала, при необходимости ознакомление с документацией на оборудование, осмотр агрегата, подготовку виброаппаратуры и проведение измерения вибрации, составление отчетной документации.

Опрос обслуживающего персонала необходим для прояснения следующих вопросов:

если были, то когда и при каких обстоятельствах обнаружены признаки изменения состояния агрегата (в процессе эксплуатации, после проведения капитального или текущего ремонта);

характер изменения параметров вибрации, температуры, условий эксплуатации и др. при этом;

какие приняты меры по обеспечению безопасности агрегата: агрегат остановлен, оставлен в эксплуатации с ограничениями по нагрузке (производительности) и т.д.

Если изменению вибрации предшествовал ремонт агрегата, должны быть рассмотрены монтажные и ремонтные формуляры, отчетные документы и технические акты, имеющие отношение к вибрации. При необходимости рассматриваются также чертежи агрегата. При ознакомлении с документацией необходимо определить соответствие зазоров и натягов в подшипниках, а также параметров центровки рекомендуемым значениям, выяснить изменение амплитуд вибрации во времени и в зависимости от режима работы агрегата. При осмотре агрегата обращают внимание:

вызывает ли что - либо опасения (необычные шумы или звуки, вибрация трубопроводов, стола фундамента и др.);

имеются ли разливы или потеки технических жидкостей (смазок, охлаждающих) вокруг агрегата или подшипников, замасливание фундамента;

имеются ли нарушения или трещины конструкции;

имеются ли утечки (продуктов);

проверяют соответствие показаний термометров, манометров, вольт- амперметров и других датчиков рекомендуемым нормам.

Полное контрольное измерение вибрации производятся без вмешательства в режим эксплуатации агрегата и, в основном, ограничивается измерением трех составляющих вибрации в контрольных измерительных точках (как правило, на опорах). Иногда в контрольные измерительные точки включают точки основания (рамы, фундаментных болтов), статора и других частей агрегата, в которых вибрация измеряется только в случае достижения значением параметра вибрации какой -либо из контрольных точек установленного допустимого значения.

Если повышенная вибрация возникает при определенном режиме, то для периодического обследования выбираются два режима: с нормальной и повышенной вибрацией.

В тех случаях, когда вибрация локализуется на одном подшипнике или части фундамента, или консольной части ротора, необходимо произвести измерения в дополнительных точках (например, снятие контурной характеристики вибрации).

Полное контрольное измерение позволяет распознать состояние агрегата, выяснить наиболее вероятные причины вибрации и при необходимости построить последующие работы таким образом, чтобы выделить из группы Вероятных действительную причину.[3]

2.15.5 Специальные диагностические обследования

Если по результатам полного контрольного измерения вибрации агрегата удается однозначно установить причины повышенной вибрации, то составляется программа и производятся специальное диагностическое обследование работающего агрегата. Обычно она включает в себя:

•         измерение вибрации всех узлов и частей агрегата, включая всю трубопроводную обвязку, элементы крепления, раму и фундамент, корпуса узлов агрегата;

•         выявления зависимости вибрации от изменения режима работы агрегата; ряд режимов агрегата, необходимых для исследования, может выходить за пределы, определенные правилами нормальной эксплуатации; во всех случаях эксперименты по исследованию вибрации связаны с вмешательством в режим работы производства, поэтому программа исследований должна быть согласована с эксплуатационным персоналом и утверждена техническим руководителем предприятия;

•         расширенный анализ вибрации с применением всех возможностей аппаратуры (максимизация частотного диапазона и разрешающей способности, анализ кепстров, спектров огибающих, частотных и фазовых характеристик и др.);

Исследования включает опытное определение влияния на вибрацию различных факторов: теплового состояния, крутящего момента, условий охлаждения и т.д. При этом могут проводиться следующие работы:

•         снятие частотных характеристик при пуске и останове агрегата; снятие режимных характеристик; снятие контурных характеристик;

•         определение собственных частот агрегата и трубопроводов;

•         снятие вибрационных характеристик продуктопроводов, аппаратов, маслопроводов и др.

•         балансировка роторов в собственных подшипниках и др. Типовые исследование следует минимизировать и проводить в такой последовательности, чтобы по возможности обеспечить проведение всего комплекса намеченных экспериментов за один цикл нагружения и разгружения агрегата.[3]

.15.6 Обследование остановленного агрегата

При минимальной разборке это обследование обычно ограничивается ревизией подшипников, проверкой центровки узлов агрегата и состояния муфт, осмотром мест возможных задеваний и доступной части роторов.

При ремонте агрегата могут быть проведены также работы по частичной разборке роторов, их всесторонней проверке, включающей ревизию шпоночных соединений и других монтажных сопряжений. По результатам исследований составляется заключение о причинах повышенной вибрации и методах ее устранения.

Следует учесть, что вибрационное обследование не всегда приводит к однозначному определению причины повышенной вибрации, поэтому в заключении по этому обследованию должны быть указаны все возможные причины вибрации, а намечаемый объем ремонтных работ должен предусматривать устранение всех этих причин.

Иногда трудно предвидеть, окажутся ли достаточными намеченные работы по устранению причины повышенной вибрации. Это относится, например, к низкочастотной вибрации, к работам по изменению жесткости опорной системы и т.п. В таких случаях в заключении должна быть оговорена возможность дополнительных мероприятий по устранению вибрации после выполнения и проверки результатов проведенных работ.[3]

2.15.7 Периодичность измерений вибрации

В большинстве случаев период развития механических дефектов агрегата, прежде чем последний окажется в предельном состоянии, достаточен для их обнаружения средствами и методами периодического вибромониторинга. Период развития дефекта зависит от многих факторов (например, от вида износа) и может составлять от нескольких минут или часов (при заедании) до многих месяцев (при абразивном износе). Поэтому интервал периодических измерений вибрации обычно выбирают исходя из перечня контролируемых дефектов и режима эксплуатации оборудования. В большинстве случаев, интервал составляющий 7...30 дней считается достаточными для своевременного распознавания изменения состояния при развитии большинства механических дефектов агрегатов. Однако резкое изменение состояния агрегата иногда может произойти и значительно быстрее, чем за один месяц: это могут быть дни, минуты и даже секунды. Вероятность проведения виброизмерений именно в этот момент невелика, в силу чего для критичного оборудования устанавливают стационарные системы для постоянного вибромониторинга и/или значительно сокращают интервалы между сбором данных. Только стационарная система контроля вибрации может с большой вероятностью исключить аварию. В то же время, при проведении стационарного контроля, данные, собранные с применением систем периодического мониторинга, например, в случае появления проблемы, могут помочь организовать правильную работу оборудования (или персонала) до момента останова агрегата. Такие решения принимаются от случая к случаю по соображениям безопасности и экономическим последствиям различных вероятных исходов.

Различают несколько этапов проведения виброизмерений: после ремонта и монтажа, после завершения процесса приработки, на начальном этапе эксплуатации, в процессе эксплуатации, после нарушений технологического режима, после изменения состояния агрегата и перед остановкой агрегата на ремонт.[3]

.15.8 Виброизмерения после ремонта и монтажа

В процессе после ремонтных испытаний агрегата или сразу же после выхода агрегата на рабочий технологический режим проводят полные контрольные измерения с целью оценки качества проведения ремонта и распознавания состояния агрегата по параметрам вибрации. В этот период рекомендуется у оборудования 1 и 2 категорий регистрировать собственные частоты. В случае некачественно проведенного ремонта, при оценке состояния агрегата "требует принятия мер" агрегат следует остановить для проведения повторного ремонта. В базе данных ЭВМ необходимо описать проведенный ремонт.[3]

2.15.9 Виброизмерения после завершения процесса приработки

Полные контрольные измерения проводятся спустя 3...5 суток после выхода агрегата на технологический режим. Если текущие уровни вибрации в контрольных точках ниже уровней "нормального" состояния, то агрегат принимается в эксплуатацию. В этот период оптимально минимизировать число точек для проведения текущих контрольных измерений. Уровни и спектры вибрации, зарегистрированные на этом этапе следует принимать в качестве опорных (эталонных). Если текущий уровень вибрации одной из точек выше уровня вибрации "нормального" состояния, то необходимо провести диагностику и составить заключение о техническом состоянии, с указанием возможных дефектов и путей их устранения.[3]

.15.10 Виброизмерения на начальном этапе эксплуатации и выходе агрегата на номинальный технологический режим

В этот период следует провести несколько (3...5) полных контрольных измерений с периодичностью 1...2 недели. Если текущий уровень вибрации остается ниже уровня "нормального" состояния, агрегат оставляю т в эксплуатации.[3]

2.15.11 Виброизмерения в процессе эксплуатации

Периодичность измерений в процессе эксплуатации обычно устанавливают исходя из состояния агрегата и характера трендов вибрации.

Если уровень вибрации ниже уровня "средне-нормальной" вибрации и тренд вибрации не имеет тенденции к возрастанию, например, для СКЗ виброскорости 1 мм/с в неделю, то полные контрольные измерения вибрации проводят с максимальным интервалом не более 3-х месяцев.

Если текущий уровень вибрации выше уровня "нормального" состояния, но не достиг уровня состояния "еще допустимо", то допускается (только если проводятся текущие контрольные измерения) производить полные контрольные измерения также с интервалом в 1...3 месяца, а уровня "требует принятия мер" не реже одного раза в месяц.

Если текущая вибрация достигла уровня "требует принятия мер", то необходимо производить полные контрольные измерения не реже раза в неделю и, по возможности, планировать ремонт.[3]

2.15.12 Виброизмерения после нарушений технологического режима

Если агрегат останавливали, даже без разборки, или происходили нештатные изменения технологического режима, которые могли повлиять на техническое состояние агрегата, то следует провести полные контрольные измерения вибрации.[3]

.15.13 Виброизмерения перед плановой остановкой на ремонт

Перед плановой остановкой агрегата на ремонт за несколько дней, чем меньше, тем лучше, следует провести полные контрольные измерения с пометкой "перед ремонтом". Это поможет в дальнейшем достоверно оценить качество проведенного ремонта.[3]

2.16 Методика нормирования вибрации и распознавания технического состояния оборудования

Мониторинг технического состояния оборудования, основанный на вибродиагностике, практикуется в различных отраслях промышленности несколько десятилетий. При этом используются многочисленные стандарты, в основе которых лежит нормирование вибрации в зависимости от мощности агрегата, массы и/или определенных частот вращения ротора агрегата, а также высоты оси вращения ротора и др. Поскольку методы ведения вибромониторинга постоянно совершенствуются, происходит периодическое изменение этих стандартов и их приложений.

В общем случае оценка состояния агрегата должна проводиться путем совместного учета всех вредных последствий, вызываемых вибрацией. Однако, в силу недостаточной изученности многих вопросов динамики машин, теоретически строгий вывод общего критерия оценки вибрации и сложность его использования для практического применения делают задачу труднореализуемой. При разработке норм эксплуатационного контроля вибрации в качестве критерия обычно используют один из кинематических параметров (виброускорение, виброскорость или виброперемещение), по которому оценивают техническое состояние агрегата.

Основная цель эксплуатационных норм вибрации оборудования - контроль его технического состояния в процессе эксплуатации, т.е. решение диагностической задачи: создание таких условий эксплуатации, при которых была бы создана возможность своевременного обнаружения любых, даже незначительных повреждений или ненормальностей, т.е. обнаружения повреждений на начальной стадии их возникновения (развивающихся дефектов). Решение этой задачи требует обеспечения минимального уровня вибрации агрегата.

Проблема нормирования вибрации включает решение четырех взаимоувязанных задач нормирования вибрации: опор подшипников, роторов, статоров (корпусов) и фундаментов и трубопроводных обвязок.

Разнообразие методов и критериев оценки состояния оборудования затрудняет сравнение различных отраслевых Руководящих документов и Стандартов. Весьма характерно, что даже на родственных предприятиях (например, однотипных установках различных НПЗ) специалисты по вибродиагностике нередко применяют для однотипных агрегатов различные критерии для контроля вибрации, не говоря уж об отсутствии близких по величине норм. В некоторых случаях это свидетельствует о том, что существующие отраслевые Руководящие документы и Стандарты не отвечают требованиям специалистов по вибродиагностике промышленных предприятий и последние вынуждены самостоятельно, исходя из накопленного опыта, устанавливать критерии и нормы, соответствующие требованиям конкретного оборудования, и оптимизировать их по мере накопления опыта.

В частности не существует также единственного набора критериев оценки технического состояния, подходящего не только для класса оборудования (например, для класса центробежных агрегатов: для центробежных компрессоров или для центробежных насосов, или центробежных вентиляторов со сходными мощностными характеристиками и сходной частотой вращения), но и даже для типа и типоразмера (например, для вентиляторов: воздуходувок одного типа или дымососов одного типа). Другими словами, из-за различий в конструкции, ТО и условиях эксплуатации каждый агрегат имеет свои собственные, несколько отличные от других, критерии и нормы оценки технического состояния.

Успех любой системы вибромониторинга в основном зависит от методов оценки состояния агрегата, т.е. способов определения допустимых значений (норм) вибрации и параметров анализа вибрации, интегрированных в анализирующее программное обеспечение пользователя. Главные алгоритмы оценки состояния оборудования продаваемого на рынке программного обеспечения обеспечивают распознавание состояния по общему уровню вибрации, по вибрации в сравнительно узкой полосе частот или по огибающей спектра.[3]

2.16.1 Оценка состояния по общему уровню вибрации

Разработанные международные (FDJ 2056, ISO 2372, ISO 3945 и др.) и Российские стандарты и нормативно-методические рекомендации на предельные уровни вибрации основаны на допущении, что подобные по мощности, высоте оси вращения и частоте вращения ротора, способам установки, условиям монтажа и эксплуатации агрегаты имеют примерно одинаковые допустимые значения вибрации при достижении предельного состояния. При оценке вибрации агрегатов с вращающимся ротором в качестве нормируемых параметров в большинстве случаев устанавливается один из следующих:

•         среднеквадратическое значение виброскорости, Ve [мм/с];

•         среднеквадратическое значение виброскорости в октавной полосе частот, включающей в себя частоту вращения ротора, Veo [мм/с];

•         среднеквадратическое значение виброскорости на элементах крепления агрегата к фундаменту на месте установки, Vеф [мм/с];

•   пиковое значение (размах) виброперемещения, S3 [мкм].

Так, например, в соответствии с одним из стандартов России оценка интенсивности вибрации при приемо-сдаточных, периодических, квалификационных, типовых и приемочных испытаниях машин электрических с частотой вращения ротора 3000 об/мин и массой ротора до 2000 кг должна соответствовать величинам, указанным в таблице 1.

Таблица 2.1

Нормируемые параметры вибрации

Срок эксплуатации не ограничен

Ограниченный срок эксплуатации

Эксплуатация недопустима

СКЗ виброскорости Ve, мм/с

до 4,5

4,5...7,1

свыше 7,1

СКЗ виброскорости Veo, мм/с

до 3,3

3,3...5,2

свыше 5,2

СКЗ виброскорости Vеф, мм/с

-

-

свыше 2,0


Другой стандарт на машины электрические вращающиеся (методы измерения и допустимые значения) при приемо-сдаточных, периодических, квалификационных, типовых и приемочных испытаниях регламентирует определять:

•    для электрических машин с частотой вращения 600 об/мин и выше среднее квадратическое значение виброскорости опор подшипников,

•         для электрических машин с частотой вращения менее 600 об/мин пиковое значение виброперемещения, допустимые значения которых приведены в таблице 2.

Таблица 2.2

Частота вращения, об/мин

Среднее квадратическое значение виброскорости ve, мм/с


Способ установки


Упругая подвеска

Жесткое закрепление

От 600 до 1800

2,8

2,8

Свыше 1800 до 3600

4,5

2,8

Для осевой составляющей вибрации подшипников, не являющихся упорными

4,5

4,5

Допустимое значение виброскорости сердечника статора

4,5

4,5


Пиковое значение виброперемещения опор подшипников, S3 мкм

Менее 600

50

50


Практически в каждой отрасли разработаны и применяются собственные нормативно - методические рекомендации. Например, Методические рекомендации по проведению диагностических виброизмерений центробежных компрессорных машин и центробежных насосных агрегатов предприятий Министерства химической и нефтеперерабатывающей промышленности (РДИ, утверждены 28.11.91), рекомендуемые в качестве методического документа для руководства при организации вибродиагностики на поднадзорных предприятиях Государственным комитетом по надзору за безопасным ведением работ в промышленности и горному надзору (Госгортехнадзор России, письмо No 04 - 35/54 от 20.05.92) предписывают оценку технического состояния узлов ЦКМ по интенсивности абсолютной вибрации корпусов подшипников (Центробежные компрессорные агрегаты, нормы вибрации) определять в соответствии с таблицей 2.3.

Таблица 2.3

Интенсивность вибрации, СКЗ виброскорости (мм/с)

Оценка технического состояния


Паропривод

Электропривод

Мультипликатор

Компрессор

до 1,8

Отлично

Отлично

Отлично

Отлично

св. 1,8 до 2,8

Хорошо



Хорошо

св.2,8 до 4,5

Допустимо

Хорошо

Хорошо

Допустимо

св.4,5 до 7.1

Требует принятия мер

Допустимо

Допустимо


св.7,1 до 11,2

Недопустимо

Требует принятия мер

Требует принятия мер

Требует принятия мер

свыше 11,2


Недопустимо

Недопустимо

Недопустимо


"Отлично", "Хорошо" - оценка качества ремонта, допустимо при приемных испытаниях после ремонта; "Допустимо" - бездефектное эксплуатационное состояние; "Требует принятия мер" - необходимость проведения мероприятий по обнаружению дефекта, усилению контроля, планомерному выводу в ремонт; "Недопустимо" - эксплуатация не допускается.

Оценка состояния оборудования по пиковому или среднеквадратическому значению виброскорости (виброперемещения) во всем частотном диапазоне измерений имеет три существенных недостатка:

•         никак не могут быть учтены вибрационные проявления технологических и режимных отклонений при эксплуатации оборудования;

•         уровень вибрации обычно определяется в фиксированной полосе частот (для большинства виброметров в полосе от 10 Гц до 1 кГц), что, иногда, в принципе не может обеспечить достаточно высокую степень чувствительности параметра на начальной стадии развития дефекта.

•   допустимые (предельные) значения вибрации обычно определяются на основе статистического анализа вибросостояния групп оборудования или однотипных агрегатов при нормальных эксплуатационных условиях и установлены одинаковыми для всего класса подобных агрегатов, в то время как имеются экспериментальные данные о том, что одинаковые дефекты даже на однотипных машинах могут возбуждать на корпусе и подшипниках вибрации, уровни которых могут различаться в 100 раз (40 дБ), за счет различия значений конструкционных передаточных функций.

Однако, самым важным недостатком оценки состояния оборудования по общему уровню вибрации является то, что он практически нечувствителен к изменениям сравнительно низкоуровневых частотных составляющих (составляющих с малыми энергиями в колебательном процессе) вибросигнала, характерных, например, для ряда зарождающихся и развивающихся дефектов подшипников качения, зубчатых передач, электрических и ряда других дефектов.

Рис. 2.13. Тренд СКЗ виброскорости в вертикальном направлении подшипника электродвигателя в частотном диапазоне 10... 1000 Гц.

Если оценка состояния агрегата по общему уровню вибрации нацелена на детектирование высокоэнергетических развитых дефектов, таких как нарушение центровки или дисбаланс, значительные изменения уровня вибрации на частотах с низкими уровнями будут недостаточны для "срабатывания тревоги" по общему уровню.

В качестве иллюстрации к вышеизложенному можно привести такой пример: на рис. 2.13. показан тренд вертикального компонента вибрации опоры ЭД в продолжение семи месяцев эксплуатации и нанесены допустимые значения в соответствии с одним из Государственных стандартов. При таком СКЗ виброскорости срок эксплуатации агрегата не ограничивается.

Однако, если рассмотреть динамику изменения спектров вибрации этой же опоры ЭД (см. рис. 2.14) с течением времени, то можно отметить, что несмотря на некоторое уменьшение уровня вибрации, на частотах 50 и 100 Гц, вероятно вызываемой расцентровкой узлов агрегата, произошло существенное увеличение виброскорости (примерно в 10 и более раз) на некоторых частотных составляющих в полосе частот 200...600 Гц в период с 16.01.94 по 1.03.94, т.е. в продолжение всего 45 дней. Таким образом, очевидно быстрое развитие дефекта подшипника качения, т.е. необходимо принимать меры по тщательному наблюдению за данным агрегатом и, возможно, планировать его вывод в ремонт.

Рис. 2.14. Спектры виброскорости в вертикальном направлении подшипника ЭД в продолжение семи месяцев.

На рис. 2.15. показано изменение общего уровня вибрации и вибрации в частотной полосе 6... 10 fr в течение семи месяцев эксплуатации и нанесены допустимые значения вибрации в соответствии с общепринятыми стандартами.

Также нежелательно определение состояния агрегата только по уровню вибрации настроенному на "низкоуровневые" дефекты, такие, как ряд дефектов подшипников качения или дефектов зубчатых муфт, поскольку, например, неопасное (незначительное) увеличение дисбаланса может вызывать необоснованное "срабатывание тревоги". По этим причинам, большинство опытных специалистов по вибродиагностике используют оценку состояния агрегата по общему уровню вибрации только для дополнения более чувствительных способов оценки состояния.

Рис. 2.15. Тренды СКЗ виброскорости опори подшипника ЭД в частотных полосах 10... 1000 и 250...500 Гц.

Вышеизложенное позволяет сделать вывод о невысокой степени достоверности распознавания состояния агрегатов только по общему уровню вибрации.

При использовании современных цифровых виброанализаторов и ЭВМ возможен мониторинг состояния оборудования по уровню вибрации в частотной полосе произвольно заданной ширины и установки индивидуальных допустимых значений вибрации для каждой измерительной точки конкретного агрегата.

Таким образом недостатки, изложенные выше, казалось бы можно исключить, особенно если наблюдается возрастание уровня вибрации от измерения к измерению.[3]

2.16.2 Оценка состояния по огибающей спектра вибрации

Этот метод определения состояния агрегата основан на диаметрально противоположном (по сравнению с определением по допустимым значениям общего уровня вибрации) способе сравнения текущих параметров вибросигнала с допустимыми значениями: уровень вибрации на каждой частотной составляющей текущего спектра вибрации сравнивается с уровнем соответствующей составляющей "опорного" ("эталонного") спектра. В качестве опорного (эталонного) спектра обычно выбирается огибающая, совпадающая, например, с линиями 400 - линейного частотного спектра. Опорный (эталонный) спектр можно построить двумя способами: подвергнуть статистической обработке ряд измерений или принять в качестве эталона послеремонтный "хороший" спектр (или предыдущий текущему спектр).

Учет пожеланий специалиста в формировании эталонного спектра для конкретного случая в продаваемых на рынке готовых программных пакетах во многих случаях весьма ограничен. По этой причине при оценке состояния оборудования с применением анализа изменения огибающей спектра иногда появляются необоснованные "срабатывания" тревоги, преимущественно потому, что вибрация оборудования с вращающимся ротором обычно немного флуктуирует по частоте и амплитуде относительно определенной линии спектра с четкой границей.

Флуктуация по частоте: совершенно постоянная частота вращения ротора агрегата труднодостижима. Небольшие ее флуктуации, вызываемые изменением нагрузки, частоты сети и др. (2...8% fr у асинхронных и до 1% fr у синхронных электрических машин), часто приводят к ощутимому сдвигу первой и высших гармоник частоты вращения ротора в текущем спектре (частот спектральных линий) относительно эталонного. Например, при уменьшении частоты вращения ротора асинхронного электродвигателя (fr = 2950 об/мин) насосного агрегата с 7 лопатками на рабочем колесе насоса на 0,5 Гц (примерно 1%) ведет к уменьшению лопаточной частоты на 3,5 Гц, а в зубчатой передаче с 47 зубьями на ведущем колесе - на 23,5 Гц. Это может привести превышению допустимых значений опорного спектра и ложному появлению сигнала об изменении состояния оборудования.

Флуктуация по амплитуде: это явление означает практически постоянное присутствие апериодических скачкообразных изменений амплитуд вибрации. Значения, как общего уровня, так и отдельных частотных составляющих вибрации часто демонстрируют небольшую флуктуацию во времени вокруг некоторой величины, затем без явной причины происходит резкий переход к новым величинам с новыми флуктуациями. Эти изменения легко наблюдать при мониторинге вибрации в высокочастотной области спектра, особенно они характерны для "промежуточных" частот. Хотя амплитудные флуктуации во многих случаях могут быть небольшие, их апериодический и "неслучайный" характер приводит к ложному "срабатыванию" тревоги.

К самым существенным недостаткам мониторинга по огибающей спектра вибрации можно также отнести отсутствие исходных данных на начальном этапе мониторинга при организации обследований новых и модифицированных агрегатов или при отклонении эксплуатационных режимов.

По этим причинам, оценка состояния по огибающим спектра считается, в лучшем случае, относительно надежным и достоверным методом анализа.[3]

2.16.3 Оценка состояния по значениям параметра в частотных полосах

Этот метод распознавания состояния оборудования является компромиссным между оценкой состояния оборудования по общему уровню вибрации и по огибающей спектра, а точнее частным случаем оценки состояния по огибающей спектра, поскольку дает возможность произвольно устанавливать положение, ширину частотной полосы и допустимое значение параметра (критерия) который сравнивается с текущим значениями и далее строить тренды параметра в этой полосе, давая возможность пользователю оценивать и прогнозировать состояние оборудования. Количество частотных полос обычно составляет 6... 18.

Ряд методов вибродиагностики основан на том, что определенные механические дефекты по мере развития генерируют вибрацию в определенных частотных полосах с определенным соотношением величин параметров. Например, рассматривая амплитуды определенных гармоник кепстра, полученного в определенном частотном диапазоне спектра, можно легко установить глубину модуляции высокочастотной вибрации, которая определяется степенью износа ряда деталей и узлов агрегата. Другой пример - достаточно интенсивная вибрация на лопаточной частоте насоса говорит о нарушении гидродинамики потока, на дробных гармониках частоты вращения ротора о нарушениях жесткости и т.д. Таким образом производя разбиение частотного диапазона измерений на сравнительно узкие, возможно перекрывающиеся частотные полосы и применяя индивидуальные для каждой полосы допустимые значения и критерии (см. рис. 2.16.) можно распознавать появление ряда зарождающихся дефектов.

Рис. 2.16. Спектр виброскорости, разделенный на 7 частотных полос с индивидуальными допустимыми значениями.

Индивидуальные допустимые значения в частотных полосах могут быть установлены как для "высокоэнергетических" составляющих колебательного процесса, сопровождающих дисбаланс или расцентровку (обычно диапазоны 0.5...1.5 fr и 1.5...2.5 fr), так и для сравнительно "низкоэнергетических" составляющих колебательного процесса, сопровождающих дефекты подшипника качения (обычно диапазон 7,5...15,5 fr). Другие полосы могут быть размещены для предупреждения о нарушениях жесткости (обычно диапазон 2,5...10,5 fr), "масляных" дефектов подшипников скольжения (диапазон 0,1...0,9 fr), зубчатых муфт и зубчатых передач, электрических дефектов электроприводов и др. В общем случае, распознавание состояния по частотным полосам является (как модифицированный метод оценки состояния оборудования по огибающей спектра) наиболее точным и надежным среди других, поскольку обладает рядом достоинств метода огибающей и лишен некоторых ее недостатков.

Перед приобретением того или иного пакета программ по вибромониторингу необходимо тщательно изучить его возможности, поскольку многие программные пакеты не содержат возможности установки допустимых значений по выбранной частотной полосе.

Использование современных компьютерных систем мониторинга технического состояния оборудования (например, пакет "MasterTrend" фирмы CSI, США) предполагает индивидуальный подход к каждому агрегату, паспортизацию его исходного или среднего работоспособного состояния и отслеживание изменений его состояния во времени на основе проведения периодических замеров технических параметров, что обеспечивает высокую чувствительность системы мониторинга к изменению состояния оборудования. С другой стороны чувствительность системы мониторинга повышается за счет возможности расчета, отслеживания и прогнозирования трендов различных параметров: вибрации, динамического давления или температуры и пр.

Подобный подход предусматривает отказ от стандартных допустимых значений и возможность определения индивидуальных критериев состояния оборудования вплоть до каждой измерительной точки каждого агрегата.

При определении "нормального состояния" оборудования возможно использование двух методов:

•         принятие в качестве критериев "нормального состояния" данных замеров контролируемых параметров на новом (только что смонтированном) оборудовании или после его капитального ремонта, в обоих случаях, разумеется, после обкатки и приработки (исходное состояние);

•         определение в качестве критериев "нормального состояния" среднестатистических величин контролируемых параметров, полученных при обработке данных некоторого количества периодических измерений (для агрегатов, работающих в стационарном режиме количество необходимых измерений обычно шесть и более) при работе агрегата в заведомо работоспособном состоянии (средне-нормальное состояние).

Рис. 2.17 Схема сбора данных для расчета средненормальнного уровня вибрации и допустимых значений вибрации различных состояний.

Большинство стандартов, регламентирующих допустимые значения вибрации, основаны на статистической обработке достаточно большого количества данных по самым разнообразным типам оборудования различными исследовательскими группами. При этом в них определена схожая градация по классам состояния на основе уровней в 4, 8, ... дБ (соответственно, примерно 1.6, 2.5, ... раза). Эти относительные величины и принято использовать в качестве разделительных границ для сигнализации по степеням вибросостояния оборудования (нормальное, допустимое, ограниченно - допустимое, предельное состояния).

Граница нормального состояния определяется обычно на 4 дБ выше исходного (или средне - нормального), или по сумме средне - нормальной величины и дисперсии, взятой с некоторым коэффициентом.

Выбор того или иного типа определения границы нормального состояния зависит от статистического разброса данных замеров.[3]

2.17 Методика определения допустимых значений вибрации и частотные полосы

При обработке экспериментальных данных (для получения упорядоченных статистик значений вибраций в предположении, что одинаковые компоненты колебаний одних и тех же подшипников однотипных агрегатов принадлежат соответственно единым генеральным совокупностям) для формирования сводных протоколов значений параметров в базе данных выбирались группы агрегатов со сходными техническими характеристиками и одноименные измерительные точки.

В первую очередь из данных, предназначенных для анализа, были исключены вызывающие сомнение в их достоверности. Для проверки компактности выборки, характеризующей достоверность статистических выводов, и исключения из дальнейшей обработки резко выпадающих данных, связанных с ненормальной работой отдельных исследованных агрегатов, целесообразно использовать критерий грубых ошибок наблюдений при допущении, что полученный экспериментальный ряд значений вибраций (выборка) подчиняется нормальному законы распределения, при этом верхнюю границу допустимых результатов измерений можно определить из выражения

хмакс = хср + sqq,n

где хср - среднее арифметическое результатов измерений; s - дисперсия результатов измерений; qq,n - квантиль распределения величины, взятый из таблиц для уровня 99% (qq,n =3).

Расчеты и анализ проверки компактности выборки осуществлялись в автоматизированном режиме с применением программ "Master Trend" фирмы CSI и обработки статданных, разработанной СП "Дельфин-Диагностика". При этом была исключена возможность ошибок при ручных расчетах, и реализовывалась возможность редактирования исходных данных в ручном режиме (например, исключать данные соответствующие измерениям на агрегатах, работающих не в нормальных условиях или вызывающих сомнение в их достоверности) и выводить итоговый протокол расчета. Программа проводила расчеты по приведенной выше формуле в автоматическом режиме, и при этом на экран выводились значения по соответствующим данным: среднего арифметического, дисперсии, суммы среднего арифметического и утроенной дисперсии, уровней +4, +8 и +12 дБ относительно среднего. После окончания работы программы проводилась ручная корректировка данных.

В приведенном ниже примере (см. таблицы 2.4. и 2.5.) произведено исключение вызывающих сомнение данных и расчет предварительных допустимых значений вибрации по данным измерений вибрации магистральных насосных агрегатов (НА) СТД-8000/НМ-12000 двух нефтеперекачивающих станций (НПС) для измерительных точек V1 (задний подшипник электродвигателя, вертикальное направление).

Таблица 2.4

Измерение

Параметр


СКЗ

Пар. 1

Пар.2

Пар.3

Пар.4

Пар.5

Пар.6

НПС 1








НА1-V1-20.03.95-16:32

3.807

0.738

2.691

0.409

0.623

2.443


НА1-V1-11.04.95-15:47

4.812

0.651

2.716

0.633

3.101

1.383

6.156

НА1-V1-26.10.95-10:26

6.263

0.129

4.837*

1.315

3.77

0.085

7.375

HA4-V1-20.03.95-16:52

2.422

0.512

1.786

1.011

0.293

1.067


HA4-V1-11.04.95-16:22

4.49

0.496

1.432

0.648

3.696

1.017

3.219

HA4-V1-30.05.95-13:59

2.827

0.332

1.873

1.178

1.451

0.881

1.875

НА4-V1-20.06.95-12:59

2.51

0.233

1.935

0.936

1.098

0.58

1.688

НА4-V1-02.07.95-12:48

4.525

0.409

1.935

3.721

0.924

3.266

HA4-V1-24.07.95-14:33

2.923

0.194

1.997

1.774

0.874

0.682

2.078

HA4-V1-20.10.95-15:26

2.541

0.2

1.935

0.471

1.017

1.141

1.914

HA4-V1-30.10.95-14:20

2.348

0.15

1.898

0.484

0.961

0.85

1.688

HA4-V1-13.11.95-13:15

4.32

0.245

2.022

0.623

3.473

0.924

1.555

НА4-V1-08.12.95-05:30

3.061

0.276

1.687

0.251

1.873

1.6

2.078

НПС 2








НА4-V1-20.03.95-15:42

2.785

1.525*

1.104

0.812

0.881

1.575


НА4-V1-11.04.95-14:29

3.67

0.515

2.406

0.747

1.271

2.084

0.563

НА4-V1-30.05.95-14:08

4.56

0.419

3.001

0.305

0.626

3.299

1.242

HA4-V1-02.06.95-14:19

3.605

0.899

1.898

0.592

2.294

0.732

3.906

HA4-V1-31.10.95-14:52

5.485

0.667

2.195

0.38

3.721

3.175

1.555

Среднее арифм. (хср)

3.719

0.477

2.186

0.752

1.930

1.357

2.677

Дисперсия (s)

1.112

0.331

0.779

0.381

1.252

0.851

1.812

Верхняя граница (хмакс)

7.056

1.472

4.524

1.898

5.687

3.913

8.114


В таблице 2.4. вызывают сомнение в достоверности данные помеченные *, поскольку они превышают уровень среднего арифметического плюс утроенная дисперсия. После их удаления можно получить исходные данные, которые могут использоваться для дальнейшего статанализа или определения состояния агрегата.

Анализ улучшенных таким образом выборок показывает, что их совокупность достаточно хорошо подчиняется нормальному закону распределения.

Установление близости совокупности измеренной вибрации одинаковых опор однотипных агрегатов нормальному распределению существенно облегчило оценку полученных результатов. Известно, что при нормальном распределении среднеквадратическое отклонение σ характеризует границу отклонения не менее 2/3 измеренных значений, а согласно теореме Чебышева при достаточно большом числе независимых опытов среднее арифметическое значение наблюдаемых случайных величин сходится по вероятности к ее математическому ожиданию. Поэтому в основу дальнейшего анализа было положено рассмотрение математических ожиданий значений параметров однокомпонентной вибрации одинаковых опор (штатных контрольных точек) однотипных агрегатов и их дисперсий.

Таблица 2.5

Измерение

Параметр


СКЗ

Пар.1

Пар.2

Пар.3

Пар.4

Пар.5

Пар.6

НПС 1








НА1-V1-20.03.95-16:32

3.807

0.738

2.691

0.409

0.623

2.443


НА1-V1-11.04.95-15:47

4.812

0.651

2.716

0.633

3.101

1.383

6.156

НА1-V1-26.10.95-10:26

6.263

0.129


1.315

3.77

0.085

7.375

НА4-V1-20.03.95-16:52

2.422

0.512

1.786

1.011

0.293

1.067


НА4-V1-11.04.95-16:22

4.49

0.496

1.432

0.648

3.696

1.017

3.219

HA4-V1-30.05.95-13:59

2.827

0.332

1.873

1.178

1.451

0.881

1.875

HA4-V1-20.06.95-12:59

2.51

0.233

1.935

0.936

1.098

0.58

1.688

НА4-V1-02.07.95-12:48

4.525

0.409

1.935

0.98

3.721

0.924

3.266

HA4-V1-24.07.95-14:33

2.923

0.194

1.997

1.774

0.874

0.682

2.078

HA4-V1-20.10.95-15:26

2.541

0.2

1.935

0.471

1.017

1.141

1.914

HA4-V1-30.10.95-14:20

2.348

0.15

1.898

0.484

0.961

0.85

1.688

HA4-V1-13.11.95-13:15

4.32

0.245

2.022

0.623

3.473

0.924

1.555

НА4-V1-08.12.95-05:30

3.061

0.276

1.687

0.251

1.873

1.6

2.078

НПС 2








HA4-V1-20.03.95- 15:42

2.785


1.104

0.812

0.881

1.575


НА4-V1-11.04.95-14:29

3.67

0.515

2.406

0.747

1.271

2.084

0.563

НА4-V1-30.05.95-14:08

4.56

0.419

3.001

0.305

0.626

3.299

1.242

HA4-V1-02.06.95-14:19

3.605

0.899

1.898

0.592

2.294

0.732

3.906

HA4-V1-31.10.95-14:52

5.485

0.667

2.195

0.38

3.721

3.175

1.555

Среднее арифм. (хср)

3.719

0.415

2.030

0.752

1.930

1.357

2.677

Дисперсия (а)

1.112

0.219

0.453

0.381

1.252

0.851

1.812

Верхняя гр. (xмакс,tβ= 1,5)

5.387

0.744

2.71

1,323

3,808

2,634

5.395

Верхняя гр. (хмакс,tβ = 2)

5,943

0.853

2.936

1,514

4,434

3,059

6.301

Верхняя гр. (xмакс,tβ = 3)

7.056

1.074

3.391

1.898

5.687

3.913

8.114

xСР + 4 Дб:

5.895

0.658

3.217

1.193

3.059

2.152

4.243

xCР + 8 Дб:

9.336

1.043

5.095

1.889

4.844

3.408

6.719

xCР + 12 Дб:

14.80

1.654

8.079

2.995

7.682

5.404

10.65


Для определения точности, с которой эти оценки отражают искомую статистическую характеристику, следует определить верхние границы доверительного интервала оценок:

Xмакс = XСР + tβσ,

где хср - среднее арифметическое результатов измерений; а - дисперсия результатов измерений; tβ - число квадратических отклонений, которое нужно отложить вправо от центра рассеивания для того, чтобы вероятность попадания в полученный интервал значений была равна β. При подсчетах выбиралась доверительная вероятность β = 0,95 и β = 0,85, чему соответствовало t β примерно равно 2 и 1,5.

Сопоставление верхней границы доверительного интервала и распределения частот встречаемости вибраций опор по каждому компоненту колебаний однотипных агрегатов показало, что подавляющее большинство значений вибраций находятся в границах доверительного интервала.

Таким образом были использованы два способа определения допустимых значений вибраций в частотных полосах:

•         превышение 85% -ной (требует принятия мер, "предупреждение") и 95% - ной (предельное состояние, "опасность") границ совокупности данных;

• превышение среднего уровня вибрации на 4 и 8 дБ.

Оба способа направлены на то, чтобы выделить 5 и 15 % всей совокупности данных измерений вибрации, отражающих наивысшую вибрацию агрегатов, хотя необходимо понимать, что приблизительность критериев отбора в дальнейшем корректировалась в каждом отдельном случае в зависимости от конкретных нужд.

Все спектры, по одноименным измерительным точкам, отображались по 40 гармоникам частоты вращения ротора для определения зон наибольшей гармонической активности. Было подтверждено, что с увеличением номера гармоники амплитудная активность уменьшается, см. рис. 2.18.

Рис. 2.18. Наложенные друг на друга 189 спектров насосов 14-и однотипных ЦНА с подшипниками скольжения и частотой вращения ротора 50 Гц.

Вибрация анализировалась отдельно по каждому узлу различных типов агрегатов (ЭД, насос, мультипликатор, компрессор, насос, вентилятор) и направлению измерения (вертикальное, горизонтально - поперечное и горизонтально - осевое).

Поскольку с увеличением номера гармоники виброактивность уменьшается к 10 гармонике в среднем в 10 и более раз (по отношению к первой) и после 10-15 гармоники, в основном, остается неизменной (кроме случаев с дефектами в редукторах и подшипниках качения), именно этими частотными полосами и был ограничен анализ:

•         СКЗ виброскорости в полосе частот 2 Гц ... 40 fг (индекс Ve);

•         СКЗ виброскорости в низкочастотной области (область 2 Гц ... 0,9 fr), (индекс S);

•         СКЗ виброскорости в полосе частот, включающей каждую из первых десяти гармоник частоты вращения ротора ([n -0,5...n + 0,5]fr, где n - номер гармоники), (индексы 1,2,3,4,5,6,7,8,9,10);

• СКЗ виброскорости в полосе частот, включающей с 1 по 5 гармоники частоты вращения ротора (0,5...5,5 fr), (индекс 1-5);

•         СКЗ виброскорости в полосе частот, включающей с 6 по 10 гармоники частоты вращения ротора (5,5...10,5 fr), (индекс 6-10);

•         СКЗ виброскорости в полосе частот, включающей с 11 по 40 гармоники частоты вращения ротора (10,5...40 fr) (индекс 11 - 40).

При анализе было установлено, что у большинства исследованных типов агрегатов и их узлов наблюдаются разные уровни вибрации опор по разным направлениям, а также существуют различия в гармонической активности. Кроме того вибрации узлов с одинаковой мощностью и частотой вращения также различается.

Рис. 2.19. Пример гармонического состава вибраций группы электродвигателей одного типа.

В качестве примера на рис. 2.19. приведены границы распределения вибраций свыше 85% ("предупреждение") и 95% ("опасность") совокупности данных измеренных на 80 асинхронных ЭД мощностью 150...250 кВт с подшипниками качения. Налицо существенные отличия границ - как по гармоникам, так и по направлению измерения. Можно отметить существенную виброактивность в горизонтально - осевом направлении.

На рис. 2.20. приведены (усредненные по трем направлениям измерений вибрации на корпусе подшипника) границы распределения вибраций свыше 85% ("предупреждение") и 95% ("опасность") сходных по конструктивным (примерно одинаковые подшипники, муфты и др.), эксплуатационным и мощностям характеристикам групп центробежных компрессоров (1), асинхронных электродвигателей (2) центробежных насосов (3), воздушных вентиляторов(4) расположенные в порядке возрастания значений вибротревог. Очевидно, что величина граничных значений существенно зависит от типа агрегата.

Анализ вибрации позволил установить, как повышенный уровень колебаний отдельных опор в определенных направлениях у однотипных агрегатов, так и неравномерное распределение вибрации в различных направлениях у различных типов агрегатов: это событие достаточно распространенное, хотя и не является правилом. Во многих случаях статистический анализ данных показывает, что уровень вибрации в вертикальном направлении несколько меньше чем в горизонтальном, а осевая вибрация у большей части электродвигателей вентиляторов и самих вентиляторов в большинстве случаев преобладала над вертикальной и горизонтальной, чего не наблюдалось у ЦКМ.

Рис. 2.20. Пример усредненного по направлениям гармонического состава вибраций группы центробежных компрессоров (1), асинхронных электродвигателей (2) центробежных насосов (3), воздушных вентиляторов(4).

У агрегатов с подшипниками качения виброактивность в области шестой и более высоких гармоник частоты вращения ротора несколько ниже, чем у агрегатов с подшипниками скольжения.[3]

2.17.1 Некоторые выводы

Статистический анализ показал, что не существует единственного набора критериев оценки состояния оборудования, подходящего не только для класса оборудования (например, одинакового для центробежных агрегатов: для компрессоров, насосов или вентиляторов со сходными мощностными характеристиками и частотой вращения ротора), но даже для типа (например, для различных типов вентиляторов: воздуходувок и дымососов; для различных типов насосов: многоступенчатые или одноступенчатые) и направления измерения вибрации (вертикальное, горизонтальное, осевое). Из - за различий в конструкции и эксплуатации каждый агрегат имеет свою собственную, несколько отличную от других, характеристику.

Предельные значения при распознавании состояния оборудования могут быть рассчитаны индивидуально для одноименных штатных измерительных точек агрегата, подшипниковых опор, общие по типу агрегата, по группам агрегатов (например, рассортированным по степени их вибронапряженности) или для всего обслуживаемого парка машин. Большая степень "индивидуализации" предельных значений увеличивает чувствительность системы мониторинга, но и лавинообразно увеличивает трудозатраты на их расчет и внесение изменений в базу данных.

Другими словами, применяя индивидуальный набор критериев и предельных значений для оценки состояния агрегата на каждой измерительной точке можно максимально повысить чувствительность системы мониторинга к изменению состояния оборудования, но при этом выполнять огромный объем работы по статобработке виброданных, дополнительным виброизмерениям, описанию и изменению в базе данных параметров анализа и уровней тревог, съедающий львиную долю рабочего времени. В условиях производства этот путь в большинстве случаев нецелесообразен. Другая крайность - применение единого (единственного) набора критериев и предельных значений для оценки состояния всего парка оборудования предприятия. В этом случае чувствительность системы мониторинга к изменению вибросостояния агрегата хотя и выше, чем при оценке состояния агрегата по общему уровню вибрации, но неоптимальна.

Каждый специалист, исходя из специфики предприятия и собственного опыта, должен выбирать компромиссное решение между трудозатратами на выполнение работ по статобработке виброданных, коррекцией в базе данных критериев, частотных полос и предельных значений с одной стороны, и чувствительностью системы к изменению состояния оборудования с другой.

При развертывании системы вибромониторинга на предприятии или расширении системы на неохваченные мониторингом агрегаты возникает необходимость предварительного выбора критериев, частотных полос и предельных значений в полосах. Приведенное выше исследование имело целью оптимизацию критериев, количества частотных полос предельных значений на начальном этапе вибромониторинга на предприятии.[3]

2.18 Частотные полосы вибрации при организации вибромониторинга

С точки зрения авторов, основанной на приведенном выше исследовании, при выборе критериев и частотных полос для мониторинга состояния роторных агрегатов на начальном этапе (при развертывании системы вибромониторинга) рекомендуется пользоваться данными, приведенными в таблице 2.6. (сокращения: ПС - подшипник скольжения, ПК - подшипник качения).

Таблица 2.6

Тип оборудования

Частотный диапазон измерений виброскорости, Гц


МРИ по проведению вибродиагностических измерений ЦКМ и ЦНА предприятий МНХП СССР

Рекомендации Electric Power Research Institute, USA

Центробежные компрессора

Электропривод, ПС

10...1000

2...10fr

Электропривод ПК

10...1000

2...5fв (или 50fr)

Компрессор, ПС

10...5000

2...fл (или 2fл)

Мультипликатор, ПС

10...5000

2...fnz

Центробежные насосы

Электропривод, ПС

10...1000

2...10fr

Электропривод ПК

10...1000

2...5fв (или 50 fr)

Насос, ПС

10...5000

2...10fr или 2... fл

Насос, ПК

10...5000

2...5fв (или 50fr)

Центробежные вентиляторы

Электропривод, ПС

-

2...10fr

Электропривод, ПК

-

2...5fв (или 50fr)

Вентилятор, ПС

-

2...10fr или2... fл

Вентилятор, ПК

-

2...5fв (или 50fr)

Все агрегаты, пиковое значение виброускорения, ар

-

1000... 10000 (20000)


Для мониторинга вентиляторов, компрессорных и насосных агрегатов с частотой вращения ротора 25...50 Гц и подшипниками скольжения оптимально проводить в частотной полосе с нижним пределом измерений виброскорости 2 Гц (при применении вибродатчиков со щупами от 10 Гц) и верхним пределом, соответствующим либо 10 гармонике частоты вращения ротора, либо лопаточной частоте, в зависимости от того, какое из этих значений больше, либо требованиям РДИ.

Для мониторинга агрегатов с подшипниками качения верхний предел частотного диапазона измерений виброскорости рекомендуется выбирать приблизительно в пять раз больший, вычисленной частоты дефекта внутреннего кольца подшипника. В большинстве случаев он лежит ниже 50 -й гармоники частоты вращения ротора и позволяет включать в анализируемую полосу различные гармоники всех частот дефектов подшипника, либо требованиям РДИ.

Внутри этих интервалов определяют различные частотные полосы, в зависимости от конструктивных особенностей агрегата.

Для всех без исключения агрегатов следует контролировать пиковое значение виброускорения в диапазоне 1000... 10000 (по возможности 20000) Гц.

Количественные предельные значения интенсивности вибрации опор (подшипниковых щитов) роторных агрегатов.

С диагностической точки зрения очевидно, что оптимальным состоянием при эксплуатации агрегатов является отсутствие вибрации опор подшипников, точнее требование, чтобы их уровень был ниже порога чувствительности средств измерений. Однако, при установлении нормативных значений необходимо учитывать реальную возможность их выполнения и затраты, связанные с наладкой оборудования для достижения таких норм.

Установление близости совокупности измеренных вибраций нормальному распределению позволяет в качестве исходных значений при развертывании системы вибромониторинга рассмотреть математические ожидания, дисперсии и доверительные интервалы оценок.

При выборе предельных значений необходимо учитывать требования стандарта ИСО 2372 - обязательного использования шкалы нормо-чисел, составленной от среднего порога чувствительности человека к вибрациям с равным коэффициентом увеличения 1,6. Такие выбираемые интервалы соответствуют ощутимым с точки зрения действия и субъективного восприятия изменениям параметра, а также обеспечивают отсутствие перекрытий в оценках вибрации при суммарной относительной погрешности измерения ±10%.

Согласно указанной шкале нормо-чисел предпочтительными для назначения нормативных значений являются следующие значения среднеквадратических виброскоростей ... 0,45; 0,71; 1,12; 1,8; 2,8; 4,5; 7,1; 11,2; 18,0; 28,0; ... мм/с.

При сопоставлении данной шкалы рекомендуемых нормативных значений математическими ожиданиями среднеквадратических виброскоростей скоростей полученных авторами в результате приведенных выше исследований, естественно получилось совпадение с большинством из действующих стандартов России. Исходя из этого при развертывании программы мониторинга вибрации на предприятии или расширении ее на неохваченные обследованиями агрегаты, когда специалисту неизвестны особенности и характер вибросостояния каждого конкретного агрегата, можно рекомендовать следующие частотные полосы контроля параметров вибрации и коэффициенты и значения для определения допустимых значений в полосах:

для агрегатов с опорными подшипниками скольжения см. данные, приведенные в таблице 2.7.;

Таблица 2.7.

Частотная полоса включающая

Предельное состояние

Требует принятия мер


Коэффициенты к среднему квадратическому значению виброскорости vе

10…1000

1

0,63

2(10)Гц...0,9 fr

0,32

0,2

fr

0,75

0,5

2fr

0,5

0,32

3 fr…4fr

0,32

0,2

5 fr ... 10 fr

0,25

0,16


Пиковое значение виброускорения, мс -2

1…10 кГц

30

15


для агрегатов с опорными подшипниками качения см. данные, приведенные в таблице 2.8.;

Таблица 2.8.

Частотная полоса включающая

Предельное состояние

Требует принятия мер


Коэффициенты к среднему квадратическому значению виброскорости ve

10…1000 Гц

1

0,63

2(10)Гц ... 1,5 fr

0,75

0,5

2 fr

0,5

0,32

3 fr ... 4 fr

0,32

0,2

5 fr … 20 fr

0,4

0,25

21 fr ... 50 fr

0,32

0,2


Пиковое значение виброускорения, мс-2

1…10 кГц

40

20


В качестве исходной величины допустимых значений для заполнения таблицы выбирается клетка со значением " 1". В эту клетку подставляется допустимое значение СКЗ виброскорости, регламентируемое требованиями завода - изготовителя, отраслевыми РД или стандартами России в зависимости от частоты вращения ротора, высоты оси вращения, мощности, массы ротора или других характеристик агрегата. Значения виброскоростей в остальных клетках таблицы получаются путем умножения коэффициента, помещенного в соответствующей клетке на подставленное в клетку "1" значение.

При возможности необходимо устанавливать дополнительные частотные полосы контроля вибрации, связанные с газо - и гидродинамическими дефектами (лопаточные частоты), дефектами подшипников качения, дефектами зубчатых соединений и др. Предварительные (начальные) допустимые значения в этих полосах могут быть установлены не выше значений в полосе, включающей 10 гармонику частоты вращения ротора.

В дальнейшем, по мере накопления сведений об особенностях вибрации конкретного оборудования, следует разделить агрегаты по типам и подвергнуть полученные данные статобработке для определения индивидуальных частотных полос и допустимых значений для типа или даже для конкретного агрегата. Только после проведения этой работы достоверность автоматизированной оценки состояния оборудования будет достаточно высока. Опыт показывает, что экономия времени при автоматизированном распознавании состояния оборудования в этом случае с лихвой покрывает трудозатраты на предварительную статобработку.[3]

2.19 Дефекты подшипников скольжения

Дефекты подшипников скольжения и причины их выхода из строя можно условно разделить на две группы, в соответствии с которыми будет изложен материал текущей главы:

•         низкочастотная вибрация подшипников1, возникающая вследствие потери динамической устойчивости вращения ротора и нарушения условий смазки;

•         вибрация, связанная с дефектами изготовления, сборки и эксплуатации опорных и упорных подшипников скольжения, включающих различные дефекты сборки и подгонки подшипников и отклонение их геометрических размеров от номинальных, эксплуатационный износ подшипников, дефекты состояния шеек, нарушение качества поверхности материала вкладыша и др. Различные дефекты подшипников скольжения часто бывают взаимосвязаны между собой. Например, повышенная вибрация и износ подшипника могут приводить к потере динамической устойчивости.

Характерные черты вибрации при зарождении и развитии различных дефектов подшипников скольжения могут быть весьма разнообразны и зависят от множества факторов. Основные из них: величина и место приложения сил возбуждения, перераспределение реакций, нагруженность опор, крутящий момент, свойства, качество смазочного слоя и условия работы смазочного слоя в подшипниках, частота вращения ротора, степень развития дефектов подшипников, в том числе приводящих к неустойчивости ротора (например, перераспределение реакций опор при эксплуатационных расцентровках) и др. В вибрационном сигнале могут присутствовать колебания с частотой вращения ротора, возможно ее гармониками, субгармониками и дробными гармониками, некратная частоте вращения ротора низкочастотная и среднечастотная вибрация, случайная вибрация.[3]

2.19.1 Низкочастотная вибрация подшипников

Низкочастотная вибрация подшипников в большинстве случаев связана с потерей динамической устойчивости вращения ротора. Потеря динамической устойчивости вращения ротора возникает, когда циркуляционные силы масляной пленки или аэродинамические циркуляционные силы превосходят силы демпфирования. Это явление характерно для подшипников, имеющих цилиндрическую или эллиптическую расточку вкладыша, и часто встречается у быстроходных агрегатов с легкими роторами, агрегатов с вертикально расположенной осью вращения роторов, машин с малой нагрузкой на подшипники или относительно большой длиной (площадью) опорной части подшипника. Потере динамической устойчивости способствует снижение нагрузки (т.е. разгрузка) подшипника, повышение вязкости смазывающей жидкости, проблемы и применение маслоперепускной канавки, повышение зазоров в подшипнике, перекосы оси вкладыша по отношению к оси вращения (шейки) ротора, разгружающее неуравновешенное паровое усилие и др.[3]

2.19.2 "Вихревая смазка"

Опыт эксплуатации агрегатов, имеющих гибкие ротора, показывает, что такое снижение устойчивости, а в отдельных случаях возникновение высокоинтеисивных автоколебаний на масляной пленке, более характерно для роторов с рабочей частотой вращения, превышающей первую критическую частоту вращения ротора, но меньше его удвоенной первой критической частоты вращения. В большинстве случаев "вихревая смазка" связана с существенной разгрузкой подшипника или поворотом вектора нагрузки на подшипнике против вращения вала (другие причины приведены ранее).

Рис. 2.21. Траектория движения шейки вала в подшипнике скольжения при "вихревой смазке".

"Вихревая смазка" может вызывать интенсивную вибрацию на частоте 0,42...0,48 fr и ее гармониках. Эта вибрация определяется прямой прецессией вала в подшипнике под действием смазки.

Влияние "вихревой смазки" на форму траектории движения шейки вала в подшипнике скольжения заключается в том, что она по сравнению, например, с формой траектории при дисбалансе значительно усложняется: если при дисбалансе обычно это эллипс, то при "вихревой смазке" внутри эллипса появляется петля, вращающаяся в направлении движения ротора. На рис. 2.21. приведена достаточно типичная траектория движения шейки вала в подшипнике скольжения при "вихревой смазке", хотя на практике встречаются и более сложные кривые. Цифрой 1 на кривой помечена точка, соответствующая началу одного из оборотов ротора, цифрой 3 - точка, соответствующая завершению этого оборота и началу следующего оборота ротора, цифрой 2 - точка, соответствующая завершению второго оборота ротора (а также цикла вращения состоящего из двух оборотов ротора). Таким образом за временной интервал, соответствующий одному обороту ротора можно увидеть примерно половину одного цикла вращения. Петля вращается в направлении движения ротора (направление движения ротора помечено горизонтальной стрелкой) и, обычно, поворачивается на 360 градусов и возвращается в примерно исходное положение за 12...50 оборотов ротора или 6...25 циклов вращения (что зависит от отношения частот колебаний составляющей "вихревой смазки" и вращения ротора). В приведенном примере цифрой 5 помечено начало, а цифрой 4 - окончание одного из последовавших далее циклов вращения.

В приведенном ниже примере показано влияние "вихревой смазки" на характер вибрации.

Рис. 2.22. Изменение гармонического состава вибрации 4...7 опор турбоагрегата К-200-130 под влиянием нарушения центровки и "вихревой смазки". Условные обозначения: Т - турбина, G - генератор, V,H,A - пространственные компоненты вибрации.

При пуске в эксплуатацию турбоагрегата К -200-130 была обнаружена низкочастотная вибрация в районе опор 4...7 ротора низкого давления и генератора. Частотный состав вибрации, включающий полосу низких частот 10...48 Гц (S0,41). частоту вращения ротора (S1), ее вторую (S2) и третью (S3) гармоники, а также в полосу 152... 500 Гц (S4-10) приведен на рис. 2.22.

Причиной низкочастотной вибрации оказалось нарушение центровки роторов низкого давления и генератора (что очевидно, если проанализировать соотношение частотных составляющих вибрации), приведшее к разгрузке четвертой и шестой опор (индексы контрольных точек на рис. 2.22. - ТО и GI) более, чем на 50%. Разгрузка указанных опор сопровождалась и более низкими температурой подшипников 4 и 6 и давлением в масляном клине этих же подшипников. Был поставлен вопрос о возможности дальнейшей, пусть даже кратковременной, эксплуатации турбоагрегата.

Рис. 2.23. Спектры вибрации опоры №4 турбоагрегата К-200-130 в горизонтально-поперечном направлении при различных режимах усреднения под влиянием нарушения центровки и "вихревой смазки".

Известно, что низкочастотная вибрация может и не говорить о достижении агрегатом предельного состояния, если образующая ее составляющая (0,42...0,48 kfr) невелика и имеет малую флуктуацию по амплитуде. Необходимо постоянно сравнивать величину низкочастотной составляющей с величиной вибрации на частоте вращения ротора: опыт показывает, если низкочастотная вибрация значительно меньше вибрации на частоте вращения ротора, агрегат может успешно работать в течение достаточно длительного времени.

На рис. 2.23. приведены два спектра виброперемещения опоры №4 в горизонтально-поперечном направлении. Верхний спектр получен при обработке вибросигнала "среднеарифметическим спектральным усреднением" по восьми спектрам, т.е. каждая частотная составляющая итогового спектра является средней арифметической величиной из восьми составляющих той же частоты, полученных в процессе последовательного измерения и обработки восьми спектров. Нижний спектр получен в режиме т. н. "максимального пика", т.е. каждая частотная составляющая итогового спектра выбирается максимальной из восьми составляющих той - же частоты, собранных в процессе последовательного измерения и обработки восьми спектров.

Переход от режима работы виброанализатора со "среднеарифметическим усреднением" к режиму с "максимальным пиком" привел к возрастанию низкочастотной составляющей вибрации почти на 50%. Т.е. неустойчивость вибрации на частоте 21,02 Гц, помеченной на рисунке наклонными стрелками очевидна. Следует также обратить внимание на то, что "масляная" вибрация и вибрация на частоте вращения ротора соизмеримы по величине. Вибрация других контрольных точек (TOV, TOA, GIH, GIA) имеет подобный характер. Эти факты говорят о наличии значительной проблемы.

На графиках спектров стрелками помечены третьи гармоники низкочастотной вибрации, лежащие между первой и второй гармониками частоты вращения ротора. Их не следует путать с дробными гармониками частоты вращения ротора (l,5fr, 2,5fr ...), которые могут сопровождать нарушения жесткости, в частности от износа подшипников скольжения. Значительный износ подшипников скольжения также может приводить к потере устойчивости.

Рис. 2.24. Форма сигнала виброскорости опоры N4 турбоагрегата К-200-130 в горизонтально-поперечном направлении под влиянием нарушения центровки и "вихревой смазки".

На рис. 2.24. приведена форма сигнала виброперемещения опоры №4 в горизонтально - поперечном направлении. Временные интервалы между вертикальными пунктирными линиями, нанесенные на график через каждые 20 мс соответствует одному обороту ротора. Кривая виброскорости от оборота к обороту меняется: через каждые два или три оборота ротора следует максимум, вызываемый "масляной" вибрацией. На 20 оборотов ротора приходится примерно восемь таких максимумов, что и соответствует вибрации на частоте 0,42fr. Значительное снижение общего уровня вибрации и полное устранение низкочастотной вибрации было достигнуто путем правильной центровки турбоагрегата с учетом тепловых деформаций фундамента.[3]

2.19.3 "Взбиваемая смазка"

В отличие от "вихревой смазки", возникновение таких автоколебаний на масляной пленке чаще встречается у роторов с рабочими частотами вращения вдвое превышающими их первую критическую частоту, и требует подвода внешней энергии, подпитывающей вихрь, связанной, например, с воздействием вибрации или нагрузки. "Взбиваемая смазка" может вызывать интенсивную вибрацию подшипника скольжения на частотах, близких к первой критической частоте вращения ротора и ее гармониках.

Иллюстрацией может служить такой случай: во время пуска турбоагрегата К -300 -240 -ТВВ- 320 -2 возникли низкочастотные колебания, наиболее интенсивные в районе шестого подшипника (генератора со стороны турбины), которые нарастали по мере увеличения нагрузки. Размах виброперемещения достиг 140 мкм при 100% нагрузке. Вертикальный компонент вибрации в 1,5...2 раза превышал горизонтальные. Вибрация других опор была существенно меньше. На рис. 2.25. приведен спектр вертикального компонента вибрации опоры №6.

Рис. 2.25. Спектр вертикального компонента вибрации опоры N6 турбоагрегата К-300-240-ТВВ-320-2 под влиянием "взбиваемой смазки ".

Вертикальными стрелками помечена первая (15,54 Гц) и некоторые высшие (31,08; 46,62; ... Гц) гармоники низкочастотных колебаний. Горизонтальными стрелками помечены частота вращения ротора (50 Гц) и ее гармоники. Наклонными стрелками помечены суммарные и разностные частоты низкочастотной вибрации и первой (34,45 и 56,54 Гц), а также второй (84,46 и 116,54 Гц) гармоник частоты вращения ротора. Частота 15,54 Гц практически совпадает с первой критической частотой ротора генератора. Наличие "масляной вибрации" очевидно. Далее произвели разгружение турбоагрегата - на рис. 2.26. приведен каскадный спектр вибрации при снижении нагрузки с 290 МВт до 200 МВт. Каждый последующий график спектра записывался при снижении нагрузки примерно на 8 МВт. По мере снижения нагрузки низкочастотный компонент вибрации уменьшался: пиковое значение виброперемещения на первой критической частоте ротора (помечен вертикальной стрелкой) снизилось с 61 до 2,5 мкм. Т.е. нагружение агрегата и превышение нагрузкой некоторой пороговой величины в районе 80% от номинальной приводило к резкому увеличению низкочастотной вибрации, а разгружение агрегата и снижение нагрузки до 65...70% от номинальной приводило к снижению вибрации на частоте 15,54 Гц примерно на 40 дБ. Характерно также и то, что при снижении нагрузки амплитуда и фаза вибрации на частоте вращения ротора и ее второй гармонике практически не изменялись.

Рис. 2.26. Каскадный спектр вертикального компонента вибрации опоры N6 турбоагрегата К-300-240-ТВВ-320-2 при снижении нагрузки с 290 МВт до 200 МВт под влиянием "взбиваемой смазки".

Ротора генераторов обычно имеют неодинаковую жесткость в двух главных взаимно перпендикулярных направлениях (т.е. неравножесткие ротора). При вращении такого ротора его собственная частота из-за пространственной анизотропии жесткости и, следовательно, неодинакового прогиба в течение одного оборота немного циклически меняется с частотой вращения ротора, что приводит к появлению суммарных и разностных частот вокруг частоты вращения ротора и ее гармоник. На рис. 2.26. наклонными стрелками помечены боковые частотные составляющие вокруг частоты вращения ротора и вторая гармоника собственной частоты ротора, которые практически исчезают с падением нагрузки.

"Взбиваемая смазка", вызывающая вибрацию на критической частоте ротора паровой турбины или центробежного компрессора часто возбуждается аэродинамическими циркуляционными силами (например, "паровыми") силами. Для возбуждения аэродинамическими циркуляционными силами весьма характерно наличие некоторой пороговой нагрузки, при которой возникает интенсивная низкочастотная вибрация. На Рис. 2.27. приведен спектр вибрации паровой турбины, возникающий при превышении пороговой нагрузки (80% от номинальной). Стрелками помечена собственная частота ротора турбины 26,29 Гц и ее некоторые гармоники. Примечательно, что частота вращения ротора меньше ого удвоенной собственной частоты.

Рис. 2.27. Спектр вертикальной компоненты вибрации опоры паровой турбины компрессорного агрегата под влиянием "взбиваемой смазки".

В результате работ по снижению парового возбуждения, достигнутого перераспределением радиальных и осевых зазоров в проточной части турбины, низкочастотная вибрация была устранена.[3]

2.19.4 "Сухой вихрь"

"Сухой вихрь" - низкочастотная вибрация, возникающая при разрыве масляной пленки и контакте (трении) между валом и подшипником, вызванном неравномерной или неправильной смазкой подшипника (нарушение подачи и качества масла). В этих условиях при контакте поверхности вала и подшипника появляется "скрип" и, в результате, скачкообразное движение вала, сопровождающееся обычно повышением температуры подшипника. При этом может возбуждаться вибрация на резонансных частотах подшипника, субгармониках частоты вращения ротора (например, 1/2 или 1/3 fr), гармонических (kfr) и "дробных" гармонических частотах (1,5, 2,5, 3,5 ... fr) как в области средних, так и высоких частот.

Влияние "сухого вихря" на форму кривой траектории движения ротора в подшипнике заключается в том, что она по сравнению, например, с формой кривой при "вихревой смазке" имеет неподвижную петлю, появляющуюся при наблюдении двух и более последовательно выводимых на экран виброанализатора оборотов ротора. На рис. 2.28. приведен пример траектории вала в подшипнике скольжения при возникновении "сухого вихря", хотя на практике встречаются и более сложные кривые. Горизонтальной стрелкой показано направление движения ротора. Цифрой 1 на кривой помечено начало первого оборота ротора, цифрой 2 завершение первого оборота и начало второго оборота ротора, цифрой 3 -завершение второго оборота ротора (а также цикла вращения состоящего из двух оборотов ротора). Таким образом за временной интервал, соответствующий одному обороту ротора можно увидеть половину одного цикла вращения. Петля неподвижна.

Рис. 2.28. Траектории движения вала в подшипнике скольжения при возникновении "сухого вихря".

На рис. 2.29. представлен спектр вибрации, возникший при перекосе оси вкладыша подшипника и оси вращения ротора (нарушение верхнего и боковых зазоров подшипника) в результате чего возникла неравномерная смазка и разрывы масляной пленки, приводящие также к небольшим резонансным колебаниям опоры.

Вертикальными стрелками (частоты 16,65 и 24,99 Гц) помечены субгармонические составляющие спектра на 1/2 и 1/3 частоты вращения ротора. Горизонтальными стрелками (74,99, 125,0, 174,99, ... Гц) помечены "дробные" гармонические частоты 1,5, 2,5, 3,5 ... fr, наклонными стрелками помечены колебания на резонансных частотах колебаний опор (29,7, 52,2 Гц). В спектре наблюдается высокая виброактивность на гармониках частоты вращения ротора, в частности на 7 гармонике частоты вращения ротора (350 Гц) пиковое виброперемещение значением 3,5 мкм соответствует СКЗ виброскорости 5,4 мм/с. Высок также уровень шумов. Температура подшипника достигала практически предельно допустимого значения.

Возникновение "сухого вихря" иногда бывает связано с высокой вибрацией (иногда низкочастотной резонансной вибрацией труб).

Рис. 2.29. Спектр вибрации при перекосе оси вкладыша подшипника и оси вращения ротора (нарушение верхнего и боковых зазоров подшипника) и возникновении неравномерной смазки и разрывов масляной пленки.[3]

2.19.5 Дефекты опорных подшипников

Опорные подшипники воспринимают радиальные усилия на ротор и фиксируют его радиальное положение относительно корпуса. Основные причины выхода из строя опорных подшипников следующие: повышенное давление в радиальном направлении из - за нарушений технологических или расчетных режимов; нарушение подачи масла и качества масла; дефекты сборки и подгонки; эксплуатационный износ и загрязнение подшипников.

Повышенное давление в радиальном направлении из-за нарушений технологических или расчетных режимов, нарушения подачи и качества масла.

Повышенное давление и нарушение подачи и качества масла во многих случаях мало влияют на характер вибрации агрегатов, но в большинстве случаев приводят к повышению температуры или давления в клине наиболее нагруженных подшипников. Это явление обычно сопровождается ускоренным износом или повреждением баббитового слоя вкладыша подшипника, наволакиванием материала подшипника на шейку вала, и может приводить к внезапному скоротечному выходу подшипника из строя (см. "Заедание").

Неудовлетворительное состояние шеек, изготовления, подгонки и сборки подшипника. Приработка подшипника.

Нарушение подгонки и последующая приработка (и свойственные ей Диагностические признаки) - явление временное, обычно возникающее при выводе агрегата из ремонта и пуске его в эксплуатацию. Маловероятно сохранение диагностических признаков небольших нарушений подгонки и приработки у агрегата после нескольких месяцев эксплуатации.

Приработка подшипника обычно сопровождается повышенной виброактивностью в области средних и высоких частот.

Следует помнить, что подобные симптомы, зафиксированные с помощью датчиков относительной вибрации, могут говорить о наличии царапин или других дефектов поверхности вала.

Рис. 2.30 Траектория движения ротора в подшипнике скольжения наблюдавшаяся в процессе приработки подшипника

Наиболее надежными диагностическими признаками нарушений подгонки и приработки являются достаточно характерные изменения формы кривой сигнала виброперемещения и траектории движения вала в подшипнике.

На рис. 2.30. приведена траектория движения вала в подшипнике скольжения, наблюдавшаяся в процессе приработки подшипника ЭД при выводе компрессорного агрегата из ремонта. Весьма характерно в этом случае наличие участков с прямолинейным движением вала в подшипнике, помеченных вертикальными и горизонтальными стрелками. Наклонной стрелкой указано направление вращения ротора.

На рис. 2.31. приведены форма сигнала виброскорости и спектр сигнала виброперемещения подшипниковой опоры ЭД, полученные с помощью датчика абсолютной вибрации. На кривой вибросигнала имеется "площадка", как и на кривой орбиты. В спектре виброускорения бывает высока активность в области высоких и средних частот.

Нарушения подгонки и сопровождающая их приработка могут приводить к последствиям, делающим невозможной дальнейшую эксплуатацию оборудования, например, таким, как изгиб и деформация (возможно остаточная) вала.

Рис. 2.31. Форма и спектр сигнала вибрации подшипниковой опоры, наблюдавшиеся при нарушении подгонки и приработке подшипника.

Повышенный зазор в подшипнике, неравномерные зазоры по радиальной плоскости (нарушение цилиндричности формы вкладыша), нарушение постоянства величины верхнего зазора и боковых зазоров вдоль оси. Повышенный радиальный зазор или его неравномерность в подшипнике вследствие дефектов изготовления или эксплуатации приводят к сложной зависимости жесткости смазочного слоя от угла поворота, что практически всегда вызывает увеличение вибрации на частоте вращения ротора и особенно ее высших гармониках. Однако, определенная неравномерность зазора может повысить устойчивость вращения ротора в подшипнике, для чего, например, применяется эллиптическая расточка вкладыша подшипника. Нарушение верхнего и боковых зазоров в подшипнике может также приводить к разрыву масляного клина и возникновению "сухого вихря", что сопровождается повышением температуры подшипника (см. выше по тексту). На рис. 2.32. приведены форма и спектр (средний график) сигнала абсолютной, а также спектр относительной вибрации (верхний) подшипниковой опоры, наблюдавшиеся при повышенном зазоре (эксплуатационном износе) подшипника. На обоих спектрах наблюдается значительная активность гармоник частоты вращения ротора в области высоких и средних частот. Однако гармоническая активность в области средних частот абсолютной вибрации выше, чем относительной в основном в силу нелинейности влияния масляного клина и последующих разъемных соединений. Распространение колебаний через масляный клин и разъемные соединения подшипника приводит также с существенному возрастанию уровня случайной вибрации. Наблюдаемая при этом форма сигнала вибрации характерна для нарушений жесткости.

Рис. 2.32. Форма и спектры сигнала абсолютной и относительной вибрации подшипниковой опоры, наблюдавшиеся при повышенном зазоре (эксплуатационном износе) подшипника.

Рис. 2.33. Форма и спектр сигнала вибрации подшипниковой опоры, наблюдавшиеся при пониженном зазоре и наклепе подшипника.

На рис. 2.33. приведены форма и спектр сигнала вибрации подшипниковой опоры ЭД насосного агрегата, наблюдавшиеся в процессе приработки при пониженном (относительно номинальной величины) зазоре и развивающемся наклепе подшипника. Диагностические признаки в этом случае практически совпадают с диагностическими признаками нарушений жесткости и приработки подшипника.

Нарушение состояния баббитового слоя во вкладыше подшипника может приводить к появлению импульсов (возрастанию случайной вибрации) на кривой вибросигнала в момент приближения траектории движения вала к локальным дефектам, иногда сопровождаемые повышением температуры подшипника. Жесткость масляной пленки в момент приближения вала к локальному дефекту, уменьшается, что происходит раз за оборот вала (fr), а также происходят флуктуации давления при упруго-гидродинамическом взаимодействии в этот момент.[3]

.19.6 Дефекты упорных подшипников

Упорные подшипники воспринимают осевое усилие на ротор, и фиксирует осевое положение ротора относительно неподвижной проточной части корпуса и лабиринтных уплотнений компрессоров насосов, турбин и вентиляторов, в электродвигателе - статора и др.

Основные причины выхода из строя упорных подшипников (как и опорных) следующие: повышенное давление в осевом направлении из - за нарушений технологических или расчетных режимов, у компрессоров из - за износа уплотнений думмиса при повышенной вибрации (вызванной другими причинами); нарушение подачи масла и качества масла; загрязнение подшипников; дефекты сборки и подгонки; эксплуатационный износ; мгновенный выход из строя при попадании в компрессор даже небольших количеств жидкости.

Дефекты сборки и подгонки подшипников включают в себя:

•   перекос по вертикали или горизонтали поверхности вкладыша опорного подшипника относительно упорного диска, перекос вкладыша при креплении крышки подшипника: в этих случаях шейка ротора работает по кромке вкладыша и рабочие колодки только частью комплекта;

•         угловое смещение упорного диска, корпуса упорного подшипника, вызывает вибрацию в осевом направлении;

•         нарушение величины номинального осевого зазора в подшипнике (как правило в пределах 0,25...0,35 мм) вызывает вибрацию в осевом направлении;

•         неудовлетворительная площадь контакта (прилегание не менее 70%) вызывает вибрацию в осевом направлении и рост температуры в подшипнике.

Ослабление крепления деталей упорного подшипника вызывает вибрацию в осевом направлении и имеет диагностические признаки нарушений жесткости и рассматривается в соответствующей главе.

Рис. 2.34. Изменение СКЗ виброскорости опор ЦКМ под влиянием неудовлетворительной площади контакта и нарушения величины номинального осевого зазора в заднем подшипнике компрессора. Индексы 1,2 - задний и передний подшипники компрессора, 3,4,5,6 -задний и передний подшипники быстроходного и тихоходного валов мультипликатора, 7,8 - передний и задний подшипники ЭД, V,H,A - направление измерения вибрации.

В большинстве случаев дефекты упорных подшипников вызывают увеличение вибрации в осевом направлении, при этом нередко наблюдается рост температуры. В качестве примера можно привести следующий. При выводе из ремонта компрессорного агрегата в процессе испытаний была обнаружена вибрация, превышающая допустимые значения, установленные для длительной эксплуатации агрегата. На рис. 2.34. приведено распределение вибрации по подшипниковым опорам компрессорного агрегата. Легко заметна преобладающая вибрация компрессора в осевом и горизонтально - поперечном направлениях. Осевую вибрацию опор компрессора могут вызывать различные причины: например, расцентровка, неуравновешенность ротора, дефекты упорного подшипника и др. Анализ спектров и распределение вибрации по опорам (преобладающая вибрация наблюдается на частоте вращения ротора компрессора fr-2 (79,6 Гц) в осевом и чуть меньше в горизонтально - поперечном направлениях (рис. 2.35.)) скорее говорит в пользу дефекта упорного подшипника, хотя на практике подобная картина встречается и при других дефектах. Важнейшим диагностическим признаком в этом случае оказался рост температуры упорного подшипника, величина которой достигала уровня, отграничивающего срок эксплуатации агрегата. Поскольку температура упорного подшипника достигала предельно допустимого значения и наблюдалась преобладающая вибрация на частоте вращения ротора компрессора, особенно на задней подшипниковой опоре в осевом направлении предположили наличие дефекта сборки и подгонки упорного подшипника компрессора, а точнее нарушение величины номинального осевого зазора в подшипнике и/или неудовлетворительную площадь контакта. Агрегат был остановлен и проведена ревизия подшипника, в результате которой были обнаружены обе причины: в частности, прилегание поверхностей составляло примерно 60% площади. После устранения дефекта и пуска агрегата в эксплуатацию уровень вибрации снизился до 2,5 мм/с.

Рис. 2.35. Спектры вибрации передней и задней подшипниковых опор компрессора под влиянием неудовлетворительной площади контакта и нарушения величины номинального осевого зазора в упорном подшипнике компрессора.

Иллюстрацией эксплуатационного износа и нарушения величины номинального осевого зазора в подшипнике может служить следующий пример.

Рис. 2.36. Изменение СКЗ виброскорости опор компрессорного агрегата под влиянием эксплуатационного износа и нарушения величины номинального осевого зазора в подшипнике. М - электродвигатель, GB -мультипликатор, V,H,A - направление измерения вибрации, О - внешняя и I - внутренняя подшипниковые опоры.

Распределение вибрации по опорам компрессорного агрегата приведено на рис. 2.36. Вибрация опор ЭД в осевом направлении значительно превышает вибрацию других опор агрегата.

Установить причину осевой вибрации можно рассмотрев спектры вибрации опор ЭД приведенные на рис. 2.37. Если спектр вибрации в точке MIA весьма характерен для расцентровки, то спектр вибрации в точке МОА больше характерен для нарушений жесткости. О нарушениях жесткости свидетельствуют также отношения величины вибрации в осевом направлении к радиальному на первой и второй гармониках частоты вращения ротора. Наибольшая вибрация наблюдается на заднем подшипнике ЭД. Кроме того температура заднего упорного подшипника ЭД достигала уровня "предупреждения". Если рассмотреть спектр вибрации заднего подшипника ЭД в осевом направлении (точка МОА), приведенный на рис. 2.38., то можно отметить наряду с высоким уровнем гармонической активности наличие частотных составляющих на дробных гармониках частоты вращения ротора l,5fr, 2,5fr, 3,5fr, ... , помеченных на графике спектра вертикальными стрелками. Все эти факты говорят о возможном нарушении осевого зазора в упорном подшипнике и его эксплуатационном износе.

После вывода агрегата из ремонта при полной нагрузке уровень вибрации ЭД не превышал 1,5 мм/с.[3]

Рис. 2.37. Спектры пространственных компонент вибрации передней и задней подшипниковых опор ЭД под влиянием эксплуатационного износа и нарушения величины поминального осевого зазора в подшипнике.                

Рис. 2.38. Спектр вибрации задней подшипниковой опоры ЭД в осевом направлении под влиянием эксплуатационного износа и нарушения величины номинального осевого зазора в подшипнике.[3]

.20 Дефекты подшипников качения

Ресурс основной части энергомеханического оборудования малой и средней единичной мощности определяется в основном ресурсом подшипников качения. Наиболее эффективный и экономичный метод оценки состояния подшипников - виброанализ. Хотя дефекты изготовления, сборки и эксплуатации подшипников влияют на сигнал вибрации различным образом и имеют разные диагностические признаки, правильно составленный их комплекс позволяет обнаруживать, разделять на начальной стадии развития все виды дефектов, определять состояние подшипника и обеспечивать достаточно достоверный его прогноз.

Параметры вибрации агрегатов с подшипниками качения в значительной мере определяются конструктивными особенностями подшипникового узла (например, радиальные, радиально-упорные, спаренные подшипники) и самого агрегата (например, с горизонтальным и вертикальным положением ротора, соотношением статических нагрузок и др.). Кроме того, влияние на вибрацию подшипников качения оказывают три группы факторов: влияние нелинейной жесткости подшипников на колебания опор, влияние дефектов изготовления и сборки подшипниковых узлов и влияние дефектов эксплуатации (разрушения от усталости материала, повреждения от повышенного износа, разрушения, вызываемые изменением зазоров и посадок между деталями подшипников и опорами ротора и повреждения из - за нарушений смазки). Последние две группы факторов охватывают всевозможные дефекты колец, тел качения и сепараторов, нарушения и ослабления жесткости в местах посадок и превышения зазорами номинальных значений, перекосы подшипника, недостаточность, прекращение или изменение качества смазки, возникновение которых может быть взаимосвязанно. Например, усталостное разрушение подшипников качения появляется в виде выкрашивания материала дорожек колец и тел качения и может происходить из - за чрезмерно больших нагрузок. Износ деталей подшипника выше допустимого, особенно тел качения и поверхностей колец, приводит к увеличению радиальных зазоров и смещению ротора. Выход сепаратора из строя происходит вследствие нарушений сборки подшипников, действия больших осевых нагрузок, выкрашивания дорожек качения, усталостного разрушения и др. Проскальзывание внутреннего кольца подшипника относительно тел качения приводит к износу поверхностей качения. Недостаток и нарушения качества смазки приводят к оплыванию тел качения, наволакиванию материала на поверхности дорожек и износу сепаратора.

Проводимый на одном из предприятий входной контроль подшипников показал, что в зависимости от партии дефекты изготовления могут содержать от 10 до 90% подшипников партии. Опыт эксплуатации оборудования показывает, что если на агрегат монтируется бездефектный подшипник, то основные причины его выхода из строя распределяются приблизительно следующим образом: 40% - нарушения смазки, 30% - нарушения сборки и установки, 20% - неправильное применение, повышенная вибрация и др. и только 10% - естественный износ. Основные частоты составляющих вибрации при дефектах подшипников качения приведены в таблице 2.9.

Влияние нелинейной жесткости подшипников на вибрацию подшипников.

Выражается в появлении дополнительных гармонических составляющих вибрации из - за неодинаковой статической и динамической нагрузки на тела качения (непостоянства жесткости подшипника при вращении ротора) даже при отсутствии дефектов изготовления, сборки и при низкой остаточной неуравновешенности ротора. Поскольку статическая нагрузка (в большинстве случаев - сила тяжести горизонтально расположенного ротора) воздействует одновременно на 2...4 тела качения и число этих тел изменяется во времени с частотой перекатывания по наружному кольцу, возникают параметрические колебания с частотой kfo. При достаточно больших значениях неуравновешенности ротора может возникать амплитудная модуляция колебаний с частотой fо перекатывания тел качения частотой fr и появлением в спектре составляющих

Частоты основных составляющих вибрации при дефектах подшипников качения с вращающимся внутренним и неподвижным наружным кольцами.[3]

Таблица 2.9

Частота

Вид дефекта изготовления

Вид дефекта сборки

Вид дефекта износа

fr

Несоосность вала и внутреннего кольца


Неравномерный износ внутреннего кольца

2fr

Овальность внутреннего кольца

Перекос внутреннего кольца

Неравномерный износ внутреннего кольца

kfr

Гранность внутреннего кольца


Износ (в т.ч. неравномерный), раковины, трещины внутреннего кольца

Вибрация, вызываемая дефектами, приведенными в предыдущих трех строках таблицы, проявляется на частоте ротора и ее гармониках и ее весьма трудно отделить от других причин колебаний на этих частотах.

fсq или kfсg

Разномерность тел качения


Неравномерный износ тел качения, усталостное выкрашивание

k1fo±k2fcg

Появляется в подшипниках со статической осевой нагрузкой при перекосе наружного кольца и ...*

k(fr-fcg)

Появляется в радиально - упорных и упорных подшипниках при перекосе внутреннего кольца и ...*

*

Разномерности тел качения


Неравномерном износе тел качения

kfro или klfrol±k2fcq

Нарушение формы тел качения


Дефекты (неравномерный износ, сколы) тел качения

k1frol±k2fr

Появляется в подшипниках со статической осевой нагрузкой при перекосе внутреннего кольца и дефектах тел качения (нарушение формы, неравномерный износ, сколы)

fo


Принудительная центровка валов


Частота

Вид дефекта изготовления

Вид дефекта сборки

Вид дефекта износа

 

2fo


Перекос наружного кольца


 

kfo или klfo±k2fcq

Разномерность тел качения


Дефекты (раковины, трещины, износ) наружного кольца

 

klfo±k2fr

Появляется в подшипниках со статической осевой нагрузкой при перекосе внутреннего кольца и дефектах (раковины, трещины) наружного кольца

 

fi


Нарушение центровки валов


 

2fi


Перекос внутреннего кольца


 

kfi или kfi±k2fr



Дефекты (раковины, трещины, износ) внутреннего кольца

 

k1fi±k2(fr- fcq)

Появляется в подшипниках со статической осевой нагрузкой при перекосе внутреннего кольца и дефектах (раковины, трещины) внутреннего кольца

 

ffrol

Нарушение формы тел качения


Нарушение формы тел качения

 

ffi

Нарушение формы внутренней дорожки


Нарушение формы внутренней дорожки

 

ffo

Нарушение формы внешней дорожки


Нарушение формы внешней дорожки

 

frrol

Резонансная частота тел качения

 


Подшипниковые частоты, приведенные в таблице определяют по формулам, приведенным ниже.

fcq - частота вращения сепаратора:

fcq = ;

(обычно fcq ≈ 0,4 fr); fo - частота перекатывания тел качения по наружному кольцу:

fo = fr Zrol (1- cos α); (обычно fo ≈ 0,4Zrolfr);

fi - частота перекатывания тел качения по внутреннему кольцу:

fi = fr Zrol (1+ cos α); (обычно fi ≈ 0,6Zrolfr);

frol - частота вращения тел качения:

frol = fr         

ffrol - частота возбуждения при дефекте формы тел качения:

ffrol = 2 fr

ffi - частота возбуждения при изменении формы внутренней дорожки:

ffi =

ffo - частота возбуждения при изменении формы внешней дорожки:

ffo =

frrol - резонансная частота тел качения:

frrol =

где:

fr - частота вращения внутреннего кольца (ротора) подшипника;

zrol - число тел качения в подшипнике;

drol - диаметр тел качения в подшипнике;

dcq - диаметр сепаратора (делительной окружности, окружности проходящей через центры тел качения) подшипника качения;

α - угол контакта тел и дорожек качения в подшипнике;

k, k1, k2 - натуральные числа 1, 2, ...;

Е - модуль упругости;

ρ - удельная плотность шариков.

2.20.1 Влияние дефектов изготовления и сборки на вибрацию

Дефектами изготовления подшипников качения являются отклонения геометрических размеров и формы деталей подшипника от конструктивных (несоблюдения допусков изготовления колец, сепаратора и тел качения, овальность и гранность дорожек и тел качения, разномерность тел качения) и нарушение шероховатости поверхности качения.

Дефектами сборки подшипникового узла являются появление радиального натяга в подшипнике, перекос внутреннего и наружного колец подшипника, принудительное центрирование валов при стыковке узлов агрегата и перекос соединительных муфт.

Характерные частоты дефектов изготовления и сборки приведены в табл. 2.9.

Если отсутствует радиальный зазор в подшипнике, вследствие нарушения посадки или дефектов ротора, появляется вибрация, содержащая комбинации частот составляющих, вызываемых всеми дефектами, имеющимися в подшипнике, причем увеличивается уровень вибрации, создаваемый дефектами наружного кольца. Для радиальных подшипников, имеющих осевую нагрузку характерно отсутствие радиального зазора и высокая чувствительность к качеству сборки подшипникового узла. Небольшие перекосы колец, всегда появляющиеся при сборке подшипника, перераспределяют нагрузку на тела качения преимущественно в две противоположные точки кольца. Радиальный натяг, вызываемый осевой нагрузкой, может приводить к появлению комбинационных частот дефектов.[3]

.20.2 Влияние дефектов износа поверхностей качения на вибрацию

Дефекты износа поверхностей качения влияют на характер вибрации во всем частотном диапазоне, поскольку в процессе износа увеличивается коэффициент трения и при взаимодействии дефектных поверхностей возникают периодические удары, что приводит к росту интенсивности высших гармоник и увеличению случайных составляющих в сигнале вибрации. Для проявления дефектов износа характерно наличие инкубационного периода, т.е. их развитие, сопровождающееся высокой скоростью износа, хорошо заметно на последних этапах эксплуатации подшипника.

Наличие ударных импульсов и случайной вибрации приводит к сложному составу спектра сил возбуждения. Сопровождающие такое возбуждение резонансные колебания отдельных узлов и деталей агрегата могут определять его уровень вибрации. При развитии дефектов на нескольких поверхностях качения колебания имеют сложную структуру, приводя к модуляции и появлению вибрации с комбинационными (суммарные и разностные частоты frol, fi ,fcq , fo, fr и их гармоники) и субгармоническими частотами.

Основным свойством дефектов износа, в отличие от дефектов изготовления поверхностей, является более сильное проявление в сигнале вибрации кратных гармоник в области низких и средних частот, высокий уровень случайной вибрации и наличие ударных импульсов.[3]

2.20.3 Влияние нарушения смазки при эксплуатации

В принципе, отклонение количества смазки от номинальной величины можно отнеси к дефектам сборки подшипникового узла, а ухудшение качества (коксование, появление твердых частиц и др.) к дефектам износа. Нарушения смазки - наиболее распространенная причина выхода из строя изначально бездефектного подшипника. Уровень высокочастотной вибрации и температуры подшипника существенно зависит от состояния смазки. Кроме того, иногда нарушения смазки могут приводить к появлению в спектре вибрации 3...4 пиков с интервалом в 80... 130 Гц в области 900... 1600 Гц.

Наибольшее распространение для определения оценки состояния подшипников качения и дефектов нашли две группы методов. Первая группа основана на выделении и анализе дискретных составляющих на основных частотах возбуждения колебаний в подшипнике (см. таблицу 2.9.).

Диагностическими признаками дефектов служат частотные составляющие спектра и характеристики импульсов, следующих с частотой перекатывания тел качения по локальным дефектам (например, местам выкрашивания): амплитуда импульса, соотношение энергии импульса в уровню шума, амплитуды спектральных составляющих на частоте повторения импульсов и ее гармониках. Для выделения этих параметров из сложного сигнала используют спектральные и корреляционные методы, выделение огибающей и др. Вторую группу составляют методы диагностирования технического состояния подшипника в целом. При потере работоспособности агрегата не имеют значения дефекты, вызвавшие выход из строя подшипника. Важно, что его необходимо заменить. В силу этого состояние подшипника оценивается по степени развития деградационных процессов. Широкое распространение нашел метод ударных импульсов (SPM), нашедший воплощение в оборудовании объединения.

Дефектам подшипников качения присущи некоторые особенности. В частности, характерно появление в сигнале вибрации гармонических частотных составляющих некратных частоте вращения ротора. Обычно на ранней стадии развития дефектов подшипника появляются признаки дефектов только одного из колец и, затем, другого. При одинаковой степени развития дефекта вибрация, вызываемая внутренним кольцом, имеет более низкую интенсивность, чем наружным. По мере износа подшипника далее появляются дефекты тел качения и, наконец, сепаратора. На осциллограмме вибросигнала (особенно виброускорения) имеются ударные импульсы и выбросы, кривая вибрации обычно имеет случайный непериодический характер, однако некоторые импульсы могут быть периодичны. В спектре достаточно часто частотные составляющие, характерные для дефектов колец, модулируются частотой вращения ротора, приводя к появлению боковых частотных составляющих. С увеличением износа поверхностей качения и количества локальных дефектов количество и уровень гармонических составляющих, боковых частот и разностных частот возрастают. Появление составляющих вибрации на резонансных частотах других деталей и узлов агрегата обычно говорит о сильном износе подшипника. Высокий уровень случайной вибрации (широкополосный шум) появляется при значительном нарушении геометрических размеров подшипника. При повышении вибрации подшипника или анализе причины его преждевременного выхода из строя следует установить с чем она связана: с износом, нарушениями смазки, избыточной статической нагрузкой или повышенной вибрацией. Дефекты смазки, избыточная статическая нагрузка и повышенная вибрация многократно ускоряют темп износа подшипника.

Высокочастотная вибрация сильно затухает при распространении, что позволяет разделять сигналы подшипников разных подшипниковых узлов.

На рис. 2.39. приведена динамика изменения вибрации подшипника за период в 14 месяцев по мере появления износа и дефектов колец.

Усталостное разрушение подшипников проявлялось в виде выкрашивания материала дорожек колец и тел качения. В процессе ремонта агрегата произвели замену подшипников, однако, вызывающий повышенную вибрацию дефект электромагнитного происхождения не был устранен. Это приводило к тепловому расширению ротора и, как следствие, возникновению чрезмерно большой нагрузки на подшипники и их ускоренному выходу их строя.

Нижние форма и спектр сигнала измерены практически после ремонта. Для этого периода характерно отсутствие дефектов подшипников выразившееся в почти периодическом характере кривой виброускорения с невысокой амплитудой, сколько-нибудь заметные ударные импульсы отсутствуют. Спектр виброскорости включает преобладающую составляющую на частоте вращения ротора с высоким значением амплитуды, вызванную неуравновешенностью ротора. Уровень шумов сравнительно низок (случайная вибрация практически отсутствует).

Рис. 2.39. Формы и спектры сигналов вибрации подшипника в процессе развития дефектов колец (frol = 3,73fr, fi = 10,73fr ,fcq = 0,435fr ,fo = 8,27fr ,fr = 49.4Гц).

Следующие (снизу-вверх) форма и спектр сигнала получены после года эксплуатации агрегата. Заметны значительные изменения формы сигнала вибрации: кривая вибрации непериодическая, появились ударные импульсы и случайная вибрация. Однако пиковое значение виброускорения пока еще невелико по величине - не превышает 1,5 q. Спектр виброскорости также изменился: появились составляющие на частотах возбуждения внутреннего и наружного колец, существенно повысился уровень шумов. Этому периоду соответствует появление локальных дефектов на наружном кольце подшипника.

Верхние форма и спектр сигнала измерены перед выводом агрегата в плановый ремонт. Кривая виброускорения имеет непериодический, "случайный вид", амплитуда отдельных импульсов достигает 3,5 q. Спектр виброскорости подшипника включает составляющие с частотой возбуждения внешнего и внутреннего колец. Составляющая спектра с частотой fo = 8,27fr (приблизительно 411 Гц) выше других. Вертикальными стрелками помечены боковые частотные составляющие fo±kfr. Их достаточно большие (по отношению к fo) значения говорят о значительной степени развития дефектов внешнего кольца. Величина вибрации на частоте fi = 10,73fr (приблизительно 533 Гц) примерно на 20 дБ ниже, чем на частоте fo, поэтому можно предположить, что дефекты внутреннего кольца менее развиты. Об этом же свидетельствуют более низкие значения амплитуд вибрации на боковых частотах fi ± kfr (помеченные наклонными стрелками) по отношению к fi.

Этот пример иллюстрирует достаточно высокую чувствительность формы сигнала виброускорения к изменению состояния деталей подшипника качения.

На рис. 2.40. приведены форма сигнала виброускорения и спектры сигналов виброскорости подшипника агрегата, первый из которых (нижний спектр) собран после 2,5 лет безремонтной эксплуатации агрегата. Износ подшипника проявлялся в виде выкрашивания материала дорожек колец (кроме других на внутреннем кольце был обнаружен развитый локальный дефект) и тел качения.

Нижний спектр виброскорости содержит составляющие, кратные частоте вращения ротора, вызванные некоторым износом подшипника. Уровень шумов низок, случайная и высокочастотная вибрация сравнительно невелика.

Следующий (снизу-вверх) спектр получены после появления локальных дефектов внутреннего кольца подшипника. Заметны значительные изменения спектра виброскорости: появились высокочастотные составляющие на гармониках частоты возбуждения (и боковых частотах) внутреннего кольца, существенно повысился уровень шумов.

Верхние форма и спектр сигнала измерены перед выводом агрегата в ремонт. Кривая вибрации имеет непериодический, случайный вид, амплитуда отдельных импульсов достигает 9,5 q. Отчетливо наблюдаются периодические ударные импульсы, возникающие при перекатывании шариков по сильно развитому локальному дефекту внутреннего кольца с периодом 3,8 мс. Большое значение амплитуды и коэффициента пика 4,2 говорят о значительном развитии дефекта.

В спектре виброскорости подшипника наиболее отчетливо проявляется (из подшипниковых" частот) составляющая на частоте возбуждения внутреннего кольца с частотой fi = 5,33fr(приблизительно 263 Гц) и ее 4 -я, 6 -я, 7 -я и 8 -я гармоники, помеченные стрелками. При этом величина вибрации на частоте возбуждения сопоставима по величине с вибрацией на ее гармониках. Вокруг составляющей с частотой fi и ее гармоник наблюдаются боковые частотные составляющие mfi±nfr. Их достаточно большие (по отношению к fi) величины и количество говорят о значительной степени развития дефектов внутреннего кольца. Вибрация на частоте fo = 7,67fr (приблизительно 380 Гц) практически не наблюдается, поэтому можно предположить, что дефекты внешнего кольца менее развиты. Характерно, что уровень шумов по мере развития дефектов возрастает и в верхнем спектре наибольший. За счет появления высокочастотной вибрации (если сравнивать нижний и верхний спектры) СКЗ виброскорости возросло более чем в полтора раза, хотя вибрация на преобладающей частоте (частоте вращения ротора) практически не изменилась.

Рис. 2.40. Форма и спектры сигналов вибрации подшипника в процессе развития дефекта внутреннего кольца (frol=2.64fr, fi = 5,33fr, fcq = 0.41fr, fo=7,67fr, fr = 49,41Гц (SKF 1700)).

Этот пример показывает, что для повышения достоверности контроля состояния подшипников качения необходимо стараться расширять по мере возможностей частотный диапазон измерений вибрации и анализировать характер вибрации в высокочастотной области спектра. На рис. 2.41. приведены форма сигнала виброскорости и спектр сигнала виброускорения подшипника, имеющего кроме износа, раковин и трещины внутреннего кольца износ остальных деталей, особенно внешнего кольца и шариков. Спектр вибрации подшипника включает составляющие на всех основных частотах возбуждения при работе подшипников, свидетельствующие о наличии дефектов всех деталей подшипника. Составляющая спектра на частоте fi = 29,5fr (приблизительно 731 Гц) является преобладающей, но имеется весьма значительная вибрация на частоте l/3fo (приблизительно 222 Гц). Поскольку вибросигнал (при сходном развитии дефектов колец) при возбуждении колебаний внутреннего кольца всегда проходит путь до точки измерений больший, чем от внешнего, и, следовательно, затухает сильнее, можно утверждать, что дефект внутреннего кольца развит сильнее. На фрагменте спектра помечены: горизонтальной стрелкой боковая частотная составляющая fi + fr, вертикальной стрелкой боковая частотная составляющая fi + (fr - fcq ). Большие значения вибрации на этих частотах, присутствие в спектре частоты возбуждения сепаратора и высокий уровень шумов также говорят о предельном состоянии подшипника. Кривая виброскорости имеет непериодический, "случайный" характер, амплитуда отдельных импульсов достигает 8 q, а значение коэффициента пика - 3,1.

Рис. 2.41. Форма и спектр(с фрагментом) сигнала вибрации подшипника с дефектом внутреннего кольца (frol = 9,65fr, fi = 29,5fr, fcq= 0,475fr, fo=26,9fr, fг=24,75Гц).

На рис. 2.42. показаны форма и спектр сигнала вибрации подшипника, имевшего нарушение смазки. В приведенном примере произошло старение смазки, выразившееся в практически полном отсутствии нормальной смазки в подшипнике: ее коксовании и появлении твердых частиц. В течение некоторого времени обслуживающий персонал наблюдал рост температуры подшипника, которая к моменту измерения приведенных формы и спектра сигнала вибрации достигла предельно допустимого значения, а также роста общего уровня вибрации.

В спектре вибрации в диапазоне 1000...2000 Гц наблюдается несколько частотных составляющих следующих с интервалом 122,8 Гц. Ни одна из группы этих частотных составляющих не кратна частоте вращения ротора и частотам дефектов подшипника качения (frol, fi ,fcq , fo). Кривая вибрации имеет непериодический, "случайный" вид, амплитуда отдельных импульсов достигает 8,2д. Большие значения амплитуды вибрации и коэффициента пика 4,6 говорят об опасности дефекта.

Рис. 2.42. Форма и спектр (с фрагментом) сигнала вибрации подшипника с нарушением смазки (frol= 2.38fr, f = 8,34fr, fcq = 0,4fr, fo = 5,63fr, fr = 49,61Гц).

Непосредственно после измерений агрегат был кратковременно остановлен и проведена замена смазки подшипника. После пуска агрегата температура нормализовалась и высокочастотная вибрация полностью исчезла. Следует отметить, что подобные спектры вибрации подшипника при нарушениях смазки встречаются не всегда.

Одним из наиболее достоверных и удобных методов определения вида дефектов и оценки состояния подшипников качения является метод спектрального анализа огибающей высокочастотных составляющих сигнала вибрации, создаваемой ударными импульсами. Наиболее существенным недостатком этого метода можно считать высокие потери при распространении вибрации, что требует максимального приближения датчика к подшипнику качения. В качестве диагностического признака весьма удобно использовать амплитудную модуляцию высокочастотной случайной вибрации подшипникового узла, а диагностического параметра - парциальные глубины модуляции случайного сигнала. Опыт показывает, что глубина модуляции случайной вибрации слабо зависит от частоты вращения подшипника и его габаритов, что позволяет устанавливать обобщенные уровни тревог, не зависящие от вида подшипника и агрегата. Установлено также, что чем шире полоса фильтра демодулятора, тем выше чувствительность измерительного тракта при обнаружении модуляции гармоническим сигналом случайного сигнала, спектральная плотность которого постоянна в пределах полосы пропускания фильтра. Из - за резонансов в подшипниковых узлах спектральная плотность сигнала не бывает постоянной в широкой полосе частот, что приводит к появлению ошибок измерения глубин модуляции. Поэтому наиболее целесообразно использовать фильтры с относительно небольшой полосой пропускания, например, треть октавные. Ошибки измерения появляются также когда в полосу пропускания фильтра демодулятора попадают гармонические составляющие сигнала вибрации, во избежание чего желательно, по мере возможностей, анализировать составляющие вибрации в полосе 10... 15 кГц.

Дефекты сборки и эксплуатации подшипников качения приводят к появлению в спектре огибающей гармонических составляющих с частотами приведенными в таблице 2.9.

Рис. 2.43. Примеры спектров огибающей высокочастотной вибрации подшипника качения асинхронного ЭД при дефектах сборки подшипника (сверху вниз): перекосе внутреннего и внешнего колец, "наклепе" и расцентровке агрегата.

На рис. 2.43. приведены несколько примеров спектров огибающей, возникающие при основных дефектах сборки подшипникового узла. В частности, при перекосе наружного кольца обычно возникает преобладающая составляющая с частотой 2fo (рис. 2.43., позиция 2). При перекосе внутреннего кольца подшипника и большой радиальной нагрузке, в силу того, что появляются две точки контакта колец с телами качения, часто возникает преобладающая составляющая с частотой 2fr (рис. 2.44., позиция 1).

Рис. 2.44. Спектры огибающей высокочастотной вибрации подшипника качения асинхронного ЭД по пере выработки ресурса.

Вследствие нарушений условий транспортировки агрегата или его узлов в сборе может образовываться "наклеп" подшипника, который в начале эксплуатации агрегата сопровождается появлением ударных импульсов с частотой fo (рис. 2.44., позиция 3), причем наличие ударных импульсов вызывает появление в спектре огибающей интенсивных высших гармоник kfo (рис. 2.44., позиция 3).

Расцентровка узлов агрегата, выражающаяся в сдвиге или изломе осей агрегата, а также расцентровка подшипниковых узлов приводит к появлению в спектре огибающей группы кратных частоте вращения ротора составляющих, причем в большинстве случаев частотная составляющая fr является преобладающей (рис. 2.44., позиция 4).

На рис. 2.45. приведены спектры огибающей высокочастотной вибрации подшипника качения асинхронного ЭД по мере выработки ресурса в течение примерно 30000 часов непрерывной эксплуатации.

Нижний спектр записан практически после ремонта через несколько дней работы агрегата. В этот период дефекты сборки и износа подшипника отсутствуют, а спектр огибающей высокочастотного сигнала содержит только одну, достаточно часто встречающуюся даже в бездефектных подшипниках, гармоническую составляющую малой интенсивности с частотой перекатывания тел качения по наружному кольцу fo = fcqZrol- Модуляция высокочастотной вибрации этой частотой определяется тем, что число тел качения, контактирующих с обоими кольцами подшипника, изменяется на единицу с частотой fo.

Спектры, записанные в течение последующих 14 месяцев (примерно 9000 часов работы агрегата) содержат небольшие составляющие fr, 2fr, 3fr и frol говорящие о развитии небольших дефектов: перекоса внутреннего кольца или расцентровки, а также нарушении или износе тел качения.

После двух лет эксплуатации (16.01.92) в спектре огибающей появляются признаки дефектов (износа) колец (частотные составляющие fi, fo) в начальной стадии развития. Скорость развития дефектов невелика, но неуклонно увеличивается. Примерно через 25000 часов с начала эксплуатации обнаруживается быстроразвивающийся дефект сепаратора (частотные составляющие fc и 2fc ), причем частотная составляющая fc становится преобладающей в спектре. К моменту времени последнего замера она достигает максимально допустимого значения. Для завершающего периода развития дефектов характерно появление весьма интенсивных боковых частотных составляющих kfcq и kfr вокруг частот frol, fi, и fo и их гармоник.

Разрушение подшипника чаще всего происходит при предельном износе сепаратора, быстро развивающемся при износе и выкрашивании тел качения. Поэтому глубина модуляции случайной вибрации частотой fcq в значительной степени определяет ресурс подшипника качения и может успешно использоваться для решения задачи оценки и прогноза технического состояния подшипника качения.[3]

2.21 Дефекты зубчатых передач

Нормально функционирующая зубчатая передача даже при отсутствии дефектов может обладать весьма заметной виброактивностью. Колебания при этом возникают в широком диапазоне частот и могут иметь весьма сложный состав и характер.

Возбуждение колебаний в зубчатых передачах, в том числе и нормально функционирующих, вызывается проявлением двух основных факторов - погрешностями изготовления и сборки (монтажа) зубчатых колес и периодическим изменением жесткости зубьев по фазе зацепления.

Погрешности изготовления складываются из постоянных и переменных погрешностей в шаге зубьев. Погрешности монтажа проявляются в виде нарушений соосности валов и перекосе их осей, нарушении боковых зазоров и др.

Периодическое изменение жесткости зубьев и постоянная погрешность шага зацепления вызывают появление в вибрации зубчатой передачи колебаний на зубцовой частоте и ее гармониках:

fz=Z1fr1 = Z2fr2;

где Z1,Z2 - числа зубьев и frl, fr2 - частоты вращения сопряженных колес.

Переменная погрешность в шаге зацепления и нарушения соосности (перекосы осей валов) вызывают вибрацию на частотах вращения валов обоих колес и/или на модуляционных частотах:

kfr1, и kfr2; mfZ ± nfr1 и mfz ± nfr2 ;

где k, n, m = 1, 2, ...

Часто в спектре вибрации зубчатой передачи могут возникать т.н. "промежуточные" частотные составляющие (fm), появляющиеся обычно у мультипликаторов приблизительно посередине между частотой вращения ротора быстроходного колеса и зубцовой частотой. "Промежуточные" частотные составляющие представляют собой серию компонентов, кратных или некратных частоте вращения зубчатых колес. Эта вибрация имеет недостаточно ясную механическую природу: хотя имеется несколько теорий, объясняющих ее возникновение, однако, по мнению авторов этой книги, ни одна и них не объединяет всех фактов, связанных с особенностями поведения "промежуточных" частотных составляющих. Наиболее предпочтительно предположение, что первопричинами возникновения этих частотных составляющих являются собственные частоты зубчатых элементов, и, весьма вероятно, что они являются результатом резонансного возбуждения, например, при виброударных процессах в зацеплении. В ряде случаев мониторинг амплитуд "промежуточных" частотных составляющих может служить весьма чувствительным первичным индикатором зарождения различных дефектов в зубчатой передаче. В то же время амплитуды "промежуточных" частотных составляющих очень чувствительны к изменениям условий работы агрегата, особенно нагрузки агрегата, причем реакция увеличения вибрации на увеличение нагрузки может быть нелинейной и неповторяющейся по величине. В связи с этим использование амплитуд "промежуточных" частот в качестве параметра для оценки состояния и остаточного ресурса зубчатой передачи может оказаться труднореализуемым.

Ошибка зубонарезания каждого из колес зубчатой пары приводит к вибрации, связанной с числом зубьев делительного колеса зубонарезного станка:

fq=Zqkfr;

где Zq - число зубьев делительного колеса зубонарезного станка, к= 1, 2, ...

Обычно в спектре вибрации зубчатой передачи содержится шумовой компонент, дисперсия которого меняется с наработкой в соответствии с развитием локального износа, те. уменьшается в процессе приработки колес, практически неизменна при нормальной работе в достаточно длительном интервале времени и растет по экспоненте в процессе интенсивного износа. Шумовой компонент в спектре вибрации может иметь вид белого шума, который накладываясь на дискретные собственные частоты деталей зубчатой передачи может вызывать резонанс и появление новых спектральных составляющих. К этому же может приводить, например, возникновение параметрического резонанса в прямозубых передачах, при появлении отрывных виброударных колебательных режимов.

Эксплуатационные дефекты зубчатой передачи условно можно разделить на следующие виды: абразивный износ зубчатого зацепления, выкрашивание зубьев (питтинг) зубчатых колес, трещины и излом зубьев зубчатых колес и заедание зубчатых колес. Поскольку они являются возмущающими факторами, свойства вибросигнала (форма сигнала и спектр вибрации, в т.ч. особенно спектр огибающей, кепстр и др.) при их наличии всегда меняются. В частности, в спектре могут меняться соотношения между основными частотами возбуждения, появляться новые спектральные составляющие, значительно изменяется уровень шумового компонента. На кривой сигнала вибрации могут появляться ударные импульсы и изменяться соотношение между периодическим и шумовым компонентами. В то же время следует учитывать, что существенные изменения формы и спектра сигнала вибрации в основном наблюдаются при развитых повреждениях. На ранней стадии развития дефектов целесообразно использовать другие методы анализа виброакустического сигнала, такие как кепстральный анализ, анализ спектра узкополосной огибающей и др.[3]

2.21.1 Абразивный износ зубчатого зацепления

Обычно при выборке материала поверхности зубьев колес нарушается микро и макрогеометрия контактирующих зубьев. Это приводит к увеличению трения и росту шумового компонента.

Абразивный износ вызывает увеличение бокового зазора, что может приводить к отрыву профилей зубьев в зацеплении и ударному режиму возбуждения вибрации. Ударный режим возбуждения достаточно часто приводит к росту спектральных составляющих гармонического ряда частот, кратных частоте зацепления зубьев (kfz), появлению "промежуточных" частотных составляющих (fm) и перераспределению энергии в сторону высокочастотных составляющих. На осциллограмме сигнала вибрации меняется соотношение компонентов периодической и случайной вибрации.

Равномерный абразивный износ (ухудшение состояния контактирующих поверхностей) всегда сопровождается ростом общего уровня спектральных составляющих вибрации практически во всем измеряемом диапазоне частот вибропроцесса. Общее увеличение уровней спектральных компонентов, особенно в высокочастотной области, определяет степень развития износа поверхностей зубьев, что при сильном износе приводит к появлению в спектре широкополосных областей с высоким уровнем шума, которые могут поглощать составляющие основных частот возбуждения. Однако каждая зубчатая пара характеризуется своими частотами возбуждения: частотами вращения роторов, "промежуточными" частотами и зубцовой частотой и их гармониками. Для подчеркивания последних иногда бывает целесообразно использовать синхронное накопление или синхронную гребенчатую фильтрацию.[3]

2.21.2 Выкрашивание зубьев (питтинг) зубчатых колес

Появление локального повреждения в виде ямки выкрашивания (питтинг), одного из наиболее распространенных дефектов, приводит к увеличению деформации зубьев, а точнее росту ее контактной составляющей. В силу этого жесткость зацепления передачи в момент контактирования зуба, имеющего дефект, уменьшается, что происходит раз за оборот вала (fr). Питтинг приводит также к флуктуации давления в упругогидродинамическом контакте в момент контактирования поврежденного зуба, что приводит к увеличению глубины амплитудной модуляции в виброакустическом сигнале. Эти явления вызывают рост амплитуд гармоник оборотной частоты kfr рост амплитуд комбинационных частот mfz ± nfr. Достаточно часто наблюдается появление и/или существенный рост (флуктуации) амплитуд "промежуточных" частот (fm и fm ± nfr).

В качестве диагностических признаков питтинга часто используют появление и развитие боковых частотных составляющих mfZ ± nfr. вокруг зубцовой частоты fZ, или боковых частотных составляющих fm ± nfr вокруг "промежуточных" частотных составляющих fm, и диагностического параметра их амплитуды в спектре вибрации или, аналогично, частотных составляющих kfr и их амплитуд в спектрах амплитудной огибающей узкополосной вибрации с центральными частотами kfz и fm . [3]

.21.3 Трещины и излом зубьев зубчатых колес

Эти дефекты являются весьма опасными, поскольку разрушение зубьев (скол, поломка) часто приводит к отказу агрегата при попадании продуктов разрушения в зону зацепления или подшипники.

Появление локального повреждения в виде трещины или скола зубьев может приводить к увеличению деформации собственно зубьев и, достаточно редко, деформации ободьев зубчатых колес, как изгибной, так и контактной ее составляющих. Как и в случае питтинга, жесткость зацепления передачи в момент контактирования зуба, имеющего дефект, уменьшается, что происходит раз за оборот вала (fr), а также происходят флуктуации давления в упругогидродинамическом контакте в момент контактирования поврежденного зуба, что приводит к увеличению глубины амплитудной модуляции в виброакустическом сигнале. Эти явления вызывают рост шумового компонента виброакустического сигнала и амплитуд гармоник оборотной частоты kfr, рост амплитуд комбинационных частот mfz ± nfr и флуктуацию амплитуд резонансных частот (достаточно часто наблюдается появление и/или существенный рост "промежуточных" частот).

Поскольку при появлении трещины или излома зуба жесткость зацепления в момент контакта дефектного зуба резко уменьшается, следующая пара зубьев входит в зацепление преждевременно, и момент входа сопровождается ударом. Амплитуда ударного импульса пропорциональна степени развития дефекта (трещины или излома). Частота заполнения импульса, вероятнее всего, - собственная частота зубчатого элемента. Таким образом, рассматривая форму сигнала передачи с подобным дефектом иногда возможно обнаружить следующие раз за оборот ударные импульсы, подчеркивающиеся при синхронном накоплении. Частоты основных составляющих вибрации при дефектах зубчатых передач.[3]

Таблица 2.10

Частота

Вид дефекта изготовления

Вид дефекта сборки

Вид дефекта износа

fr

Дисбаланс



kfrl и kfr2 к= 1,2 реже 3 и 4 mfz ± nfr k,n,m=l,2, ...

Переменная погрешность шага зацепления

Нарушение соосности (перекос валов)


kfr к =1,2 ...20 и выше


Повышенный боковой зазор между колесами


fZ

Постоянная погрешность шага зацепления



kfZ kfr рост шумового компонента mfm ± nfr; n = 0,1,2, ...



Абразивный износ

kfr mfz ± nfr mfm ± nfr (флуктуация амплитуд), п = 0,1,2, ...



Выкрашивание зубьев

kfr mfz ± nfr mfm ± nfr (флуктуация амплитуд), n = 0,1,2, ... рост шумовой компоненты



Трещины и/или излом зубьев


2.21.4 Заедание зубчатых колес

При заедании происходит молекулярное соединение контактирующих поверхностей зубьев под действием высокого давления при разрыве масляной пленки. В результате возникает адгезионный износ, происходящий в несколько этапов: начальной фазы и натира (характеризующихся схватыванием и Разрушением локальных участков контактирующих поверхностей зубьев) и прогрессирующего этапа, завершающегося заеданием с пластическими Деформациями (часто имеющего скоротечный экспоненциальный вид).

Заедание зубчатых колес обычно сопровождается изменением амплитуд гармоник зубцовой частоты kfz, ростом амплитуд комбинационных частот mfz ± nfr, флуктуациями амплитуд "промежуточных" частот, расширением полосы спектральных компонентов kfz и нерегулярными выбросами во временном сигнале. Важно, что вышеперечисленные признаки, присущие и другим дефектам, крайне Усложняют процесс диагностики с помощью спектрального анализа вибрации и не позволяют однозначно установить заедание, особенно на начальной стадии.

Однако исследуя частотную модуляцию на зубцовых частотах, а точнее изменение уровней (глубину модуляции) спектральных составляющих на частотах вращения роторов, возможно распознавать заедание на начальном этапе.

Рис. 2.45. Спектры вибрации мультипликатора (индекс G) со стороны тихоходного (индекс 0) и быстроходного (индекс I) валов в вертикальной (индекс V) и горизонтально-осевом (индекс А) направлениях при нарушении соосности валов.

На рис. 2.45. приведены спектры вибрации установленного между ЭД и компрессором компрессорного агрегата мультипликатора с косозубой шевронной зубчатой передачей, состоящей из двух колес, с частотой вращения тихоходного колеса примерно 24,6 Гц и быстроходного колеса примерно 197,5 Гц. Монтаж был выполнен с нарушением соосности валов, вызвавшей перекос осей зубчатых колес.

Измерения проводились со стороны тихоходного (индекс 0) и быстроходного (индекс I) колес в вертикальном (индекс V) и горизонтально - осевом (индекс А) направлениях.

В принципе, нарушение соосности валов зубчатых колес имеет те же диагностические признаки, что и расцентровка валов узлов агрегата, с той лишь разницей что в сигнале вибрации могут присутствовать гармонические составляющие частот вращения обоих валов расцентрованных колес.

В приведенном примере практически на всех спектрах вибрации наблюдаются частотные составляющие, характерные для нарушений соосности (перекоса осей валов) - составляющие на оборотной частоте и гармониках обоих колес kfr1 и kfr2, причем, в большинстве случаев, существенно преобладают первая и/или вторая гармоники. В качестве диагностических параметров можно использовать уровни амплитуд вибрации на первой и второй гармониках частоты вращения обоих колес.

При нарушениях соосности количественные характеристики частотных составляющих (для различных точек измерения и пространственных компонентов вибрации) могут отличаться в значительных пределах в зависимости от взаимного положения осей валов, как и при нарушении центровки узлов агрегата. Кроме того они зависят от множества других параметров, связанных с нагрузкой, характеристикой смазки и т.д.

В качестве дополнительного диагностического признака нарушения соосности валов колес можно рассматривать изменение величин частотных составляющих kfrl и kfr2при пуске холодного агрегата и его дальнейшей работе при неизменной нагрузке. В процессе прогрева колес величины этих составляющих могут непрерывно меняться в течение сравнительно короткого (до двух часов) промежутка времени в значительных пределах, после чего вибрация стабилизируется.

Рис. 2.46. Спектр вибрации мультипликатора со стороны тихоходного вала в вертикальном направлении при увеличенном боковом зазоре между зубчатыми колесами.

На рис. 2.46. приведен спектр вибрации мультипликатора с прямозубой зубчатой передачей, состоящей из двух колес, установленного между ЭД и компрессором компрессорного агрегата, с частотой вращения тихоходного колеса примерно 24,6 Гц (frl) и быстроходного колеса примерно 195,5 Гц (fr2). Монтаж был проведен с нарушением установки бокового зазора (превышено номинальное значение бокового зазора).

В принципе, нарушение (превышение) бокового зазора имеет те же диагностические признаки, что нарушения жесткости, с той лишь разницей, что в сигнале вибрации могут присутствовать гармонические составляющие частот вращения обоих валов.

Спектр вибрации имеет частотные составляющие, характерные для нарушений жесткости - составляющие на оборотной частоте и ее гармониках обоих колес mfr1, и nfr2, причем, в большинстве случаев, наблюдаются достаточная интенсивность гармоник с номерами до 20 и более. При нарушениях бокового зазора величины частотных составляющих (для различных мест и направлений измерения вибрации) и их соотношения между собой могут отличаться и зависят от тех же параметров, что и нарушения жесткости. В приведенном спектре вибрации вертикальными стрелками помечены гармоники частоты вращения ротора быстроходного колеса и наклонными стрелками - гармоники тихоходного колеса. Гармоническая активность велика: например, интенсивность гармонических составляющих частоты вращения ротора тихоходного колеса в области 50...80 - й гармоник не ниже, чем в области 2...20 - й.

Можно отметить также сравнительно высокий уровень шумов в широкой полосе частот (практически по всему спектру), характерный для нарушений жесткости.

Рис. 2.47. Спектр вибрации (с фрагментом) редуктора в горизонтально-поперечном направлении при равномерном абразивом износе зубчатых колес.

На рис. 2.47. приведен спектр вибрации (и его фрагмент) редуктора с прямозубой зубчатой передачей, состоящей из двух колес (Z1 = 30; Z2=76), установленного между ЭД и специализированным поршневым компрессором, с частотой вращения быстроходного колеса примерно 24,8 Гц (frl) и тихоходного колеса примерно 9,8 Гц (fr2). При ревизии редуктора обнаружен 75% -й от предельно допустимого износ поверхностей зубчатых колес.

Спектр вибрации имеет частотные составляющие, характерные для износа колес: в результате увеличения (относительно номинального значения) бокового зазора происходит отрыв профилей зубьев в зацеплении и ударный режим возбуждения вибрации, что вызывает появление спектральных составляющих кратных частоте зацепления зубьев 744, 1488, 2232, 2976, 3720 и 4464 Гц (kfZ). В спектре присутствует также "промежуточная" составляющая на частоте 485 Гц. На расширенном фрагменте спектра (нижний спектр) отчетливо наблюдаются гармоники частоты вращения ротора быстроходного колеса, причем не имеется тенденции убывания амплитуд с возрастанием номера гармоники.

Рост общего уровня спектральных составляющих вибрации имеется практически во всем диапазоне частот спектра. Общее увеличение уровня спектра, особенно его высокочастотной области, определяющее степень развития износа поверхностей зубьев, привело к появлению в спектре широкополосных областей с достаточно высоким уровнем шума.

Рис. 2.48. Спектры амплитудной огибающей узкополосной вибрации мультипликатора с несущими частотами 2500 Гц (верхний график) и 4500 Гц (нижний график) с развитым питтингом контактирующих поверхностей зубчатых колес.

На рис. 2.48. показаны спектры амплитудной огибающей узкополосной вибрации той же контрольной точки мультипликатора с несущими частотами 2500 Гц (верхний график) и 4500 Гц (нижний график). Наибольшей информативностью обладает спектр амплитудной огибающей в окрестности зубцовой частоты fz = 4501 Гц. Появление ямки выкрашивания даже на одном зубе вызывает значительный рост (более 10 дБ) амплитуд гармоник (особенно второй) частот вращения колес, что позволяет диагностировать этот вид повреждения на стадии зарождения. Можно утверждать также, что поскольку вибрация, кратная частоте вращения быстроходного колеса интенсивнее, степень его повреждений больше.

Хорошую информативность при выявлении питтинга имеет кепстр: наблюдение за изменением (ростом) амплитуд рахмоник кепстра (в качестве диагностического параметра), соответствующих частотам вращения колес, также может применяться с успехом для оценки состояния зубчатых колес, особенно на ранней стадии развития питтинга.

Методы диагностирования выкрашивания вполне пригодны для диагностирования скола или поломки зубьев. При таких дефектах глубина модуляции растет еще больше (по сравнению с питтингом). Кроме того, при появлении трещины или скола зуба жесткость в момент зацепления резко падает и происходит "преждевременный" вход в зацепление следующей за дефектными пары зубьев, сопровождающийся ударом. На кривой вибросигнала появляются импульсы, амплитуда которых зависит от степени развития дефекта.

Иллюстрацией этому служит приведенный ниже пример.

Рис. 2.49. Форма и спектр сигнала вибрации редуктора при поломке зуба одного из зубчатых колес.

Приведенные в этом примере вибросигналы измерены на редукторе клети прокатного механизма, имеющей зубчатую пару с прямозубой передачей. При ревизии зубчатого зацепления клети был обнаружен износ подшипников скольжения и зубчатой пары, нарушение соосности валов и разрушение зуба одного из колес. Частота вращения колес примерно 8,2 Гц, колеса имеют по 21 зубу. Зубцовая частота (fz) составляет примерно 172 Гц, т.е. зубья входят в контакт примерно через каждые 122 мс. Вертикальными стрелками на кривой сигнала вибрации (рис. 2.49.) помечены следующие один раз за оборот зубчатого колеса (каждые 122 мс) ударные импульсы, величина некоторых из них превышает 13 мм/с. Коэффициент пика достигает 4,7. Спектр вибрации имеет все диагностические признаки, присущие эксплуатационному износу зубьев: гармонические составляющие частоты вращения колес kfr составляющие на зубцовой (mfz) и комбинационных частотах mfz ± nfr и заметный уровень шумов. Вторая гармоника частоты вращения ротора указывает на расцентровку. В то же время некоторые боковые частотные составляющие, помеченные горизонтальными стрелками, по величине превосходят вибрацию на зубцовой частоте, что говорит о высокой амплитудной модуляции (или, возможно, частотной модуляции). Такая же картина наблюдается и вокруг второй гармоники зубцовой частоты.

Параметры процесса модуляции и периодические ударные импульсы на кривой сигнала вибрации являются простым и надежным способом диагностирования трещин, сколов и поломок зубьев. Их количественный анализ еще более упрощается при применении синхронного накопления и кепстральном анализе. Методы диагностирования заедания аналогичны методам диагностирования выкрашивания зубьев и основаны на исследовании частотной модуляции основных частот возбуждения. При заедании на кривой виброускорения наблюдаются нерегулярные выбросы, но они мало изменяют спектр сигнала и сходны с выбросами, которые могут быть вызваны некоторыми другими дефектами зацепления. Приведенные ниже данные измерения вибрации (рис. 2.50.) собраны на мультипликаторе, установленном между ЭД и центробежным компрессором агрегата, зубчатая пара косозубой передачи которого была на момент последнего измерения в процессе прогрессирующего заедания. Это было установлено непосредственно после измерений и останова агрегата при ревизии мультипликатора.

Тихоходное колесо (частота вращения примерно 50,0 Гц (fr1)) имеет 41 зуб, быстроходное (частота вращения примерно 73,2 Гц (fr2)) - 28. Зубцовая частота (fZ) составляет примерно 2050 Гц.

Кривая сигнала вибрации (рис. 2.50.) имеет характерные признаки модуляции и выбросы, величина некоторых из них превышает 10 q. Коэффициент пика достигает 4,4.

Спектр вибрации имеет признаки эксплуатационного износа зубьев: комбинационные частотные составляющие fz ± nfr вокруг зубцовой частоты fz, "промежуточные" частотные составляющие также с боковыми частотами и заметный уровень шумов. Наклонными стрелками помечены некоторые боковые частоты вокруг fz, величина и количество которых говорят о возможной частотной модуляции.

Однако на основе анализа формы и спектра сигнала вибрации затруднительно выявить конкретный вид дефекта - заедание.

Рис. 2.50. Форма и спектр сигнала вибрации и спектры частотной модуляции первой гармоники зубцовой частоты для нормального (преддефектного) и дефектного состояний при заедании зубчатых колес.

Как говорилось выше, для диагностирования этого повреждения колес эффективно исследовать частотную модуляцию на одной из частот возбуждения зубчатых колес с применением преобразования Гилберта. Нижние спектры - спектры частотной модуляции первой гармоники зубцовой частоты fz=2050 Гц измерены непосредственно в начале развития процесса заедания (спектр от 02.04.95) и в процессе развития дефекта (спектр от 09.04.95). По мере развития заедания в приведенном случае произошел значительный рост уровней спектральных составляющих на частотах вращения роторов и их гармониках как тихоходного, так и быстроходного колес.

Таким образом, применяя этот метод можно диагностировать заедание на ранней стадии развития.[3]

2.22 Некоторые выводы

В изложенном выше кратком обзоре невозможно даже перечислить все виды диагностируемых узлов и идентифицируемых дефектов с помощью функциональных методов виброакустической диагностики. Следует, однако, отметить, что на ранних этапах развития обнаруживается абсолютное большинство возможных дефектов в узлах машин роторного типа, но при некоторых ограничениях. Эти ограничения сводятся к двум требованиям. Первое - отсутствие сильных ударных нагрузок на диагностируемые узлы в штатных режимах работы бездефектных машин. Второе - отсутствие или значительное ослабление высокочастотной вибрации, возбуждаемой ударами в других бездефектных узлах или машинах, при распространении ее до диагностируемого узла.

Потенциальные возможности диагностических систем определяются выбором диагностического сигнала и информационной технологии. Сигнал вибрации содержит достаточную диагностическую информацию для того, чтобы с помощью современных информационных технологий обнаружить дефектный узел машины, определить вид и глубину дефекта и дать долгосрочный прогноз его развития.

Наиболее эффективные технические средства диагностики, как стационарные, так и переносные, строятся на базе компьютерной техники и технологии. Именно эти средства позволяют использовать все возможности таких перспективных методов получения информации, как спектральный анализ, анализ огибающей и статистическое распознавание состояний.

Значительное расширение областей применения систем мониторинга и диагностики машин по сигналам вибрации и шума возможно при условии выпуска недорогих систем автоматического диагностирования, не требующих от пользователя диагностической подготовки. Опыт эксплуатации первых образцов таких систем в России подтвердил их высокую эффективность.

Объектами глубокого диагностирования по виброакустическим сигналам могут быть все виды машин, являющихся источниками вибрации и шума. В машинах без узлов возвратно-поступательного типа из сигналов вибрации и шума можно получить полную информацию практически обо всех аварийноопасных дефектах даже на начальном этапе их развития. В машинах с узлами возвратно-поступательного типа должна быть дополнительно использована информация, содержащаяся в других видах диагностических сигналов.

3. Экспериментальная часть

Система мониторинга и диагностики "Dream for Windows" (ВЕКТОР - 2000) в полной мере использует основные возможности превентивной диагностики узлов роторного оборудования. При разработке данной системы были объединены усилия не только российских специалистов (ООО "Вибротехника", г. Санкт-Петербург), входящих в ассоциацию предприятий по разработке виброакустических систем и технологий (Ассоциация ВАСТ), но и специалистов США в области вибрационного мониторинга (Vibrotek Inc, штат Колорадо). Совместными усилиями в систему включены все основные алгоритмы современного вибрационного мониторинга, позволяющие задолго до возникновения аварийной ситуации обнаружить изменения состояния даже тех узлов оборудования, которые не охвачены превентивной диагностикой.

Система "Dream for Windows" ориентирована прежде всего на массовое диагностическое обслуживание роторного оборудования, обеспечивающее практический переход на ремонт оборудования по фактическому состоянию. Необходимая для этого автоматизация процессов постановки диагноза и прогноза является основной отличительной особенностью системы, позволяющей снизить затраты на мониторинг и диагностику за весь жизненный цикл оборудования до 1 -2% от его стоимости.[4]

3.1     Структура системы

Диагностическая система "Dream for Windows" строится по модульному принципу, с возможностью ее расширения от простейшей переносной системы мониторинга до многоканальной стационарной системы мониторинга и диагностики с несколькими сотнями датчиков различных величин, установленных на контролируемом оборудовании.

Основными элементами системы являются:

· датчики измерения различных величин с согласующими устройствами (предусилителями и коммутаторами).

· сборщики данных - анализаторы электрических сигналов СД-11, СД-12 и другие.

· персональный компьютер.

· пакет программ Dream-32 в разной комплектации.

В простейшем одноканальном варианте (рис. 3.1) на аналоговый вход сборщика данных устанавливается один из сменных предварительных усилителей с датчиком, например предусилитель заряда с пьезоакселерометром. На отдельный вход сборщика при этом может устанавливаться тахометр, а для связи сборщика с компьютером на время передачи данных может использоваться либо стандартный интерфейс RS-232, либо модем (рис 3.2.)

Пакет программ Dream-32 для простейшей переносной системы мониторинга также имеет модульную структуру и может наращиваться от базовой программы мониторинга Dream-О до расширенного пакета программ мониторинга с отдельными диагностическими модулями Dream-A, Dream-В или полным комплектом этих модулей Dream-E.[4]

3.2 Диагностируемые узлы и обнаруживаемые дефекты

Диагностическая часть системы "Dream for Windows" рассчитана прежде всего на обнаружение и идентификацию дефектов, возникающих в роторных машинах на этапах сборки, монтажа и эксплуатации. Скрытые дефекты изготовления отдельных элементов, если они пропущены при пооперационном контроле во время изготовления, обнаруживаются системой "Dream for Windows" косвенным путем, т.е. либо как отказ машины по вибрации при выходном контроле на обкаточных стендах, либо, из-за ускоренного износа, как эксплуатационные дефекты в начальной стадии эксплуатации машины.

Как любая система функциональной (рабочей) диагностики, используемая без смены режимов работы диагностируемой машины, система "Dream for Windows" с наибольшей достоверностью обнаруживает дефекты тех узлов роторных машин, которые являются источниками колебательных сил и в наибольшей степени подвержены износу и старению. К таким узлам роторных машин относятся валы (роторы), подшипники качения и скольжения, соединительные муфты, шестерни, цепи и ремни, рабочие колеса и, наконец, обмотки и коллекторы электрических машин.

С несколько меньшей достоверностью, но также успешно обнаруживаются дефекты тех узлов, которые влияют на параметры колебательных сил в узлах- источниках. К таким узлам относятся направляющие аппараты, узлы крепления опор вращения или машины в целом, внутренние обтекаемые поверхности потокосоздающих машин, магнитные цепи (активные сердечники и зазоры) электрических машин.

Большинство отказов эксплуатируемых роторных машин связано с дефектами их подшипников. В подшипниках качения с учетом возможностей их вибрационной диагностики дефекты подшипника целесообразно разделить на следующие группы:

· износ поверхностей качения (наружных и внутренних колец, тел качения);

· износ поверхностей скольжения (сепаратора, защитных колец);

· раковины, сколы, трещины на поверхностях качения;

· дефекты сборки, увеличивающие нагрузку на поверхности качения (увеличенный радиальный и осевой натяг, перекос колец или сепаратора);

· проскальзывание колец;

· ухудшение свойств смазки;

Практически все из указанных групп дефектов обнаруживаются системой "Dream for Windows" на начальной стадии развития по следующим основным диагностическим признакам:

•         изменение свойств сил трения и возбуждаемой ими высокочастотной случайной вибрации в виде роста уровня вибрации или появления ее амплитудной модуляции;

•         появление ударных импульсов при контакте дефектных участков поверхностей качения и возбуждаемой ими высокочастотной вибрации ударного вида;

•         рост колебаний ротора в подшипниках на частотах, определяемых параметрами подшипника;

В подшипниках скольжения с жидкой смазкой число групп дефектов, отличающихся разными диагностическими признаками, меньше, чем в подшипниках качения. Эти группы выглядят следующим образом:

· износ поверхностей скольжения;

· выкрашивание поверхностей скольжения;

· дефекты сборки и монтажа, увеличивающие нагрузки на поверхности скольжения и снижающие толщину масляного слоя;

· появление ударов (сухих и гидравлических);

· ухудшение свойств смазки.

К дефектам (группам дефектов) ротора, значительно изменяющим ресурс роторных машин, следует отнести:

· неуравновешенность ротора;

· несимметричная жесткость вала;

· задевание вращающейся частью ротора за неподвижные узлы

· дефекты узлов, закрепленных на роторе (рабочие колеса, электрические обмотки и т.п.);

· статическая несоосность соединяемых валов (излом линии вала);

· динамическая несоосность соединяемых валов, искривление вала и т.п. ( бой вала).

Дефекты механических передач, в частности зубчатых колес и зацеплений, можно разделить на следующие основные группы:

· дефекты отдельных зубьев шестерни (сколы, трещины, отсутствие зуба);

· дефекты зацепления зубьев (увеличение или уменьшение зазора, бой шестерен, осевой сдвиг и т.п.);

· дефекты вала (бой вала с шестерней, радиальный сдвиг вала в опорах вращения и т.п.).

Дефекты машин постоянного тока можно разделить на следующие группы:

· дефекты обмоток и сердечника якоря;

· дефекты полюсов и обмоток возбуждения, в том числе компенсационных;

· искажение формы зазора между якорем и полюсами;

· дефекты в щеточно-коллекторном узле;

· искажение напряжения питания.

[4]

3.3 Выбор точек контроля и режимов работы блока

Важнейшим условием получения достоверного диагноза является правильный выбор точек и направлений контроля вибрации. При этом следует соблюдать следующие основные правила:

·        точка контроля вибрации подшипников должна быть как можно ближе к месту действия статической нагрузки на подшипник;

·        между точкой контроля и местом формирования высокочастотных колебательных сил должен быть минимум контактных поверхностей и не должно быть резких изменений сечения тех элементов подшипникового узла, по которым распространяется высокочастотная вибрация;

·        вибрация на средних и низких частотах измеряется преимущественно в направлении действия статической нагрузки;

·        место установки датчика должно быть ровным, зачищенным от краски и грязи, и покрыто консистентной смазкой.

На рис. 3.3 приведена типовая схема колесно-моторного блока локомотива, на котором указаны точки контроля вибрации и направления ее измерений.

Рисунок 3.3. Типовая схема колесно-моторного блока, с указанием точек контроля вибрации.

В колесно-моторных блоках есть три типа узлов, точки контроля, вибрации которых выбираются с учетом конструктивных особенностей узла и направлений действия нагрузки.

Первым типом таких узлов являются подшипники качения букс. В буксах разной конструкции могут быть использованы как двухрядный, так и два однорядных несущих роликовых подшипника. Дополнительно к роликовым могут устанавливаться и упорные шариковые подшипники. Оперативная диагностика подшипников каждой буксы может осуществляться по измерениям вибрации в одной контрольной точке, которая выбирается в точке на корпусе буксы между двумя роликовыми подшипниками, как можно ближе к месту действия нагрузки на подшипники (т. А на рис 3.3 и чертеж 2). Направление измерения вибрации - радиальное к оси вращения, совпадающее с направлением действия нагрузки. Допускается отклонение направления измерения вибрации от направления действия нагрузки на угол до 30°.

В качестве примера можно привести точку и направление измерения вибрации буксы КМБ, установленного на домкратах чертеж 1. Точка выбирается в нижней части буксы, на которую действует сила тяжести колесной пары, а направление измерения вибрации выбирается близким к вертикальному, в котором и действует эта сила тяжести. Установка датчика на верхнюю точку буксы может привести к ошибкам изменения уровня высокочастотной вибрации, значение которого зависит от внешних факторов, например от того, где находится домкрат, каков угол наклона тележки к горизонту и т.п.

Одним из основных требований к любой точке контроля вибрации является идентичность места установки датчика вибрации, направления измерений и способа крепления датчика в одних и тех же узлах колесно-редукторных блоков одной конструкции. Только в этом случае автоматически создаваемый вибрационный эталон бездефектного узла по группе одинаковых колесно-редукторных блоков будет обеспечивать достоверное разделение диагностируемых узлов на бездефектные и дефектные.

При оперативной диагностике подшипников качения букс по измерениям вибрации в одной контрольной точке может возникнуть ряд сложностей, требующих при необходимости проведения дополнительных измерений.

Первая из них определяется особенностями диагностики многорядных и спаренных подшипников и связана с тем, что при сильном износе одного из рядов нагрузка перераспределяется на другие ряды подшипника. В результате ранее диагностируемый сильный дефект подшипника может на определенное время до износа других рядов подшипника проявится как средний или даже слабый дефект. Диагностику такого подшипника следует проводить чаще, чем бездефектного, и при определении даты следующей диагностики необходимо учитывать результаты не только последней, но и ранее выполненных процедур диагностики. Кроме того, необходимо одновременно с диагностическими измерениями выполнять и мониторинговые измерения среднечастотной вибрации, рост которой при наличии сильных дефектов продолжается и после перераспределения нагрузки с дефектного на бездефектный ряд тел качения.

К сказанному следует также добавить, что перераспределение нагрузки между рядами подшипника качения, а также между разными подшипниками является одной из основных причин возможного различия между результатами диагностики, выполненной в разное время.

Вторая сложность появляется при диагностике опорных подшипников букс на очень низких частотах вращения колесной пары, когда центробежной силы, действующей на тела качения, не хватает для преодоления силы тяжести и силы сопротивления сепаратора, чтобы непрерывно катиться по наружной поверхности качения подшипника. Поэтому на определенном угле поворота сепаратора нагрузка каждого тела качения скачком переходит с внутреннего кольца на наружное и, если в подшипнике есть зазор, этот переход происходит с ударом о наружное кольцо. Такие удары в обычной ситуации являются признаком появления раковины на наружном кольце, поэтому и регистрируется появление дефекта в виде раковины, а не износа подшипника. Чем больше зазор а, следовательно, и износ подшипника, тем сильнее удары о наружное кольцо и тем большая раковина регистрируется системой диагностики. При разборке подшипника раковина не обнаруживается, а величина дефекта в виде износа не контролируется, поэтому складывается впечатление об отсутствии дефекта, т. е. о ложном срабатывании системы диагностики. И это несмотря на то, что система диагностики дефект обнаружила, лишь неправильно отнеся его к классу раковин, а не к классу износов. Чтобы избежать подобных ошибок, следует повысить скорость вращения диагностируемой колесной пары, что дополнительно сократит время диагностических измерений. Практика показывает, что указанные признаки отсутствующих раковин на наружном кольце (при наличии износа подшипника) пропадают в большинстве КРБ на частотах вращения колесной пары выше 250 об/мин.

Третья сложность в диагностике буксовых подшипников связана с возможностью влияния на результаты диагноза особенностей работы зубчатой пары редуктора. Условия изготовления и ремонта КРБ таковы, что высоких требований к изготовлению шестерен и подгонке зацеплений каждой пары техническая документация не предъявляет, поэтому во многих парах действуют ударные нагрузки, которые передаются на подшипники и изменяют состав спектров среднечастотной вибрации букс и, что более важно, спектров огибающей их высокочастотной вибрации. Появление в спектре огибающей вибрации новых составляющих, определяемых, например, конструктивными особенностями зуборезного станка, расценивается системой диагностики как неидентифицированные изменения вибрации из-за возможного появления сложной по составу совокупности дефектов. Поэтому оператор самостоятельно должен убедиться, что появление новых составляющих не связано с дефектами подшипников, а их источником является зубчатая пара. Признаками появления таких составляющих можно считать их одновременное присутствие в спектрах огибающей вибрации обеих букс, а во многих случаях и строгая пропорциональность их частоты частоте вращения колесной пары или частоте вращения тягового двигателя.

Вторым типом узлов, имеющих свои специфические особенности в выборе точек контроля и режимов работы при проведении диагностических измерений, является редуктор. Особенностей в выборе точек контроля нет лишь в КМБ, использующих подвеску тягового двигателя на подшипниках скольжения с установкой малых шестерен на внешние части вала двигателя. В таких КМБ для диагностики подшипников качения и шестерен используются только точки контроля вибрации на подшипниковых щитах двигателя, точки Б и В . (см. рис. 3.3 и чертеж 3).

При оперативной диагностике шестерен и зубчатых зацеплений в редукторе по их вибрации в указанных контрольных точках может возникнуть ряд сложностей, требующих при необходимости проведения дополнительных измерений.

Первая из таких сложностей связана с особенностями эксплуатации редуктора, работающего под нагрузкой при обоих направлениях вращения, износ и дефекты зубьев шестерен которого развиваются и проявляются на каждой из сторон зубьев независимо. Поэтому диагностику шестерен лучше всего проводить дважды, при обоих направлениях вращения редуктора. А для того чтобы не увеличивать время диагностирования, можно шестерни редуктора диагностировать с периодичностью в два раза большей, т.е. первый раз диагностировать КМБ при вращении в одну сторону, а в следующий раз менять направление вращения. При этом в комментариях к измерениям следует указывать направление вращения редуктора. Такая возможность определяется более низкими скоростями развития дефектов шестерен по сравнению с дефектами подшипников. Более того, эта возможность позволяет с высокой надежностью разделить дефекты подшипника и шестерен, так как дефекты подшипника проявят себя похожим образом при любом направлении вращения, а дефекты зубьев по-разному, в зависимости от направления вращения.

Вторая сложность - общая в диагностике низкооборотных редукторов в подшипниках качения, особенно с большим числом зубцов на одной из шестерен. При наличии дефектов на обеих шестернях в спектре огибающей вибрации часто появляются гармонические составляющие с частотой в одну треть частоты вращения большой шестерни, которая соответствует частоте взаимодействия друг с другом дефектных зубцов на разных шестернях. Для того чтобы разделить эту составляющую с подшипниковой составляющей с частотой вращения сепаратора (при износе сепаратора), необходимо высокое разрешение в спектре огибающей. Но для одновременной диагностики зацепления редуктора необходимо измерять спектр огибающей вибрации на достаточно высоких зубцовых частотах, что невозможно сделать с таким же высоким разрешением из-за ограниченной стабильности частоты вращения редуктора. Поэтому программа диагностики предлагает проводить два измерения прямых спектров и два измерения спектров огибающей вибрации с разным разрешением по частоте, значительно увеличивая время измерений. Но поскольку время на диагностирование КМБ выделяется ограниченное, программа предусматривает сокращенный вариант диагностики в ущерб качеству идентификации дефекта

Третьим типом узлов, имеющих свои специфические особенности в выборе точек контроля и режимов работы при проведении диагностических измерений, является тяговый электродвигатель. В нем могут диагностироваться подшипники качения, электромагнитная система, а также в некоторых видах КМБ подшипники скольжения, на которых тяговый двигатель подвешивается к колесной паре.

Для диагностики подшипников качения тягового двигателя используются точки контроля вибрации на подшипниковых узлах тягового двигателя точки Б и В рис. 3.3. Направление измерения вибрации в этих точках - вертикальное, точки контроля лучше всего выбирать в нижней части подшипниковых узлов, как можно ближе к месту приложения статической нагрузки (силы тяжести якоря), к наружному кольцу подшипника.

Для диагностики подшипников скольжения в тех КМБ, где они есть, точка контроля выбирается на корпусе подшипника как можно ближе к той части поверхности скольжения, на которую приходится статическая нагрузка (сила тяжести двигателя), точки установки датчика указаны на чертеже 1. Направление измерений вибрации - радиальное к оси вращения колесной пары и, желательно, как можно ближе к направлению действия силы тяжести двигателя.

При диагностике узлов тягового двигателя по вибрации, измеряемой в выбранных точках контроля, может возникнуть ряд сложностей, в первую очередь из-за режимов работы КМБ во время проведения измерений.

Первая сложность определяется наличием в спектре вибрации электродвигателя интенсивных гармонических составляющих электромагнитной природы на средних, а в некоторых случаях и на высоких частотах. Если эти составляющие попадают в полосу частот третьоктавного фильтра, используемого при формировании сигнала огибающей вибрации и его последующем спектральном анализе, в результирующем спектре снижаются уровни тех составляющих, которые определяют вид и величину дефекта. В результате занижается реальная величина обнаруживаемого дефекта, что сказывается на достоверности прогноза состояния подшипников двигателя. В качестве примера на рис. 3.4 приведены спектры вибрации подшипникового щита двигателя, измеренные в полосе частот 0-25 кГц, причем в двух точках контроля, а именно, в удаленной от места посадки подшипника и в непосредственной близости к подшипнику. Третьоктавные фильтры, используемые для анализа спектра огибающей вибрации, имеют средние частоты 4 и 10 кГц. В третьоктавную полосу со средней частотой 4 кГц попадают интенсивные составляющие вибрации, особенно в удаленной от подшипника точке контроля.

Рис. 3.4. Спектры вибрации тягового двигателя, измеренные на торце подшипникового щита (а) и на крышке подшипникового узла (б)

Соответственно на рис. 3.5 приведены четыре спектра огибающей вибрации, в которых наблюдается дефект подшипника в виде раковины на наружном кольце.

Но из-за гармонической составляющей в полосе частот первого из третьоктавных фильтров величина дефекта, измеренная по соответствующему спектру огибающей вибрации, занижена. Так, в удаленной от подшипника точке дефект регистрируется как слабый, в близкой точке - как средний. В то же время правильная оценка величины дефекта дается лишь по спектру огибающей вибрации на частоте 10 кГц (сильный), измеренному в контрольной точке непосредственно возле посадочного места подшипника.

Рис. 3.5. Спектры огибающей вибрации подшипникового узла двигателя в третьоктавных полосах частот 6 и 10 кГц, измеренные на торцах подшипникового щита (соответственно а и б) и на крышке подшипникового узла (соответственно в и г)

Еще больше проблем возникает при диагностике подшипников скольжения, на которых крепится корпус тягового двигателя к колесной паре в некоторых типах КМБ. Эти проблемы определяются низкой частотой вращения колесной пары, при которой практически невозможно обеспечить неразрывность смазочного слоя в подшипнике. А именно на обнаружении периодических разрывов слоя смазки и автоколебаний ротора в подшипниках скольжения строится существующая диагностика высокооборотных машин с такими подшипниками.

Поскольку в низкооборотных подшипниках скольжения разрывы смазки бывают непериодическими, диагностика таких подшипников по спектру огибающей часто не дает желаемых результатов и приходится контролировать общий уровень высокочастотной вибрации, который сильно зависит от состояния зубчатого зацепления. В связи с недостаточной для практической работы достоверностью диагностики подшипников скольжения низкооборотных машин по вибрации в настоящее время ведется доработка этих методов. По ее завершении будут выпущены дополнительные методические материалы и программы глубокой диагностики низкооборотных подшипников скольжения.

Учитывая ранее изложенные особенности диагностики КМБ, к режимам их работы во время проведения диагностических измерений можно предъявить следующие требования и ограничения:

1) стабильность частоты вращения колесной пары (во время измерения любого из спектров вибрации и ее огибающей) должна быть не хуже 1%, во избежание расширения линий в спектрах;

2) частота вращения двигателя не должна быть близкой к частотам 10; 17,6 и 25 Гц с точностью до 5 - 10%, во избежание совпадений по частоте составляющих вибрации, используемых для диагностики, с гармониками частоты переменного напряжения, питающего выпрямитель;

3) перед началом измерений необходимо проводить прокрутку колесной пары до момента минимального прогрева смазки, во избежание ложного обнаружения ее дефектов. Критерием достаточного прогрева может считаться стабилизация частоты вращения КРБ до необходимого 1% в течение 1 минуты при стабильном напряжении питания на выходе выпрямителя;

4) частоту вращения колесной пары желательно поддерживать на уровне 250 об/мин и выше, во избежание ложных диагнозов - раковин на наружном кольце подшипников буксы.

Следует отметить, что для питания тягового двигателя рекомендуется использовать стабилизатор напряжения, поддерживающий постоянную величину напряжения с точностью не хуже 0,3 - 0,5%. В этом случае частота вращения КМБ должна укладываться в требования по ее стабильности. Если стабильность частоты вращения недостаточна, это указывает на недостаточную приработку (прогрев) смазки, а низкая по сравнению с другими КМБ частота вращения колесной пары является следствием наличия дефектов либо в механической системе (большое сопротивление в подшипниках или в зацеплении), либо в тяговом двигателе. Не рекомендуется использовать для питания тягового двигателя стабилизаторы частоты вращения, так как с их помощью крайне сложно выдерживать стабильность скорости вращения на уровне 0,2 - 0,3%, которая оптимальна для диагностики КМБ по вибрации. Схеме подключения тягового электродвигателя КМБ к источнику питания показана на рис. 3.6.

Рис. 3.6 Схема подключения тяговых электродвигателей тепловоза.

3.4 Структура пакета программ «DREAM for Windows»

Пакет программ является 32-разрядным приложением для Windows -95, Windows -98, Windows NT c SQL совместимой базой данных.

Программное обеспечение включает в себя несколько функционально самостоятельных блоков программ, которые могут заменяться в зависимости от используемых в системе мониторинга и диагностики технических средств.

Рис. 3.7. Структура пакета программ Dream-32, дополненного пакетом "Стационарная система". Пунктиром выделены те элементы объединенного пакета программ, которые относятся только к стационарному режиму работы системы.

Основными составляющими работы оператора с системой "Dream for Windows" и работы системы в автоматическом режиме являются:

•         конфигурирование объектов мониторинга и диагностики с введением в программу необходимых для работы технических характеристик контролируемых машин и их узлов;

•                               конфигурирование системы "Dream for Windows" с привязкой каждого измерительного канала к конкретному узлу и решаемым задачам (для многоканальной системы);

•         проведение измерений (с разными функциями оператора и системы в переносном и стационарном режимах работы);

•         обработка измерений с автоматическим решением задач мониторинга, диагностики, прогноза состояния и планирования дальнейших измерений;

•         отображение текущей информации о результатах мониторинга, диагностики и прогноза состояния машин и их узлов, о состоянии самой системы диагностики;

•         анализ, в том числе и графический, основных результатов мониторинга, диагностики и прогноза, включая результаты первичных измерений, отчетных материалов, в том числе и в режиме обучения оператора. [4]

3.5 Конфигурирование диагностируемых узлов

Для работы системы "Dream for Windows" в ее базу данных вносятся необходимые данные о контролируемом оборудовании и об измерительной системе. Эти данные нужны для формирования заданий на проведение измерений.

Сведения об оборудовании содержатся в базе в виде дерева оборудования, которое оператор должен составить до проведения первых мониторинговых и диагностических измерений. Сведения об измерительной системе либо заранее заносятся в базу данных в виде конкретного типа измерительного прибора с одним датчиком вибрации.

При работе с одноканальным переносным прибором для задач мониторинга оператор сам выбирает вид измерений, устанавливает их периодичность для бездефектного оборудования и, после проведения первых измерений, устанавливает выбранные им пороговые значения для оборудования, находящегося в одном из возможных состояний, а именно в хорошем, допустимом или аварийно-опасном.

Для задач диагностики оператор должен внести в базу данных ряд технических характеристик контролируемых узлов роторных машин. Так, для всех типов узлов вносятся данные о частоте вращения, в том числе о возможных диапазонах ее изменения и о погрешности определения частоты вращения при каждом измерении.

Для подшипников качения вносятся данные о геометрических размерах его элементов, необходимые для расчета частот подшипниковых составляющих вибрации, для зубчатых передач - число зубцов каждой шестерни, для рабочих колес - число лопастей (лопаток), для электрических машин - число зубцов (пазов), число пластин коллектора и т.п.

Кроме того, оператор вносит величину желаемого временного интервала между измерениями вибрации для бездефектных узлов, которая не должна превышать минимальное значение из 200 дней или 20% от среднего ресурса узла, а также пороговые значения для каждого вида дефекта и для двух видов спектров (спектра вибрации и спектра огибающей).

Перечисленных данных достаточно для формирования заданий на измерения одноканальным переносным измерительным прибором. Задания автоматически формируются в виде маршрутной карты, которая по последовательному интерфейсу RS-232 передается в прибор, после чего оператор готов выполнять мониторинговые и диагностические измерения.[4]

3.6 Измерение и передача данных в компьютер

Большинство измерений диагностических сигналов и параметров проводится по маршрутным картам, предварительно сформированным системой "Dream for Windows" и переданным в сборщик данных СД-12.

Маршрутная карта формируется автоматически для каждой группы машин или отдельной машины, входящих в одну базу данных, выбранную оператором для работы из неограниченного числа баз данных, которые можно создать в системе "Dream for Windows".

Существует несколько вариантов автоматического формирования маршрутных карт. Карта может включать в себя все машины, все точки измерения и все виды измерений. Возможно включение только просроченных на выбранную оператором дату измерений. Кроме этого оператор может проводить измерения и вне маршрута, с любыми характеристиками, обеспечиваемыми используемым прибором.

При проведении внемаршрутных измерений их результаты, а также, при необходимости, введенные в прибор краткие комментарии по команде оператора сохраняются в памяти прибора. Затем они могут быть перенесены в память программы, а далее, по желанию пользователя, связаны с теми или иными точками контроля.

Измерения по маршрутной карте производятся в любой последовательности, полностью или частично. Если для измерений используются приборы с датчиками, устанавливаемыми в точку контроля только на время измерения, то задачей оператора является только установка датчика, и выбор соответствующей этой точке строки маршрута. Все настройки прибора выполняются автоматически, а после окончания измерений выдается звуковой сигнал. Следующее действие оператора - сохранение данных измерений либо после их просмотра, либо без просмотра. Маршрутная карта позволяет произвести и повторное измерение, при этом старые данные стираются из памяти прибора. Чтобы сохранить старые данные, повторные измерения лучше проводить вне маршрута.

В сборщике данных предусмотрен дополнительный канал измерения частоты вращения ротора, который производит ее измерения параллельно измерениям других сигналов.

Соответствие точки контроля выбранному измерительному каналу устанавливается в маршрутной карте, а частота вращения ротора в момент измерения также указывается в маршрутной карте, но в дальнейшем корректируется, либо автоматически, поданным ее измерения, сохраняемым в памяти прибора, либо оператором, на основании дополнительной информации. Корректировка выполняется при вводе результатов измерений в базу данных системы "Dream for Windows".

При проведении измерений по маршрутной карте оператор за 6-8 часов работы может произвести, например, измерения вибрации в 100-200 точках контроля, автоматически сбросить данные в компьютер и поставить по всем этим узлам диагноз и прогноз состояния.

Сброс результатов измерений в базу данных системы "Dream for Windows" также производится либо по интерфейсу RS-232, либо по модему. Все результаты измерений по маршруту автоматически попадают в ячейки памяти соответствующих точек контроля.

Внемаршрутные измерения передаются в программу и могут быть просмотрены в отдельном окне "Внемаршрутные измерения", откуда оператор может переместить (или скопировать) их в выбранную им точку контроля и в дальнейшем использовать их для мониторинга, а в некоторых случаях и для автоматической диагностики.

Информация о появлении новых данных измерений в соответствующих точках контроля отражается на дереве оборудования в графическом виде - как черные метки (галочки).

Автоматическая диагностика по результатам новых измерений производится по команде оператора, который должен подтвердить правильность данных о частоте вращения в момент проведения этих измерений, если во время их проведения тем же прибором параллельно не измерялась и частота вращения ротора. [4]

.7 Детальный анализ результатов диагностики

В системе "Dream for Windows" предусмотрена возможность детального анализа как окончательных, так и промежуточных результатов вибрационной диагностики узлов роторных машин.

В режиме детальной диагностики оператор может вывести на экран компьютера, а, при желании, на печать используемые для постановки диагноза и прогноза спектры вибрации диагностируемого узла и спектра огибающей ее высокочастотных компонент вместе со списком обнаруженных составляющих и указаниями на возможную принадлежность идентифицированных составляющих к определенному признаку дефекта.

При анализе спектров последнего из группы накопленных измерений в таблице обнаруженных составляющих указывается либо рост их амплитуд за время наблюдений, либо рост их амплитуд над средним значением, автоматически вычисляемым по группе измерений вибрации идентичных узлов нескольких одинаковых машин, если этот рост превышает заданное пороговое значение. При выводе на экран результатов предшествующих измерений приводится только список составляющих и промежуточный диагноз.

Рис. 3.9 Окно детального анализа со спектром вибрации, списком составляющих и списком обнаруженных дефектов.

Имеется также возможность определить, по каким признакам поставлен конкретный вид дефекта, для чего последний необходимо выделить либо в окончательном списке дефектов, либо в промежуточном списке вероятных дефектов, определяемых по данным каждого отдельного измерения. После того, как дефект выделен, в списке составляющих и на спектрах указываются те составляющие, по которым идентифицирован данный тип дефекта.

Оператор также может для выбранного им типа дефекта или отдельной составляющей спектра вибрации и ее огибающей построить тренд, характеризующий развитие этого дефекта (составляющей) во времени, как это показано на рис. 3.10.

Рис. 3.10. Тренды изменений составляющих вибрации на частоте вращения машины.

При отсутствии истории измерений вместо тренда можно ввести распределение амплитуд выбранных составляющих по группе измерений идентичных узлов, использованных для построения эталона. [4]

.8 Выходные данные

Система "Dream for Windows" позволяет вывести на экран монитора, на печать или на другие внешние устройства не только данные о состоянии контролируемого оборудования, но и большой объем другой информации.

Наибольший интерес представляет информация:

•                               о конфигурации диагностируемого оборудования;

•                               о структуре и состоянии диагностической системы;

•         о первичных данных измерений и промежуточных результатах мониторинга диагностики и прогноза;

•                               о возможных ошибках оператора;

а также другие справочные данные.

Большинство выходных данных компонуется в виде различных отчетов, формируемых системой. Эти отчеты делятся на два подмножества. Одно из них включает стандартные формы отчетности, хранящиеся в базе данных системы и в любой момент передаваемые по стандартным линиям связи. Это отчет о конструктивных характеристиках узлов диагностируемого оборудования и режимах его работы, отчет о состоянии выделяемых оператором группы узлов, отчет об изменениях состояния конкретного узла за все время наблюдений и, наконец, отчеты со списком узлов, подлежащих измерению и о список требований к проводимым измерениям.

Второе подмножество расширенных отчетов формируется в редакторе MS Word и допускает внесение оператором различных измерений, в том числе включение в них различных рисунков, графиков и любых других промежуточных материалов, выдаваемых системой "Dream for Windows".[4]

.9 Технические средства

.9.1 Основные функции виброанализатора

Виброанализатор СД-12М (рис. 3.11.) является цифровым анализатором сигналов и одновременно легким переносным сборщиком данных с питанием от аккумуляторной батареи. Он разработан для оценки и прогноза состояния вращающегося оборудования по вибрации, а также для измерения и анализа других видов сигналов, преобразованных в электрические.

В его основные функции входят:

•         проведение измерений по маршрутным картам и вне маршрута;

•         спектральный анализ сигналов;

•         спектральный анализ огибающей случайной высокочастотной с составляющей вибрации;

•         отображение и запоминание временных сигналов (режим осциллографа);

•         определение общего уровня сигнала в заданной полосе частот;

•         измерение скорости вращения машины;

•         измерение амплитуд и фаз вибрации на частотах, кратных оборотной.

Прибор может передавать и принимать информацию как непосредственно от компьютера, так и при помощи телефонной сети (через модем).

Кроме того, в дополнительный комплект поставки может входить:

•         датчик оборотов ФД с магнитным штативом для измерения фазы, разгона-выбега, скорости вращения машины, балансировки, скорости вращения машины при измерении спектров и временных сигналов;

•         программа для балансировки вращающегося оборудования (до 3 плоскостей установки масс и до 8 точек измерения вибрации);

•         программа для измерения разгона-выбега машины для 16 точек измерения одновременно;

•         программа для определения резонансных характеристик машины при помощи ударного воздействия;

•         наушники для слухового контроля сигнала вибрации;

•         коммутаторы на 8 или 16 каналов для работы с несколькими датчиками вибрации одновременно.

Программы, не входящие в основной комплект поставки, размещаются в разделе Основного меню прибора Прикладные программы.

СД-12М отвечает всем требованиям программ диагностики, разработанных ВАСТ для перехода на обслуживание и ремонт оборудования по фактическому состоянию. Прибор совместим со всем программным обеспечением, разрабатываемым ВАСТ. Возможности прибора в дальнейшем могут быть расширены за счет дополнения и обновления его внутренних программ.[4]

3.9.2 Ограничения на условия окружающей среды

Виброанализатор СД-12М рассчитан на безотказную работу:

•         при температуре от -20С до +50С,

•                               относительной влажности до 90% при температуре 25С, без конденсации,

•         атмосферном давлении (630-800) мм.рт.ст.[4]

3.9.3 Питание

Прибор может работать как от внутреннего блока питания, так и от внешнего источника питания. Время работы с заряженной батареей не менее 8 часов при отключенной подсветке экрана во время измерения и не менее 6 часов при включенной подсветке. Время полного заряда блока - не более 2.5 часов. Батареи аккумуляторов типа Никель-Металл-Гидрид не имеют так называемого "эффекта памяти" и могут подзаряжаться на любом этапе их разряда. Батарея подзаряжается также во время работы прибора от внешнего источника питания (через сетевой адаптер).

Если ресурс аккумуляторов меньше 1 часа, в правом верхнем углу экрана появляется мигающая надпись "Batt:38", на которой указывается приблизительный оставшийся ресурс батарей.

Память виброанализатора не зависит от основного блока питания прибора и сохраняет данные не менее 2 лет независимо от состояния внутреннего блока питания.

Внутренние часы и календарь работают от внутренней литиевой батареи, которая не требует замены в течение двух лет, не менее.

Прибор имеет внутреннюю схему бесперебойного питания, и Вы можете в любой момент подключать или отключать внешний источник питания. Тем не менее:

НЕ РЕКОМЕНДУЕТСЯ!

Использовать внешнее питание во время обмена данными между виброанализатором и компьютером (или модемом).

При температуре окружающей среды выше 20С проводить зарядку батарей не снимая кожуха прибора (возможен перегрев и неполная зарядка).

ЗАПРЕЩАЕТСЯ!

Осуществлять коммутацию внешнего источника питания во время обмена данными между виброанализатором и компьютером.

Вскрывать виброанализатор и отключать аккумуляторные батареи прибора.[4]

3.9.4 Основные технические характеристики

Общие технические характеристики.

Входы

линейный вход, вход датчика оборотов,  вход интерфейса RS-232,  вход сетевого адаптера.

Типы датчиков

вибропреобразователи (с выходом по электрическому заряду или ICP), датчик оборотов.

Подключение датчиков к линейному входу

через согласующие адаптеры или многоканальные коммутаторы.

Цифровые линии для управления внешними коммутаторами

подключаются к линейному входу.

Подключение внешних коммутаторов

к линейному входу, на 4, 8, 16 каналов, АВПб-16icp.

Встроенные источники питания внешних адаптеров и датчиков

+9 В при токе не более 40 мА, +5 В при токе не более 20 мА,  +22...30 В при токе 2...20 мА (токовое питание).

Встроенный источник питания датчика оборотов

+5 В при токе не более 20 мА.

Аккумуляторная батарея

Никель-Металл-Гидрид (без эффекта памяти).

Время работы от аккумуляторной батареи, часов

не менее 8

Время заряда аккумуляторной батареи, часов

не более 2,5

Габаритные размеры, мм

150x225x45

Масса прибора, кг

не более 2

Степень защиты корпуса по ГОСТ 14254-96

IP 51.

Линейный вход

Входное сопротивление, кОм

не менее 100.

Входная емкость, пФ

не более 50.

Диапазон изменения напряжения на линейном входе, В

от -3,0 до +3,0.

Диапазон рабочих частот, Гц

0,5...25600.

Неравномерность амплитудно-частотной характеристики по линейному входу в диапазоне частот

от 0,5 до 25600 Гц, дБ ± 0,5.


Виброметрические характеристики

Соответствует требованиям ГОСТ 30296-95, ГОСТ ИСО 2954-97, ГОСТ ИСО 10816-1-97, ГОСТ Р ИСО 10816-3-99, ГОСТ Р ИСО 10816-4-99.


Диапазон частот при измерении параметров вибрации, перекрываемый фильтрами

2...1000, 10...1000, 10...2000 2...2000.

Полосы частот при измерении виброускорения, виброскорости, виброперемещения, Гц

2... 1000, 10...1000, 10...2000.

Частотные характеристики полосовых фильтров при измерениях параметров вибрации по

ГОСТ ИСО 2954-97.

Диапазоны измерения параметров вибрации (пиковые значения)

виброускорение, м/с2

от 0,02 до 1000,

от 0,01 до 1000,

виброперемещение, мкм

от 0,1 до 10000.

Пределы допускаемой относительной погрешности при измерении виброускорения, виброскорости, виброперемещения, %

-20...+10.

Уровень собственных шумов прибора с ICP вибропреобразователем в полосах частот 2...1000, 10...1000, 10...2000, м/с2

не более 0,005.


Спектры.

Диапазон быстрого преобразования Фурье входных сигналов, Гц

от 0 до 25600.

Верхние граничные частоты поддиапазонов вычисления спектров, Гц

25, 50, 100, 200, 400, 800, 1600, 3200, 6400, 12800, 25600.

Разрешающая способность спектрального анализа, линий

400, 800, 1600.

Пределы допускаемой относительной погрешности при измерении среднего квадратического значения спектральных составляющих, %

± 10.

Динамический диапазон, свободный от паразитных спектральных составляющих, дБ

70.

Весовая функция

Ханинг.

Спектральные усреднения

Линейное (1...256).

Количество измеренных спектров, сохраняемых в энергонезависимой памяти

спектры на 400 линий

1000

спектры на 800 линий

500

спектры на 1600 линий

250

Время хранения данных в памяти прибора, лет

2

Верхние граничные частоты поддиапазонов быстрого преобразования Фурье огибающей сигнала, Гц

25, 50, 100, 200, 400, 800, 1600, 3200, 6400.

Средние частоты полосовых фильтров при выделении огибающей, Гц

800, 1000, 1250, 1600, 2000, 2500, 3200, 4000, 5000, 6400, 8000, 10000, 12800, 16000, 20000, (1/3 октавные фильтры), 50, 100, 200, 400, 800, 1600, 1200, 6400, 12800, 8000, 16000 (1/1 октавные фильтры).

Единицы измерения спектральных составляющих

g, м/с2, мм/с, мкм, inc/s, mils, В.

Представление спектра

линейное, логарифмическое (дБ).


Временной сигнал

Частоты дискретизации, Гц

64, 128, 256, 512, 1024, 2048, 4096, 8192, 16384, 32768, 65536.

Количество отсчетов

200, 400, 1000, 2000, 4000.

Единицы измерения мгновенных значений сигнала

g, м/с2, В.

Пределы допускаемой относительной погрешности при измерении мгновенных значений сигнала, %

± 5.

Пределы допускаемой абсолютной погрешности измерения временных интервалов, период дискретизации

± 2 То, где To=l/Fo То - период дискретизации, Fo - частота дискретизации.


Общий сигнал.

Полосы измерения, Гц

2-200, 3-300, 5-500, 2-1000, 10-1000, 10-2000, 10-5000, 500 -2500, 625 - 1250, 1200 - 2500, 2500 - 5000, 5000-10000, 10000-25000, 17000 - 25000.

Количество измерений Значение сигнала

1...200. СКЗ, Пик, Размах (Пик-Пик), Коэффициент амплитуды (Пикфактор).

Представление результатов

линейное, логарифмическое (дБ).

Единицы измерения

g, м/с2, мм/с, мкм, inc/s, mils, B.


Скорость вращения машины.

Единицы измерения:

Об/мин, Гц.

Пределы допускаемой погрешности измерения скорости вращения в диапазоне 120...18000 об/мин, %

± 1.


Разгон - выбег.

Диапазон скоростей вращения, об/мин

6 - 102000

Количество каналов

ДО 16

Количество частотных поддиапазонов

50, 100, 200

Погрешность определения фазы, градусов

не более ±15

Погрешность определения амплитуды, дБ

не более ± 2

Представление амплитуды:

линейное, логарифмическое (в дБ)

Автоматический контроль

параметров сигнала с датчика оборотов

Единицы измерения амплитуды

g, м/с2, мм/с, мкм, inc/s, mils, Вольт.

Значение сигнала

СКЗ, Пик, Пик-Пик

Значение сигнала

СКЗ, Пик, Пик-Пик


Измерение амплитуды и фазы.

Диапазон частот вращения, об/мин6 - 102000


Пределы допускаемой погрешности измерения скорости вращения в диапазоне 120...1800 об/мин, %

не более ± 1

Пределы допускаемой основной абсолютной погрешности измерения фазы сигнала синхронного с частотой вращения в диапазоне 0...360°, градусов

± 5.

Пределы допускаемой основной относительной погрешности измерения амплитуды, %

± 10.

Автоматический контроль

параметров сигнала с датчика оборотов, достоверности измерений

Единицы измерения амплитуды

g, м/с2, мм/с, мкм, inc/s, mils, Вольт.

Значение сигнала

СКЗ, ПИК, ПИК-ПИК

Питание для датчика оборотов

встроенное, 5В постоянного тока, 18 мА


Параметры обмена с компьютером.

Виды обмена

интерфейс RS-232, внешний модем

Скорости обмена

1200, 2400, 4800, 9600, 19200, 38400, 57600 бит/сек


Выбор датчика вибрации.

При работе с прибором СД-12М предусмотрена возможность использования одного из следующих двух типов датчиков вибрации:

•         Пьезоэлектрический акселерометр без встроенного усилителя, выходной сигнал которого имеет вид электрического заряда, а коэффициент преобразования измеряется в пK/g, и для акселерометра типа АР-40, поставляемого в комплекте виброанализатора СД-12М, находится в диапазоне от 15 пK/g до 25 пK/g.

•                               ICP акселерометр, в качестве которого может использоваться любой вибродатчик, удовлетворяющий требованиям ICP стандарта, например АР-28. Коэффициент преобразования датчиков данного типа, используемых в мировой практике охватывает диапазон от 10 мВ/g до 10 В/g в зависимости от частотного диапазона и величины измеряемого колебательного ускорения.

Выбор конкретного типа датчика определяется уровнем измеряемой вибрации, наличием электрических и магнитных наводок в измерительном канале, условиями окружающей среды, температурой объекта измерения, стоимостью датчика.

Так для измерения вибрации в условиях воздействия сильных помех на измерительный канал целесообразно использовать вибродатчики ICP.

Для измерения вибрации на объекте с повышенной температурой поверхности следует использовать датчики с зарядовым выходом, т. к. они допускают установку на поверхности с температурой до 250°С, что значительно превышает возможности датчика вибрации со встроенным усилителем.

Подключение датчика вибрации ко входу сборщика СД-12М осуществляется через согласующее устройство индивидуальное для каждого из 3-х указанных типов датчиков. Коэффициент передачи согласующих устройств равен 1, что позволяет при расчете реальных уровней вибрации пользоваться непосредственно значением коэффициента преобразования датчика.

Согласующие устройства монтируются в миниатюрных корпусах, выходной разъем которых вставляется в разъем линейного входа виброанализатора, после чего корпус согласующего устройства крепится к виброанализатору специальными винтами.

Согласующее устройство зарядового датчика представляет собой обычный усилитель заряда с крутизной преобразования SУ3 = 1 мВ/пК, что, при коэффициенте преобразования акселерометра Sa = NnK/g , обеспечивает результирующую чувствительность SΣ=SУ3 SA=NмB/g.

Следует отметить, что усилитель заряда предусматривает возможность использования любого типа пьезоакселерометра с известным паспортным коэффициентом преобразования, при наличии кабелей, обеспечивающих его подключение к согласующему устройству.

Согласующее устройство ICP датчика вибрации, имеющее коэффициент передачи 1, соответствует международным требованиям к устройствам подобного типа в части обеспечения стабилизированного тока и напряжения питания встроенного усилителя.

При проведении измерений необходимо учитывать, что если измеряемый уровень вибрации создает на входе виброанализатора напряжение, амплитудное значение которого превышает ЗВ, то в измерительном канале возникнут нелинейные и интермодуляционные искажения, снижающие точность спектрального анализа. В данном случае на экране виброанализатора СД-12М появляется сообщение о перегрузке измерительного канала.

С учетом вышеизложенного при выборе чувствительности датчика вибрации можно руководствоваться следующим правилом:

KA ASΣ ≤ ЗВ,

JJKa - коэффициент амплитуды сигнала вибрации. Для синусоидальной вибрации Ка = 1,41

Для вибрации, уровни которой распределены по нормальному закону, можно принять Ка = 3.

А - среднеквадратический уровень измеряемой вибрации (g)

Ss - результирующий коэффициент преобразования датчика и согласующего устройства (MB/g).

Значение коэффициента преобразования используемого датчика вибрации, как и необходимые измерительные и пользовательские программы, вводятся в виброанализатор с помощью специальной загрузочной программы, поставляемой в комплекте со виброанализатором и устанавливаемой в IBM совместном компьютере, или при помощи раздела Сервисные функции Основного меню прибора СД-12М .[4]

Использование фотодатчика VAST ФД - 2.

Для проведения измерений скорости вращения машины, амплитуд и фаз вибрации на частоте вращения и кратных ей частотах при помощи прибора СД-12М может быть использован датчик оборотов (инфракрасный фотодатчик) VAST ФД-2, поставляемый дополнительно. Внешний вид этого датчика представлен на рис. 3.1.

Использование этого датчика для измерения фазы вибрации требует установки на вращающуюся часть машины отражающей метки. В качестве материала для нее можно использовать фольгу, меловую черту, краску и т.д. Необходима жесткая установка датчика на резьбовом соединении, на магнитном штативе (поставляется дополнительно).

При измерении скорости вращения машины установка отражающей метки не обязательна. В датчике имеется автоматическая регулировка усиления, позволяющая ему выбрать наиболее отражающий участок на вращающейся поверхности и использовать его как метку. Жесткая установка датчика не обязательна, измерение может осуществляться "с руки".

Для подключения этого датчика к прибору используется разъем Датчик оборотов, расположенный на торцевой части прибора . На этот разъем выведено также питание для датчика оборотов, и дополнительного источника питания не требуется.

Датчик снабжен светодиодом на задней стенке. При появлении сигнала с фотодатчика этот светодиод загорается, что позволяет определить работоспособность и качество установки датчика на объекте.[4]

3.10 Рекомендуемые аппаратные средства и комплект поставки

Персональный компьютер:

•................................................................... процессор Pentium IV,

•         256Mb RAM,

•         1 Гбайт свободного дискового пространства (для программного обеспечения и баз данных),

•...................................................................... Операционная система "Windows 98SE/2000/NT/XP"

Примечание:

Требования к RAM могут различаться в разных версиях Windows.

Программа "DREAM for Windows" поставляется на CD, защищена электронным ключом, который должен быть установлен в разъем на выходе параллельного порта. Ключ поставляется вместе с программой. Номер ключа зависит от того, какие диагностические модули приобретены вместе с программой мониторинга.

В комплект поставки входит:

•         пакет программ DREAM с программой инсталляции "Setup.exe"

•                               программа "Borland Database Engine" (BDE) для работы с базами данных.

Для полного пакета программ (со стационарной системой) меню будет содержать следующие пункты:

•         BDE Administrator. Служебная программа для администрирования базами данных.

•         DREAM32. Главная программа.

•         Дефекты датчиков. Программа для контроля неисправности (дефектов) датчиков в стационарной системе.

•         Конвертор стационарных БД. Программа преобразования старых баз данных стационарной системы в новый формат.

•         Менеджер БД. Программа обеспечивает все необходимые операции для работы с базами данных:

- создания новой базы данных,

- резервного копирования и последующего восстановления базы данных вместо поврежденной,

- обновления старой версии базы данных в новой версии "DREAM for Windows",

переключения с одной базы данных на другую,

корректного удаления ненужной базы данных.

•         Напряжение на датчиках. Программа просмотра состояния датчиков в стационарной системе.

•         Настройка системы.

•         Отчеты для МS Word. Программа для автоматического создания отчетов с помощью редактора MS Word.

•         Проверка БД. Программа проверки БД на наличие дубликатов имен.

•                       Связь с удаленными приборами. Программа для работы с удаленными приборами через модем.

•                    Сообщения об опасности. Программа выдачи сообщений об опасности входит в стационарную систему.

•         Стационарная система.

•         Электронный паспорт локомотива.

Программа DREAM позволяет вносить изменения в базу данных только при установленном электронном ключе. Ключ устанавливается в разъем на выходе параллельного (принтерного) порта. Если к этому разъему подсоединен принтер, то ключ подсоединяется к компьютеру, а принтер подсоединяется на выходе ключа. При этом ключ не оказывает никакого влияния на работу принтера. Если ключ не установлен, появится сообщение "Электронный ключ не найден. Программа запущена в режиме демонстрации". В демонстрационном режиме вы не сможете сконфигурировать новые узлы.[4]

3.11   Поверка виброанализатора СД-12М

Поверка виброанализатора проводится специализированными организациями, аккредитованными на право поверки данного вида оборудования.

Калибровка виброанализатора производится организацией «ВАСТ» г. Санкт Петербург.

3.12   Оформление результатов поверки

При выполнении операций поверки оформляются протоколы по произвольной форме.

Результаты поверки оформляются путем выдачи "Свидетельства о поверке" или "Извещения о непригодности" в соответствии с ПР 50.2. 006-94.

.13 Результаты измерений и их обработка

Результаты измерений вибрации буксового узла и их обработка.

Диагностический узел : Левая букса


ЗАКЛЮЧЕНИЕ ПО РЕЗУЛЬТАТАМ ДИАГНОСТИКИ

ИЗМЕРЕНИЕ ПРОВЕДЕНО : 29.09.2006 6:28:10

РЕКОМЕНДАЦИИ :

Провести следующие измерения не позднее 28.03.2007.

Заданная частота вращения 3.73 - 3.96 Гц (224.0 -237.8 Об/мин.)

Выбранная для диагностики частота вращения 3.91 Гц (234.8 Об/мин.)

ОБНАРУЖЕННЫЕ ДЕФЕКТЫ :

Дефекты не обнаружены.

Диагностический узел : Левая букса


ЗАКЛЮЧЕНИЕ ПО РЕЗУЛЬТАТАМ ДИАГНОСТИКИ

ИЗМЕРЕНИЕ ПРОВЕДЕНО : 09.09.2006 8:07:24

РЕКОМЕНДАЦИИ :

Провести следующие измерения не позднее 24.09.2006.

Заданная частота вращения 3.73 - 3.97 Гц (224.1 -237.9 Об/мин.)

Выбранная для диагностики частота вращения 3.87 Гц (232.3 Об/мин.)

ОБНАРУЖЕННЫЕ ДЕФЕКТЫ :

ИЗНОС ВНУТРЕННЕГО КОЛЬЦА (14%; Сильный; Вероятность 70%)

Диагностические признаки в спектре огибающей :

.82 Гц ( 2%) Fвр

.68 Гц ( 9%) 2Fвр

.56 Гц (13%) 3Fвр

.41 Гц ( 5%) 4Fвр

.27 Гц (14%) 5Fвр

.07 Гц ( 3%) 6Fвр

.00 Гц ( 6%) 7Fвр

.83 Гц ( 8%) 8Fвр

.62 Гц ( 5%) 9Fвр

.55 Гц ( 6%) 10Fвр

.30 Гц ( 3%) 11Fвр

.22 Гц ( 4%) 12Fвр

.10 Гц ( 2%) 13Fвр

.88 Гц ( 3%) 14Fвр

Рост уровня высокочастотной вибрации (11 dB)

На основании результатов диагностики был вскрыт и осмотрен буксовый узел. При проведении замеров радиального зазора диагноз был подтвержден.

Диагностический узел : Левая букса


ЗАКЛЮЧЕНИЕ ПО РЕЗУЛЬТАТАМ ДИАГНОСТИКИ

ИЗМЕРЕНИЕ ПРОВЕДЕНО : 15.09.2006 9:06:04

РЕКОМЕНДАЦИИ :

Провести следующие измерения не позднее 15.10.2006.

БОЙ ВАЛА (16%; Сильный; Вероятность 70%)

Заданная частота вращения 3.68 - 3.91 Гц (220.9 -234.6 Об/мин.)

Выбранная для диагностики частота вращения 3.82 Гц (229.0 Об/мин.)

ОБНАРУЖЕННЫЕ ДЕФЕКТЫ :

БОЙ ВАЛА (16%; Сильный; Вероятность 70%)

Диагностические признаки в спектре огибающей :

.78 Гц ( 3%) Fвр

Диагностические признаки в прямом спектре :

.58 Гц ( 97 dB) 2Fвр

.38 Гц ( 76 dB) 3Fвр

.15 Гц ( 94 dB) 4Fвр

.17 Гц ( 91 dB) 5Fвр

.73 Гц ( 93 dB) 6Fвр

.57 Гц ( 96 dB) 7Fвр Fн-Fвр

.35 Гц (103 dB) 8Fвр Fн

.16 Гц (104 dB) 9Fвр Fн+Fвр

.96 Гц (101 dB) 10Fвр

.55 Гц ( 97 dB) 12Fвр

.34 Гц (104 dB) 13Fвр

.50 Гц (102 dB) 15Fвр

.66 Гц ( 99 dB) 16Fвр

.54 Гц (105 dB) 17Fвр

.29 Гц (103 dB) 23Fвр

.80 Гц (102 dB) 25Fвр

.92 Гц (103 dB) 27Fвр

.56 Гц ( 96 dB) 37Fвр

( 25 dB) Рост линии 2Fвр

( 8 dB) Рост линий 3Fвр-6Fвр

( 11 dB) Рост линий 7Fвр-12Fвр

( 10 dB) Рост линий 13Fвр-23Fвр

Результаты измерений вибрации моторно-якорного противоколлекторного узла и их обработка.

Диагностический узел : М-Я ПК


ЗАКЛЮЧЕНИЕ ПО РЕЗУЛЬТАТАМ ДИАГНОСТИКИ

ИЗМЕРЕНИЕ ПРОВЕДЕНО : 25.04.2006 14:04:28

РЕКОМЕНДАЦИИ :

Провести следующие измерения не позднее 25.05.2006.

Произвести осмотр зубьев шестерни.

Основание :

ДЕФЕКТЫ МАЛОЙ ШЕСТЕРНИ (26%; Сильный; Вероятность 80%)

Заданная частота вращения 4.44 - 4.72 Гц (266.7 -283.2 Об/мин.)

Выбранная для диагностики частота вращения 4.59 Гц (275.1 Об/мин.)

ОБНАРУЖЕННЫЕ ДЕФЕКТЫ :

ДЕФЕКТЫ МАЛОЙ ШЕСТЕРНИ (26%; Сильный; Вероятность 80%)

Диагностические признаки в спектре огибающей :

.21 Гц (12%) Fвр

.38 Гц ( 5%) 2Fвр

.11 Гц ( 5%) Fz~1

.90 Гц ( 3%) Fz1-Fвр

.16 Гц ( 8%) Fz1

.36 Гц ( 5%) Fz1+Fвр

.22 Гц ( 7%) 3Fz~1

.06 Гц ( 2%) 2Fz1-Fвр

.26 Гц ( 3%) 2Fz1

Диагностические признаки в прямом спектре :

.00 Гц (114 dB) Fz~1

.63 Гц (113 dB) 13Fвр Fz1-2Fвр

.85 Гц (121 dB) 14Fвр Fz1-Fвр

.06 Гц (128 dB) 15Fвр 2Fв-Fвр Fz1

.25 Гц (130 dB) 16Fвр 2Fв Fz1+Fвр

.48 Гц (119 dB) 17Fвр 2Fв+Fвр Fz1+2Fвр

.09 Гц (134 dB) 3Fz~1

.09 Гц (119 dB) 29Fвр 2Fz1-Fвр

.16 Гц (125 dB) 30Fвр 2Fz1

.34 Гц (122 dB) 31Fвр 2Fz1+Fвр

.53 Гц (118 dB) 32Fвр 2Fz1+2Fвр

.09 Гц (121 dB) 44Fвр 3Fz1-Fвр

.27 Гц (128 dB) 45Fвр 3Fz1

.42 Гц (120 dB) 3Fz1+Fвр

( 13 dB) Рост боковых у k*Fz1

( 13 dB) Рост линий k*Fz1

( 24 dB) Рост линий k*Fz~1

Диагностический узел : М-Я ПК

ЗАКЛЮЧЕНИЕ ПО РЕЗУЛЬТАТАМ ДИАГНОСТИКИ

ИЗМЕРЕНИЕ ПРОВЕДЕНО : 13.04.2006 14:04:40

РЕКОМЕНДАЦИИ :

Провести следующие измерения не позднее 28.04.2006.

Заданная частота вращения 4.29 - 4.55 Гц (257.2 -273.2 Об/мин.)

Выбранная для диагностики частота вращения 4.50 Гц (270.0 Об/мин.)

ОБНАРУЖЕННЫЕ ДЕФЕКТЫ :

ДЕФЕКТЫ ТЕЛ КАЧЕНИЯ И СЕПАРАТОРА (33%; Сильный; Вероятность 30%)

Диагностические признаки в спектре огибающей :

.07 Гц (25%) Fтк

.15 Гц (33%) 2Fтк

.22 Гц (18%) 3Fтк

.26 Гц (19%) 4Fтк

.36 Гц (10%) 5Fтк

.43 Гц ( 5%) 6Fтк-Fc

.39 Гц ( 9%) 6Fтк

Диагностические признаки в прямом спектре не обнаружены.

При осмотре подшипника было обнаружено: износ и выкрашивание сепаратора.

Диагностический узел : М-Я ПК

ЗАКЛЮЧЕНИЕ ПО РЕЗУЛЬТАТАМ ДИАГНОСТИКИ

ИЗМЕРЕНИЕ ПРОВЕДЕНО : 02.04.2007 10:38:34

РЕКОМЕНДАЦИИ :

Провести следующие измерения не позднее 02.05.2007.

Заданная частота вращения 3.38 - 3.59 Гц (203.0 -215.5 Об/мин.)

Выбранная для диагностики частота вращения 3.49 Гц (209.4 Об/мин.)

ОБНАРУЖЕННЫЕ ДЕФЕКТЫ :

БОЙ ВАЛА (18%; Сильный; Вероятность 30%)

Диагностические признаки в спектре огибающей :

.73 Гц (18%) Fвр

.40 Гц ( 7%) 2Fвр

.12 Гц ( 7%) 3Fвр

.80 Гц ( 3%) 4Fвр

.39 Гц ( 3%) 5Fвр

.51 Гц ( 3%) 6Fвр

.71 Гц ( 3%) 9Fвр

.65 Гц ( 4%) 14Fвр Fz1-Fвр

.40 Гц (10%) 15Fвр Fz1

.14 Гц ( 3%) 29Fвр 2Fz1-Fвр

.69 Гц ( 6%) 30Fвр 2Fz1

.52 Гц ( 5%) 31Fвр 2Fz1+Fвр

.06 Гц ( 3%) 33Fвр

Диагностические признаки в прямом спектре не обнаружены.

ДЕФЕКТЫ МАЛОЙ ШЕСТЕРНИ (18%; Средний; Вероятность 80%)

Диагностические признаки в спектре огибающей :

.73 Гц (18%) Fвр

.40 Гц ( 7%) 2Fвр

.12 Гц ( 7%) 3Fвр

.80 Гц ( 3%) 4Fвр

.39 Гц ( 3%) 5Fвр

.51 Гц ( 3%) 6Fвр

.71 Гц ( 3%) 9Fвр

.65 Гц ( 4%) 14Fвр Fz1-Fвр

.40 Гц (10%) 15Fвр Fz1

.14 Гц ( 3%) 29Fвр 2Fz1-Fвр

.69 Гц ( 6%) 30Fвр 2Fz1

.52 Гц ( 5%) 31Fвр 2Fz1+Fвр

.06 Гц ( 3%) 33Fвр

Диагностические признаки в прямом спектре :

.56 Гц (113 dB) 13Fвр Fz1-2Fвр

.25 Гц (110 dB) 14Fвр Fz1-Fвр

.56 Гц (117 dB) 16Fвр Fz1+Fвр

.28 Гц (108 dB) 17Fвр Fz1+2Fвр

.60 Гц (118 dB) 28Fвр 2Fz1-2Fвр

.14 Гц (123 dB) 29Fвр 2Fz1-Fвр

.76 Гц (136 dB) 30Fвр 2Fz1

.47 Гц (129 dB) 31Fвр 2Fz1+Fвр

.18 Гц (127 dB) 32Fвр 2Fz1+2Fвр

.05 Гц (119 dB) 44Fвр 3Fz1-Fвр

.66 Гц (130 dB) 45Fвр 3Fz1

.37 Гц (126 dB) 3Fz1+Fвр

.07 Гц (121 dB) 3Fz1+2Fвр

.33 Гц (112 dB) 6Fz1

( 10 dB) Рост боковых у k*Fz1

( 17 dB) Рост линий k*Fz1

При осмотре и измерении зубчатого зацепления был выявлен изгиб вала якоря и небольшой износ поверхности зубьев шестерни и зубчатого колеса.

Диагностический узел : М-Я ПК


ЗАКЛЮЧЕНИЕ ПО РЕЗУЛЬТАТАМ ДИАГНОСТИКИ

ИЗМЕРЕНИЕ ПРОВЕДЕНО : 10.11.2006 9:50:40

РЕКОМЕНДАЦИИ :

Провести следующие измерения не позднее 25.12.2006.

Заданная частота вращения 3.75 - 3.98 Гц (225.1 -239.0 Об/мин.)

Выбранная для диагностики частота вращения 3.86 Гц (231.6 Об/мин.)

ОБНАРУЖЕННЫЕ ДЕФЕКТЫ :

РАКОВИНЫ НА НАРУЖНОМ КОЛЬЦЕ (17%; Сильный; Вероятность 70%)

Диагностические признаки в спектре огибающей :

.52 Гц (17%) Fн

.02 Гц (15%) 2Fн

.53 Гц (13%) 3Fн

.02 Гц (11%) 4Fн

.55 Гц (11%) 5Fн

.05 Гц (10%) 6Fн

Диагностические признаки в прямом спектре не обнаружены.

Из-за отсутствия боковых составляющих в спектре огибающей, можно предположить дефект смазки, либо наличие посторонних частиц в смазке. Данное предположение было подтверждено результатами анализа смазки (обнаружена стружка),

После замены смазки в данном узле и повторном проведении диагностики, указанные диагностические признаки дефекта отсутствовали

Результаты измерений вибрации моторно-якорного коллекторного узла и их обработка.

Диагностический узел : М-Я Колл


ЗАКЛЮЧЕНИЕ ПО РЕЗУЛЬТАТАМ ДИАГНОСТИКИ

ИЗМЕРЕНИЕ ПРОВЕДЕНО : 13.04.2006 14:01:04

РЕКОМЕНДАЦИИ :

Провести следующие измерения не позднее 13.05.2006.

Заданная частота вращения 4.39 - 4.66 Гц (263.2 -279.5 Об/мин.)

Выбранная для диагностики частота вращения 4.53 Гц (271.5 Об/мин.)

ОБНАРУЖЕННЫЕ ДЕФЕКТЫ :

ДЕФЕКТЫ МАЛОЙ ШЕСТЕРНИ (14%; Средний; Вероятность 40%)

Диагностические признаки в спектре огибающей не обнаружены.

Диагностические признаки в прямом спектре :

.28 Гц (103 dB) 14Fвр Fz1-Fвр

.49 Гц (106 dB) Fz1

.87 Гц (107 dB) 44Fвр 3Fz1-Fвр

.69 Гц (114 dB) 45Fвр 3Fz1

.57 Гц (108 dB) 3Fz1+Fвр

.26 Гц (110 dB) 4Fz1

РАКОВИНЫ НА НАРУЖНОМ КОЛЬЦЕ (20%; Сильный; Вероятность 70%)

Диагностические признаки в спектре огибающей :

.74 Гц (20%) Fн

.48 Гц (11%) 2Fн

.25 Гц ( 7%) 3Fн

.04 Гц ( 5%) 4Fн

.85 Гц ( 5%) 5Fн

.61 Гц ( 3%) 6Fн

Диагностические признаки в прямом спектре не обнаружены.

В данном случае при осмотре подшипникового узла было выявлено выкрашивание поверхности наружного кольца, что было подтверждено результатами анализа смазки.

Диагностический узел : М-Я Колл

 

ЗАКЛЮЧЕНИЕ ПО РЕЗУЛЬТАТАМ ДИАГНОСТИКИ

ИЗМЕРЕНИЕ ПРОВЕДЕНО : 27.09.2006 11:13:20

РЕКОМЕНДАЦИИ :

Провести следующие измерения не позднее 27.10.2006.

Произвести осмотр зубьев шестерни.

Основание :

ДЕФЕКТЫ МАЛОЙ ШЕСТЕРНИ (21%; Сильный; Вероятность 90%)

Заданная частота вращения 3.78 - 4.01 Гц (226.8 -240.9 Об/мин.)

Выбранная для диагностики частота вращения 3.90 Гц (234.3 Об/мин.)

ОБНАРУЖЕННЫЕ ДЕФЕКТЫ :

ДЕФЕКТЫ МАЛОЙ ШЕСТЕРНИ (21%; Сильный; Вероятность 90%)

Диагностические признаки в спектре огибающей :

.78 Гц (18%) Fвр

.62 Гц ( 6%) 2Fвр

.40 Гц ( 4%) 3Fвр

.17 Гц ( 5%) 4Fвр

.97 Гц ( 5%) 5Fвр

.85 Гц ( 4%) 6Fвр

.59 Гц ( 5%) 7Fвр

.36 Гц ( 5%) 8Fвр

Диагностические признаки в прямом спектре :

.32 Гц (110 dB) 10Fвр 2Fz^1

.82 Гц (123 dB) 20Fвр 4Fz^1

.57 Гц (124 dB) 25Fвр 5Fz^1

.58 Гц (134 dB) 28Fвр 2Fz1-2Fвр

.30 Гц (130 dB) 29Fвр 2Fz1-Fвр

.14 Гц (132 dB) 30Fвр 2Fz1

.80 Гц (123 dB) 31Fвр 2Fz1+Fвр

.42 Гц (121 dB) 44Fвр 3Fz1-Fвр

.12 Гц (126 dB) 45Fвр 3Fz1

.90 Гц (127 dB) 3Fz1+Fвр

( 16 dB) Рост боковых у k*Fz1

( 16 dB) Рост линий k*Fz1

( 14 dB) Рост линий k*Fz^1

ИЗНОС ВНУТРЕННЕГО КОЛЬЦА (18%; Сильный; Вероятность 90%)

Диагностические признаки в спектре огибающей :

.78 Гц (18%) Fвр

.62 Гц ( 6%) 2Fвр

.40 Гц ( 4%) 3Fвр

.17 Гц ( 5%) 4Fвр

.97 Гц ( 5%) 5Fвр

.85 Гц ( 4%) 6Fвр

.59 Гц ( 5%) 7Fвр

.36 Гц ( 5%) 8Fвр

Диагностические признаки в прямом спектре :

.74 Гц (113 dB) Fвр

.46 Гц (103 dB) 2Fвр

.18 Гц (110 dB) 3Fвр

.89 Гц ( 98 dB) 4Fвр

.21 Гц (107 dB) 6Fвр

.09 Гц (110 dB) 7Fвр

.72 Гц (112 dB) 8Fвр

.32 Гц (110 dB) 10Fвр 2Fz^1

.09 Гц (114 dB) 11Fвр

.77 Гц (113 dB) 12Fвр

.58 Гц (117 dB) 14Fвр

.74 Гц (117 dB) 16Fвр

.84 Гц (126 dB) 19Fвр

.82 Гц (123 dB) 20Fвр 4Fz^1

.50 Гц (124 dB) 21Fвр

.27 Гц (119 dB) 22Fвр

.93 Гц (123 dB) 23Fвр

.74 Гц (125 dB) 24Fвр

.57 Гц (124 dB) 25Fвр 5Fz^1

.17 Гц (130 dB) 26Fвр

.93 Гц (126 dB) 27Fвр

.58 Гц (134 dB) 28Fвр 2Fz1-2Fвр

.30 Гц (130 dB) 29Fвр 2Fz1-Fвр

.14 Гц (132 dB) 30Fвр 2Fz1

.80 Гц (123 dB) 31Fвр 2Fz1+Fвр

.33 Гц (113 dB) 32Fвр

.35 Гц (113 dB) 33Fвр

.89 Гц (112 dB) 34Fвр

.33 Гц (118 dB) 36Fвр

.07 Гц (116 dB) 37Fвр

.65 Гц (115 dB) 38Fвр

.91 Гц (115 dB) 39Fвр

.18 Гц (121 dB) 41Fвр

.06 Гц (120 dB) 42Fвр

.42 Гц (121 dB) 44Fвр 3Fz1-Fвр

.12 Гц (126 dB) 45Fвр 3Fz1

( 14 dB) Рост в области ВЧ

( 14 dB) Рост линии Fвр

( 9 dB) Рост линий 3Fвр-6Fвр

( 14 dB) Рост линий 7Fвр-12Fвр

( 14 dB) Рост линий 13Fвр-23Fвр

При проведении замеров радиального зазора подшипника дефект не подтвердился. Что лишний раз подтверждает, что при автоматической диагностике, из-за совпадения частотных признаков дефектов, компьютер может выдавать ложные дефекты.

При проведении осмотра и замеров шестерни было выявлено выкрашивание поверхности зубьев шестерни, что было подтверждено результатами анализа смазки.

Основной цель данной работы было: показать назначение и возможности систем вибрационного контроля, мониторинга и диагностики роторного оборудования.

Возможности диагностических систем определяются выбором диагностического сигнала и информационной технологии. Сигнал вибрации содержит достаточную диагностическую информацию для того, чтобы с помощью современных информационных технологий обнаружить дефектный узел машины, определить вид и глубину дефекта и дать долгосрочный прогноз его развития.

Сделан краткий литературный обзор о развитии технической диагностики оборудования, начиная с простейшего метода визуального контроля, заканчивая современными ультразвуковыми и вибрационными методами контроля технического состояния оборудования. Так же кратко рассмотрена теория виброакустической диагностики и мониторинга.

В данной работе назначение и возможности систем вибрационного контроля рассмотрены на примере переносного диагностического комплекса ВЕКТОР - 2000, разработанного ассоциацией «ВАСТ» г. Санкт Петербург.

В экспериментальной части данной работы рассмотрена технология проведения вибрационной диагностики с использованием диагностического комплекса ВЕКТОР - 2000, обоснован выбор точек контроля вибрации оборудования, рассмотрены диагностируемые узлы и обнаруживаемые дефекты. Так же приведены возможности виброанализатора СД - 12М и примеры результатов измерений.

4. Безопасность жизнедеятельности

Характеристика потенциальных опасностей и вредностей, которые могут возникнуть при проведении вибродиагностики подвижного состава:

Возможность падения диагностируемого блока с высоты (Диагностируемый блок вывешен на домкратах).

Возможность захвата одежды или частей тела при вращении (Узлы диагностируемого блока вращаются (210 - 300 об./мин.)).

Возможность поражения электротоком (электродвигатель блока находится под постоянным напряжением 150 В).

Наличие сильного шума при работе блока.

Наличие пыли органического и неорганического происхождения.

Возможность возникновения пожара (смазочные масла, солярка, керосин).

Неудобство проведения диагностики (Диагностик находится под тепловозом (в смотровой канаве)).

Характеристика объекта с точки зрения токсичности и пожаровзрывоопасности.

По взрыво - пожаро безопасности НПБ 105 - 03 относится к категории В1.

Согласно Сан ПиН 2.2.1/2.1.1.1200 - 03 защитная зона для цеха составляет 50 м.

Согласно ПУЭ - 00 помещение цеха относится к категории помещений с повышенной опасностью поражения электротоком. Т.к. в цеху железобетонный пол, с металлическим настилом вдоль рельс, по обе стороны канавы. Оборудование эксплуатируется в соответствии с Правилами Технической Эксплуатации Электроустановок.

Молниезащита для цеха необязательна по РД 34.21.122 - 87

По огнестойкости кирпичный цех относится к 3 категории СНиП 21-01-97.

Санитарно-гигиеническая характеристика производства.

Т.к. проведение вибродиагностики подвижного состава производится в помещении цеха, в таблице указаны допустимые параметры микроклимата по Сан. ПиН 2.2.4.548 - 96.

Период года

Категория работ по уровню энергозатрат

Температура воздуха оС

Температура поверхностей, оС

Относительная влажность,%



Оптим.

допустимая

Оптим.

Допустимая

Оптим.

Допустимая




tвозд<tопт

tвозд>tопт





холодный

(19)-21

(17)-18,9

(21)-23

(18)-22

(16)-24

40-60

15-75

теплый

(20)-22

(18)-19,9

(22,1)-27

(19)-23

(17)-28

40-60

15-75


Т.к. уровень шума превышает 80 дБ в соответствии с СН 2.2.4/2.1.8562 - 96 для защиты от шума применяются шумопонижающие наушники.

Уровень вибрации соответствует СН 2.2.4/2.1.8.566-96.

Уровень искусственного освещения в цехе 150 лк, в смотровой канаве 300 лк - соответствует Сан ПиН 2.2.1/2.2.1.1278 - 03

Безапасность технологического процесса и оборудования.

Работнику запрещается:

•         Включать и останавливать (кроме аварийных случаев) машины, станки и механизмы, работа которых не входит в его обязанности.

•         Проводить работы во время проведения маневровых работ.

•         Работать без спецодежды и обуви.

•         Работникам не связанным с диагностированием локомотива находиться на, в и под локомотивом во время проведения диагностики.

Работник должен быть обеспечен спецодеждой, спецобувью согласно типовых отраслевых норм.

При контакте с нефтепродуктами, маслами, кислотами, щелочами, необходимо применять защитные пасты и мази.

Работы должны выполняться бригадой не менее 2-х человек, с оформлением наряда допуска.

Работник обязан:

•         Использовать только исправный инструмент.

•         Обтирочный материал ,негодный для дальнейшего использования, положить в специальную тару.

•         При установке датчика вибрации быть предельно остарожным и внимательным.

После окончания работы работник должен:

•         Очистить приборы и инструмент от загрязнений и убрать в специально предназначенное место.

Электробезопасность

К работе с диагностическим комплексом «Вектор - 2000» допускаются специально обученные лица, прошедшие проверку знаний и сдавшие экзамен на соответствующий разряд и группу по электробезопасности (не ниже 3).

На оборудовании установлено заземление и защита от короткого замыкания.

При высокой влажности возможен пробой эл. тока на корпус тягового электродвигателя.

Пожарная безопасность.

При возникновении пожара необходимо сообщить в пожарную охрану и руководителю работ, и принять все необходимые меры для ликвидации очага пожара всеми имеющимися на участке средствами пожаротушения (пожарный гидрант, ящики с песком, огнетушители).

Расстояние до эвакуационного выхода не более 10 м, время эвакуации не более1 минуты.

Защита окружающей среды.

Газообразных выбросов в атмосферу при проведении диагностики нет.

Жидкие отходы, масла, и т.д. направляются по отдельной канализации в яму нефтеулавливатель.

Твердые отходы - обтирочные материалы утилизируются в специально отведенной яме и периодически сжигаются.

Расчет пожарной нагрузки.

Размеры цеха 10 м х 15 м

Высота до нижнего пояса ферм перекрытия 5,5 м.

Наименование и количество пожароопасных материалов находящихся в цеху

Наименование  материала

Теплотворная  способность кДж/кг(G)

Масса  материала кг. (QP)

Ветошь обтирочная

15700

200

Масло дизельное

41840

250

Керосин

43540

100

Солярка

42680

5000


Рассчитаем пожарную нагрузку:

 = 15700·200+41840·250+43540·100+42680·5000 = 213418 МДж

Рассчитаем удельную пожарную нагрузку:

 = 1423 МДж/м2

Q ≥0,64·gТ·H2

≥ 0,64·2200·5,52

> 42592

Помещение относится к категории В1

В помещении цеха размещено:

Три ящика с песком;

Шесть порошковых огнетушителей ОП - 5;

Пожарный брандспойт;

Мобильная пенная установка ПУ - 200.

5. Гражданская оборона

Услышав сирену, производственные гудки и другие сигнальные средства (сигнал «Внимание всем), рабочим обязательно включить местное радио или ТВ и прослушать экстренное сообщение штаба ГО.

Системы оповещения.

В цехе сигнал можно получить по нескольким каналам связи.

) от дежурного по депо по местной громкоговорящей связи.

) от дежурного по депо по прямой телефонной связи.

) посредством электросирены на территории предприятия.

) посредством тепловозных гудков.

Защитные сооружения.

На территории предприятия используется укрытие малой вместимости на 200 человек. Оно оборудовано: фильтровентиляционной системой, электроснабжением, связью, водоснабжением. На случай самообеспечения в укрытии имеется генератор переменного тока, запас питьевой воды, аварийный сборник фекальных вод, запас воды для тушения возможных пожаров.

Порядок эвакуации.

При получении сигнала ГО весь персонал должен покинуть помещение согласно плану эвакуации и собраться в пункте сбора, после чего разместиться в укрытии.

Выдача СИЗ персоналу по сигналу ГО производится в укрытии.

Обучение персонала по ГО.

Обучение руководящего состава предприятия производится в региональных и районных центрах обучения ГО, рабочий персонал обучается в районных и местных центрах обучения ГО.

В структурных подразделениях организовано регулярное обучение рабочих и служащих по специальным программам и темам.

Невоенизированные формирования ГО.

1.  Служба по обеззараживанию одежды.

2.       Служба по обеззараживанию помещений.

.         Санитарный пост.

.         Команда пожаротушения.

.         Аварийно-техническая группа.

.         Звено по обеззараживанию территории

.         Звено по обслуживанию укрытия.

.         Пост РХН.

.         Звено разведки на средствах ж.д. транспорта.

.         Спасательная группа.

.         Разведывательная группа.

.         Звено связи.

6. Экономика, основы предпринимательской деятельности, менеджмента и маркетинга

Наименование цеха:

Тепловозный цех.

Основное технологическое оборудование:

Диагностический комплекс «Вектор - 2000», выпрямитель постоянного тока, подъемный механизм.

Расчет себестоимости диагностирования одного локомотива:

1.       Стоимость диагностического комплекса «Вектор 2000» составляет 590000 руб.

2.       Амортизация диагностического комплекса «Вектор 2000» 7023,81 руб.\месяц

.         Затраты на обслуживание комплекса «Вектор 2000» 6500 руб.\год

.         Стоимость источника питания 75000 руб.

.         Амортизация источника питания 773,81 руб.\месяц

.         Затраты на обслуживание источника питания 2500 руб.\год

.         Стоимость подъемного механизма 10000 руб.

.         Амортизация подъемного механизма 77,39 руб.\месяц

.         Затраты на обслуживание подъемного механизма 350 руб.\год

.         Затраты на обучение персонала 30000 руб. на 1 человека.

.         Стоимость электроэнергии 1 кВт·час = 1,5762 руб.

.         Суммарные затраты электроэнергии на 1 локомотив 65 кВт·час

.         Оплата труда повременная 54 руб.\час

При расчете себестоимости закладываем окупаемость оборудования за один год. Эксплуатация оборудования 7 лет. За одну смену производится диагностирование 2 локомотивов.

Диагностирование производят 2 человека (специалист + слесарь), обученных специалистов 2 человека.

Рассчитаем суммарную стоимость оборудования:

ΣЦоб = 650000 + 75000 + 10000 = 735000 руб.

Сумма амортизационных затрат за месяц.

ΣЗам = 7023,81 + 773,81 + 77,39 = 7875,01 руб.

Сумма затрат на обслуживание за месяц.

ΣЗоб = (6500 + 2500 + 350) /12 = 779,17 руб.

Сумма затрат за месяц с учетом окупаемости и обучения персонала:

ΣЗм = ΣЦоб / 12 + ΣЗам + ΣЗоб + (Зобуч · 2)/12 =

/12 + 7875,01+779.17+(30000·2)/12 = 74904.18 руб.

Сумма затрат за 1 смену с учетом 21 рабочего дня в месяц:

ΣЗсмена = 74904.18 / 21 = 3566.87

Затраты на электроэнергию на один локомотив.

Зэ = 65 · 1,5762 = 102,45 руб.

Затраты на заработную плату на один локомотив.

Зз = 2 · 54 · 4 = 432 руб.

Затраты (себестоимость) на диагностирование одного локомотива.

.87/ 2 + 432 + 102,45 = 2317.89 руб.

Использованная литература

1.     Барков А.В., Баркова Н.А., Федорищев В.В. «Вибрационная диагностика колесноредукторных блоков на железнодорожном транспорте». СПб: 2002 г.

2.       Биргер И.А. «Техническая диагностика». М: Машиностроение, 1978 г.;

.         А. Р. Ширман, А. Б. Соловьев «Практическая вибродиагностика и мониторинг состояния механического оборудования». Москва, 1996 г.

.         Руководство по эксплуатации диагностического комплекса «ВЕКТОР - 2000». СПб 2000 г.

.         Гиберт А. И. Логические устройства для технической диагностики. - Науч. тр. Сиб. ВИМ, 1964, вып. 2, с. 136-156.

.         Грундспенькис Я. А. Топологическая модель функционирования двигателя внутреннего сгорания автомобиля. - В кн.: Кибернетика и диагностика. Рига. Зинатне, вып. 5, с. 47-53.

.         Кузьмин Р. В. Техническое состояние и надежность судовых механизмов. Л., Судостроение, 1974. 334 с.

.         Павлов Б. В. Акустическая диагностика машин. М., Машиностроение, 1971. 222 с.

9.     Попков В. И. Виброакустическая диагностика и снижение виброактивности судовых механизмов. Л. Судостроение, 1974. 218 с.

10.   Виброанализатор СД-12М Методика поверки. - СПб 2000 г.

Похожие работы на - Назначение и возможности систем вибрационного мониторинга и диагностики роторного оборудования

 

Не нашли материал для своей работы?
Поможем написать уникальную работу
Без плагиата!
Без нейросетей!