Совершенствование вспомогательных механизмов линейного морского буксира прибрежного плавания
ВВЕДЕНИЕ
Современный этап развития мирового транспортного
флота характеризуется следующими основными направлениями:
Специализацией флота;
Ограничением грузоподъемности танкеров и
снижением проектной скорости большинства транспортных судов;
Сокращением строительства судов с паротурбинным
установками и оснащением большинства судов дизельными установками;
Широким осуществлением комплекса мероприятий,
обеспечивающих экономию топливо энергетических ресурсов, а также применением
тяжелых остаточных и альтернативных топлив.
Явление энергетического кризиса оказали
существенное влияние на тенденции в создании судовых дизелей, работающих на
более дешевых сортах топлив. Возросла потребность в высокоэкономичных дизелях с
небольшими габаритными размерами мощностью до 10-15 МВт.
Главными стали вопросы высокой надежности и
экономичности, снижения трудозатрат в эксплуатации, обеспечение возможности
сжигания тяжелых топлив.
Морской транспортной и промысловой флот в
настоящее время пополняется большими сериями судов специального назначения, к
которым относятся и буксиры.
Увеличение скорости хода и грузоподъемности
судов привело к росту мощности силовых установок, а потому и к возрастанию
суммарного расхода топлива.
В сумме эксплуатационных расходов современных
теплоходов затраты на топливо составляют 20-25%.
Уделяется большое внимание разработке
мероприятий по снижению себестоимости морских перевозок за счет повышения
экономичности применяемых топлив.
Предусматривается снизить удельный расход
топлива на транспорте в среднем на 10-12%.
Сокращение затрат топлива на морском
транспортном и промысловом флоте может быть осуществлено за счет снижения его
удельного расхода или применения высокоэкономичных ДВС . Первый путь снижения
затрат на топливо связан с совершенствованием силовых установок..
Годовая потребность морского, промыслового и
речного флота в дизельном топливе составляет около 15% потребности в этом
топливе по народному хозяйству в целом. Поэтому замена в судовых дизелях
использование современных экономичных двигателей позволяет не только снизить
себестоимость перевозок, но высвободить большое количество дизельного топлива,
необходимого для работы парка автомобилей, тракторов сельскохозяйственной
техники и дорожно-строительных машин.
1.
Специальный раздел
.1 Основные характеристики судна
Предназначен для буксировки несамоходных
плавсредств в прибрежных районах морских бассейнов, перевозки людей (до 12
человек) и груза (до 2 тонн) на палубе, а также участия в поисково-спасательных
операциях.
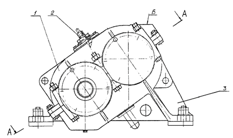
Архитектурно-конструктивный тип
Однопалубный стальной одновинтовой морской
буксир с двухъярусной рубкой и приподнятой палубой в носу.
Район эксплуатации судна - ограниченный III
плавание в закрытых морях с удалением от места убежища до 50 миль и с
допустимым расстоянием между местами убежища до 100 миль; по условиям плавания:
плавания с высотой волны 3% обеспеченности до 3 м и силе ветра до 17,8 м/сек.;
в соответствии со знаком категории ледовых условий в символе класса судна.
Район плавания - Каспийское море.
Рисунок 1 - Буксир Каспийского моря
Главные размерения судна:
Длина наибольшая, м42,0;
Длина между перпендикулярами, м38,0;
Ширина по КВЛ, м 7,2;
Высота борта при миделе, м 3,2;
Осадка наибольшая, м 2,10;
Скорость хода, узлы 9,4.
Структура корпуса судна - поперечная система
набора. Шпация составляет 600 мм. Двойное дно распространяется с кормовой
переборки машинного отделения до передней переборки трюма. Судно подразделяется
на 5 водонепроницаемых отсеков. Корпус судна имеет сплошную палубу на высоте
5,10 м. Над базисной линией, бак на высоте 7,70 м. Над исходной линией и палубу
на полуюте 7,70м. Над исходной линией.
Все палубы кроме бака построены без скоса и без
ската палубы. Потолочная конструкция в машинном отделении и в трюме подпирается
трубовыми опорами. В форпике имеются два квадратных ценных ящика. Они имеют
стойки с внешней стороны, съемное промежуточное дно из перфорированной,
оцинкованной стали и водонепроницаемые входные двери. В носовой части
устанавливается туннель для носового подруливающего механизма. Надстройки,
рубка и дымовая труба изготовляются из судостроительной стали, а мостик из
стойкого к морской воде алюминиевого сплава. Соединение стальной и алюминиевой
конструкции исполняется при помощи биметалла. Внутри палубы юта и рубки
находится центральная шахта, которая состоит из стальных переборок. В этой
шахте расположены дымовая труба, лестничная клетка и шахта снабжения для труб
кондиционирования, санитарных труб и кабелей. Камбуз имеет стальные переборки.
Энергетическая установка располагается в средней
и кормовой части судна. Расположение механизмов в машинном помещении и
помещении дизель - генераторов выполняется с учетом удобства и безопасности их
обслуживания, осмотра и ремонта.
Энергетическая установка состоит из:
главной установки, работающей на гребные винты
фиксированного шага (ВФШ) в составе двух главных нереверсивных двигателей
6-27,5А2Л номинальной мощностью 515 кВт (700 л. с.) при частоте вращения
коленвала 10 с -1 (600об/мин) и судового реверс - редуктора ВСР-10Б;
- вспомогательной энергетической установки в
составе трех дизель-электрических агрегатов ДГА50М1-9 (по зак. 309), ДГА50М2-9
(с зак. 310) переменного трехфазного тока напряжением 400В мощностью по 50 кВт
каждый при нормальных атмосферных условиях (один из агрегатов является
резервным);
- вспомогательной котельной установки в составе
одного вспомогательного парового автоматизированного котлоагрегата КВА 0,63/5
(по зак. 315), КГВ 0,63/5 (с зак. 316) паропроизводительностью 630 кг/ч;
вспомогательных механизмов и теплообменных
аппаратов, обслуживающих энергетическую установку.
ГД должен обеспечивать скорость хода судна в
грузу не менее 6 узлов при загрузке ГД в пределах 85-90% от номинальной.
В качестве топлива для энергетической установки
предусмотрено дизельное топливо по ГОСТ 305-82 с температурой вспышки не ниже
610С. В качестве смазочного масла для главных двигателей и двигателей
дизель-генераторов предусмотрено моторное масло марки М10В2 ГОСТ 8581-78.
Рисунок 2 - Общий вид буксира
В качестве ГД устанавливается судовой дизель
типа 6-27,5А2L, четырехтактный, тронковый, нереверсивный, с газотурбинным
наддувом, простого действия, с двухконтурным охлаждением, правой модели правого
вращения и левой модели левого вращения, с реверс - редуктором ВРС-10Б.
Должна быть предусмотрена возможность работы ДГ
как параллельно, так и раздельно, причем один из ДГ должен оставаться в
резерве.
Резерв мощности СЭУ должен быть не ниже: по
электрогенераторам 10%, по приводному двигателю 10%.
В качестве вспомогательных котлов на судне
применяется: котлоагрегат автоматизированный паровой КВА 0,63/5 (по зак.315),
КГВ 0,63/5 (с зак.316) паропроизводительностью 630 кг/ч.
1.2 Системы главных и
вспомогательных двигателей
Топливная система СЭУ должна обеспечивать:
прием топлива топливным насосом котлоагрегата из
расходной цистерны дизельного топлива к котлоагрегату;
слив утечек топлива из поддонов котлоагрегата в
цистерну сбора нефтеостатков.
Масляная система предназначена для приема,
перекачивания, хранения, очистки и подачи масла к местам охлаждения и смазки
трущихся деталей, главных и вспомогательных машин и механизмов, а также выдачи
его на берег или другим судам. Принципиальная схема топливной системы
отображена в приложении.
Система смазки главных двигателей и реверс -
редукторов циркуляционная, под давлением от навешанных на двигателе и редукторы
насосов.
Система газовыхлопа обеспечивает:
отвод выхлопных газов от главных двигателей
через утилизационные котлы с искроуловителем сухого типа в атмосферу;
отвод выхлопных газов от дизель-электрических
агрегатов через глушители и искроуловителями сухого типа в атмосферу.
выхлопные трубы изолируются и обшиваются
металлическим кожухом. Для обеспечения тепловых расширений в составе выхлопных
трубопроводов предусмотрены сильфонные компенсаторы. На дождевых листах кожухов
дымовых труб размещены крышки закрытия дымовой и выхлопной труб.
Система охлаждения в дизельных установках служит
для отвода теплоты от двигателей внутреннего сгорания, передач компрессоров,
опорных и упорных подшипников валопровода и других механизмов.
Система охлаждения выполнена замкнутой
(двухконтурной): двигатель охлаждается пресной водой, которая в водо-водяном
охладителе охлаждается забортной водой.
Система охлаждения состоит из трубопроводов:
) забортной воды;
) пресной воды.
Трубопровод забортной воды обеспечивает:
прием забортной воды навешанным насосами главных
двигателей, двигателей дизель-электрических агрегатов и электрокомпрессоров из
ледового или кингстонного ящиков;
подачу воды от навешанных насосов на охлаждение
масла в водомасляном охладителе, пресной воды в водоводянном охладителе, на
охлаждения масла в реверс-редукторе, на дейдвуд в качестве резервного средства
и на охлаждение масла в упорном подшипнике;
подачу холодной или горячей воды с помощью
автономного электронасоса через гидроциклы на дейдвуд и подачу горячей воды на
подогрев масла в реверс-редукторе;
использование кормовых балластных цистерн для
охлаждения главных двигателей при работе в холодное время года;
резервную подачу воды от пожарной магистрали на
охлаждение главных двигателей;
слив воды от главных двигателей и
дизель-электрических агрегатов за борт или на рециркуляцию в ледовый и
кингстонный ящики;
слив воды от электрокомпрессора в бортовой
кингстонный ящик;
прием воды дизель-электрическими агрегатами из
ледового ящика при осушенной кингстонной перемычке;
подачу воды к балластным и пожарным насосом из
ледового и кингстонного ящиков;
индивидуальный прием (минуя забортные ящики) и
слив воды за борт одним дизель-электрическим агрегатом во время поставки судна
на зимний отстой, а также при оживлении энергетической установки.
Трубопровод пресной воды обеспечивает:
циркуляцию охлаждающей воды главных двигателей и
дизель-электрических агрегатов с помощью навешанных насосов;
приготовление и ввод присадок в систему
охлаждения главных двигателей;
пополнение утечек в системе охлаждения главных
двигателей;
прогрев главных двигателей с помощью парового
подогревателя и циркуляционного электронасоса прогрева главных двигателей;
охлаждение внутреннего контура главных
двигателей навешенными насосами забортной воды при выходе из строя насосов
пресной воды;
автоматическое пополнение расширительной
цистерны главных двигателей от трубопровода котельной воды, а в пресных
водоемах от трубопровода бытовой забортной воды.
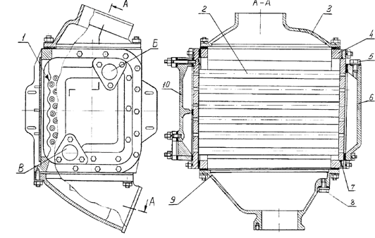
Рисунок 3 - Принципиальная схема системы
охлаждения пресной и забортной водой: 1 - охладитель топлива; 2 -
маслоохладитель турбонагнетателей; З - расширительная цистерна ГД; 4 - водоохладитель
ГД; 5 - маслоохладитель ГД; 6 - кингстонные ящики; 7 - фильтры забортной воды;
8 - приемные фильтры вспомогательного ДГ; 9-насосы забортной воды
вспомогательного ДГ; 10 - насос пресной воды; 11 - основной и резервный насосы
забортной воды главного ДГ; 12 - маслоохладители вспомогательных ДГ; 13 -
водоохладители вспомогательных ДГ; 14 - вспомогательные ДГ; 15 - расширительные
цистерны вспомогательных ДГ; 16 - опорный подшипник валопровода; 17 - упорный
подшипник; 18 - ГД; 19 - охладитель наддувочного воздуха; 20 - вода на
охлаждение компрессоров; 21 - заполнение и пополнение системы пресной воды; 22
- подключение системы подогрева двигателей; ПВ - пресная вода; ЗВ - забортная
вода
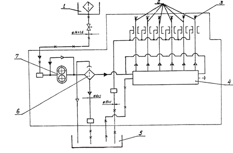
Система сжатого воздуха - обеспечивает сжатым
воздухом необходимого давления пуск главного двигателя, пуск вспомогательных
двигателей, работу пневматических систем автоматики и управления, работу
приборов звуковой сигнализации судна (сирены, тифона), продувку кингстонов,
работу пневматического инструмента и другие общесудовые и специальные нужды.
К системам сжатого воздуха предъявляются
определенные требования. Для пуска главных двигателей должно быть предусмотрено
не менее двух баллонов равной емкости, для пуска вспомогательных допускается
установка баллона. Вместимость баллонов должна обеспечивать для нереверсивных
двигателей не менее шести пусков. Для вспомогательных двигателей вместимость
баллонов должна обеспечивать не менее шести пусков. Система сжатого воздуха
должна быть оборудована не менее чем двумя компрессорами с подачей каждого,
обеспечивающей заполнение пусковых баллонов главного двигателя в течение часа
(начиная от атмосферного давления). Принципиальная схема системы сжатого
воздуха отображена на рисунке 4.
Рисунок 4 - Принципиальная схема системы сжатого
воздуха: 1 - электрокомпрессор; 2 - масловодо-отделитель; 3, 5 - баллон -
хранилище сжатого воздуха; 7 - тифон; 6, 8 - баллоны на общесудовые нужды; 9 -
ручной компрессор
Система сжатого воздуха состоит из двух электрокомпрессоров
1, масловодо-отделителей 2, двух баллонов - хранилищ сжатого воздуха 3, ручного
компрессора 9 для аварийного пуска вспомогательных дизельных агрегатов. Один из
баллонов служит для баллона 5, подачи воздуха на тифон 7 и на другие
общесудовые нужды 6, 8.
Система сжатого воздуха обеспечивает:
заполнение баллонов сжатым воздухом берегового
источника, от электрокомпрессора или от двух компрессоров, навешенных на
главные двигатели;
подачу сжатого воздуха к главным двигателям на
пуск;
подачу стабилизированного по давлению сжатого
воздуха к воздушным тифонам;
подачу сжатого воздуха на продувку решеток
ледового и кингстонных ящиков;
подачу сжатого воздуха к агрегатам пресной и
заборной воды, к станции «Озон» аппаратуру пенотушения и на хозяйственные нужды;
подачу сжатого воздуха к системе ДАУ.
Выбор оборудования системы сжатого воздуха
Баллоны сжатого воздуха: количество баллонов и
емкость рассчитаны согласно количеству потребителей и соответствуют ПР. Оба
баллона выдают требуемый пусковой воздух для главного и вспомогательных
двигателей, а также:
сжатый воздух для управления и регулировки;
сжатый воздух для всасывающих эжекторов на
насосах;
сжатый воздух для продувания кингстонных ящиков;
сжатый воздух для быстродействующих клапанов;
сжатый воздух для технологических и
хозяйственных нужд.
1.3 Система топливоподачи
Система топливоподачи дизеля в соответствии с
рисунком 5 обеспечивает дозирование и подачу топлива в цилиндры дизеля в
соответствии с порядком их работы и заданным режимом нагрузки. Из расходного
бака 1 топливо поступает к топливоподкачивающему насосу 7 и через фильтр тонкой
очистки топлива 6 подается к топливному насосу высокого давления 4, а затем под
высоким давлением к форсункам 3.
Просочившееся через неплотности форсунок топливо
по трубопроводу отводится в сливной бак 5. По такому же трубопроводу топливо
сливается из фильтра 6 при выпуске воздуха [6].
Рисунок 5. Схема топливоподачи: 1-бак топливный
расходный; 2-трубопровод высокого давления; 3-форсунка; 4-насос топливный
высокого давления; 5-бак сливной; 6-фильтр тонкой очистки топлива; 7-насос
топливоподкачивающий.
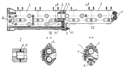
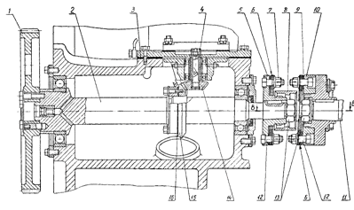
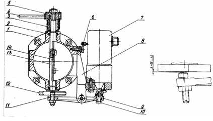
1.3.1 Насос топливоподкачивающий
Насос топливоподкачивающий в соответствии с
рисунком 6 шестеренчатого типа. В корпусе 13 вращается ведущая 14 и ведомая 18
шестерни. Ведомая шестерня вращается на оси, в игольчатых подшипниках 17 или на
подшипнике скольжения. Подшипники смазываются топливом, которое поступает под
давлением по сверлениям в крышке 15 и оси 16 и отводится через отверстие "Б".
Кольцо 7 установлено таким образом, чтобы его прорезь совместилась с отверстием
"Б". Ведущая шестерня 14 вращается на подшипниках 2 и 4, между
которыми устанавливается уплотнения, состоящее из корпуса 12, уплотнительных
колец 3 и манжет 11. Наблюдение за герметичностью уплотнения осуществляется
через отверстие "Г" в корпусе 13. Течь топлива или масла через
отверстие не допускается.
Полость уплотнения разгружается от давления
топлива канавкой "В", соединенной сверлением с полостью всасывания.
Насос приводится во вращение рессорой 5. Несоосность привода компенсируется
специальной конструкцией соединения рессоры с ведущей шестерней.
Суммарный осевой зазор между крышкой 15 и
торцами зубчатых лес 0,04-0,08 мм регулируется количеством прокладок 1.
В крышку 15 устанавливается редукционный клапан
6 с пружиной 8, регулировочными шайбами 10 и пробкой 9. редукционный клапан
регулируется на давление открытия 392 кПа (4 кгс/см2).
Рисунок 6 - Насос топливоподкачивающий: 1-
прокладка; 2,4- подшипник; 3- кольцо уплотнительное; 5- рессора; 6- клапан
редукционный; 7- кольцо; 8- пружина; 9- пробка; 10-шайба регулировочная;
11-манжета; 12- корпус уплотнения; 13- корпус насоса; 14- шестерня ведущая;
15-крышка; 16-ось; 17- подшипник игольчатый; 18-шестерня ведомая; Д-топливо
Во время работы дизеля поступающее в насос
топливо захватывается вращающимися шестернями между впадинами зубьев и стенками
корпуса и переводится в нагнетательную полость насоса. При повышении давления
более допустимого клапан открывается, перепуская часть топлива из
нагнетательной полости во всасывающую [6].
1.3.2 Фильтр топливный
Фильтр топливный в соответствии с рисунком
рисунком 7 предназначен для тонкой очистки топлива поступающего из бака к
топливной аппаратуре дизеля [7].
Топливный фильтр имеет два параллельно
работающих фильтрующих элемента 6 типа ЭТФ - 4 или «Реготмас 540-2-07»,
помещенные в отдельные стакана 3. Фильтрующие элементы поджимаются к посадочным
местам пружинами и уплотняются по торцам прокладками. Фильтрующим материалом
элементов тонкой очистки служат фильтромиткаль или фильтровальная бумага с
тонкостью отсева не более 4-5 микрон. Стакан крепится к общей крышке 7, в
которой выполнены каналы и посадочное место для крепления фильтра. С целью
промывки фильтрующих элементов на работающем дизеле в подводящем топливном
канале установлен трехходовой кран 2. в нижней части стакана выполнены
отверстия для слива отстоя и грязного топлива при промывке фильтроэлементов. В
верхней части крышки 7 установлены вентили продувочные 1 для выпуска воздуха. В
рабочем положении крана топливо по каналам в крышке и в кране подводится к
фильтроэлементам, проходя через которые очищается. Далее топливо по
перфорированным трубкам, расположенным в центре фильтрующих элементов, поступает
в отводящее отверстие в крышке и подается к топливному насосу высокого
давления.
Рисунок 7 - Фильтр топливный: 1 - вентиль
продувочный; 2 - кран; 3 - стакан; 4 - гайка; 5 - втулка; 6 - элемент
фильтрующий; 7 - крышка; - рабочее положение; II - промывка левой секции; III -
промывка правой секции; Б - подвод и отвод топлива
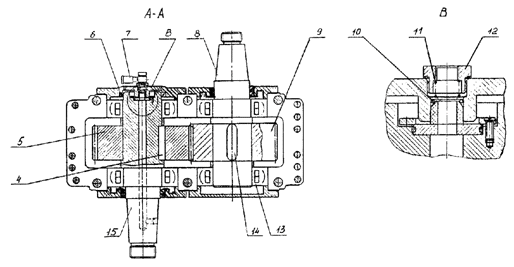
1.3.3 Топливный насос высокого
давления
Насос топливный высокого давления в соответствии
с рисунком 8 золотникового типа служит для подачи в форсунки строго
дозированной порции топлива под большим давлением и в определенное время в
соответствии с порядком работы цилиндров.
Топливный насос состоит из корпуса 18,
размещенных в нем кулачкового вала 1, ползунов, плунжерных пар пружины
нагнетательных клапанов, зубчатого реечного механизма, штуцеров, фланцев и
других деталей.
Плунжерная пара состоит из втулки 14 и плунжера
11. Топливо в надплунжерную полость поступает через верхнее отверстие втулки,
нижнее отсечное предназначено для выпуска неиспользованной части топлива и
последующего слива его в бак.
Подается топливо насосом при возвратно
поступательном движении плунжеров при вращении кулачкового вала [7].
Плунжер с втулкой - прецизионная пара, которая
не подлежит разукомплектовке, зазор между ними 0,003-0,005мм. Количество
подаваемого секцией насоса топлива изменяется вращением плунжера, в результате
чего меняется положение спиральной отсечной кромки, выполненной на нем,
относительно отсечного отверстия во втулке.
Рисунок 8 - Насос топливный высокого давления: 1
- вал кулачковый; 2 - подшипник; 3 - ролик; 4- палец; 5 - втулка; 6 - пружина;
7 - пробка; 8 - штуцер нажимной; 9 клапан; 10 - корпус клапана; 11 - плунжер;
12 - винт стяжной; 13 - втулка поворотная; 14 - втулка плунжера; 15 - болт
толкателя; 16 - контргайка; 17 - ползун; 18 - корпус; 19 - рейка зубчатая; 20 -
упор; 21 - крышка; 22 - подушка подшипника; 23 - венец зубчатый
На плунжере выполнены две диаметрально
расположенные канавки, назначение второй канавки - разгрузить плунжер от
боковых усилий, возникающих в процессе подачи топлива, а также улучшить условия
смазки плунжерной пары. Плунжерные пары смазываются топливом, просачивающимся
по зазору между плунжером и втулкой из полости нагнетания. Для уменьшения
протекания топлива в масляную полость насоса на плунжере, ниже спиральных
канавок, имеется кольцевая проточка, из которой избыточное топливо отводится по
наклонному каналу во втулке в полость подачи топлива к плунжерным секциям.
На верхний, обработанный торец плунжерной втулки
14 устанавливается нагнетательный клапан, состоящий из корпуса 10 и клапана 9.
Клапан служит для разобщения внутренней полости трубки высокого давления от
надплунжерного пространства и препятствует перетеканию топлива при обратном
ходе плунжера из трубки и каналов форсунки в насос.
За счет подобранных размеров разгружающего
пояска обеспечивается необходимое остаточное давление и быстрая разгрузка от
избыточного давления трубки и форсунки, что способствует четкому окончанию процесса
впрыска и препятствует возникновению дополнительных вспрысков. Клапан с
корпусом являются прецизионной парой и не подлежат разукомплектовке. Корпус
клапана плотно прижимается к торцу втулки плунжера штуцером 8 и фланцем при
помощи крепежных шпилек и гаек. В штуцере установлен ограничитель подъема
клапана, обеспечивающий заданный ход клапана.
Плунжер 11 в исходное положение возвращается
пружиной 6, которая верхним торцом упирается в верхнюю тарелку, установленную в
расточке корпуса насоса. Другой конец пружины, воздействуя на нижнюю тарелку и
толкатель 15, соединенный резьбовой частью с ползунном 17, прижимает ролик 3
ползуна к кулачковому валу.
Ролик ползуна вращается на стальной втулке 5 и
оси ролика 4. Ползун от проворачивания удерживается винтом, входящим в паз
ползуна. Для разгрузки плунжера от усилия пружины 6 глубина расточки в нижней
тарелке под хвостовик плунжера выполняется на 0,05-0, 25мм больше его высоты
[7].
На втулку 14 плунжера свободно надета поворотная
втулка 13, опирающая нижним торцом на верхнюю тарелку пружины 6. Поворотная
втулка имеет два паза, которыми она постоянно соединяется с крестовиной
плунжера. На поворотную втулку в верхней части надет разрезной зубчатый венец
23, стянутый на втулке винтом 12. Зубчатый венец входит в зацепление с зубчатой
рейкой 19, перемещающейся в бронзовых втулках, запрессованных в корпус насоса.
Положение рейки топливного насоса и
соответственно количество топлива, подаваемого в цилиндры дизеля, изменяются
регулятором скорости через рычагов и тяг.
При выключенной подаче топлива в положение СТОП
рейка торцом продольного паза, выполненного на ней, упирается в ограничительный
болт, ввернутый в корпус насоса. При максимальной подаче топлива рейка
специальным упором 20, расположенным с противоположной стороны от ее привода,
касается крышки корпуса насоса. Упор 20 максимальной подачи топлива
выставляется и пломбируется при регулировке дизеля на мощность.
Для вращения рейки в исходное положение на ней
устанавливается пружина, расположенная со стороны упора максимальной подачи
топлива.
Кулачковый вал топливного насоса вращается на
двух роликовых сферических подшипниках 2, расположенных на крайних шейках и на
подушках 22 подшипника, расположенных на промежуточной шейке вала.
Подушки подшипника изготовлены из алюминиевого
сплава и устанавливаются на вал вне насоса, а затем с валом вставляются в
расточки корпуса и фиксируются от проворота стопорными болтами. В нижней части
подушек подшипников размещены каналы для подачи масла.
Топливный насос имеет комбинированную систему
смазки. Масло поступает под давлением из системы смазки дизеля в масляный канал
насоса по трубопроводу. Под давлением смазываются подушки подшипника
промежуточной опоры кулачкового вала и ползуны с роликами. Остальные детали
смазываются разбрызгиванием.
Собирающееся в полости насоса масло отводится по
трубопроводу в блок-картер дизеля.
Боковой люк на корпусе насоса предусматривается
для сборки и регулировки насоса.
Работает топливный насос следующим образом. В
крайнем нижнем положении верхняя кромка плунжера в соответствии с рисунком 9
находится на уровне нижней кромки впускного отверстия А во втулке. В этот
момент топливо заполняет надплунжерное пространство. При вращении кулачкового
вала с момента перекрытия верхней кромкой плунжера впускного отверстия во
втулке начинается подача топлива. Кулачок через ролик и ползун с толкателем
поднимает плунжер вверх, сжимая при этом пружину.
Рисунок 9 - Положения плунжера топливного
насоса: 1 - крайнее нижнее положение плунжера, предшествующее началу нагнетания
при полной подаче топлива; 2 - конец нагнетания при полной подаче топлива; 3 -
крайнее нижнее положение плунжера, предшествующее началу нагнетания при
частичной подаче топлива; 4 - конец нагнетания при частичной подаче топлива
Топливо через нагнетательный клапан,
топливопровод высокого давления поступает к форсунке, поднимает иглу
распылителя, преодолевая усилие пружины форсунки, и через распыливающие
отверстия поступает в цилиндр дизеля. Подача топлива прекращается, когда
отсечная кромка спиральной канавки открывает перепускное (отсечное) отверстие Б
во втулке плунжера. Топливо из надплунжерной полости по центральному каналу и
поперечным отверстиям в плунжере поступает в полость отвода топлива.
Регулировка подачи топлива секциями насоса
производится при снятой крышке бокового люка поворотом втулок 13 относительно
разрезных зубчатых венцов 23 с ослаблением стяжных винтов 12.
Регулировка секций по началу подачи производится
изменением высоты ползунов путем откручивания или закручивания толкателя 15 со
стопорением контргайкой 16.
1.3.4 Форсунка
На двигателе устанавливается форсунка в
соответствии с рисунком 10 закрытого типа с гидравлическим управлением подъема
иглы. Форсунка включает корпус 3, распылитель 6, толкатель 4, пружину 8,
регулировочный болт 1.
Корпус распылителя в сборе с иглой закрепляется
в корпусе форсунки накидной гайкой 5. На хвостовик иглы опирается толкатель 4,
нагруженный усилием пружины 8, регулируемой болтом 1.
Форсунка работает в следующей последовательности.
Топливо от топливного насоса поступает по каналу
корпуса форсунки в кольцевую канавку корпуса распылителя и затем по трем
каналам подводится к специальному карману с конусным гнездом. Действуя на
дифференциальную площадку иглы распылителя и преодолевая усилие пружины 8,
топливо поднимает иглу, открывая доступ топлива к отверстиям распылителя, через
которые происходит впрыск топлива в камеру сгорания. После отсечки топлива в
топливном насосе давление в корпусе распылителя падает, и игла садится на
место.
Корпус распылителя и игла составляют
прецизионную пару, в которой замена одной детали не допускается. В случае
выхода из строя одной из деталей, замене подлежит вся пара. Топливо,
просочившееся по зазору между корпусом распылителя и иглой, попадает в полость
расположения пружины и удаляется оттуда по сверлениям в корпусе форсунки в
колодец, выполненный в крышке цилиндра, где располагается форсунка. Из этого
колодца по каналам в крышке и по трубопроводу топливо удаляется в топливный бак
[7,8].
Рисунок 10 - Форсунка: 1-болт регулировочный;
2-кольцо; 3-корпус форсунки; 4-толкатель; 5-гайка накидная; 6-распылитель;
7-прокладка; 8-пружина; 9-гайка
Для исключения попадания топлива в масляную
полость крышки цилиндра и разжижения масла топливом на корпусе форсунки
выполнена кольцевая проточка, в которую устанавливается уплотнительное кольцо
2. Распылители форсунок заводом-изготовителем разбиваются на две группы 1, 2.
На дизеле должны устанавливаться распылители одной группы, что отмечается в
формуляре дизеля.
1.3.5 Привод топливного насоса и
регулятора скорости
Привод топливного насоса и регулятора скорости
показаны на рисунках 11 и 12 размещается в расточке блок - картера и передает
крутящий момент к топливному насосу высокого давления и регулятору скорости.
Вал привода устанавливается на двух шариковых
подшипниках. С передней стороны к валу 2 крепится зубчатое колесо 1. На
конусную часть вала 2 через шпонку напрессовывается ступица 5 с собранными на
ней пакетами пластин 6, проставкой 8, кольцом 10 и крепится гайкой 13. На
конусную часть вала топливного насоса 11 через шпонку напрессовывается ступица
18 и крепится гайкой 13.
Рисунок 11 - Привод топливного насоса высокого
давления и регулятора: 1-колесо зубчатое; 2-вал; 3, 16-прокладка; 4-рессора;
5-ступица; 6-пластина; 7- гайка; 8-проставка; 9-шайба; 10-кольцо; 11-вал
топливного насоса; 12-болт; 13-гайка; 14, 15-колесо зубчатое коническое
Рисунок 12 - Привод топливного насоса высокого
давления и регулятора: 17, 19 - болт; 18 - ступица; 20 - шайба; Д - зазор
Соединение вала привода 2 и вала топливного
насоса 11 осуществляется болтами 19 через ступицу 18 и кольцо 10.
Привод на регулятор скорости осуществляется
через зубчатые конические колеса 14, 15 и рессору 4, при этом зазор
"Д" в зацеплении шестерен регулируется прокладками 3 и 16.
1.4 Улучшение технических
характеристик дизеля путем установки турбокомпрессора
В дипломном проекте предлагаем усовершенствовать
вспомогательный механизм, а именно, улучшить технические характеристики дизеля
путем установки турбокомпрессора.
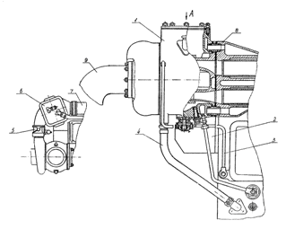
Турбокомпрессор в соответствии с рисунком 13
осуществляет наддув выхлопных газов дизеля, повышая мощность и КПД последнего
[8].
Турбокомпрессор 1 крепится шпильками к
выпускному коллектору 8, а нижняя регулируемая опора закрепляется на кронштейне
2, являющимся также опорой для охладителя наддувочного воздуха 6.
Ротор турбокомпрессора вращается энергией
выхлопных газов.
Другой конец ротора с жестко посаженным колесом
омпрессора нагнетает атмосферный воздух в улитку компрессора откуда нагнетаемый
воздух, проходя охладитель наддувочного воздуха, поступает через впускной
коллектор 7 в цилиндры дизеля. Между турбокомпрессором и охладителем
наддувочного воздуха располагается аварийное стоп-устройство 5 системы
автоматики дизеля.
Рисунок 13 - Установка турбокомпрессора:
1-турбокомпрессор; 2-кронштейн; 3,4-трубопровод; 5-стоп-устройство аварийное;
6-охладитель наддувочного воздуха; 7-коллектор впускной; 8-коллектор выпускной;
9-патрубок
Охлаждающая жидкость к турбокомпрессору
подводится от выпускного коллектора по переливным патрубкам, а сливается через
трубопровод, установленный на корпусе турбокомпрессора. Подшипники
турбокомпрессора смазываются маслом, подаваемым из масляной магистрали дизеля
по трубопроводу 3 и сливаемым в картер дизеля по шлангу 4. Установка
турбокомпрессора повышает мощность двигателя и экономит топливо на 10%.
1.4.1 Охладитель наддувочного
воздуха
Охладитель наддувочного воздуха в соответствии с
рисунком 14 охлаждает воздух, подаваемый из турбокомпрессора во впускной
коллектор.
Охладитель трубчатого типа, охлаждение воздуха
осуществляется жидкостью второго контура системы охлаждения. Охладитель
включает сварной корпус 4, секцию охлаждения 2, верхнюю 10 и нижнюю 6 крышки,
вытеснители 1, патрубки 9 и 3.
Наддувочный воздух после турбокомпрессора
распределяется разделителем в патрубке подвода воздуха 9 на два потока,
обтекает медные трубки с охлаждающей жидкостью и подается во впускной коллектор
дизеля.
Вытеснители 1 исключают прохождение воздуха по
пространству, не занятому трубками, и увеличивают интенсивность охлаждения
воздуха в охладителе [8].
Рисунок 14 - Охладитель наддувочного воздуха: 1
- вытеснитель; 2 - секция охлаждения; 3 - патрубок отвода воздуха; 4 - корпус;
5, 8 - пробка; 6 - крышка нижняя; 7 - кольцо уплотнительное; 9 - патрубок
подвода воздуха; 10 - крышка верхняя; Б - подвод охлаждающей жидкости; В -
отвод охлаждающей жидкости
Охлаждающая жидкость через отверстие
"Б" в верхней крышке 10 проходит по трубкам секции охлаждения и
отводится из охладителя через отверстие "В". Секция охлаждения имеет
два хода охлаждающей жидкости, что обеспечивается перегородкой в верхней
крышке. Перегородка разделяет всю секцию охладителя на два потока, соединенных
между собой последовательно нижней крышкой 6. В месте выхода секции охлаждения
из корпуса охладителя герметичность обеспечивается резиновым кольцом 7. В
нижней части корпуса охладителя наддувочного воздуха устанавливается пробка 8
для удаления конденсата.
1.4.2 Коллектор впускной
Коллектор впускной в соответствии с рисунком 15
подводит воздух в цилиндры дизеля и включает трубу 2 с патрубками и кронштейном
для крепления топливных фильтров. Коллектор с охладителем наддувочного воздуха
соединяется резиновым патрубком 5 и хомутами 1. Второй торец коллектора наглухо
закрыт. Для замера давления наддувочного воздуха в коллекторе имеется
отверстие, закрытое заглушкой 4.
Рисунок 15 - Коллектор впускной: 1 - хомут; 2 -
труба; 3 - болт; 4 -заглушка; 5 - рукав
1.4.3 Коллектор выпускной
Отработанные выхлопные газы из цилиндров дизеля
поступают в выпускной коллектор показан на рисунке 16, и затем отводятся в
турбокомпрессор.
Выпускной коллектор состоит из двух частей:
коллектора выпускного 5 для отвода газов из I, II и III цилиндров и коллектора
выпускного 1 для отвода газов из IV, V и VI цилиндров, жестко соединенных между
собой шпильками 7 через асбостальную прокладку 3. В коллекторы 1 и 5 из
алюминиевого сплава установлены вставки 2,4 и 12 из жаропрочной стали,
фиксируемые стопорными винтами 10. Крепление вставок осуществляется
соответственно шпильками 6 и 8.
Рисунок 16 - Коллектор выпускной:
1-коллекторвыпускной IV, V, VI-цилиндров; 2,4,12-вставка; 3-прокладка;
5-коллектор выпускной I, II, III-цилиндров; 6,7,8-шпилька; 9-переходник;
10-болт стопорный; 11-болт полый; 13-трубка переливная; 14-кольцо уплотнительное.
Для уменьшения потерь энергии выхлопных газов,
улучшения очистки и наполнения цилиндров газовый поток в выпускном коллекторе
разделен: газы от I, II и III цилиндров проходят через коллектор 1 (для IV, V и
VI цилиндров по отдельному каналу вставке 2).
Для обеспечения безопасности обслуживающего
персонала и надежности выпускной коллектор выполнен с жидкостным охлаждением.
Охлаждающая жидкость поступает из крышек цилиндров по переливным патрубкам в
отверстия "A" коллектора и отводится через отверстие "B" в
трубопровод. Из выпускного коллектора 5 охлаждающая жидкость в коллектор 1
поступает по переливным патрубкам 13. Через полый болт 11 из водяного насоса
контура охлаждения дизеля по трубопроводу отводится воздух. В переходники 9
устанавливаются термопары для замера температуры выхлопных газов на выходе из
цилиндров и перед турбокомпрессором.
1.4.4 Система вентиляции картера
Система вентиляции картера в соответствии с
рисунком 17 понижает давление картерных газов путем отсоса последних эжектором
и работает следующим образом: эжектор 2, питаемый газами через трубку 3,
поступающими из выпускного коллектора, отсасывает газ из картера по
трубопроводу через сепаратор 7. В сепараторе масло отделяется и по трубе
поступает в поддон, а газ через патрубок 1 выбрасывается в выхлопную трубу.
Разрежение в картере поддерживается автоматически клапаном 8. Регулируется
клапан перестановкой шплинта 10 в одно из отверстий стержня 9.
Рисунок 17 - Система вентиляции картера: 1 - патрубок;
2 - эжектор; 3-трубка активного газа; 4 - пробка; 5 - трубка отвода картерных
газов; 6 - труба слива масла; 7 - сепратор; 8 - клапан-тарелка; 9- стержень; 10
- шплинт; В - поддон
1.4.5 Стоп - устройство аварийное
Аварийное стоп-устройство показан на рисунке 18
предназначено для автоматической аварийной остановки дизеля при превышении
числа оборотов свыше максимально допустимых, при снижении давления масла в
масляной магистрали ниже допустимой.
Стоп - устройство состоит из корпуса 1, заслонки
14, закрепленной на оси 13, кронштейна 8 с электромагнитом 7 и рычагом 9, диска
12, пружины кручения 3 и рукоятки 4, закрепленной на основании 5. Верхний и
нижний концы оси 13 уплотняются сальниками 2.
При работе дизеля стоп-устройство находится в
открытом положении (заслонка 14 расположена вдоль оси корпуса 1) и удерживается
при помощи упора 11, диска 12 и пружины кручения 3. Рычаг 9 располагается
горизонтально и удерживается в этом положении при помощи регулировочного болта
10, ввернутого в упор электромагнита 7.
При поступлении аварийного сигнала в схему
системы автоматики или с кнопки "АВАРИЙНЫЙ СТОП" на электромагнит 7
подается напряжение, якорь электромагнита втягивается и упор 11 освобождает
диск 12. Пружина 3 поворачивает ось 13 с заслонкой 14, перекрывая поступление
воздуха в цилиндры дизеля. Дизель останавливается.
Рисунок 18 - Стоп - устройство аварийное: 1 -
корпус; 2 - сальник; 3 - пружина; 4 - рукоятка; 5 - основание рукоятки; 6 -
кнопка; 7 - электромагнит; 8 - кронштейн; 9 - рычаг; 10 - болт; 11 - упор; 12 -
диск; 13 - ось; 14 - заслонка
При закрытом состоянии заслонки зазор между
диском 12 и торцом упора 11 должен быть 0,8-1,0 мм. Регулировка зазора
осуществляется заворачиванием или выворачиванием упора 11 с последующим
стопорение его контргайкой.
Для возврата стоп-устройства в исходное
(рабочее) положение необходимо повернуть валик с заслонкой рукояткой 4 против
часовой стрелки до фиксации, при этом необходимо электромагнит снять с защелки
нажатием кнопки 6.
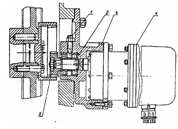
1.4.6 Привод реле частоты вращения
Привод реле частоты вращения в соответствии с
рисунком 19 устанавливается на передней крышке дизеля в месте выхода
распределительного вала. Привод осуществляется через шестерню с внутренним
зацеплением и состоит из корпуса 3, к которому крепится реле частоты вращения
4, валика 2, установленного на шариковых подшипниках и шестерни 5.
Рисунок 19 - Привод реле частоты вращения: 1 -
винт; 2 - валик; 3 - корпус привода; 4 - реле частоты вращения; 5- шестерня
От осевого перемещения подшипники удерживаются
винтом 1 с контргайкой.
1.4.7 Привод датчика тахометра
Привод датчика тахометра в соответствии с
рисунком 20 устанавливается на заднем торце дизеля (со стороны основного отбора
мощности) и состоит из корпуса 2, на котором крепится датчик тахометра 1, вал -
шестерни 3, крышки 6 с манжетой 5. Вал шестерня устанавливается в корпусе на
шариковых подшипниках 4.
Рисунок 20 - Привод датчика тахометра: 1- датчик
тахометра; 2- корпус; 3- вал шестерня; 4- подшипник; 5- манжета; 6- крышка
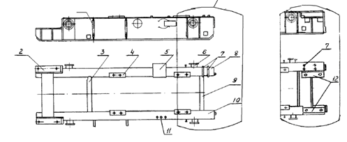
Рама силового агрегата показан на рисунке 21
сварной конструкции. Рама состоит из двух полозов 8 и 10 двутаврового сечения,
соединенных поперечинами 3, 9. Спереди на раме располагаются платики 2 для
установки радиатора. Дизель крепится на опорах 4, редуктор - на опорах 12.
На полозе 10 приварены кронштейны 1 для
установки охладителя масла, на полозе 8 расположен платик 5 для установки
маслозакачивающего агрегата.
Цапфы 6 предназначены для подъема силового
агрегата.
Рисунок 21 - Рама: 1-кронштейн; 2-платик
радиатора; 3,9-поперечина; 4-опора дизеля; 5- платик агрегата
маслозакачивающего; 6-цапфа; 7-опоры шкафа релейного; 8,10-полоз; 11-отверстия
установки блока контакторов; 12-платик редуктора
1.5 Редуктор
Редуктор в соответствии с рисунками 22,23 служит
для понижения частоты вращения, а также для изменения направления вращения.
Состоит из корпуса 3, крышки 1, валов 8, 15 и шестерен 5, 9. Валы редуктора
устанавливаются в расточках корпуса и крышки на шариковых подшипниках 13,
выходные концы валов уплотняются манжетами 6.
Шестерни редуктора косозубые, посажены на валы
на шпонках 4, 14. Кольцо 10, втулка 12, пружина 11 и штуцер 7 служат в качестве
торцевого уплотнения подвода воздуха к шинно-пневматической муфте системы
привода установки.
Смазка шестерен редуктора и подшипников
осуществляется разбрызгиванием масла через специальное сопло 2, размещенное в
зоне зацепления шестерен [9].
Масло к соплу подводится под давлением из
масляной системы дизеля. С нижней части редуктора масло по трубопроводу
отводится в поддон дизеля.
Рисунок 22 - Редуктор: 1-крышка; 2-сопло;
3-корпус; Б - платик
Рисунок 23 - Редуктор: 4,14-шпонка;
5,9-шестерни; 6-манжета; 7-штуцер; 8,15-вал; 10-кольцо; 11-пружина; 12-втулка;
13-подшипник
Платик Б на крышке редуктора служит для
установки воздухоочистителя. На раме силового агрегата редуктор устанавливается
на опорные поверхности (лапы) и крепится болтами.
Вал 8 через упругую муфту соединяется с
коленвалом дизеля, на конце вала 15 монтируется шинно-пневматическая муфта
привода установки.
1.6 Погрузка главного двигателя и
транспортировка в машинно-котельном отделении
Основное требование при транспортно-погрузочных
операциях - обеспечение недопустимых деформаций механизма. Оборудование должно
поступать на монтаж с установленными заглушками на отверстия и фланцы
патрубков, чтобы избежать попадания посторонних предметов [2,3].
Погрузка главного двигателя на судно
осуществляется краном. Перед погрузкой с двигателя необходимо снять арматуру и
приборы, которые могут быть повреждены. При погрузке главного двигателя
используются траверсы, равномерно распределяющие внутренние напряжения и
обеспечивающие правильное положение их в подвешенном состоянии. Переходные
шпильки траверсы, наворачивают на концы штатных шпилек, крышек цилиндров, а
стопы крепят за штыри балки.
Надежное крепление тросов к механизму и
ежегодная проверка их грузоподъемности предупреждают возможные несчастные
случаи при обрыве тросов во время подъема и перемещения механизма. Во избежание
этого определим диаметр троса необходимого для осуществления
транспортно-погрузочных операций.
Расчетная рабочая нагрузка на одну стропу:
Т+ δТ,
Н (1.1)
где Т = Q·k/n, H; Q - сила тяжести
механизма с учетом веса гака и строп, Q = 177000 Н; k - коэффициент запаса, k =
4; n - количество строп, n = 4.
Н
δT= 26550 Н - дополнительная
нагрузка зависящая от силы стропы, в данном случае при угле в 30°, что
составляет 15% от Т.
Т +δT = 177000 +
26550 = 203550 Н
Расчетный диаметр стропы:
,м (1.2)
м
Диаметр строп принимаем dст= 72 мм.
1.7 Состав и величины действующих
нагрузок на главный двигатель
Согласно требованиям Правил Регистра судовые механизмы
должны сохранять работоспособность в следующих эксплутационных условиях:
длительный крен судна θ′=
15°
длительный дифферент судна ψ′
=5°
бортовая качка судна с амплитудой θ′
= 22,5°
килевая качка судна с амплитудой ψ=
7,5°
а также при совместном действии бортовой и
килевой качки.
Работоспособность установленного оборудования
должна сохраняться и в экстремальных условиях эксплуатации:
полный ход судна с номинальным упором гребного
винта, амплитудой бортовой качки θ = 22,5° и
амплитудой килевой качки ψ =10°;
- швартовка судна с амплитудой бортовой качки θ
= 22,5° и
амплитудой килевой качки ψ= 7,5°, скоростью
перемещения бортом ν = 3 (м/с)
и упором на гребном винте 30% от номинального значения;
внезапная остановка судна (посадка на мель) при
скорости хода ν =3(м/с) с упором
гребном винте 30% от номинального значения. Крен судна при бортовой качке θ
= 22,5°. Амплитуда килевой качки ψ
= 10°;
- полный ход судна с номинальным упором на
гребном винте, с кратковременным креном θ = 45° и
дифферентом ψ = 10°.
Порядок расчета действующих нагрузок [3].
Действующие нагрузки
Р1б, Р1пр - динамические нагрузки при швартовке
и посадке судна на мель;
Р2б, Р2в - усилие при крене судна;
Р3б, Р3в - инерционные нагрузки при бортовой
качке;
Р4пр, Р4в - усилие при дифференте судна;
Р5пр, Р5в - инерционные нагрузки при килевой
качке;
Мр - реактивный момент от вращения коленчатого
вала двигателя.
Динамические нагрузки
при швартовке судна (удары судна бортом):
Р1б = α·
Q/q, (1.3)
где α - ускорение
судна, α
= 1 м/с2;
Q - вес главного двигателя, Н; q - ускорение силы тяжести, м/с2
при посадке судна на мель:
пр=α·Q/q,
(1.4)
где α - ускорение
судна, α
= 3м/с2.
Усилие при крене судна
бортовая составляющая:
Р2б =Q ∙ sinθ′,
(1.5)
где Q - вес главного двигателя, Н.
вертикальная составляющая:
Р2в =Q∙соsθ′.
(1.6)
Инерционные нагрузки при бортовой качке
по направлению к борту:
(1.7)
где Q - вес главного двигателя, Н; g - ускорение
силы тяжести, м/с
; Т1 - период
бортовой качки, с; θ - угол крена в
радианах; z - расстояние от центра тяжести судна до центра тяжести главного
двигателя по высоте судна, = 3,85 м; Н - высота расчетной волны, м.
Н=L/30+2, м (1.8)
где L - длина судна, L = 143,15м
Н = 143,15/30 + 2= 6,77 м
(1.9)
θ=2·θ°·π/360
(1.10)
в вертикальном направлении:
(1.11)
где Y - координата расположения главного
двигателя относительно диаметральной плоскости, Y = 0 м.
Усилие при дифференте судна
продольная составляющая:
пр=Q · sinψ′,
H (1.12)
где Q - вес главного двигателя, Н.
вертикальная составляющая:
В=Q · соsψ′,H
(1.13)
Инерционные нагрузки при килевой качке
в продольном направлении:
(1.14)
где Q - вес главного двигателя, Н; g - ускорение
силы тяжести, м/с
; Т2 - период
килевой качки, с; ψ - угол
дифферента в радианах; z - расстояние от центра тяжести судна до центра тяжести
главного двигателя по высоте судна, м; Н - высота расчетной волны, м.
с (1.15)
где L - длина судна; v0 =k (при длине судна
L>100, k=2,2)
с
(1.16)
где Х - расстояние от центра тяжести судна до
центра тяжести главного двигателя по длине судна, Х=14,46 м;
Реактивный момент от вращения коленчатого вала
двигателя:
Мр=k·Мкр, Н·м (1.17)
где k - коэффициент трения, k=0,12; Мкр -
крутящий момент, Н·м.
Н∙м (1.18)
где Nе - мощность главного двигателя, Nе =
670кВт; ω
- угловая
скорость вращения вала, ω=104,72 с-1.
Усилие, возникающее в вертикальной плоскости от
неуравновешенности механизма в продольном направлении:
(1.19)
где In - расстояние от центра давления на
фундамент до наиболее нагруженного ряда болтов, In = 0,880 м; z - общее число
болтов, z = 10; m - количество болтов в одном ряду, m = 2; Ii - расстояние от
центра давления на фундамент до ряда крепежных болтов; hk - расстояние от
центра давления до наиболее нагруженной кромки стыка, hk = 0,990 м.
(1.20)
Усилие, возникающее в вертикальной плоскости от
неуравновешенности механизма в поперечном направлении:
(1.21)
где In - расстояние от центра давления на
фундамент до наиболее нагруженного ряда болтов, In = 0,385 м; Z - общее число
болтов, z = 12; m - количество болтов в одном ряду, m = 12; Ii - расстояние от
центра давления на фундамент до ряда крепежных болтов, Ii = 0,385 м; hk -
расстояние от центра давления до наиболее нагруженной кромки стыка, hk = 0,420
м.
(1.22)
Суммарные нагрузки действующие на двигатель в
плоскости крепления:
Р'в =-Р2в +Р3в +Р4в+Р5в, Н
Р'пр =Р1пр +Р4пр +Р5пр, Н (1.23)
Р'б = Р1б + Р2б + Р3б, Н
Момент возникающий от переноса суммарной
продольной силы Р в плоскость крепления:
Мпр = Р ·h, H·м (1.24)
где Р - суммарная продольная нагрузка, Н; h -
расстояние от центра тяжести двигателя до плоскости крепления, h=0,640 м.
Момент возникающий от переноса суммарной
бортовой силы Р в плоскость крепления:
Мб=М(Р) + Мр, Н·м, (1.25)
где М(Р) - момент от переноса продольной силы Р
, Н·м; Мр - реактивный момент от вращения коленчатого вала двигателя, Н·м
М(Р) = Р ·h, Н·м. (1.26)
где Р - суммарная бортовая нагрузка, Н; h -
расстояние от центра тяжести двигателя до плоскости крепления, м.
Мб =Р·h+Мр, Н·м . (1.27)
Опрокидывающая нагрузка в продольном направлении
(нагрузка приложена в центре тяжести двигателя вертикально):
Р =1,099·Мпр Н. (1.28)
Опрокидывающая нагрузка в поперечном направлении
(нагрузка приложена в центре тяжести двигателя вертикально):
Р = 1,504· Мб Н. (1.29)
Результирующие нагрузки, действующие на
двигатель с учетом опрокидывающих нагрузок:
Рв =Р'в + Рвпр +Рвпр, Н
Рпр =Р, Н (1.30)
Рб = Р, Н
Результирующая нагрузка в горизонтальной
плоскости от сил Р'пр и Р'б:
, Н (1.31)
Вертикальная составляющая силы РГ, Н:
(1.32)
где k = 0,12 - коэффициент трения
Полная вертикальная нагрузка, Н:
Рвприв =Рв+РвГ. (1.33)
Результаты расчета представлены в таблице 1.1.
Анализируя полученные результаты, делаем вывод, что наиболее нагруженным
режимом, является режим внезапной остановки судна (посадка на мель) при
скорости хода ν =5,4 (м/с) с упором
гребном винте 30% от номинального значения. Крен судна при бортовой качке θ
= 22,50. Амплитуда килевой качки ψ=10°;
Определим количество призонных болтов
необходимых для монтажа двигателя
Усилие затяжки одного болта, Н:
где k - коэффициент запаса, k= 1,2; Р - полная
вертикальная нагрузка по наиболее нагруженному режиму, Рвприв =271793 Н; Z -
общее число крепежных болтов в соединении, z = 24.
Рзат =1,2·271793/24= 13589,7 Н
Предел текучести материала болтов:
(1.35)
где dвн - внутренний диаметр резьбы крепежного
болта, dвн =16,753 мм
В качестве материала болтов выбираем сталь марки
20 с пределом текучести σт= 250 МПа
по ГОСТ 1050-74.
Количество призонных болтов:
(1.36)
где n - количество призонных болтов; N -
вертикальная составляющая от силы трения;
-
сила сопротивления возникающая от среза призонных болтов;
-
допускаемое напряжение среза,
= 0,4·σт
МПа;· Рвприв =1,2·271793=326151,6 НвТР = 0,47·d2вн ·σт·z
= 0,47·16,7532·10-6·250·106·24=791496,7 Н
Из расчета видно, что разница kвприв - Nвтр <
0, следовательно, необходимость в призонных болтах при монтаже главного
двигателя отсутствует.
Отсутствие призонных болтов уменьшает
трудоемкость и время отведенное на монтаж двигателя.
Таблица 1.1 - Результаты расчета действующих
нагрузок на двигатель, при различных режимах работы судна
|
№
|
Обозначение
нагрузки
|
Значения
нагрузок при различных режимах работы судна, Н
|
|
|
Полный
ход судна
|
Швартовка
судна
|
Посадка
судна на мель
|
Кратковременный
крен и дифферент
|
|
1
2 3 4 5 6 7 8 9 10 11 12 13 14 15 16 17 18 19 20 21 22 23 24 25 26
|
Р1б
Р1пр Р2б Р2в Р3б Р3в Р4пр Р4в Р5пр Р5в Мр Рвпр Рвб Р′в Р′пр Р′б
Мпр Мб Рвпр Рвб Рв Рпр Рб Рг Рвг Рвприв
|
-
- 11129 41535 7837 6239 3748 42836 9511 41803 755 1,099 · Мпр 1,504 ·
Мб -36329 13259 18966 8486 12893 9326 19391 -7612 13259 18966 23141 192842
185230
|
4383
- 11129 41535 7837 6239 3748 42836 8722 41925 227 1,099 · Мпр 1,504 ·
Мб -36207 12470 23349 7981 15170 8771 22816 -4620 12470 23349 26470 220583
215963
|
-
13150 11129 41535 7837 6239 3748 42836 9511 41803 227 1,099 · Мпр 1,504 ·
Мб -36329 26409 18966 16902 12365 18575 18597 843 26409 18966 32514 270950
271793
|
-
- 30406 30406 - - 7467 42347 - - 755 1,099 · Мпр 1,504 · Мб -72753
7467 30406 4779 20215 5252 30403 -37098 7467 30406 31309 260908 223810
|
1.8 Установка компенсирующих звеньев
Компенсирующие звенья должны обеспечивать
надежное крепление и минимальную трудоемкость монтажа оборудования. При выборе
материала основное значение имеет значение неизменяемость механических
характеристик и формы компенсирующих звеньев под нагрузкой при различных
температурных условиях эксплуатации. Размеры компенсирующих звеньев выбирают
конструктивно и проверяют на удельное давление, допускаемую величину которого
принимают в зависимости от материала лап механизма и компенсирующих звеньев.
Нагрузка на один болт:
б=Рвприв /z, Н (1.37)
где Рвприв - полная вертикальная нагрузка по
наиболее нагруженному режиму; z - общее число крепежных болтов в соединении.
=271793/24=11325 Н
Удельная нагрузка для материала, компенсирующего
звена:
=Nб/F, МПа (1.38)
где F - площадь компенсирующего звена (120х120)
мм за вычетом площади отверстия под болт d=20,5 мм.
,м2
Па
Допускаемая удельная нагрузка:
[q] ≥ q ∙ k, МПа (1.39)
где k =1,25-коэффициент запаса
[q]≥ 0,85 ∙ 1,25=1,06 МПа (1.40)
В качестве материала для компенсирующих звеньев
можно использовать ФМВ (формуемая малоусадочная волокнистая) на основе
эпоксидно-диановой смолы марки ЭД5[q]=20(МПа).
Данный вид пластмассы имеет достаточно высокие
прочностные характеристики и незначительную усадку, что позволяет применять их
при монтаже центруемых и отдельно устанавливаемых механизмов. Отрицательное
свойство эпоксидной смолы - зависимость ее характеристик от температуры. Для
устранения этого недостатка необходимо выдержать следующие температурные
условия:
приготовление пластмассы и установку механизмов
выполняют при температуре в судовом помещении не ниже +100°С;
для прохождения реакции отверждения при
отрицательной температуре на судне обеспечивают подогрев пластмассовых
подкладок после формирования узлов крепления;
для исключения дополнительной усадки пластмассы
после крепления центруемых механизмов, имеющих при эксплуатации температуру лап
более 400°С, производят двойное прогревание подкладок с выдержкой в течении 3 ч
при температуре 50±5°С.
Во избежание адгезии и для осуществления
демонтажа опорную поверхность механизма необходимо смазать 2 % раствором воска
или парафина в бензине. Допускается в виде исключения смазывание рамы тонким
слоем солидола. Пластмассу приготовляют механизированным способом. В смеситель
заливают расчетное количество эпоксидной смолы, дибутилфталата и полиэтиленполиамина,
которые перемешивают до получения однородной смеси. Затем вводят наполнитель и
после тщательного перемешивания получают однородную массу, которую необходимо
использовать в течение часа. Процесс отвердения пластмассы зависит от
температуры окружающего воздуха. При температуре 10-16°С отвердение происходит
за двое - трое суток, а при более высокой температуре - за одни сутки.
Формирование компенсирующих звеньев осуществляют
с использованием раздвижных форм и шприц-пресса.
Использование прокладок из пластмасс также
снижают трудоемкость, поскольку донный вид прокладок является наиболее
технологичным звеном, применение которого исключает обработку фундамента,
точное измерение и трудоемкую пригонку подкладок на судне [4].
2.
Расчетный раздел
.1 Тепловой расчет двигателя с
турбокомпрессором
Дизель шестицилиндровый (i=6), с неразделенными
камерами сгорания, объёмным смесеобразованием, частотой вращения коленчатого
вала при максимальной мощности n=750 об/мин и степенью сжатия e=12.
Расчёт выполнен для дизеля с турбонаддувом P=0,15 МПа (центробежный компрессор
с охлаждаемым корпусом и лопаточным диффузором и радиальная турбина с
постоянным давлением перед турбиной).
Топливо. В соответствии с ГОСТ 10585-75 для
рассчитываемого двигателя принимаем мазут Ф-12.
Средний элементарный состав топлива С=0,87;
Н=0,121; S=0,003; О=0,006; [3].
Низшая теплота сгорания мазута,
:
Ни=33,91С+125,6Н-10,89(О-S)-2,51(9Н+W) (2.1)
Ни =33,91×0,87+125,6×0,121-10,89(0,006-0,003)-2,51×9×0,121
= 41,93=41930
2.1.1 Параметры рабочего тела
Теоретически необходимое количество воздуха для
сгорания одного килограмма топлива:
=
(2.2)
L0
=
(2.3)
Коэффициент избытка воздуха. Уменьшение
коэффициента избытка воздуха a до возможных пределов
уменьшает размеры цилиндра и, следовательно, повышает литровую мощность дизеля,
но одновременно с этим значительно возрастает теплонапряжённость двигателя,
особенно деталей поршневой группы, увеличивается дымность выпускных газов.
Принимаем a=1,9 [1].
Количество свежего заряда, при a=1,9:

Количество отдельных компонентов продуктов
сгорания:
=
=
; МSO=
=
;
М
=
=
.
При a=1,9
=0,208×(a-1)×Lo=0,208×(1,9-1)×0,495=0,092
=0,792×a×Lо=0,792×1,9×0,495=0,744
Общее количество продуктов сгорания:
М2=
+
МSO+ М
+
+
(2.4)
судно двигатель турбокомпрессор
М2 = 0,0725+0,00009+0,0605+0,092+0,744=0,969
2.1.2 Параметры окружающей среды и
остаточные газы
Атмосферные условия pо=0,1МПа; То=293 К; [10].
Давление окружающей среды для дизеля с наддувом
pк=0,15 МПа.
Температура, К:
, (2.5)
где nk=1,65-показатель политропы сжатия,

.
Температура и давление остаточных газов Тr=800K;
pr=0,142 МПа; [11].
2.1.3 Процесс впуска
Температура подогрева свежего заряда. При
наддуве за счет уменьшения температурного перепада между деталями двигателя и
температурой наддувочного воздуха величина подогрева сокращается. Принимаем DТ=10
оС.
Плотность заряда на выпуске,
:
, (2.6)

.
Потери давления на впуске в двигатель, МПа:
(2.7)
где (b2+xвп)=2,7,
wвп=70
,
приняты в соответствии со скоростным режимом двигателя [10].

.
Давление в конце впуска, МПа:=pk-Dpa=0,15-0,01=0,14
Коэффициент остаточных газов:
(2.8)

.
Температура в конце впуска, К:
(2.9)

.
Коэффициент наполнения:
(2.10)

.
2.1.4 Процесс сжатия
Средние показатели адиабаты и политропы сжатия.
При работе дизеля на номинальном режиме можно с достаточной степенью точности
принять показатель политропы сжатия приблизительно равным показателю адиабаты.
При e=12 и Tа=370
K,
k1=1,370,
а n1=1,37 [9].
Давление и температура в конце сжатия, МПа и К:
рс=ра×
(2.11)
рс =0,14×121,37=4,213
Tс=Tа×
(2.12)
Tс =370×121,37-1=927
Средняя мольная теплоемкость в конце сжатия:
а) воздуха, oC:
20,6+2,638×10-3×654=22,32=Tc-273=927-273=654
б) остаточных газов,
:
в) рабочей смеси,
:
(2.13)

2.1.5 Процесс сгорания
Коэффициент молекулярного изменения свежей смеси
в дизеле:
Коэффициент молекулярного изменения рабочей
смеси в дизеле:
(2.14)
μ
.
Теплота сгорания рабочей смеси в дизеле,
:
(2.15)

.
Средняя мольная теплоемкость продуктов сгорания
в дизеле:
(2.16)
(2.17)
Коэффициент использования теплоты jz=0,86
[10]. Степень повышения давления l=1,5 [10].
Температура в конце видимого процесса сгорания:
(2.18)
или
,001843tz2+32,901-60717=0,
откуда
оС
Тz=tz+273=1686+273=1959 K.
Максимальное давление сжатия, МПа:
pz=l×pc (2.19)
=1,5×4,213=6,6
Степень предварительного расширения:
(2.20)

2.1.6 Процесс расширения
Степень последующего расширения:
Средние показатели адиабаты и политропы
расширения:
d=8,33, Tz=1959 K
и a=1,9;
к2=1,2979, а n2=1,28 [10].
Давление и температура в конце расширения, МПа и
К:
;
,

; 
. (2.21)
Проверка ранее принятой температуры остаточных
газов, К:
(2.22)

,
%-допустимо.
2.1.7 Индикаторные параметры
рабочего цикла
Теоретическое среднее индикаторное давление:
(2.23)

Среднее индикаторное давление, МПа:
рi=jи×рi¢=0,912
где: jи=0,97-коэффициент
полноты.
Индикаторный к. п. д.:
(2.24)

Индикаторный удельный расход топлива,
:
(2.25)

2.1.8 Эффективные показатели
двигателя
Среднее давление механических потерь, МПа:
Рм=0,089+0,0118uп. ср.
(2.26)
где uп. ср.=5,67
-
средняя скорость поршня [9].
Рм =0,089+0,0118×5,67=0,155
Среднее эффективное давление, МПа и к. п.
д.:е=рi -pм=0,91-0,155=0,755
Эффективный к. п. д. и эффективный удельный
расход топлива:
(2.27)

Основные параметры цилиндра и двигателя
Литраж двигателя, л:
(2.28)

.
Рабочий объем цилиндра, л:
Диаметр и ход поршня дизеля, как правило,
выполняются с отношением хода поршня к диаметру цилиндра
(2.29)
D
.
Принимаем D=180 мм; S=220 мм.
По окончательно принятым значениям D и S
определяем основные параметры и показатели двигателя:
(2.30)

.
(2.31)

.
(2.32)

что равно ранее принятому значению.
(2.33)

.=Ne×ge,
(2.64)=164,8×0,252=41,5
.
(2.35)
.
3.
Экономический раздел
3.1 Капитальные вложения
При проектировании новой конструкции,
капитальные вложения определяются по формуле:
Кпр=К1+К2+К3, тыс. тенге (3.1)
где К1 - стоимость устанавливаемого
оборудования, тыс. тенге; К2 - затраты на монтаж устанавливаемого оборудования,
тыс. тенге; К3 - транспортно-заготовительные расходы, тыс. тенге
Стоимость устанавливаемого оборудования определяется
по оптовым ценам СЭУ. Затраты на монтаж оборудования определяются по справочным
данным, либо приближенно эти затраты определяются в размере 10-15% от стоимости
устанавливаемого оборудования [11]. Транспортно-заготовительные расходы,
связанные с приобретением и доставкой оборудования, определяются в размере 2-5%
от стоимости устанавливаемого оборудования
3.2 Расчет режима работы судна
Используя формулы методических указаний [11],
рассчитывается режим работы судна, результаты которого сводятся в таблицу 3.1
Определение объема грузоперевозок
Годовой объем грузоперевозок определяется по
формуле:
(3.2)
где Гпол - полная грузоподъемность судна, т; N -
годовое количество рейсов.
Таблица 3.1 - Годовой бюджет времени судна
|
Показатель
режима работы судна
|
Единицы
измерений
|
Базовый
вариант
|
Проектный
вариант
|
|
Календарное
время Ткал.
|
сутки
|
365
|
365
|
|
Внеэксплуатационное
время Твн,эк.
|
тоже
|
155
|
145
|
|
Эксплуатационное
время Тэк.
|
то
же
|
210
|
220
|
|
Продолжительность
рейса Т2
|
то
же
|
5,27
|
5,27
|
|
Время
перехода судна в порт и обратно Тх
|
то
же
|
2,95
|
2,95
|
|
Время
стоянки судна в порту Тп
|
то
же
|
2,32
|
2,32
|
|
Годовое
количество рейсов
|
рейс
|
39,8
|
41,74
|
Агр.б=4800∙39,8 = 191040 т,
Апр.гр =4800∙41,74 = 200352 т.
3.3 Расчет годовых судовых
эксплуатационных затрат
Заработная плата рассчитывается исходя из
штатного расписания по формуле:
Ззп.б. = ЗЗП.пр. = 1,1∙ЗП∙М∙1
=1,1∙135∙12∙19 =8778 тыс. тенге,
где ЗП = 135 тыс. тг. - заработная плата одного
члена экипажа; М = 12 месяцев - число месяцев в году; 1=19 человек - количество
членов экипажа.
Отчисления на социальное страхование:
Зсс.б. = Зсс.пр. = 0,385∙ Ззп. = 0,385∙8778
= 3379,53тыс. тг.
Затраты на коллективное питание:
Зкп.б. = Зкп.пр. = 0,24∙Ззп = 0,24∙8778=
2106,72 тыс. тг.
Затраты на топливо и ГСМ:
Зт. = (НТХ∙ТХ+ Нтл-Тп)N∙ЦT, тыс. тг.
где НТх - норма расхода топлива на переходе
судна в порт и обратно, т/сутки; Тх - время перехода судна из порта в порт,
сутки; Нтп - норма расхода топлива во время стоянки судна в порту, т/сутки; Тп
- время стоянки судна в порту, сутки; Цт = 30 тыс. тен. - цена 1 т топлива
(оптовая цена)
Зт.б. =(10,02∙2,95+0,11∙2,32)41,74∙30
= 34778,4 тыс. тг.
Зт.пр. = (10,02∙2,95+0,11∙2,32)39,8∙30
= 33165,599 тыс. тг.
Згсм. = (НГсмх∙Тх+ Нгсмп∙ТП)N∙Цгсм,
тыс. тг.,
где Нгсмх - норма расхода ГСМ на переходе судна
в порт и обратно, т/сутки; Нгсмп - норма расхода ГСМ во время стоянки судна в
порту, т/сутки; Цгсм = 98 тыс. тен. - цена 1 т ГСМ.
Згсмб. = (0,03∙2,95+0,003∙2,32)41,74∙98
= 3625 тыс. тг.
Згсмпр. = (0,3∙2,95+0,003∙2,32)∙39,8∙98
= 3460 тыс. тг.
Затраты на котельное топливо при его стоимости
25 тыс. тен. за 1 т составят:
Зкг.б. = Зкт.пр. = Нкт∙Цкт = 1269,5∙25
= 31735 тыс. тг.,
где Нкт = 1269,5 т/сутки - норма расхода
котельного топлива; Цкт = 25 тыс. тен. - цена 1 т котельного топлива (оптовая
цена).
Общие затраты на топливо и ГСМ, тыс.тенге:
Зигсмб.=Зглф+Згсмлф+Зплф, =34778,4 +3625+31735 =
70138,4
Зтигсм.пр. = Зт.б. + Згсм.б+ Зкт.б. = 33165,599
+3460+31735= 68360,599
Затраты на вспомогательные материалы
рассчитываются по нормам или в процентах от затрат на топливо и ГСМ:
Зм.б. = 0,02∙Згигсм.пр. = 0,02∙70138,4
= 1402,768тыс. тг.
Зм.пр = 0,02∙Зтигсм.б = 0,02∙68360,599
= 1367,21198тыс. тг.
Затраты на амортизацию:
За.б. = На.∙Цс.б. = 0,033∙100000 = 3
300 тыс. тг.,
где На. = 0,033 - норма отчислений на
амортизацию; Цс б. = 100.000 тыс. тг. - стоимость базового проекта судна.
Запр. = На.-Цс.пр. = 0,033∙96 385,28=
3180,71424тыс. тг.,
где Цс.пр. = Цсб.-Кб.+Кпр. - стоимость
проектного варианта судна, тыс. тен.
Цс.пр =100000-35,84+30,72 =96 385,28 тыс. тг.
Затраты на ремонт:
Зр.б. = 0,01 ∙Цсд = 0,01∙100000 =
1000 тыс. тг.
Зр.пр. = 0,01-Цс.пр. = 0,01∙96 385,28 =
963,8528 тыс. тг.
Судовые навигационные сборы:
бщ=0,013∙30бщ
где З0бщ. - суммарные затраты с 1 по 7 статью
общесудовых затрат.
Зсн.б. = 0,013∙Зобщ.б=0,013∙82595 =
1173,735 тыс. тг.
Сн.пр =0,013∙Зобш.лр = 0,013∙84684,5=
1100,8985 тыс. тг.
Прочие расходы:
Зпр.б=0,06∙(Зобщ.б+Зсн.б.)=0,06∙(82595+1073,735)=
5220,08тыс. тг.
Зпр.пр,.==0,06∙(30бЩ.пр+Зсн.пр.)=0,06∙(84684,5+1100,8985)=
5147,1 тыс. тг.
Накладные расходы:
Зн.б=0,3∙(3общб+Зсн.б+Зпр.б.)=0,3∙(82595+1073,735
+5020,08)= 29 606,4 .
Зн.пр.=0,3∙(Зобщ.б+3Сн.б+Зпр.б.)=0,3∙(84684,5+1100,8985
+5147,1)= =27279,75
Результаты расчета сводятся в таблицу 3.2
3.4 Определение экономической
эффективности
Расчет экономической эффективности
осуществляется на основе определения чистого дисконтированного дохода (ЧДД),
индекса доходности (ИД) и срока окупаемости (Т) базового и проектного вариантов
и их сравнения.
Чистый дисконтированный доход определяется по
формуле [11]:
, (3.3)
где R=149880 тыс. тг.- годовой доход судна или
выручка от реализации услуг; Сб.а. - эксплуатационные затраты за год без
амортизации, тыс. тг.; Нп = 0,35 - ставка налога на прибыль; τ
- коэффициент
дисконтирования затрат; К - стоимость судна с учетом изменяющихся капитальных
вложений.
ЧДДб. = [(149884,75-111995,95)(1-0,35)+ 3 300 ∙0,35]4,87-100000
=25560,37
ЧДД пр. = [(149884,75-118212,25)(1-0,35)+ 3 180∙0,35]4,87-96
385,28 = 25560,37
Индекс доходности:
, (3.4)
ИДб. =[(149884,75-111995,95)(1-0,35)+ 3 300 ∙0,35]4,87:100
000=1,256
ИДПр=[(149884,75-118212,25)(1-0,35)+ 3180∙0,35]4,87:
96 385,28 =1,059
Таблица 3.2 - Эксплуатационные расходы по судну
|
Наименование
статей расходов
|
Единицы
измерений
|
Базовый
вариант
|
Проектный
вариант
|
|
1
. Заработная плата
|
тыс.
тенге
|
8778
|
8778
|
|
2.
Отчисления на социальное обеспечение
|
то
же
|
3379,53
|
3379,53
|
|
3.
Затраты на коллективное питание
|
то
же
|
2106,72
|
2106,72
|
|
4.
Затраты на топливо и ГСМ
|
то
же
|
70138,4
|
68360,599
|
|
5.
Затраты на вспомогательные материалы
|
то
же
|
1402,768
|
1367,211
|
|
6.
Затраты на амортизацию
|
то
же
|
3
300
|
3
180
|
|
7.
Затраты на ремонт
|
то
же
|
1000,00
|
963,8528
|
|
8.
Навигационные сборы
|
то
же
|
1173,735
|
1100,8985
|
|
9.
Прочие расходы
|
5220,08
|
5147,1
|
|
10.
Накладные расходы
|
то
же
|
29
606,4
|
27279,75
|
|
11
. Итого расходов
|
то
же
|
128872,01
|
126552,27
|
Срок окупаемости:
, (3.5)
где С0бщ. - итого расходов, тыс. тенге.,
согласно таблице 3.3.
Тб. =96 385,28:(149880-128872,01)=2,16 года.
Тпр. =100 000:(149880-123552,27)=1,89 года.
4. Охрана
труда и защита окружающей среды
.1 Противопожарные системы
.1.1 Способы борьбы с пожарами на
судах
Пожар на судне, особенно на пассажирском и
нефтеналивном, чрёзвычайно опасен и причиняет большие бедствия. Поэтому борьбе
с пожарами на судах уделяется особое внимание [12].
На современном судне, имеющем значительное
количество механизмов, оборудования, различных приборов и аппаратов,
разветвленную сеть трубопроводов, осветительную и силовую электрические
проводки, опасность возникновения пожара увеличивается. В то же время борьба с
возникшим пожаром в судовых условиях значительно осложняется. Поэтому наряду с
активными средствами борьбы с пожаром на судне необходимо проводить ряд
мероприятий, предупреждающих возникновение пожара. Предупредительные
мероприятия зависят от особенностей судовых конструкций и от условии
эксплуатации судна. Они установлены правилами надзора за постройкой судов и
требованиями Регистров в должны строго соблюдаться как при проектировании и
постройке судов, так и при их эксплуатации.
К основным предупредительным мероприятиям относятся
следующие:
. Уменьшение количества горючих материалов на
судне, пропитка горючих материалов антипиренами и покрытие огнеупорной краской
для повышения огнестойкости
. Устранение возможности нагрева топливных
цистерн, угольных бункеров, деревянных и других конструкций под действием
расположенного рядом оборудования, дымоходов и трубопроводов, выделяющих тепло,
путем соблюдения устанавливаемых правилами расстояний между конструкциями и
нанесения соответствующей изоляции.
. Предупреждение возможности утечки и растекания
жидкого топлива и огнеопасных газов из специальных помещений в другие (на
оборудовании, где возможно стекание топлива, необходимо устанавливать поддоны,
нефтепроводы располагать в местах удобных для осмотра).
. Надежная вентиляция помещений, где могут
образоваться горючие и взрывоопасные газы, и их дегазация при выполнении
ремонтных работ.
При выполнении всех предупредительных
мероприятий значительно уменьшается опасность возникновения пожара, но
исключить возможность пожара нельзя. Поэтому каждое судно снабжается активными
средствами борьбы с пожаром; к этим средствам относятся противопожарные системы
и инвентарь.
К противопожарному инвентарю, которым каждое
судно снабжается по нормам Регистров, относятся ручные огнетушители, кошма,
песок, ломы, топоры и т.д.
Принцип действия в устройство противопожарных
систем в значительной мере зависят от назначения судна и от рода перевозимого
им груза,
Известно, что пожар можно прекратить путем
охлаждения горящего предмета водой, снижения процентного содержания кислорода в
воздухе помещения, где происходит пожар, с 21 до 15% и ниже и изоляции горящего
предмета от кислорода воздуха какой-либо инертной прослойкой.
Уменьшение количества кислорода в помещении
достигается вытеснением из последнего части воздуха путем введения в помещение
инертного газа или пара. Прослойкой, изолирующей горящий предмет, может служить
слой углекислой или воздушной пены или паровая завеса, образующаяся от
испарения распыленной воды, которая подается на горящей предмет.
По роду используемого огнегасительного вещества
применяемые на судах противопожарные системы разделяют на:
) системы водотушения;
) системы паротушения;
) системы тушения инертными газами (углекислый
газ СО2, дымовой газ, сернисто-серный газ SO2 + SО3);
) системы пенотушения (углекислая или
воздушно-механическая пена)
Две последние системы называются химическими.
Система водотушения является простой, надежной и
широко применяется на судах. Для этой системы в зависимости от типа и размеров
судна используются механические или ручные насосы. Вода может подаваться в виде
сплошной струи или в распыленном виде. Распыленная вода может успешно
применяться для тушения горящих нефтепродуктов. Для этого нельзя использовать
струю воды, так как нефтепродукты всплывают на поверхность воды и
разбрызгиваются, что способствует распространению пожара [13].
В некоторых случаях воду вообще нельзя
использовать для тушения пожара: Например, в угольном бункере, где возник
пожар, вода, проходя через раскаленный уголь, разлагается на кислород и водород,
причем в таком количестве, что водород способен образовать с воздухом
взрывоопасную смесь.
Вода не может быть эффективно использована для
тушения пожара в грузовых трюмах и в машинно-котельных отделениях. Эти
помещения могут быть заполнены грузом и оборудованием, препятствующими
успешному воздействию струи воды на очаг пожара. Кроме того, вода частично или
полностью портят груз и выводит из строя оборудование и аппаратуру, в
особенности электрические, что может служить причиной выхода из строя даже самих
пожарных насосов.
Наконец, воду нельзя применять для тушения
пожара в больших аккумуляторных помещениях морских судов, так как забортная
морская вода при попадании в электролит вызывает выделение хлора, чрезвычайно
опасного для человека.
По этим причинам на судах, кроме водяных систем,
часто применяют другие противопожарные системы, обеспечивающие эффективное
тушение пожара.
Весьма распространенной является система
паротушения. Она является простейшей из систем, действие которых вызывает такое
снижение содержания кислорода в помещениях, что горение становится невозможным.
Система паротушения применяется в грузовых
трюмах, котельных и насосных отделениях, в угольных бункерах и топливных
цистернах, в грузовых отсеках наливных судов, в кладовых для легковоспламеняющихся
материалов. Пар причиняет значительно меньший вред грузу и электрооборудованию,
чем вода.
Системы тушения инертными газами применяются
главным образом на морских судах и очень редко на речных. Наиболее
целесообразно применять инертные газы для тушения пожара в закрытых помещениях,
где нет людей или откуда они могут своевременно выйти, где доступ к очагу
пожара затруднен и есть взрывоопасные грузы или в качестве основного
оборудования используются электрические машины (в грузовых трюмах для перевозки
горючих грузов, машинных в насосных отделениях и т. д.).
При известных условиях инертные газы успешно
применяют и для тушения пожара на открытых местах. Например, углекислый газ,
выпускаемый из специальных ручных огнетушителей, благодаря большему удельному
весу, чем удельный вес воздуха, и концентрированной подаче создает достаточную
изолирующую и охлаждающую атмосферу у очага горения.
Инертные газы являются также единственным
надежным средством предупреждения возникновения пожара. На наливных судах при
заполнении углекислотой грузовых отсеков может быть предотвращен взрыв при
пожарах в надстройке или на соседних судах.
Весьма эффективно могут быть использованы
дымовые газы паровых котлов и двигателей внутреннего сгорания, которые после
соответствующей обработки и очистки могут постоянно заполнять свободный объём в
отсеках, что исключит возможность не только взрывов, при которых наливное
судно, как правило, гибнет, но пожаров в отсеках.
При применении системы пенотушения слой вены,
направляемый на очаг пожара, изолирует горящие предметы от кислорода воздуха и
вследствие содержания в пене воды охлаждает их. Пена может быть химической с
пузырьками, заполненными углекислым газом, и воздушной - с пузырьками,
заполненными воздухом. Та и другая широко применяются на морских и речных судах
для тушения воспламенившихся нефтепродуктов в котельных отделениях. В последние
годы наиболее широкое распространение получает воздушно-механическая пена из
простых и стойких веществ, без применения сложного дополнительного
оборудования.
Как уже отмечалось, выбор противопожарных систем
зависит от назначения и типа судна.
Существующими Правилами Речного и Морского
Регистров определяется, какие противопожарные средства должны быть установлены
на судне в зависимости от его типа.
4.1.2 Система водотушения
Каждое судно с одним или несколькими
механическими пожарными насосами оборудуется централизованной системой
водотушения. Система состоит из пожарных насосов, трубопровода, пожарных кранов
и шлангов (рукавов) со стволами.
Пожарные насосы обычно устанавливают в
машинно-котельном отделении; они служат для питания водой противопожарной сети,
напор в которой должен обеспечивать высоту струи не менее 12 м над наивысшей
точкой палубных надстроек. На морских пассажирских судах водоизмещением 4000 т
и более насосы должны быть установлены в отдельных непроницаемых отсеках, иметь
самостоятельное управление и принимать забортную воду через кингстоны.
На пароходах устанавливают паровые пожарные
насосы, а на теплоходах центробежные с независимым приводом. Для надежного
всасывания забортной воды насосы надо устанавливать ниже уровня осадки судна.
Как было указано выше, пожарные насосы могут
быть одновременно использованы для подачи воды другим потребителям.
4.1.3 Система паротушения
Системой паротушения оборудуются грузовые трюмы,
угольные бункеры, котельные отделения, помещения с нефтяными установками,
топливные цистерны, кладовые легковоспламеняющихся грузов, малярная, фонарная,
шкиперская. На нефтеналивных судах системой паротушения оборудуются все
грузовые отсека, коффердамы, насосные и шланговые отделения.
Система паротушения представляет собой
трубопровод, подводящий пар от главного или вспомогательного парового котла в
помещения.
Система паротушения питается паром
непосредственно от котла или через редукционный клапан. В обоих случаях
давление пара в системе не должно превышать 7 атм. для морских судов (по
Правилам Морского Регистра) и 4 атм. для речных судов (по Правилам Речного
Регистра).
Управление системой паротушения следует делать
централизованным, парораспределительную коробку устанавливать в отапливаемом
помещении и в доступном для обслуживания месте. От коробки в помещения,
оборудуемые системой паротушения, проводятся отдельные трубы. Использование для
этой цели паропроводов вспомогательных механизмов не разрешается.
Во всех отсеках для нефтепродуктов система
паротушения объединяется с системой пропаривания, предназначенной для дегазации
этих отсеков. На многих нефтеналивных судах, в особенности на речных,
паротушение не имеет централизованного управления, а клапаны паротушения
поставлены на магистрали, проложенной по палубе на всю длину судна. Эта
магистраль служит для подачи пара для систем паротушения и пропаривания, а если
есть система подогрева вязких нефтепродуктов, то и для этой системы.
Система паротушения, являющаяся основным
средством пожаротушения, должна обеспечивать заполнение паром 50% общего объема
всех судовых помещений, обслуживаемых этой системой, а на нефтеналивных судах -
полного объема наибольшего отсека и всех смежных с ним.
4.1.4 Углекислотная противопожарная
система
Углекислый газ (СО2) является инертным газом,
который при 0° С и давлении 760 мм рт. ст. имеет удельный вес 1,524 по
отношению к воздуху. При давлении 36 атм. и температуре 0° С углекислый газ
превращается в жидкость, занимая при этом всего лишь около
своего
объема при нормальном давлении.
Углекислый газ не имеет ни цвета, ни запаха. Он
не является отравляющим веществом, если в помещении имеется достаточное количество
кислорода, и не представляет в этом случае какой-либо опасности для человека.
Однако следует иметь в виду, что при наличии СО2 в помещении процентное
содёржание кислорода всегда уменьшается, а это уже вредно и опасно для
человека. Если в воздухе содержится 6-8% углекислого газа, то уже через полчаса
- час пребывания человека в такой атмосфере могут быть серьезные последствия, а
содержание углекислого газа в количестве 30% и более смертельно для человека
[12].
4.1.5 Противопожарные системы с
использованием сернисто-серного и дымового газов
С помощью сернисто-серной системы в атмосферу
помещения вводится сернисто-серный газ SО2+ SО3, благодаря чему содержание
кислорода уменьшается до 15%. Сернисто-серный газ получается при сжигании серы
в специальных печах; наибольшее распространение получил так называемый аппарат
Клейтона. Воздух, необходимый для сжигания серы, всасывается по трубе из
помещения, где возник пожар, и поступает в аппарат Клейтона. Образовавшийся в
аппарате сернисто-серный газ после охлаждения в холодильнике нагнетается по
трубопроводу вентилятором в помещение. Для создания в обслуживаемом помещении
атмосферы, в которой горение прекращается, необходимо заменить 6% кислорода
таким же количеством сернисто-серного газа. Для этого надо пропустить через
аппарат Клейтона не менее 28,5% воздуха помещения. После этого воздух помещения
будет состоять из 79% азота, 15% кислорода и 6% сернисто-серного газа.
Основной частью системы является аппарат для
сжигания серы и получения сернисто-серного газа.
Аппараты Клейтона устанавливают на верхней
палубе в помещениях с хорошей вентиляцией. От аппарата по судну проходят две
магистрали диаметром 50-75 мм, от которых отведены мостки с клапанами в
отдельные помещения. Всасывающие отростки заканчиваются вверху помещения, а
нагнетательные - внизу, с противоположной стороны от всасывающего отверстия.
Аппарат должен быть всегда готов к действию, для
чего в него предварительно загружают необходимое количество серы. Перед пуском
газа закрывают все отверстия в помещении, кроме одного небольшого,
препятствующего повышению давления в отсеке.
4.1.6 Система химического
пенотушения
Для тушения пожаров на судах употребляется
химическая углекислая и воздушно-механическая пена. Соответственно этому
разделяются и системы пенoтyшeния.
Химическое пенотушение давно используется на
судах как основное средство противопожарной защиты.
Химическая пена получается в результате
взаимодействия кислоты и щелочи с примесью различных веществ, придающих пене
клейкость (прочность) и облегчающих процесс ее образования.
Кислота и щелочь могут применяться в виде сухих
порошков или водных растворов. Наибольшее распространение получил пенный
порошок, состав которого может быть различным. В качестве примера можно
привести следующий состав пенопорошка №1: 61 весовая часть сернокислого
глинозема, 35,5 весовых частей бикарбоната натрия и 3,5 весовых частей
лакричного экстракта.
Водные растворы кислоты и щелочи в настоящее
время применяются главным образом в переносных пеногонных аппаратах - ручных
огнетушителях. Существуют и более крупные жидкостные установки, но они
применяются редко и поэтому здесь не описываются.
При взаимодействии кислоты и щелочи выделяется
углекислый газ, заполняющий пузырьки пены, образующейся благодаря наличию
клейких веществ. Химическая вена имеет удельный вес 0,15-0,25 и потому легко
растекается по поверхности любых нефтепродуктов и держится на твердых
предметах.
Химическая пена обладает высокими
огнегасительными свойствами и, в частности, стойкостью при высоких
температурах. Вследствие гигроскопичности пенопорошка требуются специальные
условия для его хранения, так как изменение температуры или повышение влажности
при неисправной таре часто приводит к порче порошка. Поэтому необходимо
тщательно следить за хранением пенопорошка и периодически отбирать пробы; при
обнаружении слеживания необходимо его просушивать, размельчать и просеивать, а
затем проверять на пенообразование. Реакция образования достаточно стойкой пены
происходит за определенное время, которое необходимо для протекания по
пенопроводу длиной 30 - 60 м.
.2 Предотвращение загрязнения
окружающей среды
Конструкция корпуса, механизмов, оборудования и
систем судна удовлетворяют требованиям МАРПОЛ - 73/78.
Предусматривается:
закрытый прием и выдача топлива и масла через
манифольды, снабженные фланцами международного образца и расположенные побортно
в районе грузовых манифольдов;
установка под всеми топливными и масляными
насосами, фильтрами и пробными клапанами поддонов, слив от которых производится
в две сточные цистерны;
- оборудование запасных топливных цистерн
переливными трубами, выведенными в переливную топливную цистерну;
- оборудование запасных цистерн топлива и масла,
а также переливной топливной цистерны сигнализацией по верхнему уровню;
Судно оборудуется инсинератором, приспособленным
для сжигания отработанного масла, нефтеостатков, пищевых и бытовых отходов, а
также мусора загрязненного остатками нефтепродуктов и шлама сточных вод.
Сепарационное оборудование, устанавливаемое на
судне, обеспечивает очистку нефтесодержащих вод до норм, требуемых Санитарными
правилами и Международными конвенциями.
Судно оборудуется прибором, прекращающим сброс
воды за борт при превышении концентрации нефтеостатков в сливаемой воде выше
предельно допустимого значения 8 млн -1 .
При нахождении судна в районах, где запрещен
слив нефтесодержащих вод любой концентрации, нефтесодержащие воды накапливаются
в цистерне сбора нефтесодержащих вод.
Судно оборудуется установкой очистки и
обеззараживания сточных и хозяйственно-бытовых вод.
Очищенные и обеззараженные воды сливаются за
борт, а шлам подается на инсинератор для сжигания.
Опорожнение цистерны производится судовыми или
внешними средствами с выдачей на очистные станции или суда-сборщики через
патрубки.
Грузовые и отстойные танки отделяются от наружной
обшивки двойным дном и двойными бортами [14].
Прием балласта предусматривается в изолированные
цистерны, исключающие загрязнение его нефтепродуктами.
Система мойки грузовых танков предполагается по
замкнутому циклу; для хранения и отстоя моечной воды предусматривается два
отстойных танка.
На судне предусматривается переносной прибор для
определения уровня раздела сред «нефть-вода».
Для предотвращения аварийной утечки при разрыве
грузового шланга предусматривается остановка грузовых насосов из рулевой рубки
и из района расположения грузовых манифольдов.
С целью предотвращения сброса за борт
пролившихся нефтепродуктов, на верхней палубе под манифольдами устанавливаются
поддоны, слив из которых предусматривается самотеком в отстойные танки.
На верхней палубе перед надстройкой
предусматривается ватервейсовая полоса.
Для предотвращения аварийного разлива
нефтепродуктов при погрузке предусматривается сигнализация по верхнему уровню
груза в грузовых и отстойных танках.
Для уменьшения загрязнения воздуха парами
нефтепродуктов газоотводная система оборудуется высокоскоростными устройствами
с дыхательными клапанами, сбрасывающими, при повышении давления паров в
грузовых танках до 20 кПа и предусматривается система выдачи паров груза на
берег.
Для локализации нефтяных пятен на поверхности
воды предусматривается боновое ограждение.
Предусматриваются пять контейнеров вместимостью
по 0,05 м3 для сбора пищевых отходов, сухого мусора и пластмасс.
Внедрение разработанных мер по технике
безопасности при монтаже энергетического оборудования и соблюдения требований
нормативных документов позволяют улучшить условия работы и организацию труда, а
также снизить или удалить влияния вредных и опасных факторов на организм
человека. Следствием этого является:
уменьшение вероятности, появления
профессиональных заболеваний работающих на предприятии;
уменьшение вероятности появления аварий и
несчастных случаев на предприятии.
уменьшение уровня трудоспособности персонала
предприятия;
уменьшение текучести квалифицированной рабочей
силы на предприятии.
ЗАКЛЮЧЕНИЕ
В дипломном проекте путем установки
турбокомпрессора усовершенствованы технические характеристики судового
двигателя.
Решена проблема улучшения работы и повышения
мощности двигателя, что являлось одним из актуальных задач. Модернизирована
система топливоподачи дизеля с обеспечением дозирования и подачи топлива в
цилиндры дизеля в соответствии с порядком их работы и заданным режимом
нагрузки. Установка турбокомпрессора улучшает работу ТНВД, что увеличивает
мощность двигателя без изменений его конструкций. Ротор турбокомпрессора
вращается энергией выхлопных газов. Другой конец ротора с жестко посаженным
колесом компрессора нагнетает атмосферный воздух в улитку компрессора откуда
нагнетаемый воздух, проходя охладитель наддувочного воздуха, поступает через
впускной коллектор в цилиндры дизеля. Между турбокомпрессором и охладителем
наддувочного воздуха располагается аварийное стоп-устройство предназначенное
для автоматической аварийной остановки дизеля при превышении числа оборотов свыше
максимально допустимых, при снижении давления масла в масляной магистрали ниже
допустимой. Охлаждающая жидкость к турбокомпрессору подводится от выпускного
коллектора по переливным патрубкам, а сливается через трубопровод,
установленный на корпусе турбокомпрессора. Подшипники турбокомпрессора
смазываются маслом, подаваемым из масляной магистрали дизеля по трубопроводу и
сливаемым в картер дизеля по шлангу.
Данная реконструкция и установка
турбокомпрессора на дизель обоснована соответствующими техническими и
экономическими расчетами.
В дипломном проекте разработаны мероприятия по
охране труда и защиты окружающей среды при эксплуатации плавучих средств.
СПИСОК ИСПОЛЬЗОВАННЫХ ИСТОЧНИКОВ
1. Правила
классификации и постройки морских судов. Российский Морской Регистр
Судоходства. - СПб.: Морской Регистр судоходства, 1999.- Том 1,2.
2. Судовые
двигатели внутреннего сгорания / Ю.Я. Фомин А.И. Горбань и др. Л:
Судостроение,1989.-344 с.
. Кравченко
В.С. Монтаж судовых энергетических установок. -Л:Судостроение,1975.-255 с.
. Голубев
Н.В. Проектирование энергетических установок морских судов. - Л.: Судостроение,
1980.-312 с.
. Коршунов
Л.П. Энергетические установки промысловых судов: Учебник. - Л.: Судостроение,
1991.-360с.
. Справочник
судового механика, том 1. Под редакцией канд. техн. наук Грицая Л.Л. - М:
«Транспорт» 1973 г.
. Справочник
судового механика, том 2. Под редакцией канд. техн. наук Грицая Л.Л. - М:
«Транспорт» 1974 г.
. Овсянников
М.К., Петухов В.А. Судовые дизельные установки. Справочник. - Л.: Судостроение,
1986.-424 с.
. Артемов
Г.А. и др. Системы судовых энергетических установок. Л.: Судостроение,
1990.-320 с.
. Колчин
А.И., Демидов В.П. Расчёт двигателей внутреннего сгорания.- М.: Высшая школа,
1985.
. Дацюк
Н.И., Николаева Л.Л. Сборник задач по экономике морских перевозок. - Одесса:
Феникс, 2005 г.
. ГОСТ
1.1.004-91 ССБТ. Пожарная безопасность. Общие положения.
. ГОСТ
1.12.008-76 ССБТ. Взрывобезопасность. Общие положения.