Сборочно-сварочная оснастка

  • Вид работы:
    Курсовая работа (т)
  • Предмет:
    Другое
  • Язык:
    Русский
    ,
    Формат файла:
    MS Word
    1,03 Мб
  • Опубликовано:
    2012-11-15
Вы можете узнать стоимость помощи в написании студенческой работы.
Помощь в написании работы, которую точно примут!

Сборочно-сварочная оснастка

Содержание

Введение

1. Конструктивные и технологические особенности оснащаемой сварной конструкции

1.1 Условия эксплуатации и конструктивные, технологические особенности изготовления сварной конструкции

1.2 Техническое задание на конструирование сборочно-сварочного приспособления

2. Конструкция приспособления и описание его работы

2.1 Схема базирования и ее обоснование

2.2 Описание технологии работы приспособления

2.3 Использование приспособления как средства борьбы с остаточными сварочными деформациями

3 Технико-экономические преимущества варианта конструкции приспособления

3.1 Нормирование расходов основных и вспомогательных материалов

3.2 Нормирование процесса сборки-сварки без оснастки и с приспособлением

Заключение

Список использованных источников

Введение

Наиболее "узким местом" в процессе производства сварных конструкций (при низком уровне механизации работ) являются сборочные и вспомогательные операции, включающие:

при сборке - установку, фиксацию и закрепление деталей и узлов;

при сварке - установку и вращение изделий;

На выполнение этих операций затрачивается в среднем 35% трудоёмкости всех сварочных операций.

Следовательно, повышение коэффициента оснащённости, представляющего собой отношение объёма работы, выполненной при помощи механизмов, к общему объёму данного вида работ, выполненных механизмами и вручную, является одним из резервов повышения производительности труда в сварочном производстве.

Для повышения коэффициента оснащённости вспомогательных операций необходимо широкое внедрение прогрессивных средств механизации: сборочно-сварочных установок, стендов и приспособлений с быстродействующими зажимными устройствами, позволяющими крепить изделие в различных пространственных положениях, шаблонов и кондукторов, столов сварщика с поворотными планшайбами, кантователей, манипуляторов и другого технологического оборудования.

В сварочном производстве время на сборку металлоконструкций с применением специализированного оборудования сокращается на 30-40%. Однако такое оборудование не обладает способностью переналадки на другой типоразмер, за исключением отдельных узлов, после смены объекта производства.

.        Конструктивные и технологические особенности оснащаемой сварной конструкции

.1       Условия эксплуатации и технология изготовления сварной конструкции

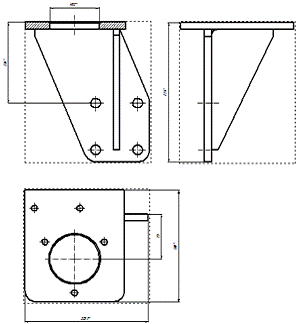
Конструкция представляет собой крепежный элемент размерами 234*195,5*188 мм , показанную на рис. 1.

Рис. 1 - крепежный элемент

Крепежный элемент изготовлена из углеродистой стали марки Сталь 20 (ГОСТ 1050-88), в табл.1 и 2 приведены её химический состав и механические свойства.

Таблица 1. Химический состав низколегированной стали повышенной прочности

Марка стали

ГОСТ

Массовая доля элементов, %



C

Mn

Si

S

P






не более

20

1050-88

0,17÷0,24

0,35÷0,65

0,17÷0,37

0,040

0,035


Таблица 2. Механические свойства углеродистой стали при температуре 20°С

Марка стали

Предел текучести σт, МПа

Временное сопротивление σв, МПа

Относительное удлинение δ5, МПа

Ударная вязкость KCU, Дж/см2, при температуре, °С





+20

-40

-70


не менее

20

245325

410

25

Не норм.


При разработке сварных изделий вопросы их технологичности часто остаются вне поля зрения конструктора. Поэтому при проектировании технологического процесса, выборе и конструировании сварочного приспособления, как правило, возникает необходимость анализа технологичности сварных конструкций, а часто и их изменения. Особое внимание при этом должно быть обращено на конфигурацию деталей, входящих в сборочную единицу, точность изготовления заготовок и состояние их поверхностей. Конфигурация деталей рис. 1. 2. должна обеспечивать их легкую установку при сборке и съем изделия, доступность к местам прихватки, сварки или наплавки. Технологичные сварные конструкции позволяют применять более простые и дешевые приспособления для их изготовления. Наряду с технологическими средствами повышения точности сварной конструкции большое значение имеют конструктивные элементы сварных соединений. Поэтому при проектировании металлоконструкций необходимо применять минимальные расчетные катеты сварных швов. Завышение катета сварного шва при проектировании ведет к дальнейшему его увеличению в производственных условиях, а следовательно, и к увеличению деформации конструкции в целом. Однако, если по расчету нужен односторонний шов значительного катета, то следует применить двусторонние швы меньшего сечения. Так же качество сварного шва во многом определяется правильным выбором режима сварки, представленном в таблице 3.

Таблица 3. Параметры режима сварки

Напряжение горения дуги, В

Сила сварочного тока, А

Скорость сварки, м/ч

Диаметр электродной проволоки, мм

Расход газа, л/мин

25÷30

150÷200

25÷30

8÷10


1.2 Техническое задание на конструирование сборочно-сварочного приспособления

Проектирование специальной сборочно-сварочной технологической оснастки ведётся на основании технологических заданий, разработанных в соответствии с технологическим процессом изготовления изделия и утверждённых главным технологом или главным сварщиком предприятия. В данном техническом задании приводятся следующие требования к приспособлению:

. приспособление сборочно-сварочное;

.        приспособление специальное, предназначенное для выполнения одной определенной операции при изготовлении конкретного узла в условиях серийного производства;

.        приспособление ручное;

.        приспособление передвижное;

.        приспособление не даёт возможности появления после сварочных деформаций;

.        приспособление гарантирует базирование деталей с установленной конструктором точностью.

. Конструкция приспособления и описание его работы

2.1 Разработка принципиальной схемы приспособления

Проектирование приспособления должно начинаться с разработки его принципиальной схемы (схемы базирования), которая оформляется в виде простейшего чертежа, выражающего основную идею приспособления.

Принципиальная схема сборочно-сварочного приспособления представляет собой чертеж сварного изделия, на котором в виде условных обозначений указаны места, способы фиксирования и закрепления всех деталей, а также способы и устройства (упрощенно) для установки, поворота, подъема, съема деталей и изделий, другие механизмы. При изготовлении принципиальной схемы наносить на нее все детали будущего приспособления подробно не следует. При необходимости отдельные механизмы приспособления могут быть выполнены довольно подробно.

На схеме указываются те размеры, которые конструктор должен соблюдать при проектировании приспособления с особой точностью. В качестве установочных баз предпочтительно использовать механически обработанные поверхности или отверстия деталей.

На рис 2 представлена принципиальная схема приспособления для сборки крепежного элемента.

Рис. 2 принципиальная схема приспособления для сборки и сварки крепежного элемента.

.2 Описание работы приспособления

На рис. 3 представлено графическое описание работы приспособления.

а) приспособление сборочно-сварочное в открытом состоянии;

б) в приспособление на пальцы устанавливается ребро;

в) накидная часть приспособления опускается и фиксируется в данном положении стопором, тем самым прижимая ребро к основанию;

г) к магниту, установленному в опоре на подвижной части приспособления, прикрепляется косынка;

д) косынка устанавливается в нужное положение и прижимается продольным зажим с силой 2,5 кН.

е) в отверстие в корпусе приспособления вставляется основание крепёжного элемента;

ж) основание крепёжного элемента фиксируется с помощью пальца, установленного на зажиме, и прижимается к ребру и косынке с усилием 2,5 кН.

Рис. 3. Процесс сборки крепёжного элемента в приспособлении

Детали соединяются при помощи прихваток, после чего все зажимы переводят в открытое состояние и поднимают накидную часть приспособления, которая фиксируется в открытом состоянии. Изделие извлекается из приспособления и доваривается на столе сварщика.

2.3 Использование приспособления как средство борьбы с остаточными деформациями

Сварка металлоконструкций вызывает температурные и усадочные напряжения, способные нарушить не только геометрию изделия, но и геометрию самой технологической оснастки. Поэтому сварочная оснастка должна способствовать уменьшению сварочных деформаций, возникающих в металлоконструкциях в процессе сварки.

Способы борьбы со сварочными деформациями без предварительной оценки эффективности и их применения могут в каждых конкретных условиях привести к бесполезной затрате труда и средств на изготовление оснастки, а также к усложнению технологии.

Одним из способов уменьшения сварочных деформаций является отвод теплоты от свариваемого изделия в технологическую оснастку (корпус приспособления, зажимы и опорные элементы). Для обеспечения интенсивного теплоотвода необходимо, чтобы изделие при сварке было в закрепленном состоянии (т. е. чтобы изделие внешней нагрузкой прижималось к недеформируемому основанию). В этом случае упругопластическая зона в изделии уменьшается, а следовательно, уменьшаются и остаточные деформации в нем, причем интенсивный отвод теплоты в технологической оснастке может быть лишь при плотной, во многих точках, прилегании элементов металлоконструкции к оснастке.

. Технико-экономические преимущества варианта конструкции приспособления

3.1 Нормирование расходов сварочных материалов

При дуговой полуавтоматической сварки в среде защитного газа нормируется расход сварочной проволоки (Св-08Г2С ГОСТ 2246-70) и расход защитного газа (двуокись углерода газообразная высшего сорта ГОСТ8050-85)

 

где Зпр - затраты на сварочную проволоку, руб;

mпр - норма расхода материала, кг/шт;

Цпр - оптовая цена материала, руб/кг (Цпр = 4500 руб/кг);

Расход сварочной проволоки определяется по формуле

 

 

Массу наплавленного металла определяем по формуле

 

где  - объем наплавленного металла, определяют по формуле, мм3:

 

F - площадь поперечного сечения шва, мм2;

l - длина шва, мм;

 - плотность металла, г/мм3 (для стали  г/мм3).

Т.к. шов стандартный, то площадь поперечного сечения шва берем для таврового соединения по ГОСТ 14771-76.

 

 

 

 

Затраты на защитный газ определяются по формуле:

 

где Кр - коэффициент расхода газа (Кр=1,3);

Цг - цена за 1 л защитного газа, руб;

 - машинное (основное) время сварки 1 м шва, мин. Основное время определяется по формуле:

 

где  - масса наплавленного металла шва данного типоразмера, кг/м; - коэффициент наплавки, г/А∙ч;  - сила сварочного тока, А,  - число проходов.

Определяем коэффициент наплавки  через коэффициент расплавления проволоки  по формуле:

 


 

 

 

 руб.

.2 Нормирование процесса сборки-сварки без оснастки и с приспособлением

Для нормирования процесса сборки-сварки без оснастки и с приспособлением, необходимо определить норму штучного времени. Норму штучного времени в условиях серийного производства на электродуговую сварку определяем по формуле:

Норма штучного времени на сварку определяется по формуле

 мин

гдеL - длина шва, м

Тви - вспомогательное время, связанное с изделием и типом оборудования, которое включает затраты: на клеймение шва, на установку и снятие щитов, на крепление, перемещение, установку, снятие и поворот изделий, на перемещение сварщика в процессе работы, на намотку сварочной проволоки в кассеты, мин;

Тнш - неполное штучное время на 1 м шва при сварке в нижнем положении в стационарных условиях, мин. Неполное штучное время приведено в картах сборника "Общемашиностроительные укрупненные нормативы времени на дуговую сварку в защитных газах" и составляет Тнш =7,4 мин.

К1-n - поправочные коэффициенты на измененные условия работы.

Вспомогательное время, связанное с изделием и типом оборудования приведено в таблице 4.

сварной конструкция сборка оснастка

Таблица 4.

Вариант

Номер позиции

Наименование и условие выполнение работ

Время, мин

Без оснастки

1

Нанесение размерных рисок

3*2,0


2

Нанесение прихваток, снятие детали с приспособления

4*3.5

Всего:

20

С оснасткой

1

Крепление изделия в приспособлении

3*0,2


2

Нанесение прихваток, снятие детали с приспособления

4*1,3

Всего:

5,8


Штучное время определяем по формуле:

 

 

Заключение

В результате применения разработанной сборочно-сварочной оснастки, удалось уменьшить штучное время производства крепёжного элемента на 45%, что способствует уменьшению себестоимости готовой продукции. Так же после применения сборочно-сварочного приспособления увеличивается качество сборки и сварки, а также точность позиционирования деталей.

Список использованных источников

1.       Гитлевич А. Д., Этингоф Л. А., Механизация и автоматизация сварочного производства. 2-е изд., перераб.- М. Машиностроение, 1979- 280с., ил.

2.       Евстифеев Г.А., Веретенников И.С., Средства механизации сварочного производства. Конструирование и расчет. М., "Машиностроение", 1977.-96 с. С ил.

.        Рыморов Е.В., Новые сварочные приспособления. - Д.: Стройиздат,. Ленингр. отд-ние, 1988.-125 с, ил.

.        Жизняков С.Н., Сидлин З.А., Ручная дуговая сварка. Материалы. Оборудование. Технология. - Киев: "Экотехнология", 2006. - 368 с.

.        Юхин Н.А. Механизированная дуговая сварка плавящимся электродом в защитных газах. - Москва: "Суэло", 2008.-73 с.

.        http://www.destaco.com/

.        http://websvarka.ru/

.        http://www.osvarke.com/

Похожие работы на - Сборочно-сварочная оснастка

 

Не нашли материал для своей работы?
Поможем написать уникальную работу
Без плагиата!
Без нейросетей!