Расчет и обоснование выбора конкурентоспособной системы посадки воздушного судна

  • Вид работы:
    Дипломная (ВКР)
  • Предмет:
    Транспорт, грузоперевозки
  • Язык:
    Русский
    ,
    Формат файла:
    MS Word
    276,69 Кб
  • Опубликовано:
    2012-10-13
Вы можете узнать стоимость помощи в написании студенческой работы.
Помощь в написании работы, которую точно примут!

Расчет и обоснование выбора конкурентоспособной системы посадки воздушного судна

Условные обозначения

АРН- аппаратура радионавигации

АП- авиапредприятие

БПРМ- ближний приводной радиомаяк

ВС- воздушное судно

ГЛОНАСС- глобальная навигационная спутниковая система

ДПРМ- дальний приводной радиомаяк

ДР- дифференциальный режим

КИ- корректирующая информация

ККС- контрольно корректирующая станция

ЛПД- линия передачи данных

НКА- навигационный космический аппарат

ОПРС- отдельно приводная радиостанция

ПД- псевдо дальность

ПИ- приемоизмеритель

ПС- псевдоспутник

ПНС- пилотажно- навигационная система

СП- система посадки

СРНС- спутниковая радионавигационная система

Введение

В нашем регионе и в частности аэропорту Туруханска эксплуатируется далеко не новые посадочные радиосредства которые давно морально и физически устарели. Проблему усугубляет нарастающая изношенность всех эксплуатируемых радиосредств зачастую установленных в 70-х, 80-х годах прошлого века. Нередко оборудование работает с продленным ресурсом, так например в аэропорту Туруханска приводные станции системы посадки продлялись два и более раз. В масштабах всей страны картина также нерадостная Запасные части и элементная база приводных радиостанций эксплуатируемых у нас устаревшая и выпуск их попросту приостановлен, по этому при ремонте возникают не малые сложности - их найти. Установку новых систем посадки могут позволить себе далеко не все авиапредприятия, особенно если эти порты находятся в глубинке (как наш) с малым количеством выполняемых регулярных авиарейсов. Тактика технические данные выпускаемого оборудования не всегда соответствуют требованиям ИКАО для систем посадки воздушных судов по категориям.

В 1988г. специальный комитет ИКАО по будущим аэронавигационным системам сформулировал концепцию перехода гражданской авиации на использование спутниковой технологии (документ WP/76 от 12.05.1988года.).

Современные спутниковые радионавигационные системы ГЛОНАСС/GPS позволяют определить координаты потребителя с точностью порядка 10ч15м., что удовлетворяет требованиям по точности навигационных определений воздушных судов при маршрутных полётах и полётах в аэродромных зонах, включая не категорированный заход на посадку. Выполнение же требований по точности навигационных определений при обеспечении захода на посадку по категориям ИКАО может быть достигнуто с использованием дифференциальных методов спутниковой навигации, так как ни одна из существующих наземных и спутниковых систем представленным выше требованиям (точность, доступность, целостность) не удовлетворяет.

Точностные требования к навигационным параметрам при посадке воздушного судна по категории ИКАО представлены в таблице 1.

Таблица 1. Требования к навигационным параметрам по ИКАО

Посадка по категории

Точность

Целостность

Непре- рывность с

Доступ- ность %


План (2σ),м

высота (2σ),м

Риска

время опов.,с

Порог по ошибки,м








план

высота



Некатегорированная посадка

50 ч 75

1·10-4

2

550



I

10,0

4,0

3·10-7

6

33,5

9,7

15 при Р = 4·10-5

99,75

II

5,0

1,6

3·10-8

2

23

4,6

15 при Р = 4·10-6

99,85

III

4,0

0,5

5·10-9

1

5

0,6

30 при Р = 4·10-6

99,9


Дифференциальный режим СРНС предполагает наличие как минимум двух спутниковых приемников или приемоизмерителей (ПИ). Например, ПИ1 (контрольно- корректирующая станция) и ПИ2 (потребитель) расположены в точках 1 и 2 пространства, причем ПИ1 геодезически точно привязан к принятой системе координат (ПЗ-90 или WGS-84). Разности между измеренными ПИ1 и рассчитанными в нем значениями псевдодальностей "видимых" КА, а также разности соответствующих псевдоскоростей по линии передачи данных (ЛПД) передаются в виде дифференциальных поправок ПИ2, в котором они вычитаются из измеренных ПИ2 псевдодальностей (ПД) и псевдоскоростей. В случае, если погрешности определения ПД слабо изменяются во времени и пространстве, они существенно компенсируются переданными по ЛПД поправками. В случае использования в системе посадки, ошибки ПД за счет малой рабочей зоны практически постоянны и эффективность использования дифференциального режима должна быть высокой.

Псевдоспутник - это контрольно - корректирующая станция, излучающая сигнал, аналогичный сигналу НКА, и геодезически точно привязанная к принятой системе координат. По этому сигналу на борту ВС также может производиться измерение дополнительной псевдодальности. Таким образом, использование псевдоспутника обеспечивает для потребителя кроме получения дифференциальных поправок, дополнительную высоконадёжную опорную навигационную точку.

Наличие псевдоспутников позволяет уменьшить значение геометрического фактора, в вертикальной плоскости в 6 ч 8 раз и в горизонтальной плоскости в 3ч4 раза, за счёт появление в зоне радиообзора воздушного судна дополнительной радионавигационной точки, расположенной в нижней полусфере. Именно данное обстоятельство существенно уменьшает погрешность при использовании ПС.

1.      
Характеристика зоны РЦ, МВЛ и средств РТОП

Характеризуя эксплуатируемые радиосредства посадки и навигации, аэропорта Туруханска атак же зоны ответственности РЦ и МВЛ хотелось бы отметить некоторые исторические моменты. Регулярные авиа рейсы стали выполняться с начала сороковых годов прошлого столетия. Специфика аэропорта в том что он расположен в районе крайнего севера и основная связь с другими населенными пунктами осуществляется воздушным транспортом, в предприятии выполняются не только регулярные авиарейсы но и внеплановые санитарные, по линии МВД, МЧС, ПСП. На заре становления постоянного воздушного сообщения назрела необходимость установки радиосредств посадки и навигации так в 48 году были построены и введены в эксплуатацию здания ближнего, дальнего привода позднее в строй ввели передающий центр и КДП МВЛ. Основной пик развития и интенсивность полетов аэропорта выпал на 70е,80е годы это было обусловлено бурным и стремительным освоением севера, работой геологоразведочных экспедиций.

В период начала восьмидесятых годов сформировалась зона ответственности РЦ, стали сопровождаться международные авиарейсы, выполняющие перелеты из Европы в Азию и Японию. География полетов местных авиалиний также увеличилась. Аэропорт рассчитан на прием таких ВС как: Як-40, Ан-24, Ми-8, Ан-32, Ми-26. В зоне ответственности Туруханского РЦ (рис. 1)находится шесть воздушных трасс это: В-154А, R-30, А-333, R-30P, G-489, G-490. В течении суток по ним проходят порядка 70ти воздушных судов отечественного и зарубежного производства это: Б-777,767,747, А-340,330, DC-10, Ту-154, 204,134, Ил-86,76. Под контролем КДП МВЛ находятся 12 воздушных трасс интенсивность их движения порядка десяти авиарейсов в сутки. Длинна полосы с учетом гравийного покрытия, составляет: 2100м ширина 28м. Ограничения по местности на удалении 48км есть холмы высотностью 462м, также существует ограничения связанные с учениями военных порядка одного раза в год примерно раз в квартал идет борт под литером А (президентский) эти

Рисунок 1 Схема зоны РЦ Туруханского центра по ОрВД

Масштаб 400км

Примечание: Схема составлена согласно актов летной проверки и графиков углов закрытия. Минимальная дальность R=1,5км.

Ограничения подразумевают освобождение эшелонов для беспрепятственного прохождения перечисленных ВС.

1.1 Оборудование посадки и радионавигации, аэропорта Туруханск

Система посадки и навигации в аэропорту Туруханска включает в себя объекты: БПРМ, ДПРМ+ОПРС, АРП-75, VOR/DME-4000 (рис. 2) ,дальний привод выполняет функцию ОПРС и работает в круглосуточном режиме. На ближнем приводе установлена приводная радиостанция АПР-8 и маркерный радиомаяк МРМ-70,функцию дальне приводной радиостанции выполняет так же АПР-8 и маркерный радиомаяк МРМ-70. Все установленные радиосредства посадки и навигации давно не обновлялись они давно морально и физически устарели работают все с продленным ресурсом, таблица 2. Так например на объекте БПРМ установлена приводная станция АПР-8 в 1978 году, а на ДПРМ в 1980 году, ресурс продлялся четыре раза. Курсовые и глиссадные радиомаяки в аэропорту Туруханск неустановленны, возможность инструментальной посадки отсутствует.

Таблица 2 Наработка радиосредств системы посадки аэропорта Туруханск

Объект

Тип оборудования

Ввод в эксплуатацию

Наработка

Примечание

БПРМ

АПР-8 №3001011 МРМ-70

1978г.

70104 (на 01.09.06)

4 продления (до 2007г.)

ДПРМ

АПР-8 №3180369 МРМ-70

1980г.

72622 (на 01.09.06)

4 продления (до 2007г.)


Аэропорт со всей инфраструктурой находится в пределах населенного пункта, причем один торец ВПП граничит с автодорогой, а другим упирается в лесополосу, объекты посадки расположены в лесной болотистой местности. Поэтому при развертывании новых систем посадок типа СП-75, СП-80, СП-90 будет возникать сложность с установкой в данной местности, так как антенные системы курсовых, глиссадных, радиомаяков идущих в базовой комплектации требуют площадей с ровной поверхностью. Приведу основные тактико-технические данные и требования предъявляемые к системам посадки.

1.2 Требования ФАП к радиомаячным системам посадки


Требования к составу РМС

В состав РМС должны входить:

Курсовой радиомаяк (КРМ) с АФС;

Глиссадный радиомаяк (ГРМ) с АФС;

Маркёрный радиомаяк (МРМ) с АФС;

аппаратура дистанционного управления, контроля и сигнализации;

контрольно-выносной прибор;

Курсовой радиомаяк - наземное радиотехническое устройство, излучающее в пространство радиосигналы, содержащие информацию для управления ВС и горизонтальной плоскости при выполнении ими захода на посадку и во время посадки.

Глиссадный радиомаяк - наземное радиотехническое устройство, излучающее в пространство радиосигналы, содержащие информацию для управления ВС в вертикальной плоскости при выполнении ими захода на посадку.

Ближний (дальний) маркерный радиомаяк - наземное радиотехническое устройство, излучающее в пространство радиосигналы в вертикальной плоскости, содержащие информацию экипажу ВС момента пролета фиксированной точки на определенном расстоянии от порога ВПП.

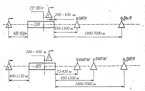
1.2.1 Требования к размещению элементов РМС

Антенная система КРМ должна быть размещена на продолжении осевой линии ВПП (рис. 3), со стороны направления, противоположного направлению захода ВС на посадку, на расстоянии до 1150 метров от порога ВПП. Боковое смещение антенной системы КРМ от осевой линии ВПП не допускается.

Сооружения КРМ не должны затенять огней приближения светосигнального оборудования аэродрома при полете ВС по установленной траектории снижения.

Антенная система ГРМ должна быть размещена у начала ВПП, как правило, со стороны грунтовой части летного поля аэродрома (со стороны, противоположной рулежным дорожкам и зданиям аэровокзального комплекса) на расстоянии 120- 180 метров от осевой линии ВПП и на расстоянии 200- 450 метров от порога ВПП (определяется расчетом) таким образом, чтобы обеспечивалась необходимая высота опорной точки РМС над порогом.

Антенна ближнего МРМ размещается на продолжении осевой линии ВПП на расстоянии 850- 1200 м от порога ВПП со стороны захода ВС на посадку. Допускается ее смещение не более ± 75 м от продолжения осевой линии ВПП.

Антенна дальнего МРМ размещается на продолжении осевой линии ВПП на расстоянии до 7000 м , но не ближе 3800 м от порога ВПП со стороны захода на посадку. Допускается ее смещение не более ± 75 м от продолжения осевой линии ВПП.

Антенна МРМ должна быть установлена на грунт или бетонное основание (без железной арматуры). В зоне радиусом 5 м от АФС МРМ не допускается расположение посторонних предметов и растительности высотой более 0,5 м . За границей указанной зоны, в радиусе 15 м от АФС МРМ не допускаются постройки и предметы высотой более 3 м , высота растительности и снежного покрова должны быть не более 1 м.

Рис.3.

Похожие работы на - Расчет и обоснование выбора конкурентоспособной системы посадки воздушного судна

 

Не нашли материал для своей работы?
Поможем написать уникальную работу
Без плагиата!
Без нейросетей!