Внедрение микропроцессорных средств вычислительной техники в связь

  • Вид работы:
    Курсовая работа (т)
  • Предмет:
    Информатика, ВТ, телекоммуникации
  • Язык:
    Русский
    ,
    Формат файла:
    MS Word
    167,93 Кб
  • Опубликовано:
    2012-11-26
Вы можете узнать стоимость помощи в написании студенческой работы.
Помощь в написании работы, которую точно примут!

Внедрение микропроцессорных средств вычислительной техники в связь

Введение

В последнее время наблюдается чрезвычайно быстрый рост производства и внедрения средств вычислительной техники в различные отрасли.

Вычислительная техника проникает в области человеческой деятельности, это от космических исследований и производственной сферы до медицины и повседневного быта. С ее помощью осуществляется решение трудоемких задач, что упрощает работу людей.

Первая электронная вычислительная машина использовалась в 1945 году для баллистических расчетов, предсказаний погоды и некоторых научно - технических вычислений. Спустя 20 лет уже насчитывали свыше 600 областей применения ЭВМ.

Основной причиной качественно - нового этапа в развитии вычислительной техники послужило появление, широкое внедрение микропроцессорных комплектов интегральных микросхем разной степени интеграции. Они имеют широкие перспективы применения в цифровых системах передачи, в телевидении и в другой аппаратуре связи.

Люди с давних времен столкнулись с необходимостью ускорения счетных процессов, для этого изобрели примитивные счеты, логарифмические линейки и другие.

ВТ так же получила широкое применение в технике связи. Это обуславливает изменение подготовки техникумов связи в области цифровых систем.

Основная цель внедрения микропроцессорных средств ВТ в связь заключается в повышении производительности труда работников этой отросли, улучшения качества обслуживания абонентов и клиентуры, расширения видов предоставляемых услуг.

Потребность человеческого общества в вычислительных машинах - одна из характерных черт современной научно - технической революции.

1.  Разработка структурной схемы ЦА-УПЧ

.1 Структурная схема ЦА-УПЧ

В А





















Рисунок 1. Структурная схема ЦА-УПЧ.

Каждое цифровое устройство состоит из микросхем, соединенных определенным образом. В данном случае это цифровой автомат умножитель положительных чисел. Он имеет входы А и В: по входу А предусматривается ввод четырехразрядного множимого, по входу В- двухразрядного множителя.

Умножитель положительных чисел состоит из двух шифраторов, двух КЦУ, сумматора и регистра, в котором хранится произведение чисел А и В.

1.2 Назначение цифровых устройств

Шифратором называется комбинационно - цифровое устройство, которое предназначено для преобразования десятичных чисел в двоичный код. Они используются в устройствах ввода информации в цифровое устройство. Шифраторы могут снабжаться клавиатурой, каждая клавиша которой связана с определенным входом шифратора. При нажатии клавиши подается сигнал на определенный вход шифратора и на его выходе возникает двоичный код, соответствующий символу на клавише.

Регистром называется последовательное цифровое устройство, которое предназначено для хранения и записи информации (чисел). Основная функция, выполняемая регистром, заключается в хранение одного многоразрядного числа. Регистр строится в виде набора триггеров, каждый из которых предназначен для хранения цифр определенного разряда двоичного числа. Таким образом, регистр для хранения n- разрядного двоичного числа должен содержать n- триггеров.

Комбинационно - цифровым устройством называется устройство, у которого выходные сигналы в момент времени ti зависят от комбинации входных сигналов, действующих в этот же момент времени ti и не зависят от входных сигналов, поступающих в предыдущее время.

Сумматор - это электронный узел, выполняющий операцию суммирования цифровых кодов двух чисел. При сложении двух чисел, представленных в виде двоичных кодов, происходит сложение этих двух чисел в данном i- разряде и прибавление единицы переноса (если она возникла) из младшего (i-1) разряда.

1.3 Умножение чисел А и В.

Умножить числа можно двумя способами:

1)           Выполним умножение двоичных чисел А и В в двоичной системе счисления. Операция умножения включает в себя определение знака и конечного значения произведения. В данном случае А=9, В=2.

)            

А=910=10012 А8=1; А4=0; А2=0; А1=1;

В=210=00102 В8=0; В4=0; В2=1; В1=0;

* 1001 - множимое число

- множитель

+ 0000

- произведение

S4=1; S3=0; S2=0; S1=1; S=0

) Выполним умножение чисел А и В другим способом. Он представляет собой сложение множимого числа В- раз, где В- это множитель.

P=A+A+...+A , где A+A+...+A=B

P - произведение чисел А и В

А - значение множимого числа

В - значение множителя

В нашем случае мы получим:

P=910+910=10012+10012=100102=1810

Для умножения чисел А и В используем первый способ.

2. Синтез КЦУ

.1 Синтез шифраторов А и В

Выполним синтез шифраторов в базисе ИЛИ-НЕ, то есть шифраторы будут выполнены на элементах ИЛИ-НЕ. При таком синтезе шифратор будет иметь инверсные выходы.

Таблица 2.

Входы

Выходной код 8421



Y8

Y4

Y2

Y1

0

0

0

0

0

1

0

0

0

1

2

0

0

1

0

3

0

0

1

1

4

1

0

0

5

0

1

0

1

6

0

1

1

0

7

0

1

1

1

8

1

0

0

0

9

1

0

0

1


 

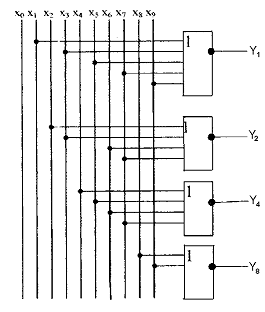
Рисунок 2

Y1=X1vX3vX5vX7vX9=X2vX3vX6vX7=X4vX5vX6vX7=X8vX9

2.2 Синтез регистров А и В

Рисунок 3.

На рис.3 представлен регистр параллельного действия, построенный на

синхронных D-триггерах. Отчистка производится при подаче единичного импульса на шину «установка 0». При записи подводится число в параллельной форме, после чего на шину «запись» подается импульс.

2.3 Синтез КУ-1 и КУ-2

Выполним синтез КУ-1 и КУ-2.

КУ-1 предназначено для формирования второго частного произведения. На выходах КУ-1 должно быть А1*В2; А2*В2; А3*В2; А4*В2.

КУ-2 предназначено для формирования первого частного произведения. На выходах КУ-2 должно быть А1*В1; А2*В1; А3*В1; А4*В1. Такие КЦУ можно получить, используя элементы И. Нужно четыре элемента И для каждого КУ.

А1А1

А1*В2А1*В1


А2А2

А2*В2А2*В1

А3А3

А3*В2А3*В1

А4А4А4*В1

А4*В2

В2В

Рисунок 4.Рисунок 5.

2.4 Синтез сумматора

Рисунок 6.

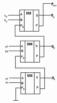
Сумматор параллельного действия состоит из отдельных разрядов, в нашем случае четырехразрядный сумматор параллельного действия, каждый из которых содержит одноразрядный сумматор. При подаче слагаемых цифры их разрядов поступают на соответствующие одноразрядные сумматоры. Каждый из одноразрядных сумматоров формирует на своих выходах цифру соответственного разряда суммы и перенос, передаваемый на вход одноразрядного сумматора следующего, старшего разряда.

3. Разработка принципиальной электрической схемы ЦА-УПЧ

.1 Выбор микросхемы шифраторов А и В.

Микросхема К555ИВ3 является наиболее подходящей. Она имеет девять инверсных входов (i1-i9) для подачи кодируемого сигнала, а также четыре инверсных выхода (А1-А4).

Таблица функционирования.

Вход

Выходы

I1

I2

I3

I4

I5

I6

I7

I8

I9

A8

A2

A1

1

1

1

1

1

1

1

1

1

1

1

1

1

X

X

X

X

X

X

X

X

0

0

1

1

0

X

X

X

X

X

X

X

0

Х

0

1

1

1

X

X

X

X

X

X

0

1

Х

1

0

0

0

X

X

X

X

X

0

1

1

Х

1

0

0

1

X

X

X

0

1

1

1

Х

1

0

1

0

X

X

X

0

1

1

1

1

Х

1

0

1

1

X

X

0

1

1

1

1

1

Х

1

1

0

0

X

0

1

1

1

1

1

1

Х

1

1

0

1

0

1

1

1

1

1

1

1

Х

1

1

1

0


Рисунок 7. УГО К555ИВ3

В исходном состоянии на всех входах и выходах присутствует логическая единица. При подаче на любой из входов напряжения низкого уровня появляется соответствующий двоичный код (активные уровни низкие). Если логический 0 (низкий уровень) присутствует сразу на нескольких входах, то тогда код на выходе будет соответствовать наибольшему номеру входа, на который подан логический 0.

.2 Выбор микросхемы регистров А и В

Регистры А и В предназначены для хранения и записи четырехразрядного числа. Они состоят из четырех триггеров.

Микросхема К555ТМ8 - регистр хранения информации, состоящая из четырех синхронных D-триггеров. Сброс всех триггеров в состояние Qn =H произойдет в том случае, когда синхронного сброса будет подано напряжение низкого уровня. Входы C и Dn, когда R=H, не действуют, их состояния безразличны (х).   Информацию с параллельных входов данных (D1-D4) можно загрузить в триггеры микросхемы, если на вход R подать напряжение высокого уровня, а на тактовый вход C следует подавать положительный перепад импульса и предварительно установленные на каждом входе D напряжения высокого или низкого уровня (В или Н) появятся на выходе Q (т.е. В или Н соответственно).

Таблица функционирования


R

C

Qn

Qn

Сброс

0

X

X

0

1

Загрузка 1

1

1

1

0

Загрузка 0

1

0

0

1

 

Рисунок 8. УГО К555ТМ8

3.3 Выбор микросхемы КУ-1 и КУ-2

КУ-1 и КУ-2 предназначены для формирования частичных произведений. Для КУ-1, КУ-2 вполне подходит микросхема К555ЛИ1, так как она имеет четыре элемента И.

Рисунок 9. УГО К555ЛИ1

 Таблица функционирования

Х1

Х2

Х1*Х2

0 0 1 1

0 1 0 1

0 0 0 1


.4 Выбор микросхемы сумматора

Выберем микросхему четырехразрядного сумматора параллельного действия, выполняющего сложение первого и второго частичных произведений. Микросхема К555ИМ6 является четырехразрядным двоичным сумматором. На входы А1-А8 подается код одного суммируемого числа, на входы В1-В8 код второго числа. На вход С- перенос от предыдущей микросхемы. Код суммы формируется на выходах S1-S8, перенос на выходе Р. У суммирующей микросхемы младшие разряды, вход С необходимо соединить с общим проводом. Из-за симметрии двоичной логики эту микросхему можно использовать как с высоко-, так и с низко - уровневой логикой.

Таблица 5.Таблица функционирования

C

A8

A4

A2

A1

B8

B4

B2

B1

S8

S4

S2

S1

S0

0

1

0

0

0

0

0

1

0

1

0

0

0

0

 

Рисунок 10. УГО К555ИМ6

.5 Выбор микросхемы регистра результата

Микросхема К555ТМ9 - это регистр хранения информации, состоящий из шести синхронных D-триггеров, у каждого из которых есть выход Q. По принципу действует эта микросхема так же, как микросхема К555ТМ8.

Таблица функционирования


R

Dn

Qn

СБРОС

0

Х

Х

0

ЗАГРУЗКА 0

1


1

1

ЗАГРУЗКА 1

1


0

0


.6 Разработка схемы запуска, клавиатуры и зануления

Для запуска цифрового автомата умножителя положительных чисел в работу, необходима схема запуска, которая из клавиатуры, подсоединенной шифраторами и двух RS-триггеров с кнопками. Каждый шифратор имеет свои отдельные кнопки. У микросхемы DD2 используются только первые три входа, а остальные не используются и напрямую подключаются к питанию. Кнопки, подсоединенные к шифратора, фиксируются, а к трем триггерам не фиксируются. Кнопки с фиксацией нужны для удобства записи числа в регистр.

В положении, когда кнопки отжаты, поступает положительный потенциал. При нажатии кнопки, т.е. при фиксации на вход шифратора, соединенного с кнопкой, поступает сигнал с низким уровнем напряжения, т. к. у шифратора низкие уровни, то на выходе получаем двоичный код.

При записи в регистры используются триггеры с кнопками. Триггеры нужны для подавления дребезга контактов. При нажатии кнопки триггер вырабатывает тактовый импульс, положительный переход которого запускает в работу регистры.

С помощью кнопки «Установка 0» осуществляется сброс во всех регистрах, т.е. происходит полное стирание данных из памяти. Кнопка выполняется не фиксируемой.

Рисунок 12. Схема клавиатуры

 

Рисунок 13. Схема запуска Рисунок 14. Схема зануления

4. Техническое описание принципиальной электрической схемы

При нажатии кнопки SB9, которая соответствует десятичному числу 9, на вход I9 микросхемы DD1 подается сигнал высокого уровня, а на выходе DD1 получим двоичный код 0110.

При нажатии кнопки SB12, которая соответствует десятичному числу 2, на вход микросхемы шифратора DD2 подается сигнал низкого уровня, а на выходе мы получаем двоичный код 1101.

Для того чтобы записать эти двоичные числа в регистры А и В (DD3 и DD4), нажимаем кнопку «запись», SB10. При этом на тактовый вход С будет подаваться положительный импульс и произойдет запись чисел в регистры А и В. Выходные сигналы будут сниматься с инверсных выходов.

Дальше оба числа поступают на КУ-1 (DD7.1-DD7.4) и КУ-2 (DD8.1-DD8.4). Причем на КУ-1 поступают старший разряд числа В и все разряды числа А, а на КУ-2 поступают младшие разряды числа В и все разряды числа А. В КУ-1 и КУ-2 образуются частичные произведения. Если на оба входа логического элемента «И» подать логическую единицу, то на выходе будет логическая единица, а если на одном из входов будет логический ноль, то на выходе будет логический ноль.

Далее частичные произведения, кроме А1*В1 поступают на сумматор (DD9), где происходит их суммирование.

Затем сумма частичных произведений и А1*В1 поступают на входы регистра (DD10). При нажатии кнопки SB14 «умножение» на тактовый вход С будет подан положительный переход импульса и произойдет запись суммы частичных произведений в регистр, где она и будет храниться.

Заключение

Основная цель внедрения микропроцессорных средств вычислительной техники в связь заключается в повышении производительности труда работников этой отросли, улучшения качества обслуживания абонентов и клиентуры, расширения видов предоставляемых услуг.

ЦА-УПЧ применяется для решения технологических задач сводящихся к категории умственного труда, например расчет за предоставленные услуги.

Единственный путь повышения производительности подобного труда заключается в автоматизации его на основе средств вычислительной техники.

Кроме того, использование средств вычислительной техники улучшает условия труда работников связи за счет уменьшения объема рутинных операций, связанных с предоставлением и учетом услуг связи.

микропроцессорный триггер сумматор

Литература

1. Б.А.Калабеков, И.А.Мамзелев «Цифровые устройства и микропроцессорные системы», М.,1987

.Е.Ю.Кузнецов, Б.В.Острецов, Ю.И.Егорова «Микрокалькуляторы», Издательство «Радио и связь», М., 1984г.

. В.А.Шило «Популярные Цифровые Микросхемы», справочник, М.,1989.

. М.Юшин «Цифровые микросхемы для электронных устройств», справочник,М.,1993.

1.      

Похожие работы на - Внедрение микропроцессорных средств вычислительной техники в связь

 

Не нашли материал для своей работы?
Поможем написать уникальную работу
Без плагиата!
Без нейросетей!