Разработка новых технологий нанесения антифрикционных покрытий на детали
Введение
Основными причинами выхода из строя деталей машин и металлоконструкций
являются процессы изнашивания и коррозия. Известно, что в результате
естественного изнашивания выходит из строя до 70 % деталей и их соединений.
Потери от коррозии также велики. Ежегодные потери металла от трения и износа в
высокоразвитых капиталистических странах составляют до 4 -5 % валового
национального дохода. Именно поэтому поиск путей снижения таких потерь актуален
и исследования сегодня ведутся по многим направлениям. Одно из них - разработка
новых технологий нанесения антифрикционных покрытий на детали, работающие в
условиях трения (подшипники, втулки, направляющие вкладыши и т.п.). Такие
покрытия должны обладать хорошей прирабатываемостью, износостойкостью, низким
коэффициентом трения и малым износом контактирующего материала.
Появлению антифрикционных свойств в условиях трения способствует наличие
в покрытиях таких металлов, как свинец, олово, или включения частиц
компонентов, обладающих смазочным действием (сульфид молибдена, сульфид
вольфрама).
Использование метода гальванического нанесения антифрикционных покрытий
из растворов позволяет проводить процесс при низких температурах и одновременно
обрабатывать большое количество деталей. Кроме того, за счёт использования специальных
приспособлений для крепления деталей, анодов сложной формы и экранов существует
возможность размерного нанесения покрытий, что устраняет необходимость
последующей механической обработки.
Высокими антифрикционными характеристиками обладает свинец. Высокая
коррозийная стойкость свинца в различных средах в сочетании с низким
коэффициентом трения позволяет использовать его плёнки для нанесения на
специальные подшипники качения и скольжения. Легирование свинца другими
металлами придаёт его поверхности новые свойства.
В промышленности распространены сплавы свинца с оловом. Сплавы,
содержащие до 5 - 25% олова, применяются как антифрикционные. Известным тройным
сплавом на свинцовооловянистой основе является сплав с сурьмой, обеспечивающий
хорошую прирабатываемость, большую износостойкость и стойкость против эррозии.
1. Структура и свойства антифрикционных гальванических покрытий на основе
свинца
.1 Методы нанесения сплавов на основе свинца гальваническим методом
В качестве антифрикционных материалов в машиностроении
в качестве покрытий вкладышей подшипников скольжения широко применяют
легкоплавкие сплавы на основе олова, свинца (т.н. баббиты). Баббиты имеют и
минимальный коэффициент трения со сталью и хорошо удерживают смазку, кроме
того, применение мягких легкоплавких подшипниковых сплавов обеспечивается
меньший износ шейки вала.
На основе опытов эксплуатации и результатов
исследований установлено, что структура баббита оказывает значительное влияние
на долговечность работы подшипников скольжения. Как показали механические
испытания, прочность и твердость баббитов с мелкозернистой структурой на 20 %
выше, чем с крупнозернистой.
Стационарная заливка баббитов не позволяет получить
мелкозернистой структуры из-за малой скорости охлаждения вкладыша подшипника.
При центробежной заливке на формирование структуры оказывает влияние различие
удельных весов компонентов баббита. Особенно сильно это проявляется в
свинцовистых баббитах, в которых наблюдается ликвация в направлении корпуса
подшипника и значительная структурная неоднородность по толщине слоя баббита.
Получение покрытий баббитов на подшипниках скольжения
электохимическими методами позволяет управлять структурой покрытия. Например:
зернистость структуры покрытия получаемого из фторборатных электролитов регулируется
количеством столярного клея, входящего в состав электоролита; содержание свинца
в сплаве регулируется изменением плотности тока. Поэтому в последнее время
интенсивно развиваются технологии нанесения покрытий и восстановление покрытий
баббитов электролитическими методами, которые позволяют значительно увеличить
скорость нанесения покрытий и повысить качество покрытий.
Свинцово-оловянистые покрытия могут быть нанесены из
фторборатных, кремнефторидных, пирофосфатных, фенолсульфоновых, сульфоматных и перлхлоратных
электролитов (таблица 1). Наибольшее распространение получили фторборатные
электролиты (таблица 2).
Таблица 1 Состав электролитов для осаждения свинцово-оловянистых сплавов
|
Компоненты электролита и
режимы осаждения
|
Электролиты
|
|
кремнефторидный
|
пирофосфатный
|
фенолсульфоновый
|
сульфаматный
|
|
Состав, г/л:
|
|
|
|
|
|
свинца кремнефторид
|
100-150
|
-
|
-
|
-
|
|
олова кремнефторид
|
15-20
|
-
|
-
|
-
|
|
кремнефтористоводородная
|
60-100
|
-
|
-
|
-
|
|
олова пирофосфат
|
-
|
20-22
|
-
|
-
|
|
свинца нитрат
|
-
|
15-18
|
-
|
-
|
|
натрия пирофосфат
|
-
|
120
|
-
|
-
|
|
свинец фенолсульфоновый
|
-
|
-
|
100-130
|
-
|
|
олово фенолсульфоновое
|
-
|
-
|
25
|
-
|
|
парафенолсульфоновоя
кислота
|
-
|
-
|
60-95
|
-
|
|
свинца сульфамат
|
-
|
-
|
-
|
40
|
|
олова сульфамат
|
-
|
-
|
|
105
|
|
сульфаминовая кислота
|
-
|
-
|
-
|
40
|
|
столярный клей
|
1
|
-
|
-
|
-
|
|
пептон
|
-
|
-
|
-
|
2
|
|
желатин
|
-
|
-
|
2
|
-
|
|
Режимы осаждения
|
|
|
|
|
|
катодная плотность тока,
А/дм2
|
5
|
0,5-4
|
1-2
|
1-2
|
|
анодная плотность тока,
А/дм2
|
2-3
|
0,1-1
|
1-2
|
18-25
|
|
температура, 0С
|
18-25
|
60
|
20-40
|
50-60
|
|
содержание олова в сплаве,
%
|
10
|
1-12
|
8-10
|
3-10
|
Как отмечалось ранее, введение в свинцово-оловянистые сплавы небольшого
количества третьего компонента позволяет улучшить их свойства и расширить
область их применения. Наиболее известны из применяемых тройных сплавов на
свинцово-оловянистой основе - сплавы с медью, сурьмой, цинком и кадмием.
Таблица 2 - Состав фторборатных электролитов для осаждения
свинцово-оловянистых сплавов
|
Состав электролита и режим
осаждения
|
№ 1
|
№ 2
|
№ 3
|
|
Свинца фторборат, г/л
|
100-200
|
45-50
|
50-60
|
|
Олова фторборат, г/л
|
25-75
|
40-50
|
20-25
|
|
Кислота борфторводородная,
г/л
|
40-100
|
40-75
|
100-150
|
|
Клей столярный, г/л
|
1-3
|
3-5
|
1
|
|
Кислота борная, г/л
|
-
|
25-35
|
-
|
|
Катодная плотность тока,
А/дм2
|
до 2
|
08-1
|
4-5
|
|
температура, 0С
|
15-25
|
18-25
|
18-25
|
|
Содержание олова в сплаве
|
5-17
|
40-60
|
18-25
|
|
Аноды
|
Сплав Pb-Sn
|
Pb
|
Pb/ Sn = 7/3
|
Для нанесения антифрикционных покрытий на детали подшипников скольжения с
успехом применяют свинцово-оловянистые сплавы, содержащие медь и сурьму. Эти
сплавы обеспечивают хорошую прирабатываемость покрытия, его хорошую
износостойкость и стойкость против эрозии. Обычный состав сплавов: 90 - 93% Pb, 6 - 9% Sn, 0.7 - 2 % Cu; 82
% Pb, 11 % Sn, 7 % Sb.
Для электроосаждения всех тройных сплавов применяют, как правило, в
фторборатные электролиты (смотри таблицу 3).
Фторборатные электролиты готовят растворением солей свинца и олова в
борфтористоводородной кислоте с последующей добавкой столярного клея.
Фторборатные электролиты применяются в тех случаях, когда не требуется
высокая рассеивающая способность, но имеют значение большая скорость осаждения
и высокое качество покрытий.
Таблица 3 - Состав электролитов и режимы осаждения тройных сплавов на
свинцово-оловянистой основе
|
Состав электролита и режим
осаждения
|
Электролит для осаждения
тройного сплава
|
|
с Zn
|
с Cu
|
с Sb
|
|
Состав, г/л:
|
|
|
|
|
свинца фторборат
|
100-180
|
100-120
|
100
|
|
олова фторборат
|
12-15
|
25-75
|
30
|
|
цинка оксид
|
0.3-0.6
|
-
|
-
|
|
сурьмы фторборат
|
-
|
-
|
5-6
|
|
меди фторборат
|
-
|
18-20
|
-
|
|
кислота борфторводородная,
|
45-180
|
40-60
|
80
|
|
кислота борная
|
-
|
-
|
25
|
|
столярный клей
|
1-2
|
1-3
|
-
|
|
гидрохинон
|
-
|
-
|
0.5
|
|
пептон
|
-
|
15
|
15
|
|
Режимы осаждения
|
|
|
-
|
|
катодная плотность тока,
А/дм2
|
1.0-1.5
|
0.5
|
4
|
|
температура, 0С
|
18-25
|
18-25
|
18-25
|
. К преимуществам фторборатных электролитов можно отнести:
). высокую скорость осаждения металла;
). приблизительно 100% -ный катодный и анодный выход потоков;
). мелкозернистую структуру осадков;
). простоту состава и приготовление электролита, а так же высокую
стабильность его работы;
). высокую электропроводность и кроющую способность;
). возможность ведения электролиза при комнатной температуре.
Недостатки фторборатных электролитов:
). низкая рассеивающая способность;
). склонность к дентритообразованию;
). необходимость применения специальных материалов для изготовления ванн
и непригодности стеклянного электрода для контроля рН;
). сложность приготовления электролита и содержания в нем токсичной
плавиковой и борной кислот.
Осаждение сплавов производиться с раздельными анодами из сплава
олово-свинец. Элекролизоры могут быть изготовлены из эбонита, винипласта, а
также из стали, футированной полиэфирной смолой или гуммированной.
Осаждение сплавов свинец-олово можно производить способом
электронатирания. Пропитанный электролитом тампон с помощью угольного электрода
подключается к положительному, а покрываемая деталь к отрицательному полису
источника постоянного тока. При непрерывном перемещении тампона (анода) по
поверхности детали получаются равномерные покрытия требуемой толщины.
Было установлено, что состав осадков сплавов свинец-олово,
свинец-олово-сурьма зависит от соотношения концентрации металла в растворе;
содержание свинца в сплаве снижается с повышением плотности тока. Присутствие в
электролите 1 - 5 г/л клея способствует образованию мелкозернистой структуры
сплавов.
.2 Структура и триботехнические свойства сплавов на основе свинца
К наиболее распространённым легкоплавким подшипниковыми
сплавам относятся сплавы системы Pb - Sb, Sn - Sb и Pb - Sn - Sb, а
также цинковые баббиты на основе цинка (с добавками меди и алюминия) и
алюминиевые баббиты на основе алюминия (с добавками меди, никеля, сурьмы). В
таблице 4 приведены химический состав, а также механические свойства и
назначение наиболее часто применяемых сплавов на основе олова и свинца,
получивших название баббиты. Баббиты имеют низкую прочность σв= 60 - 120 МПа, НВ 13 - 35,
невысокую температуру плавления (220 - 320 °С), повышенную размягченность HВ 100 - 250 МПа при 100 °С, отлично
прирабатываются и обладают хорошими антифрикционными свойствами.
Приведенные в таблице 4 составы баббитов можно
разделить на три группы. К первой относятся оловянносурьмяные (Б83 и Б89) ко
второй - свинцовооловянносурьмяные (Б6, БТ, БН, Б16), к третьей - свинцовые
баббиты, не содержащие олова.
В системе Sn-Sb олово имеет низкую твердость - около
НВ 5. Оптимальной композицией будет сплав, состоящий из 13% Sb и 87% Sn, имеющий двухфазную структуру α + β', где α - твердый раствор на базе олова
(мягкая основа), β' - твердый раствор на базе интерметаллидного
соединения SnSb (твердые включения) с высокой
твердостью. Таким образом, сурьма упрочняет основу оловянных антифрикционных
сплавов и создает опорные включения высокой твердости в виде химических
соединений.
Медь в состав баббитов вводят с целью предупреждения
ликвационных дефектов, связанных с различной плотностью сурьмы и олова. Она
образует с сурьмой химическое соединение Cu3Sn, которое имеет
более высокую температуру плавления и при охлаждении кристаллизуется первым,
образуя разветвленные дендриты, не препятствующие ликвации кубических
кристаллов β-фазы (SnSb).
Кроме того, кристаллы Cu3Sn образуют в баббите твердые
включения, дополнительно повышающие износостойкость вкладышей.
Таблица 4- Химический состав, структура и механические
свойства антифрикционных баббитов
|
Марка
|
Содержание основных
элементов, %
|
Структура
|
Механические свойства
|
|
Sn
|
Sb
|
Cu
|
Pb
|
проч.
|
сумма прим.
|
осн.
|
тв. включ.
|
плотн г/см3
|
α
106
|
tпл, оС
|
σв, МПа
|
δ,%
|
|
Б83
|
Осн
|
10-12
|
5,5-6,5
|
-
|
-
|
0,55
|
Sn
|
Sn Sb, Cu3Sn
|
7,4
|
21
|
380
|
90
|
6
|
|
Б89
|
Осн
|
7-8
|
2.5-3.5
|
-
|
-
|
0,55
|
Sn
|
Cu3Sn
|
7,3
|
21
|
342
|
90
|
9
|
|
Б6
|
5-6
|
14-16
|
2.5-3.0
|
Осн.
|
1,7-2,2 Cd
|
0,4
|
Pb
|
SnSb, Cu3Sn
|
9,6
|
21
|
460
|
70
|
0,5
|
|
БТ
|
9-11
|
14-16
|
0.7-1.1
|
Осн.
|
0.05-0.2 Te
|
0,6
|
Pb
|
SnSb
|
-
|
23
|
-
|
80
|
2
|
|
БН
|
9-11
|
13-15
|
1.5-2.0
|
Осн.
|
0.5-0.9 As
0.75-1.2 Ni 1.25-1.7 Cd
|
0,35
|
Pb
|
SnSb, SnAs2
|
9,5
|
-
|
400
|
70
|
1
|
|
Б16
|
15-17
|
15-17
|
1.5-2.0
|
Осн.
|
-
|
0,6
|
Pb
|
SnSb, Cu3Sn
|
9,3
|
24
|
410
|
80
|
0,5
|
|
БС
|
-
|
16-18
|
1.01.5
|
Осн
|
-
|
0,5
|
Pb+Sb
|
Sb
|
26
|
410
|
40
|
0,5
|
|
БК
|
-
|
-
|
-
|
Осн
|
0.85-1.2 Ca 0.6-0.9 Na
|
0,7
|
Pb
|
Pb3Ca,
Pb3Na
|
10,5
|
26
|
470
|
100
|
2,5
|
Так как олово - дорогой и дефицитный элемент,
оловянные баббиты применяют только в особо ответственных случаях. Для
подшипников более широкого применения в баббиты в значительных количествах
вводят свинец и понижают содержание олова до 6 - 10 % или совсем его не вводят.
В таких сплавах основой служит уже свинец.
Свинец имеет твердость около HB 3, сурьма около HB 30. Эвтектика состоит из 13 % Sb и 87 % Рb, твердость около HB 7 - 8. Доэвтектические сплавы, т. е. имеющие структуру эвтектика +
свинец, слишком мягки, и лучшими являются заэвтектические сплавы, содержащие 16
- 18% Sb. Мягкой основой является эвтектики α +
β (мягкая
составляющая), а твердыми включениями - β (SnSb), Cu3Sn и Cu2Sb, количество которых составляет около 5% общего объема сплава
(рисунок 1).
Рисунок
1 - Схема работы вала с вкладышем
Баббиты
второй группы кроме олова, сурьмы и меди, содержат еще добавки других
компонентов. Назначение этих присадок различное - никель упрочняет α-раствор, что уменьшает износ, аналогично влияет и
кадмий . Кадмий с мышьяком (сплав БН) образует соединения AsCd,которые
служат зародышами для формирования соединения SnSb (β-фазы).
Мышьяк увеличивает жидкотекучесть (облегчается заливка вкладыша). Роль теллура
и мышьяка - образовывать мелкие твердые включения (ТеРb и AsPb),
повышающие износоустойчивость баббита.
Оловянносурьмяные баббиты (Б83 и Б89) являются
наилучшими. Оловянная основа вязкая и пластичная и менее склонна к усталостному
разрушению. На втором месте стоит оловянносвинцовосурьмяный баббит (Б16), в
котором мягкая основа - свинец. Оловянносвинцовосурьмяные баббиты значительно
дешевле оловянносвинцовых, а по качеству уступают им ненамного. Хуже свинцовосурьмяный
баббит (БС), основой которого является недостаточно пластичная эвтектика.
На железнодорожном транспорте также применяют
кальциевые баббиты, БК2, БК2Ш, содержащие кальций (0,90 - 1,15 %), натрий (0,7
- 0,8 %), олово (1,5 - 2,0 %) магний (0,5 - 0,15 %), остальное свинец. Их
мягкой составляющей является α-фаза (твердый раствор Na и Са в Рb), а твердой составляющей - кристаллы Рb, Са. Натрий и другие элементы,
вводимые в сплав, повышают твердость α-раствора.
Дефицитность олова, а также свинца заставляет
изыскивать и применять сплавы на другой, менее дефицитной основе (цинка,
алюминия).
В качестве цинковых подшипниковых сплавов применяют
сплавы марки ЦАМ10-5 и ЦАМ5-10.
Вследствие высоких антифрикционных свойств и
достаточной прочности эти сплавы могут заменить бронзы для узлов трения,
температура которых не превышает 100 оС, но эти сплавы уступают баббитам на
оловянной основе по пластичности, коэффициенту трения и коэффициенту линейного
расширения и примерно равноценны свинцовистым баббитам.
Повышенные антифрикционные свойства и высокое
сопротивление усталостным разрушениям обеспечивают новые триметаллические
подшипники. Наиболее распространенные композиции трехслойных вкладышей состоят
из стальной основы, промежуточного пористого медноникелевого или порошкового
слоя и баббита, заполняющего поры промежуточного слоя и образующего рабочий
поверхностный слой толщиной до 100 мкм.
1.3 Обзор предварительных результатов лабораторных триботехнических
испытаний тройных сплавов Pb-Sn-Sb
С целью прогнозирования эксплуатационных свойств покрытий в узлах
подшипников скольжения коренных шеек коленчатого вала двигателя внутреннего
сгорания в условиях пуска триботехнические свойства исследовались в режиме
граничного трения на машине трения СМТ-1 по схеме вал - частичный вкладыш.
Частичные вкладыши были изготовлены из стали 45 (HRC 58-60) и на них были нанесены покрытия
олово-свинец-сурьма. Испытания по определению интенсивности изнашивания и
коэффициента трения проводились на машине трения СМТ-1 при нагрузке F=400 Н, что обеспечивало давление на
пятне контакта P=2 МПа, и
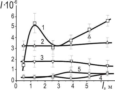
скорости 0,6 м/с. При анализе графиков зависимости интенсивности изнашивания
(рисунок 2), коэффициента трения и микротвёрдости (рисунок 3) покрытий Sn-Pb-Sb от содержания
сурьмы были выявлены экстремальные зависимости этих триботехнических
характеристик.
Так на рисунке 2 видно, что минимальным износом при граничном трении
обладает покрытие с массовым содержанием соли сурьмы в электролите CSb=14,1 г/л. Интенсивность изнашивания
для этого покрытия составляет Im =
0,73 кг·10-9/м, что в два раза ниже интенсивности изнашивания базового покрытия
Sn-Pb (Im = 1,48
кг·10-9/м), и приблизительно на 30% ниже интенсивности изнашивания покрытия с
содержанием сурьмы CSb=23,4 (Im = 1,05 кг·10-9/м). Это же покрытие
обладает максимальной микротвёрдостью H50 = 103 МПа.
Минимальным коэффициентом трения обладают покрытия с содержанием сурьмы CSb=14,2 - 18,8 г/л (f = 0,0125).
Таким образом из диаграмм, представленных на рисунках 2 и 3 видно, что
зависимости триботехнических характеристики и механических свойств покрытий Sn-Pb-Sb от содержания
солей сурьмы в электролите находятся в корреляционной зависимости и имеют свои
оптимальные значения при при массовой концентрации CSb=14,2 - 18,8 г/л.
Рисунок 2 - Диаграмма зависимости интенсивности изнашивании покрытий Sn-Pb-Sb при граничном
трении
Рисунок 3 - Диаграммы зависимости микротвёрдости и коэффициента трения
покрытий Sn-Pb-Sb от содержания сурьмы при граничном трении.
Трёхкомпонентные покрытия Pb-Sn-Sb толщиной 50 мкм с оптимальной концентрацией Sb в электролите 14,2 г/л, наносились
из борфтористоводородного электролита с использованием постоянного (образцы
серии I) и импульсного (образцы серии II) источников тока. Плотность тока
поддерживалась на уровне 4 А/дм2. Импульсное электроосаждение проводилось при
частоте 1 кГц и скважности 8 [19].
С помощью рентгенофлюоресцентного микроанализатора установлено, что при
осаждении на импульсном токе покрытие содержит примерно в два раза больше
сурьмы и олова (12 и 28 масс. % соответственно), чем покрытия, осажденные на
постоянном токе.
Как показано в результате испытаний, триботехнические свойства покрытий,
нанесенных как на импульсном, так и на постоянном токах, мало отличаются (рис.
4 и табл. 5). Коэффициенты трения образцов обеих серий близки (0.025 - 0.030),
однако, если для покрытия, полученного при использовании импульсного тока он
постоянен, то для покрытия, осажденного на постоянном токе, он меняется в
процессе испытаний, стабилизируясь примерно к 7-8 мин от их начала. В то же
время при более длительных испытаниях, при одинаковом пути трения, равном 7200
м, наблюдаются весьма значительные изменения в износостойкости покрытий:
массовая интенсивность изнашивания покрытия из серии II (Im=0.125 · 10-5
г/м) примерно на порядок меньше (Im=1.514
· 10-5 г/м) интенсивности изнашивания покрытия сплавом Pb-Sn-Sb из серии I. Установлено также, что износ контртела - вала из закаленной
стали, находящегося в сопряжении с исследуемыми покрытиями, ниже в паре трения
с покрытием, нанесенным при использовании импульсного тока, примерно в 20 раз.
Рисунок 4 - Изменение коэффициента трения с течением времени в процессе
испытаний покрытий Pb-Sn-Sb.
Таблица 5 - Результаты триботехнических испытаний покрытий Pb-Sn-Sb, полученных на
постоянном и импульсном токах, при разной длине пути трения
|
Наименование показателя
|
Покрытие Pb-Sn-Sb,
осажденное на постоянном токе
|
Покрытие Pb-Sn-Sb,
осажденное на импульсном токе
|
|
900 м
|
7200 м
|
7200 м
|
21600 м
|
|
Масса образца до испытания,
г
|
15. 095
|
14. 754
|
12.868
|
15.450
|
|
Масса образца после
испытания, г
|
15.091
|
14.645
|
12.859
|
15.407
|
|
Массовый износ покрытия , г
|
0.004
|
0.109
|
0.009
|
0.043
|
|
Интенсивность изнашивания
покрытия, г ×10-5
|
44.4
|
1.514
|
0.125
|
0.208
|
Значения микротвердости для образцов с покрытиями обеих серий примерно
одинаковы (около 60 МПа) при нагрузке 50 г, и несколько отличаются (около 60 и
80 МПа для покрытий из серии II и I соответственно) при нагрузке 100 г.
Шероховатость покрытий до испытаний составляет 0.46-0.53 для покрытий I и 0.76 для покрытий II, а после испытаний снижается до 0.47
мкм для обоих типов покрытий.
Интенсивность изнашивания стального закалённого контртела в паре трения с
покрытием Pb-Sn-Sb, нанесённом на
импульсном источнике тока (Im =
7·10-7 г/м), также меньше интенсивности его изнашивания в паре трения с покрытием,
нанесённым на постоянном токе (Im =
12·10-7 г/м) (см. табл. 6).
Причём при работе вала из закалённой стали в паре трения с гальваническим
покрытием Pb-Sn-Sb, нанесённом на
импульсном источнике тока износ вала в 20 раз ниже износа покрытия.
Таблица 6 - Износ ролика при испытании покрытий Рb-Sn-Sb
|
Наименование показателя
|
Покрытие, нанесенное на
постоянном источнике тока
|
Покрытие, нанесенное на
импульсном источнике тока
|
|
Масса образца до испытания,
г
|
110,283
|
110,277
|
|
Масса образца после
испытания, г
|
110,277
|
110,272
|
|
Массовый износ образцов, г
|
0,009
|
0,005
|
|
Массовая интенсивность
изнашивания ролика, г·10-6/м
|
1,2
|
0,7
|
Рисунок
5 - График зависимости микротвердости от нагрузки
На
рисунке 5 показаны результаты измерения микротвёрдости.
Большие значения доверительных интервалов изменения микротвердости при
нагрузке на индентор менее 40 г дают основание предположить о том, что
поверхности покрытий не являются однородными. Значения их микротвёрдости
варьируются в широких пределах от 50 до 100 МПа в различных локальных участках
поверхности (см., рисунок 5). Из сравнения микротвердости покрытий видно, что
микротвердости гальванических покрытий Pb-Sn-Sb измеренные при нагрузке 50 г, имеют
равные значения. Микротвёрдость покрытия нанесенного при постоянном токе H50 = 58,97±9,18 МПа, на импульсном источнике - H50 = 61,0±6,55 МПа.
При дальнейшем увеличении нагрузки микротвердость покрытия нанесенного
при постоянном токе увеличивается H100 = 79,43±8,69,
что, вероятно, связано с влиянием твёрдости подложки при бóльших значениях внедрения индентора.
Микротвёрдость покрытия, нанесённого на импульсном источнике от нагрузки на
индентор не зависит - H100 =
59,01±2,95 МПа.
На рисунке 6 представлены микроснимки поверхности исходных покрытий Pb-Sn-Sb. Видно, что
покрытия эти обладают сильно развитой пористой поверхностью с размерами пор 5 -
20 мкм в ширину.
а) б)
а - исходное покрытие Pb-Sn-Sb, нанесенное при постоянном токе;
б - исходное покрытие Pb-Sn-Sb, нанесенное при импульсном токе;
Рисунок 6 - Изображения
оптической микроскопии поверхности исходных покрытий Pb-Sn-Sb.
Исследование морфологии поверхности образцов до и после испытаний, а
также после металлографического травления на сканирующем электронном микроскопе
показало, что морфология исходной поверхности образцов достаточно близка.
Травление выявляет разницу в микроструктуре поверхности: у образцов, полученных
на постоянном токе, она более сглаженная и в то же время имеются ямки травления
чаще всего представляющие собой удлиненные канавки. На поверхности образца,
осажденного на импульсном токе, отчетливо просматриваются зерна покрытия, а
также равномерно распределенные узкие каверны. Электронно-микроскопический
анализ поверхности дорожки трения показывает, что у образца из серии I она достаточно рыхлая, четкие
границы зерен отсутствуют, зерна исходного покрытия пластически деформированы
вдоль пути трения. При исследовании морфологии поверхности дорожки трения
образца, осажденного при использовании импульсного тока, видно, что, наряду с
незначительным количеством областей, сходных по морфологии с образцом из серии I, большая часть поверхности занята
областями с достаточно плотно упакованными недеформированными зернами,
характерными для исходного образца.
На участках профилограмм (см. рисунок 7) видно, что глубина пор на
покрытии, нанесённом на постоянном токе, достигает 0,5 мкм (рисунок 7, а).
Шероховатость этих покрытий составляет Ra = 0,46…0,53 мкм.
Покрытия, нанесённые на импульсном источнике, отличаются большей
шероховатостью Ra до 0,76 мкм.
Размеры пор 20 мкм в ширину и 0,5 … 0,7 мкм в глубину (рисунок 7, б).
а) б)
а - исходное покрытие Pb-Sn-Sb, нанесенное при постоянном токе;
б - исходное покрытие Pb-Sn-Sb, нанесенное при импульсном токе;
Рисунок 7 - Фрагменты
профилограмм поверхности исходных покрытий Pb-Sn-Sb.
После испытаний шероховатость снижается до 0.47 мкм для обоих типов
покрытий.
В результате триботехнических исследований гальванических покрытий из
тройных сплавов Pb-Sn-Sb с различным содержанием солей сурьмы в электролите было
установлено, что интенсивность изнашивания трехкомпонентного сплава Pb-Sn-Sb от содержания Sb(BF4) в растворе электролита при сухом трении имеет
экстремальную зависимость (см. табл. 7, рисунок 8). Минимальной интенсивностью
изнашивания обладает покрытие, сформированное из электролита с содержанием соли
сурьмы в электролите CSb=0.025
моль/л. Износ для этого покрытия составляет НУД = 1,33 мкм/м, что в 6 раз ниже
интенсивности изнашивания покрытия из двойного сплава Sn-Sb (НУД = 8
мкм/м).
Таблица 7 - Результаты триботехнических испытаний покрытий Pb-Sn, Pb-Sn-Sb
|
Покрытие
|
Содержание Sb(BF4)
в р-ре электролита
|
Нагрузка, г
|
Длина дорожки lдор,
мм
|
Путь трения Lтр,,
м
|
Глубина дорожки трения H,мкм
|
Удельн. глуб.Hуд,
мкм/м
|
Число циклов n
|
|
Pb-Sn
|
не содержит
|
150
|
13
|
3,25
|
26
|
8
|
250
|
|
Pb-Sn-Sb №1
|
0.025 моль/л
|
150
|
13
|
15,028
|
20
|
1,33
|
1156
|
|
Pb-Sn-Sb №2
|
0.037 моль/л
|
150
|
13
|
3,25
|
22
|
6,77
|
250
|
|
Pb-Sn-Sb №3
|
0.049 моль/л (стандарт)
|
150
|
13
|
5,85
|
13
|
2,22
|
450
|
|
Pb-Sn-Sb №4
|
0,061 моль/л
|
150
|
13
|
5,2
|
21
|
4,04
|
400
|
Рисунок 8 - Зависимость удельной глубины дорожки трения от концентрации Sb в электролите
Анализ микроснимков дорожек трения покрытий Pb-Sn и Pb-Sn-Sb (см. рисунок 9)
показал, что основным механизмом изнашивания покрытия является микросхватывание
и образование слоев переноса. При этом изнашивание покрытий из тройных сплавов
является более равномерным.
а) б) в) г) д)
Pb-Sn Pb-Sn-Sb № 1 Pb-Sn-Sb № 2 Pb-Sn-Sb № 3 Pb-Sn-Sb № 4
Рисунок 9 - Микроснимки дорожек трения покрытий Pb-Sn и Pb-Sn-Sb
после
испытаний в режиме сухого трения
В ходе триботехнических испытаний покрытий из сплавов Pb-Sn, Pb- Sn-Sb при граничном трении было установлено, что массовая
интенсивность изнашивания покрытий из тройного сплава в 2 - 2,5 раза меньше
массовой интенсивности изнашивания покрытия из двойного сплава. Результаты
триботехнических испытаний при граничном трении представлены в таблицах 8 и 9.
Таблица 8 - Результаты триботехнических испытаний покрытия Pb-Sn
|
Наименование показателя
|
Образец №1
|
Образец №2
|
Образец №3
|
|
Масса образца до испытания,
г
|
15,69860
|
16,40785
|
16,45855
|
|
Масса образца после износа
покрытия, г
|
15,69635
|
16,40410
|
16,45525
|
|
Массовый износ покрытия, г
|
0,00225
|
0,00375
|
0,00330
|
|
Интенсивность изнашивания
покрытия, ∙10-7 г/м
|
15,98
|
26,64
|
23,44
|
|
Средняя интенсивность
изнашивания покрытия, ∙10-7 г/м
|
22,02
|
|
Масса образца после
испытания, г
|
15,68235
|
16,38535
|
16,44080
|
|
Массовый износ образцов, г
|
0,01625
|
0,02250
|
0,01775
|
|
Интенсивность изнашивания, ∙10-7
г/м
|
28,86
|
39,96
|
31,52
|
|
Средняя интенсивность
изнашивания, ∙10-7 г/м
|
33,45
|
Таблица 9
Результаты триботехнических испытаний покрытия Pb-Sn-Sb
|
Наименование показателя
|
Образец №1
|
Образец №2
|
Образец №3
|
|
Масса образца до испытания,
г
|
16,74625
|
15,91675
|
16,57845
|
|
Масса образца после
испытания, г
|
16,73940
|
15,90725
|
16,57215
|
|
Массовый износ образцов, г
|
0,00685
|
0,00950
|
0,00630
|
|
Интенсивность изнашивания, ∙10-7
г/м
|
12,16
|
16,87
|
11,19
|
|
Средняя интенсивность
изнашивания,∙10-7 г/м
|
13,4
|
Также была установлена зависимость коэффициента трения покрытий из
сплавов Pb-Sn, Pb-Sn-Sb от времени. Результаты испытаний представлены на графиках 10
и 11.
Рисунок 10 - Изменение коэффициента трения с течением времени при
испытании покрытия Pb-Sn
Рисунок
11 - Изменение коэффициента трения с течением времени при спытании покрытия Pb-Sn-Sb
Из графика 11 видно, что при трении Pb-Sn-Sb время приработки мало, коэффициент
трения постепенно снижается. По истечении 15 мин он выходит на установившийся
режим и не превышает 0,01-0,02.
При трении Pb-Sn, наоборот, коэффициент трения
увеличивается и необходимо больше времени, чтобы режим трения установился (f=0,03 - 0,045). Из таблиц 8 и 9
видно, что интенсивность изнашивания покрытия Pb Sn-Sb в 2,4 раза
меньше, чем покрытия Pb-Sn.
2. Методики проведения испытаний
.1 Методики триботехнических испытаний
Исследование триботехнических параметров покрытий можно осуществлять
различными методами с использованием разных схем испытаний. При оценке
прочностных параметров нового типа материалов на первых этапах исследования,
как правило, сопоставляются и анализируются результаты испытаний по разным
схемам и выбирается наиболее оптимальный вариант, используемый в дальнейшем. По
результатам анализа существующих методик, схем испытания и технических
характеристик трибометров, наиболее пригодными для испытаний гальванических
покрытий приняты машина трения СМТ-1 (схема испытаний частичный вкладыш - ролик
и плоскость - ролик по стандарту ASTM)
и лабораторный микротрибометр ММТ (схема испытаний шар - плоскость).
Методика испытаний по схеме шар-плоскость преимущественно применяется для
исследования триботехнических характеристик тонких покрытий при низких
скоростях скольжения и больших (за счёт малой площади контакта) контактных
давлений в зоне трения. Возможны испытания как при сухом трении, так и в среде
смазки. Методика не является стандартизированной, однако, позволяет оценить
потери массы образца за фиксированное время испытаний и сделать предварительный
прогноз об относительной износостойкости.
Методика данного эксперимента включает возможность регистрации коэффициента
трения в процессе эксперимента, измерения объёмного износа покрытия на шаровом
инденторе методом вычисления объёма шарового сегмента по среднему диаметру
пятна износа.
, (1)
, (2)
где
<d> - средний диаметр пятна износа,
R - радиус
шарового индентора;
а
также измерения глубины и ширины дорожки трения на подложке методами
профилометриии и оптической микроскопии.
Схема
возвратно-поступательного микротрибометра ММТ приведена на
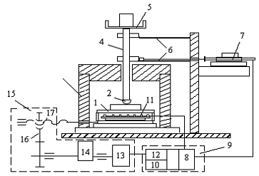
рисунке 12.
1 плоский образец; 3 термокамера; 5 калиброванный
груз; 7 система измерения силы трения; 9 пульт управления; 11
блок измерения контактного сопротивления; 13 двигатель; 15 механизм
перемещения; 2 держатель зонда; 4 механизм нагружения; 6 упругие
элементы; 8 - механизм перемещения; 10 блок регулирования скорости; 12
нагревательный элемент; 14 редуктор; 16 17 привод.
Рисунок 12 - Схема микротрибометра ММТ
Нагрузка на сферический образец задаётся установкой соответствующих
калиброванных грузов - 5.
Регистрация силы трения основана на измерении деформации упругих элементов - 6 связанных с держателем
сферического образца с помощью прибора для измерения малых перемещений типа
275-01 Московского завода "Калибр". Механизм перемещения -8 создан на базе реверсивного
двигателя - 13 через
кинематическую цепь, включающую редуктор - 14, ременную передачу - 16, пару винт-гайка -17, обеспечивает возвратно-поступательное перемещение
держателя плоского образца с возможностью плавного регулирования скорости
скольжения. Электронные блоки регулирования скорости перемещения -10, подвижного образца вмонтированы в
пульт управления-9.
Покрытия были нанесены на бронзовую подложку и отличались различным
содержанием Sb в электролите. Толщина покрытия - 25
мкм.
Режим испытаний образцов Pb-Sn, Pb-Sn-Sb:
нагрузка P = 50 г;
диаметр индентора d = 6
мм;
скорость возвратно-поступательного движения v = 1,33∙10-2 м/с;
длина дорожки трения - 13 мм;
относительная влажность воздуха при испытаниях без смазки - 50%;
Число циклов различно для каждого образца.
Для определения коэффициента трения для покрытий из тройных сплавов
проводились тприботехнические испытания в режиме граничной смазки.
Режим испытаний образцов Pb-Sn, Pb-Sn-Sb:
нагрузка P = 300 г;
диаметр индентора d = 6
мм;
скорость возвратно-поступательного движения v = 1,33∙10-2 м/с;
длина дорожки трения - 13 мм.
Полученные результаты обрабатывались статистически с помощью программы ORIGIN с получением графиков.
2.2 Методика измерения микротвердости
Измерение микротвердости покрытий проводили на микротвердомере ПМТ-3.
Микротвердомер ПМТ-3 представляет собой специальный микроскоп для измерения
микротвердости различных материалов. Метод измерения микротвердости на приборе
ПМТ-3 основан на измерении линейной величины диагонали оттиска, получаемого от
вдавливания алмазной пирамиды в исследуемый материал под определенной
нагрузкой. Алмазная пирамида имеет квадратное основание и угол при вершине 1360
между противолежащими гранями. Размеры отпечатков измеряют с помощью микроскопа
и винтового окулярного микрометра. Микротвердомер ПМТ-3 снабжен двумя
ахроматическими эпиобъективами F=6.16, A=0.65 и F=2.32. A=0.17, рассчитанными
для тубуса длиной “бесконечность” и корригированными для препаратов без
покровного стекла.
Специальный осветитель прибора совместно с эпиобъективами обеспечивает
возможность наблюдения объектов в светлом и темном поле. Микротвердомер ПМТ-3
снабжен вращающимся предметным столиком, расположенным на основании прибора.
Перемещение столика осуществляется двумя микрометрическими винтами в двух
взаимно перпендикулярных направлениях. Цена деления барабана винтов равна
0,01мм.
Микротвёрдость измерялась при нагрузке на пирамиду 50 г.
.3 Методика исследования морфологии поверхности покрытий
В ходе триботехнических испытаний по схеме шар-плоскость линейный износ
контртела вычислялся по величине пятна износа на стальном шарике. Размеры пятна
износа определяли в двух взаимоперпендикулярных направлениях с помощью
оптического микроскопа МИМ-7 с коэффициентом масштабного увеличения ´300, тарированном с помощью
стандартного (ГОСТ 7513 - 55) объект микрона. Изображения дорожек трения
получали с помощью цифровой видеокамеры, подключенной к ЭВМ.
2.3.1 Методика профилометрии
Для оценки глубины дорожки трения использовались профилограммы,
полученные при помощи профилометра “Калибр”, подключенного к компьютеру через
12-ти разрядное аналогово-цифровое устройство (АЦП).
Поперечные профилограммы дорожек трения получали при длине пути зонда L=1.5 мм и пределе измерения - 10 мкм,
что при применении данного АЦП соответствовало тарировочному коэффициенту k = 0.01 мкм.
Полученные результаты статистически обрабатывались с помощью программы ORIGIN с получением графиков (см. п. 2.5).
.3.2 Методика СЭМ
Изучение морфологии поверхностей покрытий из двойного сплава и тройных
сплавов осуществляли на растровом электронном микроскопе (РЭМ) LEO-1420.
Методика РЭМ позволяет получать информацию о топографии исследуемой
поверхности. Интенсивность потока отражённых электронов зависит от угла наклона
точки поверхности к падающему лучу. Распределение яркости в изображении
определяется наклоном соответствующего участка поверхности. Полученное таким
образом изображение топографический контраста позволяет судить о
микрошероховатости поверхности. Регулируя потенциал на ускоряющей сетке, можно
регулировать степень участия вторичных электронов в формировании изображения и,
соответственно, в изменении резкости теней, т. е. контраста.
Число отраженных электронов зависит от атомного номера вещества объекта.
Изменение атомного номера на единицу ведет к изменению отражательной
способности приблизительно на один процент. Если потенциал на сетке отсутствует
или является отрицательным, или нет топографического контраста, мы можем
получить контраст по химическому составу.
Для проведения исследований образец закрепляется на держателе. Для этого
поверхность держателя покрывают электропроводящим клеем, и образец закрепляют
не исследуемой стороной. Вокруг образца наносится слой клея для получения
лучшего контакта между образцом и держателем.
После проведения подготовительных операций образец помещается в колонну
микроскопа и устанавливается в положение, соответствующее максимальной
вторичной эмиссии электронов. Затем выбирается интересующий участок объекта и
производится регистрация изображения на фотоносителе, либо изображение с
помощью специального интерфейса оцифровывается и записывается в виде файла на
компьютере. Схема комплекса РЭМ - ЭВМ представлены на рисунке 13.
1 - РЭМ; 2 - аналогово-цифровой - цифро-аналоговый преобразователь; 3 -
ЭВМ; 4 - устройство вывода информации
Рисунок 13 -
Структурная схема комплекса РЭМ-ЭВМ
.4 Методика микроструктурного и фазового анализа
.4.1 Методика металлографического травления
Для выявления микроструктуры тройного сплава Pb-Sn-Sb проводилось травление покрытия в две
стадии. Травление свинца проводилось водным раствором азотной кислоты [5,5 мл HNO3; 100 мл H2O] в течение 5
минут. Водный раствор азотной кислоты позволяет выявить микроструктуру сплавов
олова со свинцом. Богатая синцом фаза растворяется значительней.
Затем проводилось травление поверхности покрытия водным раствором
трихлористого железа [11 г FeCl3;
100 мл H2O] в течение 5 минут. Этот реактив используется при
микроскопическом исследовании сплавов олова с сурьмой. Оловянная фаза
окрашивается в черный цвет, SnSb-фаза
протравливается в различные тона с желтоватым оттенком, а Sb-фаза остается светлой [16].
.5 Статистическая обработка полученных результатов
Статистическая обработка результатов измерения микротвердости
Микротвердость покрытий определяли по формуле
, (3)
где
P - нагрузка на индентор;
d - длина
диагонали отпечатка.
Статистическая
обработка результатов измерения микротвердости включала в себя вычисление
среднего арифметического значения микротвердости покрытий Pb-Sn, Pb-Sn-Sb по
результатам пяти измерений
на
микротвердомере ПМТ-3
, (4)
где n - число измерений, n = 5;
среднего арифметического отклонения S
; (5)
доверительного
интервала
, вычисленного с учётом надежности Р = 0.95, и
коэффициента Стьюдента tp= 2.75
; (6)
и относительной погрешности
. (7)
Статистическая обработка результатов триботехнических испытаний
В этом случае линейный износ контртела определяли по формуле
, (8)
где R радиус стального шарика, R = 3 мм;
d диаметр пятна износа стального
шарика.
Интенсивность изнашивания стального контртела вычисляли по формуле
, (9)
, (10)
где
h
линейный износ стального контртела;
L длина пути трения;
n количество циклов трения;
l длина пути трения за один цикл, l =
26·103 м.
По вычисленным значениям в прогрммной среде Micro call Origin были построены графики зависимости линейного износа и
линейной интенсивности изнашивания стального контртела от количества циклов
трения и длины пути трения соответственно для покрытий Pb-Sn, Pb-Sn-Sb с различным
содержанием сурьмы в электролите.
Величину объёмного износа покрытий определяли по поперечным
профилограммам дорожек трения. Профилограммы, снятые при помощи профилометра
системы “Калибр” и персонального компьютера в качестве устройства регистрации, в
дальнейшем подвергались статистической математической обработке в программной
среде Micro call Origin. Статистическая математическая обработка заключалась
в вычитании из профиля сглаживающей функции полинома второй степени (см.
рисунок 14):
Y = А
+ В1*х + В2*х2
Для статистической обработки результатов вычисления площади поперечного
сечения дорожки трения снимали по три профилограммы в разных точках дорожки
трения и определяли среднее арифметическое значение
, (11)
где
S - площадь поперечного сечения дорожки трения;
n - число
профилограмм, снятых с дорожки трения в различных точках, n =
3.
Рисунок
14 Сглаживание профиля полиномом второй степени
Это позволяло при дальнейшем анализе профилограмм не учитывать
макронеровности, вызванные геометрическими отклонениями поверхности образцов от
идеальной плоскости.
По сглаженному профилю определяли площадь поперечного сечения дорожки
трения S (см. рисунок 15) методом численного
интегрирования функции профиля также при помощи программной среды Micro call Origin.
антифрикционный
подпятник планшайба износостойкость
Рисунок
15 Профиль поперечного сечения дорожки трения
Объемный
износ покрытий определяли по формуле
, (12)
где
S площадь
поперечного сечения дорожки трения;
L длина дорожки трения, L = 13 мм.
По
вычисленным значениям были построены графики зависимости объемного износа
покрытий Pb-Sn, Pb-Sn-Sb от количества циклов трения с помощью программы Origin.
3.
Влияние процессов трения на структуру гальванических покрытий Pb-Sn-Sb
.1
Структура и механические характеристики покрытий в зависимости от содержания
сурьмы в электролите
Для определения фазового состава сплавов, предварительно подвергнутые
металлографическому травлению (см. п. 2.4.1) образцы с покрытиями были
исследованы методом сканирующей электронной микроскопии (СЭМ). В результате
исследований были получены изображения поверхностей исходного и травленого
покрытия, а также дорожек трения нетравленых покрытий и покрытий после
травления. Также был определен элементный состав покрытия и процентное
содержание свинца, олова и сурьмы в сплаве (см. табл. 10).
Таблица 10 - Содержание химических элементов в сплаве Pb-Sn-Sb
|
№ сплава
|
Содерж. Sb
в эл-те, г/л
|
С(Pb), %
|
C(Sn), %
|
C(Sb), %
|
|
№1
|
-
|
75,44
|
24,56
|
|
№2
|
9,5
|
71,25
|
23,2
|
5,55
|
|
№3
|
14,2
|
67,7
|
21,3
|
12,0
|
|
№4
|
18,8
|
64,2
|
17,7
|
18,1
|
|
№5
|
23,5
|
56,6
|
16,3
|
27,1
|
При формировании гальванических покрытий из тройных сплавов отдельные
фазы могут не выделяться, и химические элементы сплава равномерно
распределяются в объеме покрытия. Однако при трении материал покрытий
нагревается, плавится и после охлаждения вторично кристаллизуется, в результате
чего в сплавах выделяются отдельные фазы.
Фазовый анализ сплавов Pb-Sn-Sb с различным содержанием сурьмы в сплаве был проведен с
помощью диаграммы тройных сплавов Pb-Sn-Sb при вторичной кристаллизации (см. рис. 16) и изображений
микроструктур, полученных на РЭМ LEO-1420,
а также была определена зависимость механических свойств покрытий от фазового
состава сплавов.
Рисунок 16 - Диаграмма Pb-Sn-Sb; проекция фазовых областей при
кристаллизации: а - первичной; б - вторичной (20 °С)
При вторичной кристаллизации двойного сплава Pb-Sn № 1 с
содержанием С(Pb) = 75,44%, C(Sn) = 24,56 %
образуются фазы Pb + α(Sn), и после травления свинца на
поверхности покрытия можно наблюдать чистую фазу олова, которая имеет пористую
структуру.
При вторичной кристаллизации сплава № 2 с концентрацией С(Pb) = 71,25 %, C(Sn) = 23,2 %, C(Sb) = 5,55 % в сплаве выделяются фазы Pb + α(Sn) + β(SnSb). После травления дорожки трения на поверхности
покрытия присутствуют фазы α(Sn) и эвтектика олова с сурьмой, которая имеет вид белых
включений на сером поле фазы α(Sn). Сплав имеет пористую структуру.
После кристаллизации сплава № 3 с концентрацией С(Pb) = 67,7 %, C(Sn) = 21,3 %, C(Sb) = 12,0 % в сплаве присутствуют фазы Pb + β(SnSb), и после травления свинца на
поверхности покрытия остается эвтектика β(SnSb). Так как содержание олова в сплаве
значительно больше содержания сурьмы, покрытие имеет пористую структуру.
При вторичной кристаллизации сплава № 4 с концентрацией элементов в
сплаве: С(Pb) = 64,2 %, C(Sn) = 17,7 %, C(Sb) = 18,1 % образуются фазы Pb + β(SnSb), и после травления свинца на поверхности покрытия
остается чистая эвтектика β(SnSb). Однако с увеличением содержания сурьмы в сплаве
структура становится более равномерной, дисперсной.
В сплаве № 5 с содержанием в сплаве Pb = 56,6 %, Sn =
16,3 %, Sb = 27,1 % кроме Pb и эвтектики β(SnSb) выделяется фаза γ(Sb), которая представляет собой черные
включения, равномерно распределенные по всему объему сплава (см. рис. 14, 5-г).
У этого сплава структура кардинально отличается от структур предыдущих сплавов.
Покрытие мелкодисперсное, равномерное, плотное.
Увеличение содержания сурьмы в электролите ведет к увеличению содержания
сурьмы в сплаве. Если олово и свинец являются мягкой составляющей сплава, то
введение сурьмы в сплав увеличивает его твердость.
Таблица 11
Значения микротвердости покрытий из сплавов Pb-Sn, Pb-Sn-Sb
|
Покрытие
|
Диагональ отпечатка d, дел
|
<d>, дел
|
d, мкм
|
<d>, мкм
|
Н50, МПа
|
|
Pb-Sn
|
3,27/3,52
|
3,40
|
56,7
|
54,62
|
31
|
|
3,14/3,19
|
3,17
|
52,8
|
|
|
|
3,35/3,49
|
3,42
|
57
|
|
|
|
3,26/3,10
|
3,18
|
53
|
|
|
|
3,18/3,26
|
3,22
|
53,6
|
|
|
|
Сплав Pb-Sn-Sb
№ 1, Sb 9,5 г/л
|
3,52/3,56
|
3,54
|
59
|
56,98
|
29
|
|
3,63/3,49
|
3,56
|
59,3
|
|
|
|
3,35/3,30
|
3,33
|
55,5
|
|
|
|
3,47/3,47
|
3,47
|
57,8
|
|
|
|
3,31/3,09
|
3,20
|
53,3
|
|
|
|
Сплав Pb-Sn-Sb
№ 2, Sb 14,2 г/л
|
4,13/4,09
|
4,11
|
68,5
|
66,52
|
21
|
|
4,2/4,23
|
4,22
|
70,3
|
|
|
|
3,88/4,02
|
3,95
|
65,8
|
|
|
|
3,83/3,80
|
3,82
|
63,7
|
|
|
|
3,89/3,82
|
3,86
|
64,3
|
|
|
|
Сплав Pb-Sn-Sb
№ 3, Sb 18,8 г/л
|
1,67/1,59
|
1,63
|
27,2
|
27,78
|
121
|
|
1,61/1,70
|
1,66
|
27,7
|
|
|
|
1,81/1,66
|
1,74
|
29
|
|
|
|
1,70/1,70
|
1,70
|
28,3
|
|
|
|
1,59/1,61
|
1,60
|
26,7
|
|
|
|
Сплав Pb-Sn-Sb
№ 4, Sb 23,5 г/л
|
1,0/1,01
|
1,0
|
16,7
|
18,68
|
265
|
|
1,16/1,24
|
1,20
|
20
|
|
|
|
1,10/1,15
|
1,13
|
18,8
|
|
|
|
1,14/1,10
|
1,12
|
18,7
|
|
|
|
1,16/1,14
|
1,15
|
19,2
|
|
|
Таким образом, показано, что увеличение содержания сурьмы в сплаве ведет
к выравниванию, измельчению структуры, устранению пористости покрытия,
улучшению механических свойств покрытий.
.2 Триботехнические характеристики покрытий
Для определения триботехнических свойств покрытий проводились испытания в
режиме сухого трения и при граничной смазке на микротрибометре ММТ по схеме шар
- плоскость. При испытаниях в режиме сухого трения определяли объемный износ
гальванических покрытий после каждого количества циклов. Результаты
триботехнических испытаний представлены на графике 16 и в таблице 12. При
трении в условиях граничной смазки в течение 1000 циклов трения регистрировали
коэффициент трения (см. рис. 17).
- сплав Pb-Sn;
- сплав Pb-Sn-Sb, Sb = 9,5 г/л в электролите;
- сплав Pb-Sn-Sb, Sb = 14,2 г/л в электролите;
- сплав Pb-Sn-Sb, Sb = 18,8 г/л в электролите;
- сплав Pb-Sn-Sb, Sb = 23,5 г/л в электролите.
Рисунок 17 - График объемного износа покрытий
Таблица 12 Объемный износ гальванических покрытий Pb-Sn, Pb-Sn-Sb
|
Циклы
|
Pb-Sn
|
Sb 9,5 г/л
|
Sb 14,2 г/л
|
Sb 14,2г/л +пауза
|
Sb 18,8 г/л
|
Sb 23,5 г/л
|
|
20
|
1,43E-4
|
4,38Е-3*
|
6.31Е-3*
|
1,9Е-3
|
0,16E-5*
|
0,44E-4*
|
|
50
|
9,29E-4
|
4,95Е-3*
|
8.01Е-3*
|
4,21Е-3
|
0,11E-4*
|
0,68E-4*
|
|
100
|
22,2Е-4
|
5,92Е-3
|
10,76Е-3
|
12,93Е-3
|
0,26E-4
|
0,78E-4
|
|
150
|
55Е-4
|
6,88Е-3
|
13,52Е-3
|
14,43Е-3
|
1,04E-4
|
1,17E-4
|
|
200
|
86,3Е-4*
|
7,31Е-3
|
16,28Е-3
|
15,99Е-3*
|
1,69E-4
|
1,56E-4
|
|
250
|
11,79Е-3*
|
8,89Е-3
|
17,8Е-3
|
17,54Е-3*
|
3,12E-4
|
2,73E-4
|
* значение получено экстраполяцией
На основании проведенных ранее измерений микротвердости было установлено,
что с увеличением содержания сурьмы в электролите более 14,2 г/л резко
увеличивается твердость материала покрытий, снижается пластичность. По в
результатам триботехнических испытаний тройных сплавов Pb-Sn-Sb, представленным на графике 86, можно
сделать вывод, что с увеличением содержания сурьмы в электролите и в сплаве,
снижается износ покрытий.
Наименьший объемный износ покрытий наблюдается у образцов №4 и №5 с
содержанием сурьмы в электролите 18,8 г/л и 23,5 г/л соответственно, для
которых объемный износ после 250 циклов истирания меньше объемного износа
покрытий из двойного сплава Pb-Sn в 43 раза. Для этих покрытий
характерна высокая микротвердость, они выдерживают высокие контактные давления,
трение происходит по меньшей фактической площади контакта.
Наименее износостойким является покрытие из тройного сплава №2 с
содержанием сурьмы в электролите 9,5 г/л. Это покрытие имеет наименьшую
микротвердость, высокую пластичность. Объемный износ покрытия №2 превышает
объемный износ покрытия из двойного сплава №1 после 250 циклов в 1,5 раза.
Износ покрытия №3 с содержанием сурьмы в электролите 14,2 г/л вначале
триботехнических испытаний превышает износ покрытий из двойного сплава, однако
интенсивность изнашивания покрытия №3 снижается, и уже после 250 циклов
истирания его объемный износ меньше объемного износа покрытия из двойного
сплава в 1,3 раза.
Для мягких покрытий из сплавов № 1, № 2, № 3 реализуется адгезионный
механизм изнашивания, наблюдаются процессы схватывания, переноса материала
покрытия на контртело, задиры. Это и приводит к увеличению изнашивания покрытий.
Для твердых покрытий из сплавов № 4 и № 5 реализуется абразивный механизм
изнашивания. Так как покрытия выдерживают высокие контактные давления, трение
происходит по малой контактной площади, вследствие чего объемный износ невелик.
При трении в режиме граничной смазки регистрировали коэффициент трения.
Испытания показали, что коэффициент трения твердых покрытий №4 и №5 такой же,
как и для покрытия из двойного сплава f = 0,6 - 0,65.
Наименьший коэффициент трения наблюдали для тройного сплава с содержанием
сурьмы в электролите 14,2 г/л f =
0,45. Коэффициент трения для сплава с содержанием сурьмы в электролите 9,5 г/л f = 0, 92.

а б

в г
- двойной сплав Pb-Sn;
б - тройной сплав, Sb =
9,5 г/л в электролите;
в - тройной сплав, Sb =
14,2 в электролите г/л;
г - тройной сплав, Sb =
18,8 в электролите г/л;
Рисунок 18- Коэффициенты
трения сплавов Pb-Sn и Pb-Sn-Sb
3.3 Особенности изнашивания закаленной стали в паре трения с
гальваническими покрытиями
В результате триботехнических испытаний на микротрибометре ММТ в режиме
сухого трения был определен линейный износ закаленного стального контртела
после каждого числа циклов трения.
- сплав Pb-Sn;
- сплав Pb-Sn-Sb, Sb = 9,5 г/л в электролите;
- сплав Pb-Sn-Sb, Sb = 14,2 г/л в электролите;
- сплав Pb-Sn-Sb, Sb = 18,8 г/л в электролите;
- сплав Pb-Sn-Sb, Sb = 23,5 г/л в электролите
Рисунок 19 - График линейного износа стального контртела
Таблица 13 - Триботехнические свойства стального контртела
|
Сплав
|
Циклы
|
Диаметр пятна износа d,
дел
|
<d>, дел
|
d, мкм
|
Линейный износ контртела h,
мкм
|
|
Сплав № 1 Pb-Sn
|
20
|
1,18/1,45
|
1,32
|
135,93
|
0,77
|
|
50
|
4,02/4,0
|
4,01
|
413,99
|
7,15
|
|
100
|
4,53/4,0
|
4,27
|
440,88
|
8,11
|
|
150
|
6,32/5,24
|
5,78
|
597,05
|
14,89
|
|
200
|
7,48/7,59
|
7,54
|
778,05
|
25,33
|
|
Сплав № 2 Sb 9,5
г/л
|
100
|
4,79/4,08
|
4,44
|
457,92
|
8,75
|
|
150
|
5,69/5,23
|
5,46
|
563,93
|
13,28
|
|
200
|
7,34/6,53
|
6,94
|
716,05
|
21,44
|
|
250
|
7,63/6,94
|
7,29
|
753,01
|
23,72
|
|
Сплав № 3 Sb 14,2 г/л
|
100
|
3,41/3,24
|
3,33
|
344,18
|
4,94
|
|
150
|
4,33/3,91
|
4,12
|
425,97
|
7,57
|
|
200
|
4,63/4,14
|
4,39
|
452,93
|
8,56
|
|
250
|
5,16/4,17
|
4,67
|
482,10
|
9,7
|
|
Сплав № 4 Sb 18,8 г/л
|
100
|
1,15/1,54
|
1,35
|
139,42
|
0,81
|
|
150
|
1,54/1,63
|
1,59
|
163,94
|
1,12
|
|
200
|
1,71/2,8
|
2,26
|
232,85
|
2,26
|
|
250
|
3,18/3,67
|
3,43
|
354,13
|
5,23
|
|
|
Сплав № 5 Sb 23,5 г/л
|
100
|
1,92/1,1
|
1,51
|
155,68
|
1,01
|
|
|
150
|
2,89/2,71
|
2,8
|
288,91
|
3,48
|
|
|
200
|
3,07/2,63
|
2,85
|
293,85
|
3,6
|
|
|
250
|
3,41/3,0
|
3,21
|
331,05
|
4,57
|
|
|
|
|
|
|
|
|
|
|
|
Было выявлено, что износ стального контртела при трении по покрытиям из
тройных сплавов Pb-Sn-Sb снижается с увеличением содержания сурьмы в электролите.
Наименьший линейный износ стального контртела наблюдается в паре трения с
покрытиями №4 и №5. Хотя покрытия имеют высокую твердость, износ стального
контртела незначителен, так как материал покрытий деформируется незначительно,
трение происходит по малой площади контакта. Диаметр пятна износа контртела при
трении по твердым покрытиям намного меньше диаметра пятна износа контртела при
трении по мягким покрытиям из сплавов № 1, № 2, № 3.
Наибольший линейный износ стального контртела наблюдается при трении по
покрытию из двойного сплава Pb-Sn и превышает износ стали по покрытиям
№4 и №5 при 200 циклах в 7 10 раз. Это объясняется механизмом
изнашивания пары трения покрытие стальное контртело. При трении
стального шарика по покрытиям с невысокой твердостью Pb-Sn, Pb-Sn-Sb с содержанием
сурьмы в электролите 9,5 г/л и 14,2 г/л преобладает адгезионный механизм
изнашивания. При трении материал покрытий мягких двойных сплавов деформируется
пластически, что приводит к увеличению фактической площади контакта и, как
следствие, увеличению роли адгезионного механизма изнашивания.
- сплав Pb-Sn;
- сплав Pb-Sn-Sb, Sb = 9,5 г/л в электролите;
- сплав Pb-Sn-Sb, Sb = 14,2 г/л в электролите;
- сплав Pb-Sn-Sb, Sb = 18,8 г/л в электролите;
- сплав Pb-Sn-Sb, Sb = 23,5 г/л в электролите.
Рисунок 20 - График интенсивности изнашивания стального контртела
Таблица 14 - Интенсивность изнашивания стального контртела
|
L, м
|
Сплав №1, Pb-Sn
|
Сплав № 2, Sb 9,5 г/л
|
Сплав № 3, Sb 14,2 г/л
|
Сплав № 4, Sb 18,8 г/л
|
Сплав № 5, Sb 23,5 г/л
|
|
0
|
|
|
|
|
|
0,52
|
1,48∙106
|
3,3∙106*
|
1,84∙106*
|
3,51∙107
|
3,88∙107*
|
|
1,3
|
5,5∙106
|
3,33∙106*
|
1,86∙106*
|
3,36∙107
|
3,88∙107*
|
|
2,6
|
3,12∙106
|
3,37∙106
|
1,9∙106
|
3,12∙107
|
3,88∙107
|
|
3,9
|
3,82∙106
|
3,41∙106
|
1,94∙106
|
2,87∙107
|
8,92∙107
|
|
5,2
|
4,87∙106
|
4,12∙106
|
1,65∙106
|
4,35∙107*
|
6,92∙107
|
|
6,5
|
5,73∙106*
|
3,65∙106
|
1,49∙106
|
8,05∙107*
|
7,03∙107
|
* значение получено экстраполяцией
Из графика 20 видно, что наименьшая интенсивность изнашивания стального
контртела наблюдается при трении по покрытиям из сплавов № 4 и № 5 и после 6,5
метров пути трения в 7 - 8 раз меньше интенсивности изнашивания стального
контртела при трении по покрытиям из двойного сплава № 1. Причем интенсивности
изнашивания контртела при трении по тройным сплавам с течением времени
испытаний практически не изменяются, в то время как интенсивность изнашивания
контртела при трении по двойному сплаву увеличивается. Таким образом можно
сделать вывод, что с увеличением содержания сурьмы в электролите уменьшается
интенсивность изнашивания стального контртела.
4. Технические рекомендации по повышению износостойкости пары прения
подпятник - планшайба аксиально-поршневого насоса
.1 Сравнительные результаты стендовых испытаний аксиально-поршневого
насоса с подпятниками без покрытия
Стендовые испытания аксиально-поршневого насоса с подпятниками с
покрытием и без проводились в соответствии с «Программой и методикой
контрольных испытаний деталей насосов и моторов типа А, ПМ10».
В результате стендовых испытаний было установлено:
. Насос типа А1-56/25.03 с установленными в нем деталями «Подпятник
А1-56/25.20.001», на торцевую рабочую поверхность которых было нанесено
антифрикционное покрытие тройного сплава Sn-Pb-Sb, соответствует технической
документации.
. Условия работы насоса А1-56/25.03 зав. № 4854 при стендовых испытаниях
|
№ п/п
|
Наименование параметра
|
Ед. изм.
|
Значение
|
|
1
|
Рабочее давление
|
МПа
|
12…18
|
|
2
|
Частота вращения
|
об/мин
|
1500
|
|
3
|
Температурный режим
|
°С
|
20 -50
|
|
4
|
Длительность испытаний
|
мото/часы
|
70
|
. Основные параметры насоса А1-56/25.03 зав. № 4854 до и после стендовых
испытаний
|
№ п/п
|
Наименование параметра
|
Ед. изм.
|
Номинальное значение по ТУ
|
Фактическое значение
|
Соответствие требованиям ТУ
и КД
|
|
|
|
|
в начале испытаний
|
в конце испытаний
|
|
|
1.
|
Рабочий объем
|
см3
|
12
|
12,1
|
12,1
|
соответствует
|
|
2.
|
Функционирование изделия
|
|
|
|
|
соответствует
|
|
3.
|
Коэффициент подачи
|
KQ
|
не менее 95
|
96
|
96
|
соответствует
|
4. Результаты внешнего осмотра и обмеров деталей «Подпятник
А1-56/25.20.001» с антифрикционным покрытием и контрдетали «Диск опорный
А1-56/25.00.006» до испытаний и после испытаний в течение 70 мото/часов
|
№ п/п
|
Деталь
|
Материал
|
Термообработка
|
Антифрикц. износост.
покрытие
|
Контрольный размер
|
|
|
|
|
|
До испыт.
|
После испыт. в объеме 70
мото/часов
|
|
1.
|
Подпятник А1-56/25.20.001
|
Бронза БрАЖ9-4 ГОСТ
18175-72
|
|
Sn-Pb-Sb
|
4,780
|
4,780
|
|
2.
|
Диск опорный А1-56/25.00.006
|
Сталь Х12М ГОСТ 5950-71
|
HRC 61
|
|
6,1
|
6,1
|
. На основании анализа значений параметров насоса в начале и в конце
испытаний, внешнего осмотра деталей с антифрикционным покрытием и детали,
находящейся в контакте с ними во время работы насоса, прошедшего стендовые
испытания, а также анализа размеров экспериментальных деталей до и после
испытаний, было сделано заключение, что износ, микротрещины и прочие
поверхностные дефекты на рабочих поверхностях указанных деталей отсутствуют.
. Можно считать:
предъявленные образцы подпятников с антифрикционным покрытием выдержали
стендовые испытания;
применение антифрикционных гальванических покрытий Sn-Pb-Sb позволяет
снизить износ подпятников в условиях пуска-остановки насоса, а также в условиях
первого запуска насоса без смазки;
гальванические покрытия Sn-Pb-Sb рабочей поверхности подпятников снижает износ контртела
«Диск опорный» и увеличивает ресурс его работы.
4.2 Технологический процесс нанесения покрытия гальваническим методом
1. Входной контроль:
контроль линейных размеров;
визуальный осмотр: отсутствие внешних повреждений (сколов, царапин и т.
п.).
2. Механическая обработка:
притирка до шероховатости Ra =
0,8 - 2,5 мкм, обеспечивающей оптимальную адгезию к покрытию.
3. Монтажная операция:
- произвести монтаж подпятника на подвеску;
маскировать нерабочую поверхность.
4. Электрохимическое обезжиривание:
- состав раствора: сода каустическая 5-10 г/л, сода кальцинированная 20
-40 г/л, стекло жидкое 3-5 г/л.
температура процесса 45-50 °С.
время процесса 8 мин.
5. Промывка:
промывка в проточной воде, время промывки 5 минут.
6. Нанесение покрытия:
процесс проводится в электролитической ячейке при U=5 B, катодной плотности j = 4 A/дм2.
Электролит, г/л: фторборат свинца - 100; олова - 30; сурьмы - 23,5; кислота
борная - 25; борфторводородная - 80; гидрохенон - 0,5; пептон - 15.
Условия осаждения pH = 2
- 2,5.
Температура t = 18 -25°C.
Толщина покрытия 20 мкм.
Время осаждения - 20 мин.
7. Промывка
8. Сушка изделия
. Контроль:
проверка сплошности нанесения покрытия (отсутствие кратеров, капельной
фазы) с использованием ×4 оптической лупы.
.3 Рекомендации по изменению конструкции подпятника
В номинальном режиме работы аксиально-поршневого насоса пара трения
подпятник-планшайба работает в условиях гидродинамического режима смазывания.
Гидродинамический режим смазывания обеспечивается подачей масла под давлением
непосредственно из рабочего объёма плунжера через осевые отверстия Ø1,2 в плунжере и Ø1,8 в подпятнике и равномерно
распределяется по площади контакта.
Допускаются кратковременные нарушения условия гидродинамического режима
смазывания в момент пуска насоса до начала нагнетания масла плунжером.
При первичном запуске насоса трение между подпятником и планшайбой
происходит без смазки. Этот период может продолжаться до 30 - 90 с. и
характеризуется максимальная интенсивность изнашивания пары трения. При этом в
случае использования пары трения стальная планшайба - бронзовый подпятник
изнашивается преимущественно более мягкая бронза, следы которой обнаруживаются
на планшайбе в виде слоёв массопереноса.
В дальнейшем следы переноса бронзы негативно сказываются на работе пары
трения при пуске остановке, когда гидродинамический режим смазки не
выполняется.
Использование антифрикционного покрытия системы Pb-Sn-Sb в качестве приработочного слоя
исключает контакт бронзы со сталью в момент первичного запуска насоса. Материал
предлагаемого покрытия участвует в формировании т.н. третьего тела, то есть
тонких слоёв мягкого сплава равномерно распределённого по площади контактирования
сопрягаемых тел.
В случае эксплуатации насоса в режимах превышающих номинальные скорости
вращения также наблюдается нарушение условия гидродинамического режима
смазывания, переход к граничному трению и механическому контактированию
трущихся поверхностей. Это приводит к увеличению интенсивности износа, нагреву
деталей пары трения и инициации процессов усталостного разрушения. В первую
очередь нарушение условия гидродинамического режима смазывания может быть
связано с превышением величины скорости скольжения подпятника по планшайбе над
величиной скорости ламинарного течения масла в масляном клине между планшайбой
и передним половиной подпятника. Конструктивно устранить данный недостаток
можно, увеличив толщину смазочного слоя под передней половиной подпятника.
Фаска на кромке подпятника величиной 0,2 - 0,3 мм, и направленная под
углом 15 - 30° к плоскости планшайбы позволит захватывать подпятником смазку с
поверхности планшайбы и за счёт гидродинамических подъёмных сил создавать
масляный клин.
5. Расчет экономической эффективности применения покрытия Pb-Sn-Sb в паре трения
подпятник - планшайба аксиально-поршневого насоса
Применение гальванических антифрикционных покрытий Pb-Sn-Sb позволяет
снизить износ подпятников в условиях пуска - остановки насоса, а также в
условиях первого запуска насоса без смазки.
Произведем расчет годового экономического эффекта от использования
тройных покрытий Pb-Sn-Sb.
Себестоимость нанесения покрытия на один комплект подпятников
Сп = Сп1∙m, (13)
где Сп1 - себестоимость нанесения покрытия на один подпятник, Сп1 = 40
руб.;
m -
количество подпятников в комплекте, m = 7 шт.
Сп = 40∙7 = 280 руб.
Экономический эффект от использования покрытия с одного насоса
Эп = Vм∙Цм - Сп, (14)
где Vм - экономия масла в условиях первого
запуска насоса без смазки, Vм = 0,5 дм3;
Цм - стоимости 1 дм3 масла ВМГЗ, Цм = 2520 руб.
Эп = 0,5∙2520 280 = 980 руб.
Годовой экономический эффект от использования тройных покрытий Pb-Sn-Sb
Эпгод
= n∙Эп (15)
где n - объем годовой производственной программы
выпуска аксиально-поршневых насосов, n = 3000 насосов.
Эпгод = 3000∙980 = 2940000 руб.
Техника
безопасности
Для обеспечения безопасных условий работы необходимо знать допустимые
концентрации токсичных и вредных веществ, входящих в состав растворов и
электролитов (трихлорэтилен, цианиды, кислоты, щелочи и др.)
Основные
положения по охране труда предусмотрены в «Кодексе законов о труде», в котором
регламентируются правовые нормы труда и отдыха, а так же мероприятия по технике
безопасности и нормы производственной санитарии.[1]
Растворы
и электролиты подвергают нагреву, фильтрации, непрерывной циркуляции; детали
подвергают вращению, покачиванию, воздействию ультразвука и вибрации.
Таким
образом, гальваническое производство - сложное, многопроцессное производство,
требующее строгого соблюдения всех правил техники безопасности, санитарных норм
и норм пожарной безопасности.
Производство
всех видов покрытий должно соответствовать ГОСТ 12.3.008-75 и ГОСТ 12.3.002-75.
Должны строго выполняться строительные нормы и правила проектирования
промышленных предприятий, санитарные правила организации технологических
процессов и гигиенические требования к производственному оборудованию,
утвержденные Министерством Здравоохранения РБ.
Оборудование,
применяемое в гальваническом производстве должно соответствовать требованиям
ГОСТа 12.2.003-74.
Места
хранения химических веществ должны иметь стеллажи, шкафы, приспособления,
инвентарь, специальную тару, а так же быть обеспеченными средствами
индивидуальной защиты. Химические вещества должны быть хорошо упакованными,
иметь исправную тару и сопроводительную документацию.
В
гальванических цехах следует иметь горячую и холодную воду для смывания вредных
веществ, попавших на рабочего; аптечки, укомплектованные средствами,
необходимыми для оказания первой помощи при отравлении, ожогах и т.д. Средства
индивидуальной защиты рабочих должны соответствовать требованиям ГОСТа
12.4.011-75.
Рабочие
и инженерно-технический персонал должен проходить медицинский осмотр при
поступлении на работу, а так же подвергаться периодическому медицинскому
осмотру. Все рабочие, служащие и инженерно-технические работники должны
проходить инструктаж по безопасности труда: вводный, первичный, повторный,
внеплановый (при изменении технологического процесса, смене оборудования,
нарушениях требований безопасности и несчастных случаях) с регистрацией в
специальном журнале.[1]
К
проведению подготовительных операций и нанесению покрытий допускаются рабочие в
соответствующей спецодежде (комбинезоне или халате, резиновых сапогах и
резиновых перчатках). Спецодежда рабочих, занятых в гальваническом
производстве, должны периодически подвергаться стирке, а спецодежда работающих
с ядовитыми веществами и растворами должна предварительно обезвреживаться.
Ванны
с цианистым и цианидферратными электролитами должны быть оборудованы
двусторонней бортовой вентиляцией и блокировкой, сообщающей об отключении
вентиляции. Концентрированные цианистые растворы следует готовить в отдельном
изолированном помещении, снабженном обособленной вентиляцией и всеми средствами
безопасности (шланговым противогазом, сигнализацией, блокировкой и др). Список
рабочих утверждает главный инженер предприятия.
При
приготовлении и корректировании, а так же применении электролитов и растворов
работающие должны пользоваться защитными мазями и пастами.
При
работе с растворителями не следует допускать искрообразования и накопления
статического электричества, а также близкого контакта с электро- или
теплоносителями. Промывные ванны необходимо устанавливать в непосредственной
близости от рабочих ванн с тем, чтобы исключить попадание электролита на пол.
При
применении абразивного инструмента следует руководствоваться правилами и
нормами безопасной работы (загрузка и возврат абразива в установках для
дробеструйной и гидропескоструйной очистки, включение и выключение подачи
сжатого воздуха должны быть механизированы, применение сухого кварцевого песка
для очистки деталей не допускается; шлифовально-полировальные станки должны
быть оборудованы защитными экранами и местными отсосами). Чистку и ремонт
оборудования от остатков органических растворителей после обезжиривания деталей
необходимо производить после продувки его воздухом или паром до полного
удаления паров растворителя.
При
загрузке и разгрузке деталей, обезжиривающих, цианистых и других токсичных
растворов, а также при розливе кислот и щелочей, дроблении и взвешивании
различных химикатов необходимо пользоваться защитными очками.
Отработанные
растворы и электролиты перед спуском в сточные воды должны быть нейтрализованы.
Шлам, содержащий токсичные вещества должен подвергаться обезвреживанию. Полнота
нейтрализации и обезвреживания подтверждается данными анализа.
Чистку
ванн и другого оборудования, а так же штанг, электроконтактов, анодов, анодных
крючков следует производить с увлажненной поверхностью.
Контроль
воздушной среды на содержание пыли и вредных веществ необходимо систематически
осуществлять по методикам и ГОСТам 12.1.005-76, 12.1.014-79 и 12.1.016-79.
График анализа воздуха, в зависимости от конкретных условий производства,
устанавливается и утверждается администрацией предприятия.
При
любых изменениях технологического процесса (смена оборудования, режимов
обработки, введение новых компонентов в состав электролитов или растворов и т.
п.) необходимо произвести внеочередной анализ. При обнаружении вредных веществ
в воздухе рабочей зоны в количестве, превышающем предельно допустимой
концентрации, работа должна быть приостановлена и приняты меры по дегазации
помещения и установления причин, вызвавших загазованность воздушной среды.
Контроль
технологического оборудования, создающего шум в воздушной среде следует
производить по ГОСТу 20445-75.
Контроль
оборудования, создающего вибрацию, следует производить на соответствие
требованиям ГОСТа 16878-73, ГОСТ 8.246-77, ГОСТ 13731-68.
Контроль
электробезопасности следует производить в соответствии с требованиями «Правил
технической эксплуатации электроустановок потребителей и правил техники
безопасности при эксплуатации электроустановок потребителей».
Контроль
уровней освещенности следует производить в соответствии с Методическими
указаниями Министерства Здравоохранения РБ.
Заключение
1. На основании обзора данных ранее проведенных триботехнических
испытаний тройных сплавов Pb-Sn- Sb с содержанием Sb в
электролите от 9,4 до 23,4 г/л сделан вывод о том, что на триботехнические и
механические свойства оказывает существенное влияние содержания Sb в сплаве. При этом оптимальная
концентрация сурьмы в электролите равняется 14,2 г/л. Массовая интенсивность
изнашивания (Im=0.125 · 10-5 г/м) покрытий,
нанесенных при импульсном токе, примерно на порядок меньше (Im=1.514 · 10-5 г/м) интенсивности
изнашивания покрытий, нанесенных при постоянном токе. Установлено также, что
износ контртела - вала из закаленной стали, находящегося в сопряжении с
исследуемыми покрытиями, также ниже в паре трения с покрытием, нанесенным при
использовании импульсного тока.
2. Отработана методика триботехнических испытаний по схеме шар
- плоскость в режиме сухого и граничного трения, позволяющая определить
коэффициент трения покрытий, износ покрытий и стального контртела, а также
анализировать изменение морфологии поверхности трения до и после испытаний
методами профилометрии и растровой электронной микроскопии.
. В результате триботехнических испытаний при трении без смазки было
выявлено, что с увеличением содержания сурьмы в сплаве уменьшается объемный
износ покрытий. Для сплавов с содержанием сурьмы 18, 1 и 27,1 % его величина
составляет 3,12∙10-4 мм3 и 2,73∙10-4 мм3 соответственно и меньше
объемного износа базового покрытия в 43 раза. Такое уменьшение объемного износа
связано с увеличением твердости покрытий, снижением пластичности, и, как
следствие, уменьшением фактической площади контакта и роли адгезионного
механизма изнашивания при сухом и граничном трении. Интенсивность изнашивания
стального контртела в паре трения с покрытиями таких составов в 7 - 10 раз
меньше его износостойкости при трении в паре с базовым двухкомпонентным
покрытием и составляет 8,05∙107 и 7,03∙107 соответственно с содержанием сурьмы
18,1 и 27,1 мас.%.
. В результате исследования микроструктуры исходных покрытий с различным
процентным содержанием сурьмы, а также их поверхностей трения методами РЭМ и
металлографического травления установлено, что при нанесение покрытия
формируется гомогенная структура. При трении без смазки в структуре покрытий
происходят существенные изменения. Имеют место процессы вторичной
кристаллизации связанные с локальным нагревом на пятнах фактической площади
контакта выше температуры фазовых переходов и структурообразованием при
охлаждении. При этом выделяются характерные для этого процесса фазы Pb, α(Sn), β(SnSb), γ(Sb).
. Исследуемые покрытия прошли стендовые испытания в качестве
антифрикционных слоев в паре трения подпятник - планшайба в аксиально-поршневом
насосе. Результаты эксперимента показали, что нанесение этих покрытий на
рабочую поверхность подпятника позволяет продлить ресурс работы насоса, а также
снизить его износ в условиях пуска - остановки.
Литература
1. Гальванические
покрытия в машиностроении. Справочник. В 2-х томах Под ред. М. А. Шлугера, Л.
Д. Тока. - М.: Машиностроение, 1985.
. Справочное
руководство по гальванотехнике. Ч. 1. Перев. с нем. «Металлургия», с. 488.
1972.
. Мельников
П. C. Справочник по гальванопокрытиям в
машиностроении. - 2-е изд., перераб. и доп. - М.: Машиностроение, 1991. - 384
с., ил.
.
Восстановление деталей машин электрохимическим способом. Кишинев, Штиинца,
1984.
. Лобанов С.
А. Практические советы гальванику. - Л.: Машиностроение, 1983. - 248 с., ил.
. Антропов Л.
И., Лебединский Ю. Н. Композиционные электрохимические покрытия и материалы. -
К.: Техника, 1986. - 200 c.,
ил.
. Основы
материаловедения: Учебник для техникумов. Лахтин Ю. М. - М.: Металлургия, 1988.
- 320 с.
. Казаков В.
А., Шлугер М. А. Износостойкие и антифрикционные гальванические покрытия в
машиностроении. - Л.: Машиностроение, 1981. - 212 с.
. А. П.
Гуляев Металловедение, 5-ое переработанное издание. М.: Металлургия, 1978. -
646 с.
. А. И.
Самохоцкий, М. Н. Кунявский Металловедение, 6-ое переработанное издание. М.:
Металлургия, 1999. - 546 c.
. Казаков В.
А., Шлугер М. А. Износостойкие и антифрикционные гальванические покрытия в
машиностроении. - Л.: Машиностроение, 1981. - 212 c.
. Справочник
по ремонту тепловозов. Кокошинский И. Г.,
Клименко Л.
В., Горбатюк В. А., Стеценко Е. Г. . - 2-е изд., перераб. и доп. - М.:
Транспорт, 1978. - 304с.
13. Беркович
И.И. Трибология. Физические основы, механика и технические приложения / И.И.
Беркович, Д.Г. Громаковский. - Самара: Самар. гос. техн. ун-т. - 2000. - 268 с.
. Костецкий
Б.И. Трение, смазка и износ в машинах. - Киев: Техника. 1970. 395 с.
. Мышкин
Н. К. Трибология. Принципы и приложения. / Мышкин Н. К., Петроковец М.И.-
Гомель: ИММС НАНБ. 2002. 310 с.
16. Беккерт
М., Клемм Х. Справочник по металлографическому травлению. Лейпциг, 1976. Пер. с
нем. М.: «Металлургия», 1979, 336 с. с ил.
. Захаров А.
М. Промышленные сплавы цветных металлов. Фазовый состав и структурный состав.
М.: металлургия, 1980. 324 с.
. Геллер Ю.
А., Рахштадт А. Г. Материаловедение. Методы анализа, лабораторные работы и
задачи. Учеб. пособие для вузов. - 6-е изд., перераб. и доп. - М.: Металлургия,
1989. 456 с.
19. Влияние
токового режима на триботехнические параметры покрытий из тройного сплава Pb-Sn-Sb. Материалы,
технологии и оборудование в производстве, эксплуатации, ремонте и модернизации
машин: сб.научн. трудов VI
международной научно-технической конференции: Т.1, - Новополоцк:УО ПГУ, 2007. -
С.189-192. Степанова Л.И., Пуровская О.Г., Казаченко В.П.
. Основы
теории разрушения твёрдых тел: Учебно-методическое пособие по выполнению
лабораторных работ/А.Н.Попов, О.С. Киселевский; Белорус. гос. ун-т трансп.-
Гомель, БелГУТ, 2007.-53 с.