Разработка технологии изготовления корпуса адсорбера
Оглавление
Введение
. Общие сведения
.1 Характеристика изделия и условия его работы
.2 Технические требования
.3 Характеристика материалов
.4 Оценка свариваемости
. Проектирование заготовительных операций
.1 Расконсервация металла
.2 Правка листового проката
. 3 Раскрой цилиндрической части корпуса
.4 Раскрой эллиптического днища
.5 Раскрой опорной части аппарата
.6 Разметка листового проката
.7 Резка материала
.8 Вальцевание
.9 Формирование днищ
.10 Подготовка кромок под сварку
.11 Требования к изготовлению
. Проектирование сборочных операций
.1 Сборка продольных стыков заготовок эллиптических днищ
.2 Сборка продольных стыков обечаек
.3 Сборка обечаек между собой в корпус
.4 Сборка цилиндрической части корпуса с первым днищем
.5 Разметка и вырезка отверстий под штуцера и люки
.6 Установка штуцеров и люков
.7 Сборка корпуса со вторым днищем
.8 Сборка опоры и прихватка ее к корпусу аппарата
.9 Сборка корпуса аппарата с опорой
. Проектирование сварочных операций
.1 Сварочные материалы
.2 Сварка продольных и кольцевых стыков корпуса аппарата
.3 Выбор подготовки кромок под сварку продольного и
кольцевого стыков корпуса аппарата
.4 Расчет режимов сварки продольного и кольцевого стыков
корпуса аппарата
.5 Сварка заготовок днищ
.6 Приварка эллиптических днищ к корпусу аппарата
.7 Приварка штуцеров и люков к корпусу аппарата
.8 Сварка опоры и приварка ее к корпусу аппарата
.9 Термическая обработка сварных соединений
. Методы контроля качества сварных соединений
.1 Визуальный контроль и измерение сварных швов
.2 Механические испытания
.2.1 Испытания сварного соединения на статическое растяжение
.2.2 Испытания сварного соединения на статический изгиб
.2.3 Испытания сварного соединения на ударный изгиб
.3 Металлографические исследования
.4 Радиографический и ультразвуковой контроль
.5 Цветная и магнитопорошковая дефектоскопия
.6 Гидравлические испытания на прочность и герметичность
Заключение
Список использованной литературы
Введение
Быстрое развитие химической технологии и все возрастающее производство
многочисленного химического оборудования, и в том числе химической аппаратуры,
требуют создания высокоэффективных, экономичных и надежных аппаратов высокого
качества, большинство из которых изготовляются из стали самой распространенной
повсеместно технологией - сваркой. Для конструирования химической аппаратуры в
настоящее время имеется много новых стандартов СЭВ, ГОСТов, ОСТов, РТМ и других
разрозненных нормативно-технических материалов.
Химические аппараты предназначаются для осуществления в них химических,
физических или физико-химических процессов (химическая реакция, теплообмен без
изменения агрегатного состояния, испарение, конденсация, кристаллизация,
растворение, выпарка, ректификация, абсорбция, адсорбция, сепарация, фильтрация
н т. д.), а также для хранения или перемещения в них различных химических
веществ.
В зависимости от назначения, чаще всего по протекающему технологическому
процессу, химические аппараты называются: реактор, теплообменник, испаритель,
конденсатор и т. д.
Содержащиеся и перерабатываемые вещества в аппаратах бывают в разном
агрегатном состоянии (чаще всего в жидком и газообразном, реже в твердом),
различной химической активности (по отношению к конструкционным материалам) -
от инертных до весьма агрессивных, для обслуживающего персонала - от безвредных
до токсичных и в эксплуатации - от безопасных до огневзрыво- опасных.
Различные химико-технологические процессы в аппаратах осуществляются при
различных, свойственных каждому процессу, давлениях - от глубокого вакуума до
избыточного в несколько сот тысяч килопаскалей и самых разнообразных
температурах: от - 250 до +900 СС.
Характер работы аппаратов бывает непрерывный и периодический, а установка
их может быть стационарной (в помещении или на открытой площадке) и
нестационарной (предусматривающей или допускающей перемещение аппарата).
Основными особенностями этих конструкций с точки зрения сооружения
являются значительные геометрические размеры - порядка десятков метров,
большая, исчисляемая километрами, протяженность сварных соединений, к плотности
и прочности которых к тому же предъявляются высокие требования.
Одним из широко распространенных технологических процессов получения
такой аппаратуры является сварка. Хотя сварка является ведущим технологическим
процессом изготовления металлических конструкций, однако, значительная часть
общей трудоемкости производства сварного изделия приходится на заготовительные,
сборочные и отделочные операции. Отсюда следует, что обеспечение реальной
интенсивности производства сварных конструкций возможно только на основе
комплексной механизации и автоматизации всех основных и вспомогательных
операций.
При осуществлении собственно сварочных операций, в том числе при
применении механизированных способов сварки, выполняются вспомогательные приемы
по установке и кантовке изделий под сварку, зачистке кромок и швов, установке
автомата в начале шва, отводу автомата или перемещению изделия и т.д. На
выполнение этих операций затрачивается в среднем 35% трудоемкости собственно
сварочных операций. Таким образом, комплексная механизация сварочного
производства имеет чрезвычайно важное значение.
1. Общие сведения
.1
Характеристика изделия и условия его работы
Абсорбер (рисунок 1) предназначен для предварительной очистке газа от
влаги раствором триэтиленгликоля .

Рисунок 1 - Абсорбер
Техническая характеристика приведена в таблице 1.
Внутренний
диаметр 
= 2350
мм, длина цилиндрической части L=7400 мм, толщина стенки S = 24 мм,
материал - сталь 16Г2АФ. Годовая программа изготовления 50 шт.
Таблица
1 - Техническая характеристика
|
Назначение: Предварительная
очистка газа от влаги раствором триэтиленгликоля
|
|
Параметры
|
|
Давление, МПа (кгс/ )Рабочее,
не более8,2 (82)
|
|
|
|
Расчетное
|
8,2 (82)
|
|
Пробное при гидравлическом
испытании
|
10,25 (102,5)
|
|
Температура, °С
|
Расчетная стенки
|
100
|
|
Минимально допустимое
отрицательная стенки аппарата, находящегося под давлением
|
Минус 33
|
|
Средняя наиболее холодной
пятидневки района установки аппарата
|
Минус 21
|
|
Минимальная рабочей среды
|
Минус 10
|
|
Максимальная рабочей среды
|
60
|
|
Среда
|
Состав
|
1)
|
|
Характеристика
|
2)
|
|
Прибавка на коррозию, мм
|
4
|
|
Расчетный срок службы, лет,
не менее
|
20
|
|
Внутренний объем
(вместимость),  , не
более121,1
|
|
|
Район территории по
скоростным напорам ветра
|
III
|
|
Расчетное количество циклов
нагружения за весь период работы, не более
|

|
|
Группа аппаратов для
контроля сварных соединений
|
1
|
1.2
Технические требования
1. Аппарат подлежит действию «Правил устройства и безопасной
эксплуатации сосудов, работающих под давлением»(ПБ 03 - 584 - 94 ).
2. Технические требования по ОСТ 26.291 - 94.
. Пуск. Остановку и испытание аппарата в зимнее время следует
производить в соответствии с «Регламентом».
. Материал основных элементов аппарата, сварочные материалы:
.1 Корпус, днища из стали 16Г2АФ по ГОСТ 19282 - 73.
.2 Опора из стали ВСт3сп по ГОСТ 380-94.
.3 Штуцера - сталь 16Г2АФ по ГОСТ 19282 - 73.
.4 Крепеж - сталь 16Г2АФ по ГОСТ 19282 - 73.
.5 Проволока сварочная Св - 10НМА по ГОСТ 2246-70; флюс АН - 47 ГОСТ
9087-81.
5. Допускается замена марок основных и сварочных материалов
материалами, свойства которых не ухудшают качество изделия в целом.
6. Аппарат подлежит термообработке по технологии ОГМет.
. Нормы оценки качества сварных соединений приняты по ОСТ
26.291-94
. Сварные соединения подвергнуть контролю в объеме требований
ОСТ26.291-94 для аппарата 1 группы согласно «карте сварных соединений»
. * Размеры для справок.
1.3
Характеристика материалов
По справочным данным для стали 16Г2АФ по ГОСТ 19282 - 73 химический
состав, (таблица 2):
Таблица 2 - Химический состав стали 16Г2АФ
|
C
|
Si
|
Mn
|
Cr
|
Ni
|
Cu
|
V
|
N
|
P
|
S
|
As
|
|
|
|
Не более
|
|
|
Не более
|
|
0,14-0.20
|
0,3-0,6
|
1,3-1,7
|
0,40
|
0,30
|
0,30
|
0,08-0,14
|
0,015-0,025
|
0,035
|
0,040
|
0,08
|
|
|
|
|
|
|
|
|
|
|
|
|
|
|
В
соответствии с ГОСТ 19282 - 73 для стали 16Г2АФ механические свойства, (таблица
3):
Таблица 3 -
Механические свойства стали 16Г2АФ
|
Структурный класс
|
σ
т, МПа
|
 , МПаδs,
%КСU, Дж/
|
|
|
|
|
|
|
При Т -40°С
|
При Т -70°С
|
|
Перлитная
|
440
|
590
|
20
|
39
|
29
|
1.4 Оценка
свариваемости
Сталь16Г2АФ является микролегированной, относится к перлитному классу и
находит широкое применение при изготовлении конструкций ответственного
назначения - таких, как сосуды высокого давления, танкеры, суда, ледоколы,
береговые и морские нефтегазовые сооружения. Наряду с экономией легирующих
элементов при ее использовании особенно в термо- и термомеханически
обработанном состояниях обеспечиваются высокая прочность и сопротивляемость
хрупкому разрушению металла.
Микролегированные стали обладают хорошей свариваемостью. Свойства сварных
соединений при сварке на погонной энергии до 50 кДж/см, как правило,
удовлетворяют предъявляемым требованиям. Однако допускается возможность сварки
на повышенных погонных энергиях, достигающих 50 - 100 кДж/см. С увеличением
погонной энергии сварки более 100 кДж/см ударная вязкость металла в зоне
термического влияния снижается из-за роста зерна аустенита, образования смеси
структур верхнего бейнита, игольчатого феррита и высокоуглеродистого
мартенсита.
Свариваемость микролегированных сталей в значительной степени зависит не
только от легирующих и микролегирующих элементов, но и от содержания примесных
элементов. В особенности это относится к S, которая повышает склонность соединений к образованию
горячих и отслаивание металла вследствие «раскатывания» сульфидных включений
при прокатке, а так же изменения их состава и физических свойств.
В сталях, микролегированных V и содержащих Мп и Сг, активность элементов
по отношению к S убывает в следующей последовательности: Mn, V, Сг.
Увеличение погонной энергии сварки сопровождается увеличением количества
доэвтектоидного феррита и интенсивным снижением ударной вязкости металла
околошовного участка зоны термического влияния сварных соединений.
Микролегированные стали с пониженным содержанием С и углеродного
эквивалента допускают возможность сварки без подогрева до больших толщин
проката, чем обычные низколегированные стали соответствующей категории
прочности. Однако при сварке корневых швов в ряде случаев подогрев обязателен с
целью предотвращения возможности образования холодных трещин. Температуру
подогрева выбирают с учетом степени легированности стали, оцниваемой по величине
Сэкв, толщины стенки свариваемой конструкции, температуры окружающего воздуха и
типа покрытия электрода, где

,
Для стали 16Г2АФ

При Сэкв = 0,474…0,51 % и толщине металла 24 мм, необходим подогрев в
диапазоне температур 100…150 °С.
2.
Проектирование заготовительных операций
Разобьем данную конструкцию на сборочные единицы и детали. Изделие
состоит из цилиндрической части корпуса, двух полусферических днищ и опоры.
2.1
Расконсервация металла
После отгрузки металла на завод необходимо произвести его расконсервацию,
т.е. удаление всякого рода загрязнений, а также окалины и следов коррозии с
поверхности металла.
Расконсервацию производить в следующей последовательности:
. Механическое удаление густых консервационных смазок, бумаги, пленок
скребками;
. Обдувка поверхности насыщенным паром;
. Протирка поверхности волосяными щетками, ветошью, салфетками,
смоченными керосином, уайт-спиритом или бензином марки Б-70;
. Просушка, обдувка сжатым воздухом;
.Удаление глубоких следов коррозии, царапин и трещин с помощью
металлических щеток;
После расконсервации листы должны сохранить маркировку завода-поставщика,
должна отсутствовать вкотная окалина, риски, царапины, выводящие толщину
проката за минусовой допуск. Листы не должны изменить своей геометрической
формы и физико-механических свойств.
.2 Правка листового проката
Перед запуском в производство проверяются геометрические размеры листов,
их кривизна в продольном и поперечном направлениях - измеряется стрела прогиба.
Кривизна листа должна быть не более 12 мм/погонный метр. Если эта величина
превышена, осуществляют правку металла. Так как толщина листов металла S=24мм, правку листового проката не
производим.
2.3 Раскрой
цилиндрической части корпуса
Цилиндрическая часть корпуса, может компоноваться методом обечаек и
методом карт. Метод обечаек используется в нефтяной и химической промышленности
для формирования цилиндрической части корпусов.
При этом методе вся цилиндрическая часть делится на отдельные обечайки.
Каждая обечайка собирается и сваривается отдельно с одним или несколькими
продольными стыками, затем обечайки собираются в корпус.
Рисунок 2 - Цилиндрическая часть корпуса адсорбера
Определим количество обечаек по формуле:

= 
,
где

-
количество обечаек, [шт];

- длина
цилиндрической части, [мм];

-
максимальная ширина стандартного листа по ГОСТ 19903 - 74 на сортамент стали,
[мм].
Необходимое
количество обечаек должно быть целым числом. Согласно расчету, примем
количество обечаек равным 3шт. Исходя из этого, согласно ГОСТ 19903 - 74, при
толщине металла S = 24 мм, примем ширину листов обечайки равную 2 × 2800 мм и 1 × 1800.
Определим
длину развертки обечайки по формуле:

,
где

- длина
развертки обечайки , мм;

-
диаметр аппарата, мм;
S - толщина
стенки, мм;

-
сварочный зазор, мм (принимаем 
3 мм);

- припуск
на механическую обработку, мм (принимаем 
=5мм);
a - допустимое
отклонение формы ( а = 0,01D)

мм.
Из
сортамента выбираем длину стандартного листа близкой к размеру развертки
обечайки.
Исходя,
из полученных данных выбираем 2 листа размерами 24×2800×7500 мм и 1 лист 24×1800×7500 мм. Для производства 50 аппаратов необходимо взять 100
листов размерами
24×2800×7500 мм и 50 листов 24×1800×7500
мм.
Определим
коэффициент отхода на цилиндрическую часть корпуса:

,
где

-
коэффициент отхода;

-
площадь листа по ГОСТ, 
;

-
площадь заготовок, 
;

-
площадь технологических планок,
.
2.4 Раскрой
эллиптического днища
Полусферические и эллиптические днища могут быть изготовлены двумя
методами штамповкой и фланжированием. При больших диаметрах полусферических
днищ штамповкой изготавливают лепестки и сегменты.
Эллиптические днища (рисунок 3 ) изготавливают штамповкой в горячем или
холодном состоянии в зависимости от толщины, марки материала и диаметра, а
также фланжированием в горячем состоянии при t=1050…1200°С.
Днища могут изготавливаться сварными из двух или нескольких частей.
Операция фланжирования совмещённая операция штамповки центральной части днища,
и обкатки двумя роликами периферийной части днищ.
Рисунок 3 - Схема эллиптического днища
Определим диаметр заготовки днища по формуле:

,
где

мм,
Dзаг - диаметр
заготовки, мм;
h - высота
цилиндрической части днища, равное h = 40…80 мм (принимаем 60);
- припуск
на обработку (
=(1,5..2,0)% D’заг), (принимаем1,6%)
D’заг =(2,422 ∙1187
+ 2∙ 60 ) =2994,9 мм
Dзаг = 2994,9 +
47,9 = 3043 мм.
Для экономии металла днище делаем разрезным по ОСТ 26-291-94 по схеме,
представленной на рисунке 4:
Рисунок 4 - Схема разрезной заготовки днища
Расстояния l от оси заготовки эллиптических и торосферических днищ до
центра сварного шва должны быть не более 1/5 внутреннего диаметра днища.
Таким образом, учитывая расчет для изготовления днищ выбираем 1 лист
размерами 24×2000× 8700 мм.
Определим коэффициент отхода на днище:

,
2.5 Раскрой
опорной части аппарата
Опорная часть адсорбера состоит из следующих частей:
) опорная обечайка из стали ВСт3сп толщиной 10 мм;
) опорное кольцо из стали ВСт3сп толщиной 10 мм;
Раскрой опорной и переходной обечаек аналогичен раскрою цилиндрической
части аппарата. Так как толщина стенки корпуса аппарата (S=24 мм) больше стенки опорной части (S=10 мм), следует присоединять опору к
днищу таким образом, чтобы срединные диаметр совпадали.
Рассчитаем срединный диаметр:
,
где
Dвн - внутренний диаметр обечайки;
S - толщина
обечайки;
мм;
Рассчитаем
внутренний диаметр опоры:
,
где
Dср - срединный диаметр;
Sопоры - толщина
опоры;
мм;
Подсчитаем
длину развертки опорной части аппарата по формуле:
мм.
Для
изготовления опорной обечайки выбираем по ГОСТ 19903-94 один лист 10×1250×7500 мм из стали ВСт3сп (50 листов в расчете на годовой
выпуск).
Опорное
кольцо изготовим разрезным, состоящим из восьми равных частей (рисунок 6). По
ГОСТ 19903-94 выбираем один лист 10×1250×3200 мм из стали ВСт3сп, из которого кроим составные
части кольца, а также вводные-выводные планки: 32 штуки для сварки кольца и еще
4 для опорной обечайки.
Для
изготовления скоб под фундаментные болты по ГОСТ19903-94 выбираем лист 10×1250×3400мм. (50 листов в расчете на годовой выпуск).
Количество
отходов на опорную обечайку, опорное кольцо и скобы под фундаментные болты:
Подсчитаем
общее количество отходов по формуле:

,
где

-
Коэффициент отходов на каждую деталь, %
N - количество
деталей в конструкции.
Полученный
коэффициент отходов не превышает допустимых 8%, следовательно, раскрой можно
считать рациональным.
Карты
раскроя приведены в приложении №1.
2.6 Разметка
листового проката
Разметка стандартных листов осуществляется по шаблону, который
представляет собой точную копию будущей детали. Шаблоны изготавливают из
тонколистового алюминия, картона или плотной бумаги. Контуры деталей наносятся
мелом или керном, если до вырезки деталей предполагается длительное хранение
листов. После разметки осуществляется вырезка деталей.
2.7 Резка
материала
Для резки материала применим плазменную резку. Данный вид резки металла
позволяет получать очень хорошее качество реза, при толщине до 30 мм не
требуется последующая обработка, имеет высокую производительность. Плазменная
резка заключается в проплавлении разрезаемого металла за счет теплоты,
генерируемой сжатой плазменной дугой, и интенсивном удалении расплава
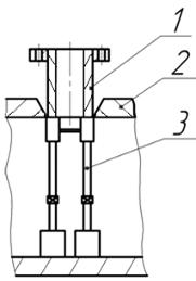
плазменной струей. Рассмотрим схему плазмообразования (рисунок 5).

1 - Подача газа; 2 - Дуга; 3 - Струя плазмы; 4 - Обрабатываемый металл; 5
- Наконечник; 6 - Катод; 7 - Изолятор; 8 - Катодный узел.
Рисунок 5 - Схемы плазмообразования
Используют дугу прямого действия, возбуждаемую на обрабатываемом металле,
являющемся одним из электродов разряда. При этом используется энергия одного из
приэлектродных пятен дуги и энергия плазмы столба и вытекающего из него факела.
Поэтому резку по такой схеме называют плазменно-дуговой. Плазменно-дуговую
резку характеризует высокая эффективность, поскольку полезная мощность сжатой
дуги реализуется в частях разряда, вынесенных за пределы наконечника.
Основными элементами плазмотрона, предназначенного для плазменной резки,
являются электрод (катод), сопло и изолятор между ними (рисунок 6).
- Корпус; 2 - Электрод (катод); 3 - Формирующий наконечник;
4 - Изолятор; 5 - Разрезаемый металл; 6 - Дуговая камера; 7 - Столб дуги;
8 - Подача охлаждающей воды; 9 - Подача плазмообразующего газа;
10 - Слив воды; 11 - Источник тока; 12 - Устройство зажигания дуги;
Vр - Направление резки.
Рисунок 6 - Режущий плазмотрон
Корпус режущего плазматрона содержит цилиндрическую дуговую камеру малого
диаметра с выходным каналом, формирующим сжатую (плазменную) дугу. Для
возбуждения плазмогенерирующей дуги служит электрод, располагаемый обычно в
тыльной стороне дуговой камеры. Столб дуги ориентируется по оси формирующего
канала и заполняет практически все его сечение.
В дуговую камеру подается рабочий газ (плазмообразующая среда). Газ,
поступая в столб дуги, заполняющий формирующий канал, превращается в плазму.
Вытекающий из сопла поток плазмы стабилизирует дуговой разряд. Газ и жесткие
стенки формирующего канала ограничивают сечение столба дуги (сжимают его), что
приводит к повышению температуры плазмы до 15000 - 20000 ºС. При этих температурах
электрическая проводимость плазмы приближается к электропроводимости
металлического проводника. Скорость плазмы в струе, истекающей из сопла
режущего плазматрона, может превышать 2…3 км/с.
В качестве электрода при воздушно-плазменной резке могут быть
использованы гафний и цирконий. На их поверхности при определенных условиях
образуются тугоплавкие оксиды, препятствующие разрушению электрода.
Для
резки листового металла используем аппарат для плазменной резки металлов
ПУРМ-160А предназначен для разделительной резки любых металлов и сплавов
толщиной до 50 мм. У источника питания аппарат оснащен системой плавной
регулировки тока в диапазоне 70...150 А со стабилизацией +/- 2,5%.Это позволяет
получать качественный рез, а также использовать аппарат ПУРМ-160А на машинах
термической резки, в том числе и с числовым программным управлением (ЧПУ).
Регулировать ток резки возможно непосредственно во время работы. Технические
характеристики аппарата плазменной резки <#"580099.files/image048.gif">
Рисунок 7 - Четырехвалковая схема вальцевания
Четырехвалковые машины отличаются широкими технологическими
возможностями: на них можно получать цилиндрическую обечайку с подогнутыми
концами без съема и перестановки листа и вальцевать обечайки за один проход.
Четырехвалковые машины считаются наиболее универсальными, точными и
простыми в эксплуатации. Мгновенное и идеальное центрирование листа на этапе
загрузки возможно благодаря использованию одного из боковых валков как
ориентира для отсчета. Это позволяет выполнение операции одним оператором.
Машина с четырьмя валками по своим режимам работы является единственной
вальцовочной машиной, которой можно эффективно управлять с помощью цифрового
управления. Практически, это идеальная вальцовочная машина для толщин от 1 до
150 мм.
Выбираем листогибочную машину DEKA W12- 30х3000, на машинах данной серии
возможна гибка листов толщиной от 8 мм до 60 мм и шириной до 4000 мм;
универсальные и точные валковые машины; приводным является верхний и средний
вальцы; главный и вспомогательный приводы - гидравлические. Технические
характеристики приведены в таблице 6.
Таблица 6 - Технические параметры 4-х валковой гидравлической машины DEKA
W12- 30х3000
|
Характеристика
|
Значение
|
|
Макс. ширина гиба, S, мм
|
3000
|
|
Макс.толщина листа с
подгибом кромок, мм
|
25
|
|
Макс.толщина листа, мм
|
30
|
|
Скорость гиба, м/мин
|
4
|
|
Минимальный диаметр детали
при полной нагрузке, мм
|
1300
|
|
Диаметр верхнего валка, мм
|
560
|
|
Диаметр нижнего валка, мм
|
520
|
|
Диаметр боковых валков, мм
|
420
|
|
Мощность главного
двигателя, кВт
|
60
|
|
Габаритные размеры, мм
|
9200х3500х2900
|
Вальцевание листового материала может производиться как в холодном, так и
в горячем состоянии в зависимости от свойств материала и возникающих при этом
деформаций. При вальцевании для определения деформаций используют зависимость:
Если это условие выполняется, ожидаемая деформация превышает допустимую
(25%) и вальцевать следует в горячем состоянии. Рассчитаем ожидаемую деформацию
для обечаек аппарата. Для обечаек корпуса:
Для
обечаек опоры:
Таким
образом, деформации не превышают допустимые и вальцевать следует в холодном
состоянии.
2.9
Формирование днищ
Эллиптические днища могут изготавливаться штамповкой или фланжированием
как в холодном, так и в горячем состоянии. Штамповка производится в специальных
прессах по системе пуансон-матрица. Схема штамповки представлена на рисунке 8.
Для изготовления днищ выбираем пресс гидравлический листоштамповочный
двойного действия колонный П4638, ГОСТ 7600-90. Прессы применяются для
выполнения операций по вытяжке, горячей и холодной формовке при изготовлении
изделий типа днищ, сосудов, резервуаров, котлов и других подобных изделий.
Технические характеристики пресса приведены в таблице 7.
Таблица 7 - Технические характеристики гидравлического пресса П4638
|
Характеристика
|
Значение
|
|
Номинальное усилие
траверсы, кН
|
25000
|
|
Ход траверсы, мм
|
2500
|
|
Расстояние между столом и
траверсой, мм
|
3900
|
|
Размеры стола, мм
|
6000x5500
|
|
Масса, кг
|
306000
|
|
Размер, мм
|
18950x9820x12550
|
|
Мощность, кВт
|
240
|
|
макс. скорость шпинделя,
мм/с
|
3550
|
|
мин. скорость шпинделя,
мм/с
|
3550
|
|
Скорость холостого хода
ползуна, мм/с
|
300
|
|
Расстояние между столом и
ползуном, мм
|
2600
|
|
Ход ползуна, мм
|
1700
|
|
Номинальное усилие, кН
|
6300
|

Рисунок 8 - Схема штамповки эллиптического днища
.10
Подготовка кромок под сварку
Продольные и кольцевые стыки обечаек, а также стыки днищ будут
свариваться автоматической дуговой сваркой под флюсом. По ГОСТ 8713-79 для
сварки частей аппарата принимаем разделку типа С18 с V образным скосом кромок на медном ползуне. Параметры разделки
кромок с указанием допусков приведены на рисунке 9. В таблице 8 указаны размеры
конструктивных элементов.
Рисунок 9 - Конструктивные элементы подготовленных кромок свариваемых
деталей и сварного шва
Таблица 8 - Размеры конструктивных элементов, мм
|
Способ сварки
|
S=S1
|
е
|
c
|
|
|
|
Номин.
|
Пред. откл.
|
Номин.
|
Пред. откл.
|
|
20-26
|
26
|
+5 -5
|
4
|
Выбираем станок для снятия фаски с прямолинейных поверхностей и труб с
автоматическим продвижением станка вдоль листа EDGE 46. Толщина обрабатываемого
листа от 8 до 60 мм; диапазон угла фаски плавно регулируемый от 15° до 60°.
Станок «EDGE 46» точно формирует угол кромки, обеспечивает низкую себестоимость
погонного метра. Обладает режимом самоподачи по листу, что увеличивает
производительность работ. Угол наклона фрезы быстро перенастраивается. Станок
имеет регулируемые скорости фрезерования и подачи, переднюю и обратную подачу,
аварийный тормоз.
Подготовка кромок под сварку кольцевых стыков обечаек и днищ производится
на токарно-карусельном станке схема которого показана на рисунке 10.
1 - портал; 2 - заготовка; 3 - центрирующие зажимы; 4 - вращающаяся
планшайба; 5 - суппорт станка, перемещающийся вдоль портала; 6 - обойма для
зажатия резца;
Рисунок 10 - Схема токарно-карусельного станка
Таблица 9 - Технические характеристики машины для снятия фаски «EDGE 46»
|
Характеристика
|
Значение
|
|
Потребляемое
напряжение/частота, В/Гц
|
380 (трехфазный)
/50
|
|
Суммарная
потребляемая мощность, KВт
|
4,4
|
|
Скорость подачи, м/мин
|
0-1,0
|
|
Толщина листа
(S), мм
|
8-60
|
|
Угол обработки кромки (a),
диапазон
|
15° -60°
|
|
Габаритные
размеры, мм
|
805×1300×740
|
|
Длина кромки
|
без ограничений
|
|
Масса нетто, кг
|
119
|
Выбираем токарно-карусельный станок «БОРЕЦ C5280»
Таблица 10 - Технические характеристики станка «БОРЕЦ C5280»
|
Характеристика
|
Значение
|
|
Макс. диаметр обработки, мм
|
8000
|
|
Диаметр рабочего стола, мм
|
6300/7100
|
|
Макс. высота заготовки, мм
|
4000/4500/5000
|
|
Макс. вес заготовки, мм
|
80/125
|
|
Размер под оправку, мм
|
70х70
|
|
Макс. усилие реза
инструментальной головки, кН
|
Правая 80/100 Левая 63/80
|
|
Макс. крутящий момент
рабочего стола, кН
|
460
|
|
Диапазон скоростей рабочего
стола, об/мин
|
0.2-20
|
|
Диапазон подач, мм/мин
|
1-500
|
|
Скорость быстрых
перемещений, мм/мин
|
4000
|
|
Макс. горизонтальные
перемещения инструментальной головки, мм
|
-50-4400
|
|
Макс. вертикальные
перемещения инструментальной головки, мм
|
2000/2500/2760
|
|
Макс. поворот левой
головки, град.
|
-15~+30
|
|
Перемещение каретки, мм
|
3000/3650/4250
|
|
Скорость поднятия каретки,
мм/мин
|
230
|
|
Сечение ползуна, мм
|
320/360
|
|
Мощность электропривода,
кВт
|
DC110/132
|
2.11
Требования к изготовлению
После сборки и сварки обечаек корпус (без днищ) должен удовлетворять
следующим требованиям:
Отклонение по длине не более ± 0,3% от номинальной длины, но не более ±75
мм.
Отклонение от прямолинейности не более 2 мм на длине 1 м, но не более 20
мм при длине корпуса не более 10 м на длину корпуса.
При этом местная непрямолинейность не учитывается: в местах сварных швов;
в зоне вварки штуцеров и люков в корпус; в зоне конусности обечайки,
используемой для достижения допустимых смещений кромок в кольцевых швах
сосудов, имеющих эллиптические днища.
Отклонение от прямолинейности корпуса (без днищ) сосудов с внутренними
устройствами, устанавливаемыми в собранном виде, не превышает величину
номинального зазора между внутренним диаметром корпуса и наружным диаметром
устройства на участке установки.
Отклонение внутреннего (наружного) диаметра корпуса сосудов допускается
не более ±1% номинального диаметра.
Относительная овальность "а" корпуса сосудов не должна
превышать 1%. Величина относительной овальности определяется:
в местах, где не установлены штуцера и люки, по формуле:
;
в местах установки штуцеров и люков по формуле:
,
где Dmax, Dmin - соответственно наибольший и наименьший внутренние
диаметры корпуса, измеренные в одном поперечном сечении, d - внутренний диаметр
штуцера или люка.
Отклонения размеров и формы эллиптических днищ (рисунок 11) не должны
превышать следующих значений:
предельное отклонение высоты цилиндрической части,
h: 5 мм;
предельная высота отдельной вогнутости или выпуклости на эллипсоидной
части, Т: 4 мм;
допуск наклона,
m: 8 мм;
зазор между шаблоном и эллипсоидной поверхностью, Δr:
16 мм
зазор между шаблоном и эллипсоидной поверхностью, ΔR:
41 мм
Рисунок 11 - Отклонения размеров и формы эллиптического днища
корпус кромка штуцер сварка
На цилиндрической части днища не допускаются гофры высотой более 2 мм/м.
Для днищ, изготавливаемых штамповкой, допускается утонение в зоне отбортовки до
15% от исходной толщины заготовки.
При установке штуцеров и люков:
позиционное отклонение (в радиусном измерении) осей штуцеров и люков
допускается не более ±10 мм;
отклонения диаметров отверстий под штуцера и люки должны быть в пределах
зазоров, допускаемых для сварных соединений по конструкторской документации;
оси отверстий для болтов и шпилек фланцев не должны совпадать с главными
осями сосудов и должны располагаться симметрично относительно этих осей, при
этом отклонение от симметричности допускается не более ±5°;
отклонение по высоте (вылету) штуцеров допускается не более ±5 мм.
Для контроля на герметичность при наличии облицовочной гильзы необходимо
предусмотреть контрольное отверстие с резьбой M10 по по ГОСТ 8724.
3. Проектирование сборочных операций
Сборочная
операция - это операция для обеспечения точного сопряжения собираемых деталей
перед сваркой, исключающая появление изгибающих моментов, не учитываемых
расчетом. Для сосудов, работающих под давлением, имеющих эллиптические днища,
ответственными за прочность конструкции являются продольные стыки обечаек и швы
заготовок днищ.
Технологический
процесс сборки независимо от способа производства должен удовлетворять
требованиям: соблюдение требуемой последовательности сборки и сварки;
применение необходимого инструмента и приспособлений, повышающих
производительность труда; проведение пооперационного контроля качества сборки;
соблюдение допусков на размеры конструкции; соблюдение правил техники
безопасности.
.1 Сборка
продольных стыков заготовок эллиптических днищ
Заготовка
эллиптического днища состоит из двух частей. Сборку будем производить по
упорам-фиксаторам. Сборка осуществляется на универсальных сборочно-сварочных
плитах, обеспечивающих достаточную плоскость стола для точной сборки заготовок
днищ. Сборочная плита (рисунок 12) состоит из набора пазов, такие плиты
собирают из отдельных литых блоков размером 2x2 м и из них комплектуют плиты
необходимых размеров. В эти пазы с помощью винтовых зажимов закрепляются
специальные сборочные приспособления.
Сборку заготовок эллиптического днища будем производить в следующей
последовательности:
. Собираемые заготовки помещаются на сборочную плиту.
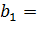
Рисунок 12 - Плита сборочно-сварочная
. Выставляется зазор в стыке (разделка С18, рисунок 9), для чего
используем по 2 винтовые стяжки (рисунок 14) на стык, располагая их так, чтобы
они находились на равном расстоянии друг от друга.
1 - вводные планки; 2- контрольные пластины; 3 - заготовки; 4 - выводные
планки
Рисунок 13 - Схема базирования сборки заготовок днища
Прихватку винтовых стяжек будем выполнять РДС электродами типа Э42А,
марки УОНИИ 13/45, диаметром 3 мм на постоянном токе обратной полярности. В
качестве источника питания питания выберем сварочный полуавтомат Kemppi Pro
Evolution 5200/5200 MVU (таблица 12).
Таблица 12 - Технические характеристики полуавтомата Kemppi Pro Evolution
5200/5200 MVU
|
Сетевое напряжение
|
|
3~50/60 Гц
|
400 В (+- 15%)
|
|
Сетевое напряжение MVU
|
|
3~50/60 Гц
|
400 В (+- 15%)
|
|
3~50/60 Гц
|
230 В (+- 10%)
|
|
Сетевой кабель /
предохранитель инерционный
|
4х6 S-5м/35 А
|
|
Сетевой кабель /
предохранитель инерционный MVU
|
4х16S-5м/63 А
|
|
Нагрузка при 40°С
|
|
ПВ-70%
|
520 А / 26,6 кВА
|
|
ПВ-100%
|
440 А / 20 кВА
|
|
Коэффициент мощности
|
0,93
|
|
Диапазон сварочных токов и
напряжений
|
|
MMA
|
10...520 А
|
|
TIG
|
5...520 А
|
|
MIG
|
12...42 В
|
|
Габаритные размеры
|
530х230х520 мм
|
|
Габаритные размеры MVU
|
530х230х630 мм
|
|
Масса
|
48 кг
|
|
Масса MVU
|
56 кг
|
Величина зазора в стыке контролируется с помощью специальных щупов или
калиброванной закаленной стальной проволоки.
. Обеспечивается минимальное превышение кромок в стыке Δ,
не более допустимого
(2,4 мм согласно ОСТ 26.291-94), с помощью полуструбцин (рисунок 15), которые
распологаются следующим образом: две по краям, остальные по центру стыка с
шагом 800 мм. Прихватка полуструбцин выполняется РДС электродами типа Э42А,
марки УОНИИ 13/45, диаметром 3 мм на постоянном токе обратной полярности.
Рисунок 14 - Схема винтовой стяжки
. Осуществляется фиксация собранных элементов, с помощью прихваток.
Прихватка выполняется РДС электродами типа Э42А, марки УОНИИ 13/45, диаметром 3
мм на постоянном токе обратной полярности. Сечение прихватки должно составлять
1/3 сечения первого прохода, но не более 4 мм. Длина прихватки 100 мм,
расстояние между прихватками 500 мм.
- скоба; 2 - прихватка; 3 - кромки стыка; 4 -винт.
Рисунок 15 - Устранение превышения кромок с помощью полуструбцины
. После фиксации всех параметров (требуемый зазор в соответствии с
выбранной разделкой, устранение превышения кромок) к заготовке привариваются
вводные, выводные планки и контрольные пластины РДС электродами типа Э42А,
марки УОНИИ 13/45, диаметром 3 мм на постоянном токе обратной полярности с
предварительным подогревом места установки прихватки до 150ºС при помощи ацетиленовой горелки
ГС-3. Температура подогрева контролируется при помощи термокарандаша
Tempilstik.
. Пневмозубилом удаляются полуструбцины и винтовые стяжки, а места их
установки зачищаются. Заготовки готовы к последующей сварке.
3.2 Сборка продольных
стыков обечаек
Сборку продольных стыков обечаек будем производить на роликовом стенде
Т-30А с применением УСП. Роликовый стенд предназначен для вращения длинных
цилиндрических изделий при автоматической сварке продольных и кольцевых швов.
Технические данные стенда приведены в таблице 13.
Таблица 13 - Техническая характеристика роликового стенда Т-30А
|
Максимальная
грузоподъемность, кг
|
10000
|
|
Допустимая нагрузка на один
ролик, кг
|
1300
|
|
Диаметр свариваемых
изделий, мм
|
650 - 2000
|
|
Скорость вращения, м/ч
|
24 - 96
|
|
Маршевая скорость, м/мин
|
13
|
Сборку производим в следующей последовательности:
. Обечайка устанавливается на роликовый стенд (рисунок 16).
. Установим требуемый зазор в стыке при помощи винтовых стяжек (рисунок
14). Стяжки разместим по обеим сторонам обечайки и по центру с шагом 800 мм,
зазор в стыке b=0+1 мм. Величину зазора в стыке
будем контролировать с помощью специальных щупов или калиброванной закаленной
стальной проволоки.
. Выставим минимальное превышение кромок в стыке Δ,
не более допустимого при
помощи полуструбцин, расположенных в местах, где превышение кромок максимально.
Максимально допустимое превышение кромок Δ составляет 2,4 мм. Прихватку
полуструбцин произведем РДС электродами типа Э42А, марки УОНИИ 13/45, диаметром
3 мм на постоянном токе обратной полярности с предварительным подогревом места
установки прихватки до 150ºС при помощи ацетиленовой горелки
ГС-3. Температура подогрева контролируется при помощи термокарандаша
Tempilstik.
. Произведем прихватку стыка РДС электродами типа Э42А, марки УОНИИ
13/45, диаметром 3 мм на постоянном токе обратной полярности с предварительным
подогревом места установки прихватки до 150ºС. Расстояние между прихватками 500
мм. Сечение прихватки должно составлять 1/3 сечения первого прохода, но не более
4 мм, длина прихватки 100 мм. Две прихватки расположим по краям, что обеспечит
безопасную транспортировку заготовок на последующую операцию сварки.
Рисунок 16 - Установка зазора и превышения кромок в стыке
. Приварим вводные, выводные планки и контрольную пластину РДС
электродами типа Э42А, марки УОНИИ 13/45, диаметром 3 мм на постоянном токе
обратной полярности с предварительным подогревом места установки прихватки до 150ºС при помощи ацетиленовой горелки
ГС-3. Температура подогрева контролируется при помощи термокарандаша
Tempilstik.
. Удаляем полуструбцины и винтовые стяжки пневмозубилом, места их
установки зачищаем. Далее заготовку подаем на сварку продольного стыка.
3.3 Сборка
обечаек между собой в корпус
Сборку обечаек между собой в корпус будем производить на специальной
установке (рисунок 17) методом последовательного наращивания обечаек в корпус в
горизонтальном состоянии в следующей последовательности:
. Предварительно, чтобы исключить превышение кромок сверх допустимого,
все обечайки данного корпуса подвергаются измерению периметра рулеткой. На
каждой обечайке мелом наносится значение периметра.
1 - тележка; 2 - скоба сборочная; 3 - винт; 4 - опорный винт с
наконечником; 5 - роликовый стенд; 6, 7 - гидроцилиндры; 8 - гидротолкатель; 9,
10 - обечайки
Рисунок 17 - Схема сборки обечаек в корпус на механизированном стенде
. Устанавливаем на роликовый стенд первые 2 обечайки, периметры которых
наиболее близки друг другу. Согласно требованиям ОСТ 26.291-94, продольные
стыки обечаек не должны быть продолжением друг друга, смещаться на расстояние
не менее 3-х кратной толщины металла, но не менее 100 мм. Перекрещивающиеся швы
не допускаются в сосудах работающих под давлением более 1,6 МПа из-за сложного
напряженного состояния в них. В нашем случае сосуд работает под давлением 8,2
МПа и целесообразно будет избежать перекрещивающихся швов.
. Установим первые две обечайки так, чтобы зазор в стыке превышал
стандартный на 5…10 мм. Требуемая величина зазора в стыке должна быть b=0+1 мм,
т.к. сварка кольцевых стыков будет производиться автоматической дуговой сваркой
под флюсом согласно разделке С18 ГОСТ 8713-79. Внутрь обечайки перемещается
тележка 1 со скобой 2, винт 3 опускается в нижнее положение, после чего
гидроцилиндром 6 обечайка 10 жестко фиксируется. Гидротолкателем 8 обечайка 9
перемещается к обечайки 10 на величину зазора. При помощи винта 4 и гидроцилиндра
7 обечайки устанавливаются таким образом, что превышение кромок в нижней точке
становится равном нулю. В верхней точке измеряют превышение кромок, максимально
допустимое 3,6 мм. При помощи гидроцилиндра 7 добиваются установления
превышения кромок в нижней точке Δ/2. Осуществляется прихватка в точке 1
(рисунок 18).
. Установив прихватку в точке 1, винт 3 и 4 освобождаются от
соприкосновения с корпусом, роликовый стенд поворачивается на 90º
для установки прихватки
в точке 2, затем в точке 3 и 4. После этого устанавливаем прихватки в той же
последовательности согласно схеме представленной на рисунке 18. Длина прихваток
100 мм с шагом 500мм, сечение прихватки должно составлять 1/3 сечения первого
прохода, но не более 4 мм. Прихватку будем выполнять РДС электродами типа Э42А,
марки УОНИИ 13/45, диаметром 3 мм на постоянном токе обратной полярности с
предварительным подогревом места установки прихватки до 150ºС при помощи ацетиленовой горелки
ГС-3. Температура подогрева контролируется при помощи термокарандаша
Tempilstik.
Рисунок 18 - Схема расположения прихваток при сборке обечаек
. После сборки стыка двух обечаек скоба 2 перемещается по роликовому
стенду для установки третьей обечайки. Операции повторяются, но с учетом
превышения кромок в каждом стыке. После сборки корпуса, он поступает на сборку
с первым днищем.
3.4 Сборка
цилиндрической части корпуса с первым днищем
Эллиптические днища поступают на сборку с корпусом уже со штуцером
согласно чертежу.
Сборку цилиндрической части корпуса с первым днищем будем производить в
горизонтальном положении на специальной установке (рисунок 19). Сборку будем
производить в следующей последовательности:
. Установим днище на ложемент и зафиксируем его при помощи 12
пневмоцилиндров, которые захватывают и удерживают его. При сборке эллиптических
днищ с корпусом согласно ОСТ 26.291-94, сварные швы днищ не должны совпадать с
продольными швами корпуса и отстоять друг от друга на величину не менее трех толщин
корпуса или днища, но не менее 100 мм.
1 - устройство или ложемент днища; 2 - днище, привариваемое к корпусу; 3
- поворотный механизм; 4 - роликовый стенд; 5 - корпус; 6 - пневмоцилиндры
Рисунок 19 - Сборка эллиптического днища с корпусом
. Установим на торцевой поверхности днища щупы равные величине зазора в
стыке. Величина зазора в стыке должна быть b=0+1 мм, т.к. по ГОСТ 8713-79 принята разделка кромок типа
С18.
. Гидроподъемником поднимем ложемент и состыкуем днище с корпусом.
Оставшиеся 12 пневмоцилиндров одновременно обеспечивают центрацию днища
относительно оси корпуса.
. Установим прихватки, в той же последовательности, и тем же материалом
что и при сборке обечаек в корпус (рисунок 18). После сборки корпуса с первым
днищем осуществляется сварка всех кольцевых стыков.
3.5 Разметка
и вырезка отверстий под штуцера и люки
Задачей разметки является определение координаты центра отверстия штуцера
или люка. Как правило, используется два способа разметки: с помощью лазера, с
помощью мелового шнура.
Будем использовать способ разметки с помощью лазера. Принцип разметки
этими способами следующий. Выбирается базовая плоскость, как правило, кольцевой
стык днища по оси шва или плоскость разъема корпуса и второго днища. Намечается
базовая линия, за которую принимается продольная линия, на которой
располагается максимальное количество штуцеров и люков, отмеряют от базовой
плоскости расстояние, на котором расположена плоскость, в которой находится
отверстие. После чего определяется угол, под которым располагается в этой
плоскости искомый центр отверстия, относительно базовой линии. В месте
найденного центра производят насечку керном и сверлят отверстие (либо вырезают,
в зависимости от диаметра).
При лазерной разметке (рисунок 20) на горизонтальной площадке
устанавливается лазерный генератор, который дает прямой жесткий луч вдоль
корпуса, на пути луча ставится отражатель, который одновременно с фиксацией
точки, где расположен штуцер, может фиксировать плоскость внутри корпуса, если
на этой плоскости имеется штуцер или люк. Отражатель также имеет световой лимб
с указателем углов, под которым располагается центр отверстия. Разметка
штуцеров и люков, располагаемых на днище, как правило, производится до
установки его в корпус. Перемещая отражатель на требуемое расстояние,
определяют центры всех штуцеров и люков.
- лазерный генератор; 2 - поворотный отражатель с лимбом; 3 - размечаемый
корпус; 4 - центр отверстия под люк
Рисунок 20 - Способ разметки корпуса под установку штуцеров и люков
После определения всех центров, осуществляется их сверление насквозь
сверлом диаметром 6…12 мм. Для вырезки отверстий используется аппарат
воздушно-плазменной резки ПУРМ-160А.
Одновременно с вырезкой отверстий возможна подготовка кромок под сварку с
обязательным припуском на механическую обработку.
Отклонения по диаметрам отверстий для штуцеров и люков не должны быть
более: +1,5-0,5 для отверстий Ø до 150 мм; +2,0-0,5 для Ø
150 - 300 мм и +3,0-0,5
мм для Ø
> 300 мм.
После вырезки отверстий под штуцера и люки необходимо произвести
подготовку кромок. Для этой операции используем машину «EDGE 46». Затем
приступим непосредственно к установке штуцеров и люков.
3.6 Установка
штуцеров и люков
После вырезки всех отверстий в корпусе и подготовки
кромок под сварку устанавливаются штуцера и люки.
Для установки штуцеров будем использовать схему с
заглублением штуцера в корпус аппарата. Для приварки штуцера к днищам с
требованиями и без требований стойкости против МКК рекомендуются угловые
сварные соединения типа У7 (рисунок 21).
Рисунок 21 - Конструктивные элементы подготовленных
кромок типа У7 по ГОСТ 5264-80
Последовательность установки следующая:
. Устанавливаем штуцер или люк согласно принятой для
него схеме.
2. Выверяем перпендикулярность оси люка или штуцера относительно корпуса
при помощи угольника.
- штуцер/люк; 2 - стенка абсорбера; 3 - распорка
Рисунок 22 - Способ установки штуцера в корпус аппарата
В соответствии с требованиями ОСТ 26.291-94 выверяем позиционное
отклонение осей штуцеров и люков (допускается не более ±10 мм) и отклонение по
высоте (вылету) штуцеров (не должно быть более ±5 мм).
. Производим прихватку штуцера или люка РДС электродами Э42А, марки УОНИИ
13/45, диаметром 3 мм на постоянном токе обратной полярности, длина прихвата 50
мм, шаг 100 мм.
С помощью распорки устанавливают необходимую величину заглубления штуцера
в корпус аппарата (рисунок 22), проверяют позиционное отклонение осей штуцеров
и люков (допускается не более ±10 мм).
3.7 Сборка
корпуса со вторым днищем
Сборку второго днища с корпусом абсорбера осуществляют после установки
всех штуцеров и люков. Сборка производится на том же оборудовании и в той же
последовательности что и при сборке первого днища с корпусом. Прихватки
выполняются РДС электродами типа Э42А, марки УОНИИ 13/45,диаметром 3 мм, на
постоянном токе обратной полярности.
После сборки корпус направляют на сварку собранного кольцевого стыка.
3.8 Сборка
опоры и прихватка ее к корпусу аппарата
Опора состоит из опорной обечайки, опорного кольца и ребер жесткости.
Последовательность сборки опоры:
. Аналогично сборке обечаек цилиндрической части аппарата производится
сборка опорной обечайки.
. Сборку опорного кольца осуществляют с помощью упоров-фиксаторов
(рисунок 23). Устанавливают вводные и выводные планки и прихватывают элементы
РДС электродами типа Э42А, марки УОНИИ 13/45, на постоянном токе обратной
полярности, длина прихваток 50 мм, шаг - 100 мм. После автоматической сварки
сварные швы опорного кольца в местах установки на них обечайки зачищаются
заподлицо.
Рисунок 23 - Схема сборки заготовок опорного кольца под сварку
. На опорное кольцо с помощью мостового крана устанавливают опорную
обечайку и фиксируют в нужном положении при помощи упоров (рисунок 24).
Прихватывают опорную обечайку к опорному кольцу РДС электродами типа Э42А (по
ГОСТ 9467) марки УОНИИ 13/45 (по ГОСТ 9466). Прихватки длиной 50 мм с шагом 400
мм, катет шва 3 мм.
. Ребра жесткости устанавливают по схеме, приведенной на рисунке 24,
перпендикулярность установки контролируют при помощи угольника, фиксируют
каждое ребро двумя прихватками длиной 100 мм, шов тавровый, катет шва 3 мм:
одну прихватку на соединении ребра жесткости с опорным кольцом, другую - с
опорной обечайкой. Прихватки выполняют электродами типа Э42А марки УОНИИ 13/45
на постоянном токе обратной полярности.
Рисунок 24- Схема установки опорного кольца а) и ребер жесткости б)
3.9 Сборка
корпуса аппарата с опорой
1. К собранной опоре прихватывают 8 планок-ловителей и с помощью
крана устанавливают корпус аппарата(рисунок 25).
. Прихватку корпуса аппарата к опоре выполняют РДС электродами
типа Э42А марки УОНИИ 13/45 на постоянном токе обратной полярности.
Устанавливают прихватки длиной 100 мм, с шагом 400 мм. Прихватку будем
выполнять РДС электродами типа Э42А марки УОНИИ 13/45 диаметром 3 мм на
постоянном токе обратной полярности с предварительным подогревом места
установки прихватки до 150ºС при помощи ацетиленовой горелки
ГС-3. Температура подогрева контролируется при помощи термокарандаша
Tempilstik.
Рисунок 25 - Сборка корпуса абсорбера с опорой
4.
Проектирование сварочных операций
.1 Сварочные
материалы
При изготовлении данной конструкции были использованы следующие сварочные
материалы:
сварочные проволоки марок Св-10НМА, Св-08Г2С ГОСТ 2246 - 70;
газ СО2 высшего сорта по ГОСТ 8050-85;
покрытые электроды типа Э42А марки УОНИИ 13/45, типа Э60А марки УОНИ
13/65 диаметром 3 мм по ГОСТ 9466-75,
флюсы марок АН-47 ГОСТ 9087-81.
Химический состав сварочных материалов приведен ниже.
Таблица 14 - Химический состав флюса
|
Марка
|
Массовая доля, %
|
|
SiO2
|
MnO
|
MgO
|
CaF2
|
CaO
|
Fe2O3
|
TiО2
|
Zr О2
|
S
|
P
|
|
АН-47
|
28-33
|
14-18
|
6-10
|
9-13
|
13-17
|
0,5-3
|
4-7
|
1-2.5
|
<0,05
|
<0,08
|
Рассчитаем химическую активность флюса АН-47:


,
В
- основность флюса

-
следовательно, флюс малоактивный.
Таблица
15 - Химический состав сварочных проволок
|
Марка проволоки
|
Химический состав, %
|
|
Углерод
|
Кремний
|
Марганец
|
Хром
|
Никель
|
Молибден
|
Сера не более
|
Фосфор не более
|
|
Св-10НМА
|
0,07-0,12
|
0,12-0,35
|
0,40-0,70
|
Не более 0,20
|
1,00-1,50
|
0,40-0,55
|
0,025
|
0,020
|
Для автоматической сварки под флюсом стали 16Г2АФ выбираем проволоку
10НМА, которая обеспечит химический состав металла шва, близкий к химическому
составу основного металла, тем самым предупредит развитие диффузионных
процессов на границе сплавления основного металла с наплавленным. Данная
проволока относительно недорога и имеет пониженное содержание вредных примесей
(S и P). А добавка молибдена заменяет действие ванадия.
Данная проволока предназначена для автоматической
сварки под флюсом низколегированных сталей повышенного уровня прочности и
хладостойкости металлоконструкций ответственного назначения (конструкций мостов
котлов, труб и трубопроводов работающих при высоких давлениях и температурах).
4.2 Сварка
продольных и кольцевых стыков корпуса аппарата
Сварку продольных и кольцевых стыков корпуса аппарата будем производить
автоматической сваркой под флюсом на специальной установке У-177 (рисунок 26).
Ее техническая характеристика приведена в таблице 16.
Таблица 16 - Техническая характеристика универсальной установки У-177 для
сварки продольных и кольцевых швов цилиндрических изделий
|
Параметр
|
Величина
|
|
Размеры свариваемых
изделий, мм: Диаметры Длины Толщины стенок
|
1000..3500 1000…10000 5…60
|
|
Напряжение питающей
трёхфазной сети, В
|
380
|
|
Установленная мощность
установки, квт
|
160
|
|
Давление воздуха в сети,
атм
|
4…6
|
|
Расход воздуха, м3/ч
|
150
|
Для установки выбираем сварочный трактор ТС-17М, техническая
характеристика которого приведена в таблице 17
Таблица 17 - Техническая характеристика сварочного трактора ТС-17М
|
Параметр
|
Величина
|
|
Напряжение питающей сети, В
|
380
|
|
Сварочный ток, А
|
200…1200
|
|
Диаметр электродной
проволоки, мм
|
1,6…5,0
|
|
Скорость подачи электродной
проволоки, м/ч
|
42…403
|
|
Скорость передвижения при
сварке, м/ч
|
14…126
|
|
Емкость бункера для флюса,
дм3
|
6,5
|
|
Масса, кг
|
не более 45
|
1 - обечайка; 2 - роликовый стенд; 3 - пневмоцилиндр флюсовой подушки; 4
- сварочный трактор; 5 - консольная балка (велобалкон); 6 - сварочный автомат;
7 - входная планка; 8 - выводная планка; 9 - концевой выключатель; 10 -
велосипедная тележка; 11 - привод велосипедной тележки; 12 - привод
велобалкона; 13 - флюсовый поджим.
Рисунок 26 - Установка У-177 для сварки продольных и кольцевых стыков
аппарата.
В качестве источника питания возьмем ВДУ - 1001, техническая
характеристика которого представлена в таблице 18.
Таблица 18 - Техническая характеристика ВДУ - 1001
|
Параметр
|
Форма ВВАХ(Универсальные)
|
|
Мощность, кВт
|
105
|
|
ПВ(ПН), %
|
100
|
|
Номинальный ток, А
|
1000
|
|
Диапазон регулирования
тока, А
|
300-1000
|
|
Номинальное напряжение на
дуге, В
|
66
|
|
Диапазон регулирования
напряжения, В
|
24-66
|
|
КПД, %
|
82
|
|
Масса, кг
|
950
|
4.3 Выбор
подготовки кромок под сварку продольного и кольцевого стыков корпуса аппарата

Рисунок 27 - Конструктивные элементы подготовленных кромок свариваемых
деталей (а) и сварного шва (б)
Для сварки стали 16Г2АФ толщиной 24 мм выбираем разделку С18 по ГОСТ
8713-79.
.4 Расчет
режимов сварки продольного и кольцевого стыков корпуса аппарата
Рассчитываем режимы сварки для первого прохода валика

мм,
где
Н - требуемая глубина провара;
с
- величина притупления (с = 4 мм);- перекрытие (принимаем k = 4).
Определяем
величину сварочного тока, обеспечивающую заданную глубину провара:
где dэ =3
мм - диаметр электрода;
j = 50 А/мм2 -
допустимая плотность тока.
Рассчитываем
режим сварки первым проходом и размеры шва
Напряжение
на дуге :
В
Скорость сварки :
м/ч
=1,02см/с
где А = 13000 А∙м/ч - коэффициент, зависящий от диаметра
электрода.
При механизированной сварке без применения особых технологических приемов
скорость сварки должна находиться в пределах 15…60 м/ч, а расчетные значения
скорости сварки должны округляться до ближайших, которые можно установить на
выбранном для сварки автомате.
Рассчитываем погонную энергию сварки:
2223,5
Кал/см = 9294,24 Дж/см,
где ηи = 0,9 - эффективный к. п. д. нагрева.
Определяем
коэффициент формы провара
3,14
где
- коэффициент, зависящий от рода и полярности тока
Для
механизированной сварки
должен находиться в пределах 0,8…4. При меньшем
значении будут получаться швы, склонные к образованию ГТ, при больших - слишком
широкие швы с малой глубиной провара, что нерационально с точки зрения
использования теплоты дуги и приводит к увеличенным деформациям.
Определяем
глубину провара:
0,4 см
Определяем
ширину шва:
1,25 см
Устанавливаем
вылет электрода, равный 50 мм.
При
сварке под флюсом вылет электрода выбирают в пределах 20…80, при этом меньшим
диаметром электрода соответствуют меньшие значения вылета и наоборот.
Определяем
коэффициент наплавки αн
При
сварке под флюсом ввиду незначительных потерь электродного металла с
достаточной для практических расчетов степенью точности можно принять, что
коэффициент наплавки αн равен коэффициенту расплавления αр.
,
где,
- составляющая коэффициента расплавления,
обусловленная тепловложением дуги, г/А ·ч;
-
составляющая коэффициента расплавления, зависящая от тепловложения вследствие
предварительного нагрева вылета электрода протекающим током, г/А ·ч.
При
сварке постоянным током обратной полярности:
=11,6±0,4;
= 0,32,
где
l и dэ - вылет и диаметр электрода в мм.
αн = αр = 11,6 + 0,32 = 11,92 г/А ·ч.
Определяем
скорость подачи электродной проволоки:
75,24
м/ч,
где γ = 7,85 г/см3 - удельный вес металла.
Определяем
площадь наплавленного металла:
0,14 см2
Определяем
высоту валика:
0,15 см
Определяем
общую высоту шва:
С
= H + g = 0,55 см
Определяем
коэффициент формы усиления
8,3
Для
хорошо сформированных швов
должен
находиться в пределах 7…10. Малые значения
имеют
место при узких и высоких швах, такие швы не имеют плавного сопряжения с
основным металлом и обладают неудовлетворительной работоспособностью при
переменных нагрузках. Большие значения
соответствуют
широким и низким усилениям, такие швы нежелательны по тем же причинам, что и
швы с чрезмерно большим значением
, а также
в связи с возможным уменьшением сечения шва по сравнению с сечением основного
металла из-за колебаний уровня жидкой ванны.
Расчет
режимов сварки последующих проходов и размеры шва
Определяем
требуемую глубину провара:
4 мм.
Определяем
величину сварочного тока, обеспечивающую заданную глубину провара:
Определим
величину сварочного тока:

630 А,
где
kh = 0,85 мм/100 А - коэффициент пропорциональности,
величина которого зависит от условий проведения сварки.
Выбираем
диаметр электродной проволоки:
4 мм,
где j =
40 А/мм2 - допустимая плотность тока.
Определяем
напряжение на дуге:
36 В.
Определяем
скорость сварки:
25 м/ч =
0,68 см/с,
где А
= 16000 А·м/ч - коэффициент, зависящий от диаметра электрода.
Рассчитываем
погонную энергию сварки:
7204,24
Кал/см = 30113,756 Дж/см,
где ηи = 0,9 - эффективный к.п.д. нагрева.
Определяем
коэффициент формы провара:
2,32,
где k’ =
0,8 - коэффициент, зависящий от рода и полярности тока.
Определяем
глубину провара:
0,87 см.
Определяем
ширину шва:
2,01 см.
Устанавливаем
вылет электрода, равный 60 мм.
Определяем
коэффициент наплавки: αн = αр
;
=11,6±0,4;
= 0,029
αр = 11,6 + 0,028 = 11,63 г/А · ч.
Определяем
скорость подачи электродной проволоки:
74,78
м/ч,
где γ = 7,85 г/см3 - удельный вес металла.
Определяем
площадь наплавленного металла:
0,38 см2.
Определяем
высоту валика:
0,26 см.
Определяем
общую высоту шва:
С
= H + g = 0,23 см.
Определяем
коэффициент формы усиления:
7,73
Рассчитываем
число проходов, как соотношение между площадью наплавленного металла по ГОСТ
8713-79 для данной разделки, определенной из чертежа и площадью наплавленного
металла для одного прохода:
Рисунок 28- Схема расположения наплавленных валиков и последующих
проходов
,
где Fпослед - площадь поперечного сечения
последующих валиков;
Fвалика
- площадь поперечного сечения наплавленного валика.
Fвалика=0,38
см2.
Fпослед=2,96
см2.
проходов.
Рассчитанный
коэффициент формы провара ψпр
входит в допустимые пределы 0,8…4. При меньших значениях будут получаться швы,
склонные к образованию горячих трещин, при больших - слишком широкие швы с
малой глубиной провара, что нерационально с точки зрения использования теплоты
дуги и приводит к увеличенным деформациям. Коэффициент формы усиления ψв входит в допустимый интервал 7…10. При малых его
значениях швы узкие и высокие, обладают неудовлетворительной работоспособностью
при переменных нагрузках. Большие значения ψв соответствуют широким и низким усилениям, такие швы нежелательны.
Рассчитаем предполагаемое содержание элементов в металле шва по формуле:

;

%

%

%

%

%
Полученный химический состав шва соответствует химическому составу
основного металла.
Расчет фактической скорости охлаждения околошовной зоны производят на
основе теории распространения тепла при сварке, разработанной академиком Н. Н.
Рыкалиным по следующей формуле (при многопроходной сварке листов встык со
сквозным проплавлением):
для сварки первым проходом:
˚С/с.
где
ωохл - мгновенная скорость охлаждения при температуре Тm, ˚С/с;
λ - коэффициент теплопроводности, кал/см с˚С;
сγ - объемная теплоемкость, кал/см3˚С;
Т0
- начальная температура изделия, ˚С;
S - толщина
свариваемого металла, см;
qп - погонная
энергия (кал/см).
для
сварки последующих проходов:
˚С/с.
Допустимая
скорость охлаждения для стали 16Г2АФ равна 0,1…12 ˚С/с. Рассчитанные
режимы сварки обеспечивают необходимую скорость охлаждения, которая попадает в
допустимый интервал скоростей охлаждения.
4.5 Сварка
заготовок днищ
Заготовки днища сваривают автоматической дуговой сваркой под флюсом.
Сварочные материалы те же, что и в предыдущем пункте, расчет аналогичен. Сварка
выполняется сварочным трактором ТС-17М, техническая характеристика которого
приведена в таблице 16. Схема сварки приведена на рисунке 29.
Сварка производится аналогично сварке продольного стыка обечаек.
Рисунок 29 - Схема сварки заготовок днищ
4.6 Приварка
эллиптических днищ к корпусу аппарата
Приварка обоих днищ осуществляется аналогично сварке кольцевых стыков
корпуса аппарата. Для сварки этого стыка необходимо применить разделку - по
ГОСТ 8713-79 типа С18.
4.7 Приварка
штуцеров и люков к корпусу аппарата
Сварку штуцеров выполнить РДС. Режимы сварки для РДС указаны на упаковке
электродов. Сварочные материалы для каждого слоя указаны в иллюстративной части
курсового проекта. Перед сваркой подготовить кромки по типу У7 по ГОСТ 5264-80
(рисунок 4.7).
Рисунок 4.7 - Конструктивные элементы подготовленных кромок типа У7 по
ГОСТ 5264-80
Сварка выполняется в следующей последовательности: предварительная
подварка корня шва РДС с наружной стороны (шов А), выполняем электродом типа
Э-60А, марки УОНИ 13/65, диаметром 3 мм, ГОСТ 9467 - 75. РДС последующих швов
выполняем тем же электродом.
Используется источник питания Kemppi Pro Evolution 5200/5200 MVU. Его техническая характеристика приведена в таблице
11.
4.8 Сварка
опоры и приварка ее к корпусу аппарата
Сварка продольных и кольцевого стыка обечаек опоры выполняется
механизированным способом под слоем флюса по ГОСТ 8713-79 - разделка кромок
С18, электродной проволокой Св-08А по ГОСТ 2246-70 под слоем флюса АН-348А по
ГОСТ 9087-81. Сварка выполняется на установке У-177, показанной на рисунке 26.
После сварки швов удалить шлаковую корку молотком и зачистить шов
металлической щёткой.
Опорное кольцо свариваем автоматической сваркой проволокой Св-08Г2С в СО2
ГОСТ 8050-85, разделка кромок С18.
Приварку опоры к корпусу, а также опорной обечайки к опорному кольцу,
ребер жесткости к опорному кольцу и обечайке будем выполнять электродами Э60А
марки УОНИИ 13/45 диаметром 3 мм по ГОСТ 9466-75. Разделка кромок - Т3 по ГОСТ
5264 - 80 (рисунок 41, а), за исключением соединения опоры с корпусом, где
используется нестандартная разделка кромок (рисунок 41, б).
С целью снижения общей деформации опорной части, наложение швов будем
производить по схеме, представленной на рисунке 42, несколькими сварщиками
одновременно, так как правка таких деталей после сварки практически не
возможна.
Рисунок 41 - Внешний вид сварного соединения типа Т3 (а) и нестандартного
шва (б)
1 - опорное кольцо; 2 - обечайка
Рисунок 42 - Схема приварки обечайки к опорному кольцу
4.9
Термическая обработка сварных соединений
Термообработка сварных конструкций производится после окончательной
сварки и устранения всех дефектов. Ввиду больших габаритных размеров аппарата
используется местная термическая обработка сварных швов.
Качество термообработки определяется возможностью точного регулирования
скорости нагрева, выдержки и скорости охлаждения. При применении оператору
приходится постоянно следить за показаниями регистратора температуры,
корректируя процесс балластными реостатами. При выполнении термообработки на
нескольких сварных швах одновременно и становится сложно контролировать все
изменения температуры.
Для решения этих проблем используется установка РТ 75-6, предназначенная
для полной автоматизации процесса термообработки. Установка производится ООО
«ГК Ремонтные технологии».
Таблица 19 - Технические характеристики установки РТ 75-6
|
Модель
|
РТ75-6
|
|
Корпус
|
- Жёсткий рамный корпус с
порошковой покраской и дополнительным лаковым покрытием - Съёмные панели по
всем сторонам корпуса обеспечивают удобный доступ - Силовые гнёзда на задней
панели - Для передвижения вручную специальные колёса - Усиленное основание
для транспортировки погрузчиком - На верхней панели 4 рым болта для
передвижения краном
|
|
Трансформатор
|
-Естественное воздушное
охлаждение -Классизоляции - H - Напряжение на первичной обмотке - 50Гц,
3отвода360, 380, 400В
|
|
Мощность при 100% нагрузке,
кВт
|
75
|
|
Рабочее напряжение
(вторичная обмотка)
|
0 - 30 - 60 В
|
|
Номинальная мощность на
канале
|
10,8 кВт 4 нагревателя
|
|
Количество каналов
|
6
|
|
Потребляемый первичный ток
при 100% нагрузке, А
|
110
|
|
Безопасность
|
- Контроль рабочей температуры
трансформатора с принудительным отключением при перегрузке или коротком
замыкании - Аварийный выключатель грибкового типа - Контактное напряжение
относительно земли 30В - Индивидуальная защита каждого канала через
предохранитель - Устройство защитного отключения 300мА (по заказу) - Блок
стабилизации управляющего напряжения (по заказу)
|
|
Контактное напряжение
относительно земли
|
Максимум 30В с
быстродействующим размыканием через встроенное устройство защитного
отключения 300 мА
|
|
Регистратор температуры
|
12-ти канальный,
электронный. Запись на диаграммную бумагу 180 мм (по заказу - безбумажный
регистратор) (по заказу в установки 100 и 150 кВА ставятся 2 регистратора)
|
|
Термопарные входы
|
12 термопарных панельных
разъёмов тип К (ХА)
|
|
Тип используемого программатора
|
TC-60 с специальным
программным обеспечением в случае раздельного управления по каждому каналу
|
|
Визуальный контроль работы
каналов
|
-Неоновый индикатор -
Амперметр 200А
|
|
Ручное управление
|
Регуляторы мощности на
каждом канале
|
|
Размеры ДхШхВ, мм
|
1250 x 660 x 1450
|
|
Вес, кг
|
580
|
Основной термической обработкой сварных соединений данной стали является
нормализация. Данный вид термической обработки обеспечивает получение мелкого
зерна в следствии чего сталь имеет наивысшую прочность и наименьшую температуру
перехода из вязкого в хрупкое состояние
5. Методы контроля качества сварных соединений
Целью контроля качества является выявление дефектов и осуществление
обратной связи, направленной на их предупреждение.
Габаритные размеры сосудов следует определять путем суммирования размеров
входящих в них сборочных единиц и деталей.
Контроль качества поверхностей на отсутствие плен, закатов, расслоений,
грубых рисок, трещин, снижающих качество и ухудшающих товарный вид, должен
проводиться путем визуального осмотра.
Обязательная проверка наличия, содержания, мест расположения клейм на
сварных швах и маркировки на готовом сосуде (самостоятельно поставляемых
сборочных единицах и деталях) должна осуществляться визуальным осмотром.
Контроль качества сварных соединений для аппарата первой группы сосудов
без требований по стойкости к МКК следует проводить следующими методами:
а) визуальным осмотром и измерением;
б) механическими испытаниями;
г) металлографическими исследованиями;
д) стилоскопированием;
е) ультразвуковой дефектоскопией или радиографией;
ж) цветной или магнитопорошковой дефектоскопией.
Окончательный контроль качества сварных соединений сосудов,
подвергающихся термической обработке, должен проводиться после термической
обработки.
В процессе изготовления сборочных единиц и деталей необходимо проверять:
соответствие состояния и качества свариваемых сборочных единиц и деталей
и сварочных материалов требованиям стандартов (технических условий) и проекта;
соответствие качества подготовки кромок и сборки под сварку требованиям
стандартов и проекта;
5.1
Визуальный контроль и измерение сварных швов
Визуальным осмотром проверяется качество подготовки и сборки заготовок
под сварку, качество готовых сварных швов. Визуальный осмотр применяется после
очистки сварных швов и прилегающих к ним поверхностей от шлака, брызг и других
загрязнений.
Обязательному визуальному контролю и измерению подлежат все сварные швы в
соответствии с ГОСТ 3242 для выявления наружных дефектов, таких как трещины,
подрезы, свищи, прожоги, непровары, дефекты формы швов.
Визуальный контроль и измерение следует проводить в доступных местах с
двух сторон по всей протяженности шва.
5.2
Механические испытания
Механические испытания определяют прочность и надежность работы сварной
конструкции. Механическим испытаниям в сосудах должны подвергаться стыковые
сварные соединения.
Механические испытания предусматривают статические и динамические
испытания при нормальной температуре.
При получении неудовлетворительных результатов по какому-либо виду
механических испытаний допускается проведение повторного испытания на удвоенном
количестве образцов, вырезанных из того же контрольного сварного соединения, по
тому виду механических испытаний, которые дали неудовлетворительные результаты.
Если при повторном испытании получены неудовлетворительные результаты
хотя бы на одном образце, сварное соединение считается непригодным.
5.2.1
Испытания сварного соединения на статическое растяжение
Согласно ОСТ 26.291-94, для испытания на растяжение при 20˚С
необходимо подготовить 2 образца типа XII по ГОСТ 6996-66 (рисунок 43).
При испытании сварного соединения на статическое растяжение определяют
временное сопротивление наиболее слабого участка. Временное сопротивление
подсчитывают по ГОСТ 1497. При испытании определяют место разрушения образца
(по металлу шва, по металлу околошовной зоны, по основному металлу).
Допускается снижение временного сопротивления по сравнению с металлом
листа на 10%, т. е. норма составляет 531 МПа.
Рисунок 43 - Образец для испытаний на статическое растяжение
5.2.2
Испытания сварного соединения на статический изгиб
При испытании определяют способность соединения принимать заданный по
размеру и форме изгиб. Эта способность характеризуется углом изгиба, при
котором в растянутой зоне образца образуется первая трещина, развивающаяся в
процессе испытания. Если длина трещин, возникающих в процессе испытания в
растянутой зоне образца, не превышает 20 % его ширины, но не более 5 мм, то они
не являются браковочным признаком. Определяют также место образования трещины
или разрушения (по металлу шва, металлу околошовной зоны или основному
металлу). Угол α для перлитной стали 16Г2АФ не должен превышать 1000.
Согласно ОСТ 26.291-94, для испытания на изгиб при 20˚С необходимо
подготовить 2 образца типа XXVIII по ГОСТ 6996-66 (рисунок 44).
Выпуклость шва по обеим сторонам образца снимают механическим способом до
уровня основного металла с шероховатостью до 6,3 мкм. В процессе удаления
утолщения удаляют и подрезы основного металла. Строгать утолщение при образцах
типа XXVIII следует вдоль шва. Разрешается строгать утолщение в любом
направлении с последующим удалением рисок. Кромки образцов в пределах их
рабочей части должны быть закруглены радиусом 0,1 толщины образца, но не
большим 2 мм, путем сглаживания напильником вдоль кромки.
Рисунок 41 - Образец для испытаний на статический изгиб
5.2.3
Испытания сварного соединения на ударный изгиб
При испытании на ударный изгиб определяют ударную вязкость или работу
удара, или процентное соотношение хрупкой и вязкой составляющих поверхности
излома для металла шва, наплавленного металла, зоны сплавления и различных
участков околошовной зоны.
Испытания на ударный изгиб проводить при комнатной температуре.
Допускается снижение ударной вязкости по сравнению с металлом листа на 50%, т.
е. норма составляет 30 Дж/см2.
Согласно ОСТ 26-291-94, для испытания на ударную вязкость KCU необходимо подготовить 3 образца
типа XVI по ГОСТ 6996-66 с надрезом по оси
шва (рисунок 42).
Рисунок 42 - Образец для испытаний на ударную вязкость
5.3
Металлографические исследования
Металлографическим исследованиям должны подвергаться стыковые сварные
соединения, определяющие прочность сосуда (продольные стыки обечаек).
Металлографические макро- и микроисследования должны проводиться в
соответствии с РД 24.200.04 на одном образце от каждого контрольного сварного
соединения.
При получении неудовлетворительных результатов допускается повторное
испытание на удвоенном количестве образцов, вырезанных из того же контрольного
сварного соединения.
Если при повторном испытании получены неудовлетворительные результаты
хотя бы на одном образце, сварное соединение считается непригодным.
Для металлографических исследований используется металлографический
микроскоп Метам ЛВ-31, технические характеристики которого приведены в таблице
20.
Таблица 20 - Технические характеристики микроскопа Метам ЛВ-31
|
Увеличение
|
40х-1600х
|
|
Насадка
|
тринокулярная с наклоном
30°, с диоптрийной подстройкой (±5 диоптрий) и изменяемым межзрачковым
расстоянием 55-75 мм
|
|
Окуляры
|
-WF10х/20 мм; -WF20x/10 мм;
- WF10x/18 мм со шкалой + микрометр (1/0,01 мм) (опционально)
|
|
Револьверное устройство
|
5-ти позиционное
|
|
Набор объективов
|
планахроматические
объективы скорректированные «на бесконечность» (ICCOS): 4х/0.10, 10х/0.25,
20x/0.40, 40х/0.60, 80х/0.9
|
|
Предметный столик
|
- прямоугольный 160х250 мм,
диапазон перемещений 120х78 мм - 6 сменных вставок
|
|
Поляризация
|
в комплекте поляризатор,
анализатор
|
|
Фокусировка
|
коаксиальные винты грубой и
точной фокусировки с регулировкой жесткости хода
|
|
Освещение
|
-галогенная лампа 30 Вт 6В;
- плавная регулировка яркости
|
|
Система визуализации на
выбор
|
- цифровой фотоаппарат
Canon 12 MPix + оптический адаптер + ПО для управления фотоаппаратом с
компьютера; - цифровая USB камера 5 MPix + ПО для управления камерой с
компьютера
|
.4
Радиографический и ультразвуковой контроль
Согласно ОСТ 26-291-94, метод контроля (ультразвуковой, радиографический
или их сочетание) должен выбираться исходя из возможностей более полного и
точного выявления недопустимых дефектов с учетом особенностей физических
свойств металла, а также особенностей методики контроля для данного вида сварных
соединений сосуда.
Ультразвуковая дефектоскопия сварных соединений должна проводиться в
соответствии с ГОСТ 14782, ОСТ 26-2044.
Для сосуда первой группы контролю подлежат 100% сварных швов.
Перед контролем соответствующие участки сварных соединений должны быть
так замаркированы, чтобы их можно было легко обнаружить на картах контроля и
радиографических снимках.
Используется дефектоскоп EPOCH
4, технические характеристики которого приведены в таблице 21.
Таблица 21 - Технические характеристики дефектоскопа EPOCH 4
|
Разрешающая способность
измерения расстояний
|
0.025 мм (не зависит от
диапазона развертки)
|
|
Частотный диапазон
|
0.05 - 25 МГц при -3 дБ
|
|
Усиление
|
110 дБ
|
|
Диапазон развертки
|
От 1 мм до 10000 мм
|
|
Задержка
|
От 0 до 350 мкс
|
|
Скорость звука в материале
|
От 635 до 15420 м/сек
|
|
Самонастройка ПЭП по 2
отражателям
|
Стандарт
|
|
Показания
|
Координаты, Амплитуда,
Время
|
|
Электрическое демпфирование
|
50, 63, 150, 400 Ом
|
|
Амплитуда зондирующего
импульса
|
100, 200, 300, 400 В
|
|
Размеры
|
ЖКИ 283х166х61 мм, ЭЛД
283х166х66 мм
|
|
Вес
|
2,6 Кг
|
|
Экран
|
120х90 мм (320х240 точек)
|
.5 Цветная и
магнитопорошковая дефектоскопия
Цветной или магнитопорошковой дефектоскопии следует подвергать сварные
швы, не доступные для осуществления контроля радиографическим или
ультразвуковым методом, а также сварные швы сталей, склонных к образованию
трещин при сварке. Согласно проведенному выше расчету, сталь 16Г2АФ не склонна
к образованию горячих трещин при сварке, поэтому цветной и магнитопорошковой
дефектоскопией следует контролировать только труднодоступные швы( нестандартный
шов приварки опоры к корпусу).
Магнитопорошковая и цветная дефектоскопия сварных соединений должна
проводиться в соответствии с ОСТ 26-01-84, ОСТ 26-5.
5.6
Гидравлические испытания на прочность и герметичность
При гидроиспытаниях определяется прочность и герметичность сосуда.
Гидроиспытаниям подлежат сосуды после их полного изготовления, давлением равным
7,9±0,4 МПа.
Для гидроиспытаний используют воду. Температура воды должна быть в
пределах от +5 до +40 °С. Разность температур стенки сосуда и окружающего
воздуха во время испытания не должна вызывать конденсацию влаги на поверхности
стенки сосуда.
Скорость подъема давления не должна превышать 0,5 МПа/мин.
При заполнении сосуда водой из внутреннего объема корпуса должен быть полностью
удален воздух.
После выдержки под испытательным давлением, давление снижается до
расчетного (6,3 МПа) и производится визуальный осмотр наружной поверхности
сосуда и сварных соединений. После испытания вода полностью удаляется.
Результаты гидроиспытаний считаются удовлетворительными, если отсутствуют
падение давления по манометру, пропуски испытательной среды, запотевание,
пропуски пузырьков, признаки разрывов, остаточные деформации.
Таблица 22 - Контроль качества сварных швов
|
Обозначение
|
Внешний осмотр
|
Металлография
|
УЗД
|
Мех. испытания
|
Гидростат. испытания
|
|
1.ОСТ 26.291-94-С18-АФ
|
+
|
+
|
+
|
+
|
+
|
|
2.ОСТ 26.291-94-Т1-Р
|
+
|
+
|
+
|
-
|
+
|
|
3. ГОСТ 8713-79-С7-АФ
|
+
|
-
|
+
|
-
|
-
|
|
4.ГОСТ 14771-76-Т3-УП
|
+
|
-
|
-
|
-
|
-
|
|
5.Нестандартная-ИП
|
+
|
-
|
-
|
-
|
-
|
|
1.ОСТ 26.291-94-С18-УП
|
+
|
+
|
+
|
+
|
+
|
Заключение
В курсовом проекте разработана оптимальная технология изготовления
корпуса адсорбера. Данная технология обеспечивает требуемый уровень
экономичности при изготовлении заготовок. Выбранные схемы раскроя в процессе
заготовительных операций позволяют получить коэффициент отхода листового
металла на изделие менее 8 %. Полностью соблюдены нормативные требования,
предъявляемые к изготовленным изделиям.
Подобраны необходимое оборудование и приспособления. Сборка корпуса
аппарата под сварку осуществляется с помощью специальных установок и
приспособлений (винтовых стяжек, упоров, полуструбцин и т.д.).
Сварка продольных и кольцевых стыков обечаек, стыков днищ осуществляется
автоматической сваркой под флюсом на специальном оборудовании. Приварка
штуцеров осуществляется РДС. Опоры свариваются автоматической сваркой под
флюсом и полуавтоматической сваркой.
Согласно требований ОСТ 26-291-94 назначены методы контроля качества
сварных соединений. Проведены необходимые механические и гидравлические
испытания, позволяющие гарантировать требуемую работоспособность и надежность
сварной конструкции.
Список
использованной литературы
1. Акулов
А.И., Гельчук Г.А., Демянцевич В.П. Технология и оборудование сварки
плавлением.-М.: Машиностроение, 1977.
. Виноградов
В.С. Технологическая подготовка производства сварных конструкций в
машиностроении.-М.: Машиностроение, 1981.
3. Гитлевич
А.Д. и др. Альбом механического оборудования сварочного производства.-М.:
Высшая школа, 1974.
. Куркин
С.А. Технология изготовления сварных конструкций. Атлас чертежей. М.:
Машиностроение, 1962.
. Куркин
С.А. и др. Технология, механизация и автоматизация производства сварных
конструкций. Атлас,-М.: Машиностроение, 1989.
. Отраслевой
стандарт ОСТ 26.291-87. Сосуды и аппараты стальные сварные. Технические
требования. Министерство химического и нефтяного машиностроения,-М.: 1980.
. РТМ
26.28-70 Полуавтоматическая сварка химической и нефтяной аппаратуры из
углеродистых и низколегированных сталей в защитной среде углекислого газа.
. Рыжков
Н.И. Производство сварных конструкций в тяжелом машиностроении.-М.:
Машиностроение, 1983.
. Севбо
П.Н. Конструирование и расчет механического сварочного оборудования.-Киев:
Наукова думка, 1978.