Проектирование производственного процесса групповой механической обработки партий деталей на ГАУ

  • Вид работы:
    Дипломная (ВКР)
  • Предмет:
    Другое
  • Язык:
    Русский
    ,
    Формат файла:
    MS Word
    4,46 Мб
  • Опубликовано:
    2012-11-29
Вы можете узнать стоимость помощи в написании студенческой работы.
Помощь в написании работы, которую точно примут!

Проектирование производственного процесса групповой механической обработки партий деталей на ГАУ

Введение

круглошлифовальный станок обработка деталь

Цель машиностроения - изменение структуры производства, повышение качественных характеристик машин и оборудования. Предусматривается осуществить переход к экономике высшей организации и эффективности со всесторонне развитыми силами, зрелыми производственными отношениями, отлаженным хозяйственным механизмом.

Перед машиностроительным комплексом поставлена задача резко повысить технико-экономический уровень и качество машин, оборудования и приборов.

Предметом исследования и разработки в технологии машиностроения являются виды обработки, выбор заготовок, качество обрабатываемых поверхностей, точность обработки и припуски на неё, базирование заготовок; способы механической обработки поверхностей - плоских, цилиндрических, сложнопрофильных и др.; методы изготовления типовых деталей - корпусов, валов, зубчатых колёс и др.; процессы сборки (характер соединения деталей и узлов, принципы механизации и автоматизации сборочных работ); конструирование приспособлений.

Основными направлениями развития современной технологии: переход от прерывистых, дискретных технологических процессов к непрерывным автоматизированным, обеспечивающим увеличение масштабов производства и качества продукции; внедрение безотходной технологии для наиболее полного использования сырья, материалов, энергии, топлива и повышения производительности труда; создание гибких производственных систем, широкое использование роботов и роботизированным технологических комплексов в машиностроении и приборостроении.

Технологические маршруты обработки деталей

Рис. Деталь А(Вал):

Вид заготовки - прокат

Материал - сталь 45х4543-88

Число деталей из заготовки - 1

Объем заготовки: V = π×Rh = 3.14×372×272= 523.2 см3

Масса заготовки: m = P×V = 7810[кг/м3] × 0.0005232[м3] = 4.6кг

Масса партии деталей: M = n×m = 40× 4.6= 184кг


Таблица

Операция

Содержание операции

Станки и оборудование

Схема базир. поверхн.

Приспособление

А1 Торце-центровальная

Фрезерование поверхностей 1, 2. Центровка отверстий 3, 4.

Полуавтомат фрезерно-центровально-обточной 2Г942.00 (рис.2.1)

Специальные гидравлические зажимные тиски станка (рис. 3.1) ПР «Итекар» (рис. 2.10)

А2 Токарная

Черновое и чистовое точение поверхностей 5,6,7,8,9,10,11.

Токарный патронно-центровой с ЧПУ повышенной точности ИТ42С (рис.2.2)

Патрон поводковый штырьковой(рис. 3.2), вращающийся центр (риc. 3.3) ПР «Итекар» (рис. 2.10)

А3 Шлифовальная

Шлифование поверхностей 13 и 12

Круглошлифо- вальный станок с ЧПУ GU-3250CNC Paragon (рис. 2.3)

Патрон поводковый штырьковой(рис. 3.2), вращающийся центр (риc. 3.3) ПР «Итекар» (рис. 2.10)

А4 Фрезерно-сверлильная

Сверление и растачивание отверстия 14 Сверление отверстия 15. Фрезерование шпоночного паза 16

Станок вертикальный сверлильно-фрезерно-расточной с ЧПУ модели 500V (рис. 2.4)

Тиски PSG 50 с встроенным шаговым двигателем (рис.3.4) ПР «Итекар» (рис. 2.10)









А5 Щлицефре-зерная

Фрезерование шлицев 17

Шлицефрезерный специальный полуавтомат МГ-53-00 (рис. 2.5)

Приспособление станка (рис. 2.5) ПР «Итекар» (рис. 2.10)


Описание технологического процесса детали А

Операция А1

Заготовка устанавливается в специальные гидравлические зажимные тиски фрезерно-центровального полуавтомата. Сначала фрезеруются обе торцевые поверхности (поверхности 1 и 2). Затем сверлятся центровые отверстия (поверхности 3 и 4).

Операция А2

Заготовка снимается и устанавливается в патроне поводковом штырьковом токарного патронно-центрового станка причем передний центр является приводным. После установки происходит черновое, а затем чистовое точение поверхностей 5,6,7,8,9,10,11.

Операция А3

Заготовка снимается и устанавливается в центрах кругло-шлифовального станка. Шлифуются поверхности 12,13.

Операция А4

Заготовка снимается и закрепляется в тисках с встроенным шаговым двигателем. После установки происходит сверление и растачивания поверхности 14. Деталь поворачивается с помощью робота «Итекар» на 900.

Далее сверлится отверстие 15 и фрезеруется шпоночный паз 16.

Операция А5

Заготовка снимается и закрепляется в приспособление станка МГ-53 и фрезеруются шлицы 17.

Рис. деталь Б(Крышка подшипника сквозная):

Вид заготовки - прокат

Материал - сталь 45

Число деталей из заготовки - 1

Объем заготовки: V = π×R1h1+π×R2h2= 3.14×122×12+3.14×442×12= 78.3 см3

Масса заготовки: m = P×V = 7810[кг/м3] × 0.0000783[м3] = 0.61кг

Масса партии деталей: M = n×m = 40× 0.61= 24.4кг


Таблица

Операция

Содержание операции

Станки и оборудование

Схема базирования поверхности

Приспособление

Б1 Фрезерно-сверлильная

Фрезерование поверхностей 1, 2. Фрезерование поверхности 3. Сверление отверстий 4,5,6,7,8

Станок вертикальный сверлильно-фрезерно-расточной с ЧПУ модели 500V(рис. 2.4)

Тиски PSG 50 с встроенным шаговым двигателем (рис.3.4) ПР «Итекар» (рис. 2.10)





Б2 Токарная

Снятие фаски 9. Обточка поверхностей 10, 11. Прорезание канавки 12.

Токарный патронно-центровой с ЧПУ повышенной точности ИТ42С (рис.2.2)

Оправка с упругой оболочкой(рис. 3.5) ПР «Итекар» (рис. 2.10)


Обтачивание внутренней поверхности 13.

Токарный патронно-центровой с ЧПУ повышенной точности ИТ42С (рис.2.2)

Патрон клинореечный с программным управлением(рис.3.6) ПРРКТБ (рис. 2.8)

Б3 Шлифо-вальная

Шлифовать поверхность 14

Круглошлифо-вальный станок с ЧПУ GU-3250CNC Paragon (рис.2.3)

Оправка с упругой оболочкой (рис. 3.5) ПР «Итекар» (рис. 2.10)




Описание технологического процесса детали Б

Операция Б1

Заготовка устанавливаетсяв тиски с встроенным шаговым двигателем. Фрезеруются поверхность 1, с помощью робота «Итекар» деталь поворачивается на 180о, устанавливается в тиски и фрезеруется поверхность 2,3. Сверлятся отверстия 4,5,6,7,8.

Операция Б2

Заготовка снимается и устанавливается впатроне поводковом штырьковом токарного патронно-центрового станка. После установки происходит черновое, а затем чистовое точение поверхностей 9,10,11,12.

Операция Б3

Заготовка снимается и устанавливается в оправку с центральной оболочкой. Шлифуются поверхности 14.

Рис. Деталь В:

Вид заготовки - прокат

Материал - сталь 45

Число деталей из заготовки - 1

Объем заготовки: V = π×Rh = 3.14×1352×70= 837.4 см3

Масса заготовки: m = P×V = 7810[кг/м3] × 0.0008374[м3] = 4.8кг

Масса партии деталей: M = n×m = 40× 4.8= 180кг

Таблица

Операция

Содержание операции

Станки и оборудование

Схема базирования поверхности

Приспособление

В1 Торце-центровальная

Фрезерование отверстий 1, 2. Центровка отверстий 3, 4.

Полуавтомат фрезерно-центровально-обточной 2Г942.00 (рис. 2.1)

Специальные гидравлические зажимные тиски станка (рис. 3.1) ПР «Итекар» (рис. 2.10)

В2 Токарная

Черновое и чистовое точение поверхностей 5,6,7,8.

Токарный патронно-центровой с ЧПУ повышенной точности ИТ42С (рис.2.2)

Патрон поводковый штырьковой(рис. 3.2), вращаю-щийся центр (риc. 3.3) ПР «Итекар» (рис. 2.10)

В3 Зубодолбежная

Зубодолбление поверхностей 8 и 6

Полуавтомат вертикальный зубодолбежный 5140 (рисунок 2.6)

Приспособление станка (рис. 2.6) ПР «Итекар» (рис. 2.10)

В4 Сверлильная

Сверление отверстия 9

Станок вертикальный сверлильно-фрезерно-расточной с ЧПУ модели 500V (рисунок 2.4)

Тиски PSG 50 с встроенным шаговым двигателем (рис.3.4) ПР «Итекар» (рис. 2.10)

В5 Протяжная

Протяжка отверстия 9

Полуавтомат вертикально-протяжной вертикальный 77108(рисунок 2.7)

Приспособление станка (рис. 3.3) ПР «Итекар» (рис. 2.10)


Описание технологического процесса детали В

Операция В1

Заготовка устанавливается в специальные гидравлические зажимные тиски фрезерно-центровального полуавтомата. Сначала фрезеруются обе торцевые поверхности (поверхности 1 и 2). Затем сверлятся центровые отверстия (поверхности 3 и 4).

Операция В2

Заготовка снимается и устанавливается впатроне поводковом штырьковом токарного патронно-центрового станка. После установки происходит черновое, а затем чистовое точение поверхностей 5,6,7,8.

Операция В3

Заготовка снимается и устанавливается в приспособление станка и обрабатывает поверхности 6,8.

Операция В4

Заготовка снимается и закрепляется в тисках с встроенным шаговым двигателем. После установки происходит сверление поверхности 9.

Операция В5

имается и закрепляется в приспособление станка и обрабатывается отверстие 9.

Характеристики основного технологического оборудования. Полуавтомат фрезерно-центровально-обточной 2Г942.00

Предназначен для обработки торцов деталей типа «вал» в серийном и массовом производстве со встройкой автоматических загрузочных устройств и в составе автоматических линий.

Рис.

Рисунок 2.1 Полуавтомат фрезерно-центровально-обточной 2Г942.00 и его рабочая зона

Технические характеристики:

Пределы длины обрабатываемых деталей, мм:50-1000 Пределы диаметров устанавливаемых в тисках деталей, мм:20-160 Диаметры применяемых центровочных сверл, мм: стандартных типа А и R 3.15-10 стандартных типа В 2-8 специальных до 12 Наибольший диаметр сверления, мм 16 Наибольший диаметр фрезерования, мм 150 Наибольший диаметр устанавливаемой фрезы, мм160 Наибольший диаметр подрезаемого торца (по стали 45, НВ 207), мм 50 Наибольший диаметр подрезаемой кольцевой поверхности (по стали 45, НВ 207), мм 100/80 Наибольший диаметр обточки шеек, мм 100 Наибольший диаметр растачиваемых отверстий, мм 100 Длина обточек шеек, мм 40 Количество шпинделей 4 Пределы частот вращения шпинделей: сверлильного, об/мин 159...1588 фрезерного, об/мин 130...740 Пределы бесступенчатых подач сверлильного шпинделя, мм/мин 20...2000 Пределы бесступенчатых подач фрезерного шпинделя, мм/мин 20...2000 Ход пиноли сверлильного шпинделя, мм 100 Габарит полуавтоматов, мм: длина 3970...5470 ширина 1750 высота 2000 Электрооборудование Род тока питающей сети перем. 3-х фазный Частота тока, Гц 50

Рис.

Рисунок 2.2 Токарный патронно-центровой с ЧПУ повышенной точности ИТ42Си его рабочая зона

Токарный станок ИТ42 патронно-центровой с ЧПУ повышенной точности предназначен для высокопроизводительной и точной токарной обработки с нарезанием наружной и внутренней резьбы различных деталей типа "фланец" и "валик", поверхностей типа "шаровый палец".

Технические характеристики токарного патронно-центровового станка с ЧПУ повышенной точностиИТ42С:

Наибольший диаметр обрабатываемой заготовки над суппортом, мм……125

Наибольшая длина обрабатываемой заготовки, мм………….400

Количество позиций инструмента револьверной головки …….8

Наибольшее сечение резца, мм…………20х20

Частота вращения шпинделя, об/мин……… 0-3000

Мощность главного двигателя (номинальная), кВт…………7,5

Наибольшее перемещение поперечной каретки суппорта, мм………173

Пределы быстрых перемещений суппорта, мм/мин в продольном направлении ………….8000 в поперечном направлении………..4000

Пределы шагов нарезаемых резьб, мм…0,2-40

Постоянство размеров при обработке партии, мкм по диаметру… 30 подлине……..50

Габаритные размеры станка, мм…… 2.000х2.225х1.900

Масса станка, кг……...2160

Круглошлифовальный станок с ЧПУ GU-3250CNC Paragon

Рис.

Рисунок 2.3 Круглошлифовальный станок с ЧПУ GU-3250CNC Paragon и его рабочая зона

Круглошлифовальные станки с ЧПУ предназначены для шлифования наружных цилиндрических поверхностей и осевых торцевых поверхностей. На кругло-шлифовальном станке заготовку устанавливают на центрах или в патроне и приводят во вращение навстречу шлифовальному кругу; вместе со столом станка она может совершать возвратно-поступательное движение.

Технические характеристики:

Вес кг2500

Конус задней бабки К.М. К.М.4

Макс. перемещение центра задней бабки мм 35

Мощность привода по оси Х кВт 1

Мощность привода при внутреннем шлиф.кВт 0.75

Мощность привода шлиф.бабки при врезном шлиф. кВт3.0

Мощность привода шлиф.круга кВт 3.7

Мощность привода шлиф.круга при врезном шлиф. кВт 1.6

Макс. вес обработки кг 150

Макс. диаметр над столом мм320

Макс. диаметр обработки мм280

Расстояние между центрами мм 500

Перемещение по оси Z мм 630

Перемещение по оси Х мм 200

Скорость подачи мм/мин 0.0001-8000

Размеры шлифовального круга (НД х Ш х ВД) мм 405x56x127

Станок вертикальный сверлильно-фрезерно-расточной сЧПУ модели 500V

Предназначен для комплексной обработки деталей из различных конструкционных материалов в условиях единичного, мелкосерийного и серийного производства. Выполняет операции сверления, зенкерования, развертывания, получистового и чистового растачивания отверстий, нарезания резьбы метчиками и фрезами, фрезерования.

Особенности:

Оснащен системой автоматической смены инструмента (АСИ) и числовым программным управлением (ЧПУ);

Неподвижный рабочий стол обеспечивает высокую точность обработки;

Возможность оснащения поворотным столом для четырехкоординатной обработки;

Возможность оснащения щупами для измерения детали и инструмента;

Возможность оснащения различными инструментальными магазинами;

Колонковая структура.

Рис.

Таблица


Шлицефрезерный специальный полуавтомат МГ53-00

Зубофрезерный станок МГ53-00 предназначен для фрезерования на деталях типа "вал" прямобочных и эвольвентных шлицев, а также зубьев прямозубых и косозубых шестерен, выполненных как заодно с валом, так и раздельно. Фрезерование шлицев и зубьев осуществляется червячными модульными фрезами методом обкатывания. Станок может быть использован для фрезерования зубьев цилиндрических прямозубых или косозубых шестерен 7 или 8 степени точности, выполненных как заодно с валом, так и раздельно. Основной способ закрепления заготовки на станке - в центрах, с помощью планшайбы поводка и хомутика. По требованию заказчика за отдельную плату, станок может быть оснащен специальным вращающимся гидроцилиндром и цанговым патроном, что позволит закреплять заготовку в патроне.

Рисунок 2.5 Шлицефрезерный специальный полуавтомат МГ53-00 и его рабочая зона

Технические характеристики:

Наибольшие размеры устанавливаемой заготовки, мм: диаметр 500 длина 1000 Наибольшие размеры обрабатываемого изделия, мм: диаметр150 длина925 Пределы чисел фрезеруемых шлицев (зубьев) 4 - 36 Наибольший модуль фрезерования 6 Наибольший диаметр фрезы, мм 140 Предел частоты вращения шпинделя фрезы, мин 180 - 250 Мощность главного электродвигателя, кВт 6,0/6,7 Габариты полуавтомата, мм 2585х1550х1650 Масса полуавтомата, кг 4500

Полуавтомат вертикальный зубодолбежный 5140

Зубодолбежный станок 5140 (аналог 5А140П)предназначен для обработки цилиндрических колес с наружным и внутренним зубом, а также косозубых колес с углом наклона зуба до 35 градусов. Черновая, получистовая и чистовая обработка на станке производится в автоматическом цикле (со сменой режимов обработки в цикле) за один, два и три рабочих хода. Станок работает по методу обкатывания.

Рис.

Рисунок 2.6 Полуавтомат вертикальный зубодолбежный 5140и его рабочая зона

Технические характеристики:

Максимальный делительный диаметр нарезаемых колес,мм500

Максимальный модуль нарезаемых колес8

Максимальная ширина нарезаемого венца,мм100 Максимальный ход шпинделя инструмента, мм 125 Диаметр рабочей поверхности стола, мм 560 Наибольший делительный диаметр долбяка, мм 125 Число двойных ходов штосселя в минуту 55-560 Масса станка, кг 7500 Габаритные размеры станка, мм 1750х1280х2350

Полуавтомат вертикально-протяжной вертикальный 77108

Станки модели 77108 предназначены для обработки протягиванием сквозных отверстий различной формы и размеров: круглых и шлицевых отверстий, шпоночных пазов и т.п.

Рис.

Рисунок 2.7 Полуавтомат вертикально-протяжной вертикальный 77108 и его рабочая зона

Таблица. Технические характеристики

Класс точности станка по ГОСТ 8-82

Н

Номинальное тяговое усилие, кН

100

Длина хода рабочих салазок, мм

1000

Рабочая ширина стола, мм

450

Мощность двигателя главного движения, кВт

14

Габаритные размеры станка: длина/ширина/высота, мм

2950_1350_3100

Масса станка с выносным оборудованием, кг

5 100

Модель УЧПУ, установленного на станке/ число инструментов в маг


Начало серийного производства

1969

ПР «РКТБ»

Рисунок2.8 ПР «РКТБ»

Технические характеристики:

Грузоподъемность, кг 10

Число степеней подвижности 4

Число программируемых координат 4

Привод основных движений электрический

Система управления позиционирование

Объем памяти (число команд) 25

Погрешность позиционирования, мм ±1

Габариты:

Н, мм 1800

L, мм 970

B, мм 754

Масса, кг 120

Рисунок 2.9 Захватывающие устройства роботов

ПР «Итекар»

Основное назначение - выполнение различных операций при проведения опытных исследовательских работ по автоматизации машиностроения в серийном производстве.

Технические характеристики:

Грузоподъемность, кг 5

Число степеней подвижности 4

Число рук/захватов на руку 1/1

Тип привода электропневматический

Устройство управления позиционное или цикловое

Число программируемых координат 4

Объем памяти системы, число команд 8000

Погрешность позиционирования, мм 0.1

Наибольший вылет руки, мм 1100

Масса, кг 500

Рисунок2.10 ПР «Итекар»

Характеристики технологических приспособлений

Специальные гидравлические зажимные тиски станка 2Г942.00

Рисунок 3.1 Специальные гидравлические зажимные тиски станка 2Г942.00

Пределы диаметров устанавливаемых в тисках деталей составляют 20-160 мм

Поводковый патрон, вращающийся центр

Поводковый патрон штырьковой (рис 1.2) конструкции ЭНИМСа состоит из хвостовика 11 и корпуса 4. В отверстии корпуса установлен плавающий центр 1, подпружиненный пружиной 6. Шпонка 3 передает крутящий момент поводкам 2. При поджиме заготовки вращающимся центром задней бабки в ее торец вдавливаются поводки 2. Последние через толкатели 5 и плунжеры 7 опираются на гидропласт 8, что обеспечивает равномерное вдавливание штырьков в торец заготовки даже при его неперпендикулярности относительно оси центров. Плунжер 9 с винтом 10 закрывает осевое отверстие после заполнения его гидропластом.

Рисунок 3.2 Патрон поводковый штырьковой

Прецизионные вращающиеся токарные центры

для точных работ на токарных станках с ручным и программным управлением;

не более 0,004мм для конуса Морзе №5;

стандартное и специальное исполнение;

не требуют обслуживания.

Рисунок 3.3 Вращающий центр Морзе 5

Тиски PSG 50 с встроенным шаговым двигателем

Рис.

Рис.

Рисунок 3.4 Тиски PSG 50с встроенным шаговым двигателем

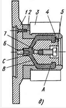
Оправка с упругой оболочкой

На рисунке 1.5 показана оправка с упругой оболочкой. Корпус 1 оправки крепится к фланцу шпинделя станка. На корпусе 1 закреплена втулка 2, канавки которой вместе с канавками корпуса образуют полости А, В и С, заполняемые гидропластом. При вращении винта 5 плунжер 7 перемещается, выдавливая гидропласт из полости С в полость А. Тонкая стенка втулки 2 под давлением гидропласта деформируется, увеличивая наружный диаметр втулки и создавая натяг при закреплении заготовки 3. Упор 6 ограничивает перемещение плунжера 7, а пробка 4 закрывает отверстие, через которое выходит воздух при заполнении оправки гидропластом.

Рисунок 3.5 Оправка с упругой оболочкой

Патрон клинореечный с программным управлением

На рис. 1.6 показан клинореечный патрон с программным управлением. Положение кулачков по диаметру регулируется по команде ЧПУ. На боковых поверхностях оснований 4 кулачков нарезаны косые зубья, зацепляющиеся с зубьями реек 3, подвижно установленных в корпусе патрона, соединенных фланцем 2 с тягой 1 механизированного привода. На противоположной боковой поверхности основания 4 кулачков выполнены продольные пазы, в которых входят ограничительные шрифты. Обрабатываемая заготовка центрируется и зажимается кулачками 7 при перемещении тяги 1 привода. При этом клиновые рейки также перемещаются в крайнее правое положение. Поскольку зубья клиновых реек 3 частично срезаны, рейки в этом положении выходят из зацепления с зубьями оснований.

Рисунок 3.6 Патрон клинореечный с программным управлением

Расчет времени обработки деталей

Расчет времени обработки деталей будем производить исходя из упрощения, что на снятие 50 см3 материала загатовки при черновой токарной обработке затрачивается в среднем 5-7 мин., при чистовой токарной обработке затрачивается 3-5 мин.

Время, затрачиваемое на иные виды обработок, такие как фрезеривание, сверление, зубофрезерование и т.п., определяются умножением времени токарной обработки на соответствующие коэффициенты. Таким образом, принимаем время токарной черновой обработки Тток. черн. = 6 мин., токарной чистовой обработки Тток. чист. = 4 мин.

Фрезерная обработка Тф. = 1*Тток. черн. = 6 мин.

Сверление Тсв. = 1.3 * Тток. черн. = 7.8 мин.

Шлифование Тш. = 0.4*Тток. черн. = 2.4 мин.

ПротягиваниеТпр. = 1.3*Тток. черн. = 7.8 мин.

ЗубодолблениеТзд. = 2*Тток. черн. = 12 мин.

Рассчитаем операционное время обработки каждой партии деталей

Деталь А.

)        Фрезерование торцов и зацентровка.

Объем удаляемого материала: VАфт1+VАфт1 = где h - величина припуска (h = 2.5 мм).

VАфт1 +VАфт1 =  = 69 см3

TАфф*VAф/50 = 6*69/50 = 9 мин.

Время на выполнение центровых отверстий примем 1 мин.

Для всей партии деталей ТАф = 10 * 40 = 400 мин = 6.66 ч.

)        Токарная обработка:

Объем детали А при черновом обтачивании равен

VAт =  = 166.6 см3.

ТАт = Ттч*166.6/50 = 6 * 66.6 / 50 = 8 мин.

Чистовая обработка: ТАчист = Ттчист*VАчист/ 50 = 4*2.5 /50 = 0.2 мин.

Для всей партии деталей ТАт = 8*40 = 320 мин. = 5.33 ч.

)        Шлифование:

Тш =  ,

Где L - длина участка шлифования,

H - величина припуска на диаметр, h = 0.5 мм,

К - поправочный коэффициент,

nδ - число оборотов обрабатываемой детали (180 об/мин),

SB - подача на ширину шлифования (63 мм/об)

St - подача на глубину шлифования (0.0015 мм/об)

ТАш1 =

ТАш2 =

ТАш = 1.2 + 0.8 = 2 мин.

)        Фрезерно-сверлильная обработка:

Объем VАсв удаляемый при выполнении сверления отверстий 1,2 и 3 равен:

VАсв1 =  = 31.7 см3.

VАсв2 =  = 5.5 см3.

VАсв3 = l*n*h = 15*16*6 = 1.4 см3. (шпоночный паз)

Суммарное время на обработку:

ТАсв = 7.8*(31.7 + 5.5 + 1.4)/50 = 5 мин.

Для всей партии деталей ТАсв = 5*40 = 200 мин. = 3.33 ч.

)        Шлицефрезерная обработка:

VAшф = 50 мм3

ТАшф = 6*(50)/50 = 6 мин.

Для всей партии: ТАшф = 6*40=240 мин. = 4 ч.

Деталь Б:

)        Фрезерно-сверлильная обработка

Объем VВсв удаляемый при выполнении сверления отверстий 4, 5, 6, 7 и 8 равен:

VБфр1 =  = 2.1 см3.

VБфр2 =  = 5.5 см3.

VБсв1 =  = 9.8 см3.

VБсв2 =  = 2.5 см3.

Суммарное время на обработку:

ТБсв = 7.8*(9.8 + 2.5)/50 + 6*(2.1 + 5.5)/50= 10 мин.

Для всей партии деталей ТБсв = 10 * 40 = 400 мин. = 6.66 ч.

)        Токарная обработка

Объем детали Б при чистовом обтачивании равен

VБт =  = 133,3 мм3.

ТБт = Ттч*133,3/50 = 6 * 133,3 / 50 = 16мин.

Для всей партии ТБт = 16*40=640 мин. = 10.66 ч.

)        Шлифование

Тш =  ,

где L - длина участка шлифования,

h - величина припуска на диаметр, h = 0.5 мм,

К - поправочный коэффициент,

nδ - число оборотов обрабатываемой детали (180 об/мин),

SB - подача на ширину шлифования (63 мм/об)

St - подача на глубину шлифования (0.0015 мм/об)

ТБш1 =

Для всей партии: ТБш1=2*40=80 мин. = 1.33 ч.

Деталь В:

)        Фрезерование торцов и зацентровка.

Объем удаляемого материала: VВфт1+VВфт1 = где h - величина припуска (h = 2.5 мм).

VВфт1 +VВфт1 =  = 69 мм3

TВфф*VВф/50 = 6*69/50 = 9 мин.

Время на выполнение центровых отверстий примем 1 мин.

Для всей партии: TВф = 10*40 = 400 мин. = 6.66 ч.

)        Токарная

Объем детали В при черновом обтачивании равен:

VВт =  = 66.6 мм3.

ТАт = Ттч*66,6/50 = 6 * 66.6 / 50 = 8 мин.

Чистовая обработка: ТАчист = Ттчист*VАчист/ 50 = 4*2.5 /50 = 0.2 мин.

Для всей партии: ТАт = 8*40 = 320 мин. = 5.33 ч.

3)      Зубодолбежная

VБзд =

Где Da - диаметр цилиндрической поверхности, описывающей наружную поверхность зубчатого венца (Da=d+2m),

d - диаметр делительной окружности,

m - модуль зацепления,

df - диаметр основания зубчатого венца (df = d - 2m),

l - ширина зубчатого венца.

VВзд =  мм3

ТВзд = Тзд*VВзд/50 = 10,2 * 34,3 / 50 = 7 мин.

Для всей партии: ТВзд = 7 * 40 = 280 мин. = 4.66 ч.

)        Протяжная операция

VВпр =  мм3

ТВпр = Тпр*VВпр/50 = 7,8 * 57,7 / 50 = 9 мин.

Для всей партии: ТВпр = 9 * 40 = 360 мин. = 6 ч.

Графы технологических маршрутов обработки деталей

Условные обозначения операций:

- фрезерно-сверлильная операция

-токарная операция

-шлифовальная операция

- торце-центровальная операция

- зубодолбежная операция

-протяжная операция

7-шлицефрезерная операция

Рис. Деталь А Деталь Б Деталь В

,

Где М - количество вершин графов,

βj - коэффициент степени важности недозагрузки j - го вида оборудования (βj = 0.8),

 - округленная трудоемкость до ближайшего целого числа.

Операционные трудоемкости для каждого вида деталей приведены в следующей таблицы.

Таблица


М

Трудоемкость, ст-ч



4

2

3

1

7

5

6

Деталь А

5

6.66

5.33

1.33

3.33

4

-

-

Деталь Б

3

-

10.66

1.33

6.66

-

-

-

Деталь В

5

6.66

5.33

-

6.66

-

4.66

6


Рассчитываем степень загрузки оборудования отдельно для каждой партии деталей.

Деталь А:

SA =  = 0.59

Деталь Б:

SБ = = 0.6

Деталь В:

SB =  = 0.58

Построение числовой модели календарного плана

Деталь А - вал

Деталь Б - крышка

Деталь В - блок зубчатый

Таблица. Матрица операционных затрат времени наобработку партий деталей:


Операционное время на партию

Расчетные параметры

Вариант очередности обработки


ФЦО

ТПЦ

КШ

ФСР

ШФ

ВЗ

ПГ

Li1

Li2

λi

І

II

III

IV

А

6.661

5.332

1.333

3.334

45

-

-

13.33

8.66

-4.66

В

В

А

Б

Б

-

10.662

1.333

6.661

-

-

-

17.33

12

-5.33

Б

А

Б

А

В

6.661

5.332

-

5.334

-

4.663

65

16.66

16

-0.66

А

Б

В

В


1)      По данным исходной матрицы определим расчетные параметры, выражающие суммарные трудоемкости операции по 1-ой (Li1) и 2-ой (Li2) частям технологического процесса обработки каждого типа партий деталей:

При четном числе операций:

Li1=

Li2=

Где m - общее число операцмй по технологическому процессу обработки партии деталей определенного типа:

Tijp - трудоемкости обработки i-й партии деталей на j-рабочем месте по p-й операции. При нечетном числе операций:

Li1=

Li2=

Здесь же определим параметр λi:

λi = Li2 - Li1

Правило I

Из множества парий деталей (i) первыми в обработку запускаются партии, имеющие значения λi≥ 0 и в порядке возрастания Li1 . Затем в обработку запускаются оставшиеся партии с λi≤ 0 и в порядке убывания Li2.

В соответствии с этим правилом дл\ партий деталей требуются следующая очередность обработки Б-В-А.

Правило II

Все множество партий деталей располагаются в порядке уменьшения значения λi .

В соответствии с этим правилом порядок запуска деталей следующий Б-В-А.

Правило III

Из множества парий деталей (i) первыми в обработку запускаются партии, имеющие значения λi< 0 и в порядке возрастания Li2 . Затем в обработку запускаются оставшиеся партии с λi≥ 0 и в порядке убывания Li1.

В соответствии с этим правилом дл\ партий деталей требуются следующая очередность обработки А-В-Б.

Правило IV

Все множество партий деталей распологают в порядке возрастания значения λi .

В соответствии с этим правилом порядок запуска деталей следующий А-В-Б.

)        Для каждого из вариантов очередности обработки деталей рассчитаем значения конечных сроков календарной занятости j-х рабочих мест Tijpпо алгоритму:

Tijp = tijp+ max{Ti,j-1,p; Ti-1,j,p }

Шаг 1. В матрице календарного плана фиксируется время календарной занятости рабочих мест (станков) после выполнения первых операций по партиям деталей.

Шаг 2. Далее осуществляется расчет Tijpпо вышеприведенному алгоритму с учетом приоритета занятости рабочих мест.

при выявлении очередного j-го рабочего места приоритет отдается партии деталей ожидающих продолжения обработки с приоритетом верхней строки матрицы и четом занятости рабочих мест.

при удовлетворении требований предыдущего подшага рассматриваются партии деталей, поступающих для продолжения обработки. Причем предпочтение отдается партии деталей с наиболее ранним сроком поступления на обработку и с приоритетом верхней строки.

Шаг 3. Расчет ведется по подшагам, аналогичным предыдущим(шаг 2), но приоритет отдается партии деталей наиболее близкой к завершению цикла обработки и без учета приоритета верхней строки матрицы.

)        Вышеуказанный порядк расчета элементов Tijpматрицы |В| производится для каждого из вариантов, установленных по правилам I-IV этапа 2, т.е. в общем случае рсчитывают четыре матрицы |В|

В ячейках матрицы записываются:

-        в основных - операционные трудоемкости обработки i -ой партии деталей на j-ой месте по р - ой операции;

         над наклонной чертой в нижнем правом угле записывается последовательность операционных переходов;

         под наклонной чертой записывается длительность цикла обработки каждой партии деталей, т.е. календарная занятость рабочих мест;

         в правых верхних углах - последовательные шаги расчета.

Из рассчитанных вариантов выбирается один по критерию

Tijp = minijp{Tijp }

4)      Рассчитанные значения Tijpматрицы |В|, обеспечивающие условие

Тц.с. =minijp{Tijp}, привязываются к реальному календарю.

Таблица. По правилу I


Расчетный шаг 1: TВ41=t В41=6.66 ч

Расчетный шаг 2: TБ11=t Б11=6.66 ч

Расчетный шаг 3: TА41=t А41+max{t А00; t В41}=13.33 ч

Расчетный шаг 4: TВ22=t В22+max{t В41; t ТЦП0}=12 ч

Расчетный шаг 5: TБ22=t Б22+max{t Б11; t В22}=22.66 ч

Расчетный шаг 6: TВ53=t В53+max{t В53; t ФСР20}=16.66 ч

Расчетный шаг 7: TА22=t А22+max{t А41; t Б22}=28 ч

Расчетный шаг 8: TВ84=t В84+max{t Б22; t ФСР0}=22 ч

Расчетный шаг 9: TВ65=t В65+max{t В65; t ПГ0}=28 ч

Расчетный шаг 10: TБ33=t Б33+max{tБ22; t КШ0}=24 ч

Расчетный шаг 11: TА33=t А33+max{tА22; t Б33}=29.33 ч

Расчетный шаг 12: TА84=t А84+max{t А33; t В84}=32.66 ч

Расчетный шаг 13: TА75=t А75+max{t А14; t ШФ0}=36.66 ч

Таблица. По правилу II


Расчетный шаг 1: TВ41=t В41=6.66 ч

Расчетный шаг 2: TА41=t А41+max{t А00; t В41}=13.33 ч

Расчетный шаг 3: TБ11=t Б11=6.66 ч

Расчетный шаг 4: TВ22=t В22+max{t В41; t ТЦП0}=12 ч

Расчетный шаг 5: TБ22=t Б22+max{t Б11; t В22}=22.66 ч

Расчетный шаг 6: TВ53=t В53+max{t В53; t ФСР20}=16.66 ч

Расчетный шаг 7: TА22=t А22+max{t А41; t Б22}=28 ч

Расчетный шаг 8: TВ84=t В84+max{t Б22; t ФСР0}=22 ч

Расчетный шаг 9: TВ65=t В65+max{t В65; t ПГ0}=28 ч

Расчетный шаг 10: TБ33=t Б33+max{tБ22; t КШ0}=24 ч

Расчетный шаг 11: TА33=t А33+max{tА22; t Б33}=29.33 ч

Расчетный шаг 12: TА84=t А84+max{t А33; t В84}=32.66 ч

Расчетный шаг 13: TА75=t А75+max{t А14; t ШФ0}=36.66 ч

Таблица. По правилу III


Расчетный шаг 1: TА41=tА41=6.66 ч

Расчетный шаг 2: TБ11=t Б11=6.66 ч

Расчетный шаг 3: TВ41=t В41+max{t А00; t А41}=13.33 ч

Расчетный шаг 4: TА22=t А22+max{t А41; t ТЦП0}=12 ч

Расчетный шаг 5: TБ22=t Б22+max{t Б11; t А22}=22.66 ч

Расчетный шаг 6: TА33=t А33+max{t А22; t кш0}=13.33 ч

Расчетный шаг 7: TА84=t А84+max{t А33; tфср20}=16.66 ч

Расчетный шаг 8: TВ22=t В22+max{t Б22; tВ41}=28 ч

Расчетный шаг 9: TА75=tА75+max{tА84; t ШФ0}=20.66 ч

Расчетный шаг 10: TБ33=t Б33+max{tБ22; tА33}=24 ч

Расчетный шаг 11: TВ53=tВ53+max{tВ22; tВЗ0}= ч

Расчетный шаг 12: TВ84=t В84+max{t В53; t А84}=44.66 ч

Расчетный шаг 13: TВ65=tВ65+max{tВ84; t ПГ0}=50.66 ч

Таблица. По правилу IV


Расчетный шаг 1: TБ11=t Б11=6.66 ч

Расчетный шаг 2: TА41=t А41=6.66 ч

Расчетный шаг 3: TВ41=t В41+max{t А00; t В41}=13.33 ч

Расчетный шаг 4: TБ22=t Б22+max{t Б11; t ТЦП0}=17.33 ч

Расчетный шаг 5: TА22=t А22+max{t А41; t Б22}=22.66 ч

Расчетный шаг 6: TВ22=t В22+max{t В41; t А22}=28 ч

Расчетный шаг 7: TБ33=t Б33+max{tБ22; t КШ0}=18.66 ч

Расчетный шаг 8: TА33=t А33+max{tА22; t Б33}=24ч

Расчетный шаг 9: TА84=t А84+max{t А33; t В84}=32.66 ч

Расчетный шаг 10: TА75=t А75+max{t А14; t ШФ0}=31.33 ч

Расчетный шаг 11: TВ53=t В53+max{t В53; t ФСР20}=32.66 ч

Расчетный шаг 12: TВ84=t В84+max{t В53; t А84}=38ч

Расчетный шаг 13: TВ65=t В65+max{t В65; t ПГ0}=44 ч

)        Для различных вариантов очередности обработки, включенных в групповую технологию партий деталей, совокупные циклы изготовления имеют следующие длительности:

Вариант I - 36.66 часа;

Вариант II - 36.66 часа;

Вариант III - 50.66 часа;

Вариант IV - 44 часа.

Минимальный совокупный цикл изготовления Тц.е., включенный в программу выпуска партий деталей, обеспечивается при технологическом процессе соответствующем варианту I.

Построение числовой модели календарного плана

Таблица. Согласно данному варианту составим календарный план-график:

Шифр партии

Станок

Дата

Начало обработки

Конец обработки

Время обработки

1

2

3

4

5

6

В

ФЦО

21.05.2012

8:00

14:40

6 ч -40 мин


ТПЦ

21.05.2012

14:40

20:00

5 ч -20 мин


ВЗ

21.05.2012

20:00

00:40

4 ч-40 мин


ФСР2

22.05.2012

00:40

06:00

5 ч -20 мин


ПГ

21.05.2012

06:00

12:00

6 ч

Б

ФСР

21.05.2012

8:00

14:40

6 ч -40 мин


ТПЦ

21.05.2012

20:00

6:40

10 ч -40 мин


КШ

22.05.2012

6:40

1 ч - 20 мин

А

ФЦО

21.05.2012

14:40

21:20

6 ч -40 мин


ТПЦ

22.05.2012

6:40

12:00

5 ч -20 мин


КШ

21.05.2012

12:00

13:20

1 ч - 20 мин


ФСР2

21.05.2012

13:20

16:40

3 ч -20 мин


ШФ

21.05.2012

16:40

20:40

4 ч


Характеристики вспомогательного оборудования

ГАУ строится на основе роботизированного технологического комплекса (РТК) и гибкого производственного модуля (ГПМ). В состав РТК как правило входит технологическое оборудование, промышленный робот (ПР) и средства оснащения. На проектируемом ГАУ предлагается групповая обработка 3-х типов деталей, для чего были составлены технологические маршруты обработки на каждую деталь. На основе технологических маршрутов с учетом задач ГАУ подбираются металлорежущие станки (автоматы или полуавтоматы по степени автоматизации) и др. оборудование.

Тележка типа ОМ9973 <#"579890.files/image082.gif">

Рисунок 7.1 Тележка транспортная рельсовая ОМ 9973

Технические характеристики:

Грузоподъёмность, кг250

Скорость перемещения, м/мин: 4-140

Скорость выдвижения стола, м/мин8

Скорость подъёма стола, м/мин4

Количество телескопических стволов, шт1

Высота выдвижной части стола, мм100

Ширина стола, мм550

Ход стола, мм:

Подъём50

Выдвижение925

Габаритные размеры (дл/шир./выс/), мм: 900/990/1180

Масса, кг800

Ориентирующие устройства

Для ориентации заготовок детали А, типа вал, будем использовать шиберный механизм ориентации для длинных валиков, представленный на рисунке 7.2.

Рисунок 7.2 - Шиберный механизм ориентации для длинных валиков

Механизм захвата и ориентации имеет бункер1, разделенный перегородкой 5. Заготовки загружаются в верхнюю часть бункера, откуда они под действием собственного веса и в результате движения перегородки 5 относительно оси 6на угол φ поступают через щель в нижнюю часть бункера. Перегородка совершает качательные движения навстречу потоку заготовок, что способствует предварительной ориентации заготовок и исключает образование сводов заготовок. Перегородка получает движение от двух кулачков 4 и пружины 2, на которые действуют тяги 16 через ролики 3, а тяги, в свою очередь, перемещаются от захватного устройства (шибера) 10, который нажимает угольниками 13 на упоры 15. Заготовки, пройдя щель между дном бункера и перегородкой, захватываются шибером, поднимаются над перегородкой 9 и соскальзывают на отводящий цепной транспортер 8, натянутый на звездочки, одна из которых приводная. Заготовки, занявшие неправильное положение на шибере, в момент его подъема сбрасываются в бункер. Высоту установки цепного транспортера регулируют при помощи винта 11 и гайки 12. Заготовки на транспортере располагаются в один ряд, лишние удаляются сбрасывателем 7. Захватный орган (шибер) загрузочного устройства, смонтирован в раме, подвешенной на рычагах 14, приводится от электродвигателя с электромагнитной муфтой скольжения, червячный редуктор, кривошип и кривошипно - коромысловый механизм.

Для заготовок Б и В будем использовать следующий механизм для ориентации заготовок, рис. 7.3.

Рисунок 7.3 - Механизм ориентации с переменным движением ползунов

Механизм ориентации, показанный на рисунке 6.2 предназначен для ориентации колец и дисков. Заготовки выдаются из механизма ориентации в положении «на ребро». Механизм ориентации имеет бункер 1, ползуны 2, с вырезом по форме подаваемых заготовок и привод ворошителей от пневмоцилиндра 5; шток 6 цилиндра 5 через рычаг 7 поворачивает вал 8, а вместе с ним и зубчатое колесо 4, сцепленное с рейками 3 ползунов 2, на 45˚. Цилиндр переключается автоматически краном, который управляется водилом, сидящим на валу 8.

Заготовки вручную загружаются в бункер, где и ворошатся ползунами, затем заняв требуемое положение («на ребро»), поступают в вырез и далее через окно в выходной лоток, а из него в накопитель [5].

Магазин-накопитель

В качестве накопителя заготовокиспользуем автоматический магазин с зигзагообразным лотком-скатом. Преимущества использования магазина состоит в том, что детали находятся в ориентированном виде, не подвергаются порче внешней поверхности. Такой вид накопителя достаточно емкий и может обеспечить работу в автоматическом режиме в течение половины рабочей смены и даже дольше.

Магазин дополнительно снабжают подъемным устройством, для поднятия заготовок на высоту уровня шпинделя станка и подачи их под захват руки робота.

Общий вид накопителя для заготовок типа вал представлен на рисунке 7.4.

Рисунок 7.4 - Общий вид магазина-накопителя заготовок.

Заготовки 1 загружаются в лоток-приемник 2. Далее под действием силы тяжести заготовки перемещаются самотеком по зигзагообразному лотку 3, приваренному к корпусу 4. В нижней части лотка 3 установлен рычаг 5, который служит для поштучной подачи заготовок из накопителя в подъемное устройство 6. В подъемном устройстве образуется запас заготовок, который остается постоянным, благодаря работе отсекателя 7.

Подъем заготовок осуществляется с помощью подъемного устройства состоящего из конической передачи, которая передает вращение на конвейер, муфты со змеевидной пружиной и шагового двигателя FL110STH.

В верхней части подъемного устройства установлен лоток 8, который служит для подачи заготовок под схват руки робота.

Рисунок 7.5 - Схема захвата и извлечения заготовки из лотка.

Для накопления уже обработанных деталей используем аналогичный магазин (см. рисунок 7.5). Этот магазин также оснащен подъемным устройством, которое служит для поднятия деталей с уровня шпинделя станка на уровень загрузочного лотка магазина.

Обработанные детали загружаются в лоток 2 и скатываются в нижнюю часть магазина-накопителя. Рычаг 5 постоянно закрыт.


Заключение

В ходе выполнения курсовой работы была предложена схема ГАУ, т.е. совокупность в различных сочетаниях оборудования с ЧПУ, РТК, ГПМ, отдельных единиц ТО и систем обеспечения их функционирования (СОФ) в автоматическом режиме, обладающая свойством автоматической переналадки при производстве изделий различной номенклатуры в установленных пределах значений их характеристик. В соответствии с заданной номенклатурой изделий были разработаны технологические маршруты механической обработки, произведен выбор необходимого технологического оборудования и оснастки. Также, в соответствии с разработанными технологическими маршрутами, была разработана числовая модель календарного плана-графика выпуска партий деталей.

Похожие работы на - Проектирование производственного процесса групповой механической обработки партий деталей на ГАУ

 

Не нашли материал для своей работы?
Поможем написать уникальную работу
Без плагиата!
Без нейросетей!