Проектирование производственного процесса групповой механической обработки партий деталей на ГАУ
Содержание
Введение
. Технологические маршруты обработки деталей
2. Характеристики
основного технологического оборудования
3. Характеристики технологических приспособлений
. Расчет времени обработки деталей
. Графы технологических маршрутов обработки деталей
. Построение числовой модели календарного плана
. Характеристики вспомогательного оборудования
Заключение
Список использованной литературы
Введение
Цель машиностроения - изменение структуры производства, повышение
качественных характеристик машин и оборудования. Предусматривается осуществить
переход к экономике высшей организации и эффективности со всесторонне развитыми
силами, зрелыми производственными отношениями, отлаженным хозяйственным
механизмом. Такова стратегическая линия государства.
Перед машиностроительным комплексом поставлена задача резко повысить
технико-экономический уровень и качество машин, оборудования и приборов.
Предметом исследования и разработки в технологии машиностроения являются
виды обработки, выбор заготовок, качество обрабатываемых поверхностей, точность
обработки и припуски на неё, базирование заготовок; способы механической
обработки поверхностей - плоских, цилиндрических, сложнопрофильных и др.;
методы изготовления типовых деталей - корпусов, валов, зубчатых колёс и др.;
процессы сборки (характер соединения деталей и узлов, принципы механизации и
автоматизации сборочных работ); конструирование приспособлений.
Основными направлениями развития современной технологии: переход от
прерывистых, дискретных технологических процессов к непрерывным
автоматизированным, обеспечивающим увеличение масштабов производства и качества
продукции; внедрение безотходной технологии для наиболее полного использования
сырья, материалов, энергии, топлива и повышения производительности труда; создание
гибких производственных систем, широкое использование роботов и
роботизированных технологических комплексов в машиностроении и приборостроении.
1. Технологические маршруты обработки деталей
Деталь А (Вал):
Вид заготовки - прокат
Материал - сталь 45х4543-88
Число деталей из заготовки - 1
Объем заготовки:
V = πЧR2Чh =
3.14Ч372Ч272= 523.2 см3
Масса заготовки:
m = PЧV = 7810[кг/м3] Ч 0.0005232[м3] = 4.6кг
Масса партии деталей: M = nЧm = 40Ч 4.6= 184кг
|
Операция
|
Содержание операции
|
Станки и оборудование
|
Схема базирования поверхности
|
Приспособление
|
|
А1 Торце-центро-вальная
|
Фрезерование поверхностей 1, 2 Центровка отверстий 3, 4.
|
Полуавтомат фрезерно-центровально-обточной 2Г942.00 (рис. 2.1)
|
|
Специальные гидравлические зажимные тиски станка (рис. 3.1)
ПР «Итекар» (рис. 2.10)
|
|
А2 Токарная
|
Черновое и чистовое точение поверхностей 5,6,7,8,9,10,11.
|
Токарный патронно-центровой с ЧПУ повышенной точности ИТ42С
(рис. 2.2)
|
|
Патрон поводковый штырьковой (рис. 3.2), вращающийся центр
(риc. 3.3) ПР «Итекар» (рис. 2.10)
|
|
А3 Шлифовальная
|
Шлифование поверхностей 13 и 12
|
Круглошлифоваль-ный станок с ЧПУ GU-3250CNC Paragon (рис. 2.3)
|
|
Патрон поводковый штырьковой(рис. 3.2), вращающийся центр
(риc. 3.3) ПР «Итекар» (рис. 2.10)
|
|
А4 Фрезерно-сверлильная
|
Сверление и растачивание отверстия 14 Сверление отверстия
15 Фрезерование шпоночного паза 16
|
Станок вертикальный сверлильно-фрезерно-расточной с ЧПУ
модели 500V (рис. 2.4)
|
|
Тиски PSG
50 с встроенным шаговым двигателем (рис.3.4) ПР «Итекар» (рис. 2.10)
|
|
|
|
|
|
|
|
|
|
|
|
А5 Щлице-фрезерная
|
Фрезерование шлицев 17
|
Шлицефрезерный специальный полуавтомат МГ-53-00 (рис. 2.5)
|
|
Приспособление станка (рис. 2.5) ПР «Итекар» (рис. 2.10)
|
Описание технологического процесса детали А:
Операция А1
Заготовка устанавливается в специальные гидравлические зажимные тиски
фрезерно-центровального полуавтомата. Сначала фрезеруются обе торцевые
поверхности (поверхности 1 и 2). Затем сверлятся центровые отверстия
(поверхности 3 и 4).
Операция А2
Заготовка снимается и устанавливается впатроне поводковом штырьковом
токарного патронно-центрового станка причем передний центр является приводным.
После установки происходит черновое, а затем чистовое точение поверхностей
5,6,7,8,9,10,11.
Операция А3
Заготовка снимается и устанавливается в центрах кругло-шлифовального
станка. Шлифуются поверхности 12,13.
Операция А4
Заготовка снимается и закрепляется в тисках с встроенным шаговым
двигателем. После установки происходит сверление и растачивания поверхности 14.
Деталь поворачивается с помощью робота «Итекар» на 900.
Далее сверлится отверстие 15 и фрезеруется шпоночный паз 16.
Операция А5
Заготовка снимается и закрепляется в приспособление станка МГ-53 и
фрезеруются шлицы 17.
Деталь Б (Крышка подшипника сквозная):
Вид заготовки - прокат
Материал - сталь 45
Число деталей из заготовки - 1
Объем заготовки:
V = πЧR12Чh1+πЧR22Чh2= 3.14Ч122Ч12+3.14Ч442Ч12=
78.3 см3
Масса заготовки: m = PЧV = 7810[кг/м3] Ч 0.0000783[м3] = 0.61кг
Масса партии деталей: M = nЧm = 40Ч 0.61= 24.4кг
|
Операция
|
Содержание операции
|
Станки и оборудование
|
Схема базирования поверхности
|
Приспособление
|
|
Б1 Фрезерно-сверлильная
|
Фрезерование поверхностей 1, 2. Фрезерование поверхности 3.
Сверление отверстий 4,5,6,7,8
|
Станок вертикальный сверлильно-фрезерно-расточной с ЧПУ
модели 500V (рис. 2.4)
|
|
Тиски PSG
50 с встроенным шаговым двигателем (рис.3.4) ПР «Итекар» (рис. 2.10)
|
|
|
|
|
|
|
Б2 Токарная
|
Снятие фаски 9. Обточка поверхностей 10, 11. Прорезание
канавки 12.
|
Токарный патронно-центровой с ЧПУ повышенной точности ИТ42С
(рис.2.2)
|
Оправка с упругой оболочкой(рис.
3.5) ПР «Итекар» (рис. 2.10)
|
|
|
Обтачивание внутренней поверхности 13.
|
Токарный патронно-центровой с ЧПУ повышенной точности ИТ42С
(рис.2.2)
|
|
Патрон клинореечный с программным управлением(рис.3.6)
ПРРКТБ (рис. 2.8)
|
|
Б3 Шлифо-вальная
|
Шлифовать поверхность 14
|
Круглошлифо-вальный станок с ЧПУ GU-3250CNC Paragon (рис.2.3)
|
|
Оправка с упругой оболочкой (рис. 3.5) ПР “Итекар” (рис.
2.10)
|
Описание технологического процесса детали Б:
Операция Б1
Заготовка устанавливаетсяв тиски с встроенным шаговым двигателем.
Фрезеруются поверхность 1, с помощью робота «Итекар» деталь поворачивается на
180о, устанавливается в тиски и фрезеруется поверхность 2,3.
Сверлятся отверстия 4,5,6,7,8.
Операция Б2
Заготовка снимается и устанавливается впатроне поводковом штырьковом
токарного патронно-центрового станка. После установки происходит черновое, а затем
чистовое точение поверхностей 9,10,11,12.
Операция Б3
Заготовка снимается и устанавливается в оправку с центральной оболочкой.
Шлифуются поверхности 14.
Деталь В:
Вид заготовки - прокат
Материал - сталь 45
Число деталей из заготовки - 1
Объем заготовки: V = πЧR2Чh =
3.14Ч1352Ч70= 837.4 см3
Масса заготовки: m = PЧV = 7810[кг/м3] Ч 0.0008374[м3] = 4.8кг
Масса партии деталей: M = nЧm = 40Ч 4.8= 180кг
|
Операция
|
Содержание операции
|
Станки и оборудование
|
Схема базирования поверхности
|
Приспособление
|
|
В1 Торце-центровальная
|
Фрезерование отверстий 1, 2. Центровка отверстий 3, 4.
|
Полуавтомат фрезерно-центровально-обточной 2Г942.00 (рис.
2.1)
|
Специальные гидравлические зажимные
тиски станка (рис. 3.1) ПР «Итекар» (рис. 2.10)
|
|
|
В2 Токарная
|
Черновое и чистовое точение поверхностей 5,6,7,8.
|
Токарный патронно-центровой с ЧПУ повышенной точности ИТ42С
(рис.2.2)
|
Патрон поводковый штырьковой (рис.
3.2), вращаю-щийся центр (риc.
3.3) ПР «Итекар» (рис. 2.10)
|
|
В3 Зубодолбежная Зубодолбление
поверхностей 8 и 6 Полуавтомат вертикальный зубодолбежный 5140 (рисунок 2.6)
Приспособление станка
|
(рис. 2.6) ПР «Итекар» (рис. 2.10)
|
|
В4 Сверлильная Сверление отверстия 9 Станок
вертикальный сверлильно-фрезерно-расточной с ЧПУ модели 500V (рисунок
2.4)
Тиски PSG 50 с встроенным шаговым двигателем (рис.3.4)
В5 Протяжная Протяжка отверстия 9 Полуавтомат
вертикально-протяжной вертикальный 77108(рисунок 2.7)
Приспособление станка
|
(рис. 3.3) ПР «Итекар» (рис. 2.10)
|
|
Описание технологического процесса детали В:
Операция В1
Заготовка устанавливается в специальные гидравлические зажимные тиски фрезерно-центровального
полуавтомата. Сначала фрезеруются обе торцевые поверхности (поверхности 1 и 2).
Затем сверлятся центровые отверстия (поверхности 3 и 4).
Операция В2
Заготовка снимается и устанавливается впатроне поводковом штырьковом
токарного патронно-центрового станка. После установки происходит черновое, а
затем чистовое точение поверхностей 5,6,7,8.
Операция В3
Заготовка снимается и устанавливается в приспособление станка и
обрабатывает поверхности 6,8.
Операция В4
Заготовка снимается и закрепляется в тисках с встроенным шаговым
двигателем. После установки происходит сверление поверхности 9.
Операция В5
Заготовка снимается и закрепляется в приспособление станка и
обрабатывается отверстие 9.
. Характеристики основного технологического оборудования
Полуавтомат фрезерно-центровально-обточной 2Г942.00
Предназначен для обработки торцов деталей типа «вал» в серийном и
массовом производстве со встройкой автоматических загрузочных устройств и в
составе автоматических линий.
Рисунок 2.1 Полуавтомат фрезерно-центровально-обточной 2Г942.00 и его
рабочая зона
Технические характеристики:
Пределы длины обрабатываемых деталей, мм: 50-1000
Пределы диаметров устанавливаемых в тисках деталей, мм: 20-160.
Диаметры применяемых центровочных сверл, мм: стандартных типа А и R
3.15-10 стандартных типа В 2-8 специальных до 12
Наибольший диаметр сверления, мм 16
Наибольший диаметр фрезерования, мм 150
Наибольший диаметр устанавливаемой фрезы, мм 160
Наибольший диаметр подрезаемого торца (по стали 45, НВ 207), мм 50
Наибольший диаметр подрезаемой кольцевой поверхности (по стали 45, НВ
207), мм 100/80
Наибольший диаметр обточки шеек, мм 100
Наибольший диаметр растачиваемых отверстий, мм 100
Длина обточек шеек, мм 40
Количество шпинделей 4
Пределы частот вращения шпинделей: сверлильного, об/мин 159...1588
фрезерного, об/мин 130...740
Пределы бесступенчатых подач сверлильного шпинделя, мм/мин 20...2000
Пределы бесступенчатых подач фрезерного шпинделя, мм/мин 20...2000
Ход пиноли сверлильного шпинделя, мм 100
Габарит полуавтоматов, мм: длина 3970...5470 ширина 1750 высота 2000
Электрооборудование
Род тока питающей сети перем. 3-х фазный
Частота тока, Гц 50

Рисунок 2.2 Токарный патронно-центровой с ЧПУ повышенной точности ИТ42Си
его рабочая зона
Токарный станок ИТ42 патронно-центровой с ЧПУ повышенной точности
предназначен для высокопроизводительной и точной токарной обработки с нарезанием
наружной и внутренней резьбы различных деталей типа "фланец" и
"валик", поверхностей типа "шаровый палец".
Технические характеристики токарного патронно-центровового станка с ЧПУ
повышенной точности ИТ42С:
Наибольший диаметр обрабатываемой заготовки над суппортом, мм 25
Наибольшая длина обрабатываемой заготовки, мм 400
Количество позиций инструмента револьверной головки 8
Наибольшее сечение резца, мм 20х20
Частота вращения шпинделя, об/мин 0-3000
Мощность главного двигателя (номинальная), кВт 7,5
Наибольшее перемещение поперечной каретки суппорта, мм 173
Пределы быстрых перемещений суппорта, мм/мин в продольном направлении
8000в поперечном направлении4000
Пределы шагов нарезаемых резьб, мм 0,2-40
Постоянство размеров при обработке партии, мкм по диаметру 30подлине 50
Габаритные размеры станка, мм 2.000х2.225х1.900
Масса станка, кг 2160
Круглошлифовальный станок с ЧПУ GU-3250CNC Paragon
Рисунок 2.3 Круглошлифовальный станок с ЧПУ GU-3250CNC Paragon и его
рабочая зона
Круглошлифовальные станки с ЧПУ предназначены для шлифования наружных
цилиндрических поверхностей и осевых торцевых поверхностей. На
кругло-шлифовальном станке заготовку устанавливают на центрах или в патроне и
приводят во вращение навстречу шлифовальному кругу; вместе со столом станка она
может совершать возвратно-поступательное движение.
Технические характеристики:
Вес кг 2500
Конус задней бабки К.М. К.М.4
Макс. перемещение центра задней бабки мм 35
Мощность привода по оси Х кВт 1
Мощность привода при внутреннем шлиф. кВт 0.75
Мощность привода шлиф. бабки при врезном шлиф. кВт3.0
Мощность привода шлиф. круга кВт 3.7
Мощность привода шлиф. круга при врезном шлиф. кВт 1.6
Макс. вес обработки кг 150
Макс. диаметр над столом мм 320
Макс. диаметр обработки мм 280
Расстояние между центрами мм 500
Перемещение по оси Z мм 630
Перемещение по оси Х мм 200
Скорость подачи мм/мин 0.0001-8000
Размеры шлифовального круга (НД х Ш х ВД) мм 405x56x127
Станок вертикальный сверлильно-фрезерно-расточной сЧПУ модели 500V
Предназначен для комплексной обработки деталей из различных
конструкционных материалов в условиях единичного, мелкосерийного и серийного
производства. Выполняет операции сверления, зенкерования, развертывания,
получистового и чистового растачивания отверстий, нарезания резьбы метчиками и
фрезами, фрезерования.
Особенности:
Оснащен системой автоматической смены инструмента (АСИ) и числовым
программным управлением (ЧПУ);
Неподвижный рабочий стол обеспечивает высокую точность обработки;
Возможность оснащения поворотным столом для четырехкоординатной
обработки;
Возможность оснащения щупами для измерения детали и инструмента;
Возможность оснащения различными инструментальными магазинами;
Колонковая структура.
2.4 Станок вертикальный сверлильно-фрезерно-расточной сЧПУ модели 500V и его рабочая зона
Шлицефрезерный специальный полуавтомат МГ53-00
Зубофрезерный станок МГ53-00 предназначен для фрезерования на деталях
типа "вал" прямобочных и эвольвентных шлицев, а также зубьев
прямозубых и косозубых шестерен, выполненных как заодно с валом, так и
раздельно. Фрезерование шлицев и зубьев осуществляется червячными модульными
фрезами методом обкатывания. Станок может быть использован для фрезерования
зубьев цилиндрических прямозубых или косозубых шестерен 7 или 8 степени
точности, выполненных как заодно с валом, так и раздельно. Основной способ
закрепления заготовки на станке - в центрах, с помощью планшайбы поводка и
хомутика.
По требованию заказчика за отдельную плату, станок может быть оснащен
специальным вращающимся гидроцилиндром и цанговым патроном, что позволит
закреплять заготовку в патроне.
Рисунок 2.5 Шлицефрезерный специальный полуавтомат МГ53-00 и его рабочая
зона
Технические характеристики:
Наибольшие размеры устанавливаемой заготовки, мм: диаметр 500 длина 1000
Наибольшие размеры обрабатываемого изделия, мм: диаметр150 длина 925
Пределы чисел фрезеруемых шлицев (зубьев) 4-36
Наибольший модуль фрезерования 6
Наибольший диаметр фрезы, мм 140
Предел частоты вращения шпинделя фрезы, мин 180-250
Мощность главного электродвигателя, кВт 6,0/6,7
Габариты полуавтомата, мм 2585х1550х1650
Масса полуавтомата, кг 4500
Полуавтомат вертикальный зубодолбежный 5140
Зубодолбежный станок 5140 (аналог 5А140П) предназначен для обработки
цилиндрических колес с наружным и внутренним зубом, а также косозубых колес с
углом наклона зуба до 35 градусов. Черновая, получистовая и чистовая обработка
на станке производится в автоматическом цикле (со сменой режимов обработки в
цикле) за один, два и три рабочих хода. Станок работает по методу обкатывания.

Рисунок 2.6 Полуавтомат вертикальный зубодолбежный 5140и его рабочая зона
Технические характеристики:
Максимальный делительный диаметр нарезаемых колес, мм 500
Максимальный модуль нарезаемых колес 8
Максимальная ширина нарезаемого венца, мм 100
Максимальный ход шпинделя инструмента, мм 125
Диаметр рабочей поверхности стола, мм 560
Наибольший делительный диаметр долбяка, мм 125
Число двойных ходов штосселя в минуту 55-560
Масса станка, кг 7500
Габаритные размеры станка, мм 1750х1280х2350
Полуавтомат вертикально-протяжной вертикальный 77108
Станки модели 77108 предназначены для обработки протягиванием сквозных
отверстий различной формы и размеров: круглых и шлицевых отверстий, шпоночных
пазов и т.п.

Рисунок 2.7 Полуавтомат вертикально-протяжной вертикальный 77108 и его
рабочая зона
Технические
характеристики
Класс точности станка по ГОСТ 8-82 -
Н
Номинальное тяговое усилие, кН100
Длина хода рабочих салазок, мм 1000
Рабочая ширина стола, мм 450
Мощность двигателя главного движения,
кВт 14
Габаритные размеры станка:
длина/ширина/высота, мм 2950х1350х3100
Масса станка с выносным
оборудованием, кг5 100
Модель УЧПУ, установленного на
станке/ число инструментов в маг
Начало серийного производства 1969
ПР «РКТБ»
Рисунок 2.8 ПР «РКТБ»
Технические характеристики:
Грузоподъемность, кг 10
Число степеней подвижности 4
Число программируемых координат 4
Привод основных движений электрический
Система управления позиционирование
Объем памяти (число команд) 25
Погрешность позиционирования, мм ±1
Габариты:
Н, мм 1800
L, мм
970
B, мм
754
Масса, кг 120
Рисунок 2.9 Захватывающие устройства роботов
ПР «Итекар»
Основное назначение - выполнение различных операций при проведения
опытных исследовательских работ по автоматизации машиностроения в серийном
производстве.
Технические характеристики:
Грузоподъемность, кг 5
Число степеней подвижности 4
Число рук/захватов на руку 1/1
Тип привода электропневматический
Устройство управления позиционное или цикловое
Число программируемых координат 4
Объем памяти системы, число команд 8000
Погрешность позиционирования, мм 0.1
Наибольший вылет руки, мм 1100
Масса, кг 500
Рисунок 2.10 ПР «Итекар»
. Характеристики технологических приспособлений
Специальные гидравлические зажимные тиски станка 2Г942.00
Рисунок 3.1 Специальные гидравлические зажимные тиски станка 2Г942.00
Пределы диаметров устанавливаемых в тисках деталей составляют 20-160 мм
Поводковый патрон, вращающийся центр
Поводковый патрон штырьковой (рис 1.2) конструкции ЭНИМСа состоит из
хвостовика 11 и корпуса 4. В отверстии корпуса установлен плавающий центр 1,
подпружиненный пружиной 6. Шпонка 3 передает крутящий момент поводкам 2. При
поджиме заготовки вращающимся центром задней бабки в ее торец вдавливаются
поводки 2. Последние через толкатели 5 и плунжеры 7 опираются на гидропласт 8,
что обеспечивает равномерное вдавливание штырьков в торец заготовки даже при
его неперпендикулярности относительно оси центров. Плунжер 9 с винтом 10
закрывает осевое отверстие после заполнения его гидропластом.
Рисунок 3.2 Патрон поводковый штырьковой
Прецизионные вращающиеся токарные центры
для точных работ на токарных станках с ручным и программным управлением;
не более 0,004мм для конуса Морзе №5;
стандартное и специальное исполнение;
не требуют обслуживания.
Рисунок 3.3 Вращающий центр Морзе 5
Тиски PSG 50 с встроенным шаговым двигателем
машиностроение заготовка сборочный
Рисунок 3.4 Тиски PSG
50с встроенным шаговым двигателем
Оправка с упругой оболочкой
На рисунке 1.5 показана оправка с упругой оболочкой. Корпус 1 оправки
крепится к фланцу шпинделя станка. На корпусе 1 закреплена втулка 2, канавки
которой вместе с канавками корпуса образуют полости А, В и С, заполняемые
гидропластом. При вращении винта 5 плунжер 7 перемещается, выдавливая
гидропласт из полости С в полость А. Тонкая стенка втулки 2 под давлением
гидропласта деформируется, увеличивая наружный диаметр втулки и создавая натяг
при закреплении заготовки 3. Упор 6 ограничивает перемещение плунжера 7, а
пробка 4 закрывает отверстие, через которое выходит воздух при заполнении
оправки гидропластом.
Рисунок 3.5 Оправка с упругой оболочкой
Патрон клинореечный с программным управлением
На рис. 1.6 показан клинореечный патрон с программным управлением.
Положение кулачков по диаметру регулируется по команде ЧПУ. На боковых
поверхностях оснований 4 кулачков нарезаны косые зубья, зацепляющиеся с зубьями
реек 3, подвижно установленных в корпусе патрона, соединенных фланцем 2 с тягой
1 механизированного привода. На противоположной боковой поверхности основания 4
кулачков выполнены продольные пазы, в которых входят ограничительные шрифты.
Обрабатываемая заготовка центрируется и зажимается кулачками 7 при перемещении
тяги 1 привода. При этом клиновые рейки также перемещаются в крайнее правое
положение. Поскольку зубья клиновых реек 3 частично срезаны, рейки в этом
положении выходят из зацепления с зубьями оснований.
Рисунок 3.6 Патрон клинореечный с программным управлением
. Расчет времени обработки деталей
Расчет времени обработки деталей будем производить исходя из упрощения,
что на снятие 50 см3 материала загатовки при черновой токарной
обработке затрачивается в среднем 5-7 мин., при чистовой токарной обработке
затрачивается 3-5 мин. Время, затрачиваемое на иные виды обработок, такие как
фрезеривание, сверление, зубофрезерование и т.п., определяются умножением
времени токарной обработки на соответствующие коэффициенты. Таким образом,
принимаем время токарной черновой обработки Тток. черн. = 6 мин.,
токарной чистовой обработки Тток. чист. = 4 мин.
Фрезерная обработка Тф. = 1*Тток. черн. = 6 мин.
Сверление Тсв. = 1.3 * Тток. черн. = 7.8 мин.
Шлифование Тш. = 0.4*Тток. черн. = 2.4 мин.
ПротягиваниеТпр. = 1.3*Тток. черн. = 7.8 мин.
ЗубодолблениеТзд. = 2*Тток. черн. = 12 мин.
Рассчитаем операционное время обработки каждой партии деталей.
Деталь А.
) Фрезерование торцов и зацентровка.
Объем удаляемого материала:
VАфт1+VАфт1 =
где h - величина припуска (h = 2.5 мм).
VАфт1 +VАфт1 =
= 69 см3
TАф=Тф*VAф/50 = 6*69/50 = 9 мин.
Время на выполнение центровых отверстий примем 1 мин.
Для всей партии деталей ТАф = 10 * 40 = 400 мин = 6.66 ч.
) Токарная обработка:
Объем детали А при черновом обтачивании равен
VAт
=
= 166.6 см3.
Чистовая обработка:
ТАчист = Ттчист*VАчист/ 50 = 4*2.5 /50 = 0.2 мин.
Для всей партии деталей
ТАт = 8*40 = 320 мин. = 5.33 ч.
) Шлифование:
Тш =
,
Где L - длина участка шлифования,
H -
величина припуска на диаметр, h =
0.5 мм,
К - поправочный коэффициент,
nδ - число оборотов обрабатываемой
детали (180 об/мин),
SB - подача на ширину шлифования (63 мм/об)
St - подача на глубину шлифования (0.0015 мм/об)
ТАш1 =
ТАш2 =
ТАш = 1.2 + 0.8 = 2 мин.
Для всей партии деталей: ТАш = 2 * 40 = 80 мин. = 1.33 ч.
) Фрезерно-сверлильная обработка:
Объем VАсв удаляемый при выполнении сверления
отверстий 1,2 и 3 равен:
VАсв1 =
= 31.7 см3.
VАсв2 =
= 5.5 см3.
VАсв3 = l*n*h = 15*16*6 = 1.4 см3.
(шпоночный паз)
Суммарное время на обработку:
ТАсв = 7.8*(31.7 + 5.5 + 1.4)/50 = 5 мин.
Для всей партии деталей
ТАсв = 5*40 = 200 мин. = 3.33 ч.
) Шлицефрезерная обработка:
VAшф =
50 мм3
ТАшф = 6*(50)/50 = 6 мин.
Для всей партии: ТАшф = 6*40=240 мин. = 4 ч.
Деталь Б:
) Фрезерно-сверлильная обработка
Объем VВсв удаляемый при выполнении сверления
отверстий 4, 5, 6, 7 и 8 равен:
VБфр1 =
= 2.1 см3.
VБфр2 =
= 5.5 см3.
VБсв1 =
= 9.8 см3.
VБсв2 =
= 2.5 см3.
Суммарное время на обработку:
ТБсв = 7.8*(9.8 + 2.5)/50 + 6*(2.1 + 5.5)/50= 10 мин.
Для всей партии деталей
ТБсв = 10 * 40 = 400 мин. = 6.66 ч.
) Токарная обработка
Объем детали Б при чистовом обтачивании равен
VБт =
= 133,3 мм3.
ТБт = Ттч*133,3/50 = 6 * 133,3 / 50 = 16мин.
Для всей партии
ТБт = 16*40=640 мин. = 10.66 ч.
) Шлифование
Тш =
,
где L - длина участка шлифования,
h -
величина припуска на диаметр, h =
0.5 мм,
К - поправочный коэффициент,
nδ - число оборотов обрабатываемой
детали (180 об/мин),
SB - подача на ширину шлифования (63 мм/об)
St - подача на глубину шлифования (0.0015 мм/об)
ТБш1 =
Для всей партии: ТБш1=2*40=80 мин. = 1.33 ч.
Деталь В:
) Фрезерование торцов и зацентровка.
Объем удаляемого материала:
VВфт1+VВфт1 =
где h - величина припуска (h = 2.5 мм).
VВфт1 +VВфт1 =
= 69 мм3
TВф=Тф*VВф/50 = 6*69/50 = 9 мин.
Время на выполнение центровых отверстий примем 1 мин.
Для всей партии:
TВф = 10*40 = 400 мин. = 6.66 ч.
) Токарная
Объем детали В при черновом обтачивании равен:
VВт =
= 66.6 мм3.
ТАт = Ттч*66,6/50 = 6 * 66.6 / 50 = 8 мин.
Чистовая обработка:
ТАчист = Ттчист*VАчист/ 50 = 4*2.5 /50 = 0.2 мин.
Для всей партии:
ТАт = 8*40 = 320 мин. = 5.33 ч.
) Зубодолбежная
VБзд =
Где Da - диаметр цилиндрической
поверхности, описывающей наружную поверхность зубчатого венца (Da=d+2m),
d -
диаметр делительной окружности,
m -
модуль зацепления,
df - диаметр основания зубчатого венца (df = d - 2m),
l - ширина
зубчатого венца.
VВзд =
мм3
ТВзд = Тзд*VВзд/50 = 10,2 * 34,3 / 50 = 7 мин.
Для всей партии:
ТВзд = 7 * 40 = 280 мин. = 4.66 ч.
) Протяжная операция
VВпр =
мм3
ТВпр = Тпр*VВпр/50 = 7,8 * 57,7 / 50 = 9 мин.
Для всей партии:
ТВпр = 9 * 40 = 360 мин. = 6 ч.
. Графы технологических маршрутов обработки деталей
Условные обозначения операций:
- фрезерно-сверлильная операция
- токарная операция
3 -
шлифовальная операция
4- торце-центровальная операция
- зубодолбежная операция
- протяжная операция
7 - шлицефрезерная операция
Рис. Деталь А Деталь Б Деталь В
,
Где М - количество вершин графов,
βj - коэффициент степени важности недозагрузки j - го вида оборудования (βj = 0.8),
- округленная трудоемкость до ближайшего целого числа.
Операционные трудоемкости для каждого вида деталей приведены в следующей
таблице:
|
М
|
Трудоемкость, ст-ч
|
|
|
4
|
2
|
3
|
1
|
7
|
5
|
6
|
|
Деталь А
|
5
|
6.66
|
5.33
|
1.33
|
3.33
|
4
|
-
|
-
|
|
Деталь Б
|
3
|
-
|
10.66
|
1.33
|
6.66
|
-
|
-
|
-
|
|
Деталь В
|
5
|
6.66
|
5.33
|
-
|
6.66
|
-
|
4.66
|
6
|
Рассчитываем степень загрузки оборудования отдельно для каждой партии
деталей.
Деталь А:
SA =
= 0.59
Деталь Б:
SБ =
= 0.6
Деталь В:
SB =
= 0.58
. Построение числовой модели календарного плана
Деталь А - вал
Деталь Б - крышка
Деталь В - блок зубчатый
1) Матрица операционных затрат времени наобработку партий деталей:
|
Операционное время на партию
|
Расчетные параметры
|
Вариант очередности обработки
|
|
ФЦО
|
ТПЦ
|
КШ
|
ФСР
|
ШФ
|
ВЗ
|
ПГ
|
Li1
|
Li2
|
λi
|
І
|
II
|
III
|
IV
|
|
А
|
6.661
|
5.332
|
1.333
|
3.334
|
45
|
-
|
-
|
13.33
|
8.66
|
-4.66
|
В
|
В
|
А
|
Б
|
|
Б
|
-
|
10.662
|
1.333
|
6.661
|
-
|
-
|
-
|
17.33
|
12
|
-5.33
|
Б
|
А
|
Б
|
А
|
|
В
|
6.661
|
5.332
|
-
|
5.334
|
-
|
4.663
|
65
|
16.66
|
16
|
-0.66
|
А
|
Б
|
В
|
В
|
2) По данным исходной матрицы определим расчетные параметры, выражающие
суммарные трудоемкости операции по 1-ой (Li1) и 2-ой (Li2)
частям технологического процесса обработки каждого типа партий деталей:
При четном числе операций:
Li1=
Li2=
Где m - общее число операцмй по
технологическому процессу обработки партии деталей определенного типа:
Tijp - трудоемкости обработки i-й партии деталей на j-рабочем месте по p-й операции
При нечетном числе операций:
Li1=
Li2=
Здесь же определим параметр λi:
λi = Li2
- Li1
Правило I
Из множества парий деталей (i) первыми в обработку запускаются партии, имеющие значения λi≥ 0 и в порядке возрастания Li1 . Затем в обработку запускаются оставшиеся партии с λi≤ 0 и в порядке убывания Li2.
В соответствии с этим правилом дл\ партий деталей требуются следующая
очередность обработки Б-В-А.
Правило II
Все множество партий деталей располагаются в порядке уменьшения значения λi .
В соответствии с этим правилом порядок запуска деталей следующий Б-В-А.
Правило III
Из множества парий деталей (i) первыми в обработку запускаются партии, имеющие значения λi< 0 и в порядке возрастания Li2. Затем в обработку запускаются оставшиеся партии с λi≥ 0 и в порядке убывания Li1.
В соответствии с этим правилом дл\ партий деталей требуются следующая
очередность обработки А-В-Б.
Правило IV
Все множество партий деталей распологают в порядке возрастания значения λi.
В соответствии с этим правилом порядок запуска деталей следующий А-В-Б.
) Для каждого из вариантов очередности обработки деталей рассчитаем
значения конечных сроков календарной занятости j-х рабочих мест Tijpпо алгоритму:
Tijp = tijp+ max{Ti,j-1,p; Ti-1,j,p }
Шаг 1. В матрице календарного плана фиксируется время календарной
занятости рабочих мест (станков) после выполнения первых операций по партиям
деталей.
Шаг 2. Далее осуществляется расчет Tijp по вышеприведенному алгоритму с
учетом приоритета занятости рабочих мест.
при выявлении очередного j-го
рабочего места приоритет отдается партии деталей ожидающих продолжения
обработки с приоритетом верхней строки матрицы и четом занятости рабочих мест.
при удовлетворении требований предыдущего подшага рассматриваются партии
деталей, поступающих для продолжения обработки. Причем предпочтение отдается
партии деталей с наиболее ранним сроком поступления на обработку и с
приоритетом верхней строки.
Шаг 3. Расчет ведется по подшагам, аналогичным предыдущим(шаг 2), но
приоритет отдается партии деталей наиболее близкой к завершению цикла обработки
и без учета приоритета верхней строки матрицы.
) Вышеуказанный порядок расчета элементов Tijpматрицы |В| производится для каждого
из вариантов, установленных по правилам I-IV этапа 2, т.е. в
общем случае рассчитывают четыре матрицы |В|
В ячейках матрицы записываются:
- в основных - операционные трудоемкости обработки i -ой партии деталей на j-ой месте по р - ой операции;
- над наклонной чертой в нижнем правом угле записывается
последовательность операционных переходов;
под наклонной чертой записывается длительность цикла обработки
каждой партии деталей, т.е. календарная занятость рабочих мест;
в правых верхних углах - последовательные шаги расчета.
Из рассчитанных вариантов выбирается один по критерию
Tijp = minijp{Tijp}
5) Рассчитанные значения Tijpматрицы |В|, обеспечивающие условие
Тц.с. =minijp{Tijp},
привязываются к реальному календарю.
По правилу I
|
ФСР1(1)
|
ТПЦ(2)
|
КШ(3)
|
ФЦО(4)
|
ВЗ(5)
|
ПГ(6)
|
ШФ(7)
|
ФСР2(8)
|
|
В
|
-
|
|
5.332
|
4
|
-
|
|
6.661
|
1
|
4.663
|
6
|
65
|
9
|
-
|
|
5.334
|
8
|
|
|
|
|
12
|
|
|
|
6.66
|
|
16.66
|
|
28
|
|
|
|
22
|
|
Б
|
6.661
|
2
|
10.662
|
5
|
1.333
|
10
|
-
|
|
-
|
|
-
|
|
-
|
|
-
|
|
|
|
6.66
|
|
22.66
|
|
24
|
|
|
|
|
|
|
|
|
|
|
|
А
|
-
|
|
5.332
|
7
|
1.333
|
11
|
6.661
|
3
|
-
|
|
-
|
|
45
|
13
|
3.334
|
12
|
|
|
|
|
28
|
|
29.33
|
|
13.33
|
|
|
|
|
|
36.66
|
|
32.66
|
Расчетный шаг 1: TВ41=t В41=6.66 ч
Расчетный шаг 2: TБ11=t Б11=6.66 ч
Расчетный шаг 3: TА41=t А41+max{t А00; t В41}=13.33 ч
Расчетный шаг 4: TВ22=t В22+max{t В41; t ТЦП0}=12 ч
Расчетный шаг 5: TБ22=t Б22+max{t Б11; t В22}=22.66 ч
Расчетный шаг 6: TВ53=t В53+max{t В53; t ФСР20}=16.66 ч
Расчетный шаг 7: TА22=t А22+max{t А41; t Б22}=28 ч
Расчетный шаг 8: TВ84=t В84+max{t Б22; t ФСР0}=22 ч
Расчетный шаг 9: TВ65=t В65+max{t В65; t ПГ0}=28 ч
Расчетный шаг 10: TБ33=t Б33+max{tБ22; t КШ0}=24 ч
Расчетный шаг 11: TА33=t А33+max{tА22; t Б33}=29.33 ч
Расчетный шаг 12: TА84=t А84+max{t А33; t В84}=32.66 ч
Расчетный шаг 13: TА75=t А75+max{t А14; t ШФ0}=36.66 ч
По правилу II
|
ФСР1(1)
|
ТПЦ(2)
|
КШ(3)
|
ФЦО(4)
|
ВЗ(5)
|
ПГ(6)
|
ШФ(7)
|
ФСР2(8)
|
|
В
|
-
|
|
5.332
|
4
|
-
|
1
|
4.663
|
6
|
65
|
9
|
-
|
|
5.334
|
8
|
|
|
|
|
12
|
|
|
|
6.66
|
|
16.66
|
|
28
|
|
|
|
22
|
|
А
|
-
|
|
5.332
|
7
|
1.333
|
11
|
6.661
|
2
|
-
|
|
-
|
|
45
|
13
|
3.334
|
12
|
|
|
|
|
28
|
|
29.33
|
|
13.33
|
|
|
|
|
|
36.66
|
|
32.66
|
|
Б
|
6.661
|
3
|
10.662
|
5
|
1.333
|
10
|
-
|
|
-
|
|
-
|
|
-
|
|
-
|
|
|
|
6.66
|
|
22.66
|
|
24
|
|
|
|
|
|
|
|
|
|
|
Расчетный шаг 1: TВ41=t В41=6.66 ч
Расчетный шаг 2: TА41=t А41+max{t А00; t В41}=13.33 ч
Расчетный шаг 3: TБ11=t Б11=6.66 ч
Расчетный шаг 4: TВ22=t В22+max{t В41; t ТЦП0}=12 ч
Расчетный шаг 5: TБ22=t Б22+max{t Б11; t В22}=22.66 ч
Расчетный шаг 6: TВ53=t В53+max{t В53; t ФСР20}=16.66 ч
Расчетный шаг 7: TА22=t А22+max{t А41; t Б22}=28 ч
Расчетный шаг 8: TВ84=t В84+max{t Б22; t ФСР0}=22 ч
Расчетный шаг 9: TВ65=t В65+max{t В65; t ПГ0}=28 ч
Расчетный шаг 10: TБ33=t Б33+max{tБ22; t КШ0}=24 ч
Расчетный шаг 11: TА33=t А33+max{tА22; t Б33}=29.33 ч
Расчетный шаг 12: TА84=t А84+max{t А33; t В84}=32.66 ч
Расчетный шаг 13: TА75=t А75+max{t А14; t ШФ0}=36.66 ч
По правилу III
|
ФСР1(1)
|
ТПЦ(2)
|
КШ(3)
|
ФЦО(4)
|
ВЗ(5)
|
ПГ(6)
|
ШФ(7)
|
ФСР2(8)
|
|
А
|
-
|
|
5.332
|
4
|
1.333
|
6
|
6.661
|
1
|
-
|
|
-
|
|
45
|
9
|
3.334
|
7
|
|
|
|
|
12
|
|
13.33
|
|
6.6
|
|
|
|
|
|
20.66
|
|
16.66
|
|
Б
|
6.661
|
2
|
10.662
|
5
|
1.333
|
10
|
-
|
|
-
|
|
-
|
|
-
|
|
-
|
|
|
|
6.6
|
|
22.66
|
|
24
|
|
|
|
|
|
|
|
|
|
|
|
В
|
-
|
|
5.332
|
8
|
-
|
|
6.661
|
3
|
4.663
|
11
|
65
|
13
|
-
|
|
5.334
|
12
|
|
|
|
|
28
|
|
|
|
13.33
|
|
32.66
|
|
50.66
|
|
|
|
44.66
|
Расчетный шаг 1: TА41=tА41=6.66 ч
Расчетный шаг 2: TБ11=t Б11=6.66 ч
Расчетный шаг 3: TВ41=t В41+max{t А00; t А41}=13.33 ч
Расчетный шаг 4: TА22=t А22+max{t А41; t ТЦП0}=12 ч
Расчетный шаг 5: TБ22=t Б22+max{t Б11; t А22}=22.66 ч
Расчетный шаг 6: TА33=t А33+max{t А22; t кш0}=13.33 ч
Расчетный шаг 7: TА84=t А84+max{t А33; tфср20}=16.66 ч
Расчетный шаг 8: TВ22=t В22+max{t Б22; tВ41}=28 ч
Расчетный шаг 9: TА75=tА75+max{tА84; t ШФ0}=20.66 ч
Расчетный шаг 10: TБ33=t Б33+max{tБ22; tА33}=24 ч
Расчетный шаг 11: TВ53=tВ53+max{tВ22; tВЗ0}= ч
Расчетный шаг 12: TВ84=t В84+max{t В53; t А84}=44.66 ч
Расчетный шаг 13: TВ65=tВ65+max{tВ84; t ПГ0}=50.66 ч
По правилу IV
|
ФСР1(1)
|
ТПЦ(2)
|
КШ(3)
|
ФЦО(4)
|
ВЗ(5)
|
ПГ(6)
|
ШФ(7)
|
ФСР2(8)
|
|
Б
|
6.661
|
1
|
10.662
|
4
|
1.333
|
7
|
-
|
|
-
|
|
-
|
|
-
|
|
-
|
|
|
|
6.66
|
|
17.33
|
|
18.66
|
|
|
|
|
|
|
|
|
|
|
|
А
|
-
|
|
5.332
|
5
|
1.333
|
8
|
6.661
|
2
|
-
|
|
-
|
|
45
|
10
|
3.334
|
9
|
|
|
|
|
22.66
|
|
24
|
|
6.66
|
|
|
|
|
|
31.33
|
|
27.33
|
|
В
|
-
|
|
5.332
|
6
|
-
|
|
6.661
|
3
|
4.663
|
11
|
65
|
13
|
-
|
|
5.334
|
12
|
|
|
|
|
28
|
|
|
|
13.33
|
|
32.66
|
|
44
|
|
|
|
38
|
Расчетный шаг 1: TБ11=t Б11=6.66 ч
Расчетный шаг 2: TА41=t А41=6.66 ч
Расчетный шаг 3: TВ41=t В41+max{t А00; t В41}=13.33 ч
Расчетный шаг 4: TБ22=t Б22+max{t Б11; t ТЦП0}=17.33 ч
Расчетный шаг 5: TА22=t А22+max{t А41; t Б22}=22.66 ч
Расчетный шаг 6: TВ22=t В22+max{t В41; t А22}=28 ч
Расчетный шаг 7: TБ33=t Б33+max{tБ22; t КШ0}=18.66 ч
Расчетный шаг 8: TА33=t А33+max{tА22; t Б33}=24ч
Расчетный шаг 9: TА84=t А84+max{t А33; t В84}=32.66 ч
Расчетный шаг 10: TА75=t А75+max{t А14; t ШФ0}=31.33 ч
Расчетный шаг 11: TВ53=t В53+max{t В53; t ФСР20}=32.66 ч
Расчетный шаг 12: TВ84=t В84+max{t В53; t А84}=38ч
Расчетный шаг 13: TВ65=t В65+max{t В65; t ПГ0}=44 ч
) Для различных вариантов очередности обработки, включенных в групповую
технологию партий деталей, совокупные циклы изготовления имеют следующие
длительности:
Вариант I - 36.66 часа;
Вариант II - 36.66 часа;
Вариант III - 50.66 часа;
Вариант IV - 44 часа.
Минимальный совокупный цикл изготовления Тц.е., включенный в
программу выпуска партий деталей, обеспечивается при технологическом процессе
соответствующем варианту I.
. Построение числовой модели календарного плана
Согласно данному варианту составим календарный план-график:
|
Шифр партии
|
Станок
|
Дата
|
Начало обработки
|
Конец обработки
|
Время обработки
|
|
1
|
2
|
3
|
4
|
5
|
6
|
|
В
|
ФЦО
|
21.05.2012
|
8:00
|
14:40
|
6 ч -40
мин
|
|
ТПЦ
|
21.05.2012
|
14:40
|
20:00
|
5 ч -20
мин
|
|
ВЗ
|
21.05.2012
|
20:00
|
00:40
|
4 ч-40 мин
|
|
ФСР2
|
22.05.2012
|
00:40
|
06:00
|
5 ч -20
мин
|
|
ПГ
|
21.05.2012
|
06:00
|
12:00
|
6 ч
|
|
Б
|
ФСР
|
21.05.2012
|
8:00
|
14:40
|
6 ч -40
мин
|
|
ТПЦ
|
21.05.2012
|
20:00
|
6:40
|
10 ч -40 мин
|
|
КШ
|
22.05.2012
|
6:40
|
8:00
|
1 ч - 20 мин
|
|
А
|
ФЦО
|
21.05.2012
|
14:40
|
21:20
|
6 ч -40
мин
|
|
ТПЦ
|
22.05.2012
|
6:40
|
12:00
|
5 ч -20
мин
|
|
КШ
|
21.05.2012
|
12:00
|
13:20
|
1 ч - 20 мин
|
|
ФСР2
|
21.05.2012
|
13:20
|
16:40
|
3 ч -20 мин
|
|
ШФ
|
21.05.2012
|
16:40
|
20:40
|
4 ч
|
7. Характеристики вспомогательного оборудования
ГАУ строится на основе роботизированного технологического комплекса (РТК)
и гибкого производственного модуля (ГПМ). В состав РТК как правило входит
технологическое оборудование, промышленный робот (ПР) и средства оснащения. На
проектируемом ГАУ предлагается групповая обработка 3-х типов деталей, для чего
были составлены технологические маршруты обработки на каждую деталь. На основе
технологических маршрутов с учетом задач ГАУ подбираются металлорежущие станки
(автоматы или полуавтоматы по степени автоматизации) и др. оборудование.
Тележка
типа ОМ9973 <#"579884.files/image080.gif">
Рисунок 7.1 Тележка транспортная рельсовая ОМ 9973
Технические характеристики:
Грузоподъёмность, кг 250
Скорость перемещения, м/мин: 4-140
Скорость выдвижения стола, м/мин 8
Скорость подъёма стола, м/мин 4
Количество телескопических стволов, шт 1
Высота выдвижной части стола, мм 100
Ширина стола, мм 550
Ход стола, мм:
Подъём 50
Выдвижение 925
Габаритные размеры (дл/шир./выс/), мм: 900/990/1180
Масса, кг 800
. Ориентирующие устройства
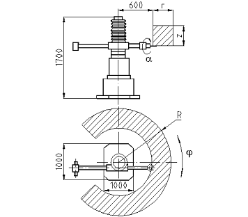
Для ориентации заготовок детали А, типа вал, будем использовать шиберный
механизм ориентации для длинных валиков, представленный на рисунке 7.2.
Рисунок 7.2 - Шиберный механизм ориентации для длинных валиков
Механизм захвата и ориентации имеет бункер 1, разделенный перегородкой 5.
Заготовки загружаются в верхнюю часть бункера, откуда они под действием
собственного веса и в результате движения перегородки 5 относительно оси 6на
угол φ поступают через щель в нижнюю часть
бункера. Перегородка совершает качательные движения навстречу потоку заготовок,
что способствует предварительной ориентации заготовок и исключает образование
сводов заготовок. Перегородка получает движение от двух кулачков 4 и пружины 2,
на которые действуют тяги 16 через ролики 3, а тяги, в свою очередь,
перемещаются от захватного устройства (шибера) 10, который нажимает угольниками
13 на упоры 15. Заготовки, пройдя щель между дном бункера и перегородкой,
захватываются шибером, поднимаются над перегородкой 9 и соскальзывают на
отводящий цепной транспортер 8, натянутый на звездочки, одна из которых
приводная. Заготовки, занявшие неправильное положение на шибере, в момент его
подъема сбрасываются в бункер. Высоту установки цепного транспортера регулируют
при помощи винта 11 и гайки 12. Заготовки на транспортере располагаются в один
ряд, лишние удаляются сбрасывателем 7. Захватный орган (шибер) загрузочного
устройства, смонтирован в раме, подвешенной на рычагах 14, приводится от
электродвигателя с электромагнитной муфтой скольжения, червячный редуктор,
кривошип и кривошипно-коромысловый механизм.
Для заготовок Б и В будем использовать следующий механизм для ориентации
заготовок, рис. 7.3.
Рисунок 7.3 - Механизм ориентации с переменным движением ползунов
Механизм ориентации, показанный на рисунке 6.2 предназначен для
ориентации колец и дисков. Заготовки выдаются из механизма ориентации в
положении «на ребро». Механизм ориентации имеет бункер 1, ползуны 2, с вырезом
по форме подаваемых заготовок и привод ворошителей от пневмоцилиндра 5; шток 6
цилиндра 5 через рычаг 7 поворачивает вал 8, а вместе с ним и зубчатое колесо
4, сцепленное с рейками 3 ползунов 2, на 45˚. Цилиндр переключается
автоматически краном, который управляется водилом, сидящим на валу 8.
Заготовки вручную загружаются в бункер, где и ворошатся ползунами, затем
заняв требуемое положение («на ребро»), поступают в вырез и далее через окно в
выходной лоток, а из него в накопитель [5].
. Магазин-накопитель
В качестве накопителя заготовок используем автоматический магазин с
зигзагообразным лотком-скатом. Преимущества использования магазина состоит в
том, что детали находятся в ориентированном виде, не подвергаются порче внешней
поверхности. Такой вид накопителя достаточно емкий и может обеспечить работу в
автоматическом режиме в течение половины рабочей смены и даже дольше.
Магазин дополнительно снабжают подъемным устройством, для поднятия
заготовок на высоту уровня шпинделя станка и подачи их под захват руки робота.
Общий вид накопителя для заготовок типа вал представлен на рисунке 7.4.
Рисунок 7.4 - Общий вид магазина-накопителя заготовок
Заготовки 1 загружаются в лоток-приемник 2. Далее под действием силы
тяжести заготовки перемещаются самотеком по зигзагообразному лотку 3,
приваренному к корпусу 4. В нижней части лотка 3 установлен рычаг 5, который служит
для поштучной подачи заготовок из накопителя в подъемное устройство 6. В
подъемном устройстве образуется запас заготовок, который остается постоянным,
благодаря работе отсекателя 7.
Подъем заготовок осуществляется с помощью подъемного устройства состоящего
из конической передачи, которая передает вращение на конвейер, муфты со
змеевидной пружиной и шагового двигателя FL110STH.
В верхней части подъемного устройства установлен лоток 8, который служит
для подачи заготовок под схват руки робота.
Рисунок 7.5 - Схема захвата и извлечения заготовки из лотка.
Для накопления уже обработанных деталей используем аналогичный магазин
(см. рисунок 7.5). Этот магазин также оснащен подъемным устройством, которое
служит для поднятия деталей с уровня шпинделя станка на уровень загрузочного
лотка магазина.
Обработанные детали загружаются в лоток 2 и скатываются в нижнюю часть
магазина-накопителя. Рычаг 5 постоянно закрыт.
Заключение
В ходе выполнения курсовой работы была предложена схема ГАУ, т.е.
совокупность в различных сочетаниях оборудования с ЧПУ, РТК, ГПМ, отдельных
единиц ТО и систем обеспечения их функционирования (СОФ) в автоматическом
режиме, обладающая свойством автоматической переналадки при производстве
изделий различной номенклатуры в установленных пределах значений их
характеристик. В соответствии с заданной номенклатурой изделий были разработаны
технологические маршруты механической обработки, произведен выбор необходимого
технологического оборудования и оснастки. Также, в соответствии с
разработанными технологическими маршрутами, была разработана числовая модель
календарного плана-графика выпуска партий деталей.
Список использованной литературы
1. Кузнецов
Ю.И., Маслов А.Р., Байков А.Н. - Оснастка для станков с ЧПУ: Справочник. - 2-е
изд., перераб. и доп. - М.: Машиностроение, 1990. - 512 л.: ил.
2. Гибкие
производственные комплексы. / Под. ред. П.Н. Белянина, В.А. Лещенко.- М.:
Машиностроение, 1984. - 384 с.
. Гибкое
автоматизированное производство./ Под. ред. С.А. Майорова, Г.В. Орловского,
С.Н. Халкионова. - Л., Машиностроение, 1983.
. ГАП.
Робототехника и гибкие автоматизированные производства./ Под. ред. И.М.
Макарова, кн. 1,7.8. В 9-ти книгах. - М.: Высшая школа; 1986.
. Технологические
основы ГПС./ Под. ред. Ю.М. Соломенцева.- М.: Машиностроение, 1991.- 240 с.
. Технологические
основы гибких производственных систем.
В.А.
Медведев, В.П. Вороненко, В.Н. Брюханов, В.Г. Митрофанов, Л.М. Червяков, А.Г.
Схиртладзе. - М.: Высшая школа, 2000. - 256 с.