Расчет и конструирование элементов деревянного каркасного здания

  • Вид работы:
    Курсовая работа (т)
  • Предмет:
    Строительство
  • Язык:
    Русский
    ,
    Формат файла:
    MS Word
    109 Кб
  • Опубликовано:
    2012-11-18
Вы можете узнать стоимость помощи в написании студенческой работы.
Помощь в написании работы, которую точно примут!

Расчет и конструирование элементов деревянного каркасного здания

Содержание

Исходные данные

Часть I. Ограждающие конструкции покрытия. Расчет конструкции покрытия

.1 Расчет двойного дощатого настила

.2 Сбор нагрузок

.3 Определение расчетных усилий и геометрических характеристик сечения

.4 Проверка прочности и жесткости принятой конструкции настила

.5 Проверка прогиба

.6 Расчет прогонов

.7 Определение геометрические характеристики сечения прогона

.8 Проверка прочности и жесткости прогонов

.9 Расчет гвоздевого стыка

Часть II. Несущие конструкции. Арки

.1 Конструирование арок

.2 Определение геометрических размеров

.3 Определение внутренних усилий

.4 Сбор нагрузок

.5 Статический расчет

.6 Подбор сечения арок

.7 Проверка прочности по нормальным напряжениям при сжатии с изгибом

.8 Проверка по касательным напряжениям

.9 Проверка устойчивости плоской формы деформирования

.10 Расчет узлов арки

.10.1 Опорный узел

.10.2 Коньковый узел

Список используемой литературы

Исходные данные

назначение здания - выставочный павильон.

ограждающая конструкция - дощатый настил по деревянным прогонам.

несущая конструкция каркаса - трехшарнирная арка (статически-определимая).

пролет несущей конструкции - L = 18,0 м.

высота несущей конструкции - Н = 7,4 м.

шаг несущих конструкций - В = 3,4 м.

длина здания - В*11 = 37,4 м.

район строительства - г. Ханты-Мансийск.

тепловой режим здания - теплый.

пролет настила - l = 1,3 м.

толщина рабочего слоя настила - t = 25 мм

толщина защитного слоя - t = 22 мм.

плотность древесины - ρ = 600 кг/м3

Часть I. Ограждающие конструкции покрытия. Расчет конструкции покрытия

 

1.1 Расчет двойного дощатого настила

Зададимся конструкцией покрытия:

.2 Сбор нагрузок

Исходя из конструкции кровли проведем сбор нагрузок действующих на рабочий настил.

Данные сведем в табл. 1.

Табл. 1.

Наименование нагрузки:

Норм. Знач.

Коэф.

Расч. знач.



надежн.

qp



кг/м2

γf

кг/м

1

Рулонная кровля на мастике.

3

1,3

3,9

2

Защитный слой настила

13,2

1,1

14,52

3

Рабочий слой

7,5

1,1

8,25

Итого:

23,7

 

26,67

4.1

Снеговая (для г. Ханты-Мансийска)

224

1,4

313,6


Коэффициент надежности по нагрузке принимаем согласно п. 2.2 (СНиП 2.01.07-85*. Нагрузки и воздействия.) табл. 1.

Временную нагрузку в №4.1 ведем по §5(СНиП 2.01.07-85*. Нагрузки и воздействия.)

н=S0 μ,0 = 0,7*Се*Сt*μ*Sg

для Ханты-Мансийска:= 3.2кПа (V снеговой р-он).

Се - коэффициент, учитывающий снос снега ветром = 1.

Сt - термический коэффициент = 1 (п.10.6).

μ = 1 (по схеме №1 при α-200<250 прил. 3 (СНиП 2.01.07-85*)).0=0,7*1*1*1*320 = 224 кг/м2,

Коэффициент надежности №4.1 γf=1.4 (по п. 10.12)

Ветровую нагрузку не учитываем т.к по кровле с α≈200 возникают разгрузочные коэффициенты Се1=-0.1 т.е. разгружают кровлю. Основное сочетание: постоянная +одна временная с коэффициентом сочетаний =1.

1.3 Определение расчетных усилий и геометрических характеристик сечения

Шаг прогонов 1,3 принимаем из рекомендаций: [0.75÷1.5] м

Расчет ведем на нормальную составляющую нагрузки при α=200.

Согласно п. 6.14 (СНиП II-25-80)настил рабочий рассчитывается на следующие сочетания нагрузок:

а) постоянная + временная от снега (расчет на прочность и прогиб).

б) постоянная + временная монтажная (расчет только на прочность).

Для варианта а) (рис 4) расчетное значение нормальной составляющей для полосы 1м условно вырезанной вдоль ската.



Для варианта б) (рис 5)

Расчетное значение нормальной составляющей для полосы 1м условно вырезанной вдоль ската:


Где Рр - вес человека с инструментами = 120 кг.

Так как Ма > Мб - ведем расчет для Ммах =6756,8 кг·см (из варианта а).

1.4 Проверка прочности и жесткости принятой конструкции настила

Для проверки прогиба: величина нормативной нагрузки


Определим геометрические характеристики сечения рабочего настила; толщиной 2,5см.



Проверку прочности (I группа предельных состояний) осуществляем согласно п. 4.9 (СНиП II-25-80.) формула 17.


Условие прочности выполнено.

1.5 Проверка прогиба

Для двухпролетной балочной схемы величина относительного прогиба определяется по формуле.

,где  (п. 3.5(СНиП II-25-80))


Принятая конструкция удовлетворяет требованиям II - ой группы предельных состояний.

1.6 Расчет прогонов

Сбор нагрузок, статический расчет.

Исходя из конструкции покрытия к данным представленным в табл. 1, добавим собственный вес прогонов и домножим на ширину грузовой площади, равной расстоянию между прогонами 1,3 м.

Таблица 2.

Наименование нагрузки

В раб. пл.

γf



м

кг/м

 

кг/м

 1

Рулонная мягкая кровля


 

1,3

3,9

1,3

5,07

2

Защитный слой 0.019

 

 

1,3

17,16

1,1

18,9

3

Рабочий слой 0.025

 

 

1,3

9,75

1,1

10,73

 4

Прогон (2 доски 0.06Х0.225)

 

 

-------

16,2

1,1

17,92

5

Снег (временная)

1,3

291,2

1,4

407,68

Итого

338,21


460,3


Расчетная схема прогона - неразрезной многопролетный дощатый спаренный прогон, длинной, равной В*11 = 37,4 м. Схема работы неразрезного прогона - равнопрогибная.

= 600*0,06*0,225*2=16,2 кг/м.


Максимальный изгибающий момент над второй от края опоре:


Над средними опорами момент:

Так как  то сечение прогона рассчитывается на косой изгиб. Нормальная составляющая к скату:


Скатная составляющая (вдоль ската кровли):


Тогда:

Для средних опор: Расчетное значение нагрузок:


Нормативное значение нагрузок:


Моменты над средними опорами (расчетные):


1.7 Определение геометрические характеристики сечения прогона

Для средних пролетов:


 

1.8 Проверка прочности и жесткости прогонов

Расчет на прочность элементов цельного сечения при косом изгибе проводим согласно п. 4.12 [СНиП II-25-80] формула 20.

 

 

.1≤130 =› прочность обеспечена.

Проверку прогиба (II группа предельных состояний) при косом изгибе выполняем по формуле (для равнопрогибной схемы работы прогона):

,

где

где:

Для средних прогонов:

 тогда

Предельный относительный прогиб определяем по табл. 19 п. 10. 7. [1]

 - жесткость обеспечена.

1.9 Расчет гвоздевого стыка

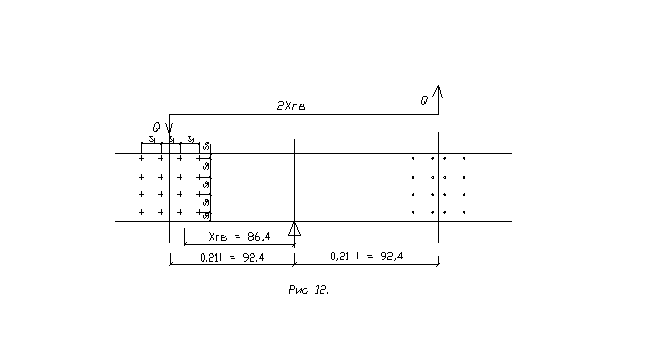
Эпюра моментов имеет нулевые значения на расстоянии 0.21(для равнопрогибной схемы рабочего прогона) от опоры В этих сечениях располагается гвоздевой стык для соединения досок.

,

где [ СНиП II-3-79*]

Принимаем диаметр гвоздя 0,4 см., тогда  

Определим несущую способность одного гвоздя на один шов сплачивания: гвозди работают несимметрично при одном шве между досками:

По изгибу гвоздя (табл. 17) [СНиП II-3-79*]

,

где а=6см, d=0,4см, но не более

Смятие древесины несимметричного соединения элементов равной толщины

Тр = Тmin = 64кг.

Требуемое число гвоздей :

,

 / примем 8 шт./

Для средних прогонов: гвозди забиваются по всей поверхности доски с шагом 50см в шахматном порядке (конструктивное требование).

Часть II. Несущие конструкции. Арки

.1 Конструирование арок

 

Конструктивное решение: трехшарнирная клеедеревянная арка кругового очертания постоянного прямоугольного сечения без затяжки. Пролет - 18м. Высота - 7.4м. Материал - древесина 2 сорта. Шаг арок - 3,4м. Район строительства - Ханты-Мансийск.

2.2 Определение геометрических размеров

 

Начало прямоугольных координат принимается в центре левого опорного узла арки.

Длина дуги арки:

S= = = 24.8

Определяем радиус арки:

= (l2+4f2)/(8f)=(182+4*7,42)/(8*7,4)=9,17 м.

Центральный угол дуги полуарки:

j=l/(2r)=18/(2*9.17)=0.9,

этому соответствует j=660; cosj=0.41;

Рис. К расчету круговой арки

2.3 Определение внутренних усилий

Вычисления усилий приводятся только в основных расчетных сечениях. Полупролет арки делится на 8 частей, образующих девять сечений от x=0 до x=9 м. Согласно прил.3 п.2 [СНиП II-3-79*] определяем координаты (х, у) дополнительного сечения арки,, соответствующее φ=50. Координаты сечений, углы наклона касательных к оси полуарки в этих сечениях определяются по формулам:

у == l/2 - r * sinj

где: Д = r-f

j=arcsin((l/2-x)/r).

Д = 9,17-7,4 = 1,77

Таблица 3. Геометрические величины оси левой полуарки

Координаты

0

 0’

1

2

3

4

Х, м

0

2.03

2,76

4.87

6,98

9

У, м

0

4.18

4.95

6.41

7,17

7,39

φ66504327130







XI, м

0

0

0.73

2.84

4.95

6.97


2.4 Сбор нагрузок

Таблица 4. Табличный сбор нагрузок без учета криволинейности элемента

Наименование нагрузок

Нормативная, кг/м2

Коэффициент надежности по нагрузке gf

Расчетная, кг/м2

Рулонная кровля

3

1,3

3,9

Покрытие (рабочий дощатый настил t=35мм.)

7,5

1,1

8,25

Защитный слой настила t=25мм.

13,2

1,1

14,52

Утеплитель δ=100мм, 2 слоя пароизоляции

20

1,3

26

Собственный вес арки

20,9

1,1

22,99

Итого

q=64,6q=75,66



Снег по [2] п. 5.2, табл. 4

224

1,4

313.6

Всего

qn = 288.6


qр = 389.26


Собственный вес арки:

==20.9 кг/м2,

где qн - нормативная нагрузка от покрытия, защитного слоя настила, кровли и утеплителя;

рн - нормативная снеговая нагрузка;

ксв - коэффициент собственного веса (для арок принимается равным 4)

Суммируем все нагрузки, действующие на арку:

=(3,9+8,25+14,52+26)*S/l=52,67*24,8/18=72.56 кг/м2

Расчетная нагрузка на 1 п.м. арки:

Постоянная

=(72,56+20,9)*B=93.46*3.4=317.7 кг/м.

Временная

р=с*р*m2=0,3*313.6*2,25=211.6 кг/м2,

= 211,6*3.4 = 719,7 кг/м2 - линейно-распределенная нагрузка

где с=l/(8f)= 18/(8*7,4)=0,3 - коэффициент снегозадержания для криволинейных покрытий.

.5 Статический расчет

Сочетания нагрузок:

а) от равномерно распределенной нагрузки по всему пролету (постоянной):

Определяем опорные реакции:

А=VВ=ql/2=317,7*18/2=2859,3 кг.

горизонтальная реакция:

Н=ql2/8f=317,7*182/8*7,4=1738.76кг.

б) от распределенной по треугольнику нагрузке на полупролете слева/справа р=719,7 кг/м2.А = 5рl’/24 = 5*719,7*13,94/24 = 2090,1 кг.В = рl’/24 = 719,7*13,94/24 = 418,02 кг.

Н= l’2*p/(48f) = 13,942*719,7/(48*7,4) = 393,73 кг.,

где l’=l-2х=18-2*2,03=13,94 м.

1) М (кг*м)

Уравнение равновесия (для постоянной нагрузки):

Мх=VА*x-qx2/2-Hy;

: М0 = 2859,3*0 - 317,7*02/2 - 1738.76*0 = 0

: М1 = 2859.3*2.76 - 317.7*2.762/2 - 1738.76*4.95 = - 1925.31

: М2 = 2859.3*4.87 - 317.7*4.872/2 - 1738.76*6.41 = -988.15

: М3 = 2859.3* 6.98 - 317.7*6.982/2 - 1738.76*7.17 = -248.2

: М4 = 2859.3*9 - 317.7*92/2 - 1738.76*7.39 = 0

Уравнение равновесия (для снеговой нагрузки слева):

Мх= VА*x’ - px’2/2 + px’ 3/(3l’) - Hy;

: М0 = 2090,1*0 - 719,7*02/2 + 719,7*03/ (3*13,94) - 393,73*0 = 0

’:М0, = 2090,1 *0 - 719,7*02/2 + 719,7*03/ (3*13,94) - 393,73*4,18 = -1645,79

: М1 = 2090,1* 0,73 - 719,7*0,732/2 + 719,7*0,733/ (3*13,94) - 393,73*4,95 = -608,26

: М2 = 2090,1* 2,84 - 719,7*2,842/2 + 719,7*2,843/ (3*13,94) - 393,73*6,41 = 903,88

: М3 = 2090,1* 4,95 - 719,7*4,952/2 + 719,7*4,953/(3*13,94) - 393,73*7,17 = 793,04

: М4 = 2090,1*6,97 - 719,7*6,972/2 + 719,7*6,973/(3*13,94) - 393,73*7,39 = 0

Уравнение равновесия (для снеговой нагрузки справа):

Мх= Vв*x’ -Hy;

: М0 = 418,02*0 - 393,73*0 = 0

’:М0, = 418,02*0 - 393,73*4,18 = -1645,79

: М1 = 418,02* 0,73 - 393,73*4,95 = -1643,81

: М2 = 418,02*2,84 - 393,73*6,41 = -1336,63

: М3 = 418,02*4,95 - 393,73*7,17 = - 753,84

: М4 = 418,02*6,97 - 393,73*7,39 = 0

2) Q (кгс)

Определяем поперечные силы:

Qx=(VA-qx) cosj - H*sinj;

0: Q0 = (2859,3 - 317,7*0)*0,4 - 1738,76*0,91 = - 438,55

’: Q0’ = (2859,3 - 317,7*2,03)*0,64 - 1738,76*0,76 = 95,73

1: Q1 = (2859,3 - 317,7*2,76)*0,73 - 1738,76*0,68 = 264,83

: Q2 = (2859,3 - 317,7*4,87)*0,89 - 1738,76*0,45 = 385,32

: Q3 = (2859,3 - 317,7*6,98)*0,97 - 1738,76*0,22 = 239,97

: Q4 = (2859,3 - 317,7*9)*1 - 1738,76*0 = 0

Снеговая нагрузка слева:

x=(VA-px’+px ’2/l’)cosj-Hsinj;

: Q0 = (2090,1 - 719,7*0 + (719,7*02) / 13,94)*0,4 - 393,73*0,91= 477,8

’: Q0’ = (2090,1 - 719,7*0 + (719,7*02) / 13,94)*0,64 - 393,73*0,76 = 1038,52

1: Q1 = (2090,1 - 719,7*0,73 + (719,7*0,732) / 13,94)*0,73 - 393,73*0,68 = 874,61

2: Q2 = (2090,1 - 719,7*2,84 + (719,7*2,842) / 13,94)*0,89 - 393,73*0,45 = -135,97

: Q3 = (2090,1 - 719,7*4,95 + (719,7*4,952) / 13,94)*0,97 - 393,73*0,22 = -114,53

: Q4 = (2090,1 - 719,7*6,97 + (719,7*6,972) / 13,94)*1 - 393,73*0 = -418,05

Снеговая нагрузка справа:

x=-VБcosj+Hsinj

0: Q0 = - 418,02*0,4 + 393,73*0,91 = 191,09

’: Q0’ = - 418,02*0,64 + 393,73*0,76 = 31,7

: Q1 = - 418,02*0,73 + 393,73*0,68 = - 37,4

: Q2 = - 418,02*0,89 + 393,73*0,45 = -194,85

: Q3 = - 418,02*0,97 + 393,73*0,22 = -318,85

: Q4 = - 418,02*1 + 393,73*0 = -418,02

) N (кгс)

Постоянная нагрузка:

Nx=(VA-qx)sinj+Hcosj;

0: N0 = (2859,3- 317,7*0)*0,91+1738,76*0,4 = 3297,46

’: N0, = (2859,3- 317,7*2,03)*0,76+1738,76*0,64 = 2795,72

: N1 = (2859,3- 317,7*2,76)*0,68+1738,76*0,73 =2617,35

: N2 = (2859,3- 317,7*4,87)*0,45+1738,76*0,89 = 2137,94

: N3 = (2859,3- 317,7*6,98)*0,22+1738,76*0,97 = 1827,78

: N4 = (2859,3- 317,7*9)*0+1738,76*1 = 1738,76

Снеговая нагрузка слева:

Nx=(VA-px’+px2/l’)sinj+Hcosj;

: N0 = (2090,1-719,7*0+719,7*02/13,94)*0,91+393,73*0,4 = 2050,44

’: N0, = (2090,1-719,7*0+719,7*02/13,94)*0,76+393,73*0,64 = 2066,74

: N1 = (2090,1-719,7*0,73+719,7*0,73 2/13,94)*0,68+393,73*0,73 =1370,13

: N2 =(2090,1-719,7*2,84+719,7*2,84 2/13,94)*0,45+393,73*0,89 = 583,95

: N3 =(2090,1-719,7*4,95+719,7*4,95 2/13,94)*0,22+393,73*0,97 = 336,28

: N4 =(2090,1-719,7*6,97+719,7*6,97 2/13,94)*0+393,73*1 = 393,73

Снеговая нагрузка справа:

x=-VБsinj-Hcosj;

: N0 = -418,02*0,91-393,73*0,4 = -537,89

’: N0, = -418,02*0,76-393,73*0,64 = -569,68

: N1 = -418,02*0,68-393,73*0,73 = -571,67

: N2 = -418,02*0,45-393,73*0,89 = -538,52

: N3 = -418,02*0,22-393,73*0,97 = -473,88

: N4 = -418,02*0-393,73*1 = -393,73

Сечение

Усилия


от постоянной нагрузки

От снеговой по треугольно распределенной форме. треугольной распределенной

Расчетные



на левом полупролете

на правом полупролете

на всем пролете


1

2

3

4

5

6

М (кг м)

0

0

0

0

0

0

0’

-2118.31

-1645.79

-1645.79

-3291.58

-5409.89

1

-1925.31

-608.26

-1643.81

-2252.07

-4177.38

2

-988.15

903.88

-1336.63

-432.75

-1420.9

3

-248.2

793.04

-753.84

39.2

-209

4

0

0

0

0

0

5

-284.2

-753.84

793.04

39.2

-209

6

-988.15

-1336.63

903.88

-432.75

-1420.9

7

-1925.31

-1643.81

-608.26

-2252.07

-4177.38

8’

-2118.31

-1645.79

-1645.79

-3291.58

-5409.89

8

0

0

0

0

0

Q (кг)

0

-438,55

477,8

191,09

668,89

-247,46

0’

95,73

1038,52

31,7

1070,22

127,43

1

264,83

847,61

-37,4

810,21

1112,44

2

385,32

-135,97

-194,85

- 330,82

249,35

3

239,97

-114,53

- 318,85

-1833,57

-125.92

4

0

-418,05

-418,05

-418,05

+418,05

5

239,97

-318,85

-114,53

-1833,57

-125,92

6

385,32

-194,85

-135,97

-330,82

249,35

7

264,83

-37,4

847,61

810,21

1112,44

8’

95,73

31,7

1038,52

1070,22

127,43

8

-438,55

191,09

477,8

668,89

-247,46

N (кг)

0

3297,46

2050,44

-537,89

1512,55

5347,9

0’

2795,72

2066,74

-569,68

1497,06

4862,46

1

2617,35

1370,13

-571,67

798,46

3987,48

2

2137,94

583,95

-538,52

45,43

2721,89

3

1827,78

336,28

-473,88

-137,6

2164,06

4

1738,76

393,73

-393,73

393,73

2132,49

5

1827,78

-473,88

336,28

-137,6

2164,06

6

2137,94

-538,52

583,95

45,43

2721,89

7

2617,35

-571,67

1370,13

798,46

3987,48

8’

2795,72

-569,68

2066,74

1497,06

4862,46

8

3297,46

-537,89

2050,44

1512,55

5347,9


2.6 Подбор сечения арок

Оптимальная высота поперечного сечения арки находится:

опт=(1/30-1/40)*l=(0.5-0.375) м.

Поперечное сечение принимаем прямоугольным, постоянной высоты и ширины.

=  hтр =

Ширину сечения арки принимаем b=0.1м. по сортаменту пиломатериалов, рекомендуемых для клееных конструкций. [5] прил. 1

Мmax=-5409.89кг м

Расчетное сопротивление древесины при сжатии [СНиП II-25-80], Rc=130 кг/см2. :тр = = 55,7 см.

Толщину досок принимаем, а=2.5 см, а после острожки с двух сторон, а=2.1 см.

,7 / 2,1 = 26,5

Компонуем из 27 досок сечением 10х2.1 см, тогда высота сечения h=27*2.1=56.7=57 см.

Принятое сечение b x h=10x57 см.

2.7 Проверка прочности по нормальным напряжениям при сжатии с изгибом

 

Проверку следует производить по формуле:

=,

Коэффициенты условий работы:

mб=1 (зависит от высоты сечения балки)

mсл=1.05 (зависит от толщины слоя) [СНиП II-25-80], табл. 7, 8

расч = b x h =10x56,7 =567 cм2расч = bh2/6 =10x56,72/6 =5358.1 см3

Максимальные усилия:

Мmax= -5409.89 кг м., изгибающий момент.соотв.= 4862,46 кг., продольная сила.

МД= x=1-N/jRcFбр; j=

(при гибкости элемента 70.)

Где: N-продольное усилие

 гибкость

 площадь брутто

 

j=

для сосны II сорта А=3000

x=

=


 - коэффициент прочности по назначению

Вывод: прочность сечения обеспечена.

2.8 Проверка по касательным напряжениям

дощатый настил арка коньковый узел

Проверку производим по формуле:

Максимальное напряжение скалывания:

t=

Где:mах=1112,44кг.ск=15 кг/см2 (табл.3 [СНиП 2.01.07-85*])

Статический момент и момент инерции сечения арки:

= bh2/8 =10*56.72/8=4018.6 cм3;= bh3/12 =10*56.73/12=151 903.5 см4.

t=

Вывод: прочность по касательным напряжениям обеспечена.

2.9 Проверка устойчивости плоской формы деформирования

 

Проверяем сечение на устойчивость из плоскости при:

Мmax= -5409.89 кг м., N соотв.= 4862,46 кг.

Проверку следует производить по формуле:

G= 1,

где jМ - коэффициент, определяемый по формуле:

jм=140,

где - расстояние между опорными сечениями элемента;

kф =1.13 - коэффициент, зависящий от формы эпюры изгибающих моментов на участке lp, определяемый [СНиП II-25-80] по табл.2 прил.4.

jм = 140* = 0.22.

Гибкость полуарки из ее плоскости lу и коэффициент продольного изгиба j:

lу = lp/i=1240/(0.289*10) = 429.06

j = A/lу2=3000/429,062 = 0.016

kpM = 0.142 * lp/h+1.76 * h/lp+1.4ap = 0.142 * 1240/56,7+1.76 * 56,7/1240+ 1.4 *1.152 = 4,79pN = 0.75+0.06(lp/h)2+0.6aplp/h = 0.75+0.06*(1240/56,7)2+0.6*1.152* 1240/56,7 = 44,32

Проверка:

,

Вывод: следовательно, устойчивость плоской формы деформирования обеспечена.

2.10 Расчет узлов арки

 

2.10.1 Опорный узел

Опорный узел решается с помощью стального башмака из опорного листа и двусторонних фасонок с отверстиями для болтов. Он крепится к поверхности опоры нормальной к оси полуарки. Расчет узла производится на действие максимальных продольной N=4862,46 кг и поперечной Q=1112,44кг кг/м сил.

Проверка торца полуарки на смятие продольной силой.

Опирание в узлах выполняется неполным сечением высотой

б ≥ 0.4h= 0.4*56,7 = 22,68 см.

Принимаем hб =23 см.

Площадь смятия

см= bhб =10*23=230 см2.

Угол смятия a=00.

Расчетное сопротивление смятию вдоль волокон древесины Rc=130 кг/см2.

Напряжение

s==

Определение числа болтов крепления конца полуарки к фасонкам.

Принимаются болты d=2 см. Они воспринимают поперечную силу и работают симметрично при ширине сечения b=c=10см, при двух швах nш =2 и угле смятия a=900. Коэффициент Кa =0.55.

Несущая способность болта в одном шве:

по изгибу болта:

Ти=250d2=250*22*=741 кг

по смятию древесины:

Тс=50сdKa=50*10*2*0.55=550 кг = Т

Требуемое число болтов:

=.

Принимаем 2 болта d=20 мм.

Определение толщины опорного листа:

Лист работает на изгиб от давления торца полуарки и реактивного давления фундамента. Длина торца l1=b=10см. Длина листа l2=23см. Расчетная ширина сечения b=1см.

Давление торца

1= N/Fсм=4862,46/230 = 21.14 кг/см.

Давление фундамента

2=q1l1/l2=21.14*10/23=9,19 кг/см.

Изгибающий момент

М=(q2l22-q1l12)/8=(9,19*232-21.14*102)/8=343,43 кг см.

Расчетное сопротивление стали=2450 кг/см2.

Требуемый момент сопротивления

тр = М/ R=343,43/2450=0.14 cм3.

Требуемая толщина листа

dтр ==

Принимаем толщину листа d=12 мм.

2.10.2 Коньковый узел

Узел выполнен лобовым упором полуарок одну в другую с перекрытием стыка двумя деревянными накладками сечением 14х5 см.

Накладки в коньковом узле рассчитывают на поперечную силу при не симметричном загружении арки Q=418.05 кг. Накладки работают на поперечный изгиб.

Изгибающий момент накладки.

Ми = Qe1/2=418,05*18/2 =3762,45 кг см.,

где е1=S1=18 см. - расстояние между стальными нагелями d=12 мм.1≥7d=7*1.2=8.4 см, поскольку стык работает на растяжение, нагели располагаем в два ряда,

е1 = 2*S1 =18 см.2≥3,5d=3,5*1.2=4,2 см принимаем 6 см.3≥3d=3*1.2=3,6 см принимаем 4 см.

Проверка торца полуарки на смятие продольной силой.

Проверяем по максимальному усилию, действующему в коньке, при неблагоприятном нагружении N=4862,46 кг.

Проверка:

s=N/Fсм≤ Rсм 0см 0=130 кг/см2см =b(h-8)=10(56.7-8)=487 см2

s=4862.46/487=9.98 кг/см2 ≤130 кг/см2 - условие выполнено.

Вывод: для данных нагрузок прочность обеспечена.

В коньковом узле количество нагелей по конструктивным требованиям должно быть не менее 3. В нашем случае принимаем 3 стальных нагеля и проверяем их несущую способность.

Усилия, действующие на нагеля:

1=Q/(1-e1/e2)=418,05/(1-18/54)=627,13 кг2=Q/(e2/e1-1)=418,05/(54/18-1)=209,02 кг

Несущая способность нагеля из условия изгиба нагеля на один условный срез:

1=180d2+2a22=50сd

T3=80аd

Где: d - диаметр нагеля = 1,2

а - толщина крайнего элемента.

с - толщина среднего элемента.

Зададимся толщиной накладки : 5 см.1=180*1,22+2*52 = 309,2кгс2=50*10*1,2 = 600 кгс

T3=80*5*1,2 = 480 кгс

Суммарная несущая способность нагельного соединения:

T= nTmin

Угол a следует принимать равным большему из углов смятия нагелем элементов, прилегающих к рассматриваемому шву, в нашем случае a=900, и ka=0,7.

Т=2*309,2* = 517,4

Усилие, воспринимаемое двумя нагелями в ближайшем к коньковому узлу ряду:

1=2T =2*517,4=1034.8 > R1 =627,13 кг

Несущая способность обеспечена.

Список используемой литературы

1. СНиП II-25-80 «Нормы проектирования. Деревянные конструкции», М.: Стройиздат.1982 - 65с.

. СНиП 2.01.07-85* «Нормы проектирования. Нагрузки и воздействия», М.: Стойиздат.1985 - 60с.

. СНиП II-23-81* «Нормы проектирования. Стальные конструкции», М.: Стройиздат.1982 - 93с.

. Пособие по проектированию деревянных конструкций (к СНиП II-25-80)/ ЦНИИСК им. В.А.Кучеренко, М.: Стройиздат.1986 - 216с.

. Гринь И.М. «Строительные конструкции из дерева и синтетических материалов», Киев.: «Вища школа».1990 - 221с.

. Зубарев Г.Н. «Конструкции из дерева и пластмасс». М.: Высшая школа. 1990 - 288с.

. Иванов В.А. «Конструкции из дерева и пластмасс. Примеры расчета и конструирования». Киев.: «Вища школа».1981 - 391с.

. Карлсен Г.Г. «Конструкции из дерева и пластмасс». М.: Стройиздат. 1986 - 543с.

. Шишкин В.Е. «Примеры расчета конструкции из дерева и пластмасс». М.: Стройиздат. 1974 - 224с.

Похожие работы на - Расчет и конструирование элементов деревянного каркасного здания

 

Не нашли материал для своей работы?
Поможем написать уникальную работу
Без плагиата!
Без нейросетей!