Отчет по изобретению 'Устройство для измерения вязкости и модуля упругости веществ'
Оглавление
1. Задание
2. Принцип работы устройства
3. Анализ устройства по законам развития технических систем
3.1 Закон полноты частей системы
3.2 Закон энергетической и информационной проводимости системы
3.3 Закон согласования/рассогласования ТС
3.4 Закон увеличения степени идеальности ТС
3.5 Закон неравномерности развития ТС
4. Морфологический анализ
5. Анализ "Размеры-время-стоимость"
6. Формула изобретения
7. Составить статическую модель технического противоречия при
помощи катастрофы типа сборка
8. Построение динамической модели технического противоречия
Выводы
Список литературы
1.
Задание
1. Внимательно ознакомиться с описаниями изобретений и
уяснить принцип действия заявленного устройства или устройства, реализующего
заявленный способ.
. Изложить принцип действия устройства в пояснительной
записке с приведением всех необходимых рисунков и графиков.
. Проанализировать устройства с точки зрения проявления в них
основных законов развития технических систем (ТС), а именно:
закона полноты частей системы;
закона энергетической и информационной проводимости ТС;
закона согласования-рассогласования ТС;
закона увеличения степени идеальности ТС;
закона неравномерности развития ТС;
закона повышения динамичности и управляемости ТС;
развертывания и свертывания ТС;
закона перехода ТС на микроуровень и использования полей;
комбинация законов развитая технических систем.
. Построить вепольную структуру всех рассматриваемых задач.
Произвести синтез или разрушение веполей.
. Провести морфологический анализ одной из задач. Получить и
проанализировать наиболее интересные 2-3 решения.
. Проанализировать одну из задач при помощи оператора
"размеры-время-стоимость".
. На основании решения, полученного в п.5, составить учебную
формулу изобретения.
. Составить статическую модель технического противоречия при
помощи катастрофы типа сборка.
. Получить динамическую модель.
. Склеить 2 катастрофы типа сборка.
. Интерпретировать третью координату -
Х-элемент-руководителя.
2. Принцип
работы устройства
В описании к авторскому свидетельству № IIIII24, МКИ G01 N 11/10 (по заявке №
4347003/24-25 от 21.12.87 г., авторы В.Г. Гимпельсон, И.Л. Малявкин)
представлено "Устройство для измерения вязкости и модуля упругости
веществ".
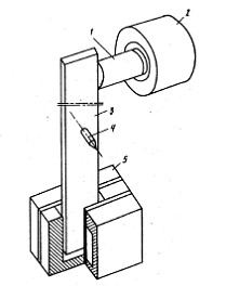
На рисунках 2.1, 2.2, 2.3 представлена схема установки.
Рисунок 2.1 Зонд с катушкой и магнитом.
Рисунок 2.2 Измерительное устройство.
изобретение устройство сборка схема
Рисунок 2.3 Измеритель составляющих комплексной амплитуды
напряжения.
Устройство для измерения вязкости и модуля упругости веществ
(рис.2.1) состоит из катушки 1, помещенной в зазор постоянного магнита 2 и
жестко связанной с одним концом зонда 3, закрепленного на оси 4. Второй конец
зонда3 погружен в вещество, помещенное в кювету 5.
Генератор 6 (рис.2.2) через резистор 7 соединен с
операционным усилителем 8, к выходу которого подключен четырехплечий мост,
составленный из катушки 1, включенной последовательно с резистором 9 большого
сопротивления. Два других плеча моста образованы регулируемыми резисторами 10 и
11 и конденсатором 12, включенным параллельно резистору 11. Узел 13
измерительной диагонали моста соединен со входом усилителя 8 через резистор 14,
а узел 15 соединен со входом усилителя через фазоинвертор 16 и резистор 17.
Выход усилителя 8 соединен с потенциальным узлом 18 диагонали питания
четырехплечего моста и входом 19 измерителя 20 составляющих комплексной амплитуды
напряжения, второй вход 21 которого соединен с генератором 6, выходы 22 и 23
соединены с регистраторами измеряемых величин.
Измеритель 20 составляющих комплексной амплитуды напряжения
(рис.2.3) состоит из электронных ключей 24 и 25, информационные входы которых
соединены с входом 19, управляющий электрод электронного ключа 24 соединен с
входом 21 через компаратор 27 и дифференцирующий усилитель 28, а выходы ключей
соединены с выходами 22 и 23 измерителя 20 через фильтры нижних частот 29 и 30,
снабженные потенциометрами 31 и 32, подключенными к источнику постоянного тока.
Устройство для измерения вязкости и модуля упругости веществ
работает следующим образом.
Перед началом измерений при жесткой фиксации зонда и
пониженном напряжении генератора изменением сопротивлений резисторов 10 и 11
добиваются максимума амплитуды сигнала на выходе усилителя 8. Наблюдать
амплитуду сигнала проще всего с помощью осциллографа. Если амплитуда сигнала
выходит за пределы линейности усилителя 8, то уменьшают амплитуду напряжения
генератора.
Освобождают зонд, устанавливают рабочее напряжение
генератора, потенциометрами 31 и 32 устанавливают нулевые напряжения на выходах
22 и 23.
В кювету 5 помещают исследуемое вещество. На выходе усилителя
8 устанавливается амплитуда напряжения, пропорциональная механическому
импедансу вещества, на выходе 22 его активная составляющая, пропорциональная
вязкости, а на выходе 23 реактивная составляющая, пропорциональная модулю
упругости. Таким образом, стабильность амплитуды напряжения генератора и
линейная зависимость выходных напряжений устройства от измеряемых параметров
обеспечивают повышение точности во всем диапазоне измерений.
Если в кювету помещено вещество, то амплитуда и скорость
колебаний зонда 3, а вместе с ним и катушки 1 уменьшается по сравнению с пустой
кюветой. Так как амплитуда колебаний уменьшается, то уменьшается и изменение
магнитного поля, воздействующего на катушку со стороны постоянного магнита 2,
следовательно, увеличивается ЭДС самоиндукции катушки, и соответственно, импеданс
катушки. Соответственно растет напряжение на входе усилителя 8 и увеличивается
амплитуда напряжения на выходе усилителя.
3. Анализ
устройства по законам развития технических систем
3.1 Закон
полноты частей системы
Согласно закону полноты частей для жизнеспособности ТС
необходимо наличие и работоспособность основных частей системы: двигатель
(Дв.), трансмиссия (Тр.), рабочий орган (РО), орган или система управления
(СУ).
Структурную схему полной ТС можно представить в виде:
Поскольку рассматриваемая система предназначена для индикации
путем преобразования механического сопротивления жидкости в некоторое выходное
напряжение, то рабочим органом является катушка индуктивности 1, которая
изменяет свой импеданс под действием магнита и усилием противодействия
движению, передаваемым зондом 3 от жидкости.
Источник энергии - генератор 6.
Двигателем в рассматриваемой системе является усилитель 8.
Трансмиссией в системе являются электрические проводники, зонд 3,
магнит 2.
К системе управления относятся потенциометры 10 и 11 в
измерительном мосте, потенциометры в измерителе 20, а также вещество, параметры
которого измеряются данной установкой. Следует отметить, что манипуляции с
системой управления должен производить оператор (человек).
Выходом являются электрические сигналы, пропорциональные модулю
упругости и вязкости вещества.
Структурную схему рассматриваемого устройства как технической
системы можно представить в виде:
Рисунок 3.1.
С точки зрения закона полноты системы, рассматриваемое устройство
является полной технической системой. Дальнейшее вытеснение человека из
рассматриваемой ТС возможно по линии автоматизации калибровки установки и
введения жидкости из кюветы.
НТР1: Создать обратную связь по выходному напряжению измерителя
20, при которой будет производиться установка максимального выходного
напряжения измерителя (зонд заблокирован), установка нуля выхода (зонд свободно
перемещается), последующая подача жидкости в кювет 5.
3.2 Закон
энергетической и информационной проводимости системы
Согласно закону энергетической и информационной проводимости
для жизнеспособности ТС необходимо обеспечить сквозной проход энергии и
информации по всем частям ТС. Можно рассматривать только энергетические потоки
т.к. перенос информации без переноса энергии (пусть и малой) невозможен.
Рисунок 3.2 Общая схема проводимости энергии и информации.
Рассмотрим систему с точки зрения энергетической
проводимости. Генератор создает электрический сигнал, который поступает на
усилитель, где он сравнивается с сигналом, снятым с потенциометров и с катушки.
Затем сигнал проходит на измеритель, катушку и потенциометр. В катушке
электрическим током формируется магнитное поле, которое взаимодействует с полем
постоянного магнита. Это взаимодействие вызывает линейное перемещение катушки,
а вместе с ней поворот прикрепленного зонда. Движению зонда препятствует
упругое сопротивление жидкости. Усилие сопротивления передается через зонд на
катушку, та замедляет свое перемещение, замедляется изменение внешнего поля
постоянного магнита, уменьшается компенсация полем индуцируемого током поля, и,
соответственно, падает проводимость катушки, а электрическая энергия, прошедшая
через резистор 9, идет на вход усилителя. С выхода усилителя электрическая
энергия передается также на измеритель, где она разделяется на составляющие,
сравнивается с напряжением питания через потенциометры 31,32 и фильтруется,
образуя выход установки.
С точки зрения закона энергетической и информационной
проводимости система является жизнеспособной, сквозной проход энергии обеспечен
через все элементы ТС.
НТР2: Ввести в систему управляющий контроллер, который будет
производить настройку установки в автоматическом режиме. Для этого он должен
иметь возможность измерять выходное напряжение установки, регулировать выходное
напряжение генератора (генератор с аналоговым или цифровым входом управления),
регулировать значения потенциометров (использовать цифровые потенциометры), блокировать
перемещение зонда (например, с помощью электромагнита), подавать и убирать
жидкость (насос). В этом случае возможно проведение всего исследования без
участия человека по нажатию одной кнопки. Также возможно проведение серии
экспериментов, если сделать систему подачи новых образцов жидкости.
Рисунок 3.3 Предлагаемые модификации системы.
3.3 Закон
согласования/рассогласования ТС
Согласно закону согласования/рассогласования ТС, составляющие
ТС части должны быть согласованны или рассогласованы.
В данном устройстве частота изменения электрического сигнала
на выходе генератора, а следовательно, и на выходе всего устройства,
согласована с оптимальной частотой перемещения зонда в жидкости. В случае, если
частота задания будет выше, то повысится чувствительность системы при работе с
менее вязкими жидкостями (повысится точность измерений их параметров). В
противном случае (уменьшение частоты задания), повысится точность при работе с
более вязкими жидкостями.
НТР3: ввести возможность регулировки частоты задания
генератора по результатам первичного тестирования образца. Для этого, возможно,
потребуется введение регулировки полосы пропускания фильтров нижних частот.
Таким образом будет получено повышение точности измерений путем согласования
частоты задания и сопротивления жидкости.
3.4 Закон
увеличения степени идеальности ТС
Согласно закону увеличения степени идеальности ТС, в процессе
развития ТС степень ее идеальности увеличивается либо за счет увеличения
выполняемых системой функций (полезных), либо за счет уменьшения факторов
расплаты (либо соответствующего изменения того и другого одновременно).
В рассматриваемом устройстве степень идеальности увеличилась
за счет появления новой функции - выход устройства для измерения вязкости и
модуля упругости теперь представляет собой не переменное напряжение с
определенной амплитудой и фазой, а два постоянных напряжения, пропорционально
соответствующие вязкости и модулю упругости тестируемого вещества. Также
повышена точность измерений за счет использования четырехплечего моста.
НТР 4: Для приближения системы к идеальной возможно как
уменьшение факторов расплаты (использование одного построечного резистора
вместо двух, второй заменяется на точный резистор), так и увеличение исполняемых
функций (автоматизация процесса).
3.5 Закон
неравномерности развития ТС
Для получения новых технических решений перечислим основные
количественные признаки имеющегося устройства:
время измерения;
изменение температуры;
габариты устройства;
количество составных частей;
погрешность измерения.
Попытаемся сократить количество составных частей.
Исходное устройство в своем составе имеет достаточно много
элементов (резисторы, конденсаторы, усилители), параметры которых в реальных
условиях гарантированы с некоторой погрешностью (10%,5%,1%). Для того, чтобы
компенсировать отклонение параметров от идеальных, вводятся подстроечные
элементы (потенциометры), которые необходимо выставлять каждый раз при
измерениях. Однако, это позволяет получить на выходе легко измеряемый сигнал,
пропорциональный оцениваемым величинам.
В ином случае, если сократить число элементов (как,
предположительно, было до данного изобретения), на выходе будет наблюдаться
сигнал с частотой задающего генератора, но отличающийся по фазе и амплитуде.
Для измерения параметров сигнала и приведения к исследуемым величинам требуется
вольтметр переменного тока и фазометр. Однако число элементов сокращается при
этом до минимума (усилитель, катушка, два резистора), что позволяет сократить
всю настройку до учета температуры среды и уменьшает конечный разброс
параметров. Возникает противоречие. Решим задачу по АРИЗ.
. Анализ задачи
.1 Мини-задача
Есть генератор сигналов, усилитель со схемой сложения,
четырехплечий мост с катушкой и двумя потенциометрами, измеритель сигналов с
двумя фильтрами нижних частот и схемой сложения, а также еще двумя
потенциометрами.
Техническое противоречие: когда элементов много, то точность
ниже (требуется подстройка), но выходной сигнал снимать проще. Когда элементов
мало, то точность выше (подстройка не требуется), но выходной сигнал имеет
сложную форму.
1.2 Конфликтующая пара
Инструмент - схема преобразования сигнала. Рабочее тело -
выходной сигнал.
1.3 Граф-схемы технических противоречий
1.4 Выбор главного производственного
процесса.
Выберем в качестве такового ТП-2, так как при нем уменьшается
количество факторов расплаты.
1.5 Усиление конфликта.
Из-за высших гармонических составляющих, которые ранее отфильтровывались
ФНЧ, результаты измерений требуют значительной математической обработки.
1.6 Модель мини-задачи
Необходимо ввести Х-элемент, который бы позволял упростить
измерения и расчеты, при этом не требующий введения дополнительных элементов,
вносящих погрешность или требующих предварительной настройки.
2. Анализ ресурсов модели
.1 Определение оперативной зоны.
В ОЗ будет входить система преобразования сигнала, система
приема и обработки сигнала.
2.2 Определение оперативного времени.
В ОВ будет входить все время с момента включения установки до
моменты окончания измерения.
ОВ = Т1+Т2
Где Т1 - время до конфликта (до начала измерения), Т2 - время
в процессе измерения и после него (конфликт).
.3 Определение вещественно-полевых ресурсов (ВПР)
Анализ ВПР приведен в виде таблицы (таб.3.1)
Таблица 3.1
|
Ресурсы
|
Вещества
|
Поля
|
|
Внутрисистемные
Катушка Входной сигнал
|
материал,
масса, размер, форма
|
электрическое,
магнитное, механическое поле сил электрическое поле
|
|
Надсистемные
Генератор Усилитель сигнала Измеритель сигнала
|
Выходные
параметры (сила, регулируемость) точность исполнения точность исполнения
|
Электрическое,
информационное поле Электрическое поле Электрическое поле
|
|
Внесистемные
Измерительное оборудование Емкость для жидкости Зонд Магнит
|
Точность измерения
Форма, материал
|
Электрическое,
информационное поле Магнитное поле
|
|
Дешевые Воздух
Вода Песок Пустота
|
форма, материал
|
электрическое,
магнитное поле
|
Проанализируем таблицу. Дешевые ВПР На систему влияния никак
не окажут, или окажут вредное воздействие - вода может привести к коротким
замыканиям, а также изменит параметры образца. Песок может изменить параметры
образца. Воздух и пустота никаким образом влияния не оказывают.
Из надсистемных можно рассмотреть выбор в качестве элементов
усилителя и измерителя 20 элементов СС максимально доступной точностью и
минимальным температурным дрейфом. Это, возможно, избавило бы от лишних
перенастроек (однократная настройка у изготовителя), однако такие компоненты
дороже обычных, и их влияние на результат может быть несущественным.
Можно было бы минимизировать моменты инерции катушки и зонда,
чтобы они не оказывали влияния на измерения, однако это не соответствует цели
минимизации числа компонентов, а повышение точности может быть незначительным.
. Формирование идеального конечного результата и
физического противоречия.
3.1 ИКР.
Необходимо ввести такой Х-элемент в ОВ в ОЗ, чтобы число
элементов с варьирующимися параметрами было минимально, но при этом точность и
удобство измерений было максимальным.
3.2 Усиленный ИКР.
В систему нельзя вводить новые вещества или поля, Х-элемент
должен быть реализован за счет существующих ВПР.
3.3 Физическое противоречие на макроуровне
3.4 Физическое противоречие на микроуровне
Требуется произведение манипуляции с электрическими полями
таким образом, чтобы параметры элементов не оказывали влияния на эти поля.
Отсюда можно сделать следующий вывод: требуется использовать
информационные поля, то есть производить все манипуляции с измеряемыми
величинами не на внешних схемах, а в цифровом виде. Х-элемент - измерительное и
расчетное оборудование.
НТР5: Использовать в качестве измерительного и
регистрационного оборудования ЭВМ, в котором буду реализовываться алгоритмы цифровой
обработки сигналов. Практически все элементы преобразования, за исключением
катушки, можно реализовать в цифровом виде, что обеспечивает 100% повторяемость
системы. Таким образом, будет устранена погрешность, а точность определения
параметров будет определяться исключительно точностью измерения.
.5 Закон повышения динамичности и управляемости ТС
Закон заключается в том, что в процессе развития ТС
повышается способность ее к целенаправленным изменениям, обеспечивающим
наилучшее приспособление к изменяющейся внешней среде. Система как бы
"встраивается" в окружающую среду с наименьшими затратами,
"притирается" к ней.
Главное проявление этого закона и разрешение противоречий,
возникающих при встраивании развивающейся системы в среду ее функционирования,
заключается в превращении неизменных прежде параметра, свойства,
характеристики, части системы в изменяющиеся согласно нашим требованиям. Тем
самым повышается и идеальность системы.
В этом плане было бы эффективно использовать объединение НТР2
и НТР3, используя при этом в качестве контроллера ЭВМ.
НТР6: использование для управления всей системой с помощью
ЭВМ. Запуск тестирования, время тестирования, расчет параметров может быть
автоматизирован. Получается произведение теста по нажатия одной кнопки.
НТР7: для всего измерения можно использовать лишь один период
сигнала генератора, что сократит время единичного теста.
.6 Закон развертывания и свертывания ТС
Согласно закону развертывания/свертывания повышение
идеальности ТС осуществляется путем развертывания - увеличения количества и
качества выполняемых функций, приносящих пользу, но за счет увеличения
сложности системы, и свертывания - упрощения системы при сохранении или
увеличении количества и качества полезных функций. На всех этапах развития эти
два процесса могут чередоваться, перекрываться, но обычно на начальных этапах
преобладают процессы развертывания, а на более поздних - свертывания.
В НТР 1, 2, 3 производилось развертывание системы -
добавление ЭВМ и дополнительных информационных и энергетических связей, что
усложняло и удорожало систему, однако упрощало эксплуатацию и увеличивало
быстродействие всей системы в целом.
В НТР 4 производится свертывание: упрощение настройки,
уменьшение количества изменяемых элементов (потенциометров).
В НТР 5,6 производится принципиальная смена принципа работы
устройства, с одновременным уменьшением числа используемых компонентов.
Дальнейшие пути развития - развертывание в сторону
автоматизированной лабораторной установки по поиску жидкости с подходящими
физическими свойствами. Свертывание может проводиться по пути избавления от
большого количества аналоговых электрических элементов с разбросом параметров
(конденсаторы, резисторы, электронные ключи, усилители) и переходу к
математической обработке в ЭВМ оцифрованного сигнала.
НТР8: оставить в системе управляемый генератор, мост с
катушкой, и АЦП, подключенный к ЭВМ. Генератор будет управляться от ЭВМ, и
задача будет сводиться к прохождению генератором некоторого числа частот и
последующей математической обработки реакции системы "мост с катушкой -
зонд в жидкости" на задающую частоту (в памяти ЭВМ могут заранее храниться
данные для случаев, когда зонд вообще не движется, зонд движется абсолютно
свободно и зонд движется в некоторой жидкости).
НТР9: так как используется ЭВМ и алгоритмы математической
обработки сигналов, то можно изменить схему следующим образом: генератор
подключить через параллельный резонансный LC-контур к входу АЦП. Так
как импеданс катушки прямопропорционален вязкости и модулю упругости, то
резонансная частота такого контура будет также пропорционально меняться. Для
нахождения искомых величин потребуется прохождение некоторого диапазона частот
и нахождение резонансной частоты, по которой при известной емкости и
индуктивности можно вычислить интересующие величины.
.7 Закон перехода ТС на микроуровень и использования полей
Переход на микроуровень - это основной путь свертывания ТС,
вообще развитие техники в целом идет в направлении все большего использования
глубинных уровней строения материи.
В рассматриваемом изобретении переход на микроуровень
произведен не был, так как отличия от исходных данных (предыдущий вариант
системы) заключаются лишь в изменении выходного сигнала (упрощение измерения) и
повышение точностных характеристик самой установки. Переход на микроуровень
можно осуществить путем, предложенным в НТР5 - математическая обработка сигнала
вместо использования аналоговых элементов. Таким образом, будет произведено
превращение электрического поля в информационное с использованием в качестве
носителя и обработчика данных полупроводниковых приборов (магнитные домены на
жестком диске в качестве хранителя данных, интегральные схемы на транзисторах -
вычислитель).
4. Вепольный анализ.
Построим вепольную структуру для получения новых технических
решений.
.1 Синтез веполей
Найдем в системе неполный веполь.

Рисунок 4.1 - а) неполный веполь, б) полный веполь
Пусть Пт - тепловое поле, В1 - тестируемая жидкость. Нагрев
расплава или раствора приводи к изменению его механических свойств (меняется
вязкость).
Необходимо ввести такое вещество или поле, которое оттянуло
бы на себя вредное воздействие. В2 должно препятствовать нагреву жидкости.
НТР10: использовать герметичную камеру для тестируемой жидкости
с
теплоотражающими и/или теплорассеивающими свойствами. Это и
будет элемент В2.
4.2 Разрушение веполя
Рисунок 4.2 Разрушение веполя.
Пусть Пт - тепловое поле. В1 - корпус установки, В2 -
тестируемая жидкость.
Тепловое поле нагревает как жидкость, так и весь корпус,
поэтому за счет одной лишь тепловой изоляцией желаемого эффекта не достичь -
нагрев будет в любом случае, увеличится только постоянная времени нагрева.
Тогда для устранения нагрева можно использовать элемент Пельтье (В3),
устанавливаемый одной стороной на теплорассеивающий элемент, а другой
подсоединяемый к жидкости (через герметичную теплопроводящую прокладку). Так
как в системе предполагается использовать ЭВМ, то за счет контроля температуры
можно термостатированием добиться поддержания температуры образца на заданном
уровне (элемент Пельтье обратим, может как нагревать, так и охлаждать в
зависимости от прилагаемого напряжения). К тому же это может принести еще один
полезный эффект - Возможность произведения измерений параметров жидкости при
температурах отличных от заданной.
НТР11: Ввести термостатирование тестируемого вещества за счет
измерения температуры и регулирования температуры элементом Пельтье.
4.
Морфологический анализ
Выделим все элементы исходного устройства и припишем каждому
из них по одному характерному свойству. Результаты сведем в таблицу 5.1
|
Признаки
|
взаимодействует
с электрическим полем
|
взаимодействует
с магнитным полем
|
герметичный
|
Теплопроводящий
|
Меняет
параметры в зависимости от температуры
|
|
Катушка
|
+
|
+
|
-
|
+
|
+
|
|
Магнит
|
+
|
+
|
-
|
+
|
-/+
|
|
Проводники
|
+
|
-/+
|
-
|
+
|
+
|
|
Резисторы
|
+
|
-
|
-
|
+
|
+
|
|
Кювет
|
-
|
-
|
+
|
-
|
|
Зонд
|
-
|
-
|
-
|
+
|
-
|
|
Корпус
|
-
|
-
|
+/-
|
+
|
-
|
Получаем 35 различных комбинаций. Существующих решений - 19.
Максимальное число новых решений - 20.
Рассмотрев все пары, можно выделить следующие:
1. Герметичный корпус
2. Герметичный кювет (НТР10)
3. Магнитный зонд (Жестко закрепленная катушка, зонд
движется под действием поля)
. Нетеплопроводящий кювет/зонд/корпус (НТР10)
. Термокомпенсирующие резисторы (с отрицательным
тепловым коэффициентом сопротивления вместе с обычными)
. Магнито- и электропроводящий изолированный
секционированный кювет - испытание жидкости на магнитную проницаемость.
НТР12 (3+6): Использовать магнитный зонд и катушку,
встроенную в стенки кювета. Зонд двигается по направляющим. Т.О. получается
объединение нескольких элементов в одно (повышение идеальности системы).
5. Анализ
"Размеры-время-стоимость"
Рассмотрим устройство, полученное в НТР5, с точки зрения
зависимости от размера, времени, стоимости. Будем уменьшать и увеличивать каждый
параметр согласно шкале:
. Размер.
Если уменьшать устройство, то можно получить портативный
анализатор. Однако, для этого потребуется изменить конструкцию механической
части, например, использовать НТР12.
Если увеличивать устройство, то полезного эффекта это не
принесет.
. Время.
Увеличим время испытаний образца. Тогда за счет многократных
измерений возможно повышение точности. Также возможно избежать влияния со
стороны неоднородностей, которые могут быть в составе испытуемой жидкости.
Если уменьшать время, то получаем возможность быстро
проводить много тестов. В предельном случае это автоматическая подача/удаление
образца, а также испытание образца только на одном периоде сигнала (НТР7).
. Стоимость.
Минимизация стоимости уже произведена за счет удаления
компонентов, критичных к точности изготовления. Дополнительно можно отказаться
от расчета параметров на месте и сделать передачу данных для вычисления
сторонней ЭВМ. Также возможно совмещение функции генератора и измерительного
устройства в одном приборе.
При повышении стоимости можно создать автоматизированный
стенд, описанный в пункте 3.7.
6. Формула
изобретения
Возьмем за основу НТР9.
Устройство для измерения вязкости и модуля упругости веществ
состоит из катушки 1, помещенной в зазор постоянного магнита 2 и жестко
связанной с одним концом зонда 3, закрепленного на оси 4. Второй конец зонда 3
погружен в вещество, помещенное в кювету 5.
Генератор 6 соединен с резистором с малым сопротивлением 7,
второй конец которого соединен с одним выводом катушки 1 и одним выводом
конденсатора 8. Вторые выводы конденсатора и катушки соединены с общим
проводом. Также точка соединения конденсатора, катушки и резистора подключена к
входу измерительного устройства АЦП 10, подключенного к ЭВМ 9. ЭВМ производит
расчет амплитуды и сдвига фазы исходного сигнала, а затем изменяет частоту и
вновь проводит измерения. Так производится не менее трех циклов в зависимости
от заданной пользователем точности. После этого производится фильтрация
измеренного сигнала, математический анализ и вывод значений вязкости и модуля
упругости на дисплей 11.
Формула изобретения.
. Устройство для измерения вязкости и модуля упругости
веществ, включающее зонд, погруженный в измеряемое вещество и жестко связанный
с катушкой, помещенной в поле постоянного магнита и питаемой от генератора
гармонических электрических колебаний, отличающееся тем, что, с целью упрощения
конструкции и уменьшения влияния разбросов параметров схемы катушка подключена
параллельно конденсатору одним концом обмоток к резистору, а другим - к общей
точке. Резистор подключен одним выводом к выходу генератора, а другим к
катушке, конденсатору и входу АЦП, данные с которого с периодичностью выше
частоты генератора поступают на ЭВМ, где производится расчет параметров
вещества, используя цифровую фильтрацию и обработку сигнала, и которая
производит управление генератором, а также выводит результаты расчетов на
дисплей.
7. Составить
статическую модель технического противоречия при помощи катастрофы типа сборка
Возьмем для рассмотрения вопрос выбора точности элементов.
Возьмем противоречие из пункта 3.5.
Техническое противоречие: когда элементов много, то точность
ниже (требуется подстройка), но выходной сигнал снимать проще. Когда элементов
мало, то точность выше (не требуется подстройка), но выходной сигнал имеет
сложную форму.
Для моделирования из таблицы канонических катастроф выбираем
катастрофу типа "сборка", так как в модели имеется два состояния
устойчивого равновесия ТП-1 и ТП-2.
Этой катастрофе соответствует потенциальная функция:
За координату x выбираем
количество элементов. Применительно к нашей задаче потенциальная функция E (x) характеризует
качество работы системы. Выбираем за эту величину относительную погрешность измерения
(безразмерная величина). Допустим, у прототипа эта величина равна с=const=0.01.
Выберем исходное число элементов равное 32 ед. Запишем
потенциальную функцию для нашей задачи с учетом того, что любая потенциальная
функция определяется с точностью до константы с
E (x) = [0.25* (x-32) ^4 - 0.5*λ* (x-32) ^2 - μ* (x-32)] *d + c
где d - коэффициент пропорциональности,
выравнивающий размерности между x и Е (x). Действительно, размерность [x] =ед., а размерность Е (x)
безразмерна. Отсюда размерность [d] =1/ед.
Тогда при x=32ед. получаем
для прототипа E (x) =c=0.01.
Пусть Sb=16ед. - малое количество, Se=40ед. - большое количество. Тогда можно
рассчитать мощность конфликта: Se-Sb=2*sqrt (λ) = 24ед. и λ=144ед.2.
Для усиления конфликта выбираем очень малое и очень большое число
компонентов. Пусть Sbb = 4ед. - очень малое число, See=50ед - очень большое число. Рассчитываем
мощность See-Sbb=46ед,
и λ=529ед². Предположим, что для этой мощности
конфликта находим решение задачи, т.е. Х-элемент. Найдем критическое значение
параметра μ,
задающего величину Х-элемента по формуле μкр=± (2λ/3) *sqrt (λ/3) =±4683ед3. Допустим, что при решении задачи по АРИЗу
выбирается очень малое число. Тогда знак параметра будет отрицательным, т.е. μ=-4683ед3.
Также будем считать, что в результате решения задачи относительная ошибка
уменьшилась до E (x) =0.007.
Подставляем принятые значения в формулу для потенциальной функции,
и находим коэффициент d
.007= [0.25* (4-32) ^4-0.5*529* (4-32) ^2+4683* (4-32)] d+0.01
Откуда d= - 1.623*10^ (-8) [1/ед].
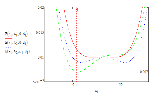
Теперь можно построить графики потенциальной функции для всех трех
случаев набора управляющих параметров (рис.12). Как уже указано, применительно
к этой задаче, это будут графики изменения относительной погрешности.
Окончательное решение задачи моделирует график с λ=529ед² и μ = - 4683ед3. Из этого графика видно, что
таком выборе управляющих параметров λ и μ, а также масштабирующего коэффициента d, получаем относительную погрешность 0.007. Однако это не
является минимальным значением, как следует из графика. При изучении графика при числе
5ед ошибка сводится к 0.0069.
Рисунок 8.1 Графики нежелательного эффекта
8. Построение
динамической модели технического противоречия
Для выполнения работы, динамическую модель получаем исходя из
статической модели. Найдем градиент потенциальной функции катастрофы типа
"сборки".
где
- скорость изменения координаты x во времени,
- градиент или скорость изменения потенциальной функции по
координате х,
СT - коэффициент пропорциональности, равный
произведению двух коэффициентов C и T. Отсюда имеем динамическую модель в виде нелинейного
дифференциального уравнения первого порядка для координаты x.
- одномерная динамическая модель ТП.
Для нашего примера статической модели запишем потенциальную
функцию в общем виде
E (x) = [0.25* (x-32) ^4 - 0.5*λ* (x-32) ^2 - μ* (x-32)] *d + c
Возьмем от нее производную по z, где для простоты моделирования принято z = x-32. Получим градиент
.
,
здесь T рассматривается как постоянная времени
психологической инерции решателя задачи. T неизвестна, принимается Т=1. Тогда текущее время решения задачи t будет в некоторых относительных единицах времени.
Коэффициент С выбирается равным d и сокращается
в левой и правой части.
Получается стандартное уравнение
, где значения λ и μ выбираем равными значениям, полученным в
статической модели.
Нелинейная часть модели представлена блоком
, линейная часть, отражающая динамические
свойства (инерционность мышления), представлена апериодическим звеном первого
порядка. Управляющими параметрами являются коэффициент передачи K и входной сигнал f.
Динамическая система является моделью мышления. Находясь в
некотором начальном состоянии по координате z, при определенном значении управляющих параметров K и f, она приходит
в одно из двух устойчивых состояний равновесия. Каждое из состояний равновесия
имитирует одно из двух технических противоречий, которое разрешается путем
введения Х-элемента. Координата z имитирует
изменение состояний инструмента в ходе решения изобретательской задачи в
сознании изобретателя. Для рассмотренного примера это изменение числа
компонентов. Параметры K и f динамической модели должны быть определены по полученным
значениям λ и μ.
Приравнивая оператор дифференцирования нулю (s=0), получаем схему для состояния равновесия.
Запишем уравнения для состояния равновесия:
.
Подставляя значение u из первого
уравнения во второе, получаем:
. Сравнивая полученное уравнение с уравнением "сборки",
замечаем, что
. Строим кривую катастроф
или
Рассчитаем значения K и f. У нас λ=529, тогда К=1/ (1-λ)
=-1.894*10^ (-3). Найдем f=μK=8.869.
Вне острия система имеет одно, устойчивое состояние равновесия.
Эта ситуация отражает уже решенную задачу.
Критическое значение для рассмотренного примера равно
=-4683. Выберем значение μ, равное
половине от критического значения, т.е. μ=-2341.5 Тогда новое значение f=μK=4.435.
Теперь можно найти границы области устойчивости. Подставим
выбранные значения в формулу для определения устойчивости, приравняв правую
часть нулю:
(1-3*z2-3*4.4352+6*4.435*z) * (-1.894*10^ (-3)) - 1=0
Находим корни, задающие границы устойчивости
Z1=17.72
Z2=-8.844
Наносим границы на фазовом портрете системы, который строится по
уравнению:
z-K [ (f-z) 3- (f-z)] =z+1.894*10-3 [ (4.435-z) 3-
(4.435-z)]
Приравнивая нулю производную, получаем уравнение для
установившегося режима
=z-K [ (f-z) 3- (f-z)] =z+1.894*10-3 [ (4.435-z) 3- (4.435-z)]
Находим его корни
Zs1=-15.9
Zs2=-0.21
Zs3=29.4
Первый корень и третий корни принадлежат к области устойчивости,
т.е. являются точками устойчивого равновесия, а второй корень принадлежит к
области неустойчивости, т.е. является точкой неустойчивого равновесия. Это видно из фазового портрета
системы.
Рисунок 9.1 Фазовый портрет системы
Подставляя найденные значения в схему моделирования, получаем
модель в виде, представленном на рисунке 9.2
Рисунок 9.2 Схема моделирования с численными значениями параметров
Выбираем начальные условия на интегратор из области притяжения
одного из устойчивых корней, например, z (0) =-10 и из области притяжения другого корня, например, z (0) =25 и получаем переходный процесс (рис.9.3).
Рисунок 9.3 Результаты моделирования
Выводы
В результате выполнения работы можно сделать несколько
выводов. Использование законов развития в научно-техническом творчестве,
вепольный и морфологический анализ позволили легко получать новые технические
решения, используя основные законы физики, в частности, электротехники.
Прибегая к созданию и обострению технических противоречий можно понять, как
получить новые изобретения. Законы развития дают целенаправленный подход к
созданию изобретений. Очень хорошо прослеживается, что в том или ином новом
техническом решении проявляются несколько законов сразу, что говорит о
некотором изобретательском уровне получаемых устройств.
Практическое применение данных методов может заключаться как
в написании патентов на какое-либо изобретение, так и в обычной инженерной
практике при появлении противоречивых ситуаций.
Список
литературы
1.
Бушуев А.Б., Смирнов А.В. Использование законов развития технических систем в
инженерном творчестве. Методические указания по выполнению курсовой работы. СПб
ГИТМО 1992г.
.
Бушуев А.Б., Григорьев В.В., Смирнов А.В. Решение изобретательских задач в
электротехнике и автоматике. Методические указания, ЛИТМО., 1990г.
.
Конспект лекций Бушуева А.Б. - 2007г.