Устройство для измерения давления фундамента на грунт

  • Вид работы:
    Курсовая работа (т)
  • Предмет:
    Другое
  • Язык:
    Русский
    ,
    Формат файла:
    MS Word
    227,66 Кб
  • Опубликовано:
    2012-10-06
Вы можете узнать стоимость помощи в написании студенческой работы.
Помощь в написании работы, которую точно примут!

Устройство для измерения давления фундамента на грунт

Содержание


1. Задание

. Принцип работы устройства

3. Анализ устройства по законам развития технических систем

.1 Закон полноты частей системы

.2 Закон энергетической и информационной проводимости

.3 Закон согласования-рассогласования

.4 Закон увеличения степени идеальности

.5 Закон неравномерного развития ТС

.6 Закон повышения динамичности и управляемости

.7 Закон развертывания-свертывания

.8 Закон перехода на микроуровень и использование полей

4. Вепольный анализ

4.1 Синтез веполей

.2 Разрушение веполей

. Морфологический анализ

. Анализ одного из решений при помощи оператора “размеры-время-стоимость”

7. Описание учебного изобретения

Заключение

Список литературы

1. Задание

1.       Внимательно ознакомиться с описанием изобретения и уяснить принцип действия устройства или устройства, реализующего способ.

.        Изложить принцип действия устройства в пояснительной записке (ПЗ) с приведением всех необходимых рисунков и графиков.

.        Проанализировать устройство с точки зрения проявления основных законов развития технических систем (ТС), а именно:

.        - закона полноты частей системы

.        - закона энергетической и информационной проводимости ТС

.        - закона согласования-рассогласования ТС

.        - закона увеличения степени идеальности ТС

.        - закона неравномерности развития ТС

.        - закона повышения динамичности и управляемости ТС

.        - закона развертывания и свертывания ТС

.        - закона перехода ТС на микроуровень и использование полей

.        На основе анализа и синтеза выявить несколько технических противоречий в ТС. Выбрать одно из них и разрешить его по алгоритму решения изобретательских задач.

.        Построить вепольную структуру всех рассматриваемых задач. Произвести синтез или разрушение веполей.

.        Произвести морфологический анализ одной из задач. Получить и проанализировать наиболее интересные 2-3 решения.

.        Проанализировать одну из задач при помощи оператора “размеры-время-стоимость”.

.        На основания решения полученного в пункте 5 составить описание учебного изобретения и необходимыми чертежами.

2. Принцип работы устройства

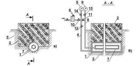
Патент: 1273753 Устройство для измерения давления фундамента на грунт.

На рисунке 2.1 а) представлено устройство, разрез; на рисунке 2.1 б) -  разрез А-А на рисунке 2.1 а).

Устройство для измерения давления фундамента на грунт состоит из упругоэластичной измерительной камеры 1, расположенной между фундаментом 2 и грунтом 3, соединенной посредством трубопровода 4 с манометром 5 избыточного давления и источником постоянного давления жидкости, например, гидравлическим прессом 6, недеформируемой, например. Стальной компенсационной камеры 7,соединенной посредством трубопровода 8 с манометром 9 и гидравлическим прессом 6, смонтированной в измерительной камере 1, вентилей 10, 11 и 12, перекрывающих трубопроводы, и вентилей 13 и 14, перекрывающих манометры.

Устройство работает следующим образом [4]. Рабочая жидкость посредством гидравлического пресса 6 и открытых вентилей 10-12 через трубопроводы 4 и 8 нагнетается в камеры 1 и 7. После выравнивания давлений и температуры вентили 10 и 11 перекрываются. При изменении контактного давления грунта объем измерительной камеры 1 изменяется, что вызывает соответствующее изменение показание манометра 5. Давление же в компенсационной камере 7 изменяется только при изменении температуры в зоне измерений и фиксируется манометром 9. Изменение величины давления фундамента на грунт определяется как разность показаний манометров 5 и 9.

Рисунок 2.1 - Устройство в разрезе

3. Анализ устройства по законам развития технических систем

.1 Закон полноты частей системы

давление фундамент веполе проводимость

Необходимым условием принципиальной жизнеспособности технической системы (ТС) является наличие и минимальная работоспособность основных частей системы. Таких основных частей четыре: двигатель (Дв), трансмиссия (Тр) или передача, рабочий орган (Ро), и орган управления (Оу). Определим, что же является основными частями системы. Так как система предназначена для измерения давления фундамента на грунт, то рабочим органом будет чувствительный элемент - манометры. Источником энергии будет являться фундамент, а двигателем, соответственно, будут стенки измерительной камеры. Очевидно, в качестве трансмиссии будут выступать трубопроводы с рабочей жидкостью.

Для достижения условия полноты введем в качестве органа управления регулятор температуры в камерах. Разница в температурах порождает погрешность в измерении давления.

Новое техническое решение (НТР) 1. Введем в камеры измерения 2 датчика температуры и 2 грелки, и, разумеется, блок управления. Охлаждение, понижение температуры подразумевается естественное - тот же эффект, что и в погребе. В той камере, где температура меньше, необходимо включить грелку, пока температуры не сравняются. Во избежание бесконечного нагревания в блоке управления ввести программно (аппаратно) максимальную и минимальную возможную температуры, другими словами, поддерживать температуры в заданном интервале и одинаковыми.

Замечание. При выполнении курсового проекта стало ясно, что при том или ином НТР действительно проявляется сразу несколько законов развития. В данной работе еще будут представлены решения с регулятором температуры, но уже при анализе других законов.

3.2 Закон энергетической и информационной проводимости

Необходимым условием принципиальной жизнеспособности ТС является сквозной проход энергии и информации по всем частям технической системы. Для анализа ТС по этому закону построим линию сквозного прохода энергии через систему.

Рисунок 3.1 - Линии прохода энергии через части системы а) и б), взаиморасположение двух линий для НТР1 в)

НТР2. Для полного прохода энергии через все части системы используем ЭВМ, которая будет выполнять решать задачу определения давления фундамента на грунт в условиях теплового возмущения (Рисунок 3.2), другими словами, при определении искомого давления будет учитываться паразитное влияние изменения температуры. Такая система определяет не только давление, но и температуру, следовательно, может дополнительно выполнять функции диагностики состояния системы в месте измерения.

Рисунок 3.2 - Линии прохождения энергии и информации в ТС для НТР2

Используемые сокращения в рисунках 3.1 и 3.2:

ИК - измерительная камера;

НК - недеформируемая камера;

РЖ - рабочая жидкость;

М1, М2 - манометры;

t - датчик температуры;

P - датчик давления;

ЭВМ - электронно-вычислительная машина.

.3 Закон согласования-рассогласования

Составляющие части технической системы должны быть согласованы или, наоборот, рассогласованы между собой по тем или иным параметрам.

НТР3. Согласуем измерительную и недеформируемую камеры по температуре, то есть добьемся того, чтобы температуры в камерах не отличались, причем в отсутствии регулятора температуры. Для этого материал стенок недеформируемой камеры должен обладать хорошей теплопроводимостью такой, что погрешность, вносимая изменением температуры, была бы минимальной.

НТР4. В случае если температуры в камерах отличаются, и предыдущего решения (НТР3) не достаточно, то его можно усилить. Будем использовать недеформируемую камеру такой формы, чтобы площадь ее поверхности была как можно больше, например спиралевидной формы (Рисунок 3.3). Другими словами, чем больше площадь контактной поверхности, тем лучше теплообмен.

Рисунок 3.3 - Недеформируемая камера имеет большую площадь поверхности

3.4 Закон увеличения степени идеальности

В процессе своего развития степень идеальности увеличивается либо за счет увеличения выполняемых системой функций (полезных), либо за счет уменьшения факторов расплаты (либо за счет изменения того и другого одновременно).

Под увеличением степени идеальности в ТРИЗ понимается рост отношения суммы выполняемых системой полезных функций  к сумме факторов расплаты :

НТР5. Для измерения изменения давления фундамента на грунт используется два манометра. Выбросив из системы манометры, можно сэкономить деньги. Измерение изменения давления можно делать по схеме, изображенной на рисунке 3.4. Здесь трубопроводы замыкаются друг на друга, а рабочая жидкость разделена некоторой перегородкой, которая свободно перемещается по трубе, не нарушая свойство герметичности. Очевидно, при изменении давления фундамента на грунт давление слева и справа от перемещаемой перегородки не одинаковое, и перегородка будет двигаться, пока давления не сравняются. Величина перемещения зависит от величины изменения давления.

Рисунок 3.4 - Иллюстрация к НТР5

В решении НТР2 измеряется температура в камерах. Эту функцию можно считать новой полезной функцией.

НТР6. В решении НТР2 выбросим контур с недеформируемой камерой (Рисунок 3.5). При изменении температуры изменяется давление рабочей жидкости. Это изменение фиксирует датчик температуры, с помощью которого вносится поправка в измерение давления. Опять же, экономим деньги.

Возникает вопрос, а зачем тогда нужен НТР2? Будем считать, что это решение более функциональное и более точное, нежели НТР6.

Рисунок 3.5 - Иллюстрация к НТР6

Используемые сокращения в рисунках 3.5:

t - датчик температуры;

P - датчик давления;

ЭВМ - электронно-вычислительная машина.

НТР7. Изготовив стенки измерительной камеры из очень мягкого эластичного материала, получим ту же систему, но с новой полезной функцией - возможностью прогнозирования землетрясений. Система, очевидно, измеряет изменения давления не только фундамента на грунт, но и грунта на фундамент.

3.5 Закон неравномерного развития ТС

Для получения новых технических решений перечислим основные количественные признаки имеющегося устройства:

время измерения;

изменение температуры;

габариты устройства;

количество составных частей;

погрешность измерения.

Будем улучшать четвертый признак: количество составных частей. За основу возьмем НТР5.

Для измерения разницы давлений, мы используем перегородку, но для того, чтобы устройство работало корректно, жидкости в трубах должны быть изолированы друг от друга. То есть перегородка должна быть герметична. Чем плотнее прилегает перегородка к стенкам трубы, тем герметичнее перегородка, но одновременно с этим больше сила трения между поверхностями перегородки и трубы. Если перегородка не плотно прилегает к стенкам трубы, то она свободно перемещается, но при этом нарушается свойство герметичности. Разрешим это противоречие по алгоритму решения изобретательских задач (АРИЗ) [2].

1 Анализ задачи

1.1 Мини-задача. Дана техническая система для измерения изменения давления фундамента на грунт, состоящая из фундамента, грунта, измерительной камеры, недеформируемой камеры, трубопровода, рабочей жидкости, перегородки и шкалы.

Техническое противоречие: если перегородка плотно прилегает к стенкам трубопровода, то система герметична, но возникает большая сила трения, порождающая погрешность измерения, если же перегородка не плотно прилегает к стенкам, то она перемещается без трения, но нарушается герметичность.

.2 Выбор конфликтующей пары: в качестве инструмента выберем перегородку, так как она больше всего подвергается изменению, в качестве изделия целесообразно выбрать трубопровод с рабочей жидкостью.

.3 Граф-схема технического противоречия (Рисунок 3.6)

Рисунок 3.6 - Граф-схема технического противоречия

1.4 Выбор главного производственного процесса. Выбираем ТП-2, так как для корректной работы устройства необходимо обеспечить герметичность.

.5 Усиление конфликта. Перегородка настолько плотно прилегает, что рабочие жидкости слева и справа от перегородки абсолютно изолированы.

.6 Модель мини-задачи. Дана техническая система для измерения разности давлений (изменения давления фундамента на грунт), состоящая из перегородки, очень плотно прилегающей к стенкам трубопровода, которая обеспечивает условие герметичности, но очень плохо перемещается.

Необходимо ввести X-элемент, который, не усложняя систему, должен не мешать перегородке перемещаться.

Анализ ресурсов модели

.1 Определение оперативной зоны (ОЗ). В ОЗ будет входить перегородка и часть трубопровода с рабочей жидкостью, в которой она должна перемещаться.

Рисунок 3.7 - Оперативная зона действия конфликта

2.2 Определение оперативного времени (ОВ).

,(3.2)

где  - время до конфликта (подготовка эксперимента),  - время конфликта.

.3 Определение вещественно-полевых ресурсов (ВПР)

Анализ ВПР проведем в виде таблице (Таблица 3.1)

Таблица 3.1 - ВПР системы

Ресурсы

Вещества

Поля

1. Внутрисистемные 1.1 Перегородка  1.2 Трубопровод  1.3 Рабочая жидкость

материал форма материал форма материал форма

 Где? Когда? Сколько? давление

2. Надсистемные 2.1 Грунт  2.2 Измерительная камера  2.2 Фундамент

состав плотность форма масса форма

  давление  сила тяжести

3. Внесистемные 3.1 Манометр (например)

----//----

----//----

4. Дешевые 4.1 Вода 4.2 Воздух 4.3 Песок 4.4 Пустота

  ----//---- 

----//----


На основе анализа таблицы 3.1 попробуем найти какие-нибудь решения.

Подставим в ОЗ в ОВ вместо перегородки столбик воды (некоторой жидкости). Вода без трения перемещается по трубе, и разделяет рабочие жидкости, сохраняя герметичность. Но возникает проблема: вода не должна перемешиваться с рабочей жидкостью.

Подставим в ОЗ в ОВ вместо перегородки столбик воздуха. Эффект тот же, но воздух уже не перемешивается с рабочей жидкостью. Возникает другая проблема: устойчивость столбика воздуха, то есть столбик должен сохранять форму и не "не всплывать", чтобы рабочие жидкости были изолированы в течение ОВ. Возьмем на заметку это решение.

Формирование идеального конечного результата (ИКР) и физического противоречия

.1 ИКР. Дана техническая система, включающая очень плотно прилегающую перегородку и трубопровод с рабочей жидкостью. Не усложняя систему, необходимо в месте прохождения перегородки по трубопроводу в оперативное время ввести X-элемент так, чтобы он не мешал прохождению перегородки и препятствовал сообщению рабочих жидкостей слева и справа от перегородки.

.2 Усиленный ИКР. Дополним ИКР следующим ограничением: в систему нельзя вводить новые вещества и поля, ввести X-элемент, используя ВПР.

Подставим вместо X-элемента и перегородки столбик воздуха. Чтобы рабочие жидкости не сообщались, нужно как-то изменить форму или материал трубопровода.

X-элемент должен быть плотным, чтобы быть непроницаемым для рабочих жидкостей, чтобы сохранялась герметичность, и должен быть неплотным, чтобы не возникало трения между перегородкой и стенками трубопровода, и перегородка свободно перемещалась.

.4 Физическое противоречие на микроуровне.

В оперативной зоне должны быть тесно связанные частицы, чтобы препятствовать сообщению рабочих жидкостей, и слабо связанные, чтобы не возникало трения между перегородкой и стенками трубопровода.

При замене перегородки на столбик воздуха получаем новое техническое решение. Возникающее новое противоречие, связанное с устойчивостью столбика - другая задача, но, тем не менее, предложим возможные решения.

НТР8. Для того чтобы жидкости не сообщались, можно часть трубопровода в ОЗ изготовить из такого материала, чтобы рабочая жидкость плохо смачивала его поверхность (Рисунок 3.8).

Рисунок 3.8 - Иллюстрация к НТР8 а) хорошее смачивание, б) плохое смачивание

При выборе относительно небольшого диаметра трубопровода в ОЗ силы натяжения поверхности рабочих жидкостей будут компенсировать выталкивающую силу Архимеда, действующую на столбик воздуха. В этом случае физическое противоречие разрешается.

НТР9. Исследуя НТР8 можно найти еще одно решение. Если поверхность смачивается хорошо, а длина столбика воздуха большая, и диаметр трубки подобран так, что силы натяжения компенсируют силу Архимеда, то физическое противоречие также разрешается. Но большая длина столбика плоха тем, что трудно пользоваться таким измерителем. Чем тоньше столбик, тем удобней точно определять искомую величину.

На рисунке 3.9 показан вариант исполнения трубки в ОЗ (располагается горизонтально). Длина столбика чуть меньше длины двух витков. Измеритель получается дискретный, но, тем не менее - это новое решение.

Рисунок 3.9 - Иллюстрация к НТР9 (вид сверху)

Можно было бы сделать трубку спиралевидной формы, удобней же, да и симпатичней, но при вертикальном расположении столбика воздуха и жидкости воздух может всплыть под действием Архимедовой силы. С другой стороны, вопрос технологии - задача для специалистов соответствующей области.

3.6 Закон повышения динамичности и управляемости

В процессе своего развития ТС повышается способность ее к целенаправленным изменениям, обеспечивающим наилучшее приспособление к изменяющейся среде.

В решении НТР6 имеется приспособление к изменяющейся внешней среде: датчик температуры позволяет вносить поправку в измерение давления.

НТР10. Компенсировать влияние температуры можно и без ЭВМ. На рисунке 3.10 показана схема, в которой имеется вторая рабочая жидкость для компенсации воздействия теплового поля и регулятор температуры. При понижении температуры в измерительной камере регулятор уменьшает температуру в рабочей жидкости 2 (Рж2), в противном случае увеличивает температуру, компенсируя тем самым неблагоприятное влияние температуры на измерение давления.

Рисунок 3.10 - Иллюстрация к НТР10

3.7 Закон развертывания-свертывания

Повышение идеальности ТС осуществляется путем развертывания - увеличения количества и качества выполняемых функций, приносящих пользу, но за счет увеличения сложности системы, и свертывания - упрощения системы при сохранении или увеличении количества и качества полезных функций.

Развертывание проявляется в НТР2 и НТР6: измерение температуры и давления. Новая функция - измерение температуры.

Свертывание проявляется в НТР5: система упрощается при выбрасывании манометров.

НТР11. Развернуть систему можно переходом к би-системе. Добавим в НТР5 еще пару трубопроводов (Рисунок 3.11). Это сделано для более точного измерения в связи с тем, что давление и температура могут быть распределены в камерах не равномерно.

Рисунок 3.11 - Иллюстрация к НТР11

.8 Закон перехода на микроуровень и использование полей

В процессе своего развития ТС дробится на более мелкие части (развертывается) или формируется из более мелких частей в целое (свертывается). При этом для организации мелких частей системы необходимо поле.

НТР12. Используем вместо гидравлической схемы, схему с пьезодатчиками (Рисунок 3.4). Пьезоэлементы отделены от фундамента и грунта прочными диэлектрическими пластинами. В этом случае изменение давления пропорционально изменению силы тяжести фундамента, последняя пропорциональна изменению геометрических размеров элементов. Ввиду прямого пьезоэффекта, изменение выходного напряжения электрической схемы будет пропорционально изменению размеров элементов, и, следовательно, пропорционально изменению давления. Механически элементы соединены параллельно, а электрически последовательно, для получения большего коэффициента передачи.

Рисунок 3.12 - Иллюстрация к НТР5

НТР13. По аналогии с предыдущим решением можно вместо пьезоэлектрической схемы сделать емкостную (резистивную, индуктивную). Только необходимо между фундаментом и грунтом ввести некоторые упругие элементы, для которых справедливо .

Рисунок 3.13 - Использование емкостной схемы

Емкость (плоско-паралленого) конденсатора определяется формулой:

,

где d - расстояние между обкладками, S - площадь перекрытия. При изменении давления, благодаря упругим элементам, будет меняться площадь перекрытия. Очевидно, будет меняться емкость конденсатора. Включив конденсатор в некоторую электрическую схему, можно отслеживать изменение емкости и, соответственно, изменение давления фундамента на грунт.

НТР14. В НТР10 уберем из схемы рабочую жидкость 2. Изменение температуры приводит к увеличению давления. Жидкость в трубе со шкалой будет перемещаться. Чтобы компенсировать этот нежелательный эффект, стенки этой трубы должны быть подвижными. При повышении температуры они должны раздвигаться, при понижении - сужаться так, что при постоянном давлении и варьируемой температуре столбик жидкости в трубе со шкалой был бы неподвижен.

Рисунок 3.14 - Использование магнитного поля

В этой схеме соленоид перемещает поршень так, что при постоянном давлении и варьируемой температуре столбик жидкости в трубе со шкалой был бы неподвижен.

НТР15. В предыдущем решении ферромагнитный стержень оставим только внутри катушки (Рисунок 3.15), но на упругую мембрану приклеим ферромагнитную крошку. Эффект такой же, что и в НТР14, но решение, как ни странно, новое.

Рисунок 3.15 - Иллюстрация для НТР15

В этом законе мы использовали для получения новых решений механическое поле давления, электростатическое поле и магнитное поле.

4. Вепольный анализ

На этом этапе работы для получения новых технических решений построим вепольную структуру. Произведем синтез и разрушение веполей.

4.1 Синтез веполей

Синтез веполей будем проводить из следующего принципа: невепольные системы для повышения управляемости необходимо сделать вепольными.

Пусть  - рабочая жидкость,  - тепловое поле (). На рисунке 4.1 а) изображена структура неполного веполя - постановка задачи, на рисунке 4.1 б) - полный веполь - ответ задачи.

Рисунок 4.1 - а) неполный веполь, б) полный веполь

Вредное действие теплового поля на рабочую жидкость - изменение давления жидкости. Необходимо отыскать такое вещество , которое вредное действие забирает на себя, тем самым компенсируя воздействие поля на вещество .

НТР16. При изменении давления в рабочей жидкости, возникает изменение объема жидкости: при повышении температуры объем увеличивается, в противном случае уменьшается. На это изменение объема ориентируется измерительная схема (трубка со шкалой).

Рисунок 4.2 - Иллюстрация к НТР16

Скомпенсировав изменение объема, мы скомпенсируем негативное воздействие теплового поля. Пусть при изменении температуры меняется не только объем рабочей жидкости, но и толщина стенок измерительной камеры. При повышении температуры они должны сужаться, а при понижении температуры они должны расширяться. В этом случае при постоянном давлении фундамента на грунт и переменной температуре столбик жидкости в измерительной трубке будет неподвижен.

4.2 Разрушение веполей

Для получения нового технического решения найдем в исходном устройстве вредное действие одного вещества на другое. “Разрушим” это действие введением третьего вещества.

Рисунок 4.3 - Разрушение веполя

Пусть  - грунт,  - рабочая жидкость,  - тепловое поле. Необходимо такое вещество , которое препятствовало бы передачи тепла от грунта рабочей жидкости.

НТР17. Для того, чтобы изолировать рабочую жидкость от теплового воздействия, стенки измерительной камеры не должны пропускать тепло. Сделаем стенки двойными, а между ними поместим искомое вещество , которое препятствует передаче тепла. Для того, чтобы это вещество не мешало схеме измерять давление, оно должно быть достаточно плотным: воздух не годится. Пусть таким веществом будет стекловата, или стеклоткань.

5. Морфологический анализ

Выделим все элементы исходного устройства и припишем каждому из них по одной характерному признаку. Сведем полученные наименования и признаки в таблицу.

Таблица 4.1

Признаки Элементы

теплопроводный

тяжелый

невязкая

шкала

стрелочный

Грунт

+

+

-

-

-

-

Фундамент

+

+

-

-

-

-

Рабочая жидкость

-

-

+

-

-

-

Измерительная камера

+

-

-

+

-

-

Трубопровод

+

-

-

+

+

-

Манометр

-

-

-

-

+

+


Из таблицы получаем 36 вариантов возможного исполнения устройства. Реально имеющихся 12 устройств. Максимально возможное количество новых изобретений - 24. После рассмотрения каждой пары, которой соответствует знак минус (“-”), приведем новые технические решения на основе следующих пар:

“стрелочный трубопровод”;

- “теплопроводный манометр”;

- “фундамент со шкалой”.

НТР18. В схеме, изображенной на рисунке 4.2, на поверхность жидкости поместим поршень, с закрепленным посредством шарнира стержнем, удерживаемым слабой пружиной. Стержень будет выполнять функцию стрелки (рисунок 4.4).

Рисунок 4.4 - “Стрелочный трубопровод”

НТР19. Согласуем грунт и рабочую жидкость по температуре. Используем измерительный стакан, стенки которого чувствительны к температуре. При нагревании жидкости стенки сужаются, при охлаждении расширяются. (аналогично НТР16), или при увеличении температуры впитывают как губка жидкость, а при низкой не впитывают. Тем самым достигается инвариантность измерительной схемы от температуры.

Рисунок 4.5 - “теплопроводный манометр”

НТР20. Нанесем шкалу на стенку фундамента. Так можно оценивать проседание фундамента с течением времени и анализировать свойства грунта.

Рисунок 4.6 - “фундамент со шкалой”

6. Анализ одного из решений при помощи оператора “размеры-время-стоимость”

Рассмотрим устройство, полученное в НТР5 с точки зрения зависимости от размера, времени, стоимости. Будем уменьшать и увеличивать каждый параметр согласно шкале:


1. Размеры.

Уменьшим размер устройства и получим ручной силомер, или весы.

Увеличим размеры - получим устройство для наблюдения сейсмической обстановки местности (см. НТР7).

. Время.

Увеличим время жизни устройства, то есть получим хорошо защищенную систему от всех нежелательных возмущений, состоящую из прочных материалов.

Уменьшим время - получим одноразовое устройство для работы в крайних условиях: сильное давление, большие температуры.

. Стоимость.

Уменьшим стоимость устройства. Будем иметь дело с минимальным набором компонентов. Оставим только измерительную камеру с жидкостью, трубопровод и манометр, пренебрегая действием возмущений.

Увеличим стоимость устройства. Получим многофункциональную систему для мониторинга: для измерения давления, температуры, пульсаций грунта, равномерности распределения давления и так далее.

7. Описание учебного изобретения

Устройство для измерения изменения давления фундамента на грунт, содержащее герметическую силовоспринимающую камеру, выполненную из упругоэластического материала, заполненную рабочей жидкостью и размещенную на границе фундамента с грунтом, размещенной в ней заполненной рабочей жидкостью недеформируемой компенсационной камеры, отличающееся тем, что камеры соединены трубопроводом со шкалой, плохо смачиваемым рабочей жидкостью, в котором введен столбик воздуха так, что рабочие жидкости не сообщены.

Заключение

В результате выполнения курсовой работы можно сделать несколько выводов. Использование законов развития в научно-техническом творчестве, вепольный и морфологический анализ позволили легко получать новые технические решения, используя основные законы физики, электротехники. Прибегая к созданию и обострению технических противоречий можно понять, как получить новые изобретения. Законы развития дают целенаправленный подход к созданию изобретений. Очень хорошо прослеживается, что в том или ином новом техническом решении проявляются несколько законов сразу, что говорит о некотором изобретательском уровне получаемых устройств.

Практическое применение данных методов может заключаться как в написании патентов на какое-либо изобретение, так и в обычной инженерной практике при появлении противоречивых ситуаций.

Список литературы

1.       Бушуев А.Б., Смирнов А.В. Использование законов развития технических систем в инженерном творчестве. Методические указания по выполнению курсовой работы. СПб ГИТМО 1992г., с.28.

.        Бушуев А.Б., Григорьев В.В., Смирнов А.В. Решение изобретательских задач в электротехнике и автоматике. Методические указания, ЛИТМО., 1990г., с.64.

.        Петров В. Базовый курс теории решения изобретательских задач. Тель-Авив 2002г.

.        А.с. 1273753 СССР / В.П. Чернюк, А.М. Трусь, П.И. Соловей // Устройство для измерения давления фундамента на грунт. - 1986г.

.        Конспект лекций Бушуева А.Б.- 2006г.

Похожие работы на - Устройство для измерения давления фундамента на грунт

 

Не нашли материал для своей работы?
Поможем написать уникальную работу
Без плагиата!
Без нейросетей!