|
RB/R0
|
B, Тл
|
|
1.5
|
0.1
|
|
3.5
|
0.5
|
|
7
|
1
|
Магниторезисторы - это электронные компоненты, действие
которых основано на явлении измерения электрического сопротивления полупроводника
(или металла) при воздействии на него магнитного поля.
Основные преимущества магниторезисторов по сравнению с
другими преобразователями физических величин - это простота обеспечения
практически идеальных механической, электрической, тепловой и других видов
развязки измерительных и управляющих цепей от объектов контроля. Кроме того,
магниторезисторам свойственны высокие быстродействие, чувствительность и
надёжность, малые энергопотребление и габариты, а также небольшая стоимость.
б) преобразователь "сопротивление-напряжение" (ПСН)
Состоит из источника тока выполненного на полевом транзисторе
VT1 типа КП103И и
операционного усилителя DA4 типа OPA130.
Падение напряжения на магниторезисторе, определяемое заданным
током усиливается до необходимого уровня операционным усилителем. На выходе ОУ
необходимо иметь напряжение в 0,1В при значении магнитной индукции 0.1 Тл. При
этом сопротивление магниторезистора будет 75 Ом. Однако магниторезистор имеет
начальное сопротивление R0 (50Ом) в отсутствии магнитного поля. Значит на входе ОУ
будет присутствовать некое значение напряжения смещения, которое подлежит
компенсации. Для этого служит подстроечный резистор R7 типа СП5-24-1-100кОм ±5%.
Необходимое значение коэффициента усиления ОУ:
=Uвых/Uвх= (R5/R6+1) =100мВ/2,5мВ=40
Выбираем R5 типа С2-29В-0.125-39кОм±0.1%;
R6 типа С2-29В-0.125-1кОм±0.1%;
Задаем ток источника тока 0.1 ма.
Для этого на передаточной характеристике транзистора проводим
нагрузочную прямую истокового резистора через начало координат и точку передаточной
характеристики транзистора с необходимыми координатами Uзи и Iс (рис.3.5.2).
С учетом того, что истоковый резистор R4 вводится в схему ООС по
выходному току, стабильность параметром данной схемы будет намного выше.
Определим расчетное значение резистора R4:
4=Uзи/Iсзад
(3.5.1), R4=1.5В/0.1ма=15кОм
Выберем подстроечный многооборотный резистор - СП5-24-1-22кОм
±5%
рис.3.5.2
ОУ OPA130 микромощный прецизионный полевой ОУ
имеет следующие параметры:
Предельное напряжение питания, В (мин. - макс.) ……………….2.5-18
Потребляемый ток (макс.), ма …………………………………….0.5
Напряжение смещения, (тип.) мВ ……………………………. ….0.05
Ток смещения, пА (макс.) …………………………. ……………. 20
Обозначение и типовая схема включения приведены на рис.3.5.3 и
3.5.4 соответственно.
рис.3.5.3 Обозначение ОУ
рис.3.5.4
в) формирователь логических сигналов
Вырабатывает сигнал логической единицы для блока №3 при превышении
значения магнитной индукции 0.05 Тл.
Состоит из ОУ DA1, источника
опорного напряжения DA3 для компаратора DA2. При превышении напряжения на выходе DA1 (это произойдет при B=0.05 Тл) 2.048
В (напряжение источника опорного напряжения) компаратор DA3 сформирует на выходе напряжение логической единицы.
Сигнал на DA1 поступает с выхода прецизионного
усилителя DA4. По сколько нет необходимости применять
в качестве DA1 прецизионный усилитель, то выберем
распространенный ОУ типа КР140УД1208. Он представляет собой микромощный
многофункциональный операционный усилитель с регулируемым потреблением тока, с
внутренней частотной коррекцией и защитой выхода от короткого замыкания.
На рис.3.5.5 показан корпус, на рис.3.5.6 условное графическое
обозначение микросхемы, на рис.3.5.7 типовая схема включения.
Сопротивление R3 задает
потребляемый ОУ ток. Выберем рекомендуемый номинал для обеспечения
потребляемого тока 0.03 мА - С2-29В-0.125-1МОм±1%;
Необходимый коэффициент усиления:
=Uвых/Uвх= (R1/R2+1) =2.048В/0.05В=40
Выбираем R1: С2-29В-0.125-39кОм±0.1%;
R2: С2-29В-0.125-1кОм±0.1%;
Назначение выводов КР140УД1208:
,5 - балансировка;
- вход инвертирующий;
- вход неинвертирующий;
- напряжение питания - Uп;
- выход;
- напряжение питания +Uп;
- задающий ток;

Источник опорного напряжения выполнен на микросхеме DA3 типа LM4130C фирмы National
Semiconductor. Он обеспечивает образцовое напряжение
2.048В для компаратора
DA2. Погрешность
выходного напряжения не превышает 0.1%. Максимальный потребляемый ток 75 мкА.
Типовая схема включения приведена на рис.3.5.8.
Рекомендуемые номинала конденсаторов С1=10 мкФ и С2=0.1 мкФ.
Выберем С1 типа К50-35-25В-10мкФ, С2 типа К73-24-63В-0.1мкФ ОЖ0.461.104 ТУ.
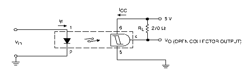
Компаратор DA2 выбран типа LM139 фирмы STMicroelectronics.
Электрические характеристики:
Напряжение питания ……………………………………………. (2-36) В
Максимальный потребляемый ток ……………………………….2 мА
Передаточная характеристика показана на рис.3.5.9.
рис.3.5.9
На рис.3.5.10 показано согласование компаратора с КМОП
микросхемами.
Выберем резистор R8 типа С2-29В-0.125-100кОм±1%.
г) преобразователь "напряжение-код” (ПСК)
Выполнен на микросхеме DA5 - ICL7107 (К572ПВ5А).
Микросхема представляет собой БИС интегрирующего АЦП.
Предназначена для применения в измерительной аппаратуре различного назначения.
Совместно с ИОН, несколькими резисторами и конденсаторами БИС выполняет функцию
АЦП двойного интегрирования с автоматической коррекцией нуля и определением
полярности входного сигнала. Выполнена в объёме одного кристалла по технологии
КМОП-структур с поликремниевыми затворами и содержит 1126 интегральных
элементов. Конструктивно оформлена в пластмассовом корпусе типа DIP40 (рис.3.3.4). Масса микросхемы не превышает 6,5 г.
Основные параметры микросхемы:
Номинальное напряжение питания ………………………….4.5 В
Опорное напряжение ………………………………………….0.1.1В
Максимальный потребляемый ток ………………………… 1.8мА
Входное напряжение ……………………………………… - 1,999.1,999 В
Результат преобразования в АЦП двойного интегрирования
представляется цифровым кодом, эквивалентным среднему значению напряжения на
аналоговом входе, преобразуемому за фиксированный интервал времени. Цифровая
информация на выходе АЦП представляется в специальном коде для управления
семисегментными жидкокристаллическими индикаторами (ЖКИ).
Принцип двойного интегрирования заключается в следующем. В
соответствии с этим принципом в первом такте цикла преобразования производится
интегрирование - накопление интеграла от некоторого входного сигнала, а затем
во втором также выполняется операция "разынтегрирования" - считывание
накопленного интеграла путём подачи на вход интегратора другого входного
сигнала.
Диаграмма изменения напряжения Uи на выходе неинвертирующего интегратора при реализации принципа
двухтактного интегрирования
В первом такте длительностью Т1 напряжение Uи изменяется от некоторого начального уровня (в частном случае от
нуля) до значения Uм. Во втором такте длительностью Т2
происходит обратное изменение Uи - от Uм до исходного уровня. Накопление интеграла (в течение Т1)
происходит при подаче на вход интегратора напряжения Uвх. и = U1, а считывание (Т2) - при подаче
напряжения Uвх. и = U2.
Суммарное приращение интеграла за цикл интегрирования равно нулю,
поэтому можно записать
1T1/t+U2T2/t=0
где t - постоянная
времени интегратора. Очевидно, что напряжения U1 и U2 должны иметь различную полярность, а
соотношение длительностей тактов определяется равенством Т2/Т1 = - U1/U2
Текущие показания цифрового табло пропорциональны соотношению
(3.5.3):
=1000* (Uвх/Uоп)
(3.5.3)
Диапазон входных напряжений зависит от опорного напряжения и
определяется соотношением (3.5.4):
Uвх. max=±1.999*Uоп (3.5.4)
В данном контроллере принята цена деления младшего разряда 0.1
мТл. Поэтому показания цифрового индикатора HG1 определятся выражением:
=100* (Uвх/Uоп)
[мТл]
Выберем опорное напряжениеUоп=0.1
В. В соответствии с формулой (3.5.4) диапазон входных напряжений - Uвх=±199 мВ.
В состав БИС входит также тактовый генератор. Частота следования
тактовых импульсов fT определяется внешними элементами RTГ и CTГ. Для
максимального подавления сетевых помех (с частотами кратными 50Гц) частота
повторения fT также должна быть кратна 50Гц и выбрана
из типового ряда значений 40, 50, 100, 200кГц. Номиналы частотозадающих
элементов тактового генератора рассчитывают по формуле (3.5.3):
ТГ=0.45/fT*RTГ
(3.5.5)
Кроме того, нужно учитывать, что цикл преобразования АЦП
составляет 4000 периодов тактовых импульсов, иначе говоря, эта длительность
составляет 16000/fT. Если установить fT=40 кГц, то цикл преобразования будет длиться 0.4 с; из них 0.1 с
составит первый такт интегрирования, 0.0.2 с - второ1 такт интегрирования и
0.3.0.1 с - нулевой такт (автокоррекция). При расчете частотозадающей цепи
задаются частотой fT и сопротивлением резистора RTГ.
Выберем fT=50 кГц и RTГ=470 кОм. Из формулы (3.5.3) получим емкость конденсатора CTГ=100 пФ.
Транзистор VT2, включенный
инвертором, служит для индикации в цифровом индикаторе HG1 знака десятичной
точки. Остальные элементы АЦП были выбраны исходя из рекомендуемых
изготовителем.
На рис.3.5.5 показана типовая схема включения микросхемы.
д) индикатор
Жидкокристаллические индикаторы (ЖКИ) являются пассивными
индикаторами, преобразующими падающий на них свет. Они обладают рядом
достоинств, к числу которых относятся:
малая потребляемая мощность (для ЖКИ на основе твист-эффекта
удельная мощность потребления несколько единиц мкВт/см2);
низкие рабочие напряжения (1,5…5 В) и хорошая совместимость с
КМОП-микросхемами;
удобное конструктивное исполнение - плоская форма экрана и
ограниченная толщина индикатора (до 0,6 мм);
возможность эффективной индикации в условиях сильной внешней
засветки;
большая долговечность (около 10 - 15 лет непрерывной работы).
Основные недостатки - сравнительно низкое быстродействие,
ограниченный угол обзора и необходимость внешнего освещения.
В качестве ЖКИ-индикатора использован четырехразрядный цифровой
индикатор ИЖКЦ1-4/8 предназначенный для отображения информации в виде цифр от 0
до 9 в каждом из четырех разрядов и десятичного знака после каждого из первых
трех разрядов.
Оформление индикатора стеклянное, плоское, выводы ленточные под
распайку.
Основные параметры:
Высота знака, мм ……………………………………………….8
Управляющее напряжение, В:
наибольшее ……………………………………………………15
наименьшее …………………………………………………….4
Ток индикатора, мкА ………………………………………….7.12
Время реакции, мс …………………………………………….50.250
Время релаксации, мс ……………………………………… 150.300
Частота управляющего напряжения, Гц …….……………….30.3000
2.6
Конструкция контроллера
Конструкция контроллера представляет собой плату печатную,
вдвижную. Элементы контроллера размещены на двухсторонней печатной плате из
фольгированного стеклотекстолита СФ-2, ГОСТ 10316-78, толщиной 2 мм. Размеры
платы 100х150 мм. Плата изготовлена фотохимическим методом, травление по
"позитиву". При таком методе обеспечивается минимальная ширина
проводников 0.3 мм, зазоры до 0.2 мм и точность контура до 0.05 мм.
Рекомендуется групповой метод пайки погружением в расплавленный припой.
Последовательность операций следующая:
1.
Обезжиривание платы;
2. Наклейка маски;
. Пайка;
4.
Снятие маски;
5.
Отмывка флюса;
6.
Сушка;
7.
Контроль.
Такой способ обеспечивает одновременную пайку всех
соединений, но требует строгого соблюдения времени пайки и температуры.
Рекомендуемый тип припоя - ПОС 61 ГОСТ 21930-76. Качество паяных соединений
должно определяться по следующим признакам: паяная поверхность должна быть
светлой или светло-матовой, без темных пятен и посторонних включений.
Оборудование и оснастка. применяемый при пайке, должны обеспечивать:
автоматическое поддержание и контроль температуры припоя с погрешностью ±5`C; контроль времени
контактирования выводов с расплавленным припоем; контроль расстояния от тела
корпуса до границы припоя по длине выводов.
После настройки плату рекомендуется покрыть специальным лаком
УР-9130 ТУ6-10.577.
Лицевая панель крепится к плате с помощью двух алюминиевых
уголков, закрепленных винтами М4 и выполнена из легкого алюминиевого сплава АЛ2
толщиной 2 мм. Уголки выполняются из дюралюминия Д16Т, латуни или бронзы
толщиной около 0.5 мм. По боковым сторонам платы прикреплены направляющие при
помощи стяжных винтов М3. Лицевую панель и направляющие покрывают лаком ПЭ 9131
ТУ 101860-82.
На лицевой панели сделаны отверстия под три подстроечных
резистора, кнопку сброса SB1, индикатор и под крепеж конструкции в общую
стойку.
С другой стороны крепится двумя винтами М4 21-контактный
разъем-вилка типа РШ2Н-2-21. Разъем имеет направляющие и специально
предназначен для устройств промышленной электроники.
Приложение
ПЕРЕЧЕНЬ ЭЛЕМЕНТОВ К ПРИНЦИПИАЛЬНОЙ СХЕМЕ