Проектирование дискретного транзистора
СОДЕРЖАНИЕ
1.
ВВЕДЕНИЕ
2.
АНАЛИЗ
ТЕХНИЧЕСКОГО ЗАДАНИЯ
3.
УКРУПНЕННЫЙ ТЕХ.
ПРОЦЕСС ИЗГОТОВЛЕНИЯ
4.
РАСЧЕТ ОСНОВНЫХ
ПАРАМЕТРОВ ТРАНЗИСТОРА
5.
ЗАКЛЮЧЕНИЕ
6.
СПИСОК ЛИТЕРАТУРЫ
ПРИЛОЖЕНИЕ
. ВВЕДЕНИЕ
Бурное развитие полупроводниковой электроники началось в конце 50-х
годов. В настоящее время без полупроводниковой электроники немыслимы освоение
космоса и океанских глубин, атомная и солнечная энергетика, радио и
телевещание, компьютеризация и автоматизация, исследования.
Появление микроэлектроники связано с достижениями в области
фундаментальных и прикладных наук. Первые интегральные микросхемы, созданные в
начале 60-х годов в результате успехов в области полупроводниковой и пленочной
электроники, постоянно совершенствовались и в настоящее время являются элементной
базой для микро миниатюризации радиоэлектронной аппаратуры.
Основное достоинство микроэлектронной технологии - групповые интегральные
методы технологии , основанные на локально - структурных преобразованиях
полупроводникового материала.
Особенностью современного этапа развития промышленной электроники
является все более тесная интеграция ее с электроникой и микроэлектроникой.
Изделия полупроводниковой электроники образуют элементную базу вычислительной
техники, автоматики, радиоэлектроники и силовой преобразовательной техники.
Широкое внедрение полупроводниковой электроники во все сферы деятельности
человека выделило ее в самостоятельный раздел науки и техники широким спектром
областей знаний, каждая из которых сложна для изучения, а взаимосвязи между областями
являются еще более сложными. Для успешного схемотехнического проектирования
инженеру необходимо обладать неким «интегрированным знанием» из различных
областей науки и техники, охватывающих вопросы полупроводниковых материалов,
проектирования и производства полупроводниковых приборов и интегральных
микросхем. Для глубокого понимания работы полупроводникового прибора необходимо
уметь выражать его основные электрические параметры через концентрацию
примесей, вертикальную геометрию, топологию и т. д.
Обладание указанными знаниями является необходимой предпосылкой для
грамотного выбора элементной базы и построения устройств и систем на его
основе.
. АНАЛИЗ
ТЕХНИЧЕСКОГО ЗАДАНИЯ
Анализируя техническое задание можно сделать вывод, что для разработки
предлагается транзистор большой мощности, высоковольтный. В техническом задании
указано большое напряжение пробоя перехода коллектор - база. Для изготовления
используют планарно-эпитаксиальную технологию.
Высокоомную область коллектора целесообразно получить с помощью
выращивания эпитаксиального слоя, что позволяет получить транзистор с малой
емкостью p-n перехода коллектор-база.
Для обеспечения заданного рабочего тока оптимальной формой эмиттера
является П-образная гребенка.
. УКРУПНЕННЫЙ ТЕХНИЧЕСКИЙ ПРОЦЕСС ИЗГОТОВЛЕНИЯ
)
Подготовка подложки к технологической операции. Шлифовка поверхности с двух
сторон до 14-ого класса. Очистка шлифованной поверхности механическими и
химическими способами.
В
результате этого обеспечивается поверхность с остаточными загрязнениями не
более 10 -7 - 10 -9 г/см 2.
).
Эпитаксиальное наращивание n слоя (в среде водорода с небольшим содержанием
SiCl4, а так же газообразных соединений доноров PH3 или PCI3).
После
этого производится подготовка пластины к термическому окислению в среде
кислорода О2. Окисление происходит в 2-х средах в 3 этапа:
·
в сухом О2
(скорость роста SiO2 при t = 1000˚С составляет 0.5 мкм за 1800 минут)
·
во влажном О2
(скорость роста SiO2 при t = 1000˚С составляет 0.5 мкм за 70 минут)
·
в сухом О2
3) Производится фотолитография для формирования области базы, (процесс
создания защитной маски, необходимой для локальной обработки при формировании
структуры транзистора).
Технология фотолитографического процесса.
1. Очистка поверхности.
2.
Нанесение
фоторезиста (в центрифуге)
3.
Сушка
фоторезиста.
4.
Совмещение
фотошаблона с подложкой.
5.
Экспонирование с
помощью засветки ультрафиолетовой лампой (от 1сек до 2 мин)
6.
Проявление -
химическая обработка.
7. Загубливание - для окончательной
полимеризации оставшегося рельефа фоторезиста.
8.
Травление оксида
кремния.
9.
Удаление
фоторезиста.
4) Затем осуществляется процесс диффузии бора (простой и недорогой) в 2
этапа (Т=1100 о С 30. 60. 30.):
1. введение примеси.
2.
1) разгонка (обычно совмещают процесс
разгонки с окислением).В процессе разгонки бор распространяется в глубь и в
стороны.
Скрытый p-n переход под слоем окисла предотвращает протекание обратных
токов. Т.к. в начальный момент окисел в области поверхности базы отсутствует, а
его рост происходит равномерно, то в этом месте образуется ступенька.
). Подготовка пластины к фотолитографии под эмиттерную область. Нанесение
фоторезиста для П-образной структуры. Диффузия фосфора и окисление.
)
Очистка поверхности пластины. Проведение фотолитографии под металлизацию.
транзистор высоковольтный напряжение фотолитографический
Нанесение
металлического слоя (Al). Очистка поверхности. Фотолитография по металлу.
Травление металла.
КОНЦЕНТРАЦИОННЫЙ
ПРОФИЛЬ
.
РАСЧЕТ ОСНОВНЫХ ПАРАМЕТРОВ ТРАНЗИСТОРА
Для
расчетов применялась система «MathCad 7 Professional», поэтому в дальнейшем
приводятся результаты из него.
Определим
пробивное напряжение для данного транзистора, которое выбирается исходя из
20%-ого запаса по обеспечению надежности и 2-х кратного запаса исходя из
разброса удельного сопротивления, по формуле:
Соответствующая
этому напряжению концентрация определяется из графика.
Анализируя
график зависимости пробивных напряжений резких p-n переходов от концентрации
примеси и радиуса напряжений, можно увидеть, что необходимый радиус закругления
p-n перехода составляет xj = 20 мкм. Для исключения радиуса закругления 20 мкм
мы используем расширенную металлизированную обкладку базы.
Выбираем
топологию транзистора и его параметры:
Топология
транзистора и его параметры
Расширение
коллекторного перехода:
Ширину
эпитаксиального слоя выбираем исходя расширения ОПЗ:
т.
е. увеличиваем до 8 mkm
=
8*10 - 4 , hэ = 3*10 - 4 , Wb = 3*10 - 4+ hэ + Wb = 14*10 - 4
14
К Э Ф 2,5
400 ЭКЭС 0,01
Минимальная площадь эмиттера определяется из критической плотности тока
коллектора, при которой коллекторный p-n переход оказывается под нулевым
смещением из-за насыщения дрейфовой скорости носителей заряда Vдрнас=µ(Е)*Е.
( из графика зависимости дрейфовой скорости электронов от напряженности
электрического поля в кремнии.)
Определяем периметр эмиттера.
По эмпирическому соотношению находим минимальный размер периметра для
заданного тока.
Составляем пропорцию:
мкм - (0.8-1.2) мА П min =
Пmin - 50 мА
Определенный ранее периметр П = 433 < 1250, значит он не подходит.
Находим оптимальную форму эмиттера исходя из условия : периметр должен
быть больше 1250 mkm.
При заданном значении тока и периметра оптимальной формой эмиттера
является П-образная форма. Посчитаем получившийся эмиттера: Пэ=1280 mkm.
Определим сопротивление коллектора. В проектируемом транзисторе коллектор
включает в себя кроме основной высокоомной области (n) еще и скрытый слой (n+).
Но его сопротивление невелико.
Находим сопротивление коллектора:
Для расчета сопротивления базы разделим область прохождения тока из базы
в эмиттер на части:
Полученные
части разделим 3 области.
ая
область - вносит незначительный вклад в общее сопротивление базы из-за высокой
концентрации носителей заряда. А области I и II обеднены ими из за эффекта
оттеснения.
Далее
приведен полный расчет базовой области из системы «MathCad 7 Professional»
Определяем
характеристические длины в распределении доноров и акцепторов, определяем
диффузионную длину и коэффициент диффузии носителей заряда в эмиттере, базе и
коллекторе:
Определяем
β:
Определяем
нормальный и инверсный коэффициенты передачи тока:
Находим ширину эмиттерного
p-n перехода при прямом и обратном смещении:эpn_obr - ширина эмиттерного p-n
перехода при обратном смещении.
Определим емкости p-n
переходов (к - б) и (э - б)
Находим Ukbmax b Uэbmax
[9,10,11]:
Вычислим предельную рабочую
частоту транзистора и время рассасывания ННЗ в транзисторе.:
Рассчитаем дифференциальные
сопротивления коллекторного и эмиттерного p-n переходов:
Рассчитаем диффузионные
емкости коллекторного и эмиттерного p-n переходов:
Вычислим коэффициент обратной
связи по напряжению:
Найдем Uкэmax:
Определим напряжение
насыщения:
Чтобы уменьшить рассчитанное
напряжение насыщения до 0.269 В следует увеличить стороны квадрата коллектора в
3 раза.
СХЕМА ЗАМЕЩЕНИЯ ТРАНЗИСТОРА
ТОПОЛОГИЧЕСКИЕ СЛОИ И ПРИМЕНЯЕМЫЕ МАТЕРИАЛЫ
|
Топологические слои и элементы структуры
|
Применяемые материалы
|
|
наименование
|
толщина, мкм
|
тип проводимости
|
Наименование
|
Обозначение стандарта
|
|
коллектор высокоомный
|
8
|
n
|
100 14КЭФ 2.5 400ЭКЭС0.01
|
|
|
базовая область
|
6
|
p
|
Флюбор
|
ГОСТ 6-02-4-83
|
|
эмиттерная область
|
n+
|
фосфор 3-х хлористый ЕТО.035.029 ТУ
|
ОС.48-4
|
|
контактные площадки и проводники
|
|
|
алюминий А999
|
ГОСТ 11069-74
|
|
защита
|
|
|
лак электроизоляционный АД 9103-42
|
ТУ 6-19-247-84
|
|
термический окисел
|
0.7
|
|
|
|
|
0.35
|
|
|
|
|
|
|
|
|
ТАБЛИЦА ОСНОВНЫХ ГЕОМЕТРИЧЕСКИХ ПАРАМЕТРОВ КРИСТАЛЛА ТРАНЗИСТОРА
|
Обозначение параметра
|
Значение параметра
|
Наименование параметра
|
|
lэ
|
260*10 -4 см
|
сторона квадрата эмиттера
|
|
hэ
|
3*10 -4 см
|
толщина эмиттера
|
|
hb
|
6*10 -4 см
|
толщина базы
|
|
hk
|
8*10 -4 см
|
толщина коллектора
|
|
Wb
|
3*10 -4 см
|
толщина активной базы
|
|
lb
|
320*10 -4 см
|
сторона квадрата базы
|
|
Sэ
|
5.8*10 -4 см 2
|
площадь эмиттера
|
|
Sb
|
1.024*10-3 см 2
|
площадь базы
|
|
Sk
|
1.024*10-3 см 2
|
площадь коллектора
|
|
Spn
|
1.024*10-3 см 2
|
площадь p-n перехода коллектор-база
|
|
hn+
|
400*10 -4 см
|
толщина скрытого слоя
|
|
Zэ
|
120*10 -4 см
|
Ширина полоски эмиттера
|
|
Rэ
|
60*10 -4 см
|
Длина полоски эмиттера
|
|
|
20*10 -4 см
|
расстояние между эмиттером и базой
|
|
1*10 -4 см 2
|
Площадь контакта под эмиттер
|
|
1*10 -4 см 2
|
Площадь контакта под базу
|
|
14*10 -4 см
|
глубина залегания коллекторной обл. n
|
Результаты вычислений
|
Параметр
|
Результат
|
|
|
Ik max
|
0,3 А
|
Максимальный ток коллектора
|
50
|
Нормальный коэффициент передачи тока:
|
|
BI
|
0,18
|
Инверсный коэффициент передачи тока
|
|
Ckb бар
|
21 пФ
|
Барьерная емкость коллекторного p-n перехода
|
|
Cэb бар
|
11 пФ
|
Барьерная емкость эмиттерного p-n перехода
|
|
Ck диф
|
1,6 пФ
|
Диффузная емкость коллекторного p-n перехода
|
|
Cэ диф
|
24 нФ
|
Диффузная емкость эмиттерного p-n перехода
|
|
rdk
|
570 кОм
|
Дифференциальное сопротивление коллектора
|
|
rdэ
|
0,083 Ом
|
Дифференциальное сопротивление эмиттера
|
|
эk
|
-33*10 - 6
|
Коэффициент обратной связи по напряжению
|
|
Ukэ max
|
75 В
|
Максимальное обратное напряжение
|
|
Uэb max
|
8,9 В
|
Максимальное обратное напряжение
|
|
Ukb max
|
167 В
|
Максимальное обратное напряжение
|
|
Ukэ нас
|
0,269 В
|
Напряжение насыщения
|
|
Ik0
|
10 мкА
|
Обратный тепловой ток коллекторного p-n перехода
|
|
Iэ0
|
10 мкА
|
Обратный тепловой ток эмиттерого p-n перехода
|
|
rk
|
2,2 Ом
|
Омическое сопротивление области коллектора
|
|
rb
|
65 Ом
|
Омическое сопротивление области базы
|
|
ft
|
156 мГ
|
Предельная частота
|
|
tp
|
0,21 мкС
|
Время рассасывания ННЗ в транзисторе
|
. ЗАКЛЮЧЕНИЕ
В данной курсовой работе мы проектировали дискретный транзистор с
заданными параметрами. После того, как они были рассчитаны, мы можем сделать
выводы, о возможных областях применения дискретный схем, частью которых он
может являться.
Кремниевый эпитаксиально-планарный транзистор n-p-n. Предназначен для
работы в усилителях, высокочастотных генераторах, переключающих устройствах
радиоэлектронной аппаратуры.
Поиск в справочной литературе транзистора, который мог бы быть примерным
аналогом спроектированного транзистора, показал, что среди транзисторов
отечественного производства, нет близких аналогов. Хотя наиболее близки были
транзисторы из серии КТ603.
ПРИЛОЖЕНИЕ
Рис. 1П. Варианты топологии n-p-n транзистора с одним (а,б) и несколькими
(в - д) базовыми контактами.
Рис. 2П. Диффузионный профиль поперечного сечения интегрального
транзистора для цифровых схем с минимальными размерами 3-5 мкм.
Рис. 3П. Диффузионный профиль поперечного сечения интегрального транзистора
для усилительных схем с минимальными размерами 5-10 мкм
Рис. 4П. Сводная таблица формул для расчета сопротивления элементов
разных форм и размеров. Стрелками указано направление тока.

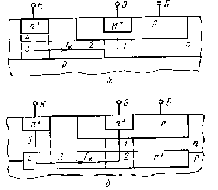
Рис. 6П. Структура транзистора n-p-n типа для расчета сопротивления тела
коллектора без n+-скрытого слоя (а) и с n+-скрытым слоем (б).
Рис. 7П. Зависимости пробивных напряжений резких p-n переходов от
концентрации примеси и радиуса закругления.
Рис. 8П. Структура n+-p-n-n+ (а), профиль легирования (б) в мощном
транзисторе с эпитаксиальной базой (N - концентрация примеси; х - расстояние от
поверхности эмиттера).
Рис. 9П. Структура n+-p-n-n+ (а), профиль легирования (б) в мощном
транзисторе с высоким сопротивлением коллекторной области (N -концентрация
примеси; х -расстояние от поверхности эмиттера).
Рис. 10П. Структура n+-p-n-n+ (а), профиль легирования (б) в мощном
транзисторе с буферной зоной n-типа в коллекторе (N -концентрация примеси; х -
расстояние от поверхности эмиттера).
Рис. 11П. Структура n+-p-n-n+ (а), профиль легирования (б) в мощном
транзисторе, устойчивом к вторичному пробою. (N -концентрация примеси; х -
расстояние от поверхности эмиттера).
Рис. 12П. Основные этапы изготовления транзистора, устойчивого к
вторичному пробою: а -исходная подложка; б -тройная эпитаксия; в -формирование
диф фузионной p -базы; г -окисление и диффузия (формирование n+ -эмиттера); П -
подложка.
Рис. 13П. Зависимости пробивного напряжения и ширины ОПЗ от концентрации
примеси в высокоомной области для резких кремниевых p-n переходов.
Рис. 14П. Подвижность электронов и дырок в Si при 300 К в
зависимости от суммарной концентрации примесей.
Рис. 15П. Зависимость дрейфовой скорости электронов и дырок от
напряженности электрического поля в кремнии.
Рис. 16П. Зависимость удельной проводимости кремния p -типа от
температуры (цифры стоящие у кривых, означают концентрацию акцепторов)
Рис. 17П. Зависимость удельной проводимости кремния n -типа от
температуры (цифры стоящие у кривых, означают концентрацию доноров)