Преобразователь амплитуды вибраций вибрационного конвейера

  • Вид работы:
    Курсовая работа (т)
  • Предмет:
    Информатика, ВТ, телекоммуникации
  • Язык:
    Русский
    ,
    Формат файла:
    MS Word
    1,56 Мб
  • Опубликовано:
    2012-08-30
Вы можете узнать стоимость помощи в написании студенческой работы.
Помощь в написании работы, которую точно примут!

Преобразователь амплитуды вибраций вибрационного конвейера

ФГБОУ ВПО "Госуниверситет УНПК"

Кафедра: " Приборостроение, метрология и сертификация"









Пояснительная записка

к курсовому проекту по дисциплине:

"Физические основы получения информации"

Тема: "Преобразователь амплитуды вибраций вибрационного конвейера"










Орел, 2011г.

Аннотация

Целью данного курсового проекта являлось проектирование преобразователя вибраций.

Эта цель была осуществлена по плану:

обзор различных типов преобразователей вибраций

выбор конкретного типа преобразователя

расчет параметров преобразователя

Обзор различных типов преобразователя производился на основе рассмотрения литературы, связанной с темой курсового проекта. В результате обзора был выбран конкретный тип преобразователя для проектирования. Для измерения параметров вибраций вибрационного конвейера требовалось получить преобразователь, который мог бы измерять в условиях цеха по выплавке стекла и обладал следующими характеристиками:

Диапазон измеряемого виброускорения: g - 14 g

Диапазон измеряемой амлитуды виброперемещения на частоте 110 Гц: 20 - 300 мкм.

Минимальная чувствительность по напряжению: 0,5 В/g

Температурный диапазон: от 15 до 50 ° .

Суммарная погрешность преобразователя: не превышает 2 .

Цель курсового проекта была достигнута - был разработан преобразователь вибраций с параметрами, удовлетворяющими заданным.

Содержание

Введение

.        Обзор понятий об измеряемой величине

.1       Классификация вибрационных машин

.2       Характеристики вибраций

.3       Условия проведения измерений

.        Обзор измерительных преобразователей вибрации

.1       Основные методы измерения вибраций

.2       Оптический преобразователь параметров вибрации

.3       Двухкомпонентный пьезоэлектрический датчик ускорения

.4       Резистивный датчик

.5       Емкостной датчик амплитуды вибраций

.6       Пьезоэлектрический датчик ускорения

.7       Анализ рассмотренных преобразователей

.        Расчет преобразователя

.1       Выбор материала пьезоэлемента

.2       Расчет инерционной массы преобразователя

.3       Подбор и расчет измерительной цепи преобразователя

.4       Расчет функции преобразования

.5       Подбор крепления преобразователя

.6       Расчет чувствительности преобразователя

.7       Анализ и расчет погрешностей преобразователя

.8       Вывод на основе результатов расчетов

.9       Характеристики разработанного преобразователя

Заключение

Список использованных источников

Государственный университет - учебно-научно-производственный комплекс

Задание

1. Тема курсового проекта "Преобразователь амплитуды вибраций вибрационного конвейера"

2. Исходные данные

3. Срок сдачи студентом законченного проекта

4. Содержание расчетно-пояснительной записки (перечень подлежащих разработке вопросов)

Введение; 1 Определение понятия измеряемой физической величины; 2 Обзор литературы по рассматриваемой теме; 3 Специальная часть: Обоснование выбранной схемы устройства преобразователя, объяснение принципа действия и математическое описание, происходящих в нем преобразований; расчет: элементов конструкции, влияющих на характеристики преобразователя; характеристик преобразования в статическом и динамическом режимах. Погрешностей преобразователя. Выбор и обоснование схемы включения преобразователя, объяснение ее принципа действия, расчет и выбор элементов схемы; расчет функции преобразования преобразователя вместе со схемой включения (номинальной и с учетом допусков на элементы преобразователя и электрической схемы). Расчет основных параметров преобразователя (со схемой включения): коэффициента преобразования, чувствительности, нелинейности; времени установления показаний. Заключение. Список использованных источников.

. Перечень графического материала (с точным указанием обязательных чертежей)

-обзор возможных типов преобразователей, обеспечивающих преобразование заданной физической величины - 1 лист формата А1

Схема устройства проектируемого преобразователя - 1 лист формата А2;

Электрическая схема включения преобразователя - 1 лист формата А2;

графики функций преобразования преобразователя со схемой его включения - 1 лист формата А2.

схема устройства, реализующего выбранный метод -1 лист формата А2;

5. Дата выдачи задания:

Руководитель

Введение

Вибрационные машины получают все более широкое применение в самых разнообразных отраслях промышленности. Расширяется область применения зарекомендовавших себя ранее вибромашин, вновь создаются вибромашины для осуществления новых технологических операций. Это обусловлено конструктивной простотой вибромашин и во многих случаях более высокой, чем у обычных машин, технологической эффективностью.

Применение вибрационной техники в промышленности в ряде случаев позволяет коренным образом усовершенствовать технологические процессы. Примерами могут служить вибровыпуск руды, повысивший безопасность и эффективность труда в рудной промышленности, и вибрационная обработка деталей в машиностроении, позволившая автоматизировать процесс и повысить качество изделий. При подземной разработке рудных месторождений вибротранспортирующие машины используются для механизации таких основных работ, как выгрузка (выпуск), доставка и погрузка взорванной руды. При этом существенно повышается производительность этих процессов, возрастает безопасность работ, улучшается качество и облегчается разделка "негабаритных" кусков руды. Следовательно эта отрасль требует контроля параметров вибрации и создания датчиков, с помощью которых осуществляется этот контроль.

1. Обзор понятий об измеряемой величине

1.1 Классификация вибрационных машин

Вибрационные машины обладают рядом достоинств перед другими транспортирующими машинами: простота оборудования, незначительный износ рабочих органов, небольшие затраты на содержание и ремонт. Вибрационные транспортирующие машины (в дальнейшем для сокращения будем называть их ВТМ) для перемещения насыпных и штучных грузов успешно используются в самых различных отраслях промышленности. Получают развитие также транспортно-технологические машины. Созданию этих машин предшествовали глубокая разработка вопросов теории, методов расчета, а также их экспериментальные исследования.

В соответствии с производственным назначением различают транспортирующие, погрузочные и бункерующие вибрационные машины, а также вспомогательное вибрационное оборудование. В число вспомогательных вибрационных устройств входят дозаторы, побудители для бункеров и желобов, уплотнители насыпных грузов, разгрузчики железнодорожных вагонов, рыхлители смерзшихся и слежавшихся грузов, очистители грузовых вагонов и рудничных вагонеток и устройства для очистки конвейерной ленты. Использование вспомогательного вибрационного оборудования дает известный эксплуатационный и экономический эффект, так как повышает уровень механизации ряда трудоемких вспомогательных работ.

В числе вспомогательных устройств прежде всего следует упомянуть комплекс оборудования для разгрузки, очистки транспортных средств и уплотнения в них перевозимых грузов. Интенсификация разгрузки и очистки подвижного состава локомотивного транспорта и кузовов автомашин, а также уплотнение загружаемых в них грузов способствуют увеличению производительности транспорта. Так, при уплотнении некоторых перевозимых насыпных грузов в процессе погрузки и при последующей после разгрузки вибрационной очистке транспортных средств возможно увеличение полезной емкости подвижного состава на 15-20%; применение вибрационных очистительных устройств на конвейерах повышает эксплуатационную надежность последних, особенно в условиях транспортирования налипающих и намерзающих грузов; виброразгрузочные приспособления ускоряют процесс разгрузки и тем самым дают возможность увеличивать оборачиваемость транспортных средств.

Вибрационная транспортирующая машина (ВТМ) состоит из колебательной системы, включающей в себя некоторое число масс, упругих связей и привода того или иного вида.

К первой группе отнесены машины с силовым приводом, т. Е. такие машины, в которых к ведущему звену прикладывается сила, изменяющаяся по определенному закону в зависимости от положения этого звена или от скорости его движения. Отличительной особенностью машин этой группы является то, что даже при наличии только одной степени подвижности закон движения грузонесущего органа не может быть задан кинематически и будет определяться динамическими свойствами системы. Иначе говоря при использовании силового привода могут быть созданы вибрационные машины с одной степенью подвижности.

Вторая группа представлена машинами с кинематическим приводом, у которых ведущее звено имеет вполне определенное абсолютное или относительное движение, зависящее только от геометрических размеров ведущего механизма.

Третья группа включает в себя машины с ударным приводом, в которых ведущее звено сообщает вибрации ведомому ударом.

Каждая группа вибрационных машин подразделяется на ряд подгрупп в соответствии с типом привода. Так, к первой группе относятся машины с электромагнитным и пневматическим приводом; вторая группа представлена инерционными, эксцентриковыми и гидравлическими машинами; третья группа - машинами с ударными кулачковыми, ударными инерционными и ударными электромагнитными вибраторами.

Амплитуда вибраций любого вибрационного конвейера во многом зависит не только от вибраций передаваемых приводом, но и от самого транспортируемого груза. В частности амплитуда будет так же зависеть от рода транспортируемого вещества, его массы, геометрической формы, плотности, влажности и многих других факторов. Так например если вещество обладает высокой удельной вязкостью, то оно будет способствовать затуханию колебаний, передаваемых приводом конвейера. Именно поэтому возникает задача измерения амплитуды вибраций вибрационного конвейера. Решение этой задачи во многом способствует автоматизации транспортировки грузов, облегчению труда рабочих цеха и позволяет сделать замеры амплитуды вибраций любых конвейеров, с любым транспортируемым грузом. Это еще раз подтверждает актуальность этой проблемы и нахождения путей ее решения.

.2 Характеристики вибраций

Вибрации, как физическая величина, характеризуются различными свойствами, например такими как виброскоростью, виброускорением, частотой колебаний, периодом колебаний, вибросмещением, угловой частотой, частотным диапазоном. Вибросмещение равно расстоянию от точки отсчета, или от положения равновесия. Помимо колебаний по координате (смещение), вибрирующий объект испытывает также колебания скорости и ускорения. Скорость представляет собой быстроту изменения координаты и обычно измеряется в м/с. Ускорение есть скорость изменения скорости и обычно измеряется в м/с2 или в единицах g (ускорение свободного падения). Как известно графиком смещения тела, испытывающего гармонические колебания, является синусоида. Виброскорость в этом случае подчиняется синусоидальному закону. Когда смещение максимально, скорость равна нулю, так как в этом положении происходит изменение направления движения тела. Отсюда следует, что временная реализация скорости будет сдвинута по фазе на 90 градусов влево относительно временной реализации смещения. Другими словами, скорость опережают по фазе смещение на 90 градусов. Вспомнив, что ускорение - это скорость изменения скорости, легко, по аналогии с предыдущим, понять, что ускорение объекта, испытывающего гармонического колебания, также синусоидально и равно нулю, когда скорость максимальна. И наоборот, когда скорость равна нулю, ускорение максимально (скорость изменяется наиболее быстро в этот момент). Таким образом, ускорение опережает по фазе скорость на 90 градусов.

В европейских странах принята международная система единиц и вибросмещение измеряют в микрометрах (мкм). Виброскорость обычно измеряют в м/с или в мм/с. Стандартными единицами измерения ускорения являются м/с2. 1g=9.81м/с2.

Процесс преобразования смещения в скорость или скорости в ускорение эквивалентен математической операции дифференцирования. Обратное преобразование ускорения в скорость и скорости в смещение называется интегрированием. Сегодня можно проводить эти операции внутри самих измерительных приборов и легко переходить от параметров измерения к другим. На практике, однако, дифференцирование приводит к росту шумовой составляющей сигнала, и поэтому оно редко применяется. Интегрирование, напротив, может быть осуществлено с высокой точностью с помощью простых электрических цепей. Это является одной из причин, почему акселерометры сегодня стали основными датчиками вибрации: их выходной сигнал можно легко подвергнуть однократному или двухкратному интегрированию и получить либо скорость, либо смещение. Интегрирование, однако, непригодно для сигналов с очень низкой частотой (ниже 1 Гц), так как в этой области уровни паразитного шума чрезвычайно увеличиваются и точность интегрирования падает. Как отмечалось выше, вибрационный сигнал смещения на определенной частоте может быть преобразован в скорость посредством дифференцирования. Дифференцирование сопровождается умножением амплитуды на частоту, поэтому амплитуда виброскорости на определенной частоте пропорциональна смещению, умноженному на эту частоту. При фиксированном смещении, скорость будет удваиваться с удвоением частоты, а если частота увеличится в десять раз, то и скорость умножится на десять.

Самый простой вид вибрации - это колебание или повторяющееся движение объекта около положения равновесия. Этот тип вибрации называется общей вибрацией, потому что тело перемещается как единое целое и все его части имеют одинаковую по величине и направлению скорость.

Колебательное движение твердого тела может быть полностью описано в виде комбинации шести простейших типов движения: поступательного в трех взаимно перпендикулярных направлениях (х, у, z в декартовых координатах) и вращательного относительно трех взаимно перпендикулярных осей (Ох, Оу, Оz). Любое сложное перемещение тела можно разложить на эти шесть составляющих. Поэтому о таких телах говорят, что они имеют шесть степеней свободы.

Представим себе некий объект, перемещения которого ограничены одним направлением, например, маятник настенных часов. Такая система называется системой с одной степенью свободы, т.к. положение маятника в любой момент времени может быть определено одним параметром - углом в точке закрепления.

Для описания и измерения механических вибраций используются следующие понятия: максимальная амплитуда (Пик) - это максимальное отклонение от нулевой точки, или от положения равновесия.

Размах (Пик-Пик) - это разница между положительным и отрицательным пиками. Для синусоидального колебания размах в точности равен удвоенной пиковой амплитуде, так как временная реализация в этом случае симметрична.

Среднеквадратическое значение амплитуды (СКЗ) - является важной характеристикой амплитуды вибрации. Для ее расчета необходимо возвести в квадрат мгновенные значения амплитуды колебаний и усреднить получившиеся величины по времени. Для получения правильного значения, интервал усреднения должен быть не меньше одного периода колебания. После этого извлекается квадратный корень и получается СКЗ. Для синусоидальной волны СКЗ в 1,41 раза меньше пикового значение, однако такое соотношение справедливо только для данного случая.

.3 Условия проведения измерений

Результаты измерений во многом зависят не только от правильного выбора метода измерения, квалификации людей, проводивших замеры, но и от условий проведения измерений, поскольку от условий во многом зависит выбор того или иного средства измерения. Измерения амплитуды вибраций вибрационного конвейера, транспортирующего стекольный песок, проводятся в условиях цеха по выплавке стекла.

То есть мы имеем температурный диапазон порядка 25 - 45 С. Который идеально удовлетворяет рабочим температурным диапазонам многих преобразователей. Резкие изменения температуры воздуха (скачки) не характерны для данных условий, так как обьем цеха велик и для нагрева или охлаждения воздуха в нем потребуется определенное время. Влажность в этом помещении не превышает 10%, что способствует высыханию стекольного песка и предотвращает образование комков.

Влияние электромагнитных полей слабо выражено, потому что измерения проводятся в непосредственном удалении от токоведущих частей конвейера (на желобе). Радиационным излучением в данном случае можно пренебречь, так как оно имеет достаточно низкий фон, чтобы существенно повлиять на результат измерения. Данный вибрационный конвейер вырабатывает вибрации частотой 110 Гц и амплитудой 100 мк.

На многие контактные преобразователи оказывает воздействие деформация основания, к которому прикреплен сам преобразователь, но этой деформацией можно пренебречь, так как основание - желоб выполнено из достаточно прочной стали и вибрации, передаваемые приводом конвейера не способны вызвать деформации у данного основания.

На высокочувствительные преобразователи, например пьезоэлектрические, очень сильное влияние оказывает звуковое давление, свыше 120 Дб, так как звук по своей сути и есть вибрации. В условиях цеха по выплавке стекла уровень звукового давления не превышает 80 -100 Дб. Например, уровень звука 120 Дб - является порогом болевого ощущения и сравним со звуком отбойного молотка на расстоянии 1м.

Современные технологии требуют непрерывного контроля за многими параметрами технологического процесса и контроля состояния оборудования. Одними из важнейших являются параметры механического движения, в частности параметры периодических перемещений исследуемого объекта в пространстве (вибрации). Этими параметрами являются виброперемещение (амплитуда вибрации) и виброскорость (частота вибрации). Подобный контроль необходим в самых разных областях: в полупроводниковой электронике (контроль вибрации установок для выращивания кристаллов), в микроэлектронике (вибрация установок фотолитографии), в машиностроении (вибрация станков и биение деталей), в автомобильной промышленности (контроль вибрации отдельных узлов автомобилей и всего автомобиля в целом), на железнодорожном транспорте (датчики приближения поезда), в энергетике (контроль вибрации лопаток газовых турбин), в авиастроении (контроль биений турбин) и т.д. Этот список можно продолжать достаточно долго, что говорит о необходимости создания высокоточных вибродатчиков. [13], [15], [16].

2. Обзор измерительных преобразователей вибрации

2.1 Методы измерения параметров вибраций

В настоящее время разработано достаточно много вибродатчиков, основанных на различных эффектах. Все они имеют свои преимущества и недостатки. Кроме того, существуют определенные трудности в теоретическом описании и моделировании работы вибродатчиков.

Как известно любые точные измерения должны сопровождаться оборудованием, прошедшим поверку, вычислительными средствами и главное - методом измерения. Существует две группы методов измерения параметров вибраций: контактные, подразумевающие механическую связь датчика с исследуемым объектом, и бесконтактные, т.е. не связанные с объектом механической связью. Рассмотрим вначале контактные методы. Наиболее простыми являются методы регистрации вибраций с помощью пьезоэлектрических датчиков. Они позволяют проводить измерения с высокой точностью в диапазоне низких частот и относительно больших амплитуд вибрации, но вследствии своей высокой инерционности, приводящей к искажению формы сигнала делает невозможным измерение вибраций высокой частоты и малой амплитуды. Кроме того, если масса исследуемого объекта, а следовательно и его инерционность не велика, то такой датчик может существенно влиять на характер вибрации, что вносит дополнительную ошибку в измерения.

Механическая связь датчика с исследуемым объектом далеко не всегда допустима, поэтому последние годы основное внимание уделяется разработке бесконтактных методов измерения параметров вибраций. Кроме того, их общим достоинством является отсутствие воздействия на исследуемый объект и пренебрежительно малая инерционность. Все бесконтактные методы основаны на зондировании объекта звуковыми и электромагнитными волнами.

Большое распространение получили методы, основанные на зондировании объекта видимым светом. Все оптические методы подразделяются на две группы. К первой относятся методы, основанные на регистрации эффекта Доплера. Простейшим из них является гомодинный метод, который позволяет измерять амплитуды и фазы гармонических вибраций, но с его помощью невозможно исследовать негармонические и большие по амплитуде вибрации. Эти недостатки можно устранить используя гетеродинные методы. Но они требуют калибровки и, кроме того, измерительная аппаратура сильно усложняется. Существенным недостатком перечисленных выше методов являются высокие требования к качеству поверхности исследуемого объекта. Но они теряют свое значение при использовании голографических методов, которые и образуют вторую группу.

Голографические методы обладают высокой разрешающей способностью (до 0.05), но они требуют сложного и дорогостоящего оборудования. Кроме того, время измерений очень велико. Общими недостатками оптических методов являются сложность, громоздкость и высокая стоимость оборудования, большое энергопотребление, высокие требования к качеству поверхности исследуемого объекта, высокие требования к состоянию атмосферы (определенная влажность, отсутствие запыленности и т.п.). Кроме того, лазерное излучение оказывает вредное влияние на зрение обслуживающего персонала и требует дополнительных мер предосторожности и защиты.

Часть этих недостатков можно устранить применяя методы, основанные на использовании СВЧ излучения Они подразделяются на интерференционные и резонаторные. В основе интерференционных методов лежит зондирование исследуемого объекта волнами ВЧ и СВЧ диапазонов, прием и анализ отраженных (рассеянных) объектом волн. Между излучателем и исследуемым объектом в результате интерференции образуется стоячая волна. Вибрация объекта приводит к амплитудной и фазовой модуляции отраженной волны и к образованию сигнала биений. У выделенного сигнала переменного тока амплитуда пропорциональна виброперемещению, а частота соответствует частоте вибрации объекта. Резонаторные методы основаны на размещении вибрирующего объекта в поле СВЧ резонатора (вне или, хотя бы частично внутри его), вследствие чего изменяются характеристики резонатора.

В качестве преобразователей амплитуды вибраций могут выступать преобразователи различных конструкций и работающие на разных принципах, каждый из которых обладает рядом достоинств и недостатков.

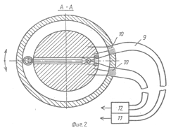
.2 Оптический преобразователь параметров вибраций

Рисунок 2.1 - Оптический преобразователь параметров вибраций

Устройство содержит: корпус 1, предназначенный для скрепления с контролируемым объектом 2, инерционный элемент 3, выполненный в виде тела вращения с диаметральным отверстием 4 и установленный внутри корпуса 1, два упругих элемента 5 и 6, каждый из которых одним концом скреплен с корпусом 1, а другим - с инерционным элементом 3, источник 7 света, установленный в диаметральном отверстии 4- инерционного элемента 3, диафрагму 8, установленную в диаметральном отверстии 4 в инерционном элементе 3, два световода 9 и 10, установленные в корпусе 1 симметрично относительно диафрагмы так, что их входные торцы оптически сопряжены с нею, фоторегистрирующий блок, выполненный в виде двух фотоприемников 11 и 12, входы которых оптически связаны с выходными торцами соответствующих световодов 9 и 10, и вычислитель (не показан). Упругие элементы 5 и 6 выполнены в виде сходящихся пружин с противоположной навивкой.

Устройство работает следующим образом.

Пучки лучей источника 7 света формируются диафрагмой 8 и попадают на входные торцы световодов 9 и 10, проходят через световоды 9 и 10 и попадают на фотоприемники 11 и 12, электрические сигналы с которых поступают на входы вычислителя. Крутильные колебания контролируемого объекта 2 приводят к крутильным колебаниям инерционного элемента 3, при этом происходит изменение светового потока на входных торцах световодов 9 и 10, а следовательно, изменяются электрические сигналы с фотоприемников 11. И 12. По электрическим сигналам с фотоприемников 11 и 12 вычислитель рассчитывает параметры вибрации. [10]

Рисунок 2.2 - Вид в разрезе.

2.3 Двухкомпонентный пьезоэлектрический датчик ускорения

Действие датчика основано на преобразовании силы, возникающей при ускоренном движении инерционной массы, в электрический заряд. Инерционной массой является груз 1, который под действием ускорения вибраций изгибает консольную металлическую балку 2 с наклеенной на ней пластинкой 3 из пьезокерамики типа КНБС. Эта пластинка генерирует заряд, зависящий от ускорения, подаваемый на расчетное устройство.

Датчик заключен в корпус - стальную трубку 4, в которой установлено основание 5, представляющее собой цилиндр из никелевого сплава типа инвара. Датчик двухкомпонентный. Консольные балочки двухкомпонентной системы выполнены заодно с основанием - выфрезерованы с двух сторон цилиндра под углом 90° друг к другу. С целью демпфирования колебаний грузы выполнены полыми и заполнены порошком ферровольфрама. Лепестки 6 для съема сигнала приклеивают к пьезокерамике клеем ВК-1, в который для улучшения электрического контакта добавляют металлические опилки с зерном 0,1 мм.

Рисунок 2.3 - Двухкомпонентный пьезоэлектрический преобразователь

Технические данные

Чувствительность в мв/g …............................  30-35

при следующих условиях:

общей емкости в Пф………………………………300

частоте напряжения питания в Гц           ………………………   50

температуре окружающей среды в °С     ………………     20

длине соединительного кабеля в м         …………………………         2

Чувствительность при температуре окружающей среды 150° С

в мв/g…………………………………………14-22

Собственная частота колебаний упругого элемента в Гц ……..700-750

Емкость датчика с кабелем при 150° С в Пф………3000

Допустимая температура окружающей среды в °С ………150

Габаритные размеры датчика в мм         ……………….    0,9x60

Вес в г…………………………………………….…    20

.4 Резистивный преобразователь ускорения типа ЭА-19

Рисунок 2.4 - Резистивный преобразователь ускорения.

Действие датчика основано на преобразовании силы, возникающей при ускоренном движении инерционной массы, в изменение сопротивления реостатного преобразователя. Инерционная масса выполнена в виде подвижного поршня 1, укрепленного на двух плоских пружинах 3, представляющих собой круглые пластины с тремя спиральными вырезами. С поршнем жестко соединен каркас 6 с обмоткой реостатного преобразователя, ползунок 5 которого укреплен на корпусе 4. Датчик заключен в герметический корпус, заполненный незамерзающей демпфирующей жидкостью. Инерционная масса под действием вибраций перемещается на пружинах, тем самым перемещая реостатный преобразователь, прикрепленный к поршню. За счет движения ползуна 5 относительно реостата изменяется сопротивление реостата, по этому изменению и высчитываются характеристики вибраций.

Технические данные

Диапазон изменений ускорения в g         ……………-3; +1

Полное сопротивление реостатного преобразователя в Ом        500

Марка провода реостатного преобразователя… ПЭК-0,04

Максимально допустимый ток в мА ……………16

Напряжение питания в В …………………………………………. 6

Основная погрешность в % ………………………………………±2

Погрешность с учетом изменения температуры в % …………….. ±3

Габаритные размеры в мм ……………………….. 76X30X25

Вес в г………………………………………………. 300

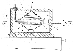
.5 Емкостной преобразователь амплитуды вибраций типа ВР-П

Рисунок 2.5 - Емкостной преобразователь амплитуды вибраций.

Действие датчика основано на преобразовании вибраций измеряемого объекта в изменение емкости конденсатора. Вибрации воспринимаются шаровой опорой и передаются на пластины конденсатора, включенного в колебательный контур генератора. Вибрации воздействуют на пластины конденсатора 2 , одни из которых жестко закреплены с корпусом, а другие прикреплены к пружинам 1. В результате изменения расстояния между пластинами - меняется емкость конденсатора, по этим изменениям с помощью электронного прибора 4МП - 4 рассчитываются требуемые параметры вибраций.

Технические данные:

Диапазоны изменения амплитуд вибраций в мк………….2-500

Частотный диапазон………………………… 50-2000

Напряжение питания в В…………………..... 120 (50 Гц)

Динамическая характеристика - Постоянна в диапазоне…. 60 - 2000 Гц

Допустимая температура окружающей среды в °С   …. +10; +50

2.6 Пьезоэлектрический датчик ускорения

пьезоэлектрический преобразователь ускорение вибрация

Действие датчика основано на преобразовании силы, возникающей при ускоренном движении инерционной массы 3, в пропорциональный ускорению электрический заряд пьезоэлемента 5. Датчик работает в комплекте с усилительной аппаратурой, в которой для получения выходного сигнала, пропорционального амплитуде вибраций, введено звено двукратного интегрирования. Вибрационное ускорение действует на корпус датчика, который перемещается противоположно направлению инерционной массы. Пьезоэлементы 5 жестко заделаны одной стороной к инерционной массе, а другой - к опоре преобразователя. За счет противоположно движущихся частей датчика, на поверхности пьезоэлементов возникают заряды, которые передаются на расчетные устройства с помощью кабеля.

Рисунок 2.7 - Пьезоэлектрический датчик ускорения

- корпус; 2 - крышка; 3 - инерционная масса;

- мембрана; 5 - пьезоэлемент; 6 - опора.

Технические данные

Частотный диапазон в Гц …………....30 - 100

Собственная частота упругой системы в кГц.………… До 10

Материал пьезоэлемента…………………………ЦТС-19

Чувствительность в мв/g …………........ 0,5

Статическая характеристик………………. Линейная

Суммарная погрешность в %............................. ±20

Динамическая характеристика в рабочем частотном диапазоне - Постоянная

Допустимая температура окружающей среды в °С………… +50

Исполнение………………………….. Герметическое

.7 Анализ рассмотренных преобразователей

Оптический преобразователь обеспечивает большой частотный диапазон измерений, но обладает не высокой надежностью. Сложен в изготовлении. Двухкомпонентный пьезоэлектрический датчик ускорения обладает малой массой, но в то же время его производство требует больших денежных затрат. Резистивный и емкостной датчики ускорения работают только при наличии сложной электронной аппаратуры и имеют большую погрешность. Рассмотренный однокомпонентный пьезоэлектрический датчик ускорения - является наиболее выгодным прототипом, так как он очень прост в изготовлении, надежен, потому что в его конструкции отсутствуют движущиеся детали и удовлетворяет условиям, в которых проходят измерения. [1], [17].

3. Расчет преобразователя

3.1 Выбор материала пьезоэлемента

При конструировании датчика акселерометра, одним из основных вопросов является выбор материала пьезоэлемента.

Наибольшим пьезоэффектом обладает сегнетова соль, но она очень гигроскопична, хрупка и при 45° С переходит в аморфное состояние, в котором она не обладает пьезоэлектрическими свойствами. Так же она очень хрупкая. Кварц - хрупок, не гигроскопичен, рабочая температура достигает сотен градусов, но при отрицательной температуре коэффициент пьезоэффекта резко уменьшается. Малая чувствительность. Титанат бария является наиболее подходящим материалом для данного преобразователя, так как он очень чувствителен. Однако же недостатком титаната бария как пьезоэлемента - является наличие трех точек Кюри: при -80° С; 0° и 120° С. Точкой Кюри называют температуру, при которой сегнетоэлектрическая структура кристалла преобразуется в структуру линейного кристалла или в другую сегнетоэлектрическую структуру. А так же при производстве сегнетоэлектриков возникают трудности в получении бездефектных монокристаллов. [2].

Структурную схему разрабатываемого пьезоэлектрического преобразователя изображена на рисунке 3.1

Рисунок 3.1 - Структурная схема преобразователя

Элемент 1 представляет собой два параллельно соединенных между собой диска (для повышения чувствительности), выполненных из сегнетоэлектрика Титаната бария. Одной стороной диск прикреплен к инерционной массе, посредством пайки, а на другой стороне крепится латунная обкладка, по которой будут стекать поверхностные заряды, образующиеся в результате действия вибраций. Эта обкладка соединяет между собой два пьезоэлемента. Один из которых жестко прикрепляется к основанию.

Элемент 2 - это усилитель напряжения.

Элемент 3 - измерительное устройство, подключаемое к выводам электрической схемы.

.2 Расчет инерционной массы преобразователя

Действие преобразователя основано на использовании прямого пьезоэффекта, то есть свойств некоторых материалов (пьезоэлектриков) генерировать заряд под действием приложенной к ним силы. При установке преобразователя на вибрационный конвейер, на него действует сила, зависящая от виброускорения:

 (3.1),

где  - виброускорение,  - инерционная масса

Инерционная масса, для уменьшения габаритов датчика, изготовлена из легкообрабатываемого сплава ВНМЗ-2 с высокой плотностью р = 18 г/см3.

Инерционная масса выполнена в виде цилиндра, высота которого h = 2 мм, диаметр d= 8мм.

С учетом размеров масса определяется по формуле:

 (3.2)

где V- обьем цилиндра

 (3.3)

 (3.4)

Подставим формулу 3.4 в 3.3, а затем в 3.2, получим:

 (3.5)

 = 1,81 (г)

Вибрационный конвейер вырабатывает гармонические вибрации, то есть периодические вибрации с одной частотой w=const. Для данного конвейера w=110 Гц. Таким образом сила воздействия на пьезоэлемент будет пропорциональна приложенному ускорению а.

Так как датчик сконструирован таким образом, чтобы работать на растяжение - сжатие, то сила воздействия на пьезоэлемент будет направлена по оси Z, как видно из рисунка 3.2.

Рисунок 3.2 - Схематическое изображение пьезоэлемента.

Зная, что сила действует только по одной оси, можно записать:

33 (3.6),

где  - заряд, возникающий на грани перпендикулярной оси Z

d33 - коэффициент пропорциональности, называемый пьезомодулем и выражаемый в Кл/Н.

Таблица 1 - Матрица пьезомодулей.


В матрице пьезомодулей для титаната бария, находим, что d33 = 190*10-12 Кл/Н.

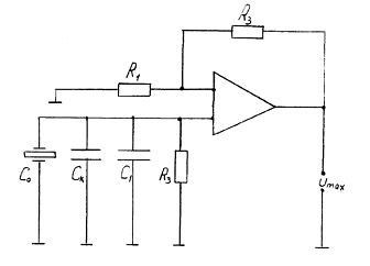
3.3 Подбор и расчет измерительной цепи преобразователя

Возможным вариантом измерительной цепи может служить цепь, представленная на рисунке 3.3.

Рисунок 3.3 - Измерительная цепь пьезоэлектрического датчика.

При этом напряжение, поступающее на вход усилителя будет вычисляться по формуле:

вх (3.7)

Тогда, как его выходное напряжение рассчитывается по формуле:

Uвых (3.8)

В этой формуле С является общей емкостью, она определяется следующим выражением:

С = С0 кi (3.9),

где С0 - емкость между гранями пьезоэлектрика

Ск - емкость кабеля

Сi - дополнительная стабильная емкость.

Сопротивление R в данной цепи определяется параллельно соединенными сопротивлениями кабеля Rk , входным сопротивлением усилителя Rвх, сопротивлением R3 и сопротивлением пьезоэлементов R0:

 (3.10)

Коэффициент усиления данного усилителя определяется по формуле:

 (3.11),

где R1 и R2 - сопротивления представляющие собой делитель напряжения.

Из справочника, [9] для данного усилителя, был выбран коэффициент усиления равный: K= 3*102. К кабелю, соединяющему датчик акселерометра с усилителем, предъявляются следующие требования: большое сопротивление изоляции, малая емкость, гибкость и антивибрационность. Последнее означает, что при вибрациях кабель не должен наводить на вход усилителя ЭДС, возникающую в результате трения изоляции при тряске об экран. Лучшим, в этом случае, является кабель типа АВК-3, имеющий емкость С= 75 пФ/м. Длину кабеля (L) примем равной 1м. Следовательно емкость кабеля

 (3.11)


Значение дополнительной стабильной емкости (Сi) задается из справочников:

Собственная емкость пьезоэлемента (C0) вычисляется по формуле:

 (3.12),

где  - относительная диэлектрическая проницаемость титаната бария (),  - диэлектрическая проницаемость вакуума (/м), S - площадь пьезоэлектрика (рисунок 3.4) d - расстояние между гранями пьезоэлемента (рисунок 3.4).

Рисунок 3.4 - схематичное изображение пьезоэлемента.

Площадь пьезоэлемента находится из выражения 3.4.

Так как в состав преобразователя входят два пьезоэлемента, между которыми располагается латунная фольга, то, учитывая это, была сделана поправка на расстояние между гранями пьезоэлектрика - оно увеличено вдвое.


В результате расчетов 3.12 получили емкость:

 (пФ)

Тогда получим, что общая емкость согласно формуле 3.9 будет равна:


Сопротивление пьезоэлемента определяется по формуле:

 (3.13),

где  - удельное сопротивление титаната бария ( = 1010 Ом*м),

 - длина окружности пьезоэлемента,

S - площадь основания пьезоэлемента, определяемая из выражения 3.4.

 (3.14),

где R - радиус основания пьезоэлектрика.

 (3.15),

где d - диаметр основания пьезоэлектрика.

С учетом выражений 3.4 и 3.14, получим:

 (3.16)


Так как датчик содержит два пьезоэлемента параллельно соединенных между собой, то общее сопротивление пьезоэлементов будет рассчитываться по формуле:

 (3.17)


Сопротивление кабеля:

Rk = 10-3 ( Ом ).

Входное сопротивление (Rвх) и сопротивление измерительной цепи (R3) - задаются справочным материалом:

Rвх = 106 (Ом),

R3 = 1011 (Ом).

Зная все необходимые числа, подставляем их в расчетную формулу 3.10 и вычисляем полное сопротивление проектируемого преобразователя:

 (Ом)

В итоге с учетом формул 3.5, 3.10, 3.9, 3.11 - получим конечную функцию преобразования:

 (3.18)

В конечной формуле напряжение задано в комплексной форме, но при расчетах необходимо брать только действительную часть.

В итоге с учетом всех выше приведенных расчетов, при диапазоне ускорения от 9,8 до 140 м/с2 и при постоянной частоте конвейера f = 110 Гц - получаем, что выходное напряжение так же находится в определенном диапазоне. Выбор нижнего диапазона ускорения обусловлен тем, что при ускорении меньшем, чем 9,8 м/с2 вибрационный конвейер работать не сможет так как транспортируемый груз не будет преодолевать ускорение свободного падения. Выбор верхнего диапазона ускорения происходит исходя из характеристик преобразователя, то есть данный преобразователь не рекомендуется использовать при перегрузках более 15 g.

Зависимость выходного напряжения от ускорения представлена в таблице 2.

Таблица 2 - Зависимость выходного напряжения от ускорения.

a, м/с2

Uвых, В

9,8

4,15

20

8,48

30

12,72

40

16,96

50

60

25,44

70

29,68

80

33,92

90

38,16

100

42,4

110

46,64

120

50,88

130

55,12

140

59,36


Так как выходное напряжение пропорционально ускорению, то график функции преобразования будет линейным. График представлен на рисунке 3.5.

Рисунок 3.5 - График функции преобразования.

Зная собственную частоту колебаний датчика можно определить примерный рабочий диапазон частот:

 (3.19),

где  - наибольшее значение частоты на которой работает преобразователь,

 - собственная частота колебаний закрепленного датчика.

Собственная частота колебаний датчика во многом зависит от типа крепления преобразователя на вибрирующий объект ( виброконвейер ). Для данного преобразователя больше подойдет крепление с помощью клея. Это крепление обеспечивает хорошую частотную характеристику преобразователя, является достаточно прочным, при малой массе датчика, не требует особых затрат на обработку поверхности крепления и удовлетворяет условиям проведения измерений. Для установки акселерометра на вибрирующую поверхность можно использовать клей или цемент типа эпоксидной смолы. Чтобы не наносить клей непосредственно на акселерометр, его обычно наносят на шпильку. Не рекомендуется использовать мягкие клеи или воск, поскольку такое соединение ненадежно и не обеспечивает требуемой частотной характеристики. [13], [14]

Рисунок 3.6 - Крепление на клей или цемент

 (3.20),

где с - коэффициент упругости пьезоэлемента, рассчитываемый по формуле 3.21,

 - инерционная масса.

 (3.21),

где  - модуль упругости пьезоэлемента (Н/м2),

 - площадь пьезоэлемента,

 - расстояние между гранями пьезоэлектрика.

В результате расчета 3.21 получаем:

 ( Н/м)

Подставляя полученное значение коэффициента упругости в формулу 3.20, получим:

 (кГц)

Зная примерную амплитуду колебаний конвейера ( S0 = 0,000146 м) с учетом 3.19, - можно сделать вывод, что разработанный преобразователь имеет примерный рабочий диапазон частот до 160 Гц. Так как максимально возможные перегрузки для данного преобразователя не должны превышать 15 g, иначе датчик выйдет из строя. [5].

Расчет чувствительности пьезоэлектрического преобразователя определяется по формуле:

(3.22),

где  - выходное напряжение, вызванное ускорением a.

Тогда получим, что

(В/g)

.7 Расчет и анализ погрешности преобразователя

Погрешности пьезоэлектрических преобразователей складываются прежде всего из погрешности от изменения параметров измерительной цепи, температурной погрешности, вызываемой изменением пьезоэлектрической постоянной, погрешности вследствие неправильной установки пластин, погрешности из-за чувствительности к силам, действующим перпендикулярно измерительной оси преобразователя.

Значение относительной погрешности можно вычислить с помощью следующей формулы:

 (3.23),

где  - значение выходного напряжения, рассчитанное с учетом факторов, приводящих к погрешности,

 - номинальное значение напряжения без учета факторов, приводящих к погрешности.

Температурная погрешность вызвана изменеием пьезоэлектрической постоянной. И, следовательно, в результате изменения значения пьезомодуля изменяется и значение выходного напряжения преобразователя.

В таблице 3 представлена зависимость пьезоэлектрической постоянной от температуры, а также выходное напряжение, соответствующее данной величине пьезомодуля, рассчитанное по формуле (3.18), и заненесены значения температурной погрешности  рассчитанные по формуле (3.23).

Таблица 3 - Результаты расчетов температурной погрешности

t, °с

d33, 10-12 Кл/Н

, В

,%

0

187

4,0893

1,58

10

189

4,133

0,5

20

190

0

30

191

4,1767

0,5

40

191,5

4,1877

0,75

50

192

4,1986

1,083

60

192,6

4,2117

1,33

70

193,2

4,2249

1,46

80

193,9

4,2402

1,53

90

194,6

4,2555

1,68


Рисунок 3.7 - График изменения температурной погрешности.

Оценивая полученные данные погрешности из таблицы 3, выбираем максимальную погрешность  =1,68 %, можно сделать вывод, что температурная погрешность не превышает 1,7 %.

Расчет частотной погрешности проводим по формуле:

 (3.24)

И подставляя все данные, получаем:


Формула суммарной погрешности имеет вид:

 (3.25)

При этом при расчете учтем значения погрешностей установки пьезоэлементов, в результате получим:

.

Таким образом значение суммарной погрешности разработанного преобразователя не превышает .

Виброускорение вычисляется по формуле:

 (3.26),

где  - амплитуда виброперемещения,

w - угловая скорость, вычисляемая по формуле:

 (3.27),

где  - частота вибраций вибрационного конвейера.

Из выражения 3.26, можно определить амплитуду виброперемещения:

 (3.28)

Из 3.28, с учетом выражения 3.27 и с учетом того, что частота вибраций вибрационного конвейера f=110 Гц - можно определить изменение амплитуды виброперемещения в зависимости от изменения ускорения вибраций.

Таблица 3 - Зависимость амплитуды виброперемещения от ускорения.

a, м/с2

, мкм

9,8

21

20

42

30

63

40

84

50

104

60

125

70

147

80

168

90

100

210

110

231

120

252

130

272

140

293

Рисунок 3.8 - График зависимости амплитуды виброперемещения от ускорения, при постоянной частоте.

Более того виброперемещение и виброускорение находятся в противофазе, то есть сдвиг фаз между ними равен . [3], [4], [6], [7], [8], [11].

.8 Вывод на основе результатов расчетов

Данные, полученные при расчетах учитывались при разработке и проектировании конструкции преобразователя, а так же были отражены в полученных характеристиках преобразователя.

.9 Характеристики разработанного преобразователя

Таким образом, в результате расчета данного преобразователя, получили, что он обладает следующими характеристиками:

Диапазон измеряемого виброускорения: g - 15 g

Диапазон измеряемой амлитуды виброперемещения на частоте 110 Гц: 21 - 293 мкм.

Минимальная чувствительность по напряжению: 0,424 В/g

Диапазон изменения выходного напряжения с усилителем: 4,15 - 59,36 В. Температурный диапазон: от 0 до 90 ° .

Суммарная погрешность преобразователя: не превышает 1,7 .

Собственная частота колебаний не превышает 51 КГц.

Заключение

В данном курсовом проекте был разработан и рассчитан пьезоэлектрический преобразователь ускорения. Полученный в итоге преобразователь отличается относительно высокой чувствительностью, точностью, надежностью в работе и линейными выходными характеристиками. Датчик отлично подходит для заданных условий измерений и является наиболее подходящим для проведения измерения амплитуды вибраций вибрационного конвейера в цехе по выплавке стекла.

Список использованных источников

.        Фрайден Дж. Современные датчики. Справочник. [Текст] / перевод с англ. Ю.А. Заболотной / под ред. E.JI. Свинцова. - М.: Техносфера, 2005-580 с., ил.

.        Туричин А. М. и др. Электрические измерения неэлектрических величин. [Текст]/ Туричин А. М., Новицкий П. В., Левшина Е. С., - изд. 5-е, перераб. и доп. - Л., "Энергия", 1975 - 576 с., ил.

.        Ногачева Т. И. Методические указания к выполнению курсового проекта по дисциплине "Физические основы получения информации" для специальности 200101 "Приборостроение" [Текст]/ Ногачева Т. И. - Орел: Орел ГТУ, 2006- 18 с.

.        Левшина Е. С. Электрические измерения физических величин: учебное пособие для вузов [Текст] / Левшина Е. С., Новицкий П. В., - Л.: Энергоатомиздат. Ленингр. отд-е, 1983 - 320 с., ил.

.        Осадчий Е. П. и др. Проектирование датчиков для измерения механических величин [Текст] / под ред. Е. П. Осадчего. - М.: Машиностроение, 1979-480 с., ил.

.        Анурьев В. И. Справочник конструктора-машиностроителя: В 3-х т. Т.1. [Текст] / 5-е изд., перераб. и доп. - М.: Машиностроение, 1978 - 728 с.,ил

.        Анурьев В. И. Справочник конструктора-машиностроителя: В 3-х т. Т.З. [Текст] / 5-е изд., перераб. и доп. - М.: Машиностроение, 1978 - 728 с.,ил

.        Атамалян Э. Г. Приборы и методы измерения электрических величин: Учеб. пособие [Текст] / Атамалян Э. Г. - М.: Высш. школа, 1982 - 223 е., ил.

.        Справочник по теории и эксплуатации. "Пьезоэлектрические акселерометры и предусилители". Брюль и Къер.

.        Патент РФ №1651105. Устройство для контроля параметров вибраций/ С.С. Сергеев, О.Г.Лишанский. Опубликовано: 16.04.86. Бюл. №19.

.        Готман П. Е. и др. Электротехнические материалы. Справочник [Текст].

.        Чурабо Д. Д. Детали и узлы приборов. Конструирование и расчет. Справочное пособие [Текст] / Чурабо Д. Д., изд. 4-е, перераб. и доп. - М.: "Машиностроение", 1975 - 559 с., ил.

.        Под общ. ред. Клюева. Неразрушающий контроль: в 7- ми томах и 2- х книгах. Т. 7., кн. 2. М.: "Машиностроение", 2004 - 679 с.,ил.

.        ГОСТ ИСО 5348-2002 Вибрация и удар. Механическое крепление акселерометров (ИСО 5348:1998, IDT).

.        ГОСТ 24346-80 Вибрация. Термины и определения (ИСО 2041:1990, NEQ).

.        А. О. Спиваковский и др. Вибрационные конвейеры, питатели и вспомогательные устройства. [Текст]/ М.: "Машиностроение", 1972, 328 с.


Не нашли материал для своей работы?
Поможем написать уникальную работу
Без плагиата!
Без нейросетей!