Поверхностное упрочнение твердосплавного инструмента путем обработки импульсной плазмой
Содержание
Введения
.Обзор литературы
.1 Методы поверхностного упрочнения твердых сплавов
.1.1 Абразивная алмазная обработка
.1.2 Вибро- и дробеструйная обработка
.1.3 Обработка ультразвуком
.1.4 Радиационная обработка
.1.5 Магнитно-алмазное полирование
.1.6 Лазерное упрочнение
.1.7 Плазменно-детонационное упрочнение
.1.8 Химико-термическая обработка
.2 Упрочнение нанесением износостойких покрытий
.3 Анализ и выбор оптимального метода обработки
. Методика проведения экспериментов
.1 Методика нанесения износостойких покрытий на прецизионный
твердосплавный инструмент
.1.1 Методика испытания мелкоразмерных твердосплавных сверл
.2 Методика применения пакета программ Elmer
.2.1.Краткий обзор Elmer
.2.2 Предварительный анализ параметров сетчатого электрода
.2.3 Моделирование распространения электрических полей при
помощи пакета программ Elmer
.3 Методика нанесения покрытия на внутреннюю поверхность
отверстия
.4 Методика исследования образцов с покрытием Ti
. Результаты исследования
.1 Оптимизация технологии формирования покрытий на сверлах из
твердого сплава
.2 Моделирование электрических полей с помощью программы
Elmer
.3 Результаты исследования образцов с покрытием
. Технологический процесс нанесения износостойких покрытий на
прецизионный твердосплавный инструмент
. Расчет экономической эффективности упрочнения
. Энергосбережение
. Технологическая инструкция
.1 Общие сведенья
.2 Указания мер безопасности
.2.1 Общие указания
.2.2.Правила электробезопасности
.2.3 Правила термобезопасности
.2.4 Правила пожаробезопасности
.3 Технические требования к обрабатываемым волокам
.4 Порядок работы комплекса оборудования для модификации
волок
Заключение
Список литературы
Приложение А Зависимости распределения оптической плотности
по сечению отверстия( образец 1)
Приложение Б Зависимости распределения оптической плотности
по сечению отверстия( образец 1 напыленный с вращением)
Приложение В Зависимости распределения оптической плотности
по сечению отверстия( образец 2 напыленный с вращением)
Приложение Г Применение пакета программ Elmer для
моделирования пространственного распределения потенциала и электрических полей
для волок
Введение
На данный момент особое внимание привлекает вопрос повышения
производительности труда, технический прогресс, а также экономия средств и материалов.
В числе прогрессивных технологических направлений, обусловливающих и
обеспечивающих научно-технический прогресс металлообработки, одно из первых
мест занимают методы электрофизической обработки материалов, с каждым годом все
более широко используемые в промышленности и дающие большой экономический
эффект. К методам электрофизической обработки относят различные по схемному и
аппаратурному оформлению и назначению методы обработки, основанные на
использовании электрической энергии или специфических физических явлений,
создаваемых этой энергией, для удаления материала, нанесения защитных покрытий
или модификации поверхностного слоя [1]. В инструментальном производстве
электрофизические методы обработки применяются в области упрочнения режущего
инструмента с целью повышения его эксплуатационных характеристик. Быстрое
разрушение изделий, работающих при высоких скоростях, нагрузках и температурах,
к каковым относится режущий инструмент, требует разработки и внедрения в
производство новых методов упрочнения [2].
К традиционным способам повышения стойкости относится как поверхностная
термообработка, так и различные диффузионные и другие химико-термические
способы обработки, нанесение покрытий, наплавка и другие способы, но в ряде
случаев они не всегда обеспечивают необходимую износостойкость или неприемлемы
по другим причинам.
Наиболее широкое применение указанные способы получили для повышения
износостойкости твердосплавного инструмента. Твердые сплавы, как
инструментальные материалы широко и эффективно применяются в металлообработке.
Достаточно отметить, что твердосплавным инструментом снимается около 70% всей
стружки. Однако качественные изменения в металлообработке (появление новых
труднообрабатываемых материалов, применение станков с ЧПУ, многоцелевых станков
и т.д.) повышает требования к работоспособности и надежности твердосплавного
инструмента. Поэтому необходимо не только создавать новые твердые сплавы с
заданными свойствами, но и улучшать качество наиболее распространенных твердых
сплавов [3].
Исходя из выше сказанного следует, что на данном этапе развития
промышленности упрочнение твердых сплавов является актуальным и экономически
обоснованным вопросом, решение которого обеспечит снижение потерь от износа и
увеличит ресурс работы инструмента.
В данном проекте описаны основные методы упрочнения твердых сплавов,
направленные на изменение свойств материалов, которые заключаются в изменении
размеров зерна, структуры, взаимной растворимости компонентов сплава и
равномерности их распределения, изменении внутренних напряжений, формировании
на поверхности износостойкого покрытия.
Целью дипломного проекта является совершенствование технологии
формирования износостойких покрытий на твердосплавный инструмент путем
обработки импульсной плазмой.
Следует заметить, что упрочнение мелкоразмерного твердосплавного
инструмента имеет ряд отличительных особенностей. В частности, при нанесении
вакуумно-плазменных покрытий на мелкоразмерный инструмент по типовому
технологическому процессу, при нанесении покрытия вглубь отверстия, существуют
определенные трудности, поскольку считается, что покрытие в отверстие наносится
на глубину, равную диаметру отверстия. Это связано с распределением
электрических полей, которые препятствуют нанесению покрытия на большую
глубину. Поэтому совершенствование технологии нанесения износостойких покрытий
на внутреннюю поверхность отверстия, длинна которого значительно больше его
диаметра, позволяет улучшить качественные и количественные характеристики
наносимого покрытия, а следовательно, повысить ресурс работы инструмента и
качество обработки.
Исходя из выше сказанного и поставленной цели, возникает ряд задач,
требующих решения:
произвести оценку эффективности нанесения износостойких покрытий на
поверхность мелкоразмерного твердосплавного инструмента;
произвести моделирование электрических полей, возникающих при
формировании покрытий на поверхности длинномерного отверстия малого диаметра, а
также при нанесении покрытия в отверстие с использованием дополнительного
сетчатого электрода, установленного перед отверстием и цилиндрического
электрода, помещенного внутрь отверстия;
отработать методику проведения эксперимента для проверки проведенных
расчетов;
изучить распределение покрытия по глубине и сечению отверстия;
отработать технологию нанесения износостойких покрытий на поверхность
твердосплавного мелкоразмерного инструмента импульсно-плазменным методом.
1.
Обзор литературы
1.1 Методы
поверхностного упрочнения твердых сплавов
Состояние и свойства поверхностного слоя рабочих граней инструмента, в
том числе и твердосплавного (вне зависимости от условий его применения), в
основном определяют как стойкость инструмента при его эксплуатации, так и
качество поверхности обрабатываемых деталей. Изменения в приповерхностном слое
влияют и на объемные и прочностные свойства материала в целом. Существенного
повышения износостойкости инструмента можно добиться, целенаправленно используя
высокотехнологичные физико-химические методы поверхностного упрочнения твердых
сплавов, применяя как традиционные, так и новые технологические процессы. При
обработке поверхности твердых сплавов происходит необратимое превращение
механической, световой энергии, а также в ряде случаев, энергии заряженных
частиц, в тепловую. При этом часть ее может расходоваться на снятие
поверхностного слоя, часть - необратимо рассеиваться в виде тепла, а часть -
переходить в поглощенную скрытую энергию и сохраняться в тонком поверхностном
слое материала в виде структурных дефектов и изменений, приводящих в конечном
результате к его упрочнению. Состояние модифицированных поверхностных слоев
характеризуется величиной, знаком и характером распределения остаточных
напряжений, изменениями в тонкой кристаллической структуре, степенью
дефектности составляющих сплав фаз и др.
Исследование процессов, приводящих к улучшению пластических и прочностных
свойств материалов, и оптимизация режимов упрочняющей обработки с целью
получения комплекса свойств поверхности, обеспечивающих указанные
характеристики, представляет большой практический интерес, поскольку подавляющее
большинство современных инструментальных материалов производится с упрочненными
рабочими поверхностями или нанесенными покрытиями.
Влияние методов поверхностного упрочнения на взаимодействие режущего
инструмента с обрабатываемым материалом носит комплексный характер.
Ряд общих факторов, характерных для большинства способов поверхностной
обработки инструмента, определяет эффективность используемого метода
упрочнения. К ним относятся: уменьшение коэффициента трения, сил и температуры
резания, улучшение прочностных свойств материала основы, повышение твердости и
теплостойкости рабочих поверхностей инструмента, снижение схватываемости
рабочих поверхностей с обрабатываемым материалом и др. Для методов упрочнения,
в основе которых лежит принудительное создание на рабочих гранях инструмента
дополнительных вторичных структур (покрытий на основе карбидов, нитридов,
оксидов металлов), к ним добавляются факторы, среди которых наиболее
существенными являются: высокая прочность адгезионной связи покрытия с
инструментальной основой, образование за счет покрытия барьера для взаимного
растворения обрабатываемого и инструментального материалов, предохранение
инструментальной основы от влияния высоких температур резания за счет
теплоизоляционного эффекта покрытий и пр.
Таким образом, выбор метода поверхностного упрочнения инструмента, в том
числе и твердосплавного, условий и режимов его реализации с целью повышения его
эксплуатационных характеристик представляет собой многофакторную задачу, при
решении которой первостепенную важность и значимость приобретает вопрос
рационального сочетания режимов эксплуатации инструмента с режимами его
упрочняющей обработки, обеспечивающий оптимальный комплекс свойств поверхности,
участвующей в контактном взаимодействии при резании[4].
К настоящему времени исследованы до определенной степени полноты
следующие методы поверхностного упрочнения твердых сплавов, приводящие к
улучшению свойств металлообрабатывающего инструмента, изготовленного на их
основе:
ультразвуковая обработка;
алмазное шлифование;
вибрационная обработка;
дробеструйная обработка;
термовибрационная обработка;
лазерное воздействие;
нанесение тонких износостойких покрытий из тугоплавких соединений;
облучение пучком заряженных частиц
воздействием источников КПЭ и др.
За счет поверхностного упрочнения, как правило, достигается заметное
повышение работоспособности режущих инструментов, выражающееся, прежде всего, в
увеличении их стойкости и возможности интенсификации процесса резания.
Различие природы источников, действующих на поверхность твердых сплавов,
приводит к различной, в ряде случаев существенно, доле поглощенной энергии в
тонком поверхностном слое материала. В силу этого меняется количественная
сторона явлений, обусловленных действием известных способов поверхностной
обработки[4].
Рассмотрим наиболее распространенные способы упрочнения.
.1.1 Абразивная алмазная обработка
Абразивная обработка твердых сплавов алмазным инструментом является
перспективным методом, приводящим к максимальному упрочнению их поверхности.
Прочность и долговечность твердосплавных изделий, подвергнутых поверхностному
пластическому деформированию, определяется качеством поверхностного слоя,
характеризующегося показателями макро- и микрогеометрии поверхности, а также
механическими, химическими и физическими свойствами поверхностных слоев.
При абразивной обработке на состояние поверхностного слоя помимо
механического усилия влияет локальная температура [5, 6]. Действие сил на
поверхность вызывает необратимые пластические деформации, структурные изменения
и фазовые превращения, сопровождающиеся увеличением удельного объема,
приводящим к образованию остаточных напряжений сжатия, повышению твердости,
прочности и пр., т.е. происходит процесс упрочнения.
Благодаря таким особенностям алмазов, как высокая твердость, низкий
коэффициент трения, большая протяженность режущих кромок и их заостренность,
алмазное шлифование отличается от шлифования обычным абразивом меньшими
усилиями резания и более низкими температурами в зоне резания. В результате в
поверхностном слое твердых сплавов W-Со, как правило, возникают остаточные
напряжения сжатия, ориентированные в плоскости шлифования [5, 7, 8]. Уровень
напряжений в фазах определяется силовым (или механическим) фактором: знак их
одинаков в обеих фазах, а величина зависит от режимов шлифования и
характеристик шлифовального круга и составляет ~ (100-200) кГ/мм2 в карбидной
фазе, а в Со-фазе в 1,5-2,0 раза меньше ~ (60-140) кГ/мм2. В исходном состоянии
после спекания сплава остаточные напряжения либо совсем не выявляются, либо
оказываются небольшими сжимающими в карбидной фазе (~20 кГ/мм2) и
растягивающими в Со-фазе (~40-60 кГ/мм2) [5, 8].
Возникновение в сплаве остаточных напряжений сжатия объясняется следующим
образом [9]. При шлифовании в результате пластической деформации некоторая
часть Со-фазы переходит из ГЦК-модификации в гексагональную. Усадка в этом
случае составляет 0,3-0,4%. Но так как степень перехода в поверхностном слое не
превышает в среднем 50%, то величина усадки будет меньше. Напряжения сжатия
возникают в результате компенсации усадки пластической деформацией.
Величина остаточных напряжений, глубина их распространения существенно
зависят от способа и режимов обработки, типа и характеристик алмазного
инструмента [5, 6, 10]. Как правило, в пределах слоя глубиной ~(10-20) мкм
значения сжимающих остаточных напряжений в WС и Со уменьшаются до нуля,
переходят в растягивающие и приближаются постепенно к исходным (рисунок 1) [5,
6].
Рисунок 1 - Распределение остаточных напряжений по глубине сплава ВК6
после алмазного шлифования
Глубина напряженного слоя составляет ~ (40-80) мкм. Это в несколько раз
больше высоты изношенной части режущей кромки инструмента, поэтому закономерна
взаимосвязь величины и характера износа инструмента с напряженным состоянием
зоны после шлифования.
Износ режущей кромки инструмента существенным образом зависит от вида и
условий заточки (алмазной или абразивной) в процессе его изготовления. После
алмазной обработки в поверхностном слое возникают остаточные сжимающие напряжения.
Как следствие режущая кромка остается острой, без сколов и выкрашиваний даже
при значительном износе. Лучшая исходная острота и более благоприятное
напряженное состояние кромки после алмазной обработки способствуют снижению
тепловыделения и усилий резания и приводят к тому, что как на начальной, так и
более поздних стадия износа степень термического и механического воздействия на
интенсивность и величину износа оказывается меньшей, чем при заточке
абразивными кругами, когда в поверхностном слое возникают остаточные напряжения
растяжения.
Влияние режимов шлифования на твердый сплав во многом зависит от
содержания в нем кобальта и дисперсности кобальтовых прослоек. Увеличение
пластичной связующей фазы в сплаве приводит к изменению взаимодействия шлифовального
круга с обрабатываемым материалом, вследствие чего возрастает температура на
поверхности контакта. Кроме того, уменьшение связности (т.е. среднего числа
межкарбидных контактов, приходящихся на одно зерно карбида) карбидного каркаса
вызывает снижение теплопроводности твердого сплава. Следовательно, различные
режимы шлифования будут неодинаково воздействовать на твердый сплав с низким
или высоким содержанием кобальта. Это подтверждается результатами экспериментов
по измерению величины и распределения остаточных напряжений в твердых сплавах
различных марок после алмазного шлифования [7].
Процесс упрочнения при алмазном шлифовании в большой степени связан с
характеристиками тонкой кристаллической структуры фазовых составляющих сплавов.
Исходя из общих представлений о физической природе упрочнения, как о процессе
создания препятствий для движения дислокаций, можно считать, что упрочнение в
процессе пластической деформации определяется главным образом взаимодействием
дислокаций, приводящим к таким изменениям в структуре, при которых их движение
становится затруднительным.
Величина и характер распределения остаточных напряжений сжатия являются
определяющими при алмазном шлифовании. Их изменение хорошо согласуется с
изменением прочностных характеристик. Так, создание в поверхностном слое
сжимающих напряжений способствует перемещению очага разрушения в более глубокие
от поверхности, менее нагруженные слои, что приводит к увеличению прочности и
долговечности. Плоское алмазное шлифование твердых сплавов при оптимальных для
данной марки сплава и характеристик алмазного круга режимах обеспечивает
значительное повышение указанных характеристик: предел прочности при изгибе и
ударная вязкость увеличиваются на 20-50%, а долговечность при гармоническом
нагружении - более чем на порядок.
Повышению прочностных характеристик при алмазном шлифовании способствует
силовой фактор. Отрицательная роль теплового фактора проявляется не из-за
"теплового удара", а вследствие неоднородной термопластической
деформации поверхностного слоя при шлифовании. В целом увеличение
износостойкости твердосплавного режущего инструмента после алмазной обработки
составляет в среднем 1,3 раза [11].
.1.2 Вибро- и дробеструйная обработки
Хорошие результаты в повышении эксплуатационных характеристик твердосплавного
инструмента, который разрушается в значительной мере в результате усталостных
явлений, обеспечиваются методами поверхностного пластического
деформирования(ППД): дробеструйное [10,11, 12, 13,14, 15] и вибрационной [10,
11, 16, 17] обработкой. Дробеструйное упрочнение резцов значительно уменьшает
число их поломок и в 2,0-2,5 раза повышает суммарную стойкость инструмента.
Вибрационной обработке подвергаются, как правило, сплавы, применяемые в
горнодобывающей промышленности. Наиболее эффективной является виброабразивная
обработка с последующим упрочнением в среде, где в качестве наполнителя
используются твердосплавные шарики [17]. Эффект упрочнение в этом случае связан
с пластической деформацией составляющих сплав фаз и внесением сжимающих напряжений.
Важным преимуществом вибрационной обработки является разнонаправленность удара
упрочняющего агента, что делает возможным равномерное упрочнение изделий
сложной формы.
Рентгенографические исследования поверхностного слоя сплавов ВК6 и ВК20
после дробеструйной обработки покатали существенные изменения в структуре
карбидной и кобальтовой фаз, которые распространяются на глубину до ~0,25 мм
[13]. В Со-фазе растягивающие напряжения ~0,02 ГПа, возникающие при спекании
твердого сплава, уступают место напряжениям сжатия ~0,04 ГПа. В карбидной фазе
величина исходных сжимающих напряжений резко увеличивается с (0,02-0,03) ГПа до
0,12 ГПа, т.е. дробеструйное упрочнение вызывает наибольшие изменения в
карбидной фазе сплавов. Величина наведенных остаточных напряжений зависит от
твердости частиц, используемых при обдувке, а именно, повышается с увеличением
твердости частиц по Виккерсу (в последовательности SiO2 , сталь, Al2O3) [18].
В результате вибрационной обработки в карбидной фазе сплавов ВК6, ВК11В,
ВК25 также возникают значительные напряжения сжатия [19]. После 1 часа
обработки сплава ВК8 величина микронапряжений возрастает почти а два раза и
достигает значений (0,1 - 0,11) ГПа, при этом соответственно растет величина σизг. с ~160х107 до ~220х107Па.
Для режимов вибрационной обработки, характеризующихся большим временем
обработки, остаточные сжимающие напряжения для сплавов ВК6. ВК8В, ВК15
достигают величины ~1.4 ГПа после 4 часов обработки и распространяются на
глубину ~(0,1 -0,15) мм. Зафиксированное изменение напряженного состояния
поверхностного слоя сплавов обусловлено главным образом структурными
изменениями.
Эффект дробеструйного упрочнения твердых сплавов наряду с изменением
макронапряжений в поверхностном слое в значительной степени связан с изменением
тонкой структуры кобальта и карбида вольфрама (рисунок 2.1, рисунок 2.2). В
этом случае размеры блоков уменьшаются в WC-фазе в 10-14 раз, в Со-фазе - ~2
раза, микронапряжения в WC -фазе возрастают в 9-10 раз, в Со-фазе - ~2 раза
[13]. Аналогичные явления зафиксированы в WC -фазе сплавов ВК6, ВК15 после их
вибрационной обработки [20].
В отличие от алмазного шлифования виброобработка оказывает более сильное
воздействие на микроискажения решетки и меньшее на дробление блоков мозаики.
Как вибрационная, так и дробеструйная обработки, проведенные по оптимальным
режимам, обеспечивающим максимальную степень упрочнения сплавов, приводят к
росту их механических характеристик.
Использование этих методов ППД повышает статическую и динамическую
прочность сплавов. Величина этого повышения определяется характером и режимом
обработки.
Эффективность упрочнения во многом зависит от исходного состояния
поверхностного слоя твердых сплавов, чем и объясняется наряду с различиями в
режимах обработки разброс в данных по повышению их прочностных характеристик.
Особенно существенное влияние на эффективность упрочнения оказывает уровень
поверхностных остаточных напряжений растяжения твердосплавных изделий в
состоянии поставки. Чем больше их величина, тем более значительно влияние
упрочнения на эксплуатационные характеристики твердых сплавов[4].
Улучшение эксплуатационных характеристик твердосплавного режущего
инструмента после упрочнения методами ППД обусловлено повышением их прочностных
характеристик. В частности, повышение сопротивления поверхностного слоя
твердого сплава хрупкому разрушению после обработки дробью, можно объяснить,
если учесть, что в процессе резания разрушение начинается на передней
поверхности инструмента под действием растягивающих напряжений [13,14].
Трещины, зарождаясь в кобальте, где появляются остаточные напряжения растяжения
[21], распространяются через карбидные зерна в кобальтовые прослойки. После
обработки растягивающие напряжения в кобальте заменяются сжимающими, что
препятствует возникновению трещины; увеличение сжимающих напряжений в карбидах
затрудняет дальнейшее распространение трещины через карбиды.
Степень упрочнения и повышение прочностных характеристик твердых сплавов
в случае их обработки методами ППД объясняется наклепом поверхностного слоя и
созданием в нем остаточных напряжений сжатия. При этом глубина упрочненного
слоя и распределение остаточных напряжений определяются режимами обработки[4].
.1.3 Обработка ультразвуком
Основные особенности воздействия ультразвуковых колебаний на свойства
твердых сплавов в зависимости от способа и режимов обработки поверхности
определяются специфической природой данного метода упрочняющей обработки и
наиболее существенные из них состоят в том, что переменные напряжения различной
частоты и амплитуды оказывают влияние на микроструктуру сплавов, макро- и
микронапряжения, углы разориентировки блоков мозаики, плотность дислокаций, распад
пересыщенных твердых растворов, при этом ультразвуковой метод обработки твердых
сплавов отличается отсутствием высоких температур в зоне обработки. При
ультразвуковом воздействии изменениям подвержены как карбидная, так и
кобальтовая фазы сплава [22, 23, 24, 25, 26, 27, 28].
Структура и механические свойства твердых сплавов промышленных марок
(ВК6, ВК15) сложным образом зависят от условий воздействия ультразвука (в
основном, от продолжительности обработки). Это позволяет предположить, что
часть изменений в структуре материала характеризует упрочняющее действие
УЗ-колебаний, а часть - разупрочняющее. К упрочняющим характеристикам
относятся: "...изменение напряжений 1-рода в WC- и Со-фазах, напряжений
I-рода и размеров блоков мозаики в WC- и Со-фазах, перераспределение дислокаций
и вакансий по объему материала, не сопровождающееся значительной релаксацией
внутренних напряжений, создание полей упругих искажений в зернах сплава"
[25]. Это не совсем точно, т.к. прочностные свойства сплавов, а значит и стойкостные
характеристики инструмента, определяются не столько изменением величины
напряжений I рода, сколько ее абсолютным значением и знаком, не столько
изменением размеров блоков мозаики, сколько их уменьшением. Перераспределение
дислокаций и вакансий также незначительно характеризует степень упрочнения
материала. Здесь наиболее важно знать и учитывать величину плотности дефектов в
кристаллической структуре сплавов.
К разупрочняющим характеристикам относятся: создание в твердом сплаве
сети микротрещин, являющихся зародышами разрушающей трещины; развитие и рост во
время обработки уже существующих микротрещин.
Свойства сплавов после упрочнения будут определяться тем, какие из
указанных факторов будут преобладать на данном этапе обработки УЗ-
колебаниями[4].
Исследование прочностных свойств (а именно: σизг.) сплавов с различным содержанием
кобальта (ВК6, ВК15) выявило циклическое изменение прочности на изгиб в
зависимости от длительности УЗ-обработки (τвозд) (рисунок 3) [26]. Скорее всего,
это обусловлено многообразием факторов, характеризующих действие УЗ-колебаний
на материал.
Рисунок 3 - Зависимость предела прочности при изгибе от продолжительности
УЗ-обработки( f=23кГц, Δ=3-5 мкм)
После УЗ-обработки в течение 5 мин сплав ВК6 приближается по прочности к
некоторым образцам сплава ВК15, необработанным ультразвуком, а прочность сплава
ВК15 превышает прочность необработанного ультразвуком сплава ВК20 [23, 26].
Следовательно, применив УЗ - обработку к среднекобальтовым сплавам, можно
повысить их прочностные свойства до уровня некоторых высококобальтовых сплавов
с одновременным сохранением режущих свойств. Это особенно важно при
эксплуатации твердосплавного инструмента, используемого для черновой обработки
материалов, применяемого для оснащения буровых коронок и штампов.
Одним из возможных механизмов увеличения прочности при изгибе твердых
сплавов после УЗ-обработки (амплитуда УЗ-колебаний А=6-8 мкм, частота f=22-24
кГц, статическая нагрузка σст.=200 МПа) при малых длительностях
"озвучивания" (120-180) с на 15...30% (в зависимости от марки сплава)
и микротвердости на (1000... 1500) МПа является объемный наклеп сплава.
Наблюдаемый наклеп цементирующей связки вызывает в поверхностных зонах образцов
сжимающие напряжения как в Со-, так и в WC-фазах, что увеличивает прочность
кобальтовой связки и силу сцепления зерен WC и Со в твердом сплаве.
Уменьшение растягивающих напряжений в кобальте обусловлено пластической
деформацией как связки, так и карбидного каркаса [27]. Отличительной
особенностью процесса пластической деформации зерен WC при УЗ-обработке
является интенсивное развитие множественного скольжения, которому способствует
высокая скорость деформации. Причем количество зерен WC с признаками
пластической деформации может составлять до 80% [29].
Объемный наклеп твердосплавных изделий под влиянием совместных
статического и ультразвукового воздействий приводит к увеличению напряжений
сжатия в WC-фазе (для сплава ВК20 с (100-200) МПа до (500-600) МПа при τвозд. до 120 с) и снижению
растягивающих напряжений в цементирующей связке (при τвозд до 120 с σост. Со в сплаве ВК20 уменьшаются с
200-300 МПа до 100-150 МПа) [27]. Изменение напряженного состояния компонент
сплава ведет к повышению энергии, необходимой для роста и распространения
разрушающей трещины, возникающей на поверхности рабочей части инструмента при
его эксплуатации. Следовательно, разрушение обработанного изделия начнется при
напряжениях более высоких, чем необработанного. Указанные эффекты, в основном,
и определяют изменение прочностных характеристик сплавов после обработки.
Прочность при изгибе твердосплавных изделий, обработанных механическими
колебаниями ультразвуковой частоты, увеличивается на 15-30% (в зависимости от
марки сплава), микротвердость ~ на 1000-1500 МПа. УЗ-обработка продолжительностью
более 180 с вызывает снижение прочностных характеристик малокобальтовых твердых
сплавов.
Введение в зону резания ультразвука сопровождается структурно-термической
активацией контактных поверхностей, повышением их энергетического состояния и
реакционной способности и в итоге интенсифицирует формирование в зоне контакта
прочных окисных и адсорбционных пленок. Последние препятствуют выходу
дислокаций в зону контакта и, таким образом, оказывают экранирующее действие на
адгезионные процессы. Коэффициент трения и молекулярная составляющая
коэффициента трения в диапазоне амплитуд УЗ- колебаний 4…6 мкм уменьшаются
почти в два раза. Наблюдается резкое снижение износа режущего инструмента,
уменьшение сил резания, улучшение микрогеометрии обработанной поверхности[4].
.1.4 Радиационная обработка
Наряду с известными способами поверхностной обработки твердых сплавов в
последние годы развиваются научные основы радиационной обработки, где в
качестве источника излучения используются потоки электронов [30], ионов [31],
протонов [32, 33], α-частиц [33] или γ-квантов [34] различной интенсивности.
Этот способ модификации поверхности твердых сплавов, также как и ранее
описанные способы упрочняющей обработки, предоставляет определенные возможности
по изменению структуры материала и его физико-механических характеристик,
которые приводят к улучшению эксплуатационных показателей работоспособности
инструмента на их основе.
Коэффициент стойкости инструмента после радиационной обработки может
увеличиваться в несколько раз, при этом размер и состояние поверхности
упрочненного изделия остаются неизменными. В случае использования слаботочных
электронных пучков высокой энергии (1,5-5,0) Мэв, проникающих на сравнительно
большие глубины, упрочняется большой объем материала. В этом случае возможна
многократная переточка упрочненного инструмента, что выгодно отличает
радиационную обработку от других методов, обеспечивающих упрочнение лишь
поверхностного слоя.
Физические механизмы радиационного упрочнения твердых сплавов до сих пор
до конца не выяснены, хотя и исследуются достаточно интенсивно [30, 31, 32,
33]. Одной из основных причин существующих разногласий по поводу механизмов
упрочнения твердых сплавов при ионизирующем облучении является отсутствие
четкого разделения радиационного и термического вкладов в структурно-фазовые
превращения и сопутствующие им процессы. К числу возможных
радиационно-стимулированных процессов, оказывающих существенное влияние на
структурно-фазовое состояние сплавов, можно отнести:
процессы радиационно-усиленной диффузии,
перераспределение компонентов сплава за счет эффекта
радиационно-индуцированной сегрегации,
увеличение растворимости WC в кобальте, вызванное повышением свободной
энергии карбида при его разупрочнении или динамическими эффектами,
растворение и повторное выделение мелкодисперсных частиц карбида
вольфрама в кобальте,
изменение состояния границы раздела WC-WC и WC-Со за счет растворения
карбидов в кобальте и радиационного перемешивания,
радиационно-стимулированное залечивание существующих микротрещин.
При исследовании и разработке технологий радиационного упрочнения твердых
сплавов в случае использования импульсного облучения ионными или электронными
пучками высокой плотности роль теплового воздействия достаточно велика. В этом
случае поверхностные слои материала могут нагреваться вплоть до температуры
плавления. Высокотемпературный кратковременный нагрев вызывает дополнительное
растворение карбидов вольфрама в кобальте, уменьшение связности и смежности
зерен WC и сопровождается возникновением больших температурных градиентов.
Поэтому, при последующем быстром охлаждении структура приповерхностных слоев
сплава становится неравновесной и характеризуется высоким уровнем закалочных
макронапряжений, вызванных не только межфазовыми напряжениями из-за различия
температурных коэффициентов расширения карбидов и кобальтовой связки, но и
чисто термическими напряжениями. При ионном облучении ситуация усугубляется
введением в приповерхностный слой имплантированных ионов.
В силу указанных выше причин при радиационной обработке твердых сплавов
весьма сложны и разнообразны структурные изменения в материале, подвергнутом
облучению, очень резко выражена зависимость свойств сплавов и их
физико-механических характеристик от величины дозы облучения.
Применяя в качестве способа обработки твердых сплавов радиационное
облучение (воздействие потоком γ-квантов), регулируя величину потока
облучения и энергию квантов, можно изменять количественную и качественную
сторону твердофазных реакций на границе фаз в исследуемой гетерогенной системе,
оказывать существенное влияние на прочностные свойства сплавов и
соответствующих его компонент, эксплуатационные свойства инструмента на их
основе[4].
Для твердых сплавов группы ВК после радиационного облучения γ-квантами изменение пределов прочности
на сжатие σсж. и изгиб σизг. в зависимости от флюенса (Ф)
носит осциллирующий характер (рисунок 4а, б)[34].
Данное обстоятельство объясняется тем, что конкретное значение величины
дозы облучения вызывает, в зависимости от термодинамического потенциала
композиционного материала, процессы, приводящие к упорядочению или
разупорядочению структуры (что можно интерпретировать как уменьшение свободной
энергии Гиббса или ее повышение).
Рисунок 4 - Зависимость предела прочности твердого сплава на сжатие(а),
на изгиб(б) от величины флюенса гамма-квантов
Это обуславливается неоднородностью геометрического и физического
исходного состояния порошков компонентов твердого сплава, несовершенством
технологии спекания и охлаждения.
Степень дефектности составляющих сплав фаз после облучения в основном
определяет изменения в структуре вольфрамокобальтовых сплавов, а именно:
протекание процессов упорядочения и разупорядочения в их кристаллической
структуре, от которых зависит циклическое поведение прочностных характеристик
при радиационном облучении.
Избирательное взаимодействие примесных атомов, находящихся в составе
кобальта, с вакансиями, дислокациями, границами зерен, междоузельными атомами и
т.д., вызываемое γ-облучением, существенным образом может изменить
термодинамические и кинетические свойства рассматриваемой системы. Причем эти
изменения могут вести как к уменьшению свободной энергии в твердом теле, так и
к повышению. Другими словами, в зависимости от исходного состояния кобальта
радиационное облучение может вызвать как его упрочнение, так и разупрочнение.
Разупрочнение сопровождается релаксацией внутренних напряжений, объемными
напряжениями при переходе ГЦК-решетки в ГПУ и другими изменениями физических
свойств.
Упрочнение характеризуется увеличением пределов текучести, прочности,
твердости, изменением магнитных свойств, внутреннего трения и ряда других
свойств. Фрактография изломов существенно отличается для облученных и
контрольных кобальтовых образцов по ориентации поверхности разрушения,
макрогеометрии, степени пластической деформации и т.д.
Радиационное облучение приводит к тому, что поверхность излома
характеризуется наличием волокон, образующихся при пластической деформации в
процессе разрушения. Обнаруженная слоистость является признаком анизотропии
механических свойств и связана со структурной неоднородностью материала.
Кроме явлений в кобальте, на упрочнение при радиационном облучении
большое влияние оказывают процессы стимулированной диффузии углерода в карбидных
зернах и диффузии в области рассосредоточения микротрещин. Последнее
обстоятельство снижает микронапряжения в вершине трещин, а в некоторых случаях
способствует их залечиванию. В итоге в структуре кристаллов снижается плотность
точечных дефектов, повышается степень их стехиометрии [4].
Испытания на износостойкость при резании облученными твердосплавными
резцами стали 12Х18Н10Т показывают аналогичный (осциллирующий) характер
изменения зависимости износостойкости от флюенса γ-квантов, как и при механических
испытаниях [36]. Максимальную стойкость при резании на высоких скоростях
(v=100-150 м/мин) имеют резцы из сплавов ВК4 и ВК8, получившие дозу
радиационного облучения, соответствующую максимумам при исследовании на сжатие,
а при низких скоростях резания (v=50-80 м/мин) наибольшая стойкость наблюдалась
при дозах, коррелирующих со значениями экстремумов, наблюдавшихся при
испытаниях на изгиб.
Итак, радиационное облучение потоком γ-квантов твердосплавных
инструментальных материалов приводит к следующим изменениям их структуры и
свойств:
наблюдается осциллирующее изменение механических характеристик сплавов,
причем воздействие радиации стабилизирует свойства материалов;
с помощью облучения имеется возможность создать условия оптимального
контактного взаимодействия твердых сплавов с обрабатываемым материалом, изменяя
в инструменте напряженное состояние. В частности, можно получить такое
напряженное состояние в компонентах сплава, что оно приводит к повышению его
прочности на изгиб;
с повышением дозы облучения увеличивается степень стехиометрии порошка
карбида вольфрама, уменьшается дефектность структуры, снижаются микронапряжения
в вершине трещин, увеличивается общая адгезионная прочность сцепления
составляющих компонент в сплаве;
для различных условий эксплуатации облученных твердосплавных резцов
максимальные значения стойкостных параметров наблюдаются при дозах
радиационного облучения, коррелирующих с экстремумами, зафиксированными либо
при испытаниях на сжатие (для высоких скоростей резания), либо на изгиб (для низких
скоростей резания).
Отличительной особенностью процесса радиационного модифицирования
поверхности твердых сплавов является необходимость эксплуатации упрочненного
инструмента при конкретных режимах резания, что в первую очередь обусловлено
изменением механизма изнашивания в зоне контакта при смене режима нагружения и
необходимостью согласования наведенных структурных изменений с характером
износа; а во-вторых - немонотонностью изменения прочностных характеристик
сплавов в зависимости от дозы радиационного облучения. В такой ситуации
первостепенное значение приобретает вопрос о рациональном сочетании условий
облучения и условий эксплуатации облученного инструмента с целью повышения его
характеристик[4].
1.1.5 Магнитно-алмазное полирование
Одним из альтернативных способов повышения работоспособности
твердосплавного инструмента является магнитно-алмазное полирование (МАП).
Наиболее известные схемы реализации магнитно-абразивного процесса подробно
представлены и детально описаны в [35]. Характерной его особенностью является
возможность удаления тонкого поверхностного слоя, содержащего дефекты,
образовавшиеся на предыдущих операциях.
Использование МАП для обработки твердосплавных метчиков позволяет
достигать шероховатости Ra поверхностей профиля резьбы метчика не более
0,02-0,04 мкм, что способствует снижению крутящего момента при резьбонарезании
[36]. Равномерность шероховатости на всей обрабатываемой поверхности
обеспечивается правильным проведением процесса, соблюдением всех необходимых
технологических режимов и требований.
В процессе магнитно-алмазного полирования отсутствуют высокие
температуры, способные вызвать прижоги и другие негативные изменения структуры
приповерхностного слоя. МАП обладает упрочняющим действием в результате
образования в приповерхностном слое сжимающих остаточных напряжений [35, 37],
скругления режущих кромок инструмента [38], удаления на них концентраторов
напряжений. Важной стороной МАП является возможность одновременного
затыловывания зубьев ведущей калибрующей части метчика [39], что позволяет без
дополнительных затрат повысить точность резьбонарезания. Для метчиков с
пластинами из твердого сплава ВК8, обработанных в магнитном поле, стойкость
увеличивается на 50-90% при нарезании резьбы в деталях из ковкого чугуна
КЧЗО-6. Упрочнение проводилось в магнитном поле с индуктивностью 1Тл с подачей
абразивного порошка, включающего алмазы и частицы железа. Скорость резания
10…25м/мин, длина отверстия13,5…30 мм (рисунок 5). После нарезания резьбы в
5000 отверстиях на метчиках, прошедших МАП, в 1,5…1,8 раза меньше выкрашивание
и в 3 раза меньше сколов длиной 0,2…0,8 мм, чем на серийных.
Рисунок 5 - Зависимость износа по задней поверхности неполированного
метчика(1) и метчика, прошедшего МАП(2), от количества нарезанных отверстий при
обработке деталей из чугуна КЧ30-6
Результаты исследования свидетельствуют о перспективности применения
магнитно-абразивного полирования для обеспечения стабильной точности
резьбонарезания и снижен расход твердосплавных метчиков[4].
.1.6 Лазерное упрочнение
Среди существующих методов поверхностной обработки большой интерес представляет
упрочнение твёрдых сплавов на основе карбида вольфрама и кобальта лазерным
излучением.
Современные исследования показывают[40], что после упрочнения
микротвердость поверхностного слоя увеличивается до 35 ГПа. Это объясняется
образованием карбидов типа W2C, твердость которых выше чем WC (на 10-14 ГПа).
При этом изменяется тонкая структура и состав связующего сплава.
Если плотность энергии не превышает 80 Дж/см2, то происходит насыщение
связки продуктами деструкции монокарбида WC. При плотности энергии 80-100
Дж/см2 образуются сложные карбиды C03W3C, которые разупрочняют сплав вследствие
уменьшения содержания в связке металлического кобальта. При плотности энергии
140-280 Дж/см2 в связующем слое появляются сложные карбиды с нарушенной
стехиометрией (типа CoxWyCz), а также заметно увеличивается количество
полукарбидов W2C и кубического карбида WC.
Для повышения износостойкости твердых сплавов с содержанием кобальта 3-6
% плотность энергии не должна превышать 80 Дж/см2, для сплавов с содержанием
кобальта 6-8 и 10 % она должна быть соответственно 100 и 120 Дж/см2.
При низкоэнергетическом облучении агрегатное состояние сплава практически
не изменяется.
Установлено, что способность твердого сплава к образованию трещин в
значительной мере зависит от количества кобальтовой связки и возможности
измельчения карбидных зерен. Продуктами разложения монокарбида WC являются
гранецентрированные карбиды WC, двойные карбиды W2C и т.д., которые обогащают
связующий слой кобальта и отрицательно влияют на прочность сплава[40].
Исследование влияния импульсно-лазерной обработки сплавов типа ВК[41], на
изменение их механических и физических свойств, а также работоспособности
показали, что свойства упрочненного твердого сплава изменяются во времени.
Непосредственно после упрочнения твердость возрастает на 4 - 6 кг/мм2
х102 , затем падает в течение 6-и суток, достигает на 10-14 сутки своего
максимума (выше первоначального значения на 8 - 10 кг/мм2 х102 ), после чего
падает ниже исходной твердости и затем стабилизируется на 90 - 100 сутки (на 1
- 2 кг/мм2х102 выше начальной величины, рисунок 6).
Увеличивается также во времени и коэрцитивная сила материала в пределах
10 - 25%, на 20 - 25 сутки. Был зарегистрирован рост внутреннего трения в
упрочненных образцах на 25 - 30%. Установлена тенденция к увеличению плотности
твердого сплава на 0,1 - 0,15%. При помощи электронной микроскопии замечено
изменение дисперсности карбидной фазы в результате импульсного воздействия
(рисунок 7)[41].
Приведенные данные свидетельствуют об изменении напряженного состояния,
кристаллического строения и фазового состава твердого сплава после ИЛО.
Известно[42], что на работоспособность твердосплавного инструмента влияет
химический состав материала, его зернистость, гранулометрический состав,
структура, пористость, соотношение и характер распределения фаз, напряженное
состояние.
Структура твердого сплава представляет собой два взаимно пронизывающих
скелета - карбидного и кобальтовой связки. Свойства такого каркасного материала
в значительной мере зависят от толщины прослоек цементирующей фазы, которая, в
свою очередь, обусловлена зернистостью карбидов.
При выборе марки твердого сплава лимитирующими являются значения его
прочности. Так, при содержании кобальта в твердом сплаве в количестве 8% асж
достигает своего максимального значения (5000 МПа) при среднем размере зерна
d=1,6мкм (при d=5,3мкм - 3500 МПа). При тех же размерах зерен твердость твердых
сплавов также достигает максимума (HV=14 ГПа)[41].
Рисунок 6- График изменения микротвердости твердого сплава после ИЛО
до ИЛО после ИЛО
Рисунок 7 - Зернистость твердого сплава ВК8, х2000
Существенную роль в способности твердого сплава сопротивляться деформации
играет напряженное состояние как карбидной, так и кобальтовой фаз. В частности,
растягивающие напряжения, возникающие при охлаждении в связке, могут привести к
разрушению твердого сплава даже при незначительных изгибающих нагрузках.
Упрочнение твердых сплавов поверхностной обработкой (дробеструйная,
вибрационная, алмазная и др.), изменяющей напряженное состояние карбидной фазы
поверхностного слоя, происходит вследствие возникновения микроискажений решетки
карбидной фазы, а также частичного перехода кристаллической решетки кобальта из
кубической α-модификации к гексагональной β-модификации. При этом увеличиваются
прочностные характеристики, свойства сплава стабилизируются, а стойкость
твердосплавных матриц возрастает в 2 раза[42].
Многочисленные работы по исследованию твердых сплавов показали,
что причиной зарождения микротрещин в материале являются поры как
концентраторы напряжений. При традиционной технологии получения твердого сплава
пористость составляет до 5%. Существующие способы производства беспористых
твердых сплавов (импульсное, магнитно-импульсное прессование) имеют низкую
производительность, сложное оборудование и трудность автоматизации. Упомянутое
выше увеличение плотности твердого сплава при импульсной лазерной обработке
говорит о возможности уменьшения пористости материала, что должно обеспечить
лучшие надежность и безотказность работы инструмента.
Таким образом, вышеописанные данные, говорят о потенциале
импульсно-лазерной объемной обработки, как эффективном способе модификации
твердых сплавов. Таким видом упрочнения можно в широких пределах изменять
параметры твердого сплава, (зернистость, фазовый состав, пористость,
напряженное состояние, плотность), влияющие на его эксплуатационные
свойства[41].
Более детальное изучение и оптимизация технологии импульсно-лазерного
упрочнения твердого сплава позволит повысить эффективность процесса и будет
способствовать его широкому применению в производстве.
.1.7 Плазменно-детонационное упрочнение
В настоящее отмечена высокая эффективность упрочнения различных сплавов,
модифицирования их поверхности с использованием концентрированных потоков
энергии.
Наиболее существенной особенностью такого упрочнения является высокая
скорость нагрева и охлаждения, что значительно влияет на структуру и свойства
исходного материала. Большой интерес представляет упрочнение твёрдых сплавов на
основе карбидов вольфрама и кобальта. К наиболее известным и эффективным
методам обработки твердых сплавов относят также упрочнение взрывом.
Применение плазменно-детонационной обработки является более эффективным,
поскольку на материал одновременно оказывается термохимическое и
термомеханическое воздействие[40], в результате реализуются большие скорости
нагрева и охлаждения, а также происходит нагрев внутренних слоёв материала
вследствие распространения тепловой волны и после окончания импульса, что
повышает эффективность обработки поверхности при использовании серии импульсов.
Обработка поверхности импульсной плазмой более эффективна, чем обработка
непрерывным потоком плазмы, что, по-видимому, обусловлено большей на 1-2
порядка скоростью нагрева и охлаждения, а также воздействием электромагнитных и
ударных волн. Нагрев внутренних слоев материала изделия продолжается вследствие
распространения тепловой волны и после окончания импульса, что повышает
эффективность обработки поверхности изделий серией чередующихся импульсов [40].
Рассмотрим механизм упрочнения твердых сплавов при данном типе обработки.
.1.7.1
Плазменное упрочнение
Перспективным направлением использования плазменной обработки в
инструментальном производстве является упрочнение инструмента из
спеченных твердых сплавов, которые имеют намного выше твердость и
теплостойкость по сравнению с быстрорежущими сталями. Однако эксплуатационная
стойкость твердосплавного инструмента в некоторых случаях не превышает
стойкость стального инструмента, что обусловлено высокой хрупкостью спеченных
твердых сплавов.
Изнашивание упрочненной кромки твердосплавного инструмента при умеренных
режимах резания имеет избирательный характер.
В первый момент изнашивается относительно мягкая связующая фаза, а затем
постепенно выкрашиваются оголенные твердые карбидные зерна. Однако благодаря
более высокой теплостойкости твердых сплавов (800-1000 °С против 620 °С для
стали Р6М5) их применение более эффективно при высокой скорости резания или
обработке труднообрабатываемых материалов. В этих случаях инструмент главным
образом изнашивается путем хрупких микроразрушений режущей кромки. Поэтому
твердый сплав должен иметь не только высокую твердость и теплостойкость, но и
высокую вязкость разрушения композиции.
Технология плазменного упрочнения изучалась на режущих пластинах,
представляющих собой резцы с напаянными и неперетачиваемыми пластинами из
твердых сплавов систем WC-Co и WC-TiC-Co с различным содержанием карбидов и
связующей фазы (таблица 1) [43].
Структура сплавов WC-Co в исходном состоянии представляет собой свободные
и контактирующие частицы карбида вольфрама, погруженные в твердый раствор
вольфрама и углерода в кобальте.
Сплавы WC-TiC-Co в исходном состоянии (после спекания) имеют трехфазную
структуру и состоят из овальных кристаллов (Ti, W)C, образующихся в результате
диффузии и растворения вольфрама, и углерода в TiC при спекании зерен карбида
WC. С увеличением содержания связующей фазы исходная твердость сплава
снижается[40].
Таблица 1 - Свойства твердых сплавов в исходном и упрочненном состояниях
|
Марка сплава
|
Химический состав, %
|
Исходная твердость HV, ГПа
|
Твердость HV после
плазменной обработки, ГПа
|
|
WC
|
TiC
|
Со
|
|
сплав плавленый
|
плавленая Со-связка
|
превращения в карбиде и
связке
|
превращения в Со-связке
|
|
ВК4
|
96
|
-
|
4
|
14,20-14,70
|
15,30-16,75
|
15,70-15,90
|
16,80-17,25
|
14,20-14,70
|
|
ВК6
|
94
|
-
|
6
|
13,80-14,45
|
15,15-16,35
|
15,50-15,65
|
16,45-16,95
|
13,80-14,45
|
|
ВК8
|
92
|
-
|
8
|
14,05-14,50
|
15,15-16,70
|
15,20-15,45
|
15,90-16,20
|
14,05-14,50
|
|
ВК15
|
85
|
-
|
15
|
12,90-13,20
|
15,30-16,40
|
14,00-14,40
|
15,35-15,75
|
12,90-13,20
|
|
Т5К10
|
85
|
5
|
10
|
14,20-14,75
|
16,00-16,85
|
15,80-16,10
|
16,60-17,00
|
14,20-14,75
|
|
Т15К6
|
79
|
15
|
6
|
14,55-15,00
|
16,00-16,85
|
16,00-16,25
|
17,05-17,25
|
14,55-15,00
|
Плазменный нагрев даёт возможность реализовать обработку материала в
нескольких режимах: с полным поверхностным расплавлением, частичным
расплавлением только связующей фазы, без расплавления с превращениями в
карбидах и связке, либо только в связке. Данные режимы отличаются мощностью
нагрева, которая может колебаться 20-150 кВт/см2.
При плазменной обработке с полным расплавлением композиции происходит
интенсивное образование пор и сетки микротрещин, связанное с выгоранием связки
и сверхбыстрой (со скоростью порядка 104-105 °С/с) кристаллизацией
расплавленного слоя. Стойкость инструмента при такой обработке, несмотря на
увеличение твердости, не повышается, причиной чего является хрупкость
упрочненной режущей кромки.
Плазменный нагрев с частичным расплавлением связующей фазы также приводит
к образованию пор и микротрещин на поверхности. Однако в этом случае они более
мелкие и их значительно меньше, чем при обработке с полным расплавлением.
Твердость поверхности упрочненных сплавов повышается незначительно, а наличие
на рабочей поверхности дефектов (трещин, микропор) не позволяет использовать
упрочнение для повышения стойкости инструмента.
Наиболее высокие значения твердости исследованных сплавов достигаются при
плазменной обработке без расплавления связки - при нагреве поверхности до
температур порядка 1300-1495 °С. В этом случае основным процессом, определяющим
структуру и свойства упрочненной зоны, является контактное плавление межфазных
границ карбид-связка.
Для сплавов WC-Co контактное плавление межфазных границ. В условиях
хорошей смачиваемости компонентов (угол смачиваемости 0°) способствует разделению
плотных групп карбидов на мелкие частицы - монокристаллы, что является одним из
факторов повышения дисперсности структуры при упрочнении.
В условиях высокоскоростного нагрева и крайне малой выдержки в нагретом
состоянии одновременно с процессом перегруппировки нет роста частиц карбидов по
механизму перекристаллизации через связку (растворение - осаждение) и по
механизму коалесценции.
Степень превращения в карбидах в условиях контактного плавления
неодинакова и зависит от их размеров. Окончательная структура сплавов системы
WC-Co при плазменном упрочнении формируется в неравновесных условиях
высокоскоростного охлаждения. Распад пересыщенного твердого раствора вольфрама
и углерода в кобальт происходит с выделением дисперсных вторичных карбидов.
Наряду с измельчением карбидной фазы положительное влияние на свойства
упрочненных сплавов оказывает и изменение формы зерен: исходные прямоугольные
очертания нарушаются, зерна приобретают неправильную форму и «рыхлые» края.
При плазменной обработке поверхности сплавов системы WC-TiC-Co без
расплавления поверхности твердость также значительно повышается. Эти сплавы
характеризуются неполной смачиваемостью компонентов (θ
> 0°) и условиях
контактного плавления, что не в полной мере позволяет реализовать дисперсионное
упрочнение связки. Повышение твердости сплавов WC-TiC-Co после плазменного
воздействия связано с измельчением зерен и упрочнением связки при насыщении ее
вольфрамом и углеродом в результате диффузии и распада пересыщенного твердого
раствора (Ti, W)C[40].
Плазменное упрочнение без расплавления с превращениями только в Co-связке
(нагрев до температуры ниже 1200 °С) не приводит к заметному повышению
твердости и изменениям структуры, что обусловлено кратковременностью
воздействия. Карбидные зерна и межфазные границы сохраняются неизменными[40].
Таким образом, при плазменной обработке на оптимальных режимах повышение
твердости спеченных твердых сплавов обусловлено дисперсионным механизмом
упрочнения связующей фазы и повышением степени дисперсности карбидной связки. В
результате реализуется зернограничное упрочнение сплава при увеличении удельной
поверхности межфазных границ карбид-карбид и карбид-связка[40, 41].
Влияние плазменной обработки на характер разрушения спеченных твердых
сплавов систем WC-Co и WC-TiC-Co исследовалось для среднезернистой серии со
средним размером карбидных зерен 2-3 мкм. Плазменную обработку каждого сплава
осуществляли на двух наиболее оптимальных режимах - с расплавлением кобальтовой
связки и без плавления с превращениями в карбидах и связке. Средние значения
исследованных параметров приведены в таблице 2[40].
Таблица 2 - Твердость HV и трещиностойкость поверхности твердых сплавов
при плазменном упрочнении
|
Марка сплава
|
HV, ГПа
|
К1с, МПа
|
|
исходный сплав
|
упрочненный слой
|
исходный сплав
|
упрочненный слой
|
|
ВК6
|
14,10
|
15,60/16,70
|
11,8
|
12,6/14,1
|
|
ВК15
|
13,05
|
14,20/15,65
|
12,9
|
13,6/14,4
|
|
Т5К10
|
14,50
|
15,95/16,80
|
8,4
|
9,1/10
|
|
Т15К6
|
14,80
|
16,10/17,15
|
7,2
|
7,9/8,6
|
|
Примечание. В числителе
приведены данные, полученные при обработке с расплавлением связки, в знаменателе
- при обработке без плавления.
|
Плазменное упрочнение твердых сплавов на оптимальных режимах не приводит
к снижению их трещиностойкости, несмотря на значительное повышение твердости. В
ряде случаев достигается повышение коэффициента Klc на 20 % по сравнению с
исходным состоянием. Из рекомендуемых режимов обработки наиболее эффективно
упрочнение без расплавления композиции с реализацией фазовых и структурных
превращений в карбидах и связке.
При плазменной обработке сплавов WC-Co происходит измельчение и
перегруппировка исходной карбидной фазы, а также насыщение цементирующей связки
дисперсными вторичными карбидами, что приводит к изменению значений удельных
контактных поверхностей (межфазных границ) карбид-карбид и карбид-связка -
наиболее слабых звеньев в композиции. При этом связующая фаза сохраняет свою
исходную высокую пластичность и одновременно насыщается дисперсными карбидами,
что, в свою очередь, значительно повышает ее прочность. В совокупности эти
факторы и обусловливают одновременное повышение твердости и стойкости к
образованию трещин в сплавах типа WC-Co при плазменной обработке.
Трещиностойкость сплавов WC-Ti-Co также повышается в результате
упрочнения, но в меньшей степени, чем сплавов WC-Co. Это связано как с низкой
исходной трещиностойкостью, так и недостаточно полной реализацией эффекта
контактного плавления межфазных границ (из-за неполной смачиваемости
компонентов) и, следовательно, отсутствием дисперсионного упрочнения связки при
скоростной обработке.
Плазменная обработка, способствуя измельчению карбидных зерен (уменьшению
dK), обеспечивает повышение твердости и трещиностойкости. Одновременно с этим
возрастает роль связующей фазы. Заметим, что насыщение связки вольфрамом и
углеродом, а также выделение ультрадисперсных вторичных карбидов при этом
способствуют ее упрочнению.
Плазменное упрочнение твердых сплавов приводит к качественному изменению
механизма их разрушения. Измельчение исходной карбидной фазы, выделение
субмикроскопических частиц вторичных карбидов способствуют реализации
преимущественно межзеренного разрушения по межфазным границам. Значительная
доля вязкого разрушения связующей фазы сохраняется, несмотря на ее насыщение
вольфрамом, углеродом и дисперсными вторичными карбидами. Упрочненный твердый
сплав сохраняет свойства композиционного материала. Положительное влияние на
повышение трещиностойкости сплавов оказывает и извилистая траектория трещины
благодаря значительному измельчению карбидных зерен и особенно образованию
мелких вторичных трещин, перпендикулярных магистральной трещине, что
свидетельствует о создании в связке дополнительного поля внутренних напряжений
и рассеивании энергии разрушения [40].
.1.7.2
Плазменно-детонационная обработка импульсной плазмой
Принцип работы плазменно-детонационного метода включает в себя
особенности нескольких современных методов упрочнения, которые в течении
нескольких десятилетий являются наиболее распространенными и эффективными. К
ним можно отнести такие методы упрочнения как электроэрозионная, лучевая,
плазменная и обработка взрывом.
Характерной особенностью структуры сплавов после импульсной плазменной
обработки является их способность сохранять твердость при последующих нагревах
в процессе трения.
Изменения в твердом сплаве при ПДО объясняются тем, что энергия
импульсной плазмы расходуется на возбуждение упругих колебаний отдельных групп
атомов, вызывает резкое повышение температуры в небольших объемах, дробление
зерен, дополнительное растворение вольфрама в кобальте и т.д. В результате
импульсного плазменного воздействия в структуре сплава образуется полукарбид
вольфрама, обладающий твердостью на 1200-1400 МПа выше, чем у исходного карбида
вольфрама. Результаты исследования структуры поверхности инструмента показали,
что после ПДО происходит плавление периферии зерен карбида вольфрама,
сплавление их между собой и образование характерной структуры - карбидной
сетки. Обнаружено, что происходит залечивание микротрещин, а также образование
мелкодисперсных карбидов со средними размерами до 0,5 мкм при среднем размере
исходных карбидов до 5 мкм[40]. Характерно, что изменение количества импульсов
приводит к изменению фазового состава связки.
Формирование высокоэнергетических импульсов осуществляется в плазмотроне
путем реализации в нем нестационарных детонационных режимов горения горючих
газовых смесей между двумя коаксиальными электродами[44].
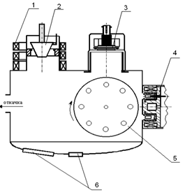
Рассмотрим устройство промышленного генератора импульсной плазмы с
конической РК сгорания, применяемого при ПДО различных металлов и
сплавов(рисунок 8). В нем стенки РК - катод и центральный электрод-анод -
включены в электрическую цепь. Продукты сгорания из детонационной пушки
вводятся в межэлектродный зазор и коммутируют электрический ток. В результате
дополнительного нагрева продуктов сгорания в зазоре-камере 9 формируется
плазма, камера ограничена стенкой (катодом) 8 и охлаждаемым водой кожухом 7.
Коническая поверхность камеры (катод) имеет открытый выход 10. В закрытой
части камеры выполнены конусные зазоры 6 и 16, а также изоляторы 17. На
последних закреплен конусный электрод (анод) 12, а по оси электрода установлен
стержень 11 из легирующих элементов. К внешней поверхности камеры 13 и
центральному электроду закреплены шины 14-18, которые служат для подвода
электрического потенциала.
Центральный электрод охлаждается воздухом через штуцер 15. Малогабаритная
детонационная пушка 5 соединена посредством жиклера 4 с камерой смешивания 3,
где установлена свеча зажигания 2. Компоненты горючей смеси вводятся в камеру
смешивания по штуцерам 1. РК генератора плазмы имеет вид конусной полости,
образованной электродами таким образом, чтобы конец анода 11 был углублен от
плоскости обреза катода 16 на величину его выходного диаметра.
Работа генератора осуществляется следующим образом. РК заполняется
горючей газовой смесью, в которой инициируется детонационный режим сгорания,
вследствие чего образуется слой продуктов сгорания с высокой
электропроводностью. По этому слою пропускают электрический ток между
электродами в режиме диссипации. В результате стационарный режим детонационного
сгорания переходит в сжатый режим, а затем и в магнитогазодинамический.
Высокоэнергетическая плазменная струя, формируемая между электродами,
направляется на поверхность упрочняемого образца, который включен в цепь в
качестве катода.
Рисунок 8 - Схема генератора импульсной плазмы с конической РК сгорания
Генератор плазмы работает на горючей смеси: пропан-бутан, кислород,
воздух (соотношение 5:1:8). Емкость заряда конденсаторов в электрическом
преобразователе составляет 400-1200 мкФ, напряжение 3,5 кВ, индуктивность
подводящих проводов 50 мкГн. Особенностью этого генератора является наличие
расходуемого электрода 11, который позволяет вводить в плазму легирующие
элементы. Кроме того, возможность продувки РК и электрода газами обеспечивает
подачу в межэлектродный зазор реакционного газа, а также защиту от окисления и
охлаждение модифицируемой поверхности. Фокусирование плазменной струи в данном
случае осуществляется газодинамическим сжатием на конусе 10 и силами,
образующимися при прохождении электрического тока между концом расходуемого
электрода и внутренней поверхностью конуса[40].
Энергетические характеристики плазменных струй на выходе из плазматрона
имеют зависимость от напряженности электрического поля и длины межэлектродного
зазора[44]. В результате экспериментального исследования установлено [40], что
при длине межэлектродного зазора L = 200 мм и напряженности электрического поля
400 -г- 500 кВ/м плазменная струя имеет температуру 20000 К, а скорость 6 км/с.
Плотность электрического тока в плазменной струе составляет J = (1-7)-103
А/см2, а температура 25000 К. Тепловой поток в изделие может изменяться в
диапазоне (0,1-5)-106 Вт/см2. Величина потока тепла зависит от прохождения
электрического тока по плазменной струе к поверхности образца. Изолированный от
" земли" образец не коммутирует электрический ток, и поверхность
обрабатывается только энергией плазменной струи [40].
Управление энергетическими характеристиками импульса осуществляется
изменением технологических параметров: емкости конденсаторов С = 600 - 1200
мкФ, расстоянием до поверхности изделия Н, а также включением изделия в
электрическую цепь как катод или изолировано[44].
Изучив существующие исследования по ПДО карбида вольфрама и связующей
фазы(кобальт)[44], можно сделать выводы о влиянии такой обработки на материал.
Импульсно плазменная обработка структуру и параметры WC существенно не меняет,
образцы имеют кристаллическую решетку ГПУ, в материале происходит рост
кристаллитов, связанный с перераспределением дефектов (дислокаций), что,
по-видимому, сопровождается образованием напряжений сжатия. Изменения связующей
фазы: в исходном состоянии кобальт - ГЦК со слегка измененным параметром.
Импульсно-плазменная обработка приводит к появлению сложной смеси фаз - ГПУ-Со,
сложных карбидов типа W6Co6C, W3Co3C и неравновесных карбидов составов W2C,
WC1x, W6C2 по-видимому, находящихся в связующей фазе.
Все это позволяет сделать заключение о том, что при обработке формируется
неравновесная структура связующей фазы, за счет чего возникают внутренние
напряжения сжатия, которые, естественно, должны увеличить работоспособность
материала[44].
.1.8 Химико-термическая обработка
В настоящее время существует множество разновидностей химико-термической
обработки материалов. В данном разделе будет рассмотрен способ обработки
твердосплавного инструмента, являющийся результатом исследования существующих
методов химико-термической обработки, анализа их достоинств и недостатков.
Существует способ химико-термической обработки сталей, включающий
приготовление обмазки на карбида бора, титана, ферромаpганца, фтористого натрия
и отходов катализаторного производства с водой в качестве связующего. ХТО
изделий проводят в электропечи при температуре 850-1050оС в течение 4-6 ч с
последующей закалкой при температуре диффузионного насыщения. Указанный способ
позволяет повысить насыщающую способность состава с увеличением толщины
упрочненного слоя до 190 мкм.
Также известен способ химико-термической обработки сталей, основанный на
диффузионном насыщении поверхностного слоя в твердой (порошковой) смеси
следующего состава: 40-60% B, 30-60% Ti и активатор, обеспечивающий получение
диффузионного слоя ≈100 мкм (в зависимости от состава слоя) с твердостью
Hν
= 1800.
Недостатком приведенных способов является низкая скорость формирования
боротитанированных слоев, большой расход насыщающей смеси при засыпке в
контейнер и невозможность повторного ее использования.
Прототипом рассматриваемой химико-термической обработки сплавов типа ВК
был способ комплексной химико-термической обработки твердосплавного инструмента
при температуре 980оС в течение 1-2 ч без использования защитной атмосферы в
порошковой насыщающей смеси следующего состава % : Карбид бора 20-25,
Железосинеродистый калий 26-20, Двуокись титана 16-20, Окись алюминия 16-20, Алюминий
10-16, Хлористый аммоний, 1-3 Древесный уголь 6-11. Данный способ обеспечивает
получение высокой микротвердости покрытия (2620-2760 кгс/кв. мм) при глубине
диффузионного слоя 6-6,5 мкм. Однако этот метод может быть использован только
при производстве многоогранных неперетачиваемых твердосплавных пластин и не
пригоден при изготовлении, например, бурового инструмента из твердого сплава,
т. к. достигаемая глубина диффузионного слоя не удовлетворяет требованиям их
износостойкости[45].
Главной задачей при разработке данного метода было создание
высокоизносостойкого твердосплавного инструмента, работающего при повышенных
давлениях и ударных нагрузках.
В результате её решения разработан способ химико-термической обработки
твердосплавного инструмента, включающий обработку в смеси порошков
боросодержащих и титаносодержащих компонентов, оксида алюминия и активатора, в
котором перед обработкой инструмент выдавливают в смесь порошков, а обработку
проводят в две стадии в вакууме сначала при температуре 980±5оС в течение 2-2,5
ч, затем - при температуре 1000±5оС в течение 2-2,5 в смеси, содержащей в
качестве боросодержащего компонента бор, в качестве титаносодержащего - титан и
фтористый аммоний в качестве активатора, при следующем соотношении компонентов,
мас. % : бор 40-50, титан 30-40, оксид алюминия 15-20, фтористый аммоний до 5.
Порошки титана и аморфного бора являются поставщиками активных атомов Ti и B
для образования диффузионного слоя.
Фтористый аммоний NH F (ГОСТ 3775-72) - активатор процесса и служит для
создания газовой фазы на основе фторидов насыщающих элементов.
Оксид алюминия Al2O3(ТУ-6-09-2046-64) является инертной добавкой
насыщающей смеси и служит для предотвращения ее спекания, а также для повышения
качества поверхности обрабатываемого твердосплавного инструмента.
Введение в состав насыщающей смеси порошка аморфного бора основано на
результатах исследований процесса борирования кобальта и вольфрама в
присутствии активатора. Порошок титана как диффундирующее вещество дает
возможность получить в диффузионном слое твердый раствор TiC-WC, химически
более инертный, чем WC, что обеспечивает увеличение срока службы инструмента. В
то же время на начальной стадии диффузионного процесса порошок титана частично
используется как геттер, способствуя интенсификации процесса.
Для приготовления насыщающей смеси используют порошкообразные компоненты
фракций 0,1-0,2 мм. Смесь порошков без активатора просушивают при температуре
300-400оС в течение 1 часа, затем добавляют активатор (NH4F) и тщательно
перемешивают[45].
Для проверки эффективности обработки была проведена химико-термическая
обработка образцов применяемых в буровой технике, осуществлялась она с
использованием установки СДВУ-50, предназначенной для диффузионной сварки в
вакууме.
Применяемая ячейка для проведения химико-термическая обработки
выполняется из стали Х18Н10Т и в виде цилиндрического основания с крышкой с
возможностью приложения давления. Смесь из просушенных порошков следующего
состава, мас. % : титан 35, бор 40, NH4F 35, Al2O3 20, засыпается в ячейку,
слегка утрамбовывается, устанавливается обрабатываемый образец и закрывается
крышкой с зазором 2-3 мм. Усилием давления P на крышку образец вдавливался в
порошок для плотного контакта с насыщающей смесью. Соприкасаемые поверхности
обрабатывались тальком, чтобы избегать спекания при высоких температурах в
вакууме. Подготовленную таким образом ячейку помещали в вакуумную камеру
установки, производилась откачка до 10-4 мм рт. ст. , нагрев до 980оС, выдержка
в течение 2 ч, подъем температуры до 1000оС с выдержкой 2 ч, охлаждение и
напуск воздуха (при температуре 300оС)
Результаты исследования показывают, что обработка твердосплавных
инструментов согласно предлагаемому способу позволяет получить увеличение
глубины диффузионного слоя в 70-300 раз (в зависимости от структуры и
химического состава исходного материала инструмента) по сравнению с
использованием известного способа.
Микротвердость образцов после ХТО по предлагаемому способу носит характер
последовательного снижения твердости от поверхности образца к центру, без
резких переходов твердости от насыщенного слоя к исходной сердцевине, что
исключает сколы в процессе эксплуатации твердосплавного инструмента.
Использование предлагаемого способа ХТО позволяет, сохраняя исходные
прочностные характеристики инструмента, и в частности бурового, из твердого
сплава типа ВК, получить высокую твердость (Hν200 ≈ 2100 кг/кв. мм) на рабочей
поверхности на глубине порядка 2 мм с плавным переходом к исходной твердости (Hν200
≈ 1200 кг/кв. мм).
Указанные свойства диффузионного слоя позволяют повысить износостойкость
твердосплавного инструмента в 4 раза по сравнению с промышленно выпускаемым,
что значительно повышает ресурс его работы.
Реализация способа в серийном производстве возможна при использовании
существующих вакуумных шахтных печей[45].
.2 Упрочнение нанесением износостойких покрытий
Направление повышения стойкости инструмента путем нанесения износостойких
покрытий на основе нитридов, карбидов, карбонитридов, боридов и оксидов
тугоплавких металлов получило широкое развитие, так как обеспечивает сокращение
инструментального материала.
Применение традиционных методов упрочнения инструментов за счет сложного
легирования инструментальных материалов в настоящее время в большей степени
ограничено из-за дефицитности ряда элементов. В связи с этим создание
принципиально новых инструментальных материалов, так называемых композиционных,
которые обладают повышенной поверхностной износостойкостью наряду с
относительно высокой прочностью и вязкостью основы, позволит приблизиться к достижению
золотой середины экономии материала и качества обработки.
Таким образом, нанесение износостойких покрытий на инструментальные
материалы позволяет приблизиться к решению задачи "идеального"
инструментального материала, обладающего высокой износостойкостью. Инструмент,
изготовленный из такого материала, может удовлетворять самым высоким
требованиям, предъявляемым к качеству, надежности и производительности.
Широкое промышленное применение инструментов с износостойкими покрытиями
позволяет решать целый комплекс важнейших задач:
• значительное повышение стойкости и надежности формообразующего
инструмента;
• увеличение срока службы инструмента и повышение производительности
процессов формообразования деталей;
• сокращение расхода дорогостоящих инструментальных материалов и
дефицитных элементов типа W, Мо, Та, Со для их изготовления;
• повышение качества поверхностного слоя и точности размеров
обрабатываемых деталей.
Существующие методы получения покрытий на рабочих поверхностях
формообразующего инструмента, с учетом специфики протекания процессов
формирования покрытий, можно разделить на четыре основные группы:
• во вторую группу входят методы формирования покрытий, где последнее
образуется за счет реакций между парогазовыми смесями, состоящими из соединения
металлоносителя и второго компонента, служащего как газом-транспортером, так и
восстановителем. При этом одновременно в процессе формирования покрытия большой
вклад вносят субструктура поверхности материала инструмента и интердиффузионные
реакции между конденсатом и материалом инструмента;
• к третьей группе можно отнести методы формирования покрытий за счет
химических и плазмохимических реакций потока частиц одновременно в объемах
пространства, непосредственно примыкающего к насыщаемым поверхностям
инструментального материала;
• к четвертой группе можно отнести методы формирования покрытий за счет
взаимодействия материала детали с высокоэнергетическим потоком механически
частиц или плазмы [46].
Рассмотрим данные группы более подробно.
К первой группе относятся химико-термические методы образования покрытий
(ХТМ), основанные на твердофазовом, жидкофазовом и газофазовом насыщении
поверхности инструмента. Диффундирующие элементы могут насытить поверхность
инструмента непосредственно без промежуточных реакций, либо с предшествующей
химической реакцией на границе между инструментальным материалом и покрытием,
или же в объеме исходных реагентов.
К методам первой группы относится метод термодиффузионного насыщения
твердосплавных пластин плоской формы( метод ДТ), разработанный во
Всесоюзном НИИ твердых сплавов.
Метод основан на термообработке твердосплавных пластин в специальной
порошковой засыпке из материалов, содержащих Ti, при температурах, достаточных
для реализации диффузионных реакций в среде водорода. Метод не требует
специального оборудования, так как осуществляется в стандартных водородных
электропечах непрерывного действия, при этом не требуется точная дозировка и
очистка газа-восстановителя ( Н2). Производительность процесса ДТ высока - до
500 пластин/час при выходе годной продукции не ниже 95%. Скорость роста толщины
покрытия до 10 -15 мкм/час. Вместе с тем метод термодиффузионного насыщения,
основанный на порошковой металлургии, имеет недостатки, связанные:
• во-первых, с наличием порошковой смеси на рабочих поверхностях
инструмента;
• во-вторых, с необходимостью герметизации контейнера или использования
защитных газов;
• в-третьих, с одноразовым использованием смеси.
Ко второй группе методов нанесения износостойких покрытий на рабочие
поверхности формообразующего инструмента можно отнести методы химического
осаждения покрытия ( ХОП).
Методы этой группы также представляют собой методы формирования
износостойких покрытий по комплексному методу, но в данном случае большой вклад
вносят интердиффузионные реакции между конденсатом и материалом инструмента.
Данный способ заключается в формировании вокруг покрываемой детали
газовой среды, содержащей летучие соединения осаждаемого элемента, и создании
таких условий, при которых на поверхности детали протекает химическая реакция
образования твердого покрытия. Кроме того, продуктами реакций являются
газообразные вещества, непрерывно удаляемые из зоны подложки.
Методы ХОП (химического осаждения покрытий из пароплазменной фазы),
имеющие в мировой практике наименование CVD (Chemical Vapor Deposition),
получили широкое распространение для нанесения покрытий на основе карбидов,
нитридов, карбонитридов титана, а также окисла алюминия на многократные
неперетачиваемые твердосплавные пластины. Покрытия из TiN, TiC, TiCN являются
базовыми при производстве инструментов из твердых сплавов. Методами ХОП из
газовой фазы можно получать однослойные, двухслойные и даже трехслойные
покрытия, состоящие последовательно из карбида титана, карбонитрида титана и
нитрида титана.
На основе методов ХОП разработаны технологии, применяемые известными
фирмами - производителями твердосплавных инструментов США, Австрии, ФРГ,
Франции. В России был разработан метод нанесения покрытий на неперетачиваемые
твердосплавные пластины (ВНИИТС), получивший наименование ГТ.
При газотермическом нанесении покрытий применяют установку карусельного
типа, которая характеризуется высокой производительностью, так как в отличие от
аналогичных установок зарубежных фирм режим нанесения покрытий осуществляется в
непрерывно действующем цикле, а для загрузки и разгрузки реакторов деталями нет
необходимости прерывать процесс. Установки карусельного типа наиболее
эффективны при массовом производстве деталей с покрытием. Для реализации метода
ГТ в условиях инструментальных цехов во ВНИИТС была разработана компактная
установка УНИП, которая позволяет наносить покрытия из карбида и нитрида Ti не
только на многогранные твердосплавные пластины, но и на монолитный
твердосплавный инструмент.
К методам ХОП можно также отнести методы GC и GM, представляющие собой
лицензионные технологии шведской фирмы " Сандвик Коромант" и
австрийской фирмы "Планзее" по производству твердосплавных пластин.
Разновидностью методов ХОП является метод вакуумного титанирования
(КВТК), разработанный в МИИТ совместно с Московским комбинатом твердых сплавов.
Методы ХОП обычно реализуются при температуре около 1000-1200 °С, что
исключает их использование для нанесения покрытий на инструменты из
быстрорежущих и углеродистых сталей с низкой температурой отпуска.
К третьей группе методов нанесения покрытий могут быть отнесены методы
физического осаждения покрытий (ФОП), основанные на процессах ионно-плазменной
обработки в вакууме, применяемых в технологии производства изделий для переноса
массы материалов. В одном случае это локальное или повсеместное (по всей
поверхности обрабатываемой детали) удаление материала обрабатываемой подложки с
целью ее очистки, в другом случае - распыление материала, используемое для
получения пленочных покрытий на подложках.
Среди методов физического осаждения покрытий (ФОП), получивших в мировой
практике наименование PVD (Phisikal Vapor Deposition) можно выделить:
• метод конденсации покрытий из пароплазменной фазы в вакууме с ионной
бомбардировкой поверхностей детали ( КИБ), разработанный Харьковским
физико-техническим институтом АН УССР;
• метод реактивного электронно-плазменного осаждения покрытий из
пароплазменной фазы в вакууме (РЭП);
• магнетронно-ионное распыление ( МИР) и его разновидность -
магнетронно-ионное реактивное распыление (МИРР);
• ионное плакирование и его разновидность - активированное реактивное
распыление (метод ARE).
Физические методы нанесения покрытий представляют наиболее прогрессивные
направления в области производства.
Возможность широкого варьирования температурой в зонах нанесения покрытий
позволяет использовать вакуумно-плазменные методы в качестве универсальных
методов для нанесения покрытий на инструменты из твердых сплавов.
Вакуумно-плазменные методы универсальны и с точки зрения возможности
получения широкой гаммы монослойных, многослойных и композиционных покрытий на
базе одноэлементных, многоэлементных и многокомпонентных соединений на основе
нитридов, карбидов, карбонитридов, боридов и оксидов тугоплавких металлов IV -
VI групп Периодической системы элементов Д. И. Менделеева. Применение
вакуумно-плазменных методов значительно расширяет технологические возможности
инструментов с покрытиями. Эти методы позволяют более эффективно, чем
перечисленные выше методы первой и второй группы управлять процессом получения
покрытий с заданными свойствами, а также предупреждать образование
геометрических, кристаллохимических и физико-механических дефектов на
поверхности инструментального материала.
Наиболее характерной особенностью покрытий, получаемых
вакуумно-плазменными методами, является отсутствие переходной зоны между покрытием
и инструментальным материалом. Это обусловлено весьма слабым взаимодействием
между осаждаемым материалом и субструктурами инструментального материала в
условиях относительно низких температур последнего. Это обстоятельство является
весьма важным, так как создается возможность получения комплекса свойств на
рабочих поверхностях инструмента практически без ухудшения его объемных свойств
- прочности и вязкости.
Методы ФОП реализуются в широком температурном диапазоне (200- 800 °С),
поэтому они применимы для нанесения покрытий не только на теплостойкий
твердосплавный инструмент, но и на инструменты из углеродистых, легированных
углеродистых и быстрорежущих сталей с более низкой теплостойкостью.
К четвертой группе методов нанесения износостойких покрытий на формообразующие поверхности инструмента
можно отнести плазменный и детонационный методы, но в отличие от методов,
рассмотренные выше, они не так часто используются при упрочнении
формообразующего инструмента небольших размеров.
Особенно неудовлетворительно работают инструменты с напыленными
плазменными и детонационными покрытиями, имеющие криволинейные поверхности или
сложную форму режущей кромки. Это связано с сильно выраженным направленным
эффектом потока частиц, формирующих покрытие. Обычно наиболее качественные
покрытия образуются только на поверхностях инструмента, расположенных под
прямым углом к потоку частиц.
Основным недостатком покрытий, напыленных плазменным методом, является
высокая пористость, слабая адгезия с инструментальным материалом, необходимость
тщательной подготовки поверхности инструмента и то, что не всегда можно
регулировать свойства покрытия. Кроме того, плазменные методы недостаточно
производительны, и при их использовании создаются сильные шумы.
Несколько более качественные покрытия формируются при использовании
детонационного метода, когда покрытие образуется с помощью энергии взрыва
газовых смесей.
Детонационные покрытия характеризуются высокой плотностью и хорошей
адгезией с материалом основы. Однако этим покрытиям присущи почти все главные
недостатки напыляемых покрытий. К тому же при детонационном нанесении покрытий
создается шум, превышающий 140дБ, и стоимость оборудования, реализующего этот
метод, очень высока[46].
.3 Анализ и выбор оптимального метода обработки
Проанализировав выше сказанное, можно сказать, что на сегодняшний день
существует огромное количество методов поверхностного упрочнения твердых
сплавов. При выборе оптимального метода следует ориентироваться на максимальное
достижение требуемого результата, т.е. получение требуемого сочетания свойств.
Таким образом, наиболее эффективным и прогрессивным методом является
упрочнение твердых сплавов нанесением износостойких покрытий. Наиболее
эффективным из представленных методов является метод КИБ( метод конденсации
вещества из пароплазменной фазы в условиях ионной бомбардировки). Технология
КИБ реализуется в широком температурном диапазоне( 200-8000С), поэтому в
условиях многономенклатурного производства изделий, этот метод наиболее
универсален, а с точки зрения возможности нанесения покрытий на различные
формообразующие инструменты из твердого сплава, позволяет наносить покрытия на
острую кромку и, вследствие равномерного характера осаждения, не вызывает ее
притупление, следовательно, может с успехом использоваться для упрочнения
мелкоразмерного инструмента.
Среди большой номенклатуры видов покрытия в последнее время все большее
внимание уделяется углеродным, алмазоподобным покрытиям (АПП), обладающих рядом
уникальных свойств: высокой твёрдостью, высоким удельным сопротивлением,
хорошей теплопроводностью, оптической прозрачностью, стойкостью к агрессивным
средам и т. д. Нанесение алмазаподобного покрытия на твердосплавный инструмент
позволяет значительно улучшить технические характеристики инструмента и
повысить его ресурс, что, в связи с дороговизной материала, приводит к
положительному экономическому эффекту.
2. Методика проведения экспериментов
.1Методика нанесения износостойких покрытий на прецизионный
твердосплавный инструмент
Для определения эффективности нанесения износостойких покрытий на
твердосплавный мелкоразмерный инструмент проводилось нанесение покрытий на
поверхность твердосплавных сверл( диаметр сверла 0.2мм). Наносимые покрытия:
АПП; АПП, легированное азотом; слоистое покрытие, состоящее из чередующихся слоев
титана и АПП
Для получения покрытий с углеродными слоями, была использована серийная
установка вакуумного напыления УВНИПА-1-001 (УРМ3.279.070) (рисунок 9).

1 - магнитные катушки; 2 - электродуговой испаритель с титановым катодом;
3 - источник плазмы импульсного катодно-дугового разряда с катодом из графита;
4 - газовый ионный источник; 5 - предметный стол, на котором закрепляются
образцы; 6 - смотровые окна
Рисунок 9 - Схема вакуумной камеры установки УРМ3.279.070
Установка предназначена для нанесения покрытий различных металлов, в том
числе тугоплавких, соединений типа нитридов, карбидов, оксидов и их композиций,
а также углеродных алмазоподобных пленок на изделия различного функционального
назначения методом вакуумно-дугового распыления с предварительной ионно-лучевой
обработкой поверхности изделий.
Установка изготовлена в исполнении УХЛ категории 4 по ГОСТ 15150-69 и
предназначена для работы в помещениях, характерных незначительным избытком
явного тепла( 84кДж/м3ч), соотносящих СН245-71 для категории работ средней
тяжести при атмосферном давлении 750±30 мм. рт.ст.. Питание установки
осуществляется от трехфазной 4-проводной сети переменного тока напряжением
380В, частотой 50Гц. Нормы качества электроэнергии по ГОСТ 13109-67.
Установка обеспечивает работу при подаче:
) холодной водопроводной воды ГОСТ 2874-82 под давлением
0.3-0.4Мпа с температурой на входе 15±50С и с расходом не менее 1.2м3/ч;
) горячей водопроводной воды ГОСТ 2874-82 с температурой на входе
85±50С и с расходом не менее 0.8м3/ч;
) сжатого воздуха ГОСТ 17433-80 под давлением 0.5-0.6Мпа;
) азота жидкого технологического первого сорта ГОСТ 9295-74 в
сосудах криогенного типа АСД-16 ГОСТ 16024-79;
) азота газообразного высшего сорта ГОСТ 9293-74;
) аргона газообразного по ГОСТ 10257-79.
Основные технические данные и характеристики:
габаритные размеры установки 3000х1760х2000;
габаритные размеры вакуумной камеры 750х600х680;
масса установки не более 2500кг;
время достижения давления 13.3Па в рабочей камере не более
3минут;
предельное остаточное давление в рабочей камере с использованием
жидкого азота не более 1.22∙10-4Па;
суммарное натекание и газоотделение в рабочей камере не более
13.3м3Па/c;
система напуска газа обеспечивает напуск технологического газа
по двум каналам в рабочую камеру в диапазоне от 1.3∙10-4Па до 4∙10-1Па;
приводы каруселей обеспечивают независимое вращение дисков
каруселей с частотой вращения не менее 1.5об/мин;
привод заслонки обеспечивает перевод и фиксацию в положениях:
источник ионов закрыт и источник ионов открыт;
Источник питания генератора углеродной плазмы обеспечивает следующие
параметры:
диапазон регулирования выходного напряжения для заряда от 100В
до 500В;
точность поддержания выходного напряжения на накопительных конденсаторах
при частоте не более 10Гц±0.2%;
диапазон регулирования напряжений второй ступени блока поджига
от 200В до 600В;
точность поддержания напряжения второй ступени блока поджига
±5%.
Источник титанового электродугового испарителя имеет следующие
характеристики:
напряжение холостого хода не менее 60В;
напряжение постоянного тока на любой ступени тока нагрузки не
менее 2В;
ступенчатая регулировка тока нагрузки с точностью +20%/-10% со
значениями; 55, 75, 90, 110,150, 180.
коэффициент пульсации при токе нагрузки 90А не более ±10%.
Устройство управления поджигом дуги обеспечивает подачу управляющих
импульсов напряжения с частотой 3±0.25Гц на устройство поджига дуги.
Источник питания магнитных катушек электродугового сепарирования
испарителя имеет следующие параметры:
постоянный ток в нагрузке от 0.1А до 3А;
Источник высокого напряжения блока управления высоким и низким
напряжением имеют следующие параметры:
ступенчатая регулировка напряжения с точностью ±10% со значением
800, 1000, 1500, 2000, 2500В;
ток короткого замыкания при напряжении 2500В составляет
1.5±0.2А.
Источник низкого напряжения блока управления высоким и низким напряжением
имеет следующие характеристики”
диапазон плавного регулирования напряжения от 40В до 180В;
максимальный ток при напряжении 180В не более 1.5±0.2А.
Установка сохраняет работоспособность при отклонениях напряжений питающей
сети на±10% от номинального значения. Контроль температуры деталей в процессе
обработки технологией нанесения упрочняющих покрытий ведется бесконтактным
преобразователем излучения. Максимальная электрическая мощность, потребляемая
установкой, не более 50кВт.
Система управления обеспечивает следующие блокировки:
закрытие запорной арматуры вакуумной системы в случае
прекращения подачи электроэнергии:
невозможность открытия натекателя при откачке камеры;
невозможность открытия затвора при давлении в камере выше
13.3Па;
отключение и невозможность включения высокого и низкого
напряжения на карусели, если отключены и невозможно включение испарителей и
источника ионного травления при закрытии затвора;
отключение высокого напряжения от источника ионного травления и
испарителей при уменьшении расходов охлаждающей воды через соответствующие
магистрали ниже заданного уровня.
Установка состоит из четырех основных частей: стойки питания генератора
углеродной плазмы; блока питания испарителя; стойки питания и управления; блока
вакуумного. В блоке вакуумных установок расположены все основные
технологические узлы и системы, а стойки питания обеспечивают питание и
управление следующих устройств:
импульсного генератора углеродной плазмы;
электродугового испарителя с сепарацией плазменного потока;
источник ионного травления типа «Радикал»;
приводов каруселей;
приводов заслонки;
системы напуска газов;
системы водоснабжения;
системы вакуумной.
В основе работы установки лежит способ нанесения износостойких
алмазоподобных покрытий на режущий инструмент, микроинструмент, а также на
детали, работающие на трение и износ. Нанесение покрытия ведется с помощью
импульсного генератора углеродной плазмы, имеющего среднюю энергию ионов 100эВ,
что исключает необходимость дополнительного ускорения ионов с помощью
приложения отрицательного потенциала к подложке, импульсный характер процесса
конденсации позволяет улучшить отвод тепла из зоны конденсации, что
обеспечивает формирование алмазоподобных структур в более широком диапазоне
температур конденсации. В установке для предварительной ионной очистки
обрабатываемых деталей используется источник ионного травления типа « Радикал»
[47].
Для окончательной очистки и нагрева обрабатываемых деталей с последующим
нанесением подслоя( Ti) в установке используется электродуговой испаритель с
сепарацией плазменного потока в магнитном поле, заключающейся в том, что поток
материала в капельной фазе распространяется прямолинейно и осаждается на
близлежащих стенках камеры и внутренней поверхности испарителя. Испаряемый
материал в виде ионов под действием магнитного поля отклоняется в сторону
карусели. Это достигается за счет того, что стабилизирующая, фокусирующая и
регулирующая катушки смещены в сторону, противоположную от карусели
относительно продольной оси катода, и отклоняющие катушки, расположенные в
карманах рабочей камеры, создают поперечное магнитное поле.
Нанесение АПП осуществляется с помощью источника плазмы импульсного
катодно-дугового разряда с центральным электродом из графита, являющимся
катодом, испаряющегося в процессе сильноточного дугового импульсного разряда.
Этот разряд между анодом и катодом возбуждается с помощью специального
устройства, которое обеспечивает стабильный поджиг основного разряда и задает
частоту повторения инициирующих импульсов. В результате пробоя вакуумного
промежутка между анодом и катодом развивается сильноточный дуговой разряд в
промежутке катод-анод, приводящий к испарению центрального электрода, создания
плазменного сгустка, переносу и конденсации последнего на подложке.
Цилиндрические катоды источников плазмы изготавливались из высокочистого
графита марок МПГ-6 (99,999%) с плотностью 1,8 г/см 3 . Диаметр катода
составлял 32 мм. Углеродные покрытия наносились при напряжении разряда 300В и
частоте импульсов 20Гц.
Нанесение покрытий АПП легированных азотом производили в присутствии
азота при давлении 5 ·10-2Па, слоистые покрытия формировали за один цикл
нанесения, чередуя слои Ti и углерода.
2.1.2
Методика испытания мелкоразмерных твердосплавных сверл
Для оценки эффективности упрочнения твердосплавного инструмента, в данном
случае нанесение вакуумно-плазменных покрытий, были проведены испытания на
изнашивание мелкоразмерных твердосплавных сверл диаметром 0.2мм. Испытанию
подвергались сверла без покрытия и с покрытиями, следующих видов АПП, АПП
легированное азотом и многослойное покрытие из чередующихся слоев АПП и титана.
Испытания на изнашивание сверл без покрытий и с покрытиями проводились на
испытательном стенде «POSALUX SP 5» при сверлении пластин из композиционных
материалов BT-2L (матрица - смесь эпоксидной смолы и полималеимидтриазиновой
смолы, наполнитель - стеклоткань; температура стеклования Tс = 300 °C) толщиной
0,8 мм.
Испытание проводилось при следующих режимах:
частота вращения 200000 об/мин;
скорость подачи при сверлении 1мкм/об;
скорость подъема 12.7мкм/об;
количество сверлений.
Износ определялся измерением геометрических размеров режущей части сверла
через каждую 1000 сверлений.
В ходе испытания сверл был получены зависимости изнашивания от числа
сверлений.
Также исследовалось качество отверстий, для этого были произведены
разрезы просверленных отверстий.
.2 Методика применения пакета программ Elmer
При упрочнении инструмента следует отметить, что среди твердосплавного
инструмента существует ряд инструментов, для упрочнения которых износостойкие
покрытия следует наносить не на внешние, а на внутренние поверхности.
Нанесение покрытий в таких случаях имеет свои особенности. В случае
нанесения износостойкого покрытия в отверстие, длина которого превышает
диаметр, возникает ряд сложностей. На процесс формирования покрытия влияет
характер распределения электрического поля. Электрическое поле проникает в
отверстие на глубину порядка диаметра отверстия, поэтому покрытие также
наносится на глубину порядка диаметра. Управляя распределением электрического
поля вблизи отверстия, можно добиться увеличения глубины нанесения покрытия.
В частности, использование сетчатого электрода, установленного перед
отверстием, и подача на него потенциала равного потенциалу на изделии,
позволяет изменить характер распределения электрического поля. В данном случае
можно предположить, что в области между сетчатым электродом и изделием
электрическое поле будет отсутствовать, а частицы покрытия, двигаясь к
сетчатому электроду и проходя через ячейки сетки, будут двигаться по инерции,
не испытывая влияния электрического поля и глубина покрытия будет больше, чем
при напылении без дополнительного электрода.
Для выравнивания потенциала внутри отверстия и увеличения глубины
нанесения покрытия можно использовать цилиндрический электрод, помещенный
внутрь отверстия под потенциалом равным потенциалу на изделии.
Использование пакета программ Elmer позволяет моделировать эти случаи и
визуально наблюдать за характером распространения потенциала и электрических
полей.
.2.1 Краткий обзор Elmer- это конечный пакет программ для решения частных
дифференциальных уравнений. Elmer может иметь дело с большим числом различных
уравнений, которые делают Elmer универсальным инструментом для физического
моделирования различных процессов. Как открытое исходное программное
обеспечение, Elmer также дает пользователю возможность изменить существующие
процедуры решения и разрабатывать новые решающие устройства для уравнений,
представляющих интерес для пользователя.предлагает широкий диапазон методов и
методик для вычислительного моделирования физических явлений, описанных
частичными дифференциальными уравнениями.содержит решающие устройства для
разнообразных математических моделей:
теплопередача: модели для проводимости, радиоактивности и фазового
перехода;
поток жидкости: уравнения Рейнольдса, Навье-Стокса и Стокса;
эластичность: общие уравнения эластичности;
акустика: уравнение Гельмгольца;
электромагнетизм: электростатика, магнитостатика, индукция;
уравнение Пуассона-Больцмана;
квантовая механика: теории Кона-Шама и др.
Пакет Elmer имеет ряд достоинств:
так как Elmer - открытый исходный продукт, возможна проверка и изменение
процедуры решения;
имеет модемный программируемый графический интерфейс пользователя;
возможность легкого введения новых переменных;
все материальные параметры могут свободно зависеть от переменных поля и
других параметров;
предлагает большой выбор моделируемых численных методов.
дает возможность пользователю более полно использовать конечные элементы.
трансляция и повторение решения могут быть сделаны параллельно.
имеет графический интерфейс предварительной обработки для простых
установок проблем.
легко скомплектован для большинства систем Unix, и это также доступен для
Windows и некоторых Linux в пакетах из двух предметов.
имеет устойчиво растущее число пользователей и используется во многих
научных изданиях.
Как большинство конечных пакетов, Elmer разделен на множество отдельно
выполняемых программ, которые также могут использоваться независимо. Основные
части - препроцессор, решающее устройство и постпроцессор, но есть также другие
модули, которые можно вызвать для определенных операций.- графический интерфейс
пользователя для программного обеспечения Elmer. С помощью ElmerGUI возможна
простая установка проблем, используя программируемые параметры меню, которые
делают модификацию графического интерфейса пользователя очень простой. ElmerGUI
также управляет ElmerSolver и наборами из двух предметов ElmerPost и включает
монитор конвергенции реального времени ElmerSolver.- программа выполняющая
формирование решающего устройства Elmer. Это - основная часть программного
обеспечения Elmer. ElmerSolver включает большое количество конечных
инструментальных средств библиотеки элементов, которые дают возможность
пользователю написать новые решающие устройства. Определенные решающие
устройства уравнений главным образом доступны как динамические библиотеки,
которые имеют стандартные интерфейсы и могут быть связаны с основной программой
запросом.- универсальный постпроцессор, которого должно быть вполне достаточно
для обычных потребностей постобработки. ElmerPost обеспечивает прямой
графический интерфейс пользователя, который является простым для
обучения.обеспечивает функциональные возможности для поколения простых
структурированных сетей, может также использоваться для манипуляций различного
вида сети и задач преобразования. Например, ElmerGrid может использоваться,
чтобы разделить сеть для параллельных выполнений или импортировать сети,
написанные другими генераторами сети. Командный файл ElmerGrid должен быть
написан редактором текста[48].- простой генератор сети и утилит манипуляции
сети, соответствующий инструмент для того, чтобы генерировать структурированные
сети для простых двухмерных и трехмерных конфигураций. Он может также читать
сети, сгенерированные другими генераторами сети и управлять ими. Возможные
операций включают: изменение масштаба и типа элемента, определение границы,
деление сети для параллельного решения.
Основная цель состояла в том, чтобы написать простой генератор сети для
мультифизических проблем, где различные сети, основанные на той или иной
геометрии необходимы для решения различных физических проблем.
Эта программа позволяет создавать простые 2D структурированных сетей,
состоящих из линейных, квадратных( квадратичных) или кубических прямоугольников
или треугольников. Сети могут также быть вытеснены и вращаться, чтобы создать
трехмерные формы. Кроме того много форматов сети могут быть импортированы в
программное обеспечение Elmer.
Программа имеет два режима операции
Режим командного файла, который имеет командный файл как единственный
параметр 'ElmerGrid commandfile .eg.
Действующий режим, который имеет по крайней мере три входных параметра
’ElmerGrid 1 3 test’.
Первый параметр определяет формат входного файла
) .grd : формат файла Elmergrid;
) .mesh.: входной формат Elmer;
) . ep: выходной формат Elmer;
) . ansys: входной формат Ansys;
) . inp: Ideas входной формат Abaqus;
) . fil: выходной формат Abaqus;
) . FDNEUT: нейтральный файл Gambit (Fidap);
) . unv: универсальный формат файла сети;
) . mphtxt: формат сети Comsol Multiphysics;
) . dat: формат Fieldview;
) .node,.ele: формат сети Triangle 2D;
) .mesh: формат сети Medit ;
) . msh: формат сети GID;
) . msh: формат сети Gmsh;
) . ep.i: формат Partitioned ElmerPost.
Второй параметр определяет формат выходного файла:
) .grd : формат файла ElmerGrid;
) .mesh.: формат ElmerSolver;
) .ep : формат ElmerPost.
Третий параметр - название входного файла.
Если файл не существует, то создается с этим же названием.
Название выходного файла задано по умолчанию - такое же, но с другим
суффиксом [48, 49].
.2.2 Предварительный анализ параметров сетчатого электрода
На основании выше сказанного, перед моделированием особое внимание
следует обратить на параметры сетки, выполняющей роль сетчатого электрода,
поскольку размер ячеек данной сетки имеет немалое значение. Следует отметить,
что сетка в любом случае будет оказывать влияние на процесс нанесения покрытия,
поэтому необходимо подобрать оптимальные параметры сетки, позволяющие снизить
негативное влияние. Сетка с малым размером ячеек( 2х2) будет оказывать
значительное экранирование, что приведет к снижению потока частиц покрытия,
попадающих в область между сеткой и изделием. Сетки с большими ячейками будут
оказывать меньшее экранирование, поэтому интенсивность потока будет больше. Для
моделирования будем использовать сетку с размером ячеек 4х4, как сетку со
средним размером ячеек.
2.2.3 Моделирование распространения электрических полей при помощи пакета
программ Elmer
) Моделируемый случай - полая трубка диаметром 4 мм и длиной 31мм,
помещенная вакуум под потенциалом -100В. Потенциал на стенках камеры 0В.
Создание сети начинается с написания программы с помощью редактора
текста. Данная программа сохраняется под расширением .grd[49]. Общий вид
программы:
= 210903System = Cartesian 2DDivisions in 2D = 4 19Limits 1 = 0 45 55 76
100Limits 2 = 0 36.4 36.7 40.7 41 45 45.3 49.3 49.6 53.6 53.9 57.9 58.2 62.2
62.5 66.5 66.8 70.8 71.1 100Structure in 2D
1 1 1
1 1 1
1 1 1
1 1 1
1 1 1
1 1 1
1 1 1
1 1 1
1 1 1
2 2 1
1 1 1
2 2 1
1 1 1
1 1 1
1 1 1
1 1 1
1 1 1
1 1 1
1 1 1Interval = 1 1Definitions
! type out int double of
the boundaries
2 1 1
0 1 1= HorizontalDegree
= 1Innernodes = False= TrueElements = 10000Ratios 1 = 0.5 1 1 5Ratios 2 = 0.5 1
1 1 1 1 1 1 1 1 1 1 1 1 1 1 1 1 5Densities 1 = 1 3 3 1Densities 2 = 1 1 1 1 5 5
5 5 5 5 5 5 5 1 1 1 1 1 1
Дальнейшее моделирование ведется с помощью программы ElmerGUI [50].
Для моделирования данного случая необходимо использовать библиотеку
electrostatics.xml. Данная библиотека не установлена в ElmerGUI по умолчанию,
поэтому перед работой ее необходимо установить:
→Definitions→electrostatics.xml
Ранее написанная сеть открывается с помощью программы ElmerGUI, в которой
ведется задание основных параметров моделирования и визуальное наблюдение за
ходом процесса(рисунок 15):
→Open →file.grd
После открытия сети проходим меню Model от начала до конца.
В меню Setup выбираем параметры связанные с целью моделирования, такие
как имена файлов, константы и т.д.:
→SetupType = Steady statePermittivity = 1.0
Проходя все разделы меню Model, задаются уравнение, материал и граничные
условия для данного случая:
→Equation= Electrostaticsto Bodies = 1= onSolver Settingsspecific
optionsElectric Field = True
→Material= IdealPermittivity = 1.0to Bodies = 1
→BoundaryCondition= Ground= 0.0= Detail= -100
Содержание меню Model передает на решающее устройство в форме файла ввода
решающего устройства.
Ввод решающего устройства генерируется, выбирая:
→ Generate
Содержание файла доступно для редактирования:
→ Edit
Новый sif-файл необходимо сохранить перед следующими действиями:
→ Save project
Таким образом, текущая сеть и проект-файл сохранены в одном каталоге, что
защищает от потери данных.
Как только файл ввода решающего устройства был сгенерирован, и проект был
сохранен, возможен переход к решению актуальной проблемы:
→ Start solver
Появится новое окно, обеспечивая возможность для того, чтобы задать
поверхности, контуры, векторы переменных, и при необходимости их упростить.
В данном случае моделируется пространственное распределение потенциала и
электрических полей.
) Моделирование случая с сетчатым электродом ведется по той же методики,
что и без сетчатого электрода. Grd-файл для данном случае имеет вид:
= 210903System = Cartesian 2DDivisions in 2D = 6 13Limits 1 = 0 34.7 35
45 55 76 100Limits 2 = 0 41 40.7 45 45.3 49.3 49.6 53.6 53.9 57.9 58.2 62.2
62.5 100Structure in 2D
1 1 1 1 1
3 1 1 1 1
1 1 1 1 1
3 1 1 1 1
1 1 1 1 1
3 1 2 2 1
1 1 1 1 1
3 1 2 2 1
1 1 1 1 1
3 1 1 1 1
1 1 1 1 1
3 1 1 1 1
1 1 1 1 1Interval = 1 1Definitions
! type out int double of
the boundaries
2 1 1
0 1 1
3 1 1= HorizontalDegree = 1Innernodes = False= TrueElements = 10000Ratios
1 = 0.5 1 1 1 1 2Ratios 2 = 0.5 1 1 1 1 1 1 1 1 1 1 1 2Densities 1 = 1 3 3 5 5
1Densities 2 = 1 3 3 3 5 5 5 5 5 3 3 3 1
При задании параметров на сетку подается потенциал -100В.
В данном случае моделируется пространственное распределение потенциала и
электрических полей для случая с сетчатым электродом на расстоянии 10мм от
торца отверстия.
) Моделирование случая с электродом, расположенным внутри отверстия
ведется по той же методики, что и без сетчатого электрода. Grd-файл для данном
случае имеет вид:
= 210903System = Cartesian 2DDivisions in 2D = 6 15Limits 1 = 0 34.7 35
45 55 76 100Limits 2 = 0 40.7 41 45 45.3 49.3 49.6 51.1 52.1 53.6 53.9 57.9
58.2 62.2 62.5 100Structure in 2D
1 1 1 1 1
1 1 1 1 1
1 1 1 1 1
1 1 1 1 1
1 1 1 1 1
1 1 2 2 1
1 1 1 1 1
1 1 1 3 1
1 1 1 1 1
1 1 2 2 1
1 1 1 1 1
1 1 1 1 1
1 1 1 1 1
1 1 1 1 1
1 1 1 1 1Interval = 1 1Definitions
! type out int double of
the boundaries
2 1 1
0 1 1
3 1 1= HorizontalDegree = 1Innernodes = False= TrueElements = 10000Ratios
1 = 0.5 1 1 1 1 5Ratios 2 = 0.5 1 1 1 1 1 1 1 1 1 1 1 1 1 5Densities 1 = 1 3 3
5 5 1Densities 2 = 1 3 3 3 5 5 5 5 5 5 5 3 3 3 1
При задании параметров на электрод подается потенциал -100В.
Получены пространственные распределения потенциала и электрических полей.
.3 Методика
нанесения покрытия на внутреннюю поверхность отверстия
Для получения покрытий Ti была использована серийная установка вакуумного
напыления УВНИПА-1-001 (УРМ3.279.070) (рисунок 14)[47].
Образцы для нанесения покрытий представляли собой:
Образец 1 - полая трубка( длина 31мм, диаметр 4 мм) из ПЭТФ(на внутренней
поверхности проводящее покрытие из оксида индия легированного оловом);
Образец 2 - металлическая подложка, в отверстие которой помещалась трубка
из ПЭТФ с внутренним проводящим слоем.
Для каждого образца проводились эксперименты при определенных условиях(
таблица 3).
Таблица 3 - Режимы
|
Режим
|
Вид образца
|
|
без вращения
|
с вращением
|
|
Образец 1
|
Образец 2
|
|
Без сетки
|
+
|
+
|
+
|
|
С сеткой при hc=5мм
|
+
|
-
|
-
|
|
С сеткой при hc=10мм
|
+
|
+
|
-
|
|
С сеткой при hc=20мм
|
+
|
-
|
+
|
|
С сеткой при hc=30мм
|
+
|
-
|
-
|
|
С электродом
|
-
|
+
|
+
|
|
Примечания 1hc - расстояние
между сетчатым электродом( сеткой) и торцом отверстия. Цилиндрический
электрод располагался на расстоянии 10 мм от торца входного отверстия.
|
Образец устанавливался в зажиме на предметный стол и располагался
горизонтально(рисунок 10).
1 - титановый катод; 2 - вакуумная камера; 3 - поток титана; 4 - образец;
5- приспособление; 6- предметный стол
Рисунок 10 -Схема размещения образца в вакуумной камере
Технологический процесс нанесения Ti.
- подготовительная очистка:
произвести очистку вакуумной камеры от металлической пыли пылесосом,
допускается очистку производить щеткой:
протереть бязью, смоченной в спирте, узлы вакуумной камеры и
приспособление, в котором находится образец;
протирку внутренней поверхности рабочей камеры, съемных защитных
устройств, испарителей, стола, затвора производить не реже одного раза в
неделю;
протирку уплотнительных резиновых прокладок, защитных стекол и
приспособлений производить перед каждой загрузкой.
- подготовка образца к напылению:
для очистки поверхности от органических загрязнений образцы протирались
хлопчатобумажной бязью, смоченной в спирте.
- загрузка:
установить образец в зажиме горизонтально, обеспечивая соприкосание
внутреннего проводящего слоя с зажимом для подачи внутрь отрицательного
потенциала.
- вакуумирование:
открыть вентиль подачи холодной воды, убедиться в наличии воды в системе
охлаждения установки, открыть вентили подачи горячей воды и сжатого воздуха:
подать на установку напряжение питания, включить форвакуумный агрегат,
открыть форвакуумный клапан, включить нагрев диффузионного насоса:
в процессе работы давление в диффузионном насосе и в вакуумной камере
контролировать по вакууметрам;
после достижения в диффузионном насосе вакуума 5×10-5 мм.рт.ст., закрыть форвакуумный
клапан, открыть байпасный клапан, откачать вакуумную камеру до давления
менее10-1мм.рт.ст.;
закрыть байпасный клапан, открыть форвакуумный клапан, открыть
высоковакуумный затвор, откачать вакуумную камеру до давления 4.5×10-5 мм.рт.ст;
- нанесение покрытия Ti:
включить испаритель, установить ток дуги 90А, ток стабилизирующей катушки
1.2А и ток фокусирующей катушки 1А, установить значение потенциала на держателе
равным 100В.
произвести формирование покрытия в течении 330с.
- выгрузка:
напустить в камеру воздух, открыть камеру;
достать напыленные образцы.
Последующие эксперименты проводились по той же технологии, за
исключением, согласно ранее описанным режимам, дополнительной установки
сетчатого или цилиндрического электрода и подаче на электрод отрицательного
потенциала равного потенциалу на образце. При напылении образца с вращением
технологический процесс в разделе нанесения покрытия Ti включал операцию
включения привода стола.
.4 Методика исследования образцов с покрытием Ti
После нанесения покрытия полимерная пленка подвергалась исследованию на
микроденситометре 100(рисунок 11).
Микроденситометр 100 - однолучевой прибор для измерения почернения на
малых участках фотографических изображений - спектрограмм, рентгенограмм,
астрономических фотографий, т. п.
Микроденситометр нормально работает в помещении с температурой от +10 до
+350С и относительной влажностью не более 75%.
Основные данные:
форматы объектов:
пластинки до 240х90мм;
пленки до 230х120мм;
перемещение столика по оси х: 210мм;
перемещение столика по оси y: 65мм;
-
поворот столика 
300;
поворот
измерительного зазора 
30;
измерение
почернения:
шкала
пропускания 0…1000 делений шкалы;
шкала
почернения ∞…0;
шкала
преобразования почернения ∞…-∞;
спектральный
диапазон измерительного света 590…720нм;
диапазоны
измерений(в зависимости от размера измерительного зазора):
диапазон
I s=0…1,7;
диапазон
II s=0.5…2.2;
диапазон
III s=1…2.7;
диапазон
IV s=1.5…3.2;
ширина
- 660мм;
высота
- 510мм;
глубина
- 700мм;
масса
- 40кг;
габаритные
размеры стабилизатора напряжения КН10/12-5L-T:
ширина
540мм;
высота
155мм;
глубина
350мм;
масса
20кг.
1 - кнопка управления для регулировки резкости изображения; 2 - покровная
пластина; 3- винт с накатанной головкой для регулировки нулевой точки
гальванометра; 4 - эксцентрик с кольцом и накаткой; 5 - кнопка управления для
перемещения предметного столика по оси y; 6 - кнопка управления для фокусировки
передней щели; 7 - кнопка управления для шпинделя и муфты двигателя; 8 -
масштаб с нониусом для перемещения по оси y; 9 - кнопка управления «100%» для
серого клина; 10 - зажимной винт; 11 - кнопка управления для регулировки
нулевой точки усилителя; 12 - винт с накатанной головкой для стопорения y
микрометрического винта; 13 - микрометрический винт; 14 - индекс с вырезом для
чернения измерительных меток; 15 - масштаб для перемещения по оси x; 16 -
поворотный столик.
Рисунок 11- Общий вид микроденситометра 100
Микроденситометр работает по однолучевому методу отклонения(рисунок 12).
Объект расположен в ходе лучей между лампой 1 и фотоэлементом 17.
Отсчитываемое у матового стекла 13 отклонение зеркального гальванометра 22
пропорционально фототоку элемента.
Объект 6облучается снизу и изображается изображающим объективом 7 через
корректирующую линзу 8 и отклоняющую призму 9 на проекционном экране. Здесь
имеется измерительный зазор 11, с помощью которого диафрагмируется желаемая
площадь измерения. С целью обеспечения минимальной погрешности измерения,
вследствие рассеянного света, облучается белым светом только измеряемая площадь
объекта. До окружающей среды измеряемой площади проникает только зеленый свет
из передней щели 3ее краев, источником которого служит цветное стекло. По
отношению к зеленому свету фотоэлемент за счет расположенного перед элементом
красного светофильтра 16 является нечувствительным. Зеленая щель 3 изображается
осветительным объективом 5 через отклоняющую призму 4 на плоскость объекта.
При помощи нейтрального клина 14 величина шкалы юстируется на 100%
пропускания. Обтюратор 19 служит для контроля нулевой точки. Расположенный на
обтюраторе 10%-й нейтральный светофильтр 18 может быть перевернут при больших
измерительных зазорах или высоком световом потоке в ход лучей.
износостойкий покрытие сплав сверло
Рисунок 12 - Схема оптической системы микроденситометра 100
Конденсатор 25 освещает пластинку шкалы 24, на которой расположены 3
шкалы гальванометра длиной 50мм. Зависимый от зеркального гальванометра 22
сектор шкалы изображается на матовом стекле 13 с 20-кратным увеличением.
В ходе исследования пленок были получены графики зависимости пропускания
по глубине и сечению отверстия. Используя логарифмическую зависимость
оптической плотности от пропускания, были получены графики распределения
оптической плотности по глубине и сечению отверстия, а, используя тарировочный
график( рисунок 13), получили представление о характере распределения толщины
покрытия по глубине и сечению отверстия.
Рисунок 13 - Зависимость коэффициента пропускания от толщины покрытия
3. Результаты
исследования
.1
Оптимизация технологии формирования покрытий на сверла из твердого сплава
В ходе испытаний на износостойкость мелкоразмерных твердосплавных сверл с
покрытием и без покрытия был получен график зависимости изнашивания сверл от
количества сверлений(рисунок 14).
Из графика следует, что сверла со всеми типами покрытия имеют большую
износостойкость, чем сверла без покрытия, а наибольшей износостойкостью
обладают сверла с многослойным покрытием из чередующихся слоев АПП и Ti(
изнашивание меньше в 1.6 раз в сравнении со сверлом без покрытия). Нанесение покрытий
способствует снижению изнашивания, увеличивает срок службы инструмента,
следовательно, совершенствование методик нанесения покрытий на мелкоразмерный
инструмент( в частности на твердосплавные сверла) имеет практический интерес
для увеличения срока эксплуатации и качества обработки, что в свою очередь дает
значительный положительный экономический эффект.
Также исследовалось качество отверстий в материале ВТ( рисунок 15).
Темные пятна на поверхности отверстий - следы обугливания, которые образуются в
связи с налипание продуктов сверления. Видно, что обугливание носит локальный
характер и преобладает в отверстиях, которые сверлились сверлами с покрытиями.
Наименьшее обугливание среди сверл с покрытиями наблюдается у сверл с покрытием
АПП+Ti.

3.2
Моделирование электрических полей с помощью программы Elmer
В ходе
моделирования, с помощью пакета программ Elmer, были получены пространственные
распределения потенциала и электрических полей( рисунок 16, рисунок 17) для
полой трубки.
Полученные модели позволяют визуально наблюдать за характером
распределения потенциала и электрических полей. В данном случае, у торца
входного отверстия, наблюдается переход по цветоспектру от зеленого( 4) к
синему( 6.6∙10-6). Можно сказать, что силовые линии электрических полей
проникают на глубину порядка радиуса отверстия и глубина нанесения покрытия
будет порядка диаметра отверстия, что не противоречит общепринятому мнению.
В случае моделирования полой трубки с сетчатым электродом, расположенным
перед отверстием на расстоянии hс=10мм, получены пространственные распределения
потенциала и электрических полей( рисунок 18, рисунок 19).
Анализируя поверхностное распределение потенциала и электрических полей,
можно подтвердить отсутствие электрического поля в области между сетчатым
электродом и деталью, что является необходимым условием для свободного
перемещения частиц покрытия( движения по инерции, а не по силовым линиям) в
пространстве между сетчатым электродом и образцом.
В случае моделирования полой трубки с цилиндрическим электродом,
помещенным внутрь отверстия на расстояние 10мм от торца входного отверстия,
пространственное распределение потенциала и электрических полей имеет следующий
вид( рисунок 20, рисунок 21).
Из цветоспектра следует, что электрические поля проникают на большую
глубину, чем в случае полой трубки без цилиндрического электрода, поэтому
глубина нанесения покрытия должна быть больше. Анализируя поверхностное распределение
полей, в данном случае наблюдается снижение относительного значения
электрического поля в отверстии, размещение цилиндрического электрода
способствует выравниванию потенциала.
3.3
Результаты исследования образцов с покрытием Ti
В ходе проведённых экспериментов были получены зависимости распределения
пропускания по глубине отверстия(рисунок 22, рисунок 23) для образца 1 и для
образца 2(рисунок 24), которые показывают на какую глубину было нанесено
покрытие в зависимости от наличия сетки или ее отсутствия и расстояния между
сеткой и отверстием.
- без сетки; 2 - с сеткой при hc =5мм; 3 - с сеткой при hc =10мм;
- с сеткой при hc =20мм; 5 - с сеткой при hc =30мм.
Рисунок 22- Распределение пропускания по глубине отверстия( образец 1)
Анализируя полученные зависимости, можно сказать, что установка
дополнительного электрода оказывает влияние на глубину нанесения покрытия Ti.
В случае исследования образца 1, напыленного без вращения, из полученных
зависимостей следует, что по мере увеличения расстояния между сетчатым
электродом и изделием глубина нанесения покрытия увеличивается, но не превышает
глубину покрытия, напыленного без сетчатого электрода( это связано с частичным
экранированием потока). Увеличение глубины нанесения покрытия связано с
увеличением пути пролета частиц до момента взаимодействия с изделием.

Анализируя зависимости, полученные при напылении с вращением образца,
можно отметить, что установка дополнительного сетчатого электрода приводит к
увеличению глубины проникновения покрытия как в случае образца 1( увеличение
глубины проникновения в 2.2 раза), так и для образца 2( увеличение глубины в
1.4 раза). Полученные зависимости свидетельствуют об эффективности
использования дополнительного сетчатого электрода для увеличения глубины
нанесения покрытия.
Эффективность использования цилиндрического электрода наблюдается только
для образца 2. Глубина проникновения покрытия соизмерима с глубиной, полученной
при использовании сетчатого электрода, расположенного на расстоянии 20мм от
торца отверстия и составляет 1,2 глубины, полученной без дополнительных
электродов.
Также были получены зависимости распределения толщины покрытия Ti по
глубине отверстия для образца 1(рисунок 25-26) и образца 2(рисунок 27) согласно
заданным режимам.

Зная характер распределения толщины покрытия, можно судить о скорости
нанесения покрытий.
Из зависимостей видно, что скорость нанесения покрытия для образца без
сетки( позиция 1 на рисунке 25) большая и имеет практически линейную
зависимость.
Такой же механизм напыления наблюдается в случае напыления с сетчатым
электродом расположенным на расстоянии 20мм от изделия(позиция 4 на рисунке
25).
При анализе случая с сетчатым электродом, расположенным на расстоянии
30мм, наблюдается интенсивное нанесение покрытия( глубина близка к диаметру
отверстия), а затем скорость нанесения резко снижается.

При напыленнии с вращением( рисунок 26), при использовании дополнительных
электродов наблюдается повышение скорости осаждения, цилиндрический электрод в
большей степени повышает скорость нанесения покрытия. При анализе образца 2
можно отметить, что при использовании цилиндрического электрода скорость
осаждения высокая и имеет ступенчатый характер. При использовании сетчатого
электрода наблюдается самая низкая скорость осаждения.
Используя логарифмическую зависимость оптической плотности от пропускания,
были получены зависимости распределения оптической плотности по сечению
отверстия для образца 1, напыленного без вращения при отсутствии
дополнительного сетчатого электрода и с использованием сетчатого электрода
расположенного перед отверстием на заданных расстояниях( Приложение А).
Используя логарифмическую зависимость оптической плотности от
пропускания, также были получены зависимости распределения оптической плотности
по сечению отверстия для образца 1, напыленного с вращением при отсутствии дополнительного
сетчатого электрода и с использованием сетчатого электрода расположенного на
расстоянии 10мм, а также цилиндрического электрода, помещенного внутрь
отверстия на расстоянии 10мм от торца отверстия(Приложение Б).
Также были получены зависимости распределения оптической плотности по
сечению отверстия для образца 2( Приложение В).
Данные зависимости позволяют судить о характере нанесения покрытия и
оценить влияние дополнительных электродов на процесс осаждения покрытия. В
данном случае также наблюдается снижение эффективности нанесения покрытия при
установке дополнительного сетчатого электрода( образец 1 напыленный без
вращения), но по мере удаления сетчатого электрода от образца количество пиков
снижается и наблюдается более равномерное нанесение покрытия.
В случае напыления с вращением образца 1, наблюдается более равномерный
характер нанесения при установке дополнительного сетчатого электрода.
При напылении образца 2 с вращением более равномерный характер нанесения
покрытия наблюдается при установке дополнительного цилиндрического электрода
внутрь отверстия.
Помимо представленных зависимостей, были получены зависимости
распределения толщины покрытия Ti по сечению отверстия.
Полученные зависимости характеризуют толщину покрытия на сравнительно
одинаковом расстоянии от торца отверстия:
распределение толщины покрытия для образца 1,напыленного без
вращения представлены на рисунках 28- 32 в соответствии с заданными режимами.
Анализируя полученные зависимости можно отметить, что, по мере увеличения
расстояния между сетчатым электродом и изделием, наблюдается увеличение толщины
покрытия. Максимальные значения толщины приходятся на образец с сетчатым
электродом, расположенным на расстоянии 20мм от торца отверстия, при дальнейшем
увеличении расстояния толщина покрытия снижается.
распределение толщины покрытия для образца 1,напыленного с
вращения представлены на рисунках 33-35 в соответствии с заданными режимами.
При анализе образца напыленного с вращением, использование сетчатого
электрода способствует выравниванию распределения покрытия по толщине.
распределение толщины покрытия для образца 2,напыленного с
вращения представлены на рисунках 36-38 в соответствии с заданными режимами.
Анализируя представленные зависимости, можно отметить, что большая
толщина и равномерность покрытия наблюдается в случае использования
дополнительного цилиндрического электрода. Использование сетчатого электрода в
данном случае не оказывает существенного влияния на толщину нанесенного слоя.
4
Технологический процесс нанесения износостойких покрытий на прецизионный
твердосплавный инструмент
Технические требования к обрабатываемым сверлам:
Напыляемые сверла должны соответствовать техническим требованиям на их
изготовление и должны быть приняты ОТК.
На поверхности сверл не допускается наличие какого-либо защитного
покрытия, окисных пленок, сколов, заусенцев и других дефектов, детали должны
быть расконсервированы.
Транспортировку и перемещение сверл необходимо производить в деревянной
или пластмассовой таре.
Вся оснастка, помещаемая в вакуумную камеру установки, должна быть
изготовлена из стали марок 08Х18Н10, 12Х18Н9, 17Х18Н9.
Порядок работы комплекса оборудования для модификации сверл:
Подготовительная очистка.
.1 Произвести очистку вакуумной камеры от металлической пыли пылесосом.
Допускается очистку производить щеткой.
.2. Протереть бязью, смоченной в спирте, узлы вакуумной камеры и
приспособление, в котором обрабатываются сверла. Протирку внутренней
поверхности рабочей камеры, съемных защитных устройств, испарителей, стола,
затвора производить не реже одного раза в неделю. Протирку уплотнительных
резиновых прокладок, защитных стекол и приспособлений, в которых обрабатываются
детали, производить перед каждой загрузкой.
Подготовка сверл к напылению.
.1 Промывка в органических растворителях( бензин Б-70; P-648; P-646).
Промывка производится в вытяжном шкафу или при наличии вытяжной вентиляционной
системы. Детали помещаются в ванночку с растворителем и протираются
хлопчатобумажной бязью.
.2 Очистка в ультразвуковой ванне. Приготовить моющий раствор 20 г/л ТМС
в дистилляте, температурой 50-70 0С. Моющий раствор может использоваться
многократно. Опустить детали в ультразвуковую ванну и включить генератор. Время
обработки составляет 10 мин.
.3 После обработки в УЗВ промыть детали в мойке под проточной водой и
затем сполоснуть в дистиллированной воде.
.4 Поставить детали на подставку и поместить в сушильный шкаф. При
установке деталей пользоваться пинцетом. Сушку производить при температуре
70-90 0С. Время сушки 0,5 часа.
Загрузка.
.1. Перед установкой сверл в вакуумную камеру протереть их бязевой
салфеткой, смоченной в этиловом спирте.
.2. Установить сверла на технологическую оснастку в вакуумной камере. За
одну загрузку можно устанавливать до 1122 штук. При установке пользоваться
чистыми хлопчатобумажными перчатками или пинцетом.
Примечание 1. Во избежание загрязнения сверл время между операциями по п.
2.4. и 3.2. должно быть минимальным.
.3. Проверить расположение деталей в вакуумной камере. Соприкосновение
сверл между собой и со стенками камеры не допускается. Закрыть дверку вакуумной
камеры.
. Вакуумирование
.1. Открыть вентиль подачи холодной воды, убедиться в наличии воды в
системе охлаждения установки. Открыть вентили подачи горячей воды и сжатого
воздуха.
.2. Подать на установку напряжение питания. Включить форвакуумный
агрегат. Открыть форвакуумный клапан. Включить нагрев диффузионного насоса.
.3. В процессе работы давление в диффузионном насосе и в вакуумной камере
контролировать по приборам 13ВТ3-003 и ВИТ-2.
.4. После достижения в диффузионном насосе вакуума 5 ·10-4 мм. рт. ст.
( время нагрева 25-40 мин.):
закрыть форвакуумный клапан;
открыть байпасный клапан;
включить подогрев камеры;
отвакуумировать вакуумную камеру до давления 5 ·10 -2 мм. рт. ст..
.5. Закрыть байпасный клапан;
открыть форвакуумный клапан;
открыть высоковакуумный затвор;
включить охлаждение камеры;
откачать вакуумную камеру до давления 5 ·10-5 мм. рт. ст.
. Очистка ионным источником «Радикал».
.1. Включить привод вращения стола
.2.Напустить в камеру аргон (ОСЧ) до давления 4,5×10-4 мм. рт. ст. Включить ионный
источник, согласно инструкции. Установить ускоряющее напряжение 2..3 кВ.
Зажигание разряда контролировать визуально. Очистку производить 10 мин.
.3. Снять напряжение. Прекратить подачу аргона. Произвести откачку до
давления 5 ·10-5 мм. рт. ст.
. Нанесение покрытия Ti
.1. Включить электродуговой испаритель
.2. Установить ток горения дуги 50 А
.3. Произвести нанесение покрытия титана, время нанесения 1 мин.
.4. По окончании конденсации выключить испаритель.
. Нанесение АПП
.1. Включить блок питания источника углеродной плазмы
.2. Установить напряжение накопителя 300 В
.3. Установить частоту импульсов 20 Гц
.4. Произвести нанесение АПП, время нанесения 30 с.
.5. По окончании конденсации выключить испаритель.
Операции по пп.6 и 7 повторить 6 раз.
. Выгрузка
Напустить в камеру воздух. Открыть камеру
Выгрузить из вакуумной камеры модифицированные сверла и установить их на
подставке. Пользоваться пинцетом.
Контроль качества обработанных сверл.
Произвести визуальный осмотр 100% сверл. На рабочих поверхностях не
допускается отслаивание покрытия. Проверку производить с помощью 4-х кратной
лупы.
5 Расчет экономической эффективности упрочнения
По исходным данным, указанным в таблице 4, можно рассчитать годовой
экономический эффект и его составляющие.
Таблица 4 - Исходные данные
|
№
|
Показатель
|
Обозначение
|
Величина
|
|
|
|
общая
|
для упрочнения одной партии
|
|
1
|
Расход графита
|
Qгр
|
-
|
|
2
|
Расход титана
|
QTi
|
-
|
|
3
|
Потребляемая мощность
|
N
|
50кВт
|
|
4
|
Тариф на 1кВт∙час
|
Zэл
|
238.5руб
|
|
5
|
Расход воды
|
Qв
|
1.2м3/час
|
|
6
|
Тариф на воду
|
Zв
|
890 руб/м3
|
|
7
|
Время упрочнения
|
t
|
59 мин
|
9 мин
|
|
8
|
Затраты на графит
|
Згр
|
-
|
-
|
|
9
|
Затраты на титан
|
ЗTi
|
-
|
-
|
|
10
|
Затраты на воду
|
Зв
|
1070 руб./час
|
1050 руб
|
|
11
|
Затраты на электроэнергию
|
Зэл
|
11930 кВт./час
|
11730 руб
|
|
12
|
Стоимость сверла
|
Сс
|
15000 руб
|
|
13
|
Количество изделий в партии
|
nп
|
200 шт
|
|
14
|
Объем выпуска сверл
|
n
|
54000 шт/год
|
Полная себестоимость упрочнения одной партии рассчитывается по формуле
С = С1 + Зам, (1)
где C1 - материальные затраты на упрочнение напыляемой партии, руб;
Зам - затраты на амортизационные отчисления на установку УРМ3.279.070 ,
руб.
Материальные затраты для упрочнения одной партии вычисляются по формуле
= Згр+ЗTi + Зв + Зэл, (2)
где Згр - затраты на графит, используемый как основной компонент для
получения износостойкого покрытия при упрочнении, руб./час;
ЗTi - затраты на титан, применяемый для нанесения подслоя, руб./час;
Зв - затраты на воду, применяемую для охлаждения установки, руб./час;
Зэл - затраты на электроэнергию, затрачиваемую при работе установки,
руб./час.
Таким образом, материальные затраты составляют=1050 + 11730= 12780 руб.
Затраты на амортизационные отчисления на установку УРМ3.279.070 составляют
20% от себестоимости упрочнения партии изделий
Зам = С1∙ 0,2 = 12780 ∙ 0,2 = 2560 руб. (3)
Таким образом, по формуле (1) полная себестоимость упрочнения составит
С = 12780 + 2560 = 15340 руб.
Затраты на заработную плату рабочего персонала составляют 25% от
себестоимости партии изделий
Зз.п. = С ∙ 0,25 = 15340 ∙ 0,25 = 3840 руб. (4)
Стоимость упрочнения одной партии рассчитывается по формуле
Ц = С + Зз.п = 15340 + 3840 = 19180 руб. (5)
Стоимость упрочненного одного сверла
Цу.п = Сc + Ц/nп, (6)
где Сc - базовая стоимость сверла, руб;п - количество сверл в партии, шт.
Цу.п = 15000 + 19180/200 = 15100 руб.
После упрочнения работоспособность возрастает в 1.6 раза.
Экономический эффект при использовании сверл, упрочненных нанесением АПП
методом КИБ, составит
Э = Сc · n - Цу.п∙(n/1.6), (7)
где n - объем выпуска сверл, шт/год.
Э = 15000 · 54000 - 15100 · (54000/1.6)= 300375000руб./год.
6. Энергосбережение
Применение технологий энергосбережения в промышленности всегда актуально.
Это связано с тем, что в промышленности расходуется до 80% энергии.
Технологическое оборудование для упрочнения нанесением износостойких покрытий
является одним из наиболее значительных потребителей энергоносителей (
электричество) и ресурсов ( нагреватели, электроды, газы, масла, вода и т.д.)
на металлургических и машиностроительных предприятиях.
Упрочнение нанесением износостойких покрытий достигается значительное
повышение технологических характеристик режущего инструмента и улучшение
качества обработки материалов. На данный момент существует огромное количество
типов покрытия способных обеспечить требуемые свойства.
Для анализа эффективности( с точки зрения энергосбережения) нанесения АПП
в сравнении с другими типами покрытий, проводим оценку энергопотребления при нанесении
АПП и TiN, толщины которых обеспечивают достижение сравнительно равных свойств
наносимого покрытия.
Главным критерием оценки является время работы оборудования, которое
определяется исходя из типового техпроцесса нанесения покрытий.
Сравнительный анализ представлен в таблице 5.
Таблица 5 Сравнительный анализ нанесения АПП и TiN
|
Параметры
|
АПП
|
TiN
|
|
Потребляемая мощность, кВт
|
50
|
|
Тариф за 1кВт∙ч, руб.
|
238.5
|
|
Толщина покрытия, мкм
|
0.2
|
4
|
|
Скорость нанесения, мкм/ч
|
30
|
3.2
|
|
Время работы установки, ч
|
0.86
|
2.1
|
|
Затраты электроэнергии,
руб.
|
10260
|
25040
|
Таким образом, исходя из полученных значений затрат электроэнергии, можно
сказать, что энергозатраты на упрочнение нанесением АПП составляют 144% от
энергозатрат при упрочнении нанесением TiN.
7. Технологическая инструкция
Данный проект комплекта документов разработан для использования на
инструментальных производствах, имеющих специализированные участки и
оборудование для вакуумного нанесения покрытий методом конденсации с ионной
бомбардировкой (КИБ). Настоящий технологический процесс предназначен для
поверхностной обработки твердосплавных волок.
.1 Общие сведения
Электродуговое реактивное нанесение покрытий, как метод модификации
поверхности заключается в электродуговом распылении материала катода в вакууме
в присутствии реакционного газа и последующей конденсации продуктов
плазмохимических реакций на изделия, сопровождающейся ионной бомбардировкой
ионами распыляемого материала и реакционного газа.
Для повышения износостойкости мелкоразмерного инструмента используются
установки нанесения упрочняющих покрытий марки УВНИПА (установки других марок
могут быть использованы после предварительного технологической апробирования),
генератор ультразвуковой УЗГ 3-0.4 с ванной очистки, либо его аналоги.
Установка вакуумная состоит из следующих основных частей:
стойка питания и управления;
стойка питания дугового испарителя;
стойка питания источника углеродной плазмы;
блок вакуумный[47].
7.2 Указания мер безопасности
.2.1Общие указания
Модификация волок производится на установке УВНИПА. К работе на установке
допускаются лица, прошедшие медицинский осмотр, местный инструктаж по
безопасности труда, изучившие техническое описание вакуумной установки и
ультразвукового генератора, инструкцию по эксплуатации, инструкцию по технике
безопасности при работе на данном оборудовании, изучившие данный комплект
документов, прошедшие обучение технологии модификации волок и имеющие
удостоверение на право работы на электроустановках с напряжением до 1000 В с
квалификацией по электробезопасности не ниже 3 группы.
Для выполнения работ по модификации волок необходимо соблюдение
требований по технике безопасности и охране труда в соответствии с : “Правила
по технике безопасности и производственной санитарии в электронной
промышленности” отд. изд. М. Энергия. 1973 г., “Правила технической
эксплуатации электроустановок потребителей” и “Правила техники безопасности при
эксплуатации электроустановок.” Минэнерго СССР 2-е изд. переработанное и
дополненное - М. Энергоатомиздат, 1989-144с.
На участке может работать смена не менее чем из двух человек, имеющих
квалификационную группу по технике безопасности не ниже третьей.
Ремонтные и наладочные работы разрешается проводить бригаде, состоящей не
менее чем из двух человек с разрешения начальника участка, обеспечивающего все
организационные и технические мероприятия для безопасной работы.
В помещении технологического участка уборка должна производиться влажным
способом при полном снятии напряжения и в присутствии кого-либо из персонала
участка.
.2.2 Правила электробезопасности
Блок вакуумный и стойка питания и управления, стойка питания дуговых
испарителей, генератор ультразвуковой должны быть заземлены голым медным
проводом площадью поперечного сечения не менее 6 мм2.
Запрещается работать при снятых обшивках, кожухах, открытых дверях
вакуумной установки. Запрещается оставлять без наблюдения вакуумную установку,
генератор ультразвуковой, находящиеся под напряжением.
.2.3 Правила термобезопасности
Соблюдать осторожность при работе с нагретыми частями установки во
избежание ожогов (нагреватель паромасляного насоса, рабочий стол,
обрабатываемые изделия).
.2.4 Правила пожаробезопасности
Легко воспламеняющиеся жидкости (ЛВЖ) должны храниться в небьющейся,
герметически закрытой посуде и таре. Запас ЛВЖ на рабочем месте не должен
превышать потребности на одну смену. Обтирочный материал должен храниться в
специальных металлических ящиках с закрывающимися крышками.
Работающим на участке запрещается:
работать при отсутствии проверенных средств защиты пожаротушения;
производить работы по частичному или полному демонтажу вакуумной системы
при выключенной вентиляции.
.3 Технические требования к обрабатываемым волокам
Напыляемые волоки должны соответствовать техническим требованиям на их
изготовление и должны быть приняты ОТК.
На поверхности волок не допускается наличие какого-либо защитного
покрытия, окисных пленок, сколов, заусенцев и других дефектов, детали должны
быть расконсервированы.
Транспортировку и перемещение волок необходимо производить в деревянной
или пластмассовой таре.
Вся оснастка, помещаемая в вакуумную камеру установки, должна быть
изготовлена из стали марок 08Х18Н10, 12Х18Н9, 17Х18Н9.
.4 Порядок работы комплекса оборудования для модификации волок
Подготовительная очистка.
.1 Произвести очистку вакуумной камеры от металлической пыли пылесосом.
Допускается очистку производить щеткой.
.2. Протереть бязью, смоченной в спирте, узлы вакуумной камеры и
приспособление, в котором обрабатываются волоки. Протирку внутренней
поверхности рабочей камеры, съемных защитных устройств, испарителей, стола,
затвора производить не реже одного раза в неделю. Протирку уплотнительных
резиновых прокладок, защитных стекол и приспособлений, в которых обрабатываются
детали, производить перед каждой загрузкой.
Подготовка волок к напылению.
.1 Промывка в органических растворителях ( бензин Б-70; P-648; P-646).
Промывка производится в вытяжном шкафу или при наличии вытяжной вентиляционной
системы. Детали помещаются в ванночку с растворителем и протираются
хлопчатобумажной бязью.
.2 Очистка в ультразвуковой ванне. Приготовить моющий раствор 20 г/л ТМС
в дистилляте, температурой 50-70 0С. Моющий раствор может использоваться
многократно. Опустить детали в ультразвуковую ванну и включить генератор. Время
обработки составляет 10 мин.
.3 После обработки в УЗВ промыть детали в мойке под проточной водой и
затем сполоснуть в дистиллированной воде.
.4 Поставить детали на подставку и поместить в сушильный шкаф. При
установке деталей пользоваться пинцетом. Сушку производить при температуре
70-90 0С. Время сушки 0,5 часа( таблица 6).
Загрузка.
.1. Перед установкой волоков в вакуумную камеру протереть их бязевой
салфеткой, смоченной в этиловом спирте.
.2. Установить волок на технологическую оснастку в вакуумной камере. За
одну загрузку можно устанавливать до 100 штук. При установке пользоваться
чистыми хлопчатобумажными перчатками или пинцетом.
Примечание 1. Во избежание загрязнения волоков время между операциями по
п. 2.4. и 3.2. должно быть минимальным.
.3. Проверить расположение деталей в вакуумной камере. Соприкосновение
волоков между собой и со стенками камеры не допускается. Закрыть дверку
вакуумной камеры.
. Вакуумирование
.1. Открыть вентиль подачи холодной воды, убедиться в наличии воды в
системе охлаждения установки. Открыть вентили подачи горячей воды и сжатого
воздуха.
.2. Подать на установку напряжение питания. Включить форвакуумный
агрегат. Открыть форвакуумный клапан. Включить нагрев диффузионного насоса.
.3. В процессе работы давление в диффузионном насосе и в вакуумной камере
контролировать по приборам 13ВТ3-003 и ВИТ-2.
.4. После достижения в диффузионном насосе вакуума 5 ·10-4 мм. рт. ст.
( время нагрева 25-40 мин. ) :
закрыть форвакуумный клапан;
открыть байпасный клапан;
включить подогрев камеры;
отвакуумировать вакуумную камеру до давления 5 ·10 -2 мм. рт. ст..
.5. Закрыть байпасный клапан;
открыть форвакуумный клапан;
открыть высоковакуумный затвор;
включить охлаждение камеры;
откачать вакуумную камеру до давления 5 ·10-5 мм. рт. ст.
. Очистка ионным источником «Радикал».
.1. Включить привод вращения стола
.2.Напустить в камеру аргон (ОСЧ) до давления 4,5×10-4 мм. рт. ст. Включить ионный
источник, согласно инструкции. Установить ускоряющее напряжение 2..3 кВ.
Зажигание разряда контролировать визуально. Очистку производить 10 мин.
.3. Снять напряжение. Прекратить подачу аргона. Произвести откачку до
давления 5 ·10-5 мм. рт. ст.
.1. Включить электродуговой испаритель
.2. Установить ток горения дуги 50 А
.3. Произвести нанесение покрытия титана, время нанесения 0,5 мин.
.4. По окончании конденсации выключить испаритель.
. Нанесение АПП
.1. Включить блок питания источника углеродной плазмы
.2. Установить напряжение накопителя 300 В
.3. Установить частоту импульсов 1 Гц
.4. Произвести нанесение АПП - 200 импульсов.
.5. По окончании конденсации выключить испаритель.
Операции по пп.6 и 7 повторить 6 раз( таблица 7).
. Выгрузка
Напустить в камеру воздух. Открыть камеру
Выгрузить из вакуумной камеры модифицированные волоки и установить их на
подставке. Пользоваться пинцетом.
Контроль качества обработанных волок.
Произвести визуальный осмотр 100% волок. На рабочих поверхностях не
допускается отслаивание покрытия. Проверку производить с помощью 4-х кратной
лупы.
Перечень основных и вспомогательных материалов, сырья необходимых для
обработки волок приведен в таблице 8.
Таблица 6 - Реактивы для предварительной обработки
|
Состав раствора, г/л
|
Температура раствора, оС
|
Время обработки, мин
|
|
Лабомид-101 (30)
|
40-50
|
9
|
|
Тринатрийфосфат 30 ОП-75
|
40 -50
|
10
|
Таблица 7 -
Режимы нанесения покрытий
|
Процесс
|
Ускоряющее напряжение, кВ
|
Давление,мм. рт. ст.,
|
Ток дуги, А
|
Ток фокус. катушки, А
|
Время обработки, мин
|
Примеч.
|
|
Очистка ионным источником
|
2 - 4
|
4, 5 ·10-4
|
-
|
1
|
10
|
В среде аргона
|
|
Нанесение АПП
|
300
|
5·10-5
|
-
|
-
|
0,5
|
Частота импульсов 20 Гц
|
|
Нанесение Тi
|
0
|
5·10-5
|
50
|
-
|
1
|
|
Таблица 8 -
Перечень необходимых основных и вспомогательных материалов необходимых для
работы
|
Наименование
|
Нормативно-техническая
документация (ГОСТ, ОСТ или ТУ)
|
Показатели, обязательные
при проверке перед использованием
|
Показатели пожароопасности
и токсичности
|
|
Титан
|
ВТ 1-00, вакуумная плавка,
ОСТ190173-75
|
Внешний вид, Æ60
|
Непожароопасен негорюч
|
|
Спирт этиловый
|
ГОСТ 18300-72
|
1.Содержание этилового
спирта в объемных % 2. Внешний вид
|
Пожароопасен ПДК в воздухе
рабочей зоны 1000 мг/м3
|
|
Бензин БР-1 “ Галоша”
|
ГОСТ 443-73
|
Внешний вид
|
Пожароопасен ПДК 300 мг/м3
|
|
|
Аргон газообразный, высший
сорт
|
ГОСТ 9293-74
|
Давление на входе в
установку 1-2 кг/см2
|
Непожароопасен, негорюч
|
|
|
Сжатый осушенный воздух
|
ГОСТ 11882-73
|
Давление 3-5 кг/см2
|
Непожароопасен, негорюч
|
|
|
Ткань хлопчатобумажная
бязевой группы
|
ГОСТ 11680-76
|
Внешний вид
|
Нетоксична, горюча
|
|
|
Вода холодная
|
ГОСТ 2874-73
|
Давление 3-5 кг/см2
температура 15 °С
|
Нетоксична, негорюча
|
|
|
Масло вакуумное марки ВМ-1,
ВМ-5, ПФМС, ВМ-4
|
ГОСТ 23013-78
|
Внешний вид
|
Нетоксично, горюче
|
|
|
Вода дистиллированная
|
|
Внешний вид
|
Нетоксично, негорюче
|
|
|
Лабомид -101 (102)
|
|
Наличие сертификата
|
Нетоксично, негорюче
|
|
|
|
|
|
|
|
|
|
Заключение
В ходе выполнения данного проекта рассмотрены пространственные
распределения электрических полей при различных конфигурациях.
Показано, что при установке дополнительного сетчатого электрода перед
отверстием и подаче на него потенциала, равного потенциалу на подложке, в
пространстве между сеткой и подложкой электрические поля отсутствуют.
При установке дополнительного цилиндрического электрода внутрь отверстия
на расстояние 10мм от торца входного отверстия и подаче на него потенциала,
равного потенциалу на подложке, электрические поля проникают в отверстие на
большую глубину, чем в случае отсутствия электрода.
Экспериментальная проверка показала, что при использовании
дополнительного сетчатого электрода увеличивается глубина нанесения покрытия от
1.4 до 2.2 раз, а в случае использования дополнительного цилиндрического
электрода глубина нанесения увеличивается в 1.4 раза, наблюдается также
увеличение толщины нанесенного покрытия. Это объясняется характером
распределения электрических полей при использовании дополнительных электродов.
Произведена оценка эффективности нанесения износостойких покрытий ( АПП и
его модификации) на поверхность мелкоразмерного твердосплавного инструмента (
сверла диаметром 0.2мм). Получены зависимости изнашивания от числа сверлений,
согласно которым инструмент с покрытием имеет больший ресурс работы, чем без
покрытия ( в случае слоистого покрытия АПП и Ti изнашивание меньше в 1.6 раза).
На основании полученных данных предложены рекомендации по
совершенствованию технологического процесса упрочнения твердосплавных волок
нанесением АПП с использованием дополнительных электродов ( Приложение Г).
Список литературы
1 Попилов,
Д.Я. Электрофизическая и электрохимическая обработка материалов/ Д.Я. Попилов -
М.: Машиностроение, 1982.
Мрочек, Ж.А.
Прогрессивные технологии восстановления и упрочнения деталей машин/Ж.А. Мрочек,
Л.М. Кожуро, И.П. Филонов.- Мн.: Технопринт, 2000.- 268с.
Кудря, Н.А
Современные направления совершенствования твердых сплавов для режущего
инструмента/Н.А. Кудря, Э.Ф. Эйхманс .// Станки и инструмент - 1986 - №6.
Яресько, С.И.
Физические и техногогические основы упрочнения твердых сплавов: [монография]/
С.И. Яресько - Самара: изд-во Самарского научного центра РАН - 2006 - 244с.
Гладких, Л.И.
Остаточные напряжения в поверхностном слое твердосплавных пластинок после
алмазного шлифования/Л.И. Гладких, Б.М. Свердлова, М.Я. Фукс // ФХММ - 1968 -
Т.4, №6 - c.697-702.
Семко, М.Ф.
Рентгенографическое исследование эпюры остаточных напряжений в твердосплавных
пластинках после шлифования алмазными кругами/ М.Ф. Семко, Б.М.Свердлова, Л.И
Гладких. и др.// Станки и режущие инструменты - 1968 - вып.7 - с.40-46.
Смагленко,
Ф.П. Остаточные напряжения в твердых сплавах группы ВК после алмазного
шлифования/ Ф.П. Смагленко// Сверхтвердые материалы - 1981 - №2 - с.61-64.
Фукс, М.Я
Состояние поверхностного слоя материалов после алмазной и эльборовой обработки/
М.Я. Фукс, Н.К. Беззубенко, Б.М. Свердлова - Киев: Вища шк.,1979 - 160с.
Suzuki, H.
Effect of surface grinding on mehanical properties of WC-Co allow/ Н. Suzuki,
K. Hayashi// J.Jap.Inst.Met. - 1974 - №38 - p.604-608.
Лошак, М.Г.
Упрочнение твердых сплавов//М.Г. Лошак, Л.И. Александрова - Киев: Наукова думка
- 1977 - 148с.
Лошак ,М.Г.
Прочность и долговечность твердых сплавов/ М.Г. Лошак - Киев: Наукова думка -
1984 - 328с.
Лошак, М.Г.
Повышение прочностных характеристик сплавов дробеструйной обработкой/М.Г.
Лошак, Л.И. Александрова, Ф.П. Смагленко и др.// Проблемы прочности - 1976 - №8
- с.97-99.
Хает, Г.Л.
Рентгенографическое изучение эффекта дробеструйного упрочнения
металлокерамических твердых сплавов/Г.Л. Хает, Б.А. Брусиловский, В.К. Заболоцкий,
Л.Г. Хает// Резание и инструмент - 1974 - вып.9 - с.33-37.
Хает, Л.Г.
Прочность режущего инструмента/ Л.Г. Хает - М: Машино-
строение,
1975 - 168с.
Laugier, M.T.
Surface toughening in WC-Co composites resulting from grinding and impacting
operation/ M.T. Laugier// Int.J. Refractand Hard Metals - 1988 - V.7, №2 -
c.115-116.
Кудря, Н.Ф.
Повышение стойкости бурового инструмента способом вибрационной объемной
обработки/Н.Ф. Кудря, В.А. Повидайло, В.И. Кармалюк и др.// Цв. металлургия -
1971 - №20 - с.5-8.
Повидайло,
В.А. Исследование влияния работы вибромашин на производительность процесса
виброобработки изделий из твердых сплавов/ В.А. Повидайло, В.И. Кармалюк //
Вибрационное шлифование отделка и упрочнение - Ростов-на-Дону: изд. РИСХМ -
1968 - с.27-30.
Karnachi, K.
Зависимость между прочностью и остаточными напряжениями при дробеструйной
обработке твердого сплава WC-Co/ K. Karnachi, T. Yamamota // Jap.Inst. Metsl -
1990 - V.54,№ 20 - c.1131-1135.
Чапарова,
И.Н. Исследование изменений в структуре поверхностного слоя
вольфрамокобальтовых сплавов после вибрационной объемной обработки/И.Н.
Чапарова, А.В. Вараксина, А.И. Чувилин и др.// Твердые сплавы: сб. тр. ВНИИТС -
М: Металлургия - 1973 - №12 - с.59-64.
Линенко-Мельникой,
Ю.П. Влияние алмазной и других методов обработки на структуру и механические
свойства твердого сплава/Ю.П. Линенко-Мельникой, Ю.И. Созин, М.Г. Лошак//
Проблемы прочности - 1972 - №4 - с.100-103.
Креймер, Г.С.
Прочность твердых сплавов/ Г.С. Креймер - М: Металлургия - 1971 - 248с.
Белоцкий,
А.В. Ультразвуковое упрочнение материалов/А.В. Белоцкий, В.И. Винниченко, И.М.
Муха - Киев: Техника - 1989 - 168с.
Белоцкий,
А.В. Влияние ультразвукового воздействия на прочностные свойство
вольфрамокобальтовых твердых сплавов/ А.В. Белоцкий, И.М. Муха, В.И.
Винниченко// Проблемы прочности - 1984 - №11 - с.102-104.
Винниченко,
В.И. Влияние продолжительности ультразвуковой обработки на связующую фазу
вольфрамокобальтовых твердых сплавов/ В.И. Винниченко// Получение, исследование
свойств и применение сверхтвердых материалов - Киев: - 1984 - с.74-77.
Муха, И.М.
Упрочнение твердых сплавов ультразвуковыми колебаниями/ И.М. Муха, В.И.
Винниченко// Порошковая металлургия - 1982 - №10 - с.88-89.
Муха, И.М.
Упрочнение твердых сплавов ультразвуковыми колебаниями/И.М. Муха, Винниченко
В.И.// Порошковая металлургия - 1983 - №8 - с.43-46.
Белоцкий,
А.В. Упрочнение твердых сплавов ультразвуковыми колебаниями/А.В. Белоцкий, В.И.
Винниченко, И.М. Муха и др.// Порошковая металлургия - 1984 - №8 - с.84-88.
Белоцкий,
А.В. Упрочнение твердых- сплавов ультразвуковыми колебаниями/А.В. Белоцкий,
В.И. Винниченко, Т.В. Мельниченко и др.// Порошковая металлургия - 1984 - №9 -
с.91-95.
Исхакова,
Г.А. Исследование высокоскоростной деформации карбида вольфрама/ Г.А. Исхакова,
В.И. Синдеев//Сверхтвердые материалы - 1983 - №5 - с.49-54.
Кулиш, М.Н.
Влияние электронного облучения на структуру, износостойкость при сухом трении и
режущие характеристики инструментальных сплавов и сталей/М.Н. Кулиш, Н.А.
Мельников, П.В. Петренко и др.// Физика износостойкости поверхности металлов -
1988 - с.134-138.
Калистратова,
Н.П. Модификации твердых сплавов мощными ионными пучками и послерадиационной
термической обработки/ Н.П. Калистратова, К.Н. Полещенко, Г.И. Геринг и др.//
Физика и химия обработки материалов - 1999 - №1 - с.10-14.
Подураев,
В.Н. Упрочнение твердосплавного режущего инструмента лазерным и радиационныи
излучением/В.Н. Подураев, А.В. Диваев, А.Э. Сенченко, Б.В. Шемаев// Станки и
инструменты - 1990 - №9 - с.18-20.
Коршунов, А.Б
Упрочнение твердосплавных пластин с кобальтовой связкой ионизирующим
облучением/А.Б. Коршунов, Л.И. Миркин, Е.А. Мякотин и др.//Физика и химия
обработки материалов - 1997 - №3 - с.5-9.
Нестеренко,
В.П. Влияние радиационного облучения на механические свойства твердых
сплавов/В.П. Нестеренко [и др.]// Томск: Томск. Политех.инс-т - 1986 - 13с.
Рыбак, В.Л.
Влияние магнитно-абразивного полирования на работоспособность твердосплавных
метчиков/ В.Л. Рыбак, С.И. Диденко, В.П. Гладуш и др// Сверхтвердые материалы -
1973 - №5 - с.59-61.
Барон, Ю.М.
Технология абразивной обработки в магнитном поле/ Ю.М. Барон - Л:
Машиностроение - 1975 - с128с.
Панченко,
В.М. Исследование технологических возможностей магнитно-абразивной обработки
для повышения эксплуатационных свойств деталей машин/ Автореферат
дис.канд.техн.наук - Брянск - 1978 - 21с.
Хает, Г.Л.
Влияние скругления режущей кромки твердосплавных резцов на их прочность и
износостойкость/ Г.Л. Хает, Г.Д. Василюк// Вестник машиностроения - 1970 - №4 -
с.71-73.
Барон, Ю.М.
Повышение стойкости метчиков и производительности резьбонарезания в
высокопрочных сталях/ Ю.М. Барон, С.Ю. Иванов// Прогрессивные методы обработки
резанием - 1981 - с.70-73.
Тюрин, Ю.Н.
Плазменные упрочняющие технологи/ Ю.Н. Тюрин, М.Л. Жадкевич - Наукова думка,
Киев, 2008. - 218 стр.
Воронцов,
П.А. О целесообразности импульсно-лазерного упрочнения металлокерамических
твёрдых сплавов/ П. А. Воронцов, В. М. Гончаров, М. Н. Шагров//. - Сб. науч.
тр. СевКавГТУ, серия «Естественнонаучная», 2005. - №1.
Панов, В. С.
Технология и свойства спечённых твёрдых сплавов и изделий из них/ В.С. Панов,
А.М. Чувилин//. Учебное пособие для вузов. - М.: «МИСИС», 2001. - 428 с.
Rie, K. T,
Recent advances in plasma diffusion processes/K.T. Rie // Surface and Coat.
Technol. -1999. - 112, N 1/3. - P. 56-62.
Тюрин, Ю.Н.
Импульсно-плазменное модифицирование поверхности изделия из сплава WC + 20%Со/
Ю.Н. Тюрин, С.Н. Кульков, О.В. Колисниченко, И.М. Дуда - ФИП PSE, 2009. - т. 7,
№ 3.
45
Пат.2009025 Российская Федерация Способ химико-термической обработки
твердосплавного інструмента, В.П. Вальчук - № 5025673/02; заявл. 27.12.1991;
опубл. 15.03.1994, Акционерное общество "Дока".
46 Мелихов,
С.Г. Методы нанесения упрочняющих покрытий: Метод.указания к курсовому и
дипломному проекту/С.Г. Мелихов// Моск.гос.ин-т Электроники и математики - 2004
- 28с.
Установка
нанесения упрочняющих покрытий УВНИПА-1-01: Техническое описание и инструкция
по эксплуатации 3.279.070.ТО.- АО « Кварц» - Калининград - 1996.
48 Overview
of Elmer/ CSC - IT Center for Science - 2011 - 10с.
49 ElmerGrid
Manual/ CSC - IT Center for Science - 2011 39с.
Mikko L.,
ElmerGUI manual v. 0.3/ L. Mikko - 2011 49с.
Приложение А
(обязательное)
Зависимости распределения оптической плотности по сечению отверстия (
образец 1)
Рисунок
А.1 Распределение оптической плотности по сечению отверстия( без сетки)
Рисунок
А.2 Распределение оптической плотности по сечению отверстия ( с сеткой при
hc=5мм)
Рисунок
А.3 Распределение оптической плотности по сечению отверстия ( с сеткой при
hc=10мм)
Рисунок
А.4 Распределение оптической плотности по сечению отверстия ( с сеткой при
hc=20мм)
Рисунок
А.5 Распределение оптической плотности по сечению отверстия ( с сеткой при
hc=30мм)
Приложение Б
(обязательное)
Зависимости распределения оптической плотности по сечению отверстия (
образец 1 напыленный с вращением)
Рисунок Б.1 Распределение оптической плотности по сечению отверстия ( без
сетки )
Рисунок Б.2 Распределение оптической плотности по сечению отверстия ( с
электродом)
Рисунок Б.3 Распределение оптической плотности по сечению отверстия ( с
сеткой при hc=10мм)
Приложение В
(обязательное)
Зависимости распределения оптической плотности по сечению отверстия (
образец 2 напыленный с вращением)
Рисунок В.1 Распределение оптической плотности по сечению отверстия ( без
сетки)
Рисунок В.2 Распределение оптической плотности по сечению отверстия ( с
электродом)
Рисунок В.3 Распределение оптической плотности по сечению отверстия (с
сеткой при hc=20мм)
Приложение Г
(обязательное)
Применение пакета программ Elmer для моделирования пространственного
распределения потенциала и электрических полей для волок
Рисунок Г.1 Пространственное распределение потенциала( волока)
Рисунок Г.2 Пространственное распределение электрических полей( волока)
Рисунок Г.3 Пространственное распределение потенциала( волока с сеткой на
расстоянии 10мм)
Рисунок Г.4 Пространственное распределение электрических полей( волока с
сеткой на расстоянии 10мм)
Рисунок Г.5 Пространственное распределение потенциала( волока с
электродом)
Рисунок Г.6 Пространственное распределение электрических полей( волока с
электродом)