Проектирование долбёжного станка

  • Вид работы:
    Курсовая работа (т)
  • Предмет:
    Другое
  • Язык:
    Русский
    ,
    Формат файла:
    MS Word
    1,09 Мб
  • Опубликовано:
    2012-10-09
Вы можете узнать стоимость помощи в написании студенческой работы.
Помощь в написании работы, которую точно примут!

Проектирование долбёжного станка

Реферат


В расчетно-пояснительной записке проведено проектирование механизмов долбежного станка, определение действующих силовых факторов, исходя из закона его движения, расчет силовых факторов, действующих в кинематических парах механизма с учетом геометрии масс звеньев; проектирование цилиндрической эвольвентной зубчатой передачи, планетарного редуктора, расчет и исследование кулачкового механизма с качающимся толкателем.

Объем данной записки 35 страниц, на которых находится машинописный текст, содержание, 6 таблиц, 12 рисунков и 12 графиков, заключение и список используемой литературы из 4 пунктов.

кинематический долбёжный станок редуктор кулачковый передача

Объем и содержание курсового проекта.

Реферат

Техническое задание:

1. Назначение, функциональная схема, принцип работы

. Исходные данные

Лист 1. Проектирование кривошипно-кулисного механизма и определение закона его движения.

1.       определение основных размеров механизма по заданным условиям

2.       Вычисление значений скоростей, передаточных функций и передаточных отношений

.        Построение графиков приведенных моментов

.        График переменных приведенных моментов инерции JIIпр звеньев 2ой группы

.        Построение графика кинетической энергии

.        Определение необходимого момента инерции маховых масс и дополнительных маховых масс (маховика)

.        Определение угловой скорости начального звена и значения начальной кинетической энергии механизма

Примечание:

1.       Силами между ползуном 5 и направляющими пренебречь

2.       Веса звеньев механизма и их моменты инерции даны ориентировочно

.        Центры тяжести звеньев 1и 3 расположены соответственно в точках О и С

.        Весом звеньев 2 и 4 основного механизма при расчетах пренебречь.

Лист 2. Силовой расчет кривошипно-кулисного механизма с учетом динамических нагрузок.

1.       Исходные данные

2.       Построение плана скоростей и ускорений для заданного положения механизма

3.       Определение главных векторов сил инерции и главных моментов сил инерции

4.       Определение усилий в кинематических парах

.        Оценка точности расчетов, выполненных на листах 1 и 2 проекта, по уравнению моментов или уравнению сил для ведущего или ведомого звена механизма

Лист 3. Проектирование зубчатой передачи и планетарного редуктора.

.        Проектирование зубчатой передачи

.1      Исходные данные

.2.     Качественные показатели зубчатых передач

.3      Выбор коэффициентов смещения с учетом качественных показателей

.4      Построение профиля зуба колеса, изготовляемого реечным инструментом

.5 Построение проектируемой зубчатой передачи

         Проектирование планетарного редуктора

.1       Исходные данные

.2       Подбор чисел зубьев

.3       Графическая проверка передаточного отношения

Лист 4. Проектирование кулачкового механизма поперечной подачи стола.

1.       Определение угла fраб рабочего профиля кулачка и его составляющих (fпод, fвыст, fсп) с учетом циклограммы работы механизмов долбежного станка

2.       Построение кинематических диаграмм движения толкателя (ускорения, скорости, перемещения) с учетом заданного характера изменения ускорения толкателя

.        Определение основных размеров кулачкового механизма наименьших габаритов с учетом максимального допустимого угла давления

.        Построение профиля кулачка (центрового и конструктивного)

.        Построение диаграммы изменения угла давления и функции угла поворота кулачка

Заключение

Литература

 

Техническое задание

. Назначение и принцип работы

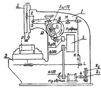
Долбежный станок предназначен для долбления пазов и внутренних канавок в отверстиях деталей, а также для строгания вертикально расположенных поверхностей.

Станок имеет следующие основные узлы: станину, ползун с резцовой головкой, стол, электродвигатель, коробку скоростей и передаточные механизмы.

Рис. 1-1. Общий вид долбежного станка с качающейся кулисой

Резание металла осуществляется резцом, закрепленным в резцовой головке, при его возвратно-поступательном движении в вертикальном направлении, Для движения используется шестизвенный кривошипно-кулисный механизм с качающейся кулисой, состоящий из кривошипа 1, камня 2, кулисы 3, поводка 4, и ползуна 5.


Ход ползуна Н выбирается в зависимости от длины 1Д обрабатываемой поверхности с учетом перебегов 1П в начале и конце рабочего хода. Длина хода ползуна может изменяться при наладке станка для обработки конкретных деталей. Средняя скорость резания vpeз (скорость поступательного движения при рабочем ходе ползуна) выбирается в зависимости от условий обработки и обеспечивается при помощи привода, состоящего из электродвигателя, ременной передачи, рис. 1.

коробки скоростей, зубчатой передачи и кулисного механизма. Подача охлаждающей жидкости в зону резания обеспечивается при помощи шестереночного насоса и системы трубопроводов.

Во время перебега в конце холостого и начале рабочего ходов осуществляется перемещение стола на величину подачи с помощью ходового винта. Поворот винта производится посредством храпового механизма, состоящего из колеса 9, рычага 8 с собачкой 10, тяги 7 и толкателя 6. Поворот толкателя 6 осуществляется от дискового кулачка, закрепленного на одном валу с кривошипом. Регулирование подачи стола производится путем изменения длины рычага MN, что позволяет изменять количество зубьев, захватываемых собачкой и, следовательно, обеспечить поворот ходового винта на требуемый угол.


Исходные данные.

Таблица 1.1

№ п/п

Параметр

Обозначение.

Числ. знач.

Размер

1

Длина детали

lд

0,15

м

2

Длина перебега резца

lп

0,025

м

3

Скорость резания

vрез

30

м/мин

4

Коэффициент изменения скорости ползуна

Kv

1,5

-

5

Число оборотов электродвигателя

nд

1440

об/мин

6

Межосевое расстояние в кривошипно-кулисном механизме

loc

0,20

м

7

Конструктивный угол кулисы

b

20

град

8

Сила резания

Рс5

1500

Н

9

Вес ползуна

G5

350

Н

10

Вес кулисы

G3

170

Н

11

Момент инерции кулисы относительно оси С

I3C

0,36

кгм2

 

12

Соотношение между размерами звеньев ED и DC

l=ED/DC

0,5

-

 

13

Вылет резца

lp

0,095

M

 

14

Коэффициент неравномерности вращения кривошипа

d

0,025

-

 

15

Маховой момент ротора электродвигателя

GDM2

0,0175

кгм2

 

16

Маховой момент зубчатых механизмов и шкивов, приведенный к валу кривошипа О

GD2

7,5

кгм2

 

17

Угловая координата кривошипа для силового расчета

j1

210

град

 

18

Угол поворота толкателя

yв

20

град

 

19

Длина толкателя

lbm

0,15

м

 

20

Максимально допустимый угол давления в кулачковом механизме

aдоп

30

град

 

21

Соотношение между ускорениями толкателя

n= а12

2

-

 

22

Числа зубьев в передаче 1,2

z1z2

1313


 

23

Модуль колес z1 и z2z2

т

2

мм

 

24

Параметры исходного контура реечного инструмента

a0cнcс

201 0,25

град

 



2. Определение длин звеньев механизма

Кривошипно-кулисный механизм используется для преобразования вращательного движения кривошипа в качательное движение кулисы и наоборот. Требуется установить закон движения механизма под действием заданных сил при установившемся движении (построить графики v1 и j1) и при этом ограничить колебания угловой скорости кривошипа (d=0,025).

Дано: длина детали lд, длина перебега резца lП, коэффициент изменения скорости ползуна Kv, межосевое расстояние в кривошипно-кулисном механизме lPC, конструктивный угол кулисы р, соотношение между размерами звеньев ED и DC l.

По заданному коэффициенту изменения скорости вычисляется угол перебега 9:

В прямоугольном треугольнике СPА с прямым углом А необходимо найти катет PА:

Найдем длину хода:

= lд+2*lп =0,15м+2*0,025м= 0,2м

В прямоугольном треугольнике CDM с прямым углом M необходимо найти гипотенузу

Длину звена ED найдем из соотношения:

Результаты вычислений приведены в таблице 1.2

Таблица 1.2

1

Длина кривошипа 1

lPA

0.061

м

2

Длина DC

lCD

0.3236

м

3

Длина поводка 4

lED

0.1618

м


Вычисление значений скоростей, передаточных функций и передаточных отношений.

Т.к. звено приведения совершает полный оборот, то удобно рассматривать механизм в двенадцати положениях, т.е. через 30°.


Определим среднюю угловую скорость:

, время рабочего хода резания.

.

Для нахождения скоростей точки К составляют уравнение, связывающее векторы скоростей точек в относительном движении звеньев 1 и 2:

,

где  - вектор скорости точки К в относительном движении, он направлен вдоль звена CB,  - вектор скорости точки К в абсолютном движении, направленный по нормали к звену СВ;

Далее из соотношения

 

находим:


и составляем уравнение для точки Е:

,

где  - скорость точки Е, направлена по вертикали, скорость точки D, скорость точки Е в относительном движении.

Результатом этого является такой план скоростей (для положения 1)



Построив план скоростей для всех положений, находим передаточные функции и отношения :

; ; ; ; ,

где , ,  - передаточные функции скоростей точек В, D и Е соответственно;

,  - передаточные отношения с первого звена на звенья 3 и 4 соответственно.

Результаты представлены в таблице 2:

Таблица 2

Номер позиции

0

1

2

3

4

5

6

7

8

9

10

11

12

отрезок pe, мм

0

33,14

52,32

61,06

61,47

53,45

37,07

7,49

41,57

103,23

110,11

53,52

0

отношение ре/ра

0

0,6628

1,0464

1,2212

1,2294

1,069

0,7414

0,1498

0,8314

2,0646

2,2022

1,0704

0

передаточная функция Vqe=Ve/w1

0

0,04043

0,0638

0,0744

0,0749

0,0652

0,0452

0,0091

-0,050

-0,125

-0,134

-0,065

0

Отрезок pd, мм

0

34,25

52,65

60,814

61,47

54,81

38,652

7,87

43,469

102,4

109,68

55

0

w3=Vd/Lcd

0

1,21516

1,8679

2,1576

2,1809

1,9446

1,3713

0,2792

-1,542

-3,633

-3,891

-1,951

0

Отрезок ed, мм

0

9,373

9,927

4,633

2,835

8,864

9,798

2,363

11,741

13,069

10,519

14,306

0

w4=Vde/Lde

0

0,66509

0,7044

0,3287

0,2011

0,6289

0,6952

0,1676

-0,833

-0,927

-0,746

-1,015

0

Передаточное отношение U31=w3/w1

0

0,12894

0,2289

0,2314

0,2063

0,1455

0,0296

-0,163

-0,385

-0,412

-0,207

0

Передаточное отношение U41=w4/w1

0

0,07057

0,0747

0,0348

0,0213

0,0667

0,0737

0,0177

-0,088

-0,098

-0,079

-0,107

0





3. Построение графиков приведенных моментов

 

График сил.

 


Для исследуемого механизма приведенный суммарной момент состоит из двух составляющих: момента движущей силы и момента сил сопротивления.


Заданные силы: Сила тяжести ползуна: G5=350 H,

Сила резания: F=1500 H.

Значения  вычисляем


Приведенный момент движущих сил равен

.

Результаты подсчетов приведены в таблице 3

Таблица 3

Номер позиции

0

1

1,532967

2

3

4

5

передаточная функция Vqe=Ve/w1

0

0,040431

0,053

0,06383

0,074493

0,074993

0,065209

сила тяжести ползуна

350

350

350

350

350

350

350

Приведенный момент Mпр=F*Vqe силы тяжести

0

14,15078

18,55

22,34064

26,07262

26,24769

22,82315

позиция



1,532967

2

3

4

5

Сила резания



-1500

-1500

-1500

-1500

-1500

передаточная функция Vqe=Ve/w1



0,053

0,06383

0,074493

0,074993

0,065209

Приведенный момент Mпр=F*Vqe силы резания



-79,5

-95,7456

-111,74

-112,49

-97,8135

Мсопр

53,67063

14,15078

-60,95

-73,405

-85,6672

-86,2424

-74,9904

Мсум=Мсопр+Мдв

86,55499

47,03514

-28,0656

-40,5206

-52,7828

-53,3581

-42,106

Мтяж+Мдв

35,12063

49,27141

53,67063

57,46127

61,19325

61,36832

57,94378

 

 

Номер позиции

5,638067

6

7

8

9

10

11

12

передаточная функция Vqe=Ve/w1

0,053

0,045225

0,009138

-0,05072

-0,12594

-0,13433

-0,06529

0

сила тяжести ползуна

350

350

350

350

350

350

350

350

Приведенный момент Mпр=F*Vqe силы тяжести

18,55

15,82889

3,19823

-17,7504

-44,0792

-47,017

-22,853

0

позиция

5,638067








Сила резания

-1500








передаточная функция  Vqe=Ve/w1

0,053








Приведенный момент Mпр=F*Vqe силы резания

-79,5








Мсопр

-60,95

15,82889

3,19823

-17,7504

-44,0792

-47,017

-22,853

0

Мсум=Мсопр+Мдв

-28,0656

48,71325

36,08259

15,13397

-11,1949

-14,1326

10,03132

32,88436

Мтяж+Мдв

53,67063

50,94952

38,31886

17,37024

-8,95858

-11,8963

12,26759

35,12063



Графики работ движущих сил и сил сопротивления

Работа сил сопротивления за цикл равна:

 

Работа движущих сил за цикл равна

Границы интегрирования изменяются в пределах от 0 до 360° .

График AFi(j)=AC(j) строют методом графического интегрирования графика MFiпр(j), выбрав отрезок интегрирования K=30мм. Так как суммарная работа должна быть в пределах цикла равна 0, то график работы движущих сил AMi(j)=AД(j), строящейся так же методом графического интегрирования графика MMiпр(j), можно проверить соединив начало и конец графика AFi(j) затем отобразить получившийся отрезок относительно оси абсцисс. Если в следствие этих операций отрезок совпал с графиком AMi(j) , то построение графиков работ сделано правильно.

Масштаб графиков работ равен:





4. График переменных приведенных моментов инерции JIIпр звеньев 2ой группы

 

Сумма приведенных моментов инерции звеньев, совершающих плоское, возвратно-поступательное движение, является велчиной переменной и для краткости обозначается JIIпр.


В данном случае во вторую группу входят звенья 3 и 5. 3-врашающаяся кулиса, 5-ползун. Их моменты инерций расcчитываются в соответствие со следующими формулами:


Результаты заносят в таблицу 4.1

Таблица 4

Номер позиции

0

1

2

3

4

5

6

7

8

9

10

11

12

Vqe

0

0,0404

0,063

0,0744

0,0749

0,0652

0,0452

0,0091

-0,0507

-0,1259

-0,1343

-0,0652

0

масса m5, кг

35

35

35

35

35

35

35

35

35

35

35

35

35

Приведенный момент инерции Iпр=m5*Vqe^2 ползуна

0

0,0572

0,1420

0,1942

0,1964

0,1488

0,0715

0,0029

0,0900

0,5551

0,6315

0,1492

0

U31

0

0,1289

0,1982

0,2289

0,231

0,2063

0,1455

0,0296

-0,1636

-0,3855

-0,4129

-0,2070

0

масса m3, кг

17

17

17

17

17

17

17

17

17

17

17

17

17

Приведенный момент инерции Iпр=I3*U31^2 кулисы

0

0,0059

0,0141

0,0188

0,019

0,0153

0,0076

0,0003

0,0096

0,0535

0,0613

0,0154

0















момент инерции второй группы звеньев

0

0,0631

0,1567

0,2130

0,216

0,1641

0,079

0,0032

0,0996

0,6086

0,6929

0,1646

0




5. Построение графика кинетической энергии

При установившемся режиме начальное звено, которое обычно является главным валом машины (например, коленчатым валом основ-ного механизма), вращается с обобщенной угловой скоростью

,

изменяющейся по некоторому периодическому закону. В течении цикла ω колеблется относительно среднего значения ωср.

Эти колебания определяют неравномерность вращения , которая оценивается коэффициентом неравномерности


где ωmax и ωmin - соответственно наибольшее и наименьшее значения ω за цикл. Из данного уравнения видно, что при заданных силах, определяющих A Σ, размах колебаний угловой скорости ω зависит от приведенного момента инерции  всего механизма. Изменятьпр практически возможно лишь за счетподбирая необходимую маховую массу и тем самым ограничивая размах колебаний угловой скорости ω так, чтобы коэффициент неравномерности δ имел заданное значение. Необходимый момент инерции связан с коэффициентом неравномерности δ соотношением


где ( ∆ТI)нб - наибольшее изменение кинетической энергии I группы

звеньев за цикл, Дж; ωср - средняя угловая скорость начального звена , рад/с.

Значение ( ∆ТI)нб определяется по способу Н.И. Мерцалова следующим образом. Кинетическая энергия механизма равна сумме кинетических энергий всех его звеньев. Учитывая разделение звеньев на группы, можно записать

Т = ТI + ТII , откуда ТI = Т - ТII , где Т = A Σ + Тн -

полная кинетическая энергия механиз-ма; ТII - кинетическая энергия II группы звеньев

Отсюда можно построить график и определить по нему

( ∆ТI)нб = ТI max - ТI min , где ТI max и ТI min

соответственно наибольшее и наименьшее значения кинетической энергии I группы звеньев за цикл.

Поскольку


ось абсцисс AS ,нужно перенести вниз на ординату соответствующую начальной кинетической энергии Тнач .


Кинетическую энергию TII звеньев 2 и 3 выразим через JII

-

Закон изменения ω

1 еще неизвестен Поэтому для определения TII воспользуемся приближенным равенством, впервые предложенным Н.И. Мерцаловым

-

построенную кривую JIIпр принять за приближенную кривую TII, вычислив масштаб μT. Масштаб графика TII

, мм/Дж;

огласно уравнению,

ТI = Т - ТII.

Следовательно, при построении кривой TI необходимо из ординат

кривой T в каждом положении механизма вычесть отрезки,изображающие ТII. Длины вычитаемых отрезков:

,

где yТIIi - ордината, взятая из графика TII, мм, μT - масштаб графика TII , мм/Дж;

μA - масштаб графика T, мм/Дж

Полученная кривая TI - приближенная, так как построена вычитанием из точной кривой T приближенных значений TII .



6. Определение необходимого момента инерции маховых масс

Построив кривую, найдем на ней точки, соответствующие TI max и TI min, откуда получим, максимальное изменение кинетической энергии I группы звеньев за цикл:

,

где (Δy ) TI нб - отрезок, изображающий (ΔТ1)нб в масштабе μA ,мм

Необходимый момент инерции JIпр подсчитывается по формуле

,

Допущение, что ω1 ≈ ωcр при построении графика TII( f) не вносит заметной ошибки в расчет при малых значениях δ.

Для данного случая: =77,81мм, =0,936 мм/Дж, следовательно, =83,13Дж

Далее

6.1 Для вычисления размеров и массы маховика необходимо определить его момент инерции

доп:доп= IIпр -Iврдет

где IпрI - момент инерции первой группы звеньев ,врдет - сумма приведенных моментов инерции вращающихся деталей, связанных с начальным звеном постоянным передаточным отношением. В данном случае IIпр=37.44кг*м2, а махоыой момент движущихся частей складывается из махового момента ротора электродвигателя Iрот=0,0175кг*м2 и махового момента зубчатых механизмов и шкивов, приведенный к валу кривошипа А: Iзуб=7,5кг*м2

Отсюда получается:

доп= IIпр -Iврдет =37,44-7,5-0,0175=29,9225кг*м2


1.       Маховик - обод со спицами и ступицей

наружный диаметр      

 

внутренний диаметр D1=0.8 D2=0,8*0,8623=0,6898м

ширина b=0.2D2=0,2*0,8623м=0,1724м

масса m=6123(D22-D21) b=282,62кг

2.       Маховик - диск

Диаметр

=0,722м

Ширина b=0.2D =0,144

Масса m=1230D3 =462,9кг

7. Определение угловой скорости начального звена и значения начальной кинетической энергии механизма

Чтобы найти угловую скорость начального звена, необходимо знать начальные условия, которые для установившегося движения заранее неизвестны . Поэтому воспользуемся тем, что при малых значениях коэффициента неравномерности δ верхняя часть графика TI(f), изображающая изменение кинетической энергии TI, приближенно изображает так же изменение угловой скорости.

Масштаб графика угловой скорости

μω = μA ⋅ JIпр⋅ω1ср ,мм/(рад.с-1).

Чтобы перейти от изменения угловой скорости к ее полному значению, необходимо определить положения оси абсцисс f графика ω1(f). Для этого через середину отрезка, изображающего разность (ω1max - ω1min) проводится горизонтальная штриховая линия, которая является линией средней угловой скорости ω1ср. Расстояние от линии ω1ср до оси абсцисс определяется по формуле:

,

Получив положение оси абсцисс f на графике ω(f) можно определить ω1н, затем кинетическую энергию механизма в начальном положении по формуле

,

8. Силовой расчет основного рычажного механизма

Силовой расчет производим при угле поворота равном 210° относительно прямой, соединяющей опоры кривошипа и кулисы.

Задача: обратная задача динамики - задана схема механизма, размеры, закон движения, некоторые внешние силы. Необходимо найти реакции в кинематических парах и движущий момент двигателя.

Допущения: плоская система сил, трением, упругостью, зазорами в кинематических парах пренебрегаем.

Метод: графический.

.1 Исходные данные

v1=9.28 рад/с;

j1=-1.32 рад/с2;рез=1500 Н;5=350 H;3=170 H;3S=0.36 кг/м2;прI=37.44 кг/м2;


8.2 Построение плана скоростей и ускорений для заданного положения механизма

План скоростей :


ра=100 мм

 

 ;

 


План ускорений :

;

Нормальное ускорение  направлено по прямой АР к центру кривизны траектории движения точки А, тангенциальное ускорение  есть вектор

 ; ; , направлено по вектору

Составляется векторное уравнение для ускорений:

; ;

 ;

;  



Определение главных векторов сил инерции и главных моментов сил инерции

Ф5=-m5.aE=-35кг.(-1,47м/с2)=51,45 HФ1=- JпрI.j1=-37,44кг*м2.(-1,32рад/м2)=49,42 Н*мФ3= -J3S.j3=-0,36кг*м2.(-11,87рад/м2)=4,27 Н*м

Определение усилий в кинематических парах

Выбирается масштаб сил


Алгоритмическая формула:ВВП(4,5)2>IIВПВ(2,3)2>IВ(0,1)

Анализ IIВВП(4,5):

SME55.(0,5lp)-G5.(0,5lp)+Fрез.lp-F50.h5=0

SME4=F43t.lED=0, отсюда F43t=0



Откуда находят:


Анализ IIВПВ(2,3):

SMC3= MФ3 + F34.h34 -F32.lCB=0

           

После подстановки:





.4 Определение неизвестной внешней силы


из ,находим

Момент найденный при динамическом исследовании Mд*=36.17 Н*м

Погрешность:

9. Проектирование эвольвентной цилиндрической зубчатой передачи и планетарного редуктора

9.1 Проектирование зубчатой передачи

 

Исходные данные

 Модуль зубчатых колес m=2

Угол наклона зуба для колес 1,2 b=0

Числа зубьев Z1=13

Z2=13

Параметры исходного профиля по ГОСТ 13755 - 81:

Угол профиля a=20     

Коэффициент высоты зуба ha=1

Коэффициент радиального зазора c=0.25

Качественные показатели зубчатых передач.

Качественные показатели дают возможность произвести оценку передачи при ее проектировании в отношении плавности и бесшумности зацепления, прочности и возможного износа зубьев колес в сравнении с другими передачами по тем же геометрическим показателям. Такая оценка важна для рационального выбора инструмента. В программе расчета зубчатых передач определяются следующие качественные геометрические показатели.

Коэффициенты скольжения зубьев l1,2 учитывают влияние геометрических и кинематических факторов на проскальзывание профилей в процессе зацепления. Коэффициент скольжения есть отношение скорости скольжения vск, м/с, и скорости точки контакта по профилю соответственно шестерни и колеса vt, м/c.

 ,

где aa1,2 - углы, соответствующие расстоянию по линии зацепления N1,2B2,1, град.

О качестве передачи принято судить по максимальным значениям коэффициентов скольжения в точках начала зацепления (В1) и конца зацепления (В2).

Коэффициент удельного давления u учитывает влияние радиусов кривизны профилей зубьев на контактные напряжения.

За расчетный коэффициент удельного давления принимают такой, который соответствует контакту зубьев в полюсе зацепления.

 

где r - приведённый радиус кривизны эвольвентных профилей в точке контакта, м; m - модуль колёс, м; z1,2 - числа зубьев шестерни и колеса соответственно; a - угол профиля, a = 200; aw - угол зацепления, град.

 Коэффициент u уменьшается при увеличении коэффициентов смещения x1 и х2.

Коэффициент перекрытия передачи характеризует непрерывность и продолжительность зацепления.

 

 Здесь t1,2 - угловые шаги соответственно шестерни и колеса, град; aа1,2 - профильные углы на вершинах эвольвентных зубьев шестерни и колеса, град; jа1,2 - углы торцевого перекрытия, град..

Отметим, что коэффициент торцевого перекрытия уменьшается при увеличении коэффициентов смещения х1, х2.

 

.2 Выбор коэффициентов смещения с учетом качественных показателей


От выбора коэффициентов смещения зависит геометрия и качественные показатели зубчатой передачи. Необходимо учитывать следующие рекомендации по выбору коэффициентов смещения x1 и x2:

) передача не должна заклинивать;

) коэффициент перекрытия проектируемой передачи должен быть больше допустимого ea > [ea];

) зубья у проектируемой передачи не должны быть подрезаны и толщина их на окружности вершин должна быть больше допустимой Sa > [Sa].

Отсутствие подрезания обеспечивается при наименьшем, а отсутствие заострения - при максимальном значении коэффициента смещения, следовательно, должно выполняться неравенство x1min < x1 < x1max

Основными видами повреждений зубьев колес, учитываемыми в методах расчета, являются следующее:

а) выкрашивание и отслаивание материала на боковых поверхностях зубьев преимущественно в окрестностях мгновенной оси относительного вращения (полюса зацепления), вызываемое высокими контактными напряжениями в поверхностном слое зубьев;

б) излом зубьев у вершины в случае их чрезмерного заострения или у основания, где имеют место наибольшие изгибные напряжения;

в) истирание боковых поверхностей зубьев (абразивный износ), наблюдающееся в большей степени в плохо герметизированных передачах;

г) заедание зубьев, возникающее от разрыва масляной пленки; возникновению заедания благоприятствуют высокие контактные напряжения и большие относительные скорости и ускорения зубьев. Принимаем ea=1,1 .

 

.2.1 Построение профиля зуба колеса, изготовляемого реечным инструментом.

Профиль зуба изготовляемого колеса воспроизводится (образуется) как огибающая ряда положений исходного производящего контура реечного инструмента в станочном зацеплении.

Проведём делительную d1=dw01 (равенство соблюдается, т. к. заготовка устанавливается без смещения при нарезании зубьев с помощью ИПК) и основную db1 окружности, окружности вершин da1 и впадин df1. Далее строим делительную прямую исходного производящего контура реечного инструмента, расположенную на расстоянии смещения x1× m.

Прямые граничных точек расположены на расстоянии ± от делительной прямой, а на расстоянии  - прямые вершин и впадин; станочно - начальную прямую проводим касательно к делительной окружности в точке P0 -полюсе станочного зацепления.

Проводим линию станочного зацепления N1P0 через полюс станочного зацепления P0 касательно к основной окружности в точке N1. Эта линия образует с прямыми исходного производящего контура инструмента углы, равные a.

Строим исходный производящий контур реечного инструмента так, чтобы ось симметрии впадины совпадала с вертикалью. Для этого от точки пересечения вертикали с делительной прямой (точка G) откладываем влево по горизонтали отрезок в 1/4 шага и через конец его перпендикулярно к линии зацепления  проводим наклонную прямую, которая образует угол  с вертикалью. Эта прямая является прямолинейной частью профиля зуба исходного производящего контура инструмента. Закругленный участок профиля строим как сопряжение прямолинейной части контура с прямой вершин или с прямой впадин окружностью радиуса .

Пусть профиль зуба проектируемого колеса касается профиля ИПК контура в точке .

Проводим вспомогательную прямую касательно к окружности вершин. Фиксируем точку пересечения линии и прямолинейной части профиля инструмента и центр окружности закругленного участка профиля точку .Откладываем вспомогательной прямой несколько отрезков равной длины (15…20 мм) и отмечаем точки I, II, III, IV и т.д. Такие же отрезки откладываем на станочно - начальной прямой (точки 1, 2, 3 …) и на дуге делительной окружности (точки 1’, 2’, 3’ …). Из центра  колеса через точки 1’, 2’, 3’, … на делительной окружности проводим лучи 01’, 02’, 03’, … до пересечения с окружностью вершин в точках I’, II’, III’, … .

Любое промежуточное положение точки  или  находим построением соответствующих треугольников. Затем из точек  радиусом  проводим окружность, а через точки  касательно к этим окружностям прямые, которые дают новые положения исходного производящего контура. К полученному ряду положений профиля зуба исходного контура проводим огибающую, которая определяет левый профиль зуба изготовляемого колеса. Далее на окружности вершин откладывают толщину зуба  и строят вторую половину профиля этого же зуба.

9.2.2 Построение проектируемой зубчатой передачи

Откладываем межосевое расстояние  и проводим окружности: начальные , ; делительные , ;основные , ; окружности вершин ,  и впадин , .Начальные окружности касаются в полюсе зацепления. Расстояние между делительными окружностями по осевой линии равно воспринимаемому смещению .Расстояние между окружностями вершин одного колеса и впадин другого, измеренное по осевой линии, должно быть равно радиальному зазору .

Через полюс зацепления касательно к основным окружностям колес проводим линию зацепления. Точки касания  и  называются предельными точками линии зацепления. Линия зацепления образует с перпендикуляром, восстановленным к осевой линии в полюсе, угол зацепления. Буквами  и  отмечена активная линия зацепления.

Профили зубьев шестерни уже известны; эвольвентную часть профиля зуба колеса строится как траектория точки прямой при перекатывании ее по основной окружности колеса без скольжения. К - точку контакта зубьев. Переходную часть профиля зуба строится приближенно: эвольвентную часть сопрягают с окружностью впадин окружностью радиусом .От построенного профиля зуба откладываем толщину зуба по делительной окружности и проводим аналогичный профиль другой стороны зуба.

9.3 Проектирование планетарного редуктора


Исходные данные

Модуль - m=1

неподвижное звено - 4

количество сателлитов в редукторе - n=2

передаточное отношение редуктора - U1H=34

Подбор чисел зубьев

Передаточное отношение


Для удобства подбора чисел зубьев колес можно принять U1H=35, в этом случае DU==1, а d=1/35=2,8%. Изменение передаточного отношения редуктора приведет к уменьшению угловой скорости вала:

(nд/2)/n1=U1H, откуда n1=(nд/2)/U1H=770/34=22.64 об/мин,

а n1’=770/35=22 об/мин; Dn1=(n1’-n1)/n1’=(22.64-22)/22.64=2.8%

Число оборотов электродвигателя берется вдвое меньшим, так как двигатель передает движущий момент на редуктор посредством ременной передачи, закрепленной на валах диаметрами 100 и 200мм, и ,следовательно, передаточное отношение с двигателя на редуктор равно 0,5.

В случае двухрядного расположения зубчатых колес полезно использовать методику выбора чисел зубьев на основе разложения заданной величины передаточного отношения на ряд сомножителей A, B, С, D, которые пропорциональны назначаемым числам зубьев z1, z2, z3, z4. Это можно записать виде соотношений: z1~ Aq, z2~ Bq, z3~ Сq,

4~ Dq. Тогда .


С учетом условия соосности для нашей схемы :

Z1=A(D-C)q;

Z2=B(D-C)q;

Z3=C(A+B)q;

Z4=D(A+B)q.

Получаем Z1=20q, Z2=136q, Z3=39q, Z4=195q. Возьмем q=1.=20=136=39=195

Далее проверяют как выполняются условия сборки, соседства:


Для колес 3, 4, образующих внутреннее зацепление, имеет место соотношение:


Сборка нескольких сателлитов должна осуществляться без натягов при равных окружных шагах между ними:

 ,

где Z1 - число зубьев центрального колеса, U1H - передаточное отношение от входного звена Z1 к выходному звену - водиле H, k - число сателлитов, Ц - целое число, р - целое число.

Модуль m=1.

Радиусы зубчатых колес:

R1==10 мм==78 мм==19,5 мм==97,5 мм

Планетарный механизм в масштабе мм/м.


Графическая проверка передаточного отношения.

Графическая проверка передаточного отношения данного планетарного механизма строиться определен масштаб мм/м.

Для построения распределения скоростей точек звеньев необходимо знать скорости дух точек. Для звена Z1 это точки О и А, ось Щ неподвижна и ее скорость равна 0. Скорость точки А направлена по касательной к колесу Z1:


Скорость точки А изображается отрезком АА’, направление которого совпадает с направлением . Прямая OA’ образует угол  с вертикалью и является линией распределения скоростей точек на радиусе колеса Z1. Колесо Z4 является неподвижным и через точку С проходит ось мгновенного вращения сателлита Z3, которая образует угол  с вертикалью. Скорость оси В блока колес выражается отрезком ВВ’.


Соединяя найденную точку В’ и О, находят прямую распределения скоростей для водила Н, которая образует угол  с вертикалью.

Передаточное отношение планетарной передачи находят на основе выполненных графических построений по соотношениям:



10. Проектирование кулачкового механизма

Исходные данные.

Длина толкателя lBM=0.15 м

Угол подъема толкателя: 20 град.

Максимально допустимый угол давления υдоп=30 град

Соотношение между величинами ускорений толкателя a1/a2=2

Циклограмма движения механизма:


По кинематической диаграмме определяем :

Угол верхнего перебега fпер=82 град

Fпод=fпер-10-15=82-10-15=57 град. fпод=fсп=57 град. fвыст=15 град.

.1 Построение кинематических диаграмм

Рассчитаем рабочий угол:раб=fпод+fвыст+fсп=57+15+57=129 град.

Построение начинаем с заданного графика кинематической передаточной функции ускорения. По оси абсцисс откладывают фазовые углы

fраб=fпод+fвыст+fсп.

Масштаб по оси f:

μf=b/fраб, b - база графиков.

μf=200/129=1,55 мм/град=88,83 мм/рад

Максимальное значение ординаты графика на фазе удаления a1 задают произвольно, а максимальное значение на фазе сближения a2 вычисляют по условию равенства площадей с учетом заданного отношения a1/a2.


Методом графического интегрирования строят график кинематической передаточной функции скорости толкателя. Отрезок интегрирования К1=30 мм.


И аналогично строят график зависимости перемещения толкателя от угла поворота кулачка Sb(f1) графическим интегрированием диаграммы Vqb(f1), выбрав отрезок интегрирования К2=30 мм.


Определяем масштабы по осям ординат построенных графиков:













10.2 Определение основных размеров механизма по допустимому углу давления.

Основные размеры механизма определяют с помощью фазового портрета, представляющего собой зависимость Sb(Vqb). Масштабы, выбранные по оси Sb и оси Vqb должны быть одинаковыми.

Из концов максимальных векторов скорости восстанавливаем перпендикуляры и под углом  проводим лучи; область, ограниченная данными лучами и лежащая ниже точки их пересечения, является областью допустимого расположения центра вращения кулачка.

Окончательно, за центр вращения выбираем т.О пересечения граничных лучей.


Основные размеры:

Межосевое расстояние: aw=0.234 м

Радиус начальной шайбы центрового профиля r0=0.1634 м

Радиус ролика Rp=0.3*r0=0,3*0,1634=0,04902 м.

.3 Построение центрового и конструктивного профилей кулачка

Для построения профилей кулачка воспользуемся методом обращенного движения:

придаем всей системе обратную угловую скорость, тогда кулачек остановится, а стойка придет в движение с угловой скоростью -w1.

При построении профиля кулачка с качающимся толкателем из центра О1 проводят в масштабе μS окружности радиусами r0 и aw. Точку О1 соединяют с произвольно выбранной точкой О20 на окружности радиуса aw. От луча О1О20 в направлении -w1 откладывают угол рабочего профиля кулачка fраб. Дугу, соответствующую углу fраб , делят на части в соответствием оси f1 на графике Sb(f1). Из точки О20,… проводят дугу радиусом l2 от точек 1,2,… по дугам откладывают в масштабе перемещения точки B толкателя Sb. Соединяя полученные точки В0…Вк плавной кривой, получают теоретический профиль кулачка. Для получения конструктивного (рабочего) профиля кулачка строят эквидистантный профиль, отстоящий от центрального на величину радиуса ролика. Он получается как огибающая к дугам, проведенным из произвольных точек центрового профиля радиусом ролика.

.4 Построение диаграммы угла давления

Значения углов давления измеряются непосредственно на чертеже конструктивного профиля, результаты занесены в таблицу 5.

Таблица 5

позиция

1

2

3

4

5

6

7

8

9

10

11

Угол давления, град

0

19,50

30

27,63

22,62

8,23

4,20

1,018

30

25,16

0



Заключение

В ходе выполнения курсового проекта получены следующие результаты:

1.       Определен закон движения звена приведения долбёжного станка, построена диаграмма зависимости угловой скорости звена приведения от его углового положения.

2.       Для заданного положения механизма проведен силовой расчет, определены реакции в кинематических парах механизма и движущий момент. Величина этого момента, полученная при силовом расчете, отличается от значения, полученного на первом листе на 4,03%.

.        Спроектирована эвольвентная зубчатая передача с числами зубьев Z1=Z2=13 коэффициентами смещения X1 и X2 = 0.5, коэффициентом перекрытия 1.124.

.        Спроектирован двурядный планетарный редуктор с передаточным отношением U1h=35, с числами зубьев колес Z1=20, Z2=136, Z3=39, Z4=195.

.        Спроектирован кулачковый механизм долбёжного станка. Минимальный радиус начальной шайбы кулачка r0=0.1634м при допустимом угле давлений в 30 град, радиус ролика толкателя Rp=0.04902м.

Литература

1.       Теория механизмов и машин: учеб. для втузов/К.В. Фролов, С.А. Попов, А.К. Мусатов и др.; Под ред. К.В, Фролова.-2-е изд., перераб. и доп. - М.: Высш. шк., 1998. -295 с.; ил.

2.       Попов С.А. Тимофеев Г.А. Курсовое проектирование по теории механизмов и механике машин: Учеб. пособие для машиностроит. спец. вузов/Под. ред. К.В. Фролова. -2-е изд., перераб. и доп. - М.: Высш. шк., 1998 - 295с.; ил.

.        Учебное пособие для курсового проектирования по Теории механизмов. Часть 1./Под ред. Архангельской Т.А., - М.: Изд-во МГТУ, 1985. - 68с., ил.

. Тимофеев Г.А., Тарабарин В.Б., Черная Л.А., Барышникова

О.А. Силовой расчет механизмов: Учеб. пособие / Под ред. В.Б.Тарабарина, -

М.: Изд-во МГТУ, 1998. - с., ил.


Не нашли материал для своей работы?
Поможем написать уникальную работу
Без плагиата!
Без нейросетей!