Классификация и конструкция чесальных машин
Классификация и конструкция чесальных машин
1.1
Общие вопросы конструирования чесальных машин
На машинах
разрыхлительно-трепального отдела происходит разделение хлопка на небольшие
клочки и из него удаляются главным образом крупные примеси и лишь
незначительная часть мелких примесей и пыли.
Удаление мелких примесей из
хлопка и разделение клочков хлопка на отдельные волокна достигается обработкой
разрыхленного волокна на чесальных машинах. Помимо этого на чесальных машинах
происходит частичное распрямление волокон и выделение из волокнистой массы
наиболее коротких и мертвых волокон.
Таким образом, чесальная машина
должна осуществлять:
1) полное
разъединение клочков хлопка на отдельные волокна;
2) полное
удаление сорных примесей, пороков волокна и пыли;
3) полное
удаление коротких и мертвых волокон;
4) тщательное
перемешивание волокон;
5) частичное
распрямление волокон;
6) преобразование
холста в ленту.
На хлопкопрядильных
предприятиях работают чесальные машины отечественного производства разнообразных
моделей: машины обычного габарита 4-450, ЧМ-450, ЧМС-450; машины малогабаритные
ЧММ-450 и ЧМВ-450, модернизированные машины этих марок, а также их модификации.
Кроме машин этих марок
выпускаются машины для поточных линий с бесхолстовым питанием, например ЧМС-БX.
В настоящее время на чесальных
машинах наибольшее распространение получили холстовое (см. рис.1) и бункерное
питание. Холстовое питание применяется для машин, работающих вне потока,
бункерное питание - для машин, работающих в составе поточных линий.
В отличие от холстового
бункерное питание автоматизировало процесс питания и позволило использовать
чесальные машины в непрерывном потоке обработки хлопка до чесальной ленты.
Основная трудность бункерного питания заключается в обеспечении равномерной
подачи хлопка от общего волокнопровода к отдельным машинам.
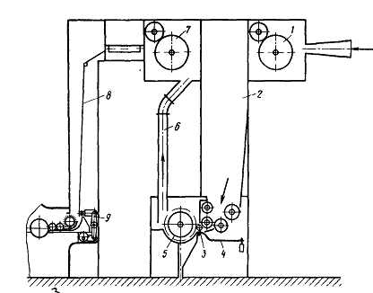
Рисунок 1 - Чесальная машина
ЧМС-450:
- сороотбойное устройство; 2 -
механизм вывода угаров; 3 - валики для вывода прочеса; 4 - откидная крышка; 5 -
раскатывающий валик; 6 - питающий столик; 7 - питающий цилиндр; 8 - приемный
барабан; 9 - главный барабан; 10 - шляпки; 11 - съемный барабан; 12 - съемный
гребень; 13 - плющильные валики; 14 - лентоукладчик; 15 - съемный валик; 16 -
рабочий валик
Рассмотрим технологический
процесс обработки хлопка на чесальной машине ЧМС-450 (рис.1). Холст хлопка,
полученный с трепальной машины, устанавливается на раскатывающий рифленый валик
5. При вращении валика холст раскатывается по полированному питающему столику
6, проходит под питающий цилиндр 7, а затем поступает в зону узла приемного
барабана (узла предварительного прочесывания). Волокна, захваченные гарнитурой
приемного барабана 8, подводятся к сороотбойному ножу 1 (он отбивает сорные
примеси) и затем поступают в зону пары рабочего 16 и съемного 15 валиков.
Сорные примеси выделяются в угарную камеру, а из нее механизмом 2 выводятся из
машины. Далее волокна с приемного барабана переходят на главный барабан 9,
дальнейшее разъединение и очистка хлопка проходят между гарнитурой главного
барабана и шляпок 10. Прочесанные, очищенные и частично распрямленные волокна с
главного барабана переходят на съемный барабан 11.
Со съемного барабана волокна в
виде тонкой ватки-прочеса снимаются гребнем 12, проходят между выводными валиками
3 и поступают в лентоформирующую воронку и плющильные валики 13. Из плющильных
валиков чесальная лента направляется в лентоукладчик 14, где дополнительно
уплотняется и укладывается в таз.
При безхолстовом питании
чесальной машины (рис. 2) разрыхленный хлопок с трепальной машины поступает по
распределительной системе в бункер 1 и попадает в зажим между цилиндрами 2.
Выходя из зажима, хлопок попадает на рыхлительный барабан 3 и сбрасывается в
шахту 4 узла питания.
При вращении валиков 5 хлопок в
виде слоя проходит по наклонной плоскости 6 под валиком 7, направляется под
питающий цилиндр 8 и поступает в зону узла приемного барабана (узел
предварительного прочесывания). Захваченные гарнитурой приемного барабана 9
волокна подводятся к сороотбойному ножу 10 (отбивает сорные примеси) и затем
поступают в зону пары рабочего расчесывающего валика 11 и съемного валика 12
(под приемным барабаном малогабаритных чесальных машин ЧМВ-450 и ЧММ-450-3
находятся две пары расчесывающих валиков).
Далее волокна с приемного барабана переходят на
главный барабан 13 и попадают под шляпки 14, где в результате взаимодействия
гарнитуры барабана и шляпок происходит основной процесс расчесывания,
разделения клочков волокон на отдельные волокна, распрямление и параллелизация
волокон. С поверхности главного барабана волокна попадают на съемный барабан
15. Со съемного барабана волокна в виде тонкой ватки (прочес) снимаются гребнем
16, проходят между выводными валами 17 и поступают в лентоформующую воронку 18
и плющильные валы 19. Из плющильных валов чесальная лента направляется в
лентоукладчик 20, где дополнительно уплотняется и укладывается в таз.
Рисунок 2 - Схема чесальной машины ЧМС-БХ:
- бункер; 2 - цилиндры; 3 - рыхлительный
барабан; 4 - шахта; 5, 7 _ валики; 6 - наклонная плоскость; 8 - питающий
цилиндр; 9 - приемный барабан; 10 - сороотбойный нож; 11 - рабочий
расчесывающий валик; 12 - съемный валик; 13 - главный барабан; 14 - шляпки; 15
- съемный барабан; 16 - съемный гребень; 17 - валы для вывода прочеса; 18 -
лентоформующая воронка; 19 - плющильные валы; 20 - лентоукладчик; 21 -
устройство для удаления угаров; 22 - устройство для удаления шляпочного очеса;
23 - устройство периодического очесывания главного и съемного барабана; 24, 25
- части подбарабанной решетки; 26 - направляющие блоки; 27 - поддерживающие
дуги
Рисунок 3 - Схема бункерного
питания чесальных машин фирмы Ингольштадт (ФРГ):
, 7 - конденсоры; 2 - резервная
камера; 3 - питающий цилиндр; 4 - педали; 5 - игольчатое трепало; 6 -
трубопровод; 8 - бункер (задняя стенка); 9 - механизм качания задней стенки
бункера
На рис. 3 показана схема
бункерного питания чесальных машин фирмы Ингольштадт (ФРГ) с механической
(ленточным конвейером) подачей волокнистого материала в бункеры чесальных
машин.
Хлопок, поступающий с последней
машины разрыхлительно-трепального отдела, конденсором 1 подается в резервную
камеру 2. Питающие валики резервной камеры подают материал, сформированный в
холстик, к питающему цилиндру 3, под которым расположены педали 4,
обеспечивающие равномерное защемление холстика по ширине, и далее - к
игольчатому трепалу 5, откуда по трубопроводу 6 хлопок подводится к
конденсатору 7 и далее сбрасывается на ленточный конвейер, с которого через сопла,
расположенные на боковой стенке канала ленточного конвейера против входных
отверстий бункеров, хлопок сжатым воздухом сбрасывается в бункеры чесальных
машин.
Управление подачей к соплам и
отключение воздуха производится по команде от фотодатчиков, имеющихся в
бункерах. Заполнение одного бункера продолжается несколько секунд. Задние
стенки 8 бункеров с помощью механизма 9 совершают качательные движения, что
способствует равномерному распределению хлопка в бункере. Избыток хлопка по
пневмопроводу возвращается в резервную камеру. Питание чесальных машин
регулируется таким образом, что избыток волокнистого материала не превышает 5%
общего его количества, подаваемого на ленточный транспортер. В резервной камере
имеются два датчика, регулирующие ее наполнение. Нижний датчик включает подачу
хлопка из разрыхлительно-трепального отдела, верхний - отключает. На
отечественных чесальных машинах с бункерным питанием (ЧМС-БХ) наполнение
бункеров производится от общего волокнопровода пневмотранспортом, подающим
волокно либо от резервной камеры, либо от смесовой машины. Независимо от
способа питания на всех чесальных машинах сохраняется питающий столик с
питающим цилиндром, обеспечивающие подачу слоя хлопка к узлу приемного
барабана. При рассмотрении чесальных машин остановимся на конструкции и расчете
основных механизмов, которые испытывают большие динамические нагрузки.
Технологические характеристики и технологические схемы различных марок ЧМ см.
приложения 1, 2.
.2 Технологический и
кинематический расчет чесальных машин
.2.1 Определение частот
вращения и окружной скорости рабочих органов чесальной машины
В качестве примера приведен
расчет чесальной машины ЧММ-450-4, на базе которой создана чесальная машина
ЧММ-14.
Частоту вращения и окружные
скорости рабочих органов машины определяют при числе зубьев ходовой шестерни zx
= 21 зуб. (рис. 4), вытяжных шестерен zB1=44,
zB2
=33 зуб и шестерен в передаче к плющильным валикам zB4
= 22 и zВз
= 25 и числе зубьев звездочек в передаче к шляпкам zш1
=12 и zш2=20.
Частота вращения n
и
окружная скорость v главного
барабана 10
n10= 1450
0,99·0,99 =
684 об/мин;
vl0 =
3,14·0,672·684 = 1443 об/мин;
чистительного валика 8 под приемным
барабаном 6
п8 = 1450
0,98 = 789
об/мин;
v8=3,14·0,06·789=152
м/мин;
передающего барабана 7
п7=789
=1288
об/мин;
v7 =3,14·0,234·1288
= 946 об/мин;
приемного барабана 6
n6= 1288
0,99= 1651
об/мин;
v6=3,14·0,234·1651
= 1213 м/мин;
съемного гребня 12
n12= 1288
0,99·0,99=
1518 уд/мин;
съемного барабана 11
n11=684
0,99·0,99=1,13zx.
при zx=21 зуб.
n11=21
1,13=23,7 об/мин;
v11=3,14 0,672
23,7 = 50 м/мин.
Таким образом рассчитывают частоту вращения,
окружную скорость всех остальных рабочих органов, а затем определяют вытяжки.
Рисунок 4 - Кинематическая
схема чесальной машины ЧММ-450-4:
- холстовой валик ø
152 мм;
2 - валик для очистки шляпок; 3 - валик для изматывания шляпочного очеса; 4 -
вал, передающий движение шляпкам; 5 - питающий цилиндр ø
57 мм;
6 - приемный барабан ø 234 мм;
7 - передающий барабан ø 234 мм;
8 - чистительный валик ø 60 мм;
9 - рабочий валик; 10 - главный барабан ø 672 мм;
11 - съемный барабан ø 672 мм;
12 - съемный гребень; 13 - валики для заправки проча; 14 - плющильные валики ø
75 мм;
15 - валики лентоукладчика ø 55 мм
1.2.2 Определение вытяжек на
чесальной машине
Вытяжка
где Тх, Тл
- соответственно линейная плотность холста и
ленты, текс.
Вытяжка, определяемая по передачам
машины,
Е = Dв пв/
DП пП =
Dв/ DП * iП-В
где Dв; пв
- соответственно диаметр и частота вращения
выпускного органа;
DП, пП
- соответственно диаметр и частота вращения питающего
органа;
iП-В -
передаточное число от питающего до выпускного
органа (по ходу продукта).
Если известны частные вытяжки, то
общая вытяжка равна произведению частных.
Вытяжка между питающим цилиндром 5 и
холстовым валиком 1
Вытяжка между приемным барабаном 6 и
питающим цилиндром 5
Вытяжка между передающим 7 и
приемным барабаном 6
Вытяжка между главным барабаном 10 и
передающим барабаном 7
Вытяжка между главным 10 и съемным
11 барабанами
Вытяжка между плющильными,
валиками 14 и съемным барабаном 11
Вытяжка между валиками
лентоукладчика 15 и плющильными валиками 14
Общая вытяжка
Е=1,03·2567·0,795·1,5·0,0342·1,35·1,08=157,2.
Общую вытяжку можно определить и по
передаточному числу между холстовым валиком 1 и валиками лентоукладчика 15
где 90 - постоянное число
вытяжки.
При zB1 =44 и zB2 =33 зуб. E=120.
.2.3 Определение степени чесания
Вытяжку между главным барабаном и
питающим цилиндром принято называть степенью чесания. Степень чесания
определяют по формуле
чесальная машина
конструирование расчет
где Dг.б и Dп.ц -
соответственно диаметры главного барабана
и питающего цилиндра, м;
nг.б и nп.ц -
соответственно частота вращения главного барабана
и питающего цилиндра, об/мин;
i п.ц- г.б -
передаточное число от питающего цилиндра до главного барабана.
Пример. Определить степень чесания и
линейную плотность слоя волокон на поверхности главного барабана при zx = 21, zB1 =33, zB2 =44 зуб. и
линейной плотности холста 400 000 текс.
Линейная плотность слоя волокон на
поверхности главного барабана
.2.4 Расчет при заправке и
перезаправке чесальной машины
Определить число зубьев сменных
вытяжных и ходовой шестерен для выработки чесальной ленты линейной плотности
3450 текс из холста линейной плотности 417 000 текс, количество угаров,
выделяемое на чесальной машине, равно 4% и частота вращения съемного барабана
20,5 об/мин.
Общая вытяжка с учетом угаров
Число зубьев сменных вытяжных
шестерен находят из уравнений:
Последнее уравнение принято по
конструктивным соображениям. Решая эти два уравнения при Е=116, находят
Число зубьев ходовой шестерни
находят из уравнения
При nс.б =20,5
об/мин
zХ=18 зуб.
При перезаправке сменные шестерни
пересчитывают.
Число зубьев новой вытяжной шестерни
где
-
соответственно числа зубьев новой и прежней
вытяжных шестерен;
- линейная плотность новой и
прежней чесальной
ленты.
Число зубьев новой ходовой шестерни
где
- число
зубьев новой и прежней ходовой
шестерен;
- новая и прежняя частота вращения
съемного
барабана.
.2.5 Определение производительности
чесальной машины
Теоретическая производительность
где
-
соответственно диаметр и частота вращения валиков лентоукладчика.
При выработке ленты линейной
плотности Тл = 4 ктекс
Фактическая, или плановая,
производительность
-
коэффициент использования машины (0,98-0,985).
Время срабатывания холста, мин
где mх - масса
холста, кг;
πDx.B nx.B - скорость
холстовых, валиков, м/мин;
Тх - линейная плотность
холста, текс.
При mх=16 кг, Tх=400 000
текс и скорости холстовых валиков 0,75 м/мин
Время наработки полного таза, мин
где mт - масса
ленты в тазу (8 кг).
Кинематические схемы ЧМ см.
приложения 3.
.3 Предварительный прочесыватель
чесальных машин. Приемный барабан ЧМ - конструкция и расчет
Предварительный прочесыватель
является самостоятельной частью чесальной машины (ее узлом) и предназначен для
предварительного рыхления - разделения клочков массы волокна на более мелкие
группы волокон, освобождения их от оставшихся примесей растительного и
минерального происхождения.
Предварительный прочесыватель
состоит из группы валиков и барабанов различных диаметров, обтянутых пильчатой
или игольчатой лентой.
Рассмотрим технологические процессы,
происходящие в предварительном прочесывателе.
Разрыхление волокнистой массы. Между
двумя сопряженными рабочими органами происходит растяжение - растаскивание
крупных клочков на более мелкие клочки, отдельные группы и отдельные волокна.
Процесс происходит благодаря тому, что зубья гарнитуры рабочих органов
направлены в противоположные стороны и двигаются один относительно другого,
причем v2>v1.
Съем волокнистой массы. Переход
волокна с одного рабочего органа на другой имеет место, когда зубья или иглы на
рабочих органах направлены в одну сторону и при условии, что скорость
снимающего органа больше скорости рабочего органа (с которого снимается
волокно).
В зависимости от направления наклона
зубьев или игл, номера и профиля гарнитуры, направлений вращения и
относительной скорости между двумя рабочими органами может осуществляться
частичный переход волокон с одного рабочего органа на другой с одновременным их
разрыхлением (на более мелкие группы) и перемешиванием.
Посторонние примеси удаляются
отбойными валиками (по образующим валиков установлены стальные ножи-полосы) или
неподвижными ножами, которые устанавливаются на малом (регулируемом) расстоянии
от поверхности быстровращающегося барабана с гарнитурой.
Мощность предварительного
прочесывателя определяется количеством повторных операций, т. е. числом линий
разрыхления, съема волокна и удаления примесей. Количество повторных операций
зависит от качества перерабатываемого волокна, степени засоренности, длины
волокна и предварительной степени рыхления.
В шляпочной чесальной машине,
предназначенной для переработки хлопкового и штапельного волокна,
предварительный прочес осуществляет приемный барабан во взаимодействии с
питающим цилиндром и столиком, сороотбойным ножом и расчесывающими валиками.
Приемный барабан 1 (рис.5),
обтянутый пильчатой лентой, интенсивно разделяет подаваемый питающим цилиндром
слой хлопка (холста) на мелкие пучки и отдельные волокна. Слой хлопка,
свешивающийся в виде бородки на рабочей грани питающего столика, прочесывается
зубьями приемного барабана. Волокна, захваченные зубьями приемного барабана,
подвергаются воздействию сороотбойного ножа 4, расчесывающего валика 2 и
съемного валика 3 и передаются главному барабану.
Для направления воздушного потока
между главным барабаном и приемным устанавливаются разделяющие листы 8.
Исследования в этой области
показали, что в зоне приемного барабана разделяется на отдельные волокна до 80%
клочков хлопка; 20 - 30% клочков значительно уменьшаются в размерах и по массе.
При взаимодействии приемного барабана
1 с сороотбойным ножом происходит интенсивное выделение различного рода сорных
примесей и волокон с пороками (жгутиков, незрелого волокна, остатков хлопковых
семечек, стебельков и др.). Под расчесывающими валиками выделяется главным
образом короткое волокно - пух.
Исследования показали, что в зоне приемного
барабана выделяется около 55% примесей, содержащихся в холсте, и до 75% от
общего количества примесей, выделяемых на чесальной машине.
Рисунок 5 - Предварительный
прочесыватель чесальной машины ЧМС-450:1 - приемный барабан; 2 - рабочий
расчесывающий валик; 3 - съемный валик; 4 - сороотбойный нож; 5 - траверса; 6 -
ось; 7 - болт; 8 - разделяющие листы
Количество выделяемых угаров зависит
от установки сороотбойного ножа 4. Регулируются три параметра: расстояние А от
носика питающего столика до сортоотбойного ножа (А=77 ¸ 94 мм),
угол а наклона ножа
и
расстояние между ножом и приемным барабаном.
При регулировке траверса 5
поворачивается вокруг оси 6 и перемещается поступательно. Болтом 7
устанавливают разводку (зазор) между ножом и приемным барабаном. Рекомендуются:
разводка 1,5 мм;
А= 90 мм;
.
Скорость вращения рабочего валика
(3,78-10,8 об/мин) пропорциональна скорости вращения питающего цилиндра.
Диаметр рабочего валика 88 мм. Скорость вращения съемного валика 825 об/мин,
диаметр 60 мм. Скорость вращения приемного барабана 1380 об/мин, диаметр по
гарнитуре 234 мм. Отношение окружных скоростей главного и приемного барабанов
1,39.
Bo всех
чесальных машинах приемный барабан (рис.6) представляет собой чугунный полый
цилиндр 1 , жестко соединенный с днищами 2. Барабан установлен на валу 3.
Приемный барабан обязательно статически и динамически балансируется.
Рисунок 6 - Приемный барабан и
рабочий валик:
- полый цилиндр; 2 - днища; 3 - вал;
4 - втулка; 5, 8 - корпусы подшипника; 6, 7 - щеки; 9 - рабочий валик; 10 -
хомут; 11 - заглушка
Днища устанавливаются жестко на
валу 3 на конических втулках 4. Опорами барабана служат шарикоподшипники.
Корпусы 5 шарикоподшипников крепятся к щекам 6 и 7, которые являются станинами
(каркасом) узла приемного барабана. Корпусы 8 подшипников рабочего валика
крепятся также к торцам щек каркаса. На корпусы 8 подшипников надеты хомуты 10,
в горизонтальных пазах которых установлены подшипники съемного (чистительного)
валика. Заглушка 11 закрывает фигурный паз в правой щеке, служащий для
протаскивания валиков во время сборки и разборки узла. Конструкция узла
приемного барабана предусматривает установку его на машине в собранном виде.
Для регулировки зазоров между валиками 2 и 3 (рис.5) и зазоров между валиками
2; 3 и приемным барабаном 1 имеются регулировочные болты. Расчесывающий и
съемный валики представляют собой стальные трубы (диаметр расчесывающего валика
80 мм, съемного валика - 52 мм) с запрессованными в них цапфами. Трубы
обтягиваются цельнометаллической пильчатой лентой. На приемном барабане по
внешней поверхности нарезаются узкие канавки по винтовой линии. Число заходов
для разных конструкций машин может быть различно - от 1 до 8. В канавки
запрессовывается пильчатая лента.
1.4 Конструкция и расчет
главного барабана
Особенностями привода чесальной
шляпочной машины являются фрикционная муфта и колодочный тормоз, обеспечивающие
плавный пуск машины (разгрузку электродвигателя и клиноременной передачи от
больших пусковых нагрузок) и быстрый останов машины за 10 - 20 сек.
При пуске машины уравнение
движения будет иметь вид
M - Mc = J
, (1)
где М - момент движущих сил
(момент, развиваемый
электродвигателем) в н×м;
Мс - момент сопротивления,
приведенный к валу двигателя, в
н×м;
J -
приведенный момент инерции вращающейся системы в
кг× м2;
w
- угловая скорость в рад/сек.
Если принять, что М = const и Мс
= const, то
М - Мс = const.
Интегрируя уравнение (1), получим
время пуска
(2)
где wр - угловая
скорость вращения по окончании времени пуска.
Постоянную интегрирования С
определим из начальных условий. В начальный момент при t = 0 угловая
скорость w = 0; тогда
из уравнения (2), следует, что С = 0.
Время пуска двигателя чесальной
машины может быть определено из выражения
сек,
где пр - скорость
вращения вала электродвигателя при
установившемся движении в об/мин;
- приведенный к валу двигателя
момент инерции в
кг × м2;
Jд - момент
инерции вращающихся масс двигателя кг × м2;
Ji - момент
инерции вращающихся деталей машины в кг × м2;
wi - угловые
скорости вращающихся деталей машины в рад/сек.
Приведенный к валу двигателя
статический момент, с учетом потерь, можно определить из формулы
, (3)
где М'с - статический
момент на главном валу машины;
- передаточое число между
электродвигателем и главным валом машины;
h - коэффициент полезного действия передачи (от
электродвигателя к главному валу).
Время останова машины находится
из выражения
(4)
где МТ - тормозной
момент в н × м.
В привод чесальной шляпочной машины
входят фрикционная муфта, колодочный тормоз, механизм управления и другие
механизмы.
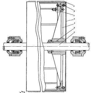
Рисунок 7 - Фрикционная муфта:
- шкив; 2 - втулка; 3 - ведомая
ступица шкива; 4 - шпонка; 5 - ступица, 6 - диск; 7 - палец; 8 - болт; 9 -
прижимной диск; 10 - пружина; 11 - корпус упорного шарикоподшипника; 12 -
штифт; 13 - тяга; 14 - упорный подшипник; 15 - рычаг; 16 - подвижный корпус
Рассмотрим устройство фрикционной муфты (рис.
7). Приводной кли-ноременный шкив 1 свободно посажен на втулке 2 главного вала
барабана. Ведомая ступица шкива 3 шпонками 4 жестко закреплена на валу
барабана. На втулке ведомой ступицы свободно посажена ступица 5, к которой
заклепками крепится стальной диск 6, по обе стороны которого располагаются два
свободно плавающих медно-асбестовых фрикционных кольца. Ступица 5 связана с
ведомой ступицей 3 шкива пальцами 7. Болты 8, закрепленные по окружности шкива
1 и проходящие через отверстия прижимного диска 9, несут на себе пружины 10,
которые зажимают диск 6 вместе с фрикционными кольцами между стенкой ведущего
шкива 1 и диском 9.
Движение главному барабану
передается от шкива 1 через диск 6 с фрикционными кольцами и далее через пальцы
7 ведомой ступице 3.
Муфта выключается перемещением
корпуса 11 упорного шарикоподшипника по оси вала (к концу вала). В корпусе
подшипника закреплены два штифта 12, входящие в скосы корпуса 11. Верхний
прилив корпуса 11 шарнирно связан тягой 13 с рукояткой 3 (рис. 11). При
перемещении рукоятки в крайнее левое положение корпус 11 (рис. 9)
поворачивается и, скользя по втулкам неподвижных штифтов 12, перемещается вдоль
вала, нажимая через упорный подшипник 14 и подвижной корпус 16 на концы рычагов
15. Рычаги нажимают на болты, расположенные по окружности прижимного диска,
отжимают его и выключают фрикционную муфту.
Рисунок 8 - Механизм включения
и выключения муфты и тормоза:
- ушко корпуса упорного
подшипника; 2, 8 - тяга; 3 - рукоятка; 4 - колодка тормоза; 5 - ось тормозной
колодки; 6 - пружина; 7 - палец; 9 - рычаг; 10 - валик; 11 - кулачок; 12 -
запорный палец; 13 - запорный рычаг; 14 - откидной нож
Одновременно с выключением
муфты включается колодочный тормоз, смонтированный на правой раме машины.
Колодка 4 тормоза (см. рис. 8),
обтянутая асбестовой лентой, свободно сидит на оси 5, установленной в раме
машины, внутри обода главного барабана. Между тормозной колодкой и внутренней
частью обода имеется зазор, обеспечивающий свободное вращение главного
барабана.
При выключении фрикционной муфты, т. е. при
повороте ушка корпуса 1 и пальца 7, тяга 8 поворачивает рычаг 9, закрепленный
на валике 10. При этом кулачок 11 плотно прижимает колодку 4 тормоза к
внутренней части обода главного барабана; барабан замедляет вращение и
останавливается.
При включении муфты кулачок 11
освобождает тормозную колодку, которая под действием пружины 6 отходит от обода
барабана.
Включение в работу тормоза и
выключение муфты осуществляется при помощи тяги 2 и рукоятки 3. На тяге 2
находится запорный палец 12, который при включенной машине находится под
запорным рычагом 13, запирающим откидной нож 14, не позволяя открыть его при
вращении главного барабана.
Муфта для предохранения ее от
пыли и безопасности обслуживания закрывается с торца крышкой.
При выборе скорости главного
барабана, а следовательно, и кинематического режима работы всей машины
необходимо учитывать скорость приемного барабана, скорость и направление
движения шляпочного полотна.
Условия перехода волокна с
приемного на главный барабан зависят от опережения главным барабаном приемного
барабана, действия центробежной силы комплекса волокон, разводки между
барабанами, угла наклона зубьев приемного и главного барабанов и образуемых
вращением главного барабана воздушных потоков, направленных в затылочную часть
зубьев приемного барабана в месте перехода волокна на главный барабан.
Предельная скорость главного
барабана определяется опережением. Величина опережения находится в пределах
где vб - окружная
скорость главного барабана в м/сек;
vпр- окружная
скорость приемного барабана в м/сек.
Уменьшение опережения при увеличении
скорости приемного барабана компенсируется увеличением центробежной силы
комплекса волокон и увеличением скорости воздушного потока.
Скорость вращения главного барабана
может быть определена по формуле
(5)
где ппр - скорость
вращения приемного барабана в об/мин;
dnp - диаметр
приемного барабана в м;
dб - диаметр
главного барабана в м.
При существующем технологическом
режиме работы машины скорость вращения главного барабана диаметром 1280 мм
составляет 185-195 об/мин. Однако исследования показывают, что при увеличении
скорости до 300 об/мин и более качество прочеса улучшается, имеется полная
возможность эксплуатации машины. При этом следует иметь в виду, что повышение
скорости главного барабана требует повышения точности изготовления машины и в
особенности главных ее рабочих органов.
Главный барабан - один из основных рабочих
органов чесальной машины. Он представляет собой (рис. 9) тонкостенный цилиндр 1
(обечайку) толщиной 10-12 мм, укрепленный на валу 2 двумя крестовинами 3,
расположенными на концах барабана. Обечайка 1 обычно изготовляется из серого
чугуна марки СЧ 18-36. На внутренней поверхности средней части обечайка имеет
ребра жесткости. Крестовины присоединяются к обечайке болтами 5. Между
крестовинами и валом располагаются разрезные втулки 6 с внешней конической поверхностью,
что облегчает сборку узла барабана и обеспечивает центрирование и крепление
деталей на валу.
Рисунок 9 - Главный барабан
чесальной машины:
- цилиндр (обечайка); 2 - вал;
3 - крестовина; 4 - щитки; 5 - болт; 6 - разрезные втулки; 7 - балансировочный
груз
Для предотвращения попадания
волокон и пуха внутрь барабаны с торцов закрываются щитками 4. Поверхность
(цилиндрическая) главного барабана обтягивается цельнометаллической пильчатой
лентой или игольчатой лентой. Для крепления игольчатой ленты на поверхности
барабана просверливаются отверстия под деревянные пробки.
Диаметр главного барабана равен
670 мм у малогабаритных машин и 1272-1290 мм у машин обычного габарита с
рабочей шириной 1016-1020 мм. Отечественные машины обычного габарита
выпускаются с барабанами диаметром 1272 мм и (без гарнитуры) шириной 1016 мм.
Обечайки барабанов могут
выполняться как из чугуна (литьем), так и сварными из стального листа. Чугунные
обечайки отечественных машин делаются толщиной 9-12 мм (для машин с игольчатой
гарнитурой не менее 9 мм, с пильчатой - не менее 10 мм).
Рисунок 10 - Главный барабан
машины ЧМС-450:
- главный барабан; 2 - щека
правая; 3 - щека левая; 4 - подшипники; 5 - шкив барабана; 6 - клиновая шпонка;
7 - концевой болт; 8 - планка стопорная; 9 - шайба концевая; 10 - фрикционная
муфта; 11 - редуктор привода
На внутренней поверхности
барабана имеется ряд ребер жесткости. Ближе к торцам внутри барабана делаются
кольцевые приливы, к которым болтами крепятся крестовины. На рис. 10
представлен барабан машины ЧМВ-450. Каждая крестовина представляет собой
цельную отливку из чугуна, состоящую из обода, шести спиц и ступицы. Для
сохранения прочности крестовин отверстия для болтов, соединяющих крестовину с
обечайкой, сверлятся против спиц. В крестовинах имеются отверстия для
размещения уравновешивающих грузов. Все барабаны балансируются статически и
динамически. Динамическая балансировка ведется со скоростями, на 10%
превышающими рабочие скорости. С увеличением рабочих скоростей барабанов
увеличиваются и требования к точности их изготовления. Так, биение главного
барабана снижается в прогрессивных конструкциях до 0,02 мм.
Из-за больших размеров и чисел
оборотов на поверхности барабана развиваются большие центробежные силы,
подвергающие растяжению материал обечайки. Обычно расчет обечайки на прочность
носит проверочный характер. Напряжения в материале обечайки можно приближенно
определить по формуле
(6)
где
- плотность
материала обечайки в кг/м3,
v - окружная
скорость барабана по среднему радиусу обечайки в м/с.
В случае ослабления обечайки
отверстиями под пробки для крепления игольчатой ленты напряжения в материале
обечайки повышаются примерно на 80% и расчет ведется по формуле
(7)
Для чугунной обечайки полученное
напряжение сравнивается с предельным для определения запаса прочности:
где
в - предел
прочности чугуна при растяжении.
.5 Конструкция и расчет механизма
съемного гребня
После главного барабана
прочесанное волокно передается на съемный барабан. Для снятия накапливающегося
на съемном барабане волокна и преобразования его в ленту служат механизмы
съемных гребней.
Механизмы съемных гребней можно
подразделить на кривошипно-шарнирные четырехзвенные (рис. 11(1), а), шарнирные
четырехзвенные кулисные (рис. 11(1), б).
Рисунок 11 (1) - Схемы
гребенных механизмов:
- съемный барабан; 2 - гребень
Рисунок 11 (2) - Кинематическая
схема механизма съемного гребня
Механизм помещается в гребенной
коробке. Приводной вал располагается в нижней части гребенной коробки и
вращается в подшипниках качения (рис. 12). На этом же валу закреплен блочек для
привода гребня в движение. От приводного вала через серьгу (шатун) 9 и рычаг 6
качательное движение передается валу 2, фланец которого соединяется с фланцем
вала съемного гребня.
Рисунок 12 - Гребенная коробка
машины ЧМВ-450:
- корпус; 2 - качающийся вал; 3
- блок привода; 4 - кривошипный вал; 5, 8, 11, 12 - шарикоподшипники; 6 -
рычаг; 7 - маслоотбойное кольцо; 9 - шатун; 10 - палец
Съемный гребень (рис. 13)
состоит из пустотелого вала, в концы которого впрессованы цапфы 2. Правая цапфа
представляет собой одно целое с гитарой 4, посредством которой гребень
связывается в единое целое звено с полумуфтами.
Рисунок 13 - Съемный гребень:
- гребенной вал; 2 - цапфы; 3 -
заклепки; 4 - гитара; 5 - колонки; 6 - полотно гребня
Положение гребня по отношению к съемному
барабану регулируется связывающими болтами гитары и установкой самих полумуфт.
Полотно 6 гребня, являющееся
исполнительным рабочим органом, крепится к подошве колонок 5 заклепками 3
(расклепываются заподлицо с полотном гребня).
Колонки 5 устанавливаются в
отверстия гребенного вала 1; основания колонок расклепываются и зачищаются
заподлицо с телом вала. Крайние колонки, установленные в цапфах, для жесткости
полотна гребня штифтуются электрозаклепками. Количество колонок зависит от
длины вала, т. е. от рабочей ширины машины.
Полотно гребня является
ответственной деталью, от качества изготовления которой зависит съем прочеса. К
качеству полотна гребня и его зубьям предъявляются особо высокие требования.
Полотно гребня изготовляется только цельным из стали У-8, со всех сторон, и
между зубьями полируется (шероховатости и заусенцы не допускаются).
Для изготовления колонок
применяют сталь 45.
Работа гребня. Гребень снимает
ватку только при движении вниз, а при движении вверх совершает холостой ход. За
рабочий ход гребень снимает прочесанное волокно только с определенного участка
поверхности съемного барабана. Благодаря качательному движению гребня снятое
волокно под действием сил инерции легко отделяется в конце рабочего хода от
полотна гребня и выводится из зоны съема плющильными валиками машины.
Эта особенность работы гребня
заставляет увеличивать число его качаний до достаточно большой величины,
обеспечивающей непрерывность съема волокна. Увеличение производительности
чесальных машин также приводит неизбежно к увеличению числа качаний съемного
гребня. Так, на машинах производительностью 6-8 кг/ч чесальной ленты число
оборотов вала съемного гребня (число качаний гребня) составляет 1300-1500 в
минуту, а на машинах производительностью 15-25 кг/ч чесальной ленты - до 2000 в
минуту и более. Такое повышение скорости приводит к значительному увеличению
инерционных нагрузок на звенья гребенного механизма, передающие качательное
движение гребню и снижает срок службы подшипников гребенной коробки. Для
уменьшения нагревания и изнашивания кинематических пар все вращающиеся части
гребенного механизма устанавливаются на подшипниках качения а работают в
масляной ванне.
Расчет механизма съемного
гребня. Так как четырехзвенные шарнирные механизмы нашли наибольшее применение,
рассмотрим их расчет подробно.
Для правильного хода
технологического процесса необходимо связать число оборотов кривошипа съемного
гребня со скоростью съемного барабана. Так как гребень должен производить
очесывание всей поверхности съемного барабана, то, считая, что съем происходит
на всей дуге кинематического размаха гребня, получаем
=
D6, (8)
где
и
-
соответственно числа оборотов приводного вала гребенной коробки и съемного
барабана в минуту;
D - диаметр
съемного барабана.
Согласно исследованиям ЦНИХБИ
(Центральный научно-исследовательский институт хлопчато-бумажной
промышленности), рабочая часть траектории гребня Sраб несколько
меньше измеренного по дуге кинематического размаха гребня:
Sраб»(0,7¸0,67) Sгр .
Подставляя в выражение (8) вместо Sгр значение Sраб и решая его
относительно
, получим
(9)
После определения числа качаний
гребня необходимо провести проверочный расчет отдельных звеньев механизма на
прочность при действии инерционных сил. Для определения инерционных сил
необходимо знать ускорения, возникающие в звеньях за один оборот кривошипа. С
этой целью можно провести графоаналитическое исследование механизма. Окружность
вращения кривошипа делят на 12 равных частей и для каждого положения механизма
строят планы скоростей и ускорений искомых точек звеньев. В качестве примера
построим план скоростей и ускорений для положения механизма, изображенного на
рис. 14.
. Определяем окружную скорость точки
В (рис. 14, а):
и отложим ее в масштабе Kv из полюса Р
(рис. 14, б, в).
. Определяем скорость точки С:
` vС =` vB+` vCB; ` vC =` vD +` vСD.
В точке пересечения направлений
скоростей`vCB и` vСD получим точку с, а следовательно, и скорость vc.
. Аналогично определяем скорость
точки Е:
` vE
=`
vC+`
vEC; ` vE
=`
vD +`
vED.
4. Определяем ускорение точки В. Оно
нам известно по направлению, а по модулю его легко подсчитать:
Рисунок 14 - План скоростей и
ускорений гребенного механизма
Тангенциальное ускорение точки В
равно нулю, так как кривошип вращается равномерно. Полученное значение
откладываем
из полюса п (рис. 14, в) в принятом масштабе.
. Определяем ускорение точки С:
,
В точке пересечения линий
и
получим
точку с, соединив которую с полюсом, получим в принятом масштабе полное
ускорение точки С по величине и направлению.
. Определяем ускорение точки Е:
Таким образом находят ускорения для
всех 12 положений кривошипа.
По максимальным ускорениям
определяют максимальные инерционные усилия и по ним проводят проверочные
расчеты. Проведем расчет колонки и полотна гребня.
Колонку гребня можно рассматривать
как консольную балку, нагруженную инерционными силами (рис. 15). На конце колонки
приложена сила инерции полотна гребня. Очевидно, на одну колонку будет
действовать сила инерции одного пролета полотна
Рисунок 15 - Колонка съемного гребня
с действующими на нее силами
и сила инерции массы колонки
где mk - масса
колонки.
Силу инерции
приложим в
точке - центре качания К. Место приложения результирующей силы инерции
определится по формуле
где Rs -
расстояние от оси вращения вала гребня до центра тяжести
S колонки;
J0 - момент
инерции массы колонки относительно оси вращения D.
Колонка обычно рассчитывается на
прочность при действии тангенциальных сил инерции, так как они больше
центробежных сил по величине и вызывают у колонки напряжения разного знака
(перемена направления движения гребня в нижнем и верхнем крайних положениях).
Определив максимальные силы инерции,
можно провести проверочный расчет колонки на прочность, рассматривая ее как
консольную балку, защемленную у места крепления колонки к валу. Пренебрегая
силами веса колонки GK и полотна GПР, можно
определить максимальный и минимальный изгибающие моменты:
(10)
где 
и
-тангенциальные силы инерции в
крайнем нижнем и верхнем положениях колонки.
Так как Мmах и Mmin вызывают
напряжения разного знака:

где Wизг- момент
сопротивления сечения колонки изгибу, то
проводится проверка колонки на
усталость:
, (11)
где
-амплитудное
напряжение цикла;
-среднее напряжение цикла;
- предел выносливости материала
колонки;
К-1 - эффективный
коэффициент концентрации напряжений в опасном сечении колонки;
- масштабный фактор и фактор,
учитывающий состояние поверхности детали;
- предел прочности материала
колонки.
Проведем проверочный расчет полотна
гребня. Полотно гребня прикрепляется к колонкам и может быть разделено на
средние и концевые пролеты (рис. 16).
т = Flρ кг,
где F
-
площадь (hb)
поперечного сечения полотна гребня без учетавыреза зубьев в м2;
l - расстояние между
колонками в м;
ρ - плотность материала
полотна в кг/м3.
Рисунок 16 - Схема съемного барабана
Рассматривая полотно гребня
между колонками как защемленную с двух сторон балку с равномерно распределенной
нагрузкой, определим напряжение в опасном сечении с учетом режима работы от
действия сил.
Максимальная центробежная сила
Рп = - тап
н,
где т - масса полотна гребня
между колонками;
ап - максимальное
нормальное ускорение.
Полотно, как правило,
рассчитывается на жесткость, так как технологический зазор между полотном и
съемным барабаном составляет всего 0,2-0,3 мм. Из рассмотрения работы гребня
видно, что в данном случае наибольшую опасность представляет центробежная сила
инерции, которая направлена в сторону уменьшения технологической разводки:
Подставляя сюда максимальное
значение
, получим
. Сила
является
равномерно распределенной
где lПР - расстояние
между соседними колонками гребня.
При заданных размерах гребня и
расчетной скорости опасным сечением будут места заделки; допускаемое напряжение
на изгиб
где h - толщина
полотна гребня;
b - ширина
полотна гребня;
l - длина
среднего пролета полотна гребня.
Подставляя значение Рп и
т, получим
Стрела прогиба для среднего пролета
гребня от действия центробежной силы
(12)
где EJ - жесткость
полотна при изгибе.
Длина концевой (консольной) части
полотна гребня определяется из условия равенства прогибов. Максимальная
величина прогиба должна быть меньше минимальной разводки между съемным
барабаном и полотном гребня по всей его длине. При правильно разработанной
конструкции прогиб f полотна должен быть в 10 и более
раз меньше технологической разводки. Стрела прогиба для консольной части
(13)
где Р'п - центробежная
сила крайнего пролета;
l1 - длина
крайнего пролета.
Приравнивая выражения (12) и (13) и
решая полученное уравнение относительно l1, получим
соотношение между длинами крайнего и среднего пролетов полотна гребня:
1.6 Конструкция и расчет
лентоукладчиков ЧМ
Для приема и укладки в тазы
преобразованного в ленту прочеса, снятого с чесальных и гребнечесальных машин,
а также на ленточных машинах в хлопкопрядении применяются лентоукладчики.
Лентоукладчик укладывает ленту в таз
так, чтобы при максимальном использовании объема таза ее можно было легко, без
излишнего натяжения, выбрать из таза на последующих технологических переходах.
Конструктивно лентоукладчики могут
выполняться с неподвижным или вращающимся тазом, однако принцип укладки ленты
одинаков - лента укладывается в таз витками, центры которых располагаются по
окружности радиуса а относительно оси таза, а витки смещены один относительно
другого на величину b.
Рассмотрим лентоукладчик,
применяемый на обычных чесальных машинах для хлопка.
Ватка, снимаемая со съемного
барабана, проходит между направляющими планками (или рожками) и поступает в воронку,
преобразующую ватку-прочес в ленту. Лента уплотняется плющильными валиками и
поступает в лентоукладчик. Через воронку, пару плющильных валиков, наклонный
направляющий канал верхней тарелки (на схеме не показана) лента укладывается в
таз, установленный на нижней тарелке лентоукладчика. Верхняя и нижняя тарелки
чаще всего вращаются в противоположных направлениях (встречное вращение) с
разной скоростью.
В зависимости от величины а и r' различают
два метода укладки ленты в таз:
) витки ленты перекрывают центр таза
(рис. 17, а);
) витки укладываются до центра таза
(рис. 17, б).
Второй метод укладки применяется на
чесальных машинах ЧММ-450, ЧМС-450, ЧМ-450-7, так как при переходе на тазы
большого диаметра используется головка лентоукладчика, рассчитанная для укладки
ленты в таз D = 305 мм.
При первом методе укладки в таз
вмещается большая длина ленты, чем при втором. Существенное влияние на процесс
укладки и на вместимость таза оказывает размер внутреннего отверстия do,
образуемого витками в центре таза. В середине таза витки ленты укладываются
гораздо плотнее, чем по краям. При малом размере do в середине
таза образуется центральная горка, а по краям - «седловина», вследствие чего
значительно теряется емкость таза.
По данным английского института
Шерли вместимость таза характеризуется весом ленты в тазу в зависимости от
метода укладки и размера do.
Рисунок 17 - Схема укладки ленты в
таз
Для обеспечения максимальной
вместимости чесальной ленты в таз институт Шерли рекомендует размер d0
устанавливать в следующей зависимости от диаметра таза:
d0 = 0.25D. (14)
Используя это соотношение, можно
легко определить основные конструктивные параметры лентоукладчика. Из рис. 17,
а и б получим:
) для первого метода укладки
(15)
) для второго метода укладки
(16)
где r' - размер
(радиус) от оси вращения верхней тарелки до точки
выхода ленты из наклонного
направляющего канала;
- величина зазора между лентой и
тазом, необходимая для свободного извлечения ленты из таза (обычно
= 4
5 мм).
Отсюда
Движение лентоукладчика передается
оси вала плющильных валиков (рис.18).
Далее через коническую зубчатую
передачу движение передается прутковому валу 6, который опирается на два
шарикоподшипника 7. Нижний подшипник установлен в станке 8, верхний в
подшипниковвым узле (стакан и крышка 10). Движение от вала 6 нижней тарелке
передается через систему зубчатых колес (Z1=12; Z2=41; Z3=12; Z4=41; Z5=12; Z6=29; Zнижн.тар.7=126).
Движение от вала 6 верхней тарелке передается через пару зубчатых шестерен (Z8=30; Zверх.тар.9=95). От
вала 6 через коническую передачу (Z10=20; Z11=20)
движение передается валикам лентоукладчика 2. Засчет блок-шестерен 11 движение
от одного валика передается другому (Z12=22=Z13). Пройдя
направляемую воронку, лента, собранная в виде жгута круглого сечения, проходит
уплотняющую воронку 1 лентоукладчика, плющильные валики 2 и через направляющий
канал верхней тарелки 3 поступает в таз 4, установленный на нижней тарелке 5.
Рисунок 18 - Лентоукладчик:
1 - уплотняющая воронка; 2 - плющильные валики;
3 - наклонная трубка тарелочной шестерни; 4 - таз; 5 - нижняя тарелка
Верхняя и нижняя тарелки обычно вращаются в
противоположных направлениях с разной скоростью, оси их вращения смещены на
величину а. Диаметр таза задается техническими условиями на проектирование
машины. Зависимость между диаметром D
таза и другими параметрами лентоукладчика определяется соотношением
D=2(a
+ r + 0,5d
+δ),
где r
- расстояние от оси выходного отверстия верхней тарелки до оси ее вращения
(радиус вращения выходного отверстия);
d
- диаметр выходного отверстия канала верхней тарелки; диаметр отверстия должен
быть несколько больше максимального диаметра ленты (в некоторых конструкциях
лентоукладчиков выходное отверстие делается овальной формы) ;
δ
- зазор между лентой и тазом, необходимый для свободного извлечения ленты
(обычно δ = 4 ÷ 5 мм).
Радиус r
может быть определен из условия свободного движения ленты под действием силы
тяжести.
Кинематическое исследование
работы лентоукладчика. Укладка ленты в таз витками, смещенными один
относительно другого, предотвращает запутывание ленты в тазу и обеспечивает
легкое извлечение ленты на последующих переходах. Для максимальной плотности
укладки ленты скорости нижней и верхней тарелок должны быть рассчитаны так, чтобы
витки смещались один относительно другого по окружности радиуса а на толщину
ленты dл.
Пусть смещение происходит на величину
где
-
коэффициент перекрытия.
Время одного оборота верхней тарелки
(17)
где
- угловая скорость верхней тарелки.
За это же время нижняя тарелка
должна сместиться по дуге радиуса а на величину
При скорости нижней тарелки v2 = аw2 время
смещения
(18)
Приравнивая выражения (17) и (18),
получим
(19)
Передаточное отношение при передаче
от верхней к нижней тарелке
Подставляя сюда значение w1 из (19),
получим
Выразим dл через тексы:
откуда
см,
где r - объемная масса ленты,
принимаемая для хлопчатобумажной чесальной ленты равной 18-20 кг/м3
(0,018-0,02 г/см3);
Т - толщина ленты в тексах.
Передаточное отношение
(20)
Рисунок 19 - Кинематическая схема
лентоукладчика машины ЧММ-450
Из-за большого расстояния от
направляющего канала до дна таза лента вначале укладывается беспорядочно, без
какой-либо закономерности, что приводит к перепутыванию и отходу в брак до 15%
ленты. В настоящее время начали широко применять тазы с подпружиненным дном,
обеспечивающим укладку ленты с самого начала согласно заданному закону.
Кинематические схемы
лентоукладчиков. На рис. 19 представлена кинематическая схема лентоукладчика
машины ЧММ-450.
Как видно из схемы, менять
соотношение скоростей между верхней и нижней тарелками, а также между верхней
тарелкой и плющильными валиками лентоукладчика нельзя. На рис. 20 представлена
планетарная передача между валом стояка и нижней тарелкой, применяемая на
некоторых лентоукладчиках. На валу стояка 3 жестко закреплен плоский эксцентрик
4, на котором свободно посажена шестерня zl0 с широким
зубом. На этом же валу также свободно посажена шестерня z8 с
внутренним зацеплением, втулка которой служит радиальной опорой вала 3.
Шестерня zs жестко
соединена со стойкой лентоукладчика. Кроме того, на валу 3 свободно посажена
шестерня z9 с
внутренним зацеплением, которая получает вращение от шестерни z10. К нижней
втулке шестерни z9 может быть
прикреплена звездочка или шестерня z11, приводящая
в движение через цепь или зубчатое колесо z12, звездочку
или шестерню z13 нижней
тарелки. Число оборотов планетарной передачи можно определить по формуле
Рисунок 20 - Кинематическая схема
лентоукладчика машины с планетарной передачей:
- плющильные валики; 2 -
направляющий канал; 3 - вал стояка; 4 - эксцентрик; 5 - шестерня нижней
тарелки.
Пример. Исходные данные: толщина
ленты - 3,704 кт; r = 20 кг/м3;
D = 0,406 м; nпл×в = 340
м/мин.
. Определяем параметры лентоукладчика
r¢ =
(0,625-0,406-0,005)=
0,1244 » 0,124 м,
а =
(0,375×0,406-0,005)
= 0,0736 » 0,074 м.
. Определяем передаточное отношение
лентоукладчика
3. Определяем l :
4. Находим w2 :
1/c.
. Определяем w2 max и w2 min :
1/c,
1/c.
. При R = 0,03 м
определяем эксцентриситет зубчатых колес :
м.
. Проверяем соответствие скоростей
при полученной величине е их значениям, найденным в п. 5:
1/c,
1/c.
. Определяем число оборотов верхней тарелки
n1=
9,55×1,493×30,2
= 432 об/мин.
Литература
1. Лабораторный
практикум по прядению хлопка и химических волокон / К.И. Бадалов [и др. ]. -
Москва : Легкая индустрия, 1978. - 464 с.
2. Справочник
по хлопкопрядению / под ред. В.П. Ширикова, Б.М. Владимирова, Д.А. Полякова. -
5-е изд. , перераб. и доп. - Москва : Легкая и пищевая индустрия, 1985. - 472
с.
. Машины
для прядения хлопка и химических волокон: учеб. пособие / П.Д. Балясов [и др.
]. - Москва : Легкая индустрия, 1965. - 365 с.
. Переработка
химических волокон и нитей : справочник / под. ред. Б.А. Маркова. - Москва :
Легпромбытиздат, 1989. - 744 с.
. Расчет
и конструирование машин прядильного производства / А.Н. Макаров [и др. ]. -
Москва : Машиностроение, 1986. - 505 с.
. Основы
теории, конструкция и расчет текстильных машин / К.Д. Буданов [и др. ]. -
Москва : Машиностроение, 1990. - 368 с.
Приложение
ТЕХНИЧЕСКАЯ ХАРАКТЕРИСТИКА
ЧЕСАЛЬНЫХ МАШИН
Техническая характеристика
малогабаритных чесальных машин отечественного производства

Приложение 2
Приложение 3
Приложение 4