Проектирование производства земляных работ

  • Вид работы:
    Курсовая работа (т)
  • Предмет:
    Строительство
  • Язык:
    Русский
    ,
    Формат файла:
    MS Word
    410,68 Кб
  • Опубликовано:
    2012-09-08
Вы можете узнать стоимость помощи в написании студенческой работы.
Помощь в написании работы, которую точно примут!

Проектирование производства земляных работ

Введение

Требуется разработать проект производства работ по сооружению участка земляного полотна однопутной железной дороги первой категории протяженностью 3 километра, составленного из 3-х профилей. При этом общий участок начинается с ПК 40+00. Отметка первой нулевой точки находится на отметке 100 м над уровнем моря.

Трасса проходит по пересеченной местности, которая характеризуется следующими параметрами:

1)  Грунты - глинистые;

2)      Ситуационная местность;

)        Уклоны;

)        Кривая.

В составе проекта решены следующие задачи:

1)  Произведён подсчет объёмов земляного полотна;

2)      Решена задача оптимального распределения земляных масс;

)        Выбраны рациональные средства механизации для ведения земляных работ;

)        Разработаны технологические карты на производство отдельных видов земляных работ;

)        Определены сроки производства работ;

)        Составлен календарный график производства земляных работ на участке;

)        Решены другие вопросы.

1. Распределение земляных масс на заданном участке

.1 Разбивка участка на массивы

Составляем исходный продольный профиль - масштаб вертикальный 1 м - 2 мм, горизонтальный 100 м - 2 см. Наносим проектную линию на продольный профиль с условием руководящего уклона. После определения красных отметок определяются чёрные отметки, как разность или сумма (соответственно, насыпь или выемка). По рабочим отметкам (на профилях) наносим насыпи и выемки на продольный профиль рельефа местности.

Обозначения:

Ø  Водопропускная труба -

Ø  Дорога -

Ø  Река -

Ø  Раздельный пункт -

Объёмы выемок и насыпей можно определить из графика, которые составляют:  м³;  м³.

Определим разность сумм объёмов выемок и насыпей, который составит: 149111-73821= 75290м³.

С целью правильного установления границ производства работ определяем место положения нулевых точек и границ высоких насыпей (высотой более 6 м).

Нулевой точкой называется то место профиля, где выемка переходит в насыпь или наоборот, то есть рабочая отметка равна нулю. Они определяются графически из подобия двух смежных треугольников, построенных по двум ближайшим рабочим отметкам.

Ведомость подсчета нулевых точек

Номера н.т.

Н1

Н2

L

X

ПК+X

1

-

-

-

-

ПК 40

2

1,63

2,95

100

35,6

ПК 45+35,6

3

-

-

-

-

ПК 50

4

2,43

1,40

82

18+52

ПК 53+70,0

5

-

-

-

-

ПК 60

6

1,98

6,47

100

23,4

ПК 65+23,4

7

-

-

-

-

ПК 70


Для правильной разбивки продольного профиля на отдельные участки (массивы), которые рассматриваются как поставщики и потребители необходимо уяснить их сущность. В качестве поставщиков могут быть выемки (основные), резервы и карьеры (резервные). В качестве потребителей - насыпи (основные), кавальеры и отвалы (резервные). Для понимания, что из себя представляет насыпь и выемка вычерчиваем поперечный профиль.

Для разбивки продольного профиля на отдельных поставщиков и потребителей необходимо, прежде всего, выявить на профиле места возможного заложения резервов и кавальеров. По их границам делят насыпь (выемку) на соответствующие массивы. Если в пределах выемки имеются разнородные грунты, то её разделяют на отдельные массивы. Глубина резерва принимается не ниже уровня грунтовых вод. Запрещается:

Ø  Закладывать резервы и отсыпать кавальеры в местах переездов, на раздельных пунктах и местах расположения зданий

Ø  Отвалы устанавливать вблизи от выемки, где имеется понижение рельефа местности

Ø  Карьеры открывают на некотором удалении от проектируемого участка железнодорожной линии

После разбивки заданного участка на поставщиков и потребителей определяем объём каждого из поставщиков и каждого из потребителей при помощи графика попикетных объёмов.

Объём резервов (кавальеров) устанавливается из расчета, что он равен объёму соответствующей насыпи (выемки), но на одном пикете объём их не должен превышать 6000 м³.

Объём карьера должен быть не меньше, чем сумма объёмов всех насыпей:


Объём отвала определяется в последнюю очередь из ограничения. Объём поставщиков должен равняться объёму потребителей, то что не хватает - в отвал.


То есть объём всех поставщиков равен объёму всех потребителей.

Поставщиками являются: выемки (основные), резервы и карьер (резервные). Потребителями: насыпи (основные), отвал и кавальеры (резервные).

Продольные возки: 1-1’ 2-1’ 3-1’           Поперечные возки: 1-4’ 2-5’ 3-6’   

1-2’ 2-2’ 3-2’ 4-1’ 5-2’ 6-3’

1-3’ 2-3’ 3-3’ 1-7’ 2-7’ 3-7’

7-1’ 7-2’ 7-3’

Фиктивные возки: 7-4’ 7-7’           Запрещенные возки: 1-5’ 1-6’ 2-4’ 2-6’ 3-4’ 3-5’

-5’ 7-6’        4-2’ 4-3’ 5-1’ 5-3’ 6-1’ 6-2’

-4’ 4-5’ 4-6’ 5-4’ 5-5’ 5-6’

-4’ 6-5’ 6-6’ 4-7’ 5-7’ 6-7’

1.2 Выбор возможных средств механизации

массив экскаватор земляной механизация

Для определения минимальной стоимости распределения грунта от поставщика к потребителю необходимо найти соответствующую дальность возки грунта (продольного или поперечного) и уяснить, какие из средств механизации могут быть, в принципе, пригодны для этой связи, а затем, используя графики единичной стоимости из приложения 2 методических указаний часть 1, определим то средство механизации, которое даёт минимальную стоимость работ для этой связи. График единичной стоимости представляет собой зависимость единичной себестоимости и перевозки грунта (руб./м³) от дальности перевозки грунта (м). На графиках сплошной линией показана зависимость при продольной возке грунта, а пунктирной - при поперечной возке.

1.3 Распределение земляных масс на заданном участке на основе линейного программирования

Задача оптимального варианта производства работ определяется в результате решения транспортной задачи, которая формулируется следующим образом:

, где

Сij - себестоимость разработки и перевозки одного метра грунта от i -го поставщика к j -му потребителю;

Vij - объём перевозимого грунта от i -го поставщика к j -му потребителю.

Ограничения:

1.       Ни один из Vij не должен равняться нулю;

ΣVi = ΣVj;

Такие задачи решаются одним из методов линейного программирования:

1.       метод наименьших стоимостей (вручную);

2.       метод потенциалов (на ЭВМ).

Для решения транспортной задачи методом наименьших стоимостей составляется специальная таблица, называемая матрицей.

В левой стороне таблицы приводятся номера (арабскими цифрами) и объёмы (в сотнях м³) поставщику, в верхней части номера (арабскими цифрами) объёмы потребителей. В правом верхнем углу каждой выделенной клетки при возможности реальной доставки указывается дальность транспортировки. В левом верхнем углу - минимальная себестоимость разработки и транспортировки грунта и указывается конкретные средства механизации, для которых и получены эти себестоимости. В середине клетки внизу указывается объём поставки, если она имеется. Предельная дальность возки из выемки (основной поставщик) в насыпь (основной потребитель) можно определить по расстоянию между центрами тяжести соответствующих массивов Lц массива + 50-70 м. (на неровность местности и развороты транспортных средств)

Центр тяжести массива находят как центр тяжести площади графика попикетных объёмов рассматриваемого массива.

Вычисление центра тяжести массива определяется по формуле:


Для данного графика согласно варианту получим:


Результаты подсчета заносятся в таблицу:

Таблица 1.

Связи

L ц масс., м.

ΔL, м.

L пр.в., м.

Средство механизации

Мин. Себестоимость, руб/м³

1 - 1’

591

70

661

Экс-р Э-1252

10

1 - 2’

399

70

469

Экс-р Э-1252

10

1 - 3’

1492

70

1562

Экс-р Э-1252

13

2 - 1’

1491

70

1561

Экс-р Э-1252

13

2 - 2’

500

70

570

Экс-р Э-1252

10

2 - 3’

592

70

662

Экс-р Э-1252

10

3 - 1’

2548

70

2618

Экс-р Э-1252

17

3 - 2’

1557

70

1627

Экс-р Э-1252

13

3 - 3’

465

70

535

Экс-р Э-1252

10


При поперечной возке осуществляется из резервов в насыпь или из выемки в кавальеры. Дальность возки грунта является функцией средней рабочей отметки, отсыпаемой частью насыпи и разрабатываемой выемки, т.е. L попереч.:


В курсовом проекте, зная Нср. можно сразу определить поперечную дальность возки по таблице 2 методических указаний часть 1., а именно:

 , где

m - 1,5;

b - ширина земляного полотна поверху (из задания = 7,6 м.);

V - объём земляного полотна на рассматриваемом массиве (м³);

l - длина массива (м).

Результаты подсчета поперечной дальности возки сводятся в таблицу:

Таблица 2.

Связи

V,м³

L, м

Нср., м.

Lпопереч., м.

Средство механизации

Мин. себестоимость, руб/м³.

1 - 4'

53927

400

7,28

175,6

скрепер прицепной ДЗ-79А (Q=15 м³)

18

2 - 5'

35562

600

4,24

114,8

скрепер прицепной ДЗ-79А

14

3 - 6'

59622

500

6,74

164,8

скрепер прицепной ДЗ-79А

17

4 -1’

39966

600

4,60

122

скрепер прицепной ДЗ-79А

14

5 -2’

20331

400

3,82

106,4

скрепер прицепной ДЗ-79А

14

6 - 3'

13524

500

2,41

78,2

скрепер прицепной ДЗ-79А

13

7 - 1'

39966

600

-

1000

Экс-р Э-1252

22

7 - 2'

20331

400

-

1000

Экс-р Э-1252

22

7 - 3’

13524

500

-

1000

Экс-р Э-1252

22

1 - 7’

53927

400

-

1000

Экс-р Э-1252

22

2 - 7'

35562

600

-

1000

Экс-р Э-1252

22

3 - 7'

59622

500

-

1000

Экс-р Э-1252

22

Фиктивные

7-4’




1000

Экс-р Э-1252

22

7-5’




1000

Экс-р Э-1252

22

7-6’




1000

Экс-р Э-1252

22

7-7’




1000

Экс-р Э-1252

22

Запрещенные

1-5’

53927

400

7,28

175,6

скрепер прицепной ДЗ-79А

18

1-6’

53927

400

7,28

175,6

скрепер прицепной ДЗ-79А

18

2-4’

35562

600

4,24

114,8

скрепер прицепной ДЗ-79А

14

2-6’

35562

600

4,24

114,8

скрепер прицепной ДЗ-79А

14

3-4’

59622

500

6,74

164,8

скрепер прицепной ДЗ-79А

17

3-5’

59622

500

6,74

164,8

скрепер прицепной ДЗ-79А

17

4-2’

20331

400

3,82

106,4

14

4-3’

13524

500

2,41

78,2

скрепер прицепной ДЗ-79А

13

5-1’

39966

600

4,60

122

скрепер прицепной ДЗ-79А

14

5-3’

13524

500

2,41

78,2

скрепер прицепной ДЗ-79А

13

6-1’

39966

600

4,60

122

скрепер прицепной ДЗ-79А

14

6-2’

20331

400

3,82

106,4

скрепер прицепной ДЗ-79А

14

4-4’




1000

Экс-р Э-1252

22

4-5’




1000

Экс-р Э-1252

22

4-6’




1000

Экс-р Э-1252

22

5-4’




1000

Экс-р Э-1252

22

5-5’




1000

Экс-р Э-1252

22

5-6’




1000

Экс-р Э-1252

22

6-4’




1000

Экс-р Э-1252

22

6-5’




1000

Экс-р Э-1252

22

6-6’




1000

Экс-р Э-1252

22

7-7’




1000

Экс-р Э-1252

22

5-7’




1000

Экс-р Э-1252

22

6-7’




1000

Экс-р Э-1252

22


Таким образом, на основании полученных данных составляем матрицу. Там, где перевозка грунта невозможна, в соответствующей клетке таблицы пишем ЗП. Следует предусмотреть формальную возможность вывоза излишнего грунта из резервов и карьеров и заполнения кавальеров и отвалов. Такие поставки называются фиктивными и в соответствующей клетке таблицы записывается - ФП.

Соответственно для запрещенной поставки проставляем заведомо большую цену перевозки (=1000), а для фиктивной при любом объёме фиктивно перевозимого грунта цена равна нулю.

1.4 Решение задачи о распределении земляных масс

По составленной матрице с помощью наименьших стоимостей представляется возможным составить вариант производства работ, близкий к оптимальному. Решение методом наименьших стоимостей заключается в следующем: отыскивается в начале из всей матрицы клетка с минимальной себестоимостью. С этой клетки и начинается заполнение соответствующих строк и столбцов.

Таблица 3. Расчетная матрица

потребители  поставщики

J

Основные

Резервные



1’

2’

3’

4’

5’

6’

7’


сотни м³

400

203

135

539

356

596

738

Основные

i

539

10 661 400

10 469 139

13 1562

18 175,6

1000 175,6 зп

1000 175,6 зп

22 1000


1










2

356

13 1561

10 570 64

10 662 135

1000 114,8 зп

14 114,8 157

1000 114,8 зп

22 1000


3

596

17 2618

13 1627

10 535

1000 164,8 зп

1000 164,8 зп

17 164,8 596

22 1000

Резервные

4

400

14 122

1000 106,4 зп

1000 78,2 зп

1000 зп

1000 зп

1000 зп

0 фп


5

203

1000 122 зп

14 106,4

1000 78,2 зп

1000 зп

1000 зп

1000 зп

0 фп


6

135

1000 122 зп

1000 106,4 зп

13 78,2

1000 зп

1000 зп

1000 зп

0 фп


7

738

22 1000

22 1000

22 1000

0 1000 фп

0 1000 фп

0 1000 фп

0 1000 фп


Определяем стоимость производства работ по этому варианту распределения земляных масс (функционал).

Функционал:

Ф=Р*С=400*10+139*10+64*10+135*10+157*14+596*17=19710

Затем решаем соответствующую матрицу на ЭВМ, используя программу разработки на кафедре строительного производства ПГУПС:


На рисунке составлен профиль, на котором отображен откорректированный вариант работ с разбивкой на отдельные характерные участки. Для каждого из участков необходимо определить комплект машин. При этом руководствуемся техническими указаниями ВСН-186-75 на технические условия по технологии производства земляных работ.


2. Детальная разработка принятого варианта


2.1 Определение состава комплекта машин и состава комплексной бригады


Составы комплекта машин определяются в соответствии с техническими указаниями по технологии сооружении земляного полотна (ВСН 186-75).

В качестве ведущих землеройных и землеройно-транспортных машин при выполнении работ по сооружению земляного полотна применяются экскаваторы с ковшами разной емкости (от 0,65 до 2,5 м³).

Скреперы: самоходные, с емкостью ковша от 8 до 10 м³; прицепные, с емкостью ковша - 8м³.

Бульдозеры мощностью до 400 кВт.

Помимо ведущих машин в каждый комплект входят вспомогательные машины и механизмы, предназначенные для рыхления, транспортировки, разравнивания и уплотнения грунтов, для содержания временных, построечных (землевозных) дорог, освещения, электропитательных механизмов и так далее.

Эти машины и механизмы, включенные в состав комплектов, должны обеспечивать бесперебойную работу ведущих машин по возведению ЗП при высоком качестве производства работ.

Экскаваторный комплект

Экскаватор с прямой лопатой наиболее часто применяют для разработки выемок и карьеров (грунты 1-4 группы) при сооружении ЗП железной дороги.

Прямая лопата разрабатывает грунт в забое выше уровня стоянки.

Экскаваторы обратная лопата и драглайны наиболее эффективно применять при разработке выемок и резервов с рабочей отметкой 3,5-5 м (грунты 1-3 групп).

Они разрабатывают грунт в забое ниже уровня стоянки.

Выбор экскаваторов зависит от объемов земляных работ (таблицы 1,2 методических указаний часть 1) и рабочих отметок выемок.

Для производства земляных работ на данных участках принимаем экскаватор Э - 1252 прямая лопата с емкостью ковша q =1 м³.

Для транспортировки грунта используются автосамосвалы, которые подбираются из расчета, чтобы в кузов входило 3-7 ковшей экскаватора.

 - число ковшей,

где              Qа/с - грузоподъемность автосамосвала, т.

γ - объемный вес грунта, 1,5-2 т/м³.

q - емкость ковша экскаватора.

Принимаем автосамосвал МАЗ-503Б

Qа/с =4*1,8*1=7,2

Количество автосамосвалов:

, где

, где

tп - время погрузки.

tгр.х - время грузового хода.

tр - время разгрузки (2 мин = 120 сек)

tх.х - время холостого хода.

tожид - время ожидания (3 мин = 180 сек)

tп = tп 1-го ковша *n;

tп = 1,5 мин

tгр.х = L-средняя длина возки / (Vгр.х.-скорость = 15..20 км/ч)

tх.х = L-средняя длина возки / (V.х.х.-скорость = 20..35 км/ч)

- 1’

Lв =661 м

tгр.х= 0,661/20=1,98 мин

tх.х=0,661/30=1,32 мин

Тц=1,5+3+2+1,98+1,32=9,8 мин

Nас=9,8/1,5=6,53=7 шт.

- 2’

Lв =469 м

tгр.х= 0,469/20=1,41 мин

tх.х=0,469/30=0,94 мин

Тц=1,5+3+2+1,41+0,94=8,85 мин

Nас=8,85/1,5=5,9=6 шт.

- 2’

Lв =570 м

tгр.х= 0,570/20=1,71 мин

tх.х=0,570/30=1,14 мин

Тц=1,5+3+2+1,71+1,14=9,35 мин

Nас=9,35/1,5=6,23=7 шт.

- 3’

Lв =535 мгр.х= 0,535/20=1,61 минх.х=0,535/30=1,07 мин

Тц=1,5+3+2+1,61+1,07=9,18 минас=9,18/1,5=6,12=7 шт.

- 5’

Lв =114,8 м

Nсп=2 шт (g=8-15 м³).

- 6’

Lв =164,8 м

Nсп=2 шт (g=8-15 м³).

Итого, подбираем 1 экскаваторный комплект и 1 комплект скрепера прицепного.

В экскаваторный комплект машин входит:

Ø  Экскаватор прямая лопата ЭО - 4121А ЭО-5111 Д (Э-10011Б) (q=1 м³) - 3 шт.

Ø  А/с- МАЗ-503Б 7 шт.*3=21 шт.

Ø  Бульдозер - 1 шт.

Ø  Автогрейдер - 1 шт.

Ø  Грунтоуплотняющая машина - 1 шт.

Ø  Передвижная электростанция мощностью 5,7 кВт - 1 шт.

Комплексная бригада экскаваторного комплекта машин:

·        Машинист экскаватора (6 разряд) - 3 чел.

·        Помощник машиниста экскаватора (5 разряд) - 3 чел.

·        Водитель автосамосвала - 21 чел.

·        Машинист бульдозера (6 разряд) - 1 чел.

·        Машинист автогрейдера (6 разряд) - 1 чел.

·        Машинист грунтоуплотняющей машины (5 разряд) - 1 чел.

·        Машинист передвижной электростанции (5 разряд) - 1 чел.

В скреперный комплект машин входит:

Ø  Скреперы прицепные ДЗ-23 (q=15 м³) - 8 шт.

Ø  Бульдозер на базе трактора С-100 - 4 шт

Ø  Рыхлитель прицепной на базе трактора С-100 - 1 шт.

Ø  Толкач на базе трактора Т-180 - 1 шт.

Ø  Грунтоуплотняющая машина - 1 шт.

Ø  Передвижная электростанция мощностью от 5 до 7 кВт - 1 шт.

Комплексная бригада скреперного комплекта машин:

·        Машинист скрепера (6 разряд) - 8 чел.

·        Тракторист (4 разряд) - 4 чел.

·        Помощник тракториста (2 разряд) - 1 чел.

·        Машинист бульдозера (6 разряд) - 1 чел.

·        Машинист автогрейдера (6 разряд) - 1 чел.

·        Машинист грунтоуплотняющей машины (5 разряд) - 1 чел.

·        Машинист передвижной электростанции (5 разряд) - 1 чел.

2.2 Определение продолжительности производства работ


Продолжительность производства работ для различных комплектов определяется по формуле:

, где

V - объем разрабатываемого грунта, м³.

Тк - календарное время производства работ (количество смен).

Пвед.м - производительность ведущей машины, м³/ч.

.7 - коэффициент перехода от календарных дней к рабочим.

tсм - продолжительность смены (8 часов).

В реальных условиях производительность определяется по ЕНиРу (сборник 2 земляные работы, Выпуск 1, «Механизированные и ручные земляные работы». Москва. Стройиздат 1979 г.), где учитываются конкретные условия работ.

В таблице ЕНиРа находят норму времени: Нвр на 100 м³ грунта.

Далее определяется производительность комплекта:

, (м³/час), где

N - число ведущих машин в комплекте.

Нвр - норма времени.

Производительность производства работ для экскаваторного комплекта:

Нвр на 100 м³ грунта равен 1,42 (q=1 м³)

ΣПв.м = 100 * 3 / 1,42 = 211,3 м³/ч.

1)        Возка 1 - 1’:

Тк = 40000/ (0,7 * 211,3 * 8) = 33 смен.

2)        Возка 1 - 2’:

Тк = 13900 / (0,7 * 211,3 * 8) = 11,5 смены.

3)        Возка 2 - 2’:

Тк = 6400/ (0,7 *211,3 * 8) = 5,3 смены.

4)        Возка 3 - 3’:

Тк = 13500/ (0,7 * 211,3 * 8) = 11,1 смен.

Производительность производства работ для скреперного комплекта:

) Возка 2-5’:

час/100м³

ΣПв.м = 100 * 8 / 1,848 = 432,9 м³/ч.

Тк = 29200 / (0,7 * 432,9 * 8.2) = 11,8 смен.

2) Возка 3-6’:

час/100м³

ΣПв.м = 100 * 8 / 2,348 = 340,7 м³/ч.

Тк = 46100 / (0,7 * 340,7 * 8.2) = 23,6 смен.

Расчет продолжительности производства работ приведен в таблице.

Таблица № 5

Пост.

Потр.

Цена за 1 м³

Перевоз. Объем, м³. Тип аш.

Принятая марка

Кол-во машин в компл.

Даль- ность возки,м

Произв -ть ведущ. аш., м³/ч

Срок производства работ, смен.

1

1'

10

40000 экскаватор

Э-10011Б q=1 м³

3

661

211,3

33

16,5дн. по 2 см

1

2'

10

13900 экскаватор

Э-10011Б q=1 м³

3

469

211,3

11,5

5,8 дн. по 2 см.

2

2'

10

6400 экскаватор

Э-10011Б q=1 м³

3

570

211,3

5,3

2,7 дн. по 2 см.

3

3'

10

13500 экскаватор

Э-10011Б q=1 м³

3

535

11,1

5,6 дн. по 2 см.

2

5'

14

29200 Скрепер прицепной

ДЗ-23 q=15 м³

6

114,8

432,9

11,8

5,9 дн. по 2 см.

3

6'

17

46100 Скрепер прицепной

ДЗ-23 q=15 м³

6

164,8

340,7

23,6

11,8 дн. по 2 см.











 

2.3 Составление календарного графика


На основании количества смен, подсчитанных в предыдущем пункте, в условиях курсового проекта строится календарный график производства работ.

Для каждого участка со своим комплектом машин.

При построении графика стремимся подкорректировать такое количество смен в день ведущих машин, чтобы разрыв в работе ведущих машин каждого участка не превышал 7 дней, а параллельные работы на всех участках заканчивались приблизительно одновременно, исходя из возможности реальных условий проведения максимального числа работ одновременно, учитывая основное требование:

Минимальные сроки производства работ.

В календарном графике работ необходимо учитывать следующие ограничения:

. Если предусмотрена в массиве продольная и поперечная возка грунта, то необходимо предусмотреть в графике сначала поперечную, а потом продольную возку.

. Если предусмотрено разработка выемки скреперным и экскаваторным комплектом, то необходимо сначала выполнить скреперные работы.

. Если по результатам распределения земляных масс оказалось целесообразно на границе насыпи и выемки выполнить работы бульдозером, то эта работа выполняется в первую очередь.

. Работы экскаватором желательно проводить в 2 - 3 смены, работы скрепером - в 1 - 2 смены, работы бульдозером - также в 1 - 2 смены.

Календарный график производства работ приводится на том же рисунке, на котором изображается откорректированный график работ с разбивкой на отдельные характерные участки.

2.4 Составление технологической карты на разработку выемки экскаватором прямая лопата

Эта работа осуществляется в два этапа:

1.  Проектирование экскаваторного забоя.

2.       Проектирование экскаваторных проходок.

Забой - это рабочее место экскаватора, включающее стоянку экскаватора, часть грунтового массива, разрабатываемого с данной стоянки, место стоянки автотранспорта.

Проходка - это сумма забоев при прохождении экскаватора вдоль одной оси, в одном ярусе от начала до конца выработки.

Последовательность проектирования производится следующим образом:

1.  Определяют необходимые геометрические характеристики выбранного экскаваторного забоя. Для этого производится расчет забоя, после чего этот забой вычерчивается на миллиметровке в масштабе (выемка глубиной 3-4 м - масштаб 1:100; более 6 м - 1:200). Затем на кальку, на картон и вырезаем шаблон экскаваторного забоя.

2.       Получив шаблон экскаваторного забоя, необходимо в этом же масштабе вычертить поперечное сечение выемки заданного участка с максимальными отметками.

массив экскаватор земляной механизация



где             b - ширина разрабатываемой выемки по низу в глинистых грунтах;

bo - ширина основной площадки земляного полотна (bo = 7,6 м);

bk - ширина кювета поверху (bk = 2,2 м);

Lb - ширина разрабатываемой выемки поверху;

m - крутизна откоса (m = 1,5);

Н - рабочая отметка (Н = 9,93 м).

Проектирование поперечников начинается с проектирования первой или пионерной проходки траншеи шириной не менее 4 м. Она нужна для того, чтобы организовать езду автосамосвалов. При глубине пионерной траншеи 1 - 1,5 м её можно с успехом проложить с помощью бульдозера или скрепера.

Для правильного проектирования экскаваторных проходок необходимо придерживаться следующих требований:

ü Число проходок должно быть по возможности минимальным;

ü  Процент недобора грунта 8 - 10% от общей площади сечения выемки;

ü  Пионерная траншея находится в любом месте по ширине выемки;

ü  Нижняя отметка выемки не доводится до проектной на 35 см (20 см - недобор грунта; 15 см - высота сливной призмы).

.5 Проектирование экскаваторного забоя

Чтобы запроектировать забой нужно знать характеристики экскаваторов.

Параметры и технические характеристики при работе экскаваторов прямая лопата (таблицы 2 и 6 Методических указаний часть 1).

Таблица 6

Показатели

Э-10011Б (q = 1 м³), м.

Hkk - высота по крышку кабины Rxч - радиус поворота хвостовой части Вп - ширина поворотной платформы Rmax - наибольший радиус копания Rb - радиус выгрузки при наибольшей высоте выгрузки Rcm - радиус резания на уровне стоянки экскаватора, наименьший Hb - наибольшая высота выгрузки H3 - наибольшая высота резания Ho - нормальная высота забоя на уровне напорного вала Hmin - минимальная высота забоя lp - длина рукоятки экскаватора lc - длина стрелы Шгл - ширина гусеничной ленты Шгх - ширина гусеничного хода qгх - длина гусеничного хода hm - погрузочная высота автосамосвала bm - ширина автосамосвала l - длина автосамосвала

3,4 3,5 3,09 9,2 7,4 4,8 6,0 8,2 4,5 1,15 4,9 6,2 0,6 3 4 2,15 2,7 6,56


Боковой забой.



где    В - расстояние от оси стоянки экскаватора до верхней кромки забоя.

Вn - расстояние от оси стоянки экскаватора до бровки погрузочного пути.


где    Rпр - практический радиус копания.

Rпр = 0,9Rmax

lп - длина передвижки экскаватора.

lп = 0,75lp

- запас из условия необрушения откоса яруса.

Наименьшая ширина бокового забоя:


где    В1 - расстояние от оси стоянки экскаватора до подошвы откоса забоя. В курсовом проекте для двухъярусного бокового забоя можно принимать В1 ≈ Rcm или В1 = 4,8 м.

В2 - расстояние от оси стоянки экскаватора до нижней кромки откоса яруса.


где hя - высота яруса (превышение уровня погрузочного пути над уровнем стоянки экскаватора).


где 0,5 м - запас высоты над бортом автосамосвала, учитывающий неровности пути и возможность погрузки грунта «с шапкой».

В2 = 5,05 - 3,35 = 1,70 м.

Bmin = 4,8 + 1,7 = 6,5 м.

Лобовой забой.

Проектирование поперечного и продольного профилей экскаваторных проходок

Основная цель проектирования заключается в размещении проходок на поперечных сечениях и продольном профиле заданного участка выемки.

Для этого на продольном профиле выемки намечают одно - два сечения в наиболее характерных местах, а затем в масштабе, одинаковом с тем, в котором сделан шаблон забоя, вычерчиваются указанные поперечные сечения выемки. Накладывается построенный шаблон забоя на поперечный профиль выемки, намечаются различные варианты размещения проходок.

При этом с точки зрения технологии производства работ, вскрытие выемки целесообразно начинать с устройства первой или пионерной лобовой проходки траншеи, которая в дальнейшем используется как временный путь для движения автосамосвалов или другого вида транспорта. Поэтому её ширина по низу должна быть не менее 4 м. Глубина пионерной траншеи hnm зависит от соотношения глубины выемки HB и высоты яруса hя, определяемого как

где n - расчетное число ярусов.

hn= Hв -n*hя-0,35=1,05 м

При n, равном целому числу пионерная траншея фактически становится первой лобовой проходкой, разрабатываемой в соответствии с имеющим шаблоном экскаваторного забоя.

Пионерные траншеи глубиной до 1-1,5 м целесообразно разрабатывать бульдозером или скрепером. Эти же машины рекомендуется использовать и для разработки участков выемки от нулевой отметки до глубины 2 м, так как применять экскаватор в подобных местах неэффективно.

Проектирование продольного профиля экскаваторных проходок начинается с разбивки массива выемки на ярусы с учетом рельефа местности и вида грунта. Так, если выемка имеет пологие продольные склоны и уклон проектной линии более 0,003, то целесообразно разбивать её на ярусы, расположенные параллельно проектной линии. При этом подошва нижнего яруса должна располагаться с некоторым превышением ΔН над проектной линией, учитывающей высоту сливной призмы с минимальным запасом на планировочные работы.

В случае, когда выемка имеет крутые склоны, исключающие движение по ней экскаватора и транспортных средств, более эффективной оказывается разбивка её лучевыми или веерообразными проходками, направленными под углом к проектной линии. При этом крутизна уклонов для передвижения экскаватора и транспорта не должна превышать 17 - 24о.

Длинные выемки с большими рабочими отметками могут разрабатываться одновременно с двух концов. В подобных случаях наиболее целесообразной оказывается разбивка на ярусы ломанного профиля, состоящие из двух концевых участков веерообразного профиля и центрального участка с параллельными ярусами.

Как видно из рис.7 план выемки с размещенными на ней проходками фактически представляет из себя третью проекцию, построенную по известным двум другим. При этом все проходки пронумерованы с учетом последовательности их разработки, а недобор грунта определяется заштрихованными треугольниками на поперечном сечении выемки.

3. Технология производства подготовительных работ на заданном участке

Объём работ по сооружению земляного полотна составляет почти 90% от полного объёма земляных работ по постройке железной дороги. Работы по сооружению земляного полотна разделяются на подготовительные, основные, планировочно-отделочные и укрепительные.

Для данного проекта на стадии подготовительных работ выполняется:

восстановление и закрепление на местности трассы, границ полосы отвода (контрольно-разбивочные работы), заключается в обозначении на местности разбивочными знаками (забивкой кольев и пропашкой борозд) местоположения осей и точек, определяющих границы элементов земляного полотна в плане и профиле. Разбивка производится до начала земляных работ и в течение всего периода сооружения земляного полотна. после восстановления трассы земляное полотно разбивается на пикетах и плюсах, но не реже, чем через 50 м на прямых участках и через 20 м на кривых участках пути.

разбивка земляных сооружений (насыпей и выемок), заключается в определении точек пересечения откосов с поверхностью земли, то есть в отмеривании на местности ширины насыпей понизу и выемок поверху. Расстояния от оси пути до подошвы откоса насыпи или до бровки выемки берутся из проектных поперечных профилей или вычисляются исходя из рабочей отметки и крутизны откосов.

подготовка оснований под насыпи. На ровной поверхности, если крутизна поперечного уклона не превышает 1:10, насыпи отсыпаются непосредственно на естественную поверхность. Основания под насыпи, возводимые на местности с поперечным уклоном от 1:10 до 1:5, очищаются от дерна, а при большей крутизне - вспахиваются. Дерн срезается на нулевых местах, насыпях высотой до 0,5 м, на косогорных участках насыпей высотой до 1 м. На косогорах крутизной от 1:5 до 1:3 для придания устойчивости в основании насыпи устраиваются уступы (штрабы) шириной от 1 до 4 м с разрывом 0,5 м. Для отвода дождевой воды уступам придается уклон 0,01 - 0,02 в направлении падения склона. Срезка растительного слоя (дерна) и устройство уступов выполняется бульдозерами. Основания, подготовленные для возведения насыпей, подвергаются техническому освидетельствованию и принимаются с составлением акта об их соответствии требованиям проекта, качеству и объёму выполненных работ.

удаление с полосы отвода леса, кустарника, пней, крупных камней.

устройство землевозных дорог. Их расположение выбирается в зависимости от распределения техники.

На этом подготовительные работы по сооружению земляного полотна заканчиваются. На данном участке осушение земляного полотна не требуется.

4. Техника безопасности

При выполнении земляных работ соблюдается правила техники безопасности, изложенные в СНиП III - 4 - 80 (техника безопасности в строительстве).

Разработку выемок необходимо производить с откосами предусмотренными СНиП. Бровки выемок должны быть свободны как от статических, так и от динамических нагрузок.

Движущиеся по отсыпанной насыпи транспортные и землеройные машины не должны приближаться к бровке ближе, чем на 0,5 м. При работе в ночное время рабочие места должны быть освещены, а землеройные, транспортные и землеройно-транспортные машины должны иметь индивидуальное освещение.

4.1 При работе с экскаватором

При разработке грунта экскаватором рабочим запрещается находиться под ковшом или стрелой и производить работы со стороны забоя. Экскаватор может перемещаться только по ровной поверхности, а при слабых грунтах по настилу из шпал или счетов. Во время перерывов в работе ковш экскаватора должен быть опущен на землю. После окончания работы машинист обязан прочно установить ковш, затормозить экскаватор.

4.2 При работе со скрепером

При работе на насыпи гусеницы трактора и колеса машины должны быть не ближе 1 м от края насыпи.

Во время движения скрепера запрещается устранять неисправности машины, регулировать и смазывать ее.

Скрепер запрещается использовать при разработке глинистых грунтов в дождливую погоду, при движении на подъем свыше 20° и при спуске свыше 30, при поперечном уклоне местности превышающем 12°.

Машинист скрепера не должен делать резких поворотов агрегата, особенно на косогорах, что зачастую приводит к сползанию трактора.

4.3 При работе с бульдозером

При работе бульдозера запрещается во избежание поломки или опрокидывания машины поворачивать его загруженным или заглубленным в грунт отвалом. Около мест подземных сооружений разрешается работать только в присутствии мастера или производителя работ.

При продольном движении по свеженасыпанному грунту не разрешается приближаться к бровке насыпи ближе, чем на 1 м во избежание сползания бульдозера под откос.

Запрещается перемещать бульдозером грунт на подъем более 15° и под уклон более 30°, а также выдвигать отвал за бровку откоса выемки при сталкивании грунта под откос.

4.4 Транспортные работы

При работе автосамосвалов не допускается движение машин с поднятым кузовом. Запрещается движение заднем ходом к месту загрузки на расстоянии более 5 м. Нельзя оставлять автосамосвалы на уклонах или подъемах.

Запрещена загрузка, превышающая установленную грузоподъемность, а также одностороння или сверхгабаритная загрузка.

При выгрузке грунта из самосвала на насыпь расстояние от оси заднего колеса до бровки естественного откоса отсыпаемого грунта должно быть не менее 2 м.

5. Контроль качества производства работ

Качество земляных сооружений проверяют систематически в процессе устройства, а так же перед сдачей их по назначению.

В процессе производства работ проверяют правильность разбивочных осей, контролируют высоту насыпи и глубину выемки, размеры в плане, соблюдения откосов, предохранение выемки (насыпи) от переувлажнения, пересыхания, размыва ливневыми или талыми водами и тому подобное.

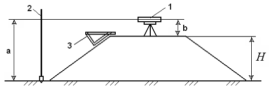
Высоту отсыпаемой насыпи контролируют с помощью нивелира и рейки, а откосы с помощью наугольника - шаблона.















Условные обозначения:

1 - нивелир;

- рейка;

- откосник.

После завершения работ составляют исполнительные рабочие чертежи, подтверждающие соответствие выемки (насыпи) техническим условиям и проектным требованиям. К чертежам прилагают акты лабораторных испытаний грунтов на прочность влажность, допустимую нагрузку и другие документы, подтверждающие возможность использования земляного сооружения по назначению.

В последние время получили распространение полевые методы исследования грунтов, основанные на исследовании проникающих излучений радиоактивных волн.

Список использованной литературы

1. С.П. Першин и др. «Железнодорожное строительство. Технология и механизация». Москва. «Транспорт» 1982.

2.       Ю.А. Верженский, А. И. Кистанов. «Проектирование производства земляных работ», часть 1. МУ. 2000.

.        Ю.А. Верженский, А. И. Кистанов. «Проектирование производства земляных работ», часть 2. МУ. 2004.

.        Ю.А. Верженский, М.С. Ватутина. «Проектирование производства земляных работ с использованием ПК», МУ. 2010.

.        ЕНиР «На строительные, монтажные и ремонтно-строительные работы», сборник 2 «Земляные работы», выпуск 1 «Механизированные и ручные земляные работы». Москва «Стройиздат». 1979.

Похожие работы на - Проектирование производства земляных работ

 

Не нашли материал для своей работы?
Поможем написать уникальную работу
Без плагиата!
Без нейросетей!