Техническая эксплуатация автомобилей

  • Вид работы:
    Контрольная работа
  • Предмет:
    Транспорт, грузоперевозки
  • Язык:
    Русский
    ,
    Формат файла:
    MS Word
    392,35 Кб
  • Опубликовано:
    2012-07-22
Вы можете узнать стоимость помощи в написании студенческой работы.
Помощь в написании работы, которую точно примут!

Техническая эксплуатация автомобилей











Контрольная работа

по дисциплине

"Пневматические и гидравлические системы автомобилей"

на тему:

"Техническая эксплуатация автомобилей"


Введение


Знания, полученные при изучении основ гидравлики, могут быть использованы для расчета и проектирования разнообразных гидротехнических сооружений (плотин, каналов, водосливов, трубопроводов для подачи всевозможных жидкостей), гидромашин (насосов, гидротурбин, гидропередач), а также других гидравлических устройств, применяемых во многих областях техники. Особенно велико значение гидравлики в машиностроении, где в основном используются гидросистемы двух типов:

гидросистемы для подачи жидкости;

гидравлические приводы.

Для гидросистем обеспечивающих подачу жидкости к потребителям, характерно отсутствие устройств, преобразующих энергию жидкости в механическую работу.

К таким гидросистемам относятся: системы водоснабжения и водяного теплоснабжения зданий, системы жидкостного охлаждения и смазывания различных машин, а также системы подачи смазочно-охлаждающих жидкостей металлорежущих станков и другие.

Гидравлическим приводом называется совокупность устройств, предназначенных для передачи механической энергии и преобразования движения посредством рабочей жидкости.

Гидроприводы и средства гидроавтоматики позволяют решить целый ряд задач, связанных с механизацией и автоматизацией трудоемких производств.

Широко используется гидропривод в сельскохозяйственных, строительных, дорожных, коммунальных машинах и на транспорте. Здесь применение гидропривода обусловлено простотой и удобством управления, возможностью применения стандартных узлов и элементов, бесступенчатым регулированием в большом диапазоне скоростей, независимым расположением узлов привода, надежным предохранением привода от перегрузок, простотой реверсирования и преобразования вида движения исполнительных механизмов.

В станкостроении гидропривод применяется в большинстве автоматических линий и копировальных станках. Применение гидропривода в агрегатных станках и автоматических линиях обусловлено его относительно высокой надежностью, высоким быстродействием, широким диапазоном и простотой регулирования скоростей и усилий, простотой логических схем систем управления и т.д.

В последнее время нашел широкое применение гидропривод и в новой области техники - в мощных манипуляторах и роботах, которые позволяют полностью автоматизировать основные и вспомогательные технологические и производственные процессы.

1. Местные сопротивления. Эквивалентная длина

Трубопроводы, по которым течет жидкость, часто имеют в своем составе всевозможные сужения, расширения, повороты и дросселирующие устройства, называемые местными гидравлическими сопротивлениями.

К местным сопротивлениям относят короткие участки труб (каналов), в которых происходит изменение скоростей движения жидкости по величине и направлению. Простейшие местные сопротивления можно условно разделить на сопротивления, вызванные изменением сечения потока (расширение, сужение), и сопротивления, связанные с изменением направления движения жидкости. Но большинство местных сопротивлений являются комбинациями указанных случаев, так как поворот потока может привести к изменению его сечения, а расширение (сужение) потока - к отклонению от прямолинейного движения жидкости. Кроме того, различная гидравлическая арматура (краны, вентили, клапаны и т.д.) практически всегда является комбинацией простейших местных сопротивлений. К местным сопротивлениям также относят участки трубопроводов с разделением или слиянием потоков жидкости.

Необходимо иметь в виду, что местные гидравлические сопротивления оказывают существенное влияние на работу гидросистем с турбулентными потоками жидкости. В гидросистемах с ламинарными потоками в большинстве случаев эти потери напора малы по сравнению с потерями на трение в трубах.

Несмотря на многообразие местных сопротивлений, в большинстве из них изменение скоростей движения приводит к возникновению вихрей, которые для своего вращения используют энергию потока жидкости. Таким образом, основной причиной гидравлических потерь напора в большинстве местных сопротивлений является вихреобразование. Практика показывает, что эти потери пропорциональны квадрату скорости жидкости, и для их определения используется формула Вейсбаха.


При вычислении потерь напора по формуле Вейсбаха наибольшей трудностью является определение безразмерного коэффициента местного сопротивления ζ. Из-за сложности процессов, происходящих в местных гидравлических сопротивлениях, теоретически найти ζ удается только в отдельных случаях, поэтому большинство значений этого коэффициента получено в результате экспериментальных исследований.

Существует два способа расчета потерь давления на местные сопротивления: прямой и способ эквивалентов.

Для местных сопротивлений с линейным законом сопротивления (или с законом, близким к линейному) часто применяют метод эквивалентной длины.

Эквивалентной длиной называются участок прямого трубопровода того же, диаметра, что и местное сопротивление, потери напора на котором равны потерям напора в местном сопротивлении.

Сущность этого метода заключается в том, что для местного сопротивления задаются эквивалентная длина и условный диаметр (или условная площадь сечения). Причем их значения выбираются такими, что потери напора в условном трубопроводе равны потерям в данном гидравлическом сопротивлении. В результате такой замены все местные сопротивления в системе устраняются. Тогда определение потерь в этом местном сопротивлении проводят по расчетным зависимостям для трубопровода.

К таким сопротивлениям относят большинство фильтров, а также линейные дроссели и некоторые жиклеры.

Значение эквивалентных длин для каждого значения ζ берется из таблиц соответствующих справочников.

2. Основы теории подобия лопастных насосов

Насос представляет собой энергетическую машину, в которой механическая энергия привода преобразуется в гидравлическую энергию жидкости. Чаще всего насосы используют для подъема и перемещения жидкости.

Насосы, в которых преобразование энергии основано на силовом взаимодействии лопастной системы и перекачиваемой жидкости, называются лопастными. В зависимости от характера силового взаимодействия и направления потока лопастные насосы разделяют на центробежные и осевые.

Как центробежный, так и осевой насосы состоят из корпуса и вращающегося в нем лопастного колеса. При вращении колеса в потоке жидкости возникает разность давлений по обе стороны каждой лопасти и, следовательно, силовое взаимодействие потока с лопастным колесом. Приращение энергии потока жидкости в лопастном колесе зависит от скорости потока, частоты вращения колеса, его размеров и формы лопасти. Рабочие процессы во всех лопастных насосах однотипны, и математические зависимости, характеризующие их работу, одинаковы. Наибольшее распространение в машиностроении нашли центробежные насосы.

Процессы течения жидкости в центробежных и других лопастных насосах описываются достаточно сложными математическими зависимостями. Это весьма затрудняет их использование при проведении расчетов машиностроительных гидросистем и не позволяет получать результаты с достаточной точностью. Поэтому при проектировании гидросистем с лопастными насосами широко используют методы математического моделирования, т.е. расчет конкретного насоса ведут с учетом известных параметров другого насоса, подобного первому. Наиболее сложной проблемой при математическом моделировании является выбор критерия подобия насосов.

Для обеспечения полного гидродинамического подобия двух потоков необходимы три частных подобия: геометрическое, кинематическое и динамическое.

Как показала практика, геометрическое подобие определяется, в первую очередь, двумя геометрическими параметрами: диаметром рабочего колеса D и толщиной потока на выходе колеса b2 (рисунок 1). Тогда для геометрически подобных насосов I и II должно выполняться равенство

 (1)

Рисунок 1. - Схема центробежного насоса: 1 - всасывающий патрубок; 2 - входное отверстие рабочего колеса; 3 - вал; 4 - рабочее колесо; 5 - напорный патрубок; 6 - лопатка; 7 - спиральный отвод

Кинематическое подобие определяется, главным образом, подобием векторов скоростей на выходе рабочего колеса. Тогда для выполнения кинематического подобия двух насосов I и II необходимо обеспечить пропорциональность трех скоростей v2R, v2U и U2:

 (2)

Для динамического подобия двух потоков необходимо обеспечить равенство чисел Рейнольдса Re. Но следует учитывать, что лопастные насосы работают при турбулентном течении в области автомодельности (при больших числах Re), когда для обеспечения полного подобия потоков достаточно наличия геометрического и кинематического подобий.

Подчеркнем одно важное следствие, вытекающее из подобия насосов. На подобных режимах работы двух насосов соблюдается пропорциональность между полезными напорами, потерями напора, подачами жидкости и утечками через зазоры. Поэтому на подобных режимах работы объемные и гидравлические КПД таких насосов одинаковы, а поскольку, как показывает практика, их механические КПД меняются незначительно, то можно считать одинаковыми и полные КПД насосов.

Использование для оценки подобия насосов достаточно сложных условий (1) и (2) крайне неудобно при проведении практических расчетов. Поэтому эти условия целесообразно упростить, исключив из них внутренние скорости v2R, v2U и U2, характеризующие течение жидкости через насос, а также размер b2. Разумно, чтобы условия подобия были связаны с основными эксплуатационными параметрами насосов: напором Н, подачей Q и частотой вращения п, а также с основным геометрическим параметром - диаметром рабочего колеса насоса D.

Используя для определения расходов двух подобных насосов формулу с учетом зависимости (1) после математических преобразований получим отношение расходов для двух подобных насосов:

   (3)

Аналогичным образом найдем отношение напоров для двух подобных насосов. Для этого в качестве исходной формулы примем формулу:

 

При переходе от теоретического напора Hт к действительному H используем формулу:

.

Тогда с учетом (2) и равенства гидравлических КПД на подобных режимах после математических преобразований получим

    (4)

Из зависимостей (3) и (4) можно получить отношение для полезных мощностей подобных насосов, работающих на одной и той же жидкости. Так как полезная мощность насоса определяется по формуле то с учетом (3) и (4) получим

    (5)

Формулы (3)… (5) позволяют по параметрам одного насоса рассчитывать параметры другого подобного насоса.

Следует отметить, что эти формулы справедливы не только для насосов, но могут быть использованы и для расчета лопастных гидродвигателей.

Из зависимостей (3), (4) может быть получен критерий для оценки подобия лопастных насосов. В качестве такого критерия используется величина, которая получила название коэффициента быстроходности:

        (6)

Коэффициент быстроходности  вычисляют по формуле (6) при оптимальном режиме работы насоса, т.е. при максимальном значении КПД. Следует иметь в виду, что он является размерной величиной, но на практике этот коэффициент принято считать условно безразмерным и его размерность обычно не указывается. При вычислении коэффициента быстроходности  параметры в формулу (6) подставляют в следующих единицах измерения:

частота вращения рабочего колеса п, об/мин;

подача насоса Q, м3/с;

напор насоса Н, м.

Таким образом, используя коэффициент быстроходности, можно оценить подобие насосов, т.е. если два насоса имеют одинаковые или близкие значения, то они подобны.

3. Классификация автомобильных гидротрансформаторов


3.1 Общие сведения о гидродинамических передачах

автомобиль гидравлический вейсбах гидротрансформатор

Гидропередача - это устройство для передачи механической энергии посредством потока жидкости. В состав гидропередачи входят насос, гидравлический двигатель и соединительные трубопроводы с рабочей жидкостью. Гидропередачи, использующие динамические гидромашины, называются гидродинамическими.

В гидродинамических передачах применяют лопастные насосы и в качестве гидравлического двигателя - лопастную турбину. Указанные машины предельно сближают и располагают соосно в общем корпусе, а так как они имеют общий корпус, то в дальнейшем насос будем называть насосным колесом, а турбину - турбинным колесом. В такой конструкции отсутствуют трубопроводы, поэтому жидкость из насосного колеса сразу попадает на турбинное колесо, а из турбинного - вновь на насосное колесо.

Гидродинамические передачи, применяемые в машиностроении, подразделяют на гидравлические муфты (гидромуфты) и гидравлические трансформаторы (гидротрансформаторы).

Гидравлические муфты, состоящие из насосного и турбинного колес, служат для передачи энергии без изменения вращающего момента, т.е. вращающие моменты на входном и выходном валах гидромуфты практически одинаковы.

Гидравлические трансформаторы, кроме насосного и турбинного колес, имеют хотя бы одно дополнительное колесо. Оно на большинстве режимов работы неподвижно, т.е. является неактивным (реактивным), поэтому его принято называть реактором.

Включение в состав гидротрансформатора реактора позволяет ему изменять (трансформировать) передаваемый вращающий момент.

Таким образом, вращающие моменты на входном и выходном валах гидротрансформатора на большинстве режимов работы различны.

3.2 Классификация гидротрансформаторов


Каждому типу соответствуют свои особенности построения лопастной системы и форма характеристики, определяемые назначением, которое должны выполнять гидротрансформаторы в трансмиссиях машин.

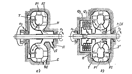
К первому типу отнесем гидротрансформаторы разгонного типа, предназначенные для значительного преобразования момента. Гидротрансформаторы этого типа (рис. 2.) применяются в системах с сильно изменяющимся моментом сопротивления и с часто повторяющимися процессами разгона (маневровые тепловозы, строительные, дорожные, подъемно-транспортные машины). Их характерный признаком является применение турбинных колес центробежного типа (Т на рис. 2, а).

Рисунок. 2. Схемы разгонных отключаемых гидротрансформаторов

Следовательно, применение центробежных турбинных колес позволяет расширить зону высоких КПД.

Ко второму основному типу отнесем комплексные гидротрансформаторы (см. рис. 3.). Они широко применяются для автомобилей, автобусов и других транспортных средств с длительными пробегами, которые нуждаются в гидродинамических передачах, способных работать с высоким КПД в широком диапазоне передаточных отношений.

Рисунок. 3. Схема гидротрансформатора

Отличительной особенностью комплексных гидротрансформаторов является замыкание реактора на корпус через муфту свободного хода (МСХ на рис. 3), способную передавать момент только в одном направлении.

После основного режима и смены направления действия момента реактор теряет опору на корпус и начинает свободно вращаться в потоке, практически не воздействуя на него. Гидротрансформатор превращается в гидромуфту.

Для комплексных гидротрансформаторов типично симметричное размещение колес и применение центростремительных турбинных колес. Это необходимо для уменьшения габаритных размеров и получения удовлетворительной характеристики в зоне гидромуфты.




Заключение


Раздел механики, в котором изучают равновесие и движение жидкости, а также силовое взаимодействие между жидкостью и обтекаемыми ею телами или ограничивающими ее поверхностями, называется гидромеханикой.

Гидравлика дает методы расчета и проектирования разнообразных гидротехнических сооружений (плотин, каналов, водосливов, трубопроводов для подачи всевозможных жидкостей), гидромашин (насосов, гидротурбин, гидропередач), а также других гидравлических устройств, применяемых во многих областях техники.

Особенно велико значение гидравлики в машиностроении, где широко используют различные гидроагрегаты в качестве систем жидкостного охлаждения, топливоподачи, смазочных и др.

На различных современных машинах все более широкое применение находят гидропередачи (гидроприводы) в гидроавтоматика.

Все это требует дальнейшего развития исследовательских, проектно-конструкторских и технологических работ в отрасли гидравлических систем.


Литература

1. Башта, Т.М. Гидравлика, гидромашины и гидроприводы /Т.М. Башта [и др.]. - М.: Машиностроение, 1982.

. Лепешкин, А.В. Гидравлические и пневматические системы/А.В. Лепешкин, А.А. Михайлин; под ред. проф. Ю.А. Беленкова. - 4-е изд. стер. - М.: Изд. центр «Академия», 2007.

. Башта, Т.М. Гидропривод и гидропневмоавтоматика /Т.М. Башта. - М.: Машиностроение, 1972.

Похожие работы на - Техническая эксплуатация автомобилей

 

Не нашли материал для своей работы?
Поможем написать уникальную работу
Без плагиата!
Без нейросетей!