Анализ деятельности автотранспортного предприятия

  • Вид работы:
    Курсовая работа (т)
  • Предмет:
    Транспорт, грузоперевозки
  • Язык:
    Русский
    ,
    Формат файла:
    MS Word
    274,02 Кб
  • Опубликовано:
    2012-03-28
Вы можете узнать стоимость помощи в написании студенческой работы.
Помощь в написании работы, которую точно примут!

Анализ деятельности автотранспортного предприятия

1. Организационно-технологический раздел

.1 Определение производственной программы проекта

Режим работы автотранспортного предприятия обычно характеризуется количеством смен работы, длительностью смены и равномерностью загрузки предприятия в течение года. Рабочий режим должен соответствовать КЗОТ (кодекс законов о трудовом законодательстве) Российской Федерации.

Политическое устройство России согласно конституции запрещает выходить в рабочем режиме за рамки международного трудового права, где рабочая сила является товаром, но бесправие в использовании рабочей силы запрещено законом.

На автомобильном транспортном предприятии целесообразно установить односменную рабочую неделю с двумя выходными: субботой и воскресеньем.

Номинальный годовой фонд рабочего времени определяется по формуле:

Фн = (Дк - (Дс + Дв + Дпп + Дп))*tсм + Дпп * tсм пп, (1.1)

где Дк - количество календарных дней в году. Дк =366 дней;

Дс - количество суббот по календарю в год. Дс = 52 дня;

Дв - количество воскресений по календарю в год. Дв = 53 дня;

Дпп - количество предпраздничных дней в году. Дпп =5 дней;

Дп - количество праздничных дней в году. Дп =12 дней;см - продолжительность смены, tсм = 8 час;см пп - продолжительность смены в предпраздничный день, tсм = 7 час.

Фн = (365 - (52 + 52 + 5 + 12))*8 + 5*7=1987 (час)

Действительный годовой фонд времени рабочего определяется по формуле:

Фд = ((Дк - (Дс + Дв + Дпп + Дп + До))*tсм+ Дпп * tсм пп) *β, (1.2)

где До - длительность отпуска 28-30 дней. Принимаю До = 28 дней;

β - коэффициент, учитывающий потери рабочего времени по уважительной причине β = 0,96 - 0,98. Принимаю β = 0,97.

Фд = ((366 - (52 + 53 + 5 + 12 + 28))*8 + 5*7)*0,97= 1710,11 (час)

Годовой фонд времени поста определяется по формуле:

Фп = ((Дк - (Дс + Дв + Дпп + Дп))*tсм + Дпп * tсм пп)* Р* i,(1.3)

где Р - количество человек одновременно работающих на посту. Принимаю Р = 1;- число смен на предприятии, i = 1.

Фп = ((365 - (52 + 52 + 5 + 12))*8 +5*7)*1*1 = 1987 (час)

Исходные данные сводим в таблицу 2.1

Таблица 1.1 - Исходные данные для технологического расчета

Подвижной состав

Аи ед.

 км

Тн, час.

Драб. дн.

К.У.Э.

Климат, район

 «ГАЗ» «ЗИЛ»

310

200

8

249

3

Умеренный


Аи - списочное количество подвижного состава, ед.;

- среднесуточный пробег единицы подвижного состава, км;

Тн - время в наряде, час;

Драб - число дней работы подвижного состава, дн.

Драб = Дк - (Дс + Дв + Дп) = 366 - (52 + 53 +12) = 249;(1.4)

К.У.Э. - категория условий эксплуатации.

Корректировка нормативов пробега до КР и периодичности ТО.

Прежде чем приступить к расчету количества обслуживании данного парка автомобилей, необходимо определить величины пробегов между ними по действующему положению. Так как величины пробегов в положении даются для предприятий, находящихся в центральной климатической зоне, эксплуатирующих автомобили базовой модели и в первой категории условий эксплуатации, то нормативы пробегов ТО, ТР, КР следует скорректировать по формулам:

 (1.5)  (1.6)

- нормативная периодичность ТО-1 и ТО-2 легковых автомобилей, км (см./1/ стр.14 таблица 2.1); - нормативная периодичность КР, км (см./1/ стр.19 таблица 2.3);

К1 - коэффициент корректирования нормативов в зависимости от категории условий эксплуатации III, К1 = 0,8 (см./1/ стр.26 таблица 2.8);

К2 - коэффициент корректирования нормативов в зависимости от модификации подвижного состава и организации его работы,

базовый автомобиль К2 =1,0 (см./1/ стр.27 таблица 2.9);

К3 - коэффициент корректирования нормативов в зависимости от природно-климатических условий, умеренно теплый К3 =1,0 (см./1/ стр.27 таблица 2.10);ТО-1 = 3000*0,8*1,0 = 2400 (км.);ТО-2 =12000*0,8*1,0 = 9600 (км.);К = 300000*0,8*1,0*1,0 = 240000 (км.)

Исходные данные пробегов, коэффициенты и результаты корректирования нормативов сводятся в таблицу 1.2

Таблица 1.2 - Нормативы пробега до КР и периодичности ТО

Подвижной состав

Нормативная периодичность, км.

Коэффициенты корректирования.

Скорректированная периодичность, км.


«ГАЗ» «ЗИЛ»

3000

12000

300000

0,8

1,0

1,0

2400

9600

240000


Расчет коэффициента технической готовности.

Если для подвижного состава предусматривается выполнение КР, то расчетный коэффициент технической готовности определяется по формуле:

, (1.7)

где - среднесуточный пробег единицы подвижного состава, = 200 км (см. таблицу 1.1);

 - продолжительность простоя подвижного состава в ТО и ТР на АТП, в днях на 1000 км (см./1/ стр.24 таблица 2.6). Для грузовых автомобилей  = (0,40 - 0,50) дней, принимаем = 0,45 дня;

К2 - коэффициент корректирования нормативов в зависимости от модификации подвижного состава и организации его работы

К2 = 1,0 (см. таблицу 1.2);

Дк - продолжительность простоя подвижного состава в КР, в днях на 1000 км (см./1/ стр.24 таблица 2.6). Для грузовых автомобилей Дк = 15 дней;

 - скорректированный пробег КР, = 240000 км (см. таблица 1.2).

Годовой пробег единицы подвижного состава определяется по формуле:

, (1.8)

где Драб - число дней работы подвижного состава, Драб = 249 дней (см. таблица 1.1);

 - среднесуточный пробег единицы подвижного состава, = 200 км (см. таблицу 1.1);

 - коэффициент технической готовности, = 0,9.Г = 249*200*0,9 = 44820 (км.)

Годовой пробег группы подвижного состава определяется по формуле

ГП =Au *Lг, (1.9)

где Аи - списочное количество подвижного состава, Аи = 310 ед. (см. таблица 1.1); Г - годовой пробег единицы подвижного состава, LГ = 44820км.ГП = 310 *44820 = 13894200 (км.)

Число КР (Nкp), а также технических обслуживании ТО-1, ТО-2 и ежедневных обслуживаний ЕО(Nто-1, Nто-2, Neoс, Neoт) по парку за год можно определить по формуле:

, (1.10)

где  - скорректированный пробег КР, = 240000 км (см. таблица 1.2).


, (1.11)

где  - скорректированный пробег КР, = 9600 км (см. таблица 1.2).


, (1.12)

где  - скорректированный пробег КР, = 2400 км (см. таблица 1.2).


, (1.13)

где LГП - годовой пробег группы подвижного состава, LГП = 10756800 (км.);

 - среднесуточный пробег единицы подвижного состава,  = 200 км

(см. таблицу 1.1);


, (1.14)

Исходные данные и результаты расчета чисел годовой производственной программы ТО сводятся в таблице 1.3.

Таблица 1.3 - Годовые пробеги подвижного состава и годовая производственная программа ТО

Подвижной состав

LГ, км

LГП, км

Nкр

NТО-2

NТО-1

 «ГАЗ» «ЗИЛ»

44820

13894200

58

1390

4342

69471

5732


1.2 Расчет годовых объемов работ

Расчетную трудоемкость ЕО, ТО-1, ТО-2, ТР, Д1, Д2 можно определить, используя формулы:

ЕО = t"ЕО * К2* К4, (1.15) i = t" i * К2* К4, (1.16) TP = t"TP * K1 * К2 * К3 * К4* К5, (1.17)Д-1 = t"ТО-1 * 0,15, (1.18)Д-2 = t"ТО-2 * 0,12, (1.19)

где: t"EO С - нормативная трудоемкость ЕОс включает в себя уборочные, моечные, заправочные, контрольно-диагностические работы и в небольшом объеме работы по устранению мелких неисправностей, выполняемые ежедневно после окончания работы подвижного состава;

для грузовых автомобилей, среднего класса (см./1/ стр.15 таблица 2.2);"EO = 0,42(чел.час);"EO Т - нормативная трудоемкость ЕОт включает в себя уборочные, моечные работы выполняемые перед ТО и ТР подвижного состава, "EO Т составляет 50% от tEO С;"EO Т = 0,21 (чел.час);"i - нормативная трудоемкость ТО-1, ТО-2;"ТО-1 = 2,2 (чел.час);

t"ТО-2 = 9,1 (чел.час);"ТР - нормативная трудоемкость ТР;"ТР = 3,7 (чел.час /1000 км);

К1 - коэффициент корректирования нормативов в зависимости от категории условий эксплуатации III,

К1 = 0,8 (см. таблица 1.2);

К2 - коэффициент корректирования нормативов в зависимости от модификации подвижного состава и организации его работы

К2 = 1,0 (см. таблицу 1.2);

К3 - коэффициент корректирования нормативов в зависимости от

природно-климатических условий, умеренно теплый

К3 =1,0 (см. таблица 1.2);

К4 - коэффициент корректирования нормативов удельной трудоемкости ТР в зависимости от пробега с начала эксплуатации, равного 50%- 75% от пробега до КР

К4 = 1,0 (см. /1/ стр. 28 таблицу 2.11);

К5 - коэффициент корректирования нормативов трудоемкости ТО и ТР в зависимости от количества обслуживаемых и ремонтируемых автомобилей (Аи = 310 ед.)на АТП и количества технологически совместимых групп подвижного состава (менее 3),

К5 = 0,85 (см. /1/ стр. 29 таблицу 2.12).С = 0,42*1,0*1,0 = 0,42 (чел.час);Т= 0,21*1,0*1,0 = 0,21 (чел.час);ТО-1 = 2,2*1,0*1,0 = 2,2 (чел.час);ТО-2 = 9,1*1,0*1,0 = 9,1 (чел.час);= 3,7*0,8*1,0*1,0*1,0*0,85 = 2,52(чел.час/1000 км);Д-1= 2,2* 0,15 = 0,33 (чел.час);Д-2 = 9,1*0,12 = 1,1 (чел.час);

Результаты расчетов трудоемкости сведены в таблице 1.4

Таблица 1.4 - Трудоемкости ЕО, ТО и ТР.

Подвижной состав

tEO С, чел.час

tEO Т, чел.час

tТО-1, чел.час

tТО-2, чел.час

tТР, чел.час /1000 км

t Д-1, чел.час

t Д-2, чел.час

«ГАЗ» «ЗИЛ»

0,42

0,21

2,2

9,1

2,52

0,33

1,1


Расчет годовых объемов работ по ЕО, ТО, ТР, Д и самообслуживанию автопарка.

Годовой объем работ по техническому обслуживанию ТТО (чел.час), и текущему ремонту ТТР, (чел.час), определим для каждой марки подвижного состава. Ежедневное техническое обслуживание производится самими шоферами (уборочные, моечные, обтирочные и дозаправочные).ЕО С = N EO С* t ЕО С, (1.20)ЕО Т = N EO Т * t ЕО Т, (1.21)ТО-1 = N ТО-1 * t ТО-1, (1.22)ТО-2 = N ТО-2 * tТО-2, (1.23)Д-1 = t Д-1 * (1,1 * N ТО-1 + N ТО-2), (1.24)Д-2 = 1,2 * N ТО-2 * t Д-2, (1.25)

, (1.26)

где N EO С, N EO Т, N ТО-1, N ТО-2 - числа годовой производственной программы ТО и ТР (см. таблица 1.3); ЕО С, tЕО Т, tТО-1, tТО-2, tТР - нормативная скорректированная трудоемкость ЕО, ТО-1, ТО-2, ТР(чел.час.). (см. таблица 1.4);ЕО С = 69471 * 0,42 = 29178 (чел.час.);ЕО Т = 5732 * 0,21 = 1204 (чел.час.);ТО-1 = 4342 * 2,2 = 9553 (чел.час);ТО-2 = 1390 * 9,1 = 12649 (чел.час);Д-1 = 0,33 * (1,1 * 4342 + 1390) = 2035 (чел.час);Д-2 = 1,2 * 1390 * 1,1 = 1822 (чел.час);

 (чел.час).

Результаты расчетов заносим в таблицу 1.5

Таблица 1.5 - Годовые объемы работ ЕО, ТО,ТР и Д

Подвижной состав

ТEO С, чел.час

ТEO Т, чел.час

ТТО-1, чел.час

ТТО-2, чел.час

ТТР, чел.час /1000 км

Т Д-1, чел.час

Т Д-2, чел.час

«ГАЗ» «ЗИЛ»

29178

1204

9553

12649

34958

2035

1822


Расчет годового объема работ по самообслуживанию автопарк

Годовой объем работ по самообслуживанию автопарка Тсам (чел.час), в зависимости от количества автомобилей принимается в процентном отношении от суммарной трудоемкости работ по ТО и ТР всего парка машин.

подвижной состав двигатель автопарк

,(1.27)

где Кс - процентное отношение от суммарной трудоемкости, приходящееся на самообслуживание, 15 %.

Тсам = (29178+1204+ 9553 +12649 +34958)*= 13132 (чел.час)

Годовая производственная программа

 (1.28)

Т= 29178+1204+ 9553 +12649 +34958+2035+1822+13132=104531 (чел.час)

Распределение объема ТО и ТР по производственным зонам и участкам.

Распределение объема ЕО, ТО и ТР по видам работ, в % соотношении принимаем из /2/, стр. 43 таблица 2.8.

Таблица 1.6 - Распределение объёма работ ТО и ТР, в % соотношении

Виды работ

«ГАЗ» «ЗИЛ»


%

Величина

1

2

3

ТЕХНИЧЕСКОЕ ОБСЛУЖИВАНИЕ

ЕОс:


 

уборочные

14

4084,82

моечные

9

2626,02

заправочные

14

4084,92

контрольно-диагностические

16

4668,48

ремонтные

47

13713,66

ИТОГО:

100

29178

ЕОт:

 

 

уборочные

40

481,6

моечные

60

722,4

 ИТОГО:

100

1204

ТО-1:

 

 

общее диагностирование Д-1

10

955,3

крепежные, регулировочные и смазочные

90

8597,7

 ИТОГО:

100

9553

ТО-2:

 

 

углубленное диагностирование Д-2

10

1264,9

крепежные, регулировочные и смазочные

90

11384,1

ИТОГО:

100

12649

ТЕКУЩИЙ РЕМОНТ

 

1.Постовые работы:


 

 

общее диагностирование Д-1

1

350

 

углубленное диагност. Д-2

1

350

 

регулировочные, разборочно-сборочные

35

12235

 

сварочные, в зависимости от типа кузова:

 

 

 

с металлическим кузовом

4

1398

 

с металлодеревянным кузовом

-

 

 

с деревянным

-

 

 

жестяницкие работы:

-

 

 

с металлическим кузовом

3

1049

 

с металлодеревянным кузовом

-

 

 

с деревянным кузовом

-

 

 

деревообрабатывающие работы:

 

 

 

с металлодеревянным кузовом

-

 

 

с деревянным кузовом

-

 

 

окрасочные

6

2097

 

 ИТОГО ПО ПОСТАМ:

50

17479

 

2. Участковые работы:

 

 

 

агрегатные, моторные

18

6292

 

слесарно-механические

10

3496

 

электротехнические

5

1748

 

аккумуляторные

2

699

 

ремонт приборов системы питания

4

1398

 

шиномонтажные

1

350

 

вулканизационные

1

350

 

кузнечно-рессорные

3

1049

 

медницкие

2

699

 

сварочные

1

350

 

жестяницкие

1

 

арматурные

1

350

 

обойные

1

350

 

ИТОГО ПО УЧАСТКАМ:

50

17479

 

ВСЕГО ПО ТР:

100

34958

 

ВСЕГО ПО АТП:



 


Годовой объем вспомогательных работ

Годовой объем вспомогательных работ составляет 25% от суммарного объема работ по ТО и ТР:

(1.29)

(чел.час);

Распределение вспомогательных работ, в % соотношении принимаем из /2/, стр. 46 таблица 2.9.

Таблица 1.7 - Вспомогательные работы распределились следующим образом

Показатель

%

Величина

Ремонт и обслуживание технологического оборудования, оснастки и инструментов

20

4377

Ремонт и обслуживание инженерного оборудования, сетей и коммуникаций

15

3283

Транспортные работы

10

2189

Перегон автомобилей

15

3283

Приемка, хранение и выдача материальных ценностей

15

3283

Уборка производственных помещений и территорий

20

4377

Обслуживание компрессорного оборудования

5

1094

ИТОГО:

100

21886


1.3 Расчет числа постов и автомобилемест

Расчет количества постов ТО и ТР.

Количество рабочих постов ТО и ТР определяем по формуле:

, (1.30)

где Тпi - годовой объем работ, выполняемых на посту, (чел-час) (см. таблица 1.8);

φ - коэффициент, учитывающий неравномерность поступления автомобилей на пост, (см./2/ стр.53 таблица 3.1);

Фп = 1987(час) - годовой фонд времени поста(см.формула 1.3);

с - количество смен работы, (шт.)

Р - количество рабочих на посту, (чел.)

η- коэффициент использования рабочего времени поста. η=0,9

ХЕО=

Принимаю 4 поста для проведения ЕО.

ХТО-1=

Принимаю 3 поста для проведения ТО-1.

ХТО-2=

Принимаю 4 поста для ТО-1.

ХТРп.=

Принимаю 6 постов для проведения ТР, постовые работы.

ХТРуч.=

Принимаю 6 постов для проведения ТР, участковые работы.

ХТРм.=

Принимаю 1 пост на участке ТР, моторный.

Расчет количества постов диагностирования

Количество постов Д-1 и Д-2 рассчитывается по той же формуле, что и количество постов ТО. Подставляя в формулу (1.29), получим:

ХД-1=

Принимаю 1 пост для проведения Д-1.

ХД-2=

Принимаю 1 пост для проведения Д-2.

1.4 Расчет численности рабочих

Различают явочное (технологически необходимое) РТ и штатное РШ число рабочих.

Технологически необходимое число рабочих

 (1.31)

где ΣТ =Т+Твсп - годовой объем всех работ (см. формулу 1.28, 1.29);

ΣТ =104531 +21886=126417 (чел.час)

=1987 (чел.час) - номинальный годовой фонд рабочего времени (см. формулу 2.1).

Рн=(чел.)

Штатное число рабочих.

Рш=, (1.32)

где Фд = 1710,11(чел.час) - действительный годовой фонд времени (см. формулу 1.2).

Рш=(чел.)

Определим численность рабочих на зонах и участках, исходя из годового объема работ и штатного числа рабочих.

Результаты расчета численности производственных рабочих сведем в таблицу 1.8

Таблица 1.8 - Распределение производственных рабочих на зонах

Наименование зон

Годовой объем работ чел. час

Расчетное количество рабочих, чел.







ЕОт

30382

18

ТО1

9553

6

ТО2

12649

7

ТР

34958

20

Д1

2035

1

Д2

1822

1

ВСП

21886

13

САМ

13132

8

ИТОГО

126417

74


Определим численность рабочих на постах и участках зоны ТР.

Так как трудоемкость на некоторых участках мала, то их можно объединить по технологической совместимости и принять соответствующее целое число на соответствующих объединенных участках.

Полученные данные заносятся в таблицу 1.9

Таблица 1.9 - Численность производственных рабочих на постах и участках

Наименование

Годовой объем работ Т,(чел.час)

Расчетное кол-во рабочих, Р,(чел.)

Принятоекол-во рабочих, Р,(чел.)

1.Постовые работы:

17479

10

10

2. Участковые работы:




агрегатные

3496

2

2

моторные

2797

1,6

2

слесарно-механические

3496

2

2

электротехнические

1748

1

1

аккумуляторные

699

0,2

1

ремонт приборов системы питания

1398

0,8


шиномонтажные

350

0,2

1

вулканизационные

350

0,2


кузнечно-рессорные

1049

0,6


медницкие

699

0,4

1

сварочные

350

0,2


жестяницкие

350

0,2


арматурные

350

0,2


обойные

350

0,2


ИТОГО ПО УЧАСТКАМ:

17479

10

10

ВСЕГО ПО ТР:

34958

20

20


Определение основного и вспомогательного персонала Количество основного и вспомогательного персонала производства определяется расчетным путем и сведено в таблицу 1.10.

Таблица 1.10 - Распределение основного и вспомогательного персонала

Категория работающих

% соотношение от числа производственных рабочих

Примечания

Численность основного и вспомогательного персонала

1

Инженерно-технические работники

15

От общего числа ИТР примерно половина работает непосредственно на производстве, а половина в управлении

11

2

Счетно-конторский персонал

12

От общего числа примерно 1/3 работает в производственной зоне

9

3

Младший обслуживающий персонал

13

К МОП относятся уборщицы участков, уборщицы служебных помещений и двора

10

4

Вспомогательные рабочие

15

В состав вспомогательных рабочих включаются: контролеры, транспортные рабочие, кладовщики, разнорабочие

11



100

Численность производственных рабочих

74


1.5 Расчет площадей

Расчет площадей зон ТО и ТР.

Ориентировочно площадь зоны ТО и ТР определяется по формуле Fз = КПЛ*FА*Х, (1.33) где Кпл- коэффициент плотности расстановки постов и оборудования Кпл=5.- площадь занимаемая автомобилем (м2). Для FА = 16,8м2

Х - расчетное число постов в зоне.

Таблица 1.11 - Расчет площади зон

Наименование зон

Кпл

Fa, м2

Р

F, м2

ЕО

5

16,8

4

336

ТО1

5

16,8

3

252

ТО2

5

16,8

4

336

ТР

5

16,8

6

504

Д1

5

16,8

1

84

Д2

5

16,8

1

84

ВСМ

5

16,8

6

504

САМ

5

16,8

4

336

ИТОГО




2436


Расчет площадей участков

Площадь производственных участков рассчитываем по следующей формуле:

уч = f1 + f2 (P - 1) (1.34)

где f1 - площадь на одного работающего, м2

(/2/ стр. 70 таблица 3.6);- площадь на каждого последующего работающего, м2;

Р - число рабочих.

Таблица 1.12 - Расчет площадей участков

Наименование

f1, м2

f2, м2

Принятое кол-во рабочих, Р, (чел.)

Fуч, м2

агрегатные

22

14

2

36

 моторные

22

14

2

36

слесарно-механические

18

12

2

30

электротехнические

15

9

1

15

аккумуляторные

21

15

1

21

ремонт приборов системы питания





шиномонтажные

18

15

1

18

вулканизационные





кузнечно-рессорные





медницкие

21

15

1

21

сварочные





жестяницкие





арматурные





обойные





ВСЕГО:



10

177


Расчет площади складских помещений

Площадь складов рассчитывается по формуле

, (1.35)

где Аи - списочное число технологически совместимого подвижного состава. Аи=310ед.у - удельная площадь склада на 10 единиц подвижного состава, м2

К1с - коэффициент, учитывающий среднесуточный пробег единицы подвижного состава. К1с=0,82

К2с - коэффициент, учитывающий число технологически совместимого подвижного состава. К2с=0,9

К3с - коэффициент, учитывающий тип подвижного состава. К3с=1,3

К4с - коэффициент, учитывающий высоту складирования. К4с=1,0

К5с - коэффициент, учитывающий категорию условий эксплуатации. К5с=1,1

Площадь склада ГСМ

Площадь склада утиля

Площадь склада строительных материалов

Площадь склада ремонтного фонда

Площадь склада лесоматериалов

Площадь склада металла

Площадь склада готовой продукции

Площадь склада автомобильных шин

Расчет площади зоны хранения (стоянки) автомобилей

Площадь зоны хранения определяется по формуле

, (1.36)

где fа - площадь, занимаемая автомобилем в плане, м2

Аст - число автомобиле-мест хранения

Кп=2,5 - 3,5 - коэффициент плотности расстановки автомобиле-мест хранения. Принимаю Кп=3,0

Расчет площади административно-бытовых помещений

Для исполнения закона об охране труда промсанитарии в АТП планируется размещать бытовые помещения.

Расчет этих площадей идет по нормативно-удельной площади, приходящейся на рабочих.

Площадь, занимаемая гардеробами, из расчета обслуживания всего количества рабочих по АТП, определяется по формуле

, (1.37)

где fуд=0,75-0,8 - удельная площадь на одного рабочего, м2.

Принимаю fуд=0,8 м2

- общая численность производственных рабочих

Площадь, занимаемая умывальными приборами, из расчета 1 умывальник на 10 человек, рассчитывается по формуле

, (1.38)

где fуд - удельная площадь на одного рабочего, м2. fуд=0,5 м2

Площадь, занимаемая душевыми кабинами, принимается из расчета 1 душевая кабина на 5 человек, равна

, (1.39)

где fуд=2-2,5 - удельная площадь на одного рабочего, м2. Принимаю fуд=2 м2

Площадь, занимаемая уборными, из расчета 1 унитаз на 15 человек, рассчитывается по формуле

, (1.40)

где fуд - удельная площадь на одного рабочего, м2. fуд=3 м2

Площадь для административного персонала определяется по формуле

, (1.41)

где fуд - удельная площадь на одного работника ИТР, служащих и др., м2. Принимаю fуд=3 м2


Подберем оборудование и технологическую оснастку для проектируемого участка.

Таблица 1.13 - Ведомость технологического оборудования

№п.п

Наименование оборудования

Тип модели

Количество

Габаритные размеры, мм

1

Верстак слесарный

070.03 ГПЗ-1

2

800х600

2

Ларь для обтирочных материалов

5133.000

1

500х500

3

Ящик для отходов

Н-9938

1

500х500

4

Стенд для испытания гильзы на герметичность

12132

1

870х960

5

Стенд для разборки двигателей

Р-297

1

1300х846

6

Стеллаж

504.04.011

1

1000x450

7

Шкаф инструментальный

5129.000

2

800х600

8

Моечная установка

196 М

1

1500x800

9

Ванна для мойки деталей

М-205

1

800x600

10

Настольно-сверлильный станок

2М112

1

700х360

11

Установка для шлифовки фасок клапанов

Р186

1

550х430

ИТОГО

7 м2

2. Конструкторский раздел

.1 Описание технологического оборудования

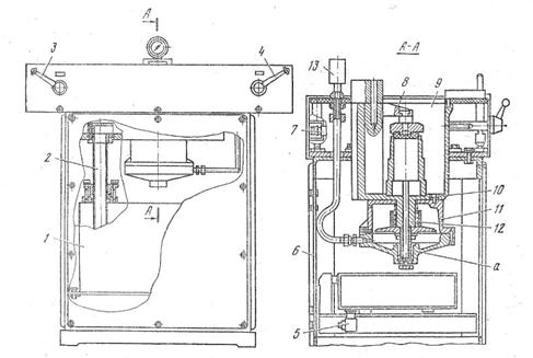
Назначение

Стенд для проверки на герметичность гильзы цилиндра двигателя автомобиля

Рисунок 2.1 - Стенд для испытания на герметичность гильзы цилиндров двигателя

Технические характеристики.

Тип стенда стационарный

Давление испытания, кгс/см 4

Давление воздуха в пневмосети, кгс/см 6

Габаритные размеры, мм 870х960х480

Масса, кг 140

Устройство.

На каркасе 6 стенда установлена ванна 9, пневмокамеры 11, бак 1 и воздухораспределительная аппаратура.

Испытуемую гильзу устанавливают на фланец 10 штока пневмокамеры и разворачивают рычаг 8 в рабочее положение до установки его на шариковый замок. После этого поворотом рукоятки 4 подают сжатый воздух в пневмокамеру. Шток пневмокамеры, перемещаясь вверх, поджимает испытуемую гильзу к рычагу 8, обеспечивая герметизацию стыков деталей.

Сжатый воздух одновременно по каналу, а стержня 12 поступает в полость испытуемой гильзы. Осуществив герметизацию стыков испытуемой детали и заполнив её сжатым воздухом, заполняют ванну водой. Для этого ручку 3 поворачивают на подачу воды и воздуха из бака 1 вытесняют воду по трубе 2 в ванну 9.

По мере погружения испытуемой гильзы в воду наблюдают за выделением пузырьков воздуха.

Закончив испытание, необходимо полностью слить воду из ванны, повернув для этого ручку 3 в исходное положение, а затем отжать испытуемую деталь от рычага 8 поворотом рукоятки 4. Затем рычаг 8 отводят в сторону и снимают гильзу цилиндра со стенда.

При испытании гильзы давление контролируется по монометру 13. Для доступа к регулятору давления на заднем кожухе имеется люк.

Подключение стенда к цеховой магистрали сжатого воздуха производится через штуцер 7. Воду в бак заливают через ванну 9, а сливают через штуцер 5.

Принцип действия стенда.

Воздух под давлением заполняет весь объем испытуемой гильзы и при наличии микротрещин начинает просачиваться наружу, создавая характерные пузырьки.

Модернизация.

Обоснование модернизации.

В целях экономии времени, при работе на стенде для проверки на герметичность гильзы цилиндра двигателя для полуавтоматизации процесса предлагаю: ручку 4 для подачи сжатого воздуха в пневмокамеру и ручку 3 на подачу воды и воздуха из бака 1, вытесняющего воду по трубе в ванну заменить, поставив автоматическую систему и датчики.

При нажатии кнопки на пульте подается сжатый воздух в пневмокамеру, шток, перемещаясь вверх, поджимает испытуемую гильзу к рычагу 8. Сжатый воздух одновременно по каналу 12 поступает в полость испытуемой гильзы. Осуществив герметизацию стыков испытуемой детали и заполнив ее сжатым воздухом, датчик передает сигнал на автопереключатель 3,тот в свою очередь, приводит в действие пневмоцилиндр, поршень которого открывает перепускное отверстие на подачу воды и воздухом из бака 1 вытесняют воду по трубе 2 в ванну 9. После заполнения ванны срабатывает второй датчик, останавливающий поток воды. После проведения испытаний, нажатием кнопки на пульте, полностью сливают воду из ванны, а затем срабатывает датчик и спускается воздух.

Расчет модернизированной части

Расчеты модернизации

Буду вести расчет из условия, что перемещаемая часть стенда в сумме имеет вес 500 Н.

Расчет необходимого диаметра штока.

Шток воспринимает растягивающую и изгибающую нагрузку. Так как этот сегмент является элементом пневмоцилиндра, то принимаю для него круглое сечение. Нахожу необходимый диаметр:

,(2.1)

где F - площадь поперечного сечения штока, мм2.- осевой момент инерции сечения, мм4.- ход штока, мм. l=400мм

Е - модуль упругости стали, Е=2·105МПа.

,(2.2)

где d - диаметр штока, мм

Тогда:

,(2.3)

Из формулы 2.6 нахожу d.

, (2.4)

(мм)

Для запаса прочности и запаса на износ, а также удобства изготовления принимаю диаметр штока d=15мм.

Расчет характеристик пневмоцилиндра.

Определяю необходимое давление для работы пневмоцилиндра. Для возможности установки цилиндра на стенд принимаю внутренний диаметр цилиндра и, соответственно, наружный диаметр поршня равным 50мм.

,(2.5)

где Sц - площадь поршня пневмоцилиндра, мм2.

,(2.6)

где D - диаметр поршня, мм

(мм2)

(МПа)

Принимаю материал изготовления деталей пневмоцилиндра сталь 45 ГОСТ 1050-88.

Минимальная толщина стенки тонкостенного цилиндра определяют по формуле:

, (2.7)

где [σ] - допускаемое напряжение на растяжение. [σ] =140 МПа

 μ - коэффициент поперечной деформации (коэффициент Пуассона), равный для стали 0,29

Рц - принятое давление в цилиндре, МПа

(мм)

Минимальную толщину крышки цилиндра определяют по формуле:

,(2.8)

где dк - диаметр крышки. dк = 50 мм.

(мм)

2.2 Эксплуатация и ремонт технологического оборудования

Меры безопасности при работе на стенде.

Для предотвращения травматизма при работе на стенде для его эксплуатации допускаются только люди прошедшие вводный инструктаж и изучившие инструкцию по эксплуатации. При работе со стендом необходимо пользоваться индивидуальными средствами защиты.

Не допускается подставлять руки между подхватами и кузовом автомобиля, а также производить действия с подвижными частями стенда когда на нём вывешен автомобиль. Запрещается использовать стенд не по назначению. Мусор со стенда необходимо сметать мягкой щёткой.

Подготовка к работе.

. Изучить инструкцию по эксплуатации;

. Проверить работу всех подвижных частей пробным включением;

. Убедиться в отсутствии грязи на стенде;

. Убедиться в отсутствии трещин на деталях стенда;

. Проверить плавность работы узлов;

. Не должно быть посторонних щупов при работе стенда;

Техническое обслуживание и ремонт.

После окончания работы необходимо очистить стенд от загрязнений. Периодически проверять затяжку болтов и качество сварных соединений, смазывать трущиеся части стенда. Своевременно проводить техническое обслуживание.

Таблица 2.1 - Основные неисправности и методы их устранения

Вид неисправности

Причина

Способ устранения

1.Неприводится в движение силовой механизм.

Не работает гидроцилиндр; - отсутствие (не достаточное) давление в гидроцилиндре; - утечка в трубопроводах; Забоины на сопрягающихся частях поворотного механизма;

Найти утечку устранить или заменить шланги, найденные забоины зачистить;

2.Посторонние шумы при работе стенда;

Недостаточная смазка в сопрягающихся частях стенда;

Найти место повышенного трения, смазать;

3.Не срабатывает верхний датчик отключения набора воды;

Датчак вышел из строя;

Заменить;

Заключение

Представленный курсовой проект на тему:

В ходе выполнения курсового проекта, были рассчитаны такие параметры как: годовой объем работ, число постов ТО и ТР, численность персонала, площади помещений СТОА.

Произведен подбор технологического оборудования.

На основании расчетов выполнил план помещений СТОА и план кузовного участка с расстановкой оборудования и технологической оснастки. Спроектированная станция технического обслуживания рассчитана на комплексное обслуживание 18375 автомобилей в год.

В конструкторской части выполнена модернизация стенда для ремонта кузова.

Назначение, технические характеристики, устройство, принцип действия.

Привел обоснование модернизации, расчет модернизированной части, эксплуатация и ремонт технологического оборудования.

Графически представлены чертеж общего вида стенда и деталировка модернизированной части.

Список использованных источников

1.       «Положение о техническом обслуживании и ремонте подвижного состава автомобильного транспорта» МИНИСТЕРСТВО АВТОМОБИЛЬНОГО ТРАНСПОРТА РСФСР, МОСКВА «ТРАНСПОРТ» 1986.

2.      Туревский И.С. Техническое обслуживание автомобилей. Книга 2. Организация хранения, технического обслуживания и ремонта автомобильного транспорта: Учебное пособие. - М.: ИНФРА-М, 2005. - 256 с.: ил. - (Профессиональное образование).

.        Курсовое и дипломное проектирование по ремонту машин /А.П. Смелов, И.С.Серый, И.П. Удалов, и др: Под ред. А.П. Смелова. - М.: Колос 1984.- Изд. 3 перераб. и доп. - 192 с.

.        Анурьев В.И. Справочник конструктора машиностроителя. В 3-х т. Т 1. / В.И. Анурьев: Под. ред. Т.С. Грачева. - М.; Машиностроение, 1978. - Изд. 5. перераб. и доп. - 728 с.

Похожие работы на - Анализ деятельности автотранспортного предприятия

 

Не нашли материал для своей работы?
Поможем написать уникальную работу
Без плагиата!
Без нейросетей!