Расчёт вторичного источника питания и усилительного каскада
Расчёт
вторичного источника питания и усилительного каскада
Содержание
вторичный источник питания усилительный каскад
Введение
. Обзор схем
стабилизированных вторичных источников питания
1.1 Блок
питания на 0 - 12 В
.2 Простой
блок питания на 5 В и 0,5 А
2. Расчёт
стабилизированного вторичного источника питания
2.1 Расчёт
начальных данных
.2 Расчёт
стабилизатора
.3 Расчёт
выпрямителя
.4 Расчёт
RC-фильтра
.5 Расчёт
трансформатора
3. Расчёт
усилительного каскада на биполярном транзисторе
Заключение
Литература
Приложение А
Приложение Б
Введение
Стабилизированные вторичные источники питания играют значительную роль в
современной электронике. На сегодняшний день спроектировано множество
разновидностей схем вторичных источников. Одной из наиболее простых является
схема вторичного источника с применением однополупериодного выпрямителя и
непрерывного компенсационного стабилизатора. Именно эта схема и рассматривается
в данной курсовой работе.
Также рассмотрена распространённая схема усилительного каскада на
биполярном транзисторе.
1.Обзор схем
стабилизированных вторичных источников питания
1.1 Блок
питания на 0 - 12 В
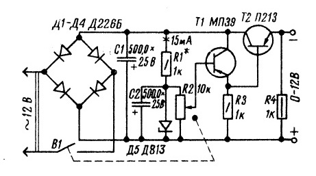
Блок питания работает от переменного напряжения 12 В. Выпрямитель блока
питания образуют диоды Д1 - Д4, включенные по мостовой схеме, а стабилизатор
выпрямленного напряжения - конденсаторы С1, С2, стабилитрон Д5 и транзисторы Т1
и Т2. Напряжение на выходе блока питания в пределах от 0 до 12 В регулируют
переменным резистором R2. Наибольший ток, отдаваемый блоком питания в нагрузку
(до 300 мА) ограничен допустимым прямым током диодов выпрямителя.
Рисунок 1.2 - схема блока питания на 0 - 12 В
В выпрямителе можно использовать диоды Д226 или Д7 с любым буквенным
индексом. Переменный резистор R2 - ВК (с выключателем питания), желательно
группы А чтобы его шкала, по которой устанавливается напряжение на выходе блока
питания, была равномерной. В стабилизаторе вместо транзистора МП39 можно
использовать транзисторы МП40 - МП42, а вместо П213 - транзисторы П214, П215,
П201, П4 с любыми буквенными индексами. Коэффициент усиления транзисторов
должен быть не менее 15. Стабилитрон Д813 можно заменить стабилитронами Д811,
Д814Г или Д814Д. Наибольшее напряжение на выходе блока питания будет
соответствовать напряжению стабилизации используемого в блоке стабилитрона.
Шкалу резистора R2 следует отградуировать по образцовому вольтметру,
подключенному к выходным зажимам блока.
Достоинства схемы:
- Регулировка выходного напряжения от 0 до 12 В
- Регулировка выходного тока посредством замены диодов на более
мощные
- Простая конструкция выпрямителя
- Малое максимальное обратное напряжение на вентилях
- Малый коэффициент пульсации
- Компенсационный стабилизатор
Недостатки схемы:
- Для выпрямителя нужно 4 диода
- Так как входное напряжение 12 В, поэтому нужен трансформатор
с большим коэффициентом трансформации (например 18,3 если схема питается от
сети 220 В)
1.2 Простой
блок питания на 5 В и 0,5 А
Блок питания предназначен для питания стабилизированным напряжением +5 В
различных цифровых устройств с током потребления до 0,5 А. Трансформатор Т1
использован самодельный, выполненный на магнитопроводе ШЛ20х32. Обмотка I содержит 1650 витков провода ПЭВ-1
0,1, обмотка II - 55 витков ПЭВ-1 0,47. Для блока
питания можно использовать подходящий готовый трансформатор мощностью более 7
Вт, обеспечивающий на обмотке II переменное напряжение 8…10 В при токе не менее
500 мА.
Рисунок 1.3 - схема простого блока питания 5 В и 0,5 А
Регулирующий транзистор VT2 укреплён на Г-образной дюралюминиевой
пластине размером 50х50 и толщиной 2 мм, выполняющей функцию теплоотвода.
Выводы базы и эмиттера пропущены через отверстия в плате и припаяны к
соответствующим печатным проводникам. Контакт коллектора с печатным проводником
осуществлён через радиатор транзистора, крепёжные винты с гайками и
дюралюминиевую пластину.
Достоинства схемы:
- Простая конструкция выпрямителя
- Малое максимальное обратное напряжение на вентилях
- Малый коэффициент пульсации
- Возможность регулировки напряжения при включении переменного
резистора параллельно стабилитрону
Недостатки схемы:
- Для выпрямителя нужно 4 диода
- Так как входное напряжение 8 В, поэтому нужен трансформатор с
большим коэффициентом трансформации (например 27,5 если схема питается от сети
220 В)
2.Расчёт
стабилизированного вторичного источника питания
Схема источника приведена на рисунке 2
Рисунок 2 - схема стабилизированного вторичного источника питания
Расчёт
начальных данных
Вычислим начальные данные для расчета стабилизатора.

(однополупериодная
схема)
Расчёт стабилизатора
Данные:
Расчёт транзистора:
Берём составной транзистор КТ825Д
Основные параметры транзистора:
Выбираем из ряда Е24
Выбираем стабилитрон из условия:
Берём стабилитрон 2С112Б
Основные параметры стабилитрона:
Пусть


Расчёт
операционного усилителя (ОУ)
Выбираем
ОУ - К157УД1
Основные
параметры ОУ:
Расчёт
выпрямителя
Данные:
Расчёт:
Выбираем диод В50-2
Основные параметры диода:
Расчёт
RC-фильтра
Данные:
Расчёт:
Выбираем
из ряда Е24 
Выбираем
из ряда Е24 
Расчёт
трансформатора
Данные:
Расчёт:

Выбираем
сердечник ПЛ25х50-65
Рассчитываем
витки:
Первичная
обмотка:

витков
на вольт
Общее
число витков в первичной обмотке: 
Вторичная
обмотка:

витков
на вольт
Общее
число витков во вторичной обмотке:

Сечение
провода вторичной обмотки без изоляции:
Выбираем
провод для вторичной обмотки:
диаметр:
2 мм сечение провода: 
диаметр
провода с изоляцией: 2,12 мм
Сечение
провода вторичной обмотки с изоляцией:
Ток
в первичной обмотке:
Сечение
провода первичной обмотки без изоляции:
Выбираем
провод для первичной обмотки:
диаметр:
1,06 мм сечение провода: 
диаметр
провода с изоляцией: 1,15 мм
Сечение
провода первичной обмотки с изоляцией:
площадь
окна
Так
как то выбранные провода укладываются в окно сердечника трансформатора.
2 Расчёт
усилительного каскада на биполярном транзисторе
Схема каскада приведена на рисунке 3
Рисунок 3 - схема усилительного каскада на биполярном транзисторе
Данные:
Расчёты:
Выбираем
из ряда Е24: 
Так
как 
то
увеличиваем 
до 150
Ом
Выбираем
из ряда Е24: 
Заключение
В данной курсовой работе был рассчитан стабилизированный вторичный
источник питания, который включал в себя следующие элементы:
- однополупериодный выпрямитель
- непрерывный компенсационный стабилизатор напряжения
- маломощный трансформатор
Также был рассчитан усилительный каскад на биполярном транзисторе.
Обе схемы были успешно смоделированы в программе MicroCap 10.
Литература
1. ГОСТ 2.105
- 95. Общие требования к текстовым документам. Дата введения 1996-07-01. Взамен
ГОСТ 2.105-79, ГОСТ 2.906-71
2. ГОСТ
19.701-90 схемы алгоритмов программ, данных и систем. Дата введения 1992-01-01.
Взамен ГОСТ 19.002-80
. Аналоговая
и цифровая электроника (Полный курс): Учебник для вузов/
Ю.Ф. Опадчий,
О.П. Глудкин, А.И. Гуров; Под ред. О.П. Глудкина.- М.:Горячая Линия - Телеком,
2000.-768 с.: ил.
. Диоды:
Справочник/ О.П. Григорьев, В.Я. Замятин, Б.В. Кондратьев, С.Л. Пожидаев.- М.:
Радио и связь, 1990.- 336 с.: ил.
5. Транзисторы:
Справочник/ О.П.Григорьев, В.Я. Замятин, Б.В. Кондратьев, С.Л. Пожидаев.- М.:
Радио и связь, 1989.- 272 с.: ил.
6. www.toe.ugatu.ac.ru
<#"564198.files/image053.gif">
Рисунок А.1 - Транзистор КТ825Д
Предельные значения параметров:
Предельные
значения параметров при 
:
Значения
параметров при 
:
Рисунок
А.2 - Транзистор ГТ108А
Предельные
значения параметров:
Предельные
значения параметров при 
:
Значения
параметров при 
:
Рисунок
А.3 - Диод В50-2
Предельные
значения параметров режима 
:
Значения
параметров при 
:
Значения
параметров при 
:
Рисунок
А.4 - Стабилитрон 2С112Б
Значения
параметров при 
:
Предельные
значения параметров режима при 
:
Рисунок
А.5 - Операционный усилитель К157УД1
Характеристики
при 
Предельные
эксплуатационные данные:
Приложение Б
(обязательное)
Моделирование схем при помощи программы MicroCap
Моделирование стабилизированного вторичного источника питания
представлено на следующих рисунках:
Рисунок Б.1 - Напряжение на вторичной обмотке трансформатора
Рисунок Б.2 - Напряжение на диоде
Рисунок Б.3 - Напряжение на нагрузке (схема без фильтра)
Рисунок Б.4 - Напряжение на стабилитроне
Рисунок Б.5 - Ток через нагрузку
Рисунок Б.6 - Ток через диод
Рисунок Б.7 - Напряжение на нагрузке (схема с фильтром)
Моделирование усилительного каскада на биполярном транзисторе
представлено на следующих рисунках:
Рисунок Б.8 - Амплитудно-частотная характеристика