Разработка функционального блока для автоматизации диагностики бортовых волоконно-оптических линий связи
Дипломный
проект
На тему
«Разработка
функционального блока для автоматизации диагностики бортовых
волоконно-оптических линий связи»
Выполнил
Наговицын
А.А.
студент
группы ЭКТ-53
Консультант
Матюшкин И.В.
Москва 2012г.
Введение
С течением времени используемая в ракетно-космической технике аппаратура
постоянно претерпевает изменения. Совершенствование технологий приводит к
увеличению потоков цифровой информации. Традиционно в бортовых системах
космических аппаратов дистанционного зондирования Земли для передачи информации
использовались электрические линии связи. Однако, ввиду возросших требований к
космической аппаратуре, способы реализации бортовых линий связи потребовали
пересмотра.
В ходе рассмотрения различных вариантов реализации межсистемных линий
связи было предложено использовать оптоволоконные линии, которые имели ряд
преимуществ по сравнению с традиционными электрическими линиями связи.
Использование волоконно-оптических линий связи позволяло кардинально решить
проблемы влияния побочных излучений при передаче данных по линиям связи и
обеспечило возможность работы в условиях внешних жестких электромагнитных
помех. Кроме того, использование оптоволокна привело к улучшению
массогабаритных показателей аппаратуры.
Таким образом, было принято решение о внедрении волоконно-оптических
линий связи и их компонентов для передачи информации в космической аппаратуре.
Волоконно-оптические системы передачи, разрабатываемые для космических
аппаратов, положительно прошли все наземные испытания. Однако оптоволоконные
линии в космической аппаратуре ранее не использовались, и их применение было
связано с рядом трудностей. В первую очередь, было необходимо разработать
специализированные волоконно-оптические компоненты, соответствующие требованиям
к космической аппаратуре дистанционного зондирования Земли. Но и этого объема
работ было недостаточно, чтобы гарантировать безотказную работу
волоконно-оптических линий передач. Встал вопрос о том, как провести более
полный анализ и проверку волоконно-оптической системы передачи для космических
аппаратов и ракетоносителей.
Целью дипломного проектирования является разработка блока диагностики
бортовых волоконно-оптических линий связи (цифрового блока волоконно-оптической
передачи - ЦБВОП), который имитирует работу бортовой волоконно-оптической
системы передачи и обеспечивает диагностику волоконно-оптических линий передач
в автоматическом режиме с выдачей результатов в телеметрическую систему
космического аппарата.
Техническое задание на разрабатываемую аппаратуру включает в себя
следующие требования назначения:
1) ЦБВОП предназначен для:
- формирования цифрового тестового сигнала для диагностики
работоспособности волоконно-оптических линий передачи;
- передачи через волоконно-оптические кабели тестового сигнала
и его последующего приема;
- автоматической диагностики работоспособности
волоконно-оптических линий передачи путем проверки достоверности передаваемого
тестового сигнала;
- формирования и выдачи в телеметрическую систему результатов
проведения диагностики работоспособности волоконно-оптических линий передачи.
2) ЦБВОП должен работать только в режиме диагностики
работоспособности волоконно-оптических линий передачи.
3) ЦБВОП должен обеспечивать проверку подстыковки
волоконно-оптических кабелей в процессе сборки ракетоносителя.
) ЦБВОП должен обеспечивать выдачу цифровой информации с частотой
смены слова 10Гц. Слово представляет собой 12-разрядный параллельный код.
) Выходные сигналы с ЦБВОП должны выдаваться относительно общего
провода, не связанного гальванически с корпусом ракетоносителя и цепями питания
"27В" ВОЛП-ЦИ.
6) Включение ЦБВОП должно обеспечиваться путем подачи на него
питающего напряжения 27В.
1.
Литературный обзор: «Анализ систем приема и преобразования информации
космических аппаратов дистанционного зондирования Земли»
1.1 Обзор
этапов развития цифровой видеоинформации в многоканальных системах приема и
преобразования информации высокого разрешения
Цифровая обработка видеоинформации (ВИ) в системах приема и
преобразования информации (СППИ) отечественных комплексов космических аппаратов
(КА) дистанционного зондирования Земли (ДЗЗ) традиционно строилась с межблочным
разделением ее функций.
В СППИ первого поколения КА ДЗЗ аналого-цифровое преобразование (АЦП) и
последующая цифровая обработка и упаковка ВИ производились в отдельных от
оптико-электронного преобразования (ОЭП) блоках. Выходы блоков АЦП через жгуты
бортовой кабельной сети подключались к блокам последующей (вторичной) цифровой
обработки. Как правило, это были блоки сжатия видеоинформации и блоки
формирования радиокадра. Выходы блоков сжатия через бортовые жгуты подключались
к входам блоков формирования радиокадра. Длина радиокадра определялась его
заголовком и общим количеством пикселей в строке всех четных или нечетных
фотоприемников с зарядовой связью (ФПЗС), установленных в фотозоне блока ОЭП. В
радиокадре последовательно передавались маркер, служебная часть радиокадра и
массив специнформации, содержащий обработанную (сжатую) видеоинформацию строки
изображения.
Таким образом, цифровая обработка и упаковка видеоинформации в
многоканальных системах КА ДЗЗ ранее производились построчно. Обобщенная
структурная схема СППИ, реализованных в бортовой аппаратуре первых
отечественных КА ДЗЗ показана на рисунке 1.1.
Рисунок 1.1 Обобщенная структурная схема СППИ.
Обобщенная структурная схема СППИ содержит следующие блоки обработки
информации:
ОЭП - один или несколько блоков оптико-электронного преобразования,
содержащих линейные или матричные ФПЗС;
АЦП - блок аналого-цифрового преобразования;
БСИ - блок сжатия видеоинформации;
БФК - блок формирования радиокадра;
БНВИ - блок накопления информации (цифровой магнитофон);
РП - блок радиопередатчиков.
Данная структура построения СППИ была обусловлена отсутствием электронных
компонентов высокой степени интеграции. Для реализации многоканальной бортовой
аппаратуры требовалось увеличить степень интеграции блоков или электронной
элементной базы.
Совершенствование технологии электронного производства в начале 1980-х
годов достигло такого уровня, который позволил приступить к разработке больших
интегральных схем (БИС), содержавших сотни простых логических элементов.
Стоимость таких схем, ввиду малых серий производства, была достаточно высокой,
и, как следствие, их функциональные возможности определялись требованиями
серийнопригодности. Вскоре БИС нашли широкое применение в бытовой и
вычислительной технике, что позволило существенно снизить их себестоимость. В
середине 1980-х годов уровень интеграции микросхем достиг нескольких тысяч
логических элементов.
Такие микросхемы классифицировалось уже как сверхбольшие интегральные
схемы (СБИС). Однако к тому времени стало ясно, что, несмотря на высокую
универсальность микропроцессоров, сам их принцип действия, обусловленный
большим количеством промежуточных операций по пересылке цифровых данных в
оперативную память и обратно, является фактором, сдерживающим скоростные
характеристики систем обработки информации и управления. Особенно это было
заметно в военной технике, авиации и космонавтике.
Как в нашей стране, так и за рубежом, в 1980-е годы параллельно с
развитием СБИС и микропроцессорной техники начали проводиться
научно-исследовательские работы, а затем и опытно-конструкторские работы,
ставившие своей целью разработку универсальных программируемых СБИС. Это
позволило бы иметь в арсенале разработчиков уникальной электронной аппаратуры
универсальные цифровые приборы - СБИС с перестраиваемой архитектурой. Первыми
программируемыми БИС, появившимися в результате проводившихся работ, стали
базовые матричные кристаллы (БМК). Их архитектура базировалась на использовании
достигнутого в то время уровня интеграции жесткой логики, которая строилась на
использовании простейших вентильных схем. Набор вентилей выполнялся в виде
матрицы на кремниевом кристалле. Относительную гибкость данной технологии
придавали конкретные линии связей элементов универсальной матрицы,
выполнявшиеся с использованием дополнительных фотошаблонов. Тем не менее,
архитектура БМК не позволяла полностью исключить дополнительные операции с
кристаллами.
Впервые этого удалось добиться в программируемых логических матрицах
(ПЛМ). ПЛМ содержали двухуровневую структуру, состоящую из вентилей И и ИЛИ, с
программируемыми пользователями соединениями. Разработчик электронной
аппаратуры, опираясь на теорию логического синтеза и минимизации логических
схем, мог использовать их при синтезе любой логической функции. Однако уровень
сложности проекта, реализуемого в ПЛМ, имел существенные ограничения.
Дальнейшим шагом в развитии технологии программируемых схем был переход к
архитектуре составных программируемых логических устройств (ПЛУ), появившихся в
конце 80-х годов прошлого столетия и получивших наименование CPLD (Complex Programmable Logic Device).
Они выпускались как в нашей стране, так и за рубежом и допускали значительное
увеличение реализуемых функций, выполнявшихся на одном кристалле. Фактически,
программируемые логические интегральные схемы типа CPLD представляют собой набор схем ПЛУ с выполненными на
этом же кристалле схемами программируемых соединений между ними, чем
обеспечиваются дополнительные возможности в построении логических структур
обработки информационных потоков.
Практически параллельно с разработкой структур программируемых БИС типа CPLD были разработаны СБИС программируемой
логики типа FPGA (Field Programmable Gate Array). По
сравнению с устройствами CPLD
типа, ПЛИС типа FPGA содержат
намного большее число меньших по своему размеру отдельных логических блоков,
имеющих развитую распределенную структуру внутренних соединений. В настоящее
время за границей выпускаются ПЛИС обоих типов.
Появление ПЛИС ознаменовало новый этап в развитии систем дистанционного
зондирования Земли. Теперь стало возможным увеличение степени интеграции
аппаратуры СППИ и, как следствие, оптимизация структуры построения систем. Так,
например, в аппаратуре СППИ КА ДЗЗ «Ресурс ДК» третьего поколения блок АЦП был
интегрирован в блок ОЭП, а упаковка видеоинформации производилась в блоках
сжатия. Цифровая обработка и упаковка информации происходит только в два этапа
межблочного разделения: на первичном в блоках ОЭП и вторичном в блоках сжатия и
упаковки ВИ.
Структурная схема одного из каналов современной многоканальной СППИ
третьего поколения космического аппарата «Ресурс-ДК» показана на рисунке 1.2.
Рисунок 1.2. Структурная схема одного из каналов системы приема и
преобразования информации космического аппарата дистанционного зондирования
Земли «Ресурс-ДК»
Блок ОЭП имеет шесть зон компенсации, каждая из которых содержит по шесть
ФПЗС матриц. Уровень сигналов на регистровых выходах ФПЗС с временной задержкой
и накоплением (ВЗН) соответствует суммам поступивших на входы столбцов
пикселей, отраженных от точек объекта энергией световых потоков. Многоканальная
СППИ высокого разрешения «Сангур-1» базируется на использовании ФПЗС «Круиз» с
временной задержкой и накоплением, разработанных и изготовленных в НПП
«Электрон-Оптроник» по заказу НПП «ОПТЭКС» специально для КА ДЗЗ «Ресурс-ДК».
Формат матрицы ФПЗС «Круиз» составляет 1024 элемента в строке на 128 элементов
в столбце с размерами пикселя 9х9 мкм. Как видно из приведенной структурной
схемы, в СППИ цифровая обработка видеоинформации выполнена с межблочным
разделением на первичную обработку в блоках ОЭП и вторичную в блоках сжатия ВИ.
Тракт цифровой обработки ВИ состоит из трех блоков ОЭП, в фотозоне
которых установлено по 36 ФПЗС с ВЗН. Суммарная длина строки блока ОЭП
составляет 36000 пикселей. Использование ФПЗС матриц нового типа и
высокопроизводительных микросхем позволило значительно увеличить полосу приема
видеоинформации, а также уменьшить размер пикселя, что привело к значительному
увеличению объемов принимаемой видеоинформации.
Суммарный объем данных в цифровых потоках видеоинформации на входах
подсистемы цифровой обработки видеоинформации для одного ОЭП в единицу времени
определяется выражением:
, (1.1)
Где
- количество ФПЗС в зоне компенсации ОЭП;
-
количество аналоговых информационных выходов одного ФПЗС;
- количество фотоприемных ячеек в строке, включая
темновые ячейки на один регистровый выход ФПЗС;
-
разрядность преобразованной в АЦП аналоговой видеоинформации;
- скорость движения изображения в центре фокальной
плоскости ОЭП, мм/с;
-
количество зон компенсации в одном ОЭП;
- размер
фотоприемной ячейки в направлении движения изображения, мкм.
Для
увеличения скорости считывания ВИ ФПЗС матрицы в блоке ОЭП имеют по два
10-разрядных выхода, которые заводятся на входы АЦП. Через первый регистровый
выход с прямой последовательностью номеров считывается видеоинформация с
первого по пятьсот двенадцатый пиксель. Через второй регистровый выход с
обратной последовательностью номеров считывается видеоинформация с тысяча
двадцать четвертого по пятьсот тринадцатый пиксель. При этом АЦП обрабатывает
видеоинформацию только с одного выхода ФПЗС матрицы. Суммарное количество
регистровых выходов ФПЗС в блоке ОЭП равно 72. С целью уменьшения количества
выходных жгутов блока ОЭП было введено попиксельное уплотнение ВИ в три раза,
которое осуществляется путем мультиплексирования каналов трех АЦП в один
цифровой поток.
С
учетом предварительного уплотнения в ОЭП каналов ВИ в три раза общее количество
передатчиков в линии связи определяется из выражения:
(1.2)
и
составляет для одного ОЭП КА «Ресурс-ДК», имеющего 6 зон компенсации, 288
передатчиков.
Так
как пропускная способность используемых в настоящее время радиоканалов
ограничена, в СППИ производится сжатие передаваемой видеоинформации. Это
позволяет снижать информационные затраты на передачу видеоинформации. Однако в
процессе эксплуатации СППИ КА ДЗЗ «Ресурс-ДК» выявилось, что трансформаторные
линии связи работают практически на пределе своих возможностей. А скорость
передачи информации по электрическим линиям связи ограничивается скоростью
передачи через герметизированные электрические разъемы с максимальной частотой
работы в 30 МГц.
С
течением времени стало видно, что аппаратная реализация СППИ с межблочным
разделением функций цифровой обработки и упаковки ВИ практически подошла к
своему верхнему пределу. Поэтому в системах следующих поколений было принято
решение объединить этапы цифровой обработки и упаковки видеоинформации, которые
решаются в отдельных блоках системы, в единые моноблоки - интегральные
оптико-электронные преобразователи (ИОЭП).
Структурная
схема СППИ КА ДЗЗ с использованием ИОЭП представлена на рисунке 1.3.
Рисунок 1.3 Структурная схема системы приема и преобразования информации
космического аппарата дистанционного зондирования Земли без межблочного
разделения функций
Объединение этапов цифровой обработки и упаковки видеоинформации было
компенсировано повышением степени интеграции аппаратуры СППИ. Цифровая
обработка и упаковка ВИ производится непосредственно в ячейках тракта обработки
сигнала (ТОС) блоков ИОЭП КА ДЗЗ в ПЛИС. Также в ИОЭП интегрирована часть
функций блоков управления и тактового питания.
Таким образом, с развитием новых технологий аппаратура космических
аппаратов постоянно модернизируется и постепенно возрастает не только степень
интеграции, но и объем передаваемой информации. Соответственно с увеличением
скорости передачи данных возросло и количество линий связи, что привело к
резкому повышению уровня помех и электромагнитных наводок при передаче данных и
поставило под угрозу качество и надежность аппаратуры.
К тому же, современные линии передачи составляют значительную часть от
массы всей аппаратуры. Сопоставительный анализ массы блоков для вариантов
исполнения СППИ представлен в таблице 1.1.
Таблица 1.1. Сопоставительный анализ массы блоков.
|
№
|
Наименование блока
|
% от общей массы системы
|
% от общей массы системы
|
|
|
СППИ КА “Ресурс-ДК”
|
СППИ перспективного КА
|
|
1
|
ОЭП
|
28,2%
|
52%
|
|
2
|
Источник питания
|
8,6%
|
16,7%
|
|
3
|
Блок сжатия
|
21,2%
|
-
|
|
4
|
Блок управления
|
7%
|
-
|
|
5
|
БРП
|
3%
|
6.3%
|
|
6
|
Кабельная сеть
|
32%
|
25%
|
|
7
|
Итого:
|
100%
|
100%
|
1.2 Анализ
волоконно-оптических линий связи, используемых в ракетно-космической технике
К настоящему времени способы передачи информации аппаратуры КА ДЗЗ
потребовали некоторого пересмотра.
Одним из наиболее перспективных решений данного вопроса является
внедрение волоконно-оптических линий связи для передачи информации в аппаратуре
КА.
Первоначально рассматривалось 4 варианта реализации межсистемных линий
связи:
. Высокоскоростной двунаправленный сетевой интерфейс Space Wire.
На сегодняшний день существуют интерфейсные приемные и передающие
микросхемы, обеспечивающие реализацию данного интерфейса как иностранного
производства, так и разработанные отечественными фирмами.
Рассматриваемый интерфейс допускает передачу информации на тактовой
частоте до 400 МГц. Обмен в Space Wire
осуществляется по 4-м дифференциальным линиям связи с использованием LVDS передатчиков и согласованных с ними LVDS приемников. При этом сами линии
связи должны быть выполнены с использованием импортных кабелей, содержащих
витые пары с нормированным волновым сопротивлением, не выпускающихся в
настоящее время в России. Кроме того, для применения в аппаратуре КА ДЗЗ должны
быть использованы соответствующие герметичные высокочастотные разъемы, что
также достаточно проблематично. Особенностью интерфейса Space Wire является также то, что он разработан для сетевого
двухстороннего обмена, его протокол и все интерфейсные микросхемы выполнены с
учетом данного обстоятельства. Это существенно затрудняет его использование при
реализации линий связи между СППИ и системой накопления информации, где
необходимо реализовать одностороннюю передачу информации по схеме
«точка-точка».
. Был предложен к рассмотрению интерфейс передачи информации,
используемый в современных авиационных комплексах, с тактовой частотой до 400
МГц.
Рассматриваемый интерфейс разработан с учетом односторонней передачи
информации по схеме «точка-точка» по согласованной линии связи, содержащей две
витые пары. Для его реализации не требуются специальные интерфейсные схемы, а в
качестве приемников и передатчиков используются LVDS микросхемы.
Однако при его использовании на частотах до 400 МГц линии связи должны
быть так же, как и в Space Wire выполнены с
использованием импортных кабелей, содержащих витые пары с нормированным
волновым сопротивлением и соответствующие герметичные высокочастотные разъемы.
. Был предложен вариант использования в линии передачи информации новых
импортных микросхем многоканальных высокочастотных LVDS приемников и передатчиков со встроенными
непосредственно в кристаллы мультиплексорами и демультиплексорами, что
позволяет на передающем конце сворачивать параллельную шину, а на приемном
снова ее разворачивать. При этом сокращается количество линий в канале связи до
одной дифференциальной витой пары, и могут достигаться скорости передачи
информации до 1 Гбит в секунду. Однако с увеличением потока передаваемых данных
требования к самим линиям проводной передачи и соединителям существенно возрастают,
что ограничивает возможность использования данного интерфейса на борту КА.
. Был также рассмотрен вариант использования интерфейса SerDes, позволяющего вести передачу
информации на расстояния до 50 метров по витой паре проводов на частоте 1,32
ГГц. При этом скорость передачи при использовании интерфейса SerDes может достигать 1,056 Гбит в
секунду. Однако и в этом случае требуются высокочастотные герметичные
соединители и согласованные высокочастотные проводные линии связи. Кроме того,
при работе с такими частотами передачи цифровой информации по проводам в
многоканальной аппаратуре возникает большая вероятность взаимовлияния каналов.
В процессе обсуждения интерфейса было высказано мнение о необходимости
рассмотрения возможности использования наряду с интерфейсом SerDes волоконно-оптической линии передачи.
После рассмотрения данного предложения было принято решение о внедрении
волоконно-оптических линий связи и их компонентов для передачи информации в
аппаратуру космических аппаратов, так как они имеют ряд преимуществ перед
электрическими линиями связи:
- низкая масса волоконно-оптических линий связи позволяет сократить массу
линий связи более чем в 10 раз;
- высокая пропускная способность волоконно-оптических линий
связи позволяет практически снять ограничения по скорости передачи информации,
которая раньше ограничивалась скоростью передачи информации через герметичные
электрические соединители;
- устойчивость волоконно-оптических линий связи к помехам и
электромагнитным наводкам обеспечивает защиту передаваемой информации и
электромагнитную совместимость при работе с другой аппаратурой космического
аппарата;
- устойчивость волоконно-оптических линий связи к радиации,
необходимая для данного типа систем;
- полная гальваническая развязка волоконно-оптической линии
передачи обеспечивает электрическую независимость СППИ от системы накопления
ВИ;
- небольшие габаритные размеры линий связи и оптических
компонентов позволяют значительно сократить габаритные размеры СППИ;
- низкая потребляемая и рассеиваемая мощность при передаче
информации значительно сокращает энергопотребление СППИ.
В настоящее время компоненты волоконно-оптических линий широко
используются в боевой авиации, на подводных лодках, в составе подвижных
комплексов противовоздушной обороны, а также имеются примеры использования ВОЛП
и на космических объектах. Так, по заявлению представителей ОАО «НПК СПП» на
борту международной космической станции вот уже в течение 11 лет работает
волоконно-оптическая линия в системе передачи телеметрической информации.
Однако, учитывая специфичность систем приема и преобразования информации
КА ДЗЗ, необходимо пересмотреть методы построения систем передачи для
использования на КА ДЗЗ. Разработан целый ряд волоконно-оптических компонентов,
которые удовлетворяют требованиям по использованию в аппаратуре СППИ КА ДЗЗ:
- оптические передатчики;
- оптические приемники;
- семейство оптических кроссов;
- оптические соединители;
- линии связи для применения внутри блока ОЭП;
- линии связи между ОЭП и аппаратурой накопления ВИ;
- линии связи, используемые в аппаратуре накопления ВИ и
контрольно-измерительной аппаратуре.
Типовая схема волоконно-оптической линии передачи информации для СППИ КА
ДЗЗ изображена на рисунке 1.4.
Рисунок 1.4. Схема волоконно-оптической линии передачи.
Обеспечение надежности волоконно-оптических компонентов достигается за
счет:
- применения материалов и комплектующих изделий, поставляемых от надежных и
аттестованных поставщиков;
- применения технологии монтажа, пайки компонентов ЭРИ на
печатную плату и контроля отработанной технологии.
Каждое изделие подвергается проведению испытаний, таких как:
- визуальный контроль монтажа перед заваркой корпуса;
- виброиспытания в диапазоне частот;
- многократные удары;
- одиночные удары;
- термообработка перед заваркой корпуса;
- электротермообработка;
- проверка внешнего вида и маркировка;
- проверка габаритных, установочных и присоединительных
размеров;
- проверка оптических и электрических параметров;
- проверка функционирования при повышенной рабочей температуре;
- проверка функционирования при пониженной рабочей температуре;
- проверка функционирования при воздействии низкочастотной
вибрации.
Волоконно-оптические системы передачи, разрабатываемые для космических
аппаратов, положительно прошли все наземные испытания.
Тем не менее, поскольку ВОЛП в аппаратуре СППИ КА ДЗЗ стали
использоваться впервые, выполненного объема работ было недостаточно, чтобы
гарантировать безупречную работу линий в бортовой системе. Стало ясно, что ВОЛП
требуют многократных испытаний, которые не должны ограничиваться только
проверкой работоспособности оптического волокна. Наряду с ним в диагностике
нуждаются всевозможные разъемы и оптические компоненты, входящие в состав
линии. Из этого следует, что ВОЛП нуждаются в комплексной проверке, которая
предполагает проверку всего тракта приема и передачи информации. Обеспечить
такую проверку представляется возможным только после этапа прокладки ВОЛП на
борту ракетоносителя (РН). Это позволило бы тестировать линию, имитируя
реальные условия в бортовой системе.
1.3 Понятие
отказа в технических системах. Анализ отказов в оптоволоконных линиях связи
Все более возрастающие требования к надежности цифровых систем вызывают
необходимость создания и внедрения современных методов и технических средств контроля и диагностики для различных стадий жизненного цикла.
Под надежностью и безопасностью технической системы понимается ее
защищенность от случайных или преднамеренных вмешательств в нормальный процесс
ее функционирования. Такие вмешательства могут привести как к единичным сбоям в
работе, так и к общему отказу системы.
Отказ - это событие, заключающееся в нарушении работоспособности объекта,
когда один или несколько рабочих параметров выходят за допустимые пределы.
Отказы возникают вследствие отказов отдельных составляющих, расстройки,
разрегулирования, разрушения или изменения структуры объекта, а также при
воздействии внешних помех.
Отказы относятся к малоизученным явлениям. Это объясняется, прежде всего,
тем, что время возникновения отказа зависит от большого числа случайных
факторов, его трудно исследовать и еще труднее измерить.
Время возникновения отказа или время работы системы между отказами
представляют собой явления случайные. Наблюдая за внешними проявлениями отказов,
можно видеть, что они приводят к различным последствиям, таким как полное
прекращение работы системы, ухудшение ее характеристик и временное прекращение
работы с последующим восстановлением. Случайность времени отказов связана со
случайными изменениями: условий эксплуатации, технологического процесса,
условий транспортировки и прочих.
Отказавшая система обычно восстанавливается, так как ее отказы могут
возникнуть из-за отказов элементов различного типа, расположенных в различных
местах сложной системы. Время восстановления также является случайной
величиной.
Существует 4 стадии эксплуатации изделия:
) Исправное состояние - это состояние объекта, при котором он
соответствует всем требованиям нормативно-технической и/или конструкторской
документации.
) Работоспособное состояние - это состояние объекта, при котором
значения всех параметров, характеризующих способность выполнять заданные
функции, соответствуют требованиям нормативно-технической и/или конструкторской
документации.
) Неработоспособное состояние - это состояние объекта, при котором
значения хотя бы одного параметра, характеризующего способность выполнять
заданные функции, не соответствует требованиям нормативно технической и/или
конструкторской документации.
Рисунок 1.5. Связь технического изделия: 1 - повреждение; 2 - отказ; 3
переход в предельное состояние; 4 - восстановление; 5 - ремонт.
) Предельное состояние - это состояние объекта, при котором его
дальнейшая эксплуатация недопустима или нецелесообразна, либо восстановление
его работоспособного состояния невозможно или нецелесообразно.
Отказы в оптоволоконных линиях связи.
В оптоволокне отказы, в первую очередь, могут быть вызваны изломом
оптоволоконного кабеля. Излом оптоволокна приводит к полной потере передаваемого
сигнала. При этом процедура восстановления волоконно-оптической линии связи
заключается в поиске оператором места разрыва и ручной спайке волокна либо
полной замене кабеля.
Однако не только излом кабеля может стать причиной нарушения передачи информации.
Наряду с прочими механическими повреждениями к полной или частичной потере
передаваемого сигнала может привести перегиб оптоволоконного кабеля. В
зависимости от радиуса изгиба существует риск возникновения микротрещин,
приводящих к росту потерь сигнала. При недостаточно большом радиусе изгиба
увеличивается затухание тракта, а при слишком малом - возможны поломки
световедущих частей оптических кабелей.
Следует также иметь ввиду, что волоконно-оптический тракт даже в самой
минимальной конфигурации не может ограничиваться кабелем. В состав линии могут
входить всевозможные оптические компоненты, среди которых оптические
передатчики и приемники, оптические соединители и специализированные оптические
компоненты. Внешние механические воздействия нередко приводят к смещению
разъемов друг относительно друга, в результате чего происходит потеря сигнала.
Крайне важна заделка оптоволокна в разъем, ведь от этого зависит
эффективность перехода световых импульсов в местах соединений. Поэтому во всех
инструкциях по волоконно-оптическим линиям связи на подготовку и заделку
оптических разъемов обращают особое внимание. Заделанный в разъеме конец
оптоволокна герметизируют клеем, эпоксидной смолой или другим заполнителем. Не
заделанное должным образом волокно может стать одной из наиболее вероятных
причин отказа оптоволоконной системы.
.4 Выводы
Таким образом, анализ средств передачи данных в ракетно-космической
технике показал, что традиционные линии связи не удовлетворяют предъявленным
требованиям. В качестве одного из вариантов реализации межсистемных линий связи
было предложено использовать оптическое волокно, что повлекло за собой принятие
решения о внедрении оптоволоконных линий связи в бортовые системы. Однако
гарантировать безотказную работу волоконно-оптических линий передач в бортовой
системе не представлялось возможным в связи со специфичностью области их
применения. Был проведен анализ отказов в оптоволоконных линиях связи, который
выявил необходимость обеспечения проверки тракта приема и передачи информации
на борту космического аппарата.
2.
Специальный раздел: «Разработка экспериментального блока для проведения
диагностики бортовых волоконно-оптических линий передач цифровой информации в
автоматическом режиме»
2.1
Разработка технических требований для блока диагностики волоконно-оптических
линий передач в составе ракетоносителя
Был поставлен вопрос о проведении натурных испытаний ВОЛП в составе РН.
Решением данного вопроса стало создание блока, имитирующего работу бортовой
волоконно-оптической системы передачи и обеспечивающего диагностику работы
волоконно-оптических линий передачи с выдачей результатов в телеметрическую
систему РН для подтверждения работоспособности оптического приемника (ОПРМ),
оптического передатчика (ОПРД), волоконно-оптических кабелей, оптических
кроссов и оптических соединителей в условиях эксплуатации, действующих на РН.
Для этого необходимо разработать систему диагностики, которая будет
удовлетворять следующим требованиям:
- формирование цифрового тестового сигнала для диагностики
работоспособности волоконно-оптических линий передачи;
- передача через волоконно-оптические кабели тестового сигнала
и его последующего приема;
- автоматическая диагностика работоспособности
волоконно-оптических линий передачи путем проверки достоверности передаваемого
тестового сигнала;
- формирование и выдача в телеметрическую систему РН
результатов проведения диагностики работоспособности волоконно-оптических линий
передачи;
- формирование и выдача в телеметрическую систему РН
телеметрической информации о состоянии работы блока.
Вследствие большой разницы в значениях виброускорений, помех по цепям
питания, температурных воздействий, а также других параметров воздействия на
волоконно-оптические линии связи, было принято решение о разработке комплекта
ВОЛП-ЦИ (волоконно-оптической линии передачи цифровой информации) из трех
блоков диагностики ЦБВОП для более детального изучения поведения
волоконно-оптических линий связи при воздействии внешних факторов в условиях
эксплуатации, действующих на РН. Комплект каждого блока включает в себя блок
ЦБВОП и необходимые оптические компоненты. Так как значения внешних возмущающих
факторов на ступенях РН сильно различаются, то предусмотрен монтаж нескольких
комплектов блока ЦБВОП на РН (рисунок 2.1).
Рисунок 2.1. Состав
комплекта ВОЛП-ЦИ
Также при разработке были учтены требования, обеспечивающие совместимость
комплекта ВОЛП-ЦИ с системами РН:
- ВОЛП-ЦИ должна работать только в режиме диагностики работоспособности
волоконно-оптических линий передачи;
- ВОЛП-ЦИ должна обеспечивать проверку подстыковки
волоконно-оптических кабелей в процессе сборки РН;
- ВОЛП-ЦИ (ЦБВОП) должна обеспечивать выдачу в ТМ-систему РН
цифровую информацию с частотой смены слова 10 Гц. Слово представляет собой 20
разрядный параллельный код;
- запись информации в выходной регистр ЦБВОП должна
осуществляется с использованием синхронизирующих импульсов;
- выходные сигналы с ЦБВОП в ТМ-систему должны выдаваться
относительно общего провода, не связанного гальванически с корпусом РН и цепями
питания "27 В" ВОЛП-ЦИ. Соединение общих измерительных проводов друг
с другом и с корпусом РН должно осуществляться со стороны ТМ-системы;
- блок ЦБВОП должен обеспечивать передачу тестового сигнала по
волоконно-оптическим линиям связи на расстояние до 200 м.;
- включение ВОЛП-ЦИ должно обеспечиваться путем подачи на нее
питающего напряжения 27 В;
- напряжение питания должно выдаваться на ВОЛП-ЦИ по двум
отдельным фидерам "+27 В" и "-27 В". Для защиты шины
питания в ВОЛП-ЦИ допускается установка плавких предохранителей;
- шины питания внутри ВОЛП-ЦИ не должны иметь соединения с
корпусом РН ни по одному из полюсов питания, а при периодическом возникновении
такого соединения вне ВОЛП-ЦИ в процессе испытаний РН, либо случайном соединении
в ВОЛП-ЦИ или в любой другой аппаратуре в процессе эксплуатации РН ВОЛП-ЦИ
должна сохранять работоспособность;
- отказ любого элемента ВОЛП-ЦИ или самопроизвольное его
срабатывание не должно приводить к отказу ВОЛП-ЦИ или невозможности дальнейшего
выполнения ВОЛП-ЦИ функциональных задач.
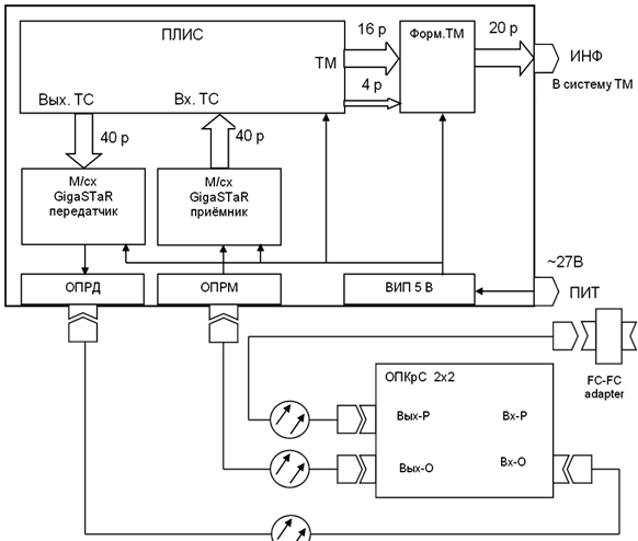
2.2
Структурная схема ячейки ЦБВОП
Каждый комплект ЦБВОП включает в себя следующие оптические компоненты:
оптический кросс (ОПКрС) и три оптических кабеля (рисунок 2.2).
Блок ЦБВОП имеет три электрических и два оптических разъема. К
электрическим разъемам относятся:
- разъем питания +27В «ПИТ»;
- информационный разъем обмена с ТМ-системой РН «ИНФ»;
- технологический разъем для прошивки микросхем блока «ТЕХН».
Оптические разъемы являются информационными и включают в себя оптический
выход и оптический вход.
Рисунок 2.2. Схема блока ЦБВОП с оптическими компонентами
Оптический кросс ОПКрС (2х2) представляет собой пассивный оптический
разветвитель - 2 входа и 2 выхода.
Структурная схема оптического кросса ОПКрС представлена на рисунке 2.3.
Рисунок 2.3. Структурная схема оптического кросса ОПКрС(2х2)
Назначение оптического кросса - контроль выходной оптической мощности в
оптической линии при работе блока на этапе наземных испытаний в составе РН.
Блок ЦБВОП генерирует тестовую последовательность сигналов для передачи
информации в волоконно-оптическую линию связи, после чего сигнал проходит через
оптический кросс и возвращается в блок для анализа прохождения тракта
волоконно-оптической передачи. Предусмотрена возможность определения ослабления
оптической мощности сигнала через технологический волоконно-оптический кабель.
Таким образом, можно диагностировать качество стыковки волоконно-оптических
кабелей во время испытаний и монтажа на РН. Для этого к FC-FC адаптеру
необходимо подключить измеритель оптической мощности, а на блок ЦБВОП подать
питание.
Волоконно-оптическая линия передачи, которая проходит испытания в составе
РН, спроектирована для передачи информации из системы приема и преобразования
информации в систему накопления видеоинформации. Соответственно, для
диагностирования ВОЛП необходимо создать условия, максимально имитирующие
работу системы СППИ.
В первую очередь необходимо использовать аналогичную СППИ элементную
базу. При выполнении этого условия можно создать условия, максимально точно
воспроизводящие тракт передачи информации.
Во-вторых, необходимо обеспечить автономную работу блока. Для выполнения
этого условия блок работает по жестко заданному алгоритму в стационарном
режиме.
После подачи на блок напряжения питания производится непрерывное
генерирование определенного информационного сигнала, передаваемого с
оптического передатчика блока, и далее, через оптическую линию связи
(оптические кабели и оптический кросс), сигнал поступает на вход оптического
приемника этого же блока. Переданные тестовые информационные массивы
сравниваются с принятыми массивами информации. По результатам сравнения
переданного и принятого массивов информации блок формирует отчетную информацию
для передачи в телеметрическую систему РН.
Структурная схема формирования тестового сигнала, передачи и приема
информации в цифровом блоке волоконно-оптической передачи и передачи отчетной
информации в телеметрическую систему представлена на рисунке 2.4.
Рисунок 2.4.Структурная схема блока
ЦБВОП комплекта ВОЛП-ЦИ.
.3 Анализ
элементной базы ячейки ЦБВОП
Для имитации выходного информационного потока СППИ, анализа информации и
формирования телеметрических отчетов используется микросхема ПЛИС
XC2V4000-5BF957I семейства VIRTEX-II в корпусе с 957 выводами, используемая в
ячейке обработки ВИ СППИ.
Микросхема XC2V4000-5BF957I является программируемой логической
интегральной схемой, т.е. пользователь может ее запрограммировать для своих
конкретных целей. Для загрузки ПЛИС в блоке ЦБВОП используется технологический
разъем «ТЕХН». Конфигурационные данные формируются с помощью программного
пакета XILINX Foundation. Одной из особенностей ПЛИС является то, что она не
имеет постоянной конфигурационной памяти, для этого фирма XILINX выпускает к
каждой модели ПЛИС рекомендуемую микросхему постоянного запоминающего
устройства (ПЗУ). Для XC2V4000-5BF957I будем использовать ПЗУ XCF32P.
Для составления схемы электрической принципиальной не обязательно наличие
готовой логической схемы конфигурации ПЛИС. Однако необходимо знать назначение
всех выводов микросхем и иметь расчет фильтров питания.
Фильтры питания состоят из параллельно соединенных конденсаторов, которые
при определенном скачке напряжения не дадут резко изменить уровень на своих
контактах (переходные процессы). Выбор фильтров не имеет принципиального
значения и зависит от количества задействованных пользовательских выводов и
выводов под питание. В блоке ЦБВОП была применена схема фильтров, используемая
в ячейке ТОС для обеспечения аппаратной имитации СППИ.
Все пины делятся на пользовательские (которые можно использовать по
своему усмотрению в зависимости от загруженной логики), зарезервированные
(имеют определенную закрепленную за собой функцию) и пины по питанию (питание
внешних выводов, питание внутренней логики и земля).
- IO_LXXY - пользовательские входы-выходы.
Входы-выходы с двойной целью (которые становятся пользовательскими после
процесса конфигурирования ПЛИС):
- DIN/D0-D7 - входы-выходы конфигурации.
Применяются при конфигурировании ПЛИС, причем пин DIN используется при
загрузке конфигурации с компьютера, а D0-D7 - с ПЗУ.
- CS_B - пин, отвечающий за выбор кристалла;
- RDWR_B - пин разрешения на конфигурацию;
- BUSY/DOUT - устанавливает очередность во время
конфигурирования ПЛИС с нескольких ПЗУ;
- INIT_B - пин подготовки к загрузке ПЛИС, очистка;
- GCLKx(P), GCLKx(P) - входы-выходы для принятия и выработки
тактирующих сигналов, сигналов генераторов;
- VRP, VRN, VREF - вспомогательные пины.
Входы-выходы с тройной целью:
- D2, D4/ALT_VRP, D3, D5/ALT_VRN - возможно использование их вместо
соответствующих пинов с двойной целью, если они заняты.
Описание основных входов-выходов по питанию:
- VCCO - питание внешних выводов (3,3 В);
- VCCINT - питание внутренней центральной логики(1,5 В);
- VCCAUX - вспомогательное питание (3,3 В);
- GND - земля.
Все пины, выделенные под питание, подключаем к соответствующим схемам
стабилизации и фильтрам.
Загрузка конфигурационных данных может производиться как через ПЗУ, так и
через параллельный кабель. Способ конфигурации определяется запаянным
контактом.
Конфигурирование устройств Virtex II - процесс, состоящий из трех фаз. В
первой фазе конфигурирования очищается память. Следующая фаза - загрузка данных
в конфигурационную память. Наконец, активизируется логика (фаза Start-Up).
Для передачи информации в волоконно-оптическую линию используется
интерфейсная микросхема GigaSTaR
.gaSTaR (от англ. Gigabit/s Serial Transmitter and Receiver) представляет собой универсальный
высокоскоростной двухточечный канал связи. Он состоит из двух устройств:
передатчик INGT165 и приемник INGR165.
Передатчик INGT165
преобразует параллельно передаваемые данные до 36-и бит в последовательный
поток двоичных сигналов. Дифференциальные выходы логической схемы, работающей в
токовом режиме, могут быть напрямую подключены к экранированной витой паре на
расстоянии до 50 метров, либо непосредственно к входам оптоволоконных модулей
для обеспечения связи на более дальние расстояния.
Приемник INGR165
преобразует последовательный поток двоичных сигналов в исходный формат
параллельно передаваемых данных. Это происходит без участия пользователя и без
затраты времени и ресурсов на выполнение протокольных функций.
Внутренние высокоскоростные средства обеспечивают синхронизацию сигналов,
кодирование/декодирование потока двоичных сигналов и установление тактовой
синхронизации после сбоя. Линии связи GigaSTaR могут работать параллельно, масштабируя ширину полосы
пропускания кратно 1.188 Гбит/с (скорость передачи данных).
Параллельный интерфейс передатчика способен поддерживать различные режимы
работы, обеспечивая тем самым максимальную гибкость для конкретной прикладной
системы. Параллельный интерфейс передатчика представлен на рисунке 2.5.
Управляющие сигналы:
RESET#
- асинхронный активный малый сигнал сброса. После включения питания и активации
генератора тактовых импульсов необходимо поддерживать RESET# в режиме малого сигнала в течение хотя бы 1мс. Канал
начинает функционировать, как только сигнал приемника LSYNC# становится низким.
Рисунок 2.5 Параллельный интерфейс передатчика
LOCK=’1’
- свидетельствует о том, что внутренняя фазовая автоматическая подстройка
частоты (ФАПЧ) заблокирована. Если LOCK не был назначен, передатчик не готов к работе.
PARGEN=’1’
- активирует внутреннее формирование сигнала четности. В этом режиме входной
вывод контроля по четности не учитывается. Происходит генерирование внутреннего
бита контроля по четности, который затем передается.
Внутренний флаг устанавливается по положительному фронту FLAGI и вставляется в конце
информационного слова во время передачи. Приемник декодирует флаг из
последовательности двоичных сигналов и устанавливает соответствующий уровень на
выходе FLAGO. Сигнал может использоваться для
обозначения конечной отметки блока данных.
VALID=’1’
- сообщает передатчику о том, что данные доступны. После установки VALID происходит запуск RDCLK. PDATA[35..0] отсчитывает каждый положительный фронт RDCLK. Отключение VALID приводит к блокировке RDCLK, и через канал GigaStar начинают передаваться избыточные
биты до тех пор, пока синхронизация не будет установлена.
Параллельный интерфейс приемника представлен на рисунке 2.6.
Рисунок 2.6 Параллельный интерфейс приемника
RESET#
- асинхронный активный малый сигнал сброса. После включения питания и активации
генератора тактовых импульсов необходимо поддерживать RESET# в режиме малого сигнала в течение хотя бы 1мс. Канал
начинает функционировать, как только сигнал приемника LSYNC# становится низким.
LOCK=’1’
- свидетельствует о том, что внутренняя ФАПЧ заблокирована. Если LOCK не был назначен, передатчик не готов
к работе.
EQLSEL
- активирует внутренний стабилизатор для обеспечения возможности использования
кабелей длиной более 10 метров.
FLAGO
- выходной флаг боковой полосы частот. По умолчанию состояние флага после
сброса принимает значение «0».
Бит состояния LSYNC# назначается
в том случае, если приемник GigaStar синхронизирован с поступающим потоком двоичных чисел. Если приемник не
синхронизирован должным образом, LSYNC#
не устанавливается.
Приемник постоянно осуществляет контроль четности каждого переданного
слова и сравнивает его с битом четности. Несоответствие выражается в ошибке
передачи, в ходе чего назначается сигнал PERR# для данного цикла информации. LSYNC# сбрасывается, и приемник начинает
повторную синхронизацию канала связи.
Гальваническая развязка вывода ТМ-информации в ТМ-систему РН
осуществляется с помощью транзисторной оптопары 249КП1С (рисунок 2.7). Эта
транзисторная оптопара предназначена для использования в качестве бесконтактных
ключевых элементов в схемах, требующих электрической изоляции входных и
выходных цепей.
Рисунок 2.7 Схема расположения и электрическая схема выводов
Соответственно, нам необходимо подключить выходные каналы к ножкам, как
показано в таблице 2.1.
Таблица 2.1 Назначения выводов
|
№
|
Номер вывода
|
Цепь
|
|
I канал
|
II канал
|
|
|
1
|
2
|
9
|
Анод излучающего диода
|
|
2
|
3
|
10
|
Катод излучающего диода
|
|
3
|
13
|
6
|
Эмиттер транзистора (n-p-n)
|
|
4
|
11
|
4
|
Коллектор транзистора
|
Схема стыковки системы РН с блоком ЦБВОП показана на рисунке 2.8.
Рисунок 2.8. Схема стыковки системы РН с блоком ЦБВОП
.4 Анализ
средств диагностики ячейки ЦБВОП
Выходная информация блоков ЦБВОП передается непрерывно в течение всего
времени работы и формируется независимо друг от друга с каждого блока.
Она не зависит от стационарного времени РН и начинает передаваться сразу
после подачи питания на блоки. Для определения фронтов информации при передаче
используется сигнал сопровождения информации, передаваемый по одному из
разрядов информационного массива блока ЦБВОП комплекта ВОЛП-ЦИ.
Состав и структура информационного массива блока ЦБВОП комплекта ВОЛП-ЦИ
представлена в таблицах 2.2 и 2.3.
Таблица 2.2. Состав кадра выходной информации блока ЦБВОП
|
№
|
Наименование параметра
|
Условное обозначение
|
Разрядность параметра, бит
|
Значение параметра
|
|
1
|
Количество битых слов за 0,1с
|
КБС
|
6
|
0 ≤ КСС ≤ 26-1
|
|
2
|
Количество сбоев в работе ВОЛП за 5с
|
КСР
|
6
|
0 ≤ КСР ≤ 26-1
|
|
Примечание: 1 - значение параметра пересчитывается согласно
таблице 2.4; 2 - значение параметра пересчитывается согласно таблице 2.5.
|
Таблица 2.3. Структура кадра выходной информации блока ЦБВОП.
|
Канал передачи
|
Р1
|
P2
|
P3
|
P4
|
P5
|
P6
|
P7
|
P8
|
P9
|
P10
|
P11
|
P12
|
|
Наименование параметра
|
КБС
|
КСР
|
Информационный массив отчетов информации состоит из следующих
телеметрических параметров диагностики блока ЦБВОП и линии ВОЛП:
- количество битых слов за 0,1 с (КБС) - подсчитывает
количество слов, прошедших через волоконно-оптическую линию передачи (ВОЛП) в
течение 0,1с, в которых были обнаружены ошибки после приема и сравнения их с
исходной информацией. Выходной информацией является отчет об ошибках передачи
за предыдущую 0,1с. относительно времени передачи отчета. Время передачи одного
отчета - 0,1с. Так как в 0,1с времени проходит около 3-4 млн. слов, а отведенное
количество бит равно шести, для качественной оценки информация кодируется по
логарифмической шкале. Соответствие передаваемых значений параметра «КБС» и
количества сбитых слов за 0,1с представлено в таблице 2.4;
Таблица 2.4. Соответствия передаваемых значений параметра «КБС»
|
Значение параметра КБС
|
Количество битых слов за 0,1с
|
Значение параметра КБС
|
Количество битых слов за 0,1с
|
|
Р1
|
Р2
|
Р3
|
Р4
|
Р5
|
Р6
|
|
Р1
|
Р2
|
Р3
|
Р4
|
Р5
|
Р6
|
|
|
0
|
0
|
0
|
0
|
0
|
0
|
0
|
0
|
0
|
0
|
0
|
0
|
≥ 5000
|
|
0
|
0
|
0
|
0
|
0
|
1
|
1
|
1
|
0
|
0
|
0
|
0
|
1
|
≥ 6000
|
|
0
|
0
|
0
|
0
|
1
|
0
|
2
|
1
|
0
|
0
|
0
|
1
|
0
|
≥ 7000
|
|
0
|
0
|
0
|
0
|
1
|
1
|
3
|
1
|
0
|
0
|
0
|
1
|
1
|
≥ 8000
|
|
0
|
0
|
0
|
1
|
0
|
0
|
4
|
1
|
0
|
0
|
1
|
0
|
0
|
≥ 9000
|
|
0
|
0
|
0
|
1
|
0
|
1
|
5
|
1
|
0
|
0
|
1
|
0
|
1
|
≥ 10000
|
|
0
|
0
|
0
|
1
|
1
|
0
|
6
|
1
|
0
|
0
|
1
|
1
|
0
|
≥ 20000
|
|
0
|
0
|
0
|
1
|
1
|
1
|
7
|
1
|
0
|
0
|
1
|
1
|
1
|
≥ 30000
|
|
0
|
0
|
1
|
0
|
0
|
0
|
8
|
1
|
0
|
1
|
0
|
0
|
0
|
≥ 40000
|
|
0
|
0
|
1
|
0
|
0
|
1
|
9
|
1
|
0
|
1
|
0
|
0
|
1
|
≥ 50000
|
|
0
|
0
|
1
|
0
|
1
|
0
|
≥ 10
|
1
|
0
|
1
|
0
|
1
|
0
|
≥ 60000
|
|
0
|
0
|
1
|
0
|
1
|
1
|
≥ 20
|
1
|
0
|
1
|
0
|
1
|
1
|
≥ 70000
|
|
0
|
0
|
1
|
1
|
0
|
0
|
≥ 30
|
1
|
0
|
1
|
1
|
0
|
0
|
≥ 80000
|
|
0
|
0
|
1
|
1
|
0
|
1
|
≥ 40
|
1
|
0
|
1
|
1
|
0
|
1
|
≥ 90000
|
|
0
|
0
|
1
|
1
|
1
|
0
|
≥ 50
|
1
|
0
|
1
|
1
|
1
|
0
|
≥ 100000
|
|
0
|
0
|
1
|
1
|
1
|
1
|
≥ 60
|
1
|
0
|
1
|
1
|
1
|
1
|
≥ 200000
|
|
0
|
1
|
0
|
0
|
0
|
0
|
≥ 70
|
1
|
1
|
0
|
0
|
0
|
0
|
≥ 300000
|
|
0
|
1
|
0
|
0
|
0
|
1
|
≥ 80
|
1
|
1
|
0
|
0
|
0
|
1
|
≥ 400000
|
|
0
|
1
|
0
|
0
|
1
|
0
|
≥ 90
|
1
|
1
|
0
|
0
|
1
|
0
|
≥ 500000
|
|
0
|
1
|
0
|
0
|
1
|
1
|
≥ 100
|
1
|
1
|
0
|
0
|
1
|
1
|
≥ 600000
|
|
0
|
1
|
0
|
1
|
0
|
0
|
≥ 200
|
1
|
1
|
0
|
1
|
0
|
0
|
≥ 700000
|
|
0
|
1
|
0
|
1
|
0
|
1
|
≥ 300
|
1
|
1
|
0
|
1
|
0
|
1
|
≥ 800000
|
|
0
|
1
|
0
|
1
|
1
|
0
|
≥ 400
|
1
|
1
|
0
|
1
|
1
|
0
|
≥ 900000
|
|
0
|
1
|
0
|
1
|
1
|
1
|
≥ 500
|
1
|
1
|
0
|
1
|
1
|
1
|
≥ 1000000
|
|
0
|
1
|
1
|
0
|
0
|
0
|
≥ 600
|
1
|
1
|
1
|
0
|
0
|
0
|
≥ 2000000
|
|
0
|
1
|
1
|
0
|
0
|
1
|
≥ 700
|
1
|
1
|
0
|
0
|
1
|
≥ 3000000
|
|
0
|
1
|
1
|
0
|
1
|
0
|
≥ 800
|
1
|
1
|
1
|
0
|
1
|
0
|
≥ 4000000
|
|
0
|
1
|
1
|
0
|
1
|
1
|
≥ 900
|
1
|
1
|
1
|
0
|
1
|
1
|
≥ 5000000
|
|
0
|
1
|
1
|
1
|
0
|
0
|
≥ 1000
|
1
|
1
|
1
|
1
|
0
|
0
|
≥ 6000000
|
|
0
|
1
|
1
|
1
|
0
|
1
|
≥ 2000
|
1
|
1
|
1
|
1
|
0
|
1
|
≥ 7000000
|
|
0
|
1
|
1
|
1
|
1
|
0
|
≥ 3000
|
1
|
1
|
1
|
1
|
1
|
0
|
≥ 8000000
|
|
0
|
1
|
1
|
1
|
1
|
1
|
≥ 4000
|
1
|
1
|
1
|
1
|
1
|
1
|
≥ 9000000
|
- количество отчетов со сбоями в работе ВОЛП за 5 с (КСР) -
подсчитывает количество отчетов «КБС» в течение 5 секунд, в которых были
обнаружены сбои в передаче информации через ВОЛП. Выходной информацией является
отчет об ошибках в передачи за предыдущие 5с. относительно времени передачи
отчета. Время передачи одного отчета - 5с. За это время отсылается 50 отчетов по 0,1с. Так как количество
отведенных бит равно шести, информация кодируется по логарифмической шкале.
Соответствие передаваемых значений параметра «КСР» и количества сбоев в ВОЛС за
5 с представлено в таблице 2.5.
Таблица 2.5. Соответствие передаваемых значений параметра «КСР»
|
Значение параметра КСР
|
Количество сбоев в ВОЛП за 5с
|
Значение параметра КСР
|
Количество сбоев в ВОЛП за 5с
|
|
Р7
|
Р8
|
Р9
|
Р10
|
Р11
|
Р12
|
|
Р7
|
Р8
|
Р9
|
Р10
|
Р11
|
Р12
|
|
|
0
|
0
|
0
|
0
|
0
|
0
|
0
|
0
|
1
|
1
|
0
|
1
|
0
|
26
|
|
0
|
0
|
0
|
0
|
0
|
1
|
1
|
0
|
1
|
1
|
0
|
1
|
1
|
27
|
|
0
|
0
|
0
|
0
|
1
|
0
|
2
|
0
|
1
|
1
|
1
|
0
|
0
|
28
|
|
0
|
0
|
0
|
0
|
1
|
1
|
3
|
0
|
1
|
1
|
1
|
0
|
1
|
29
|
|
0
|
0
|
0
|
1
|
0
|
0
|
4
|
0
|
1
|
1
|
1
|
1
|
0
|
30
|
|
0
|
0
|
0
|
1
|
0
|
1
|
5
|
0
|
1
|
1
|
1
|
1
|
1
|
31
|
|
0
|
0
|
0
|
1
|
1
|
0
|
6
|
0
|
1
|
1
|
0
|
1
|
0
|
26
|
|
0
|
0
|
0
|
1
|
1
|
1
|
7
|
1
|
0
|
0
|
0
|
0
|
0
|
32
|
|
0
|
0
|
1
|
0
|
0
|
0
|
8
|
1
|
0
|
0
|
0
|
0
|
1
|
33
|
|
0
|
0
|
1
|
0
|
0
|
1
|
9
|
1
|
0
|
0
|
0
|
1
|
0
|
34
|
|
0
|
0
|
1
|
0
|
1
|
0
|
10
|
1
|
0
|
0
|
0
|
1
|
1
|
35
|
|
0
|
0
|
1
|
0
|
1
|
1
|
11
|
1
|
0
|
0
|
1
|
0
|
0
|
36
|
|
0
|
0
|
1
|
1
|
0
|
0
|
12
|
1
|
0
|
0
|
1
|
0
|
1
|
37
|
|
0
|
0
|
1
|
1
|
0
|
1
|
13
|
1
|
0
|
0
|
1
|
1
|
0
|
38
|
|
0
|
0
|
1
|
1
|
1
|
0
|
14
|
1
|
0
|
0
|
1
|
1
|
1
|
39
|
|
0
|
0
|
1
|
1
|
1
|
1
|
15
|
1
|
0
|
1
|
0
|
0
|
0
|
40
|
|
0
|
1
|
0
|
0
|
0
|
0
|
16
|
1
|
0
|
1
|
0
|
0
|
1
|
41
|
|
0
|
1
|
0
|
0
|
0
|
17
|
1
|
0
|
1
|
0
|
1
|
0
|
42
|
|
0
|
1
|
0
|
0
|
1
|
0
|
18
|
1
|
0
|
1
|
0
|
1
|
1
|
43
|
|
0
|
1
|
0
|
0
|
1
|
1
|
19
|
1
|
0
|
1
|
1
|
0
|
0
|
44
|
|
0
|
1
|
0
|
1
|
0
|
0
|
20
|
1
|
0
|
1
|
1
|
0
|
1
|
45
|
|
0
|
1
|
0
|
1
|
0
|
1
|
21
|
1
|
0
|
1
|
1
|
1
|
0
|
46
|
|
0
|
1
|
0
|
1
|
1
|
0
|
22
|
1
|
0
|
1
|
1
|
1
|
1
|
47
|
|
0
|
1
|
0
|
1
|
1
|
1
|
23
|
1
|
1
|
0
|
0
|
0
|
0
|
48
|
|
0
|
1
|
1
|
0
|
0
|
0
|
24
|
1
|
1
|
0
|
0
|
0
|
1
|
49
|
|
0
|
1
|
1
|
0
|
0
|
1
|
25
|
1
|
1
|
0
|
0
|
1
|
0
|
50
|
Блок ЦБВОП имеет несколько характерных особенностей, которые важны для
декодирования информации. Соответственно, были выработаны требования к приему и
декодированию информационных массивов:
- прием информационных массивов должен производиться непрерывно на частоте
аппаратуры телеметрических систем;
- определение фронтов сигналов производить синхронизирующему
импульсу;
- при декодировании информации необходимо учитывать время
передачи сигнала от каждого канала связи с аппаратурой телеметрических систем;
- при декодировании сигналов усреднить значения по всему
периоду передачи сигнала для исправления одиночных ошибок при передаче;
- при приеме сигналов с частотой приема, превышающей частоту
передачи, разрешено игнорирование начального и конечного битов принятого
сигнала, так как существует вероятность совпадения фронтов формирования и
приема сигнала.
Вид предполагаемой информации, выдаваемой с одного из блоков ВОЛП-ЦИ,
изображен на рисунке 2.9.
Рисунок 2.9 Вид информации, выдаваемой с одного из блоков ВОЛП ЦИ
2.5 Синтез структурной схемы технологического проекта ПЛИС ячейки ЦБВОП
При разработке проекта ПЛИС блока ЦБВОП были учтены следующие требования:
- скорость информационного потока блока ЦБВОП должна соответствовать
скорости потока СППИ;
- генерирование псевдослучайной последовательности тестовой
информации для достоверной оценки передачи по ВОЛП;
- вид упаковки тестовой информации должен соответствовать
передаваемой информации СППИ;
- сравнительное устройство должно производить побитное
сравнение передаваемых и принятых данных;
- формирование телеметрических отчетов должно производиться
согласно требованиям, предъявленным к комплекту ВОЛП-ЦИ;
- модули передачи и приема информации должны соответствовать
используемым в проектах ПЛИС реальной системы.
Структурная схема проекта ПЛИС представлена на рисунке 2.10.
Для обеспечения информационного тракта приема и передачи информации в
генераторе тестовой информации формируется псевдослучайная последовательность,
имитирующая поток видеоинформации. В модуле передачи информации тестовая
информация упаковывается и передается в линию с необходимыми сопроводительными
сигналами. После прохождения через весь тракт волоконно-оптической передачи
информация принимается модулем приема информации и передается в модуль
сравнения информации.
Рисунок 2.10. Структурная схема проекта ПЛИС блока ЦБВОП
Примечание: косая черта обозначает
разрядность вывода
После прохождения через весь тракт волоконно-оптической передачи
информация принимается модулем приема информации и передается в модуль
сравнения информации. Модуль сравнения информации обеспечивает побитовое
сравнение сгенерированных и прошедших через волоконно-оптическую линию слов и
подсчитывает количество потерянных или пришедших с ошибками слов. Формирователь
пакетов каждую 0,1 секунду считывает показания сравнивающего устройства, а
также сигналы о работе элементов волоконно-оптического тракта и блока в целом,
обрабатывает их, формирует и передает телеметрический отчет об их работе.
Технически общая схема блока ЦБВОП реализована в схемотехническом
редакторе пакета Xilinx ISE 10.1 (рисунок 2.11)
Рисунок 2.11 Схема проекта ПЛИС блока ЦБВОП в схемотехническом редакторе
Генератор тактового сигнала ПЛИС имеет частоту 132 МГц. Схема делителя
частоты реализована в модуле генератора тестовой информации и передающем модуле.
Рабочая частота приемо-передатчика GigaStar составляет 33 МГц. На данной частоте происходит формирование
тестовой информации, которая с выхода генератора тестовой информации заводится
на вход передающего модуля. Далее информация упаковывается в пакеты и
отправляется по ВОЛП. Тракт приема и передачи информации моделируется в
тестовом модуле.
Основной технической особенностью данного варианта реализации блока
является структурированность проекта ПЛИС, которая достигается за счет
разбиения блока на отдельные модули, согласно принципу декомпозиции. К
преимуществам такого подхода следует отнести возможность синтеза и
моделирования модулей в отдельности, что повышает вероятность нахождения
возможных ошибок до этапа сборки в единый проект ПЛИС, а также более простое
визуальное восприятие.
2.5.1
Генератор тестовой информации
Назначение генератора тестовой информации состоит в формировании
элементов псевдослучайной последовательности. Обязательным условием при
формировании тестовой информации является ее неповторяемость. Достигается это
за счет использования регистра сдвига с линейной обратной связью (РСЛОС).
Структурная схема РСЛОС представлена на рисунке 2.12.
Рисунок 2.12 Структурная схема регистра сдвига с линейной обратной связью
РСЛОС состоит из двух частей: собственно регистра сдвига и функции
обратной связи. Функция обратной связи представляет собой побитовое сложение по
модулю 2 определенных элементов регистра, которые принято называть отводами.
Когда нужно извлечь очередной элемент, все ячейки регистра сдвигаются вправо на
одну позицию. При этом новый крайний слева элемент определяется как функция
остальных элементов. На выходе регистра оказывается крайний справа элемент. Под
периодом РСЛОС следует понимать длину получаемой последовательности до начала
ее повторения. В начальный момент времени все ячейки РСЛОС инициализируются
произвольными ненулевыми значениями.
Расчет каждого нового элемента регистра производится на том же такте, на
котором очередной элемент последовательности приходит на выходной регистр.
Однако рабочие частоты ПЛИС и передатчика в общем случае могут различаться.
Синхронизация ПЛИС и передатчика достигается с помощью делителя частоты.
Известно, что рабочая частота ПЛИС составляет 132 МГц, в то время как
микросхема передатчика GigaStar работает на частоте 33 МГц, т.е. частоты различаются в 4 раза. В данном
варианте реализации делитель частоты представляет собой двухразрядный счетчик.
Длиной РСЛОС называют количество ячеек, из которых он состоит. Ячейки
пронумерованы 0, 1,2,…,L-1, каждая из которых способна хранить один элемент и
имеет один вход и один выход, а также синхросигнал, который контролирует
смещение данных. В течение каждой единицы времени выполняются следующие
операции:
· содержимое ячейки L-1 формирует часть выходной последовательности;
· содержимое i-й ячейки перемещается в ячейку i+1 для любого i,
0≤i<L-1;
· новое содержимое ячейки 0 определяется элементом обратной
связи, который вычисляется побитовым сложением по модулю 2 с определенными коэффициентами
битов ячеек 0, 1,2,…,L-1.
Рисунок 2.13 Функция обратной связи РСЛОС
Таким образом, в качестве функции обратной связи берется логическая
операция XOR (исключающее ИЛИ), то есть:
на первом шаге:
(2.1)
на
втором шаге:
(2.2)
на
(j−L−1)-м шаге:
(2.3)
Выдаваемая
информация с РСЛОС представляет собой последовательность, являющуюся результатом
вычисления ассоциированного многочлена, общий вид которого выражается следующей
формулой
(2.4)
Его
ненулевые коэффициенты называются отводами, как и соответствующие ячейки
регистра, поставляющие значения аргументов функции обратной связи.
В
реализации проекта ПЛИС блока ЦБВОП псевдослучайная последовательность
определяется следующим характеристическим многочленом
(2.5)
Так
как существует (2L−1) разных ненулевых состояний регистра, то период
<#"564176.files/image033.gif">
Рисунок 2.14 Структурная схема модуля передачи информации
Считывание информации происходит последовательно с выхода мультиплексора.
Управление считыванием осуществляется с помощью счетчика пакетов. Счетчик
пакетов разбит на несколько частей:
- счетчик пакета - осуществляет подсчет слов пакета данных
- счетчик заголовка - осуществляет подсчет слов заголовка
- счетчик тестовой информации - осуществляет подсчет слов
тестовой информации
После включения питания информация с передатчика ОПРД передается
непрерывно пакетами по 256 слов. Все слова пакета имеют разрядность - 40 бит.
Структура пакета тестовой информации представлена на рисунке 2.15.
Рисунок
2.15 Структура пакета тестовой информации
Первые 10 слов представляют собой слова паузы, которые формируются
передатчиком GigaStar. Назначение слов паузы - синхронизация передатчика и
приемника GigaStar. Точный состав слов паузы неизвестен.
После слов паузы передается маркер, состоящий из 3 слов. Информационные
разряды этих слов (36 разрядов) формируются в ПЛИС в следующем порядке:
1) 0xAFF195700;
2) 0xAFF985700;
) 0xAFF19EA00.
Назначение маркера - синхронизация схемы сравнения с принимаемой
информацией.
После маркера передаются 243 слова контрольной информации. Она
записывается в информационные разряды (36 разрядов) передаваемых слов.
Оставшиеся 4 разряда слов маркера и псевдослучайной последовательности
заполняет передатчик GigaStar по своему усмотрению (алгоритм неизвестен).
2.5.3 Модуль
приема информации
Модуль приема информации обеспечивает запись принятой информации из
волоконно-оптической линии.
Структурная схема модуля приема информации представлена на рисунке 2.16.
Рисунок 2.16 Структурная схема модуля приема информации
Информация с оптического приемника записывается во входные регистры ПЛИС.
Здесь происходит считывание пакетов во внутреннее FIFO модуля и преобразование
информации в необходимый для сравнения вид.
Техническая сторона реализации модуля состоит в следующем. Входные пакеты
информации записываются в 36-разрядный регистр, который носит название входного
регистра. Тактовый сигнал, в свою очередь, записывается в свой входной
одноразрядный регистр. Далее из входного регистра последовательно происходит
запись входного слова в 3 регистра секции FIFO: на каждом такте в первый регистр помещается
очередное слово из входного регистра, в то время как информация из первого
регистра перемещается во второй, а из второго, соответственно, в третий.
Совокупность трех регистров дает возможность хранить 3 текущих значения, что
позволяет обнаружить маркер, состоящий из 3-х слов. По этому маркеру в
дальнейшем идентифицируется полезная информация.
2.5.4 Модуль
сравнения информации
После этапа формирования тестовой информации данные упаковываются в
пакеты и отправляются по волоконно-оптической линии связи. Передача данных по
волокну занимает определенное время, которое зависит как от длины тракта
передачи, так и от количества и типа других волоконно-оптических компонентов.
Из этого следует, что между моментами передачи и приема очередного слова,
вообще говоря, может существовать определенная задержка. Проведем расчет
возможной задержки распространения сигнала по волоконно-оптической линии на
борту РН. Будем считать, что длина линии составляет порядка 30 м, в то время
как сигнал распространяется по одномодовому волокну со скоростью, близкой к
скорости света. Тогда задержка распространения сигнала непосредственно на линии
без учета задержки на других волоконно-оптических компонентах по порядку
величины равна
(2.6)
Рабочая частота приемо-передатчика Gigastar составляет 33 МГц. Тогда время между
отправкой соседних пакетов будет равным
(2.7)
В итоге, задержка на линии достигает 3-х тактовых сигналов. На практике
приходится иметь дело с задержками, соответствующими теоретическим расчетам.
После прохождения через тракт приема и передачи информации данные
сравниваются в компараторе. Компаратор обеспечивает побитовое сравнение
принятой и первоначально сформированной тестовой информации. Схема управления
сравнением производит сравнивание отправленных пакетов с принятыми для
обнаружения задержки. Учет задержки реализуется с помощью счетчика и
мультиплексора. По 3-м словам маркера устанавливается соответствие между
отправленной и принятой информацией. Счетчик позволяет установить, сколько
тактовых сигналов проходит с момента отправки и приема очередного слова. После
вычисления задержки схема управления переключает мультиплексор в положение, при
котором количество тактов запаздывания будет компенсировано сдвиговым
регистром. Результатом побитового сравнения является количество ошибок,
считываемое с выходного счетчика.
Структурная схема модуля сравнения информации представлена на рисунке
2.18.
Рисунок 2.17. Структурная схема модуля сравнения информации.
Количество слов за контрольное время проверки 0,1 секунды равно:
(2.8)
Значит,
минимальное количество разрядов счетчика должно быть равно
(2.9)
На
практике приходится иметь дело с такими ситуациями, когда при передаче по линии
оптоволокна теряется одно или несколько следующих друг за другом слов в
пределах пакета ввиду какого-либо аппаратного сбоя. В этом случае соответствие
между сравниваемыми словами устанавливается по следующему маркеру из нового
пакета.
2.5.5 Модуль
формирования отчетов
Модуль формирования отчетов анализирует работу блока и результаты
сравнения тестовых данных и формирует отчеты в телеметрическую систему РН.
Выходная информация блоков ЦБВОП должна передаваться непрерывно в течение всего
времени работы с момента включения питания. При этом согласно ТЗ структура
кадра определена таким образом, что под отчеты о количестве сбитых слов (КБС) и
количестве сбоев в работе (КСР) выделяется по 6 бит.
Параметр КБС отражает количество слов, в которых были обнаружены ошибки в
течение 0.1с. На выходе формируется отчет о сбитых словах за предыдущую 0.1
секунду относительно времени передачи отчета. Поскольку за 0.1 времени проходит
порядка 3 млн. слов, а отведенное количество бит равно 6, для наиболее
содержательной оценки данные кодируются по логарифмической шкале. С точки
зрения технической стороны реализации, кодирование числа по логарифмической
шкале осуществляется посредством тернарного оператора. Тернарный оператор
является аналогом конструкции if-else.
Параметр КСР отражает общее количество сбоев в работе за 5 секунд. В
проекте ПЛИС параметр КСР представляет собой счетчик сбоев на 50 временных
интервалов, равных 0.1 секунды.
Структурная схема модуля формирования отчетов показана на рисунке 2.18.
Рисунок 2.18 Структурная схема модуля формирования отчетов
2.6 Выводы
В данном разделе были разработаны технологические требования на комплект
блоков волоконно-оптической передачи с учетом особенностей их использования в
составе телеметрической системы ступеней ракетоносителя. На основе анализа
строения бортовых систем приема и передачи информации проведен синтез
структурной схемы блока ЦБВОП. Для обеспечения безотказной работы блока и
полноты диагностики волоконно-оптического тракта передачи проведен анализ и
подбор элементной базы и средств диагностики блока.
Наряду с этим были разработаны требования для передачи информации блока
ЦБВОП, обеспечивающие достоверную имитацию потоков видеоинформации бортовой
системы. Проведен синтез структурной схемы технологического проекта ПЛИС блока
ЦБВОП.
3.
Организационно-экономический раздел: «Диагностика как основа
функционально-стоимостного анализа ячейки цифрового блока волоконно-оптической
передачи»
.1 Введение
Функционально-стоимостной анализ (ФСА) представляет собой эффективный
способ выявления резервов сокращения затрат, который основывается на поиске
наиболее экономичных способов реализации приоритетных функций (путем
организационных, технических, технологических и других изменений структуры
производства) с целью оптимизации конечных технико-экономических показателей
изделия.
ФСА позволяет выполнить следующие виды работ:
) определить уровень (или степень) выполнения различных
бизнес-процессов на предприятии, в том числе эффективность управления маркетингом
и управления качеством продукции;
) обосновать выбор рационального варианта технологии реализации
бизнес-планов;
) провести анализ функций, выполняемых структурными
подразделениями предприятия;
) обеспечить высокое качество продукции;
) проанализировать интегрированное улучшение результатов
деятельности предприятия и др.
Первоначально ФСА разрабатывался как метод поиска резервов сокращения
затрат на производство. Согласно методике ФСА затраты подразделяют на
функционально-необходимые для выполнения объектом его функционального
назначения и излишние, порожденные неправильным выбором или несовершенством
конструкторских решений. Каждая характерная для объекта функция может
выполняться разными способами. Очевидно, что разные способы реализации
конкретной функции достигаются различными технологическими и техническими
средствами и, соответственно, требуют разных объемов затрат.
3.2 Принципы
организации функционально стоимостного анализа
Теория ФСА широко используется в отраслях машиностроения,
электротехнической и электронной промышленности. Это связано с системностью
метода, который заключается в том, что требуется исследование объекта как
единого целого и как системы, включающей в себя другие составные элементы,
находящиеся во взаимодействии, а также как части другой системы, более высокого
уровня, в которой анализируемый объект находится с остальными подсистемами в
определенных взаимоотношениях. В силу системности ФСА позволяет выявить в
каждом изучаемом объекте причинно-следственные связи между качеством, характеристиками
и затратами.
С целью достижения наибольшей эффективности при выполнении работ по ФСА
необходимо соблюдать ряд основных правил при проведении аналитического
исследования.
Принцип ранней диагностики. Величина выявленных резервов зависит от того,
на какой стадии жизненного цикла изделия проводится ФСА: предпроизводственной,
производственной или эксплуатации. Как правило, излишние затраты в основном
закладываются на этапе проектирования. Следовательно, наиболее целесообразно
проводить ФСА при конструкторской разработке изделий. Так, устранение ошибки
при разработке изделия требует в 10 раз меньше средств, чем в процессе
производства, и в 100 раз экономичнее, чем в процессе эксплуатации изделия
потребителями.
Принцип приоритета. Поскольку метод ФСА на текущий момент не имеет столь
широкого распространения, а количество специалистов, которые владеют методикой,
ограничено, в первую очередь ФСА должны подлежать изделия и процессы, которые
находятся на стадии конструкторской разработки и будут производиться в больших
масштабах. Это позволит максимизировать эффект ФСА при минимально возможных
затратах на его проведение.
Принцип оптимальной детализации. Основная задача ФСА - выявление
приоритетных функций, реализуемых изделием, и разбиение их на составные. Однако
исследуемый объект может иметь слишком сложную структуру для решения задачи в
одну итерацию. Если на практике встречается проблема исследования сложных
объектов, то ее целесообразно решать в два этапа:
) деление объекта на крупные части (обособленные группы
технологических операций);
) выполнение ФСА для каждого из составных частей.
Принцип последовательности. Выполнение комплекса работ по ФСА требует
последовательного подхода, который сводится к последовательному решению задачи
на разных уровнях абстракции.
При этом необходимо пользоваться логической схемой детализации - от
общего к частному (объект - узел - функция). Следует иметь ввиду, что при
выполнении ФСА результат работ на данном этапе зависит непосредственно от
качества и полноты работ на предыдущих этапах.
Принцип ликвидации узких мест. Нередко при анализе объекта выясняется,
что в отдельно взятом изделии существует какая-то часть, которая требует
больших затрат на обеспечение жизнеспособности этого объекта или сдерживает
получение эффекта от его функционирования. Очевидно, что с точки зрения анализа
в таких случаях требуется пересмотр существующего решения.
Использование положенных принципов может существенно повысить
эффективность работ по ФСА.
3.3 Задачи и
объекты функционально-стоимостного анализа
Конечной целью функционально-стоимостного анализа является поиск наиболее
экономичных с точки зрения потребителя и производителя вариантов того или иного
практического решения. Для достижения этой цели с помощью анализа должны
решаться следующие задачи:
- общий анализ объекта исследования;
- декомпозиция главной выполняемой функции на составные;
- определение основных и вспомогательных функций;
- расчет материальных затрат на реализацию соответствующих функций;
- исчисление суммы затрат на изготовление изделия при
исключении лишних функций и использовании предположительно более выгодных
технических и технологических решений;
- разработка предложений по технологическому и организационному
усовершенствованию производства.
Задачи ФСА различают в зависимости от объекта исследования. Если объектом
исследования будет выступать подразделение предприятия, то необходимо будет
провести анализ деятельности персонала данного отдела и определить стоимость
исполнения функций управления. Если в качестве объекта исследования
рассматривать качество продукции предприятия, то задачами ФСА будут снижение
материалоемкости, трудоемкости, энергоемкости и фондоемкости продукции,
повышение качества продукции, обеспечение сокращения расходов на улучшение
качества продукции за счет полного или частичного исключения излишних затрат на
малоэффективные мероприятия.
В общем случае объекты ФСА классифицируют следующим образом:
- организационные и управленческие процессы и структуры;
- качество продукции (выявление резервов повышения качества
продукции, достижения оптимального состояния «цена-качество»);
- конструкция изделия (на стадиях проектирования, подготовки
производства, непосредственно в процессе изготовления), все виды
технологической оснастки и инструментов, специальное оборудование и специальные
материалы;
- технологический процесс (на стадиях разработки
технологической документации, технологической подготовки производства,
организации и управления производством), и иные процессы производства
(заготовительные, обработочные, сборочные, контрольные, складские,
транспортные).
3.4
Функционально-стоимостной анализ ячейки цифрового блока волоконно-оптической
передачи
1) Объект анализа - ячейка ЦБВОП комплекта ВОЛП-ЦИ. В ходе ФСА будут
рассмотрены основные с точки зрения реализуемой функции и стоимости компоненты
ячейки, а именно: программируемая логическая интегральная схема, генератор
тактовой частоты, интерфейсный приемопередатчик GigaStar и транзисторная оптопара 249КП1С.
2) Ячейка ЦБВОП комплекта ВОЛП-ЦИ предназначена для обеспечения
автоматической диагностики волоконно-оптической линии связи на борту
ракетоносителя.
) Цель анализа - определение архитектуры, соотношения и
функционального наполнение составляющих системы.
3.4.1
Определение состава функций
Основное назначение этой процедуры - определение и формирование
необходимого количества функций, которые должно выполнять изделие в целом и его
составные части.
Главная функция устанавливается исходя из назначения разрабатываемого
изделия в соответствии с генеральной целью разработки. Для данного изделия
главная функция может быть сформулирована следующим образом:
«Осуществлять автоматическую диагностику волоконно-оптической линии
связи». Присвоим ей индекс F1.
Основные функции выявляются после выбора принципа реализации главной в
соответствии с целями и задачами разработки, установленными при построении
«дерева целей». Эти функции подчиняются главной, обязательны для ее реализации
и определяют главный рабочий процесс в изделии. Среди них можно выделить
следующие:- сформировать тестовую информацию;- отправить информацию по тракту
приема и передачи сигнала;- принять информацию после прохождения через тракт
приема и передачи сигнала;- осуществить сравнение отправленной и принятой
информации;
f15 -
вывести отчет.
Вспомогательные функции изделия необходимы для реализации основных. Их
устанавливают после выбора принципа действия изделия и состава его основных
функций. Для проектируемой микросхемы можно выделить следующие вспомогательные
функции:- вычисление элементов псевдослучайной последовательности;
f112 -
выдача элементов с заданной частотой;- упаковка информации;
f122 -
преобразование параллельно передаваемых данных в последовательный поток
двоичных сигналов;- обратное преобразование последовательного потока двоичных
сигналов в исходный формат параллельно передаваемых данных;- запись принятой
информации в секцию входных регистров;
f141 -
вычисление задержки прохождения сигнала по волоконно-оптической линии с целью
обеспечения сравнения соответствующих битов информации;
f142 -
побитовое сравнение принятой и первоначально сформированной информации;- вывод
отчетной информации в телеметрическую систему ракетоносителя.
Рисунок 3.1. Функциональная модель
.4.2 Оценка
значимости функций и распределение затрат. Функционально-стоимостная диаграмма
Оценка значимости функций выполняется экспертным методом, результаты
представлены в таблице 3.1.
Таблица 3.1 Состав функций и их значимость
|
Индекс функции
|
Наименование функции
|
Значимость функции (Rj)
|
|
F1
|
Автоматическая диагностика волоконно-оптической линии связи
|
1
|
|
f11
|
Сформировать тестовую информацию
|
0,24
|
|
f12
|
Отправить информацию по тракту приема и передачи сигнала
|
0,17
|
|
f13
|
Принять информацию после прохождения через тракт приема и
передачи сигнала
|
0,19
|
|
f14
|
Осуществить сравнение отправленной и принятой информации
|
0,25
|
|
f15
|
Вывести отчет
|
0,15
|
|
f111
|
Вычисление элементов псевдослучайной последовательности
|
0,82
|
|
f112
|
Выдача элементов с заданной частотой
|
0,18
|
|
f121
|
Упаковка информации
|
0,31
|
|
f122
|
Преобразование параллельно передаваемых данных в
последовательный поток двоичных сигналов
|
0,69
|
|
f131
|
Преобразование последовательного потока двоичных сигналов в
формат параллельно передаваемых данных
|
0,75
|
|
f132
|
Запись принятой информации в секцию входных регистров
|
0,25
|
|
f141
|
Вычисление задержки прохождения сигнала по
волоконно-оптической линии
|
0,62
|
|
f142
|
Побитовое сравнение принятой и первоначально сформированной
информации
|
0,38
|
|
f151
|
Вывод отчетной информации в телеметрическую систему
ракетоносителя
|
1
|
Распределение производственных затрат по функциям выполняется на основе
анализа вклада материальных носителей в обеспечение основной и вспомогательных
функций. Результаты представлены в таблице 3.2.
Таблица 3.2 Распределение затрат по функциям
|
Затраты на функции (руб./ф.)
|
|
f11
|
f12
|
f13
|
f14
|
f15
|
|
f111
|
f112
|
f121
|
f122
|
f131
|
f132
|
f141
|
f142
|
f151
|
|
ПЛИС
|
7294 0,14S
|
7294 0,14S
|
7294 0,14S
|
|
|
7294 0,14S
|
7294 0,14S
|
7294 0,14S
|
7294 0,14S
|
|
Генератор тактовой частоты
|
|
393 0,33S
|
|
|
|
393 0,33S
|
393 0,33S
|
|
|
|
Приемопере-датчик
GigaStar
|
|
|
|
4505 0,5S
|
4505 0,5S
|
*
|
|
|
|
|
Транзисторная оптопара 249КП1С
|
|
|
|
|
|
|
|
|
2500 1S
|
|
Абсолютная стоимость вспомогательных функций
|
7294
|
7687
|
7294
|
4505
|
7687
|
7687
|
7294
|
9794
|
|
Доля вспомогательных функций от S
|
0,11S
|
0,12S
|
0,11S
|
0,07S
|
0,07S
|
0,12S
|
0,12S
|
0,11S
|
0,15S
|
|
Абсолютная стоимость основных функций
|
14981
|
11799
|
12192
|
14981
|
9794
|
|
Доля основных функций от S
|
0,23S
|
0,18S
|
0,19S
|
0,24S
|
0,16S
|
|
Абсолютная стоимость главной функции
|
64790
|
|
Доля главной функции от S
|
1S
|
Учитывая распределение функций по значимости и затратам, построим
функционально-стоимостную диаграмму основных функций (рисунок 3.2).
Рисунок 3.2 Функционально-стоимостная диаграмма основных функций
Как видно из диаграммы, распределение затрат по функциям в значительной
степени соответствует их значимости. Для каждой функции рассчитано расхождение
между относительной стоимостью и относительной значимостью с точки зрения
проекта в целом. За расхождение принимается разность между количеством средств,
которое необходимо выделить в соответствии со значимостью данной функции, и
количеством средств, затраченных на ее исполнение в данном варианте реализации.
Максимальное расхождение составляет 1% от общей стоимости изделия и
присутствует в 4 функциях: f11, f12, f14 и f15 (f13 - полное соответствие с точностью
до процента). Это значит, что 4% всех средств, затраченных на техническое
исполнение проекта, были вложены нерационально. В денежном эквиваленте это
составляет 2592 р. и, согласно установленным требованиям, лежит в допустимых пределах.
Стоимость отдельных компонентов изделия отражена в таблице 3.3.
Таблица 3.3. Стоимость компонентов изделия.
|
Наименование
|
Кол-во
|
Стоимость/ед. (руб.)
|
|
ПЛИС Xilinx XC2V1000
|
1
|
52100
|
|
Генератор тактовой частоты 133MHz
|
1
|
1180
|
|
Приемопередатчик GigaStar
|
1
|
9010
|
|
Транзисторная оптопара 249КП1С
|
10
|
250
|
|
Итого:
|
64790
|
.5 Выводы
В данном разделе был проработан алгоритм ФСА применительно к ячейке ЦБВОП
комплекта ВОЛП-ЦИ. Определен состав функций ячейки, сформулирована главная
функция, а также ряд основных функций, необходимых для реализации требуемой
задачи. Согласно требованию ТЗ построено дерево целей, отражающее
функциональные требования к проекту. Также была проведена оценка значимости
функций и распределение затрат, на основе которых была построена функционально-стоимостная
диаграмма. Распределение производственных затрат по функциям проводилось на
основе анализа вклада материальных носителей в обеспечение основных и
вспомогательных функций.
В ходе ФСА выявлен незначительный дисбаланс по соотношению цена/значимость
функций, который выражается в нерациональном использовании средств в размере
2592 р. из расчета на одно изделие. Согласно установленным требованиям, такое
расхождение между затратами и значимостью функций лежит в допустимых пределах.
В случае необходимости достижения более оптимального варианта распределения
материальных средств, требуется перераспределить материальные средства между
функциям таким образом, чтобы компенсировать имеющийся дисбаланс. Для этого
следует пересмотреть элементную базу изделия, что позволит сократить затраты на
реализацию менее значимых функций, в то же время увеличивая вложения в
реализацию функций, представляющих собой особую значимость. В данном случае
переработка проекта в целях достижения более оптимального решения нецелесообразна.
4.
Производственно-экологический раздел: «Анализ производственной и экологической
безопасности при работе за компьютером»
.1 Введение
Производственная и экологическая безопасность является неотъемлемым
аспектом любого производственного процесса. В процессе труда человек вступает
во взаимодействие с предметами и орудиями труда, а также с другими людьми.
Кроме того, на него воздействуют различные факторы производственной обстановки
(температура, влажность и условия вентиляции воздуха, шум, вибрация, вредные
вещества, различные излучения и т.д.). Все это в совокупности характеризует
условия труда человека. Улучшению условий труда придается очень большое
значение, так как от них в значительной степени зависят здоровье и
работоспособность человека, его отношение к труду и результаты этого труда.
Данный дипломный проект посвящен разработке цифрового блока
волоконно-оптической передачи цифровой информации. Проектирование устройства
осуществляется посредством САПР в среде Xilinx Webpack ISE. Все этапы
разработки, включая программирование ПЛИС, предполагают работу за компьютером.
Целью исследования является анализ основных опасных и вредных факторов,
связанных с деятельностью разработчика проектов ПЛИС, который в дальнейшем
послужит основанием для выработки рекомендаций по защите людей от этих
опасностей при работе за компьютером. Также необходимо отдельно исследовать
проблему защиты от электромагнитного излучения на рабочем месте. Меры по
производственно-экологической безопасности на рабочем месте должны носить
комплексный характер и включать в себя полный спектр работ, направленных на
ликвидацию источников вреда.
ракетоноситель
устройство оптический линия связь
4.2 Рабочее
место инженера-разработчика
Рассмотрим рабочее место разработчика проектов ПЛИС на предмет
обнаружения опасностей и вредностей, связанных с его аппаратной конфигурацией.
Стандартное рабочее место разработчика аппаратуры средствами САПР предполагает
наличие следующего минимального набора устройств:
- системный блок;
- устройства ввода: клавиатура, мышь;
- устройство вывода: монитор;
- блок бесперебойного питания.
Если речь идет непосредственно о разработке проектов ПЛИС, то к данному
набору следует отнести средства программирования ПЛИС и отладки проекта в
кристалле. Для этих целей используется специальное оборудование, которое
включает в себя программатор и набор специальных кабелей. Значительно реже при
разработке приходится испытывать острую необходимость в применении
дополнительных периферийных устройств, поэтому в общем случае эти устройства не
следует относить к этапу разработки, а значит и не следует учитывать их влияние
при анализе производственной и экологической безопасности рабочего места
разработчика аппаратуры средствами САПР.
4.3 Анализ
производственных опасностей и вредностей на рабочем месте инженера-разработчика
В случае возникновения неполадок компьютер может представлять собой
опасность для здоровья. Однако даже исправный компьютер постоянно оказывает
вредное воздействие на организм человека. Пренебрежение экологическими и
эргономическими требованиями может повлечь за собой существенный ущерб,
наносимый здоровью. Среди факторов, оказывающих вредное воздействие на организм
человека при работе с компьютером, можно выделить следующие:
) Физические
- опасность поражения электричеством;
- недостаточная освещенность рабочих поверхностей;
- повышенный уровень шумов, возникающий по причине работы
компьютера;
- несоответствующие нормам параметры микроклимата;
- пожароопасность.
2) Эмиссионные
- повышенный уровень электромагнитных излучений, которые включают в себя
низкочастотное электромагнитное излучение (51 ц-400кГц) и низкоэффективное
рентгеновское излучение (при напряжении на ЭЛТ 15 кВ и выше);
- повышенный уровень электростатического поля.
3) Химические
- скопление пыли на горизонтальных поверхностях;
- пыль, содержащаяся в атмосферном воздухе.
4) Психофизиологические
- нервно-психические перегрузки;
- перенапряжение зрительного анализатора;
- умственное перенапряжение;
- эмоциональные перегрузки;
- монотонность труда.
5) Эргономические
- не эргономичность визуальных параметров дисплея, а также конструкции
дисплея и клавиатуры;
- не эргономичность рабочего стола и рабочего стула.
Источником значительной части перечисленных выше вредных воздействий
является монитор и системный блок персонального компьютера. Опасность монитора
вызвана его электромагнитным излучением. Особенно опасными среди мониторов
являются мониторы с электронно-лучевой трубкой (ЭЛТ), у которых параметры
электромагнитного излучения намного выше, чем у современных
жидкокристаллических (ЖК) мониторов. Несмотря на то, что в наше время ЖК
мониторы целиком вытеснили с рынка мониторы с ЭЛТ, последние продолжают
использоваться на многих предприятиях. Что касается системного блока, то его
опасность вызвана не столько электромагнитным излучением, которое, тем не
менее, в некоторой степени присутствует, сколько повышенным уровнем шума,
возникающим в стационарном режиме работы компьютера.
4.4 Описание
основных опасностей и вредностей при работе за компьютером. Оценка тяжести
труда при работе за компьютером
Сравнение результатов оценки факторов с нормами и допустимыми значениями
с целью выявления опасных и вредных производственных факторов (по действующим в
настоящее время ГОСТам и СНиПам с соответствующими дополнениями).
1. Согласно СНиП 2.2.4/2.1.8055-96, электромагнитные поля в диапазоне
частот 300 МГц - 300 ГГц оцениваются по поверхностной плотности потока энергии
(ППЭ) и создаваемой им энергетической нагрузке (ЭН). Допустимая ППЭ не должна
превышать 200,0 мкВт/см2.
2. Согласно ГОСТ Р 50766-95:
2.1. Максимальное число частиц в одном дм3 (литре) воздуха
размером 0,5 мкм не должно превышать 3520.
2.2. Параметры микроклимата должны соответствовать значениям:
а)
°С;
б)
;
в)
м/с (на рабочих местах);
г)
м/с (у пола);
д) избытки
явного тепла не должны превышать 23 Дж/м3;
е) минимально
необходимый уровень ионизации (
;
), максимально допустимый уровень ионизации (
;
), где
- число
ионов в 1 см3 воздуха.
. Согласно
ГОСТ 12.1.007-76, концентрации вредных веществ в воздухе рабочей зоны не должны
превышать
:
.1.
= 0,01 мг/м3;
.2.
= 0,1 мг/м3;
.3.
(лак АК-113) = 6 мг/м3;
.4.
= 1000 мг/м3;
.5.
(бензин) = 100 мг/м3.
4. Согласно ГОСТ 12.1.038 - 82, ток промышленной частоты 50 Гц:
4.1. 0,5…1,5 мА - пороговый ощутимый;
4.2. 10…15 мА - пороговый неотпускающий;
.3. 100 мА - смертельно опасный.
5. Согласно
ГОСТ 12.1.004-91, допустимый уровень пожарной опасности для людей должен быть
не более
воздействия опасных факторов пожара, превышающих
допустимые значения в год, в расчете на человека (открытое пламя, повышенная
температура, токсические продукты горения и термического разложения, пониженная
концентрация кислорода и т.д.).
. Согласно
ГОСТ 12.1.003-83, уровень шума на участках точной сборки не должен превышать 65
ДБ.
. Согласно
СНиП 23-05-95, для большей контрастности наименьший уровень освещения должен
быть равен:
7.1 При искусственном освещении:
а)
= 150 лк (при общем освещении);
б)
= 500 лк (при комбинированном освещении).
7.2 Так как в ЧПП класса 100000 допускается использование естественного
освещения, то
а)
= 1,6/2,0 (при боковом освещении).
б)
= 5 (при верхнем или комбинированном освещении).
7.3 При совмещаемом освещении:
а)
= 0,7-1,2 (при боковом освещении);
б)
= 2-3 (при верхнем или комбинированном освещении).
Комплексная оценка условий труда.
1. Оценка категории тяжести и напряженности труда.
1.1 По тяжести труда оцениваем труд инженера-разработчика
при работе за компьютером как оптимальный.
1.2 По напряженности проводим оценку по каждому показателю и
заполняем протокол.
Таблица 4.1 Протокол оценки напряженности труда при работе за компьютером
|
Показатели
|
Класс условий труда
|
|
1
|
2
|
3.1
|
3.2
|
3.3
|
|
1. Интеллектуальные нагрузки
|
|
1.1
|
|
+
|
|
|
|
|
1.2
|
|
|
+
|
|
|
|
1.3
|
|
+
|
|
|
|
|
1.4
|
|
+
|
|
|
|
|
2. Сенсорные нагрузки
|
|
2.1
|
|
+
|
|
|
|
|
2.2
|
+
|
|
|
|
|
|
2.3
|
+
|
|
|
|
|
|
2.4
|
|
+
|
|
|
|
|
2.5
|
|
+
|
|
|
|
|
2.6
|
+
|
|
|
|
|
|
2.7
|
+
|
|
|
|
|
|
2.8
|
+
|
|
|
|
|
|
3. Эмоциональные нагрузки
|
|
3.1
|
+
|
|
|
|
|
|
3.2
|
+
|
|
|
|
|
|
3.3
|
+
|
|
|
|
|
|
4. Монотонность нагрузок
|
|
4.1
|
|
|
+
|
|
|
|
4.2
|
|
|
+
|
|
|
|
4.3
|
|
+
|
|
|
|
|
4.4
|
|
+
|
|
|
|
|
5. Режим работы
|
|
5.1
|
+
|
|
|
|
|
|
5.2
|
+
|
|
|
|
|
|
5.3
|
+
|
|
|
|
|
|
Количество показателей в каждом классе
|
11
|
8
|
3
|
|
|
|
Общая оценка напряженности труда
|
|
+
|
|
|
|
Оцениваем труд инженера-разработчика при работе за компьютером как допустимый,
поскольку к 3.1 степени вредности относятся менее 5 показателей, в то время как
остальные имеют оценку 1-ого и 2-ого классов.
2. Гигиеническая оценка условий труда. Выполнение пунктов 3 и 4 схемы
анализа БЖД показало, что фактические значения уровней вредных факторов
находятся в пределах оптимальных и допустимых величин. Следовательно, условия
труда соответствуют гигиеническим требованиям и относятся соответственно ко 2
(допустимому) классу.
3. Общая оценка условий труда.
Таблица 4.2. Протокол общей оценки условий труда при работе за ЭВМ
|
Факторы
|
Класс условий труда
|
|
Оптимальный
|
Допустимый
|
Вредный
|
Опасный
|
|
1
|
2
|
3.1
|
3.2
|
3.3
|
3.4
|
4
|
|
Химический
|
+
|
|
|
|
|
|
|
|
Биологический
|
+
|
|
|
|
|
|
|
|
Аэрозоли ПФД
|
+
|
|
|
|
|
|
|
|
Акустические:
|
|
|
|
|
|
|
|
|
Шум
|
|
+
|
|
|
|
|
|
|
Инфразвук
|
+
|
|
|
|
|
|
|
|
Ультразвук воздушный
|
+
|
|
|
|
|
|
|
|
Вибрация общая локальная
|
+
|
|
|
|
|
|
|
|
УЗ контактный
|
+
|
|
|
|
|
|
|
|
Неионизирующие излучения
|
+
|
|
|
|
|
|
|
|
Ионизирующие излучения
|
+
|
|
|
|
|
|
|
|
Микроклимат
|
+
|
|
|
|
|
|
|
|
Освещение
|
+
|
|
|
|
|
|
|
|
Тяжесть труда
|
+
|
|
|
|
|
|
|
|
Напряженность труда
|
|
+
|
|
|
|
|
|
|
Общая оценка условий труда
|
|
+
|
|
|
|
|
|
Общая оценка условий труда устанавливается по наиболее высокому классу и
степени вредности. При работе за компьютером условия труда оцениваются как
допустимые.
4.5 Пожарная
безопасность
Соблюдение требований противопожарной безопасности в помещениях
вычислительных центров обусловлено применением развитой системы вентиляции и
особенностями планирования вычислительных центров. Зал персональных компьютеров
и помещение с оборудованием вентиляции и кондиционирования относятся к категории
«В» по критерию пожарной взрывоопасности.
В целях пожарной безопасности облицовку стен и потолков машинного зала
производят несгораемыми акустическими плитками, использование деревянных
материалов ограничивают и, по возможности, применяют огнезащитные составы.
В системе вентиляции предусматриваются клапаны для перекрытия
воздухопроводов при пожаре. Система электропитания персональных компьютеров
выполняется с возможностью блокировки при возникновении опасности пожара.
Объемно-планировочные разработки вычислительных центров производятся с
обязательным рассмотрением путей безопасной эвакуации людей на случай
возникновения пожара.
В соответствии с «Типовыми правилами противопожарной безопасности для
промышленных предприятий» в залах персональных компьютеров устанавливаются
дымовые пожарные извещатели типа РИД-1, ИЛФ-1М, ДИП-1; тепловые пожарные
извещатели ФТЛ, ТРБ-2. Помещения с персональными компьютерами снабжаются
огнетушителями. Эффективным средством для тушения пожаров в залах
вычислительных центров является вещество «Хладон 114В2».
4.6
Экологическая безопасность
Компьютер содержит в себе такие органические составляющие, как различного
рода пластик и материалы, сделанные на основе поливинилхлорида и
фенолформальдегида, а также почти полный набор металлов. Эти компоненты в целом
не представляют опасности для здоровья человека и окружающей среды в процессе
эксплуатации прибора. Однако положение дел меняется, когда изделие выбрасывают
на свалку. В состав электронных компонентов компьютеров, принтеров и другой оргтехники
входят такие химические элементы, как свинец, ртуть, кадмий, сурьма, мышьяк.
Под воздействием внешних условий среды они могут стать весьма сильными и
опасными ядами. А при открытом сжигании таких материалов образуются опаснейшие
для жизни вещества и соединения. Это повлекло за собой целый ряд вопросов,
требующих немедленного решения.
Именно поэтому государственным комитетом РФ по телекоммуникациям (от 19
октября 1999г.) была утверждена методика, по которой должна утилизироваться вся
оргтехника. Утилизация включает в себя разборку и демонтаж технических узлов,
сортировку и разделение материалов конструкции. Также она предполагает сбор и
сортировку электронного лома, который оформляется согласно действующей
нормативно-технической документации по переработке драгсодержащих материалов и
изделий. Затем все компоненты изделия используются для переработки в качестве
вторсырья. В свою очередь, драгоценные металлы, содержащиеся в мониторах и
другой оргтехнике, сдаются в Госфонд.
4.7 Расчет
освещенности рабочего помещения
Задана площадь помещения S=50м2. Используются двухламповые
светильники типа ВЛКН-2Х40Б пылевлагозащитные, люминесцентные, с системой
вентиляции воздуха. В этих светильниках используются специальные схемы
включения, смещающие фазы пульсации суммарного светового потока светильника и
исключающие стробоскопический эффект. Выбираем число светильников - 10. Тип источника света - газоразрядные
лампы, люминесцентные. Общая высота H = 2.7 м.
Методика расчета освещенности.
До расчета помечается число светильников, по формуле определяется
необходимый световой поток одной лампы, затем по нему подбирают стандартную
лампу. Допустимые отклонения светового потока лампы от расчетного 10-20 %. При
большом отклонении производится корректировка числа светильников. Основная
расчетная формула:
, (4.1)
Где F - поток лампы в светильнике, лм;- минимальная освещенность по
нормам, лк;- коэффициент запаса;- площадь помещения;- коэффициент
неравномерности освещения (отношение средней освещенности к минимальной);-
коэффициент использования светового потока;- число светильников.
Количество светильников выбирается из условия равномерного освещения.
Расстояние L между светильниками должно соответствовать наиболее
приемлемым значениям.
a=L´h= L´ (H - Hc - Hp), (4.2)
где h - высота светильников, м;c - свес светильника;
Hp - высота рабочей поверхности от пола, (0.8 -1.0 м).
Для расчета освещенности известен световой поток люминесцентных ламп Fл,
а так же конструктивно определено количество ламп в светильнике. Необходимое
число светильников определяется по формуле
. (4.3)
Если люминесцентные светильники располагаются рядами, то расчетом
выбираются:
- число рядов;
- тип светильника, мощность лампы;
- число ламп в ряду;
- расположение ламп.
Коэффициенты использования светового потока определяются как функции
индекса помещения и коэффициента отражения стен Rs, потолка Rp
и пола Rп. Индекс помещения находится по формуле
, (4.4)
Где A и B - длина и ширина помещения соответственно;
Rs и Rp от 70 до 100 %;
Rп - 10 %.
Расчет.
Распределение светильников производится следующим образом. Для
обеспечения равномерного распределения освещенности отношение расстояний между
светильниками L к высоте их подвеса над рабочей поверхностью Hp для
светильника типа ПВЛ составляет 1.5 м.
h = H - Hc - Hp = 2.7 - 0.5 - 1.0 = 1.2 м.= 1.2 м -
высота подвеса.
Определяем нормируемую освещенность на рабочем месте:
. Еmin = 75 лк.
. Значение коэффициента запаса К =1.5.
. N = 20 - число источников света (10 светильников по 2 лампы).
. Учитывая, что Rp=70 % и Rs=50 %.
находим f = 0.4.
. Z=1.2 - коэффициент
минимальной освещенности.
. Определяем Fmin
лм.
min - минимальный световой поток 1-ой лампы.
. Выбираем лампу с ближайшим значением F: Лампа ЛД20, F=920 лм, Световая
отдача= 46 лм/Вт.
. Мощность
потребляемая одной лампой
. f = 10 %.
. Мощность, потребляемая из сети
При выборе окончательного расположения светильников, учитывая, что
рабочие места расположены в два ряда, располагаем светильники также в два ряда.
4.8 Выводы
В данном разделе были проанализированы основные опасности и вредности,
которые необходимо учитывать при планировании рабочего места
инженера-разработчика, дана их качественная и, по возможности, количественная
оценка, а также рекомендации по минимизации вредных последствий работы в
машинном зале.
Был выполнен инженерный расчет освещенности рабочего помещения.
Из проведенного анализа можно сделать вывод, что правильное использование
компьютера, соблюдение эргономических правил и рабочей дисциплины может свести
к минимуму практически весь спектр вредных воздействий длительной работы за
компьютером.
5.
Технологический раздел: «Маршрут проектирования цифровых устройств на основе
ПЛИС фирмы Xilinx»
5.1 Введение
Одной из тенденций развития цифровой техники на современном этапе
является применение ресурсов программируемой логики не только для реализации
отдельных блоков, но и проектируемых устройств в целом, вплоть до создания
систем на кристалле. Программируемые логические интегральные схемы (ПЛИС) и
соответствующие средства проектирования, выпускаемые фирмой Xilinx, позволяют выполнить жесткие
требования, предъявляемые ко времени разработки, и в сжатые сроки создавать
цифровые устройства и системы с различным уровнем сложности и степенью
интеграции.
В данном разделе рассматривается маршрут проектирования цифровых
устройств на основе ПЛИС фирмы Xilinx
на примере использования свободно распространяемого пакета WebPACK ISE (Integrated Synthesis Environment). Несмотря на то, что этот пакет является
бесплатным, он представляет собой полнофункциональную систему
автоматизированного проектирования (САПР), которая позволяет выполнить все
этапы разработки, начиная с создания проекта и заканчивая программированием
кристалла. В отличие от свободно распространяемых средств проектирования других
фирм, WebPACK ISE не имеет ограничений по времени его использования.
Также речь пойдет о структуре пользовательского интерфейса основных
программ пакета WebPACK
ISE. Наиболее подробно описывается
модуль программирования iMPACT,
представляющий для разработчика существенный интерес. Отдельное внимание
уделяется вопросам создания исходных описаний проектируемого устройства в
схемотехнической форме и с применением языков HDL. Что касается частных случаев проектирования на
кристаллах семейств CPLD и FPGA, то в работе они отражены в меньшей
степени. Основной целью данного раздела является общий обзор проектных процедур
в среде Xilinx WebPACK ISE.
5.2 Этапы
проектирования цифровых устройств на базе ПЛИС Xilinx
В процессе разработки цифровых устройств на базе ПЛИС Xilinx в общем случае можно выделить
следующие этапы:
· создание нового проекта (выбор семейства и типа ПЛИС, а также средств
синтеза);
· подготовка описания проектируемого устройства в
схемотехнической, алгоритмической или текстовой форме;
· синтез устройства;
· функциональное моделирование;
· размещение и трассировка проекта в кристалле;
· временное моделирование;
· программирование ПЛИС (загрузка проекта в кристалл).
Перед созданием нового проекта следует определиться с выбором метода
описания разрабатываемого устройства и, соответственно, средств синтеза. При
определении семейства и типа ПЛИС для реализации проекта необходимо не только
оценить его сложность с учетом требований, предъявляемых к быстродействию,
потребляемой мощности, условиям эксплуатации, но и учесть дополнительные
факторы, как, например, стоимость, возможность перепрограммирования в системе.
Выбранное семейство или тип кристалла при необходимости достаточно легко можно
изменить в процессе проектирования. Исходная информация о проектируемом
устройстве может быть представлена в виде принципиальных схем, описаний на
языке HDL, диаграмм состояний, пакетов и
библиотек пользователя. На этом же этапе можно установить временные и
топологические ограничения, которые должны учитываться при синтезе, размещении
и трассировке проекта в кристалле.
В процессе синтеза на основании исходных модулей проекта формируется
список соединений (netlist),
содержащий набор примитивов или компонентов, который может быть реализован на
основе ресурсов выбранного кристалла ПЛИС. Результаты синтеза используются
далее в качестве исходных данных средствами размещения и трассировки.
Функциональное моделирование устройства производится без учета реальных
значений задержек прохождения сигналов и позволяет проконтролировать
соответствие выходных сигналов алгоритмам работы проектируемого устройства. На
этапе размещения и трассировки проекта в кристалл производится распределение
выполняемых функций в конфигурируемые логические блоки CLB (Configurable Logic Block) или макроячейки (Macrocell), в зависимости от используемого
семейства ПЛИС, и формирование необходимых связей в кристалле. В процессе
выполнения этого этапа проектирования также определяются реальные значения
задержек распространения сигналов, которые необходимы для полного временного
моделирования устройства. Основным результатом этапа размещения и трассировки
является формирование файла, в котором содержится информация о конфигурации
ПЛИС, реализующей проектируемое устройство. Завершением процесса разработки
цифрового устройства является загрузка конфигурационных данных в кристалл с
помощью соответствующих программ и загрузочного кабеля. Следует обратить
внимание на то, что этапы функционального и временного моделирования не являются
обязательными. Тем не менее, не рекомендуется пренебрегать этими этапами, так
как высокоэффективные средства моделирования, включаемы в состав пакетов САПР
фирмы Xilinx, позволяют обнаружить большинство
возможных ошибок и, тем самым, значительно сократить общее время разработки
устройства. При обнаружении ошибок на любом из этапов, например, логических
ошибок на этапе функционального моделирования или при получении
неудовлетворительных результатов временного моделирования, следует вернуться на
стадию разработки исходных описаний проекта, внести необходимые изменения и
повторить последующие этапы.
5.3 Общий
обзор пакета Xilinx WebPACK ISE
.3.1
Требования к операционной системе и аппаратным ресурсам компьютера
Версия 5.1 пакета WebPACK ISE предназначена
для работы под управлением операционных систем Windows 2000 и Windows XP. Исключение
поддержки операционной системы Windows
98 делает невозможным установку этой версии средств проектирования на
компьютеры, не обладающие достаточными ресурсами для использования указанных
операционных систем. В среде Windows
98 можно использовать предыдущую версию пакета WebPACK ISE (4.2).
Для нормального функционирования версии 5.1 пакета WebPACK ISE в ОС Windows
2000 необходим компьютер с процессором не ниже Pentium 200 МГц и ОЗУ не менее 64 Мбайт (рекомендуется 256
Мбайт). Размер свободного пространства на жестком диске для установки WebPACK ISE и ModelSim XE Starter в полном объеме должен составлять не
менее 1 Гбайт. Кроме того, при установке пакета жесткий диск, который обычно
используется для создания временных файлов, должен иметь не менее 500 Мбайт
свободного пространства.
5.3.2
Интерфейс программы
Работа с пакетом WebPACK ISE начинается с
запуска управляющей оболочки Навигатора проекта (НП). Программа НП предназначена
для организации эффективного управления процессом проектирования цифрового
устройства на базе ПЛИС Xilinx
в среде пакета WebPACK
ISE. Она является основой
интегрированной среды разработки проекта. НП представляет пользователю удобный
интерфейс для работы с проектом и управление всеми процессами в ходе
проектирования, включая программирование ПЛИС. Запуск всех необходимых
программных модулей пакета осуществляется непосредственно в среде НП.
Структура основного окна НП включает следующие элементы:
· главное меню;
· оперативная панель управления;
· панель инструментов текстового редактора HDL-кода;
· встроенное окно исходных модулей проекта (Sources);
· встроенное окно необходимых процедур для выбранного исходного
модуля проекта (Processes);
· встроенное окно консольных сообщений программных модулей;
· панель для размещения рабочих окон редактора текстовых HDL-описаний проекта.
Рисунок 5.1 Этап создания нового проекта

Рисунок 5.2 Окно программы Xilinx WebPACK
ISE
Примечание: 1 - главное меню, 2 -
оперативная панель управления, 3 - панель инструментов текстового редактора HDL-кода, 4 - встроенное окно исходных
модулей проекта, 5 - встроенное окно необходимых процедур для выбранного исходного
модуля проекта, 6 - встроенное окно консольных сообщений программных модулей, 7
- панель для размещения рабочих окон редактора HDL-кода
5.3.3
Структура проекта в САПР WebPACK ISE
Проектом в САПР WebPACK ISE называется
совокупность модулей (файлов), которые содержат информацию, необходимую для
выполнения всех этапов процесса разработки цифрового устройства на базе ПЛИС Xilinx. В структуре проекта WebPACK ISE можно выделить следующие группы модулей:
· исходные описания проектируемого устройства в графической или текстовой
форме;
· модули временных и топологических ограничений проекта;
· документация, сопровождающая проект;
· промежуточные результаты, используемые в качестве исходных
данных для последующих шагов проектирования;
· функциональная и временная модели проектируемого устройства;
· описания тестовых воздействий, необходимых для моделирования
устройства, в текстовом и графическом формате;
· результаты функционального и временного моделирования в
графической и текстовой форме;
· отчеты, формируемые вспомогательными средствами пакета;
· окончательные результаты проектирования, используемые для
конфигурирования ПЛИС.
Все модули проекта располагаются в одном каталоге (папке), название
которого совпадает с названием проекта. Изначально проект представлен только
заголовком и модулем, в котором указываются параметры проекта. Затем к проекту
добавляются модули описания проектируемого устройства. Далее, после выполнения
каждого этапа процесса разработки устройства, в проект включаются результаты,
полученные на этом этапе, и соответствующий отчет. Кроме того, разработчик
может включить в проект необходимую текстовую документацию.
5.3.4 Маршрут
проектирования в САПР WebPACK ISE
Общий маршрут проектирования в САПР WebPACK ISE можно изобразить в виде следующей схемы:
Рисунок 5.3 Маршрут проектирования в САПР WebPACK ISE
Создание нового проекта. На данном этапе разработчик осуществляет выбор
семейства ПЛИС, на базе которого разрабатывается устройство, тип кристалла и
его быстродействие, тип корпуса, а также средства синтеза устройства.
Добавление файла к проекту. В окне Sources происходит добавление модуля к проекту. Добавляя к
проекту несколько модулей, разработчик указывает главный модуль (top module) и реализует иерархию модулей внутри проекта по
принципу вложенности.
Описание модулей проекта. В общем случае это может быть verilog-описание схемы (*.v) либо графическое описание схемы в
схемотехническом редакторе (*.sch).
Синтез проекта. На этапе синтеза происходит формирование RTL-модели схемы. Другими словами,
средства синтеза позволяют на основе данного описания проекта генерировать
модель будущей схемы.
Моделирование проекта в ModelSim. На этапе поведенческого моделирования (behavioral simulation) разработчик осуществляет
функциональное моделирование проекта. Симуляция post-route
- последний этап моделирования, результатом которого являются временные
диаграммы с учетом задержек элементов для данного варианта трассировки.
Программирование ПЛИС. Под программированием схемы понимается загрузка
проекта в кристалл.
5.3.5 Модуль
программирования iMPACT пакета WebPACK ISE
Программа iMPACT
предназначена для конфигурирования ПЛИС семейств CPLD, FPGA и
ППЗУ семейства XC18V00 в различных режимах, считывания
конфигурационных данных из кристаллов и организации тестирования разработанного
устройства с использованием JTAG-интерфейса,
а также для создания файлов «прошивки» ПЗУ/ППЗУ в стандартных промышленных
форматах, поддерживаемых различными аппаратными программаторами. Отличительными
особенностями модуля программирования ПЛИС пакета WebPACK ISE являются:
· поддержка всего спектра кристаллов, выпускаемых фирмой Xilinx;
· автоматическая идентификация типа загрузочного кабеля,
подключенного к ПК, который используется для выполнения операций
конфигурирования, чтения данных и тестирования;
· возможность ручной установки типа и параметров интерфейса для
используемого загрузочного кабеля;
· одновременная работа с несколькими типами ПЛИС;
· автоматическое обнаружение (определение числа и типов кристаллов
в составе цепочки периферийного сканирования) и инициализация цепочки ПЛИС,
подключенных к используемому JTAG-порту;
· поддержка четырех режимов загрузки конфигурационных данных (Boundary-Scan (JTAG),
Slave Serial, SelectMAP и Desktop Configuration);
· вычисление контрольной суммы конфигурационных данных,
считанных из выбранного кристалла ПЛИС;
· определение статуса (состояния) выбранного кристалла
(запрограммирован или нет);
· контроль конфигурационных данных, загруженных в кристалл,
методом обратного считывания и сравнения с исходным файлом программирования;
· считывание и представление в символьном виде сигнатур
(пользовательского кода), которые идентифицируют версию конфигурационной
последовательности проекта, загруженную в указанный кристалл ПЛИС;
· генерация файлов программирования в форматах SVF, STAPL, System ACE CF, System ACE MPM, которые включают в себя конфигурационные данные и
инструкции программирования;
· эффективный пользовательский интерфейс, обеспечивающий
простой и быстрый механизм активизации всех операций и наглядную форму
отображения полученных результатов;
5.4
Реализация проектных процедур при проектировании блока ЦБВОП
) Этап создания проекта
Рисунок 5.4. Создание нового проекта
Основные параметры проекта:
- семейство микросхем - Virtex2;
- кристалл - XC2V1000;
- тип корпуса - BG575;
- средство синтеза - XST;
- средство моделирования - ModelSim-SE.
2) Добавление к проекту модулей с описанием устройства в
схемотехническом редакторе и на языке HDL Verilog.
Рисунок 5.5 Добавление файла к проекту
3) Описание модулей проекта.
Проект ПЛИС блока ЦБВОП функционально разделен на 5 модулей: модуль
формирования тестовой информации (generation_sequence_module), передающий модуль (transmitter_module), принимающий модуль (receiver), модуль сравнения (comparison_module) и модуль формирования отчета (report_module). Каждый функционально завершенный модуль
разрабатывается и моделируется отдельно до этапа сборки в единый проект.
Описание головного модуля осуществляется в схемотехническом редакторе
пакета (рисунок 5.6).
Рисунок 5.6 Общая схема проекта ПЛИС
) Синтез схемной модели.
Синтез модели схемы осуществляется автоматически средствами пакета Xilinx WebPACK ISE. Здесь следует понимать, что полученное
схемотехническое решение зависит от того или иного варианта описания проекта на
языке HDL. Иными словами, использование
различных конструкций для описания одного и того же устройства приводит к
различным вариантам реализации с точки зрения схемотехники. При этом логически
они будут выполнять одну и ту же функцию.
RTL-модель
общей схемы представлена на рисунке 5.7.
Рисунок 5.7. RTL-модель схемы
) Моделирование в среде ModelSim.
Моделирование проекта осуществляется поэтапно. На нижнем уровне
абстракции происходит моделирование модулей проекта в отдельности, что позволяет
оценить текущий результат и, если необходимо, пересмотреть имеющиеся решения.
Далее происходит сборка модулей в единый проект, который в свою очередь требует
определенных доработок в ходе отладки. Отладка осуществляется по результатам
моделирования проекта целиком (рисунок 5.8).
Рисунок 5.8. Результаты моделирования
6) Программирование ПЛИС.
Программирование ПЛИС реализуется в модуле программирования iMPACT пакета
WebPACK ISE. Прежде чем загружать проект в ПЛИС, необходимо ознакомиться с
документацией на схему. В данном случае используется ПЛИС семейства Virtex2 на
чипе XC2V1000.
Загрузка проекта в ПЛИС осуществляется посредством программатора Xilinx
DLC10 через JTAG-кабель.
.5 Выводы
Таким образом, в данном разделе был рассмотрен маршрут проектирования
цифровых устройств на основе ПЛИС фирмы Xilinx на примере использования пакета WebPACK ISE. Пакет WebPACK ISE представляет
собой полнофункциональную САПР, которая позволяет выполнить все этапы
разработки, начиная с создания проекта и заканчивая программированием
кристалла. Должное внимание уделяется структуре пользовательского интерфейса
основных программ пакета WebPACK ISE.
Конечным этапом проектирования является программирование ПЛИС, поэтому в
работе приводится детальное описание структуры модуля программирования iMPACT, с помощью которого происходит
генерирование файла загрузки для прошивки микросхемы. Непосредственно загрузка
осуществляется посредством программатора фирмы Xilinx. Рассматривается также и аспект создания исходных
описаний проектируемого устройства в схемотехнической форме и с применением
языков HDL. Говоря о проектировании на
кристаллах семейств CPLD и FPGA, то в работе они сведены к минимуму,
поскольку основной целью раздела является технологическая сторона разработки
конкретного устройства в среде Xilinx WebPACK
ISE.
Практическая часть отражает описание маршрута проектирования в пакете Xilinx WebPACK ISE при проектировании проекта ПЛИС ячейки ЦБВОП.
Каждый этап разработки выполняется в соответствии со схемой маршрута
проектирования на базе ПЛИС Xilinx.
Промежуточные результаты моделирования приведены в приложении. Результатом
разработки является конечный проект ПЛИС.
Заключение
Данный дипломный проект посвящен разработке экспериментального устройства,
обеспечивающего автоматическую диагностику волоконно-оптического тракта приема
и передачи информации в составе ракетоносителя.
В разделе, посвященном литературному обзору, проведен анализ систем
приема и преобразования информации космических аппаратов дистанционного
зондирования Земли. Выявлена необходимость обеспечения диагностики
работоспособности бортовых волоконно-оптических линий передачи цифровой
информации.
В специальном разделе разработаны технологические требования на комплект
блоков волоконно-оптической передачи с учетом особенностей их использования в
составе космической аппаратуры. Проработан алгоритм автоматической диагностики
волоконно-оптических линий передачи, на основе которого проведен синтез
структурной схемы проекта ПЛИС блока ЦБВОП. Результатом работы является проект
ПЛИС блока ЦБВОП.
В организационно-экономическом разделе проработан алгоритм
функционально-стоимостного анализа применительно к ячейке ЦБВОП комплекта
ВОЛП-ЦИ. Распределение производственных затрат по функциям проводилось на
основе анализа вклада материальных носителей в обеспечение основных и
вспомогательных функций. Показано, что материальные вложения в проект
распределены оптимальным образом.
В производственно-экологическом разделе проанализированы основные опасности
и вредности, которые необходимо учитывать при планировании рабочего места
инженера-разработчика, дана их качественная и, по возможности, количественная
оценка, а также рекомендации по минимизации вредных последствий работы в
машинном зале. Рассмотрены требования, предъявляемые к рабочему месту,
освещению, к системам вентиляции, к акустике помещений, к защите от
статического электричества и излучений при работе с персональным компьютером,
меры по обеспечению электробезопасности. Выполнен инженерный расчет
освещенности рабочего помещения.
Технологический раздел отражает маршрут проектирования цифровых устройств
на основе ПЛИС фирмы Xilinx
в интегрированной среде разработки WebPACK ISE.
Таким образом, в ходе выполнения дипломного проекта мною были:
- проанализированы существующие бортовые волоконно-оптические системы
передачи информации;
- разработаны требования к проекту ПЛИС цифрового блока
волоконно-оптической передачи;
- разработан алгоритм автоматической диагностики
волоконно-оптических линий передачи;
- проведен синтез структурной схемы проекта ПЛИС цифрового
блока волоконно-оптической передачи;
- изучен маршрут проектирования средствами пакета WebPACK ISE на основе ПЛИС фирмы Xilinx;
- разработан проект ПЛИС цифрового блока волоконно-оптической
передачи;
- выполнена отладка проекта ПЛИС на реальной аппаратуре;
- проработан алгоритм функционально-стоимостного анализа
применительно к ячейке блока;
- выполнен анализ производственной и экологической безопасности
при работе за компьютером.
Список
литературы
1) Кузьмичев
А.М., Жевако В.В., Рахимьянов А.С. Совершенствование структуры построения
цифровой обработки видеоинформации в СППИ КА ДЗЗ // V Научно-техническая конференция «Системы наблюдения,
мониторинга и дистанционного зондирования Земли». - М.: МНТОРЭС им. А.С.Попова
- 2008. - С. 113-121.
) Кузьмичев
А.М. Анализ влияния способа обработки цифровых потоков видеоинформации на
устойчивость многоканальной СППИ к внутрисистемным единичным сбоям // V Научно-техническая конференция
«Системы наблюдения, мониторинга и дистанционного зондирования Земли». - М.:
МНТОРЭС им. А.С.Попова, -2008. - С. 104-113.
) Кузьмичев
А.М., Рахимьянов А.С. Перспективы применения высокоскоростного интерфейса для
передачи цифровых потоков видеоинформации в межсистемных линиях связи
аппаратуры КА ДЗЗ // Материалы конференции «Элементная база космических
систем». - М.: МНТОРЭС им. А.С.Попова, - 2007 - С.
) Кузьмичев
А.М. Оптимизация цифровой обработки в системах приема и преобразования
видеоинформации многоканальных перспективных космических комплексов
дистанционного зондирования Земли // V Научно-техническая конференция «Системы наблюдения, мониторинга и
дистанционного зондирования Земли». - М.: МНТОРЭС им. А.С.Попова - 2008. - С.
93-103.
) Колотков
В. В., Кузьмичев А. М. , Мастюгин А. М., Фаткуллин А. Ю., Голоушкин А. С.
Авиационные многоканальные системы приема и преобразования изображений //
Материалы II научно-технической конференции «Системы наблюдения, мониторинга и
дистанционного зондирования Земли». - М.: МНТОРЭС им. А.С.Попова, 2005 -
С.141-142.
) Кузьмичев
А.М., Фаткуллин А. Ю. Многоканальный процессор обработки цифровых потоков
видеоинформации интегрального оптико-электронного преобразователя. / V
Международная научно-техническая конференция “Электроника и информатика-2005”:
Материалы конференции. Часть 2. - М.: МИЭТ, 2005 - С.94-95.
) Зотов
В.Ю. Проектирование цифровых устройств на основе ПЛИС фирмы XILINX в САПР WebPACK ISE. - М.: Горячая
линия-Телеком, 2003.
) Поляков
А.К. Языки VHDL и Verilog в проектировании цифровой аппаратуры. - М.:
СОЛОН-Пресс, 2003.
) Шеннон
К. Работы по теории информации и кибернетике. - М.: Издательство иностранной
литературы, 1963.
) Толстов
А.Г. Элементы надежности и технической диагностики. - М.: РГУ нефти и газа им.
И.М. Губкина, 2005.
) Уилкинсон
Б. Основы проектирования цифровых схем. - М.: Издательский дом «Вильямс», 2004.
) Уэйкерли
Джон Ф. Проектирование цифровых устройств. - М.: Постмаркет, 2002.
) Н.
К. Моисеева, А. М. Павлова, А. В. Проскуряков. «Методика выполнения
организационно-экономической части дипломного проекта». М.: МИЭТ, 1987 г.
) СН
4088-86 «Микроклимат производственных помещений».
) СН
3223-85 «Санитарные нормы допустимых уровней шума на рабочих местах».
) СНиП
11-4-79 «Естественное и искусственное освещение. Нормы проектирования».
) ГОСТ
27954-88 «Видеомониторы персональных ЭВМ».
) ГОСТ
17.1.018-79 «Статическое электричество. Искробезопасность».
) Белов
С.В. Охрана окружающей среды. - М.: «Высшая школа», 1991.
) Кукин
П.П., Лапин В.Л. Безопасность технологических процессов и производств. - М.:
«Высшая школа», 2002.
) Каракеян
В.И., Никулина И.М. Безопасность жизнедеятельности. - М.: «Высшее образование»,
2009.
) Каракеян
В.И., Константинова Л.А., Ларионов Н.М., Писеев В.М. Методические указания по
выполнению раздела «Охрана окружающей среды» в дипломных проектах.
) Волков
В.А., Заводян А.В. «Методические указания по выполнению технологической части
дипломных проектов». - М.: МИЭТ, 1985.