Разработка методики монтажа и эксплуатации вычислителя тепла

  • Вид работы:
    Дипломная (ВКР)
  • Предмет:
    Информатика, ВТ, телекоммуникации
  • Язык:
    Русский
    ,
    Формат файла:
    MS Word
    2,36 Мб
  • Опубликовано:
    2012-06-17
Вы можете узнать стоимость помощи в написании студенческой работы.
Помощь в написании работы, которую точно примут!

Разработка методики монтажа и эксплуатации вычислителя тепла

Введение

расход тепло монтаж теплосчетчик

Автоматизация производства представляет собой процесс передачи функции контроля и управления производством от человека автоматическим устройством.

При создании автоматизированных систем следует принимать во внимание уровень технологии и оборудования, состояние организации и управления производством. Нельзя автоматизацию производства сводить лишь к автоматизации управления, если технологические процессы и основное оборудование остаются на прежнем уровне.

В зависимости от степени автоматизации функции управления различают: ручное, автоматизированное и автоматическое управление. При ручном управлении все функции процесса выполняет человек-оператор. В автоматизированном управлении часть функций выполняет человек, а другую часть - автоматические устройства. При автоматическом управлении все функции выполняют автоматические устройства.

В зависимости от характера и объема операций, выполняемых автоматическими устройствами, различают следующие виды автоматизации:

ü автоматический контроль, при котором с помощью приборов осуществляется измерение величины, ее регистрация, указание ее значения, автоматическая сигнализация максимальных или минимальных значений;

ü автоматическое управление регулирующими органами в объекте регулирования;

ü автоматическое регулирование, автоматическое поддержание заданных значений каких-либо физических величин в заранее принятых условиях.

Перечисленные виды автоматизации могут быть реализованы либо с помощью приборов, снабженных показывающим, записывающим и регулирующим устройством, и предназначенных обычно для контроля и автоматического управления одним параметром, либо с помощью вычислительных машин, контролирующих и управляющих большим числом параметров.

Приборы контроля и автоматического регулирования классифицируют следующим образом:

ü измерительные преобразователи (датчики), позволяющие измерить контролируемую (или регулируемую) величину и преобразовать ее в сигнал, удобный для дальнейшего использования;

ü вторичные приборы, действующие совместно с датчиками и позволяющие записывать, показывать контролируемую величину, сигнализировать о ее каких-либо отклонениях, преобразовывать и передавать сигнал на автоматические регуляторы;

ü автоматические регуляторы, воспринимающие сигнал от датчика о действительном значении регулируемой величины, а от задатчика - о заданном значении регулируемой величины; сравнивающие их, в случае различия усиливающие разность этих величин (рассогласование), воздействующие через исполнительные устройства на регулирующий орган для приведения регулируемой величины в соответствие с заданным значением;

ü исполнительные устройства, позволяющие воздействовать на регулирующий орган для изменения подачи вещества или энергии в регулируемый объект;

ü сигнализирующие устройства (сигнальные лампы, звонки, сирены), позволяющие известить о достижении регулируемой величиной определенного уровня или аварийного значения.

Измерительные преобразователи (датчики) следует выбирать по виду контролируемого (или регулируемого) параметра - температуры, давления, расхода, уровня и т. д. с учетом пределов значений измеряемых величин. После того, как определен тип датчика, следует выбрать вторичный прибор.

Счетчик тепла - это сложный комплекс приборов требующий грамотного подбора, установки и обслуживания. Современный теплосчетчик работает в полностью автоматическом режиме, регистрируя все параметры теплоносителя, вычисляя количество тепла и архивируя данные в энергонезависимой памяти.

Принцип работы теплосчетчика заключается в измерении объема поступившего в систему отопления и вытекшего из нее теплоносителя, его температуру на входе и выходе и расчете, на основании этих данных, количества потребленного тепла и теплоносителя. Для подбора оборудования теплосчетчика необходимо знать параметры теплоносителя и схему теплового ввода.

Для определения количества первичных преобразователей и модели тепловычислителя необходимо знать количество тепловых вводов и наличие и тип системы ГВС.Важный параметр, влияющий на стоимость теплосчетчика - перепад давления прямая-обратка. Очень часто встречается ситуация, когда этот перепад очень маленький (обычно на теплосетях ТЭК или ведомственных котельных). Как следствие, неправильный подбор приборов может существенно ухудшить циркуляцию. Тепловой режим так же необходимо знать для подбора приборов. Теплосчетчик состоит из первичных преобразователей (набор датчиков) и вторичного преобразователя (тепловычислитель). Сердцем узла учета является тепловычислитель. Тепловычислители имеют выходы для подключения принтера, модема или компьютера, что позволяет удаленно получать данные по теплопотреблению и параметрам теплоносителя.

При больших расходах теплоносителя экономически оправдано применение ультразвуковых расходомеров. Применение этих приборов с врезными и накладными датчиками позволяет существенно экономить на монтаже.

1 Общая часть

1.1 Анализ существующих вычислителей тепла

 

.1.1 Виды расходомеров

Тахометрические расходомеры.

Тахометрическими расходомерами называются расходомеры, в которых скорость движения рабочего тела пропорциональна объёмному расходу измеряемой среды.

В большинстве случаев рабочее тело - преобразователь расхода (турбинка, шарик) - под воздействием потока вращается. В зависимости от устройства тахометрические расходомеры подразделяются на турбинные, шариковые и камерные.

Тахометрические преобразователи могут использоваться как в счётчиках количества, так и в расходомерах. В первом случае турбинка связана со счётным механизмом.

Тахометрические расходомеры применяются для измерения расхода жидкостей. Исключение составляют только особо вязкие и загрязнённые жидкости.

Рисунок 1 Устройство турбинных преобразователей расхода

Основными параметрами тахометрических расходомеров являются:

условный диаметр. От 15 до 250 мм

диапазон измерения расхода. Причём есть три предела - от нуля до порога чувствительности, от порога чувствительности до переходного, в котором точность прибора невысока (4÷6 %) и от переходного до номинального, где соблюдается класс точности.

потеря давления, которая зависит от расхода и вязкости жидкости.

Рисунок 2. Схема шариковых преобразователей расхода

Камерные тахометрические расходомеры имеют один или несколько элементов, которые при движении отмеривают определённые объёмы жидкости. Достоинствами камерных счётчиков является высокая точность (0,5÷1 %) и слабое влияние вязкости жидкости.

Рисунок 3. Схема счетчика с овальными шестернями.

 

Электромагнитные расходомеры.

Принцип действия ЭМР основан на законе электромагнитной индукции, в соответствии с которым в электропроводной жидкости, пересекающей магнитное поле, индуктируется ЭДС, пропорциональная скорости движения жидкости. Причём электропроводной считается жидкость с электропроводностью не менее 10-3 См/м. Поэтому ЭМР применяются для измерения жидкостей от расплавов металлов до водопроводной воды.

Корпус 1 преобразователя, изготовленный из немагнитного материала и покрытый изнутри электрической изоляцией 2 (чаще всего, фторопластом), расположен между полюсами магнита. Через стенку трубы изолированно от неё по диаметру введены электроды 3, находящиеся в электрическом контакте с жидкостью. Силовые линии магнитного поля направлены перпендикулярно плоскости, проходящей через ось трубы и линию электродов. В соответствии с законом электромагнитной индукции при осесимметричном профиле скоростей в жидкости между электродами будет наводиться ЭДС

 

Е=ВDv

 

Рисунок 4. Схема электромагнитного расходомера

Так как E=4BQo/(πD), то эдс Е прямо пропорциональна измеряемому объёмному расходу, или даже не расходу, а скорости жидкости в сечении электродов. Но, зная распределение скоростей в этом сечении, можно вычислить объёмный расход. А требуемое распределение скоростей достигается соблюдением прямолинейных участков до и после расходомера.

Для создания магнитного поля могут использоваться постоянные и переменные магниты. Магниты с переменным магнитным полем используются для жидкостей с ионной проводимостью.

Ультразвуковые расходомеры.

Метод основан на зависимости скорости ультразвука относительно трубы от скорости потока.

Основными элементами преобразователей УЗР являются излучатели и приёмники УЗ колебаний. УЗ колебания, попадающие на приёмник, вызывают его механическую деформацию в виде периодических сжатий и растяжений, которые преобразуются в переменное электрическое напряжение.

УЗР с излучением, перпендикулярным потоку.


Рисунок 5. Ультразвуковой уровнемер с излучением, перпендикулярным потоку

Пьезоэлемент 1, возбуждаемый генератором 2, создаёт УЗ колебания, направленные перпендикулярно оси трубы. По мере увеличения средней скорости потока vср УЗ луч всё более отклоняется по направлению скорости v. Угол отклонения луча Ө=arcsin(vср/c)≈vср.

С увеличением скорости количество энергии, поступающей на пьезоэлемент 3, уменьшается, а поступающей на пьезоэлемент 4, растёт и, таким образом, разностный сигнал, поступающий на вход усилителя 5, увеличивается. Из-за малого отклонения луча такие расходомеры получили небольшое распространение.

Расходомеры с колебаниями, направленными по и против потока.

В них измеряется скорость (время) прохождения УЗ импульсов в направлении потока и против него.

Рисунок 6. Схемы преобразователей ультразвуковых расходомеров с излучением по потоку: а,в- одноканальные, б,г- двухканальные

Время прохождения луча по потоку


Против потока


И, соответственно, разность


Так как в определении объёмного расхода используется скорость потока, усреднённая не по диаметру, а по ходу луча, то в таких расходомерах принимаются меры для повышения точности.

По методу определения τ УЗ расходомеры подразделяются на время-импульсные, частотные и фазовые.

Вихревые расходомеры.

Принцип действия основан на зависимости от расхода частоты колебаний, возникающих в процессе вихреобразования или колебания струны.

При исследовании характеристик вихревых расходомеров наряду с числом Рейнольдса используют критерий Струхаля Sh, характеризующий периодические процессы, связанные с движением жидкости или газа:

 

Sh=fdv-1,

где

d - диаметр тела обтекания (струны).

Чтобы обеспечить пропорциональность между Qo и f, число Струхаля должно оставаться неизменным в возможно большей области значений Re. Путём подбора формы тела обтекания достигают диапазона чисел Рейнольдса от 103 до 105. Или диапазон расходов Qmax/Qmin=100.

В качестве чувствительного элемента, воспринимающего частоту следования вихрей, могут выступать:

электрод в магнитном поле, реагирующий на изменение эдс, наводимой вихрями,

УЗ пьезоэлемент.

Кориолисовы массовые расходомеры.

Дают возможность непосредственного измерения массового расхода жидкостей, газов и взвесей, без предварительного определения плотности и объёма. Они относятся сравнительно к новым средствам измерений: первая публикация, в которой говорилось о возможности использования эффекта Кориолиса для измерения расхода, относится к 1953 г., а первые серийные расходомеры были выпущены в 1977 г.

Датчики расходомеров имеют U или Ω-образную форму. Труба, после приведения её с помощью электромагнитной катушки в колебательное движение, колеблется с собственной частотой десятки герц и амплитудой менее 1 мм. Когда труба движется вверх, газ, втекающий в трубу, сопротивляется движению вверх, давя вниз. На выходе из неё газ дополнительно способствует движению трубы вверх. Это приводит к закручиванию трубы. Во время второго периода колебаний, когда труба движется вниз, она закручивается в противоположную сторону. Это закручивание называют эффектом Кориолиса. Угол закручивания трубы прямо пропорционален расходу газа. Электромагнитные датчики, расположенные с каждой стороны трубы, измеряют скорость колебаний трубы. Массовый расход определяют путём измерения разницы во времени поступления двух сигналов по скорости. Эта разница прямо пропорциональна массовому расходу. С целью предотвращения скапливания конденсата трубу первичного преобразователя располагают изгибом вверх.

1.1.2 Выбор теплосчетчика

Счетчик тепла - это сложный комплекс приборов требующий грамотного подбора, установки и обслуживания. Современный теплосчетчик работает в полностью автоматическом режиме, регистрируя все параметры теплоносителя, вычисляя количество тепла и архивируя данные в энергонезависимой памяти.

После установки теплосчетчика экономия средств на отопление и горячее водоснабжение составляет от 25 до 300%.

Принцип работы теплосчетчика заключается в измерении объема поступившего в систему отопления и вытекшего из нее теплоносителя, его температуру на входе и выходе и расчете, на основании этих данных, количества потребленного тепла и теплоносителя. Для подбора оборудования теплосчетчика необходимо знать параметры теплоносителя и схему теплового ввода.

         Оборудование выбирается исходя из максимального расхода теплоносителя, а не диаметра трубопровода.

Для определения количества первичных преобразователей и модели тепловычислителя необходимо знать количество тепловых вводов.

Важный параметр, влияющий на стоимость теплосчетчика - перепад давления прямая-обратка. Очень часто встречается ситуация, когда этот перепад очень маленький (обычно на теплосетях ТЭК или ведомственных котельных). Как следствие, неправильный подбор приборов может существенно ухудшить циркуляцию. Тепловой режим так же необходимо знать для подбора приборов.

Теплосчетчик состоит из первичных преобразователей (набор датчиков) и вторичного преобразователя (тепловычислитель). Сердцем узла учета является тепловычислитель. Великолепно зарекомендовали себя вычислители серии "СПТ", выпускаемые в Санкт-Петербурге. По гибкости настройки, надежности, удобству пользования, простоте и наглядности интерфейса это одни из лучших вычислителей в мире. Тепловычислители имеют выходы для подключения принтера, модема или компьютера, что позволяет удаленно получать данные по теплопотреблению и параметрам теплоносителя. Можно выделить следующие основные модели этих тепловычислителей:

СПТ-941.х - серия простых вычислителей для регистрации параметров теплоносителя по 2-м трубам (один контур теплообмена). Позволяет подключить 3 датчика объема и 2 датчика температуры. Питание - батарейное

СПТ-943.х - Обслуживает 2 теплообменных контура 2х(3 датчика объема, 3 датчика температуры, 2 датчика давления) или 2х(3 датчика объема, 3 датчика температуры). Питание - батарейное.

СПТ-961 - Обслуживает 3 теплообменных контура (вода, пар) со свободным распределением. Наиболее универсальное устройство.

Очень удобно использовать тепловычислители "ВЗЛЕТ" и "ВКТ", имеющие широкие функциональные возможности, высокую надежность и гибкость настройки.

Датчики объема (расходомеры) - устройства измеряющие объем прошедшего через них теплоносителя. По существу это обычные счетчики воды, имеющие электрический выход, на котором возникает электрический импульс при прохождении через счетчик определенного количества теплоносителя. Это наиболее критичные элементы теплосчетчика. Удобнее всего использовать в составе теплосчетчика электромагнитные расходомеры. Расходомеры этого типа не оказывают гидравлического сопротивления, не имеют механических частей, не чувствительны к загрязнениям. Срок службы этих приборов практически неограничен.

При большом перепаде давления на тепловом вводе допустимо использовать механические расходомеры (крыльчатые и турбинные). Применение этих расходомеров существенно удешевляет узел учета, но вносит большие гидравлические потери и требует установку фильтров перед ними.

В некоторых случаях удобно использовать вихревые расходомеры. При цене, несколько выше цены механических расходомеров они не имеют подвижных частей и обладают повышенной надежностью и малой чувствительностью к загрязнениям.

При больших расходах теплоносителя экономически оправдано применение ультразвуковых расходомеров. Применение этих приборов с врезными и накладными датчиками позволяет существенно экономить на монтаже. Комплектные ультразвуковые расходомеры представляют из себя установленные на измерительный участок датчики, не требуют сложной настройки и калибровки, не чувствительны к загрязнениям.

В качестве датчиков температуры целесообразно применять комплекты согласованных платиновых термопреобразователей сопротивления типа КТПТР или КТСП.

1.2 Назначение теплосчетчика

Теплосчетчики СТУ-1 предназначены для измерения тепловой энергии, тепловой мощности, объема, расхода, температуры, давления, времени работы в водяных системах теплоснабжения.

Теплосчетчики могут применяться для учета, в том числе коммерческого, на предприятиях тепловых сетей, объектах промышленного и бытового назначения.

Теплосчетчики обеспечивают измерение количества тепловой энергии, объемного расхода, объема, температуры и давления теплоносителя в четырех трубопроводах и дополнительно измерение объемного расхода и объема теплоносителя (воды) еще в двух трубопроводах, а также индикацию массового расхода и массы теплоносителя.

Теплосчетчики обеспечивают ведение архива среднедвухминутных, среднечасовых, среднесуточных и итоговых значений параметров теплоносителя по всем трубопроводам, ведение архива нештатных ситуаций, времени коррект-ной и некорректной наработки теплосчетчиков.

Теплосчетчики обеспечивают регистрацию и передачу указанной информации посредством принтера, модема, пульта съема информации, ПЭВМ типа IBM.

Теплосчетчики обеспечивают работоспособность при использовании в качестве теплоносителя питьевой воды по ГОСТ 2874 или сетевой воды по СНиП 2.04.07.

Характеристики выходных сигналов первичных преобразователей, входящих в состав теплосчетчиков: первичные ВС могут иметь импульсный или частотный выходной сигнал.

С целью повышения точности измерения объемного расхода и расширения динамического диапазона, теплосчетчики имеют возможность корректировки номинальной статической характеристики ультразвуковых каналов расхо-домерной части теплосчетчика ВС1 и ВС2 (линейно-кусочная аппроксимация по четырем участкам). В теплосчетчиках предусмотрена возможность введения поправки на фактическое значение смещения Т1см, Т2см, Т3см и Т4см для каждого из термопреобразователей от минус 3 0С до плюс 3 0С.

Конфигурация входов осуществляется пользователем с клавиатуры, расположенной на лицевой панели электронного блока теплосчетчика.

Теплосчетчик имеет четыре силовых выходных канала ПБР1, ПБР2, ПБР3, ПБР4 для управления системами регулирования. Каналы ПБР1, ПБР2 могут так же использоваться в качестве импульсных выходов встроенного ультразвукового расходомера для поверки на проливных установках.

Тип выходного сигнала - открытый коллектор со следующими параметрами:

коммутируемый ток, мА, не более 320

коммутируемое напряжение, В, не более 60

Алгоритмы вычисления количества тепловой энергии соответствуют требованиям “Правил учета тепловой энергии и теплоносителя, № 954” и МИ 2412.

1.3 Основные технические характеристики теплосчетчика

Теплосчетчики обеспечивают вывод на индикатор и на внешнее устройство, посредством интерфейса RS232, текущей и архивной информации, представленной в таблице 1.

Таблица 1

Измеряемая величина

Представление информации


индикатор

Внешнее устройство

Количество тепловой энергии нарастаю щим итогом, ГДж (Гкал); Объем нарастающим итогом, м3; Масса нарастающим итогом, т. Архив (количество тепловой энергии, объем, масса): - подвухминутный (720 двухминутных интервала) - почасовой (1024 часа); - посуточный (280 суток); - месячный (24 месяца)

 + + +  +  + +

 + + +  +  + +

Текущий объемный расход, м3/ч; Текущий массовый расход, т3/ч.

+ +

+ +

Температура теплоносителя, °С: - текущее значение; - среднее значение за час; - среднее значение за сутки; - среднее значение за месяц

 + + + +

 + + + +

Давление теплоносителя, МПа - текущее значение; - среднее значение за час; - среднее значение за сутки; - среднее значение за месяц

 + + + +

 + + + +

Текущее время (год, месяц, число, час, минута, секунда).

+

+

Время наличия нештатной ситуации (час, минута): - с нарастающим итогом; - за сутки; - за час.

  + + +

  + + +

Код нештатной ситуации: - на текущее время; - за час; - за сутки.

 + + +

 + + +


Диапазоны измерения объемного расхода приведены в таблице 2.

Таблица 2

Наименование параметра

Нормированное значение

Условный проход DN, мм

15

20

25

32

40

Максимальный расход(Gнаиб.),м3

(3,5)

(5)

(8)

(11)30

(17)40

Переход.расход (Gперех.),м3

(0,12)

(0,24)

(0,36)

(0,44)0,6

(0,7)0,9

Минимальный расход(Gнаим.),м3

(0,035)

(0,08)

(0,12)

(0,16)0,2

(0,2)0,3

Наименование параметра

Нормированное значение

 

Условный проход DN, мм

50

65

80

100

150

200

 

Максимальный расход (Gнаиб.),м3

(24)75

127

192

300

675

1200

 

Переход.расход (Gперех.),м3

(0,9) 1,5

2,5

3,8

6

14

24

 

Минимальный расход (Gнаим.),м3

(0,3) 0,5

0,9

1,3

2,0

4,5

8,0

 

 

Примечания

1 Gнаиб, Gперех, Gнаим в метрах кубических в час для трубопроводов с условным проходом от DN 200 до DN 1800 определяются по формулам:

наиб = 0,03 · DN2, (1)перех = 0,0006 · DN2, (2)наим = 0,0002 · DN2, (3)

где: DN- условный диаметр УПР или трубопровода.

Диаметры труб первого и второго каналов могут быть крайне разными.

Верхний предел измеряемой тепловой мощности, (Wнаиб,) в гигаджоулях в час определяется по формуле:

наиб = 0,15·Gдог, (4)

где: Gдог - числовое значение договорного значения расхода теплоносителя, выраженного в метрах кубических в час.

УПР с условными проходами от DN15 по DN40 имеют измерительные участки либо U-образной формы, либо измерительные участки прямоточной формы (обозначения в скобках - для измерительных участков U-образной формы, без скобок - для измерительных участков прямоточной формы).

УПР с условными проходами от DN50 и выше имеют только прямоточный измерительный участок.

Диапазоны индицируемых и/или регистрируемых параметров соответствуют указанным в таблице 3.

Таблица 3

Индицируемый и/или регистрируемый параметр

Диапазон

Объемный расход, м3

От 0 до 99999,9

Массовый расход, т/ч

От 0 до 99999,9

Давление, МПа

От 0 до 1,6

Температура, º С

От 1 до 150

Разность температур, º С

От 5 до 145

Объем, м3

От 0 до 99999999,9

Масса, т

От 0 до 99999999,9

Тепловая энергия, ГДж, (ГКалл)

От 0 до 99999999,9


Метрологические характеристики вычислителей.

Пределы допускаемой относительной погрешности вычислителей при преобразовании входных сигналов и индикации:

расхода ±0,5%

объема ±0,6 %

времени распространения УЗИ ±0,4 %

времени наработки ±0,1 %

тепловой мощности ±0,8 %

тепловой энергии при:

0С ≤ ΔT ≤ 10 0C ±1,0 %

0С ≤ ΔT ≤ 20 0C ±0,8 %

0С ≤ ΔT ≤ 145 0C ±0,6 %

Пределы допускаемой абсолютной погрешности вычислителей при преобразовании входных сигналов и индикации температуры теплоносителя составляют 0,25 °С.

Пределы допускаемой абсолютной погрешности вычислителей при преобразовании входных сигналов и индикации разности температур теплоносителя в подающем и обратном трубопроводах составляют ± 0,1 ºС.

Пределы допускаемой погрешности вычислителей, при преобразовании входных сигналов и индикации избыточного давления теплоносителей, приведенной к верхнему пределу измерений, составляет ± 0,5 %.

Пределы допускаемой относительной погрешности теплосчетчиков при измерении объема теплоносителя при использовании серийно выпускаемых ВС составляют ±2 %.

Пределы допускаемой абсолютной погрешности теплосчетчиков при измерении температуры теплоносителя cоставляют:

Δt = ± (0,6 + 0,004 · t),

где t - числовое значение температуры, выраженное в °С .

Пределы допускаемой абсолютной погрешности теплосчетчиков при измерении разности температур теплоносителя по измерительным каналам ПТС1, ПТС2 и ПТС3, ПТС4 составляют:

dΔТ =±(0,1 +0,001 ·Δt),

где Δt - измеренная разность температур, выраженная в °С.

Пределы допускаемой относительной погрешности теплосчетчиков при измерении количества тепловой энергии в зависимости от Δt в подающем и обратном трубопроводах приведены в таблице 4.

Таблица 4

Разность температур DТ

Пределы допускаемой относительной погрешности, %

5ºС < Dt £ 10ºС

±6 (±5)

10ºС < Dt £ 20ºС

±5 (±4)

20ºС < Dt £ 145ºС

±4 (±3)


Исходное уравнение для расчета количества тепловой энергии, отпущенной источником тепловой энергии, при неравенстве расхода теплоносителя в подающем и обратном трубопроводах, согласно МИ 2412, имеет вид:

Q = M1 · h1 - M2 · h2 - (M1 - M2) · hХВ;

Исходное уравнение для расчета количества тепловой энергии, полученной потребителем, при неравенстве расхода теплоносителя в подающем и обратном трубопроводах, согласно МИ 2412, имеет вид:

Q = M1 · (h1 - h2) + (M1 - M2) · (h2 - hХВ);

или= M2 · (h1 - h2) + (M1 - M2) · (h1 - hХВ).

Исходное уравнение для расчета количества тепловой энергии, полученной потребителем, при равенстве расхода теплоносителя в подающем и обратном трубопроводах согласно МИ 2412, имеет вид:

= M1(2) · (h1 - h2)

В уравнениях приняты следующие обозначения:

Q - количество тепла, Гдж;

М1 - масса теплоносителя, прошедшего через подающий

трубопровод, т;

М2 - масса теплоносителя, прошедшего через обратный

трубопровод, т;

h1, h2, hХВ - удельная энтальпия теплоносителя, соответственно в подающем, обратном трубопроводах и трубопроводе холодной воды, согласно ГСССД, ГДж/кг.

Преобразование импульсного сигнала в показания объемного расхода в метрах кубических в час соответствует уравнению:

= N·B

где: N - число импульсов;

В - вес импульса, м3/имп.

Преобразование частотного сигнала в показания объемного расхода в м3/ч соответствует уравнению:

= 3600·f·B

где f - измеренное значение частоты следования импульсов, Гц;

В - вес импульса, м3/имп.

Объем теплоносителя в м3, прошедшего через УПР, вычисляется по уравнению:

= ∫G·dτ

где: G - значение объемного расхода, м3/ч;

τ - интервал времени измерения объема, ч.

Вычисленный массовый расход GМ в тоннах в час и масса измеряемой среды M в тоннах соответствуют уравнениям:

м = ρ(t,P)·G·10-3) = ∫ρ(t,P)·G·dτ

где: ρ - плотность теплоносителя, соответствующая температуре теплоносителя в трубопроводе согласно ГСССД, кг/м3;

Теплосчетчики чувствительны к реверсивному потоку. При реверсивном потоке на экране ЖКИ, перед показанием расхода, появляется знак “-”, причем величина объема при этом продолжает увеличиваться, несмотря на изменение направления движения жидкости.

Теплосчетчики обеспечивают архивирование подвухминутного, почасового и посуточного количества тепловой энергии, объема, массы теплоносителя, прошедшего через трубопроводы с нарастающим итогом, времени работы для одного или двух тепловых вводов.

Теплосчетчики обеспечивают архивирование среднедвухминутных, среднечасовых, среднесуточных значений температуры и давления теплоносителя, информацию о нештатных ситуациях, возникающих в процессе эксплуатации теплосчетчиков.

Глубина архива составляет:

подвухминутный (720 двухминутных интервалов)

почасовой (1024 часа);

посуточный (280 суток);

месячный (24 месяца)

Запись во все архивы организована по замкнутому кольцу.

Теплосчетчики после отключения от сети электрического питания сохраняют заданные значения параметров и накопленную информацию не менее 10 лет.

Теплосчетчики защищены от несанкционированного доступа в его работу клеймом госповерителя и от несанкционированного доступа к программируемым параметрам ключевым шестиразрядным паролем.

С целью повышения точности измерения расхода, теплосчетчики имеют возможность корректировки номинальной статической характеристики измерительных ультразвуковых каналов ВС1 и ВС2 (линейно-кусочная аппроксимация по четырем участкам).

Вычислители соответствуют:

группе исполнения В4 по ГОСТ 12997 по устойчивости к воздействию температуры и влажности окружающего воздуха;

группе исполнения Р1 по ГОСТ 12997 по устойчивости к воздействию атмосферного давления;

группе исполнения L3 по ГОСТ 12997 по устойчивости к механическим воздействиям;

группе исполнения IР55 по ГОСТ 14254 по защищенности от попадания внутрь твердых тел и воды.

Вычислители предназначены для работы при следующих условиях окружающей среды:

при температуре окружающей среды от плюс 5 до плюс 50 °С;

при влажности окружающей среды не более 93 % при температуре не более плюс 35 °С;

при воздействии синусоидальных вибраций по группе исполнений L3 ГОСТ 12997.

УПР (ПЭП) предназначены для работы при следующих условиях окружающей среды:

при температуре измеряемой среды от плюс 1 до плюс 150 ºС;

при температуре окружающей среды от минус 40 º С до плюс 60 ºС;

при влажности окружающей среды не более 95 % при температуре плюс 35ºС;

при воздействии синусоидальных вибраций по группе исполнений N3 ГОСТ 12997.

По степени защиты от проникновения внутрь твердых тел и воды ПЭП имеют защищенное исполнение по группе IР67 по ГОСТ 14254.

Максимальное рабочее давление теплоносителя - 1,6 МПа.

УПР выдерживают испытание на прочность и герметичность пробным давлением 2,5 МПа.

Питание теплосчетчиков осуществляется от сети переменного тока напряжением от 187 до 242 В, частотой 50 (±1) Гц с коэффициентом высших гармоник до 5 %.

Теплосчетчик обеспечивает работоспособность при отсутствии электрической энергии в сети 220В в течение 72 часов при условии комплектации его аккумуляторной батареей 12 В и автоматическим зарядным устройством. Рекомендуемые устройства для обеспечения автономного питания:

аккумуляторная батарея GASIL 6/12В CA 1270;

самозарядное устройство АТАВА АТ-618 230В Output voltag 12 V.

Мощность, потребляемая теплосчетчиками от сети напряжением 220 В, -- не более 5 ВА.

Вычислители устойчивы к изменению напряжения питания сети, при этом погрешности при измерении объемного расхода, объема, времени распространения УЗИ находятся в пределах, приведенных в п. 2.4 настоящего РЭ.

Вычислители устойчивы к воздействию синусоидальных вибраций частотой от 5 до 25 Гц и амплитудой смещения не более 0,1 мм.

Теплосчетчики устойчивы к воздействию переменного магнитного поля с частотой 50 Гц напряженностью 400 А/м.

По требованиям электромагнитной совместимости теплосчетчики удовлетворяют ГОСТ Р 51649-2000;

Наработка на отказ теплосчетчиков с учетом технического обслуживания, составляет не менее 17000 часов.

Полный средний срок службы теплосчетчиков составляет не менее 12 лет.

2 Техническая часть

.1 Выбор оборудования

В качестве прибора по учету тепловой энергии выбираем ультразвуковой двухпоточный теплосчетчик СТУ-1с регистрацией давления на горизонтальном участке тепловой сети после выходных задвижек №3 и №4.

Рисунок 7. Ультрозвуковой двухпоточный теплосчетчик СТУ-1

Состав теплосчетчика:

·        Электронный вычислитель

·        4 пьезоэлектрических датчика, устанавливаемые попарно на падающем и обратном трубопроводах

·        Комплект термометров платиновых разностных КТПТР-01

·        Термометр сопротивления, устанавливаемый на трубопроводе холодной воды

·        3 датчика давления, устанавливаемые попарно на падающем и обратном трубопроводах

Теплосчетчик обеспечивает преобразование, вычисление, индикацию и регистрацию количества тепловой энергии, расхода, массового расхода, объема, массы, температуры и давления теплоносителя по падающему и обратному трубопроводам.

Теплосчетчик обеспечивает архивацию среднедвухминутных, среднечасовых, среднесуточных и итоговых значений параметров теплоносителя, архивацию нештатных ситуаций, времени корректной и некорректной наработки теплосчетчика.

Диапазоны измерения объемного расхода в падающем и обратном трубопроводах:

максимальный расход-4800 м3

переходный расход -96 м3

минимальный расход-32 м3

Диапазон температур измеряемой среды 1…150ºС

Диапазон разности температур 5…145 ºС

Допустимое рабочее давление       1,6 МПа

Вычислитель работоспособен:

при температуре окружающей среды от+5 до 50 ºС

при влажности окружающей среды не более 93%при температуре не более +35 ºС

Преобразователь расхода работоспособен

при температуре измеряемой среды от 1 до 150 ºС

при влажности окружающей среды не более 93%при температуре не более +35 ºС

Питание теплосчетчика осуществляется от сети напряжением 220В, частотой 50 Гц.

В теплосчетчике используется метод прямого измерения времени распространения каждого ультрозвукового импульса от одного пьезоэлектрического преобразователя к другому.

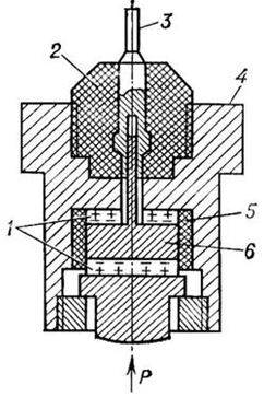
Схема устройства пьезоэлектрического датчика давления.

Рисунок 8: p - измеряемое давление; 1 - пьезопластины; 2 - гайка из диэлектрика; 3 - электрический вывод; 4 - корпус (служащий вторым выводом); 5 - изолятор; 6 - металлический электрод.

Пьезоэлектрический датчик, измерительный преобразователь механического усилия в электрический сигнал; его действие основано на использовании пьезоэлектрического эффекта.

Конструкция пьезометрического датчика давления показана на рисунке 7. Под действием измеряемого давления на внешней и внутренней сторонах пары пластин пьезоэлектрика возникают электрические заряды, причём суммарная эдс (между выводом и корпусом) изменяется пропорционально давлению. Эти датчики целесообразно применять при измерении быстроменяющегося давления; если давление меняется медленно, то возрастает погрешность преобразования из-за «стекания» электрического заряда с пластин на корпус. Включением дополнительного конденсатора параллельно пьезометрического датчика можно уменьшить погрешность измерения, однако при этом уменьшается напряжение на выводах датчика.

Основные достоинства пьезометрического датчика - их высокие динамические характеристики и способность воспринимать колебания давления с частотой от десятков Гц до десятков МГц.

2.2 Устройство и работа

Вычислитель выполнен в блочном исполнении по платно-модульному принципу. Он размещен в литом пластмассовом брызгозащищенном корпусе. Корпус и крышка, а также кабельные вводы имеют резиновые уплотнения.

На лицевой панели вычислителя расположены:

функциональная клавиатура из 5 кнопок:

СДВИГ ВЛЕВО - , СДВИГ ВПРАВО - , ВВОД - ,

ИНКРЕМЕНТ - , ДЕКРЕМЕНТ - ;

жидкокристаллический двухстрочный русифицированный матричный индикатор (ЖКИ) с подсветкой, по 16 символов в строке для представления программируемой и выходной информации. Подсветка включается при нажатии на любую кнопку и выключается по истечении 2 минут, если не было следующего обращения к кнопкам;

два позиционных индикатора - “НОРМА”, “ОТКАЗ”.

Кнопка перемещает курсор (мигающее подчеркивание) на одну позицию вправо и от конца строки к ее началу. При непрерывном нажатии на кнопку, курсор перемещается со скоростью 2 позиции за секунду.

Кнопка  перемещает курсор (мигающее подчеркивание) на одну позицию влево и от начала строки к ее концу.

Кнопка  меняет значение цифры (0→1→2→...→9→0), указанной курсором.

Кнопка  меняет значение цифры (9→8→7→...→0→9), указанной курсором.

Кнопка  фиксирует введенные данные и вызывает следующее окно меню.

На передней вертикальной стенке корпуса установлены:

разъем для подключения измерительных входов по расходу, давлению, цифровых датчиков температуры.

Разъем так же служит для вывода сигналов силовых реле и совмещенных с ними выходных импульсных сигналов для поверки расходомерной части теплосчетчика;

разъем для подключения высокочастотных кабелей типа РК-50, соединяющих ПЭП с вычислителем;

разъем интерфейсный;

разъем для подключения преобразователей температуры;

герморазъем кабеля сетевого питания.

Элементы управления и контроля, размещение разъемов подключения теплосчетчика приведены на рисунке 9.

Рисунок 9. Элементы управления и контроля, размещение разъемов подключения теплосчетчика

Принцип действия расходомерной части поясняется на рисунке 10.

Ультразвуковые пьезоэлектрические преобразователи ПЭП1 и ПЭП2, ПЭП3 и ПЭП4 (порядковый номер является условным и к конкретному ПЭП не привязан) работают попеременно в режиме приемник-излучатель. Скорость

распространения ультразвукового сигнала в теплоносителе, заполняющем трубопровод, представляет собой сумму скоростей ультразвука в неподвижном теплоносителе и скорости потока теплоносителя V в проекции на рассматриваемое направление распространения ультразвука. Время распространения ультразвукового импульса от ПЭП1 к ПЭП2 и от ПЭП2 к ПЭП1 зависит от скорости движения теплоносителя в соответствии с формулами:

где: t1, t2 - время распространения ультразвукового импульса по потоку и против потока;а - длина активной части акустического канала;д - расстояние между мембранами ПЭП;

Со - скорость ультразвука в неподвижном теплоносителе;- скорость движения теплоносителя в трубопроводе;

α - угол в соответствии с рисунком 10.

Рисунок 10.Принцип работы расходомера

В теплосчетчике используется метод прямого измерения времени распространения каждого индивидуального ультразвукового импульса от одного ПЭП к другому.


где: Δt - разность времени распространения ультразвуковых импульсов по потоку и против потока.

Умножив среднюю скорость потока V на площадь сечения трубопровода диаметром D, получим значение расхода теплоносителя G, протекающего на месте установки ПЭП:


где D - внутренний диаметр трубопровода на месте установки ПЭП;

Ккор - коэффициент коррекции. Коэффициент коррекции Ккор является программируемым параметром.

Для исключения влияния изменения скорости ультразвука от температуры в теплосчетчике учитывается фактическая скорость ультразвука, рассчитанная по формуле:


Структурная схема теплосчетчика приведена на рисунке 10. Плата аналоговая расходомерной части теплосчетчика формирует мощные импульсы, поступающие на пьезоэлектрические преобразователи ПЭП1 (ПЭП3). Задержанные сигналы, полученные от пьезоэлектрических преобразователей ПЭП2 (ПЭП4) поступают в плату аналоговую, для нормализации. Плата аналоговая формирует импульс времени задержки, преобразует его в унитарный код, который, в свою очередь, поступает в плату процессора для обработки. Затем процесс повторяется, с той разницей, что преобразователи ПЭП1 (ПЭП3) и ПЭП2 (ПЭП4) меняются местами.

Преобразователи имеют гальваническую развязку с приборными цепями теплосчетчика. Величина температуры теплоносителя, полученная от преобразователей температуры ПТС1, ПТС2, ПТС3, ПТС4 в виде омического сопротивления, поступает на плату процессора, где с помощью АЦП преобразуется в последовательный цифровой код. Информация о давлении поступает от преобразователей давлении ПД1, ПД2, ПД3, ПД4 в виде аналогового сигнала 4 - 20 мА. Полученная таким образом информация о расходе, температуре и давлении используется для расчета количества тепловой энергии по соответствующему алгоритму.

Рисунок 11.Структурная схема теплосчетчика

Накопленная информация и значения программируемых параметров выводится на ЖКИ и интерфейсный выход RS232 и RS 485.

Два силовых выхода ПБР1(F1), ПБР2(F), используются для управления электрифицированными приводами задвижек или привода регулятора давления. Два выхода ПБР1(F1) и ПБР2(F) могут использоваться как альтернативные импульсные выходы, сигналы которых пропорциональны объемному расходу и используются для поверки на проливных установках.

Система питания имеет защиту от повышенного сетевого питания (варистор) и защиту от повышенного тока потребления (самовосстанавливающийся предохранитель).

2.3 Подготовка и осуществления монтажа

Для осуществления монтажа тепловычислителя необходимо произвести изучение объекта, которое включает:

. Обследование системы трубопроводов в предполагаемом месте монтажа приборов:

§  определение длин прямолинейных участков (если требуется) в зависимости от числа и вида местных сопротивлений;

§  выбор оптимального места монтажа с учетом удобства доступа, видимости индикатора (если планируется), простоты монтажа импульсных линий и электрических кабелей и т.п.

§  выбор оптимальной ориентации прибора с учетом особенностей измеряемой среды и ограниченности пространства в месте врезки;

§  уточнение материала трубопровода и его состояния в месте врезки (теплоизоляция сверху, обмерзание, налет на стенках и т.п.).    

. Уточнение особенностей окружающей и измеряемой среды:

§  уточнение параметров технологического процесса, требований по взрывозащите и пыле/влагозащите;

§  выбор оптимального типа монтажа прибора (погружной, фланцевый, резьбовой и пр.);

§  уточнение особенностей измеряемой среды (коррозионная агрессивность, ядовитость, взрывоопасность, загрязненность/запыленность (тип загрязнений), степень влажности (газ, пар);

§  уточнение требований к специальным исполнениям (пищевое, кислородное, атомное, подводное, морская качка и т.д.);

§  выбор "обвязки" и КМЧ (если требуются: шкафы, импульсные линии, ответные фланцы, прямые участки, конфузоры/диффузоры, струевыпрямители и пр.).

. Обследование вторичной аппаратуры и АСУТП:

§  уточнение структуры и протокола обмена АСУТП, уточнение требуемых выходных сигналов приборов (входных сигналов вторичных устройств, контроллеров);

§  изучение организации электрических подключений.

2.3.1 Подготовка изделия к монтажу

В случае если прибор находился в условиях, отличных от рабочих, необходимо выдержать его в нормальных условиях в течение 8 часов.

После вскрытия транспортной упаковки и расконсервации проверить комплектность на соответствие разделу “Комплектность” ТЕСС 00.030.00 РЭ.

Осмотреть все составные части прибора. Вычислитель, УПР, ПЭП, ПТС, кабели не должны иметь механических повреждений, нарушений защитных покрытий, следов коррозии, ослабления механических креплений.

Соединительные кабели должны быть свободно уложены в бухты и не иметь перегибов. Проверить целостность пломб.

2.3.2 Требования к месту установки ультразвукового преобразователя расхода (УПР)

При выборе места установки определить:

тип и материал трубопровода, продолжительность его эксплуатации, состояние внутренней поверхности и наличие доступа к ее исследованию, возможность остановки потока;

диапазоны измерения расхода, температуры, давления;

возможность измерения параметров трубопровода и жидкости в условиях эксплуатации с требуемой точностью.

Место установки УПР должно обеспечивать удобство обслуживания. В случае, когда трубопровод проложен в земле, место установки УПР необходимо оборудовать сухой камерой. Размеры сухих камер зависят от диаметра трубопровода и должны обеспечить возможность работы внутри камеры.

а) Пример правильного расположения измерительного участка

б) Пример неправильного расположения измерительного участка

Рисунок 12. Примеры расположения измерительного участка

Установку УПР производить в вертикальном, горизонтальном или наклонном трубопроводах на восходящем или нисходящем потоке таким образом, чтобы исключалась возможность выпадания осадка из воды на поверхность ПЭП и завоздушивание поверхности ПЭП. Примеры правильного расположения участка врезки ПЭП в трубопровод приведены на рисунке 12(а).

Вертикальное расположение УПР наиболее предпочтительно. При горизонтальном положении трубопровода предпочтительно обеспечить горизонтальное расположение плоскости оси держателей для предотвращения образования воздушных пузырьков в зонах установки ПЭП. Максимальный угол между плоскостью оси держателей ПЭП и горизонталью - не более 25 °.

При монтаже прямопроходных УПР, для обеспечения точности, необходимо обеспечить прямые участки трубопровода до места установки ПЭП и после. На прямых участках не допускается наличие местного гидравлического сопротивления в виде диффузоров, задвижек, переходов, крестовин, ответвлений и т.п. Длины прямых участков трубопровода должны соответствовать требованиям таблицы 5.

Установку УПР с осевым расположением ПЭП желательно производить в горизонтальной плоскости, при этом прямолинейные участки до и после УПР не требуются.

Таблица 5

Вид местного гидравлического сопротивления

Длина прямого участка в DN, не менее


до врезки

после врезки

Открытый шаровой кран

5 (3)

2 (1)

Регулируемый клапан

30 (20)

15 (10)

Насос

30 (20)

15 (10)

Колено, тройник

15 (10)

5 (3)

Взаимодействующие колена, тройники  (в одной плоскости)

17,5 (12)

8 (5)

Взаимодействующие колена, тройники  (в разных плоскостях)

30 (15)

15 (10)

Диффузор

7 (5)

3 (2)

Конфузор

7 (5)

3 (2)

Термопреобразователь(гильза), дисковая задвижка в открытом положении При

10 (7) 5 (3)

3 (2) 2 (1)

Примечание - В скобках указаны прямолинейные участки при врезке ПЭП по хорде для DN от 80 мм. до 1800 мм. При наличии в трубопроводе нескольких гидравлических сопротивлений, длина прямолинейного участка до ближайшего к ПЭП сопротивления должна быть не менее указанной в данной таблице, и расстояния от ПЭП до остальных гидравлических сопротивлений так же должно быть не менее указанных в таблице.

 

При наличии реверсивного потока воды прибор суммирует расход в прямом и обратном направлениях.

Допустимая температура окружающей среды от - 40 до + 60 °С.

При повторном монтаже УПР (после периодической поверки) обеспечить прежнее положение УПР относительно направления измеряемого потока.

При установке приборов в системах теплоснабжения в верхней части П или Г - образных трубопроводов, необходимо предусмотреть возможность выпуска воздуха из этой части трубопровода.

Если измеряемая среда содержит газообразных веществ более оговоренных в РЭ на теплосчетчик, рекомендуется на трассе до УПР установить на трубопровод автоматический воздухоотводчик (деаэратор). Для обеспечения правильного функционирования прибора не требуется обязательной установки фильтров и грязевиков.

Монтаж прибора включает в себя:

монтаж пьезоэлектрических преобразователей на подающем и обратном трубопроводах;

монтаж термопреобразователей на подающем и обратном трубопроводе;

монтаж преобразователей давления на подающем и обратном трубопроводе;

Место установки тепловычислителя не меняется.

Плоскость, образованная парой ультразвуковых преобразователей, должна преимущественно располагаться горизонтально. В рабочих условиях весь объем трубы должен быть заполнен водой.

Вычислитель крепится на опорной поверхности в вертикальном положении. Прокладка кабелей производится в трубах. Монтаж электрических цепей должен производится в строгом соответствии с электрической схемой подключения.

Не рекомендуется устанавливать прибор вблизи аппаратуры, чувствительной к радиопомехам.

2.3.3 Требования к месту установки ПТС

ПТС устанавливаются на подающем ТР1 и обратном ТР2 трубопроводах предпочтительно на балансовой границе между поставщиком тепла и потребителем: на входе теплотрассы либо вблизи главных задвижек.

ПТС можно устанавливать на участке трубопровода любого диаметра, любой формы, с любым направлением потока, но должен обеспечиваться полный контакт погружных частей ПТС с теплоносителем.

ПТС следует устанавливать клеммной колодкой кверху, под углом от 45 до 90 º к оси трубы. Не рекомендуется устанавливать ПТС в месте, где возможен застой (а значит изменение температуры ) теплоносителя, а так же расслоение теплоносителя на потоки с различной температурой.

Температура окружающей среды в месте установки ПТС от минус 10 до плюс 70 ºС.

2.3.4 Требования к месту установки вычислителя

Температура окружающей среды для вычислителя - от 5 до 50 °С.

Если прибор устанавливается в полевых условиях, где отсутствуют операторные или операторные удалены от трубопровода более чем на 200 м, допускается помещать вычислитель в защитные сооружения (шкафы, будки и т.п.), обеспечивающие требуемую температуру окружающей среды и приближенные непосредственно к трубопроводу.

Вычислитель не должен подвергаться интенсивному солнечному облучению. К вычислителю должен быть обеспечен свободный доступ со стороны органов управления. Вычислитель необходимо монтировать на расстоянии, обеспечивающем подключение необходимой длины соединительных кабелей от ПЭП (не более 200 м). Место установки вычислителя должно быть оборудовано трехполюсной евророзеткой, подключенной к сети переменного тока напряжением 220 (22; - 33) В c шиной защитного заземления, подключенной к соответствующему полюсу этой розетки.

2.3.5 Требования к месту прокладки кабелей

При любом способе прокладки кабели должны иметь защиту от механических повреждений и нагрузок на растягивание. Длина трассы прокладки кабелей от 0 до 200м.

2.3.6 Общие требования

При проведении сварочных работ на трубопроводе вблизи смонтированного измерительного участка (или УПР) возможно повреждение (выгорание) входных цепей прибора. Для предотвращения этого необходимо отсоединить кабели от ПЭП или разъем с кабелями ПЭП от вычислителя.

Не рекомендуется:

устанавливать прибор вблизи мест, где часто производятся сварочные работы;

подключение к одной с прибором фазе оборудования, создающего электромагнитные помехи;

устанавливать прибор вблизи аппаратуры, чувствительной к радиопомехам.

Монтаж прибора включает в себя:

монтаж ПЭП (при поставке без УПР);

монтаж УПР;

монтаж термопреобразователей;

монтаж вычислителя;

прокладку кабеля;

присоединение кабелей к ПЭП;

подводка заземления к евророзетке;

В процессе монтажа ПЭП для 250 DN и свыше необходимо производить измерения следующих линейно-угловых параметров в соответствии с НД “Рекомендация. ГСИ. Теплосчетчик СТУ-1. Методика поверки. ТЕСС 00.030.00 МП”:

наружного диаметра трубопровода Dн, м;

суммарной толщины стенки трубопровода и отложений Нn, м;

внутреннего диаметра трубопровода Dn, м;

смещения оси акустического канала относительно

центральной оси трубопровода χ, мм;

угла наклона оси акустического канала α, °;

- расстояния между ПЭП L, м.

Рисунок 13. Разметка овалов

Рисунок 14. Схема приварки держателей к трубопроводу

При монтаже необходимо:

перекрыть задвижками участок трубопровода и слить воду;

очистить поверхность на предполагаемом для врезки участке от грязи, изоляции, покрытия и т.п. до металла;

измерить наружный диаметр трубопровода Dн, м.

нанести разметки на трубопровод в соответствии с рисунком 13.

При нанесении разметки выполнить следующие условия:

линии разметки не должны совпадать со сварными швами;

место разметки должно быть удалено на достаточное расстояние от стен и прочих препятствий, способных помешать дальнейшим работам.

Провести с помощью профиля 3 длиной не менее 1 DN, имеющего два плоскопараллельных ребра (швеллер, уголок и т.д.) осевую линию (АВ) в плоскости ПП перпендикулярной плоскости врезки (ПВ). При вертикальном расположении трубопровода это будет любая удобная для дальнейшей разметки линия. На нанесенной линии с помощью рулетки разметить отрезок АВ равный Dн. Провести через точки А и В с помощью гибкой металлической ленты (линейки, рулетки и т.д.) линии СД’ и ДС’, перпендикулярные линии АВ. Измерить в плоскости точек САД’ и С’ВД не менее 3 раз рулеткой длину окружности Сн и найти среднее значение Снср. Разметить точки С, С’, Д, Д’ на расстоянии Снср/4 от точек А и В.

Измерить с помощью штангенциркуля или рулетки расстояния СС’, ДД’, СД, С’Д’ и проверить выполнение условий:

|CC’| = |ДД’| = Dн, (1)

|СД| = |C’Д’|, (2)

|ДC’| = |СД’| = Снср/2 (3)

Если условия (1),(2),(3) не выполняются - разметку повторить. Произвести разметку овалов, в соответствии с рисунком 13, совместив при этом центр О и ось ЕГ лекала с точкой С(Д) и линией разметки СС’(ДД’).

Допускается производить разметку мест приварки держателей при помощи трафарета, с размеченными заранее точками в зависимости от номинального (условного диаметра).

вырезать отверстия в трубопроводе в местах разметки овалов. Обработать их - зачистить кромки, удалить окалину, снять заусенцы, особенно с внутренней стороны трубопровода.

приварку держателей ПЭП на трубопровод производить с помощью приспособления для сварки (штанга монтажная с гайками и шайбами), в соответствии с рисунком 14, которое обеспечивает требуемое взаимное расположение держателей относительно друг друга. Штанга изготавливается из углеродистой стали и должна быть ровной и отшлифованной. Производить работы с изогнутой штангой не допускается. Длина штанги зависит от диаметра трубопровода и угла врезки датчиков. Конкретная ее длина выбирается из таблицы 6.

Таблица 6

Условный диаметр трубопровода, мм

Длина направляющей штанги, мм

250

750

300

820

400

960

500

1100

600

1240

700

1430

800

1550

1000

1780

1600

2600


Рекомендуется доработать опорную поверхность держателей ПЭП в соответствии с образующей поверхностью трубопровода, на котором будет произведен монтаж. Для более точной приварки держателей на их наружную цилиндрическую поверхность нанести осевые риски, соответствующие точкам пересечения большой и малой осей эллипса. Установить держатели на штангу, совместив нанесенные риски на держателе с линиями разметки трубопровода АС, СС’ и ВД, ДД’, и закрепить их гайкой.

Рисунок 15. Схема доработки отверстий

Прихватить сваркой держатель в точке Е. Провернуть штангу вокруг своей оси, откорректировать угол наклона штанги. Прихватить сваркой другой держатель в точке Е’. Далее процесс поочередной прихватки каждого держателя произвести в четырех диаметрально-противоположных точках (крестообразно). После прихватки в каждой точке делать паузу для остывания металла в местах сварки. Повторить такую операцию на каждом держателе в промежуточных диаметрально-противоположных четырех точках, делая выдержку с целью остывания металла.

Убедившись в правильности предварительной сварки приступить к окончательному привариванию шва, постоянно совершая колебательно - вращательные движения штанги вокруг своей оси для устранения возможных перекосов.

Измерить суммарную толщину стенки трубопровода и отложений Нn.

Для этого рекомендуется вварить бобышки в плоскости врезки (ПВ) в соответствии с рисунком 15. После измерений бобышки закрыть заглушками на резьбе. Доработать, в соответствии с рисунком 16, с помощью развертки отверстие диаметром 24+0,021 в одном из держателей до диаметра 24+0,13 мм. Одновременно зенкером доработать плоскость упора ПЭП в держателе на глубину, позволяющую захватить всю обрабатываемую поверхность.

Повторить эти операции для другого держателя. Рассчитать внутренний диаметр трубопровода Dn. Измерить смещение оси акустического канала относительно центральной оси трубопровода χ. Измерить угол наклона оси акустического канала.

Рисунок 15. Схема измерения суммарной толщины стенки трубопровода и отложений (Нn)

Установить один ПЭП в соответствии с рисунком 16.

Измерить расстояние L между ПЭП.

Рисунок 16. Схема монтажа пьезоэлектрических датчиков:

-преобразователь ПЭП-3, 2-гайка ТЕСС 758412.005, 3- прокладка ТЕСС 754155.009-005, 4- кольцо ТЕСС 753613.004, 5- пломба.

Монтаж ПЭП при врезке по хорде: на наружной стенке трубопровода в диаметральной плоскости с помощью рулетки нанести две линии (линия 1, линия 2) на расстоянии 0,866·DН друг относительно друга, где DН наружный диаметр трубопровода; на боковой стороне трубопровода, с помощью отвеса, отметить на линии 1 точку А, затем с помощью жесткого профиля (уголка, швеллера) провести горизонтальную линию до пересечения с линией 2 и отметить на ней точку Б; отложить рулеткой расстояние 0,26 · DН от точки А вдоль линии 1, кернить полученную точку; отложить рулеткой расстояние 1,83 · DН от точки Б вдоль линии 2 в противоположную сторону отрезка, проведенного из точки А, кернить полученную точку; вырезать овальные отверстия в трубопроводе под держатели в местах кернения ; приварить держатели ПЭП.

Измерение значения смещения акустической оси χ И выполнить следующим способом:

·        приложить уровень к нижней точке Е тубопровода и, используя отвес, измерить расстояние от точки С до уровня (линия 3) не менее 5 раз.

·        произвести замеры смещения точки Д, так же не менее 5раз. Найти среднее значение замеров χN.

·        вычислить смещение акустической оси χИ по формуле:

χH = Дн/4 - χN

Рисунок 17. Разметка трубопровода при врезке по хорде

Монтаж прямопроходных УПР с условным диаметром от DN 32 по DN 1200 мм:

·        Перекрыть задвижками участок трубопровода и слить воду. Очистить наружную поверхность на предполагаемом для врезки участке трубопровода от грязи, изоляции, покрытия и т.д. до металла.

·        Разметить и вырезать в трубопроводе участок L в соответствии с рисунком 18 и таблицей 7.

Таблица 7

DN, мм

50

65

80

100

150

200

L, мм

270

295

310

335

405

460


Рисунок 18. Пример расположения УПР

·        Оценить по вырезанному участку трубы состояние внутренней поверхности трубопровода (отложения, степень коррозии). Измерить внутренний диаметр с учетом отложений.

·        Проверить выполнение условия

(DN - DN’) ≤ 0,05DN’,

где: DN’ - внутренний диаметр УПР, DN - внутренний диаметр трубопровода.

Если условие не выполняется, чистить трубопровод от наслоений на длину не менее DN 15 до места установки УПР и DN 5 после, пока условие не будет выполнено.

Если состояние внутренней поверхности трубопровода не позволяет произвести очистку (сильная коррозия и отложения), следует вварить в трубопровод отрезки новой трубы длиной DN 15 до установки УПР и DN 5 после.

·        Расточить посадочные отверстия фланцев по измеренному размеру с учетом зазора для сварки.

·        Надеть на концы трубопровода ответные фланцы (не приваривая).

·        Установить УПР в магистральный трубопровод и стянуть болтами с ответными фланцами (предварительно установив между фланцами прокладки из комплекта поставки). Сделать отметки мелом на магистральном трубопроводе для сварки фланцев с трубопроводом.

ВНИМАНИЕ!

. Фланец с нанесенным порядковым номером является входом УПР. При этом пьезодатчики на УПР, маркированные цифрами “1” (Трубопровод 1) и “3” (Трубопровод 2), должны оказаться ближе к вводу УПР.

. Для трубопроводов с условными диаметрами от 250 DN и свыше ПЭП 1 следует устанавливать первым к набегающемк потоку.

Снять УПР:

·        Приварить ответные фланцы к трубопроводу по отметкам.

·        Установить УПР в магистральный трубопровод, проложив прокладки между фланцами, и равномерно стянуть их болтами из комплекта поставки.

Монтаж ПТС:

·        Для установки ПТС применяется следующая арматура:

- защитная гильза - при давлении теплоносителя более 0,4 МПа и скорости потока не более 1,5 м/с.

установочная втулка - при установке без защитной гильзы, рисунок 18.

Рисунок 19. Эскиз и масса гильзы термопреобразователя

Таблица 8

L,мм

80

100

120

160

Масса, кг

0,16

0,17

0,19

0,22


Глубина погружения термочувствительной части ПТС или защитной гильзы составляет (0,3…0,5) DN.

·        Перекрыть задвижками участок трубопровода и слить воду. Очистить поверхность на предполагаемом для врезки участке от грязи, изоляции, покрытия и т.д. до металла.

·        Смонтировать необходимую арматуру на трубопроводе. Пример установки термопреобразователей приведен на рисунке 19.

·        Установить ПТС.

·        Залить пространство между гильзой и ПТС машинным маслом и закрепить ПТС.

Монтаж вычислителя.

Вычислитель крепить на опорной поверхности с помощью специальных пластин, предусмотренных на корпусе прибора, в вертикальном положении.

Рисунок 20. Разметка присоединительных отверстий вычислителя

Присоединительные размеры приведены на рисунке 20.

К ламели сетевой розетки обязательно должна быть подведена заземляющая шина.

Прокладка кабелей.

Перед прокладкой кабелей убедиться в отсутствии внешних повреждений.

Кабели проложить в трубах, кабельных каналах или в плетенках типа ПМЛ (О)-10х16 мм. Кабель присоединять к ПЭП в соответствии со связующей маркировкой.

Присоединение кабеля к ПЭП.

ВНИМАНИЕ.

Для УПР с условным диаметром от 50 DN по 200 DN маркировка на пьезодатчике должна соответствовать маркировке на присоединительном кабеле РК-50.

 

Рисунок 21. Схема подключения кабеля РК-50 к пьезодатчикам ПЭП 3-1 и ПЭП 6-1.

Схема присоединения кабеля к пьезодатчикам ПЭП 3-1, ПЭП 6-1 изображена на рисунке 21. Присоединение делать следующим образом:

отсоединить съемные части кабельного разъема ПЭП и нанизать их на кабель в той же последовательности.

снять наружную изоляцию кабеля на длине 5-6 мм.

вывернуть оплетку “чулком” (оплетку не распускать).

снять внутреннюю изоляцию на длине 4-5 мм и вставить центральную жилу в корпус соединителя до упора.

вывернуть оплетку на поверхность корпуса и прижать ее к поверхности конической втулкой.

навинтить на корпус муфту и, вставив в муфту прокладку с конической втулкой, поджать их винтом.

умеренно затянуть муфту и винт ключом.

Примечание - не допускается электрического контакта (короткого замыкания) между оплеткой и центральной жилой кабеля. При наличии такого замыкания прибор покажет отказ.

Принципиальная схема присоединения кабеля к пьезодатчикам ПЭП 3-4 и ПП-200 приведена на рисунке 22.

Рисунок 22. Схенма подключения кабеля РК-50 к пьезодатчику ПЭП 3-4

Пуск (опробование)

1.       Установить в трубопроводе поток воды, произвести опрессовку испытательным давлением 1,5 Рраб.

2.       Визуально проверить герметичность сварных швов и соединений. При обнаружении течи в месте установки ПЭП, надо затянуть гайку туже.

.        Включить и запрограммировать вычислитель. После монтажа для беструбного исполнения провести поверку теплосчетчика.

После проведения всех работ произвести пломбировку ПЭП, вычислителя и термопреобразователей.

4.       Места установки термопреобразователей на трубопроводе и выступающие металлические части самих ПТС рекомендуется теплоизолировать.

2.4 Техническое обслуживание

Введенный в эксплуатацию теплосчетчик требует периодического осмотра с целью:

соблюдения условий эксплуатации;

отсутствия внешних повреждений составных частей теплосчетчика;

проверки надежности электрических и механических соединений;

проверки наличия пломб на составных частях теплосчетчика;

проверки наличия напряжения питания;

проверки работоспособности теплосчетчика.

Перечень возможных неисправностей и методы их устранения приведены в таблице 9.

Таблица 9

Внешнее проявление отказа

Вероятная причина  отказа

Метод устранения

На дисплее вычислителя постоянно выводится сообщение о НС: Р1, Р2, Р3, Р4, Р5, Р6, или комбинация этих символов

1. Повреждено электрическое соединение кабеля РК-50с пьезопреобразователями ПЭП или неисправность кабеля

Проверьте целостность кабеля РК-50 и разъемов кабеля


2. Отсутствие теплоносителя в трубопроводе

Заполните водой трубопровод

Скачкообразное изменение показаний расхода при стабильном потоке

1. Неисправность пьезоэлектрического преобразователя ПЭП

Замените пьезоэлектрический преобразователь


2. Замыкание центральной жилы с экраном при подсоединении кабеля РК-50 к цанговому разъему ПЭП


3. Содержание газообразных веществ в теплоносителе выше нормы

Произведите правильно перемонтаж УПР. Установите автоматический воздухоотводчик

Показания расхода со знаком минус

Перепутаны местами кабели на ПЭП 1 (ПЭП3) и ПЭП2 (ПЭП4) на одном трубопроводе

Поменяйте местами кабели на цанговых разъемах ПЭП

Неверные показания температуры

1.Неправильно введен тип термометров

Ввести тип согласно паспорту


2. Термометры подачи и обработки перепутаны местами

Поменяйте местами термометры


3. Неверно подключен кабель КММ

Проверьте подключение кабеля

Показание расхода по обработке больше чем по подаче

1. Перепутано подключение кабеля РК-50 на подающем и на обратном трубопроводах

Поменяйте местами кабели, подключаемые к подающему и обратному трубопроводам


2. Неверно выставлен ККОРР

Войдите в режим программирования и правильно выставьте ККОРР


2.5 Поверка теплосчетчика

Ультразвуковые тепловодосчётчики, как правило, основаны на время-импульсном методе измерения скорости потока. Основным методом контроля метрологических характеристик канала измерения расхода тепловодосчётчика при производстве и эксплуатации является проливной метод, однако используемый принцип измерения расхода и особенности конструктивного исполнения расходомерного участка (РУ), позволяют с высокой степенью достоверности применять имитационный метод.

Имитационный метод поверки расходомера используется на таких этапах производства и эксплуатации :

ü  межоперационный технологический контроль;

ü  первичная поверка тепловодосчётчиков;

ü  выходной контроль после модернизации или ремонта тепловодосчётчика;

ü  входной контроль при приёмке тепловодосчётчика в некоторые виды ремонта;

ü  первичная и периодическая поверка всех тепловодосчётчиков с диаметром РУ свыше 200 мм;

ü  периодическая и внеочередная поверка тепловодосчётчиков, находящихся в эксплуатации при нецелесообразности проведения проливных испытаний.

Столь широкая сфера применения имитационного метода поверки канала измерения расхода обусловлена рядом преимуществ перед проливным методом, среди которых, наиболее существенными являются:

ü  относительно невысокая стоимость как оборудования, так и эксплуатационных расходов;

ü  доступность поверки тепловодосчётчиков любых диаметров;

ü  высокая производительность;

ü  возможность проведения поверки на объекте при условии обеспечения электробезопасности;

ü  высокая степень пооперационной автоматизации (в том числе при оформлении документации);

ü  более благоприятные условия труда персонала.

Фактически, поверка тепловодосчётчика по имитационной методике сводится к таким основным операциям:

проведение механических измерений расходомерного участка ;

определение погрешности измерения расхода;

определение погрешности измерения накопленного объёма.

Традиционно дискуссионным вопросом в практике применения имитационных методик поверки (как, впрочем, и проливных) является степень соответствия работы поверяемого прибора его работе на объекте. Для максимального приближения условий работы тепловодосчётчика при поверке к его реальным условиям работы разработан имитатор расхода ИМР-01, представляющий собой формирователь регулируемой временной задержки измерительных сигналов в линиях связи между электронным блоком расходомера и пассивными электроакустическими преобразователями. Для высокой достоверности смоделирована возможность осуществления имитации движения потока воды (воспроизведение расхода воды) путем введения в сигнал, принимаемый вычислителем счетчика, временных задержек, аналогичных задержкам, возникающим при прохождении сигнала от ультразвуковых датчиков в расходомерном участке с движущейся водой.

Существенной особенностью данного имитатора является то, что он формирует только приращение задержек ΔТ, имитирующее расход, поскольку работает с реальным РУ, и задержки распространения сигнала в неподвижной воде имитировать не требуется.

В динамическом режиме влияние вариации геометрических параметров РУ, находящихся в поле допусков, указанных в конструкторской документации, могут вызвать увеличение суммарной погрешности на величину, достигающую значения 1%. Поэтому использование имитационного способа обосновано для счетчиков имеющих допускаемый предел погрешности измерения расхода (объема) не менее 1.5-2 %.

Теплосчетчики, применяемые в сферах распространения государственного метрологического контроля и надзора подлежат первичной и периодической поверкам органами Государственной метрологической службы согласно указаниям ПР.50.2.006 и НД “Рекомендация. ГСИ. Теплосчетчики СТУ-1. Методика поверки. ТЕСС 00.030.00 МП”:

исполнения R - теплосчетчики исполнения R подлежат поверке в один этап на заводе-изготовителе проливным методом.

исполнения Р - теплосчетчики исполнения P (кроме СТУ-1 -ХХ-000-...-P-..) подлежат поверке в один этап на заводе-изготовителе беспроливным методом.

Теплосчетчики исполнения СТУ-1 -ХХ-000-...-P-... подлежат поверке в два этапа. На первом этапе поверяется только вычислитель на заводе изготовителе. Поверка теплосчетчиков по второму этапу производится после установки их на месте эксплуатации. До этого потребителем производится определение геометрических параметров измерительного участка трубопровода и ввод в память теплосчетчика этих и прочих параметров настройки.

Результаты поверки заносятся в свидетельство о поверке, заверяются подписью и клеймом Госповерителя. Вычислитель также пломбируется Госповерителем.

При использовании автоматизированного программного средства поверки HeatTestBox, необходимые расчеты производятся с помощью ПЭВМ.

Межповерочный интервал - 4 года.

3.Техника безопасности и противопожарная техника.

3.1 Общие требования техники безопасности

В соответствии с Основами законодательства Российской Федерации о труде надзор и контроль за соблюдением законодательства по охране труда осуществляют специально уполномоченные государственные органы и инспекции.

На предприятии общее руководство по безопасности труда, промышленной санитарии и контроль за соблюдением законодательства по охране труда возложены на директора и главного инженера. Главному инженеру подчинен отдел безопасности труда, который ведет непосредственную работу по обеспечению безопасности труда и промышленной санитарии на предприятии.

Для предупреждения производственного травматизма на предприятиях регулярно проводится контроль безопасности труда и промышленной санитарии на отдельных рабочих местах, участках, в цехах и на предприятии в целом.

Для предотвращения несчастных случаев необходимы знание и строгое выполнение существующих положений, инструкций и требований по безопасности труда.

Все работающие и вновь поступившие на предприятие рабочие, служащие и инженерно-технические работники независимо от стажа и опыта работы проходят инструктаж и обучение по безопасному ведению работ на основании требований соответствующих правил и инструкций по безопасности труда и производственной санитарии.

Промышленные предприятия оснащаются большим количеством разнообразных, а во многих случаях весьма сложных машин, станков и механизмов, облегчающих труд рабочего. Однако все они могут представлять для обслуживающих их рабочих определенную опасность. Это прежде всего относится к машинам, станкам и механизмам, приводимым в движение электрическим током, отдельные элементы которых находятся под давлением сжатого воздуха, пара или газа.

 Правильная организация труда, четкость и аккуратность в работе способствуют безопасности рабочих на производстве. При выполнении сборочных, монтажных и намоточных работ необходимо строго соблюдать правила техники безопасности.

Монтаж и демонтаж УПР, сварка держателей ПЭП и гильз термопреобразователей на трубопроводе должны производиться в соответствии с правилами безопасности ведения работ, соответствующих категории данного трубопровода.

Пуско-наладочные работы должны производиться организациями, имеющими лицензию на производство данного вида работ и в соответствии с проектом, выполненным организацией, имеющей лицензию на проектирование.

Монтаж, пуск прибора должны осуществляться лицами, допущенными к работе с установками до 1000 В.

Запрещается монтаж и демонтаж УПР и гильз на действующем трубопроводе при наличии в нем воды.

Замена ПЭП в трубопроводной магистрали, должна производиться при полном отсутствии внутреннего давления в магистрали.

3.2 Электробезопасность

Исключительно большое значение для электробезопасности имеет правильная организация обслуживания действующих электроустановок, проведения ремонтных, монтажных и профилактических работ. При этом под правильной организацией понимается строгое выполнение ряда организационных и технических мероприятий и средств.

Источниками опасности при монтаже и эксплуатации теплосчетчиков являются электрический ток и измеряемая среда, находящаяся под давлением до 1,6 (2,5) МПа при температуре до 150 оС.

По способу защиты человека от поражения электрическим током теплосчетчики относятся к классу 01 по ГОСТ 12.2.007.0.

К контакту заземления евророзетки сетевого питания должен быть подключен заземляющий проводник при испытаниях, монтаже и эксплуатации.

Похожие работы на - Разработка методики монтажа и эксплуатации вычислителя тепла

 

Не нашли материал для своей работы?
Поможем написать уникальную работу
Без плагиата!
Без нейросетей!