Профилированный ПВХ для изготовления светопрозрачной кровли

  • Вид работы:
    Реферат
  • Предмет:
    Строительство
  • Язык:
    Русский
    ,
    Формат файла:
    MS Word
    76,65 Кб
  • Опубликовано:
    2012-07-01
Вы можете узнать стоимость помощи в написании студенческой работы.
Помощь в написании работы, которую точно примут!

Профилированный ПВХ для изготовления светопрозрачной кровли

Федеральное агентство по образованию

Казанский государственный архитектурно-строительный университет



Кафедра строительных материалов

Реферат на тему:

"Профилированный ПВХ для изготовления светопрозрачной кровли"

Содержание

Введение

Современные светопрозрачные кровли

Профилированный ПВХ

ПВХ ONDEX

ПВХ листовой гофрированный, профилированный

Технология производства ПВХ-профилей

Заключение

Список литературы

Введение

Светопрозрачная кровля позволяет более рационально использовать электрическое освещение в помещении, так как естественного света будет поступать гораздо больше. Кроме того, если сравнить такой материал с крышей из стекла, то он более гибок и прочен, несмотря на то, что имеет существенно меньшую массу.

Используемые материалы ПВХ представляют собой профилированные листы, которые обладают различным контуром профиля. Это могут быть ондулиновые волны, стандартный прямой лист, волны прямые. Они могут быть матовыми или прозрачными. Кроме того, профилированные листы поддаются окрашиванию в самые различные цвета, не снижая при этом количество пропускаемого света. Из них получаются прекрасные входные козырьки.

ПВХ листы используются, в основном, в процессе обустройства кровель над скатными и арочными конструкциями в промышленности. С их помощью выполняется прозрачная кровля, обустраиваются фасады и стены зданий. Из данного материала можно изготавливать навесы и своды, что, безусловно, будет выгоднее, нежели купить козырек уже готовый к монтажу. Такие прозрачные листы ПВХ являются идеальным решением для оранжерей и теплиц, летних кафе и кабинок для ванных комнат. Профиль ПВХ прекрасно поддается различного рода обработке. Его можно резать, сверлить и т.д.

Современные светопрозрачные кровли

Светопрозрачная кровля - наиболее перспективный и быстроразвивающийся сектор строительства. Благодаря появлению на рынке новых материалов и технологий архитекторы получили поистине безграничные возможности в создании любых типов светопропускающих кровель.

В настоящее время интерес к светопропускающим конструкциям значительно возрос. Это вызвано стремлением к использованию под жилое пространство всех уголков здания: от чердачных помещений до подвальных, реконструкции старых зданий, а также новыми веяниями в области дизайна и архитектуры.

Основным назначением светопрозрачной кровли является максимальное использование естественного света для освещения внутренних помещений зданий и сооружений, что приводит к существенной экономии электроэнергии (особенно в зимний период), а также к улучшению условий труда работающего там персонала.

Существует три системы естественного освещения помещений: верхнее, боковое и комбинированное. Так как светопропускающие конструкции являются ограждающими, они могут быть как “теплыми”, так и “холодными” в зависимости от назначения и предъявляемых требований. Кроме того, такие конструкции должны обеспечивать статическую прочность, гидроизоляцию, пароизоляцию, теплоизоляцию и звукоизоляцию.

Среди материалов, используемых для изготовления светопрозрачных кровель, особое место занимают пластики. Среди всего многообразия светопрозрачных полимерных кровельных материалов можно выделить три основных группы пластиков: листовые - канальный поликарбонат и профилированный ПВХ, а также рулонный материал - полиэстер, армированный стекловолокном. Неоспоримым достоинством этих материалов по сравнению со стеклом является их малый вес в сочетании с высокой прочностью и гибкостью.

Современные светопрозрачные конструкции отличаются от обычного стекла. Для установки светопрозрачных конструкций используются различные материалы. Обладают светопрозрачные конструкции отличными звукоизоляционными и пожаробезопасными характеристиками. Создают светопрозрачные конструкции эффект визуального увеличения пространства. Небольшой вес светопрозрачных конструкций, устойчивость к ударам и перепадам температур позволяют активно использовать светопрозрачные конструкции для различных целей.

Широко распространены светопрозрачные конструкции из закаленного стекла, оргстекла, ондекс, изделия стеклопластика и поликарбонат, который часто используется как материал для теплиц. Инновационные светопрозрачные конструкции отличаются изящностью. Используются светопрозрачные конструкции для окон, дверей, мансард, бассейнов, лоджий, крыш и в качестве материала для теплиц.

Кроме светопрозрачных конструкций стеклопластик используется для изготовления оконных профилей, лодок и бассейнов. Широко применяются изделия стеклопластика в строительстве. Все изделия из пластика по прочности уступают только изделиям из стали. Большой популярностью пользуются товары фирмы туплекс. Польская компания ТУПЛЕКС реализуется различные инновационные продукты. Применение туплекса позволяет воплощать самые смелые идеи. Большой выбор ассортимента всегда есть в туплексе.

Монолитный и сотовый поликарбонат самый популярный материал для теплиц. Французский завод ONDEX выпускает лучший сотовый поликарбонат. Сегодня все предприятия ONDEX увеличивают объемы производства и предлагают листы различной фактуры и цвета. Преимущества - это повышенные теплоизоляционные свойства и большой выбор листов.

Изделия стеклопластика, несмотря на сравнительно недавнее свое появление, сразу же получили широкое распространение и популярность, тем самым прочно закрепившись в числе лидеров светопрозрачных конструкций. Особая технология изготовления изделий из стеклопластика обеспечивает безупречное качество данной продукции.

Стильные светопрозрачные конструкции подчеркивают современность офисных, жилых или торговых зданий.

В свою же очередь, стеклопластик признан основным представителем группы армированных пластиков, а изделия стеклопластика имеют большую выносливость к нагрузкам агрессивной среды. Изделия стеклопластика имеют характерные особенности. К ним относятся: высокая и эластичность в сочетании с малым весом, стойкость к коррозии и влаге. Изделия стеклопластика имеют широкую цветовую гамму, простоту в эксплуатации и ремонте. К тому же, изделия стеклопластика безопасны для здоровья.

Светопрозрачные конструкции же, известны человечеству на протяжении столетий. Стеклопрозрачные конструкции начали свое развитие от оконных рам, а сейчас, с их помощью, можно произвести полное остекление фасада. Строительные светопрозрачные конструкции используются для остекления самых разнообразных строений. Светопрозрачные конструкции могут применяться как для остекления фасадов, витражей, так и для полного остекления кровли. Используемые стеклопрозрачные конструкции придают помещениям современный облик, а так же делают их светлыми и просторными.

Профилированный ПВХ

Листовой профилированный пластик из ПВХ является наиболее популярным кровельным материалом. Благодаря широкой гамме выпускаемых цветов как прозрачных, так и непрозрачных версий, а также простоте монтажа и приемлемой цене профилированный ПВХ получил широкое распространение в строительстве.

Профилированный ПВХ также производится методом экструзии. Он подвергается специальному технологическому процессу двуосной ориентации. Суть этого процесса в том, что лист из ПВХ растягивается в продольном и поперечном направлениях, в результате чего приобретает уникальную прочность к ударным и поперечным нагрузкам, в том числе при пониженных и повышенных температурах. Кроме того, только профилированный ПВХ имеет дополнительно нанесенный УФ-защитный слой, при этом не нарушается структура самого материала. Плиты других производителей не имеют такого защитного слоя, а защита от УФ решается путем введения специальных добавок в виде мельчайших вкраплений в структуру самого материала, что заметно сказывается на его механической прочности. Сам материал при этом более хрупкий и неспособен долго сохранять цвет и прозрачность. Структура же плит после процесса двуосной ориентации становится более прочной и жесткой. Эти плиты обладают высокой коррозионной стойкостью к различным химическим и биологическим средам.

Профилированный ПВХ ONDEX производится в виде листов с различным профилем волны: в виде трапеции (70/18) и гладкой волны (76/18). При изготовлении световых окон в крышах домов, накрытых битумными листами Onduline или безасбестовым шифером Eternit, особенно популярны плиты ONDEX с волной (94/35) и (177/51) соответственно. Ширина производимых листов - 1090 мм для трапеции (70/18) и 1106 мм для гладкой волны (76/18). Длина листов - 2000 мм, 2500 мм и 3000 мм. Под заказ возможна поставка плит до 8000 мм.

Цветовая гамма профилированного ПВХ ONDEX очень широкая. Производятся плиты с различным типом волны: прозрачного, тонированного, синего, желтого, белого, зеленого, красного цветов как прозрачных версий, так и полностью окрашенных. Светопропускание может составлять до 80%.

Крепление плит осуществляется с помощью специальных элементов крепления и дистанционных подкладок поверх волны. При этом нужно учитывать термическое расширение и предусматривать зазоры в местах крепления 2-3 мм на погонный метр. Для удобства монтажа различных типов крыш производятся дополнительные аксессуары: коньковые элементы и элементы примыкания к гладкой стене.

При монтаже крыш больших размеров листы из профилированного ПВХ укладываются по ширине внахлест в две волны, а по длине нахлест должен составлять 200-300 мм в зависимости от угла наклона ската кровли. Обрешетка для монтажа профилированных плит должна быть окрашена в белый цвет и выполняться в виде продольно расположенных балок с шагом от 0,5 до 1 м. Точный шаг рассчитывается в зависимости от снеговой и ветровой нагрузки, а также угла наклона крыши.

ПВХ ONDEX

Би-ориентированные листы ONDEX семейства ECOLUX являются одним из основных видов продукции предприятия ONDEX. Они специально разработаны для изготовления кровли, зашивки стен и разделительных перегородок небольших зданий. Они изготавливаются по той же технологии, что и листы HR (АшЭр) и обладают большинством их свойств:

·   Износостойкость, механическая прочность, градостойкость и способность выдерживать удары спортивных мячей;

·        Противопожарные свойства: горючесть - Г2, воспламеняемость - В2, распространение пламени - РП1. Самозатухание, образование разрывов, через которые уходят продукты горения.

·        Широкий выбор цветов (прозрачных или непрозрачных).

·        Поведение при низких температурах.

·        Стойкость к атмосферным явлениям (дождь, снег или ветер).

·        Долговечность (благодаря Би-ориентации и коэкструзии).

·        Гибкость для создания изогнутых поверхностей (выгнутых и вогнутых).

·        Водонепроницаемость (сохраняется то же значение).

·        Стойкость к атмосфере, насыщенной солями.

·        Химическая стойкость (большой список химических веществ).

Би-ориентированные листы ONDEX семейства HR специально разработаны для изготовления кровли, зашивки стен индустриальных зданий, складов и спортивных сооружений.

Листы HR особенно рекомендуются в тех случаях, когда основные характеристики сооружаемых зданий должны соответствовать показателям высокого качества:

·   Стабильность, долговечность

·        Прочность, сопротивление удару 1200 Дж,

механическая прочность, прочность по отношению к воздействию града и ударам спортивных мячей

·   Противопожарные свойства: горючесть - Г2, воспламеняемость - В2, распространение пламени - РП1. Самозатухание, выпуск продуктов горения из помещения

·        Оптимизация светопропускания (прозрачный, светорассеивающий, частичное светопропускание)

·        Устойчивость к низким температурам

·        Стойкость к атмосферным явлениям (дождь, снег или ветер)

·        Устойчивость к старению (благодаря би-ориентации и коэкструзии).

·        Гибкость для создания изогнутых поверхностей (выгнутых и вогнутых)

·        Водоотталкивание (сохранение неизменных размеров)

·        Стойкость к атмосфере, насыщенной солями (морской атмосфере)

·        Химическая стойкость (большой список химических веществ)

·        Упрочненные методом ДВУОСНОЙ ОРИЕНТАЦИИ профилированные листы пластика ONDEX номенклатуры BIO сконструированы для покрытия крыш и стен теплиц. Номенклатура BIO включает три подгруппы материалов (BIO1-BIO2 и BIOЗ), имеющих схожие свойства:

·        Улучшенное светопропускание (до 90% по сравнению с воздухом).

·        Прозрачность для ультрафиолетовых лучей 22%, избавляющая растения от стресса и позволяющая реализовать пчело- и шмелеопыление.

·        Прозрачность для коротких инфра-красных лучей - 90% (солнечная энергия проникает в теплицу и преобразуется в тепло благодаря парниковому эффекту).

·        Материал задерживает 99% длинных ИК лучей, обеспечивая высокий КПД парникового эффекта внутри теплицы.

·        Пожарные свойства, материал относится к классам горючесть - Г2, воспламеняемость - В1, распространение пламени - РП1, самозатухающий - при пожаре образуются разрывы, дающие выход дыму.

·        Некоторые характеристики изменяются в зависимости от того, к какой подгруппе (BIO1-BIO2 или BIOЗ) относится материал

·        Градостойкость.

·        Сопротивление изгибу (минимально допустимые расстояния между поперечными опорами).

·        Содержание и/или срок гарантий.

Пластик отличается высокой ударопрочностью благодаря новому процессу производства. В процессе производства лист растягивается в продольном и поперечном направлениях. Полученная двуосная ориентация придает такие же свойства, как если бы лист был гофрирован в различных направлениях. Такая технология придает материалу дополнительную прочность и повышенную устойчивость при деформациях и перепадах температуры.

Теперь даже при низких температурах пластик стоек к длительным механическим нагрузкам и не хрупок. Градины до 20 мм в диаметре, падающие со скоростью до 80 км/ч при отрицательной температуре, не страшны ондексу. Лист удерживает груз до 50 кг, упавший с высоты 5 м. Основанием для пластиковых листов служат металлоконструкции. Кровельная система ONDEX максимально упрощена - это однослойная конструкция под листом только металлическое несущее основание. Так как прозрачная крыша должна быть закрыта теплоизоляцией либо внутренними перекрытиями, то несущий мел в косметических целях предпочтительно окрашивает в светлые цвета. Это тем более обосновано и по гой причине: как известно, темные предметы нагреваются, а, нагреваясь, теплые части основания образуют «мостик холода» и будут деформировать поверхность.

Кроме того, подкровельное пространство отдельно должно быть вентилируемо во избежание перегрева поверхности кровли.

Укладка облегчена надписью cote del (к небу), которая должна быть снаружи, так как верхняя сторона покрыта устойчивым к ультрафиолетовому излучению слоем. Укладка производится в одну волну при уклоне от 45° и в две волны - до 45° наращиванием как шифер: по вертикали или по горизонтали. При горизонтальной укладке - укладку производят в направлении, противоположном господствующему направлению ветров и дождей внахлест по вертикальным кромкам. При вертикальной укладке - снизу верх. Нижний край верхнего листа должен перекрывать верхний бортик нижнего листа, при этом соблюдается перпендикулярность к стропилам.

Для резки листов применяется дисковая пила или ножовка с мелкими зубьями. Следует исключить из работы пилы импульсного и ударного действия, иначе не избежать сколов и трещин.

Крепление листов осуществляется саморезами с резиновой шайбой и накладкой по форме профиля через 3 волны в поперечном направлений и через 1,1 м - в продольном. Листы сверлят после укладки коническим сверлом на 3-4 мм больше диаметра листа для компенсации термического расширения пластика.

При соблюдении технологии монтажа и правильной эксплуатации срок службы покрытия может составлять 10 лет.

ПВХ листовой гофрированный, профилированный

Гофрированный ПВХ - это самый экономичный пластик для создания светопрозрачных конструкций и доступной дешевой прозрачной кровли. Профилированные листы из гофрированного ПВХ применяются во всем мире как материал для кровельных, обшивочных и облицовочных работ. Это происходит благодаря выдающейся стойкости к внешним воздействиям. В частности высокому длительному сопротивлению солнечному ультрафиолетовому излучению. Листы сохраняют свои физические свойства и привлекательный вид в любых климатических условиях, где монтируются как прозрачная кровля. Они выдерживают влажность, дождь, снег и обеспечивают защиту от атмосферных воздействий в интервале температур от -20 °С до +50 'С. Слабым местом гофрированного ПВХ, является его низкая ударная прочность, по сравнению с другими материалами.

Преимущества прозрачной кровли из ПВХ:

·   Лист химически устойчив к разнообразным химикатам.

·        Не ржавеет и не подвержен коррозии.

·        Достаточно гибок.

·        Имеет эстетически замечательный внешний вид.

Все это определяет успешное применение листов в строительстве. Незаменимым качеством оказывается также высокая ударопрочность листов гофрированного ПВХ, но только у листом имеющих толщину 1,5-2 мм, а высокая гибкость позволяет использовать в строительстве арочных крыш и изогнутых стен. Неоспоримым достоинством листов гофрированного ПВХ является легкость обработки и быстрота монтажа. И, наконец, важным преимуществом является сохранение внешнего вида при минимальном обслуживании. Однако следует помнить, что все перечисленные свойства зависят от толщины гофрированного ПВХ.

Отличные физические свойства гофрированного листа позволяют с успехом использовать его для изготовления светопрозрачных конструкций.Он часто используются при возведении различных строительных элементов и сооружений. Лисы используются при возведении навесов и козырьков над трибунами при строительстве спортивных сооружений, где требуется применение бюджетного варианта при создании малых архитектурных форм. Такие конструкции знакомы нам и по остекленным пешеходным переходам, а так же в виде навесов и козырьков над АЗС, стоянками, остановками, РЖД платформами. Очень важно, что навесы из гофрированного ПВХ защищают не только от атмосферных осадков и прямых солнечных лучей, но и от ультрафиолета.

Гофрированный ПВХ является популярным, модным и востребованным материалом. Листы характеризуется высокой ударной (не забываем пр толщину листа!) и атмосферной стойкостью, долговечностью, противопожарной безопасностью. Наличие у ПВХ, как материала, УФ защиты продлевает срок службы при абсолютно низкой цене. Проходящий сквозь листы солнечный свет полностью безопасен и экологичен.

Современный дизайн предъявляет повышенные требования к использованию светопрозрачных конструкций. Этот материал, Вы можете создать прозрачный навес или козырек не только бесцветного, но и цветного исполнения. Причудливую и разнообразную форму навесов и козырьков можно создать, изгибая прозрачную кровлю или монтируя листы и внахлест, без использования специальных крепежных систем. При помощи гофрированного ПВХ создаются легкие светопрозрачные конструкции в виде навесов и козырьков, которые обладают герметичностью, устойчивы к непогоде и радуют глаз, а главное бюджетные.

Особенность монтажа листов ПВХ профилированного:

Листы могут быть использованы на крышах с наклоном ската меньше 6 градусов, а уклон больше 10 градусов обеспечивает самостоятельную мойку кровли дождевой водой.

От края листа до монтажного отверстия расстояние должно быть не более 40 мм.

Достаточно гибок.

Пластик при монтаже крыши крепиться по верху волны, используя дистанционные подкладки, а при монтаже на стене крепить вниз волны.

При укладке плит на кровле нужно ориентироваться на господствующий ветер и укладывать листы нужно рядами в направлении обратном ветру.

Не в коем случае не производить монтаж гофрированного ПВХ при температуре ниже 5 градусов.

Отверстия для крепления должны быть просверленными и иметь диаметр больше самореза на 3-5 мм, чтобы избежать деформации листов при их термическом расширении.

Технология производства ПВХ-профилей

Профильные изделия - сайдинг, виниловая вагонка, профили строительного назначения: оконные профили, подоконники, двери и пр. широко применяются в строительстве и в мебельной промышленности. Геометрические формы и размеры профильных изделий определяются их назначением и потому весьма разнообразны. Для их изготовления используют главным образом поливинилхлорид, жесткий или пластифицированный.

Гранулированный полимерный материал пневмозагрузчиком подается в бункер экструдера, где нагревается, пластицируется и в виде расплава под давлением подается в формующую головку, из которой отформованный профиль поступает в калибратор и далее в охлаждающую ванну. Для отвода профиля служит тянущее устройство. Толщина стенки профиля и правильность его геометрической формы контролируются бесконтактным измерительным устройством. Для нанесения надписей тиснением или печатью служит счетно-маркирующее устройство. Затем профили нарезаются на отрезки заданной длины дисковой или гильотинной пилой, перемещающейся вдоль изделия со скоростью его отвода, и укладываются манипулятором в штабеля.

Все стадии технологического процесса производства профиля неразрывны и выполняются на одной линии непрерывного действия.

Для переработки ПВХ применяются одношнековые и двухшнековые экструдеры со шнеками, вращающимися в противоположных направлениях и витками плотного зацепления.

Все чаще начинают использоваться технологии соэкструзии и ламинирования изделий декоративными покрытиями.

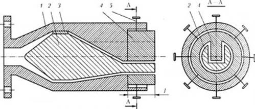
На рисунке схематически показано устройство головки для производства сложного профиля закрытого типа.

Схема формующей головки для изготовления сложного полого профиля: 1 - корпус; 2 - дорн; 3 - дорнодержатель; 4 - мундштук; 5 - регулировочные винты

При формовании профилей размеры и форма готового изделия определяются, в том числе, и эластическим восстановлением экструдата на выходе из мундштука, вытяжкой профиля под действием собственной массы или тянущего устройства и усадкой полимера при его охлаждении. На форму готового изделия влияют также трение материала о рабочие поверхности, вызывающее замедленное течение расплава в узких сечениях, и неодинаковая скорость охлаждения различных по толщине сечений сложного профиля.

Мундштук вращением регулировочных винтов может смещаться в радиальном направлении относительно дорна, что необходимо для выравнивания скоростей расплава по периметру изделия и регулировки толщины его стенки.

Длина формующей части зависит от толщины сечения; обычно их соотношение лежит в пределах 10:1 - 15:1. Оно уменьшается при переработке высоковязких полимеров, и, наоборот, при необходимости экструзии с высокой скоростью длину формующей части следует увеличить.

Сложность калибровки - основная проблема при производстве профилей. Как правило, к профильным изделиям не предъявляется особенно жестких требований по точности размеров; поэтому зачастую калибрующее устройство совмещается с охлаждающей ванной и предназначается главным образом для предотвращения чрезмерной деформации профиля в процессе охлаждения. Из-за трудностей изготовления калибрующие насадки сложного профиля заменяют набором калибрующих латунных или медных пластин. При формовании профилей сложной формы их количество может быть довольно значительным (10-15 и более). Для получения изделий с точными размерами, а также формования полых профилей, калибрование проводят с помощью обычных насадок, преимущественно с использованием вакуума.

Для охлаждения тонкостенных профилей (сайдинг, прокладки и т. д.) с успехом применяют ленточные транспортеры с прижимным роликом, иногда прибегая к дополнительному обдуву изделия воздухом. Воздушное охлаждение широко используется при экструзии и более толстых изделий. Охлаждение осуществляют, орошая движущийся профиль, либо пропуская его через ванну (последнее особенно часто при значительной толщине). Длина охлаждающих устройств 3-10 м, они, как правило, выполняются в виде разъемных секций, приспособленных для быстрого монтажа и демонтажа.

После охлаждения профиль подается с помощью тянущего устройства на намотку или резку.

Особенность производства ПВХ-профилей заключается в том, что поливинилхлорид - один из наименее стабильных карбоцепных промышленных полимеров. В процессе переработке он подвергается термической, термоокислительной, термомеханической и механической деструкции. Поэтому в состав композиции добавляют различные стабилизаторы, модификаторы, пластификаторы, смазки, наполнители.

Стабилизаторы должны уменьшать термоокислительную деструкцию поливинилхлорида, предотвращать старение полимера, вызванное действием УФ-излучений, защищать материалы от вредного воздействия микроорганизмов.

Смазки увеличивают поверхностное скольжение композиции, препятствует пригоранию трудноперерабатываемых смесей в экструзионных машинах.

Пластификаторы позволяют получать изделия с повышенной ударной вязкостью, заданной эластичностью, увеличивают морозостойкость и огнестойкость материала. Для жестких изделий рекомендуется добавлять не более 5 м.ч. пластификатора на 100 м.ч. ПВХ.

Модификаторы повышают сопротивление материалов к ударным нагрузкам, сокращают время плавления композиции, улучшают реологические свойства расплава.

Наполнители придают изделию улучшенные физико-механические характеристики, увеличивают светостойкость, снижают стоимость композиции. Количество вводимого наполнителя не должно превышать 50 м.ч. на 100 м.ч. ПВХ.

Мел является одним из важнейших наполнителей для ПВХ. Он дополнительно стабилизирует поливинилхлорид, уменьшает усадку и придает размерам изделий стабильность, увеличивает жесткость, твердость и теплостойкость материала, а также уменьшает дымообразование.

Многие производители предлагают комплексные добавки (аддитивы), в состав которых уже входит смесь стабилизаторов с синергическим действием и смазки. Недавно на российском рынке появился новый продукт - премикс: готовая композиция ПВХ для производства определенного вида изделия.

светопрозрачный кровля пластик профилированный

Заключение

Профилированный поливинилхлорид также бывает светопрозрачным, и находит применение, в том числе, для обустройства крыш и навесов. По мнению специалистов, профилированный ПВХ - один из самых недорогих материалов, применяемых для строительства прозрачных кровель. Его используют в некапитальных сооружениях. Специалисты считают, что при монтаже прозрачной профилированной ПВХ кровли требуется обрешетка с шагом 40 на 40 см. Поскольку кровля прозрачная, в качестве обрешетки иногда используют нестандартную, оригинальную конструкцию, выполняющую ту же функцию. Например, специальные пластиковые профили. Но в любом случае, коль просматриваться кровля насквозь, значит, обрешетка должна быть более привлекательна, чем необструганная древесина.

Стоит отметить, что в широком ассортименте на рынке представлен непрозрачный ПВХ профиль, имеющий самые разнообразные цвета, оттенки и форму гофрирования. По оценкам специалистов, разноцветный профилированный ПВХ широко используют при строительстве заборов, и тех же навесов, поскольку не во всех случаях в качестве крыши уместен прозрачный ПВХ профиль. С целью затенения от солнца, наоборот, больше подходит непрозрачный материал светлых тонов, а лучше всего - белый, поскольку отражает солнечные лучи. Эксперты считают, что, несмотря на легкий вес и относительную хрупкость некапитального сооружения, навесы их ПВХ хорошо "переживают" зимы в нашем климате, выдерживают высокую влажность, снег, дождь, и колебания температуры от минус 40 до плюс 50 градусов.

Список литературы

1.  Химический энциклопедический словарь. Гл. ред. И. Л. Кнунянц. - М.: Советская энциклопедия, 1983.

2.       Каталог фирмы ONDEX.

.        Спецификации листов ПФХ.

Похожие работы на - Профилированный ПВХ для изготовления светопрозрачной кровли

 

Не нашли материал для своей работы?
Поможем написать уникальную работу
Без плагиата!
Без нейросетей!