|
№
п/п
|
Наименование
помещения
|
Объем
помещ., м3
|
Расчет-ный
период года
|
Тепловые
избытки
|
Влаговы-деления,
г/ч
|
Газовы-деления,
г/ч
|
|
|
|
|
Явное
тепло
|
Скрытое
тепло, кДж/ч
|
Полное
тепло, кДж/ч
|
|
|
|
|
|
|
кДж/ч
|
кДж (ч·м3)
|
|
|
|
|
|
6
|
универсальный
Зал
|
218,6
|
ТП
|
23201
|
106,13
|
14904
|
38105
|
5800
|
2300
|
|
|
|
ХП
|
31061
|
142,1
|
11520
|
42581
|
4400
|
2300
|
|
16
|
Мастерская
по электр-ке
|
320,6
|
ТП
|
20168
|
62,9
|
19008
|
39176
|
7572
|
1500
|
|
|
|
ХП
|
25571
|
79,8
|
13392
|
38963
|
5460
|
1500
|
|
22
|
Обед.
Зал
|
202,1
|
ТП
|
26094
|
129,1
|
31680
|
57774
|
12620
|
2500
|
|
|
|
ХП
|
34047
|
168,4
|
22320
|
56367
|
9100
|
2500
|
|
23
|
Раздаточн.
кухня
|
105,6
|
ТП
|
14493
|
137,3
|
15840
|
30333
|
6310
|
1250
|
|
|
|
ХП
|
18359
|
174
|
21160
|
39519
|
4550
|
1250
|
4. Расчет воздухообмена
.1 Выбор типа системы
кондиционирования воздуха
Целью данного курсового проекта является
обеспечение с помощью системы кондиционирования необходимых параметров
внутреннего воздуха в помещении зала собраний, мужской и женской
парикмахерских.
Целесообразно применить центральную систему
кондиционирования воздуха с зональными доводчиками и рециркуляцией ввиду малого
числа помещений, для которых воздухообмен определяется по расчету.
При такой системе:
;
;
;
или
;
или
.
Обязательным условием применения
такой схемы является задание относительной влажности воздуха внутри помещений в
диапазоне φ
= 30-60%.
4.2 Воздухообмен по ассимиляции
тепло- и влагоизбытков
Расчет потребного воздухообмена производится с
использованием I-d
диаграммы влажного воздуха. Для построения луча процесса вычислим угловой
коэффициент для кондиционируемых помещений по формуле:

; (4.2.1)
где QП - избытки
полного тепла, кДж/ч;
W - избытки
влаги, г/кг.
Теплый период года
Определим луч процесса:
Универсальный зал:
.
Мастерская по электр-ке:
.
Обеденный зал:
.
Раздаточная кухня:
.
Наносим на I-d диаграмму
точки В1 и Н, соответствующие расчетным параметрам внутреннего и
наружного воздуха. Предварительно назначаем разность температур между приточным
и удаляемым воздухом 
. Для построения процесса изменения
состояния приточного воздуха в первом расчетном помещении проводим линию из
точки с параметрами В1 
и φ=45% по лучу
процесса до пересечения с изотермой
tп =22-3=19 оС
. Получена точка притока П, которая является точкой притока для всех трех
расчетных помещений, так как лучи процесса всех помещений сходятся в точке П .
От точки П по лучам процесса на изотерме 
откладываем внутренние точки В2,
В3, В4, которые определяют параметры состояния
внутреннего воздуха в помещениях.
Т.к. высота помещений составляет 3
м, то условно принимаем температуру удаляемого воздуха равную температуре
воздуха рабочей зоны 
.
Тогда требуемое количество
приточного воздуха для ассимиляции тепло- влагоизбытков может быть найдено из
формулы:

(4.2.2)

; (4.2.3)
где 
- избытки явного тепла в помещении,
кДж/ч

- массовая теплоемкость воздуха, 

- температуры приточного и
удаляемого воздуха

- плотность приточного воздуха,
кг/м3
Универсальный зал:
;
;
Мастерская по электр-ке:
;
;
Обеденный зал:
;
;
Раздаточная кухня:
;
;
Минимальное количество наружного
воздуха можно определить по формуле:

(4.2.4),

(4.2.5)
где n -
количество человек
N -
минимальный расход наружного воздуха на 1 человека, м3/ч по
приложению М[3].

- плотность приточного воздуха,
кг/м3
Тогда количество рециркуляционного
воздуха будет определяться по формуле:

(4.2.6),
где Gп - количество
приточного воздуха, кг/ч
Gн -
минимальное количество наружного воздуха, кг/ч
Для универсального зала:
;
;
.
Для мастерской по электр-ке:
;
;
.
Для обеденного зала:
;
;
.
Для раздаточной кухни:
;
;
.
По I-d диаграмме
определяем влагосодержание воздуха в каждом из расчётных помещений.
dB1 = 7,4 г/кг
dB2 = 8,05 г/кг
dB3 = 8,65 г/кг
dB4 = 8,3 г/кг
Тогда влагосодержание смеси воздуха
будет определяться по формуле:

(4.2.7),
где Gр1, Gр2, Gр3, Gр4 -
количество рециркуляционного воздуха в помещениях
dВ1, dВ2, dВ3, dВ4 -
влагосодержание воздуха в помещениях
.
Наносим на I-d диаграмму
точку Вср , лежащую на пересечении линии dВср=const=8,1 г/кг.
Соединяем точки Вср и Н прямой, которая определяет процесс смешения
наружного и рециркуляционного воздуха. На прямой ВсрН исходя из
соотношения ВсрС/ВсрН=∑Gп/∑Gн находим
точку С, определяющую параметры воздуха после смешения.

(4.2.8),

- длина прямой на I-d диаграмме,
см
Откладывая от точки Вср
длину прямой ВсрС находим положение точки С. Из точки П по линии d=const проводим
прямую ПО до пересечения с кривой φ=95%. Точка
О характеризует параметры воздуха после камеры орошения. Точку О соединяем с
точкой С. Прямая ОС - луч процесса в оросительной камере.
Холодный период года
Универсальный зал:
.
Мастерская по электр-ке:
.
Обеденный зал:
.
Раздаточная кухня:
.
Принимаем количество подаваемого
воздуха в зимний период равное количеству подаваемого воздуха в летний период.
Тогда температура приточ-
ного воздуха для холодного периода
года будет вычисляться по формуле:

(4.2.9)
где:

- явные теплоизбытки помещения в
зимний период, кДж/ч

- Количество подаваемого приточного
воздуха, кг/ч
Универсальный зал:
.
Мастерская по электр-ке:
.
Обеденный зал:
.
Раздаточная кухня:
.
Наносим на I-d диаграмму
точки В1 и Н, соответствующие расчетным параметрам внутреннего и
наружного воздуха. Для построения процесса изменения состояния приточного
воздуха в первом расчетном помещении проводим линию из точки с параметрами В1

и φ=45% по лучу
процесса до пересечения с изотермой, например
.
Получена точка притока П, которая
является точкой притока для помещения мужская парикмахерская. Точки П остальных
двух помещений лежат на линии d=const. Через них
проводим лучи процесса до линии tв = 20 ˚С,
таким образом получим точки В2, В3, В4.
Универсальный зал:
;
Мастерская по электр-ке:
;
Обеденный зал:
;
Раздаточная кухня:
;
Минимальное количество наружного
воздуха:
Для универсального зала:
;
;
;
Для мастерской по электр-ке:
;
;
;
Для обеденного зала:
;
;
;
Для раздаточной кухни:
;
;
;
Нахождение точки смеси аналогично
теплому периоду.
Из точек П по линии d=const проводим
прямую ПО до пересечения с кривой φ=95%. Точка
О характеризует параметры воздуха после камеры орошения.
Далее пересечением dс=const и Io=const получаем
точку Т, соответствующую параметрам воздуха после воздухоподогревателя первого
подогрева.
4.3 Воздушный баланс помещений
Количество воздуха, удаляемого из
кондиционируемого помещения, должна быть меньше количества приточного воздуха
на величину подпора Gпод. Это
делается для предупреждения попадания внутрь через неплотности ограждающих
конструкций необработанного наружного воздуха или воздуха из соседних
некондиционируемых помещений. Эта величина определяется по кратностям K, исходя из
следующих рекомендаций:
для помещений без окон и дверей
К=0,5-0,75
для помещений с окнами на одну
сторону К=1,0
для помещений с окнами на две
стороны К=1,5
для помещений с окнами на три или
четыре стороны К=2,0-3,0
для вестибюлей К=2,0-3,0
Величина подпора определяется по
формуле:
, (4.3.1)
где V-объем
помещения, м3;
Расчет произведем на примере теплого
периода года.
Универсальный зал:
;
Мастерская по электр-ке:
;
Обеденный зал:
;
Раздаточная кухня:
.
Массовый расход воздуха на подпор:
, (4.3.2)
где
- объемный расход воздуха на
подпор, м3/ч;
- плотность воздуха в помещении, оС.
Универсальный зал:
;
Мастерская по электр-ке:
;
Обеденный зал:
;
Раздаточная кухня:
.
Требуемое количество удаляемого
воздуха:
, (4.3.3)
где
- массовый расход приточного
воздуха, кг/ч;
- массовый расход воздуха на
подпор, кг/ч.
Универсальный зал:
;
Мастерская по электр-ке:
;
Обеденный зал:
;
Раздаточная кухня:
.
Результаты расчета сводим в таблицу
5.
Таблица 5. Воздушный баланс
помещений
|
№
п/п
|
Наименование
помещения
|
Расчетный
период года
|
Вытяжка,
кг/ч(м3ч)
|
Всего
|
Приток,
кг/ч(м3ч)
|
Всего
|
|
|
|
местная
|
общеобмен
|
|
местная
|
общеобмен
|
|
|
|
|
ест.
|
мех.
|
ест.
|
мех.
|
|
ест.
|
мех.
|
ест.
|
мех.
|
|
|
6
|
Универсальный
зал
|
ТП
|
L
|
|
|
6361,5
|
6361,5
|
|
|
|
6401,9
|
6401,9
|
|
|
|
G
|
|
|
7608,3
|
7608,3
|
|
|
|
7733,6
|
7733,6
|
|
|
ХП
|
L
|
|
6361,5
|
6361,5
|
|
|
|
6401,9
|
6401,9
|
|
|
|
G
|
|
|
7665,6
|
7665,6
|
|
|
|
7720,7
|
7720,7
|
|
16
|
Мастерская
по элек-ке
|
ТП
|
L
|
|
|
5217,9
|
5217,9
|
|
|
|
5565,1
|
5565,1
|
|
|
|
G
|
|
|
6240,6
|
6240,6
|
|
|
|
6722,6
|
6722,6
|
|
|
ХП
|
L
|
|
|
5217,9
|
5217,9
|
|
|
|
5565,1
|
5565,1
|
|
|
|
G
|
|
|
6287,6
|
6287,6
|
|
|
|
6727,7
|
6727,7
|
|
22
|
Обеденный
зал
|
ТП
|
L
|
|
|
7031,2
|
7031,2
|
|
|
|
7200,3
|
7200,3
|
|
|
|
G
|
|
|
8409,3
|
8409,3
|
|
|
|
8698
|
8698
|
|
|
ХП
|
L
|
|
|
7031,2
|
7031,2
|
|
|
|
7200,3
|
7200,3
|
|
|
|
G
|
|
|
8472,6
|
8472,6
|
|
|
|
8695,5
|
8695,5
|
|
23
|
Раздаточная
кухня
|
ТП
|
L
|
|
|
3940,6
|
3940,6
|
|
|
|
3999,2
|
3999,2
|
|
|
|
G
|
|
|
4713,0
|
4713,0
|
|
|
|
4831
|
4831
|
|
|
ХП
|
L
|
|
|
3940,6
|
3940,6
|
|
|
|
3999,2
|
3999,2
|
|
|
|
G
|
|
|
4748,4
|
4748,4
|
|
|
|
4847,9
|
4847,9
|
5. Выбор воздухоприемных и
воздухораздающих устройств
Подачу воздуха в помещения организуем с помощью
воздуховодов равномерной раздачи с отверстиями переменной ширины. В качестве
воздухораздающих устройств принимаем вентиляционные решетки типа РВ. Скорость
воздуха в каналах примем равной 5 м/с, скорость воздуха у решеток - 3 м/с для
приточных, 3 м/с для вытяжных.
Потребную площадь сечения воздуховодов и решеток
определим по формуле:
(5.1)
Где v = 5 м/с -
для каналов
м/с - для приточных решеток
м/с - для вытяжных решеток
Для универсального зала:
Остальные помещения рассчитываются
аналогично.
Таблица 6.
Размеры жалюзийных решеток и
каналов.
|
№
п/п
|
Наименование
помещения
|
Расчетный
воздухообмен, м3/ч
|
Расчетные
сечения жалюзийных решеток, F, мм
|
Расчетные
сечения каналов, F, мм
|
|
|
Приток
|
Вытяжка
|
Приток
|
Вытяжка
|
Приток
|
Вытяжка
|
|
6
|
Универсальный
зал
|
6401,9
|
6361,5
|
0,593
|
0,589
|
0,356
|
0,353
|
|
16
|
Мастерская
по элек-ке
|
5565,1
|
5217,9
|
0,515
|
0,483
|
0,309
|
0,290
|
|
22
|
Обеденный
зал
|
7200,3
|
7031,2
|
0,667
|
0,651
|
0,400
|
0,391
|
|
23
|
Раздаточная
кухня
|
3999,2
|
3940,6
|
0,370
|
0,365
|
0,222
|
0,219
|
Рассчитаем в помещении Мастерская по элек-ке
воздуховод равномерной раздачи.
Длина l
= 4,2м.
Число отверстий n
= 8
Расстояние между отверстиями l`
= 0,5 м
.Найдем скорость движения воздуха в воздуховоде:
(5.1)
Здесь Fв = a∙b = 0,55∙0,62
= 0,341 м2 - площадь поперечного сечения воздуховода.
. Эквивалентный по скорости диаметр
воздуховода:
3. Определяем динамическое давление:
. По скорости и эквивалентному
диаметру по таблицам справочника [5] определим потери давления на
1 метре длины воздуховода,
. Расстояние между отверстиями
принимаем
Длина
воздуховода
.
. Определяем максимальное количество
отверстий в боковой стенке воздуховода, которое не должно превышать:
принимаем 8 отверстий.
. Определяем площадь 1-гo приточного
отверстия при заданной скорости истечения из решетки
:
.
. Скорость истечения воздуха из
каждого отверстия:
. Определяем площади последующих
отверстий:
кондиционирование воздух
помещение вентиляционный
где
- площадь предыдущего отверстия, м2;
- площадь рассчитываемого отверстия,
м2;
- площадь
поперечного сечения воздуховода, м2;
-
коэффициент расхода, принимаем 0,65.
Произведем расчет для последующих восьми
отверстий:
10. Определяем полное давление в начале
воздуховода:
. Размеры отверстий определяем как:
где
- искомая ширина отверстия: для
всех отверстий;
- принятая высота его, постоянная
для всех отверстий.
Определим размеры всех отверстий:
Исходя из необходимой площади
отверстий и известных площадей живых сечений решеток типа РС-Г принимаем: 8
решеток РС-Г 525х425
.1.Расчет приточных струй.
При кондиционировании воздуха предъявляются
строгие требования к разностям температур и скоростей воздуха, которые
создаются приточными струями, входящими в обслуживаемую зону помещения.
Производим расчет струи для теплого периода в
помещении Мастерская по элек-ке.
Решётка типа «Рс-Г» имеет жалюзи параллельные
большей стороне решётки и создаёт компактную струю.
В Мастерская по элек-ке размещаются восемь
воздухораздающих решеток размером 525´425 мм с площадью
живого сечения f=0,2231м2.
Температура притока: t0=
tпр=19,0°С.
Размеры помещения: высота Нп=3м,
ширина b=12м, длина в
направлении приточной струи l=8
м. Высота рабочей зоны h=2м.
Нормируемая скорость воздуха в рабочей зоне Vнорм=0,5
м/с. Рабочая разность температур ∆t=3оC.
Задаемся ориентировочно скоростью выхода из
решетки V0=3м/с.
1) По табл. [10] выбираем характеристику
воздухораспределителя
А) в качестве воздухораспределителей принимаем
вентиляционные решетки, создающие компактные струи.
Б) Так как струя выпускается горизонтально на
высоте h=2,7м,
следовательно, струя настилающаяся.
В) Расстояние от воздухораспределителя до точки
отрыва струи от потолка
(5.1.1)
где для компактных струй
(5.1.2)
где m=m2=6,4 и n=n2=4,5 -
определяются по [10];
(5.1.3)
ek - величина
принимаемая по [10].
Расстояние от оси струи до
пересечения оси струи с уровнем РЗ (в точке пересечения экстремальные условия
струи).
Определяем расстояние от
воздухораспределителя до критической точки, где в рабочей зоне могут возникнуть
экстремальные точки.
.
2.В соответствии с п.2.10. [2]
определяем максимальную скорость движения воздуха и минимальную разность
температур в струе по формулам:
(5.1.4)
К=1.2 - в зоне прямого действия
струи по оптимальным параметрам для легкой I категории
работ;
Δt2=10C -
допустимое отклонение температуры.
где Dt2
-нормируемое отклонение температуры воздуха,
принимаем по [2], прил.7, в зоне прямого действия струи равно 10С.
По литературе [10], схема II,
струя стеснённая
Где Fп=(3*12)/8=4,5
м2 - поперечное сечение помещения на одну струю.
По [10, табл.14] выбираем расчетные формулы для
определения скорости воздуха на выходе из решетки V0
и фактического перепада температур в рабочей зоне Dtх
на оси струи.
(5.1.5)
Где
= 1,7, по [10], (т. к. l/xп =
0,5/9,02=0,056)
(5.1.6)
0,850С меньше Dt2=1,00С,
следовательно данное решение воздухораздачи является приемлемым.
6. Выбор кондиционера и его
элементов.
Кондиционер подбираем по
производительности:
L = 1,1ΣLп (6)
L =
1,1·(6401,9+5565,1+7200,3+3999,2)=25483,15 м3/ч
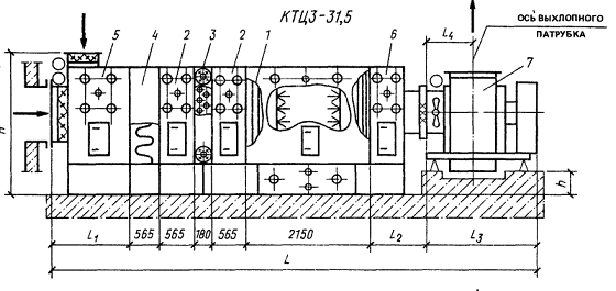
Принимаем кондиционер центральный,
КЦТ3-31,5 ( по [9]).
6.1 Выбор калорифера І подогрева
Предварительно примем типовую секцию
подогрева КТЦ3-31,5, без обводного канала, состоящую из одного 1 рядного 2
метрового теплообменника ВН1-3 [5]
Площадь теплообменной поверхности - Fw = 60,4 м2
Площадь живого сечении - fжс = 3,315 м2
Площадь сечения для прохода воды fтр - 0,00148 м2
Параметры теплоносителя 150/70 ˚С
Массовый расход воздуха:
Gп = Lпρ (6.1.1.1)
Где tс = 4,5 ˚С
- температура в точке смеси.
Gп =
25483,15·1,27 = 32363,6 кг/ч
t = 9,8 ˚С
-температура после подогревателя первого подогрева (находим по Id-диаграмме)
Определяем требуемое количество
тепла для нагрева воздуха:
Q = cG(t - tн) (6.1.1.2)
Где G - расход
воздуха
с = 1 кДж/кг - теплоемкость воздуха
Q = 32363,6
·(9,8 - 4,5) = 171527,08 кДж/ч
Определяем расход воды Gw, из
условия, что температура обратной воды не может быть выше 70 ˚С
Массовая скорость движения воздуха в
воздухонагревателе:
Скорость течения воды в трубках:
K = 67,62
Вт/(м2˚С)
Найдем требуемую площадь поверхности
нагрева:
где
средняя температура воды,°С.
Определяем необходимое число
устанавливаемых калориферов по выражению:
где
- площадь поверхности нагрева одного
калорифера выбранной модели.
Ставим один калорифер с
действительной площадью нагрева:
Запас площади нагрева составляет:
, что допустимо.
В качестве зональных доводчиков
используем калориферы, работающие на воде, с параметрами 150/70 ˚С.
Рассчитаем зональный доводчик для
помещений обеденный зал и раздаточная кухня на ΙΙ этаже, так
как в этом направлении самый большой расход приточного воздуха.
В холодный период необходимо
обеспечить нагрев воздуха от температуры t1 =7,1˚С
на выходе из оросительной камеры, до температуры притока tп4 = 16,2 ˚С.
Расход воздуха принимаем с запасом в
10%:
L = 1,1Lпр = 1,1·11200
= 12320 м3/ч.
Массовый расход воздуха, при
температуре t1 = 7,1˚С
найдем как:
G = Lρ (6.1.2.1)
G =
12320·1,26 = 15523,2 кг/ч
Расход тепла на нагрев воздуха
составит:
Q = cG(t1 - tп) (6.1.2.2)
Q =
1·15523,2·(16,2-7,1) = 141261,12 кДж/ч
Примем массовую скорость воздуха в
калорифере vρ = 7 кг/м2с
Найдем необходимую площадь живого
сечения калорифера:

(6.1.2.3)
По найденной площади живого сечения
по [9] подберем калорифер КСк3-10-02 АХЛЗ
Поверхность нагрева F = 28,66м2
Площадь живого сечении - fжс = 0,581 м2
Площадь сечения для прохода воды fтр - 0,000846
м2
Уточним массовую скорость воздуха:
Найдем скорость воды в трубках
калорифера:
Где ρ - плотность
воды
fт= 0,000846 м2
- живое сечение для прохода теплоносителя.
По известной массовой скорости
воздуха и справочным данным [9] коэффициент теплопередачи:
K =62,53
Вт/(м2˚С)
Рассчитываем необходимую площадь
поверхности нагрева, м2, калориферной установки:
(6.1.2.6).
где Tср - средняя
температура теплоносителя
Tср = (150 +
70)/2 = 110˚С
tср - средняя
температура воздуха
tср =
(7,1+16,2)/2 = 11,65˚С
т.е. (Tср - tср) -
среднеарифметический температурный напор.
Запас поверхности нагрева
составляет:
(6.1.2.7)
Согласно [9 т.ΙΙ7] по массовой
скорости воздуха определяем аэродинамическое сопротивление калориферной
установки по воздуху: ΔРа=213,89
Па .
6.3 Выбор оросительной камеры
Расчет производим по методике
«СантехНИИпроект» [9].
Рассчитаем оросительную камеру типа
ОКФ-3 для кондиционера КТЦ3-31,5.
Расход воздуха:
G = Lпρ
Где ρ - плотность
наружного воздуха (в теплый период).
G =
23167*1,21 = 27287,92 кг/ч
Необходимо охладить воздух (tс = 19,8˚С,
Iн =37,5
кДж/кг,) до состояния tо = 8,7˚С,
Iо = 25,5
кДж/кг
Коэффициент адиабатической
эффективности равен:

= 24,5 кДж/кг - находим на
пересечении линии φ=100%
и
луча процесса обработки воздуха в камере.
По найденному значению EА, при помощи
[9, рис. 15.27] находим:
Коэффициент орошения μ = 1,75
Коэффициент энтальпийной
эффективности Eп = 0,57
Относительная разность температур
воздуха:
b = 0,33 кг˚С/кДж
- коэффициент аппроксимации.
сж = 4,19 кДж/кг -
теплоемкость воды.
Расход воды:
Gж = μG
(6.1.3.3)
Gж
=1,75*27287,92 = 47753,86 кг/ч
Начальная температура воды:
tw= 7,9˚С
- находим на пересечении линии φ=100% и луча процесса обработки воздуха в
камере.
Расход воды, приходящийся на одну
одну форсунку:
q = Gж/n (6.1.3.5)
q =
47753,86/36 = 1326,5 кг/ч
n = 36 -
число форсунок
Тогда по [9, рис. 15.26], давление
перед форсунками составит P = 152,5 кПа
Холодопроизводительность:
, (6.1.3.6)
где
- воздухообмен, потребный для
обеспечения в помещении заданных параметров внутреннего воздуха при данных
избытков явного тепла и выбранных параметрах приточного воздуха, кг/ч;
- начальное и конечное
теплосодержание воздуха, кДж/кг.
Принимаем по [10] одну холодильную
машину ХМ-ФУ-40 холодопроизводительностью 356150 кДж/ч счастотой вращения 970
об/мин.
7.
Компоновка вентиляционных систем и конструктивные решения
При выполнении данного проекта был подобран
центральный кондиционер КЦТ3-31,5.
Кондиционер расположен в подвальном помещении.
Забор наружного воздуха осуществляется при помощи приставной воздухозаборной
шахты с жалюзийными решетками. Согласно требованиям к вентиляционным системам,
расстояние от поверхности земли до низа воздухозаборной жалюзийной решетки
составляет 2 м.
От приточных камер воздух по металлическим
воздуховодам подается в помещения. На этажах запроектированы приставные каналы
из шлакобетонных. Из воздуховодов посредством жалюзийных регулируемых решеток
производится раздача воздуха в помещения.
Вытяжка осуществляется в обратном порядке. Через
решетки воздух поступает в вытяжные каналы из шлакобетонных плит. Воздух из
коробов удаляется через шахты механическим путем наружу. Шахты на чердаке
утепляются.
8.
Аэродинамический расчет вентиляционных систем.
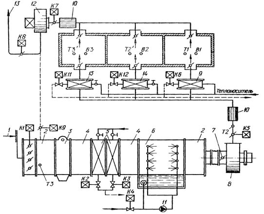
Рис. 3 Схема центрального кондиционирования К1.
Рис.4 Схема системы вытяжки В1.
Расчет приточных и вытяжных систем воздуховодов
сводится к определению размеров поперечного сечения каналов, их сопротивления
движению воздуха и увязки напора параллельных соединений.
Расчет потерь напора проведем методом удельных
потерь напора на трение. Аэродинамический расчет состоит из двух этапов:
расчет участков основного магистрального
направления;
увязка участков системы.
Последовательность расчета
1. Строится аксонометрическая схема
вентиляционной системы.
2. Разбивается схема на участки и выбираем
основное (магистральное) направление, которое представляет собой наиболее
протяженную цепочку последовательно расположенных участков.
3. Ориентируясь на табл. 12.2, 12.8 [10]
определяем размеры поперечного сечения воздуховодов на расчетных участках
магистрали.
Ориентированную величину площади поперечного
сечения определяем по формуле:

(8.1)
где L - расчетный
расход воздуха на участке, м3/ч;
ν0 -
оптимальная скорость движения воздуха на участке, м/с.
4. Определим эквивалентные диаметры
воздуховодов по каждому участку магистрали по формуле:
dэкв
= 2a·b/(a+b)
(8.2)
где а, в - размеры прямоугольного воздуховода,
мм.
5. Определим фактическую скорость Vфр
с учетом площади сечения Fст
стандартного воздуховода по формуле:
Vфр
= L/3600·Fст
(8.3)
6. По значениям dэкв
и Vфр
по таблице 12.17 [10] определяем значения удельных потерь давления на трение R.
7.
Вводится
поправочный коэффициент m, учитывающий шероховатость стенок
канала по табл. 12.13 [10].
8. Выбираются коэффициенты местных
сопротивлений и просчитывается их сумма ∑ζ по
участкам. Результат расчетов сводят в таблицу.
9. По таблице 12.17 [10] для соответствующих
скоростей по участкам находим динамическое давление.
10. Рассчитываются полные потери по участкам
Rст
+ Z = Rст
+ ∑ζ Рд (8.5)
11. Определяется величина требуемого напора
вентилятора для систем с механическим побуждением, для этого суммируем
сопротивления на всех участках магистрали.
12. Проводится увязка ответвлений.
Сопротивления на всех параллельных участках должны быть равны (невязка не более
10%). Если невязка превышает заданное значение, то ставится диаграмма.
Аэродинамический расчет П1
Для помещений с большим расходом приточного
воздуха производится расчет равномерной раздачи воздуха.
Расчет участка 2-3:
По таблице 22.8 [9] выбираем размеры поперечного
сечения воздуховода 500х500мм по ориентированной величине площади поперечного
сечения
dэкв
= 2·0,5·0,5/(0,5+0,5)=0,535м
Vфр
= 6402/3600·0,286=6,22 м/с
По значениям dэкв
и Vфр
по таблице 22.15 [9] находим значение удельных потерь давления на трение R=0,949
Па
По таблице 22.12 [9] находим m=1
Для Vфр
по таблице 22.15 [9] находим динамическое давление Pд=30,79
Па.
На данном участке присутствует местное
сопротивление в виде 2 отводов на 90о, тройник на прямой проход по
таблицам 22.22-22.44 [9] определяем ζ=3,18
Z=3,18·30,79=97,91
Па
1. Rlm+Z=0,949·21,2·1+97,91+213,89=331,92
Па
Остальные участки рассчитываются аналогично.
Расчет сведен в таблицу 8.
Таблица 7
Коэффициенты местных сопротивлений приточной
камеры.
Таблица 8.
|
№
уч-ка
|
Наименование
сопротивления
|
ζ
|
∑ζ
|
|
1
|
2
|
3
|
4
|
|
1-2
|
Отвод
90ох2
|
0,13
|
0,26
|
|
2-3
|
Отвод
90ох2
|
0,24
|
3,18
|
|
Тройник
на прямой проход
|
2,7
|
|
|
3-4
|
Тройник
на ответвление
|
1,2
|
1,2
|
|
4-5
|
Отвод
90о
|
0,43
|
0,43
|
|
6-6'
|
Приточная
шахта
|
1,2
|
1,2
|
|
7-10
|
Отвод
90ох2
|
0,24
|
0,48
|
|
10-4
|
Тройник
на прямой проход
|
2,7
|
2,7
|
|
8-9
|
Отвод
90ох2
|
0,37
|
0,74
|
|
9-3
|
Тройник
на ответвление
|
1,2
|
1,2
|
На участках 2-3, 9-3, 10-4 установлены зональные
подогреватели, их аэродинамическое сопротивление равное 213,89 Па учтено в
соответствующих строках.
Произведем увязку ответвлений. Сопротивления на
всех параллельных ответвлениях.

(8.6)
Невязка должна составлять не более
10 %.
Для увязки этого участка необходимо
установить диафрагму на участке 9-3.
Требуемое местное сопротивление
диафрагмы определяется по формуле:

(8.7)
где 
- разность потерь давления в
расчетном направлении и ответвлении, Па

- скоростьной напор в ответвлении
Согласно [9, табл. 22.49],
необходимый размер отверстия диафрагмы 287х487.
Аэродинамический расчет вытяжки В1.
Расчет участка 1-2:
По таблице 22.8 [9] выбираем размеры поперечного
сечения воздуховода 450х420мм по ориентированной величине площади поперечного
сечения
dэкв
= 2·0,45·0,42/(0,45+0,42)=0,482м
Vфр
= 6362/3600·0,482=7,55 м/с
По значениям dэкв
и Vфр
по таблице 22.15 [9] находим значение удельных потерь давления на трение R=0,949
Па
По таблице 22.12 [9] находим m=1,63
Для Vфр
по таблице 22.15 [9] находим динамическое давление Pд=34,45
Па.
На данном участке присутствуют местные
сопротивления в виде трех отводов на 90о, по таблицам 22.22-22.44
[9]] определяем ζ=0,14*3=0,42
и тройника на прямой проход ζ=0,25;
∑ζ=0,67
Z=0,67·34,45=23,08
Па
Rlm+Z=0,949·16,39·1,63+23,08=48,43
Па
Остальные участки рассчитываются аналогично.
Расчет сведен в таблицу 10.
Таблица 10
Коэффициенты местных сопротивлений
Таблица 10
|
№
уч-ка
|
Наименование
сопротивления
|
ζ
|
∑ζ
|
|
1
|
2
|
3
|
4
|
|
1-2
|
Отвод
90ох3
|
0,14
|
0,67
|
|
Тройник
на прямой проход
|
0,25
|
|
|
2-3
|
Тройник
на ответвление
|
0,82
|
0,82
|
|
3-4
|
Вытяжная
шахта
|
1,8
|
1,8
|
|
5-2
|
Отвод
90ох2
|
0,14
|
1,03
|
|
Тройник
на ответвление
|
0,75
|
|
|
6-7
|
Отвод
90ох2
|
0,25
|
1,35
|
|
Тройник
на ответвление
|
0,85
|
|
|
8-7
|
Отвод
90ох2
|
0,3
|
1,25
|
|
Тройник
на прямой проход
|
0,65
|
|
|
7-3
|
Тройник
на ответвление
|
0,82
|
0,82
|
Для увязки этого участка необходимо
установить диафрагму на участке 2-3.
Согласно [9, табл. 22.49],
необходимый размер отверстия диафрагмы 330х630
9.
Выбор вентиляторов
Выбор вентиляционной установки для кондиционера
осуществляется по требуемой производительности и требуемого давления,
принимаемого:
,
где ∑Рк -суммарные
потери давления в секциях кондиционера, Па,
(Rlm+z)- потери
давления в сети на магистральных участках нагнетательной линии, Па.
При выборе вентилятора рабочий режим
его нужно принимать так, чтобы коэффициент полезного действия отличался не
более, чем на 10 % от максимального.
1. Подберем в вентилятор в кондиционер:
Потери давления в кондиционере ΔPк
составляют:
Воздухонагреватели - 213,89
Фильтр - 100 Па,
Приемный клапан - 25 Па,
Блок приемный - 70 Па.
Итого 408,89 Па.
Па
Выбираем вентилятор по расходу и
потерям давления. Что соответствует вентиляторному агрегату ВЦ4-75-8 Е8 105-2 с
двигателем 4A132М6 , входящему в стандартную поставку кондиционера.
Мощность двигателя 7,5 кВт
Частота вращения вентилятора 9700
об/мин
Масса вентилятора с двигателем 338
кг
.Подберем вентилятор на вытяжную
шахту В-1:
Расход: 22552 м3/ч.
ВЦ4-75-8:
Двигатель: тип 4A132М6
мощность 7,5 кВт
частота 9700 об/мин
Масса вентилятора с двигателем 338
кг.
10.
Разработка принципиальной схемы автоматического регулирования работы системы
КВ.
Задачей системы автоматического регулирования
является поддержание параметров внутреннего воздуха в заданных интервалах при
любых изменениях параметров наружного воздуха в теплый, холодный и переходный
периоды года.
Терморегуляторы Т1, Т2', ТЗ',
установленные в каждом помещении, поддерживают заданную температуру воздуха в
помещениях, управляя клапанами К6, К11, К12, регулирующими подачу
теплоносителя в зональные подогреватели 9, 15, 14.
Температура воздуха, подаваемого центральным
кондиционером к зональным подогревателям, регулируется терморегулятором Т2,
который в холодный период года управляет клапанами К2 и КЗ,
изменяющими количество теплоносителя, поступающего в калориферы первого
подогрева. В теплый период года терморегулятор Т2 переключается на
управление клапаном К4, регулирующим температуру воды, подаваемой к
форсункам оросительной камеры. При установке поверхностных воздухоохладителей
клапан К4 изменяет количество холодоносителя, подаваемого в
воздухоохладитель.
Для регулирования соотношения между количествами
наружного и рециркуляционного воздуха устанавливается специальный
терморегулятор ТЗ, датчиком которого служит мокрый термометр, измеряющий
энтальпию наружного воздуха. Регулирование осуществляется по следующей схеме:
·
при
энтальпии наружного воздуха в пределах I0
< Iн
<Iв
терморегулятор
ТЗ устанавливает клапаны К1, К8 и К9 на режим подачи
максимального количества наружного воздуха и максимального выброса
отработанного воздуха и подключает управление этими клапанами к терморегулятору
Т2 или влагорегулятору В1;
1 - воздухозаборное устройство, 2 -
смесительная камера; 3 - фильтр, 4 - секция обслуживания, 5 - секции
калориферов первого подогрева; 6-оросительная камера, 7-направляющий
аппарат, 8 - прямоточный вентилятор; 9, 14, 15 - зональные
подогреватели; 10 - шумоглушитель; 11 - нacoc,
12 - вытяжной вентилятор; 13 - воздуховод
·
при
энтальпии наружного воздуха Iн
> Iв
терморегулятор
ТЗ устанавливает клапаны K1,
K8
и К9 на режим подачи минимального количества наружного воздуха и
минимального выброса.
В холодный период года терморегулятор Т2
или влагорегулятор В1 управляет воздушными клапанами К1, К8, К9,
снижая количество подаваемого наружного воздуха по мере понижения его энтальпии
вплоть до минимально допустимого, после чего регуляторы переключаются на
управление клапанами К2 и КЗ, регулирующими подачу теплоносителя
в калориферы первого подогрева.
Библиографический список
1. ГОСТ 12.1.005-76. ССБТ. Воздух
рабочей зоны. Общие санитарно- гигиенические требования.
. ГОСТ 21.602-79. Отопление,
вентиляция и кондиционирование воздуха. Рабочие чертежи.
. СНиП 41-01-2003. Строительные нормы
и правила Российской Федерации. Отопление, вентиляция и кондиционирование. М:
Госстрой России, 2004. 64 с.
. СНиП 23-02-2003. Строительные
нормы и правила Российской Федерации Тепловая защита зданий.
.СНиП 23-01-99. Строительные нормы и
правила Российской Федерации. Строительная климатология. М: Госстрой России,
2000. 58 с.
.Богословский В.Н. Отопление и
вентиляция. ч.II. М.:
Стройиздат, 1976. 536с.
.Щекин Р.В. Справочник по
теплоснабжению и вентиляции. Киев, 1976, 305 с.
. Справочник проектировщика. Внутренние
санитарно-технические устройства. В 3 ч. Ч 3, Вентиляция и кондиционирование
воздуха. Кн. 1 -М.: Стройиздат, 1992. - 319с.
.Справочник проектировщика.
Внутренние санитарно-технические устройства. В 2 ч. Ч.2. Вентиляция и
кондиционирование воздуха.- М.: Стройиздат, 1978 - 509с.
. Пеклов А.А., Степанова Т.А.
Кондиционирование воздуха. - Киев.: Вища школа, 1978. - 326 с.
. Нестеренко А.В. Основы
термодинамических расчетов вентиляции и кондиционирования воздуха. - М.: Высшая
школа, 1971. - 460 с.
. Баркалов Б.В., Карпис Е.Е.
Кондиционирование воздуха в промышленных, общественных и жилых зданий. 2-е изд.
- М.: Стройиздат, 1982. - 312 с.
. Кокорин О.Я. Установки
кондиционирования воздуха. - М.: Машиностроение, 1978. - 264 с.
. Богословский В.Н., Кокорин О.Я.,
Петров Л.В. Кондиционирование воздуха и холодоснабжение. - М.: Стройиздат,
1985. - 367 с.
. Справочник проектировщика.
Внутренние санитарно-технические устройства. Часть II. Вентиляция и
кондиционирование воздуха. Под ред. И.Г. Староверова. - М.: Стройиздат, 1978,
509 с.
16. Рожков В.Ф. Методические
указания по выполнению курсового проекта. Тула, 2006