Градостроительное проектирование

  • Вид работы:
    Дипломная (ВКР)
  • Предмет:
    Строительство
  • Язык:
    Русский
    ,
    Формат файла:
    MS Word
    369,17 Кб
  • Опубликовано:
    2012-07-07
Вы можете узнать стоимость помощи в написании студенческой работы.
Помощь в написании работы, которую точно примут!

Градостроительное проектирование

СОДЕРЖАНИЕ

ВВЕДЕНИЕ

. ГОРОД КАК ОБЪЕКТ ПРОЕКТИРОВАНИЯ

.1 Градостроительное проектирование в системе управления развития городом

.2 Основные градостроительные принципы

. ФУНКЦИОНАЛЬНО - ПЛАНИРОВОЧНАЯ ОРГАНИЗАЦИЯ ГОРОДА

.1 Функциональная организация территории города

.2 Планировочное районирование города

.3 Проектирование планомерного развития города

. ТРАНСПОРТНО-ПЛАНИРОВОЧНАЯ ОРГАНИЗАЦИЯ ГОРОДА

.1 Градостроительные требования и условия организации городского движения и транспорта

. ЖИЛАЯ СРЕДА

.1 Общие требования к организации жилого района

. РЕКОНСТРУКЦИЯ МАЛЫХ ГОРОДОВ В РЕГИОНАЛЬНЫХ УСЛОВИЯХ СЕВЕРНОГО КАЗАХСТАНА

.1 Исторический анализ формирования и развития сел на территории Северного Казахстана

.2 Послереволюционный период становления сел на тер. Северного Казахстана

.3 Развитие сел в период развитого социализма

.4 Современный этап развития и восстановления сел на тер. Северного Казахстана

.5 Факторы, влияющие на реконструкцию сел в региональных условиях

5.6 Влияние природно-климатических условий на формирование сельских населенных пунктов

.7 Проектирование и реконструкция малых населенных пунктов с учетом национальных особенностей населения Северного Казахстана

ЗАКЛЮЧЕНИЕ

СПИСОК ИСПОЛЬЗУЕМОЙ ЛИТЕРАТУРЫ

ПРИЛОЖЕНИЕ

город районирование село населенный

ВВЕДЕНИЕ

"...города представляют из себя центры

экономической, политической и духовной жизни народа

и являются главными двигателями прогресса".

В. И. Ленин

Архитектура города складывается под влиянием и под воздействием многих разнородных факторов. Важнейшие среди них - социальный строй и производительные силы общества. Градостроительство всегда было мощным средством выражения интересов и идеологии господствующих классов. Следует, однако, подчеркнуть, что подлинные реалистические произведения архитектуры и градостроительства, наиболее совершенные городские ансамбли прошлого и настоящего времени выражают не только узкоклассовые, но во многих случаях общенародные и общественные интересы, что и определяет их прогрессивность для своего времени и непреходящую художественную ценность для будущих поколений.

Градостроительство, т. е. теория и практика планировки и застройки городов, охватывает широкий комплекс социально-функциональных, санитарно-гигиенических, технико-экономических, архитектурно-композиционных и других проблем. Градостроительство - это широкая и многообразная по своему содержанию творческая деятельность, которая объединяет связанное со строительством и реконструкцией городов законодательное регулирование, народнохозяйственное планирование, инженерное и архитектурно-планировочное проектирование, организацию и производство строительных работ.

В основе градостроительства лежат три важнейшие социальные категории - труд, быт и отдых населения. Труд - это главная сфера жизни общества, и потому основной задачей градостроителей в этой области является создание наиболее благоприятной материальной среды для трудовой деятельности населения. Успешность решения этой задачи зависит от комплексного размещения промышленных предприятий, рационального архитектурно-планировочного решения промышленных районов, от создания новых прогрессивных типов производственных зданий и сооружений.

Быт - одна из важнейших областей жизни человеческого общества. Создание наилучших бытовых условий жизни людей связано в первую очередь с окончательным решением жилищной проблемы - одной из наиболее трудных и острых социальных и градостроительных задач. В формировании социалистического быта важная роль принадлежит системе массового обслуживания населения. Осуществляется строительство дошкольных детских учреждений, школ, предприятий торговли, общественного питания и других учреждений бытового обслуживания. Новые принципы развития системы массового обслуживания получают последовательное выражение в структуре городов, которая как единый социальный и архитектурно-планировочный механизм определяется системой общественных центров.

Отдых является необходимым фактором в жизни каждого человека, важным средством сохранения его здоровья и повышения работоспособности. Увеличение свободного времени требует расширения мер по его рациональному использованию. Решение этой задачи связано со строительством больниц, санаториев, домов отдыха, учреждений спорта и физической культуры.

В отличие от проектирования отдельных зданий и сооружений, город нельзя запроектировать в совершенно законченном виде: он непрерывно развивается, подобно живому организму, расширяясь территориально и претерпевая качественные изменения, происходящие в его планировке, застройке и благоустройстве. Поэтому генеральный план города обязательно содержит в себе элементы прогноза и предвидения дальнейшего развития городского организма. Это позволяет получить представление о том, каким должен стать город в будущем, исходя из реальных перспектив его развития, и установить, в какой последовательности должно осуществляться городское строительство.

Сложная, многосторонняя по своему содержанию работа по составлению проектов планировки и застройки советских городов, а также научные исследования в этой области проводятся при тесном сотрудничестве архитекторов-градостроителей со специалистами ряда других профессий - экономистами, социологами, врачами - гигиенистами, специалистами по окружающей среде, инженерами по благоустройству, специалистами по городскому, а также внешнему - железнодорожному, автомобильному, водному и воздушному - транспорту, художниками, дизайнерами, дендрологами, геологами и многими другими. Только такое тесное творческое сотрудничество со специалистами смежных профессий позволяет всесторонне, комплексно решать важнейшую задачу организации структуры города в соответствии с материальными и культурными потребностями социалистического общества и обеспечить наилучшие условия для труда, быта и отдыха людей.

1. ГОРОД КАК ОБЬЕКТ ПРОЕКТИРОВАНИЯ

1.1 Градостроительное проектирование в системе управления развития городом

Современная градостроительная деятельность имеет плановый характер. Это прежде всего означает, что любой город должен иметь генеральный план развития на 20 лет (проект планировки), проекты детальной планировки и застройки жилых и промышленных районов, городского центра, зон отдыха, а также комплексные схемы развития транспортных и инженерных систем, озеленения, проекты застройки и благоустройства улиц, площадей и набережных. Без необходимого состава градостроительных проектов всех видов и уровней в городе не должен размещаться и строиться ни один архитектурный объект, ни одно инженерное сооружение. Но градостроительное проектирование не единственный вид деятельности, обеспечивающий планомерность развития города,- оно взаимосвязано с другими звеньями планового управления развитием города. Содержание и методика градостроительного проектирования определяются с учетом того, как построена деятельность в смежных областях управления развитием города. Поэтому архитектор-планировщик обязан хорошо знать, как развивается город, как устроена система планового развития города и как ему соотносить свою работу с функционированием всей этой системы.

Современное градостроительство исходит из того, что город постоянно растет, развивается, видоизменяет свою структуру и облик. Это требует внимания к процессам развития и к динамике состояний. Развитие города означает постоянное изменение его количественных и качественных параметров, таких, как численность и структура населения, территория, обеспеченность различными видами инфраструктуры, состояние зданий, качество окружающей среды и многое другое.

В процессе роста город имеет две альтернативы - спонтанное или планомерное развитие. Первая нередко приводит к конфликтным планировочным ситуациям, иной раз критического уровня. Противодействовать этому, находя наиболее эффективные пути развития, должна система управления градостроительством (в том числе градостроительное проектирование), призванная придать городу предсказуемость и планомерность его развития.

Система управления развитием города - сложная комплексная область деятельности, куда входят социальное и народнохозяйственное планирование, все виды проектирования планировки и застройки (градостроительное проектирование), организация капитального строительства и эксплуатации городского хозяйства, оперативное руководство, а также научные исследования, составляющие теоретическую и прикладную научную основу разработки принятия градостроительных и градо-регулирующих решений.

Назначение системы управления - сделать развитие города управляемым и целенаправленным. Показателем этого является, в частности, степень реализуемости принятых социально- экономических и градостроительных решений, достижения поставленных градостроительных целей. Если степень реализации решений достаточно высока, то это характеризует одновременно и правильность, обоснованность самих принятых решений, и в то же время - наличие твердой градостроительной дисциплины, устранение фактов волевого, конъюнктурного, в том числе и неквалифицированного вмешательства в решение вопросов градостроительства и архитектуры.

Таким образом, одним из индикаторов целенаправленной градостроительной деятельности является соотношение в ней плановых (управляемых) и неплановых (волевых, случайных) действий и процессов, совокупностью которых определяется качественная мера управляемости развития города. Функциональная направленность системы управления развитием города в социалистическом обществе состоит в расширении планового начала и подавлении неплановых факторов. Градостроительное проектирование в первую очередь означает укрепление его связей с другими звеньями системы управления развитием городов.

В системе управления развитием городов за принятие и осуществление градостроительных решений ответственны три крупные сферы: планирование - проектирование - реализация.

Планирование (в широком понимании этой сферы деятельности) охватывает разработку предплановых материалов, в том числе социально - демографических, народнохозяйственных и других прогнозов, связанных с развитием города на долгосрочную перспективу, подготовку и принятие перспективных и текущих планов социального и экономического развития города со всеми необходимыми плановыми показателями развития его отраслей народного хозяйства, численности занятых в них кадров трудящихся, социальной инфраструктуры (в том числе жилищной обеспеченности, социального и культурно-бытового обслуживания) и т. д. От планирования во многом зависят ресурсообеспеченность и, в конечном итоге, реальность и жизненность принимаемых градостроительных решений. Отсутствие необходимой плановой информации неизбежно увеличивает степень неопределенности и недостоверности градостроительного проектирования. Поэтому планирование должно составлять важнейшую часть информационной базы, на которую опираются обоснованность, надежность и долгосрочность планировочных и архитектурных градостроительных решений, их устойчивость во времени.

Проектирование осуществляет разработку и представление проектных решений по перспективному развитию города (население, градообразующая база, территория), по общей планировочной организации территории, планировке и застройке производственных зон, жилых районов и городского центра, созданию инженерных систем, транспортных сетей и мест массового отдыха, формированию городской архитектурной среды, наделенной качествами идейно-образной содержательности и художественной выразительности.

Задача проектирования - выявить проблемы развития и предложить оптимальные способы их снятия в виде соответствующих проектных решений, т. е. поставить цели и найти пути их достижения по всему кругу задач проектирования.

Функция проектирования - поставить градостроительный диагноз, составить конструктивный прогноз развития и предложить средства его реализации.

Реализация в широком смысле слова охватывает всю сферу воплощения в жизнь планов, проектов, решений - не только технических и архитектурных, но и социально-экономических, финансовых, организационных и других, касающихся развития города. Управляющее воздействие сферы реализации исключительно велико - от нее в конечном счете зависят полнота и последовательность осуществления градостроительной политики, предусмотренной планированием и проектированием. В сфере реализации оцениваются эффективность и правильность принятых решений, осуществляется текущий контроль выполнения градостроительных решений. Для этого в каждом городе создается специальная служба управления градостроительной деятельностью в лице архитектурно- планировочного управления (отдела) горисполкома (во главе с главным архитектором города). Эта служба координирует все дело организации проектирования и осуществления градостроительных проектов, подготавливает решения об отводе участков для строительства, ведет контроль землепользования, хода строительства и благоустройства!

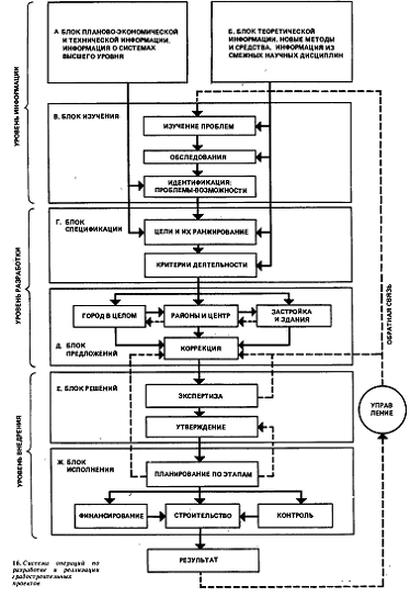
Содержание градостроительного проектирования как система операций по подготовке, принятию и реализации проектных решений представлено в виде блок-схемы на (рис. 1). Система разворачивается на трех последовательных уровнях: информации, разработки и внедрения.

В уровне информации осуществляется связь проектирования с планированием и с теорией градостроительства, а также производится собственная информация об объекте проектирования. Информационную базу проектирования составляют три крупных блока: два из них "внешние" по отношению к собственно проектированию (блоки А и Б) и один "внутренний", формируемый в ходе проектирования (блок В). В этих блоках заключено в сущности все, о чем должен быть информирован архитектор, ведущий градостроительное проектирование. Информация формируется путем следующих операций и процедур:

·        сбор и получение исходных планово-экономических и отраслевых показателей, решений регионального расселения и районной планировки по данному объекту (блок А

·        овладение новейшими научными методами решения градостроительных задач, использование новых технических средств проектирования и ЭВМ, обращение к смежным научным дисциплинам и областям проектирования (блок Б)

·        проведение натурных обследований и предпроектного анализа градостроительной ситуации, выявление и изучение назревших проблем, сопоставление (идентификация) выявленных проблем с реально существующими возможностями их разрешения (блок В). В этом заключается важная - "диагностическая" функция проектирования, формируется обоснованная система исходных установок проекта.

В уровне разработки вся полученная информация преобразуется в форму проектных предложений путем следующих операций и процедур:

установление системы целей проекта, их ранжирование по приоритетам и уточнение основных критериев проектной деятельности для данного конкретного объекта (блок Г). В этом блоке реализуется современная методология программно - целевого подхода в проектировании;

составление проектных предложений по объекту проектирования (блок Д). Особенностью градостроительного проектирования является его многостадийность (система расселения, генеральный план города, проект детальной планировки и т. д.). Поэтому для разработки проектных предложений по любому из градостроительных объектов необходимы связь с проектными решениями вышележащей стадии и одновременно ориентация на последующее использование данных решений в нижележащей стадии.

В уровне внедрения осуществляется выход проектирования в сферу реализации в виде следующих операций с подготовленными проектами (в сущности пока еще предложениями): согласование их с многими инстанциями, представляющими интересы различных служб города и общественных организаций (в том числе плановые органы, санитарноэпидемиологическая служба, общество охраны памятников культуры, пожарная охрана и многие другие); экспертиза проектов на предмет соответствия государственным градостроительным нормам и правилам, другим требованиям: утверждение проектов органами исполнительной власти с учетом согласований и одобрения экспертизы (блок Е). В ходе согласований и экспертизы проекты при необходимости могут возвращаться на доработку или переработку в блок Д, где предусмотрена соответствующая коррекция проектных предложений в ходе рассмотрения или реализации проектов;

разработка (на основе утвержденных проектов и смет) соответствующих программ планирования, финансирования и строительства, осуществление (на основе проектов) контроля за строительством, включая авторский надзор и надзор службы госархстрой - контроля (блок Ж).

Задачи градостроительного проектирования не ограничиваются разработкой проектных предложений - у него есть свои активные функции в сфере реализации. Задача проектной организации - получить согласование проекта от всех заинтересованных организаций, дорабатывать его по замечаниям утверждающих инстанций, вести авторский надзор за реализацией утвержденных проектов и при необходимости своевременно корректировать проекты, если обнаружились новые, ранее неизвестные и неучтенные обстоятельства или почему-либо изменились первоначальные условия градостроительства.

Внимательное и постоянное слежение за ходом градостроительного процесса - важнейшая задача планомерного управления развитием города, в том числе и для градостроительного проектирования.

В реализации градостроительных проектов участвует много различных организаций, и она рассчитана на весьма длительные сроки (проекты детальной планировки - на сроки порядка 5-7 лет, генеральные планы- до 20 лет). Поэтому в градостроительном процессе не приходится исключать некоторый неизбежный фон незапланированных явлений. Важно, однако, чтобы они не оставались незамеченными и не накапливались до такого уровня, когда это уже грозит вынужденными изменениями основополагающих, долгосрочных градостроительных решений, оборачивается преждевременным устареванием генеральных планов городов и проектов планировки городских районов. Чтобы не допустить этого, в систему управления регулярно должна поступать информация о состоянии объекта управления и оттуда - необходимая своевременная коррекция соответствующих решений, в том числе проектных. Это нужно для того чтобы объект управления, несмотря на те или иные незначительные избиения, сохранял способность развиваться по целевому курсу, заданному генеральным планом города или проектом планировки.

Таким образом, четкая постановка целей, твердая реализация принятых решений и механизм обратной связи придают градостроительному процессу свойство управляемости.


1.2 Основные градостроительные принципы

Общей основой для разнообразной градостроительной деятельности по созданию новых городов, перестройке и обновлению сложившихся городов служит единое представление о формировании архитектурно-планировочной структуры современного города. Как общее понятие архитектурно-планировочная структура города означает размещение на его территории зон для производства, жилищ, общественных центров и центров отдыха, создание системы связей между ними и структурную организацию каждой из зон. В одно целое это объединяется архитектурной композицией плана города.

Единое понятие "архитектурно-планировочная структура города" раскрывается совокупностью принципов ее построения.

Функциональное зонирование.

Идея функционального зонирования в градостроительстве не нова. Она возникла в начале века как рационалистическая реакция против хаотического смешения на территории города жилищ, фабрик, заводов, складов, подъездных путей, неупорядоченно построенных во второй половине XIX - начале XX в. К середине века эта идея оформилась как ведущая градостроительная концепция, но обнаружила и свои теневые стороны. Обширные территории, организованные по монофункциональному признаку, утрачивают многие качества, присущие полноценной социальной жизни города, и нуждаются в разумном дополнении элементами общественного назначения. Необходимость взаимного дополнения и обогащения функций в разных частях города делает актуальными поиски интегрированных форм архитектурно - планировочной сруктуры современного города.

Город как единое целое.

Последовательное разделение города на части различного назначения и функциональные зоны, свидетельствующее об успехах социальной организации труда, быта и отдыха горожан, в то же время обостряет проблему планировочной целостности города. Ни одна из функций города, взятая в отдельности, не существует сама по себе. Чередование жизненных циклов труда, быта и отдыха - основа городского уклада жизни. Поэтому планировочную структуру города нельзя свести к структурной организации функциональных зон и их элементов. Она определяется в первую очередь их рациональным взаимным расположением и возможностью создания удобной, постоянной и надежной взаимосвязи всех частей города.

Ключом к своего рода цементированию структуры города служат рациональное расположение производства и расселение трудящихся с учетом технологических требований промышленности, объективного социального механизма поведения горожан в сфере городского расселения, постоянного развития и изменения внутригородских взаимосвязей в пространстве и во времени.

В состав всех функциональных зон города включается зеленые насаждения. Равномерность размещения на территории города и объединение городских и пригородных зеленых на саждений в целостную систему - одно из средств формирования структуры города как одного целого.

Система общественных центров. Важнейшая роль в социальной, функциональной и архитектурно-композиционной интеграции современного города принадлежит системе взаимосвязанных общественных центров, включающей общегородской и специализированные центры, центры планировочных и жилых районов, промышленных районов и зон отдыха, а также общественные центры местного значения (микрорайонные и др.).

Главный общественный центр современного города представляет собой не только высшее звено в системе социально-культурного обслуживания и главный архитектурный ансамбль города. Это - комплексная функциональная зона, в которой реализуются общественно-политическая работа и управление, культура и отдых, транспортные функции (центр - важнейший транспортный узел города).

Специализированные центры - общественно-культурные, учебно- творческие, музейно-выставочные, спортивные и др.- новые важные элементы, за счет которых может происходить развитие общегородских центров крупных городов в условиях перехода их к полицентрической организации. Они имеют объективную базу для возникновения в структуре крупных и новых городов, будучи связаны с процессом концентрации и интеграции городских функций в различных сферах. Отличительный признак специализированного центра - наличие "базового" профиля специализации, который стимулирует проявление различных форм социокультурной деятельности. Наличие такой деятельности можно рассматривать как надстроечную функцию, характеризующую зрелую форму развития специализированного центра любого базового профиля.

Общественные центры планировочных и жилых районов города - среднее звено, наиболее массовое в системе общественных центров. Благодаря этому звену жилая среда города относительно равномерно насыщается элементами общественного назначения, в определенной мере снимая диалектическое противостояние понятий "центр - периферия" и формируя социальную инфраструктуру города.

Назначение системы общественных центров не ограничивается предоставлением услуг. Подлинную жизнь общественному центру дает сфера общения. Союзы, общества, клубы, собрания, искусство и культура определяют основные организационно-типологические формы общегородского общения. Необходимо не разделение города на автономные "элементы расселения", а создание условий для их постоянных и разнообразных взаимосвязей и контактов. Без пространственно развитого общественного центра города - его социальной инфраструктуры - осуществить это нельзя.

Транспортно-планировочная организация города.

В условиях ускорения научно-технического прогресса время как фактор общественного производств и фактор развития личности становится все более ценным достоянием. Поэтому так велико значение тех качеств современного города, которые характеризуют его архитектурно-планировочную композицию во временных показателях (затраты времени на поездки, на сферу обслуживания, на получение информации и т. д.). Обеспечение этих качеств принимает на себя транспортно-планировочная организация города. В ее задачу входят: обеспечение хороших пешеходных и транспортных связей всех функциональных зон города между собой; организация этих связей с наименьшими возможными затратами времени и комфортом в пределах социально-нормативных показателей (не более 40 мин в крупнейших и крупных городах и 30 мин в остальных городах - для 80-90 % трудовых поездок от мест проживания до мест работы); сокращение объема работы городского транспорта, общественного и автомобильного; гарантия безопасности городского движения (средствами планировки) .

К основным средствам решения поставленных задач относятся:

оптимальное взаимное расположение всех основных центров тяготения (функциональных зон) города;

формирование единой системы магистральных улиц и дорог;

рациональный выбор видов общественного городского транспорта;

взаимная согласованность планировочной организации и транспортной системы города.

Улично-дорожная сеть - важнейшая из систем, объединяющих город в целостный функционально-планировочный комплекс. Она состоит из сети местных улиц и проездов и системы магистральных улиц и дорог, связывающих жилые районы с центром города, с промышленными районами, вокзалами, городскими и районными стадионами и парками, специализированными центрами, а также между собой. Система магистральных улиц - каркас всей транспортно-планировочной организации города, имеющий выходы на связь с другими городами и пригородами.

Город в системе расселения. Повышение плотности сети городов и усиление разнообразных взаимосвязей между ними приводят к развитию городских агломераций и групповых систем населенных мест (ГСНМ).

ГСНМ - это рациональная пространственная организация группы городов и других населенных мест разной величины и профиля в природно-ландшафтной среде, основанная на постоянно возрастающем народнохозяйственном, производственном и научно- культурном их взаимодействии, связях населения в сфере труда, образования и отдыха, совместном использовании межгородских территорий и общности планировочной структуры. При проектировании городов требуют внимания не только вопросы архитектурно-планировочной структуры отдельного города, но и планировочная организация всей групповой системы городов, от которой обратная планировочная связь ведет снова к отдельному городу. В ГСНМ возрастает сумма внешних требований к планировке, предопределяемая местом города в системе расселения.

Архитектурно-планировочная структура такого города - это производное от внутренних взаимосвязей между элементами города и от внешних его связей в системе расселения, в силу чего одно неотделимо от другого.

Город как развивающаяся структура. Как было показано система управления градостроительством - градостроительное прогнозирование, планирование и проектирование, а также служба реализации призваны придать городу планомерность и предсказуемость развития. Однако динамика развития современного города и отдаленность горизонта генеральных проектных решений осложняют задачу. Поэтому наряду с совершенствованием механизма управления градостроительством и методологии проектирования, повышением точности и обоснованности прогнозов, выявлением объективных закономерностей развития необходимо придавать самому городу такую архитектурно- планировочную структуру, в которой была бы заложена способность к совершенствованию и возможность гибко реагировать на незапланированные коррективы в темпах, характере и параметрах намеченного развития.

Планировочные схемы, обладающие способностью значительного развития и гибкостью, объединяются понятием открытые архитектурно-планировочные, структуры. К их числу относится, например, схема города с параллельным размещением основных функциональных зон, допускающая значительное развитие с сохранением основного приема сочетания функциональных элементов. Открытыми являются и групповые системы, в которых способность к развитию гибко варьируется между городами, входящими в систему. Наряду с определенными конфигуративными признаками, придающими гибкость, открытые архитектурно-планировочные структуры характеризуются наличием градостроительных резервов.

Архитектурная композиция города. В градостроительном проектировании следует различать понятия "структура города" и "композиция города". Архитектурно-планировочная структура города как научная концепция выражает на языке проектирования основные функциональные процессы, происходящие в городе, тесно сопряженные с экономикой, социологией и экологией. Но этим не исчерпывается содержание градостроительного проектирования. В его задачу входит установить архитектурно - пространственный порядок согласованности частей города, определяющий его художественную целостность, т. е. установить архитектурно-художественную систему планировки города. Принципы архитектурно-планировочной структуры не должны пониматься буквально как проектная концепция, ибо это ведет к схематизму и упрощенности планировки и застройки города, во вред и архитектурно-художественным, и функционально-планировочным качествам города.

Архитектурно-планировочная структура города как наиболее общая научная концепция справедлива для всех типов и разновидностей современного города. Но в конкретной градостроительной ситуации она перевоплощается в определенную архитектурную композицию города - комплексное проектное решение, пригодное только для данного города, данного места и данного времени.

Композиция города - своего рода сплав утилитарно-функциональной структуры и архитектурно-художественной системы планировки и застройки города. Предметом архитектурной композиции города должно быть то общее, что есть в функциональной, экологической и архитектурно-художественной организации города, что объединяет в одно целое различные городские процессы и структуры. Такое интегрированное выражение разных свойств среды способна дать только архитектурная композиция.

В композиции города мы можем распознать структурные принципы планировки, но здесь они уже не существуют в чистом виде, а только в особом единстве всех качеств города, где удобство, польза и красота должны быть слиты воедино. Это единство начинается с адаптации архитектурно- планировочной структуры как общей концепции к природным условиям местности и историко-культурным традициям города.

Архитектурная композиция сосредоточивает внимание на особых приемах планировки, отвечающих уникальным условиям той или иной местности, того или иного города. Компактность или рассредоточенность плана, открытость или замкнутость застройки - все те разновидности приемов композиции, которые позволяют достичь экологического соответствия города и природы, города и климата, в то же самое время суть архитектурно-художественные средства. Структурный принцип "природосообразности планировки" проявляется в композиции города и служит крупным ресурсом его архитектурно-художественного своеобразия. Например, для создателя нового города умение "прочесть" в ландшафте черты будущей планировки - важное условие построения самобытной композиции, доступное только интегральному методу творческого мышления.

Архитектурная композиция города - явление и материальной, и духовной культуры, которая всегда конкретно-исторична и связана с национальными традициями жизни народа, уходит корнями глубоко в его прошлое и врастает в современность. Поэтому так важно при обновлении и расширении сложившегося города выявлять, сохранять и использовать памятники культуры и архитектуры, исторически ценную планировку, соблюдать преемственность развития прошлого, настоящего и будущего. Принцип "культуросообразности" архитектурной композиции современного города прочно соединяет его с национальной, а через нее - со всей мировой культурой.

Таковы в сжатом виде основные проблемы и принципы градостроительного проектирования. Важнейшие из них - функционально-планировочная организация города, транспортно-планировочная организация и архитектурная композиция города - более подробно рассмотрены в последующих главах.

. ФУНКЦИОНАЛЬНО - ПЛАНИРОВОЧНАЯ ОРГАНИЗАЦИЯ ГОРОДА

2.1 Функциональная организация территории города

Труд, быт и отдых людей, населяющих город, составляют главное функциональное содержание его жизнедеятельности и определяют назначение и использование различных его частей, которые дифференцируются по функциональному признаку как жилые районы, промышленные районы, зоны отдыха и т.д. Однако пространственное распределение основных функциональных процессов по территории города носит достаточно сложный и неоднозначный характер. В некоторых частях города локализуется какая-либо одна преобладающая функция и территория приобретает монофункциональный характер. В других частях совмещается несколько главных функций, и территория становится полифункциональной. Решающим аргументом при этом выступает или необходимость обособления той или иной функции, требующей для себя каких- либо особых условий, или же, напротив, желательность осуществления на одной территории разных функций, дополняющих одна другую.

Например, значительная часть современных промышленных предприятий, сгруппированных на основе производственной кооперации и технологической инфраструктуры, нуждается в больших участках городской территории и требует выделения самостоятельных, изолированных от остальной застройки, обширных промышленных зон - это позволяет создать наилучшие условия и для самого производства, и для работы и обслуживания занятых в нем трудящихся.

Особые требования к размещению предъявляет и жилая среда, где локализуется быт и повседневный отдых горожан: здесь противопоказано размещение объектов производственного или коммунального назначения, создающих шум, привлекающих мощные потоки грузов и т. д. Однако чисто жилая застройка, организованная по монофункциональному принципу, утрачивает многие важные качества, отличающие полноценную социальную жизнь города, и нуждается поэтому в разумном насыщении элементами общественного назначения, местами приложения труда непроизводственного характера (в науке, управлении, проектировании и т. п.), а также объектами культуры, досуга и отдыха. В целом образует социально насыщенную селитебную зону города.

Комплексную полифункциональную зону города составляет его общественный центр. Общегородской центр сосредоточивает главные функции общественно-политической, административной, культурной жизни и обслуживания горожан. Одной из важных задач планировки города является правильное определение структуры и содержания центра, набора различных учреждений, отвечающих многообразным потребностям населения и их развитию на перспективу. Анализ структуры и содержания центра показывает, что все функции центра, как и города в целом, разделяются по трем группам: труд (общественно-политическая работа и управление, образование, наука); быт (питание, торговля, хозяйственно- бытовое обслуживание, жилые дома); отдых (культура, развлечения, спорт). Каждой из этих групп предназначены различные учреждения, которые разделяются еще и по возрастным группам населения. Анализ содержания центра дает основу для определения структуры, выделения границ центральной зоны, ее планировочного формирования.

Особую функциональную зону образует совокупность мест отдыха горожан. Отдых населения относится к наиболее широким по распределению функциям городской жизни. Элементы системы отдыха размещаются в городе - в его селитебной и промышленной зонах, а также за границами застройки, где образуются самостоятельные функциональные районы отдыха: кратковременного (в выходные дни) и длительного (во время отпуска). Основная структурная единица в рекреационной зоне - комплекс учреждений и мест массового отдыха, различных по профилю и назначению (пансионатов, пионерских лагерей, садоводческих участков и т. д.). Виды отдыха и их место в структуре города и пригородной зоны определяются с учетом особенностей отдыха различных возрастных групп населения.

В структуру практически всех зон города (центральной, промышленной, селитебной и отдыха) включаются зеленые насаждения. Общими требованиями для зеленых насаждений города являются: а) равномерность размещения на территории; б) объединение городских и пригородных зеленых массивов в целостную систему; в) взаимосвязь системы озеленения и обводнения.

Следовательно, в градостроительном проектировании территория города по своему функциональному назначению и характеру использования должна подразделяться на следующие основные зоны: селитебную, промышленную, коммунально-складскую, внешнего транспорта, мест отдыха населения, санитарно-защитную, а также - в больших и крупных городах - общегородского центра. В городах научного профиля к числу основных зон относится также зона научно-исследовательских институтов и конструкторских бюро, а в курортных городах и поселках - курортная зона, в которой размещаются лечебно-оздоровительные и связанные с ними обслуживающие учреждения, сады, парки, пляжи и т. д. За пределами города организуется пригородная зона, в которой находятся места массового отдыха, крупные массивы зеленых насаждений и другие участки различного назначения. Городская территория включает также прочие земли, где размещаются городские подсобные хозяйства, питомники, кладбища и т. д. Обособленно от основных зон можно располагать крупные больницы, высшие и средние специальные учебные заведения, научно-исследовательские центры, крупные спортивные сооружения.

В число главных задач функциональной организации территории города исходя из необходимости создания наилучших условий для труда, быта и отдыха его населения включают: согласованное размещение основных функциональных частей города - зон для производства, жилищ, общественных центров и зон отдыха относительно друг друга; создание удобных связей между ними; структурную организацию каждой зоны, т. е. организацию в селитебной зоне системы жилых районов и микрорайонов, в производственной - промышленных районов, научно-технических комплексов и предприятий, в зоне отдыха - районов и комплексов кратковременного и длительного отдыха и т. д.

Промышленная зона должна иметь удобную связь с селитебной. Промышленные зоны, где имеются предприятия с большим грузооборотом, располагают по отношению к железным дорогам и портовым сооружениям таким образом, чтобы можно было удобно связать их подъездными железнодорожными путями.

В коммунально-складской зоне выделяют районы для складов и коммунальных предприятий. Отдельные коммунальные предприятия и склады (торгово-распределительные склады, склады снабжения и сбыта и др.) могут быть размещены в селитебной зоне. Коммунально-складская зона должна быть удобно связана с внешним транспортом.

Территория водного и железнодорожного транспорта должна обеспечить удобство сообщения жилых районов с вокзалами и пристанями без излишних пересечений железнодорожными путями селитебной территории.

Главным санитарным требованием является размещение селитебной зоны с наветренной стороны относительно промышленных зон и выше по течению реки при соблюдении соответствующих санитарно-защитных зон.

Вопросы функциональной организации территории города можно подразделить на общие, относящиеся к городу в целом, и локальные, относящиеся к структуре каждой зоны.

Общие задачи включают в себя:

·        рациональное расселение трудящихся, т. е. такое взаимное пространственное расположение промышленных и жилых районов, при котором затраты времени на поездки на работу и объем передвижений были бы относительно минимальны из всех возможных вариантов;

·        удобное для жителей пространственное сочетание "селитебных мест и мест массового отдыха;

·        размещение общественного центра города относительно всей его территории и формирование системы общественных центров его функциональных и структурных единиц;

·        создание системы магистральных связей между зонами города, их структурными единицами, обеспечивающей транспортное и пешеходное движение к местам труда, центрам обслуживания и местам отдыха;

·        взаимную согласованность общего структурного построения города и архитектурно-пространственной его композиции на основе раскрытия и использования природных особенностей ландшафта.

Общие и локальные проблемы планировочной организации города тесно связаны между собой, так как выделение жилых районов и микрорайонов, планировочная организация производственной зоны и другие локальные задачи решаются на основе общего структурного построения города. В свою очередь от их решения зависят общее начертание системы магистралей, формирование общественных центров и архитектурная композиция города, т. е. общие вопросы структуры города в целом. Поэтому разграничение общих и локальных задач формирования функционально-планировочной организации города носит методологический характер.

Как общие, так и локальные проблемы функционально-планировочной организации можно отнести ко всем без исключения городам, ко всем их типам. Но проявляются они по- разному, и это можно объяснить в первую очередь величиной города и характером производственной базы, которая предопределяет разновидности планировочной структуры городов.

В зависимости от характера производственной базы в городах существенно различаются:

·        расстояния между промышленной и селитебной зонами;

·        абсолютный размер и конфигурация промышленных территорий, их относительная величина (на одного трудящегося), число промышленных районов;

·        размещение (компактное или рассредоточенное) производственных объектов (по условиям технологии, пожаро - и взрывоопасности, промышленного транспорта и т. д.), величина складских территорий;

·        виды и уровень инженерного оборудования, объемы водо - и энергопотребления;

·        грузооборот промышленных предприятий и внешний транспорт.

Особенности размещения производственной и селитебной зон в городах с четко выраженной специализацией отраслей обрабатывающей промышленности можно показать на примерах четырех городов на 180 тыс. жителей каждый: на базе металлургии, химии, машиностроения и радиоэлектроники.

В крупных городах, где обычно размещаются промышленные предприятия нескольких различных отраслей производства, а также большое число градообразующих объектов непроизводственного характера - НИИ, вузы, административные и социальные учреждения и т. п., функциональная организация территории, как правило, значительно усложняется.

Планировочная организация каждой функциональной зоны города обеспечивает самую основу жизненных процессов труда, быта и отдыха населения.

Вместе с тем все эти процессы постоянно связаны между собой, и город должен объединять все зоны в единый целостный организм. Поэтому в понятие "планировочная организация города" входят не только зоны для производства, жилищ, обслуживания и отдыха, их рациональная внутренняя организация, но также и объединяющие их структурные системы - расселения и транспорта, общественных центров и озеленения.

Создание этих систем при проектировании генерального плана города обеспечивается:

·        выбором подходящего места для города и оптимальным взаимным сочетанием в плане его основных функциональных зон;

·        формированием единого каркаса сети магистралей и улиц, обеспечивающих пассажирские сообщения, грузооборот и другие виды обмена между всеми зонами города и их структурными элементами;

·        размещением сети общественных центров, организующих воедино различные части города и его ближайшие окрестности;

·        созданием целостной системы озеленения и обводнения города и пригородной зоны;

·        архитектурно-пространственной композицией взаимосвязанных элементов городской структуры;

·        возможностью планомерного развития города в расчетный период и на более далекую перспективу.


Важной социальной функцией города в отношении его жителей является организация всех видов социально-бытового обслуживания, культурной и общественной жизни горожан. Каждая часть города независимо от функционального назначения должна представлять собой социально насыщенную городскую среду с естественным нарастанием насыщения социально-общественными функциями в центре города. В небольших и средних по размеру городах центр города создает достаточно сильное и однородное по своему воздействию "поле тяготения" для всей территории города, относительно равномерно наполненной массовыми видами общественного обслуживания. При этом учреждения массового обслуживания (школы и дошкольные учреждения, поликлиники, приемные пункты прачечных и химической чистки одежды и т. д.) образуют на прилегающей территории свои, местные зоны обслуживания, создавая тем самым предпосылки для планировочного районирования территории города по социально-функциональным признакам.

В крупных и крупнейших городах с их более сложной функциональной структурой и большими территорией и численностью населения необходимость планировочного районирования усиливается тем, что общая структура таких городов неизбежно получает более расчлененный характер из-за наличия естественных рубежей; величина территории требует полицентрической организации городского центра для охвата отдаленных или обособленных частей города. Таким образом возникает необходимость организации городских районов с комплексной локализацией основных городских социальных функций, со своими общественными центрами городского уровня.

Социальная жизнь горожан - это их различные интересы в семье, жилище, воспитании детей, образовании, здравоохранении, а также в культурном, торговом и бытовом обслуживании, в общении и социальных контактах, общественной деятельности. Культурно-бытовые запросы частично удовлетворяются в промышленных районах и зонах отдыха, но основная часть этой стороны городской жизни протекает в жилой (селитебной) зоне города и в общегородском центре.

Планировочная организация селитебной части города должна быть максимально приспособлена к многогранным потребностям населения, что достигается по возможности более непосредственным территориальным объединением жилища с общественным обслуживанием. Этот общий принцип допускает самые различные варианты планировочного воплощения.

Современная планировочная организация города характеризуется последовательным формированием основных его звеньев - микрорайонов и жилых районов: несколько микрорайонов объединяются в жилой район, несколько жилых районов образуют селитебную зону (в среднем городе) или городской планировочный район (в крупном городе). Такое построение получило название ступенчатой системы соответственно размещению основных видов (ступеней) обслуживания в зависимости от периодичности пользования: в микрорайоне размещаются учреждения повседневного пользования, в жилом районе - периодического пользования, в центре города (центре планировочного района) - эпизодического спроса.

Ступенчатое построение - методический принцип формирования селитебной зоны города. Но в зависимости от его величины, народнохозяйственного профиля и градостроительных особенностей в конкретном творческом решении должны каждый раз видоизменяться состав, соподчиненность и сочетание основных элементов планировочного районирования.

В проектной практике много усилий отдано творческому развитию ступенчатой системы застройки селитебной зоны, формированию микрорайонов и жилых районов. Однако наряду с положительными чертами этой системы в последние годы выявился и схематизм проектных решений. Исследования и практика строительства последних лет показывают, что не все звенья ступенчатой системы в одинаковой мере жизнеспособны, особенно в связи с новыми тенденциями развития общественного обслуживания в условиях ускорения научно- технического прогресса.

Деление учреждений обслуживания на повседневное, периодическое и эпизодическое носит условный характер и постоянно меняется, так как жители городов в зависимости от бюджета своего свободного времени и по мере расширения форм досуга и обслуживания все чаще пользуются социальными услугами высокого стандарта (обычно относимыми к эпизодическим формам). Поэтому совершенствование ступенчатой системы и разработка принципиально новых структурных принципов и приемов планировки являются важной и актуальной градостроительной проблемой.

Как показывают поисковые исследования, новые возможности открывает интегрированная планировочная структура города из меньших по размеру и более дифференцированных функциональных зон в их тесном взаимном пространственном сочетании. При этом образуются многофункциональные планировочные комплексы и районы (места труда, жилая среда, общественные центры, рекреации), сопряженные с центром тяготения - общественно-транспортным узлом внутригородского и внегородского значения. Необходимым условием являются сочетание в структуре города скоростных и обычных транспортных линий, создание ранжированных по охвату и доступности общественно- транспортных узлов. Характерным для интегрированного планировочного районирования становятся активное освоение, интенсификация использования городского пространства, многоярусные, многоуровневые планировочные узлы и комплексы, особенно в центре города, а также дифференцированная плотность расселения и переменная (в одном и том же городе) величина и структура первичных планировочных единиц.

Для интегрированной и органичной планировочной структуры не характерны стандартные по размеру, однотипные микрорайоны и жилые группы - их сменяют разнообразные по составу многофункциональные планировочные комплексы и районы. При этом обогащается архитектурно-пространственный облик застройки на основе контрастно-гармонического сочетания таких разных объектов, как жилые, общественные, административные и научно-производственные здания. Архитектурная композиция города и внешние проявления его планировки (силуэт, панорама, перспективы) находят дополнительные основания в согласованном порядке планировочных осей и узлов, в композиционной целостности и разнообразии интегрированной среды города.

2.3 Проектирование планомерного развития города

Город всегда находится в состоянии развития - в этом заключена его главная особенность как объекта проектирования. Характер развития, его масштабы и темпы зависят от типа, величины и профиля города. Для каждого города можно выделить периоды быстрого роста и этапы относительно медленного эволюционного развития.

Для новых городов наиболее динамичны самые первые стадии строительства, в течение которых объекты градообразующей базы и жилищно-коммунального комплекса выходят на проектную мощность, после чего развитие относительно стабилизируется. Для существующих городов характерны периоды постепенного накопления количественных изменений, которые на определенных этапах требуют качественных преобразований и радикальной реконструкции планировочной структуры и материальных фондов, при этом периоды спокойного развития сменяются временем крупных градостроительных действий (например, строительством нового крупного завода, созданием метрополитена, строительством мостов через крупные реки и путепроводов, инженерной защитой территорий и т. д.), что всякий раз сопряжено с преодолением некоего "порога" в развитии, после чего открываются новые возможности роста.

Важнейшая функция градостроительного проектирования состоит в том, чтобы придать развитию города планомерный характер, избежать случайных, непродуманных и ошибочных решений, отставания в решении назревших проблем. Главная роль в этом отводится генеральному плану развития города.

Развитие города происходит в условиях высокой динамики градостроительных процессов и планово-экономической деятельности, сопровождается изменениями социально-демографических структур, миграционного движения и численности населения. Эти обстоятельства не всегда адекватно учитываются в практике градостроительного проектирования, из-за чего многие генеральные планы городов подвергаются излишне частой переработке вследствие преждевременного морального устаревания технико- экономических основ развития и общего планировочного решения города. В этих условиях необходимо сделать все, чтобы предупредить и избежать преждевременного старения и коренной переработки основного градостроительного и градорегулирующего документа - генерального плана города. Это будет способствовать упорядочению и планомерности -строительства города, быстрейшему устранению трудностей и проблем роста по мере их возникновения.

Задачи генерального плана города в обеспечении планомерного развития города разделяются на две большие группы. Во-первых, в генеральном плане надо заранее изыскать и предусмотреть разнообразные градостроительные резервы развития города на то время, которое придет после истечения 20-летнего расчетного срока генерального плана. Бывает, что эти резервы могут понадобиться и раньше, если город почему-либо будет развиваться быстрее, чем было задумано. Во-вторых, надо наметить необходимую стратегию развития города в пределах этого 20-летнего расчетного срока, в течение которого предстоит последовательно реализовать переход от ныне существующего состояния городской планировки и застройки к проектируемому.

Градостроительные резервы в широком смысле следует рассматривать как ресурсы развития города в различных аспектах. При проектировании целесообразно предусматривать три основных вида градостроительных резервов: территориальные, функциональные и структурные.

Под территориальными резервами понимаются земельные площади и участки, бронируемые для необходимого развития города за проектным сроком, а также в расчете на возможное увеличение темпов роста градообразующей базы и населения в пределах проектного срока; территориальные резервы выделяются также под необходимое увеличение площади застройки в перспективе при увеличении жилищной обеспеченности на душу населения.

Анализ опыта проектирования и реализации генеральных планов городов показывает широкий количественный диапазон территориальных резервов - от 15-20 до 30-40% и более к общему размеру проектной территории города. Единой рекомендации о количественных придержках при выделении территориальных резервов не может быть. В каждом конкретном случае размер резервируемой территории следует выделять, опираясь на перспективы развития города в групповой системе населенных мест, учитывая его экономико-географическое положение, народнохозяйственный профиль. Наибольшие резервы следует назначать для городов - центров систем расселения и для городов в составе важнейших формируемых территориально-производственных комплексов (ТПК), когда в городе размещаются производства, обладающие большой способностью к обрастанию смежными технологическими процессами.

При выделении резервных территорий для расширения крупного города принимается во внимание необходимость регулирования роста крупного города и развития вокруг него на расстоянии удобной транспортной связи, малых и средних городов, обладающих территориальными ресурсами и образующих вместе с крупным городом групповую систему населенных мест.

Под функциональными резервами развития города понимаются главным образом запасы технологических мощностей, а также возможность наращивания мощностей Инженерных систем города и транспортной инфраструктуры (запасы пропускной способности магистралей, инженерных сетей, головных сооружений и т. д.). Определение функциональных резервов по своему содержанию является в основном задачей технико-экономической, но важно учитывать, что проектирование без запасов приводит к быстрым и внезапным функциональным перегрузкам уже при небольшом превышении расчетных параметров (темпов роста населения, размеров движения, пассажиропотоков и т. д.). Излишние же запасы мощностей означают неэффективное использование (омертвление) капитальных вложений и материальных ресурсов. Поэтому в решении задачи функциональных резервов необходимо использовать современные расчетные методы (методы теории регулирования запасов, имитационное моделирование, расчеты по методу затраты - эффект), используемые в тесной связи с оценкой конкретной градостроительной ситуации.

Под структурными резервами понимается главным образом дублирование разного рода структурных элементов города и его частей, а также возможность создания в перспективе таких дублирующих элементов. Опыт показывает, что гибкость (эластичность) общего планировочного решения, его способность воспринимать возникающие в ходе реализации проекта изменения в развитии города, как правило, всегда выше в том случае, когда:

основное направление территориального развития продублировано дополнительным (дополнительными) направлением (направлениями);

в составе производственной зоны города независимо от его расчетной величины и профиля предусмотрены не один, а два или несколько производственных районов (территорий, узлов), пригодных для размещения предприятий и объектов (промышленных, научно-производственных, научных и пр.) с различными градостроительными требованиями и условиями размещения;

к основным местам приложения труда, центрам массового отдыха ведут не одна, а две (несколько) магистрали и линии транспорта;

в составе территорий и узлов общественного назначения имеются такие, которые пригодны для многофункционального, многоцелевого и смешанного использования.

Структурные резервы могут выступать в виде заранее запланированной трансформации элементов города. Например, создание в перспективе магистралей скоростного движения может быть обеспечено резервированием соответствующих полос в озелененных разрывах между селитебными (жилыми) районами. Резервируется и размещение дополнительных узлов внешнего транспорта, создание которых пока не планируется, но не может быть исключено на перспективу, в том числе за расчетным сроком.

Комплексным сочетанием территориальных, функциональных и структурных резервов характеризуется открытая планировочная организация города (рис. 5), допускающая возможность значительного развития всех основных параметров города и изменения его планировочной структуры в ходе развития.

Открытая планировочная организация города требует от архитектора умения охватить и комплексно решить ряд разнообразных методических задач при проектировании генерального плана города с учетом объективных планировочных условий развития. В число этих задач входят:

выбор направлений развития основных зон для всего города;

установление территориальных резервов для всего города и его отдельных зон;

выделение функциональных и структурных резервов в сетевых системах и структурных единицах города (магистрали, транспорт, обслуживание, центры и т. д.);

учет трансформации условий расселения и связей, динамики перераспределения населения между местами труда в производстве, науке и обслуживании;

составление схемы поэтапного развития структуры и композиции города;

выделение первой очереди строительства и последующих этапов в соответствии с общей стратегией развития города.

В практике градостроительства применяются различные приемы выбора направлений развития города (рис. 6).

Направления развития основных зон городов, входящих в групповую систему населенных мест, выбирают и резервируют с учетом общей схемы планировочной и функциональной организации системы с таким расчетом, чтобы исключить возможные препятствия и помехи в расширении соседних городов и не допустить их территориального срастания друг с другом, обеспечив при этом гибкость в использовании территорий отдельных городов.

Анализ практики позволяет обобщенно представить следующие основные виды территориально-планировочного развития (рис.7):

непрерывное развитие всех зон (город растет как единый компактный комплекс);

дискретное (прерывное) развитие зон города (город растет рассредоточено);

комбинированное развитие, сочетающее оба указанных вида.

При непрерывном развитии города возникает проблема обеспечения удобных и быстрых трудовых связей с увеличением расстояния между расширяющимися жилыми и промышленными районами. Она решается созданием функциональных резервов в виде соответствующих магистралей и видов транспорта, которые могут обеспечить интенсификацию и ускорение сообщения на поздних этапах развития.

Рис 5. Схема открытой планировочной структуры города

- жилая застройка;

- промышленность;

- зона отдыха;

- городские общественные центры;

- направления развития;

- резервные территории

Схема развития города имеет особенности в том случае, если развитие одной из зон не носит непрерывного характера. Например, при неизменном непрерывном развитии производственной зоны нередко возможны два или несколько вариантов развития селитебной зоны, в том числе и дискретное. В последнем случае характер трудового тяготения, единого для всей территории города, остается и, следовательно, усложняется задача обеспечения функциональных резервов для связи разобщенных районов города.

Непрерывное развитие функциональных зон не всегда возможно и не всегда необходимо в конкретных градостроительных условиях. Оно сохраняет свои преимущества только до определенной величины города. Анализ показывает, что непрерывные схемы развития характерны для городов с населением до 150 тыс. жителей. После этого развитие во многих случаях становится дискретным (расчлененным) .

В случае дискретного развития приходится решать вопросы пропорционального развития мест приложения труда и расселения в каждом районе города, развивать межрайонные связи, решать проблему архитектурно-планировочной целостности города, преодолевая трудности его пространственной разобщенности.

В ряде случаев наиболее правильным оказывается комбинированный путь развития. Очень часто на первых этапах территориального роста и функционального развития города целесообразен непрерывный характер формирования планировочной структуры. Но наступает момент (в связи с появлением нового профиля промышленности, преодолением территориального "порога" в развитии и т. д.), когда, оставляя резерв завершения основного массива города, необходимо перейти к подготовке формирования нового городского района.

Важный вопрос проектирования развития структуры города - организация с ростом города связей селитебной зоны с природным окружением. Практика строительства показывает, что в процессе роста городам не всегда удается сохранить необходимые зеленые массивы, связь с природным окружением часто нарушается. Один из распространенных проектных приемов организации такой связи с ростом города - параллельное развитие селитебной зоны и зоны отдыха. Другой рациональный путь - включение в селитебную зону зеленых насаждений в виде "зеленых полос", "поясов" и "клиньев", обеспечивающих каждому району близкий выход к местам отдыха, хорошую связь с природным окружением.

В числе проблем развития во времени планировочной организации города одна из основных - развитие его центра.

Проблема развития общегородского центра во времени сводится к обеспечению: а) удобных связей с жилыми районами при росте территории города; б) возможности расширения (или изменения) состава учреждений городского центра с повышением уровня обслуживания и ростом городского населения; в) единого композиционного построения селитебной зоны города и города в целом при сохранении ведущей роли его центра.

Система центров становится тем более развитой, чем более дискретно и менее компактно решается общий план и особенно селитебная зона города. Основной путь развития центра с ростом города - это развитие первоначально сложившегося центра и возникновение дополнительных центров городского значения в отдаленных или обособленных селитебных (планировочных) районах.

Важнейшим условием развития центра является связь центра с теми элементами и территориями города, которые по природе своей динамичны и в которых заложены определенные возможности развития в виде территориальных, функциональных и структурных резервов (открытые пространства, городские магистральные улицы и т. п.).

Проектирование планомерного развития города не ограничивается учетом условий роста, выделением резервов, формированием открытой для роста планировочной организации города. Возникает в сущности новая для градостроительного проектирования задача - моделировать развитие города во времени.

Говоря о задаче моделирования развития города, надо иметь в виду следующее главное требование: генеральные планы городов должны быть нацелены не' только на расчетное состояние планировки, но и на стратегию развития к этой цели при моделировании самого процесса этого развития, в том числе и вариантного. В составе генерального плана города выделяется первая очередь развития на срок до 5-10 лет. Районы первоочередной застройки должны представлять собой завершенные градостроительные комплексы, увязанные с этапами и темпами развития градообразующей базы, базы строительной индустрии, ростом численности населения, объемом первоочередного строительства. Последовательность формирования планировочной организации города должна способствовать эффективному, поэтапному, взаимосвязанному развитию всех функциональных зон города.

В развитие действующей Инструкции по планировке и застройке городов целесообразно разрабатывать в составе генерального плана специальную схему (модель) развития функционально-планировочной организации города по всем этапам расчетного срока (5-10-15-20 лет) и прогнозные разработки на еще более далекую перспективу.

Исходя из представления о непрерывности процесса формирования города все периоды (этапы) его развития следует рассматривать как функционально и композиционно завершенные части. В процессе моделирования развития планировочной структуры городов необходимо учитывать общие тенденции в характере освоения городской территории и в ее застройке, а именно: постепенное укрупнение, концентрацию и интеграцию элементов планировки и застройки; неравномерность в темпах территориального развития; постепенное усложнение планировочной структуры и переход от компактного к более расчлененному и от него - к групповому развитию.

. ТРАНСПОРТНО - ПЛАНИРОВОЧНАЯ ОРГАНИЗАЦИЯ ГОРОДА

3.1 Градостроительные требования и условия организации городского движения и транспорта

Значение городского движения и транспорта в современном городе определяется важными социальными требованиями: к мобильности передвижения для свободного пользования в городе всей сетью общественных центров, мест приложения труда, учреждений обслуживания и мест отдыха; к экономии личного времени, которое становится все более важным в жизни каждого человека для его профессионального, культурного и физического развития; к охране окружающей среды от вредного воздействия транспорта и устранению опасностей уличного травматизма. Достижение этих целей возможно лишь в совместной работе архитектора-планировщика и инженера-транспортника. Планировочная композиция города закладывает основные предпосылки для рациональной постановки транспортного обслуживания. Организация транспорта предъявляет определенные требования к планировке и застройке города. Транспортно-планировочная организация города оперирует функциональными процессами и материальными структурами, в числе которых могут быть названы:

передвижения населения на общественном транспорте, включая таксомоторы, на автомобилях индивидуального пользования и пешеходные - к учреждениям обслуживания и на работу на расстояние до 1-1,5 км;

общие затраты времени на передвижения, зависящие от расстояний пешеходных подходов к остановкам транспорта, времени ожидания, дальности поездки и скорости сообщения транспортных средств на маршрутах движения;

транспортная подвижность населения (число поездок в год на 1 жителя), зависящая от величины и планировочной структуры городов; принимается на перспективу в пределах от 100-300 поездок на 1 жителя в год в малых и средних городах и до 600- 700 поездок в крупных и крупнейших городах;

транспортная сеть города, или сеть общественного транспорта, под которой понимается вся совокупность линий, маршрутов и остановочных пунктов всех видов общественного транспорта, функционирующих в городе или проектируемых на перспективу. Транспортная сеть города характеризуется по затратам времени населения на передвижения и по средней длине поездки по городу;

автомобилизация города, под которой понимается насыщение города легковыми автомобилями до перспективной нормы 150-180 машин на 1 тыс. жителей;

грузовое движение, под которым понимается перемещение грузов в пределах города грузовыми автомобилями и при необходимости выделение специальных дорог преимущественно для грузового движения;

у лично-дорожная сеть города, под которой понимается вся совокупность проездов, улиц, дорог, их примыканий, пересечений и площадей, включая систему магистральных улиц и дорог.

Функциональные процессы и материальные структуры в транспортно- планировочной организации города тесно взаимосвязаны. Например, подвижность населения и средняя длина поездки по городу не только определяют работу всей транспортной системы, но и дают представление о планировочных достоинствах или недостатках плана, компактности или разобщенности размещения функциональных зон в генеральном плане города. Все это позволяет сравнивать варианты планировки, а также сопоставлять схемы городов и различные варианты решения генеральных планов городов даже при одинаковом народнохозяйственном их профиле и равной численности проживающих в них жителей. Транспортно-планировочная организация города, обеспечивающая наименьшие затраты времени населением на передвижения от мест жительства к местам приложения труда и к основным центрам культурно-бытового тяготения (центр города, вокзалы, стадионы, городские парки и т. д.), означает сокращение средней длины поездки по городу и общей величины работы городского транспорта.

Процесс градостроительного проектирования неразрывно связывает поиски рационального размещения селитебных районов, производственных зон города и других основных фокусов притяжения населения с созданием между ними наиболее рациональных транспортных связей. Поиск планировочного решения города и его транспортной организации в виде системы магистральных улиц и дорог и сети общественного транспорта производится путем вариантных проработок и проведения комплексного сравнения вариантов генерального плана по ряду планировочных, композиционных, транспортных и экономических показателей с учетом места города в системе расселения. При этом в сравнение принимаются технико-экономические показатели сети, условия безопасности движения, удобства и комфорт движения транспорта и пешеходов.

Основными транспортно-планировочными критериями при оценке вариантов генплана города и его транспортно-дорожной сети являются:

·        затраты времени населением на передвижения внутри города и в его пригородной зоне с трудовыми, культурно-бытовыми целями и на передвижения к основным фокусам тяготения населения (мин);

·        транспортная подвижность населения с учетом коэффициентов пользования транспортом (число поездок в год на 1 жителя);

·        работа городского транспорта (пасс/км);

·        маршрутный коэффициент и коэффициент пересадочности, характеризующие удобства передвижений населения;

·        доступность центра города во времени, удобства передвижения транспортных средств и пешеходов в центральном районе (мин);

·        капиталовложения в строительство улично-дорожной и транспортной сети (тг.);

·        среднегодовые затраты на эксплуатацию подвижного состава и сети городского транспорта (тг/год);

·        сроки окупаемости сети по вариантам (годах);

·        планировочные факторы удобства (например, средняя длина подходов к остановкам) и условия безопасности движения.

Похожие работы на - Градостроительное проектирование

 

Не нашли материал для своей работы?
Поможем написать уникальную работу
Без плагиата!
Без нейросетей!