Основные показатели деятельности литейного цеха
Введение
На сегодняшний день российская экономика переживает сложный этап своего
развития, кризис банковской, финансовой системы, и многих хозяйственных
отраслей. Эта ситуация затронула и промышленность, такие её отрасли, как
металлургию, машиностроение, строительство и другие.
Наиболее рациональный способ выхода из слоившейся сложной экономической
ситуации для многих предприятий видится в снижении своих издержек, снижении
затрат на производство продукции. Однако нужно детально разобраться какие
затраты можно и нужно снижать, а на чем ни в коем случае нельзя экономить.
Значит, предприятие должно выявить «узкие места» в своей деятельности.
Объектом исследования в данной работе является литейное производство ОАО
«Сибирский ремонтно-инструментальный завод». В состав предприятия входит
несколько производств: механообрабатывающее, литейное, сварочное, сборочное.
Целью данного дипломного проекта является разработка и обоснование
технико-экономических показателей деятельности литейного цеха.
Для достижения поставленной цели необходимо решить ряд задач:
- оценить финансовое состояние ОАО «Сибинстрем», провести анализ
технико-экономических показателей литейного цеха, на основе проведенного
анализа сделать выводы о финансово-экономическом состоянии предприятия и литейного
производства в частности.
- необходимо рассмотреть технологическую сторону
производственного процесса, изучить возможные недостатки и недоработки в
технологическом процессе. Охарактеризовать трудоемкость, сложность и вредность
данного производства.
- на основе выявленных «узких» мест выбрать направление для
улучшения качества производственного процесса, предложить конкретный проект по
снижению издержек за счет совершенствования технологического процесса и
обосновать его экономическую эффективность.
- спланировать основные показатели деятельности литейного цеха
на ОАО «Сибинстрем», показать снижение непроизводительных затрат, рассчитать
показатели эффективности предложенного проекта.
1. Анализ
финансово-хозяйственной деятельности предприятия
Открытое акционерное общество "Сибинстрем" образовано при
приватизации бывшего государственного предприятия "Крастяжмаш" 18
марта 1994 года в результате преобразования Ремонтно-инструментального
производства, существовавшего с 1993 года в составе вышеуказанного ГП "Крастяжмаш",
в открытое акционерное общество "Сибирский инструментально-ремонтный
завод".
мая 1996 года общество переименовано в открытое акционерное общество
"Сибинстрем-ПОТЭК", а в мае 1998 года - в открытое акционерное
общество "Сибирский инструментально-ремонтный завод", сокращенное
наименование ОАО "Сибинстрем", с внесением соответствующих изменений
в Устав общества и регистрацией их в установленном законодательством порядке.
Свидетельство о государственной регистрации общества № 12557, серия 7-Б,
выдано администрацией г. Красноярска.
Правоспособность предприятия общая. Предприятие является коммерческой
организацией, так, как основная его цель получение прибыли.
Организационно-правовая форма - акционерное общество. Форма собственности -
частная.
За годы своего существования, с момента основания ОАО «Сибинстрем»,
предприятие расширило действующие мощности, освоило новые технологии, создало
новые мощности и рабочие места, организовало в своей структуре
металлургическое, литейное, металлообрабатывающее, сборочное и сварочное
производства, в четыре раза увеличило численность работающих и объемы
производства, что позволило стать ему одним из крупных предприятий города,
изготавливающим широкую номенклатуру изделий для различных отраслей
промышленности.
На предприятии внедрены прогрессивные технологии по сварке трением,
сварке взрывом сталеаллюминиевых соединений, а в ноябре 1999 года Управлением
Енисейского округа Госгортехнадзора России выдана лицензия на новый вид
деятельности предприятия: эксплуатация металлургических и коксохимических
производств и объектов по получению чугуна и стали для литья, что позволило
предприятию изготавливать стальное, чугунное и цветное литье.
.1
Организационная структура предприятия
Организационная структура предприятия - это деление
организации на подразделения и установление взаимосвязи между ними.
ОАО «Сибинстрем» имеет линейно-функциональную
структуру, основанную на функциональном разделении работ, которое позволяет
стимулировать деловую и профессиональную специализацию, уменьшая дублирование
усилий и потребностей в ресурсах в конкретных функциональных областях, улучшая
координацию в них. Структура предприятия представлена в приложении 1.
Организация цехов, в рамках которых осуществляется
производственный процесс, определяется двумя основными факторами - формой
специализации и структурными особенностями построения технологических
процессов. На ОАО «Сибинстрем» специализация цехов осуществляется по смешанному
(предметно-технологическому) типу (изготовление определенной продукции).
На ОАО «Сибинстрем» используются рабочие места как
простые стационарные и подвижные (один работник занят использованием одного
оборудования), так и комплексные стационарные (обслуживается группой людей с
определенным разграничением функций при выполнении процесса) рабочие места.
ОАО «Сибинстрем» относится к предприятиям с полным
циклом производства, которое имеет все необходимые цехи и службы для
изготовления машиностроительной продукции. Каждое подразделение предприятия
представляет собой хозяйственный механизм и отражает единство производственной,
экономической и организационной деятельности, результат которой - выпуск
продукции.
Функции управления деятельностью предприятия
реализуются подразделениями аппарата управления и отдельными работниками, что и
определяет организационную структуру деятельности предприятия.
На рассматриваемом предприятии используется как повременная, так и
сдельная формы оплаты труда, широко применяется материальное стимулирование
труда через систему оплаты и премий. Для рабочих оборудованы уголки отдыха,
есть столовая и буфет. Ходит служебный транспорт. Важным элементом трудовых
отношений является подготовка и переподготовка кадров.
На предприятии издан приказ о распределении обязанностей между
руководящими работниками, которыми определены функциональные обязанности
руководителей подразделений и служб предприятия, подчиненность подразделений,
разработаны Положения о подразделениях и должностные инструкции исполнителей.
.2 Источники
сырья и материалов, рынки сбыта готовой продукции
Основными поставщиками сырья, материалов и комплектующих для ОАО
"Сибинстрем" являются: Новокузнецкий, Западно-Сибирский,
Нижне-Тагильский и Череповецкий металлургические комбинаты, на долю которых в
совокупности приходится более 10 % всех поставок металла. В связи со срывами
отдельными металлургическими предприятиями в поставках металла ОАО
"Сибинстрем" заключает договора на его поставку с различными
металлургическими комбинатами для большей гарантии в обеспечении металлом.
Кроме того, в общем объеме поставок металла на продукцию предприятия, объем
давальческого металла (металла заказчиков продукции) составляет более 50 %.
Поэтому конкретных поставщиков металла, поставляющих его в объемах более 10 %
от всех поставок металла - нет.
Из поставщиков подшипников на долю заводов подшипников городов Москвы и
Самары приходится соответственно 65 % и 35 % всех поставок подшипников
предприятию. Импортных поставок товарно-материальных ценностей у предприятия
нет.
Основным потребителем продукции предприятия является открытое акционерное
общество «Красноярский алюминиевый завод», на долю которого приходится 30 %
всех поставок. Другими основными потребителями продукции являются алюминиевые
заводы, такие как: Братский, Иркутский, Саянский, Новокузнецкий, на долю
которых приходится более 20 % общего объема производства, металлургические
комбинаты, тепло-водо-энергетические предприятия города Красноярска (ТЭЦ-1,
ТЭЦ-2, ТЭЦ-3), угольные разрезы и другие предприятия, на долю которых
приходится оставшаяся часть всех поставок. В таблице 1 приведена динамика и
структура потребления продукции предприятия.
Таблица 1 - Основные потребители продукции предприятия
|
Потребители продукции
|
Доля, (%)
|
|
2005 год
|
2006 год
|
2007 год
|
2008 год
|
|
Красноярский алюминиевый
завод
|
30,5
|
31,8
|
32,2
|
32,4
|
|
Братский алюминиевый завод
|
7,1
|
6,9
|
6,7
|
6,8
|
|
Иркутский алюминиевый завод
|
5,9
|
6,1
|
6,3
|
6,2
|
|
Саяногорский алюминиевый
завод
|
6,0
|
5,7
|
6,2
|
6,5
|
|
Новокузнецкий алюминиевый
завод
|
4,8
|
5,1
|
5,6
|
5,9
|
|
ТЭЦ - 1
|
11,5
|
11,8
|
12,1
|
12,3
|
|
ТЭЦ - 2
|
11,9
|
11,7
|
11,6
|
11,6
|
|
ТЭЦ - 3
|
9,3
|
9,1
|
9,0
|
8,9
|
|
Бородинский угольный разрез
|
6,4
|
6,1
|
5,9
|
5,8
|
|
Другие предприятия
|
6,6
|
5,7
|
4,4
|
3,6
|
|
Итого:
|
100,0
|
100,0
|
100,0
|
100,0
|
Рисунок 1 - Структура потребления в 2008 году
Стоит отметить, что, реализовывая выпускаемую продукцию, предприятие
сталкивается с определенными проблемами, так в связи с трудностями в денежных
расчетах потребителями продукции эмитент не имеет возможности создать
значительные запасы товарно-материальных ценностей.
Все виды деятельности акционерного общества носят постоянный характер,
видов деятельности, носящих сезонный характер - нет.
В городе Красноярске расположено несколько машиностроительных
предприятий, имеющих аналогичное оборудование и способных выпускать такую же
продукцию, которые являются основными конкурентами ОАО "Сибинстрем".
Это такие организации, как Красноярский завод железо-бетонных конструкций,
завод "Сибтяжмаш". Борьба за рынки сбыта продукции, оказывают
существенное влияние на заключение договоров на поставку продукции, цену
изделий, выполнение договорных и будущих обязательств и финансово-хозяйственную
деятельность предприятия.
В связи с этим предприятие в своей деятельности в течение ряда последних
лет практически не увеличивало цену на продукцию для основных своих
потребителей, укрепило деловое сотрудничество и сохранило своих заказчиков,
несмотря на сложившуюся кризисную ситуацию на рынке.
1.3 Анализ
финансового состояния ОАО «Сибинстрем»
.3.1 Оценка
состава и структуры баланса
Финансовое состояние предприятия характеризуется размещением и
использованием средств (активов) и источниками их формирования (пассивов). Эти
сведения представлены в балансе предприятия. Для оценки финансового состояния
ОАО «Сибинстрем» воспользуемся таблицами 2-5.
Таблица 2 - Сравнительный аналитический баланс 2005 года
|
Статьи
|
2005 год
|
|
На начало года
|
На конец года
|
Отклонение
|
|
тыс. руб.
|
%
|
тыс. руб.
|
%
|
тыс. руб.
|
%
|
|
Внеоборотные активы, в том
числе:
|
66258
|
57,95
|
38155
|
11,06
|
-28103
|
-46,89
|
|
основные средства
|
63624
|
55,64
|
34030
|
9,87
|
-29594
|
-45,78
|
|
нематериальные активы
|
-
|
-
|
-
|
-
|
-
|
-
|
|
незавершенное строительство
|
2565
|
2,24
|
3959
|
1,15
|
1394
|
-1,1
|
|
прочие
|
69
|
0,06
|
166
|
0,05
|
97
|
-0,01
|
|
Текущие активы, в том
числе:
|
48083
|
42,05
|
306800
|
88,94
|
258717
|
46,89
|
|
Запасы
|
7933
|
6,94
|
132262
|
38,34
|
124329
|
31,4
|
|
дебиторская задолженность
|
28369
|
24,81
|
57686
|
16,72
|
29317
|
-8,09
|
|
денежные средства
|
3445
|
3,01
|
107424
|
31,14
|
103979
|
28,13
|
|
Прочие
|
8336
|
7,29
|
9428
|
2,73
|
1092
|
-4,56
|
|
АКТИВ:
|
114341
|
100
|
344955
|
100
|
230614
|
0
|
|
Собственный капитал, в том
числе:
|
35586
|
31,12
|
33902
|
9,83
|
-1684
|
-21,29
|
|
уставный капитал
|
18779
|
16,42
|
18779
|
5,44
|
0
|
-10,98
|
|
Фонды и резервы
|
16807
|
14,70
|
15123
|
4,38
|
-1684
|
-10,31
|
|
Привлеченный капитал, в том
числе:
|
78755
|
68,88
|
311053
|
90,17
|
232298
|
21,29
|
|
долгосрочные пассивы
|
570
|
0,50
|
868
|
0,25
|
298
|
-0,25
|
|
Краткосрочные пассивы
|
38547
|
33,71
|
128292
|
37,19
|
89745
|
3,48
|
|
кредиторская задолженность
|
39638
|
34,67
|
181893
|
52,73
|
142255
|
18,06
|
|
ПАССИВ:
|
114341
|
100,00
|
344955
|
100,00
|
230614
|
0,00
|
год характеризуется увеличением валюты баланса на 230614 тыс. руб. Это
произошло благодаря увеличению активной части баланса за счет роста запасов на
124329 тыс. руб. и остатка денежных средств на 1003979 тыс. руб., что,
безусловно, положительно сказывается на деятельности предприятия. Кроме того, в
активе увеличивается дебиторская задолженность на 29317 тыс. руб. - это
отрицательная тенденция.
В пассивной части наблюдается уменьшение собственного капитала на 1684
тыс. руб., за счет оттока денежных средств из резервных фондов предприятия, и
увеличение привлеченного капитала на 232298 тыс. руб., что вызвано увеличением
таких статей, как краткосрочные пассивы на 89745 тыс. руб. и ростом
кредиторской задолженности на 142255 тыс. руб. Это отрицательная тенденция в
финансовой деятельности предприятия, т.к. собственных средств на развитие
недостаточно, что уже горит о нестабильной его работе.
Таблица 3 - Сравнительный аналитический баланс 2006 года
|
Статьи
|
2006 год
|
|
На начало года
|
На конец года
|
Отклонение
|
|
тыс. руб.
|
%
|
тыс. руб.
|
%
|
тыс. руб.
|
%
|
|
Внеоборотные активы, в том
числе:
|
38155
|
11,06
|
19258
|
6,4
|
-18897
|
-4,66
|
|
основные средства
|
34030
|
9,87
|
6995
|
2,32
|
-27035
|
-7,54
|
|
нематериальные активы
|
-
|
-
|
-
|
-
|
-
|
-
|
|
незавершенное строительство
|
3959
|
1,15
|
12263
|
4,07
|
8304
|
2,93
|
|
прочие
|
166
|
0,05
|
0
|
0
|
-166
|
-0,05
|
|
Текущие активы, в том
числе:
|
306800
|
88,94
|
281837
|
93,6
|
-24963
|
4,66
|
|
Запасы
|
132262
|
38,34
|
124279
|
41,28
|
-7983
|
2,93
|
|
дебиторская задолженность
|
57686
|
16,72
|
82692
|
27,46
|
25006
|
10,74
|
|
денежные средства
|
107424
|
31,14
|
73044
|
24,26
|
-34380
|
-6,88
|
|
Прочие
|
9428
|
2,73
|
1822
|
0,61
|
-7606
|
-2,13
|
|
АКТИВ:
|
344955
|
100
|
301095
|
100
|
-43860
|
0
|
|
Собственный капитал, в том
числе:
|
33902
|
9,83
|
30917
|
10,27
|
-2985
|
0,44
|
|
уставный капитал
|
18779
|
5,44
|
18779
|
6,24
|
0
|
0,79
|
|
Фонды и резервы
|
15123
|
4,38
|
12138
|
4,03
|
-0,35
|
|
Привлеченный капитал, в том
числе:
|
311053
|
90,17
|
270178
|
89,73
|
-40875
|
-0,44
|
|
долгосрочные пассивы
|
868
|
0,25
|
767
|
0,25
|
-101
|
0,00
|
|
краткосрочные пассивы
|
128292
|
37,19
|
9578
|
3,18
|
-118714
|
-34,01
|
|
кредиторская задолженность
|
181893
|
52,73
|
259833
|
86,30
|
77940
|
33,57
|
|
ПАССИВ:
|
344955
|
100,00
|
301095
|
100,00
|
-43860
|
0,00
|
Анализируя бухгалтерский баланс ОАО «Сибинстрем» за 2006 год можно дать
следующую характеристику предприятию.
Активная и пассивная части уменьшились на 43860 тыс. руб. Это
отрицательная тенденция для предприятия, однако более подробно изучим причины,
по которым произошло данное снижение.
Во-первых, значительно снизилась стоимость основных средств на 27035 тыс.
руб., т. к. в данном году (и частично в 2005 году) предприятие продало часть
зданий, которые находились на его балансе. Данные здания в процессе
производства не принимали никакого участия, следовательно, от их продажи
предприятие только выиграло: оно избавилось от ненужных фондов и на вырученные
деньги приобрело новое оборудование в литейный цех, линию ХТС
(холодно-твердеющих смесей). При покупке этой линии уменьшился и остаток
денежных средств на 34380 тыс. руб., что так же нашло отражение в балансе.
Во-вторых, снизилась стоимость запасов, что благоприятно сказывается на
деятельности предприятия, т. к. уменьшение запасов на 7983 тыс. руб. связано с
продажей определенной доли готовой продукции, которая находилась на складах
предприятия.
Собственный капитал, как и в предыдущие года, снижается. Это вызвано
уменьшением денежных средств в резервных фондах предприятия, за счет того, что
с каждым годом уменьшается доля нераспределенной прибыли, которая частично идет
на развитие предприятия, а частично на выплату дивидендов по акциям.
Привлеченный капитал, напротив, возрастает. Это происходит за счет увеличения
кредиторской задолженности на 77940 тыс. руб. Стоит отметить, опираясь на
данные прошлых лет, что темпы роста кредиторской задолженности опережают темпы
роста дебиторской задолженности, что является негативной тенденцией для
предприятия и свидетельствует о низком уровне платежеспособности и финансовой
напряженности.
Таблица 4 - Сравнительный аналитический баланс 2007 года
|
Статьи
|
2007 год
|
|
На начало года
|
На конец года
|
Отклонение
|
|
тыс. руб.
|
%
|
тыс. руб.
|
%
|
тыс. руб.
|
%
|
|
Внеоборотные активы, в том
числе:
|
19258
|
6,4
|
19008
|
3,41
|
-250
|
-2,98
|
|
основные средства
|
6995
|
2,32
|
16969
|
3,05
|
9974
|
0,72
|
|
нематериальные активы
|
-
|
-
|
-
|
-
|
-
|
-
|
|
незавершенное строительство
|
12263
|
4,07
|
2039
|
0,37
|
-10224
|
-3,71
|
|
Прочие
|
-
|
-
|
-
|
-
|
-
|
-
|
|
Текущие активы, в том
числе:
|
281837
|
93,6
|
538119
|
96,59
|
256282
|
2,98
|
|
Запасы
|
124279
|
41,28
|
288455
|
51,78
|
164176
|
10,5
|
|
дебиторская задолженность
|
82692
|
27,46
|
48651
|
8,73
|
-34041
|
-18,73
|
|
денежные средства
|
73044
|
24,26
|
139909
|
25,11
|
66865
|
0,85
|
|
Прочие
|
1822
|
0,61
|
61104
|
10,97
|
59282
|
10,36
|
|
АКТИВ:
|
301095
|
100
|
557127
|
100
|
256032
|
0
|
|
Собственный капитал, в том
числе:
|
30917
|
10,27
|
32807
|
5,89
|
1890
|
-4,38
|
|
уставный капитал
|
18779
|
6,24
|
18779
|
3,37
|
0
|
-2,87
|
|
Фонды и резервы
|
12138
|
4,03
|
14028
|
2,52
|
1890
|
-1,51
|
|
Привлеченный капитал, в том
числе:
|
270178
|
89,73
|
524320
|
94,11
|
254142
|
4,38
|
|
долгосрочные пассивы
|
767
|
0,25
|
805
|
0,14
|
38
|
-0,11
|
|
краткосрочные пассивы
|
9578
|
3,18
|
-
|
-
|
-9578
|
-3,18
|
|
кредиторская задолженность
|
259833
|
86,3
|
523515
|
93,97
|
263682
|
7,67
|
|
ПАССИВ:
|
301095
|
100
|
557127
|
100
|
256032
|
0
|
год характеризуется следующими изменениями:
- валюта баланса увеличилась на 256032 тыс. руб. и составила
557127 тыс. руб.
- в активе баланса отражено увеличение стоимости основных
средств на 9974 тыс. руб., это связано с обновлением некоторой доли АТЦ
предприятия, снижением незавершенного строительства, что говорит о скором вводе
в эксплуатацию нового общежития для работников предприятия.
- увеличилась стоимость запасов на 164176 тыс. руб. за счет
увеличения готовой продукции на складе, по причине того, что заказчики точно в
срок не могут произвести оплату.
- возрос собственный капитал предприятия на 1890 тыс. руб. за
счет увеличения денежных средств в резервных фондах.
- привлеченный капитал так же увеличился на 254142 тыс. руб.
это вызвано увеличением кредиторской задолженности на 263682 тыс. руб.
Таким образом, в 2007 году происходит ряд положительных изменений в
деятельности предприятия, однако в целом состояние организации является
нестабильным.
Таблица 5 - Сравнительный аналитический баланс 2008 года
|
Статьи
|
2008 год
|
|
На начало года
|
На конец года
|
Отклонение
|
|
тыс. руб.
|
%
|
тыс. руб.
|
%
|
тыс. руб.
|
%
|
|
Внеоборотные активы, в том
числе:
|
19008
|
3,41
|
27291
|
2,57
|
8283
|
-0,85
|
|
основные средства
|
16969
|
3,05
|
24396
|
2,29
|
7427
|
-0,75
|
|
нематериальные активы
|
-
|
-
|
-
|
-
|
-
|
-
|
|
Незавершенное строительство
|
2039
|
0,37
|
2548
|
0,24
|
509
|
-0,13
|
|
прочие
|
-
|
-
|
347
|
0,03
|
347
|
0,03
|
|
Текущие активы, в том
числе:
|
538119
|
96,59
|
1036083
|
97,43
|
497964
|
0,85
|
|
Запасы
|
288455
|
51,78
|
730465
|
68,69
|
442010
|
16,92
|
|
дебиторская задолженность
|
48651
|
8,73
|
139793
|
13,15
|
91142
|
4,41
|
|
денежные средства
|
139909
|
25,11
|
35286
|
3,32
|
-104623
|
-21,79
|
|
Прочие
|
61104
|
10,97
|
130539
|
12,28
|
69435
|
1,31
|
|
АКТИВ:
|
557127
|
100
|
1063374
|
100
|
506247
|
0
|
|
Собственный капитал, в том
числе:
|
32807
|
5,89
|
33781
|
3,18
|
974
|
-2,71
|
|
уставный капитал
|
18779
|
3,37
|
18779
|
1,77
|
0
|
-1,6
|
|
Фонды и резервы
|
14028
|
2,52
|
15002
|
1,41
|
974
|
-1,11
|
|
Привлеченный капитал, в том
числе:
|
524320
|
94,11
|
1029593
|
96,82
|
505273
|
2,71
|
|
долгосрочные пассивы
|
805
|
0,14
|
993
|
0,09
|
188
|
-0,05
|
|
краткосрочные пассивы
|
-
|
-
|
-
|
-
|
-
|
-
|
|
кредиторская задолженность
|
523515
|
93,97
|
1028600
|
96,73
|
505085
|
2,76
|
|
ПАССИВ:
|
557127
|
100
|
1063374
|
100
|
506247
|
0
|
Согласно представленным данным, стоимость имущества в 2008 году возросла
на 506247 тыс. руб. Этот рост вызван рядом факторов, увеличилась общая сумма
внеоборотных активов на 8283 тыс. руб., рост которой, в свою очередь,
обусловлен увеличением стоимости основных средств на 7427 тыс. руб. и
увеличением статьи незавершенное строительство на 509 тыс. руб.
Также в 2008 году возрастает стоимость текущих активов предприятия на
497964 тыс. руб. Это увеличение вызвано ростом дебиторской задолженности на
91142 тыс. руб. и увеличением запасов на 422010 тыс. руб. в то время как,
наличных денежных средств на балансе предприятия становиться меньше на 104623
тыс. руб. Все представленные данные свидетельствуют о нестабильной работе
предприятия.
В пассивной части баланса так же происходят изменения: стоимость
собственного капитала возрастает на 974 тыс. руб., что вызвано притоком
денежных средств в резервные фонды предприятия на эту же сумму.
Привлеченный капитал, за рассматриваемый год, имеет тенденцию к
увеличению и в итоге возрастает на 505273 тыс. руб. Это вызвано ростом
долгосрочных пассивов и кредиторской задолженностью на 188 тыс. руб. и 505085
тыс. руб. соответственно.
Проведенный анализ показал, что у предприятия высока доля дебиторской и
кредиторской задолженности, что является отрицательным моментом. В следствие
возникновения дебиторской задолженности, происходит накопление готовой
продукции на складе, а это приводит к уменьшению прибыли и денежных средств
предприятия, следовательно, для развития производства денег не хватает и
приходиться брать кредиты, что приводит к увеличению кредиторской
задолженности. На сегодняшний день это одна из главных проблем предприятия.
Структуру активов и пассивов можно отразить на рисунках 2 и 3.
Рисунок 2 - Структура активов предприятия в 2008 году
Рисунок 3 - Структура пассивов предприятия в 2008 году
Основные показатели структуры активов и пассивов представлены в таблице 6.
|
Показатель
|
2005 год
|
2006 год
|
2007 год
|
2008 год
|
|
начало года
|
конец года
|
начало года
|
конец года
|
начало года
|
конец года
|
начало года
|
конец года
|
|
Доля внеоборотных активов в
сумме активов, (%)
|
57,95
|
11,06
|
11,06
|
6,40
|
6,40
|
3,05
|
3,05
|
2,29
|
|
Доля текущих активов в
сумме активов, (%)
|
42,05
|
88,94
|
88,94
|
93,60
|
93,60
|
96,59
|
96,59
|
97,43
|
|
Доля собственных средств в
сумме пассивов, (%)
|
31,12
|
9,83
|
9,83
|
10,27
|
10,27
|
5,89
|
5,89
|
3,18
|
|
Доля заемных средств в
сумме пассивов, (%)
|
68,88
|
90,17
|
90,17
|
89,73
|
89,73
|
94,11
|
94,11
|
96,82
|
|
Коэффициент соотношения
привлеченных и собственных средств
|
2,21
|
9,18
|
9,18
|
8,74
|
8,74
|
15,98
|
15,98
|
30,48
|
|
Соотношение дебиторской и
кредиторской задолженности
|
0,72
|
0,32
|
0,32
|
0,32
|
0,32
|
0,09
|
0,09
|
0,14
|
Изучая показатели структуры активов и пассивов, отмечаем, что наметилась
следующая тенденция: доля собственных средств снижается с 31,12 % до 3,18 %, а
доля заемных средств увеличивается с 68,88 % до 96,82 %, это является
отрицательной тенденцией. Плохие показатели по дебиторской и кредиторской
задолженности. Из-за отсутствия достаточной суммы собственного капитала,
предприятие не может вовремя рассчитаться со своими кредиторами, а задержка
платежей заказчиков способствует увеличению дебиторской задолженности. Эту
картину иллюстрирует соотношение дебиторской и кредиторской задолженности,
которое с каждым годом снижается и отдаляется от единицы - оптимального
значения.
Рисунок 4 - Динамика и структура активной части баланса за 2005 - 2008
годы
Рисунок 5 - Динамика и структура пассивной части баланса за 2005 - 2008
годы
.3.2 Оценка
финансовой устойчивости предприятия
Финансовая устойчивость предприятия характеризуется степенью обеспечения
запасов и затрат собственными и заемными средствами, а также возможность
финансировать свою деятельность за счет собственных источников.
Для оценки финансовой устойчивости используют систему абсолютных и
относительных показателей.
Для оценки финансовой устойчивости ОАО «Сибинстрем» воспользуемся данными
таблиц 7 и 8.
Таблица 7 Показатели абсолютной финансовой устойчивости за 2005 - 2006
годы
|
Показатель
|
2005 год
|
Отклонение
|
2006 год
|
Отклонение
|
|
начало
|
конец
|
|
начало
|
конец
|
|
|
Собственные средства
|
35586
|
33902
|
-1684
|
33902
|
30917
|
-2985
|
|
Внеоборотные активы
|
66258
|
38155
|
-28103
|
38155
|
19258
|
-18897
|
|
Наличные собственные
средства
|
-30672
|
-4253
|
26419
|
-4253
|
11659
|
15912
|
|
Долгосрочные пассивы
|
570
|
868
|
298
|
868
|
767
|
-101
|
|
Наличие средств
|
-30102
|
-3385
|
26717
|
-3385
|
12426
|
15811
|
|
Краткосрочные пассивы
|
38547
|
128292
|
89745
|
128292
|
9578
|
-118714
|
|
Общая сумма
|
74703
|
163062
|
88359
|
163062
|
41262
|
-121800
|
|
Величина запасов
|
7933
|
132262
|
124329
|
132262
|
124279
|
-7983
|
|
Излишек (недостаток)
собственных средств
|
-38605
|
-136515
|
-97910
|
-136515
|
-112620
|
23895
|
|
Излишек (недостаток)
наличных средств
|
-38035
|
-135647
|
-97612
|
-135647
|
-111853
|
23794
|
|
Излишек (недостаток) общих
средств
|
66770
|
30800
|
-35970
|
30800
|
-83017
|
-113817
|
|
Показатель финансовой
устойчивости
|
0,0,1
|
0,0,1
|
-
|
0,0,1
|
0,0,0
|
-
|
Таблица 8 Показатели абсолютной финансовой устойчивости за 2007 - 2008
годы
|
Показатель
|
2005 год
|
Отклонение
|
2006 год
|
Отклонение
|
|
начало
|
конец
|
|
начало
|
конец
|
|
|
Собственные средства
|
30917
|
32807
|
1890
|
1,06
|
32807
|
33781
|
|
Внеоборотные активы
|
19258
|
19008
|
-250
|
0,99
|
19008
|
27291
|
|
Наличные собственные
средства
|
11659
|
13799
|
2140
|
1,18
|
13799
|
6490
|
|
Долгосрочные пассивы
|
767
|
805
|
38
|
1,05
|
805
|
993
|
|
Наличие средств
|
12426
|
14604
|
2178
|
1,18
|
14604
|
7483
|
|
Краткосрочные пассивы
|
9578
|
0
|
-9578
|
0
|
0
|
0
|
|
Общая сумма
|
41262
|
33612
|
-7650
|
0,81
|
33612
|
34774
|
|
Величина запасов
|
124279
|
288455
|
164176
|
2,32
|
288455
|
730465
|
|
Излишек (недостаток)
собственных средств
|
-112620
|
-274656
|
-162036
|
2,44
|
-274656
|
-723975
|
|
Излишек (недостаток)
наличных средств
|
-111853
|
-273851
|
-161998
|
2,45
|
-273851
|
-722982
|
|
Излишек (недостаток) общих
средств
|
-83017
|
-254843
|
-171826
|
3,07
|
-254843
|
-695691
|
|
Показатель финансовой
устойчивости
|
0,0,0
|
0,0,0
|
|
|
0,0,0
|
0,0,0
|
Согласно представленным данным с 2005 по 2006 годы предприятие имело
неустойчивое финансовое положение, что подтверждается «трехмерным» показателем S = (0,0,1), характеризующим нарушение
платежеспособности и необходимости привлечения дополнительных источников
финансирования. В 2007 году ситуация ухудшается и близится к кризисной -
«трехмерный» показатель S =
(0,0,0), та же картина наблюдается и в 2008 году.
Для оценки финансового состояния предприятия воспользуемся данными
таблицы 9 и рисунка 6.
Таблица 9 - Относительные показатели финансово устойчивости за 2005 -
2008 гг.
|
Коэффициент
|
2005 год
|
2006 год
|
2007 год
|
2008 год
|
|
начало
|
конец
|
начало
|
конец
|
начало
|
конец
|
начало
|
конец
|
|
Коэффициент автономии
|
0,31
|
0,09
|
0,09
|
0,1
|
0,1
|
0,05
|
0,05
|
0,03
|
|
Коэффициент соотношения
заемных и собственных средств
|
1,09
|
3,81
|
3,81
|
0,33
|
0,33
|
0,02
|
0,02
|
0,03
|
|
Коэффициент обеспеченности
собственными средствами
|
-0,63
|
-0,01
|
-0,01
|
0,04
|
0,04
|
0,02
|
0,02
|
0,006
|
|
Коэффициент маневренности
|
-0,86
|
-0,12
|
-0,12
|
0,37
|
0,37
|
0,42
|
0,42
|
0,19
|
|
Коэффициент соотношения
мобильных и немобильных средств
|
0,72
|
8,04
|
8,04
|
14,63
|
14,63
|
28,31
|
28,31
|
37,96
|
|
Коэффициент имущества
производственного назначения
|
0,64
|
0,49
|
0,49
|
0,47
|
0,47
|
0,55
|
0,55
|
0,71
|
|
Коэффициент прогноза
банкротства
|
0,08
|
0,51
|
0,51
|
0,9
|
0,9
|
0,96
|
0,96
|
0,97
|
Рисунок 6 - Динамика коэффициентов финансовой устойчивости
Проанализировав данные таблицы 9, можно сделать следующие выводы:
1. Коэффициент обеспеченности собственными средствами в течение 2005
- 2006 годов увеличивается и принимает в итоге положительные значения. В 2007
году происходит снижение этого коэффициента, а к 2008 году его значение близко
к нулю. Это свидетельствует о не способности маневрировать собственным
капиталом.
2. Коэффициент маневренности при оптимальном значении 0,2-0,5 имеет
тенденцию к увеличению от - 0,86 до 0,97, однако в 2008 году происходит
снижение этого показателя, что говорит о возникших трудностях маневрировать
предприятию своими денежными средствами стало сложнее.
.3.3 Анализ
ликвидности баланса предприятия
Для определения ликвидности баланса сопоставляются итоги по каждой группе
активов и пассивов соответственно друг другу.
Баланс считается ликвидным при выполнении неравенства:
А1>П1, А2>П2, А3>П3. А4<П4
Анализ ликвидности баланса предприятия представлен в таблице 10.
Таблица 10 - Анализ ликвидности баланса предприятия за 2005 - 2008 годы
2005 год
|
2006 год
|
2007 год
|
2008 год
|
|
начало
|
конец
|
начало
|
конец
|
начало
|
конец
|
начало
|
конец
|
|
А1
|
3445
|
107424
|
107424
|
73044
|
73044
|
139909
|
139909
|
35286
|
|
А2
|
28369
|
57686
|
57686
|
82792
|
82792
|
109755
|
109755
|
139793
|
|
А3
|
15829
|
134666
|
134666
|
125835
|
125835
|
288450
|
288450
|
730465
|
|
А4
|
63624
|
34030
|
34030
|
6995
|
6995
|
16969
|
16969
|
24396
|
|
Баланс
|
111267
|
333806
|
333806
|
288666
|
288666
|
555083
|
555083
|
929940
|
|
Пассив
|
|
|
|
|
|
|
|
|
|
П1
|
53492
|
301446
|
301446
|
269411
|
269411
|
523515
|
523515
|
1028600
|
|
П2
|
45232
|
8739
|
8739
|
3739
|
3739
|
0
|
0
|
0
|
|
П3
|
255
|
868
|
868
|
767
|
767
|
805
|
805
|
993
|
|
П4
|
34098
|
29797
|
29797
|
18488
|
18488
|
30763
|
30763
|
31233
|
|
Баланс
|
133077
|
340850
|
340850
|
292405
|
292405
|
555083
|
555083
|
1060826
|
Далее рассчитаем показатели ликвидности, которые представлены в таблице
11.
Таблица 11 - Коэффициенты ликвидности предприятия за 2005 - 2008 годы
|
Коэффициент
|
2005 год
|
2006 год
|
2007 год
|
2008 год
|
|
начало
|
конец
|
начало
|
конец
|
начало
|
конец
|
начало
|
конец
|
|
Коэффициент абсолютной
ликвидности
|
0,03
|
0,35
|
0,35
|
0,27
|
0,27
|
0,27
|
0,27
|
0,03
|
|
Коэффициент быстрой
ликвидности
|
0,32
|
0,53
|
0,53
|
0,57
|
0,57
|
0,48
|
0,48
|
0,17
|
|
Коэффициент текущей
ликвидности
|
0,48
|
0,97
|
0,97
|
1,03
|
1,03
|
1,03
|
1,03
|
0,88
|
|
Коэффициент ликвидности при
мобилизации средств
|
0,16
|
0,43
|
0,43
|
0,46
|
0,46
|
0,55
|
0,55
|
0,71
|
Рисунок 7 - Динамика коэффициентов ликвидности за 2005 - 2008 годы
Согласно международной практике коэффициент текущей ликвидности должен
быть в пределах от 1 до 2. Нижняя граница обусловлена тем, что текущих активов
должно быть не меньше, чем краткосрочных обязательств, иначе компания окажется
под угрозой банкротства. В нашем случае коэффициент текущей ликвидности на
протяжении первых трех лет рассматриваемого периода возрастает и в 2006 и 2007
году становиться больше единицы. Но к концу 2008 года его значение снижается до
0,88 - это означает, что предприятие находиться под угрозой банкротства.
Оптимальное значение коэффициента быстрой ликвидности составляет 0,7-0,8
единиц. В нашем случае его значение сначала возрастает с 0,32 до 0,57, затем в
2007 году начинает снижаться и к 2008 году составляет всего 0,17. Это
свидетельствует о неспособности предприятия срочно оплатить свои обязательства.
Коэффициент абсолютной ликвидности (его оптимальное значение находиться в
пределах от 0,2 до 0,7) показывает какое количество денежных средств имеется
для погашения краткосрочных обязательств. В нашем случает денежных средств
недостаточно для погашения краткосрочных обязательств, так как в 2008 году
значение коэффициента абсолютной ликвидности снижается и становиться равным
0,03.
Коэффициент ликвидности при иммобилизации средств - это отношение
производственных запасов к краткосрочным пассивам. В нашем случает, он
возрастает и к концу 2008 года значение коэффициента ликвидности при иммобилизации
средств равно 0,71, т.е. 71 % средств у предприятия имеется на случай полной
мобилизации для расчетов с кредиторами.
Таким образом, анализ ликвидности баланса предприятия показал, что за
последний год, практически, все показатели ухудшились, предприятие находится на
стадии банкротства, оно не способно с минимальными потерями преобразовать
имущество в деньги.
.3.4 Анализ
прибыли и рентабельности предприятия
Целью любого коммерческого предприятия является получение прибыли.
Прибыль - это финансовый результат деятельности предприятия, который
свидетельствует о его успешной работе и достигается, если доходы превышают
расходы. Рассмотрим динамику прибыли предприятия и основных составляющих этого
показателя в таблице 12 и на рисунке 8.
Таблица 12 - Анализ прибыли предприятия за 2005 - 2008 годы
|
Показатели
|
2005 год
|
2006 год
|
2007 год
|
2008 год
|
|
Выручка от реализации
продукции, тыс. руб.
|
665626
|
1355097
|
1224027
|
739388
|
|
Себестоимость реализованной
продукции, тыс. руб.
|
656154
|
1342367
|
1229810
|
749354
|
|
Валовая прибыль, тыс. руб.
|
9472,5
|
12730,6
|
-5782,5
|
-9965,1
|
|
Прибыль от продаж, тыс.
руб.
|
9472,5
|
12730,6
|
-5782,5
|
-9965,1
|

Рисунок 8 - Динамика основных показателей валовой прибыли предприятия
Из данных, представленных в таблице 12 и на рисунке 8, видно, что выручка
от реализации продукции, себестоимость и валовая прибыль до 2006 года возрастали,
в 2007 и 2008 годах происходит снижение этих показателей.
Если говорить о структуре выручки от реализации продукции, то доля
себестоимости в ней наибольшая и темпы роста себестоимости к концу
рассматриваемого периода опережают темпы роста выручки, это, следовательно,
приводит к получению убытков, т. е. валовая прибыль предприятия становиться
меньше нуля.
На протяжении всех четырех лет прибыль от продаж равна валовой прибыли,
т. к. коммерческие и управленческие расходы предприятия равны нулю.
Однако экономическая
эффективность и целесообразность предприятия оценивается не только абсолютными,
но и относительными показателями, к которым относятся показатели
рентабельности.
Используя данные формы № 2, проанализируем показатели рентабельности.
Данные представлены в таблице 13.
Таблица 13 - Общая рентабельность предприятия за 2005-2008 годы
|
Показатель
|
2005 год
|
2006 год
|
2007 год
|
2008 год
|
|
Рентабельность продаж
|
0,014
|
0,009
|
0
|
0
|
|
Рентабельность от обычной
деятельности
|
0,001
|
0,002
|
0
|
0
|
|
Чистая рентабельность
|
0,001
|
0,002
|
0
|
0
|
|
Экономическая
рентабельность
|
0,002
|
0,003
|
0
|
0
|
|
Валовая рентабельность
|
0,014
|
0,009
|
0
|
0
|
|
Рентабельность продукции
|
0,014
|
0,009
|
0
|
0
|
Рисунок 9 - Показатели рентабельности предприятия за 2005 - 2008 годы
Анализ рентабельности показал, что предприятие находиться в трудном
финансовом состоянии, показатели рентабельности в 2005 и 2006 годах колеблются
в пределах 1 %, в 2007 и 2008 годах они становятся равными нулю, так как
предприятие в результате своей деятельности получает отрицательный финансовый
результат - убытки. Это вызвано, прежде всего, большой долей себестоимости в
выручке предприятия.
Таким образом, в результате проведенного финансового анализа ОАО
«Сибинстрем», выявлено, что предприятие находиться под угрозой банкротства, с
2005 по 2006 годы предприятие имело неустойчивое финансовое положение,
характеризующее нарушение платежеспособности и необходимости привлечения
дополнительных источников финансирования. В 2007 году ситуация ухудшается и
близится к кризисной, та же картина наблюдается и в 2008 году.
Анализ ликвидности баланса предприятия показал, что за последний год,
практически, все показатели ухудшились, предприятие находится на стадии
банкротства, оно не способно с минимальными потерями преобразовать имущество в
деньги.
Кроме того, у предприятия высока доля дебиторской и кредиторской
задолженности, что является отрицательным моментом. Вследствие возникновения
дебиторской задолженности, происходит накопление готовой продукции на складе, а
это приводит к уменьшению прибыли и денежных средств предприятия,
следовательно, для развития производства денег не хватает и приходиться брать
кредиты, что приводит к увеличению кредиторской задолженности. На сегодняшний
день это одна из главных проблем предприятия.
Анализ прибыли и рентабельности показал, что в структуре выручки от
продаж велика доля себестоимости, темпы роста которой в 2007 и 2008 годах опережают
темпы роста выручки, что приводит к получению убытков.
.4 Анализ
хозяйственной деятельности
.4.1 Анализ
производства продукции в стоимостном выражении
Рассмотрим динамику производства и реализации продукции ОАО «Сибинстрем»
в таблице 14 и на рисунке 10.
Таблица 14 - Выпуск продукции в стоимостном выражении за 2005 - 2008 годы
|
Наименование
|
2005 год
|
2006 год
|
2007 год
|
2008 год
|
|
Объем, тыс. руб.
|
Удельный вес, %
|
Объем, тыс. руб.
|
Удельный вес, %
|
Объем, тыс. руб.
|
Удельный вес, %
|
Объем, тыс. руб.
|
Удельный вес, %
|
|
1
|
2
|
3
|
4
|
5
|
6
|
7
|
8
|
9
|
|
Литье чугунное
|
97128
|
14,55
|
196219
|
14,8
|
183513
|
14,99
|
110507
|
15
|
|
Литье стальное
|
101781
|
15,25
|
184965
|
13,95
|
171417
|
14
|
103140
|
14
|
|
Бронзовое литье
|
2370
|
0,36
|
2145
|
0,16
|
0
|
0
|
0
|
0
|
|
Металлоконструкции сварные
|
320264
|
47,98
|
659857
|
49,78
|
611945
|
49,99
|
368349
|
50
|
|
Инструмент режущий
|
2626
|
0,39
|
2066
|
0,16
|
1252
|
0,1
|
754
|
0,1
|
|
Металлоконструкции прочие
|
68040
|
10,19
|
132893
|
10,03
|
122410
|
10
|
73645
|
10
|
|
Механизмы транспортирующие
|
928
|
0,14
|
1453
|
0,11
|
1245
|
0,1
|
727
|
0,1
|
|
Оборудование для
подъемно-транспортных машин
|
68102
|
10,2
|
133023
|
10,03
|
122436
|
10
|
73693
|
10
|
|
Детали запасные
|
557
|
0,08
|
1602
|
0,12
|
644
|
0,05
|
372
|
0,05
|
|
Производство услуг по
монтажу и ремонту
|
3694
|
0,55
|
7018
|
0,53
|
6117
|
0,5
|
3681
|
0,5
|
2065
|
0,31
|
4364
|
0,33
|
3048
|
0,25
|
1837
|
0,25
|
|
Итого:
|
6555
|
100
|
1325605
|
100
|
1224027
|
100
|
736705
|
100
|
Рисунок 10 - Объем производства основных видов продукции в стоимостном
выражении
Данные таблицы 14 и рисунка 10 свидетельствуют о том, что выпуск
продукции в стоимостном выражении возрос в два раза в 2006 году по сравнению с
2005 годом, в 2007 году происходит незначительное снижение объемов: на 7,5 %.
Однако в 2008 году объемы производства продукции резко упали с 1 224 027 тыс.
руб. до 736 705 тыс. руб. (снизились на 60 %). Это снижение выпуска продукции в
стоимостном выражении обусловлено снижением количества заказов, наличием
финансовых трудностей у заказчиков - потребителей продукции.
Рисунок 11 - Доля каждого вида продукции в общем объеме производства в
стоимостном выражении
Рассматривая структуру выпускаемой продукции в стоимостном выражении,
необходимо отметить, что наибольшую долю занимает производство сварных
металлоконструкций (50 %), далее следует литейная продукция - 29 %, из них 15 %
приходится на долю чугуна и 14 % - на долю стального литья. Таким образом,
наиболее приоритетное направление деятельности предприятия - это производство
сварных металлоконструкций и литейное производство, в состав которого входит
стальное и чугунное литье. Для более подробного представления о производстве
продукции предприятия рассмотрим выпуск продукции в натуральном выражении.
.4.2 Анализ
выпуска продукции в натуральном выражении
Рассмотрим выпуск основных видов продукции ОАО «Сибинстрем» за последние
четыре года в натуральном выражении в таблице 15 и на рисунке 12.
Таблица 15 - Выпуск продукции в натуральном выражении за 2005 - 2008 годы
|
Наименование
|
2005 год
|
2006 год
|
2007 год
|
2008 год
|
|
Объем, тн.
|
Удельный вес, %
|
Объем, тн.
|
Удельный вес, %
|
Объем, тн.
|
Удельный вес, %
|
Объем, тн.
|
Удельный вес, %
|
|
Литье чугунное
|
4286
|
21,91
|
4919
|
22,08
|
5025
|
22,06
|
3597
|
22,08
|
|
Литье стальное
|
3745
|
19,14
|
4287
|
19,25
|
4395
|
19,3
|
3145
|
19,3
|
|
Бронзовое литье
|
158
|
0,81
|
143
|
0,64
|
0
|
0
|
0
|
0
|
|
Металлоконструкции сварные
|
7914
|
40,46
|
8978
|
40,31
|
9232,5
|
40,54
|
6606
|
40,54
|
|
Инструмент режущий
|
20
|
0,1
|
23
|
0,1
|
25
|
0,11
|
20
|
0,12
|
|
Металлоконструкции прочие
|
1693
|
8,65
|
1984
|
8,91
|
2095
|
9,2
|
1497
|
9,19
|
|
Механизмы транспортирующие
|
15
|
0,08
|
17
|
0,08
|
20
|
0,09
|
14
|
0,09
|
|
Оборудование для
подъемно-транспортных машин
|
1721
|
8,8
|
1913
|
8,59
|
1967,5
|
8,64
|
1403
|
8,61
|
|
Детали запасные
|
10
|
0,05
|
11
|
0,05
|
15
|
0,07
|
12
|
0,07
|
|
Итого:
|
19562
|
100
|
22275
|
100
|
22775
|
100
|
16294
|
100
|
|
|
|
|
|
|
|
|
|
|
Рисунок 12 - Объем производства основных видов продукции в натуральном
выражении
Объем производства продукции предприятия в натуральном выражении за 2005
- 2007 годы увеличивался с 19 562 тн. до 22 775 тн., в 2008 году происходит
резкое снижение этого показателя до 16 294 тн. - на 40 %. Это связано с ростом
цен на сырье и материалы, что привело к сокращению объемов закупаемой продукции
заказчиками.
Одно из ведущих направлений предприятия в натуральном выражении это литейное
производство на его долю приходиться около 41% всей выпускаемой продукции, в
том числе, стальное литье - 19 %, чугунное - 22 %, доля бронзового литья за
рассматриваемый период снижается и уже к 2007 году становиться равной нулю. Это
обусловлено отсутствием заказов на художественное и декоративное литье, которое
преимущественно изготавливают из бронзы. Структура выпускаемой продукции
проиллюстрирована на рисунке 13.
Рисунок 13 - Доля каждого вида продукции в общем объеме производства в
натуральном выражении
Рассмотрим более подробно анализ выпуска продукции в литейном
производстве.
Таблица 16 - Выпуск продукции по видам литья
|
Наименование
|
2005 год
|
2006 год
|
2007 год
|
2008 год
|
|
тн.
|
%
|
тн.
|
%
|
тн.
|
%
|
тн.
|
%
|
|
Чугунное литье
|
4286
|
52,34
|
4919
|
52,62
|
5025
|
53,34
|
3597
|
53,35
|
|
Стальное литье
|
3745
|
45,73
|
4287
|
45,86
|
4395
|
46,66
|
3145
|
46,65
|
|
Бронзовое литье
|
158
|
1,93
|
143
|
1,53
|
0
|
0
|
0
|
0
|
|
Итого:
|
8189
|
100
|
9349
|
100
|
9420
|
100
|
6742
|
100
|
Динамика выпуска продукции по видам литья представлена на рисунке 14.
Таким образом, на долю литой чугунной продукции приходиться более 50 %
всей продукции литейного производства, стальное производство охватывает порядка
45-46 % выпускаемого литья, а на бронзу приходиться совсем незначительное
количество - около 2 % в 2005 и 2006 годах. Последние два года литье из бронзы
не производилось.
Рисунок 14 - Динамика выпуска продукции по видам литья за 2005 - 2008 гг.
Рассмотрим более подробно выпуск литейной продукции по номенклатуре производимых
изделий.
Таблица 17 - Выпуск литейной продукции по номенклатуре производимых
изделий, тн.
|
Наименование изделия
|
2005 год
|
2006 год
|
2007 год
|
2008 год
|
|
Чугунное литье
|
|
Изложница
|
425
|
485
|
489
|
350
|
|
Крышка крепительная
|
475
|
561
|
584
|
438
|
|
Полуформа
|
441
|
511
|
518
|
363
|
|
Обойма
|
180
|
205
|
207
|
148
|
|
Труба промежуточная
|
811
|
926
|
933
|
668
|
|
Корпус
|
907
|
1035
|
1043
|
747
|
|
Основание
|
737
|
841
|
895
|
628
|
|
Крышка
|
138
|
158
|
159
|
114
|
|
Втулка
|
172
|
197
|
198
|
142
|
|
Итого чугун:
|
4286
|
4919
|
5025
|
3597
|
|
Стальное литье
|
|
Стакан
|
414
|
472
|
476
|
341
|
|
Кронштейн
|
279
|
319
|
408
|
270
|
|
Ступица
|
190
|
217
|
218
|
156
|
|
Стержень буферный
|
546
|
623
|
628
|
449
|
|
Стакан буферный
|
668
|
763
|
769
|
550
|
|
Колесо червячное
|
151
|
172
|
174
|
124
|
|
Подвеска
|
123
|
141
|
142
|
101
|
|
Рычаг
|
799
|
912
|
919
|
658
|
|
Гайка сферическая
|
450
|
525
|
518
|
393
|
|
Фланец
|
125
|
143
|
144
|
103
|
|
Итого сталь:
|
3745
|
4287
|
4395
|
3145
|
|
Бронзовое литье
|
|
Художественное литье
|
158
|
143
|
0
|
0
|
|
Итого бронза:
|
158
|
143
|
0
|
0
|
|
Итого литье:
|
8189
|
9349
|
9420
|
6742
|
Так как чугунное литье занимает большую долю производимого литья, то
далее рассмотрим структуру литья чугуна по видам изделий за 2008 год.
Рисунок 15 - Структура чугунной продукции за 2008 год
Таким образом, в результате проведенного анализа можно сказать, что ОАО
«Сибинстрем» выпускает различного рода продукцию, среди которой наибольшую долю
в стоимостном выражении занимают металлоконструкции сварные (50 %) и литейная
продукция (29 %). В натуральном же выражении лидирующие позиции занимает литье
(41 %). Далее рассматривая литейное производство, стоит отметить, что большая
доля литья приходиться на чугун (53 %), затем сталь (46 %) и около 1 % в
различные периоды времени составляет бронза (последние два года не
производили). В структуре чугуна большую дою занимает производство корпусов (20
%), промежуточных труб (19 %) и оснований (17,5 %).
.4.3 Анализ
использования основных производственных фондов литейного производства
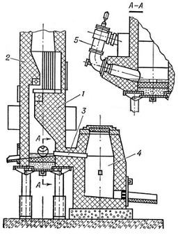
Литейное производство ОАО «Сибинстрем» сосредоточено в двух литейных
цехах, в которых имеется 10 плавильных печей, общей производственной мощностью
10 487,04 т литейной продукции в год.
Начнем анализ с изучения остаточной стоимости основных фондов и их
структуры (таблица 18).
Таблица 18 - Динамика остаточной стоимости основных фондов
|
Группы основных фондов
|
Ед. измерения
|
2005 год
|
2006 год
|
2007 год
|
2008 год
|
|
Здания
|
тыс. руб.
|
12 702,97
|
12 695,87
|
11 276,46
|
9 348,57
|
|
Сооружения
|
тыс. руб.
|
1 654,79
|
1 785,65
|
1 678,35
|
1 327,36
|
|
Рабочие машины и
оборудование
|
тыс. руб.
|
12 307,69
|
11 649,65
|
9 814,16
|
6 125,87
|
тыс. руб.
|
746,38
|
799,7
|
746,4
|
567,6
|
|
Транспортные средства
|
тыс. руб.
|
1 480,58
|
1 261,23
|
1 247,52
|
1 136,82
|
|
Инструменты
|
тыс. руб.
|
507,24
|
452,4
|
435,57
|
396,32
|
|
Инвентарь
|
тыс. руб.
|
429,55
|
402,13
|
374,71
|
294,37
|
|
ИТОГО
|
тыс. руб.
|
24429,19
|
23630,61
|
21118,12
|
19196,91
|
|
в том числе
|
|
|
|
|
|
|
активная часть
|
тыс. руб.
|
14 295,51
|
13 363,28
|
11497,25
|
7 659,01
|
|
пассивная часть
|
тыс. руб.
|
15 533,69
|
15 683,35
|
14 075,92
|
11 537,90
|
* - КИП и А - контрольно-измерительные приборы и аппараты
Данные таблицы 18 свидетельствуют о том, что на протяжении анализируемого
периода остаточная стоимость основных фондов снижается, несмотря на то, что,
стоимость основных фондов по таким группам, как здания, сооружения, КИПиА в
2006 году достигает максимального значения за исследуемый период.
Таблица 19 - Анализ структуры основных фондов, %
|
Группы основных фондов
|
2005 год
|
2006 год
|
2007 год
|
2008 год
|
|
Здания
|
28,14
|
29,05
|
32,81
|
35,87
|
|
Сооружения
|
6,94
|
7,75
|
9,16
|
10,33
|
|
Рабочие машины и
оборудование
|
51,65
|
50,56
|
44,7
|
40,93
|
|
КИП и А
|
3,13
|
3,47
|
4,33
|
4,39
|
|
Транспортные средства
|
6,21
|
5,47
|
5,06
|
3,97
|
|
Инструменты
|
2,13
|
1,96
|
2,12
|
2,08
|
|
Инвентарь
|
1,80
|
1,74
|
1,82
|
2,43
|
|
ИТОГО
|
100,00
|
100,00
|
100,00
|
100,00
|
|
в том числе
|
|
|
|
|
|
активная часть
|
59,99
|
57,99
|
51,88
|
46,98
|
|
пассивная часть
|
40,01
|
42,01
|
48,12
|
53,02
|
Изменение структуры основных фондов на протяжении четырех лет в разрезе
разделения их на активную (рабочие машины и оборудование, транспортные средства
и инструмент) и пассивную (все остальные группы) части графически представлено
на рисунке 16.
Рисунок 16 - Динамика структуры основных фондов
По данной диаграмме можно судить о том, что за анализируемый период
структура основных фондов поменялась кардинальным образом: если в 2005 году
доля активной части преобладала над пассивной, то в 2008 году - обратная
ситуация, это связано с износом оборудования и отсутствием ввода нового. Для
предприятия снижение доли активной части в структуре основных средств - весьма
отрицательный факт, поскольку физически и морально изношенное оборудование
является своеобразным «тормозом» в развитии предприятия.
Дадим оценку движения и технического состояния основных фондов
предприятия в таблице 20.
Таблица 20 - Данные о движении и техническом состоянии основных средств
|
Показатель
|
Уровень показателя
|
Абсолютное отклонение 2008
года от 2005 года
|
|
2005 год
|
2006 год
|
2007 год
|
2008 год
|
|
|
Коэффициент обновления
|
0,2
|
0,2
|
-
|
-
|
-0,2
|
|
Срок обновления, лет
|
5
|
5
|
-
|
-
|
-5
|
|
Коэффициент выбытия
|
0,2
|
0,2
|
-
|
-
|
-0,2
|
|
Коэффициент прироста
|
-
|
-
|
-
|
-
|
0
|
|
Коэффициент износа
|
0,4
|
0,45
|
0,5
|
0,6
|
0,2
|
|
Коэффициент технической
годности
|
0,6
|
0,55
|
0,5
|
0,4
|
-0,2
|
|
Средний возраст
оборудования, лет
|
8
|
9
|
10,2
|
11,2
|
3,2
|
Данные таблицы 20 свидетельствуют о том, что за рассматриваемый период
техническое состояние основных средств в литейном производстве ОАО «Сибинстрем»
ухудшилось: новое оборудование вводилось лишь в 2005 и 2006 годах по две
единицы оборудования каждый год, при этом за данные два года было выведено из
эксплуатации так же четыре единицы оборудования. Еще четыре плавильных печи уже
на начало рассматриваемого периода являлись изношенными и срок их службы
составлял более десяти лет, к 2008 году ситуация не изменилась. В связи с этим
коэффициент износа увеличился, следовательно, снизился коэффициент технической
годности.
Таблица 21 - Степень использования основных фондов
|
Годы
|
Производственная мощность,
т
|
Выпуск продукции, т
|
Коэффициент загрузки
мощностей, %
|
|
2005
|
10486
|
8 031,00
|
76,58
|
|
2006
|
10486
|
9 206,00
|
87,78
|
|
2007
|
10486
|
9 420,00
|
89,83
|
|
2008
|
10486
|
6 742,00
|
64,29
|
Проанализировав состояние основных средств, рассмотрим степень
использования производственного оборудования на протяжении четырех лет.
Из таблицы 21 видно, что производственное оборудование загружено более
чем на 50 процентов, причем наибольшая степень загрузки наблюдалась в 2006 -
2007 годах.
Итак, проведенный анализ состояния и использования основных фондов выявил
две базовые проблемы ОАО «Сибинстрем»:
- физический и моральный износ оборудования;
- недозагрузка мощностей.
.4.4 Анализ
использования трудовых ресурсов
Анализ обеспеченности литейного производства трудовыми ресурсами
Состав и структура трудовых ресурсов литейного производства ОАО
«Сибинстрем» за 2005 - 2008 годы представлена в таблице 22.
Таблица 22 - Состав и структура трудовых ресурсов литейного производства
|
Показатели
|
2005 год
|
2006 год
|
2007 год
|
2008 год
|
|
чел.
|
%
|
чел.
|
%
|
чел.
|
%
|
чел.
|
%
|
|
Руководители
|
40
|
13,51
|
44
|
11,25
|
47
|
11,27
|
38
|
11,91
|
|
Специалисты
|
14
|
4,73
|
16
|
4,09
|
16
|
3,84
|
13
|
4,08
|
|
Основные рабочие
|
156
|
52,70
|
237
|
60,61
|
245
|
58,75
|
180
|
56,43
|
|
Вспомогательные рабочие
|
86
|
29,05
|
94
|
24,04
|
109
|
26,14
|
88
|
27,59
|
|
Итого:
|
296
|
100,00
|
391
|
100,00
|
417
|
100,00
|
319
|
100,00
|
Отобразим графически динамику структуры трудовых ресурсов литейного
производства предприятия.
Рисунок 17 - Динамика структуры трудовых ресурсов
На основании данной диаграммы можно сказать о том, что в 2006 году доля
основных рабочих значительно увеличилась, в то время как вспомогательного
персонала, руководителей и служащих стало меньше в составе трудовых ресурсов
литейного производства. В 2007 и 2008 годах наблюдается обратная тенденция:
численность основных рабочих заметно сокращается, вследствие чего,
увеличивается доля всех остальных категорий трудовых ресурсов. Эта ситуация
вызвана сокращение численности работающих по всем категориям. Рассмотрим более
подробно показатели движения рабочей силы.
Таблица 23 - Показатели движения работников литейного производства
|
Показатели
|
2005 год
|
2006 год
|
2007 год
|
2008 год
|
|
Численность ППП, чел.
|
296
|
391
|
417
|
319
|
|
Принято за год
|
|
Окончивших ВУЗы, чел.
|
19
|
31
|
12
|
5
|
|
Окончивших СУЗы, чел.
|
34
|
69
|
26
|
11
|
|
Без специального
образования, чел.
|
12
|
14
|
5
|
6
|
|
Выбыло за год
|
|
Уволились по собственному
желанию, чел.
|
21
|
12
|
11
|
87
|
|
Уволены в связи с нарушением
трудовой дисциплины, чел.
|
4
|
3
|
5
|
27
|
|
Убыло в связи с уходом в
армию, чел.
|
2
|
4
|
1
|
6
|
|
Абсолютные показатели
движения
|
|
Оборот по приему
|
65
|
114
|
43
|
22
|
|
Оборот по увольнению
|
27
|
19
|
17
|
120
|
|
Излишний оборот по
увольнению
|
25
|
15
|
16
|
114
|
|
Относительные показатели
движения
|
|
Коэффициент по приему
|
0,22
|
0,29
|
0,1
|
0,07
|
|
Коэффициент по увольнению
|
0,09
|
0,05
|
0,04
|
0,38
|
|
Коэффициент текучести
|
0,08
|
0,04
|
0,04
|
0,36
|
Рисунок 18 - Динамика показателей движения рабочей силы
В 2005 - 2006 годах наблюдается положительная тенденция в составе
трудовых ресурсов литейного производства, так коэффициент по приему возрастает,
следовательно, появляются новые рабочие места, и расширяется производство, а
коэффициент по увольнению и текучести кадров снижается.
В 2008 году происходит резкий рост коэффициентов по увольнению и
текучести, это связано с сокращением объемом производства, снижением заработной
платы.
Анализ производительности труда
Цель анализа - определение степени выполнения плана по производительности
труда, определение динами показателя и оценка влияния факторов на уровень
производительности труда.
Анализ производительности труда проведем по данным таблицы 24.
Таблица 24 - Производительность труда
|
Показатель
|
2005 год
|
2006 год
|
2007 год
|
2008 год
|
Отклонение
|
Темп роста, %
|
|
Товарная продукция, тыс.
руб.
|
198909
|
381184
|
354930
|
213647
|
14738
|
107,41
|
|
Численность ППП, чел.
|
296
|
391
|
417
|
319
|
107,77
|
|
Производительность труда,
тыс. руб./чел.
|
671,99
|
974,9
|
851,15
|
669,74
|
640,78
|
99,67
|
|
Среднегодовая заработная
плата, руб.
|
16907,8
|
21124
|
21699,8
|
22959,6
|
6051,79
|
135,79
|
Для наглядности проиллюстрируем таблицу диаграммой, на которой изображены
базисные темпы роста рассматриваемых нами показателей.
Рисунок 19 - Темпы роста показателей производительности труда и
среднегодовой заработной платы
При сокращении численности персонала в 2008 году и при одновременном
снижении числа заказов, а, следовательно, уменьшении товарной продукции,
происходит снижение производительности труда. Темп роста производительности
труда не опережает темп роста среднегодовой заработной платы, что говорит о
неэффективной работе предприятия. Кроме того, рост заработной платы опережает
рост численности персонала, что так же является отрицательным моментом.
Анализ фонда оплаты труда
Одним из основных показателей в производственной деятельности предприятия
является фонд оплаты труда.
Таблица 25 - Динамика состава фонда заработной платы
|
Показатели
|
2005 год
|
2006 год
|
2007 год
|
2008 год
|
|
тыс. руб.
|
%
|
тыс. руб.
|
%
|
тыс. руб.
|
%
|
тыс. руб.
|
%
|
|
ФОТ, всего:
|
49282,8
|
100
|
99114
|
100
|
108586
|
100
|
87889,2
|
100
|
|
ФОТ основных рабочих
|
27763,2
|
56,33
|
58588,8
|
59,11
|
60327,6
|
55,56
|
49142,4
|
55,91
|
|
ФОТ вспомогательных рабочих
|
15390
|
31,23
|
31900,8
|
32,19
|
36867,6
|
33,95
|
29367,6
|
33,41
|
|
ФОТ ИТР
|
6129,6
|
12,44
|
8624,4
|
8,70
|
11390,4
|
10,49
|
9379,2
|
10,67
|
Рисунок 20 - Динамика фонда заработной платы
Из таблицы 25 видно, что в общем фонде заработной платы в течение каждого
года происходят изменения. Так в 2006 году по сравнению с 2005 годом ФОТ
увеличился, это связано с тем, что в данном году увеличилась заработная плата
работников на 15 %. В 2008 году на предприятии происходит значительное
сокращение численности и ФОТ по сравнению с 2006 годом сокращается, однако это
снижение не пропорционально снижению численности. Это привело к тому, что темпы
роста среднегодовой заработной платы опережают темпы роста численности и
производительности труда.
Рисунок 21 - Структура ФОТ литейного производства предприятия за 2008 г.
Основная доля в размере 56% в общем фонде оплаты труда приходится на
основных рабочих, 33 % - на вспомогательных рабочих и 11 % - на ИТР.
Таким образом, проведенный анализ использования трудовых ресурсов в
литейном производстве показал, что произошли изменения в составе работающих,
так за последние несколько лет доля основных рабочих снижается, а доля
вспомогательного персонала возрастает. Исследованные показатели движения
рабочей силы свидетельствуют о том, что в 2008 году происходит резкий рост
коэффициентов по увольнению и по текучести, что объясняется сокращением объемов
производства и снижением заработной платы.
В 2008 году происходит значительное сокращение численности персонала и
снижается число заказов, следовательно, происходит снижение производительности
труда (на 21 % по сравнению с 2007 годом), так же снижается и ФОТ, однако, не
смотря на это темпы роста заработной платы опережают темпы роста и численности,
и производительности труда.
.4.5 Анализ
себестоимости товарной продукции
Принятая на ОАО «Сибинстрем» и, в частности, в литейном производстве
система учета, калькулирования, управления затратами дает возможность получения
достоверной информации о фактической себестоимости как в целом по предприятию,
так и по отдельным видам продукции. Данная система учитывает отраслевую
специфику предприятия, особенности технологии и организации производства.
На предприятии в себестоимость продукции включаются основные и накладные
расходы, т.е. применяется калькуляционный метод определения себестоимости
продукции по полной схеме. Постоянные (накладные) расходы распределяются между
видами продукции пропорционально объемам производства.
Приведем динамику затрат литейного производства и проанализируем их
структуру.
Таблица 26 - Смета затрат на производство литейной продукции в 2005-2008
гг
|
Наименование статей затрат
|
2005 год
|
2006 год
|
2007 год
|
2008 год
|
|
тыс. руб.
|
%
|
тыс. руб.
|
%
|
тыс. руб.
|
%
|
тыс. руб.
|
%
|
|
Материалы
|
46959,8
|
27,18
|
124305,4
|
37,23
|
135787,8
|
36,77
|
180805
|
43,11
|
|
в т.ч. кокс
|
1385,78
|
2,95
|
3908,42
|
3,14
|
4236,25
|
3,12
|
5041,69
|
2,79
|
|
в т. ч. промгазы:
|
4453,8
|
2,58
|
6563,2
|
1,97
|
8548,5
|
2,31
|
4733,8
|
1,13
|
|
Углекислота
|
3143,5
|
1,82
|
5916,9
|
1,77
|
7984,1
|
2,16
|
4366
|
1,04
|
|
Кислород
|
1122,2
|
0,65
|
236,9
|
0,07
|
237,1
|
0,06
|
165,8
|
0,04
|
|
Пропан
|
188,2
|
0,11
|
409,3
|
0,12
|
327,3
|
0,09
|
202,1
|
0,05
|
|
ТЗР
|
3488,2
|
2,02
|
2780,7
|
0,83
|
5601,4
|
1,52
|
18483
|
4,41
|
|
Электроэнергия, всего
|
7122,5
|
4,12
|
6881,6
|
2,06
|
7074,5
|
1,92
|
6386,8
|
1,52
|
|
активная электроэнергия по
регулируемым ценам
|
2562,2
|
1,48
|
2789,8
|
0,84
|
3627,3
|
0,98
|
4166,3
|
0,99
|
|
электроэнергия по
нерегулируемым ценам
|
4560,4
|
2,64
|
4091,8
|
1,23
|
3447,2
|
0,93
|
2220,4
|
0,53
|
|
Сжатый воздух
|
559,3
|
0,32
|
796,5
|
0,24
|
919,7
|
0,25
|
1492
|
0,36
|
|
Стоки
|
260,4
|
0,15
|
260
|
0,08
|
282,8
|
0,08
|
569,9
|
0,14
|
|
Вода
|
138,4
|
0,08
|
268,9
|
0,08
|
312,8
|
0,08
|
364,9
|
0,09
|
|
Теплоэнергия
|
723,5
|
0,42
|
782,7
|
0,23
|
424,7
|
0,12
|
0
|
0
|
|
Амортизация
|
114
|
0,07
|
113,8
|
0,03
|
114
|
0,03
|
114
|
0,03
|
|
Охрана труда (спец. одежда,
спец. питание)
|
810,2
|
0,47
|
855,5
|
0,26
|
513
|
0,14
|
677
|
0,16
|
|
МБП (малоценные и
быстроизнашивающиеся предметы)
|
1418,6
|
0,82
|
2127,5
|
0,64
|
3893,4
|
1,05
|
3933,9
|
0,94
|
|
Доставка на работу и
обратно
|
1578,5
|
0,91
|
1044,4
|
0,31
|
1043
|
0,28
|
854
|
0,2
|
|
Содержание зданий
|
1048,8
|
0,61
|
1388,4
|
0,42
|
1839,8
|
0,5
|
1216,9
|
0,29
|
|
ФОТ, всего:
|
60056,4
|
34,76
|
99114
|
29,68
|
108585,6
|
29,4
|
87889,2
|
20,96
|
|
ФОТ основных рабочих
|
27763,2
|
16,07
|
58588,8
|
17,55
|
60327,6
|
16,34
|
49142,4
|
11,72
|
|
ФОТ вспомогательных рабочих
|
15390
|
8,91
|
19428
|
5,82
|
20881,2
|
5,65
|
16380
|
3,91
|
|
ФОТ ИТР
|
6129,6
|
3,55
|
8624,4
|
2,58
|
11390,4
|
3,08
|
9379,2
|
2,24
|
|
ФОТ других подразделений
(услуги)
|
10773,6
|
6,24
|
12472,8
|
3,74
|
15986,4
|
4,33
|
12987,6
|
3,1
|
|
Отчисления на социальное
страхование
|
18392,4
|
10,65
|
26763,6
|
8,02
|
27968,4
|
7,57
|
27020,4
|
6,44
|
|
Потери от брака
|
22115
|
12,8
|
57320
|
17,17
|
69760
|
18,89
|
85735
|
20,44
|
|
Общезаводские расходы
|
7992,3
|
4,63
|
9112,1
|
2,73
|
5183
|
1,4
|
3862,7
|
0,92
|
|
Итого, тыс. руб.
|
172778
|
100
|
333915,1
|
100
|
369303,9
|
100
|
419405
|
100
|
|
Годное литье, тн.
|
7215,5
|
8748,6
|
-
|
9230,65
|
-
|
5078,6
|
-
|
|
Себестоимость 1 тн. годного
металла, тыс. руб./тн.
|
23,95
|
-
|
38,17
|
-
|
40,01
|
-
|
82,58
|
-
|
|
|
|
|
|
|
|
|
|
|
|
|
|
|
|
|
|
Отобразим графически динамику затрат литейного производства и объема
товарной продукции.
Рисунок 22 - Динамика затрат литейного производства и объемов товарной
продукции
Диаграмма свидетельствует о том, что на протяжении 2005 года затраты на
производство менялись прямо пропорционально изменениям объемов товарной
продукции: в 2006 году наблюдался рост затрат на производство и снижение
объемов товарной продукции, в 2007 и 2008 годах показатели себестоимости
продолжают расти, в то время, как товарная продукция значительно снизились. В
связи с этим, следует изучить структуру затрат на производство с целью
выявления причины данной проблемы.
Рассмотрим на диаграмме структуру себестоимости продукции литейного
производства за 2008 год.
Рисунок 23 - Структура себестоимости продукции литейного производства за
2008 год
Построим диаграмму динамики структуры затрат на производство с 2005 по
2008 гг.
Рисунок 24 - Динамика структуры затрат на производство продукции
По данной диаграмме делаем вывод о том, что в 2006 году по сравнению с
2005 годом происходит значительный рост затрат, особенно это отразилось на
таких статьях, как материальные затраты, затраты а оплату труда и затраты на
брак, в статьях отчисления на социальное страхование и амортизация изменений
практически не происходит в течение всего рассматриваемого периода.. На
протяжении последующих трех лет ситуация несколько иная: доля прочих расходов,
материальных расходов (наибольшая в структуре затрат) и затрат на брак
значительно увеличилась к концу рассматриваемого периода, затраты на оплату
труда снижаются. Таким образом, мы выявили причину более высоких темпов роста
затрат на производство по сравнению с темпами роста объемов товарной продукции.
В связи с этим, необходимо провести анализ частных показателей материалоемкости
и более детально рассмотреть анализ брака.
Таблица 27 - Динамика структуры материальных затрат
|
Показатели
|
2005 год
|
2006 год
|
2007 год
|
2008 год
|
|
тыс. руб.
|
%
|
тыс. руб.
|
%
|
тыс. руб.
|
%
|
тыс. руб.
|
%
|
|
Материальные затраты, тыс. руб.
|
54082,3
|
100
|
131187
|
100
|
142862
|
100
|
187192
|
100
|
|
в том числе:
|
|
|
|
|
|
|
|
|
|
сырье
|
42506
|
78,60
|
117742
|
89,75
|
127239
|
89,06
|
146071
|
78,03
|
|
топливо
|
4453,8
|
8,24
|
6563,2
|
5,00
|
8548,5
|
5,98
|
4733,8
|
2,53
|
|
энергия
|
7122,5
|
13,17
|
6881,6
|
5,25
|
7074,5
|
4,95
|
6386,8
|
3,41
|
Таблица 28 - Частные показатели материалоемкости, руб./руб.
|
Показатели
|
2005 год
|
2006 год
|
2007 год
|
2008 год
|
|
Общая материалоемкость
|
0,27
|
0,34
|
0,4
|
0,74
|
|
в том числе:
|
|
|
|
|
|
сырьеемкость
|
0,21
|
0,31
|
0,36
|
0,68
|
|
топливоемкость
|
0,02
|
0,02
|
0,02
|
0,02
|
|
энергоемкость
|
0,04
|
0,02
|
0,02
|
0,03
|
В результате проведенного анализа себестоимости продукции литейного
производства ОАО «Сибинстрем» за 2005 - 2008 годы, выявлены следующие слабые
стороны:
- в литейном производстве существует проблема повышенной
сырьеемкости, в связи с чем, повышается общая материалоемкость и снижается
материалоотдача, следовательно, существует необходимость в проведении
мероприятий, направленных на снижение сырьеемкости;
- доля затрат на брак в себестоимости литейной продукции весьма
значительна, к тому же за рассматриваемый период наблюдается её постоянный
рост, следовательно, необходимо провести ряд мероприятий по снижению затрат на
брак.
.4.6 Анализ
брака
Рассмотрим динамику брака по абсолютной сумме забракованной продукции и
удельному весу брака в товарной продукции. Данные представлены в таблице 29.
Таблица 29 - Доля брака в объеме товарной продукции
|
Наименование
|
2005 год
|
2006 год
|
2007 год
|
2008 год
|
|
тыс. руб.
|
%
|
тыс. руб.
|
%
|
тыс. руб.
|
%
|
тыс. руб.
|
%
|
|
Товарная продукция, в том
числе
|
198909
|
100
|
381184
|
100
|
354930
|
100
|
213647
|
100
|
|
|
|
|
|
|
|
|
|
|
готовая продукция
|
170236
|
85,59
|
323350
|
84,83
|
283261
|
79,81
|
125510
|
58,75
|
|
забракованная продукция
|
28672,5
|
14,41
|
57834,4
|
15,17
|
71669,1
|
20,19
|
88137,5
|
41,25
|
|
в том числе: стальное литье
|
10259,31
|
5,16
|
24130,83
|
6,33
|
30609,1
|
8,62
|
38490,88
|
18,02
|
|
чугунное литье
|
18413,2
|
9,26
|
33703,53
|
8,84
|
41060,0
|
11,57
|
49646,61
|
23,24
|
Из таблицы 29 видно, что на долю забракованной продукции приходиться
порядка 42 % от общего объема товарной продукции на сегодняшний день. Изобразим
графически долю стального и чугунного забракованного литья.
Рисунок 25 - Структура забракованной продукции за 2008 год
Для производства чугунного литья на предприятии используются пять печей:
2 печи вагранки, 2 индукционных печи и одна дуговая. Рассмотрим долю
забракованной чугунной продукции по каждой из печей в таблице 30.
Таблица 30 - Доля забракованного чугуна по печам
|
Наименование
|
Доля забракованного
чугунного литья, %
|
|
2005 год
|
2006 год
|
2007 год
|
2008 год
|
|
Печь 1 - Вагранка
|
24
|
26
|
27
|
29
|
|
Печь 2 - Вагранка
|
22
|
24
|
24
|
26
|
|
Печь 3 - ИТЧ 2,3/2,5
|
15
|
14
|
16
|
14
|
|
Печь 4 - ИСТ 0,16
|
16
|
14
|
14
|
13
|
|
Печь 5 - Дс 0,5/1
|
23
|
22
|
19
|
18
|
|
Итого:
|
100
|
100
|
100
|
100
|
Изобразим графически структуру забракованного чугунного литья по печам за
2008 год.
Рисунок 26 - Структура забракованного чугунного литья по печам за 2008
год
Рисунок 27 - Динамика забракованного чугунного литья по печам за 2005 -
2008 годы
Таким образом, исходя из представленных данных, можно сказать о том, что
наибольшее количество забракованного литья - это чугунное литье (56 %), которое
получают на предприятии путем плавки в печах: вагранка (2 печи), индукционные
печи (ИТЧ 2,3/2,5 и ИСТ 0,16) и дуговой печи (Дс 0,5/1). Наибольшее количество
зарегистрированных случаев брака наблюдается при использовании печей типа
вагранка (более 50 %), это одно из наиболее «узких мест» в работе литейного
производства и всего предприятия в целом на сегодняшний день. Следующим этапом
анализа брака является определение потерь от брака.
Таблица 31 - Потери от брака, тыс. руб.
|
Наименование показателя
|
2005 год
|
2006 год
|
2007 год
|
2008 год
|
|
Себестоимость забракованной
продукции
|
28672,5
|
57834,4
|
71669,1
|
88137,5
|
|
Расходы по устранению брака
|
24371,6
|
57545,2
|
70594,1
|
87696,8
|
|
Стоимость брака по цене
возможного использования
|
30765,6
|
57886,4
|
72314,1
|
89900,2
|
|
Сумма удержаний с виновных
лиц
|
163,54
|
173,14
|
189,05
|
199,05
|
|
Потери от брака
|
22115
|
57320
|
69760
|
85735
|
Динамика потерь от брака представлена на рисунке 28.
Рисунок 28 - Динамика потерь от брака
Динамика потерь от брака в процентах от себестоимости продукции
изображена на рисунке 29.
Рисунок 29 - Динамика потерь от брака в процентах от себестоимости
продукции
Далее рассмотрим причины снижения качества продукции и возникновения
брака.
Таблица 32 - Причины возникновения брака, %
|
Наименование
|
2005 год
|
2006 год
|
2007 год
|
2008 год
|
|
Брак исполнителя
|
65
|
58
|
57
|
54
|
|
Неисправность - сбой
оборудования
|
21
|
27
|
31
|
35
|
|
Недоработка конструкторской
документации (на предприятии)
|
3
|
3,5
|
3
|
3,5
|
|
Конструкторская
документация заказчика
|
3
|
2,5
|
2
|
1,5
|
|
Брак заготовки
|
3
|
3,5
|
4
|
4
|
|
Другие причины
|
5
|
5,5
|
3
|
2
|
|
Итого:
|
100
|
100
|
100
|
100
|
Динамика причин возникновения бракованной продукции представлена на
рисунке 30.
Рисунок 30 - Динамика причин возникновения брака
В результате проведения оценки потенциала литейного производства ОАО
«Сибинстрем» было выявлено следующее:
- оборудование литейных цехов в значительной степени физически и
морально изношено;
- коэффициент загрузки мощностей литейного производства
составляет более 50 процентов, однако имеет тенденцию к снижению и мощности
загружены не полностью.
- при снижении производительности труда, так же снижается и
ФОТ, однако, не смотря на это, темпы роста заработной платы опережают темпы
роста и численности, и производительности труда.
- в литейном производстве существует проблема повышенной
сырьеемкости, в связи с чем, повышается общая материалоемкость и снижается
материалоотдача, следовательно, существует необходимость в проведении
мероприятий, направленных на снижение сырьеемкости;
- доля затрат на брак в себестоимости литейной продукции весьма
значительна, к тому же за рассматриваемый период наблюдается её постоянный
рост, следовательно, необходимо провести ряд мероприятий по снижению затрат на
брак.
В целом анализ финансово-хозяйственной деятельности предприятия показал,
что на ОАО «Сибинстрем» существует ряд проблем. Одна из них - это внешняя
проблема - рост кредиторской и дебиторской задолженности. Стоит отметить, что
основными заказчиками и потребителями продукции завода являются предприятия
компании «Русал» (КрАЗ, БрАЗ, САЗ, ИркАЗ, НКАЗ), которая в связи с возникшими
финансовыми трудностями не способна рассчитаться со своими кредиторами в числе
которых ОАО «Сибинстрем». Решить возникшую проблему мы не в силах, поэтому
обратимся к внутренней проблеме. На предприятии существуют серьезные проблемы с
качеством продукции, растет доля брака, что приводит к увеличению
себестоимости. Следовательно, необходимо снижать затраты, улучшать качество
производимой продукции.
2. Технология
литейного производства
ОАО «Сибинстрем» в своей структуре имеет ряд производств: литейное,
металлообрабатывающее, сборочное и сварочное. Остановимся подробнее на
технологии наиболее интересного для нас - литейного производства. На
предприятии существуют следующие виды литья: литье из стали, чугуна и бронзы.
На долю стали приходиться 46,65 % (3145 тонн в год) всей производимой литейной
продукции, чугун - 53,35 % (3597 тонн в год), бронзу в последние два года не
отливают, так как это дорогостоящий процесс и заказов на бронзовую продукцию
практически нет. Однако остановимся подробнее на всех видах литья, существующих
на предприятии.
Литейным производством называют процессы получения фасонных изделий
(отливок) путем заливки расплавленного металла в полую форму, воспроизводящую
форму и размеры будущей детали. После затвердевания металла в форме получается
отливка - заготовка или деталь.
Отливки можно получать различной массы (от нескольких граммов до сотен
тонн), простой и сложной формы из чугуна, стали, сплавов меди и алюминия, цинка
и магния и т.д. Особенно эффективно применение отливок для получения фасонных
изделий сложной конфигурации, которые невозможно или экономически
нецелесообразно изготавливать другими методами обработки металлов (давлением,
сваркой, резанием), а также для получения изделий из малопластичных металлов и
сплавов.
.1 Цветное
литье
Современное оборудование, используемое на предприятии, позволяет делать
качественные и технологичные отливки из цветных сплавов. Предприятие
предоставляет широкий спектр услуг, от разработки конструкторской документации
до выпуска готового изделия, с возможностью последующей механической обработки.
Изделия из цветных металлов обладают высокой прочностью, технологичностью
и долгим сроком эксплуатации. В услуги ОАО «Сибинстрем» заложены отливки из
цветных сплавов, позволяющие производить необходимые заказчику продукты,
отличающиеся высоким качеством. Так, предприятие предлагает заказчикам отливки
из цветных сплавов, в том числе изготовление втулок, вкладышей, шайб, планок,
колец, подпятников, зубчатых венцев и другие детали, работающие на износ и
испытывающие высокие ударные нагрузки.
Бронзовые втулки всегда были одним из самых востребованных товаров среди
специалистов отрасли. ОАО «Сибинстрем» располагает производственными мощностями
и оборудованием для изготовления бронзовых втулок путем бронзового литья и
других видов литых деталей. Также среди весьма распространенных изделий, к
производству которых часто обращаются предприятия можно отнести зубчатые венцы.
Одним из главных материалов, используемых предприятием, является бронза.
Бронза, как известно, отличается высокой прочностью и устойчивостью к
неблагоприятным факторам внешней среды, особенно, если это оловянистая бронза,
завоевавший в среде профессионалов почет и уважение, благодаря своим химическим
и физическим свойствам. Оловянистая бронза, самый дорогой материал, обладает
более высокими антифрикционными свойствами, позволяющими получить на выходе
качественный продукт, отвечающий всем современным требованиям, предъявляемым к
сплавам цветных металлов. Сплавы из цветных металлов бронзы и латуни более
экономичны, но также обладают высокими антифрикционными свойствами, в чем
состоит их главное преимущество. Алюминиевая бронза обладает более высокими
прочностными свойствами. Таким образом, специалисты вернули прежнюю славу
изделиям из бронзы, сплавленным с другими металлами. Сплавы из бронзы снова
стали гарантом качества и прочности изделия, защищенного от коррозии. В
настоящий момент специалисты отдают предпочтением именно цветному литью, так
как изделия, получаемые этим путем, отличаются прочностью и экономичностью,
производятся на высокотехнологичном оборудовании с учетом всех выдвигаемых
требований. Путем цветного литья получаются изделия из латуни. Латунь более
дешевый материал, она обладает более низкими антифрикционными свойствами, чем
бронза, но при этом отличается коррозионной стойкостью. Предпочтение латуни отдают
только в том случае, если её химические и физические свойства полностью
устраивают заказчика.
Одним из самых распространенных способов, используемых в производстве
отливов из цветных материалов, является центробежное литье. Путем технологии
центробежного литья удается получить качественные исходные продукты, в
частности, бронзовые вкладыши. Технологические возможности центробежных машин
ОАО «Сибинстрем» позволяют получать отливки диаметром от 60 до 650 мм при
максимальной массе отливки до 1000 кг.
Предприятие предлагает воспользоваться производственными мощностями по
изготовлению отливок из цветных сплавов, с дальнейшей механообработкой, по
чертежам заказчика. (Продукция - втулки, вкладыши, шайбы, планки, кольца,
подпятники, зубчатые венцы и др.)
В нашем меднолитейном производстве реализуется в основном три вида
технологий изготовления отливок из цветных сплавов:
- центробежным литьем;
- получение отливок заливкой в песчаные формы - формовка в
землю и в опоках размерами до 2,5 Х 2,5 м.;
- кокильное литье (в т.ч. слитки для поковок).
Технологические возможности центробежных машин позволяют получать отливки
диаметром от 60 до 650 мм при максимальной массе отливки до 1000 кг. При
отливке в песчаные формы с использованием опок максимальная масса отливки до
1800 кг диаметром до 2000 м. Возможны максимальные отливки до 2300 кг.
На сегодняшний день предприятие производит сплавы цветных металлов 3-х
групп:
1) Алюминиевые бронзы - БрА10ЖЗМц2, БрА9Ж3Л, БрАЖМц10-3-1,5 и др.
2) Оловянные бронзы - БрО8С12, БрО8С21, БрО5Ц5С5, БрО10Ц2Н2,
БрО10Ф1.
) Латуни ЛЦ38Мц2С2, ЛЦ23А6Ж3Мц2, ЛМЦА 57-3-1.
Химические и механические свойства отливок согласно ГОСТ с приложением
сертификатов.
.2 Черное
литье
При всем разнообразии приемов литья, сложившихся за длительный период
развития его технологии, принципиальная схема технологического процесса литья
практически не изменилась за более чем 70 веков его развития и включает четыре
основных этапа: плавку металла, изготовление формы, заливку жидкого металла в
форму, извлечение затвердевшей отливки из формы.
Литье в разовые песчано-глинистые формы является наиболее
распространенным и относительно простым способом получения отливок. Разовые
песчано-глинистые формы могут быть приготовлены либо непосредственно в почве (в
полу литейного цеха) по шаблонам, либо в специальных ящиках-опоках по моделям.
В почве получают отливки крупногабаритных деталей (станин, колонн и т.д.),
более мелкие отливки обычно получают в опочных формах.
Внешнее очертание отливок соответствует углублениям формы, отверстия
получают за счет стержней, вставляемых в полость формы.
Технологический процесс производства отливок в опочных формах,
представленный на рисунке 31, состоит из трех стадий: подготовительной,
основной и заключительной.
Модельная оснастка, изготовленная в модельных цехах, представляет собой
приспособления, с помощью которых изготовляют формы и стержни. К оснастке
относятся модели деталей, подмодельные щитки, стержневые ящики, модели
элементов литниковой системы и опоки.
Модели на рисунке 32, а служат для получения полости в земляной форме,
которая по размерам и внешним очертаниям соответствует будущей отливке. Так как
металл после затвердевания усаживается (уменьшается в объеме), размеры модели
делают несколько большими.
Рисунок 31 - Технологический процесс производства отливок в опочных
формах
Изготовляют модели из дерева, пластмассы или металла. Выбор материала
зависит от условий производства и требований, которые предъявляют к отливке в
отношении точности размеров и чистоты поверхности. Для того чтобы модели легко
извлекались из формы, их делают с формовочными уклонами и часто разъемными, из
двух и более частей, легко скрепляемых при помощи шипов.
Для получения отливок с отверстиями или углублениями на моделях в
соответствующих местах предусматривают выступы - стержневые знаки, которые
оставляют в форме отпечатки для установки стержней. Место, занимаемое в форме
стержнем, не заполняется металлом и в отливке после удаления стержня образуется
отверстие или углубление. Стержни изготовляют из особой стержневой смеси,
набивая ее вручную или машинным способом в стержневые ящики - рисунок 32, б.
При этом учитывают изменение размеров отливки при затвердевании металла.
Размеры стержней должны быть меньше отверстий на величину усадки металла. В
зависимости от сложности изготовления стержневые ящики делают цельными и
разъемными. При небольших партиях стержней ящики делают из дерева, в массовом
производстве, особенно при повышенных требованиях к точности литья, применяют
металлические ящики (чугунные или из алюминиевых сплавов).
Модели литниковой системы предназначены для образования в форме каналов и
полостей, служащих для подачи металла, задержки шлака и выхода воздуха из
полости формы - рисунок 32, в. Устройство литниковой системы обеспечивает
спокойное, безударное поступление металла в форму, предохраняя ее от
повреждения.
Подмодельные щитки-плиты служат для размещения на них моделей и установки
опоки при изготовлении литейной формы вручную.
На нашем предприятии при машинной формовке эффективно применение
тщательно обработанных деревянных или металлических модельных плит с прочно
укрепленными на них или выполненными за одно целое, моделями деталей и
элементами литниковой системы - рисунок 32, г.
Опоки - деревянные или металлические рамки, каркасы, основное назначение
которых состоит в удерживании песчано-глинистой смеси, обеспечении достаточной
прочности и жесткости формы при ее изготовлении, транспортировке и заливке
металла.
Формовочные и стержневые смеси в основном состоят из кварцевого песка
определенной зернистости и жароупорности.
а
- модель детали; б - стержневой ящик; в - модель литниковой системы; г -
подмодельная плита; д - опока
Рисунок
32 - Модельная оснастка
Формовочные
и стержневые смеси должны обладать пластичностью и газопроницаемостью, а формы
и стержни, изготовленные из них,- достаточной прочностью. Эти свойства
достигаются добавкой к основному материалу глины, льняного масла, декстрина,
жидкого стекла, а также деревянных опилок или торфяной крошки. Увлажненная
глина добавляется как связующее вещество.
Опилки,
торфяная крошка, выгорая после заливки металла в формы, образуют дополнительные
поры, увеличивающие газопроницаемость смеси.
Масляные
крепители (олифа, льняное масло) обычно добавляют в стержневые смеси, которые
должны обладать более высокой, по сравнению с формовочными, прочностью.
Приготовление формовочных и стержневых смесей производится в
землеприготовительных отделениях литейного цеха и включает операции
предварительной подготовки (подсушивания, помола), дозирования исходных
материалов и тщательного перемешивания их до получения однородного состава, на
ОАО «Сибинстрем» эти операции механизированы. Приготовленные смеси подвергают
вылеживанию в бункере для более равномерного распределения влаги, а затем,
после разрыхления и контроля полученных свойств, транспортируют к рабочим
местам формовщиков.
По
назначению формовочные смеси подразделяют на облицовочные, наполнительные и
единые. Облицовочные смеси, непосредственно соприкасающиеся с жидким металлом,
приготавливают из более качественных свежих материалов. Наполнительной служит
бывшая в употреблении (горелая) смесь. В нашем случае формы изготовляют из
единой смеси, материалом для которой является бывшая в употреблении смесь со
свежими добавками песка, глины, крепителей и пр.
Изготовление
стержней может производиться набивкой стержневой смеси в ящик и трамбовкой
вручную или машинным способом. Машинное приготовление стержней осуществляется
на прессовых, встряхивающих, пескометных и других стержневых машинах. Сибирский
ремонтно-инструментальный завод стержни изготавливает на поточных линиях,
состоящих из стержневых машин, сушильных печей и различных транспортирующих
устройств. Отформованные сырые стержни сушат при температуре 160 - 300 °С в
сушильных печах или камерах для придания им высокой прочности.
Формовка
- наиболее сложная и трудоемкая операция производства отливок в разовых
песчано-глинистых формах. Трудоемкость изготовления литейных форм составляет 40
- 60 % от общей трудоемкости получения отливок.
На
ОАО «Сибинстрем» применяется машинная формовка и ручная формовка. Понятие
«ручная формовка» несколько устарело, так как многие работы (подача формовочной
смеси, трамбовка, извлечение моделей, поворот и перемещение опок) в настоящее время
механизированы.
Рисунок
33 - Технологический процесс формовки втулки
Рассмотрим
последовательность ручной формовки для отливок детали типа втулки.
Машинная
формовка экономически целесообразна, когда формовочные машины загружены в
течение не менее 40 - 60 % рабочего времени. Однако машинная формовка
экономически оправдывает себя, если применяются быстросменные модельные плиты.
В этом случае смена моделей производится за 1,5 - 2 мин, т.е. за короткое время
можно перестраиваться на получение новых отливок.
Сущность
машинной формовки заключается в механизации основных операций: установки
модельных плит и опок, наполнения опок формовочной смесью, уплотнения смеси и
удаления моделей из форм.
По
способу уплотнения смеси формовочные машины делятся на прессовые,
встряхивающие, пескометные - рисунок 34 и комбинированные (встряхивающие с
подпрессовкой или прессовые с вибратором).
Прессовые
машины являются наиболее простыми и производительными, но дают неравномерное
уплотнение смеси по высоте опоки, встряхивающие машины менее производительны,
но в сочетании с подпрессовкой позволяют более равномерно уплотнять землю даже
в высоких и больших по площади опоках. Пескометы применяют для набивки средних
и крупных опок.
Они
отличаются большой производительностью (до 50 - 70 м3/ч) и обеспечивают
наиболее равномерное уплотнение земли по высоте опоки.
а
- прессовые; б - встряхивающие; в - пескометные
Рисунок
34 - Формовочные машины
Машинная
формовка не только облегчает труд рабочих-формовщиков, но и дает возможность
повышать производительность труда, получать более точные отливки с меньшими
припусками на механическую обработку, снижать брак.
В
общей трудоемкости изготовления отливок на процессы плавки и заливки металла в
формы приходится около 7 - 10 %. Тем не менее, эти процессы являются особо
ответственными, так как оказывают решающее влияние на качество и себестоимость
отливок.
Важнейшими
литейными сплавами являются чугун (серый, высокопрочный), сталь (углеродистая,
легированная), медные сплавы (бронза, латунь) и другие.
Наилучшим
комплексом литейных свойств обладают серый чугун, бронза. Плавка чугуна
производится преимущественно в вагранках и шахтных печах. Вагранка представляет
собой вертикальную шахту-печь непрерывного действия, работающую на литейном
каменноугольном коксе и воздушном дутье.
Производительность
вагранки в зависимости от ее размеров составляет 1 - 30 т/ч, максимально
достижимая температура - 3400 - 1420°С.
Интенсификация
процесса плавки в вагранке осуществляется применением горячего (400 - 500°С)
дутья воздухом, обогащенным кислородом.
Индукционные
печи для выплавки чугуна, работающие на токах промышленной частоты, являются
наиболее перспективными плавильными агрегатами. Их применение позволяет
выплавлять чугун однородного состава с высокими механическими свойствами и тем
самым значительно снизить массу отливок. Высокая температура нагрева в
индукционных печах дает возможность использовать недорогостоящие стальные
отходы и путем науглероживания их получать чугун необходимого химического
состава.
Для
получения мелких и средних отливок из углеродистой и низколегированной стали
используются электродуговые печи, для неответственных отливок - малые
бессемеровские конвертеры, чугун в которые поступает из вагранок, кроме того,
применяются индукционные высокочастотные печи.
Все
плавильные агрегаты, применяемые в литейном производстве, должны отвечать
определенным общим требованиям: обеспечивать необходимую для расплавления и
перегрева металла температуру, обладать достаточной производительностью, быть
экономичными (минимальный расход топлива и энергии на 1т жидкого металла и
минимальный угар металла), более или менее надежно предохранять расплавленный
металл от загрязнения газами и неметаллическими включениями. На участок заливки
форм расплавленный металл подается в разливочных ковшах различной вместимости.
Качество
отливок во многом зависит от соблюдения правил заливки. Металл в форму заливают
плавно, непрерывной струей до тех пор, пока он не покажется в выпорах и
прибылях. Температура заливки всегда выше температуры плавления сплава, однако,
перегрев его должен быть минимальным для обеспечения хорошего заполнения формы.
При слишком высокой температуре заливки происходит обильное газовыделение,
формовочная смесь пригорает к поверхности отливки, увеличивается ее усадка.
Контроль температуры заливаемого металла осуществляется оптическими пирометрами
или термопарами.
После
затвердевания и охлаждения до определенной температуры, при которой отливки
приобретают достаточную механическую прочность, производится выбивка их из
форм; стержни выбиваются позднее, после дополнительного охлаждения отливок.
Выбивка
отливок - одна из самых тяжелых операций литейного производства,
сопровождающаяся большими выделениями теплоты и пыли. По трудоемкости операции
выбивки, обрубки и очистки составляют 30 - 40 % от общей трудоемкости
изготовления отливок. Сущность процесса выбивки заключается в разрушении формы,
освобождении отливок от окружающей их формовочной земли. На рассматриваемом
нами предприятии, процесс выбивки механизирован и осуществляется на различных
вибрационных машинах, чаще всего, на встряхивающих решетках. Формовочная смесь
проваливается через решетку, попадает на ленточный конвейер и транспортируется
в формовочное отделение для повторного использования.
После
выбивки производится обрубка и очистка отливок. Обрубка заключается в отделении
от отливок прибылей, выпоров и заливов.
Обрубка
- тяжелая операция, трудно поддающаяся механизации. Ее производят с помощью
пневматических зубил, ленточных и дисковых пил, прессов, газовой резки.
Очистка
отливок, осуществляемая после обрубки, заключается в удалении пригара
формовочной земли (корки), окалины, мелких заусениц. Основная цель очистки -
уменьшение трудоемкости последующей механической обработки и снижение
интенсивности изнашивания режущего инструмента. Очистку отливок от пригоревшей
земли и окалины производят во вращающихся (галтовочных) барабанах, на
пескогидравлических и дробеметных аппаратах, а также химической и
электрохимической обработкой внутренних поверхностей отливок, труднодоступных
при других способах очистки.
Зачистка
мелких заусениц, неровностей, оставшихся после обрубки, производится на
переносных и стационарных шлифовальных станках крупнозернистыми абразивными
кругами. Перед отправкой в механические цехи стальные отливки обязательно
подвергаются термической обработке - отжигу или нормализации - для снятия
внутренних напряжений и измельчения зерна металла.
Брак
может возникать по различным причинам на всех стадиях литейного производства,
при этом бывает брак исправимый и неисправимый. Основными видами дефектов в
отливках являются: коробление; газовые, усадочные, земельные и шлаковые
раковины; трещины; недолив металла и спай; отбел поверхности (у чугунных
отливок). Поверхностные неглубокие дефекты устраняются заваркой, запрессовкой
(эпоксидными смолами), металлизацией. Коробление иногда можно исправить
правкой. Отбел ликвидируют дополнительным отжигом отливок.
При внутренних и глубоких наружных дефектах отливки отправляют на
переплавку. Годные отливки направляют в механические цехи для дальнейшей
обработки или на склад готовой продукции.
3. Безопасность
жизнедеятельности
.1
Характеристика опасных и вредных производственных факторов
ОАО «Сибинстрем» в своей структуре имеет ряд производств, среди которых
металлургическое, литейное, металлообрабатывающее, сборочное и сварочное
производства. С точки зрения безопасности жизнедеятельности наибольший интерес
для нас представляет литейное производство, так как оно является наиболее
вредным на предприятии.
Литейное производство завода (литейный цех) представлено двумя участками
- участок крупного и мелкого литья. Обеспечение безопасных условий труда
работников данного цеха является одним из важных условий, способствующих
высокой производительности труда. Выявим все опасные и вредные факторы процесса
термической обработки, которые могут привести к травмам и профессиональным
заболеваниям работников.
При термической обработке образуется повышенное тепловое излучение от
поверхностей оборудования, материалов, вследствие чего на ряд рабочих мест
воздействует повышенная интенсивность теплового потока.
В электрических дуговых печах используется повышенное значение
напряжения. В ряде случаев напряжение подается на нагревательные элементы,
расположенные в рабочем пространстве, без изоляции, поэтому не исключается
контакт работающего с токоведущими частями при загрузке, выгрузке изделий.
Футеровка электрических печей обычно выполняет функции электрической и тепловой
изоляции. При отсыревании, насыщении электропроводящими составами происходит
резкое снижение электрического сопротивления футеровки и возникает опасность
поражения током.
Опасность работы на электрических нагревательных печах обусловлена,
прежде всего, повышенным значением напряжения в электрических цепях.
Электротермическое оборудование имеет токоведущие части непосредственно в
рабочем пространстве и в ряде случаев без электрической изоляции. Поэтому
существует опасность прикосновения к токоведущим частям при загрузке (выгрузке)
нагреваемых деталей через изделие или инструмент. При неисправности может
возникнуть контакт токоведущих частей с металлическими частями электрической
печи.
Шум в термическом производстве создают работающие конвейерные и
толкательные печи, дробеструйные аппараты, газовые горелки нагревательных
печей, индукционные установки вследствие перемагничивания сердечников,
оборудование для правки деталей после термической обработки,
подъемно-транспортное и другое вспомогательное оборудование.
Технологические процессы термического производства характеризуются
постоянным присутствием опасных факторов: расплавленный металл, горючие газы,
пары и пыли, являющиеся потенциальными источниками взрывоопасности, а также
пожароопасности. Наиболее взрывоопасными газами, используемыми в термической
обработке, являются: водород, входящий в состав контролируемых атмосфер;
диссоциированный аммиак, эндотермический газ. Источниками взрывов и возгораний
могут быть масла, используемые при термической обработке. Наиболее опасна смесь
масло-кислород, когда масло при перегреве подвергается термическому разложению
и образуются углеводородные фракции. Условием возникновения такой смеси
является повышение температуры масла выше 147 оС. Углеводородные фракции при
смешивании с кислородом взрываются под влиянием различных импульсов (искры,
ударной волны и т.п.). Взрывоопасные ситуации возникают при отклонениях в
рабочих режимах технологических процессов термической обработки: при утечке
газа в тигельных печах; при перегреве (» 577 оС) в печах-ваннах расплавленной смеси калиевой и
натриевой селитры; при попадании сплавов магния, сажи, масла в ванну; при
смешивании несовместимых солей, попадании воды в соляные печи-ванны.
Рассчитаем величины опасных (вредных) факторов литейного производства,
результаты расчетов представим в таблицах 37 - 39.
Интенсивность теплового излучения рассчитывается по формулам (1) и (2):
для
случая, когда
(1)
для
случая, когда
(2)
где
F - площадь излучающей поверхности, м2;
Ти
- температура излучающей поверхности, К;
l - расстояние
от источника теплового излучения до рабочего места, м.
Таблица
33 - Интенсивность теплового излучения на рабочих местах литейного производства
|
Источник теплового
излучения
|
Температура излучающей
поверхности, tи, ◦С
|
Площадь излучающей
поверхности, F, м2
|
Расстояние от источника
излучения до рабочего места, l, м.
|
Интенсивность теплового
излучения на рабочем месте, qи,, Вт/м2
|
|
Шахтная печь «Вагранка»
(для плавки чугуна)
|
1400
|
3
|
4,5
|
32,32
|
|
Индукционная тигельная печь
|
1600
|
2,5
|
2
|
216,23
|
|
Дуговая электрическая печь
|
1800
|
3,5
|
4,5
|
139,31
|
|
Сифон для заливки жидкого
металла в форму
|
1450
|
0,65
|
3
|
16,72
|
Для расчета суммарного уровня звука при совместном действии двух разных
по интенсивности источников используют формулу (3):
(3)
где
Lб - больший из двух суммируемых уровней, дБ;
∆L -
добавка, дБ, причем, при расчетах можно пренебрегать источниками, уровни
которых на 10 дБ и более отличаются от уровня самого шумного источника.
Средний
уровень звукового давления определяют по формуле (4):
(4)
Таблица
34 - Суммарный уровень звука в литейном цехе
|
Источник шума
|
Уровень звука, дБ.
|
|
Автоматическая линия ХТС
(холодно-твердеющих смесей), L1
|
87
|
|
Подъемно-транспортное
оборудование, L2
|
75
|
|
Суммарный уровень звука, LΣ
|
87
|
|
Средний уровень звукового
давления, Lm, дБ.
|
84
|
Необходимое количество воздуха для литейного цеха предприятия рассчитаем
по формуле (5):
(5)
где
а - коэффициент, учитывающий высоту расположения оси приточных проемов от пола;
Qизб -
избыточные тепловыделения, ГДж/ч;
с
- теплоемкость воздуха, кДж/(кг*град);
р
- плотность воздуха, кг/м3;
tух -
температура воздуха, удаляемого из помещения, ◦С;
tn - расчетная
температура наружного воздуха, ◦С.
Для
расчета температуры воздуха, удаляемого из помещения, используем формулу (6):
(6)
где
tрз - допустимая температура воздуха рабочей зоны, ◦С;
m - коэффициент,
определяемый в зависимости от отношения пощади, занимаемой тепловыделяющим
оборудованием к площади помещения.
Кратность
воздухообмена К(1/ч), показывающую сколько раз в час меняется воздух в
помещении, вычисляют по формуле (7):
К = L / V (7)
где L - расход воздуха, м3/ч;
V -
объем помещения, м3
Таблица 35 - Воздухообмен необходимый для литейного цеха предприятия
|
Наименование показателя
|
Теплое время года
|
Переходный период года
|
Холодное время года
|
|
|
|
|
|
Коэффициент, учитывающий
высоту расположения оси приточных проемов от пола, a
|
1,2
|
|
Избыточное тепловыделение,
Qизб, ГДж/ч
|
18,1
|
|
Теплоемкость воздуха, с,
кДж/(кг*град)
|
1,005
|
|
Плотность воздуха, p, кг/м3
|
1,2
|
|
Температура воздуха,
удаляемого из помещения, tух, ◦С
|
28
|
19
|
4,8
|
|
Допустимая температура
воздуха рабочей зоны, tрз, ◦С
|
25
|
16
|
12
|
|
Коэффициент, определяемый в
зависимости от отношения площади, занимаемой тепловыделяющим оборудованием к
площади помещения, m
|
0,4
|
|
Расчетная температура
наружного воздуха, tн, ◦С
|
23
|
14
|
0
|
|
Количество воздуха, L, м3/ч
|
3 601 990
|
3 601 990
|
3 752 073
|
|
Объем помещения, V, м3
|
388 800
|
|
Кратность воздухообмена, К,
1/ч
|
9,26
|
9,26
|
9,7
|
Составим сводную таблицу 36 для сравнения величины опасных (вредных)
факторов с нормативом.
Таблица 36 - Анализ опасных (вредных) производственных факторов литейного
производства
|
Рабочее место или операция
технологического процесса
|
Наименование оборудования
|
Наименование опасного
(вредного) фактора
|
Единица измерения
|
Величина фактора
|
Норматив (безопасная
величина) со ссылкой на ГОСТ
|
|
|
|
|
|
|
|
Плавка металла
|
Шахтная печь вагранка
|
Тепловыделение
|
Вт/м2
|
235
|
348 (ГОСТ 12.1.005 - 02)
|
|
|
|
|
|
|
|
Плавка металла
|
Шахтная печь вагранка
|
Загазованность
|
Мг/м3
|
5,9
|
6 (ГОСТ 12.1.005 -02)
|
|
Плавка металла
|
Индукционная тигельная печь
|
Тепловыделение
|
Вт/м2
|
216,23
|
348 (ГОСТ 12.1.005 - 02)
|
|
|
|
|
|
|
|
Плавка металла
|
Индукционная тигельная печь
|
Электрический ток
|
мА
|
0,3
|
0,5 (ГОСТ 12.1.038 - 82)
|
|
Плавка металла
|
Дуговая электрическая печь
|
Тепловыделение
|
Вт/м2
|
139,31
|
348 (ГОСТ 12.1.005 - 02)
|
|
Плавка металла
|
Дуговая электрическая печь
|
Шум
|
дБ
|
88
|
85 (ГОСТ 12.1.003 - 02)
|
|
Плавка металла
|
Дуговая электрическая печь
|
Электрический ток
|
мА
|
0,9
|
0,5 (ГОСТ 12.1.038 - 82)
|
|
Плавка металла
|
Дуговая электрическая печь
|
Загазованность
|
Мг/м3
|
5,7
|
6 (ГОСТ 12.1.005 - 02)
|
|
Изготовление формы
|
Автоматическая линия ХТС
|
Шум
|
дБ
|
87
|
85 (ГОСТ 12.1.003 - 02)
|
|
Изготовление формы
|
Автоматическая линия ХТС
|
Электрический ток
|
мА
|
0,8
|
0,5 (ГОСТ 12.1.038 - 82)
|
|
Изготовление формы
|
Автоматическая линия ХТС
|
Вибрация
|
дБ
|
120
|
112 (ГОСТ 12.1.012 - 96)
|
|
Заливка жидкого металла в
форму
|
Сифон
|
Тепловыделение
|
Вт/м2
|
116,72
|
348 (ГОСТ 12.1.005 - 02)
|
|
Заливка жидкого металла в
форму
|
Сифон
|
Шум
|
дБ
|
84
|
85 (ГОСТ 12.1.003 - 02)
|
|
Заливка жидкого металла в
форму
|
Сифон
|
Вибрация
|
дБ
|
118
|
112 (ГОСТ 12.1.012 - 96)
|
|
Извлечение затвердевшей
отливки из формы
|
Подъемно-транспортное
оборудование
|
Шум
|
МГц
|
75
|
80 (ГОСТ 12.1.003 - 99)
|
|
Извлечение затвердевшей
отливки из формы
|
Подъемно-транспортное
оборудование
|
Запыленность
|
Мг/м3
|
5,7
|
6 (ГОСТ 12.1.005 - 02)
|
Таким
образом, в результате сравнения расчетных опасных (вредных) производственных
факторов литейного производства и нормативных значений этих же показателей,
согласно ГОСТам, можно сделать следующие выводы:
- Тепловое
излучение в шахтных печах «Вагранках», индукционных, дуговых электрических
печах и в сифоне (устройство для заливки жидкого металла в форму) соответствует
нормам, и его интенсивность (для глаз человека) попадает в область видимого
спектра.
- Уровень
шума, согласно нормативам, не должен превышать 85 дБ. В нашем же случае, при
изготовлении формы для литья с использованием автоматической линии ХТС (холодно
- твердеющих смесей), это значение равно 87 дБ, что выше нормы, подобная
картина наблюдается и при плавке металла в дуговой электрической печи - 88 дБ.
Однако при извлечении затвердевшей отливки из формы с помощью подъемно -
транспортного оборудования уровень шума составляет 75 дБ, а при заливке металла
- 84 дБ, что соответствует норме.
- Так же был рассчитан необходимый воздухообмен для литейного
цеха предприятия, согласно расчетам в разный период времени года необходимо
разное количество воздуха: так в летний период оно составляет 3 601 990 м3/ч, в
переходный период - 3 601 990 м3/ч, а зимой - 3 752 073 м3/ч, при этом
кратность воздухообмена, показывающая сколько раз в час меняется воздух в
помещении составляет 9,26; 9,26 и 9,7 раз/ч соответственно времени года.
Обобщая все выше сказанное, стоит отметить, что в литейном цехе
предприятия существуют отклонения от норм, которые следует устранять, претворяя
в жизнь комплекс мероприятий, направленных на улучшение условий
технологического процесса и охрану труда.
.2
Технические и организационные мероприятия по охране труда
Защита от теплового воздействия
Для защиты работающих от теплового воздействия используют различные
мероприятия:
- теплоизоляцию поверхностей, излучающих теплоту;
- теплоизоляцию и охлаждение рабочих мест;
- вентиляцию производственного помещения;
- распыление воды на рабочих местах;
- спецодежду и индивидуальные защитные приспособления (экраны,
очки, теплозащитные маски, фартуки, нарукавники из аллюминизированной ткани);
- рациональную организацию труда и отдыха;
- устраивают специальные места, комнаты отдыха; сокращают время
нахождения нагретого металла, шлака в производственном помещении.
Температура нагретых поверхностей ограждений на рабочих местах не должна
превышать 45 оС, а для оборудования, внутри которого температура равна или ниже
100 оС, температура на поверхности не должна превышать 35 оС. Если же по
техническим причинам невозможно достичь указанных температур, то должны быть
предусмотрены перечисленные выше мероприятия по защите работающих от перегрева.
Защита от вредного действия шума
Защита от вредного действия шума достигается снижением шума в источнике,
рациональной планировкой производственного помещения, звукопоглощением и
звукоизоляцией.
Рациональная планировка производственного помещения достигается
вынесением источников шума в отдельные помещения, увеличением расстояния от
рабочего места до источника, расположением источников шума с учетом направления
излучаемого шума (фактора направленности).
Для снижения шума в производственном помещении широко используют метод
звукопоглощения. В основе его лежит применение облицовки ограждающих
поверхностей материалом, поглощающим звук. При взаимодействии с ними звуковые
волны теряют часть энергии, которая затрачивается на колебания ограждений, а
часть звуковой энергии переходит в тепловую в порах облицовочного материала.
Электробезопасность
Электробезопасность работающих в производственных помещениях достигается
разнообразными техническими устройствами и организационными мероприятиями.
Защита работающих от прикосновения к токоведущим частям электроустановки
достигается ограждением токоведущих частей, расположением их на высоте,
применением электротехнических защитных средств.
Ограждение токоведущих частей может быть сплошным или сетчатым. Сплошные
ограждения устанавливаются в том случае, если около электроустановок могут
находиться работники, непосредственно не связанные с эксплуатацией
электроустановок. Сетчатые ограждения используют в помещениях и на открытых
площадках, высота их должна быть соответственно не менее 1,7 и 2,0 м.
Высота расположения токоведущих частей определяется величиной напряжения
в сети. Так, воздушная электрическая сеть на территории предприятия выполняется
на высоте не менее 6 м при напряжении до 1000 В и не менее 7 м при напряжении
свыше 1000 В до 10кВ. Внутри помещения токоведущие открытые части располагают
на высоте не менее 3,5 м, а в распределительных устройствах на высоте не менее
2,5 м.
Для обеспечения электробезопасности работающих на электроустановках
используют электротехнические защитные средства: изолирующие, ограждающие и
вспомогательные. Изолирующие защитные средства подразделяются на основные и
дополнительные.
Основные средства служат для защиты от электротравмы при работе на
токоведущих частях, дополнительные - предназначены для усиления основных
средств - таблица 37.
Таблица 37 - Электротехнические защитные средства
|
Защитные изолирующие
средства
|
Для напряжения
|
|
до 1000 В
|
свыше 1000 В
|
|
Основные
|
Диэлектрические перчатки,
инструмент с изолированными ручками, токоискатели
|
Изолирующие штанги,
указатель напряжения, изолирующие клещи
|
|
Дополнительные
|
Диэлектрические галоши,
боты, коврики, изолирующие подставки
|
Диэлектрические перчатки,
галоши, боты, коврики, инструмент с изолированными ручками, изолирующие
подставки
|
Изолирующие штанги используют при работах под напряжением с
разъединителями высокого напряжения при наложении переносного заземления.
Изолирующие клещи применяют при замене предохранителей.
Ограждающие защитные средства используют для временного ограждения
токоведущих частей. К ним относятся щиты и клети, устанавливаемые около
токоведущих частей, изолирующие накладки, переносное заземление. Переносное
заземление подсоединяется к заземляющему контуру и накладывается на фазы
отключенной электрической сети. Используются также плакаты разрешающие,
предупреждающие и запрещающие: «Работать здесь!», «Стой! Напряжение!», «Не
включать, работают люди!».
К вспомогательным защитным средствам относятся средства защиты от
световых, тепловых и механических воздействий (очки, противогаз, рукавицы,
спецодежда и т.п.).
Взрывобезопасность
Взрывобезопасность в термическом производстве достигается обеспечением
взрывопредупреждения, взрывозащитой и организационно-техническими
мероприятиями.
Для предупреждения взрыва не должно допускаться образование взрывоопасной
среды: смеси горючих газов, паров, пыли с воздухом и другими окислителями. С
этой целью применяется рабочая и аварийная вентиляция в местах, где возможно
образование взрывоопасной смеси. Должен систематически осуществляться контроль
герметичности газопроводов, запорной арматуры, термического оборудования.
Состав воздушной среды, отложение взрывоопасной пыли в дробеструйных аппаратах,
содержание воды в закалочном масле должны контролироваться.
Взрывопредупреждение достигается предотвращением появления источника
взрыва (открытого пламени, электрического разряда, искры и др.). Для этого
необходимо строго соблюдать регламент огневых работ, режим нагрева
оборудования, использовать инструмент, не образующий искры, взрывозащищенное
оборудование.
Защита работающих от опасных факторов взрыва обеспечивается применением
оборудования, рассчитанного на давление взрыва, гидрозатворов,
огнепреградителей, газовых завес, отсечных и обратных клапанов, средств
предупредительной сигнализации.
Помимо указанных, в термическом производстве должны осуществляться
организационные меры обеспечения взрывобезопасности: разработка инструкций,
норм обращения с взрывоопасными материалами, обучение персонала, контроль за
соблюдением правил безопасности и др.
Мероприятия по пожарной безопасности
Литейный цех ОАО «Сибинстрем» принадлежит к категории «Г» по пожарной
безопасности. Пожарная безопасность процесса термической обработки достигается
разработкой мероприятий двух типов: исключением возникновения источников
загорания (импульсов воспламенения) и предупреждением в технологическом
процессе образования и попадания горючей смеси в зону источника загорания.
Кроме того, выявляют аварийные пожарные ситуации при эксплуатации
оборудования и разрабатывают меры по их предупреждению; устраивают постоянную
естественную вентиляцию, обеспечивающую необходимый воздухообмен; устраивают
гидрозатворы для предотвращения утечки горючих газов и распространения огня;
устраивают полную герметизацию коммуникаций для транспортировки и хранения
горючего; строго соблюдают технологию ремонтных работ, исключают одновременное
проведение несовместимых пожароопасных работ.
Для предотвращения распространения пожара:
- предусматриваются дренчерные и спринклерные устройства для
автоматического тушения пожаров водой;
- после окончания ремонтных работ ликвидируются проливы масла и других
горючих веществ, убирается мусор, детали и инструмент;
- технологическое оборудование перед ремонтом очищается от
смазки, мусора, остатков сырья, используемого при термической обработке;
- используются первичные средства пожаротушения: огнетушители,
сыпучие материалы (песок, грунт и т.д.), немеханизированный инструмент (багры,
лопаты, топоры и др.), внутренний пожарный кран, куда входит запорный вентиль с
соединительной головкой, напорный пожарный рукав с присоединенным к нему
пожарным стволом.
В цехе осуществляется систематический надзор за соблюдением мер пожарной
безопасности, наличием и исправным состоянием противопожарного инвентаря и
первичных средств пожаротушения.
Отобразим основные мероприятия по защите от опасных и вредных
производственных факторов в таблице 38.
Таблица 38 - Технические и организационные мероприятия по охране труда в
термическом производстве
|
Опасный (вредный)
производственный фактор
|
Мероприятия по охране труда
|
|
Избыточная теплота
|
теплоизоляция
поверхностей, излучающих теплоту; теплоизоляция и охлаждение рабочих
мест; вентиляция производственного помещения; распыление
воды на рабочих местах; спецодежда и индивидуальные защитные
приспособления; рациональная организация труда и отдыха
|
|
Шум
|
снижение шума в
источнике; рациональная планировка производственного помещения;
звукопоглощение и звукоизоляция средства индивидуальной защиты
|
|
Электротравматизм
|
ограждение
токоведущих частей; изолирующие, ограждающие и вспомогательные защитные
средства
|
|
Взрывоопасность
|
обеспечение
взрывопредупреждения обеспечение взрывозащиты обучение
персонала; контроль за соблюдением правил безопасности
|
|
Пожароопасность
|
постоянная
естественная вентиляция; установка гидрозатворов для предотвращения
утечки горючих газов и распространения огня;
|
Дадим характеристику средств защиты работающих в термическом производстве
(ГОСТ 12.4.011-89).
Основными средствами индивидуальной защиты при процессах термообработки
являются специальная одежда, респираторы, очки, специальная обувь, помимо этого
приспособления для защиты органов зрения, дыхания, слуха, лица, а также
различные мази и пасты для защиты кожных покровов.
Применение средств индивидуальной защиты является дополнением к основным
мероприятиям оздоровления условий труда, когда другими способами невозможно
предупредить действие опасных и вредных производственных факторов.
Для защиты органов зрения при работе у нагревательных печей используют
очки открытого типа 01, 07 со светофильтрами Д1.
От различной пыли и некоторых газов органы дыхания защищают с помощью
респираторов. Защита от вредных газов и паров достигается применением
противогазов. При работе в загазованной атмосфере с недостаточным содержанием
кислорода применяют кислородные изолирующие противогазы. При выполнении
ремонтных и аварийных работ на термическом оборудовании применяют изолирующие
костюмы шланговые и автономные в зависимости от системы подачи воздуха в
подкостюмное пространство.
Для защиты работающих от механических повреждений, воды и щелочей
применяют спецодежду (куртку и брюки).
Для защиты органов слуха используют противошумы (ГОСТ 12.4.051-87):
наушники, вкладыши, шлемы. Эффективность противошумов (в зависимости от частоты
шума) достигается: для наушников 5 - 35 дБ, для вкладышей 5 - 30 дБ, а для
шлемов 17 - 40 дБ.
В качестве обуви для защиты от повышенных температур используют
специальные валяные сапоги.
Организационные мероприятия
Организация работы по обеспечению безопасных условий труда, внедрению
новых средств и методов предупреждения производственного травматизма в литейном
цехе ОАО «Сибинстрем», возложена на отдел охраны труда и техники безопасности.
В целях охраны труда администрация проводит инструктаж рабочих и служащих
по технике безопасности, производственной санитарии, пожарной безопасности и
другим правилам охраны труда, организует работу по профессиональному отбору и
осуществляет постоянный контроль за соблюдением работниками всех требований
инструкций по охране труда.
Инструктаж и обучение правилам безопасных приемов и методов работы
организованы на предприятии в соответствии с ГОСТ-12.0.004-79.
Существует несколько видов инструктажа: вводный; первичный на рабочем
месте; повторный; внеплановый; текущий.
Для лиц, обслуживающих установки повышенной опасности, обучение и
проверка знаний проводятся в организациях Госгортехнадзора.
Вводный инструктаж проводится со всеми, поступающими на предприятие,
прибывшими в командировку. Инструктаж проводится в отделе техники безопасности
индивидуально либо в групповом порядке.
Первичный инструктаж проводится на рабочем месте. Проводит
непосредственно руководитель работ.
Повторный инструктаж проводится не реже одного раза за шесть месяцев с
целью восстановить в памяти основные требования охраны труда, данный вид
инструктажа проводится непосредственно руководителем работ.
Внеплановый инструктаж проводится руководителем работ в следующих
случаях: при длительном перерыве в работе; при изменении технологического
процесса и замене оборудования; при нарушениях, отмеченных комиссиями и другими
вышестоящими органами; при изменении правил техники безопасности.
Текущий инструктаж проводится перед выполнением особо опасных работ, на
которые требуется допуск.
Мероприятия по производственной санитарии
В здании литейного цеха имеются все необходимые вспомогательные
помещения, размещенные на двух этажах (кабинеты управленческого, технического и
вспомогательного персоналов, столовая, комната отдыха).
Здание оборудовано подъемно-транспортными механизмами, электроосвещением,
отоплением, водоснабжением, канализацией. Три пролета здания имеют с южной
стороны въездные ворота, а четвертый пролет - железнодорожный тупик, проходящий
внутри цеха. У западной стены цеха, расположен открытый склад площадью 3000 кв.
м, который оборудован железнодорожным тупиком и башенным краном.
Поверхность полов в производственных зданиях горизонтальная и ровная, без
порогов и выступов, материал пола - бетон, цвет светло-серый. Стены изготовлены
из бетона, цвет стен белый. Для обеспечения необходимой естественной
освещенности все остекленные поверхности очищают от копоти и пыли. Обогрев
стационарных рабочих мест в холодных зданиях цехов обеспечивается центральным
отоплением и приточной вентиляцией с подачей подогретого воздуха. Для
работающих в цехе созданы специальные бытовые помещения, полудуши и устройства
для охлаждения в помещениях отдыха на участках с интенсивным воздействием
тепла, также предусмотрены санузлы и умывальные.
Расчет естественного освещения
В литейном цехе используется боковое естественное освещение. Система
искусственного освещения представлена в виде локализованного освещения,
искусственное освещение составляет 75 лк.
Разряд зрительных работ относится к VIII классу, что соответствует характеристике зрительных
работ - общее наблюдение за ходом производственного процесса, а именно
периодическое при постоянном пребывании людей в помещении, в соответствии с
этим было выбрано табличное значение коэффициента естественной освещенности и
рассчитан нормативный коэффициент естественной освещенности: ен=0,2.
Расчет естественного освещения был проведен по формуле (8) (результаты
представлены в таблице 39):
(8)
где
ер - коэффициент естественной освещенности;- площадь окон, м 2;п - площадь
пола, , м 2;
- общий
коэффициент светопропускания;
r1 -
коэффициент, учитывающий влияние отраженного света при боковом освещении;
-
световая характеристика окна;
Кзд
- коэффициент, учитывающий затенение окон противостоящими зданиями;
Кз
- коэффициент запаса;п - площадь пола, м2.
Таблица
39 - Расчет естественного освещения
|
Показатели
|
Обозначение
|
Значение
|
|
Нормированный коэффициент
естественной освещенности
|
ен
|
0,2
|
|
19
|
|
Общий коэффициент
светопропускания
|
|
0,5
|
|
Коэффициент, учитывающий
влияние отраженного света при боковом освещении
|
r1
|
2,5
|
|
Коэффициент, учитывающий
затенение окон противостоящими зданиями
|
Кзд
|
1,4
|
|
Коэффициент запаса
|
Кз
|
1,3
|
|
Площадь окон, м2
|
So
|
724
|
|
Площадь пола, м2
|
Sп
|
10 800
|
|
Коэффициент естественной
освещенности
|
ер
|
0,24
|
Таким образом, расчетное значение коэффициента естественной освещенности
больше нормативного (ер = 0,24 > ен = 0,2).
3.3 Охрана
окружающей среды
Анализ загрязнений окружающей среды
Процессы термической обработки металлов сопровождаются образованием
большого количества вредных газов, пыли. Загрязнение воздушного бассейна
отрицательно влияет на здоровье людей, приводит к гибели животных и
растительных организмов.
В термическом производстве при нагреве в контролируемых атмосферах,
термообработке в соляных ваннах, при дегазации выделяются вредные газы.
Перечень веществ, содержащихся в выбросах литейного производства, приведен в
таблице 40.
Таблица 40 - Выбросы в атмосферу при литейном производстве
|
Наименование загрязняющих
веществ
|
ПДВ,
|
Фактический выброс, т/год
|
|
Пыль нетоксичная
|
225,66
|
184,5
|
|
Окись углерода
|
151,25
|
20,28
|
|
Сернистый газ
|
762,12
|
220,25
|
|
Газ
|
129,65
|
95,2
|
|
Пыль
|
182,96
|
112,2
|
|
Сточные воды
|
280
|
250
|
Из таблицы 40 видно, что все выбросы цеха в атмосферу не превышают
предельно допустимых значений.
Природоохранные мероприятия по защите атмосферы
Для уменьшения загрязнения атмосферы используют системы газоулавливания и
газоочистки. С этой целью регулируется состав контролируемой атмосферы,
заменяются технологические процессы с большим выделением газа. Газы очищают
абсорбционными, адсорбционными и каталитическими методами. Газы, отходящие от
термического оборудования, очищают в пылеуловителях, встроенных в оборудование
или выносных.
Вредные вещества должны выбрасываться в атмосферу так, чтобы их
содержание в приземном слое не превышало предельно допустимых концентраций.
Исходя из условия рассеяния вредных веществ в атмосфере рассчитывают высоту
выбросных труб. Кроме того, проводят ряд природоохранных мероприятий,
устанавливают пылеулавливающие установки, циклоны и прочее оборудование.
Вопросами, касающимися природоохранных мероприятий на ОАО «Сибинстрем»,
занимается отдел охраны окружающей среды.
Основными задачами данного подразделения являются:
- организация и координация деятельности всех подразделений и
методическое руководство по охране окружающей среды на заводе;
- обеспечение выполнения норм и требований, ограничивающих
вредное воздействие процессов производства на окружающую среду;
- обеспечение надежной, экономичной и безопасной работы
очистных установок, сооружений и вентиляционных систем;
- экономия топливно-энергетических, материальных и сырьевых
ресурсов; сокращение водопотребления и водоотведения;
- рациональное использование природных ресурсов, восстановление
нарушенных земель.
В соответствии с вышеперечисленными задачами отдел охраны окружающей
среды выполняет следующие функции:
- разрабатывает и доводит до подразделений годовые и перспективные планы по
охране и рациональному использованию водных ресурсов, земель охране воздушного
бассейна, использованию и размещению отходов производства;
- организует разработку планов и мероприятий по рациональному
использованию природных ресурсов, уменьшению выбросов (сбросов) загрязняющих
веществ в окружающую среду, организации санитарно-защитной зоны вокруг завода,
переработке и использованию отходов производства, вторичных материалов и
выбросов;
- организует систематический контроль за качеством сточных вод,
газовых и загрязненных вентиляционных выбросов, твердых и жидких отходов, за
работой установок пылегазоводоочистки, сооружений для размещения и захоронения
отходов производства, а также за состоянием атмосферы в санитарно-защитной
зоне;
- рассматривает и согласовывает схемы контроля и планы-графики
проведения замеров и анализов выбросов в окружающую среду и отходов
производства;
- участвует в разработке норм образования отходов производства,
подготавливает предложения по их снижению и т.д.
4. Снижение
затрат на основе повышения качества производственного процесса
.1
Направления улучшения качества производственного процесса
Любая организация заинтересована научиться делать то, что она делает,
дешевле, чем конкуренты. Снижать себестоимость продукции выгодно предприятию,
даже если оно не делает ставку на ценовую конкуренцию. Увеличенная разница
между выручкой от продаж и затратами может быть направлена на развитие бизнеса,
разработку новых проектов, стимулирование развития поставщиков или увеличение
фонда оплаты труда, не говоря о том, что в случае более низкой себестоимости
организация может без ущерба для себя (не снижая уровень рентабельности по
сравнению с конкурентами) вступать в ценовую конкуренцию. И в этом случае
процессное описание бизнеса оказывается полезным. Любые процесс, операция, в
конце концов, любое действие любого сотрудника связаны с затратами. Уровень
затрат, обусловленный выпуском определенной продукции, может быть различным, и
на него влияет не сам факт выпуска, а осуществление в связи с этим тех или иных
процессов тем или иным способом.
Связь затрат с процессами дает не только адекватное представление об их
динамике. Становится понятно: для того чтобы управлять затратами, надо
управлять действиями, непрерывно искать источники потерь и резервы повышения
качества производственного процесса. При этом взгляд на деятельность
организации как на совокупность взаимосвязанных процессов позволяет по-иному
расставить акценты. Повышение качества производственного процесса достижимо за
счет снижения затрат. Все затраты принципиально можно разделить на два вида:
производительные и непроизводительные.
К производительным относятся затраты, которые добавляют ценность конечному
продукту в глазах потребителя, к непроизводительным - затраты, которые такой
ценности продукту не добавляют.
Грань между первыми и вторыми очень тонка. Например, к какому виду затрат
следует отнести зарплату основных производственных рабочих? На первый взгляд -
к производительным, ведь рабочим платят за выпущенную продукцию. Но в случае,
когда выплата осуществлена за простой по вине работодателя, производительными
соответствующие затраты признать нельзя. Более того, и в ситуации, когда
рабочие трудятся не покладая рук, но по причине насыщенности рынка продукцию
никто не покупает, затраты также будут непроизводительными.
Вид затрат определяет общую стратегию снижения издержек в период кризиса.
Так, производительные затраты следует сокращать пропорционально прогнозируемому
падению продаж продукции. Например, если ожидается снижение объема производства
на 30%, то и объем закупок сырья и комплектующих необходимо уменьшать примерно
на столько же (с учетом текущих запасов на складе).
А вот от непроизводительных затрат нужно стремиться избавиться полностью.
Причем делать это имеет смысл независимо от наступления кризиса и степени его
влияния на ситуацию в бизнесе, поскольку терять деньги всегда неприятно.
В рамках непроизводительных затрат, в свою очередь, можно выделить
несколько групп (рисунок 35).
Кратко охарактеризуем каждую из них:
Затраты, вызванные перепроизводством продукции. Суть проблемы раскрывает
одна фраза: «Производим больше, чем можем продать». К перепроизводству приводят
недостатки планирования выпуска продукции, неадекватное понимание потребностей
клиентов, большие производственные заделы. В результате затрачивается масса
ресурсов, времени и т.д. (что в конечном итоге приводит к денежным издержкам),
а отдачи (выручки) нет.
Затраты, обусловленные дефектами и переделкой. Дефекты и переделка, то
есть неисправимый и исправимый брак, вредны с точки зрения порождения
непроизводительных затрат по той же причине - на них тратятся ресурсы, а отдача
отсутствует (либо она - в случае исправимого брака - относительно небольшая).
Затраты, связанные с излишним передвижением и перемещением материалов,
деталей, инструмента, обусловленные их нерациональным расположением. Простые
примеры: рабочий вынужден идти за получением нужного инструмента в подсобное
помещение, вместо того чтобы протянуть руку и взять его со стоящего рядом
стеллажа; заготовки постоянно перекладывают из одного конца цеха в другой, а не
перемещают их последовательно на минимальное расстояние между участками. Такие
передвижения и перемещения не добавляют ценности конечному продукту и,
следовательно, просто бесполезны.
Затраты, обусловленные наличием запасов. Излишние запасы «омертвляют»
оборотный капитал, а также требуют дополнительных расходов на хранение. Причиной
их возникновения являются недостатки планирования потребностей, тяготение к
закупке «про запас», наличие «неликвидов». Например, в одной компании
планировалось создать подсобное приусадебное хозяйство, для чего был приобретен
соответствующий инвентарь, но проект был заморожен, и немалые запасы лежали на
складах компании в течение длительного времени.
Затраты, вызванные проведением излишней обработки. Последняя означает
добавление продукции таких свойств и качеств, которые не востребованы
потребителем и за которые он не готов платить. Скажем, зачем продавать
позолоченные чайники, если и в обычных можно прекрасно вскипятить воду? Пример,
конечно, весьма условный, но суть проблемы передает.
Затраты, связанные с ожиданием, то есть, по сути, с простоями в работе.
Простои для предприятия - это недополученная прибыль. Они возникают по
различным причинам, таким как необязательность внешних и внутренних
поставщиков, длительные переналадки оборудования, ремонтные работы на
оборудовании, некачественное планирование загрузки производственных мощностей и
т.д.
Для устранения или минимизации каждого из перечисленных видов
непроизводительных затрат применяются различные методы в зависимости от причины
возникновения потерь. Подходы к сокращению непроизводительных затрат представлены
в таблице 41.
Таблица 41 - Подходы к сокращению непроизводительных затрат
|
Вид непроизводительных
затрат
|
Способы сокращения потерь
|
|
Перепроизводство продукции
|
1. Улучшение качества
планирования производства. 2. Применение модели «вытягивающего» производства.
3. Сокращение времени на наладку и переналадку производственных линий. 4.
Проведение исследования потенциального спроса.
|
|
Дефекты и переделка
|
1. Внедрение систем «защиты
от дурака», не позволяющих совершить действия, ухудшающие качество готовой
продукции. Это может быть датчик, останавливающий производственную линию при
обнаружении брака, или же посадочные гнезда деталей, расположенные таким
образом, чтобы невозможно было перепутать порядок сборки изделия. 2.
Внедрение систем контроля за выполнением операций.
|
|
Излишнее передвижение и
перемещение материалов, деталей, инструмента
|
1. Оптимизация перемещения
материалов, деталей, инструмента в производственных процессах. 2.
Рациональная организация рабочих мест, производственных линий, расположения
мест хранения.
|
|
Запасы
|
1. Оптимизация планирования
запасов. 2. Применение методики «Точно в срок», внедрение системы «Канбан».
|
|
Излишняя обработка
|
1. Изменение
потребительских свойств продукта, технологии производства и т.п.
|
|
Ожидание
|
1. Выравнивание загрузки
производственных линий, синхронизация процессов.
|
Стоит заметить, что если управление качеством на предприятии нацелено
только на обнаружение дефектов, то такое предприятие можно смело назвать
«фабрикой по производству дефектов», а дефекты являются неотъемлемой частью,
результатом управленческой деятельности. Дефекты нужны, чтобы управлять
компанией! Для поиска дефектов на предприятиях существуют подразделения, и
наличие дефектов является обоснованием их существования. Не будет дефектов, не
будет и подразделений. Поэтому контролирующие подразделения заинтересованы в
наличии дефектов. Управление, основанное только на обнаружении дефектов,
позволяет снизить дефектность продукции до уровня 0,1-10% в зависимости от
специфики производства.
Управление на основе предупреждения ошибок приходит на смену другому
принципу - «управление на основе обнаружения ошибок», являющемуся основным в
менеджменте наших предприятий. Если разложить принцип «управление на основе
обнаружения» по классическому циклу PDCA - рисунок 36, то ключевой является
стадия CHECK, все начинается с нее:- обнаружение дефекта или ошибки.- поиск
виновного или ответственного за появление причины дефекта.- разработка приказа
о наказании виновного или корректирующих мер по устранению причины.- наказание виновного,
реализация корректирующих мер и полное бездействие до обнаружения следующего
дефекта или ошибки.
Рисунок 36 - Цикл PDCA
Что касается ориентации на потребителя, то все, чего можно достичь,
опираясь на принцип обнаружения дефектов, это снижение уровня
неудовлетворенности клиентов, потому что отсутствие дефектов не означает
удовлетворенность потребителя. О повышении удовлетворенности не может быть и
речи.
Объектом управления наших компаний по-прежнему остается фактический
уровень дефектности, зарубежные компании управляют рисками появления дефектов.
Каким образом можно избежать изготовления дефектных изделий? Для этого надо
сосредоточить внимание не на дефектах, а на причинах их появления.
На этапах проектирования продукции и подготовки производства надо
рассмотреть возможные дефекты и их потенциальные причины. Часть потенциальных
причин удастся исключить за счет изменения продукции и технологического
процесса. Для тех причин, которые не будут исключены, нужно разработать меры по
их обнаружению в процессе производства и устранению до появления дефектных
изделий.
.2 Классификация
причин брака на ОАО «Сибинстрем»
Одной из главных причин снижения качества является высокая доля
бракованной продукции. Однако не верно мнение о том, что необходимо искать
виновных лиц, нужно найти недостатки в процессе, с помощью планирования предвидеть
возможные потери и постараться их избежать.
Рассмотрим основные причины брака на ОАО «Сибинстрем». Высока доля, так
называемого, «брака по вине исполнителя» и «брака из-за неисправности и сбоя
оборудования» - рисунок 37.
Рисунок 37 - Классификация причин брака
В последние годы доля брака по вине исполнителя снижается и это
обусловлено совершенствованием процесса, обнаружением недостатков и
своевременным принятием мер по их предотвращению.
Рассмотрим основные причины брака по вине работника:
1) Грязный металл попадает в плавильные печи - это может быть
обусловлено наличием неметаллических включений на поверхности металла,
например, остатков краски или грязи - в результате образуются пористости,
раковины. Подобных недостатков можно избежать, если на предприятии будут лучше
работать подразделения, занимающиеся контролем качества, если рабочие будут
более бережно и внимательно относиться к процессу производства.
2) При заливке металла в форму неправильно задана скорость подачи
металла - вследствие чего, на поверхности отливки образуются пузыри. Это
технологическая ошибка, стандарты, написанные на предприятии, дано устарели,
требуется их постоянное обновление.
) Металл заливается в грязную форму - как следствие, появление
неметаллических включений на поверхности изделия. Это вина работника, который
некачественно приготовил форму к производственному процессу и контролера,
находящегося в цехе, который упустил данную ошибку.
) Нарушение целостности формы при подготовке к заливке метала,
например, при установке газоотводов в опоки может произойти обрушение
песчано-глинистой смеси, находящейся внутри опоки. Результат - нарушение
нешнего контура изделия. Это может быть вызвано некачественным составом смеси,
который чаще всего изготавливает специальная формовочная линия ХТС, либо
неаккуратностью рабочего.
Здесь перечислены основные причины брака по вине рабочего, многие из
которых, при грамотном планировании и предупреждении, можно избежать.
Брак «из-за неисправности и сбоя оборудования» возникает по следующим
причинам:
1) Нарушение подачи воздуха в фурменную коробку происходит из-за
сбоя работы вентилятора или засора фурменной коробки, что приводит к
недостаточно высокой температуре плавления металла, вследствие чего, нарушаются
прочностные свойства готовой продукции (гибкость, хрупкость и т. д.).
2) Загрязнение жидкого металла шлаками происходит из-за засора
клапана для слива шлака его же остатками, вследствие чего образуются раковины и
неметаллические включения.
) Нарушение концентрации составляющих песчано-глинистой смеси (на
линии ХТС) происходит из-за сбоя работы конвейера, технической неисправности
его механизмов. Вследствие чего, смесь не соответствует технологическим нормам:
более сыпучая, в случае если, песка больше установленной нормы, более вязкая -
если глины больше нормы.
) Выход из строя оптического пирометра или термопара приводит к
увеличению температуры заливки металла, вследствие чего, происходит обильное
газовыделение, формовочная смесь пригорает к поверхности отливки, увеличивается
усадка.
Одним из мероприятий по снижению брака из-за неисправности оборудования,
является реконструкция уже установленного в литейном цехе оборудования для
плавки чугуна, это позволит решить ряд выше перечисленных проблем. Для этого
более подробно рассмотрим технологическую сторону процесса.
.3
Экономическая эффективность совершенствования процесса чугунного литья
Наибольшая доля в объеме производства литья приходиться на чугунное литье
и наибольшее количество забракованного литья - это чугунное литье (49 646,61
тыс. руб.), которое получают на предприятии путем плавки в печах:
- вагранка (2 печи);
- индукционные печи (ИТЧ 2,3/2,5 и ИСТ 0,16);
- дуговая печь (Дс 0,5/1).
Наибольший процент брака по печам приходится на шахтную печь вагранку -
55 % (от общей стоимости всей бракованной чугунной продукции) или 27 305,64
тыс. руб., по дуговой электропечи Дс 0,5/1 это значение равно 18 % или 8 936,
39 тыс. руб., по индукционным печам - 27 % или 13 404,58 тыс. руб. Все случаи
зарегистрированного брака при производстве чугуна произошли по двум основным
причинам:
- по вине работника - 54 %;
- из-за неисправности и сбоя оборудования - 35 % (по данным
анализа - таблица 32).
Так как динамика брака, представленная на рисунке 30, показывает нам, что
доля брака по вине работника снижается, а доля брака из-за неисправности и сбоя
оборудования возрастает, тогда рассмотрим причины увеличивающейся доли
бракованной продукции. Причины брака из-за неисправности и сбоя оборудования
представлены в виде диаграммы Парето на рисунке 38.
Рисунок 38 - Причины брака из-за неисправности и сбоя оборудования
Таким образом, получаем, что наибольшее количество зарегистрированных
случаев брака из-за неисправности и сбоя оборудования наблюдается по причине
нарушения подачи воздуха в фурменную коробку (45 %). Данная ситуация характерна
лишь для шахтных печей вагранок, которых цехе установлено две.
Стоит отметить, что вагранка, используется и как самостоятельное
оборудование для плавки металла, и как вспомогательное для подогрева металла до
нужной температуры и передачи его по разливочным каналам в электродуговую печь
Дс 0,5/1. Таким образом, нарушение подачи воздуха в фурменную коробку приводит,
в конечном итоге, к браку в печах вагранка (2 печи) и дуговой электрической
печи Дс 0,5/1 (1 печь).
Кроме того, для вагранки характерна еще одна из причин брака из-за
неисправности и сбоя оборудования - это засор канала для слива шлака, на долю
которой приходится 19 %.
Исходя из данных анализа, можно рассчитать общий объем забракованной
продукции. По данным таблицы 29 на долю забракованной продукции приходится
41,25 % от общего объема производства литейной продукции. Тогда стоимость
забракованной продукции составит:
С з .п. = (Ст. п. * % брака)/100 (9)
где Ст. п. - стоимость товарной продукции, тыс. руб.,
%брака - доля забракованной продукции, %.
С з. п. = (213 647 *41,25)/100 = 88 137,49 тыс. руб.
Согласно данным таблицы 29, на долю стального литья приходиться 43,67 %
от общего объема забракованной продукции, а на долю чугунного литья - 56,33 %.
Тогда, определим стоимость забракованной чугунной и стальной продукции.
С з. ст. п. = (С з. п. * % ст. брака)/100 (10)
где Сз. ст. п. - стоимость забракованной стальной продукции, тыс. руб.,
%ст. брака - доля забракованной стальной продукции, %.
С з. ст. п. = (88 137,49 * 43,67)/100 = 38 490,88 тыс. руб.
С з. ч. п. = (С з. п. * % ч. брака)/100 (11)
где Сз. ст. п. - стоимость забракованной чугунной продукции, тыс. руб.,
%ч. брака - доля забракованной чугунной продукции, %.
С з. ч. п. = (88 137,49 * 56,33)/100 = 49 646,61 тыс. руб.
Доля забракованной чугунной продукции для каждой из печей, используемых
на предприятии, представлена в таблице 30. Согласно данным этой таблицы
рассчитаем стоимость забракованной продукции, которую производит каждая из
печей.
С з. ч. п. В. = (С з. ч. п. * %брака В)/100 (12)
где С з. ч. п. В. - стоимость забракованной чугунной продукции при плавке
металла в вагранке, тыс. руб.,
%брака В - доля забракованной чугунной продукции при плавке металла в
вагранке, %.
С з. ч. п. В. = (49 646,61 * 55)/100 = 27 305,64 тыс. руб.
С з. ч. п. Дс = (С з. ч. п. * %брака Дс)/100 (13)
где С з. ч. п. Дс - стоимость забракованной чугунной продукции при плавке
металла в дуговой электрической печи, тыс. руб.,
%брака Дс - доля забракованной чугунной продукции при плавке металла в
дуговой электрической печи, %.
С з. ч. п. Дс = (49 646,61 * 18)/100 = 8 936,39 тыс. руб.
С з. ч. п. ИТЧ = (С з. ч. п. * %брака ИТЧ)/100 (14)
где С з. ч. п. ИТЧ - стоимость забракованной чугунной продукции при
плавке металла в индукционной печи, тыс. руб.,
%брака ИТЧ - доля забракованной чугунной продукции при плавке металла в
индукционной печи, %.
С з. ч. п. ИТЧ = (49 646,61 * 27)/100 = 13 404,58 тыс. руб.
Обобщая все выше сказанное, получаем, что стоимость забракованной
продукции при плавке чугуна в печах вагранка и Дс 0,5/1 составляет 36 242,03
тыс. руб. (стоимость забракованной продукции при плавке в печах вагранка - 27
305,64 тыс. руб., в Дс 0,5/1 - 8 936,39 тыс. руб.). Брак, при плавке металла в
данных печах, происходит по двум основным причинам:
- Нарушение подачи воздуха в фурменную коробку.
Согласно
данным рисунка 38, доля брака по причине нарушения подачи воздуха в фурменную
коробку составляет 45 %, а доля брака по причине загрязнения жидкого металла
шлаками из-за засора канала для слива шлака - 19 %. Тогда суммарный процент
брака из-за перечисленных выше причин (по вине вагранки) составит 64 %. Таким
образом, на долю данной причины приходиться 70 % от стоимости забракованной
продукции при плавке чугуна в вагранке и Дс 0,5/1 (
).
- Засор канала для слива шлака.
На
долю этой причины приходиться 30 % от стоимости забракованной продукции при
плавке чугуна в вагранке и Дс 0,5/1.(
).
Одну
из причин можно решить с помощью реконструкции вагранки, а именно фурменной
коробки, в которую подается воздух.
Рассмотрим
более подробно, как проходит процесс плавки чугуна на предприятии в различных
печах, для того, чтобы технологически обосновать предлагаемое решение.
«Вагранка»
представляет собой шахтную печь, состоящую из стального кожуха, футерованную
шамотным кирпичом. «Вагранка» состоит из: опорной части, шахты, фурменного
устройства для подачи воздуха - дутья, копильника - специального отделения куда
скапливается металл, и дымовой трубы. В нижней части шахты есть два отверстия,
расположенных одно над другим - верхнее предназначено для слива жидкого чугуна,
нижнее - для шлака.
Процесс
плавки чугуна в «вагранке» может протекать непрерывно. Металлическую шихту,
кокс, известняк загружают через колосниковое окно, воздух для сжигания кокса
подается вентилятором через фурму. Расплавившийся металл каплями стекает вниз и
собирается в копильнике, после сбора определенного количества чугуна,
производят его слив в раздаточный ковш. По мере оседания шихты в шахте
производят её дозагрузку.
Дуговые
электрические печи для плавки чугуна на предприятии применяют, когда необходимо
получить высокий перегрев для выпуска высокопрочного и модифицированного чугуна
для тонкостенных отливок и отливок сложной конструкции. Дуговые электрические
печи работают на переменном токе промышленной частоты, порядка 50 Гц.
Расплавление металла происходит за счет тепла, выделяемого от горения
электрической дуги, возникающей между графитовыми электродами и шихтой. На
заводе используются печи марки Дс 0,5/1.
В
индукционных тигельных печах расплавление и нагрев металла происходит за счет
токов, которые индуцируются в шихте магнитным полем, создаваемым индукционной
катушкой. Эти печи используются для изготовления качественных марок ковкого
чугуна, при этом процесс плавления сначала происходит в «вагранке» или в
дуговой электрической печи, а затем расплав отправляют в индукционную печь, где
происходит его доводка до нужного химического состава и установленной
температуры. В литейном цехе предприятия используются такие индукционные
тигельные печи, как ИТЧ 2,3/2.5; ИТЧ 1; ИСТ 0,4; ИСТ 0,16.
Анализируя,
все описанные выше и применяемые на ОАО «Сибинстрем» способы плавки чугуна,
приходим к выводу, что ваграночный способ получения чугуна является самым
простым и поэтому наиболее распространенным. Конструкция, как плавильного
агрегата, так и вспомогательного оборудования очень проста и неприхотлива в
работе, но качество получаемого с вагранки жидкого металла бывает низким и
нестабильным. Температура выплавленного чугуна в пределах 1300-1350ОС,
термический КПД очень низкий из-за неполного сгорания окиси углерода (СО). И
как следствие низкого качества металла - низкое качество литья, повышенный
брак. Как показывают данные анализа, именно с этой проблемой столкнулось
предприятие в недавнем времени, доля брака заметно увеличивается.
С
целью снижения количества забракованной продукции необходимо провести
реконструкцию существующей вагранки, с помощью изменения способа подачи
дутьевого воздуха в плавильный пояс.
Вагранка
до реконструкции - рисунок 39 имеет три ряда фурм и общую фурменную коробку.
Второй и третий ряды фурм являются вспомогательными, имеют небольшую площадь
сечения и дают незначительный эффект, при этом они быстро зашлаковываются и
иногда вообще перестают функционировать. Воздух для горения кокса подается
только в нижний ряд фурм.
После
сгорания кокса раскаленные топочные газы поднимаются вверх по шахте, встречая
на своем пути кокс следующих завалок, и при высокой их (газов) температуре и
отсутствии кислорода происходит процесс восстановления:
СО2
+ С = 2СО (15)
В
итоге вместе с отходящими газами в атмосферу выбрасывается 15 20% СО, что ведет
к значительным потерям топлива и загрязнению окружающей среды вредными
выбросами.
В
новой конструкции вагранки - рисунок 40 предусмотрено два ряда фурм по пять
штук в каждом ряду, при этом оба ряда фурм имеют индивидуальные фурменные
коробки.
Воздух
от воздуходувки 1 по трубопроводу 2 подается к раздаточной коробке 3. После
раздаточной коробки воздух по отдельным воздуховодам 4 и 5 подается к фурменным
коробкам 6 и 7 и дальше в фурмы своего ряда. На воздуховодах 4 и 5 установлены
регуляторы потока (шибера) 8 и 9.
Высота
расположения нижнего ряда фурм от подины остается на прежнем уровне.
Высота
расположения верхнего ряда фурм имеет существенное значение, зависит от
диаметра шахты вагранки, полезной высоты шахты и установлена в данном
конкретном случае в 750 мм от оси нижнего ряда фурм. Общая площадь сечения фурм
равна 25% площади сечения шахты, вагранки, а верхний ряд фурм имеет общую
площадь сечения, равную 50% от общей площади сечения нижнего ряда фурм. Распределение
подачи воздуха по периметру плавильного пояса вагранки желательно иметь
равномерное.
Рисунок
39 - Вагранка - шахтная печь для плавки чугуна до реконструкции
Рисунок
40 - Вагранка - шахтная печь для плавки чугуна новой конструкции
Плавка
происходит у нижнего ряда фурм, топочные газы, частично остыв по пути вверх и
дойдя до верхнего ряда фурм, получают дополнительно кислород, продолжают
горение и СО почти полностью сгорает. Подогретые топочные газы, двигаясь дальше
вверх, отдают свое тепло шихте и шихта в зону плавления поступает в горячем
состоянии, что значительно повышает температуру расплава.
Количество
дутья в верхний ряд фурм необходимо регулировать в процессе плавки, не
допуская, чтобы вместе с газами начал гореть кокс, т.к. это приведет к
образованию второй зоны плавления и значительному снижению температуры
выплавленного металла. Недостаточное количество подаваемого воздуха не
обеспечит полного сгорания СО, кроме того, приведет к быстрому зашлаковыванию
фурм и вагранка будет работать как с одним рядом фурм.
После
проведения соответствующей подготовки реконструкция вагранки производится за
3-4 дня без остановки работы литейного производства. Внедрение вагранки с
вторичным дутьем позволяет повысить температуру выплавляемого металла на
30-60ОС, с самого начала плавки выводить вагранку на заданный температурный
режим, значительно улучшить качество литья. Изменяя соотношение количества
подаваемого воздуха в оба ряда фурм, возможно в значительных пределах
регулировать производительность вагранок.
При
одновременном повышении качества и температуры расплава годовая экономия кокса
составила около 110 т.
В
таблице 42 представлены сравнительные характеристики вагранки до и после
реконструкции.
экономический
эффективность планирование литейный цех
Таблица 42 - Сравнительные характеристики вагранки до и после
реконструкции
|
Технические показатели
|
До реконструкции вагранки
|
После реконструкции
вагранки
|
|
Качество жидкого сплава
|
Низкое и нестабильное
качество, повышенный брак
|
Высокое качество благодаря
заданному высокому температурному режиму
|
|
Температура выплавленного
чугуна
|
1300-1350оС
|
1330-1410оС
|
|
Выброс СО в атмосферу с
отходящими газами
|
15-20%, следовательно,
значительная потеря топлива и загрязнение окружающей среды
|
Практически 0%, не
наблюдается потери топлива, не приносит вред окружающей среде
|
|
Расположение и количество
фурм
|
3 ряда фурм с общей
фурменной коробкой , 2 и 3 ряды действуют лишь как вспомогательные, в
результате неоднородность расплава
|
2 ряда фурм по 5 штук в
каждом ряду, индивидуальные фурменные коробки, в результате однородный
расплав
|
Как видно из таблицы 42, вагранка с улучшенным характеристиками повысит
основные технические параметры выплавки чугуна, что в целом улучшит показатели
производительности литейного цеха, снизит брак и повысит качество продукции.
Исходные данные для расчета до и после реконструкции вагранки
представлены в таблице 43.
Таблица 43 - Исходные данные для расчета
|
Показатель
|
До реконструкции вагранки
|
После реконструкции
вагранки
|
Абсолютное отклонение
|
Относительное отклонение, %
|
|
Производство чугуна в год,
тн.
|
2914
|
2914
|
-
|
100
|
|
Расход кокса, тн./тн.
|
0,534
|
0,487
|
-0,047
|
8,8
|
|
Цена кокса, руб./т
|
3 240
|
3 240
|
-
|
100
|
|
Доля брака по вине
вагранки, %
|
70
|
45
|
25
|
35,71
|
Реконструкция вагранки приведет к снижению расхода кокса на 8,8%, и
повышению качества выплавляемого чугуна, доказательством чего может служить
снижение брака, при плавке чугуна в вагранке, на 25 %.
Экономию за счет снижения расхода кокса рассчитаем по формуле:
Эк = Qч*Цк*(Рк после - Рк до) (16)
где Qч - объем производства чугунной продукции,
тн,
Цк - цена кокса, руб.,
Рк. после - расход кокса после реконструкции вагранки, тн./тн.,
Рк. до - расход кокса до реконструкции вагранки, тн./тн.
Таким образом, получаем, что после реконструкции вагранки экономия в
литейном цехе за счет снижения расхода кокса составит:
Э = 914 * 3 240 * (0,487 - 0,534) = - 443 743, 92 руб.
Стоимость забракованного чугунного литья, при плавке металла в вагранке
по причине нарушения подачи воздуха в фурменную коробку, до реконструкции можно
рассчитать по формуле:
С з. ч. п. н. п. в. ДО = (ΣС з. ч. п. В Дс * % н. п. в. ДО)/100 (17)
где ΣС з .ч .п. В Дс - суммарная стоимость забракованной чугунной
продукции при плавке чугуна в вагранке и Дс 0,5/1, тыс. руб.,
% н. п. в. ДО - доля забракованной чугунной продукции при плавке металла
в вагранке по причине нарушения подачи воздуха в фурменную коробку до
реконструкции, %.
С з. ч. п. н. п. в. ДО = (36 242,03 * 70)/100 = 25 369,42 тыс. руб.
Стоимость забракованного чугунного литья при плавке металла в вагранке по
причине нарушения подачи воздуха в фурменную коробку после реконструкции
вагранки снижается на 25 % и составляет:
С з. ч. п. н. п. в. ПОСЛЕ = (Сз. ч. п. н. п. в. ДО * 0,25) - С з. ч. п.
н. п. в. ДО (18)
С з. ч. п. н. п. в. ПОСЛЕ = (25 369,42 * 0,25) - 25 369,42 = - 19 027,07
тыс. руб.
Экономию за счет снижения стоимости забракованной продукции рассчитаем
как разницу между стоимостью забракованной продукции после реконструкции
вагранки и до реконструкции вагранки:
Э с. з. п. = С з. ч. п. н. п. в. ПОСЛЕ - С з. ч. п. н. п. в. ДО (19)
Э с. з. .п = 19 027,07 - 25 369,42 = - 6 342,35 тыс. руб.
Тогда, общая экономия составит:
Э о = Э. к. + Э с. з. п. (20)
Э о = 443 743,92 + 6 342 350 = 6 786 093, 92 руб.
Затраты на осуществление данного мероприятия включают затраты на
изменение способа подачи дутьевого воздуха в плавильный пояс и составляют 77
000 руб. на реконструкцию одной печи - вагранки, общая сумма затрат на
реконструкцию двух печей вагранок в литейном цехе составит 154 000 руб.
В таблице 44 представлена смета затрат на осуществление реконструкции
вагранки.
Таблица 44 - Смета затрат на реконструкцию одной шахтной печи вагранки
|
Статьи затрат
|
Цена, руб.
|
Количество
|
Итого, руб.
|
|
Стоимость фурменной коробки
|
12 500
|
2
|
25 000
|
|
Стоимость фурмы
|
4 000
|
10
|
40 000
|
|
Затраты на монтаж и
демонтаж
|
12 000
|
-
|
12 000
|
|
Итого:
|
|
|
77 000
|
Средства на проведение данного мероприятия можно использовать из
нераспределенной прибыли, которая на конец 2008 года составила 14 028 тыс. руб.
Сведем результаты расчетов в таблицу 45.
Таблица 45 - Основные экономические показатели реконструкции
|
Показатель
|
Без реконструкции вагранки
|
С реконструкцией вагранки
|
Экономия
|
|
Затраты на кокс, тыс.
руб./год
|
5 041, 69
|
4 597, 94
|
- 443, 74
|
|
Стоимость забракованной
продукции, тыс.руб./год
|
25 369,42
|
19 027,07
|
- 6 342,35
|
|
Затраты на реконструкцию,
тыс. руб.
|
|
154, 00
|
-
|
|
Итого:
|
|
|
- 6 786,09
|
В результате проведенных расчетов получена экономия в размере 6 786, 09
тыс. руб., которая говорит о том, что при внесении грамотных, но относительно
не дорогостоящих изменений в технологический процесс можно получить
значительный эффект. Не дорогостоящая реконструкция вагранки привела к снижению
затрат, к снижению доли брака из-за неисправности и сбоя оборудования, то есть
при вложении небольшого капитала в реконструкцию был получен большой
экономический и технологический эффект.
5.
Планирование деятельности литейного цеха
.1
Формирование плана по выпуску и реализации продукции
В сложившихся на сегодняшний день условиях, достаточно сложно планировать
объемы выпуска и реализации продукции. Предприятию, прежде всего, приходиться
ориентироваться на планы своих главных потребителей: РУСАЛ, теплоэнергетические
станции, Бородинский угольный разрез (структура потребления представлена в
таблице 1), чьи показатели выпуска и реализации продукции так же снижаются в
условиях экономического кризиса. Ознакомимся с планами нашего главного
заказчика и потребителя компании РУСАЛ.
ОК РУСАЛ, начинает осуществление программы "Быть первым" -
комплекса мер, направленных на сокращение расходов, оптимизацию производства,
снижение себестоимости и укрепление позиции компании как самого эффективного
производителя алюминия. Данная программа нацелена на обеспечение дополнительной
конкурентоспособности РУСАЛа и его устойчивого функционирования в условиях
мирового экономического кризиса.
Алюминиевая отрасль за последние шесть месяцев ощутила резкий спад спроса
на свою продукцию. В конце прошлого года компания РУСАЛ, исходя из сложившейся
конъюнктуры, уже объявила о снижении объема производства алюминия на 180 тыс.
тонн. Однако, исходя из текущей ситуации на мировом рынке алюминия, а также в
целях снижения экологической нагрузки и сокращения издержек, РУСАЛ принял
решение об уменьшении объемов производства алюминия еще на 320 тыс. тонн. Общий
объем сокращений составит 500 тыс. тонн, что составляет 10 % и будет
осуществлен в 2009 году.
Таким образом, в связи со снижением объемов производства алюминия
компанией РУСАЛ, спрос на продукцию ОАО «Сибинстрем» значительно сократиться и
количество заказов снизиться не менее, чем на 10 %.
Объем заказов Бородинского угольного разреза на продукцию ОАО
«Сибинстрем» незначительно снизиться - на 2 %, это вызвано тем, что горное и
горнообогатительное оборудование имеет высокий процент износа и постоянно
нуждается в запасных частях и модернизации.
Ожидаемое сокращение потребления продукции ОАО «Сибинстрем»
теплоэнергетическими станциями составит не менее 7 %. Стоит отметить, что
финансовый кризис, как таковой, энергетической отрасли не коснулся,
теплоэнергетические станции ведут успешную политику по стабилизации своего
финансового состояния, экономят на расходах и увеличивают тарифы на свою
продукцию. Являясь потребителями нашего завода, все ТЭЦ города заказывают
преимущественно нестандартизированное оборудование, именно на этой статье
расходов многие из них экономят. Согласно заключенным договорам на изготовление
оборудования на 2009 год, объемы производства снизятся на 7 %.
Таким образом, выпуск продукции предприятия в совокупности снизиться на
19 %: на 10 % за счет компании РУСАЛ, на 7 % за сет теплоэнергетических станций
и на 2 % за счет Бородинского угольного разреза.
Доля литейной продукции в общем объеме производства останется без
изменения, так как динамика структуры выпуска продукции завода прошлых четырех
лет практически не изменилась.
Планируемый выпуск всей продукции ОАО «Сибинстрем» в натуральном
выражении на 2009 год представлен в таблице 46.
Таблица 46 - Планируемый выпуск продукции в натуральном выражении на 2009
год
|
Наименование
|
2008 год
|
2009 год
|
|
Объем, тн.
|
Удельный вес, %
|
Объем, тн.
|
Удельный вес, %
|
|
Литье чугунное
|
3597
|
22,08
|
2914
|
22,08
|
|
Литье стальное
|
3145
|
19,3
|
2547
|
19,3
|
|
Бронзовое литье
|
0
|
0
|
0
|
0
|
|
Металлоконструкции сварные
|
6606
|
40,54
|
5351
|
40,54
|
|
Инструмент режущий
|
20
|
0,12
|
16
|
0,12
|
|
Металлоконструкции прочие
|
1497
|
9,19
|
1213
|
9,19
|
|
Механизмы транспортирующие
|
14
|
0,09
|
12
|
0,09
|
1403
|
8,61
|
1136
|
8,61
|
|
Детали запасные
|
12
|
0,07
|
9
|
0,07
|
|
Итого:
|
16294
|
100
|
13198
|
100
|
Таким образом, планируемый объем производства продукции всего предприятия
составляет 13198 т/год, на долю литейной продукции приходиться 5461 т/год, в
том числе чугунное литье - 2914 т/год, стальное литье - 2547 т/год.
.2
Обоснование обеспеченности производственными мощностями
Сформированный план по выпуску продукции необходимо соотнести с
производственными мощностями, более подробно остановимся на литейном
производстве.
Определим производственную мощность оборудования для всего литейного
производства.
Производственную мощность оборудования можно определить по формуле:
М = А*Побор *Тэф (21)
где М - производственная мощность литейного цеха, тн/год;
А - количество единиц ведущего оборудования по технологическому процессу
каждого вида продукции, ед.;
Побор - производительность оборудования, тн/ч;
Тэф - эффективный фонд рабочего времени для оборудования, ч/год.
Определим эффективный фонд рабочего времени Тэф:
Тэф = Треж - Тпрост (22)
где Треж - режимный фонд времени, ч/год;
Тпрост - время простоев по плану, ч/год.
Режимный фонд времени можно рассчитать по формуле:
Треж = Драб * Тсм *Ксм (23)
где Драб - количество рабочих дней, дн.;
Тсм - продолжительность смены, ч.,;
Ксм - количество смен в сутках, ед.
Тпрост = (Треж *ПП)/100 (24)
где Пп - плановые простои, %
Таким образом, в результате расчетов получаем следующие показатели,
представленные в таблице 47:
Таблица 47 - Расчет режимного фонда рабочего времени
|
Обозначение
|
Показатели
|
Единца измерения
|
Значение
|
|
Драб
|
Количество рабочих дней
|
Дн.
|
247
|
|
Тсм
|
Продолжительность смены
|
ч.
|
12
|
|
Ксм
|
Количество смен в сутках
|
Ед.
|
2
|
|
Треж
|
Режимный фонд рабочего
времени
|
ч/год
|
5928
|
|
Пп
|
Плановые простои
|
%
|
5
|
|
Тпрост
|
Время простоев по плану
|
ч/год
|
296,5
|
|
Тэф
|
Эффективный фонд рабочего
времени
|
ч/год
|
5631,6
|
В литейном цехе на предприятии используются следующие виды оборудования:
Вагранка - шахтная печь для плавки чугуна - производительность 0,23
т/час;
ИТЧ 2,3/2,5 - производительность 0,25 т/час;
ИТЧ 1 - производительность 0,122 т/час;
ИСТ 0,4 - производительность 0,14 т/час;
ИСТ 0,16 - производительность 0,18 т/час;
Дс 0,5/1 - производительность 0,2 т/час;
ДСП 1,5 - производительность 0,13 т/час.
Каждый вид оборудования полностью, на все 100 % в течение года не
используется. В таблице 48 представлены мощности ведущего оборудования цеха,
степень загрузки мощностей и годовой объем производства на 2009 год.
Таблица - 48 Мощности оборудования и степень использования мощностей
|
Наименование оборудования
|
Эффективный фонд рабочего
времени, ч/год
|
Производительность
оборудования, т/ч
|
Мощность оборудования,
т/год
|
% использования оборудования
|
Годовой выпуск продукции,
тн.
|
|
|
|
|
|
|
|
|
|
|
|
|
|
Для плавки чугуна
|
Вагранка
|
5631,6
|
0,23
|
1295,27
|
60
|
777,16
|
|
Вагранка
|
5631,6
|
0,23
|
1295,27
|
60
|
777,16
|
|
ИТЧ 2,3/2,5
|
5631,6
|
0,25
|
1407,9
|
72
|
1013,69
|
|
ИСТ 0,16
|
5631,6
|
0,18
|
1013,69
|
11
|
111,51
|
|
Дс 0,5/1
|
5631,6
|
0,2
|
1126,32
|
56
|
630,74
|
|
Для плавки стали
|
Дс 0,5/1
|
5631,6
|
0,2
|
1126,32
|
73
|
822,21
|
|
ИСТ 0,16
|
5631,6
|
0,18
|
1013,69
|
69
|
699,44
|
|
ИСТ 0,4
|
5631,6
|
0,14
|
788,42
|
61
|
480,94
|
|
ИТЧ 1
|
5631,6
|
0,122
|
687,06
|
8,8
|
60,46
|
|
ДСП 1,5
|
5631,6
|
0,13
|
732,11
|
12
|
87,85
|
|
Итого:
|
|
|
10486
|
|
5461,17
|
В результате, произведенных расчетов, получаем, что производственная
мощность литейного производства предприятия намного больше объема производимой
продукции, следовательно, имеет место неполное использование оборудования,
недозагрузка мощностей, что, в свою очередь, приводит к завышенным издержкам на
производство продукции. Так при плавке чугуна одна из печей - ИСТ 0,16
(индукционная тигельная печь) загружена всего на 11 %, подобная картина
наблюдается и при плавке стали: ИТЧ 1 - 8,8 % (индукционная тигельная печь) и
ДСП 1,5 - 12 % (дуговая электропечь).
.3 План
материально-технического обеспечения производства
Разработаем план годового расхода материалов для
литейного производства - таблица 49, принимая во внимание нормы расхода
материалов и комплектующих изделий, а также цены на материальные ресурсы.
Таблица 49 - План годового расхода материалов для
литейного производства
|
Перечень материалов по
видам продукции
|
Норма расхода на единицу
продукции, %
|
Годовой выпуск, продукции,
т
|
Цена единицы материала, руб.
|
Годовой расход, т.
|
Общая стоимость в тыс. руб.
|
|
Чугунное литье
|
|
1.Сырье (основное сырье)
|
59,06
|
|
13200
|
1721,2
|
22719,8
|
|
2.Сырье (шихтовые
материалы)
|
8,66
|
|
18000
|
252,5
|
4545
|
|
3.Траспортно-заготовительные
расходы
|
2,95
|
|
93360
|
86
|
8028,96
|
|
4.Возвратные отходы - всего
|
3,48
|
|
8450
|
101,4
|
856,83
|
|
5.Вспомагательные материалы
|
8,67
|
|
18650
|
252,6
|
4710,99
|
|
|
- на технологию
|
4,39
|
|
6200
|
127,9
|
792,98
|
|
|
- на упаковку
|
1,55
|
|
4750
|
45,1
|
214,23
|
|
|
- на инструмент
|
2,73
|
|
7700
|
79,6
|
612,92
|
|
|
6.Электроэнергия на
технологию
|
8,28
|
|
14500
|
241,3
|
3498,85
|
|
|
- электроэнергия со стороны
|
5,2
|
|
6000
|
151,6
|
909,6
|
|
|
- передача электроэнергии
|
3,08
|
|
8500
|
89,7
|
762,45
|
|
|
7.Прочие виды энергии
|
6,5
|
|
12500
|
189,4
|
2367,5
|
|
|
- сжатый воздух
|
2,99
|
|
7500
|
87,1
|
653,25
|
|
|
- вода циркуляционная
|
3,51
|
|
5000
|
102,3
|
511,5
|
|
|
8.Тара
|
2,4
|
|
18660
|
69,8
|
1302,47
|
|
|
Итого
|
|
2914,2
|
|
2914,2
|
48030,4
|
|
|
Стальное литье
|
|
|
1.Сырье (основное сырье)
|
46,68
|
|
10300
|
1360,3
|
14011,1
|
|
|
2.Сырье (шихтовые
материалы)
|
9,45
|
|
17525
|
275,4
|
4826,39
|
|
|
3.Траспортно-заготовительные
расходы
|
2,5
|
|
93360
|
73
|
6815,28
|
|
|
4.Возвратные отходы - всего
|
3,86
|
|
8480
|
112,4
|
953,15
|
|
|
5.Вспомагательные материалы
|
8,64
|
|
18920
|
251,7
|
4762,16
|
|
|
- на технологию
|
3,97
|
|
6350
|
115,8
|
735,33
|
|
|
- на упаковку
|
2,01
|
|
4890
|
58,6
|
286,55
|
|
|
- на инструмент
|
2,65
|
|
7680
|
77,3
|
593,66
|
|
|
6.Электроэнергия на
технологию
|
6,91
|
|
15100
|
201,3
|
3039,63
|
|
|
- электроэнергия со стороны
|
4,52
|
|
6200
|
131,6
|
815,92
|
|
|
- передача электроэнергии
|
2,39
|
|
8900
|
69,7
|
620,33
|
|
|
7.Прочие виды энергии
|
6,82
|
|
12250
|
198,7
|
2434,08
|
|
|
- сжатый воздух
|
4,37
|
|
7300
|
127,4
|
930,02
|
|
|
- вода циркуляционная
|
2,45
|
|
4950
|
71,3
|
352,94
|
|
|
8.Тара
|
2,55
|
|
18000
|
74,2
|
1335,6
|
|
|
Итого
|
|
2547
|
|
2547
|
38177,4
|
|
|
Всего:
|
|
5461,2
|
|
5461,2
|
86207,8
|
|
|
|
|
|
|
|
|
|
|
|
|
|
Таким образом, годовой расход материалов на новый
спланированный годовой объем производства составит 86 207,81 тыс. руб., что
ниже предыдущего года на 42,83 %. Такое снижение стоимости материальных запасов
вызвано рядом причин: во-первых, значительно снизилась стоимость сырья, если в
прошлом году цена 1 т. чугуна была на уровне 15 340 руб., то на сегодняшний
день она составляет 13 200 руб./тн., и по прогнозам аналитиков будет снижаться
в течение года, подобная картина наблюдается и на рынке стали. Во-вторых,
реконструкция вагранки приведет к уменьшению расхода материалов (кокса) и
сокращению затрат на его покупку.
Кроме этого, необходимо учесть расходы на
производственные запасы ресурсов, которые рассчитываются по приведенным
формулам.
Производственные запасы рассчитываются по формуле:
, (25)
где
Дз - норма запасов материалов и комплектующих изделий, дн.;
Пдн.
- дневная потребность материалов в денежном выражении (или стоимость дневного
расхода материалов).
Дз
= 30 дн.
Зпр
= 30*14,96 = 448,8 руб./день.
Стоимость
дневного расхода материалов рассчитывается делением годового расхода материалов
на календарное количество дней в году:
(26)
где
Пгод - годовой расход материалов на конкретный вид продукции, руб./год,
согласно таблице 53.
Пдн
= 5461,2/365 = 14,96 руб./дн.
Запас
готовой продукции на складе предприятия (Згп) рассчитать по формуле:
, (27)
где
Дз - дни запаса готовой продукции, дн.;
ВПдгод
- годовой объем товарной продукции, в стоимостном выражении, руб.
Згп
= 30*86207,81/365 = 7085,57 тыс.руб./год.
.4 План по
труду и заработной плате
.4.1
Определение численности рабочих
В литейном цехе предусмотрен следующий график работы: по 12 часов в две
смены.
Расчет планового баланса рабочего времени представлен в таблице 50.
Таблица 50 - Плановый баланс рабочего времени для рабочих
|
Показатели
|
Непрерывная рабочая неделя,
12-ти часовая смена
|
|
Календарный фонд времени,
дни
|
365
|
|
Выходные и праздничные дни
по графику сменности, дни
|
118
|
|
Номинальный фонд рабочего
времени, дни
|
247
|
|
|
Отпуск, дни
|
36
|
|
Болезнь, дни
|
8
|
|
Эффективный фонд рабочего
времени, дни
|
203
|
|
Эффективный фонд рабочего
времени, час
|
2436
|
|
Коэффициент перехода от
штатной численности к списочной
|
1,2
|
Далее определим численность рабочих, расчет представлен в таблице 51.
Таблица 51 - Расчет численности рабочих
|
Профессия
|
Количество обслуживаемого
оборудования
|
Кол-во смен
|
Явочная численность в
смену, чел.
|
Штатная численность, чел.
|
Ксп
|
Списочная численность, чел.
|
|
|
|
|
|
|
|
|
Основные рабочие:
|
|
|
|
|
|
|
|
Мастер
|
10
|
1
|
4
|
4
|
1,2
|
4
|
|
Бригадир
|
5
|
4
|
4
|
4
|
1,2
|
16
|
|
Литейщики
|
5
|
4
|
30
|
32
|
1,2
|
128
|
|
Контролеры
|
-
|
4
|
8
|
8
|
|
32
|
|
Итого:
|
-
|
-
|
46
|
48
|
-
|
180
|
|
Вспомогательные рабочие:
|
|
|
|
|
|
|
|
Слесарь
|
10
|
4
|
4
|
4
|
1,2
|
16
|
|
Электрик
|
10
|
4
|
2
|
2
|
1,2
|
8
|
|
Уборщики производственных
помещений
|
-
|
4
|
13
|
16
|
1,2
|
64
|
|
Итого:
|
-
|
-
|
19
|
22
|
-
|
88
|
|
Всего:
|
-
|
-
|
65
|
70
|
-
|
268
|
Коэффициент перехода от штатного расписания к списочному равен:
Ксп = Тном /Тэф (28)
Численность руководителей, специалистов и служащих принимается в
соответствии со штатным расписанием.
Таблица 52 - Штатное расписание руководителей, специалистов и служащих
|
Должность
|
Количество человек
|
Оклад, руб./месс.
|
|
Начальник цеха
|
1
|
45 000
|
|
Инженер
|
2
|
23 000
|
|
Итого:
|
3
|
68 000
|
В результате проведенных расчетов получаем, что списочная численность работников
литейного производства составляет - 271 человек, из них основные рабочие -180
человек, вспомогательные рабочие - 88 человек, руководителей и специалистов - 3
человека, что ниже прошлого года на 15,05 %. Это снижение обусловлено
сокращение части промышленно-производственного персонала в связи со сложным
финансовым положением предприятия.
.4.2 Расчет
годового фонда оплаты труда
Исходными данными для расчетов являются: численность, работающих по
специальностям и профессиям, тарифные разряды и ставки рабочих, эффективный
фонд рабочего времени на одного рабочего, должностные оклады руководителей,
специалистов, служащих.
Различают основную и дополнительную заработную плату.
Основная заработная плата представляет собой оплату за фактически
отработанное время и включает в себя тарифный фонд, премиальные, доплаты за
работу в ночное время, в праздничные дни.
Тарифный фонд определяется по формуле, руб.:
Фт = Чсп*Сч*Тэф (29)
где Фт - тарифный фонд заработной платы, руб.;
Чсп - списочная численность рабочих, чел.;
Сч - часовая тарифная ставка соответствующего разряда, руб.;
Тэф - эффективный фонд рабочего времени по данным баланса рабочего
времени.
Премии основным рабочим устанавливают в размере 30 % к тарифному
заработку, вспомогательным рабочим - 15 %.
Доплата за вечернее время работы (с 18.00 до 22.00 часов) составит 20 %
от тарифной ставки за отработанное время, доплата за ночное время (с 22.00 до
6.00 часов) - 40 % от тарифной ставки за отработанное время. Отработанное время
определяют путем деления количества часов, приходящихся на вечернее или ночное
время, соответственно, к общему количеству отработанного времени за день или
сутки.
При режиме работы в две смены по 12 часов, как в литейном цехе на данном
предприятии, коэффициент доплаты за вечернее время рассчитывают как 4/24*0,2 =
0,033 доли ед., а за ночное время - 8/24*0,4 = 0,133 доли ед. Суммарный
коэффициент доплаты за вечернее и ночное время - 0,033 + 0,133 = 0,166 доли ед.
Оплата работы в праздничные дни установлена в размере двойной тарифной
ставки, поэтому коэффициент доплаты за эти дни, при непрерывном режиме работы,
составит 12/365 = 0,03.
Районный коэффициент и северная надбавку принимают соответственно данному
району.
Результаты расчетов сводятся в таблицу 53.
Эффективный годовой фонд мастера, бригадира, литейщика, контролера,
слесаря, уборщика производственных помещений и электрика рассчитывается, как
сумма всех отработанных им часов за год. Весь перечисленный персонал работает в
цехе в две смены по 11 часов в день (фактически отработано 12 часов, но
табелируется 11 часов, за минусом одного часа обеда). График работы - три дня
рабочих, три выходных. Таким образом, получаем: 1994 часов в год. Начальник
цеха, инженер работают 247 дней в году по 8 часов в день. Их эффективный фонд
рабочего времени составляет - 1976 часов в год.
В результате расчетов получили, что годовой фонд оплаты труда работников
литейного производства составил 64 684,14 тыс. руб., что ниже прошлого года на
26,4 %, среднемесячная заработная плата одного работающего - 19 890 руб.,
среднемесячная заработная плата одного основного рабочего - 22 096,38 руб.,
вспомогательного - 14 764,17 руб.
Таблица 53 - Годовой фонд заработной платы рабочих, руб
|
Профессия
|
Списочная численность, чел.
|
Часовая тарифная ставка,
руб.
|
Эффективный фонд рабочего
времени, час.
|
Основная заработная плата,
руб.
|
С учетом район. К-та и
север. надбавки, руб.
|
|
|
|
|
|
|
|
|
|
|
|
|
|
|
|
|
Оплата по тарифу
|
Премии
|
Доплата за ночное и
вечернее время
|
Доплата за праздничные дни
|
|
|
Основные рабочие:
|
|
Мастер
|
4
|
135
|
1994
|
1076760,00
|
753732,00
|
178742,16
|
35533,08
|
1398711,24
|
|
Бригадир
|
16
|
127
|
1994
|
4051808,00
|
2836265,60
|
672600,13
|
133709,66
|
5263298,59
|
|
Литейщики
|
128
|
118,5
|
1994
|
30244992,00
|
21171494,40
|
5020668,67
|
998084,74
|
39288244,61
|
|
Контролеры
|
32
|
85,8
|
1994
|
1368681,60
|
958077,12
|
227201,15
|
45166,49
|
1777917,40
|
|
Итого:
|
180
|
-
|
-
|
36742241,60
|
25719569,12
|
6099212,11
|
1212493,97
|
47728171,84
|
|
Вспомогательные рабочие:
|
|
Слесарь
|
16
|
79,8
|
1994
|
2545939,2
|
1782157,44
|
422625,9072
|
84015,9936
|
3307175,021
|
|
Электрик
|
8
|
78,4
|
1994
|
1250636,8
|
875445,76
|
207605,7088
|
41271,0144
|
1624577,203
|
|
Уборщик производственных
помещений
|
64
|
64,3
|
1994
|
8205708,8
|
5743996,16
|
1362147,661
|
270788,3904
|
10659215,73
|
|
Итого:
|
88
|
-
|
-
|
12002284,8
|
8401599,36
|
1992379,277
|
396075,3984
|
15590967,96
|
|
Всего:
|
268
|
-
|
-
|
48744526,40
|
34121168,48
|
8091591,38
|
1608569,37
|
63319139,79
|
Таблица 54 - Годовой фонд оплаты труда для руководителей и специалистов
цеха
|
Должность
|
Количество человек
|
Оклад, руб./мес.
|
Премии
|
Итого в месяц, руб.
|
Годовой ФЗП, руб./месс.
|
|
Начальник цеха
|
1
|
45 000
|
11 250
|
56 250
|
675 000
|
|
Инженер
|
2
|
23 000
|
5 750
|
57 500
|
690 000
|
|
Итого:
|
3
|
68 000
|
17 000
|
113 750
|
1 365 000
|
5.4.3 Расчет
величины отчислений единого социального налога в государственные внебюджетные
фонды
Расчет величины отчислений единого социального налога в государственные
внебюджетные фонды представлен в таблице 55.
Таблица 55 - Расчет отчислений единого социального налога, руб.
|
Внебюджетные фонды
|
Норма отчислений от ЗП, %
|
Общий годовой фонд оплаты
труда
|
Величина отчислений за год
|
|
Пенсионный фонд
|
20
|
|
1293682795,87
|
|
Фонд социального
страхования
|
3
|
|
2069892,47
|
|
Фонд обязательного
медицинского страхования
|
3
|
|
1811155,91
|
|
Итого
|
26
|
64 684 139,79
|
16817876,35
|
Таким образом, величина отчислений в государственные
внебюджетные фонды составила 16 817,87 тыс. руб. Определим всю сумму затрат на
производство продукции литейного цеха исходя из запланированного объема
производства и снижения затрат на брак.
.5 Расчет
себестоимости продукции
Рассчитаем себестоимость продукции литейного
производства с учетом нового спланированного объема и изменений в таких
статьях, как материалы, заработная плата, отчисления на социальное страхование,
и потери от брака, которые снизились за счет проведенного мероприятия -
реконструкции шахтных печей - вагранок. Так как стоимость забракованной
продукции при плавке чугуна в вагранке по причине нарушения подачи воздуха в
фурменную коробку снизиться на 25 %, то, потери от брака снизятся на сумму
экономии за счет снижения стоимости забракованной продукции, которая составляет
19 027,07 тыс. руб.
Составим смету затрат на производство литейной
продукции в 2009 году с учетом всех произошедших изменений.
Таблица 56 - Смета затрат на производство литейной
продукции в 2009 году
|
Наименование статей затрат
|
2009 год
|
тыс. руб.
|
%
|
|
Материалы
|
180361,15
|
49,37
|
|
|
в т.ч.кокс
|
4597,94
|
2,55
|
|
|
в т. ч. промгазы:
|
4733,80
|
2,62
|
|
|
Углекислота
|
4366,00
|
2,42
|
|
|
Кислород
|
165,80
|
0,09
|
|
|
Пропан
|
202,10
|
0,11
|
|
|
ТЗР
|
18483,00
|
5,06
|
|
|
Электроэнергия, всего
|
6386,80
|
1,75
|
|
|
электроэнергия со стороны
|
4166,30
|
65,23
|
|
|
Передача электроэнергии
|
2220,40
|
34,77
|
|
|
Сжатый воздух
|
1492,00
|
0,41
|
|
|
Стоки
|
569,90
|
0,16
|
|
|
Вода
|
364,90
|
0,10
|
|
|
Амортизация
|
114,00
|
0,03
|
|
|
Охрана труда (спец. одежда,
спец. питание)
|
677,00
|
0,19
|
|
|
МБП (малоценные и
быстроизнашивающиеся предметы)3933,90
|
1,08
|
|
|
|
Доставка на работу и
обратно
|
854,00
|
0,23
|
|
|
Содержание зданий
|
1216,90
|
0,33
|
|
|
ФОТ, всего:
|
63319,14
|
17,33
|
|
|
Отчисления на социальное
страхование
|
16817,88
|
4,60
|
|
|
Потери от брака
|
66707,93
|
18,26
|
|
|
Общезаводские расходы
|
3862,70
|
1,06
|
|
|
Капитальные вложения
|
154,00
|
0,04
|
|
|
Итого
|
365315,20
|
100,00
|
5461,00
|
-
|
|
|
Себестоимость 1 тн. годного
металла, тыс. руб./тн.
|
66,90
|
-
|
|
Таким образом, в результате проведенного расчета
себестоимости продукции литейного производства на 2009 год получили, что по
сравнению с прошлым годом себестоимость всей литейной продукции снизилась на
12,9 %, что стало возможным за счет снижения затрат на материалы (затраты на
кокс) и потерь от брака. Кроме того, снизилась и себестоимость 1 тн. годного
металла на 18,99 %.
.6 Расчет
показателей эффективности проекта
Реконструкция вагранки повлечет за собой изменение некоторых
экономических показателей. Приведем расчет этих показателей в таблице 57.
Таблица 57 - Основные показатели эффективности проекта
|
Наименование показателя
|
Без проекта
|
С проектом
|
Абсолютное отклонение
|
Относительное отклонение, %
|
|
Объем выпуска литейной
продукции в натуральном выражении, т./год
|
5 461
|
5 461
|
-
|
-
|
|
в т.ч. стальное литье
|
2 547
|
2 547
|
-
|
-
|
|
чугунное литье
|
2 914
|
2 914
|
-
|
-
|
|
Выпуск литейной продукции в
стоимостном выражении, тыс. руб./год
|
173 052,52
|
173 052,52
|
-
|
-
|
|
в т. ч. стальное литье
|
83 528,64
|
83 528,64
|
-
|
-
|
|
чугунное литье
|
89 523,88
|
89 523,88
|
-
|
-
|
|
Доля брака в объеме
товарной продукции, %
|
41,25
|
34,05
|
- 7,19
|
- 17,45
|
|
в т. ч. стальное литье
|
18,01
|
16,02
|
- 1,99
|
- 11,05
|
|
чугунное литье
|
23,24
|
18,03
|
- 5,21
|
- 22,4
|
|
Стоимость забракованной
литейной продукции, тыс. руб./год
|
88 137,49
|
81 795,14
|
- 6 342,35
|
- 7,19
|
|
в т. ч. стальное литье
|
38 490,88
|
38 490,88
|
-
|
-
|
|
чугунное литье
|
49 646,61
|
43 304,26
|
- 6 342,35
|
- 12,78
|
|
Изменение затрат по
чугунному литью, тыс. руб./год
|
30 411,11
|
23 625,01
|
- 6 786,10
|
- 22,31
|
|
в т. ч. за счет снижения
расхода кокса
|
5 041,69
|
4 597,94
|
-443,75
|
- 8,80
|
|
за счет снижения стоимости
забракованной продукции
|
25 369,42
|
19 027,07
|
- 6 342,35
|
- 25,00
|
|
Себестоимость литейной
продукции, тыс. руб./год
|
372 101,30
|
365 315,20
|
- 6 786,10
|
- 1,82
|
|
Себестоимость 1 т. литейной
продукции, тыс. руб./т.
|
68,14
|
66,90
|
-1,24
|
- 1,82
|
|
Затраты на реконструкцию,
тыс. руб.
|
|
154,00
|
|
|
Результаты расчетов показали:
- снижается стоимость забракованной литейной продукции на 7,19
%, благодаря снижению брака по чугунному литью на 12,78 %;
- снижаются затраты при литье чугуна на 22,31 % за счет
снижения расхода кокса - 8,8 % и снижения стоимости забракованной продукции по
причине нарушения подачи воздуха в фурменную коробку - 25 %;
- вследствие произошедших изменений, снижается себестоимость
годового объема производства всей литейной продукции на 1,82 % и себестоимость
одной т. литейной продукции на 1,82 %.
Таким образом, приходим к выводу, что реализация предложенного проекта
экономически целесообразна, так как повышается качество производственного
процесса и выпускаемой продукции за счет снижения затрат и снижения доли брака.
Конечно же, реконструкция вагранки не способна полностью решить проблемы,
связанные с повышением качества продукции и снижением брака, однако, это один
из возможных вариантов снижения затрат, улучшения экономических показателей
деятельности литейного цеха и всего предприятия в целом. Непрерывная работа,
которая должна вестись на предприятии, по совершенствованию качества
производственного процесса в конечном итоге приведет к более внушительным
результатам и создаст условия для выхода ОАО «Сибинстрем» из сложившейся на
сегодняшний день сложной экономической ситуации.
Заключение
В данном проекте решались задачи анализа и планирования деятельности
литейного цеха предприятия.
На основании результатов оценки потенциала литейного производства ОАО
«Сибинстрем» было выявлено следующее:
- оборудование литейных цехов в значительной степени физически
и морально изношено;
- коэффициент загрузки мощностей литейного производства
составляет более 50 процентов, однако имеет тенденцию к снижению и мощности
загружены не полностью.
- в литейном производстве существует проблема повышенной
сырьеемкости, в связи с чем, повышается общая материалоемкость и снижается
материалоотдача, следовательно, существует необходимость в проведении
мероприятий, направленных на снижение сырьеемкости;
- доля затрат на брак в себестоимости литейной продукции весьма
значительна, к тому же за рассматриваемый период наблюдается её постоянный
рост, следовательно, необходимо провести ряд мероприятий по снижению затрат на
брак.
В целом анализ финансово-хозяйственной деятельности предприятия выявил
ряд проблем. Одна из них носит внешний характер - это рост кредиторской и
дебиторской задолженности. Решить возникшую проблему достаточно сложно, поэтому
все внимание было обращено к внутренним трудностям предприятия, к проблемам
качества производственного процесса и производимой продукции, к росту доли брака,
к увеличению себестоимости готовой продукции.
В специальной части проекта были рассмотрены возможные пути решения
возникших проблем, были исследованы направления снижения затрат на основе
повышения качества производственного процесса, выявлены технологические
недостатки процесса, предложен проект по их ликвидации. Реализация данного
проекта приведет к снижению затрат и повышению качества производственного
процесса и производимой литейной продукции. При планировании деятельности цеха,
были рассчитаны основные технико-экономические показатели, такие как выпуск
продукции в натуральном и стоимостном выражении, фонд оплаты труда работников
литейного производства, расход материалов, стоимость забракованных изделий и
себестоимость литейной продукции.
Результаты расчетов показали, что снижается стоимость забракованной
литейной продукции, благодаря снижению брака по чугунному литью на 12,78 %;
снижаются затраты при литье чугуна, за счет снижения расхода кокса - 8,8 % и
снижения стоимости забракованной продукции по причине нарушения подачи воздуха
в фурменную коробку - 25 %; вследствие произошедших изменений, снижается
себестоимость литейной продукции на 1,82 % и себестоимость одной тонны литейной
продукции на 1,82 %.
Таким образом, можно сделать выводы, что реализация предложенного проекта
экономически целесообразна, так как повышается качество производственного
процесса и выпускаемой продукции, вследствие снижения затрат и доли брака.
Непрерывная работа, которая должна вестись на предприятии, по
совершенствованию качества производственных процессов в конечном итоге приведет
к более внушительным результатам и создаст условия для выхода ОАО «Сибинстрем»
из сложившейся на сегодняшний день сложной экономической ситуации.
Предложенный в работе проект конечно же, не способен полностью решить
проблемы, связанные со снижением затрат на производство продукции, с повышением
качества продукции и снижением брака, однако, это один из возможных вариантов
снижения издержек, улучшения экономических показателей деятельности литейного цеха
и всего предприятия в целом.
Список
использованных источников
1) Анализ
хозяйственной деятельности в промышленности [Текст]: учебник/ В.И Стражев, Л.А.
Богдановская, О.Ф. Мигул и др.; под общ. ред. В.И. Стражева. - 5-е изд.,
перераб. и доп. - Мн.: Высш. Шк., 2003. - 480 с.
2) Анализ
хозяйственной деятельности предприятия [Текст]: учеб, пособие для вузов / Г.В.
Савицкая - М.: «Экоперспектива», «Новое знание», 1999.
) Баканов,
М.И., Шеремет А.Д. Теория экономического анализа [Текст]: учеб. пособие для студентов.
- М.: Финансы и статистика, 1998.
) Бевзелюк
А.А. Расчеты эффективности хозяйственных мероприятий / Ред. Б.С. Кобриков. -
Мн.: Наука и техника, 2001.-112с.
) Бухалков
М. И. Планирование на предприятии [Текст]: учеб./М. И. Бухалков. - М.: ИНФРА-М,
2005.
) Васильева
И.Н. Экономические основы технологического развития: Учеб. Пособие для вузов. -
М.: Банки и биржи, ЮНИТИ, 2002.-160 с.
7) Денисенко
Г.Ф. Охрана труда: Учеб. пособие для инж.-экон. спец. вузов М.: Высшая школа,
1990. - 319 с.
8) Злобинский
Б.М. Охрана труда в металлургии. 2-е изд. перераб. и доп. М.: Металлургия, 1995
- 356 с.
) Иванов
Б.С. Охрана труда в литейном и термическом производстве: Учебник для учащихся
средних специальных учебных заведений по специальности «Литейное производство»
и «Металловедение и термическая обработка металлов». - М.: Машиностроение,
1990. - 224 с.
) Ильин,
В. А. Планирование на предприятии [Текст]: учеб./В. А. Ильин - Минск: Новое
знание, 2002.
) Козловский
В.А., Маркина Т.В., Макаров В.М. Производственный и операционный менеджмент.
Учебник. - СПб: «Специальная литература», 2001 - 366 с.
) Кривандин
В. А., Металлургические печи [Текст]: учеб. пособие для вузов / Кривандин В.
А., Молчанов Н. Г., Соломенцев С. Л. - М.: изд-во Металлургия, 1989. - 348 с.
) Мандричко
Т.М. Анализ финансового состояния предприятий [Текст]: учебн. пособие / ГУЦМиЗ.
- Красноярск. 1999.
) Методика
финансового анализа [Текст]: учеб, пособие для вузов /А.Д. Шеремет, Р.С.
Сайфулин - М.: Изд-во ЦИПК АП, 1999.
) Оборудование
литейных цехов [Текст]: учеб. пособие для вузов/Рубцов Н. Н., М.:
Машиностроение, 1988.
) Организация
производства и управление предприятием: Учебник / Туровец О.Г., Бухалков М.И.,
Ролинов В.Б. и др.; Под ред. О.Г. Туровца - М.: ИНФРА-М, 2002-528 с.
) Основы
технологии важнейших отраслей промышленности. Под ред. И.В. Ченцова Мн. 1989г.
) Планирование
на предприятии: метод. Указания к выполнению курсового проекта для студентов
экономических специальностей / сост. М. Т. Ковалева; ГОУ ВПО «Гос. ун-т цвет.
металлов и золота». - Красноярск, 2006. 24 с.
) Производственный
менеджмент: Учебник для вузов / С.Д. Ильенкова, А.В. Бандурин, Г.Я. Горбовцев и
др.; Под ред. С.Д. Ильенковой. - М.: ЮНИТИ-ДАНА, 2000-583 с.
) Свенчанский
А. Д., Электрические промышленные печи [Текст]: учеб. пособие для вузов /
Свенчанский А. Д., Смелянский М. Я. - М.: Энергия, 1992. - 279 с.
) Технология
литейного производства [Текст]: учеб./Аксенов В. И. - М.: Машиностроение, 1987.
) Титов
Н. Д., Технология литейного производства [Текст]: учеб. пособие для вузов /
Титов Н. Д., Степанов Ю. А. - М.: Машиностроение, 1991. - 472 с.
) Управление
производством: Учебник / Под ред. Н.А. Саломатина. - М.: ИНФРА-М, 2001-219 с.
) Финансовый
анализ [Текст]: учебн. пособие / В.Г. Артеменко, М.В. Беллендир - М.: Изд-во
«ДИС», НГАЭиУ, 1998.
) Шепеленко
Г.И. Экономика, организация и планирование производства на предприятии. Учеб.
Пособие для студентов экономических факультетов и вузов. 2-е изд., доп. и
переработ. - Ростов-на-Дону: Издательский центр «Март», 2000-544 с.
) Адлер
Ю.П., Щепетова С.Е. От затрат на качество - к управлению затратами // Методы
менеджмента качества. - 2002.-№4.
) Адлер
Ю.П., Щепетова С.Е. Экономика качества как система // Методы менеджмента
качества. - 2002. - № 5.
) Пикунов
М. В. Особенности применения различных способов отливок в разовых формах //
Литейщик России - 2005 - № 12, С. 61 - 66.
) Розов
Д.А. Организационно-экономические факторы жизнеспособности предприятия в
условиях рыночной экономики // Консультант директора, 2004.-№4.-С.10-18.