Усовершенствование схемы очистки воздуха от пыли на ОАО 'Бурлинский элеватор'
Введение
Атмосферный воздух - один из главных источников
жизни на земле. Атмосфера состоит из смеси газов и всегда содержит определённое
количество примесей, поступающих от естественных и антропогенных источников.
Более устойчивые зоны с повышенными концентрациями загрязнений возникают в
местах активной жизнедеятельности человека. Антропогенные загрязнения
отличаются многообразием видов и многочисленностью источников. В России
основное загрязнение атмосферы создают ряд отраслей промышленности, транспорт и
теплоэнергетика. Самые распространённые токсичные вещества, загрязняющие
атмосферу: оксид углерода СО, диоксид серы SO2, оксиды азота NOx, углеводороды,
пыль.
При охране атмосферного воздуха
устанавливают: нормативы предельно допустимых концентраций и предельно
допустимых уровней воздействия физических излучений; порядок разработки и
утверждения предельно допустимых выбросов (ПДВ, ВСВ); единую систему учёта
вредных воздействий на атмосферный воздух; государственный контроль за охраной
атмосферного воздуха и порядок его осуществления [1].
В настоящее время на предприятиях требуется
высококачественное и эффективное оборудование по очистке вредных выбросов от
источников выделения. Но не всегда установленное оборудование позволяет
добиться высоких степеней очистки, поэтому инженеры экологи должны
разрабатывать более эффективные системы очистки.
Тема дипломного проекта «Усовершенствование
схемы очистки воздуха от пыли на ОАО «Бурлинский элеватор»» на сегодняшний день
является актуальной, так как загрязнения, поступающие в атмосферный воздух, от
подобных предприятий с каждым днем превышают установленные нормативы.
Основные задачи данного проекта это: анализ и
обобщение научно - технических и патентных материалов, характеристика
предприятия как источника загрязнения окружающей среды, проектирование
инженерных способов защиты окружающей среды (базовые и проектные схемы
очистки), расчеты материального баланса, а также расчет эколого - экономической
части, которая включает в себя определение предотвращенного ущерба, платежи за
загрязнение окружающей среды, эксплуатационные расходы и ряд других
экономических показателей.
Целью дипломного проекта является
усовершенствование базовой установки для повышения эффективности газоочистного
оборудования.
1. Анализ и обобщение научно-технических и
патентных материалов
.1 Характеристика производств
зерноперерабатывающих предприятий. Загрязняющие вещества
Основными зерноперерабатывающими предприятиями
являются элеваторы, мельницы, крупозаводы, заводы по производству комбикормов,
силосные хранилища, а так же предприятия по производству семенного зерна.
Производственные процессы связаны с обработкой зерна, а на комбикормовых
заводах - и с переработкой отходов пищевых производств. При переработке зерна
применяется разнообразное технологическое оборудование, предназначенное для
очистки, сушки, дробления, рассева зерна и продуктов его переработки, для
смешивания и дозирования сырья, гранулирования и брикетирования комбикормов, а
также для транспортировки и хранения.
Технологические процессы сопровождаются
выделением различных вредных элементов в производственные помещения -
избыточных теплоты, влаги, вредных газов и пыли. Это неблагоприятно сказывается
на микроклимате и санитарно - гигиеническом состоянии цехов предприятий,
способствуя возникновению опасных и вредных производственных факторов,
воздействующих на работающих. Повышенные влажность и запыленность ухудшают
режим эксплуатации и сокращают срок службы технологического оборудования и
строительных конструкций. Серьезной проблемой на предприятиях отрасли является
высокая взрыво- и пожароопасность, причинами которой становятся значительные
неорганизованные пылепоступления органических горючих веществ и возникновение
пожаровзрывоопасных пылевоздушных смесей.
Кроме пыли воздух загрязняется вредными газами -
оксидом углерода, диоксидом серы, диоксидом углерода, выделяющимися в
помещениях зерносушилок. Значительное количество диоксида углерода образуется в
помещениях складов зерна. Однако основной вредностью, выделяющейся при
переработке зерна, остается органическая пыль используемого сырья,
промежуточных продуктов и готовой продукции. Процессы погрузки, выгрузки и
транспортирования сырья, его обработка, складирование и хранение сопровождаются
значительными пылевыделениями, что приводит при недостаточно эффективной
вентиляции, к запыленности воздуха в производственных помещениях, намного
превышающей безопасные концентрации.
На элеваторах зерно проходит технологические
операции приемки, очистки, сушки, отпуска, освежения, подвергаясь многократному
перемещению транспортными механизмами, самотеком по точкам, в системах
пневмотранспорта. Трение зерна о стенки оборудования и трубопроводов приводит к
истиранию оболочек зерна и возникновению органической и минеральной пыли,
образующейся из-за засорения зерна при уборке и транспортировке различными
неорганическими примесями. Очистка зерна на сепараторах снижает его начальную
запыленность, но так как часть зерновой пыли находится в связанном состоянии,
залегая в бороздках и оболочках зерен, пылевыделения имеют место на каждом
этапе технологического процесса. Значительные пылевыделения наблюдаются при
продувке воздухом слоя зерна при активном вентилировании и сушке.
Увеличению пылепоступлений способствуют как
недостаточная герметизация оборудования, так и неэффективная работа
аспирационных систем и вентиляции в целом. Даже при хорошей работе аспирации в
воздухе присутствует пыль перерабатываемого продукта. Предельно-допустимая
концентрация (ПДК) зерновой пыли - 4 мг/м³,
мучной пыли - 6 мг/м³[2]. В
отдельных зонах производственных помещений и при аварийных ситуациях
концентрация пыли в воздухе может превышать нормативные значения и повышаться
до взрывоопасных концентраций. Пыль, взвешенная в воздухе, постепенно оседает
на строительных конструкциях и технологическом оборудовании, образуя неплотный,
легко взмучиваемый слой осевшей пыли. Вторичное пыление, вызванное взвихрением
осевшей пыли при повышенной подвижности воздуха резко увеличивает количество
пыли в воздухе и может привести к взрыву.
Количественный и качественный состав
пылепоступлений зависит от перерабатываемого сырья, его влажности, типа
технологического оборудования и его технического состояния, а также от
эффективности работы вентиляционных систем. Пыль зерноперерабатывающих
предприятий представляет пожаро- и взрывоопасность; витающая в воздухе -
взрывоопасна, осевшая на строительные конструкции и оборудование -
пожароопасна. Взрывоопасные концентрации могут образовываться в технологическом
и транспортном оборудовании, в силосах и бункерах, в трактах аспирационных
систем и пневмотранспорта, в пылеулавливающем оборудовании. Взрывоопасность
пыли зависит от содержания в ней органических и минеральных веществ, от
дисперсности и влажности [3].
.2 Общая характеристика методов очистки воздуха
Существуют различные методы очистки воздуха от
пыли. Например «сухие» механические пылеуловители делят на три группы:
пылеосадительные камеры, принцип работы которых
основа на действии силы тяжести (гравитационной силы);
инерционные пылеуловители, принцип работы которых
основан на действии силы инерции;
циклоны, батарейные циклоны, вращающиеся
пылеуловители принцип работы которых основан на действии центробежной силы.
Пылеосадителъная камера представляет собой
пустотелый или с горизонтальными полками во внутренней полости прямоугольный
короб, в нижней части которого имеется отверстие или бункер для сбора пыли.
Скорость газа в камерах составляет 0,2 - 1,5 м/с, гидравлическое сопротивление
50 - 150 Па. Пылеосадительные камеры пригодны для улавливания крупных частиц
(размером не менее 50 мкм). Степень очистки газа в камерах не превышает 40 - 50
%.
Перегородки в инерционных пылеуловителях
устанавливают для изменения направления движения газов. Газ в инерционный
аппарат поступает со скоростью 5 - 15 м/с. Пылевые частицы, стремясь сохранить
направление движения после изменения направления движения потока газов,
осаждаются в бункере. Эти аппараты отличаются от обычных пылеосадительных камер
большим сопротивлением и высокой степенью очистки газа.
Предпочтение при выборе аппарата очистки от пыли
отдается центробежным циклонам, выполняющим роль пылеулавливающего аппарата.
Эффективность улавливания пыли в циклонах повышается с уменьшением диаметра
корпуса, но при этом снижается их пропускная способность. Для обеспечения
соответствующей производительности пневмотранспортной установки небольшие
циклоны группируют в батарею, коэффициент пылеулавливания которой составляет
0,76 - 0,85 и несколько повышается с увеличением входной скорости (с 11 до 23
м/с). Использование вместо циклонов вихревых пылеуловителей обеспечивает
улавливание частиц пыли размером 5 - 7 мкм.
Циклоны рекомендуется использовать для
предварительной очистки газов и устанавливать перед высокоэффективными
аппаратами (например, фильтрами или электрофильтрами) очистки.
Основные элементы циклонов - корпус, выхлопная
труба, бункер. Газ поступает в верхнюю часть корпуса через входной патрубок,
приваренный к корпусу тангенциально. Улавливание пыли происходит под действием
центробежной силы, возникающей при движении газа между корпусом и выхлопной
трубой. Уловленная пыль ссыпается в бункер, а очищенный газ выбрасывается через
выхлопную трубу.
Помимо выше перечисленных аппаратов существуют
«сухие» пористые фильтры и электрофильтры.
Для очистки запыленных газов все большее
распространение получает на последних ступенях сухая очистка рукавными
фильтрами. Степень очистки газов в них при соблюдении правил технической
эксплуатации достигает 99,9 %.
В качестве фильтровальных материалов применяют
ткани из природных волокон (шерстяные, редко хлопчатобумажные), из
синтетических (нитроновые, лавсановые, полипропиленовые и другие), а также
стеклоткани. Для фильтровальных тканей наиболее характерно саржевое
переплетение. Применяют также нетканые материалы - фетры, изготовленные
свойлочиванием шерсти и синтетических волокон.
Фильтры рукавные состоят из корпуса с раздельной
рукавной плитой, фильтровальных элементов, клапанных секций с раздающими
трубами для обеспечения регенерации рукавов импульсами сжатого воздуха. В
процессе фильтрации запыленный газ проходит через ткань закрытых снизу рукавов
внутрь, выходит через верхний коллектор и удаляется из аппарата. Каждый рукав в
фильтре натянут на жесткий каркас и закреплен на верхней решетке (плите).
Метод электроосаждения (улавливания пыли в
электрическом поле) заключается в следующем. Частицы пыли (или капельки влаги)
сначала получают заряд от ионов газа, которые образуются в электрическом поле
высокого напряжения, а затем движутся к заземленному осадительному
электрозаряду. Попав на заземленный уловитель, частицы прилипают и разряжаются.
Когда осадительный электрод обрастает слоем частиц, они стряхиваются под
воздействием вибрации и собираются в бункере.
При очистке газов от частиц пыли и переработке
газообразных отходов успешно применяют мокрое пылеулавливание, сухую и
последующую мокрую очистку. Развитая поверхность контакта фаз способствует
увеличению эффективности пылеулавливания. В промышленности используют мокрые
пылеуловители капельного, пленочного и барботажного типов. Конструктивно
аппараты могут быть полыми, тарельчатыми, механического и ударно - инерционного
действия, а также скоростного типа (трубки Вентури и другие инжекторы).
Скрубберы (газопромыватели). При объемно -
жидкостном способе поток запыленного газа пропускают через определенный объем
жидкости. Для этой цели используют пенные пылеуловители с провальными тарелками
или тарельчатые скрубберы, эффективность которых может достигать 90 - 95%.
Для очистки или обезвреживания газообразных
отходов или технологических газов с целью извлечения из них сопутствующих
(полезных) газообразных компонентов широко используют метод абсорбции.
Абсорбция основана на непосредственном взаимодействии газов с жидкостями.
Выделяют физическую абсорбцию, основанную на растворении газа в жидкости, и
хемосорбцию, в основе которой лежит химическая реакция между газом и жидким
поглотителем [4].
1.3 Организация воздухообмена в производственных
помещениях. Аспирация
Требуемые параметры воздушной среды в
производственных помещениях поддерживаются в заданных пределах при помощи
рациональной организации общеобменной и местной вентиляции. Значительную роль
вентиляция играет в профилактике пожаров и взрывов и снижении концентрации
паров, газов и пыли до безопасных пределов.
Основной вредностью на зерноперерабатывающих
предприятиях является пыль, поэтому наряду с системами общеобменной вентиляции
значительное внимание уделяется системам аспирации. Аспирационные системы
должны удалять из оборудования образовавшиеся избыточные объемы воздуха,
создавая в них, а также в герметизирующих укрытиях определенное разрежение. В
случае подачи продукта в силосы и бункера системой пневмотранспорта следует
учитывать также объем поступающего воздуха. Нежелательно завышать объемы
аспирируемого воздуха, так как это неэкономично и, кроме того, увеличивает
скорость в сечении возду-хоприемников, что приводит к повышенному уносу
материала и ухудшению эксплуатационных характеристик систем, в том числе к
увеличению нагрузок на пылеулавливающее оборудование.
Конфигурация и места присоединения пылеприемников
зависят от обслуживаемого технологического оборудования. На рисунках 1 и 2
показаны примеры аспирирования различного технологического оборудования,
используемого при переработке зерна.
- фланец; 2 - кожух гибкий из прорезиненной
ткани; 3 - насадок уплотнительный съемный; 4 - кожух стальной; 5 -
воздухопровод; 6 - воронка подвесная; 7 - патрубок поворотный подвесной
герметизированный; 8 - клапан противопыльный плотный
Рисунок 1 - Схема обеспыливания выпуска зерна из
весового ковша
- нория; 2 - сепаратор; 3 - конвейер; 4 -
наддробильные силосы; 5 - распределительный воздуховод; 6 - материалопровод; 7
- дробилка; 8 - циклон-разгрузитель; 9 - вентилятор; 10 -
циклон-пылеотделитель; 11 - наддозаторные силосы; 12 - соединительный
воздуховод.
Рисунок 2 - Схема аспирации оборудования и
силоса через пневмотранспортную сеть
Для эффективной работы аспирационных систем
большое значение имеет рациональная компоновка, тщательно увязанная с
особенностями технологии. Надежность работы аспирационных систем достигается
соблюдением определенных требований.
.4 Совершенствование циклонов для очистки
воздуха от элеваторной пыли
В настоящее время для очистки
аспирационного воздуха от элеваторной пыли применяются центробежные
пылеотделители - циклоны типов ЦОЛ и 4БЦШ, которые не обеспечивают необходимые
современные санитарно-гигиенические нормы по степени очистки [5]. Другие виды
пылеотделителей (матерчатые, мокрые и электрофильтры и т.д.) из - за различных
трудностей в элеваторной промышленности пока применения не нашли. Поэтому
изыскание способов повышения эффективности существующих циклонов, как наиболее
простых по конструкции и экономичных пылеотделителей, является актуальной
проблемой.
Доктором технических наук Соколовым
А.Я. предложены новые критерии, которые заключается в следующем [6]:
- предложен новый критерий для
расчета коэффициента очистки циклонов;
предложены новые аналитические
зависимости определения коэффициента очистки циклонов, основанные на
вероятностных аэродинамических характеристиках скоростей витания частиц пыли и
критических скоростей их улавливания в циклоне;
применена новая методика
экспериментального определения коэффициента очистки циклонов, путем
использования "абсолютного фильтра";
обоснованы и экспериментально
подтверждены пути совершенствования циклонов в целях повышения коэффициента
очистки путем применения новой спирально - винтовой входной улитки, входного
сопла, конической вставки в конической части циклона, а также уменьшения
диаметра выхлопной трубы циклона.
Профессором Соколовым А.Я.
установлено, что разработанный циклон со спирально - винтовой входной улиткой,
обозначенный маркой 4ЕЦМ, для очистки воздуха от элеваторной пыли сокращает
выбросы пыли в атмосферу в 2 - 4 раза по сравнению с существующими циклонами и
обеспечивает современные санитарно - гигиенические нормы по чистоте
отработанного воздуха, выбрасываемого в атмосферу [5]. А разработанный ранее
докторами технических наук циклон ЦОМ, предлагаемый для приемных устройств
элеваторов отличается от циклона ЦОЛ, используемого для этой же цели, также
повышенным коэффициентом очистки.
Разработанный по результатам
теоретических и экспериментальных исследований батарейный циклон 4ЕЩ - 400,
внедренный на элеваторе Оренбургского комбината хлебопродуктов № I,
более чем в три раза снижает количество пыли, выбрасываемой в атмосферу
аспирационным воздухом, по сравнению с существующим циклоном 4БCШ-400
[6].
Циклон 4ЕЩ - 400 внедрен в 1985
году также на элеваторе Джамбулского комбината хлебопродуктов № 2, что
позволило снизить выбросы пыли в атмосферу по сравнению с циклоном ЦОЛ - 4,5 в
4 раза и по сравнению с 4БСШ - 400 в 2 раза [6].
.5 Патентные материалы в
области очистки атмосферного воздуха от загрязняющих веществ на
зерноперерабатывающих предприятиях
1.5.1 Способ аэродинамического подавления и
улавливания неорганизованных выбросов дисперсных загрязнений
Известна установка, которая относится к области
очистки от пыли газовых потоков и может быть использована на производствах
металлургической, цементной, горнодобывающей, металлообрабатывающей, химической
и других видов промышленности. Установки повышает эффективность пылеочистки
неорганизованных газовых потоков и уменьшает масштабность технических
сооружений, реализующих такую очистку. Основной смысл заключается в том, что
аэродинамическое подавление и улавливание неорганизованных выбросов дисперсных
загрязнений в зонах действия грохотов, элеваторов, сушильных и дробильных
устройств, ссыпки пылеобразующих веществ, их транспортировки конвейерами,
выноса загрязнений за пределы поверхностей жидких сред, а также в зонах
движения транспорта осуществляют путем укрытия неорганизованных выбросов пыли
тонкостенными экранами, а затем поток, отбираемый из такой зоны
воздухозаборниками, направляют через газоходы при повышенной температуре
порядка 500ºС в
аэродинамические пылеулавливающие аппараты, при этом отбор очаговых пылевых
выбросов осуществляют без формирования взаимоконкурирующих вытягиваемых
потоков, а на концах ссыпающих желобов устанавливают эластичные пылегасящие
затворы, причем в каналах движения пыли образуют пониженное давление
относительно внешней среды и устанавливают в них упругие пылегасящие клапаны,
которыми подавляют образование гидравлических ударов, а с ними и
пылеобразование.
Способ аэродинамического подавления и
улавливания неорганизованных выбросов путем укрытия их источников и отбора
вместе с частью окружающего воздуха воздухозаборниками, после чего такие
выбросы направляют в газоходы, а затем в качестве организованных потоков пропускают
через аэродинамические пылеулавливающие аппараты на основе аэродинамических
пылеулавливающих модулей, отличающийся тем, что отбор запыленных газов
осуществляют минимальным количеством воздухозаборников, не допускающим
возникновение фронтов взаимоконкурирующих вытягиваемых потоков, при этом на
концах ссыпающих желобов создают эластичные затворы тем, что на открытые части
выходов таких желобов надевают эластичные чулки, касающиеся поверхности
уносимого конвейерами материала, тем самым регулируют расход ссыпаемой
продукции и формируют выше среза выхода желобов столб пылеобразующей массы,
который препятствует пылевым выбросам, а частично вышедшую их часть захватывают
воздухозаборниками вместе с мелкодисперсной фракцией ссыпаемых веществ,
увлекающих за собой пылевые образования, и направляют в газоход, после которого
устанавливают аэродинамические пылеулавливающие аппараты, отделяют
мелкодисперсную фракцию ссыпаемых веществ с частью пылевых образований и
возвращают в общий поток материалов на конвейер, а затем доочищают
организованно протягиваемый далее поток воздуха, при этом в каналах обработки и
движения пылеобразующих веществ вместе с пылевой массой создают пониженное
давление относительно внешней среды тем, что из внутренних объемов грохотов,
желобов и элеваторов отсасывают часть запыленного воздуха и подвергают пылевой
очистке в аэродинамических пылеулавливающих аппаратах, при этом подавляют
образование гидравлических ударов, возникающих при падении по вертикальным и
наклонным желобам неоднородных масс материалов, установкой в них упругих
пылегасящих клапанов, за счет чего уменьшают очаговые пылевые выбросы [7].
.5.2 Элеватор
Существует элеватор, содержащий сменные захваты,
имеющие шток с пазом, корпус с пазом для прохода сменных захватов и
вертикальную опорную стойку, шарнирно прикрепленные к корпусу серьгу и
Г-образную поворотную рукоятку, ось которой совпадает с центральной
горизонтальной осью элеватора, взаимодействующий с вертикальной опорной стойкой
подпружиненный фиксатор, постоянно поджатый к плоскости вертикальной опорной
стойки, установленный в рукоятке, и выступ в рукоятке, взаимодействующий с
пазом штока, отличающийся тем, что проекция центральной горизонтальной оси
опорной стойки на горизонтальную плоскость параллельна проекции на эту плоскость
центральной горизонтальной оси элеватора и расположена от нее на расстоянии
равном отношению диаметра внутренней окружности корпуса элеватора к внутреннему
диаметру упомянутых выше сменных захватов, выполненных в форме поворотных
сегментов, D/d и составляет 1,1 до 4,1, а длина рабочей грани опорной стойки,
по которой проходит путь подпружиненного фиксатора от положения
"открыто" до положения "закрыто", находится в пределах от
D/5 до D/2, где; D - диаметр внутренней окружности корпуса элеватора.
Существует элеватор, отличающийся тем, что
нерабочая грань опорной стойки, соприкасающаяся с подпружиненным фиксатором в
положении "открыто", на стороне противоположной расположению рабочей
грани, заканчивается упором, препятствующим выходу подпружиненного фиксатора в
положении "открыто" за пределы вертикальной опорной стойки.
Помимо выше перечисленных элеваторов существует
ряд других, имеющих свои особенности и недостатки [8].
.5.3 Способ получения, транспортировки и
хранения сыпучих продуктов
Способ получения, транспортировки и хранения
сыпучих продуктов типа муки, круп, отрубей, мучных смесей и комбикормов,
предусматривающий послеуборочную обработку, доставку, контроль качества и
подачу исходного зернового сырья в хранилища и элеваторы, хранение, подготовку
зерна к размолу путем предварительной очистки на элеваторе, транспортировки в
зерноочистительное отделение элеватора, и мукомольного комбината, и крупяного,
и комбикормового цехов, очистки от сорных, зерновых, металломагнитных примесей
в зерноочистительном отделении, сепарирования по крайней мере однократной
обработки поверхности зерна в обоечных, и щеточных, шелушильных системах,
гидротермической обработки путем увлажнения и последующего отволаживания зерна,
провеивания и аспирации продукта после обработки по крайней мере в части систем
с сепарацией и направлением зерна и отходов в основные и резервные
накопительные емкости с крышками, закрома с использованием по крайней мере на
части операций пневмотранспорта с одновременной аспирацией продукта путем
пропускания воздуха через фильтрующую поверхность не менее чем одной емкости,
соединенной с аспирационной системой, контроля зерна и отходов в сепараторах,
аспираторах с выделением годного зерна, минеральных примесей, битого зерна,
дробления, аспирации и по крайней мере однократной повторной очистки, помол
путем одно- или многократного последовательного пропуска продуктов дробления
зерна через измельчающие системы с получением муки требуемых сортов, круп
требуемых сортов, отрубей, мучных смесей, отличающийся тем, что при проведении
аспирации емкости соединяют с аспирационной установкой с возможностью
сочетательного и избирательного переключения не менее, чем одним дополнительным
воздуховодом с образованием площади фильтрующей поверхности по крайней мере
одной емкости с превышением площади соответствующего аэропрозрачного участка
поверхности этой емкости в пределах от 1,002 до 230 приведенных диаметров
площади аэропрозрачного участка, и формы фильтрующей поверхности в виде
пространственной оболочки постоянной или переменной кривизны или
комбинированной конфигурации с максимальным удалением ее вершины от плоскости,
совмещенной по крайней мере с одним непрямолинейным отрезком контура
аэропрозрачного участка или от плоскости горизонтальной проекции
соответствующего аэропрозрачного участка на расстоянии от 0,02 до 78
приведенных диаметров площади аэропрозрачного участка.
Существует способ, отличающийся тем, что при
проведении процесса аспирации в качестве фильтрующей поверхности используют по
меньшей мере один воздухофильтрующий элемент, который выполняют в виде съемной
оболочки, при этом в верхней части не менее чем одной основной и резервной
накопительной емкости выполняют вырез, в который устанавливают обечайку с
воздухофильтрующим элементом, причем площадь вырезанного участка составляет не
менее 1% от площади поперечного сечения соответствующей емкости при
многогранной конфигурации или не менее 2,3% от площади поперечного сечения
соответствующей емкости круглоцилиндрической или переменной кривизны или
комбинированной конфигурации [9].
.5.4 Устройство для улавливания тонкодисперсной
пыли
Известен аппарат, который относится к
устройствам для разделения пылегазового потока и очистки воздуха и может быть
использовано в химической, металлургической, зерноперерабатывающей и других отраслях
промышленности, а так же решает задачу очищения выбрасываемого из цехов воздуха
от тонкодисперсной пыли устройством простой конструкции.
Технический результат, достигаемый устройством,
заключается в повышении эффективности в части охраны окружающей среды, который
достигается тем, что в устройстве для улавливания тонкодисперсной пыли,
содержащем воздуховод, вентилятор, новым является то, что оно содержит циклон,
имеющий цилиндрический корпус с коническим днищем, с установленной в нем
центральной вытяжной трубой, при этом центральная вытяжная труба подсоединена к
отрицательному электроду источника тока, днище циклона заземлено, а между
циклоном, воздуховодом и центральной вытяжной трубой установлены
электроизоляторы.
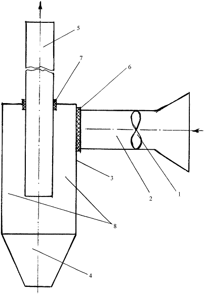
На рисунке 3 схематически изображен общий вид
устройства для улавливания тонкодисперсной пыли.
Устройство для улавливания тонкодисперсной пыли,
преимущественно в воздушной среде от работающих в цехах станков, состоит из
рабочего вентилятора 1, воздуховода 2 и циклона, имеющего цилиндрический корпус
3 и коническое днище 4. Центральная вытяжная труба 5 установлена в центре
цилиндрического корпуса 3 циклона. Центральная вытяжная труба 5 выполнена из
металла и подключена к отрицательному электроду источника тока. Днище корпуса 4
заземлено. Для защиты от электрических зарядов между воздуховодом 2 и
цилиндрическим корпусом 3 установлены электроизоляторы 6, а между
цилиндрической вытяжной трубой 5 и цилиндрическим корпусом 3 - электроизоляторы
7. В пространстве 8 между цилиндрическим корпусом 3 и центральной вытяжной
трубой 5 при подключении к источнику тока образуется электростатическое поле.
Устройство для улавливания тонкодисперсной пыли
работает следующим образом. Вентилятором 1 воздушная среда от работающих
станков в цехе через воздуховод 2 подается в циклон. Под воздействием
электростатического поля пространства 8 тяжелые частицы воздуха оседают в
коническое дно 4 циклона, а частицы тонкодисперсной пыли оседают на стенки
цилиндрического корпуса 3 и центральной вытяжной трубы 5. Частицы тонкодисперсной
пыли под действием электростатического поля липнут друг к другу, утяжеляются и
также оседают в коническое дно 4.
Таким образом, через вытяжную трубу 5 в
окружающую среду выделяется чистый воздух, очищенный от тяжелых частиц и
тонкодисперсной пыли [10].
- вентилятор; 2 - воздуховод; 3 - цилиндрический
корпус; 4 - днище корпуса; 5 - цилиндрическая вытяжная труба; 6 -
электроизолятор; 7 - электроизоляторы; 8 - пространство электростатического
поля.
Рисунок 3 - Устройство для улавливания
тонкодисперсной пыли
2. Характеристика промышленного объекта
.1 Описание технологии производства
промышленного объекта
ОАО «Бурлинский элеватор» -
зерноперерабатывающее предприятие, осуществляющее производство муки, прием,
хранение, подработку, сушку зерна и отпуск годовой продукции.
Предприятие расположено в Юго -
Западной части с.Бурла, на одной площадке и находиться на окраине поселка.
Общая площадь территории 13 га. Рельеф участка ровный. Карта - схема
расположения зданий, сооружений, улиц и дорог представлена в приложении А.
Предметом деятельности данного
предприятия являются: закупка, хранение и реализация зерна; торговля,
посредническая деятельность; оказание услуг по сушке, подработке и хранению
давальческого зерна, промышленная переработка зернопродуктов; производство
сельскохозяйственной продукции; переработка сельскохозяйственной продукции;
посреднические услуги при купле-продаже продукции; производство ремонтных и
строительно-монтажных работ.
Предприятие включает в себя следующие
объекты: элеватор ЛВ3х175; силосный корпус №1; силосный корпус №2; силосный
корпус №4; мельница «МУКОМОЛ»; цех по производству муки; отдельно стоящая
зерносушилка; сушильно-очистительная башня; зерносклады; гаражи; весовая;
трансформаторные подстанции; пожарные водоемы; котельная; мастерские;
электроцех; административные здания; внешние коммуникационные сети. Карта -
схема территории предприятия представлена в приложении Б.
Расположение вышеперечисленных
объектов на территории предприятия и в целом расположение всего предприятия
соответствует требованиям [11].
Здания и сооружения относятся
ко второй степени огнестойкости, что удовлетворяет требованиям нормативной
документации СНиП 2.10.05 - 85 «Предприятия, здания и сооружения по хранению и
переработке зерна» [11]. По классу пожарной опасности в соответствии с нормами
строительные конструкции здания относятся к классам К1 и К2 в зависимости от
назначения в соответствии с ГОСТ 30403 - 96 «Конструкции строительные. Метод
определения пожарной опасности» [12].
Рабочая башня элеватора это
отдельно стоящее здание, введенное в эксплуатацию в 1967 году. Основные
габаритные размеры 10,5м х 19,2м, высотой 65 м. В рабочей башне выполняются
следующие производственные операции с зерном: прием зерна с автотранспорта;
очистка зерна от примесей; распределение зерна на хранение в силосы; прием
зерна с хранения; внутренние перемещения зерна для проверки качества; отпуск на
автомобильный транспорт.
При приеме зерна с
автотранспорта разгрузка автомобилей осуществляется автомобилеразгрузчиками
УРВС, ГУАР - 30. Зерно поступает в приемные устройства (бункера), а затем
посредством ленточных конвейеров подается на нории рабочей башни элеватора и
отдельно стоящую зерносушилку. Приемные бункера и ленточные конвейеры находятся
в подземных галереях, связанных с рабочей башней элеватора. Внутри рабочей
башни расположено технологическое, транспортное и аспирационное оборудование.
На предприятии также находиться
пункт приема зерна с автотранспорта и пункт приема зерна с железнодорожного
транспорта. Данные пункты оснащены аспирационной системой с пылеочистной
установкой 4 БЦШ, далее в закрытом ленточном транспортере зерно подается в
силосные корпуса 1,2,3,4 на подсилосные транспортеры. Зерно подсилосным
транспортером подается в насыпной лоток, который оснащен аспирационной системой
с пылеочистной установкой 4 БЦШ - 500, далее зерно норией подается на
поворотный круг, который также оснащен аспирационной системой.
Затем, в зависимости от
направления подачи с поворотного круга зерно может подаваться:
- на надсилосный транспортер, с
которого при помощи сбрасывающей тележки зерно ссыпается в емкость хранения
силосного типа, данное технологическое оборудование оснащено аспирационной
системой с пылеочистной установкой 4 БЦШ - 500;
на зерносушилку ДСП 32x3 или
СОБ - 1С;
на погрузку на автотранспорт,
место погрузки оснащено аспирационной системой с пылеочистной установкой 2 БЦШ
- 500;
- на погрузку на
железнодорожные вагоны, место погрузки оснащено аспирационной системой с
пылеочистной установкой 4 БЦШ - 500;
на один из зерноскладов.
Также зерно с пункта приема по
закрытому транспортеру может подаваться на зерносклад амбарного типа. Далее
осуществляется погрузка зерна на складе, она имеет также свои особенности. На
этом процесс зернопереработки на данном предприятии завершен. Структурная схема
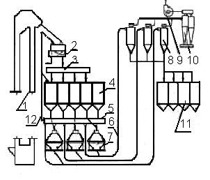
процесса представлена на рисунке 4.
Рисунок 4 - Структурная схема зернового
элеватора
На данном рисунке приведена полная схема
технологического процесса. Просматривается весь процесс обработки, переработки,
очистки и сушки зерна.
При определении количеств загрязняющих веществ в
промвыбросах в атмосферу следует учитывать источники выбросов.
Всего в производстве шестьдесят семь источников
выбросов, из них двадцать один источник на самом элеваторе. Все загрязняющие
вещества проходят через очистительные установки. Основное загрязняющее вещество
это пыль зерновая, которая выделяется в ходе всего рабочего процесса. Она
относится к четвертому классу опасности [5].
Зерновая пыль предприятия представляет пожаро- и
взрывоопасность; витающая в воздухе - взрывоопасна, осевшая на строительные
конструкции и оборудование - пожароопасна. В связи с этим на предприятии
создана противопожарная служба. Приказом назначены ответственные лица на всех производственных
участках.
На мельнице установлена автоматическая пожарная
сигнализация с выводом на пульт охраны. Связь с постом охраны и с пожарной
частью села Бурла осуществляется через местную АТС.
На территории предприятия находятся
пять пожарных водоемов. Емкость водоемов на 50 м
находится в количестве четырех
штук, а на 100 м
- одна
штука.
Все объекты укомплектованы пожарными
щитами, кранами, пожарными рукавами в соответствии с [13]. Имеются в наличие
порошковые, химическо-пенные и углекислотные огнетушители.
Для обеспечения пожарной
безопасности при технической эксплуатации оборудования:
-
имеются оборудование, аппараты, коммуникации и арматура применяемые в пожаро- и
взрывоопасных помещениях, они должны быть герметичными и не пропускать
запыленного воздуха в производственные помещения;
-
во всех пожаро- и взрывоопасных цехах осуществляются и строго соблюдаются
предупредительные меры против импульсов взрывов и пожаров и против
самовоспламенения продуктов и отходов производства;
-
механизмы машин и все основные рабочие органы их должны быть отрегулированы и
исправлены, работать плавно, без резкого несвойственного им шума, рывков,
нарастающей вибрации, заеданий или ненормального трения в приводных частях
механизмов;
-
детали и узлы машин, имеющие поступательно-возвратное движение или вращающиеся
вокруг осей, должны быть проверены на уравновешенность их масс и
выбалансированы;
-
величина допускаемой вибрации отбалансированных машин не должна превышать
пределов, предусмотренных Правилами технической эксплуатации мельниц и
крупозавода Главного управления мукомольной, крупяной и комбикормовой
промышленности;
-
температура подшипников машин и механизмов во время работы не должна превышать
температуру окружающего воздуха более чем на 45
С, но не быть выше 60
С.
При возникновении возгорания работа
всего технологического, транспортного и аспирационного оборудования немедленно
прекращается. Все имеющиеся задвижки на самотеках и аспирационных трубах,
проходящих сквозь брандмауэры, междуэтажные перекрытия, а также дверные проемы
закрыты для создания преграды распространению огня.
Машины останавливают:
-
при малейших признаках загорания;
-
при явлениях, угрожающих безопасности рабочих;
-
при проявлении несвойственного оборудованию шума из-за поломки деталей или попадания
в него посторонних предметов;
-
при завале продуктом, угрожающей запрессовкой и поломкой;
-
при поломках станины, шкива, шестерни или другого рабочего органа, угрожающих
аварией.
2.2 Описание работы мельницы
«МУКОМОЛ» на производстве
Данный вид мельницы предназначен для сортового и
обойного помола зерна пшеницы мягких сортов. Мельница работает по трехфазной
сети переменного тока с глухо - заземленным нулевым проводом напряжением 380 В
и частотой 50 Гц, которая представлена на рисунке 5.
Рисунок 5 - Мельница стационарная «МУКОМОЛ»
Принцип действия заключается в том, что зерно,
предназначенное для переработки, засыпается в приемный бункер, через который
поступает в подготовительное отделение мельницы.
Подготовительное отделение включает в себя
комплекс зерноочистительного оборудования и комплекс гидротермической обработки
зерна.
При открытой заслонке приемного бункера, зерно
самотеком через магнитный сепаратор поступает в пневмоприемник. Из патрубка по
продуктопроводу зерно поступает в пневматический сепаратор, где от зерна
отделяются легкие примеси, отличающиеся от него аэродинамическими свойствами.
Очищенное зерно удаляется из пневмосепаратора через шлюзовой затвор и поступает
в ситовой сепаратор - куколеотборник. В нем происходит процесс отделения зерна
от куколя, карлыка татарской гречихи, сечки, мелких битых зерен и семян трав.
Очищенное зерно через магнитный
сепаратор попадает в обойку грубую, где осуществляется очистка поверхности
зерна от приставшей пыли и других чужеродных веществ.
Пройдя обработку в
зерноочистительном агрегате, зерно поступает во второй пневмосепаратор, где
вторично очищается от легких примесей. Очищенное зерно через шлюзовой затвор
подаётся в оборудование гидротермической обработки.
В первую очередь, зерно
попадает на винтовой конвейер (шнек) увлажнения, который служит для
перемешивания, перемещения и смачивания зерна водой в капельножидком состоянии,
поступающей из бака для воды. Через люки зерно поступает поочередно в один из
четырех отсеков бункера отволаживания, который служит для отволаживания зерна
перед размолом.
Отволаживание зерна
производится в течение восьми или девяти часов в зависимости от качества зерна.
Для дистанционного визуального контроля за уровнем зерна в бункере предусмотрены
смотровые окна.
По окончании отволаживания
зерно поступает через винтовой конвейер выгрузки и магнитный сепаратор в мягкую
обойку, которая служит для тонкой очистки зерна после отволаживания.
Далее процесс происходит в
размольном отделении. Размольное отделение - это основное отделение мельницы.
Оно имеет в составе оборудование для получения продуктов размола и разделения
его по фракциям.
В конструкции мельницы
«Мукомол» использован технологический процесс помола зерна тремя вальцовыми
станками драной системы и тремя вальцовыми станками размольной системы с
последующим сортированием продуктов размола в рассеве.
После каждого станка вальцового
происходит разделение продуктов размола на фракции. Отобранные по фракциям
продукты подаются на последующие вальцовые станки драной и размольной систем, в
зависимости от размера размольной фракции, для дальнейшего размола. В ходе
работы получают муку различных сортов, а также отруби, которые являются
сходовой фракцией.
Далее процесс идет в
весовыбойном отделении, которое состоит из циклонов - разгрузителей, затворов
шлюзовых, манных сепараторов, бункеров муки первого сорта, высшего сорта,
второго сорта и отрубей. Затем процесс проходит по пневмотранспортной системе,
в которой идет распределение продукта.
В пневмотранспортную систему
встроена аспирационная система для очистки воздуха от пыли и легких примесей,
состоящая из блока циклонов очистки - для осаждения примесей, присутствующих в
воздухе и удаления их в накопительную емкость, блока фильтров рукавных - для окончательной
очистки воздуха, а также пневмосепараторов, циклонов - разгрузителей и сети
воздухопроводов.
Функционирование
пневмотранспортной и аспирационной систем обеспечивается вентилятором высокого
давления.
.3 Источники выделения
загрязняющих веществ на предприятии. Суммарные выбросы загрязняющих веществ, их
очистка
При проведении расчетов
рассеяния вредных веществ в атмосферу при производственном процессе на
предприятии определяют нормативы ПДВ и размер платы за них в соответствии с
постановлением Правительства РФ.
Расчеты базировались на данных
инвентаризации источников выбросов. В инвентаризации рассматривается 59
источников. Расчеты рассеивания веществ в приземном слое имеют превышение
нормативов по выбросам загрязняющих веществ на границе жилой и санитарно -
защитной зоны (СЗЗ). Наибольшие значения приземных концентраций приведены в
таблице 1.
Таблица 1 - Значения приземных
концентраций для промплощадки
|
Наименование
вредных веществ
|
Концентрации
в жилой зоне
|
Концентрации
на границе СЗЗ
|
|
Железа
оксид
|
0,15941
|
0,13202
|
|
Марганец
и его соединения
|
0,13419
|
0,1125
|
|
Ангидрит
сернистый
|
0,11246
|
0,11248
|
|
Пыль
древесная
|
0,22127
|
0,21165
|
|
Пыль
зерновая
|
0,52615
|
0,58818
|
|
Зола
каменного угля
|
0,37887
|
0,37382
|
|
Пыль
шлака
|
0,11736
|
0,11434
|
При проведении инвентаризации в соответствии с
[15], были выявлены основные источники выбросов вредных веществ в атмосферу. На
данном предприятии имеются выбросы твердых и газообразных веществ. Все они
выбрасываются не сразу, а проходят предварительную очистку. Ванадия пятиокись,
оксид железа, марганец и его соединения, сажа, свинец и его неорганические
соединения, угольная пыль и ряд других веществ в атмосферу выбрасываются без
очистки. Но при этом всегда учитывается их количество, которое в соответствии с
[14] и [16] не должно превышать нормативов.
Самые основные источники представлены в таблице
2, которая была составлена на основании [17] и [19].
Таблица 2 - Источники выделения загрязняющих
веществ
|
Наименование
производства, номер цеха, участка и т.д.
|
Номер
источника загрязнения атмосферы
|
Номер
источника выделения
|
Наименование
источника выделения загрязняющих веществ
|
Наименование
выпускаемой продукции
|
Время
работы источника выделения, час
|
Наименование
загрязняющего вещества
|
Код
загрязняющего вещества
|
Количество
загрязняющего вещества, отходящего от источника выделения, т/год
|
|
|
|
|
|
в
сутки
|
за
год
|
|
|
|
|
(001)Зерноперерабатывающее
производство
|
0001
|
01
|
Насыпной
лоток
|
Прием
зерна с а/т
|
2,0
|
125,0
|
Пыль
зерновая
|
2937
|
0,70333
|
|
0003
0004
|
01-03
|
Подсилосный
транспортер, лоток, нория
|
Пересыпка
зерна
|
8,0
|
2016
|
Пыль
зерновая
|
2937
|
12,86
|
|
0005-0009
|
01-06
|
Нория,
бункера, весы, поворотный круг, лоток
|
Пересыпка
зерна
|
8,0
|
2016
|
Пыль
зерновая
|
2937
|
20,86
|
|
0010-0013
|
01-03
|
Надсилосный
транспортер, сбрасывающая тележка, лоток
|
Пересыпка
зерна
|
8,0
|
2016
|
Пыль
зерновая
|
2937
|
8,81333
|
|
0015
0021
|
01-03
|
Насыпной
лоток, нория
|
Пересыпка
зерна
|
8,0
|
800,0
|
Пыль
зерновая
|
2937
|
6,175
|
|
0016
|
01-04
|
Сепаратор,
бункера, нория
|
Переработка
зерна
|
8,0
|
800,0
|
Пыль
зерновая
|
2937
|
11,498
|
|
0017
|
01-03
|
Насыпной
лоток, нория, бункер
|
Пересыпка
зерна
|
8,0
|
800,0
|
Пыль
зерновая
|
2937
|
7,905
|
|
0026
|
01
|
Зерносушилка
ДСП 32х3
|
Сушка
зерна
|
5,0
|
160,0
|
Азота
диоксид Серы диоксид Углерода оксид Бенз(а)пирен Пыль зерновая
|
0301
0330 0337 0703 2937
|
0,276
0,3504 0,3309 0,00002 0,96
|
|
0029-0035
|
01-03
|
Транспортер,
сбрасывающая тележка, насыпной лоток
|
Пересыпка
зерна
|
8,0
|
800,0
|
Пыль
зерновая
|
2937
|
3,49667
|
|
0043-0050
|
01-06
|
Нория,
лотки, транспортер, сбрасывающая тележка
|
Пересыпка
зерна
|
3,0
|
300,0
|
Пыль
зерновая
|
2937
|
1,31
|
|
|
|
|
|
|
|
|
|
|
|
|
|
|
|
Из приведенной выше таблицы 2 видно, что основным
загрязняющим веществом является зерновая пыль, которая выделяется по ходу всего
рабочего процесса. Так как зерновая пыль в больших количествах является
взрывоопасным веществом, на предприятии хорошо развита система пожаротушения.
Также на производстве присутствуют и другие «нежелательные» вещества.
Основное загрязняющее вещество это пыль
зерновая, которая выбрасывается от источников выделения в количестве 264,1363
т/год. Без очистки ее выбрасывается 2,087 т/год, а на очистку поступает
263,0493 т/год, из этого количества улавливается 236,01243 т/год.
Общее количество твердых отходов составляет
272,864114473 т/год, в атмосферу же выбрасывается 12,02068114 т/год.
Газообразные и жидкие вещества в количестве
23,70979 т/год выбрасываются в атмосферу без очистки.
Из выше изложенного можно сказать, что
большинство веществ на предприятии очистку не проходят. Очистка предназначена
только для улавливания зерновой пыли, но при этом выбросы все же иногда
превышают нормативы. Уловленная пыль поступает в бункер и далее вывозиться
автотранспортом за пределы предприятия и жилой зоны.
2.4 Основные показатели и характеристики
предприятия
.4.1 Показатели работы газоочистных и
пылеулавливающих установок
На предприятии ОАО «Бурлинский элеватор» имеются
газоочистные и пылеулавливающие установки с различными характеристиками. Также
предоставлены паспорта на пылеочистную установку, находящуюся в рабочей башне.
Это аспирационная система, состоящая из батарейного циклона 4 БЦШ - 500
предназначена для аспирации башмаков и головок норий, сбрасывающих коробок и
поворотных кругов зерносушилки ДСП - 32. Она введена в эксплуатацию в 1981
году. Режим работы установки составляет 584 час/год. В пылеочистную установку
входят вентилятор типа Ц6 - 46 №6, производительностью 5286 м3/ч, всасывающее
отверстие 420 мм, выхлопное отверстие 367 мм; электродвигатель типа АО - 42 -
4, мощностью 5,5 кВт, с ременным видом передачи; пылеотделяющее устройство с
циклоном 4 БЦШ - 500, производительностью 5286 м3/ч и 0,8 % подсоса.
Имеется паспорт на пылеочистную установку,
находящуюся в зерносушилке ДСП - 32. Это аспирационная система, состоящая из
батарейного циклона 4 БЦШ - 350, предназначена для аспирации головок норий и
бункеров зерносушилки ДСП - 32. Введена в эксплуатацию в 1986 году. Режим
работы данной установки составляет 290 час/год. В пылеочистную установку входят
вентилятор типа ВЦП №6, производительностью 3042 м3/ч, всасывающее отверстие
420 мм, выхлопное отверстие 367 мм; электродвигатель типа 4А112МУУПУ3,
мощностью 5,5 кВт, с ременным видом передачи; пылеотделяющее устройство с
циклоном 4 БЦШ - 350, производительностью 3042 м3/ч и 1,8 % подсоса.
Имеются и другие пылеочистные установки,
показатели которых представлены в таблице 3. К каждой установке приведен
коэффициент обеспеченности, коэффициент полезного действия (КПД) аппаратов и
загрязняющее вещество по которому происходит очистка.
Таблица 3 - Показатели работы газоочистных и
пылеулавливающих установок
|
Наименование
и тип пылегазоулавливающего оборудования
|
КПД
аппаратов, %
|
Загрязняющее
вещество, по которому происходит очистка
|
Коэффициент
обеспеченности, %
|
|
проектный
|
фактический
|
|
нормативный
|
фактический
|
|
Пылеочистная
установка 4 БЦШ - 400 Пылеочистная установка 4 БЦШ - 300 Пылеочистная
установка 4 БЦШ - 500 Пылеочистная установка 4 БЦШ - 550 Пылеочистная
установка ЦОЛ - 9 Пылеочистная установка ЦОЛ - 9 Циклоны типа ЦН - 15
|
90,0
85,0 79,0 81,0 93,0 93,0 98,0
|
90,0
85,0 79,0 81,0 93,0 93,0 98,0
|
Пыль
зерновая Пыль зерновая Пыль зерновая Пыль зерновая Пыль зерновая Пыль
зерновая Зола каменного угля
|
100
100 100 100 100 100 100
|
100
100 100 100 100 100 100
|
.4.2 Проведение предприятием расчетов
рассеивания, а также контроль нормативов предельно допустимых выбросов
Расчеты рассеивания вредных
веществ в атмосферу проводятся по программе «ЭРА», разработанной отделом
экономики промышленных центров.
Программа позволяет дать оценку
загрязнения атмосферы вредными веществами, создаваемого группой источников
выбросов.
Для наиболее опасного
направления и скорости ветра в табличной форме и в виде поля выдается
распределение концентраций загрязняющих веществ на заданной местности. При это
учитываются метеорологические характеристики. Для с.Бурлы коэффициент,
зависящий от стратификации атмосферы равен 200; коэффициент рельефа местности -
1,0; средняя максимальная температура наружного воздуха наиболее жаркого месяца
года 22°С; средняя температура наружного воздуха наиболее холодного месяца -
20°С; также используется среднегодовая роза ветров (С - 7%, СВ - 6%, В - 12%,
ЮВ - 11%, Ю - 10%, ЮЗ - 26%, З - 12%, СЗ - 11%); скорость ветра, повторяемость
превышения которой составляет 5%, равна 13 м/с.
Предусмотрена возможность
расчетов, как по отдельному ингредиенту, так и при необходимости, по их
суммарному воздействию. Задание на расчет выдается в виде унифицированных
таблиц, предусмотренных программой. Выходные таблицы сформированы в
соответствии с существующими требованиями в автоматическом режиме. Исходные
данные для расчета норм ПДВ подготовлены на основе баланса материалов
используемых предприятием и проведенной инвентаризации источников выбросов;
параметры выбросов вредных веществ в атмосферу для расчета норм ПДВ приводятся
в табличной форме, в которой указываются: источники выделения загрязняющих
веществ и их количество, число часов работы в год, наименование источника
выбросов вредных веществ и их число, также указывается номер источника на карте
схеме, высота источника выброса и диаметр устья трубы.
Расчет загрязнения атмосферы
выполняется по одной расчетной площадке. Условия рассеяния загрязняющих веществ
в атмосфере в значительной мере зависят от высоты источника выбросов.
Определяющим фактором для выбора расчетных прямоугольников являются высоты
источников выбросов и величина влияния выбросов предприятия на жилмассив.
Параметры расчетного прямоугольника.
Первой промплощадки:
размер - 2100 х 1800 м;
шаг расчетной сетки - 50 м.
Для определения доли вклада
предприятия в загрязнение окружающей среды рассчитаны концентрации вредных
веществ в районе жилмассива и в точке максимальной концентрации загрязняющих
веществ.
Координаты расчетной площадки
источников выбросов заданны в системе координат предприятия. Максимальные
приземные концентрации, полученные в результате расчетов рассеяния, а также
перечень источников, дающих наибольшие вклады в уровень загрязнения атмосферы,
представляются в таблице. Далее проводиться анализ результатов расчетов
рассеяния на существующее положение, который показывает, существует превышение
норм либо нет. Контроль за соблюдением нормативов ПДВ осуществляется в двух
формах - непосредственно у источников выделения, на источниках выбросов или по
фактическому загрязнению атмосферы в специально выбранных контрольных точках на
границе СЗЗ или в ближайшем жилом массиве. А также должен осуществляться по
графику, который составляется при введении нормативов временно согласованных
выбросов с получением разрешения на выбросы. Общее руководство службы охраны
атмосферы осуществляется главным инженером предприятия.
Учитывая высокий уровень
загрязнения атмосферного воздуха промышленными выбросами, проектом
предусматривается уточнение инвентаризации источников выбросов загрязняющих
веществ в атмосферу один раз в пять лет (при изменении технологических
параметров, сырья, оборудования - в течении одного месяца после изменения) и
регулярная отчетность по форме 2ТП - Воздух. Периодичность отчета определяется
местным контролирующим органом. На любом предприятии всегда должны соблюдаться
нормативы выбросов загрязняющих веществ в атмосферу. При проверке предприятия
уполномоченными органами в области охраны окружающей среды, должна
предоставляться информация в табличном виде. Типичная информация для ОАО
«Бурлинский элеватор» представлена в таблице 4.
Таблица 4 - Нормативы выбросов
загрязняющих веществ в атмосферу на существующее положение
|
Производство
Цех, участок
|
№
источника выброса
|
Нормативы
выбросов загрязняющих веществ
|
|
|
Существующее
положение на 2002 год
|
Существующее
положение на 2003 год
|
Существующее
положение на 2004 год
|
Существующее
положение на 2005 год
|
|
|
г/c
|
т/
год
|
г/c
|
т/
год
|
г/c
|
т/
год
|
г/c
|
т/
год
|
|
Ванадия
пятиокись. Организованные источники
|
|
Зерноперерабатывающее
производство
|
0018
0024 0026
|
0,00546
0,00546 0,00546
|
0,0002
0,0002 0,0032
|
0,00546
0,00546 0,00546
|
0,0002
0,0002 0,0032
|
0,0054
0,0054 0,0054
|
0,0002
0,0002 0,0032
|
0,00546
0,00546 0,00546
|
0,0002
0,0002 0,0032
|
|
Ванадия
пятиокись. Неорганизованных источников нет
|
|
Бенз(а)пирен.
Организованные источники
|
|
Бенз(а)пирен.
Неорганизованных источников нет
|
|
|
Существующее
положение на 2002 год
|
Существующее
положение на 2003 год
|
Существующее
положение на 2004 год
|
Существующее
положение на 2005 год
|
|
|
г/c
|
т/
год
|
г/c
|
т/
год
|
г/c
|
т/
год
|
г/c
|
т/
год
|
|
Пыль
зерновая. Организованные источники
|
|
Зерноперерабатывающее
производство
|
0001
0002 0026
|
0,0468
0,0284 1,6667
|
0,0468
0,0284 1,6667
|
0,0211
0,0014 0,96
|
0,0468
0,0284 1,6667
|
0,0211
0,0014 0,96
|
0,0468
0,0284 1,6667
|
0,0211
0,0014 0,96
|
|
Пыль
зерновая. Неорганизованные источники
|
|
Зерноперерабатывающее
производство
|
6036
6039
|
0,0675
0,0675
|
0,001
0,001
|
0,0675
0,0675
|
0,001
0,001
|
0,0675
0,0675
|
0,001
0,001
|
0,0675
0,0675
|
0,001
0,001
|
|
|
|
|
|
|
|
|
|
|
|
|
|
|
|
|
Данная таблица представлена в
более сокращенном виде. На предприятии она же составляется по всем вредным
веществам, и рассматриваются все источники выделения этих веществ. В
приведенной выше таблице год достижения ПДВ для всех веществ - 2002 год. Помимо
приведенных годов можно рассматривать больший диапазон, например с 2003 года по
2008год.
.4.3 Организация санитарно -
защитной зоны для предприятия
Для предприятий, их отдельных
зданий и сооружений с технологическими процессами, являющимися источниками
производственных вредностей, в зависимости от мощности, условий осуществления
технологического процесса, характера и количества выделяемых в окружающую среду
вредных веществ и других факторов, а также с учетом предусматриваемых мер по
уменьшению неблагоприятного влияния на окружающую среду и обеспечивающих
соблюдение требований и норм в соответствии с санитарной классификацией
предприятий, производств и объектов, устанавливаются следующие размеры
санитарно - защитных зон (СЗЗ) для предприятий:
класс 1 - размер СЗЗ 1000 м;
класс 2 - размер СЗЗ 500 м;
класс 3 - размер СЗЗ 300 м;
класс 4 - размер СЗЗ 100 м;
класс 5 - размер СЗЗ 50 м.
Определение границ СЗЗ
предприятий осуществляется на основании рекомендаций [19]. Ближайшие жилые дома
должны быть расположены на расстоянии не менее 40 м от крайнего источника
предприятия для промплощадки.
В соответствии с [20]
промплощадка предприятия относиться к классу предприятий, имеющих нормативный
размер 100 м. Все данные по уточнению размеров СЗЗ скорректированы по румбам в
зависимости от розы ветров. Все данные по уточнению размеров СЗЗ внесены в
таблицу 5.
Таблица 5 - Размеры СЗЗ в
соответствии с розой ветров
|
Направление
ветра
|
С
|
СВ
|
В
|
ЮВ
|
Ю
|
ЮЗ
|
З
|
СЗ
|
|
Среднегодовая
повторяемость ветров
|
7
|
6
|
12
|
11
|
10
|
26
|
12
|
11
|
|
Повторяемость
направлений ветров одного румба при круговой розе ветров
|
|
|
Отношение
Р/Р 0,6
|
0,5
|
1,0
|
0,9
|
0,8
|
2,1
|
1,0
|
0,9
|
|
|
Направление
СЗЗ
|
Ю
|
ЮЗ
|
З
|
СЗ
|
С
|
СВ
|
В
|
ЮВ
|
|
Размер
СЗЗ от крайнего источника
|
100
|
100
|
100
|
100
|
100
|
100
|
100
|
100
|
|
Нормативный
размер СЗЗ
|
100
|
100
|
100
|
100
|
100
|
210
|
100
|
100
|
|
Расчетный
размер СЗЗ на перспективу с учетом розы ветров
|
Не
требуется
|
|
|
|
|
|
|
|
|
|
|
|
|
|
|
В таблице 5 приведены все необходимые значения,
требующиеся для уточнения СЗЗ.
3. Расчетно - технологический раздел
Образующаяся во время работы
зерновая пыль выбрасываемая в атмосферу должна подвергаться высокоэффективной
очистке. Это положение регламентируется в соответствии с [5]. Существующие
методы очистки воздуха на предприятии не позволяют добиться 100 % эффективности
очистки, в связи с этим на основании проработанной литературно - технической
документации предлагается два варианта усовершенствования имеющейся
пылеочистной установки. Выбор оборудования в основном определяется количеством
очищаемого воздуха и концентрацией пыли. Кроме того, необходимо оценивать
характер пылевыделения, определять возможные величины запыленности при данном
процессе и, если это возможно, попытаться снизить пылевыделение, изменив
технологию производства. Первый вариант заключается в замене имеющегося циклона
на циклон марки ЦН - 15, степень очистки которого выше. Второй вариант
основывается на модернизации базовой установки, а именно установки рукавного
фильтра, который повысит степень очистки всей установки в целом.
Все расчеты проводятся в
соответствии с перечнем источников загрязнения:
источник №0001- прием зерна с
автотранспорта;
источник №0002 - прием зерна с
ж/д вагонов;
источник №0003 - 0004 -
подсилосный транспортер;
источник №0005 - 0009 -
надсилосный транспортер;
источник №0010 - 0013 -
надсилосный транспортер;
источник №0014 - прием зерна с
автотранспорта;
источник №0015 - подача зерна
на СОБ-1С;
источник №0016 - сепаратор
СОБ-1С;
источник №0017 - подача зерна
на сушилку;
источник №0018 - зерносушилка
СОБ-1С;
источник №0019 - прием отходов
зерна с СОБ-1С;
источник №0020 - прием зерна с
автотранспорта СОБ-МК;
источник №0021 - подача зерна
на СОБ-МК;
источник №0022 - сепаратор
СОБ-МК;
источник №0023 - подача зерна
на сушилку;
источник №0025 - прием отходов
зерна с СОБ-МК;
источник №0027 - погрузка зерна
с рабочей башни на автотранспорт;
источник №0028 - погрузка зерна
с рабочей башни на ж/д вагоны;
источник №0029 - 0035 -
транспортер подачи зерна на зерносклад амбарного типа;
источник №0043 - 0050 -
транспортер подачи зерна на зерноскладе.
.1 Расчет рассеивания загрязняющих веществ в
атмосферном воздухе от выбросов одиночного источника
Максимальное значение приземной концентрации
вредного вещества,
см, мг/м3, при выбросе газовоздушной смеси из
одиночного точечного источника с круглым устьем достигается при неблагоприятных
метеорологических условиях на расстоянии xм , м, от источника и определяется по
формуле
(3.1)
где А − коэффициент, зависящий от
температурной стратификации атмосферы;
М − масса вредного вещества,
выбрасываемого в атмосферу в единицу времени, г/с;− безразмерный
коэффициент, учитывающий скорость оседания вредных веществ в атмосферном
воздухе;
т и n - коэффициенты, учитывающие условия выхода
газо-воздушной смеси из устья источника выброса;− высота источника
выброса над уровнем земли, м;
h − безразмерный коэффициент, учитывающий
влияние рельефа местности в случае ровной или слабопересеченной местности с
перепадом высот, не превышающим 50 м на 1 км, h = 1;
DТ − разность между температурой
выбрасываемой газо-воздушной смеси Тг и температурой окружающего атмосферного
воздуха Тв °С;− расход газо-воздушной смеси, м3/с, определяемый по
формуле
, (3.2)
где D − диаметр устья источника выброса,
м;
w0 − средняя скорость выхода газовоздушной
смеси из устья источника выброса, м/с.
Значение коэффициента А, соответствующее
неблагоприятным метеорологическим условиям, при которых концентрация вредных
веществ в атмосферном воздухе максимальна, принимается равным: 200 − для
Европейской территории РФ.
Значение безразмерного коэффициента F
принимается:
а) для газообразных вредных веществ и
мелкодисперсных аэрозолей (пыли, золы и т. п., скорость упорядоченного оседания
которых практически равна нулю) - 1;
б) для мелкодисперсных аэрозолей при среднем
эксплуатационном коэффициенте очистки выбросов не менее 90 % - 2; от 75 до 90 %
- 2,5; менее 75 % и при отсутствии очистки - 3.
Значения коэффициентов m и n
определяются в зависимости от параметров
,
,
и fe.
; (3.3)
; (3.4)
; (3.5)
. (3.6)
Коэффициент m
определяется в зависимости от f и определяется по формуле
, при f <100. (3.7)
Коэффициент n при f < 100 определяется в
зависимости от
по формуле
при 0,5<
<2. (3.8)
Расстояние xм, м, от источника выбросов, на
котором приземная концентрация с, мг/м3, при неблагоприятных метеорологических
условиях достигает максимального значения см, определяется по формуле
, (3.9)
где безразмерный коэффициент d при f < 100
находится по формуле
при 0,5<
<2. (3.10)
Приземная концентрация вредных веществ с, мг/м3,
в атмосфере по оси факела выброса на различных расстояниях х, м, от источника
выброса определяется по формуле
, (3.11)
где s1 − безразмерный коэффициент,
определяемый в зависимости от отношения x/xм и коэффициента F по формулам
при
; (3.12)
при 1<
<8. (3.13)
Значение ПДВ для одиночного источника с круглым
устьем при фоновой концентрации Сф определяется по формуле
. (3.14)
Исходные данные для расчета приведены в таблице
6.
Таблица 6 - Исходные данные для расчета
рассеивания загрязняющего вещества в атмосферном воздухе от выбросов одиночного
источника
|
№
источника загрязнения
|
Параметры
источника загрязнения
|
Параметры
газовоздушной смеси
|
Загрязняющее
вещество
|
Количество
загрязняющих веществ
|
|
Высота,
м
|
Диаметр
устья, м
|
Скорость,
м/с
|
Температура,
°С
|
|
г/с
|
т/год
|
|
0001
|
8,0
|
0,3
|
14,14
|
18
|
Пыль
зерновая
|
0,609
|
9,470
|
|
0002
|
8,0
|
0,24
|
13,54
|
18
|
Пыль
зерновая
|
0,037
|
0,575
|
|
0003
- 0004
|
9,0
|
0,39
|
15,28
|
18
|
Пыль
зерновая
|
14,575
|
226,670
|
|
0005
- 0009
|
68,0
|
0,42
|
16,33
|
18
|
Пыль
зерновая
|
19,190
|
298,443
|
|
0010
- 0013
|
38,0
|
0,31
|
14,14
|
18
|
Пыль
зерновая
|
7,554
|
117,479
|
|
0014
|
12,0
|
0,31
|
14,14
|
18
|
Пыль
зерновая
|
0,122
|
1,897
|
|
0015
|
12,0
|
0,35
|
15,28
|
18
|
Пыль
зерновая
|
5,250
|
81,648
|
|
0016
|
22,0
|
0,42
|
14,43
|
18
|
Пыль
зерновая
|
12,073
|
187,759
|
|
0017
|
20,0
|
0,42
|
14,43
|
18
|
Пыль
зерновая
|
7,090
|
110,264
|
|
0019
|
8,0
|
0,23
|
13,54
|
18
|
Пыль
зерновая
|
0,010
|
0,156
|
|
0020
|
8,0
|
0,31
|
14,14
|
18
|
Пыль
зерновая
|
0,122
|
1,897
|
|
0021
|
8,0
|
0,35
|
15,28
|
18
|
Пыль
зерновая
|
5,250
|
81,648
|
|
0022
|
22,0
|
0,42
|
14,43
|
18
|
Пыль
зерновая
|
12,073
|
187,759
|
|
0023
|
20,0
|
0,42
|
14,43
|
18
|
Пыль
зерновая
|
7,090
|
110,264
|
|
0025
|
8,0
|
0,23
|
13,54
|
18
|
Пыль
зерновая
|
0,010
|
0,156
|
|
0027
|
10,0
|
0,38
|
13,54
|
18
|
Пыль
зерновая
|
0,565
|
8,787
|
|
0028
|
10,0
|
0,38
|
13,54
|
18
|
Пыль
зерновая
|
0,188
|
2,924
|
|
0029
- 0035
|
8,0
|
0,31
|
14,14
|
18
|
Пыль
зерновая
|
2,998
|
46,625
|
|
0043
- 0050
|
8,0
|
0,31
|
14,14
|
18
|
Пыль
зерновая
|
1,443
|
22,442
|
Все расчетные данные фактических выбросов
зерновой пыли, выделяющихся во время производственного процесса в атмосферный
воздух сведем в таблицу 7. Расчеты рассеивания проводятся по каждому источнику
отдельно и далее выявляются превышения. На расстояние от источника Xм, м, на
котором концентрация вредных веществ будет достигать максимального значения,
рассчитывается также отношение Х/Хм, м, которое необходимо для расчета
(расстояние принимаем 50, 100, 200 м).
Таблица 7 - Расчет выбросов и рассеивания
загрязняющих веществ
|
№
источника загрязнения
|
Расход
газо-оздушной смеси, Vỉ, м3/с
|
Параметр
f
|
Параметр
υм
|
Параметр
υ’м
|
Параметр
fe
|
Коэффициент
m
|
Коэффициент
n
|
Максимальная
приземная концентрация см, мг/м3
|
Показатель
d
|
Xм,
м
|
|
0001
|
0,99
|
52,1
|
0,85
|
0,69
|
262,8
|
0,38
|
1,70
|
0,47
|
8,6
|
68,80
|
|
0002
|
0,61
|
38,2
|
0,72
|
0,53
|
119,1
|
0,41
|
1,90
|
0,04
|
6,92
|
55,36
|
|
0003-
0004
|
1,82
|
62,5
|
0,99
|
0,86
|
508,8
|
1,50
|
7,93
|
10,34
|
93,06
|
|
0005-
0009
|
2,26
|
1,4
|
0,55
|
0,13
|
1,76
|
0,85
|
2,10
|
0,43
|
3,57
|
242,76
|
|
0010-
0013
|
1,07
|
2,4
|
0,52
|
0,15
|
2,70
|
0,79
|
2,20
|
0,68
|
3,54
|
134,52
|
|
0014
|
1,07
|
23,9
|
0,76
|
0,47
|
83,1
|
0,47
|
1,80
|
0,053
|
6,79
|
81,56
|
|
0015
|
1,47
|
31,5
|
0,85
|
0,58
|
156,1
|
0,43
|
1,70
|
1,79
|
7,93
|
95,16
|
|
0016
|
2,11
|
10,1
|
0,78
|
0,36
|
37,3
|
0,58
|
1,80
|
1,55
|
6,19
|
136,18
|
|
0017
|
2,11
|
12,2
|
0,80
|
0,39
|
47,5
|
0,56
|
1,77
|
1,05
|
6,51
|
130,20
|
|
0019
|
0,56
|
36,6
|
0,70
|
0,51
|
106,1
|
0,42
|
1,91
|
0,01
|
6,69
|
53,49
|
|
0020
|
1,07
|
53,8
|
0,87
|
0,71
|
286,3
|
0,37
|
1,68
|
0,08
|
8,86
|
70,87
|
|
0021
|
1,47
|
70,9
|
0,97
|
0,87
|
526,8
|
0,34
|
1,56
|
2,92
|
10,37
|
82,96
|
|
0022
|
2,11
|
10,1
|
0,78
|
0,36
|
37,3
|
0,58
|
1,80
|
1,55
|
6,19
|
136,18
|
|
0023
|
2,11
|
12,2
|
0,80
|
0,39
|
47,5
|
0,56
|
1,77
|
1,05
|
6,51
|
130,20
|
|
0025
|
0,56
|
36,6
|
0,70
|
0,51
|
106,1
|
0,42
|
1,91
|
0,01
|
6,69
|
53,49
|
|
0027
|
1,53
|
38,7
|
0,91
|
0,67
|
240,6
|
0,41
|
1,63
|
0,25
|
8,77
|
87,70
|
|
0028
|
1,53
|
38,7
|
0,91
|
0,67
|
240,6
|
0,41
|
1,63
|
0,08
|
8,77
|
87,70
|
|
0029-
0035
|
1,07
|
53,8
|
0,87
|
0,71
|
286,3
|
0,37
|
1,68
|
2,17
|
8,86
|
70,88
|
|
0043-
0050
|
1,07
|
53,8
|
0,87
|
0,71
|
286,3
|
0,37
|
1,68
|
1,05
|
8,86
|
70,88
|
В таблице 8 представлено продолжение расчета
рассеивания, а именно отношение расстояния выброса вредных веществ от источника
к расстоянию от источника выброса, на котором приземная концентрация достигает
максимального значения, также безразмерный коэффициент и приземная концентрация
вредных веществ.
Таблица 8 - Параметры расчета рассеивания
загрязняющего вещества
|
№
источника загрязнения
|
Х1/Хм
|
Х2/Хм
|
Х3/Хм
|
Коэффициент
s1
|
Коэффициент
s2
|
Коэффициент
s3
|
Концентрация
С1, мг/м3
|
Концентрация
С2, мг/м3
|
Концентрация
С3, мг/м3
|
|
0001
|
0,73
|
1,45
|
2,91
|
0,94
|
0,89
|
0,54
|
0,88
|
0,83
|
0,51
|
|
0002
|
0,90
|
1,80
|
3,60
|
1,03
|
0,81
|
0,42
|
0,07
|
0,05
|
0,03
|
|
0003-
0004
|
0,54
|
1,07
|
2,15
|
0,75
|
0,98
|
0,71
|
11,89
|
15,53
|
11,25
|
|
0005-
0009
|
0,21
|
0,41
|
0,82
|
0,19
|
0,53
|
0,98
|
0,14
|
0,41
|
0,76
|
|
0010-
0013
|
0,37
|
0,74
|
1,49
|
0,47
|
0,93
|
0,88
|
0,63
|
1,26
|
1,19
|
|
0014
|
0,61
|
1,23
|
2,45
|
0,83
|
0,95
|
0,63
|
0,09
|
0,10
|
0,07
|
|
0015
|
0,53
|
1,05
|
2,10
|
0,74
|
0,99
|
0,72
|
0,11
|
0,13
|
0,11
|
|
0016
|
0,37
|
0,73
|
1,47
|
0,47
|
0,93
|
0,88
|
1,46
|
2,88
|
2,72
|
|
0017
|
0,38
|
0,77
|
1,54
|
0,49
|
0,96
|
0,86
|
1,59
|
3,12
|
2,81
|
|
0019
|
0,93
|
1,87
|
3,74
|
1,0
|
0,78
|
0,40
|
0,02
|
0,02
|
0,01
|
|
0020
|
0,71
|
1,41
|
2,82
|
0,92
|
0,89
|
0,56
|
0,15
|
0,15
|
0,09
|
|
0021
|
0,60
|
1,21
|
2,41
|
0,82
|
0,95
|
0,64
|
4,78
|
5,54
|
3,73
|
|
0022
|
0,37
|
0,73
|
1,47
|
0,47
|
0,93
|
0,88
|
1,45
|
2,87
|
2,72
|
|
0023
|
0,38
|
0,77
|
1,54
|
0,49
|
0,96
|
0,86
|
1,02
|
2,01
|
1,79
|
|
0025
|
0,93
|
1,87
|
3,74
|
1,0
|
0,78
|
0,40
|
0,02
|
0,02
|
0,01
|
|
0027
|
0,57
|
1,14
|
2,28
|
0,79
|
0,97
|
0,67
|
0,41
|
0,34
|
|
0028
|
0,57
|
1,14
|
2,28
|
0,79
|
0,97
|
0,67
|
0,13
|
0,16
|
0,11
|
|
0029-
0035
|
0,71
|
1,41
|
2,82
|
0,92
|
0,89
|
0,56
|
3,99
|
3,86
|
2,43
|
|
0043-
0050
|
0,71
|
1,41
|
2,82
|
0,92
|
0,89
|
0,56
|
1,92
|
1,86
|
1,17
|
По данным таблицы 7 и таблицы 8 можно сделать
вывод, что зерновая пыль является загрязняющим веществом от которого следует
проводить очистку, значение предельно допустимой концентрации составляет 0,5
мг/м3. Также рассчитаны все необходимые коэффициенты, приземная концентрация на
различных расстояниях.
Таблица 9 - Сводная таблица
выбрасываемой в атмосферу зерновой пыли до проведения природоохранных
мероприятий
|
№
источника загрязнения
|
Объем
газо-воздушной смеси, м3/с
|
ПДК,
мг/м3
|
Фактическая
концентрация, мг/м3
|
ПДВ
г/с, (т/год)
|
Максимально
разовый выброс, г/с
|
Валовый
выброс загрязняющих веществ, т/год
|
Превышение
концентрации загрязняющих веществ, раз
|
|
0001
|
1,0
|
0,5
|
0,94
|
0,49(7,62)
|
1,218
|
18,94
|
2,49
|
|
0002
|
0,6
|
0,5
|
0,07
|
0,35(5,44)
|
0,074
|
1,15
|
-
|
|
0003-
0004
|
1,8
|
0,5
|
15,85
|
0,69(10,73)
|
29,150
|
453,34
|
42,25
|
|
0005-
0009
|
2,3
|
0,5
|
0,75
|
16,93(263,31)
|
38,380
|
596,89
|
2,27
|
|
0010-
0013
|
1,04
|
0,5
|
1,35
|
4,23(65,78)
|
15,108
|
234,96
|
3,57
|
|
0014
|
1,04
|
0,5
|
0,11
|
0,87(13,53)
|
0,244
|
3,81
|
-
|
|
0015
|
1,4
|
0,5
|
0,14
|
1,12(17,42)
|
10,50
|
163,31
|
9,38
|
|
0016
|
2,0
|
0,5
|
3,11
|
2,96(46,03)
|
24,146
|
375,52
|
8,16
|
|
0017
|
2,0
|
0,5
|
3,25
|
2,58(40,12)
|
14,180
|
220,53
|
5,51
|
|
0019
|
0,6
|
0,5
|
0,02
|
0,33(5,13)
|
0,020
|
0,31
|
-
|
|
0020
|
1,0
|
0,5
|
0,16
|
0,52(8,09)
|
0,740
|
11,51
|
1,42
|
|
0021
|
1,4
|
0,5
|
5,84
|
0,68(10,58)
|
10,50
|
163,31
|
15,44
|
|
0022
|
2,0
|
0,5
|
3,09
|
2,96(46,03)
|
24,146
|
375,52
|
8,16
|
|
0023
|
2,0
|
0,5
|
2,09
|
2,58(40,12)
|
14,180
|
220,53
|
5,51
|
|
0025
|
0,6
|
0,5
|
0,02
|
0,33(5,13)
|
0,020
|
0,31
|
-
|
|
0027
|
1,6
|
0,5
|
0,50
|
0,86(13,37)
|
1,130
|
17,57
|
1,31
|
|
0028
|
1,6
|
0,5
|
0,17
|
0,86(13,37)
|
0,376
|
5,85
|
-
|
|
0029-
0035
|
1,0
|
0,5
|
4,34
|
0,52(8,09)
|
5,996
|
93,25
|
11,53
|
|
0043-
0050
|
1,0
|
0,5
|
2,09
|
0,52(8,09)
|
2,886
|
44,88
|
5,55
|
В соответствии с таблицей 9
можно подвести общий итог о том, что при переработке зерна атмосферный воздух
загрязняется зерновой пылью практически от всех источников выделения кроме
источников 0002, 0014, 0019, 0025, 0028. Значит далее рассмотрим
природоохранные мероприятия, имеющиеся на предприятии и предложим нововведения
с помощью которых будет производиться максимальная очистка от зерновой пыли, а
затраты будут минимальными. Расчет проводился в соответствии с ОНД - 86
«Методика расчета полей концентраций в атмосферном воздухе вредных веществ,
содержащихся в выбросах предприятия» [19].
3.2 Материальный баланс базовой газоочистной
установки
На ОАО «Бурлинский элеватор» для хранения зерна
используется одна рабочая башня элеватора, два силосных корпуса и семь зерновых
складов. Каждый силосный корпус имеет однотипное оборудование, размещенное в
рабочей башне. Кроме этого на предприятии используются зерносушилка ДСП 32х3, зерноочистительный
комплекс СОБ - 1С, СОБ МК. На предприятии имеются три пункта приема зерна с
автотранспорта и один пункт приема зерна с железнодорожного транспорта.
Каждый пункт оснащен аспирационной системой с
пылеочистной установкой 4 БЦШ - 400 и 4 БЦШ - 300.
Принцип действия пылеочистной установки
заключается в следующем: воздух из производственного помещения вместе с
накопившейся зерновой пылью от оборудования уходит в аспирационную сеть, где с
помощь вентилятора он подается к циклону 4БЦШ - 400. Запыленный воздух входит в
циклон через патрубок по касательной к корпусу и далее движется по спирали в
кольцевом пространстве между корпусом и выхлопной трубой, а затем в конической
части корпуса. Под действием центробежной силы, возникающей при вращательном движении
потока, пылевые частицы перемещаются радиально, прижимаясь к стенкам циклона,
затем поток, продолжая свое движение, поступает в выхлопную (внутреннюю) трубу
и по ней выходит из аппарата. Пыль отделяется от воздуха в основном в момент
перехода нисходящего потока в восходящий, что происходит в конической части
корпуса циклона. В циклоне, таким образом, создаются два вихревых потока:
внешний - запыленного воздуха от входного патрубка в нижнюю часть корпуса - и
внутренний - относительно очищенного воздуха из нижней части корпуса в
выхлопную трубу. Далее поток воздуха поступает во вторую идентичную часть
циклона и проходит тот же процесс очистки и так до последнего элемента, так как
циклон 4БЦШ - 400 представляет группу из четырех циклонов. Затем очищенный
поток воздух частично выбрасывается в атмосферу. А часть воздуха с помощью
вентилятора нагнетается далее по аспирационной сети.
Далее в закрытом ленточном транспортере от
каждого пункта зерно подается в силосные корпуса один, два, три, четыре на
подсилосные транспортеры, которые оснащены пылеочистной установкой 4 БЦШ - 500,
принцип действия идентичен выше изложенному. Далее процесс перемещения зерна
одинаков для каждого силосного корпуса.
Зерно подсилосным транспортером подается в
насыпной лоток, который оснащен аспирационной системой с пылеочистной
установкой 4 БЦШ - 500. Затем зерно норией подается на поворотный круг, который
оснащен аспирационной системой с пылеочистной установкой 4 БЦШ - 500. В
зависимости от направления подачи с поворотного круга зерно может подаваться:
на надсилосный транспортер, с которого при
помощи сбрасывающей тележки зерно ссыпается в емкость хранения силосного типа,
данное технологическое оборудование оснащено аспирационной системой с
пылеочистной установкой 4 БЦШ - 500;
на зерносушилку ДСП 32х3 или СОБ - 1С;
на погрузку на автотранспорт, место погрузки
оснащено той же аспирационной системой;
на погрузку на железнодорожные вагоны, где место
погрузки оборудовано выше названной очистительной установкой;
на один из зерноскладов.
Кроме этого зерно с пункта приема по закрытому
транспортеру может подаваться на зерносклад амбарного типа. По мере
необходимости по пути следования зерно может проходить через одну из двух
систем зерноочистки СОБ - 1С или СОБ - МК с пылеочистной установкой 4 БЦШ -
450. При этом каждая из систем зерноочистки имеет свою малогабаритную
зерносушилку.
Погрузка зерна на складе
производится следующим образом: через просыпные отверстия в полу зерно попадает
на закрытый транспортер, находящийся под полом, вдоль всего помещения
зерносклада. По транспортеру зерно подается в насыпной лоток.
Из насыпного лотка норией зерно
поднимается на верхний транспортер, расположенный на высоте 4 м вдоль всего
помещения зерносклада. С верхнего транспортера зерно может подаваться: на одну
из двух систем зерноочистки СОБ - 1С или СОБ - МК; на погрузку на
автотранспорт.
При переработке зерна на одной
из двух систем зерноочистки СОБ - 1С или СОБ - МК выполняются следующие
технологические операции: зерно закрытым транспортером подается в насыпной
лоток, далее зерно норией подается на сепаратор, который оснащен аспирационной
системой с пылеочистной установкой 4 БЦШ - 400, далее зерно может подаваться
либо на закрытый транспортер, с которого при помощи сбрасывающей тележки зерно
ссыпается в зерносклад амбарного типа, которое так же оснащено очистной
установкой, он также оснащен аспирационной системой, или на малогабаритную
зерносушилку. Пылеочистная установка имеет степень очистки 85%.
Аксонометрическая схема базовой
газоочистной установки представлена в приложении В.
Масса зерновой пыли М, г/c, поступившей на
очистку можно определить по формуле
М = М1j
+ М2j (3.15)
где М1j
- масса зерновой пыли на входе в j
- ый аппарат, г/с;
М2j
- масса зерновой пыли на выходе из j
- го аппарата, г/с.
Если известна степень очистки (α)
, то
М2j
= М1j · (1 - αj) (3.16)
где αj
- степень очистки j - го
аппарата.
Массу отведенную из аппарата, М3j,
г/с, можно найти по формуле
М3j
= М1j - М2j (3.17)
Расчет материального баланса аналогичен для
каждого источника выбросов зерновой пыли, поэтому для удобства все расчетные
данные сведем в таблицу 10.
Таблица 10 - Материальный
баланс базовой газоочистной установки
|
№
источника загрязнения
|
Масса
выброса загрязняющего вещества
|
ПДВ
|
Степень
очистки, %
|
|
г/с
|
т/год
|
|
|
|
на
входе
|
поглощено
|
На
выходе
|
на
входе
|
поглощено
|
На
выходе
|
г/с
|
т/год
|
|
|
Циклон
марки 4БЦШ
|
|
0001
|
1,218
|
1,035
|
0,183
|
18,94
|
16,91
|
2,85
|
0,49
|
7,62
|
85
|
|
0003-
0004
|
29,150
|
24,777
|
4,373
|
453,34
|
385,33
|
68,01
|
0,69
|
10,73
|
85
|
|
0005-
0009
|
38,380
|
32,623
|
5,757
|
596,89
|
507,35
|
89,53
|
16,93
|
263,31
|
85
|
|
0010-
0013
|
15,108
|
12,842
|
2,266
|
234,96
|
199,72
|
35,24
|
4,23
|
65,78
|
85
|
|
0015
|
10,50
|
8,920
|
1,580
|
163,31
|
138,72
|
24,57
|
1,12
|
17,42
|
85
|
|
0016
|
24,146
|
20,524
|
3,622
|
375,52
|
319,19
|
56,33
|
2,96
|
46,03
|
85
|
|
0017
|
14,180
|
12,053
|
2,127
|
220,53
|
187,45
|
33,08
|
2,58
|
40,12
|
85
|
|
0020
|
0,740
|
0,629
|
0,111
|
11,51
|
9,78
|
1,73
|
0,52
|
8,09
|
85
|
|
0021
|
10,50
|
8,920
|
1,580
|
163,31
|
138,72
|
24,57
|
0,68
|
10,58
|
85
|
|
0022
|
24,146
|
20,524
|
3,622
|
375,52
|
319,19
|
56,33
|
2,96
|
46,03
|
85
|
|
0023
|
14,180
|
12,053
|
2,127
|
220,53
|
187,45
|
33,08
|
2,58
|
40,12
|
85
|
|
0027
|
1,130
|
0,961
|
0,169
|
14,95
|
2,63
|
0,86
|
13,37
|
85
|
|
0029-
0035
|
5,996
|
5,097
|
0,899
|
93,25
|
79,27
|
13,98
|
0,52
|
8,09
|
85
|
|
0043-
0050
|
2,886
|
2,453
|
0,433
|
44,88
|
38,15
|
6,73
|
0,52
|
8,09
|
85
|
В результате расчета материального баланса
необходимое условие (сумма масс на входе должна быть равна сумме масс на выходе
плюс сумме масс поглощения) было выполнено:
,26 = 163,411 + 28,849
Следовательно, материальный баланс сведен верно.
Таблица материального баланса по базовой
установке представлена в приложение Г.
По формуле (3.1) рассчитаем максимальное
значение приземных концентраций после проведения природоохранных мероприятий по
базовой установке
очистка газовый установка пыль атмосфера
мг/м3,
мг/м3,
мг/м3,
мг/м3,
мг/м3,
мг/м3,
мг/м3,
мг/м3,
мг/м3,
мг/м3,
мг/м3,
мг/м3,
мг/м3,
мг/м3.
Сведем полученные значения в таблицу
11.
Таблица 11 - Сводная таблица
выбрасываемой в атмосферу зерновой пыли после проведения природоохранных
мероприятий по базовой установке
|
№
источника загрязнения
|
Объем
газовоздушной смеси, м3/с
|
ПДК,
мг/м3
|
Фактическая
концентрация, мг/м3
|
ПДВ
г/с, (т/год)
|
Максимально-разовый
выброс, г/с
|
Валовый
выброс загрязняющих веществ, т/год
|
Превышение
концентрации загрязняющих веществ, раз
|
|
0001
|
1,0
|
0,5
|
0,141
|
0,49(7,62)
|
0,183
|
2,85
|
-
|
|
0003-
0004
|
1,8
|
0,5
|
4,789
|
0,69(10,73)
|
4,373
|
68,01
|
6,34
|
|
0005-
0009
|
2,3
|
0,5
|
0,130
|
16,93(263,31)
|
5,757
|
89,53
|
-
|
|
0010-
0013
|
1,04
|
0,5
|
0,203
|
4,23(65,78)
|
2,266
|
35,24
|
-
|
|
0015
|
1,4
|
0,5
|
0,538
|
1,12(17,42)
|
1,580
|
24,57
|
1,41
|
|
0016
|
2,0
|
0,5
|
0,464
|
2,96(46,03)
|
3,622
|
56,33
|
1,22
|
|
0017
|
2,0
|
0,5
|
0,488
|
2,58(40,12)
|
2,127
|
33,08
|
-
|
|
0020
|
1,0
|
0,5
|
0,024
|
0,52(8,09)
|
0,111
|
1,73
|
-
|
|
0021
|
1,4
|
0,5
|
0,879
|
0,68(10,58)
|
1,58
|
24,57
|
2,32
|
|
0022
|
2,0
|
0,5
|
0,465
|
2,96(46,03)
|
3,622
|
56,33
|
1,22
|
|
0023
|
2,0
|
0,5
|
0,314
|
2,58(40,12)
|
2,127
|
33,08
|
-
|
|
0027
|
1,6
|
0,5
|
0,075
|
0,86(13,37)
|
0,169
|
2,63
|
-
|
|
0029-
0035
|
1,0
|
0,5
|
0,651
|
0,52(8,09)
|
0,899
|
13,98
|
1,73
|
|
0043-
0050
|
1,0
|
0,5
|
0,313
|
0,52(8,09)
|
0,433
|
6,73
|
-
|
Исходя из таблицы 11, можно сделать вывод, что
используемые природоохранные мероприятия очищают газовоздушную смесь не на всех
источниках, так как имеется превышение на шести источниках в соответствии с ПДК
и ПДВ, а значит, требуется модернизация технологий, а именно частичная замена
оборудования.
.3 Первый вариант модернизации пылеочистной
установки
В настоящее время мы можем наблюдать как
развиваются и совершенствуются технологии в области очистки воздуха на
предприятии. Циклоны типа ЦН-15 (НИИОгаза) являются наиболее универсальным
типом циклонов. Они предназначены для отделения от газообразной среды
взвешенных частиц сухой пыли, образующейся в различных помольных и дробильных
установках, при транспортировании сыпучих материалов, а также летучей золы.
Модернизация системы очистки заключается в
следующем: на источниках загрязнения 0003 - 0004, 0015, 0016, 0021, 0022, 0029
- 0035 предлагается замена имеющихся циклонов на циклоны ЦН - 15 - 400 х 4УП
(рисунок 6).
Данный циклон имеет ряд преимуществ. Степень
очистки предлагаемого циклона выше используемого, производительность циклона
находится в пределах от 5800 до7340 м3/час. Общая высота циклона составляет
3450 мм, длина 1006 мм.
Из - за многолетнего использования циклонов 4БЦШ
их свойства ухудшились и требуется замена оборудования. Но так как экономически
не выгодно заменять одновременно все оборудование, замене предлагается то,
которое уже не справляется с очисткой газовоздушного потока.
Для увеличения срока службы у предложенного
циклона в местах наибольшего износа наносят специальное антиабразивное
покрытие. Исходя из компоновочных соображений групповые циклоны изготовляют с
камерой очищенного газа в виде улитки.
Рисунок 6 - Циклон ЦН - 15 - 400 х 4УП
Удаление пыли из бункеров циклона ЦН - 15
производиться через пылевыгружное устройство, состоящее из пылевого затвора и
приспособлений для транспортирования пыли. Пылевыгружные устройства имеют
небольшие размеры, герметичны, способны работать на противодавлении и при
пониженном давлении в бункере; безотказны в действии. Аксонометрическая схема
первого варианта модернизации газоочистной установки представлена в приложении
Д, аппарат - приложение Е.
Расчет материального баланса предлагаемой
установки основывается на формулах 3.15 - 3.17 и аналогичен расчету базовой
установки, поэтому все расчетные данные сведем в таблицу 12.
Таблица 12 - Материальный
баланс предлагаемой установки
|
№
источника загрязнения
|
Масса
выброса загрязняющего вещества
|
ПДВ
|
Степень
очистки%
|
|
г/с
|
т/год
|
|
|
|
на
входе
|
поглощено
|
На
выходе
|
на
входе
|
поглощено
|
На
выходе
|
г/с
|
т/год
|
|
|
Циклон
марки БЦШ
|
|
0001
|
1,218
|
1,035
|
0,183
|
18,94
|
16,91
|
2,85
|
0,49
|
7,62
|
85
|
|
0005
- 0009
|
38,380
|
32,623
|
5,757
|
596,89
|
507,35
|
89,53
|
16,93
|
263,31
|
85
|
|
0010
- 0013
|
15,108
|
12,842
|
2,266
|
234,96
|
199,72
|
35,24
|
4,23
|
65,78
|
85
|
|
0017
|
14,180
|
12,053
|
2,127
|
220,53
|
187,45
|
33,08
|
2,58
|
40,12
|
85
|
|
0020
|
0,740
|
0,629
|
0,111
|
11,51
|
9,78
|
1,73
|
0,52
|
8,09
|
85
|
|
0023
|
14,180
|
12,053
|
2,127
|
220,53
|
187,45
|
33,08
|
2,58
|
40,12
|
85
|
|
0027
|
1,130
|
0,961
|
0,169
|
17,57
|
14,95
|
2,63
|
0,86
|
13,37
|
85
|
|
0043
- 0050
|
2,886
|
2,453
|
0,433
|
44,88
|
38,15
|
6,73
|
0,52
|
8,09
|
85
|
|
Циклон
марки ЦН - 15
|
|
0003-
0004
|
29,150
|
27,692
|
1,458
|
453,34
|
430,67
|
22,67
|
0,69
|
10,73
|
95
|
|
0015
|
10,50
|
9,975
|
0,525
|
163,31
|
155,13
|
8,164
|
1,12
|
17,42
|
95
|
|
0016
|
24,146
|
22,939
|
1,207
|
375,52
|
356,75
|
18,776
|
2,96
|
46,03
|
95
|
|
0021
|
10,50
|
9,975
|
0,525
|
163,31
|
155,13
|
8,164
|
0,68
|
10,58
|
95
|
|
0022
|
24,146
|
22,939
|
1,207
|
375,52
|
356,75
|
18,776
|
2,96
|
46,03
|
95
|
|
0029-
0035
|
5,996
|
5,697
|
0,299
|
93,25
|
88,61
|
4,65
|
0,52
|
8,09
|
95
|
Из таблицы 12 можно сделать вывод о том, что
хорошо просматриваются массы на входе и массы на выходе, также видно то
количество вещества, которое поглощается аппаратом.
В результате расчета материального баланса
необходимое условие (сумма масс на входе должна быть равна сумме масс на выходе
+ сумме масс поглощения) было выполнено:
,26 = 173,866 + 18,394
Следовательно, материальный баланс сведен верно
и представлен в приложении Ж.
По формуле (3.1) рассчитаем максимальное
значение приземных концентраций после проведения природоохранных мероприятий по
модернизируемой установке
мг/м3,
мг/м3,
мг/м3,
мг/м3,
мг/м3,
мг/м3,
мг/м3,
мг/м3,
мг/м3,
мг/м3,
мг/м3,
мг/м3,
мг/м3.
Сведем полученные значения в таблицу
13.
Таблица 13 - Сводная таблица
выбрасываемой в атмосферу зерновой пыли после проведения природоохранных
мероприятий по предлагаемой установке
|
№
источника загрязнения
|
Объем
газовоздушной смеси, м3/с
|
ПДК,
мг/м3
|
Фактическая
концентрация, мг/м3
|
ПДВ
г/с, (т/год)
|
Максимально-разовый
выброс, г/с
|
Валовый
выброс загрязняющих веществ, т/год
|
Превышение
концентрации загрязняющих веществраз
|
|
0001
|
1,0
|
0,5
|
0,141
|
0,49(7,62)
|
0,183
|
2,85
|
-
|
|
0003-
0004
|
1,8
|
0,5
|
1,597
|
0,69(10,73)
|
1,458
|
22,67
|
2,11
|
|
0005-
0009
|
2,3
|
0,5
|
0,130
|
16,93(263,31)
|
5,757
|
89,53
|
-
|
|
0010-
0013
|
1,04
|
0,5
|
0,203
|
4,23(65,78)
|
2,266
|
35,24
|
-
|
|
0015
|
1,4
|
0,5
|
0,179
|
1,12(17,42)
|
0,525
|
8,164
|
-
|
|
0016
|
2,0
|
0,5
|
0,155
|
2,96(46,03)
|
1,207
|
18,78
|
-
|
|
0017
|
2,0
|
0,5
|
0,488
|
2,58(40,12)
|
2,127
|
33,08
|
-
|
|
0020
|
1,0
|
0,5
|
0,024
|
0,52(8,09)
|
0,111
|
1,73
|
-
|
|
0021
|
1,4
|
0,5
|
0,292
|
0,68(10,58)
|
0,525
|
8,164
|
-
|
|
0022
|
2,0
|
0,5
|
0,155
|
2,96(46,03)
|
1,207
|
18,78
|
-
|
|
0023
|
2,0
|
0,5
|
0,314
|
2,58(40,12)
|
2,127
|
33,08
|
-
|
|
0027
|
1,6
|
0,5
|
0,075
|
0,86(13,37)
|
0,169
|
2,63
|
-
|
|
0029-
0035
|
1,0
|
0,5
|
0,217
|
0,52(8,09)
|
0,299
|
4,65
|
-
|
|
0043-
0050
|
1,0
|
0,5
|
0,313
|
0,52(8,09)
|
0,433
|
6,73
|
-
|
Исходя из таблицы 13, можно сделать вывод, что
используемые природоохранные мероприятия очищают газовоздушную смесь на всех
источниках, кроме 0003 - 0004, так как на нем иметься превышение в соответствии
с ПДК в 2,11 раз, значит предложенные мероприятия целесообразны.
.4 Второй вариант модернизации пылеочистной
установки
Наиболее благоприятными условиями работы
отличалась бы система, в которой поток очищаемого воздуха на выходе из циклона
подавался далее на очистки в рукавный фильтр марки ФРИП 90 (рисунок 7), у
которого производительность по очищаемому газу составляет 9700 м3/час, площадь
поверхности фильтрования 90 м2, 3 секции, давление продувочного воздуха
,6 Мпа, допустимое давление внутри аппарата 5
кПа, высота рукавного фильтра 3550 мм, длина 3300 мм.
Рисунок 7 - Фильтр марки ФРИП 90
Фильтры ФРИП предназначены для высокоэффективной
очистки запыленного воздуха от пылей в вытяжных аспирационных системах
различных отраслей промышленности: зерноперерабатывающей, химической,
деревообрабатывающей, стройиндустрии и т.д. Фильтры ФРИП выпускаются нескольких
исполнений: для улавливания пылей не являющихся токсичными, пожаро- и
взрывоопасными с температурой очищаемого воздуха до 130°С; для улавливания
взрывоопасных пылей; для улавливания пылей при очистки высокотемпературных
газов до 260°С.
Фильтр ФРИП 90 состоит из корпуса, разделенного
на камеры неочищенного и очищенного газов, фильтровальных элементов (каркасного
типа), клапанной секции с управляющими электромагнитами и устройством
управления регенерацией рукавов. Запыленный воздух через входной патрубок
поступает в камеру, где расположены фильтрующие рукава. Пыль задерживается на
фильтрующей поверхности материала, а очищенные газы удаляются через верхние
открытые части рукавов в камеру очищенного газа. Фильтрующие рукава
изготавливаются на специализированном швейном оборудовании из высокоэффективных
нетканых фильтрующих полотен как отечественного, так и зарубежного
производства.
Регенерация фильтровальных рукавов осуществляется
периодически по заданному циклу без отключения фильтра ФРИП односторонней
импульсной продувкой сжатым воздухом, поступающим внутрь рукавов сверху через
отверстия в продувочных коллекторах. Длительность импульсов и частота циклов
регенерации устанавливается с помощью прибора управления регенерацией входящего
в комплект поставки фильтра.
Сжатый воздух, поступающий на фильтры ФРИП,
должен быть осушен и очищен не ниже 10 класса по ГОСТ 17433-80 «Промышленная
чистота. Сжатый воздух. Классы загрязненности» [22].
В предложенном варианте фильтр оснащается
предохранительными клапанами с разрушающей мембраной, так как загрязняющее
вещество является взрывоопасным.
Для обеспечения нормальной работы фильтра должна
периодически проводиться выгрузка уловленной пыли из бункера.
Работа фильтра как и всей аспирационной системы
контролируется с помощью главного пульта управления.
Система автоматики имеет возможность передачи
всей информации на верхний уровень для контроля и управления системой очистки
воздуха в комплексе с технологией, которую она обслуживает. Аксонометрическая
схема второго варианта улучшения газоочистной системы представлена в приложении
З, аппарата - приложение И.
Расчет материального баланса предлагаемой
установки основывается на формулах 3.15 - 3.17 и аналогичен вышеизложенным
установкам, поэтому все расчетные данные также сводятся в таблицу 14.
Таблица 14 - Материальный
баланс предлагаемой установки
|
№
источника загрязнения
|
Масса
выброса загрязняющего вещества
|
ПДВ
|
Степень
очистки, %
|
|
г/с
|
т/год
|
|
|
|
на
входе
|
поглощено
|
На
выходе
|
на
входе
|
поглощено
|
На
выходе
|
г/с
|
т/год
|
|
|
Циклон
марки 4БЦШ
|
|
0001
|
1,218
|
1,035
|
0,183
|
18,94
|
16,91
|
2,85
|
0,49
|
7,62
|
85
|
|
0003-
0004
|
29,150
|
24,777
|
4,373
|
453,34
|
385,33
|
68,01
|
0,69
|
10,73
|
85
|
|
0005-
0009
|
38,380
|
32,623
|
5,757
|
596,89
|
507,35
|
89,53
|
16,93
|
263,31
|
85
|
|
0010-
0013
|
15,108
|
12,842
|
2,266
|
234,96
|
199,72
|
35,24
|
4,23
|
65,78
|
85
|
|
0015
|
10,50
|
8,920
|
1,580
|
163,31
|
138,72
|
24,57
|
1,12
|
17,42
|
85
|
|
0016
|
24,146
|
20,524
|
3,622
|
375,52
|
319,19
|
56,33
|
2,96
|
46,03
|
85
|
|
0017
|
14,180
|
12,053
|
2,127
|
220,53
|
187,45
|
33,08
|
2,58
|
40,12
|
85
|
|
0020
|
0,740
|
0,629
|
0,111
|
11,51
|
9,78
|
1,73
|
0,52
|
8,09
|
85
|
|
0021
|
10,50
|
8,920
|
1,580
|
163,31
|
138,72
|
24,57
|
0,68
|
10,58
|
85
|
|
0022
|
24,146
|
20,524
|
3,622
|
375,52
|
319,19
|
56,33
|
2,96
|
46,03
|
85
|
|
0023
|
14,180
|
12,053
|
2,127
|
220,53
|
187,45
|
33,08
|
2,58
|
40,12
|
85
|
|
0027
|
1,130
|
0,961
|
0,169
|
17,57
|
14,95
|
2,63
|
0,86
|
13,37
|
85
|
|
0029-
0035
|
5,996
|
5,097
|
0,899
|
93,25
|
79,27
|
13,98
|
0,52
|
8,09
|
85
|
|
0043-
0050
|
2,886
|
2,453
|
0,433
|
44,88
|
38,15
|
6,73
|
0,52
|
8,09
|
85
|
|
Рукавный
фильтр
|
|
0003-
0004
|
4,373
|
4,329
|
0,044
|
68,01
|
67,32
|
0,68
|
0,69
|
10,73
|
99
|
|
0015
|
1,580
|
1,564
|
0,016
|
24,57
|
24,32
|
0,25
|
1,12
|
17,42
|
99
|
|
0016
|
3,622
|
3,586
|
0,036
|
56,33
|
55,77
|
0,56
|
2,96
|
46,03
|
99
|
|
0021
|
1,580
|
1,564
|
0,016
|
24,57
|
24,32
|
0,25
|
0,68
|
10,58
|
99
|
|
0022
|
3,622
|
3,586
|
0,036
|
56,33
|
55,77
|
0,56
|
2,96
|
46,03
|
99
|
|
0029-
0035
|
0,899
|
0,890
|
13,98
|
13,84
|
0,14
|
0,52
|
8,09
|
99
|
Из таблицы 14 можно сделать вывод о том, что
установка рукавных фильтров в качестве дополнительной очистки целесообразна,
так как превышений в сравнении с предельно - допустимыми выбросами нет.
В результате расчета материального баланса
необходимое условие (сумма масс на входе должна быть равна сумме масс на выходе
+ сумме масс поглощения) было выполнено:
,936 = 178,930 + 29,006
Следовательно, материальный баланс сведен верно
и представлен в приложении К.
По формуле (3.1) рассчитаем максимальное
значение приземных концентраций после проведения природоохранных мероприятий по
модернизируемой установке
мг/м3,
мг/м3,
мг/м3,
мг/м3,
мг/м3,
мг/м3,
мг/м3,
мг/м3,
мг/м3,
мг/м3,
мг/м3,
мг/м3,
мг/м3,
мг/м3.
Таблица 15 - Сводная таблица
выбрасываемой в атмосферу зерновой пыли после проведения природоохранных мероприятий
по предлагаемой установке
|
№
источника загрязнения
|
Объем
газовоздушной смеси, м3/с
|
ПДК,
мг/м3
|
Фактическая
концентрация, мг/м3
|
ПДВ
г/с, (т/год)
|
Максимально-разовый
выброс, г/с
|
Валовый
выброс загрязняющих веществ, т/год
|
Превышение
концентрации загрязняющих веществ, раз
|
|
0001
|
1,0
|
0,5
|
0,141
|
0,49(7,62)
|
0,183
|
2,85
|
-
|
|
0003-
0004
|
1,8
|
0,5
|
0,048
|
0,69(10,73)
|
0,044
|
0,68
|
-
|
|
0005-
0009
|
2,3
|
0,5
|
0,130
|
16,93(263,31)
|
5,757
|
89,53
|
-
|
|
0010-
0013
|
1,04
|
0,5
|
0,203
|
4,23(65,78)
|
2,266
|
35,24
|
-
|
|
0015
|
1,4
|
0,5
|
0,005
|
1,12(17,42)
|
0,016
|
0,25
|
-
|
|
0016
|
2,0
|
0,5
|
0,005
|
2,96(46,03)
|
0,036
|
0,56
|
-
|
|
0017
|
2,0
|
0,5
|
0,488
|
2,58(40,12)
|
2,127
|
33,08
|
-
|
|
0020
|
1,0
|
0,5
|
0,024
|
0,52(8,09)
|
0,111
|
1,73
|
-
|
|
0021
|
1,4
|
0,5
|
0,009
|
0,68(10,58)
|
0,016
|
0,25
|
-
|
|
0022
|
2,0
|
0,5
|
0,155
|
2,96(46,03)
|
0,036
|
0,56
|
-
|
|
0023
|
2,0
|
0,5
|
0,314
|
2,58(40,12)
|
2,127
|
33,08
|
-
|
|
0027
|
1,6
|
0,5
|
0,075
|
0,86(13,37)
|
0,169
|
2,63
|
-
|
|
0029-
0035
|
1,0
|
0,5
|
0,007
|
0,52(8,09)
|
0,009
|
0,14
|
-
|
|
0043-
0050
|
1,0
|
0,5
|
0,313
|
0,52(8,09)
|
0,433
|
6,73
|
-
|
Исходя из таблицы 15, можно сделать вывод, что
используемые природоохранные мероприятия очищают газовоздушную смесь на всех
источниках, превышении в соответствии с ПДК и ПДВ не имеется, значит
предложенные мероприятия целесообразны.
4 Эколого - экономическое обоснование базовой и
усовершенствованных газоочистных установок
Эколого - экономический раздел отражает
экономические характеристики проекта. Расчеты этого раздела включают:
определение предотвращенного экологического ущерба от загрязнения окружающей
среды; платежи за загрязнение окружающей природной среды; эксплуатационные расходы;
себестоимость очистки; экономический результат от природоохранных мероприятий;
определение годового прироста дохода; определение величины приведенных затрат
на проведение природоохранных мероприятий; чистый экономический эффект от
природоохранных мероприятий; полная экономическая эффективность природоохранных
мероприятий; общая экономическая эффективность капитальных вложений в
природоохранные мероприятия; срок окупаемости природоохранных мероприятий.
Также определяется заработная плата производственных рабочих, издержки на
приобретение реагентов, сырья, материалов, на ремонт оборудования,
себестоимость очистки и норматив окупаемости.
Эколого - экономический раздел рассчитывается
также в трех вариантах: по базовой установке, первому варианту и второму
усовершенствованной установки.
.1 Определение предотвращенного экономического
ущерба для атмосферного воздуха
Абсолютный ущерб окружающей среде - ущерб в
денежном выражении, который отражает отрицательное воздействие техногенных
систем на состояние и качество окружающей среды, угнетение биосферы и здоровье
человека.
Предотвращенный экологический ущерб от
загрязнения окружающей природной среды представляет собой оценку в денежной
форме возможных отрицательных последствий от загрязнения природной среды, которые
удалось избежать с помощью технических, социальных, экономических, нормативно -
законодательных и международно - правовых санкций.
Эколого - экономическая оценка
величины предотвращенного ущерба атмосферному воздуху
, руб.,
определяется по формуле
, руб./год, (4.1)
где
- величина экономической оценки
удельного ущерба от выбросов загрязняющих веществ в атмосферный воздух для i -
го экономического региона РФ, руб/усл.т. (Западно - Сибирский экономический
регион
=46,6);
,
- приведенная масса выбросов
загрязняющих веществ, соответственно на начало и конец расчетного периода в
рассматриваемом регионе, усл.т.;
- коэффициент экологической
ситуации и экологической значимости, (Западно - Сибирский регион
=1,2).
Приведенная масса загрязняющих
веществ
,
, усл.т,
рассчитывается по формуле
, усл.т, (4.2)
где
- масса выброса в атмосферный
воздух для i - го загрязняющего вещества или группы веществ с одинаковым
коэффициентом относительной эколого - экономической опасности, т/год;
- коэффициент относительной эколого
- экономической опасности- го загрязняющего вещества или группы веществ [23];
- индекс загрязняющего вещества или
группы загрязняющих веществ;
- количество учитываемых групп
загрязняющих веществ.
усл.т,
усл.т,
усл.т,
усл.т,
усл.т,
усл.т.
По формуле (4.1) рассчитаем эколого
- экономическую оценку величины предотвращенного ущерба
руб./год,
руб./год,
руб./год.
.2 Платежи за загрязнение окружающей
природной среды
Плата за выброс загрязняющих
веществ, не превышающих установленные нормативные предельно - допустимые
выбросы
, руб./год,
определяется путем умножения соответствующих ставок платы за величину
загрязнения, и суммирования полученных произведений по видам загрязняющих
веществ, т.е. по формуле
, руб./год, (4.3)
при выполнении неравенства
,
где
- базовая ставка платы за выброс 1
тонны i - го загрязняющего вещества в пределах допустимых нормативных выбросов,
руб., (в пределах ПДВ для зерновой пыли
=550 руб./т);
- фактический выброс i - го
загрязняющего вещества, т/год;
- коэффициент экологической ситуации
и экологической значимости загрязняемого объекта, (для внесения платы за выброс
загрязняющих веществ по Западно - Сибирскому региону
=1,2);
- количество учитываемых групп
загрязняющих веществ.
руб./год,
руб./год,
руб./год.
.3 Эксплуатационные расходы
Заработная плата производственных
рабочих
, руб./год,
определяется по формуле
, руб./год, (4.4)
где
- средняя ставка заработной платы,
руб./час·чел;
- коэффициент, учитывающий выдачу
премий;
- районный коэффициент по оплате
труда;
- коэффициент, учитывающий работу в
ночное время;
- фактическое время работы одного
рабочего, час;
- количество рабочих, чел.
Фактическое время работы одного
рабочего
, час,
определяется по формуле
, час, (4.5)
где
- количество праздничных дней в
году, не совпадающих с выходными, сут.;
- количество выходных дней в году,
сут.;
- число рабочих часов в смену, час;
- число рабочих смен в сутки.
час,
руб.,
руб.,
руб.
Издержки на приобретение материала
для регенерации в рукавном фильтре
, руб., определяется по формуле
, руб., (4.6)
где
- норма расхода сырья, (для
рукавного фильтра 12 м³);
- стоимость сырья, руб./м³.
руб.
Издержки на электроэнергию
, руб.,
определяются по формуле
, руб., (4.7)
где
- мощность одной электроустановки,
кВт;
- цена электроэнергии,
руб./кВт·час;
- количество электроустановок, шт.;
- коэффициент, учитывающий расход
электроэнергии на освещение,
=1,03 - 1,07.
руб.,
руб.,
руб.
Издержки на ремонт оборудования
, руб.,
определяются по формуле
, руб., (4.8)
где
- количество объектов, шт;
- норма отчислений в ремонтный фонд
i - го объекта, %;
- стоимость i - го объекта, руб..
руб.,
руб.,
руб.
Амортизационные отчисления
, руб.,
определяются по формуле
, руб., (4.9)
где
- норма амортизации основных
фондов, %.
руб.,
руб.,
руб.
Прочие издержки по активным основным
фондам
, руб.,
определяются по формуле
, тыс.руб/год, (4.10)
где
- коэффициент учитывающий прочие
издержки (чистку аппаратов, налоги в дорожный фонд, налог с имущества и т.д.),
=0,05.
руб.,
руб.,
руб.
Величина всех текущих издержек
, руб.,
определяются по формуле
, руб., (4.10)
руб.,
руб.,
руб.
Себестоимость очистки
, руб./т,
определяются по формуле
, руб./т, (4.11)
где
- масса очищенных выбросов, т/год.
руб./т,
руб./т,
руб./т.
Экономический результат
природоохранных мероприятий Р, руб., выражается в сумме величины
предотвращенного экологического ущерба от загрязнения среды, и годового
прироста дохода (дополнительного дохода) от улучшения производственных
результатов деятельности предприятия. В нашем случае годовой прирост равен
нулю, значит экономический результат равен величине предотвращенного ущерба.
При сравнении нескольких вариантов
очистки, в которых применяются различные агрегаты (основные фонды) критерием
оптимальности для выбора «лучшего» варианта может служить величина приведенных
затрат
, руб.,
определяются по формуле
, руб., (4.12)
где
- нормативный коэффициент
экономической эффективности капитальных вложений, (принимается в размере от
0,12 до 0,15);
К - величина капитальных вложений в
создание п8риродоохранных сооружений, тыс.руб.
руб.,
руб.,
руб.
Показатель чистого экономического
эффекта природоохранных мероприятий R, руб., рассчитывается по формуле
, руб., (4.13)
руб.,
руб.,
руб.
Полная экономическая эффективность
природоохранных мероприятий
, руб./руб., определяется по формуле
, руб./руб., (4.13)
руб./руб.,
руб./руб.,
руб./руб.
Общая экономическая эффективность
капитальных вложений в природоохранные мероприятия
, руб./руб.,
определяется как отношение полного годового объема экономического эффекта, за
вычетом расходов на эксплуатацию природоохранных мероприятий, к величине
капитальных вложений, обеспечивающих этот результат.
, руб./руб., (4.13)
руб./руб.,
руб./руб.,
руб./руб.
Определение срока окупаемости
, лет,
производиться по формуле
, лет, (4.14)
лет,
лет,
лет.
Сведем все экономические показатели
в таблицу 16 и сравним полученные данные по трем установкам, а также определим
наиболее приемлемый вариант для развития предприятия, и наиболее целесообразный
вариант для окружающей среды.
Таблица 16 - Эколого - экономический
эффект внедрения природоохранных мероприятий
|
Наименование
показателя
|
Условное
обозначение
|
Размерность
|
Базовая
установка
|
Первый
вариант усовершенствования
|
Второй
вариант усовершенствования
|
|
Величина
предотвращенного ущерба
|
руб.383706408256420145
|
|
|
|
|
|
Платежи
за загрязнение ОПС
|
П
|
руб.
|
479707
|
305855
|
221656
|
|
Эксплуатационные
расходы:
|
руб.154477715342751788131
|
|
|
|
|
|
-
заработная плата рабочих
|
руб.907157907157963854
|
|
|
|
|
|
-
издержки на приобретение материалов
|
руб.--2304
|
|
|
|
|
|
-
издержки на электроэнергию
|
руб.513941477748615282
|
|
|
|
|
|
-
издержки на ремонт оборудования
|
руб.392604741974776
|
|
|
|
|
|
-
амортизационные отчисления
|
руб.7853094838122072
|
|
|
|
|
|
-
прочие издержки
|
руб.588971139843
|
|
|
|
|
|
Себестоимость
очитки
|
S
|
руб./т.
|
3,44
|
5,36
|
8,63
|
|
Экономический
результат от природоохранных мероприятий
|
Р
|
руб.
|
383706
|
408256
|
420145
|
|
Приведенные
затраты на проведение природоохранных мероприятий
|
руб.174376517435012071597
|
|
|
|
|
|
Чистый
экономический эффект от природоохранных мероприятий
|
R
|
руб.
|
-1360059
|
-1335245
|
-1651452
|
|
Полная
экономическая эффективность природоохранных мероприятий
|
руб/руб0,220,230,20
|
|
|
|
|
|
Общая
экономическая эффективность капитальных вложений
|
руб/руб0,230,240,18
|
|
|
|
|
|
Капитальные
вложения
|
К
|
руб
|
1658240
|
1734550
|
2362220
|
|
Срок
окупаемости
|
Т
|
лет
|
4,4
|
4,2
|
5,6
|
В соответствии с таблицей 16 можно сделать вывод
о том, что величина предотвращенного ущерба максимальна при установке в
качестве дополнительной очистки рукавного фильтра и составила 420145 руб.,
минимальна при использовании базовой установки - 383706 руб. Платежи за
загрязнение окружающей природной среды у базовой установки составляют 479707
руб., при установке циклонов ЦН - 15 - 305855 руб., при установке рукавных
фильтров - 221656 руб. Чистый экономический ущерб имеет отрицательные значения,
так как приведенные затраты на проведение природоохранных мероприятий выше
экономического результата от тех же мероприятий.
Заключение
В данном дипломном проекте было рассмотрено
влияние зерновой пыли предприятия ОАО «Бурлинский элеватор» на атмосферу, а
также существующие методы очистки газовых выбросов.
Также был обоснован метод очистки газовых
выбросов - улавливание их сухим способом, в ходе которого было предложено два
варианта улавливания зерновой пыли.
Первый вариант заключается в частичной замене
имеющихся циклонов марки 4 БЦШ на циклоны марки ЦН - 15 - 400 х 4УП, у которых
степень очистки выше и составляет 95%, производительность его находится в
пределах от 5800 до7340 м3/час, в связи с этим в соответствии с ПДВ имеется
превышение только на одном источнике, величина предотвращенного ущерба
составила 408256 руб., платежи составили 305855 руб., себестоимость очистки
равна 5,48 руб./т, полная экономическая эффективность природоохранных
мероприятий - 0,23 руб./руб.
Второй вариант заключается в установке после
марки циклона 4 БЦШ рукавного фильтра ФРИП 90. Степень очистки фильтра
составляет 99 %, производительность по очищаемому газу - 9700 м3/час, площадь
поверхности фильтрования 90 м2, он состоит из 3 секций. Фильтры ФРИП
предназначены для высокоэффективной очистки запыленного воздуха от пыли в
вытяжных аспирационных системах. Фильтрующий материал из полиэстера
предназначенный для тонкой очистки изготовлен из 100% полиэстера высокого качества
методом термоскрепления синтетических бикомпонентных волокон при температуре
более 100°С. Исходя из расчета материального баланса можно сделать вывод о том,
что превышений не имеется, соответственно предложенная установка является
целесообразной. Предотвращенный ущерб составил 420145 руб., платежи за
загрязнение окружающей природной среды - 221656 руб., полная экономическая
эффективность - 0,20 руб./руб.
Список литературы
1
Российская Федерация. Законы. Федеральный закон «Об охране окружающей среды»
[Текст]: [принят Гос. Думой в дек. 2001г.] - М.: 2001.
Санитарные
правила по охране атмосферного воздуха населенных мест [Текст]: СанПиН 49 - 46
- 89: ввод. в действие с 01.01.1988 - М.: 1988.
Штокман,
Е.Л. Очистка воздуха от пыли на предприятиях пищевой промышленности [Текст]/
Петрянов - Соколов И.С., Сутугин А.Г. - М.:1989.
4 Алиев, Г.М. Техника пылеулавливания и очистки
промышленных газов [Текст]/ Гасан Мамед - М.: Металлургия, 1986.
5
Быков А.А. Сборник законодательных, нормативных и методических документов для
экспертизы воздухоохранных мероприятий [Текст]/ Быков А.А. - М.:
Гидрометеоиздат, 1981.
6 Алибеков А.А. Совершенствование циклонов для
очистки воздух от элеваторной пыли [Текст ]: автореферат / А.А. Алибеков - М.:
1985.
7 Пат. 95111520 Российская Федерация, МПК6 В01D45/00.
Способ аэродинамического подавления и улавливания неорганизованных выбросов
дисперсных загрязнений [Текст] / А.Г. Иноземцев; заявитель и патентообладатель
А.Г. Иноземцев; заявл. 05.07.95; опубл.20.06.97.
Пат. 2001113562 Российская Федерация, МПК7
Е21В19/06. Элеватор [Текст] / Н.С. Пурсев; И.Н. Пурсева; заявитель и
патентообладатель Н.С. Пурсев; заявл. 22.05.01; опубл.20.04.03.
Пат. 97102056 Российская Федерация, МПК6
B02C13/00, B02B5/00, B65G63/00, B65G3/00, B07B4/00. Способ получения,
транспортировки и хранения сыпучих продуктов типа муки, способ получения,
транспортировки и хранения круп и способ получения, транспортировки и хранения
комбикормов [Текст] / Н.П. Селиванов; заявитель и патентообладатель Н.П.
Селиванов; заявл. 12.02.97; опубл.27.05.98.
Пат. 2188082 Российская Федерация, МПК7 B04C5/28.
Воздухоочистительное устройство [Текст] / М.И. Соколовский, В.Г. Мельничук,
Г.Ф. Кислицын, В.И. Зарицкий, Б.М. Карандашов, А.В. Зайцева, В.В. Пчелкин;
заявитель и патентообладатель Открытое акционерное общество
Научно-производственное объединение "Искра"; заявл. 27.02.01;
опубл.27.08.02.
11
Предприятия, здания и сооружения по хранению и переработке зерна [Текст]: СНиП
2.10.05 - 85: ввод. в действие с 01.01.1986 - М.: 1986. - 3 с.
ГОСТ
30403 - 96. Конструкции строительные. Метод определения пожарной опасности
[Текст]. - Введ. 1996 - 07 - 01. - М.: Изд-во стандартов, 1996. - 7 с.
Правила
пожарной безопасности в Российской Федерации [Текст]:
ППБ
01 - 03: введ. в действие с 18.04.2003 - М.: 2003.
Постановление
Совета Министров РСФСР. Об Утверждении на 1991 г нормативов за выбросы
загрязняющих веществ в природную среду и порядка их применения [Текст]. - Утв.
9.01.1991г. - М.: Госкомприрода, 1991.
Инструкция
по инвентаризации выбросов загрязняющих веществ в атмосферу [Текст]. -
Ленинград: Изд-во ЛДНТП, 1991.
Руководящий
документ. Руководство по контролю загрязнения атмосферы [Текст]: РД 52.04.186 -
89: введ. в действие с 01.07.1991 - М.: Гидрометеоиздат, 1991.
ГОСТ
17.2.3.02 - 78. Охрана природы. Атмосфера. Правила установления допустимых
выбросов вредных веществ промышленными предприятиями [Текст]. - Введ. 1980 - 01
- 01. - М.: Изд-во стандартов, 1980.
Методические
указания по внедрению ГОСТ 17.2.3.02 - 78. Охрана природы. Атмосфера. Правила
установления допустимых выбросов вредных веществ промышленными предприятиями
[Текст]: РД 50 - 210 - 80: введ. в действие с 01.07.81. - М.: Изд-во
стандартов, 1981.
Госкомгидромет.
Методика расчета полей концентраций в атмосферном воздухе вредных веществ,
содержащихся в выбросах предприятий [Текст]: ОНД - 86: введ. в действие с
4.08.1986 - Л.: Гидрометеоиздат, 1987.
Санитарно
- защитные зоны и санитарная классификация предприятий, сооружений и иных
объектов [Текст]: СНиП 2.2.1/2.1.1.1031-01: ввод. в действие с 01.10.2001 - М.:
2001.
Проект
нормативов ПДВ ОАО «Бурлинский элеватор» р.ц. Бурла, 2009.
ГОСТ
17433 - 80. Промышленная чиста. Сжатый воздух. Классы загрязненности [Текст]. -
Введ. 1981 - 01 - 01. - М.: Изд-во стандартов, 1986.
Т.И.
Азьмука. Методические указания по выполнению и защите выпускной
квалификационной работы для студентов, обучающихся по специальности 280202
«Инженерная защита окружающей среды» [Текст] / Т.И. Азьмука, О.Ю. Захотей, Н.В.
Усова. - Новосибирск:НГАВТ,2008.