Нефтеперерабатывающие заводы — источник загрязнения атмосферы. Расчет выбросов от установки АВТ. Технологическая печь П-2

  • Вид работы:
    Курсовая работа (т)
  • Предмет:
    Экология
  • Язык:
    Русский
    ,
    Формат файла:
    MS Word
    648,71 Кб
  • Опубликовано:
    2012-05-09
Вы можете узнать стоимость помощи в написании студенческой работы.
Помощь в написании работы, которую точно примут!

Нефтеперерабатывающие заводы — источник загрязнения атмосферы. Расчет выбросов от установки АВТ. Технологическая печь П-2














КУРСОВАЯ РАБОТА

«НПЗ - источник загрязнения атмосферы. Расчет выбросов от установки АВТ. Технологическая печь П-2»

Введение

Основным энергоносителем и основным источником углеводородного сырья в России является нефть. Темпы развития нефтяной промышленности в бывшем Советском Союзе не имели аналогов в мире. В 1988 г. в России было добыто максимальное количество нефти и газового конденсата - 568,3 млн. т, или 91% общесоюзной добычи нефти. Ежегодный прирост добычи нефти составлял в среднем 25-20 млн. т. Начиная с 1999 г. ежегодный прирост добычи нефти в России составлял от 6,3 до 10,9% и суммарный темп добычи за последние пять лет вырос на 52% (соответственно с 302 млн. т до 458 млн. т). При этом нефтяная промышленность России унаследовала наращивание добычи нефти без должного учета последствий для промышленной и экологической безопасности. Ее деятельность в настоящее время сопряжена с работой нефтяных заводов, находящихся в упадочном техническом состоянии (средняя глубина переработки нефти не более 65%), и оборудования устаревшей системы автоматизации и высокой степенью изношенности. Поэтому предприятия топливно-энергетического комплекса (ТЭК) России, - в том числе - по добыче и переработки нефти, несмотря на снижение объемов производства, остаются крупнейшими источниками загрязнения окружающей среды. На их долю приходится около 48% выбросов вредных веществ в атмосферу, 27% сброса загрязненных сточных вод и до 70% общего объема парниковых газов.

Влияние нефтяной отрасли на состояние окружающей среды и здоровье населения земли неоспоримо является глобальным. Решение проблемы лежит в социально - экологическом воспитании общества и осознании того, что последствия будут иметь тоже глобальный характер.

Проблема выбросов газов и пыли является не менее актуальной, чем другие. Нефтеперерабатывающими предприятиями выбрасывается в атмосферу свыше 1050 тыс. т загрязняющих веществ, при этом доля улова на фильтрах составляет только 47,5%. Основной состав выбросов предприятия в атмосферу: 23% - углеводороды; окислы: 16,6% - серы, 7,3% - углерода, 2% - азота. По некоторым данным в российской нефтеперерабатывающей промышленности выбрасывается в атмосферу около 0,45% перерабатываемого сырья, в то время как на Западе - 0,1%. Значительный вклад в загрязнение атмосферы вносит и факельное хозяйство НПЗ. При сжигание топлива в факельных печах образуются аэрозольные частицы - продукт конденсации углерода и канцерогенные углеводороды типа бенз(а) пирен.

Влияние процессов сгорания углеводородных систем в двигателях транспортных средств и печах приводит к резкому увеличению содержания СО и СО2 и кислых газов в атмосфере. Сжигание нефти, газа и угля сопровождается выбросом до 5 млрд. т. в год углекислого газа. На фоне уменьшения площади лесов наблюдается рост концентрации СО2 в атмосфере от 0,03 до 0,041%. В воздухе городов над промышленными зонами доля СО2 может достигать 0,1% отсюда следует реальность парникового эффекта.

В работе рассмотрены вопросы негативного влияния нефтеперерабатывающих производств на атмосферу. Описаны основные источники загрязнения атмосферного воздуха, его современное состояние. Рассмотрены источники загрязнения, на примере технологических печей атмосферно-вакуумной трубчатой установки и методы снижения выбросов в атмосферу от рассматриваемой установки.

1. Теоретический раздел

.1 Атмосферно-вакуумные трубчатые установки

Технологические установки перегонки нефти предназначены для разделения нефти на фракции и последующей переработки или использования их как компонентов товарных нефтепродуктов. Они составляют основу НПЗ. На них вырабатываются практически все компоненты моторных топлив, смазочных масел, сырье для вторичных процессов и для нефтехимических производств. От их работы зависят ассортимент и качество получаемых компонентов и технико-экономические показатели последующих процессов переработки нефтяного сырья. Процессы перегонки осуществляют на так называемых атмосферных трубчатых (АТ) и вакуумных трубчатых (ВТ) или атмосферно-вакуумных трубчатых (АВТ) установках.

Атмосферные трубчатые установки могут быть следующих типов:

с однократным испарением всех отгоняемых фракций в одной колонне;

с предварительным испарением легких бензиновых фракций;

с двукратным испарением в двух колоннах.

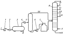
Схема перегонки нефти, основанная на принципе однократного испарения, приведена на рисунке 1. Нефть насосом 4 прокачивается через теплообменники в водогрязеотделитель 2 и далее под давлением, создаваемым тем же насосом, поступает в трубчатую печь 3, а затем в ректификационную колонну 5.

1 - сырьевой насос; 2, 4 - теплообменники; 3 - электродегидратор; 5 - печь; 6 - ректификационная колонна; I - сырая нефть; II - вода и соли; III - парогазовая смесь; IV - орошение; V-VII - компоненты светлых нефтепродуктов; VIII - мазут; IХ - водяной пар

Рисунок 1 - Перегонка нефти по схеме однократного испарения

По схеме перегонки при двукратном испарении (рисунок 2) нефть, подаваемая насосом 1, подогревается в первой группе теплообменников 2 и, отделенная от воды и грязи в водогрязеотделителе 3, проходит группу теплообменников 4, подается в первую ректификационную колонну 5, где из неё отбирается бензин. Отбензиненная нефть насосом 6 прокачивается через печь 7 во вторую ректификационную колонну 8, где разделяется на целевые фракции: бензин, керосин, дизельное топливо, мазут.

- сырьевой насос; 2, 4 - теплообменники; 3 - электродегидратор; 5 - первая ректификационная колонна; 6 - насос; 7 - печь; 8 - основная ректификационная колонна; I - сырая нефть; II - смесь газов и легкого бензина; III - острое орошение; IV - горячая струя; V - парогазовая смесь; VI - орошение основной колонны; VII - IХ - компоненты светлых нефтепродуктов;, Х - мазут; ХI - водяной пар

Рисунок 2 - Перегонка нефти по схеме двукратного испарения

Схема перегонки нефти, основанная на принципе предварительного испарения легких фракций, показана на рисунке 3.

- сырьевой насос; 2 - теплообменник сырой нефти; 3 - дегидратор; 4 - теплообменник обезвоженной и обессоленной нефти; 5 - испаритель (эвапоратор); 6 - насос; 7 - печь; 8 - ректификационная колонна; I - сырая нефть; II - вода и соли; III - парогазовая смесь; IV - смесь водяных и бензиновых паров; V - орошение; VI-VII - компоненты светлых нефтепродуктов; IX - водяной пар.

Рисунок 3 - Перегонка нефти по схеме предварительного испарения

По этой схеме нефть насосом 1 подается через систему регенерации тепла (теплообменники 2) и после отделения от воды грязи в водогрязеотделителе 3, пройдя теплообменник 4, поступает в испаритель 5, где из нефти отделяются легкие фракции. Из испарителя 5 нефть горячим насосом 6 подается через трубчатую печь 7 в ректификационную колонну 8. Легкие фракции из испарителя поступают в основную колонну и ректифицируются вместе с более тяжелыми фракциями. В описанной схеме испарение осуществляется двукратно, но ректификация паров проводится совместно. [1]

Эффективность процесса вакуумной перегонки мазута, как и при перегонке нефти, зависит как от параметров технологического режима, так и от конструктивных особенностей отдельных узлов блока: печи, трансферной линии, узла ввода сырья, конструкции тарелок, насадок.

Основное назначение вакуумной перегонки мазутов: получение широкой фракции 350-5500С (и выше) - сырья для каталитических процессов и дистиллятов для производства масел и парафинов. В отношении требований к качеству сырья эти две задачи различаются по четкости ректификации, но общим условием является максимальный отбор дистиллятов при минимуме потерь их с остатком. Эти требования влияют на технологические и конструктивные решения, а также аппаратурное оформление вакуумной перегонки мазута. К настоящему времени мощности вакуумных колонн достигают 3 млн т/год, а их диаметры увеличились до 8,6-9,0 м. В соответствии с повышением мощностей изменялись и конструкции вакуумных колонн. В практике перегонка мазута осуществляется в основном по трем схемам, приведенным на рис. 4, а, б, в.

Рис. 4. Варианты схем (а, б, в) вакуумной перегонки мазута

Состав мазута, поступающего на вакуумный блок из атмосферной колонны, регламентируется содержанием фракций, выкипающих до 3500С. Традиционно считают, что содержание светлых должно составлять не более5% (масс.), так как их рост приводит к увеличению диаметра вакуумной колонны, затрудняет полную конденсацию паров на верху колонны и увеличивает загрузку вакуумосоздающей системы. Необходимо отметить, что содержание светлых фракций в мазуте определяется фракционным составом (а именно температурой конца кипения) получаемого в атмосферной колонне дизельного топлива. [11]

Для регулирования (стабилизации) состава сырья вакуумной колонны и одновременно с этим повышения отбора светлых (до 98% от потенциала) между атмосферной и вакуумной колоннами в некоторых патентах рекомендуют помещать буферную ступень испарения мазута.

Температура нагрева сырьевого потока (мазута) определяется температурой его термического разложения, которое ведет к образованию неконденсируемых газов разложения.

Схемы орошения вакуумных колонн определяют как отбор и качество продуктов, так и стабильность режима работы. Одной из существенных особенностей вакуумных колонн является использование верхнего орошения, предназначенного для полной конденсации паров, поэтому верхняя секция часто называется конденсационной.

Для полной конденсации паров вверху вакуумной колонны (по сравнению с атмосферной) требуется значительно больше тарелок циркуляционного орошения, чтобы обеспечить те же значения тепла конденсации. [7]

Для создания максимального температурного напора и равномерной нагрузки на тарелки ВЦО рекомендуется схема порционной подачи охлажденной флегмы. Предполагается, что при такой схеме, кроме углубления конденсации и сокращения потерь сверху колонны, обеспечивает гибкость и стабильность режима верха колонны и вакуумосоздающего устройства.

Промежуточное циркуляционное орошение (ПЦО) почти во всех вакуумных колоннах создается за счет подачи части охлажденного выводимого бокового погона на несколько тарелок выше его вывода. В вакуумных колоннах вторичной перегонки широкой масляной фракции ПЦО часто работает индивидуально, под тарелкой вывода бокового погона.

Во многих проектах нижнее циркуляционное орошение - НЦО располагается на самых нижних тарелках концентрационной секции колонны или на две-три тарелки выше секции ввода сырья. НЦО играет роль конденсатора смешения и его не следует помещать вблизи ввода сырья, так как конденсируются и охлаждаются не только тяжелые, но и целевые компоненты.

Обычно перегонка мазутов осуществляется с вводом водяного пара в низ отгонной части колонны в количестве 1-7% на мазут. Однако с позиций повышения эффекта отпарки углеводородных фракций существует верхний предел расхода пара в 1,5%. Подача водяного пара в вакуумную колонну вызывает много отрицательных эффектов. К тому же экспериментально показано, что ввод водяного пара до 7% увеличивает высоту колонны на размер эквивалентной тарелки.

Важным конструктивным элементом вакуумной колонны является узел ввода сырья и разделения паровой и жидкой фаз в сечении питания. От того, насколько полно отделена паровая фаза сырья от жидкой и насколько равномерно по сечению колонны они распределены, во многом зависит работа вакуумной колонны в части отбора дистиллятов и их качества. Поэтому проектирование узла ввода питания имеет важное значение. [7]

1.2 Технологические печи

Трубчатые печи (рисунок 5) на АВТ установках служат для нагрева нефти (отбензиненной нефти), мазута и бензина, они обеспечивают основной поток тепла, вносимого в ректификационные колонны, и энергетический потенциал их разделительной способности.

- форсунки; 2 - муфели; 3 - футеровка; 4 - огнеупорная перевальная стена; 5 - несущие конструкции свода; 6 - кровля; 7, 8 - потолочный и подовый экраны; 9 - конвекционная секция змеевика; 10 - дымоход; I и II - вход и выход нагреваемого потока

Рисунок 5 - Двухкамерная трубчатая печь с наклонным сводом

Трубчатая печь - высокотемпературное термотехнологическое устройство с рабочей камерой, огражденной от окружающей атмосферы.

Печь предназначена для нагрева углеводородного сырья теплоносителем, а также для нагрева и осуществления химических реакций за счет тепла выделенного при сжигании топлива непосредственно в этом аппарате. Трубчатые печи используют при необходимости нагрева среды (углеводородов) до температур более высоких, чем те, которых можно достичь с помощью пара, т.е. примерно свыше 2300 С. Несмотря на сравнительно большие первоначальные затраты, стоимость тепла, отданного среде при правильно спроектированной печи, дешевле, чем при всех других способах нагрева до высоких температур. В качестве топлива могут применяться продукты отходов различных процессов, в результате чего не только используется тепло, получаемое при их сжигании, но часто устраняются и затруднения, связанные с обезвреживанием этих отходов.

Современная печь представляет собой синхронно работающий печной комплекс, т.е. упорядоченную совокупность, состоящую из непосредственно печи, средств обеспечения печного процесса, а также систем автоматизированного регулирования и управления печным процессом и средствами его обеспечения.

Трубчатая печь - это строительно-технологическое сооружение, состоящее из следующих функциональных узлов: фундамента, каркаса, футеровки, змеевика, горелок, утилизаторов тепла, дымовой трубы и гарнитуры.

Фундамент печи сооружают из монолитного или сборного железобетона и конструктивно изолируют от воздействия высоких температур. На фундамент через несущие стойки каркаса печи опирается вся масса печи.

Каркас печи - основная несущая металлическая конструкция, воспринимающая нагрузки от веса огнеупорной футеровки, трубчатого змеевика, вспомогательных узлов (а в некоторых печах - и дымовой трубы).

Футеровка предназначена для защиты каркаса печи от воздействия высоких температур и создания вторичного теплового излучения, повышающего тепловую эффективность (к. п. д.) печи. Для снижения теплопотерь через футеровку и создания безопасных условий эксплуатации печи с внешней стороны футеровка покрывается слоем теплоизоляции.

Технологический змеевик печи - это наиболее ответственная часть печи, изготовляемая из дорогостоящих горячекатаных бесшовных труб и работающая в наиболее тяжелых температурных и коррозионных условиях. Цельносварной змеевик проще по устройству, надёжен, герметичен, а главное - он целиком помещается в топку печи или камеру конвекции, что позволяет лучше герметизировать топку и в целом печь и исключить вредные подсосы воздуха извне.

Горелки (или форсунки) служат для сжигания топлива, подаваемого в топку печи. При этом они должны обеспечивать полное сжигание топлива, давать устойчивый факел пламени, иметь высокую производительность (для сокращения числа горелок на одну печь), быть конструктивно несложными и простыми в эксплуатации, обладать возможностью их включения в систему автоматического регулирования работы печи.

По типу используемого топлива различают горелки газовые, горелки на жидком топливе (мазутные) и комбинированные на газовом и жидком топливе (газо-мазутные). Газовые горелки по организации сжигания в них топлива бывают пламенные и беспламенные (панельные).

В пламенных горелках газ сжигается с образованием факела, являющегося основным первичным излучателем в топке, а в беспламенных - в многотуннельной керамической панели так, что пламя из нее не выходит, а сама она раскаляется до высокой температуры и служит излучателем тепла. Из таких панелей набирается основная площадь боковых стен топки, и эти стены излучают тепло на экран змеевика. Все остальные типы горелок подают в топку факелы пламени. Горелка ГП может работать как раздельно на газе или мазуте, так и одновременно сжигать оба вида топлива.

Дымовая труба выполняет две основные функции - создает необходимую тягу в топке печи и отводит вредные дымовые газы (содержащие оксиды углерода, азота, серы и углеводороды) на большую высоту для лучшего их рассеяния в атмосфере. Естественная тяга создается дымовой трубой за счет разницы плотностей окружающего воздуха и дымовых газов. При этом, чем больше высота трубы, тем выше разрежение в топке или на выходе из конвекционной камеры. Обычно при высоте трубы 40 м разрежение после воздухоподогревателя составляет 0,2-0,3 кПа. Если естественная тяга, создаваемая дымовой трубой, оказывается недостаточной для создания минимально допустимого разрежения в топке - 0,1-0,2 кПа (из-за большого гидравлического сопротивления печи по газовому тракту или малой высоты трубы), то создают принудительную тягу. Для этого на потоке дымового газа после его выхода из воздухоподогревателя устанавливают дымосос (вентилятор), отсасывающий дымовой газ из печи и выбрасывающий его в дымовую трубу.

По своей конструкции и компоновке с печью дымовые трубы бывают трех типов - металлические индивидуальные, металлические общие и железобетонные. [7]

Индивидуальные металлические дымовые трубы обслуживают обычно одну печь и устанавливаются либо непосредственно на печи (если камера конвекции расположена над топкой), либо рядом с печью (если дымовые газы отводятся через газоход под подом печи).

Общие металлические дымовые трубы устанавливаются на земле для обслуживания группы печей (2-4 печи), независимо от направления вывода дымовых газов из печи. В этом случае система отвода дымовых газов из каждой печи объединяется в общий газоход (под землей или над печами) и по нему газы вводятся в дымовую трубу. При установке таких труб непосредственно на печи их высота обычно небольшая (20-30 м), а в случае, если труба устанавливается рядом с печью на земле, ее высота может достигать 50-60 м.

Металлические дымовые трубы, как и газоподводящие коллекторы (газоходы) до них, внутри облицовывают теплостойким слоем торкретбетона, защищающим металл трубы от воздействия высоких температур и паров слабой кислоты, образующейся при температурах ниже точки росы. Кроме того, футеровка трубы защищает ее и от эрозионного износа твердыми частицами, содержащимися в дымовых газах.

Железобетонные дымовые трубы устанавливают на современных мощных установках для обслуживания всей группы из 4-5 печей с общим для всех печей дымососом. Высота их обычно составляет 120-180 м. Изнутри такие трубы футеруют тепло-кислотостойкой облицовкой.

Гарнитура трубчатой печи включает ее вспомогательные конструкционные и эксплуатационные узлы - подвески и трубные решетки для змеевика, предохранительные окна и люки-лазы, гляделки, шиберы дымоходов.

Трубчатые печи (рисунок 6) имеют камеру сгорания 1, в которой факелообразно сгорает жидкое или газовое топливо, поступающее через форсунки 2, и отделённую перевальной стенкой 3 конвекционную камеру 4. В потолочной и фронтовой частях камеры сгорания, расположены трубы 5, обогреваемые непосредственно лучеиспусканием факела трубы конвекционной камеры. [11]

1 - камера сгорания; 2 - форсунки; 3-стенка; 4 - камера конвекционная; 5 - трубы камеры сгорания, 6 - трубы конвекционной камеры.

Рисунок 6 - Схема трубчатой печи

     Характеристика источника выделения загрязняющих веществ

Дымовые газы - это наиболее крупнотоннажный газовый поток, загрязняющий атмосферу продуктами горения топлива в печах АВТ. Горючие элементы топлива окисляются кислородом воздуха. В составе дымовых газов кроме азота, диоксида углерода, пары воды, и небольшого количества избыточного кислорода (1,2%) содержатся вредные оксиды азота, а также продукты неполного сгорания топлива оксид углерода и продукты термического разложения топлива - ПАУ.

Основные реакции горения

При сжигании топлива происходит окисление углерода и его соединений с кислородом воздуха с образованием диоксида углерода (или углекислого газа) СО2 в качестве конечного продукта полного окисления (сгорания) вода:

С + О2 = СО2;

Н2 + О2 = 2Н2О;

СН4 + 2О2 = СО2 + 2Н2О

Побочные процессы при горении топлива

В то же время, вследствие локальных недостатков воздуха или неблагоприятньгх тепловых и аэродинамических условий, в топках и камерах сгорания образуются продукты неполного сгорания, подавляющая доля, которых составляет монооксид углерода СО (угарный газ):

C + ½О2 = СО

CmHn+(m+n/2) O2=mCO+n/2H2O

С + СО2 = 2СО (при сжигании твердого топлива)

Отметим, что при условии полного горение в продуктах сгорания имеется лишь незначительное количество СО, оно увеличивается с ростом температуры в зоне горения и с увеличением концентрации свободного О2

Оксид углерода (СО), представляет собой бесцветный, безвкусный газ, обладающий токсическим действием. Попадая в организм, СО реагирует с гемоглобином крови, препятствуя нормальному переносу кислорода, в результате возможно отравление. Исследования показали, что воздействие СО, даже в сравнительно малых количествах, может вызвать нарушение поведения, неощутимые для пострадавшего.

Окислы азота. При сжигании органических топлив азот, содержащийся в воздухе и топливе, становится реакционно-способным и, соединяясь с кислородом, образует оксиды:

NОх = NО + NО2 + N2О

Окислы азота, сбрасываемые с дымовыми газами, образуются как за счет высокотемпературных процессов в факеле (фиксация атмосферного азота), так и за счет окисления азотсодержащих соединений самого топлива. На выходе из трубы окислы азота дымовых газов состоят на 85-90% из N0 и на 10-15% из двуокиси азота. В атмосфере происходит быстрое окисление N0 в М02, что усиливает отрицательное воздействие дымовых газов на природу и живые организмы, поскольку двуокись азота более токсичен.

NO + О3 = NO2 + О2                                                      

Следует выделить три источника в образовании окислов азота:

«топливные» NOX

термические NOX

«быстрые» NOх.

«Топливные» NOх. Термин служит для обозначения окислов азота, образующихся из азотсодержащих компонентов топлив. В большинстве проведенных исследований была обнаружена прямо-пропорциональная зависимость концентрации образующихся окислов азота от содержания азота в исходном топливе.

СmНnNу + О2 = СО2 + Н2О + NОх

Термические NОх. Эти окислы образуются за счет окисления молекулярного азота атомарным кислородом (механизм Зельдовича).

О2+ М = О + О + М - 494 кДж/моль (инициирование)

О + N2 = NO + N - 314 кДж/моль+ О2 = NO + О + 134 кДж/моль

О + О + М = О2 + М + 454 кДж/моль (обрыв цепи)

В большинстве топочных устройств время пребывания продуктов сгорания в топке не превышает 1-5 сек., а время достижения равновесных концентраций NО при температурах 1800-1900 К составляет 23-24 сек. Учитывая, что термические окислы образуются в узком температурном интервале, где время нахождения продуктов не превышает доли секунды, можно утверждать, что при образовании оксида азота в установках не достигаются равновесные концентрации.

«Быстрые» оксиды азота. Данный вид окислов азота образуется в зоне достаточно низких температур в результате реакции углеводородных радикалов с молекулой азота и последующим взаимодействием атомарного азота с гидроксильной группой ОН. Эта реакция протекает достаточно интенсивно даже при температурах 1600 К, когда образования термических окислов практически не происходит. Также в результате взаимодействия с пероксидным радикалом НО2 по реакции:

СО + НО = СО2 + Н                                                                

Н + О2 - НО + О                                                    

Н+ О2 + М = НО2                                          

NO + НО2 = NO2 + ОН                                                                                             

Диоксид азота NO2 представляет собой пар буро-красною цвета, оказывающий раздражающее воздействие на дыхательные пути и приводящий к отеку легких.

Оксиды серы SO2 и SO3. Содержащаяся в топливе сера является источником образования оксидов серы SOх. В твердых топливах сера содержится в трех видах: органическая, колчеданная и сульфатная. В состав газообразных топлив сера входит только в виде Н2S и меркаптанов. Сера в мазуте входит в состав серосодержащих органических соединений и в меньшей степени она присутствует в виде серовода и элементной серы. При сжигании сернистых топлив присутствующая сера окисляется до сернистого ангидрида.

СmНnSх + O2 = CО2 + Н2О+ SО2

Часть (1-5%) SО2 затем доокисляется до серного ангидрида SО3 в ходе гомогенных реакций при горении топлива SО2 + 1/2О2 = SО3, а также в результате гетерогенных реакций на поверхности нагрева с участием катализаторов (V2O5, Fe2O3)

2 + 1/2О2 + kat = SО3

 

Бенз(а) пирен. Молекулы полиароматических углеводородов (ПАУ) содержат циклы из шести атомов углерода с тремя двойными связями (так называемые бензольные ядра). Они образуются в результате неполного сгорания любых углеводородных топлив. Последнее имеет место из-за торможения реакций окисления углеводородов топлива холодными стенками топочных устройств, а также может быть вызвано неудовлетворительным смешением топлива и воздуха. Это приводит к образованию в топках (камерах сгорания) локальных окислительных зон с пониженной температурой или зон с избытком топлива. Таким образом, суммарная эмиссия ПАУ (наряду с выбросами СО) является мерой неэффективности процесса горения топлива.

Бенз(а) пирен - самый токсичный из ПАУ: обладает канцерогенными свойствами. Количество ПАУ, поступающих в атмосферу с дымовыми газами, в значительной степени зависит от качества и вида сжигаемого топлива. ПАУ гораздо меньше при сжигании жидкого топлива и минимален при сжигании газа. Он существенно зависит от режима сжигания: при химическом недожоге количество ПАУ в дымовых газах может возрастать в 10-50 раз за счет содержания их в саже. [2,11]

Непосредственное образование ПАУ происходит в реакциях пиролиза и синтеза в процессе горения топлива. Механизм их образования представляет собой сложный многостадийный процесс, который пока в достаточной мере не выяснен. Предполагается, что он имеет радикально-цепной характер и включает несколько стадий.

Схематично механизм образования бенз(а) пирена может быть представлен следующим образом:

CmHn ®С2Н2®С4Н6® С20Н12

или при пиролизе метана

СН4 ®10С2Н2+ 60Н2®С20Н12 + 34Н2

Бенз(a) пирен C20H12 - твёрдое кристаллическое вещество желтого цвета с температурами плавления 179 °С и кипения 500-570°С. Поэтому в газовом тракте котлов Б(а) П в зависимости от температуры процессов сгорания может находиться в газообразном, жидком (аэрозоли) или твёрдом состояниях.

.4 Очистка газов от загрязняющих веществ

1.4.1 Очистка топочных газов от диоксида серы

Уменьшение содержания серы в топочных газах может достигаться разными методами: использованием малосернистых углей, предварительным удалением серы из угля, снижением количества серы, выделяющейся в газовую фазу при горении (связывание серы, например, в сульфат кальция), удалением серы из топочных газов, предварительной переработкой нефти, угля, сланца в жидкое или газообразное горючее (с удалением серы). Поскольку наиболее широко в мировой практике применяются методы обессеривания топочных газов и предварительное удаление серы из нефти и угля, этим методам уделяется основное внимание. Удаление серы при переработке нефти является стандартной операцией.

Основными промышленными методами очистки топочных газов от диоксида серы являются абсорбция и добавление сорбентов в зону горения. С помощью этих методов из топочных газов можно удалять более 90% SO2. Обычно применяются абсорбционные методы - известковый и известняковый, мокры, полусухие и сухие. Основные их недостатки - образование большого объема сульфитов и сульфатов и сложность утилизации последних. Известны также циклические (регенерационные) методы, например магнезитовый, применение которых позволяет получать концентрированный поток SO2 и возвращать сорбент в начало процесса. Однако эти методы имеют свои недостатки и используются значительно реже. [2]

Применяется также подача известняка в зону горения, в кипящий слой или подачу пульпы (известняка и воды) в газовый тракт. Но проблема та же: использование золы и шлака ограничено из-за вторичного загрязнения воды и почвы сульфатами.

Известковый и известняковый методы. Основные химические реакции, протекающие при взаимодействии SO2 с пульпой гидроксида кальция или известняка, описываются следующими уравнениями:

СаО + Н2О = Са(ОН)2

Са(ОН)2 + СО2 = Са СО3 + Н2О

Са СО3+ СО2+ Н2О = Са(НСО3)2

Са(НСО3)2 + SO2 + Н2О = СаSО32О + 2СО2

СаSО32О + ½ О2 = СаSО42О

Образующийся в процессе улавливания SO2 сульфит кальция плохо растворим в воде и образует мелкокристаллический осадок СаSО32О. Под действие воздуха он частично переходит в сульфат кальция. При абсорбционном выделении SO2 происходит также очистка газа от частиц летучей золы и других веществ. Поэтому образующаяся пульпа имеет сложный переменный состав и содержит смесь сульфита и сульфата кальция, непрореагировавшего СаСО3 или Са(ОН)2, частиц летучей золы и других веществ. Это в значительной мере затрудняет дальнейшее использование образующего шлама. В большинстве случаев его сбрасывают в отвал, где он является источником вторичного загрязнения окружающей среды.

Разработаны и освоены в промышленности методы очистки дымовых газов от SO2 с получение строительного гипса. Окисление сульфита кальция и кристаллизация гипса. Окисление сульфита кальция и кристаллизация гипса протекают при подкислении, поэтому предусмотрены подача серной кислоты и продувка воздухом.

Магнезитовый метод.

Сущность метода состоит во взаимодействии SO2 с суспензией Mg(ОН)2 по реакции:

Mg(ОН)2 + SO2 + 5 Н2О = MgSO3 2О

Достоинствами метода являются его цикличность, высокая эффективность (степень очистки 90-92%), возможность утилизации SO2. Основной недостаток процесса - большое количество твердофазных стадий, что приводит к сильному абразивному износу аппаратуры и загрязнению среды твердыми частицами. Весьма значительными являются и энергетические расходы на разложение сульфита и сульфата магния.

Аммиачные методы

В основе этих методов лежит процесс абсорбции SO2 раствором сульфита аммония:

SO2 + (NН4)2 SO3 + Н2О = 2NН4НSО3

В дальнейшем в результате химических превращений из образующегося гидросульфата аммония выделяют оборотный раствор (NН4)2 SO3 и концентрированный поток SO2.

Недостатком всех аммиачных методов очистки является необходимость глубокого охлаждения газов перед стадией абсорбции.

Общий недостаток всех абсорбционных методов - необходимость дополнительного нагрева очищенных газов перед их выбросом в атмосферу.

Очистка дымовых газов с получением серы

В ряде стран разработан регенерационный циклический способ очистки дымовых газов от оксидов серы с получением серы. Топочные газы очищаются от пыли в электрофильтрах и дочищаются водой, при этом происходит очистка от тяжелых металлов. Далее SO2 взаимодействует в абсорбере с раствором сульфида натрия:

SO2 + Na2 S = Na2 4 + 2 S

Образовавшаяся пульпа подкисляется и нагревается в автоклаве до 150-1700С, сера при этом плавится и отделяется, а раствор сульфата натрия взаимодействует далее с оборонным сульфидом бария:

Na2 4 + ВаS = ВaSО4 + Na2S

Раствор сульфида натрия направляется на начальную стадию процесса на улавливание диоксида серы, а осадок сульфата бария - в печь для восстановления коксом:

ВaSО4 + 2C = BaS + 2CO2

1.4.2 Очистка отходящих газов от оксидов азота

Основным антропогенным источником выбросов оксидов азота в атмосферу в настоящее время являются процессы сжигания органического топлива на стационарных установках и двигателях внутреннего сгорания. На их долю приходится более 95% всех выбросов. Одна из основных трудностей улавливания оксидов азота из отходящих газов, как и оксидов серы, связана со сравнительно малой концентрацией при объемах выбрасываемых газов.

Весьма распространенными поглотителями оксидов азота являются растворы соды, едкого натра и карбоната аммония, известковое молоко. Известно, что процесс очистки отходящих газов от оксидов азота протекает в две стадии: сначала оксиды азота взаимодействует с водой с образованием кислот, затем происходит нейтрализация кислот щелочами.

Адсорбционные методы

В случае небольших объемов газов нашли применение адсорбционные методы. Хорошим сорбентом оксидов азота служит активированный уголь, но его применение затрудняется из-за легкой окисляемости, что может привести к сильному разогреву и даже к возгоранию угля (при значительных концентрациях оксидов азота). Силикагель по адсорбционным свойствам несколько уступает углю, но он более прочен и не окисляется кислородом, а окисление NO в NO2 в его присутствии протекает даже быстрее. Однако широкому распространению этих методов препятствует то, что одновременно сорбируются и другие примеси, в результате снижается адсорбционная емкость сорбентов и осложняются процесс десорбции и использование ценных компонентов.

Каталитическое восстановление.

Одним из основных, хорошо освоенных промышленных методов очистки отходящих газов от оксидов азота является их восстановление на катализаторе до молекулярного азота. При использовании неселективного катализатора восстановитель расходуется не только на восстановление азота, но и вступает во взаимодействие с кислородом, обычно содержащимся в газовом потоке. В качестве восстановителя применяются водород, природный газ, оксид углерода. Катализаторами обычно служат элементы платиновой группы. Температура процесса колеблется от 400 до 8000С.

Наиболее широкое распространение получило селективное каталитическое восстановление оксидов азота аммиаком:

NO + 4NН3 = 5N2 + 6Н2О

NO2 + 8NН3 = 7N2 + 12Н2О

Карбамидный метод.

Метод позволяет очищать дымовые газы от оксидов азота на 95% и практически полностью удалять оксиды серы из них. Процесс не требует предварительной подготовки газов, в результате очистки образуются нетоксичные продукты - N2, CO2, H2O, и (NH4)24. Эффективность метода практически не зависит от колебаний входных концентраций оксидов азота и серы. [1]

В общем виде процесс описывается приведенными ниже уравнениями реакций:

NO + NO2 + (NH2)2СО = 2Н2О + СО2 + 2N2

SO2 + (NH2)2СО + 2Н2О + 1/2 О2 =(NH4)2SO4 + СО2

Снижение выбросов оксидов азота в атмосферу путем регулирования процесса горения.

Наряду с установкой газоочистного оборудования в конце технологического цикла сжигания топлива весьма эффективными являются ряд режимных и технологических мероприятий, позволяющих существенно снизить количество образующихся в процессе горения оксидов азота. К этим мероприятиям относятся:

сжигание с низким коэффициентом избытка воздуха;

рециркуляция части дымовых газов в зону горения;

сжигание топлива в две и три ступени;

применение горелок, позволяющих понизить выход Noх;

подача влаги в зону горения;

интенсификация излучения в топочной камере;

выбор профиля топочной камеры, которому отвечает наименьший выход Noх.

Следует отметить, что указанные мероприятия способны в той или иной мере подавить образование Noх из азота воздуха, но не могут предотвратить их образования из азота, имеющегося в составе топлива. [6]

выброс печь атмосфера загрязнение

1.4.3 Очистка отходящих газов от оксида углерода и углеводородов.

Основным методом очистки от оксида углерода и углеводородов в промышленности являются сжигание в пламени, а также термическое и каталитическое окисление. Наиболее известным примером сжигания является широко применяемое в нефтедобывающей и нефтеперерабатывающей промышленности сжигание в факеле, т.е. В открытой горелке, направленной вверх. К недостаткам процесса, помимо потерь углеводородов при горении следует отнести образование оксидов азота, а следовательно, вторичное загрязнение атмосферы.

В условиях термического и каталитического окисления обезвреживание углеводородов и оксида углерода протекает при более низких температурах и образования значительных количеств оксидов азота не происходит.

К общим недостаткам процессов обезвреживания газовых выбросов путем сжигания относится необходимость организации дополнительной очистки газов при наличии в сжигаемых органических соединениях, кроме углерода и водорода, окисляемых до диоксида углерода и воды, фтора, хлора, серы и т.д. В этом случае в продуктах сгорания могут оказаться соединения, куда более токсичные, чем первоначальные. [4]

2. Основная часть. Установка АВТ - источник загрязнения атмосферы

.1 Общие сведения о НПЗ

ЗАО «Краснодарский нефтеперерабатывающий завод ― Краснодарэконефть», г. Краснодар, ул. Захарова 1.

Завод по первичной переработке нефти ЗАО «Краснодарэконефть» основан в 1911 году. Проектная мощность 3 млн. т/г. Общая численность работающих ЗАО «Краснодарэконефть» ― 1000 человек. Количество рабочих дней в году ― 365 при непрерывном цикле производства.

ЗАО «Краснодарэконефть» является предприятием топливного профиля с глубиной переработки ― 61,08%. Сырье предприятия ― малосернистые краснодарские и западносибирские нефти с содержанием серы до 0,6%, поступающие на предприятие по трубопроводу. ЗАО «Краснодарэконефть» вырабатывают широкий ассортимент товарной продукции: бензин прямой гонки, бензин «Экстра», топливо реактивное, дизельное, моторное, печное, мазут, битумы дорожные и строительные.

В состав ЗАО «Краснодарэконефть» входят:

Основное производство:

― установка АВТ;

― установка АТ-2;

― экстракционная установка;

― установка БУ-3;

― установка производства нафтената натрия (МНУ);

― цех резервуарных парков и коммуникации (ЦРП и К);

― цех ВИК.

Вспомогательное производство:

― паро-котельный цех;

― электроцех;

― ремонтно-механический цех (РМЦ);

― слесарная мастерская КИП;

― центральная заводская лаборатория (ЦЗЛ);

― автотранспортный цех;

― стоянка личного автотранспорта;

― маневровый тепловоз;

― пожарная часть ПЧ-15;

― столовая;

― прачечная.

ЗАО «Краснодарэконефть» имеет 5 установок по переработке нефти:

― электрообессоливающая (ЭЛОУ);

― атмосферновакуумная трубчатка (АВТ);

― атмосферная трубчатка (АТ);

― экстракционные (два года не работают, т.к. высокая себестоимость);

― битумные. КТНЭ.280202.З10.КР.ГП. Генеральный план предприятия.

Продуктами переработки являются:

― прямогонный бензин, который далее направляется на другие завод для повышения октанового числа (до 92);

― керосин с повышенной плотностью (от 0,92 до 0,93);

― дизельное топливо (летнее, зимнее);

― мазут (гудрон - сырье для битумных установок, вакуумный газоиль - для каталитического крекинга).

Состав подземного водозабора: 12 артезианские скважины, расположенные на территории предприятия. Суммарный дебит скважин составляет 485 м3/час. Оборудование: насосы марки ЭЦВ8-25-100, эрлифты.

Забор воды из реки Кубань производится насосной станцией, расположенной на правом берегу реки Кубань на 224 км от устья. Вода насосом 6НДВ производимостью 180 м3/час подается в оборотный отсек на пополнение системы оборотного водоснабжения (СОВ). Имеется рыбозащитное сооружение.

Сброс хозбытовых сточных вод в количестве 39,7 тыс. м3/год, 157,7 м3/сутки производится в канализационный коллектор завода имени Седина и далее ― на городские очистные сооружения города Краснодара.

Сброс производственных сточных вод от основного производства в количестве 85642,2 тыс. м3/год, 23463,6 м3/сутки и вспомогательного производства в количестве 217,7 тыс. м3/год, 596,4 м3/сутки производится на комплекс очистных сооружений мощностью 24 тыс. м3/сутки по нефтеловушке, 19,2 тыс. м3/сутки по микрофлотаторам и пруды доочистки №№1 - 5. Вода из пруда №4 и первой секции пруда №5 поступает в системы оборотного водоснабжения предприятия. Сточные воды, прошедшие систему струнной аэрации пруда №5, сбрасываются по выпуску диаметром 0,5 м в реку Кубань на 224 км от устья.

.2 Характеристика региона расположения предприятия

Климат района размещения предприятия ЗАО «Краснодарэконефть» - умеренно-континентальный. Коэффициент, зависящий от стратификации атмосферы А равен 200. Поправочный коэффициент на рельеф местности - η равен 1,0. КТНЭ.280202.З10.КР.СП. Ситуационный план района размещения предприятия.

Средняя максимальная температура наиболее жаркого месяца (июль) плюс 29,8°С. Средняя температура наружного воздуха самого холодного месяца (январь) равна минус 1,8°С. Среднегодовая температура, плюс 11,1°С.

Таблица 1 ― Среднемесячная температура воздуха по месяцам

Январь

- 1,6°С

Июль

+ 23,3°С

Февраль

- 0,6°С

Август

+ 22,7°С

Март

+ 4,3°С

Сентябрь

+ 17,6°С

Апрель

+ 11,3°С

Октябрь

+ 11,4°С

Май

+ 17,0°С

Ноябрь

+ 5,6°С

Июнь

+ 20,7°С

Декабрь

+ 1,1°С


Преобладающее направление ветра ― восточное. Скорость ветра, повторяемость превышения которой составляет менее 5% случаев, W = 7 м/с. Средняя повторяемость направления ветра и штилей приведена в таблице 2.2.

Таблица 2 ― Средняя повторяемость направления ветра и штилей, %

С

СВ

В

ЮВ

Ю

ЮЗ

З

СЗ

Штиль

6

19

24

5

7

15

15

9

26


Согласно СанПиН 2.2.1/2.1.1.1200 Санитарно-защитные зоны и санитарная классификация предприятий для нефтеперерабатывающего завода (предприятие I класса опасности) должна быть соблюдена санитарно-защитная зона 1000 м.

Среднее количество осадков около 600 мм в год. Наибольшие суммы осадков за месяц отмечается, в основном, в теплое время года. При этом они в 1,5 - 2 больше, чем наибольшие суммы осадков зимой. В тёплый период число дней с осадками составляет от 50 до 60, в холодный период от 50 до 70. Максимум числа дней с ливневыми (более 10 мм) наблюдается в июне - июле (от 10 до 12 дней), в холодный период число дней с осадками более 10 мм составляет от 8 до 10.

Снежный покров появляется между 30 ноября и 10 декабря. Среднее число дней в году со снежным покровом составляет от 40 до 50. Максимальная декадная высота снежного покрова достигается от 15 до 20 см, обычно, в первой декаде февраля. Краснодарский край относится к 3-й климатической зоне.

Фоновые концентрации вредных загрязняющих атмосферный воздух веществ в районе расположения предприятия в города Краснодаре составляют (в мг/м3):

Диоксид азота ― 0,14;

Оксид углерода ― 9,0;

Углеводороды ― 5,0;

Взвешенные вещества ― 0,9;

Диоксид серы ― 0,33;

Сероводород ― 0,012.

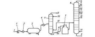
2.3 Технологическая схема блока вакуумной перегонки мазута

Мазут 8.75, отбираемый с низа атмосферной колонны блока AT, прокачивается параллельными потоками через печь 2 в вакуумную колонну 1. Смесь нефтяных и водяных паров, газы разложения (и воздух, засасываемый через неплотности) с верха вакуумной колонны поступают в вакуумсоздающую систему. После конденсации и охлаждения в конденсаторе-холодильнике она разделяется в газосепараторе на газовую и жидкую фазы. Газы отсасываются двуххступенчатым пароэжекторным вакуумным насосом, а конденсаты поступают в отстойник для отделения нефтепродукта от водного конденсата. Верхним боковым погоном вакуумной колонны отбирают фракцию легкого вакуумного газойля (соляр) 8.37. Часть его после охлаждения в теплообменниках возвращается наверх колонны в качестве верхнего циркуляционного орошения.

Вторым боковым погоном отбирают широкую газойлевую (масляную) фракцию 8.38. Часть ее после охлаждения используется как среднее циркуляционное орошение вакуумной колонны. Балансовое количество целевого продукта вакуумного газойля после теплообменников и холодильников выводится с установки и направляется на дальнейшую переработку.

С нижней тарелки концентрационной части колонны выводиться затемненная фракция, часть которой используется как нижнее циркуляционное орошение, часть - может выводиться с установки или использоваться как рецикл вместе с загрузкой вакуумной печи.

С низа вакуумной колонны отбирается гудрон 8.76 и после охлаждения в теплообменнике возвращается в низ колонны в качестве квенчинга. В низ вакуумной колонны и змеевик печи подается водяной пар 1.8. [4]

2.4 Токсикологическая характеристика загрязняющих веществ

ГН 2.1.6.1338 ПДК загрязняющих веществ в атмосферном воздухе населенных мест, ГН 2.1.6.1983 Дополнения и изменения 2 к ГН 2.1.6.1338 и ГН 2.1.6.2909Ориентировочные безопасные уровни воздействия (ОБУВ) загрязняющих веществ в атмосферном воздухе населенных мест отражены в таблице 3.

Таблица 3 - Токсикологическая характеристика вредных веществ.

№ п/п

 Наименование вещества

Формула

Величина ПДК, мг/м3

ОБУВ, мг/м3

Класс опасности



максимальная разовая

среднесуточная



1

2

3

5

6


7

1

Азота диоксид

NO2

0,2

0,04


3

2

Азот (II) оксид

NO

0,4

0,06


3

3

Бенз/а/пирен

C20H12

-

0,1 мкг / 100 м3


1

4

Сера диоксид

2

0,5

0,05


3

5

Углерод оксид

CO

5

3


4

6

Метан

СН4



50



2.5 Воздействие вредных веществ на человека и окружающую среду

Влияние процессов сгорания углеводородных систем в двигателях транспортных средств и печах приводит к резкому увеличению содержанию СО, СО2 и кислых газов в атмосфере. Сжигание нефти, газа и угля сопровождается выбросом до 5 млрд. т. в год углекислого газа. На фоне уменьшения площади лесов наблюдается рост концентрации СО2 в атмосфере (от 0,03 до 0,041%). В воздухе городов над промышленными зонами и транспортными узлами доля СО2 может достигать 0,1%, отсюда следует реальность парникового эффекта. В течение ХХ века средняя температура атмосферы увеличилась на 10. Использование мазута и тяжелых котельных топлив на основе сернистых нефтей приводит к загрязнению окружающей среды оксидами серы, пятиокисью ванадия и бенз(а) пиреном.

Углеводородные системы - нефть, продукты ее переработки и газоконденсаты оказывают отрицательное воздействие на воздух, воду и почву. Предприятия топливно-энергетического комплекса (ТЭК) России, в том числе - по добыче и переработке нефти, несмотря на снижение объемов производства, остаются крупнейшим в промышленности источником загрязнения окружающей среды. На их долю приходится около 48% выбросов вредных веществ в атмосферу, 27% сброса загрязненных сточных вод, свыше 30% твердых отходов и до 70% общего объема парниковых газов. При этом, загрязняя окружающую природную среду, предприятия ТЭК несут существенные финансовые потери. Количество нефтепродуктов в водных объектах густонаселенных городов превышает предельно допустимую концентрацию в 9-15 раз, в сельской местности тысячи гектаров земли, частично и полностью, исключаются из хозяйственного оборота[2].

Не менее актуальна проблема выбросов газов и пыли. Результат воздействия - загрязнение атмосферы в виде запыленности и загазованности. Так, нефтеперерабатывающими предприятиями выбрасывается в атмосферу свыше 1050 тыс. т. загрязняющих веществ, при этом доля улова на фильтрах составляет только 47,5%. Основной состав выбросов предприятий в атмосферу: 23% - углеводороды; окислы: 16,6% - серы; 7,3% - углерода, 2% - азота. По некоторым данным, в российской нефтеперерабатывающей промышленности выбрасывается в атмосферу около 0,45% перерабатываемого сырья, в то время как на Западе - 0,1%. Непоправимый вред окружающей среде наносит факельное хозяйство YGP/ При сжигании топлива в факельных печах образуются аэрозольные частицы - продукты конденсации углерода и канцерогенные углеводороды типа бенз(а) пирена.

Экологические последствия загрязнения атмосферы

Загрязнение атмосферного воздуха воздействует на здоровье человека и на окружающую природную среду различными способами - от прямой и немедленной угрозы (смог и др.) до медленного и постепенного разрушения различных систем жизнеобеспечения организма. Во многих случаях загрязнение воздушной среды нарушает структурные компоненты экосистемы до такой степени, что регуляторные процессы не в состоянии вернуть их в первоначальное состояние и в результате механизм гомеостаза не срабатывает.

Сначала рассмотрим, как влияет на окружающую природную среду локальное (местное) загрязнение атмосферы, а затем глобальное.

Физиологическое воздействие на человеческий организм главных загрязнителей (поллютантов) чревато самыми серьезными последствиями. Так, диоксид серы, соединяясь с влагой, образует серную кислоту, которая разрушает легочную ткань человека и животных. Особенно четко эта связь прослеживается при анализе детской легочной патологии и степени концентрации диоксида, серы в атмосфере крупных городов. Особенно опасен диоксид серы, когда он осаждается на пылинках и в этом виде проникает глубоко в дыхательные пути. [8]

Оксиды азота раздражают, а в тяжелых случаях и разъедают слизистые оболочки, например глаз, легких, участвуют в образовании ядовитых туманов и т.д. Особенно опасны они, если содержатся в загрязненном воздухе совместно с диоксидом серы и другими токсичными соединениями. В этих случаях даже при малых концентрациях загрязняющих веществ возникает эффект синергизма, т.е. усиление токсичности всей газообразной смеси.

Широко известно действие на человеческий организм оксида углерода (угарного газа). При остром отравлении появляется общая слабость, головокружение, тошнота, сонливость, потеря сознания, возможен летальный исход (даже спустя три-семь дней). Однако из-за низкой концентрации СО в атмосферном воздухе он, как правило, не вызывает массовых отравлений, хотя и очень опасен для лиц, страдающих анемией и сердечнососудистыми заболеваниями.

Среди взвешенных твердых частиц наиболее опасны частицы размером менее 5 мкм, которые способны проникать в лимфатические узлы, задерживаться в альвеолах легких, засорять слизистые оболочки.

Весьма неблагоприятные последствия, которые могут сказываться на огромном интервале времени, связаны и с такими незначительными по объему выбросами, как бенз(а) пирен. Он угнетает кроветворную систему, вызывает онкологические заболевания, снижает сопротивление организма инфекциям и т.д.

Тяжелые последствия в организме живых существ вызывает и ядовитая смесь дыма, тумана и пыли - смог. Различают два типа смога: зимний смог (лондонский тип) и летний (лос-анджелесский тип).

Лондонский тип смога возникает зимой в крупных промышленных городах при неблагоприятных погодных условиях (отсутствие ветра и температурная инверсия). Температурная инверсия проявляется в повышении температуры воздуха с высотой в некотором слое атмосферы (обычно в интервале 300-400 м от поверхности земли) вместо обычного понижения. В результате циркуляция атмосферного воздуха резко нарушается, дым, и загрязняющие вещества не могут подняться вверх и не рассеиваются. Нередко возникают туманы. Концентрации оксидов серы, взвешенной пыли, оксида углерода достигают опасных для здоровья человека уровней, приводят к расстройству кровообращения, дыхания, а нередко и к смерти. В 1952 г. в Лондоне от смога с 3 по 9 декабря погибло более 4 тыс. человек, до 10 тыс. человек тяжело заболели. В конце 1962 г. в Руре (ФРГ) смог убил за три дня 156 человек. Рассеять смог может только ветер, а сгладить смогоопасную ситуацию - сокращение выбросов загрязняющих веществ.

Лос-Анджелесский тип смога, или фотохимический смог, не менее опасен, чем лондонский. Возникает он летом при интенсивном воздействии солнечной радиации на воздух, насыщенный, а вернее перенасыщенный выхлопными газами автомобилей. В Лос-Анджелесе, выхлопные газы более четырех миллионов автомобилей выбрасывают только оксидов азота в количестве более чем тысяча тонн в сутки. При очень слабом движении воздуха или безветрии в воздухе в этот период идут сложные реакции с образованием новых высокотоксичных загрязнителей - фотооксидантов (озон, органические перекиси, нитриты и др.), которые раздражают слизистые оболочки желудочно-кишечного тракта, легких и органов зрения. Только в одном городе (Токио) смог вызвал отравление 10 тыс. человек в 1970 г. и 28 тыс. - в 1971 г. По официальным данным, в Афинах в дни смога смертность в шесть раз выше, чем в дни относительно чистой атмосферы. В некоторых наших городах (Кемерово, Ангарск, Новокузнецк, Медногорск и др.), особенно в тех, которые расположены в низинах, в связи с ростом числа автомобилей и увеличением выброса выхлопных газов, содержащих оксид азота, вероятность образования фотохимического смога увеличивается.

Антропогенные выбросы загрязняющих веществ в больших концентрациях и в течение длительного времени наносят большой вред не только человеку, но отрицательно влияют на животных, состояние растений и экосистем в целом.

В растения токсичные вещества поступают различными способами. Установлено, что выбросы вредных веществ действуют как непосредственно на зеленые части растений, попадая через устьица в ткани, разрушая хлорофилл и структуру клеток, так и через почву на корневую систему. Так, например, загрязнение почвы пылью токсичных металлов, особенно в соединении с серной кислотой, губительно действует на корневую систему, а через нее и на все растение.

Загрязняющие газообразные вещества по-разному влияют на состояние растительности. Одни лишь слабо повреждают листья, хвоинки, побеги (окись углерода, этилен и др.), другие действуют на растения губительно (диоксид серы, хлор, пары ртути, аммиак, цианистый водород и др.). Особенно опасен для растений диоксид серы (SO), под воздействием которого гибнут многие деревья, и в первую очередь хвойные - сосны, ели, пихты, кедр.

Экологические последствия глобального загрязнения атмосферы

К важнейшим экологическим последствиям глобального загрязнения атмосферы относятся:

) возможное потепление климата («парниковый эффект»);

) нарушение озонового слоя;

) выпадение кислотных дождей.

Большинство ученых в мире рассматривают их как крупнейшие экологические проблемы современности.

Возможное потепление климата («парниковый эффект»)

В настоящее время, наблюдаемое изменение климата, которое выражается в постепенном повышении среднегодовой температуры, начиная со второй половины прошлого века, большинство ученых связывают с накоплениями в атмосфере так называемых «парниковых газов» - диоксида углерода (СО2), метана (СН4), хлорфторуглеродов (фреонов), озона (О3), оксидов азота и др.

Парниковые газы, и в первую очередь СО2, препятствуют длинноволновому тепловому излучению с поверхности Земли. Атмосфера, насыщенная парниковыми газами, действует как крыша теплицы. Она, с одной стороны, пропускает внутрь большую часть солнечного излучения, с другой - почти не пропускает наружу тепло, переизлучаемое Землей.

В связи со сжиганием человеком все большего количества ископаемого топлива: нефти, газа, угля и др. (ежегодно более 9 млрд. т. условного топлива) - концентрация СО2 в атмосфере постоянно увеличивается. За счет выбросов в атмосферу при промышленном производстве и в быту растет содержание фреонов (хлорфторуглеродов). На 1-1,5% в год увеличивается содержание метана (выбросы из подземных горных выработок, сжигание биомассы, выделения крупным рогатым скотом и др.). В меньшей степени растет содержание в атмосфере и оксида азота (на 0,3% ежегодно).

Следствием увеличения концентраций этих газов, создающих «парниковый эффект» является рост средней глобальной температуры воздуха у земной поверхности. За последние 100 лет наиболее теплыми были 1980, 1981, 1983, 1987 и 1988 гг. В 1988 г. среднегодовая температура оказалась на 0,4 градуса выше, чем в 1950-1980 гг. Расчеты некоторых ученых показывают, что в 2005 г. она будет на 1,3°С больше, чем в 1950-1980 гг. В докладе, подготовленном под эгидой ООН международной группой по проблемам климатических изменений, утверждается, что к 2100 г. температура на Земле увеличится на 2-4 градуса. Масштабы потепления за этот относительно короткий срок будут сопоставимы с потеплением, произошедшим на Земле после ледникового периода, а значит, экологические последствия могут быть катастрофическими. В первую очередь это связано с предполагаемым повышением уровня Мирового океана, вследствие таяния полярных льдов, сокращения площадей горного оледенения и т.д. Моделируя экологические последствия повышения уровня океана всего лишь на 0,5-2,0 м к концу XXI в., ученые установили, что это неизбежно приведет к нарушению климатического равновесия, затоплению приморских равнин в более чем 30 странах, деградации многолетнемерзлых пород, заболачиванию обширных территорий и к другим неблагоприятным последствиям[8].

Однако ряд ученых видят в предполагаемом глобальном потеплении климата и положительные экологические последствия. Повышение концентрации СО2 в атмосфере и связанное с ним увеличение фотосинтеза, а также возрастание увлажнения климата могут, по их мнению, привести к увеличению продуктивности как естественных фитоценозов (лесов, лугов, саванн и др.), так и агроценозов (культурных растений, садов, виноградников и др.).

По вопросу о степени влияния парниковых газов на глобальное потепление климата также нет единства во мнениях. Так, в отчете Межправительственной группы экспертов по проблеме изменения климата (1992) отмечается, что наблюдающееся в последнее столетие потепление климата на 0,3-0,6°С могло быть обусловлено преимущественно природной изменчивостью ряда климатических факторов.

На международной конференции в Торонто (Канада) в 1985 г. перед энергетикой всего мира поставлена задача сократить к 2005 г. на 20% промышленные выбросы углерода в атмосферу. Но очевидно, что ощутимый экологический эффект может быть получен лишь при сочетании этих мер с глобальным направлением экологической политики - максимально возможным сохранением сообществ организмов, природных экосистем и всей биосферы Земли.

Нарушение озонового слоя

Озоновый слой (озоносфера) охватывает весь земной шар и располагается на высотах от 10 до 50 км с максимальной концентрацией озона на высоте 20-25 км. Насыщенность атмосферы озоном постоянно меняется в любой части планеты, достигая максимума весной в приполярной области.

Впервые истощение озонового слоя привлекло внимание широкой общественности в 1985 г., когда над Антарктидой было обнаружено пространство с пониженным (до 50%) содержанием озона, получившее название «озоновой дыры». С тех пор результаты измерений подтверждают повсеместное уменьшение озонового слоя практически на всей планете. Так, например, в России за последние десять лет концентрация озонового слоя снизилась на 4-6% в зимнее время и на 3% - в летнее. В настоящее время истощение озонового слоя признано всеми как серьезная угроза глобальной экологической безопасности. Снижение концентрации озона ослабляет способность атмосферы защищать все живое на Земле от жесткого ультрафиолетового излучения (УФ-радиация). Живые организмы весьма уязвимы для ультрафиолетового излучения, ибо энергии даже одного фотона из этих лучей достаточно, чтобы разрушить химические связи в большинстве органических молекул. Не случайно поэтому в районах с пониженным содержанием озона многочисленны солнечные ожоги, наблюдается увеличение заболевания людей раком кожи и др. Так, например, по мнению ряда ученых-экологов, к 2030 г. в России при сохранении нынешних темпов истощения озонового слоя заболеют раком кожи дополнительно 6 млн. человек. Кроме кожных заболеваний возможно развитие глазных болезней (катаракта и др.), подавление иммунной системы и т.д.

Установлено также, что растения под влиянием сильного ультрафиолетового излучения постепенно теряют свою способность к фотосинтезу, а нарушение жизнедеятельности планктона приводит к разрыву трофических цепей биоты водных экосистем, и т.д.

Наука еще до конца не установила, каковы же основные процессы, нарушающие озоновый слой. Предполагается как естественное, так и антропогенное происхождение «озоновых дыр». Последнее, по мнению большинства ученых, более вероятно и связано с повышенным содержанием хлорфторуглеродов (фреонов). Фреоны широко применяются в промышленном производстве и в быту (хладоагрегаты, растворители, распылители, аэрозольные упаковки и др.). Поднимаясь в атмосферу, фреоны разлагаются с выделением оксида хлора, губительно действующего на молекулы озона.

По данным международной экологической организации «Гринпис», основными поставщиками хлорфторуглеродов (фреонов) являются США - 30,85%, Япония - 12,42%, Великобритания - 8,62% и Россия - 8,0%. США пробили в озоновом слое «дыру» площадью 7 млн. км2, Япония - 3 млн. км2, что в семь раз больше, чем площадь самой Японии. В последнее время в США и в ряде западных стран построены заводы по производству новых видов хладореагентов (гидрохлорфторуглеродов) с низким потенциалом разрушения озонового слоя.

Согласно протоколу Монреальской конференции (1990 г.), пересмотренному затем в Лондоне (1991 г.) и Копенгагене (1992 г.), предусматривалось снижение выбросов хлорфторуглерода к 1998 г. на 50%. Согласно ст. 56 Закона Российской Федерации об охране окружающей природной среды, в соответствии с международными соглашениями, все организации и предприятия обязаны сократить и в последующем полностью прекратить производство и использование озоноразрушающих веществ.

Ряд ученых продолжают настаивать на естественном происхождении «озоновой дыры». Причины ее возникновения одни видят в естественной изменчивости озоносферы, циклической активности Солнца, другие связывают эти процессы с рифто-генезом и дегазацией Земли.

Кислотные дожди

Одна из важнейших экологических проблем, с которой связывают окисление природной среды, - кислотные дожди. Образуются они при промышленных выбросах в атмосферу диоксида серы и оксидов азота, которые, соединяясь с атмосферной влагой, образуют серную и азотную кислоты. В результате дождь и снег оказываются подкисленными (число рН ниже 5,6). В Баварии (ФРГ) в августе 1981 г. выпадали дожди с кислотностью рН=3,5. Максимальная зарегистрированная кислотность осадков в Западной Европе - рН=2,3.

Суммарные мировые антропогенные выбросы двух главных загрязнителей воздуха - виновников подкисления атмосферной влаги - SO2 и NO составляют ежегодно - более 255 млн. т. (1994 г.). На огромной территории природная среда закисляется, что весьма негативно отражается на состоянии всех экосистем. Выяснилось, что природные экосистемы подвергаются разрушению даже при меньшем уровне загрязнения воздуха, чем тот, который опасен для человека. «Озера и реки, лишенные рыбы, гибнущие леса - вот печальные последствия индустриализации планеты».

Опасность представляют, как правило, не сами кислотные осадки, а протекающие под их влиянием процессы. Под действием кислотных осадков из почвы выщелачиваются не только жизненно необходимые растениям питательные вещества, но и токсичные тяжелые и легкие металлы - свинец, кадмий, алюминий и др. Впоследствии они сами или образующиеся токсичные соединения усваиваются растениями и другими почвенными организмами, что ведет к весьма негативным последствиям[2].

Пятьдесят миллионов гектаров леса в 25 европейских странах страдают от действия сложной смеси загрязняющих веществ, включающей кислотные дожди, озон, токсичные металлы и др. Так, например, гибнут хвойные горные леса в Баварии. Отмечены случаи поражения хвойных и лиственных лесов в Карелии, Сибири и в других районах нашей страны.

Воздействие кислотных дождей снижает устойчивость лесов к засухам, болезням, природным загрязнениям, что приводит к еще более выраженной их деградации как природных экосистем.

Ярким примером негативного воздействия кислотных осадков на природные экосистемы является закисление озер. Особенно интенсивно оно происходит в Канаде, Швеции, Норвегии и на юге Финляндии. Объясняется это тем, что значительная часть выбросов серы в таких промышленно развитых странах, как США, ФРГ и Великобритании, выпадают именно на их территории. Наиболее уязвимы в этих странах озера, так как коренные породы, слагающие их ложе, обычно представлены гранито-гнейсами и гранитами, не способными нейтрализовать кислотные осадки, в отличие, например, от известняков, которые создают щелочную среду и препятствуют закислению. Сильно закислены и многие озера на севере США.

Закисление озер опасно не только для популяций различных видов рыб (в том числе лососевых, сиговых и др.), но часто влечет за собой постепенную гибель планктона, многочисленных видов водорослей и других его обитателей. Озера становятся практически безжизненными.

В нашей стране площадь значительного закисления от выпадения кислотных осадков достигает несколько десятков миллионов гектаров. Отмечены и частные случаи закисления озер (Карелия и др.). Повышенная кислотность осадков наблюдается вдоль западной границы (трансграничный перенос серы и других загрязняющих веществ) и на территории ряда крупных промышленных районов, а также фрагментарно на побережье Таймыра и Якутии.

.6 Расчеты валовых выбросов загрязняющих веществ в атмосферу

Таблица 4 - Исходные данные для расчета выбросов от технологической печи

Наименование печи

Состав топливного газа, % об.

Расход топлива, т/пер, (газ)

Период работы печи, дни


СН4

С2Н6

С3Н8

С4Н10

С5Н12

O2

H2S

H2



П-2 АВТ

30,2

13,9

36,7

13,1

4,5

1,8

0,04

0,1

6587

270


Таблица - 5 Состав дымовых газов

Наименование печи

%, об.

Сi, мг/м3


Н2

N2

O2

CO2

CO

CH4

NO

NO2

П-2 АВТ

0

83,2

10,8

6,2

10,10

2,70

0

69,1


Определение элементного состава топлива.

Определим количество углерода и водорода в метане, составив пропорцию: отношение мольной массы метана к массе углерода в молекуле равно отношение фактически данному количеству одного из компонентов топлива.

Процентное содержание элементов в топливе Х находим из пропорции:

,                                                      (1)

Для метана получим:

СН4: 12/16 = X(C) / 30,2;

X(C) = 12 * 30,2 / 16 = 22,65%.

X(Н) = 30,2-22,65=7,55%.

Аналогично определим содержание углерода, водорода, серы в остальных компонентах топлива. По полученным данным составим таблицу 1.

Таблица 6 - Элементный состав топлива

Элементы топлива

Компоненты топлива, % об

∑, % об


СН4

С2Н6

С3Н8

С4Н10

С5Н12

О2

H2S

Н2


СР

22,65

11,12

30,00

10,84

3,75

-

-

-

78,36

НР

7,55

2,78

6,70

2,26

0,75

-

0,01

0,1

20,15

SP

-

-

-

-

-

-

0,03

-

0,03

ОР

-

-

-

-

-

1,8

-

-

1,8


Расчёт теоретической потребности воздуха на горение. Находим по формуле:

V0= 0,0889*Cp+O, 265*Hp+O, 0333*(Sp-Ор), н.м3/кг (2)

V0 = 0,0889 ·78,36 +0,265 ·20,15 + 0,0333· (0,03 - 1,8)=12,24 м3/кг.

3 Расчёт коэффициента избытка воздуха. На основании данных анализа дымовых газов по формуле 3 находим:

ά= Nv/(Nv - 3,762 * Оv),                             (3)

α = 83,2 / (83,2 - 3,762 ·10,8) = 1,95.

Расчёт удельного объёма сухих дымовых газов. По формуле 4 находим:

Vсг = ά*V0 - 0,056*Нр+ 0,007*Ор+ 0,008* Np, н.м3/кг            (4)

VCГ = 1,95 · 12,24 - 0,056 · 20,15 + 0,007 · 1,8 + 0 = 22,75 нм3/кг.

Расчёт удельного объёма водяных газов. По формуле 5 находим:

Vвп= 0,112*Нр+ 0,0161 *а*V0+ 0,062*q (ж.т.),             (5)

VВП = 0,112 ·20,15+ 0,0161 ·1,95·12,24 = 2,63 нм3/кг.

Расчет полного объема сухих дымовых газов. С учетом заданного периода работы печи переведем расход топлива в кг/с:

GТ = 1000·GГ / (24·3600· Т) =1000· 6587 / (86400 · 270) = 0,282 кг/с.

По формуле 6 находим:

Vсг.п = Vсг * Gт, н.м3/с,                               (6)

VСГ.П = 22,75 · 0,282 = 6,415 нм3/с.

Расчет полного объема продуктов сгорания. По формуле 7 находим:

Vпр.сг.п = (Vсг +Vвп)* Gт, н.м3/с                             (7)

VПР.СГ.П = (22,75 + 2,63)· 0,282 = 7,157 нм3/с.

Расчет максимальных разовых выбросов СО, СН4, NOX. По формуле 8 находим:

Gmax(i) = Vсг.п *C(i)/1000, г/с                        (8)

GMAX(СО) = 6,415·10,10 / 1000 = 0,064 г./с.

GMAX(СН4) = 6,415·2,70 / 1000 = 0,017 г./с.

GMAX(NO2) = 6,415·69,1 / 1000 = 0,443 г./с.

Расчет максимальных разовых выбросов сернистого ангидрида. По формуле 9 находим:

S02 = Gт*2*Sp*10, г/с;    (9)

GSO2 =0,282 ·2·0,03·10 = 0,169 г./с.

Расчет максимальных разовых выбросов бенз (а) пирена. По формуле 10 находим:

БaП = Vсг.п *7Е-9, г/с                                    (10)

GБАП = 6,415 · 7· 10-9 = 4,49·10-8 г/с.

Расчёт удельных выбросов окиси углерода, метана, NOX. По формуле 11 находим:

(i) = Vсг *C(i), (г/тонну топлива)                        (11)

Q(СО) = 22,75·10,10 = 229,77 г./тонну топлива.

Q(NO2) = 22,75·69,1 = 1572,02 г./тонну топлива.

Q(СН4) = 22,75·2,70 = 61,42 г./тонну топлива.

12 Расчёт удельных выбросов серного ангидрида.

По формуле 12 находим:

S02 = Sp*20000, г/тонну топлива                                  (12)

Q SO2 = 20000· 0,03 = 600 г./тонну топлива.

Расчёт удельных выбросов бенз (а) пирена.

По формуле 13 находим:

БαП = Vсг.п *7Е-6, г/с                                    (13)

Q БАП = 6,415 · 7· 10-6 = 4,49· 10-5 г/тонну топлива.

Расчёт валовых выбросов веществ в атмосферу

По формуле 14 находим валовые выбросы веществ за обследуемый период:

GVal(i) = GтSum *Qsr(i)/1 000000, тонн / период,       (14)VAL(СО) =6587· 229,77 / 106 = 1,51 т/период

GVAL(NО2) =6587· 1572,02 / 106 =10,35 т/период

GVAL(СН4) = 6587· 61,42 / 106 = 0,40 т/период

GVAL(SO2) = 6587·600 / 106 = 3,95 т/период

GVALαП) = 6587·4,49· 10-5 / 106 = 0,29·10-6 т/период

.7 Рекомендации по снижению выбросов в атмосферу от атмосферно-вакуумных трубчатых установок

Совершенствование технологических процессов и оборудования является важным фактором повышения уровня промышленной и экологической безопасности производств. Оптимизация режимов, увеличение КПД установок, снижение потребления топливно-энергетических ресурсов и воды в конечном итоге снижают экологическую напряженность и предотвращают аварийную ситуацию.

Перед большинством нефтехимических и нефтеперерабатывающих предприятий России стоят проблемы повышения эффективности и надежности производств, оптимизации технологических процессов, повышения производительности установок и выхода целевых продуктов, осуществления энергосберегающих мероприятий. При этом вопросы модернизации современных технологических процессов, технологических установок и энергосбережения тесно связаны с решением следующих проблем промышленной и экологической безопасности.

Снижение выбросов с дымовыми газами технологических печей: внедрение горелок, обеспечивающих снижение образования оксидов азота; эффективное распыление и подогрев жидкого топлива [7,9].

Повышение КПД печей: увеличение поверхности конвекционной секции; применение в конвекционной секции оребренных труб; внедрение подогрева воздуха, поступающего на горение; отладка режимов сгорания топлива с малым избытком воздуха; внедрение непрерывного контроля содержания кислорода в дымовых газах; проверка утечек тепла через неплотности системы; внедрение сажеобдувочных агрегатов.

Снижение потерь тепла в системах пароснабжения и теплофиксации: оптимизация продувки в парогенераторах; оптимизация уровней давления пара; дросселирование конденсата высокого давления с получением пара низкого давления; снижение избыточной выработки пара низкого давления; внедрение предвключенных паровых турбин при возможности перевода систем на пар менее высокого давления; регулирование отпарки продуктов паром в соответствии с техническими требованиями на качество продукта; использование горячей циркулирующей воды для обогрева трубопроводов и резервуаров.

Реконструкция установок: применение горячей воды для обессоливания; реализация прямых связей по сырью с последующими установками; оптимизация теплообмена на основе пинч-анализа (определение оптимальной поверхности теплообмена по отношению к стоимости сэкономленного тепла и к требуемым затратам); установка дополнительных теплообменников и применение параллельной схемы подогрева сырой нефти вместо общепринятой последовательной (обеспечивается повышение температуры нефти до 2850С на атмосферном и вакуумной блоках); применение усовершенствованных методов регулирования расходов нефти в параллельных теплообменниках; применение усовершенствованной системы регулирования (минимизации расходов пара при отпарке в боковых стриппингах), применение стриппингов с ребойлерами; отказ от подачи сухого пара; оптимизация распределения тепловых нагрузок циркулирующего орошения; в некоторых случаях - использование предварительного эвапоратора сырья; применение электродвигателей с регулируемым числом оборотов[4].

Меры, которые проводятся для минимизации риска использования химических продуктов. Для минимизации риска использования химических продуктов в соответствии с уровнем наших знаний этой проблемы в странах ЕС в 1982 г. Был введен в действие так называемый «Закон о химических продуктах». В процессе проверки его исполнения в течение нескольких лет проводились мероприятия по оптимизации технологий, биологических и физико-химических испытаний, а также по уточнению терминологии, стандартных веществ и методов отбора проб. Химический закон устанавливает правила допуска на рынок всех новых химических продуктов.

Технические мероприятия, используемые для предотвращения опасности промышленных выбросов. Для сокращения и уменьшения выбросов химических веществ на промышленных предприятиях необходимо проводить следующие меры:

Необходимо проектировать любое производство так, чтобы выбросы были заведомо минимальны.

Необходимо строго соблюдать технологические режимы производства.

Необходима обязательная герметизация оборудования на производствах, где присутствуют и получаются химические соединения (это касается не только химической промышленности).

Необходимо внедрение непрерывных технологических процессов и замкнутого круга производства, оборотного водопотребления.

Необходимо проводить меры по предотвращению аварий (например, планово-профилактический ремонт оборудования).

Борьба с потерями при транспортировке (предотвращение аварий газо- и нефтепроводов).

Борьба с эмиссией (выделением) промышленных газов в атмосферу.

Необходимо применение систем очистки сточных вод и борьбы с загрязнением.

Обязательная переработка и утилизация отходов, вторичное использование отходов[9].


Заключение

В настоящее время человечество переживает углеводородную эру. Нефтяная отрасль является главной для мировой экономики. В нашей стране эта зависимость особенно высока. К сожалению, российская нефтяная промышленность находиться сейчас в состоянии глубокого кризиса и имеет немало проблем.

Проблема охраны окружающей среды является одной из самых актуальных и должна стать государственной проблемой в каждой стране. Рациональное использование ресурсов биосферы, минеральных ресурсов Земли, вторичное использование отходов, создание новых экотехнологий, развитие альтернативных источников энергий, развитие эколого-социального воспитания общественности - единственно возможные пути решения экологических проблем.

В результате данной работы были рассчитаны валовые выбросы загрязняющих веществ в атмосферу от технологической печи П-2 установки АВТ.

валовые выбросы оксида углерода составили 1,51 т/период;

валовые выбросы оксида азота составили 10,35 т/период;

валовые выбросы метана составили 0,40 т/период;

валовые выбросы оксида серы составили 3,95 т/период;

валовые выбросы бензапирена составили 0,29·10-6 т/период

Также в данной работе были предложены меры по защите окружающей среды от промышленных загрязнений. Даны рекомендации по снижению выбросов в атмосферу от технологической печи.

Итак, в работе мною были рассмотрены некоторые аспекты химического загрязнения окружающей среды. Это далеко не все аспекты этой огромной проблемы и только малая часть возможностей решения ее. Чтобы полностью не разрушить место своего обитания и обитания всех остальных форм жизни, человеку необходимо очень бережно относится к окружающей среде. А это значит необходим строгий контроль прямого и косвенного производства химических веществ, всестороннее изучение этой проблемы, объективная оценка влияния химических продуктов на окружающую среду, изыскание и применение методов минимизации вредного воздействия химических веществ на окружающую среду.

Список использованных источников

1 Калыгин В.Г. Промышленная экология. Курс лекций. - М.: Изд-во МНЭПУ МХТИ им. Д.И. Менделеева - 2000. - 240 с.

Зайцев В.А. Промышленная экология. М.: МХТИ им. Д.И. Менделеева - 2000. - 140 с.

3 Методические указания по выполнению и оформлению выпускных квалификационных работ для студентов всех форм обучения по специальности 280202 - Инженерная защита окружающей среды / Сост.: Ю.П. Ясьян, Л.И. Калашникова, Т.П. Косулина, А.Г. Колесников; Куб. гос. технол. ун-т. Кафедра технологии нефти и экологии. - Краснодар: Изд. КубГТУ, 2005. - 55 с.

Методические указания по выполнению и оформлению курсовых работ по дисциплине «Промышленная экология» для студентов всех форм обучения по специальности 280202 - Инженерная защита окружающей среды / Сост.: Т.П. Косулина; Куб. гос. технол. ун-т. Кафедра технологии нефти и экологии. - Краснодар: Изд. КубГТУ, 2005. - 29 с.

5 Технология переработки нефти. В 2-х частях. Часть первая. Первичная переработка нефти / Под ред. О.Ф. Глаголевой, В.М. Капустина. - М.: Химия, Колос, 2005. - 400 с.

6 Перечень документов по расчету выделений (выбросов) загрязняющих веществ в атмосферный воздух, действующих в 2001-2002 годах. - Министерство природных ресурсов РФ.

7 Мановян А.К. Технология переработки природных энергоносителей - М.: Химия, Колос, 2004. - 456 с.

8 Родионов А.И., Клушин В.Н., Систер В.Т. Технологические процессы экологической безопасности / Учебник для студентов технических и технологических специальностей 3-е изд., перераб. и доп. - Калуга: Издательство Н. Бочкаревой, 2000. - 800 с.

Бесков В.С., Сафронов В.С. Общая химическая технология ии основы промышленной экологии: Учебник для вузов. - М.: Химия, 1999. - 472 с.

10 Абросимов, А.А. Экология переработки углеводородных систем: учеб. пособие для вузов /А.А. Абросимов. - М.: Химия, 2002. - 608 с.

11 Перечень и коды веществ, загрязняющих атмосферный воздух, из-е 5-е. С. Петербург: Интеграл, 2000. - 318 с.

12 Методические указания по выполнению расчетной работы «Расчет выбросов вредных веществ от технологических печей» по дисциплине «Промышленная экология». - Краснодар, 2010.

Похожие работы на - Нефтеперерабатывающие заводы — источник загрязнения атмосферы. Расчет выбросов от установки АВТ. Технологическая печь П-2

 

Не нашли материал для своей работы?
Поможем написать уникальную работу
Без плагиата!
Без нейросетей!