Материальный баланс нефтеперерабатывающего завода

  • Вид работы:
    Контрольная работа
  • Предмет:
    Другое
  • Язык:
    Русский
    ,
    Формат файла:
    MS Word
    147,22 kb
  • Опубликовано:
    2012-01-16
Вы можете узнать стоимость помощи в написании студенческой работы.
Помощь в написании работы, которую точно примут!

Материальный баланс нефтеперерабатывающего завода

Министерство образования и науки Российской Федерации

Государственное образовательное учреждение

высшего профессионального образования

"Комсомольский-на-Амуре государственный технический университет"

Факультет Экологии и Химической Технологии

Кафедра "Технология переработки нефти и газа"




РАСЧЕТНО-ГРАФИЧЕСКОЕ ЗАДАНИЕ

по курсу "Основы научных исследований и проектирования"

Материальный баланс нефтеперерабатывающего завода

Студент группы 4УК-1

Е.В. Панов

Преподаватель А.В. Михеев

2011

Задание

 

Составить материальный баланс нефтеперерабатывающего завода. Мощность НПЗ 24 млн. т. в год. Количество котельных топлив, получаемых на НПЗ -15 %, битумов - 10 % на перерабатываемую нефть.

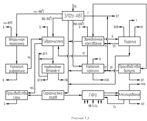
Технологическая схема завода представлена на рисунке


Решение

 

Составление материального баланса завода необходимо начать с АВТ. Для вычисления объема получаемых продуктов необходимо производительность НПЗ умножать на массовый выход (в %) по каждому продукту. Критерием правильности составления материального баланса является равенство объемов взятого сырья и полученных продуктов.

Таблица 1 - Материальный баланс АВТ.


% масс.

т/год

Взято:



1 Обезвоженная и обессоленная нефть

100,0

24000000

Получено:



1. Сухой газ

0,1

24000

2. Головка стабилизации

0,9

216000

3. н.к. - 180 °С

18,6

4464000

4. 180 - 350 °С

26,0

6240000

5. 350 - 500 °С

24,9

5976000

6. Выше 500 °С

28,8

6912000

7. Потери

0,7

168000

ИТОГО:

100,0

24000000


Далее составляются материальные балансы процессов, сырьем для которых являются нефтяные фракции, идущие только с АВТ.

По технологической схеме фракция н.к. - 180 °С в размере: 4464000 т/год отправляется на установку облагораживания бензина.

Таблица 2 - Вторичная перегонка на облагораживание бензина.


% масс.

т/год

Взято:



1. н.к. - 180°С

100,0

4464000

Получено:



1. н.к. - 85 °С

25,4

1133856

2. 85 - 180 °С

73,9

3298896

3. Потери

31248

ИТОГО:

100,0

4464000


Как видно из материального баланса установок вторичной перегонки бензина и технологической схемы НПЗ на установку каталитического риформинга (облагораживания бензина) подаётся фракция 85 - 180 °С.


Таблица 3 - Каталитический риформинг на облагораживание бензина.


% масс.

т/год

Взято:



1. 85 - 180 °С

100,0

3298896,0

Получено:



1. Дебутанизированный бензин

84,5

2787567,1

2. Водородсодержащий газ

11,0

362878,6

(в т.ч. водород)

0,8

26391,2

3. Головка стабилизации

4,0

131955,8

4. Потери

0,5

16494,5

ИТОГО:

100,0

3298896,0


Фракция 350 - 500 °С с АВТ подается на каталитический крекинг.

 

Таблица 4 - Каталитический крекинг.


% масс.

т/год

Взято:



1. 350- 500 °С с АВТ

100,0

5976000

Получено:



1. Сухой газ

3,5

209160

2. Газ жирный

14,5

866520

3. Бензин (н.к.-180 °С)

40,0

2390400

4. Легкий газойль (180 - 350 °С)

26,0

1553760

5. Тяжелый газойль

8,5

507960

6. Кокс сжигаемый

6,0

358560

7. Потери

1,5

89640

ИТОГО:

100,0

5976000


В соответствии с заданием технологическая схема должна обеспечить получение битумов в объеме 10 %, т.е. битумов различных марок должно получаться:  т/год.

Количество гудрона, необходимого для получения 2400000 т/год битумов определим с учетом материального баланса процесса производств битумов. Из 100 % гудрона получается 96 % битумов, тогда:  т/год.

По найденному количеству гудрона можно составить материальный баланс установки получения битумов.

Таблица 5 - Производство битума.


% масс.

Взято:



1. Гудрон

100,0

2500000

Получено:



1. Битум

96,0

2400000

2. Отгон

3,0

75000

3. Потери

1,0

25000

ИТОГО:

100,0

2500000


Котельных топлив должно в соответствии с заданием получаться 15 % или  т/год.

Однако, как видно из схемы на рисунке 1.3, поток котельного топлива формируется из нескольких продуктовых потоков различных установок.

Используя поточную схему НПЗ, определим потоки, составляющие котельное топливо (КТ), к ним относятся:

. Тяжелый газойль каталитического крекинга - ТГКК;

. Отгон производства битумного производства - ОТБ;

3. Гудрон с АВТ - ГКТ;

. Тяжелый газойль замедленного коксования - ТГЗК;

. Смолы пиролизные - СП.

То есть баланс по котельному топливу имеет вид:

 

КТ = ТГКК + ОТБ + ГКТ + ТГЗК + СП.

Гудрон с АВТ расходуется по следующим потокам:

. На производство битумов - ГБ;

. На котельные топлива - ГКТ;

. На замедленное коксование - ГЗК.

Тогда баланс по гудрону имеет вид:

 

Г = ГБ + ГКТ + ГЗК

Из материального баланса замедленного коксования видно, что ТГЗК = 0,24 ГЗК. Используя материальные балансы пиролиза бензина, приходящего с установки замедленного коксования, и замедленного коксования, получаем СП = 0,15·0,11· ГЗК.

Составим систему уравнений:

 


Подставим второе уравнение в первое:

 

КТ = ТГКК + ОТБ + (Г - ГБ - ГЗК) + 0,24 ГЗК +0,15·0,11· ГЗК.

Решая уравнение с одним неизвестным ГЗК, получим

 т/год.

Определив количество гудрона для замедленного коксования, легко определить количество гудрона для котельного топлива:

 

ГКТ = Г - ГБ - ГЗК = 6912000 - 2500000 - 1876207,1 =2535792,9 т/год.

Таким образом, для получения 3600000 т/г котельных топлив потребуется 2535792,9 т/год гудрона.

На установку замедленного коксования поступает 1876207,1 т/год гудрона.

Теперь составим баланс установки замедленного коксования.

Таблица 6 - Замедленное коксование.


% масс.

т/год

Взято:



1. Выше 500 °С с АВТ

100,0

1876207,1

Получено:



1. Газ

9,5

178239,7

2. Бензин

15,0

281431,1

3. Легкий газойль

25,0

469051,8

4. Тяжелый газойль

24,0

5. Кокс

25,0

469051,8

6. Потери

1,5

28143,1

ИТОГО:

100,0

1876207,1


Бензиновая фракция, полученная при замедленном коксовании, поступает на установку пиролиза бензина.

Таблица 7 - Пиролиз бензина.


% масс.

т/год

Взято:



1. Бензин

100,0

281431,1

Получено:



1. Газ

76,0

213887,6

2. Смола пиролиза

23,0

64729,1

в т.ч. бензол

6,0

16885,9

толуол

4,0

11257,2

ксилолы

2,0

5628,6

3. Потери

1,0

2814,3

ИТОГО:

100,0

281431,1


Далее составляем материальный баланс установки гидроочистки дизельного топлива. Гидроочистке подвергаются фракция 180 350 °С с АВТ и легкий газойль установок каталитического крекинга и замедленного коксования. Рассчитаем количество водорода необходимого на процесс гидроочистки ДТ. Количество фракций, подвергаемых ГО составляет 99,5 % от всей загрузки установки, т. е.


Тогда водорода  т/год.

Установка каталитического риформинга производит водорода 26391,2 т/год. Таким образом, со стороны водорода требуется: 41521,6 - 26391,2 = 15130,4 т/год. Составляем материальный баланс установки гидроочистки дизельного топлива.

Таблица 8 - Гидроочистка дизельного топлива.


% масс.

т/год

Взято:



1 180 - 350 °С с АВТ

75,1

6240000,0

2 180 - 350 °С с каталит. крекинга

18,7

1553760,0

3 180 - 350 °С с УЗК

5,6

469051,8

4 Водород

0,5

41521,6

(в т. ч. с УКР)

0,3

26391,2

ИТОГО:

100,0

8304333,4

Получено:



1 Дизельное топливо

97,0

8055203,4

2 Бензин

124565,0

3 Сероводород

1,0

83043,3

4 Потери

0,5

41521,7

ИТОГО:

100,0

8304333,4


Соотношение объемов ДТЗ : ДТЛ (дизельное топливо летнее : дизельное топливо зимнее) определяется произвольно. Примем такое отношение равным 4500000 : 3555203,4, т.е. 4500000 т/г ДТ отправляется на карбамидную депарафинизацию, а 3555203,4 т/г является компонентом ДТ летнего.

Таблица 9 - Карбамидная депарафинизация.


% масс.

т/год

Взято:



1 180 - 350°С (после гидроочистки)

100,0

4500000

Получено:



1 Дизельное топливо зимнее

82,5

3712500

2 Компонент дизельного топлива летнего

7,0

315000

3 Жидкий парафин

10,0

450000

4 Потери

0,5

22500

ИТОГО:

100,0

4500000


В соответствии с поточной схемой предприятия и таблицей 1.3 сероводород присутствует в следующих потоках:

. Сероводородный газ гидроочистки дизельного топлива.

. Газ замедленного коксования.

. Жирный газ каталитического крекинга.

Принимаем, что с установок гидроочистки идет чистый сероводород. Пользуясь таблицей 1.3, определим общее количество сероводорода:

ΣH2S = 83043,3 + 0,05·178239,7 + 0,08·866520,0 = 161276,9 т/год.

Таблица 10 - Производство элементарной серы


% масс.

т/год

Взято:



1 Сероводород

100,0

161276,9

Получено:



1 Сера элементарная

93,0

149987,5

2 Потери

7,0

11289,4

ИТОГО:

100,0

161276,9




Материальный баланс газофракционной установки не составляем, но бутан-бутиленовая фракция поступает на установку алкилирования. Подобно сероводороду, определим потоки газов, содержащих С4Н8, i- С4Н10 и н- С4Н10:

.        Сухой газ АВТ;

.        Головка стабилизации АВТ;

.        Газ замедленного коксования;

.        Жирный газ каталитического крекига;

.        Водородсодержащий газ каталитического риформинга;

.        Головка стабилизации каталитического риформинга;

.        Газ пиролиза бензина.

Пользуясь таблицей 1.3, определим общее количество бутан-бутиленовая фракции:

Σ С4 = (0,264 + 0,117)·24000,0 + (0,412 + 0,096)·216000 + (0,034 + 0,016 + +0,048)·178239,7 + (0,106 + 0,158 + 0,061)·866520,0 + (0,111 +0,039)·362878,6 + +(0,012 + 0,2 + 0,352)·131955,8 + (0,028 + 0,012)·213887,6 = 9144 + 109728 + +17467,5 + 281619 + 54431,8 + 74423,1 + 8555,5 = 555368,9 т/год.

топливо гудрон коксование материальный баланс

Таблица 11 - Алкилирование.


% масс.

Взято:



1 Бутан-бутиленовая фракция

100,0

555368,9

Получено:



1 Газ

14,0

77751,6

2 Пропан

2,0

11107,4

3 н-Бутан

24,5

136065,4

4 Алкилбензин

55,0

305452,9

5 Тяжёлый мотоалкилат

3,5

19437,9

6 Потери

1,0

5553,7

ИТОГО:

100,0

555368,9



Не нашли материал для своей работы?
Поможем написать уникальную работу
Без плагиата!
Без нейросетей!