Механическая очистка сточных вод

  • Вид работы:
    Курсовая работа (т)
  • Предмет:
    Экология
  • Язык:
    Русский
    ,
    Формат файла:
    MS Word
    2,75 Мб
  • Опубликовано:
    2012-05-16
Вы можете узнать стоимость помощи в написании студенческой работы.
Помощь в написании работы, которую точно примут!

Механическая очистка сточных вод















Механическая очистка сточных вод

Введение

Сохранение гидросферы при непрерывном увеличении водопотребления и загрязнения водоемов промышленными и бытовыми отходами является одной из основных экологических проблем современности. Уже сейчас в мире используется 13% речного стока. В результате во многих регионах наблюдается недостаток пресной воды. Например, безвозвратное водопотребление в бассейнах рек Кубани, Дона, Урала, Терека и других превысило экологически безопасный уровень. Однако наибольший ущерб гидросфере наносится антропогенными загрязнениями. Обычно выделяют химическое, физическое и биологическое загрязнения.

Сточными водами предприятий промышленности и агропромышленного комплекса загрязняются реки, озера и моря. Быстрое развитие химических отраслей промышленности, образование значительных количеств сточных вод, загрязненных различными химическими веществами, повышение требований к качеству очищенных сточных вод обусловливают широкое применение разнообразных методов их очистки.

Почти вся вода, которая используется человеком для различных целей, снова возвращается в источник. Однако возвращает её человек в загрязнённом, не пригодном для повторного применения виде. Воду, которая возвращается после использования человеком в водоемы, необходимо очищать.

Для предохранения водоемов от загрязнений сточными водами производится ряд мероприятий: изменение технологического режима производства, многократное использование отработанной воды на других операциях, извлечение и утилизация ценных веществ из стоков, получение новых продуктов, и наконец, очистка производственных сточных вод. Очистка сточных вод - комплекс мероприятий по удалению загрязнений, содержащихся в бытовых и промышленных сточных водах.

Очищение происходит в несколько этапов:

•        механический

•        биологический

•        физико-химический

•        иногда дезинфекция сточных вод

Механический этап производится предварительная очистка поступающих на очистные сооружения сточных вод с целью подготовки их к биологической очистке. На механическом этапе происходит задержание нерастворимых примесей.

Рассмотрим сооружения для механической очистки сточных вод.

1. Решетки

механическая очистка сточная вода

Содержащиеся в сточных водах крупноразмерные (более 1 см) отбросы, являющиеся отходами хозяйственно-бытовой и производственной деятельности, представляют собой остатки пищи, упаковочные материалы, бумагу, тряпье, санитарно-гигиенические, полимерные и волокнистые материалы. В процессе транспортирования по водоотводящим сетям крупноразмерные отбросы адсорбируют содержащиеся в сточных водах органические соединения, жиры. Образующийся на поверхности отбросов адгезионный слой способствует налипанию на них значительного количества песка, шлаков и других минеральных частиц. Таким образом, формируются многокомпонентные крупноразмерные органо-минеральные составляющие отбросов.

Песок, проносимый на крупноразмерных органических загрязнениях через песколовки, выпадает в осадок в первичных отстойниках, что затрудняет выгрузку осевшего осадка, его перекачку по илопроводам и выгрузку сброженного осадка из метантенков. Кроме того, легкие плавающие отбросы, проходя через отстойники, осложняют работу сооружений доочистки или выносятся с очищенными водами в водоемы, что недопустимо. Таким образом, эффективное удаление крупноразмерных загрязнений из сточных вод при их прохождении через решетки позволит обеспечить нормальную эксплуатацию песколовок, первичных отстойников, метантенков и трубопроводов подачи осадков на метантенки, а также повысить качество очистки стоков.

Вместе с тем дать прямую количественную оценку концентрации крупноразмерных загрязнений в сточной воде весьма затруднительно, так как практически невозможно отобрать пробы сточной воды с содержанием крупных отбросов, равных их средневзвешенной концентрации в общем объеме сточных вод.

О содержании крупноразмерных загрязнений в сточных водах судят косвенным методом по количеству отбросов, задержанных на решетках с различной шириной Прозоров (рис. 1).

Рис. 1. Зависимость массы задержанных отбросов от ширины прозоров решетки

Количество вносимых в сточную воду от 1 жителя крупноразмерных загрязнений, по данным «Ангарскводоканал», составляет порядка 20 г/чел. в сутки.

Решетки являются первым элементом всех технологических схем очистки сточных вод. Они устанавливаются в уширенных каналах перед песколовками. О классификации решеток в зависимости от их конструктивного решения можно судить по данным, приведенным в табл.1.

В большинстве конструкций решетки выполняют из расположенных параллельно друг другу стальных стержней различного сечения, закрепленных в раме для обеспечения их жесткости. Загрязнения, задерживаемые на стержнях при процеживании сточной воды, снимают механическими граблями, которые могут быть расположены перед стержнями или после них. На рис. 2 приведена схема зарубежной решетки с тонкими стержнями из нержавеющей стали.

Клиновидное сечение стержней имеет размеры 4х 10 мм. Стержни жестко закреплены в придонной части канала и свободны сверху. Установленные на бесконечном гибком приводе грабли снимают загрязнения со стержней и сбрасывают их на транспортер, расположенный за решетками. Кроме транспортеров применяют также спиральные шнеки и системы гидротранспорта отбросов. Решетки выпускаются с шириной прозоров от 1 до 50 мм и рабочей шириной от 338 до 1200 мм.

Таблица 1. Характеристики решеток

Параметр

Тип решетки (сита)


МГ

РМН

RS-16

RS-35

РГД

РСФ-01

СЗС

Ширина решетки, мм

2100

2100

1200

1900

1200

1455

3000

Ширина фильтрующей части, мм

810

728; 810

850

1500

- 950

950

2560

Высота от дна, мм

4500

4500

3300

3500

2500

3252

3000

Длина, мм

2600

2660

1800

1800

1800

1480

6680

Высота выгрузки от пола, мм

900

900

450

1500

2070

800

Максимальная глубина канала, мм

3000

3000

1000

3000

1000

1000

4200

Ширина прозоров, мм

16; 12

10; 6

5

3

10

4

1.4

Толщина фильтрующих пластин, мм

10

10

3

3

10

3


Масса, кг

4500

3750

900

4300

2100

2400


Максимальный уровень жидкости перед решеткой, мм

2000

2000

600

2000

600

600

3000

Мощность электродвигателя, кВт

1.5

0,75

1.1

4.0

0,85

1.5

1.5


Размер решеток определяется из условия обеспечения в прозорах скорости движения сточной воды

vp = 0,8-1,0 м/с при макси

где К = 1,05-1,1 - коэффициент, учитывающий стеснение потока механическими граблями.

Общая ширина решеток равна

B = S(n- l) + b n, м,

где S - толщина стержней.

Исходя из общей ширины решеток подбирают необходимое количество рабочих решеток (см. табл.1). Дополнительно устанавливают 1-2 резервные решетки и предусматривают устройство обводной линии для пропуска воды в случае аварийного засора решеток. Решетки размещают в отдельном отапливаемом помещении (t = 16 °С) с кратностью обмена воздуха 5. Между решетками для их обслуживания предусматривают проходы не менее 1,2 м. Пол здания располагают не менее чем на 0,5 м выше расчетного уровня воды в канале.

Низкая технологическая эффективность ранее широко распространенных решеток МГ вызвала необходимость организации на предприятиях производства решеток типа РМН (рис. 2, прозоры 6 мм) с постепенной их установкой вместо решеток МГ на всех станциях аэрации предприятий. В результате замены решеток объемы задержанных загрязнений увеличились в 5-6 раз. Однако внедрение решеток типа РМН не позволило полностью выделить из сточных вод все грубодисперсные примеси.

Рис. 2. Решетки с прозорами 6 мм (продольный разрез):

- подводящий канал; 2 - грабли; 3 - стержни решетки; 4 - сбрасыватель; 5 - канат

.2 Щелевидные сита и барабанные сетки

Работа по совершенствованию существующих технологических схем очистки была продолжена по двум основным направлениям:

•          разработка и внедрение сит для фильтрации очищенных сточных вод, в частности направляемых на доочистку на фильтрах;

•          внедрение процеживающего оборудования.

Процеживание очищенной сточной воды осуществлялось с помощью единственного выпускавшегося промышленностью аппарата для процеживания - барабанных сеток БСБЗ х4,6, установленных перед фильтрами доочистки. Несмотря на проведенные усовершенствования, барабанные сетки обладали серьезными недостатками, к основным из которых можно отнести: невозможность выделения задерживаемых примесей, удаляемых с промывной водой; невысокую производительность; коррозию конструкций. Барабанная сетка состоит из рамы, в которую вмонтирован процеживающий элемент - плоская щелевая сетка сборной конструкции с прозорами 1,4 мм, и механизма регенерации сетки, состоящего из плоских скребков, закрепленных на двух пластинчатых бесконечных цепях, приводимых в движение моторредуктдром. Задержанный на сетке мусор непрерывно снимается скребками и сбрасывается в сборный контейнер.

Рис. 3. Механизированные щелевидные сита: 1 - сборный контейнер; 2 - сито; 3 - скребки

Результаты применения механизированных щелевидных сит показали, что производительность плоского щелевого сита (333 тыс. м3/сут) в 3 раза превосходит производительность барабанной сетки (110 тыс. м3/сут), а при работе на свободный излив (без подпора со стороны фильтров) производительность сита может быть более 400 тыс. м3/сут и потери напора на плоском сите значительно меньше, чем на барабанной сетке. Регенерация плоской сетки скребками происходит удовлетворительно: как тыльная сторона сетки, так и прозоры оставались чистыми, засорений и обрастания перемычек волокнистыми материалами не происходило. В табл. 2 приведены основные характеристики щелевидных сит.

Таблица 2. Характеристики щелевидных сит.

Значение

Производительность сита, тыс. м3/сут:

средняя

333

максимальная

420

Потери напора, мм:

средние

36

максимальные

92

минимальные

20

Удельное шламозадержание (по сухому веществу), г/м3:

среднее

0,036

максимальное

0,079

минимальное

0,015

Средняя влажность шлама, %

65,6

Средняя зольность шлама, %

4,6

1.3 Самоочищающиеся решетки ступенчатого типа «Ротоскрин»

В последние годы получили распространение самоочищающиеся решетки ступенчатого типа «Ротоскрин», широко применяемые в зарубежной практике и на некоторых очистных сооружениях в России для процеживания как сточных вод, так и осадков. Процеживающая часть этих решеток состоит из двух чередующихся пакетов из параллельных пластин - стационарного и подвижного. Движение, совершаемое подвижными пластинами, приводит к тому, что они поднимают собранные продукты фильтрации на одну ступень вверх. В результате последовательных движений уловленные примеси поднимаются до точки выгрузки и попадают на транспортер.

В процессе эксплуатации решеток «Ротоскрин» были выявлены следующие недостатки конструкции механических решеток:

недостаточная продольная и поперечная жесткость фильтровальных пластин;

•          непродолжительный ресурс работы подшипниковых узлов механизма;

•          непродолжительный ресурс работы пластмассовых накладок.

На некоторых станциях аэрации были установлены решетки для сточных вод RS-35 с прозорами 5 мм. В целом конструкция решетки достаточно надежна, однако в процессе эксплуатации были выявлены следующие недостатки:

•          происходило образование «валка» из отбросов;

•          разделительные прокладки между фильтровальными пластинами имеют недостаточную надежность;

•          в нижней части решетки происходит ускоренный износ движущихся частей;

•          аварийное продавливание фильтровальных пластин крупноразмерными, массивными предметами.

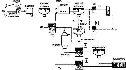
Рис. 4. Перспективная схема установки решеток и сит на станциях аэрации.

Места установки:

1. На поступающей сточной воде 2.На очищенной сточной воде 3.На осадке первичных отстойников 4.На промытом сброженном осадке 5.На осадке с иловых площадок рекультивированные иловые площадки техн. Вода г-у.1.    

Устранение указанных выше недостатков возможно путем как улучшения конструкций решеток, так и совершенствования технологической схемы очистки (рис. 6). В приведенной схеме предполагается размещение перед основными мелкопрозорчатыми решетками решеток грубой очистки, исключающее аварийный проскок крупноразмерных массивных предметов. Располагающиеся вслед за ними песколовки предназначены для выделения из сточной воды только крупного песка, камней, щебня и гравия, перемещающихся в придонной части потока. Таким образом, введение дополнительных решеток и песколовок грубой очистки позволит создать наиболее благоприятные условия эксплуатации расположенных за ними мелкопрозорных решеток и песколовок, рассчитанных на удержание самых мелких фракций песка (0,07-0,1 мм), что, в свою очередь, обеспечит оптимальные условия удаления осадка из первичных отстойников и его перекачки в метантенки.

2. Песколовки

Песколовки предназначены для задержания минеральных примесей, содержащихся в сточной воде. Необходимость предварительного выделения минеральных примесей обусловливается тем, что при раздельном выделении из сточной жидкости минеральных и органических загрязнений облегчаются условия эксплуатации сооружений, предназначенных для дальнейшей обработки воды и осадка - отстойников, метантенков и др.

Принцип действия песколовки основан на том, что под влиянием сил тяжести частицы, удельный вес которых больше, чем удельный вес воды, по мере движения их вместе с водой в резервуаре выпадают на дно. Песколовки должны быть рассчитаны на такую скорость движения воды, при которой выпадают только наиболее тяжелые минеральные загрязнения, мелкие же органические частицы не должны осесть. Песколовки обычно рассчитываются на задержание песка крупностью 0,25 мм и более. Установлено, что при горизонтальном движении воды в песколовке скорость должна быть не более 0,3 и не менее 0,15 м/с. При скорости движения более 0,3 м/с песок не будет успевать осаждаться в песколовке, при скорости менее 0,15 м/с в песколовке будут осаждаться органические примеси, что крайне нежелательно.

Песколовки бывают горизонтальные, в которых вода движется в горизонтальном направлении, с прямолинейным или круговым движением воды, вертикальные, в которых вода движется вертикально вверх, и песколовки с винтовым (поступательно-вращательным) движением воды. Последние в зависимости от способа создания винтового движения могут подразделяться на тангенциальные и аэрируемые. Широко применяются горизонтальные песколовки; вертикальные песколовки используются редко.

Горизонтальная песколовка (рис. 6) состоит из рабочей части, где движется поток, и осадочной, назначение которой - собирать и хранить выпавший песок до его удаления. При расчете песколовки определяют размер (длину, ширину и высоту) как рабочей, так и осадочной части.

Как показал опыт, в хорошо работающих горизонтальных песколовках можно задержать 65-75 % всех минеральных загрязнений, содержащихся в сточной воде.

Для того чтобы с уменьшением скорости движения воды органические вещества не осаждались, необходимо устанавливать специальные устройства с автоматическим регулированием скорости. Чтобы обеспечить скорость движения воды в песколовке, близкую к расчетной, при изменяющемся расходе, нужно на выходе установить какое-либо устройство, создающее подпор (пропорциональный водослив, водослив с широким порогом, лоток Паршаля и др.).

Время пребывания жидкости в горизонтальной песколовке принимают 30-50 с, ширину отделений - от 0,5 до 2 м. Для определения размеров осадочной части песколовки необходимо знать количество песка, которое может быть задержано песколовкой в единицу времени.

При поступлении в песколовку городских сточных вод, в составе которых находятся преимущественно бытовые воды, количество задержанного в песколовке песка на одного человека составляет 0,02 л/сут при влажности осадка 60 % и объемной массе его 1,5 т/м3.

Объем камеры не должен превышать двухсуточный объем выпадающего песка.

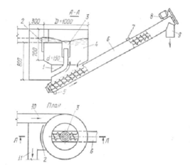
Песколовки очищают различными способами. При незначительных расходах сточных вод, поступающих на станцию, песколовки можно очищать насосом, который откачивает песок с водой из приямка, расположенного в головной части песколовки. На очистных станциях песок из песколовки обычно удаляют с помощью гидроэлеваторов и специальных механизмов - шнеков, скребков и др. Если количество осадков более 0,1 м3/сут, то их надо обязательно удалять механическим способом. На рис. 7 показана конструкция скребкового механизма, используемого для смещения песка в приямки, из которых он, как правило, удаляется гидроэлеваторами.

Песчаная пульпа забирается со дна песколовки насосом и подается в гидроциклон, где песок отделяется и направляется в песковой бункер. Там же одновременно осуществляется отмывка органических веществ.

Рис. 6. Горизонтальная песколовка с прямолинейным движением воды:

- скребковый механизм для удаления песка; 2 - гидроэлеватор; 3 - щитовой затвор с электроприводом; 4 - щитовой затвор с ручным приводом; 5, 6 - задвижка с электроприводом; 7 - трубопровод рабочей воды с гидроэлеватором; 8 - пульпопровод

Рис. 7. Скребковый унифицированный механизм МСПУ-З с поворачивающимся скребком: 1 - привод; 2 - скребковая тележка; 3- блок ведомый; 4-поворачивающийся скребок

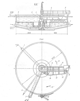
Песколовка с круговым движением воды показана на рис. 8. Движение воды происходит по кольцевому лотку. Выпавший песок через щели попадает в конусную часть, откуда периодически откачивается гидроэлеватором. Песчаная пульпа может направляться в песковые бункера.

В ГДР на основании проведенных опытов по гидромеханической очистке горизонтальных песколовок разработана конструкция горизонтальных песколовок с песковой камерой и гидромеханической отмывкой песка (рис. 9). Песковая камера в верхней части имеет щель для приема уловленного песка, которая может закрываться клапаном при повышении давления воды в камере. Промывная система состоит из трубопровода, уложенного по середине днища песковой камеры. Смывные насадки диаметром 7,3 мм расположены с двух сторон на нижней половине трубы через 25 см друг от друга и направлены в сторону сборного бункера. Осадок из песколовки можно выгружать не прекращая ее работы. После включения гидромеханической системы и повышения давления воды в камере клапаны закрывают приемное щелевое отверстие, т. е. исключается поступление взмученного осадка в рабочую часть песколовки.

Рис. 8. Песколовка с круговым движением воды пропускной способностью 1400-64 ООО м3/сут: 1 - гидроэлеватор; 2 - трубопровод для отвода всплывающих примесей; 3 - желоб; 4 - поверхностные затворы с ручным приводом; 5 - подводящий лоток; 6 - пульпопровод; 7 - трубопровод для рабочей жидкости; « - камера переключения; 9 - устройства для сбора всплывающих примесей; 10 - отводящий лоток; 11 - полупогружные щиты

Тангенциальные песколовки имеют круглую форму в плане; подвод воды к ним осуществляется по касательной (тангенциально). Подвод воды по касательной и движение ее в сооружении по кругу вызывают вращательное движение потока. При одновременном поступательном и вращательном движении создается винтовое движение. Вращательное движение положительно сказывается на работе песколовок, так как оно способствует отмывке от песка органических веществ и исключает их выпадение в осадок. Благодаря этому осадок из тангенциальных песколовок содержит меньше органических загрязнений, чем в песколовках других типов. На рис. 10 показана тангенциальная песколовка с вихревой водяной воронкой. Выпавший песок удаляется с помощью шнека. Нагрузку на песколовку принимают 110 м3/(м2-ч), а диаметр не более 6 м. Она задерживает около 90 % песка, содержащегося в поступающей сточной воде. Разновидностью тангенциальных песколовок являются аэрируемые песколовки, которые широко применяются в США и в странах Европы.

Аэрируемые песколовки имеют удлиненную прямоугольную в плане форму и прямоугольное или трапецеидальное сечение с шириной, равной высоте (рис. 11). Поступательное движение в них создается за счет подачи воды в песколовки с одной стороны и отвода с другой. Вращательное движение воды обеспечивается аэрацией потока, которую создает аэратор, установленный с одной из длинных сторон песколовки на расстоянии 45-60 см от дна, а под ним размещен лоток для сбора песка. В поперечном сечении днище имеет уклон i=0,2-0,4 к песковому лотку. Вследствие наложения поступательного и вращательного движений в аэрируемых песколовках, как и в тангенциальных, возникает винтовое движение жидкости.

Рис. 9. Горизонтальная песколовка с гидромеханической отмывкой песка: 1 - промывные трубы; 2 - промывная камера; 3 - трубопровод от насоса; 4 - промывные отверстия; 5 - клапан; 6 - трубы на песковые площадки

В качестве аэраторов можно применять дырчатые трубы с отверстиями 3-5 мм или фильтросные пластины. Аэраторы устанавливают по всей длине каждой секции песколовки вдоль одной из ее стенок. Выпавший песок сгребается к приямку, устроенному в начале песколовки, откуда удаляется гидроэлеватором. В аэрируемых песколовках может быть создана такая скорость вращательного движения, при которой исключается выпадение в осадок органических веществ. Поступательную скорость в аэрируемых песколовках рекомендуется принимать равной 0,08-0,12 м/с, а вращательную - 0,25-0,3 м/с. Вследствие большой разницы между поступательной и вращательной скоростями движения суммарная скорость в песколовке оказывается практически постоянной и равной 0,3 м/с даже при значительном колебании расходов.

Рис. 10. Тангенциальная песколовка с вихревой водяной воронкой: 1 - осадочная часть; 2 - подвижный боковой водослив; 3 - телескопическая труба; 4 - рабочая часть; 5 - заглушка; 6 - шнек; 7 - отверстие для сброса отмытых органических веществ; 8 - электродвигатель с редуктором; 9 - штуцер для отвода песка; 10 и 11 - подающий и отводящий лотки

Рис. 11. Аэрируемая песколовка с гидромеханическим удалением песка: 1 - отражательные щиты; 2 - воздуховод; 3 - трубопровод для гидросмыва; 4 - смывной трубопровод со спрысками; 5 - аэраторы; 6 - Песковой лоток; 7 - песковой бункер; 8 - гидроэлезаторы; 9 - задвижки; 10 - отделение песколовки; 11 - щитовые затворы

Рис. 12. Песковая площадка: 1 - пескопровод;. 2-разводящий лоток; 3-трубопровод для отвода дренажной воды

Рис. 13. Бункера для песка: 1 и 2 - трубопроводы для подвода и отвода воды из системы отопления; 3 - затвор с гидроприводом; 4 - теплоизоляция; 5 -бункера; 6 - гидроциклон; 7 - трубопровод для отвода воды из гидроциклонов; 8 - трубопровод для подвода пульпы к гидроциклонам; 9 - патрубок для спуска воды в канализацию; 10 - выгрузочное отверстие с затвором

Указанная вращательная скорость достигается при интенсивности аэрации - 3-5 м3/(м2-ч). Время пребывания воды в аэрируемых песколовках рекомендуется назначать 2-3 мин. Зольность осадка в аэрируемых песколовках равна 90-95 % и выше.

Выпавший песок удаляется путем гидросмыва его в песковой бункер по трубопроводу со спрысками. Оптимальный расход промывной воды 0,03-0,09 м3/с.

Для приема песка в верхней части пескового лотка имеется щель, которая перекрывается клапанами снизу при смыве песка за счет повышения давления в лотке. Смывной трубопровод диаметром 159 мм уложен посередине лотка. С двух сторон нижней половины трубы через 0,4 м приварены спрыски диаметром 10 мм, направленные в сторону выгрузки осадка. Из пескового бункера гидроэлеваторами песок подается на отмывку в гидроциклоны, расположенные над бункером. Вода из гидроциклона сбрасывается перед песколовкой. Общая глубина аэрируемой песколовки принимается равной 0,7-3,5 м.

Песковые площадки и бункера. Песок, задержанный в песколовках, чаще всего удаляется с помощью гидроэлеваторов и затем в виде песчаной пульпы перекачивается на специально устраиваемые песковые площадки. Песковые площадки -это земельные площадки, разбитые на карты с ограждающими валами высотой 1-2 м. Размеры площадок определяются из условия напуска песка слоем 3 м32 в год с периодической вывозкой подсушенного песка. Профильтровавшаяся вода собирается и перекачивается в канал перед песколовками.

На станциях пропускной способностью до 75 000 м3/сут для отмывки песка от органических загрязнений и его обезвоживания можно устраивать круглые песковые бункера с впуском в них пульпы по касательной. Обезвоженный песок выгружается в автомашины и вывозится. Песок можно отмывать в напорных гидроциклонах диаметром 300 мм. Бункера, расположенные вне здания, зимой должны обогреваться горячей водой.

Бункера рассчитывают на 1,5-5-суточное хранение песка. Для отмывки песка от органических загрязнений используют напорные гидроциклоны диаметром 300 мм и с напором пульпы перед ними 20 м. Круглые в плане бункера с коническим днищем имеют диаметр 1,5-2 м. Дренажная вода из бункеров сбрасывается в канал перед песколовками.

3. Отстойники

Отстойники применяют для предварительной очистки сточных вод, если по местным условиям требуется их биологическая очистка, или как самостоятельные сооружения, если по санитарным условиям вполне достаточно выделить из сточных вод только механические примеси.

В зависимости от назначения отстойники подразделяются на первичные, которые устанавливают до сооружений биологической обработки сточных вод, и вторичные, которые устанавливают после этих сооружений.

По конструктивным признакам отстойники подразделяются на горизонтальные, вертикальные и радиальные. К отстойникам условно могут быть отнесены и осветлители, в которых одновременно с отстаиванием происходит фильтрация сточных вод через слой взвешенных веществ.

Тип отстойника (вертикальный, радиальный, с вращающимся сборно-распределительным устройством, горизонтальный, двухъярусный и др.) необходимо выбирать с учетом принятой технологической схемы очистки сточных вод и обработки их осадка, пропускной способности сооружений, очередности строительства, количества эксплуатируемых единиц, конфигурации и рельефа площадки, геологических условий, уровня грунтовых вод и т. п.

Рис. 14. Горизонтальный отстойник из сборного железобетона

- трубопровод для отвода сырого осадка; 2 и 4- лотки площадью сечения соответственно 800X 900 и 600X900 мм; 3 и 14 - дюкеры для подачи исходной сточной воды; 5 -впускные отверстия; 6 - скребковая тележка; 7 - жиросборный лоток; 8 - ребро водослива; 9 - фронтальная тележка; 10, 11 - жиропрозоры; 12 - аварийный дюкер; 13 - трубопровод опорожнения; 15 - шиберы 400X600 мм; 16 - дюкер для отвода осветленной воды

Рис. 15. Схема осаждения частиц в горизонтальном отстойнике

Иногда отстойники рассчитывают по нагрузке, т.е. по количеству сточной жидкости, м3, приходящейся на 1 м2 поверхности водного зеркала отстойника в 1 ч. Эту величину назначают по данным эксплуатации аналогичных отстойников, обеспечивающих более или менее удовлетворительный эффект осветления. Обычно нагрузку принимают 1-3 м3/ч на 1 м2 поверхности отстойника.

Кроме размеров проточной части отстойников (И, L, В), в пределах которой осаждаются взвешенные вещества, необходимо также определить объем осадочной части отстойника. Количество выпавшего осадка в первичных отстойниках для бытовых сточных вод составляет 0,8 л/сут на одного человека. Влажность выгружаемого осадка зависит от способов его удаления: при самотечном удалении осадка она принимается равной 95 %, а при механизированном - 9 %.

Для накапливания выпавшего осадка и периодической его выгрузки в начале отстойника устраивают приямки, объем которых зависит от конструкций отстойников и способов удаления ила. Наиболее распространенный способ - выдавливание осадка под гидростатическим напором воды, равным 1,5 м. В некоторых случаях выпавший осадок удаляют, откачивая его плунжерными насосами. Объем осадочной части отстойников принимается равным двухсуточному объему выпадающего осадка (при механизированном удалении осадка объем осадочной части можно принимать равным 8-часовому объему выпадающего осадка). Чтобы осадок самотеком сползал к приямкам, днищу отстойника придают уклон не менее 0,01. Горизонтальные отстойники проектируют со скребковыми механизмами для сгребания осадка к приямкам.

Вертикальные отстойники представляют собой круглые или квадратные в плане резервуары с конусным или пирамидальным днищем. Вертикальные отстойники обычно предусматривают на станциях пропускной способностью до 50 000 м3/сут, а чаще -до 20 000 м3/сут и при низком уровне грунтовых вод.

Сточная жидкость подводится к низу рабочей части отстойника по центральной трубе (рис. 16). После выхода из трубы сточная жидкость движется снизу вверх к сливным желобам, по которым поступает в отводной лоток. Во время движения сточной жидкости по отстойнику из нее выпадают взвешенные вещества, удельный вес которых больше удельного веса воды.

Наблюдения за распределением сточной жидкости по отстойнику показали, что жидкость, выйдя из щели между раструбом центральной трубы и отражательным щитом, движется радиально к стенкам отстойника, а затем поднимается вверх вдоль стенок с относительно большими скоростями. Взвешенные вещества выпадают на горизонтальном пути движения жидкости от центра отстойника к периферии за счет растекания струи и уменьшения скорости движения. Чем мельче те частицы, которые должны быть выделены из сточной жидкости, тем больше должен быть радиус отстойника, представляющий собой основную расчетную величину.

Рис. 16. Вертикальный отстойник диаметром 9 м из сборного железобетона 1 - выпуск осадка; 2 - выпуск плавающих веществ; 3 - центральная труба с отражательным щитом; 4 - водосборный желоб; 5 и 6 - отводящий и подводящий лотки

Рис. 17. Зависимость эффекта осветления Э в вертикальных отстойниках от минимальной гидравлической крупности осаждаемых частиц «о и начальной концентрации взвешенных веществ в сточной жидкости С (а) и график для расчета вертикальных отстойников

При расчете отстойников вначале по необходимому эффекту осветления при заданной концентрации взвесей в сточной воде находят по графику (рис. 17, а) гидравлическую крупность и частиц, которые должны быть задержаны в отстойнике. Затем по найденной гидравлической крупности по графику (рис. 17,6) определяют радиус отстойника г в зависимости от средней скорости входа сточной жидкости в отстойник, принимаемой равной 1,2 м/с. Диаметр центральной трубы d рассчитывают по скорости 30 мм/с. Длину трубы и равную ей высоту цилиндрической части отстойника принимают не менее 2,75 м.

Рис. 18. Вертикальный отстойник с нисходяще-восходящим потоком

- приемная камера; 2 - подающий лоток; 3 и 4 - трубопровод и приемная воронка для удаления плавающих веществ; 5 - зубчатый водослив; 6-отражательный козырек; 7 - распределительный лоток; 8 - лоток для сбора осветленной воды; 9 - отводящий трубопровод; 10 - отстойник; 11 - кольцевая полупогружная перегородка; 12 - иловая труба

Рис. 19. Вертикальный отстойник с периферическим впускным устройством

- водоподающая труба (или лоток); 2 - водораспределительный лоток переменного сечения; 3 - струенаправляющая стенка; 4 - кольцевой водосборный лоток; 5 - трубопровод для отвода осветленной воды; 6 - отражательное кольцо; 7 - труба для выпуска осадка; 8- сборник всплывающих веществ

Рис. 20. Первичные радиальные отстойники 1 - илоскреб; 2 - распределительная чаша; 3 и 7 - подводящий и отводящий трубопроводы; 4 - трубопровод сырого осадка; 5 - жиросборник; 6 - насосная станция

Объем осадочной камеры вертикальных отстойников определяют так же, как и для горизонтальных отстойников. Осадок удаляется самотеком (под гидростатическим напором столба воды) через иловую трубу, опущенную до основания отстойника. Нижнюю часть осадочной камеры делают конической или пирамидальной с углом наклона стенок к горизонту 50° для создания благоприятных условий сползания выпавшего осадка.

Осветленная вода отводится по сливному лотку (желобу), расположенному по периметру отстойника. На расстоянии 0,3-0,5 м от желоба устанавливают обычно полупогружную доску, которая задерживает всплывающие вещества. Для отстойников диаметром 6 м и более сборные желоба устраивают не только по периферии, но и радиально, что улучшает условия распределения воды в отстойнике и повышает эффект его работы.

Вертикальные отстойники делают из железобетона. Эффект осветления жидкости в таких отстойниках практически не превышает 40 %.

Представляет интерес конструкция вертикального отстойника с нисходяще-восходящим потоком сточной воды (рис. 18). Вместо центральной трубы в этом отстойнике имеется полупогружная перегородка большого диаметра. Впуск воды производится через зубчатый водослив. Отражательный козырек изменяет направление движения воды с вертикального на горизонтальное. Затем поток поднимается вверх, вода переливается в сборный лоток и отводится трубой. Такая конструкция отстойника обеспечивает эффективность задержания взвешенных веществ 60-70%. Отношение нисходящей и восходящей площадей потока принимается равным 1:1. Высота полупогружной перегородки составляет 2/3 высоты проточной части отстойника.

В вертикальном отстойнике с периферическим впускным устройством конструкции ВНИИ ВОДГЕО (рис. 19) сточная вода подается в распределительный периферийный лоток, а из него в кольцевую зону между стенкой отстойника и струенаправляющей стенкой. Внизу кольцевой зоны располагается отражательное кольцо. Осветленная вода собирается кольцевым водосборным лотком с зубчатыми водосливами. Скорость движения воды в водораспределительном лотке 0,4-0,5 мм/с. Удельная нагрузка на зубчатый водослив 6 л/(с-м).

Радиальные отстойники. Разновидностью горизонтального отстойника является радиальный отстойник (рис. 20), представляющий собой круглый неглубокий резервуар, вода в котором движется от центра к периферии. Радиальные отстойники устраивают с выпуском воды снизу или сверху; и в том, и в другом случае вода поступает в отстойник по центральной трубе, а осветленная вода сливается в круговой желоб, откуда она отводится по трубам или лоткам. Выпавший на дно осадок сгребается к центру скребками, укрепленными на подвижной ферме, и поступает в приямок, из которого под давлением столба воды высотой 1,5 м удаляется по трубам или отсасывается плунжерными насосами.

Радиальные отстойники применяют главным образом на крупных станциях очистки сточных вод. Диаметр отстойников может быть различным (от 18 до 54 м). Эти отстойники можно рассчитывать по нагрузке, принимая равной 1,5-3,5 м3 на 1 м2 поверхности в 1 ч. Продолжительность отстаивания в зависимости от способа последующей биологической очистки колеблется от 0,5 до 1,5 ч. Влажность выгружаемого осадка равна 95% при самотечном удалении и 93 % при удалении насосами. Обычно радиальные отстойники компонуются в блоки из четырех отстойников.

Проектируют и строят также радиальные отстойники с периферийной подачей сточных вод (рис. 21). Водораспределительный желоб, расположенный на периферии отстойника, имеет постоянную ширину и переменную глубину, так как в дне желоба впускные отверстия разного диаметра размещены на разном расстоянии друг от друга и тем самым обеспечивают постоянную поступательную скорость движения воды в желобе, поэтому осадок в желобе не выпадает. Поток жидкости направляется в нижнюю зону отстойника, а затем в центральную зону и вверх к водоотводящему кольцевому желобу. Такое движение потока создает благоприятные условия для выпадения взвешенных веществ. Осадок собирается коллектором и отводится за пределы отстойника по трубе.

Для сбора и удаления всплывших грубодисперсных примесей предусматривают два бункера, один из которых устанавливают в центральной части отстойника, а второй - в кольцевой зоне. Осветленная вода отводится из центрального кольцевого лотка с двусторонним изливом или через щелевые отверстия в центробежной трубе.

Отстойники с периферийным впуском воды и при одинаковой продолжительности отстаивания обеспечивают в 1,2-1,3 раза больший эффект очистки, чем обычные радиальные отстойники; при одинаковом эффекте очистки их пропускная способность увеличивается в 1,3-1,6 раза в зависимости от концентрации исходной воды. Также были разработаны проекты первичных отстойников с периферийным впуском воды диаметром 24 и 30 м.

Рис. 21. Радиальный отстойник с периферийным выпуском диаметром 18 м 1 - подводящий канал; 2 - трубопровод для отвода плавающих веществ; 3 - отводящий трубопровод; 4- затвор с подвижным водосливом для выпуска плавающих веществ; 5 - струенаправляющие трубки; 6 - распределительный лоток; 7- полупогружная доска для задержания плавающих веществ; 8 - иловая труба

Рис. 22. Отстойник с вращающимся сборно-распределительным устройством 1 - подводящий трубопровод; 2 - воздушные затворы; 3 - центральная чаша; 4 - сборно-распределительное устройство; 5 - периферийный привод; 6 - скребки; 7 - отводящий трубопровод осветленной воды; 8 - илопровод; 9 - затопленный лоток; 10 - вертикально подвешенные лопатки; -водослив; 12 - полупогружная доска; 13 - щелевое днище; 14 - криволинейная перегородка; 15 - камера жиросборника; 16 - направление впуска сточной воды; 17 - направление движения сборно-распределительного устройства

Оригинальна конструкция радиального отстойника с вращающимися водораспределительным и водосборным устройствами (рис. 22). Конструкция отстойника такова, что основная масса воды в нем находится в потоке и поэтому обеспечивается быстрое осаждение взвешенных веществ. Распределение и сбор осветленной воды производится с помощью вращающегося желоба, разделенного продольной перегородкой. Распределительный лоток имеет струенаправляющие лопатки и щелевое днище, через щели которого падают тяжелые частицы. Стенки и днище водосборного лотка с затопленным водосливом водонепроницаемые. Вода из лотка отводится с помощью сифона в отводной желоб. В водосборном лотке у днища находится направляющий козырек. Пропускная способность отстойника такой конструкции в 1,5 раза больше, чем типового радиального отстойника при одинаковом эффекте осветления. Глубина зоны отстаивания 0,8-1,2 м, высота нейтрального слоя 0,7 м.

Тонкослойные отстойники имеют водораспределительную, отстойную и водосборную зоны, а также осадочную зону. Отстойная зона разделена полками (или трубами) и отстаивание происходит в пространстве между полками высотой до 15 см. Известен ряд конструкций тонкослойных отстойников. В тонкослойном отстойнике возможны следующие схемы движения воды и выпавшего осадка:

) перекрестная - когда осадок движется перпендикулярно направлению движения потока;

) противоточная - когда осадок удаляется в направлении, противоположном движению потока;

) прямоточная - когда направления движения потока и осадка совпадают.

Наиболее эффективны тонкослойные отстойники с противоточной схемой движения фаз - воды и осадка. Осадок сползает в иловый приямок, из которого периодически удаляется. Всплывшие вещества собираются в пазухе между секциями и удаляются лотком. Тонкослойные отстойники обычно применяют для осветления сточных вод, содержащих взвешенные вещества однородного состава в относительно небольших концентрациях. Иногда их используют в качестве второй ступени механической очистки.

Рис. 23. Тонкослойный трубчатый отстойник 1 - подающие распределительные трубопроводы; 2- распределительная щель; 3 - пластмассовые трубчатые блоки; 4 - водосборная щель; 5 - лотки для сбора осветленной воды; 6 - пазухи для сбора всплывающих веществ; 7-поворотные трубы для отвода плавающих веществ; 8 - емкость; 9 - приямки для сбора и уплотнения осадков; 10 - трубопроводы для выпуска осадка

Рис. 24. Зависимость показателя степени ni от исходной концентрации механических загрязнений в городских сточных водах при различном эффекте отстаивания

По конструкции тонкослойные отстойники бывают вертикальные, горизонтальные и радиальные. Они имеют водораспределительную и водосборную зоны и зону полочных или трубчатых элементов. Скорость движения потока в полочных элементах 5-10 мм/с, а в трубчатых- до 20 мм/с. Высота тонкослойного пространства 1-2 м. Тонкослойные блоки, выполненные из пластмассы, стали или алюминия, имеют наклон 45-60°.

В тонкослойном трубчатом отстойнике противоточного типа (рис. 23) сточная вода по распределительным трубопроводам подается в клинообразные щели. Затем вода осветляется в трубчатых блоках и собирается водосборными щелями. Выпавший осадок сползает в иловые приямки, откуда удаляется под действием гидростатического напора. Плавающие вещества удаляются с помощью поворотных труб.

Заключение

Существование человечества без пресной воды невозможно. Поэтому в последние годы вопрос о чистоте воды и воздуха ставится на многих всемирных форумах. Эта проблема возникла в связи с огромными масштабами промышленного, сельскохозяйственного и коммунального использования вод. В настоящее время во многих районах земного шара ощущается острый водный голод. Использование пресной воды в таких огромных масштабах приводит к изменению физико-химического состава воды. Для уменьшения вредного влияния промышленного и сельскохозяйственного использования воды на экологию земного шара просто необходимо проводить механическую очистку стоков. Она медленно подготавливает стоки к последующей биологической очистке. Принцип механической очистки заключается в том, что на данном этапе из стоков удаляются все твердые нерастворимые вещества и примеси, которые могут повредить дальнейшее очистное оборудование и сооружения. Но если пренебречь столь важным и ответственным процессом, то есть риск, что в процессе биологической очистки нельзя будет добиться максимального результата.

Похожие работы на - Механическая очистка сточных вод

 

Не нашли материал для своей работы?
Поможем написать уникальную работу
Без плагиата!
Без нейросетей!