|
Показатели
|
Вертикальная
|
Горизонтальная
|
|
Скважин
|
213
|
109
|
|
Отработанное время, дни
|
325417
|
186687
|
|
Средняя стоимость 1 скважины
|
7,5
|
13
|
|
Накопленный отбор, т
|
813544
|
1079250
|
|
Добыто нефти на 1 скв., т
|
3819,5
|
9901,4
|
|
Добыто на 1 млн. рублей затрат, т
|
509,3
|
761,6
|
|
Средний дебит нефти, т/сут
|
2,5
|
6,3
|
|
Средний дебит на 1 м перфорированной толщины, т/сут/м
|
0,38
|
0,04
|
В результате проделанного анализа видно, что, несмотря
на имеющиеся трудности и сложности с практической реализацией, использование
горизонтальных технологий является высокоэффективным мероприятием и позволяет
рекомендовать его дальнейшее развитие на 302-302 залежах Ромашкинского
месторождения.
2.4 Техника и технология горизонтального и наклонно-направленного
бурения скважин
Существуют два способа горизонтального бурения на нефть и газ. Первый
(распространён в США) представляет собой прерывистый процесс проводки скважин с
использованием роторного бурения (применяется с начала 20 века). При этом
способе с забоя скважины долотом меньшего диаметра, чем диаметр ствола скважин,
забуривается углубление под углом к оси скважины на длину бурильной трубы (рис.
2.6) с помощью съёмного или несъёмного клинового либо шарнирного устройства
(рис. 2.7, рис. 2.8).
Рис. 2.6. Схема бурения клиновым устройством.
<#"556065.files/image015.gif"> <#"556065.files/image016.gif"> <#"556065.files/image017.gif">
Рис. 2.10. Кривой переводник
Отклонитель с накладкой - это сочетание кривого переводника и турбобура,
имеющего на корпусе накладку. Высота накладки выбирается такой, чтобы она не
выдавалась за габаритные размеры долота. Отклонитель с накладкой при применении
односекционных турбобуров обеспечивает получение больших углов наклона
скважины. Его рекомендуется применять в тех случаях, когда непосредственно над
кривым переводником необходимо установить трубы малой жесткости (немагнитные
или обычные бурильные трубы).
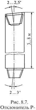
Рис. 2.11. Отклонитель Р-1
Отклоняющее устройство для секционных турбобуров представляет переводник,
соединяющий валы и корпуса верхней и нижней секции турбобура под углом
1,5...2,0°, причем валы соединяются с помощью муфты.
Турбинные отклонители (ТО) конструктивно выполняются посредством
соединения нижнего узла с верхним узлом через кривой переводник, а валов -
через специальный шарнир. Серийно выпускаются турбинные отклонители (рис. 2.12)
и шпиндели-отклонители (ШО).
Рис. 2.12. Турбинный отклонитель ТО-2: 1 - турбинная секция; 2 -
шарнирное соединение; 3 - шпиндельная секция
Турбинные отклонители имеют следующие преимущества:
· кривой переводник максимально приближен к долоту, что увеличивает
эффективность работы отклонителя;
· значительно уменьшено влияние колебания осевой нагрузки на
величину отклоняющей силы на долоте, что позволяет получить фактический радиус
искривления, близкий к расчетному.
Недостаток турбинных отклонителей - малая стойкость узла искривленного
соединения валов нижнего и верхнего участков отклонителя.
Эксцентричный ниппель представляет собой отклонитель, выполненный в виде
накладки, приваренной к ниппелю турбобура. Применяется этот отклонитель при
бурении в устойчивых породах, где отсутствует опасность заклинивания или
прихвата бурильной колонны.
Упругий отклонитель состоит из специальной накладки с резиновой рессорой.
Накладка приваривается к ниппелю турбобура. Этот отклонитель применяют при
бурении в породах, где эксцентричный ниппель не применим из-за опасности
прихватов.
Механизм искривления - это отклонитель для бурения наклонно-направленных
скважин электробуром. В таких механизмах валы двигателя и шпинделя сопрягаются
под некоторым углом, что достигается применением зубчатой муфты сцепления.
Многозабойное бурение
Многозабойное бурение - вид наклонно-направленного бурения, включающий
проходку основного ствола с последующим забуриванием и проходкой в его нижней
части дополнительных стволов, пересекающих геологическую структуру.
Многозабойное бурение применяется с целью повышения эффективности буровых
работ при разведке и добыче полезных ископаемых, достигаемой за счёт увеличения
доли полезной протяжённости стволов скважин.
Наиболее широко многозабойное бурение используется при разведке твёрдых
полезных ископаемых. При разработке нефтяных месторождений. Многозабойное
бурение принято называть разветвлённо-горизонтальным бурением. Впервые это
бурение осуществлено в США (1930). Использование забойных двигателей при
многозабойном бурении впервые реализовано в CCCP по предложению A.M. Григоряна,
B. A. Брагина, K. A. Царевича в 1949.
Рис. 2.13. Способы вскрытия пласта: 1 - обычная скважина; 2 -
многозабойная скважина; 3 - продуктивный пласт нефти; 4 - резервуар для нефти.
Многозабойное бурение целесообразно в сравнительно устойчивых
продуктивных пластах мощностью 20 м и более, например в монолитных или с
прослоями глин и сланцев нефтеносных песчаниках, известняках и доломитах, при
глубинах 1500-2500 м при отсутствии газовой шапки и аномально высоких пластовых
давлений. Многозабойное бурение сокращает число обычных скважин благодаря
увеличению дренированной поверхности продуктивного пласта. Для проводки
многозабойной скважины используется комплекс технических средств и контрольно-измерительной
аппаратуры, обеспечивающих проводку стволов в заданном направлении.
Рис. 2.14. Многозабойно-горизонтальная скважина-гигант: 1 - плавучая
буровая установка; 2 - трубы; 3 - устье скважины; 4 - основной ствол; 5 -
ответвления; 6 - нефтеносный пласт.
Вскрытие нефтяных пластов многозабойными скважинами позволяет увеличить
дебиты нефтяных скважин за счёт увеличения поверхности фильтрации, увеличить
нефтеотдачу пласта, ввести в промышленную разработку малодебитные месторождения
с низкой проницаемостью коллектора или высоковязкой нефтью, повысить
приёмистость нагнетательных скважин и точность проводки противофонтанных
скважин за счёт перебуривания только нижних её интервалов в случае непопадания
первым стволом. B нефтедобывающих районах эксплуатируются скважины с 5-10
ответвляющимися стволами длиной по 150-300 м каждый. Благодаря этому приток
нефти на первом этапе эксплуатации в несколько раз больше, чем из обычных
скважин. B нашей стране с помощью многозабойного бурения успешно проведены
десятки скважин на нефть, разрабатывается и испытывается многозабойное бурение
глубоких горизонтальных скважин большой протяжённости (несколько км).
2.5 Профили горизонтальных скважин
Профиль горизонтальной скважины состоит из двух сопряженных между собой
частей: направляющей части и горизонтального участка.
Под направляющей частью профиля следует понимать часть ствола скважины от
ее устья до точки с заданными координатами на кровле или непосредственно в
самом продуктивном пласте, являющемся началом горизонтального участка.
В отличие от наклонных скважин при проводке направляющей части
горизонтальной скважины необходимо на проектной глубине вывести ствол скважины
не только в точку с заданными координатами, но и, что очень важно для
дальнейшей проводки горизонтального участка, под заданным углом.
Так как горизонтальный участок предназначен для продольного вскрытия
продуктивного пласта, который может иметь различную форму и структуру, то, в
свою очередь, горизонтальный участок профиля должен иметь соответствующую
геометрию.
При проектировании горизонтальных скважин используют только J-образный
тип профиля.
По величине радиуса кривизны ствола различают три типа профиля
горизонтальной скважины: с большим, средним и малым радиусами (рис. 2.15).
Горизонтальные скважины с большим (более 190 м) радиусом кривизны могут
быть реализованы при кустовом способе бурения на суше и на море, а также при
бурении отдельных скважин с большим отклонением от вертикали при длине
горизонтального участка 600-1500 м.
При строительстве данных скважин используется стандартная техника и
технология наклонно направленного бурения, позволяющая получать максимальную
интенсивность искривления i = 0,7÷2,0° на 10 м проходки.
Рис. 2.15. Схемы горизонтальных скважин с большим (> 190 м), средним
(60-190 м) и малым (10-30 м) радиусом кривизны.
Горизонтальные скважины со средним радиусом кривизны применяются при
бурении как одиночных скважин, так и для восстановления продуктивности эксплуатационных
скважин. При этом максимальная интенсивность искривления скважины находится в
пределах от 3 до 10 градус/10 м (радиус 60-190 м) при длине горизонтального
участка 450-900 м. Горизонтальные скважины, выполняемые по среднему радиусу,
наиболее экономичны, так как имеют значительно меньшую длину ствола (по
сравнению со скважинами с большим радиусом), а также обеспечивают более точное
попадание ствола в заданную точку на поверхности продуктивного горизонта, что
особенно важно для разбуривания маломощных нефтяных и газовых пластов.
Горизонтальные скважины с малым радиусом кривизны успешно используются
при разбуривании месторождений, находящихся на поздней стадии эксплуатации, а
также для бурения ствола скважины из вырезанного участка эксплуатационной
колонны. Профиль скважины с коротким радиусом искривления позволяет разместить
насосное оборудование в вертикальном участке скважины и обеспечить наибольшую
точность попадания ее ствола в заданную точку поверхности продуктивного
горизонта. При этом радиус кривизны ствола скважины составляет 10-30 м
(интенсивность 1,1-2,5° на 1 м) при длине горизонтального участка 90-250 м.
С уменьшением радиуса кривизны ухудшаются условия работы труб в скважине,
снижается вероятность прохождения в скважину забойных двигателей, геофизической
аппаратуры и обсадных труб. Если скважины с большим радиусом кривизны можно
бурить с применением обычных забойных двигателей и бурильных труб, то при
бурении скважин по среднему радиусу в компоновку низа бурильной колонны
включают специальные трубы и укороченный двигатель. Проводка скважин с коротким
и ультракоротким радиусом (менее 10 м) кривизны также невозможна без
специальных бурильных труб и инструмента. Доля скважин со средним и коротким
радиусом кривизны в общем объеме постоянно растет.
Проектирование профиля горизонтальной скважины в России осуществляется
преимущественно по профилю с большим и средним радиусами кривизны ствола
скважины.
Проектирование горизонтальных скважин на Ромашкинском месторождении и
окружающих его площадях осуществляется по комбинированному профилю с
тангенциальным участком. Такой профиль включает вертикальный участок длиной до
400-700 м, участок начального искривления до 45-75° по радиусу 286-384 м,
тангенциальный участок длиной 20-100 м, участок увеличения зенитного угла до
86-95° по радиусу 90-120 м, горизонтальный участок длиной 200-450 м. В
некоторых случаях в целях корректировки зенитного угла вместо тангенциального
участка включают участок увеличения зенитного угла.
По аналогичному профилю проектируются горизонтальные скважины в
Южно-Уральском регионе и на нефтяных месторождениях Печорского бассейна.
.6 Выбор и проектирование профиля
горизонтальной скважины
Большое разнообразие геолого-технических условий эксплуатации нефтяных и
газовых месторождений, различное состояние их разработки требуют
индивидуального подхода к проектированию горизонтальных скважин даже в пределах
одного месторождения или площади.
Основной целью бурения горизонтальной скважины является не пересечение
продуктивного пласта в поперечном направлении, как при наклонном бурении, а
вскрытие нефтегазосодержащей части пласта продольным стволом. Поэтому
проектирование горизонтальной скважины целесообразно начинать с определения
протяженности, формы и направления горизонтального участка скважины.
Указанные параметры зависят от степени неоднородности продуктивного
пласта, его мощности и литологии, распределения горной породы по твердости и
устойчивости разреза.
Геологическая характеристика разреза должна давать полное представление о
следующем:
· возможность заканчивания скважины без разобщения и изоляции нижней части
разреза, включая продуктивный пласт;
· наличие интервалов устойчивых пород и их мощность;
· литологический состав, характер и степень фациальных
изменений пород продуктивного пласта и вышележащих пластов;
· углы наклона пласта и его мощность.
Эксплуатационная характеристика пласта должна включать:
· запасы нефти, добыча которых вертикальными или наклонными скважинами
затруднена или практически невозможна;
· пластовое давление;
· состояние разработки залежи;
· режим работы пласта;
· способы эксплуатации и предполагаемая частота, причины и
характер ремонтов;
· эффективность других методов интенсификации добычи и методов
увеличения нефтеотдачи.
Протяженность и форму горизонтального участка следует окончательно
выбирать только после бурения и пробной эксплуатации на конкретном
месторождении нефти и газа нескольких промышленно-оценочных горизонтальных
скважин, так как опыт показывает, что характеристика залежи, полученная по
вертикальным разведочным или эксплуатационным скважинам, отстоящим друг от
друга на больших расстояниях, бывает совершенно недостаточна для проектирования
горизонтальных скважин, где по сравнению с наклонно направленным бурением
требуется значительно большая детализация продуктивных отложений.
В продуктивных пластах (однородных или неоднородных) небольшой толщины
(5-7 м на глубине залегания до 800 м и 10-15 м на глубине залегания 800-2000 м)
целесообразно вписывание горизонтального участка в средней по толщине части
пласта по траектории, параллельной кровле и подошве пласта (рис. 2.16.).
Низкопроницаемые нефтяные пласты значительной толщины с преимущественно
вертикальной трещиноватостью в водоплавающих залежах с активной подошвенной
водой целесообразно разбуривать параллельным горизонтальным стволом (рис.
2.17). Такой профиль скважины позволит пересечь значительно большее число
продуктивных вертикальных трещин. Кроме того, благодаря большей поверхности
фильтрации возможна эксплуатация с небольшой депрессией для предупреждения
прорыва воды по трещинам. Даже в условиях значительного уменьшения депрессии, в
связи с многократным расширением зоны дренирования, горизонтальные скважины
дают большие дебиты.
Рис. 2.16. Схема расположения горизонтального ствола в продуктивном
пласте малой толщины.
Если проводка параллельного горизонтального участка планируется в
непосредственной близости от кровли продуктивного пласта, то такой
горизонтальный участок проектируется выпуклым и его проводка осуществляется с
малоинтенсивным уменьшением зенитного угла.
В продуктивных пластах мощностью более 20 м проводка горизонтального
участка может быть осуществлена также по выпуклому профилю.
Для увеличения продуктивности горизонтальных скважин и времени их
эксплуатации в условиях низких пластовых давлений рекомендуется использовать
вогнутые горизонтальные участки.
Рис. 2.17. Вскрытие пластов с вертикальной трещиноватостью горизонтальным
стволом: 1 - нефтяной пласт; 2 - ВНК; 3 - водяная зона.
Если продуктивный пласт имеет небольшую мощность и неоднородную
структуру, при которой продуктивные зоны чередуются с непродуктивными
прослоями, причем точное расположение продуктивных зон неизвестно, то такие
пласты целесообразно вскрывать волнообразно (рис. 2.18). Такой вид
горизонтального участка может успешно применяться в залежах платформенного
типа, когда толщина пласта и прослоев меняется по площади, продуктивный разрез
недостаточно устойчив, а в непосредственной близости над ним залегают породы,
требующие надежной изоляции обсадными трубами с цементированием. Залежи
подобного типа широко распространены в России (например, в Западной Сибири) и
за рубежом, из них добывается основное количество нефти. В этих условиях из-за
слоистого строения продуктивного пласта вследствие частого переслаивания
песчаников прослоями глин или аргиллитов вскрытие пласта параллельным и
пологонаклонным стволом не всегда оказывается целесообразным.
Представляется перспективным разработка техники и технологии бурения
волнообразных стволов, позволяющих многократно (до 6-10 раз) пересекать
продуктивный пласт. При необходимости следует предусмотреть изоляцию
продуктивного пласта креплением обсадной колонной и цементированием с
последующей перфорацией против нефтеносных пластов. Бурение таких скважин
позволит коренным образом улучшить разработку нефтяных месторождений
упомянутого типа (например, в Западной Сибири), поскольку повышается
вероятность многократного вскрытия каждого из прослоев, что равнозначно
уплотнению сетки скважин, и должно приводить к увеличению как текущих отборов
нефти, так и конечной нефтеотдачи.
Рис. 2.18. Вскрытие слоистых пластов волнообразным стволом.
Волнообразный ствол по сравнению с пологонаклонным и параллельным
стволами при одинаковой проходке в пределах продуктивного пласта дает при
прочих равных условиях больший дебит. Волнообразный ствол целесообразно
применять при отсутствии в кровле и подошве активных водоносных, газоносных и
поглощающих пластов, так как возможны выходы ствола за пределы пласта. Не
следует использовать волнообразный профиль горизонтального участка для вскрытия
небольших по мощности продуктивных пластов, состоящих из прослоев горных пород,
резко отличающихся по твердости.
В условиях слоистонеоднородных пластов небольшой толщины, расчлененных
непроницаемыми прослоями, характерных для многих залежей нефти Западной Сибири,
горизонтальный ствол, параллельный кровле или подошве пласта, может пройти по
одному из непродуктивных прослоев (рис. 2.19). Основная часть разреза при этом
окажется невскрытой. При переслаивании песчаников с глинами целесообразно
пересекать продуктивный пласт пологонаклонным горизонтальным стволом от кровли
до его подошвы (см. рис 2.19).
Пологонаклонные горизонтальные участки проектируются преимущественно
тангенциальными. Если геологические или иные условия не позволяют осуществлять
стабилизацию зенитного угла непосредственно в продуктивном пласте, то
используются горизонтальные участки выпуклой или вогнутой формы.
Рис. 2.19. Вскрытие горизонтальным стволом слоистого продуктивного
пласта: 1, 2 - параллельный ствол в непроницаемом и проницаемом слоях
соответственно; 3 - пологонаправленный ствол.
Оптимальная протяженность горизонтального участка нефтедобывающих скважин
по критерию минимума затрат на бурение составляет 400-500 м при средних
глубинах 1200-2600 м, а по критерию минимума общих затрат на разработку
месторождения нефти - 700-800 м. Максимальная протяженность горизонтального участка
в соответствии с рекомендациями работы (0,5÷1,9) Нв.
Направляющая часть профиля горизонтальной скважины проектируется с учетом
прежде всего реализации запланированных параметров горизонтального участка в
намеченном месте продуктивного пласта с использованием современных технических
средств и технологии.
Геометрия направляющей части профиля горизонтальной скважины зависит от
следующих факторов:
· горно-геологических условий бурения, структуры и литологии горных пород,
расположенных непосредственно над вскрываемым продуктивным пластом;
· конструкции скважины;
· протяженности горизонтального участка;
· статического уровня пласта;
· мощности продуктивного пласта;
· возможности применения существующей технологии
горизонтального бурения.
Рис. 2.20. Профили горизонтальных скважин.
При проектировании горизонтальных скважин используются профили с большим,
средним, коротким и ультракоротким радиусами кривизны, а также комбинированный
профиль.
Скважины с горизонтальным участком протяженностью свыше 500 м в целях
снижения сил сопротивления при перемещении бурового инструмента в скважине, а
также создания достаточной нагрузки на долото целесообразно проектировать с
большим радиусом кривизны. При этом используются профили (рис. 2.20).
В тех случаях, когда кровля продуктивного пласта представлена
неустойчивыми горными породами, требующими перекрытия их обсадной колонной,
используют комбинированный профиль горизонтальной скважины, у которого верхние
интервалы проектируются по большому радиусу кривизны, а нижние - по среднему
или малому.
2.7 Горизонтальное и разветвленно-горизонтальное
бурение - метод резкого повышения нефтегазоотдачи пластов
В последние годы новые технологии, основанные на горизонтальном бурении, произвели
настоящую революцию в практике и теории нефтедобычи. Дебиты скважин, имеющих
горизонтальные окончания большой протяженности, значительно возросли. В
результате разрядились сетки скважин, снизились депрессии, значительно
увеличилось время безводной эксплуатации, изменились категории запасов,
считавшиеся ранее неизвлекаемыми, которые в настоящее время могут эффективно
извлекаться в промышленных масштабах, повысилась эффективность многих старых
методов воздействия на пласт при их реализации с помощью горизонтальных
скважин. По многим показателям достигнуты впечатляющие результаты.
На рис. 2.21 показано преимущество горизонтального бурения по сравнению с
вертикальным в отношении отрицательного влияния подошвенных вод на качество
извлечения углеводородов. Вертикальная, а также и наклонная скважины, попадая в
продуктивный пласт, зачастую вскрывают и подошвенную воду, В то время, как
горизонтальную скважину направляют в продуктивном горизонте выше этой
подошвенной воды.
При режимах с неподвижными контурами принимается равномерная сетка
размещения скважин на площади. После выбора схемы размещения скважин на площади
определяют возможные варианты разработки данной залежи. Для этого задаются
различными числами рядов, а для каждого ряда - различными расстояниями между
скважинами.
Для каждого варианта размещения скважин на площади производятся
гидродинамические расчеты по определению текущих дебитов скважин во времени,
текущего и суммарного отбора нефти из залежи, срока разработки залежи и т. д.
При этом учитываются ресурсы естественной пластовой энергии, а в случае
необходимости предусматривается восполнение этой энергии извне.
Следует заметить, что в случае разбуривания залежи горизонтальным, а еще
лучше разветвленно-горизонтальными скважинами резко упрощается система
разработки месторождения, поэтому становятся дешевле и работы по его
эксплуатации.
Рис. 2.21. Схема подтягивания водонефтяного контакта (ВНК) при разработке
залежей с подошвенной водой.
Известно, что в горной породе нефть фильтруется десятки лет на сотни
метров сквозь мельчайшие поры пласта от периферии к забоям скважин, встречая
часто на своем пути естественные преграды. Эти преграды либо естественные,
литологические или тектонические экраны, либо застойные зоны с низкими
градиентами давления в фильтрационном поле, либо "языки" воды,
прорвавшиеся и разрезавшие нефтяное поле и т. п., и являются основной причиной
потерь огромных запасов нефти в пластах. В недрах остаются миллиарды тонн
"остаточной" нефти.
К сожалению не разрабатываются многие месторождения с большими запасами
углеводородов, но с низкими коллекторскими свойствами или с тяжелой нефтью, где
малые дебиты не оправдывают затрат на бурение.
Вследствие огромной конкуренции на нефтяном и газовом рынке в настоящее
время требуется резко снизить себестоимость добываемых углеводородов путем
коренного усовершенствования дренажных способностей коллекторов. Такому
требованию удовлетворяет разветвленно-горизонтальное бурение (РГ). Основным
направлением применения разветвленно-горизонтального бурения у нас в стране
должно стать возрождение старых нефтяных месторождений и извлечение из них
оставшихся запасов нефти (которые составляют до 60.. .80 % от начальных
запасов). По мере развертывания работ, развития техники и технологии,
приобретения опыта, эта технология будет постепенно переноситься и на другие
объекты (залежи с нефтяными оторочками, высоковязкие нефти, плотные коллекторы
и др.). С 1949 по 1980 гг. в 13 районах, на 30 площадях бывшего Советского
Союза пробурено 110 РГ скважин при глубинах по вертикали от 400 до 2300 м, в
том числе 57 эксплуатационных, 35 разведочных, 8 противофонтанных, 10
водопонизительных и нагнетательных скважин.
Рис. 2.22. Технологические модели систем разработки ГС.
В разветвленных скважинах забурено 320 дополнительных стволов общей
протяженностью 175440 м, в том числе забурено 210 резко искривленных
ответвлений с общей проходкой 21000 м из "открытого" ствола.
Максимальная интенсивность искривления достигла 10...12VIO м проходки.
Максимальная длина горизонтального участка 632 м. Технологические модели систем
разработки ГС представлены на рис. 2.22.
Примером мощного прироста добычи нефти за счет применения РГС является
разработка одной залежи объединения Бориславнефть (Западная Украина),
эксплуатировавшейся ранее 43 года (с 1914 г.) очень густой сеткой скважин с
расстоянием 90... 100 м.
Суточные дебиты там составляли 0,05...2 т/сут после "истощения"
залежи, в 1957 г. были пробурены 4 РГС, которые дали дебит в 8...14 раз выше
самой высокодебитной старой вертикальной скважины. За 15 лет работы эти 4
скважины дали 47,2 % добытой нефти. Таким образом, нефтеотдача повысилась на 50
пунктов.
Рост дебита горизонтальных скважин по сравнению с вертикальными для различных
месторождений мира приведен в табл. 10.
Таблица 10. Рост дебита горизонтальных скважин
|
Месторождение (страна)
|
Глубина залегания продуктивного пласта, м
|
горизонтального участка, м
|
Дебит, т/с
|
Рост дебита
|
|
|
|
горизонтальная скважина
|
вертикальная скважина
|
|
|
Росло Маре (Италия)
|
1380
|
470
|
525. ..1908
|
89...270
|
6...23
|
|
Колд Лейк (Канада)
|
480
|
1016
|
4000
|
500
|
8
|
|
Прадхо Бей (США)
|
2700
|
476
|
1670
|
400
|
4,1
|
|
Виргиния (США)
|
1020
|
600
|
3400
|
2100
|
1,6
|
|
Яблоновское (быв. СССР)
|
540
|
150
|
40
|
23
|
1,7
|
|
Карташевское
|
475
|
51 ...328
|
120
|
6...8
|
15...20
|
|
Южно-Введеновское
|
1320
|
<100
|
-
|
-
|
2,3
|
|
Тереклинское
|
1300
|
<100
|
64
|
32
|
3...6
|
|
Бориславское
|
600
|
100
|
10...28
|
0,1...2,0
|
7...40
|
|
Южно-Карское
|
260
|
-
|
70... 140
|
4...35
|
2...35
|
|
Камышановская
|
-
|
-
|
-
|
-
|
7...17
|
|
Ириновская пл.
|
-
|
-
|
-
|
-
|
10...12
|
|
Долинское
|
-
|
-
|
27... 208
|
10...16
|
3...12
|
|
Марковская пл.
|
2164
|
632
|
-
|
-
|
2
|
|
Полазна
|
1120
|
-
|
-
|
-
|
2,5
|
|
|
|
|
|
|
|
2.8 Основные направления в решении проблемы
бурения горизонтальных и разветвленно-горизонтальных скважин
Для кардинального решения проблемы качественного и эффективного бурения
горизонтальных и разветвленно-горизонтальных скважин необходимо:
исследовать гидродинамику пласта нефтяных и газовых залежей различных
типов с целью создания оптимальных систем разработки нефтяных и газовых
месторождений ГС и РГС;
исследовать напряженное состояние горных пород, вскрываемых этими
скважинами и механику формирования ствола породоразрушающими инструментами
различных типов;
разработать систему оптимального управления траекторией глубоких ГС и РГС
для различных геологических условий и способов бурения;
разработать эффективную технологию бурения, вскрытия пластов и крепления
ГС и РГС и особенно обратить внимание на разработку специальных буровых и
тампонажных растворов и гидродинамические особенности их работы в этих
условиях;
разработать эффективные технические средства (отклоняющие, ориентирующие,
стабилизирующие и измерительные) для бурения ГС и РГС.
Кроме того, необходимо разработать технику и технологию бурения
горизонтальных скважин для нефтегазопроводов под реками и другими
препятствиями. Это тоже является проблемным вопросом горизонтального бурения.
2.9 Определение дебитов вертикальных и
горизонтальных скважин
Так как дебит конкретной скважины регулируется изменением депрессии на
пласт, то формула притока записывается:
= К×(Рпл -
Рзаб) (1),
где К - коэффициент продуктивности, т/(сут×МПа). Дебит несовершенной скважины в
условиях плоскорадиального притока по формуле Дюпии:
(2),
где
k - проницаемость пласта, м2, hг - толщина пласта горизонтальной скважины, hв -
толщина пласта вертикальной скважины, mнп - вязкость нефти
в пластовых условиях, мПа×с, Rпр - приведенный радиус скважины, м, Rк - радиус
контура питания, м.
Исходные
данные.
Вычислить дебит нефтяной скважины при забойном давлении, равном давлению
насыщения, для следующих условий: проницаемость призабойной зоны k = 0,2 мкм2,
вязкость нефти в пластовых условиях μн = 1,1 мПа∙с, плотность
дегазированной нефти в пластовых условиях ρн = 877 кг/м3, радиус контура питания
Rк = 200 м, приведенный радиус скважины Rпр = 0,01 м, пластовая температура tпл
= 230С, содержание метана Yм = 0,6, содержание азота Yа = 0,08. Толщина пласта
горизонтальной скважины hг = 60 м, толщина пласта вертикальной скважины hв = 14
м; пластовое давление Рпл = 7,2 МПа, газовый фактор G = 47,5 м3/м3, давление
насыщения при температуре 20 0С Рнас20 = 7,1 МПа. Эти данные выбираем из
таблицы по варианту.
Решение.
1. Определяем объемный коэффициент нефти:
bн = 1 + 3,05*10-3∙G = 1 + 3,05∙10-3∙47,5 = 1,14
2. Переводим газовый фактор из м3/м3 в м3/т:
м3/т,
где
То = 273 К, Тст = 293 К
. Определяем
дебит горизонтальной скважины при забойном давлении равном давлению насыщения
(перевода единиц не нужно):


= 6,3
т/сут
. Определяем
дебит горизонтальной скважины при забойном давлении равном давлению насыщения
(перевода единиц не нужно):


= 1,5
т/сут
3. ОРГАНИЗАЦИОННАЯ ЧАСТЬ
3.1 Охрана труда и техника безопасности
Все работы в нефтяной и газовой промышленности производятся в
соответствии с правилами, разработанными научно-техническим центром
Гостехнадзора с участием ведущих специалистов нефтяной и газовой промышленности
и геологоразведочных организаций. Правила содержат организационные, технические
и технологические требования, выполнение которых является обязательным, для
обеспечения безаварийной работы и создания здоровых и безопасных условий труда.
На основании этих правил и типовых инструкций на предприятиях, с учетом
местных условий разработаны производственные инструкции по профессиям и видам
работ.
Согласно Конституции РФ, дети до 14 летнего возраста к работе не
допускаются, подростки до 18 лет имеют льготы и могут быть приняты на работу
только после медицинского освидетельствования. Трудовое законодательство установило
ряд специальных правил по охране труда женщин. Основными направлениями
государственной политики в области охраны труда является:
.Обеспечение приоритета сохранения жизни и здоровья работников.
.Принятие и реализация федеральных законов и иных нормативно-правовых
актов Российской Федерации об охране труда.
.Государственное управление охраны труда.
.Государственный надзор и контроль за соблюдением требований охраны
труда.
.Расследование и учёт несчастных случаев на производстве.
.Установление компенсаций за тяжёлую работу и за работу с вредными и
опасными условиями труда.
Главными задачами охраны труда нефтегазодобывающего предприятия являются:
.Выявление и устранение производственных опасностей.
.Ликвидация причин производственных несчастных случаев и профессиональных
заболеваний.
.Оздоровление условий труда.
.Предупреждение взрывов пожаров и аварий и т.д.
Обязанности по обеспечению безопасных условий и охраны труда в
организации возлагается на работодателя. Работодатель обязан обеспечить:
•Безопасность работников при эксплуатации зданий и сооружений;
•Применение средств индивидуальной защиты;
•Соблюдение режима труда и отдыха работников;
•Приобретение и выдача за счёт собственных средств: спец. одежду, спец.
обувь и другие средства индивидуальной защиты;
•Обучение безопасным методам и приёмам выполнения работ по охране труда;
•Информирование работников об условиях и охране труда на рабочих местах.
К производственным опасностям и к вредным производственным факторам на
нефтегазодобывающем предприятии относятся:
•Неблагоприятные метеорологические условия;
•Движущиеся токоведущие и нагретые части оборудования;
•Шум, вибрация, промышленная пыль;
•Горючие и взрывоопасные вещества;
Большое значение для борьбы с травмами имеет изучение причин несчастного
случая. Пострадавшие или очевидцы несчастного случая должны сообщить об этом
руководителю. Который в течение суток сообщает в исполнительный орган фонда
социального страхования. Расследование проводится комиссией в составе
руководителя предприятия или лица уполномоченного им, инженера по охране труда,
уполномоченного по охране труда и промышленной безопасности и представителя
профсоюзного комитета.
Нефтегазодобывающие предприятия постоянно оснащаются новой техникой,
меняются трудовые технологические процессы, внедряется новое оборудование.
В связи с этим необходимо постоянно обучать рабочих умению обращаться с
новым оборудованием, правильно и безопасно вести новые технологические
процессы.
На оборудование и механизмы, применяемые при текущем ремонте должны быть
в наличии паспорта заводов изготовителей. Перед началом работы подъемника
необходимо проверить исправность двигателя, тормозной системы лебедки и ходовой
части. При ремонте скважин с возможным выделением сероводорода необходимо
руководствоваться специальной инструкцией.
Прием скважины в ремонт, а также сдача её после ремонта производится по
акту непосредственно на рабочем месте. Территория вокруг скважины должна быть
спланирована в радиусе не менее 30 метров и освобождена от посторонних
предметов. Осветительная установка должна устанавливаться за пределами
взрывоопасной зоны, т.е. в радиусе 5 м от устья скважины.
До начала работ по подъему и спуску труб необходимо проверить
правильность установки подъемника в результате « холостого» подъема и спуска
талевого блока. При проведении спуско-подъемных операций (СПО), мачта должна
быть отцентрирована относительно оси скважины. Перед началом СПО мастер бригады
текущего ремонта обязан лично осмотреть оборудование, инструмент,
приспособления и механизмы применяемые в работе. Результаты проверки заносятся
в журнал проверки технического состояния оборудования. Запрещается производить
СПО и вести расхаживание инструмента без индикатора веса, который
устанавливается на высоте не более 3,5 м.
Запрещается эксплуатировать мачту с нагрузками, превышающими указанные в
техническом паспорте агрегата.
Спуск труб и штанг следует производить с применением направляющих воронок
из материала, не дающего искр при ударах.
Выброс на мостки и подъем с них штанг разрешается производить только по
одной штанге. Выброс на мостки и подъем с них труб диаметром более 51 мм
разрешается производить двухтрубками.
При длительных перерывах в работе по подъему и спуску труб устье скважины
должно быть надежно закрыто. Запрещается производить СПО при неполном составе
вахты. При укладке НКТ на мостки под каждый ряд труб необходимо укладывать
деревянные прокладки - не менее трёх.
Ремонтный персонал во время проведения работы должен находиться в
защитной каске, спецодежде, спецобуви и рукавицах.
Бригады текущего ремонта скважин должны быть обеспечены радиосвязью с
постоянным вызовом.
3.2 Противопожарная защита
Нефтяная промышленность с точки зрения пожарной опасности характеризуется
взрыва и огнеопасностью нефти и газа. Их взрыва и пожароопасные свойства
характеризуются пределами: температуры вспышки, температурой самовоспламенения,
самовоспламенением и взрывом.
Температурой вспышки называется наименьшая температура горючего вещества,
при которой создаётся смесь газов или паров с воздухом, способная воспламенятся
при поднесении огня или др. импульса воспламенения. К легко воспламеняющимся
жидкостям отнесены ацетон, бензин, нефть, керосин с температурой вспышки с 28
до 450С. К горючим жидкостям - моторное топливо, масло, парафин, мазут с
температурой с 45 до 1200С.
Температурой воспламенения называется наименьшая температура горючего
вещества, при которой оно загорается от открытого источника огня или тепла и
продолжает горение после удаления этого источника.
Самовоспламенение вещества происходит во время нагревания смеси его паров
с воздухом до определённой температуры, при которой в данных условиях вещество
способно загорается без воздействия импульса воспламенения.
Взрыв - это чрезвычайное быстрое горение, сопровождаемое выделением
большого количества тепла и раскалённых газообразных продуктов и образованием
большого давления. Для возникновения взрыва необходимы 2 условия:
.Определённая концентрация горючих паров или газа в воздухе.
.Импульс, способный нагреть эту смесь до температуры самовоспламенения.
Объекты по степени пожарной опасности подразделяют на 5 категорий.
Категория А - производства связанные с получением, применением или
хранением газов и паров с нижним пределом взрываемости до 10% , содержащихся в
таких количествах, при которых возможно образование с воздухом взрывоопасных
смесей; жидкостей с температурой вспышки паров 280С и ниже; твёрдых веществ и
жидкостей, воспламенение или взрыв которых может последовать при взаимодействии
с водой или кислородом.
Категория Б - производства, связанные с обработкой, применением,
образованием или хранением газов и паров с нижним пределом взрываемости более
10%, содержащихся в количестве, достаточном для образования с воздухом
взрывоопасных смесей.
Категория В - производства, применяющие жидкости с температурой вспышки паров
выше 1200С или перерабатывающие твёрдые сгораемые вещества.
Категория Г - производства, связанные с обработкой несгораемых веществ и
материалов в горячем, раскалённом или расплавленном состоянии с выделением
искр, пламени а также производства, связанные со сжиганием твёрдого, жидкого
или газообразного топлива.
Категория Д - производства, обрабатывающие несгораемые вещества и
материалы в холодном состоянии, механические цехи холодной обработки металлов,
компрессорные станции, склады металла и т.д. Все производственные помещения по
степени взрывопожароопасности делятся на классы: Взрывоопасные В-1,В-1а, В-1б,
В-2,В-2а, пожароопасные П -1, 77-2, П-2а, 77-3, В-1г и Н (невзрыво- и
непожароопасные).
На предприятиях и организациях образуются добровольные пожарные дружины.
Подразделения добровольной дружины должны быть обеспечены пожарно-техническим
оборудованием и инвентарём.
Руководители предприятий обязаны создавать ПДК, основными задачами
которых являются:
•разработка мероприятий по обеспечению пожарной безопасности;
•привлечение рабочих к проведению пожарно-профилактических работ;
•ведение разъяснительной работы среди рабочих и ИТР по соблюдению
противопожарных правил и т.д.
Для решения этих задач ПДК должны: раз в квартал обследовать все
производственные цеха, строения, склады и другие помещения, разрабатывать
мероприятия по устранению выявленных нарушений, контролировать их выполнение.
Принимать участие в разработке инструкций и правил пожарной безопасности,
контролировать их соблюдение. Организовывать и проводить совещания с участием
органов пожарной охраны, организовывать смотры ДПД.
Одним из наиболее надёжных и простых способов тушения жидкости является
способ прекращения испарения и парообразования горящей жидкости путём изоляции
её поверхности от окружающего воздуха.
Огнегасящие средства могут быть жидкие (вода, растворы солей и др.),
газообразные (водяные пары, газообразная углекислота), пенообразные и твёрдые
(земля, песок, твёрдая углекислота).
Мероприятия по пожарной безопасности:
.Предупреждение пожаров.
.Ограничение сферы распространения огня.
.Успешная эвакуация людей и материальных ценностей.
.Создание условий эффективного тушения пожара.
3.3 Производственная санитария
Труд - является основой формирования и общественного развития человека,
создание для него материальных ценностей. Труд необходим для нормального
протекания биологических процессов в организме.
Издавна наблюдались как положительные, так и отрицательные его
последствия, не только ухудшающие результаты трудовой деятельности, но и вызывающие
процесс заболевания.
Профессиональные заболевания - это болезни, вызванные воздействием
неблагоприятных факторов производственной среды.
Разделяют две группы болезней:
Болезни, где единственным этнологическим фактором является, тот или иной
вредный производственный фактор.
Болезни, причиной которых наряду с производственными могут быть бытовые,
наследственные, и их так же относят к профзаболеваниям.
Основной задачей гигиены труда, является разработка и внедрение таких
мероприятий в организацию труда, которые обеспечили бы максимальную его
производительность и отсутствие вредного влияния на здоровье работающих.
Для обеспечения условий способствующих максимальной производительности
труда, необходимо физиологическое обоснование требований к устройству оборудования
и рабочего места, длительность периода работы и отдыха и ряда других факторов
влияющих на работоспособность.
Основным факторами, влияющими на организм работающих на
нефтегазодобывающих предприятиях, являются метеорологические условия и наличие вредных
веществ, а также сотрясения и шум.
Метеорологические условия.
Работы на нефтегазодобывающих предприятиях часто проводятся на открытом
воздухе, поэтому они связаны с воздействием на работающих различных
метеорологических условий (температуры, влажности воздуха, ветра, естественных
излучений). Метеорологические условия подвержены сезонным и суточным
колебаниям.
Неблагоприятные метеорологические условия могут явиться причиной
несчастных случаев. При высокой температуре воздуха понижается внимание, появляется
торопливость и неосмотрительность; при низкой - уменьшается подвижность
конечностей вследствие интенсивной теплоотдачи организма. Влияет на теплоотдачу
организма и влажность воздуха: нормально при температуре 18ºС влажность должна находиться в пределах
от 35 до 70%. При меньшей относительной влажности воздух считается сухим, при
большей - с повышенной влажностью. Как то, так и другое, отрицательно
сказывается на организме человека. Сухой воздух приводит к повышенному
испарению, в связи, с чем появляется ощущение сухости слизистых оболочек и
кожи. Очень влажный воздух, наоборот, затрудняет испарение.
При работе на открытом воздухе правилами безопасности предусмотрены
мероприятия по защите рабочих от воздействия неблагоприятных метеорологических
факторов: снабжение рабочих спецодеждой и спецобувью; устройство укрытий,
зонтов над рабочими местами, помещений для обогрева рабочих (культбудки) и т.д.
Во время сильных морозов, ветров, ливней всякие работы запрещаются. К
числу мероприятий по улучшению условий труда при работе на открытом воздухе
относится также создание микроклимата на рабочих местах с помощью
соответствующих агрегатов и устройств.
Производственное освещение.
Освещение производственных помещений, площадок и кустов
нефтегазодобывающих предприятий считается рациональным при соблюдении следующих
требований:
Световой поток должен достаточно ярко и равномерно освещать рабочее
место, чтобы глаз без напряжения различал нужные ему предметы и не испытывал
слепящего действия как от чрезмерной яркости света, так и отражающих
поверхностей.
На полу в проходах не должно быть резких и глубоких теней. Освещение
должно быть как в помещениях, так и на наружных установках, где возможно
образование опасных по взрыву и пожару смесей.
Для кустов, скважин установлены следующие нормы электрического освещения
(в люксах):
Таблица 11.
|
Объект
|
Нормы освещения, люксы
|
|
Устья нефтяных скважин
|
10
|
|
Моторные будки станков-качалок
|
10
|
|
Рабочие места
|
|
Устье скважины
|
25
|
|
Лебедка
|
15
|
|
Подъемная мачта
|
2
|
|
Люлька верхнего рабочего
|
15
|
Производственный шум.
При работе со скважиной кроме химических веществ, влияние также оказывает
производственный шум.
Для смягчения пагубного влияния звука с высоким уровнем давления на
слуховой аппарат человека, рекомендуется применять звукоизолирующие наушники.
3.4 Охрана недр и окружающей среды
Федеральное и местное законодательства вводят ряд ограничений на
хозяйственную деятельность для некоторых территорий с целью охраны природы,
рационального использования ресурсов и сохранения традиционного уклада жизни,
многочисленных народностей севера.
Ромашкинское месторождение введено в эксплуатацию в 1953 году.
При дальнейшей эксплуатации Ромашкинского месторождения природоохранная
деятельность предприятия должна быть направлена на решение трех взаимосвязанных
проблем:
обеспечение экологической сохранности территории нефтяного месторождения
и прилегающих к нему зон, на которые возможно влияние при эксплуатации
месторождения, восстановление последствий уже имевших место нарушений природной
среды;
обеспечение экологической безопасности местного населения и персонала,
работающего на месторождении;
повышение ответственности персонала предприятий за качество выполняемых
им работ, загрязнение окружающей среды, рациональное использование природных
ресурсов, выполнение природоохранного законодательства.
Сложившееся воздействие на окружающую природную среду в регионе и
непосредственно на рассматриваемой территории определяют нефтепромысловые
объекты и сооружения Ромашкинского месторождения.
Воздействие кустов скважин, сооружений подготовки нефти и закачки
пластовой воды проявляется практически на все компоненты природной среды:
атмосферный воздух, поверхностные и грунтовые воды, почвенно-растительный
покров, недра.
Исследования показывают, что наибольшее воздействие на природную среду
происходит при аварийных ситуациях на нефтепроводах.
Охрана воздушного бассейна.
Технология добычи нефти неизбежно сопровождается выбросом вредных веществ
в атмосферу в результате потерь нефти и газа при их сборе, транспорте,
подготовке и переработке, при сжигании газов на факелах и при работе двигателей
технологического транспорта. К наиболее крупным источникам выбросов в атмосферу
относятся: резервуарные парки, энергетические установки, факела всех типов,
автотранспорт, газопроводы неотбензиненного газа. Основными загрязняющими
веществами являются углеводороды, сероводород, окислы азота, окись углерода,
сернистый ангидрид, сажа.
При эксплуатации нефтяных и газовых скважин оборудование устья скважин
должно предотвращать возможность выброса и открытого фонтанирования нефти и
газа, потерь нагнетаемой воды.
На нефтяных месторождения содержащих сероводород, при бурении скважин,
добыче, сборе и транспорте нефти и нефтяного газа должны выполняться требования
действующей инструкции по безопасности работ при разработке нефтяных, газовых и
газоконденсатных месторождений, содержащих сероводород.
Постоянный контроль за состоянием атмосферного воздуха осуществляется
промышленно-санитарной лабораторией управления.
Охрана почв в районе нефтедобычи.
При разливе нефти на поверхности земли с возможным попаданием её в
водоисточники, работниками нефтепромыслов должны быть приняты срочные меры,
обеспечивающие прекращение дальнейшего распространения загрязнения. Разлившаяся
на поверхности водного объекта нефть должна быть убрана техническими средствами
и утилизирована. На загрязненном участке земли должно быть проведены работы по
сбору или нейтрализации загрязнений с последующей рекультивацией земли.
Эксплуатация дефектных нефтяных и нагнетательных скважин не допускается.
В районе дефектных скважин необходимо осуществлять постоянный контроль с целью
принятия, в случае необходимости, соответствующих мер по охране недр.
Проводится большая работа, направленная на снижение порывов водоводов и
нефтепроводов, которая осуществляется за счет внедрения металлопластиковых труб
и электрохимической защиты. При проведении работ по восстановлению плодородия,
делается упор на экологически чистый агротехнический метод с применением
природных компонентов: торфа, перегноя, специальных сельскохозяйственных
культур.
В случае разлива реагентов через соединения трубопроводов необходимо
немедленно остановить дальнейшие работы по закачке их в скважину, снизить
давление до атмосферного, принять меры по предотвращению утечек реагента,
произвести повторную опрессовку нагнетательных трубопроводов агрегата и
возобновить закачку.
Охрана поверхностных и подземных вод.
Поверхностный и подземный стоки тесно взаимосвязаны. Большую часть года
реки питаются подземными водами (родниковый сток), лишь в период весеннего
снеготаяния (апрель - май) расходы рек резко возрастают за счет поверхностного
стока, составляющего 60% годового. Дождевой сток в теплое время года
увеличивает расходы рек незначительно(9% общего годового). В холодный период
года реки получают исключительно подземное питание, отражая загрязненность
подземных вод (родников).
Поверхностные источники загрязнения рек вполне очевидны: аварийные порывы
трубопроводов, разливы нефти и пластовых вод в результате нарушений
герметичности нефтепромысловых сооружений, стоки промышленных объектов,
объектов сельскохозяйственного назначения, стоки городов и населенных пунктов.
Источники загрязнения подземных вод скрыты. Это фильтрация загрязненных
вод с поверхности (из амбаров, трубопроводов, обвалования скважин и др., при
отсутствии поверхностного стока, с мест утилизации отходов жизнедеятельности
населения, и т.д.) или снизу, из негерметичной скважины за счет заколонных
перетоков жидкости. Выявление очагов и источников загрязнения пресных подземных
вод требует системы специальных исследований.
4.
ЭКОНОМИЧЕСКАЯ ЧАСТЬ
4.1 Состояние инновационной деятельности в
нефтегазовом комплексе
В период экономических реформ структура научно-технического комплекса
российской нефтегазовой промышленности претерпела радикальные изменения,
связанные с формированием независимых вертикально-интегрированных акционерных
компаний, акционированием и приватизацией самих научных организаций.
Научно-технический потенциал нефтегазового комплекса включает несколько
десятков научно-исследовательских, конструкторских, проектно-конструкторских и
других приравненных к научным организациям бывших государственных учреждений. В
процессе акционирования и приватизации они были преобразованы в самостоятельные
акционерные общества, находящиеся в ведении федеральных или региональных
органов управления, либо в акционерные общества в составе нефтяных компаний, а
также в ряд научных и внедренческих организаций различной формы собственности.
В последние годы научно-технический потенциал нефтяного комплекса получил
развитие за счет создания венчурных организаций. Как правило, они создавались
по инициативе отдельных ученых - авторов оригинальных разработок с целью
доведения их до коммерческого результата.
На рынке научно-технических услуг для нефтяного комплекса появились новые
участники. В их числе фирмы, занимающиеся оказанием информационных услуг,
маркетинговыми исследованиями, разработкой и внедрением информационных
технологий в области организации и управления производственными процессами.
Большую роль в развитии научно-технического потенциала нефтяного
комплекса призвано сыграть государственное регулирование инновационной
деятельности и интеграция субъектов инновационной инфраструктуры.
4.2 Особенности проведения ремонтных работ в
нефтедобыче
Подземные ремонты скважин условно делят на текущие и капитальные. Текущий
ремонт включает следующие виды работ: смена насоса, ликвидация обрыва штанг или
их отворота, смена труб или штанг, изменение погружения НКТ, очистка или смена
песочного якоря, очистка скважин от песчаных пробок желонкой или промывкой.
Капитальный ремонт скважины включает в себя следующие виды работ:
- ремонтно-изоляционные работы (изоляция промыва флюидов), пластовых вод
(пресных, сточных), отключение объектов из разработки, переход на другие объекты;
- ремонтно-исправительные работы - наращивание цементного камня, зарезка
второго ствола, райбирование колонн, восстановление герметичности обсадных
колонн;
- воздействие на призабойную зону пласта: физические методы, химические
методы, физико-химические методы;
- ловильные работы;
- ликвидация скважин.
Состав работ при подготовке скважин к ремонту
Комплекс подготовительных работ перед производством ремонта производится
в следующей последовательности:
• производится выдача задания (плана) на ремонт скважины;
• производится прием скважины в ремонт;
• производится планировка территории вокруг скважины для расстановки
оборудования, сооружают, при необходимости, якоря;
• останавливают скважину и производят ее глушение;
• производится передислокация оборудования ремонтной бригады;
• расставляют оборудования и производят монтаж подъемного агрегата;
• производится подъем мачты подъемного агрегата и монтаж рабочей
площадки;
• производится разборка устьевого оборудования и монтаж
противовыбросового оборудования.
Скважину считают подготовленной для проведения ремонта, если создана
возможность выполнения спуско - подъемных и других работ. Кроме того,
обязательно нужно соблюдать нормативы по технике безопасности и охране труда, а
так же исключать возможности загрязнения окружающей среды нефтью, пластовыми
водами и агрессивными нефтяными газами. Указанные условия создаются вследствие
промывки и глушения скважин специальными промывочными (задавочными)
технологическими жидкостями. Промывкой скважины достигается замена нефти, газа
и пластовой воды, находящихся в скважине, на технологическую жидкость, а
глушение заключается в доведении плотности технологической жидкости до
необходимой величины.
Признаками успешного проведения ремонтных работ следует считать:
) в интервале объекта разработки - снижение или ликвидацию обводненности
добываемой продукции, увеличение дебита скважины;
) при исправлении негерметичности колонны - результаты испытания ее на
герметичность гидроиспытанием или снижением уровня;
) при изоляции верхних вод, поступающих в скважину через нарушения в
колонне или выходящих на поверхность по затрубному пространству, - отсутствие в
добываемой продукции верхних вод, отсутствие выхода пластовых вод на
поверхность.
В случае отрицательного результата ремонтных работ проводят исследования
по определению источника поступления воды в скважину.
Качество проведенных ремонтных работ устанавливают по результатам
повторных исследований геофизическими методами:
) при наращивании цементного кольца за колонной или исправлении качества
цементирования - путем повторных исследований методами цементометрии;
) при ликвидации межпластовых перетоков - исследованиями методами
термометрии. Признаком устранения негерметичности заколонного пространства
является восстановление геотермического градиента на термограммах, полученных
при исследовании в действующей скважине или при воздействии на нее.
4.3 Анализ эффективности применения
горизонтальных технологий
Современное состояние нефтедобывающей промышленности характеризуется тем,
что наиболее доступные запасы нефти и газа постепенно истощаются и все большая
доля добычи углеводородов приходится на месторождения со сложными
геолого-физическими условиями, характеризующимися низкой проницаемостью
коллекторов, высокой вязкостью нефти, неблагоприятным расположением
месторождений (шельфы морей).
Подтвержденные извлекаемые запасы нефти в России для их эффективного
освоения горизонтальными скважинами составляют около 7 млрд. тонн, в том числе
по Западной Сибири - около 5 млрд. тонн, а освоение шельфовых зон без
применения технологий, основанных на методе горизонтального бурения,
проблематично. По прогнозам, на ближайшие 10-20 лет они приобретут статус
технологий, обеспечивающих экономическую безопасность нашего государства.
Повышение эффективности разработки этих запасов возможно при
использовании горизонтальных технологий. Под этим термином понимается бурение и
эксплуатация горизонтальных скважин и боковых горизонтальных стволов,
проведенных из старых горизонтальных скважин.
Их применение позволяет решать ряд важных проблем: уменьшить количество
скважин на месторождениях; увеличить степень нефтеизвлечения; вовлечь в
разработку труднодоступные запасы и залежи высоковязкой нефти и битумов, тонкие
нефтяные пласты, имеющие обширную газовую шапку и подошвенную воду.
Основным преимуществом горизонтального способа бурения и соответственно
разработки месторождений с использованием горизонтальных стволов явилось
многократное увеличение дебита скважин. Это и дало бурное развитие
горизонтального бурения во всем мире. Однако в последующем темп развития
значительно замедлился, так как стоимость горизонтального бурения оказалась
чрезмерно высокой вследствие недостаточного совершенства техники и технологии
бурения, освоения, исследовательских и ремонтных работ. Немало времени и
средств ушло на преодоление этих проблем. Однако и до настоящего времени
происходит совершенствование техники и технологии бурения горизонтальных
скважин. Тем не менее, трудности в основном преодолены, и бурение
горизонтальных скважин нарастает их из года в год.
Основной тенденцией при бурении горизонтальных скважин в настоящее время
является комбинирование профилей с большим и средним радиусом участка
искривления в целях наилучшего дренажа коллектора, особенно при морском бурении
в Северном море. Бурение скважин малым или средним радиусом с высоким темпом
набора кривизны (40-50 на 30 метров) применяется преимущественно при бурении
скважин на суше и в регионе Дальнего Востока.
Опыт применения технологии бурения по среднему радиусу на суше в Великобритании
также показал ее привлекательность с экономической точки зрения.
Внедрение в практику бурения систем с бескабельным каналом связи явилось
мощным стимулом в наращивании объемов бурения скважин с очень большой
протяженностью горизонтального интервала. Рядовые скважины имеют протяженность
ствола в продуктивном пласте в диапазоне 500-2000 метров.
В настоящее время реальностью стал факт бурения скважин, когда на 1 км их
вертикальной глубины набирается свыше 6 км горизонтального участка.
Достижения технологии горизонтального бурения сделали возможным
разбуривание шельфовых месторождений нефти и газа с берега, без строительства
дорогостоящих морских оснований и платформ.
Вместе с тем, необходимыми техническими и технологическими элементами
такого бурения являются верхний привод, относительно высокие расходы бурового
раствора, алюминиевые бурильные трубы, системы измерений в процессе бурения,
алмазные и поликристаллические долота, гидравлические забойные двигатели
объемного типа с долговечностью 150-300 часов и турбобуры.
Успешность использования горизонтальных скважин определяется
экономической эффективностью этого метода разработки и обуславливается
правильным выбором объекта, всесторонним изучением геолого-физических свойств
пласта и успехом проводки горизонтальной части ствола.
Горизонтальные скважины успешно осваивают в большинстве компаний России.
Лидерами являются: ОАО «Удмуртнефть», ОАО «Татнефть», ОАО «Башнефть», ОАО
«Сургутнефтегаз», ОАО «Газпром».
Данные промысловых и геофизических исследований в добывающих и
нагнетательных скважинах вышеупомянутых компаний указывают на неравномерность
выработки нефти из пород с высокой послойной неоднородностью. В основном
вырабатываются высокопроницаемые прослои. Охват выработкой продуктивной части
разреза скважины составляет от 40 до 60 и более процентов. Выбор невыработанных
пластов и других нефтенасыщенных зон с последующей ориентацией горизонтального
ствола в нужном направлении является залогом успеха.
На 1.01.2010 года пробурены 109 горизонтальных скважин, в том числе на
башкирские отложения - 21, на серпуховские -88.
В целом, за весь период эксплуатации добыто горизонтальными скважинами
1079,25 тыс. тонн нефти или же 9,9 тыс. тонн на одну скважину.
При этом, средний текущий дебит составил 6,3 тонн/сутки, что в 2,5 раза
выше, чем по вертикальным скважинам.
По скважинам, пробуренным на серпуховский горизонт, средний дебит
составил 6,5 тонн /сутки, что в 2,6 раза выше, чем по вертикальным скважинам.
На одну скважину в среднем добыто 10,0 тыс. тонн нефти. По скважинам,
пробуренным на башкирский горизонт, средний дебит составил 5,8 тонн /сутки. Это
в 2,3 раза выше, чем по вертикальным скважинам. На одну скважину в среднем
добыто 9,44 тыс. тонн нефти.
Рассматривая скважины, введенные из бурения с 2001 года видно, что вертикальных
скважин было пробурено в 1,95 раза больше, чем горизонтальных, отработанное
время соответственно тоже в два раза больше. Дебит на 1 метр вскрытой толщи на
горизонтальных скважинах на порядок ниже. 109 горизонтальных скважин добыли
нефти больше, чем 213 вертикальных. И если провести расчет добычи нефти одной
скважиной на одинаковое отработанное время то получается, что горизонтальная
скважина добыла в 2,5 раза больше нефти, чем одна вертикальная.
Сравнительные характеристики работы горизонтальных скважин и вертикальных
скважин приведены в таблице 12.
Таблица 12.
|
Показатели
|
Вертикальная
|
Горизонтальная
|
|
Скважин
|
213
|
109
|
|
Отработанное время, дни
|
325417
|
186687
|
|
Средняя стоимость одной скважины
|
7,5
|
13
|
|
Накопленный отбор, тонн
|
813544
|
1079250
|
|
Добыто нефти на одну скважину, тонн
|
3819,5
|
9901,4
|
|
Добыто на 1 млн. рублей затрат, тонн
|
509,3
|
761,6
|
|
Средний дебит нефти, тонн/сутки
|
2,5
|
6,3
|
В результате проделанного анализа видно, что, несмотря на имеющиеся
трудности и сложности с практической реализацией, использование горизонтальных
технологий является высокоэффективным мероприятием и позволяет рекомендовать
его дальнейшее развитие на 302-302 залежах Ромашкинского месторождения.
Среди первоочередных проблем разработки месторождений с применением
горизонтальных скважин стоят вопросы создания принципиально новых систем
разработки нефтяных месторождений, размещения сетки скважин, расстояния между
горизонтальными скважинами, направления горизонтальных стволов в добывающих и
нагнетательных скважинах. Актуальным вопросом является выбор длины и
направления горизонтальных стволов скважин в зависимости от геологического
строения и коллекторских свойств пласта, вопросы регулирования объемов закачки
агентов. От правильности их решения будет зависеть текущая добыча нефти и, в
итоге, величина конечного нефтеизвлечения.
4.4 Экономическое обоснование эффективности
применения горизонтальных скважин
Определение увеличения добычи нефти
Определяю:
прирост дебита скважин в результате внедрения мероприятия:
Δ q = q2 - q1
где: q1 - дебит скважины до внедрения мероприятия;- дебит скважины после
внедрения мероприятия.
Δ q = 6,3 - 1,5 = 4,8 тонн/сутки
объем добычи нефти до внедрения мероприятия:= qдо * Kдои * tК * KЭ * N
где: qдо - среднесуточный дебит скважин до внедрения;дои - коэффициент
изменения дебита до внедрения;К - календарное время работы;Э - коэффициент
эксплуатации;- количество скважин.дон = 1,5 * 0,912 * 365 * 0,922 * 1 = 460
тонн
объем добычи нефти после внедрения мероприятия:
= qпосле * Kпослеи * tК * KЭ * N
где: qпосле - среднесуточный дебит скважин после внедрения;послеи -
коэффициент изменения дебита после внедрения;К - календарное время работы;Э -
коэффициент эксплуатации;- количество скважин.послен = 6,3 * 0,941 * 365 *
0,949 * 1 = 2053 тонн
прирост объема добычи нефти:
ΔQ = Q2 - Q1
где: Q2 - объем добычи нефти после внедрения;- объем добычи нефти до
внедрения.
ΔQ =2053 - 460 = 1593 тонн
Определение экономии себестоимости добычи нефти
Условно-переменные затраты - это расходы, которые зависят от изменения
объема добычи нефти.
К ним относятся:
расходы на энергию по извлечению нефти;
расходы по искусственному воздействию на пласт;
расходы по сбору и транспортировке нефти и газа;
расходы по технологической подготовке нефти;
налог на добычу.
Расчет условно-переменных затрат осуществляется по формулам:
Р1 = С1ед * Q1
где: Р1 - расходы по статье до внедрения;
С1ед - себестоимость одной тонны нефти до внедрения;- объем добычи нефти
до внедрения.
Р2= С1ед * Q2
где: Р2 - расходы по статье до внедрения;- объем добычи нефти после
внедрения.
Условно-постоянные затраты не меняются в зависимости от изменения объема
добычи нефти.
К ним относятся:
зарплата производственных рабочих;
страховые взносы;
амортизационные отчисления по скважинам;
расходы на содержание и эксплуатацию оборудования;
цеховые расходы;
прочие производственные расходы;
управленческие расходы;
внепроизводственные расходы.
Расчет условно-постоянных затрат осуществляется:
Р1 = С1ед * Q1
где: Р1 - расходы по статье до внедрения мероприятия;
С1ед - себестоимость одной тонны нефти до внедрения;- объем добычи нефти
до внедрения.
Р2 = Р1 /Q2
где: Р2 - расходы по статье после внедрения;- объем добычи нефти после
внедрения.
Определяю:
расход энергии по извлечению нефти:
Р1 = 320 * 460 = 147,20 тыс. руб.
Р2 = 320 * 2053 = 656,96 тыс. руб.
расходы на искусственное воздействие на пласт:
Р1 = 440 * 460 = 202,40 тыс. руб.
Р2 = 440 * 2053 = 903,32 тыс. руб.
заработная плата производственных рабочих:
Р1 = 290 * 460 = 133400 = 133,40 тыс. руб.
Р2 = 133400/2053 = 64,98 руб.
страховые взносы:
Р1 = 87 * 460 = 40020 = 40,02 тыс. руб.
Р2 = 40020/2053 = 19,49 руб.
амортизационные отчисления:
Р1 = 510 * 460 = 234600 = 234,60 тыс. руб.
Р2 = 234600/2053 = 114,27 руб.
расходы по сбору и транспортировке нефти и газа:
Р1 = 960 * 460 = 441,60 тыс. руб.
Р2 = 960 * 2053 = 1970,88 тыс. руб.
расходы по технологической подготовке нефти:
Р1 = 1060 * 460 = 487,60 тыс. руб.
Р2 = 1060 * 2053 = 2176,18 тыс. руб.
расходы на содержание и эксплуатацию оборудования:
Р1 = 710 * 460 = 326600 = 326,60 тыс. руб.
Р2 = 326600/2053 = 159,08 руб.
цеховые расходы:
Р1 = 370 * 460 = 170200 = 170,20 тыс. руб.
Р2 = 170200/2053 = 82,90 руб.
налог на добычу:
Р1 = 240 * 460 = 110,40 тыс. руб.
Р2 = 240 * 2053 = 492,72 тыс. руб.
прочие производственные расходы:
Р1 = 509 * 460 = 234140 = 234,14 тыс. руб.
Р2 = 234140/2053 = 114,05 руб.
управленческие расходы:
Р1 = 1430 * 460 = 657800 = 657,80 тыс. руб.
Р2 = 657800/2053 = 320,41 руб.
внепроизводственные расходы:
Р1 = 474 * 460 = 218040 = 218,04 тыс. руб.
Р2 = 218040/2053 = 106,20 руб.
Результаты расчетов представляю в таблице 13.
Таблица 13. Калькуляция себестоимости добычи нефти.
|
Статьи затрат
|
До внедрения
|
После внедрения
|
Отклонения
|
|
Всего, тыс.руб.
|
на 1 тонну, руб.
|
Всего, тыс.руб.
|
на 1 тонну, руб.
|
Всего, тыс.руб.
|
на 1 тонну, руб.
|
|
1. Расход энергии по извлечению нефти
|
147,20
|
320
|
656,96
|
320
|
509,76
|
-
|
|
2. Расходы по искусственному воздействию на пласт
|
202,40
|
440
|
903,32
|
440
|
700,92
|
-
|
|
3. Заработная плата производственных рабочих
|
133,40
|
290
|
133,40
|
64,98
|
-
|
-225,02
|
|
4. Страховые взносы
|
40,02
|
87
|
40,02
|
19,49
|
-
|
-67,51
|
|
5. Амортизационные отчисления по скважинам
|
234,60
|
510
|
234,60
|
114,27
|
-
|
|
6. Расходы по сбору и транспортировке нефти и газа
|
441,60
|
960
|
1970,88
|
960
|
1529,28
|
-
|
|
7. Расходы по технологической подготовке нефти
|
487,60
|
1060
|
2176,18
|
1060
|
1688,58
|
-
|
|
8. Расходы на содержание и эксплуатацию оборудования
|
326,60
|
710
|
326,60
|
159,08
|
-
|
-550,92
|
|
9. Цеховые расходы
|
170,20
|
370
|
170,20
|
82,90
|
-
|
-287,10
|
|
10. Налог на добычу
|
110,40
|
240
|
492,72
|
240
|
382,32
|
-
|
|
11.Прочие производственные расходы
|
234,14
|
509
|
234,14
|
114,05
|
-
|
-394,95
|
|
Производственная себестоимость
|
2528,16
|
5496
|
7339,02
|
3574,77
|
4810,86
|
-1921,23
|
|
12.Управленческие расходы
|
657,80
|
1430
|
657,80
|
320,41
|
-
|
-1109,59
|
|
13. Внепроизводственные расходы
|
218,04
|
474
|
218,04
|
106,21
|
-
|
-367,79
|
|
Полная себестоимость добычи нефти
|
3404
|
7400
|
8214,86
|
4001,39
|
4810,86
|
-3398,61
|
Определение единовременных затрат на проведение мероприятия
Определяю:
расходы на проведение мероприятия:
Р = Тр * Сбригадо - час
где: Тр - время выполнения мероприятия;
Сбригадо - час - стоимость бригадо-часа, относимая на затраты по
проведению ремонтных работ.
общая сумма прямых затрат на проведение мероприятия:
Зпрямые = ЗПобщ + СВ + РВМ + РЭ + Уст + А + Рудц
Зпрямые = 76800 + 23040 + 1224 + 21648 + 271200 + 2436 + 110400 = 506748
руб.
цеховые расходы составляют 15 % от общей суммы прямых затрат:
ЦР = 15 % * Зпрямые
ЦР = 15 % * 506748 = 76012,20 руб.
управленческие расходы составляют 22 % от суммы прямых затрат и цеховых
расходов:
Ур = 22% * (Зпрямые + Цр)
Ур = 22 % * (506748 + 76012,2) = 128207,20 руб.
сумма единовременных затрат на осуществление мероприятия составляет:
Зе = Зпрямые + Цр+ Ур
Зе = 506748 + 76012,2+ 128207,2 = 710967,40 руб.
Результаты расчетов представляю в таблице 14.
Таблица 14. Смета единовременных затрат на осуществление мероприятия.
|
Наименование статей затрат
|
Стоимость бригадо-часа
|
Время
|
Сумма, руб.
|
|
1. Общая сумма оплаты труда (с учетом премии)
|
1280
|
60
|
76800
|
|
2. Страховые взносы
|
|
30 %
|
23040
|
|
3. Расходы на вспомогательные материалы
|
20,40
|
60
|
1224
|
|
4. Расходы на энергию
|
360,80
|
60
|
21648
|
|
5. Расходы по оплате услуг спец. техники
|
4520
|
60
|
271200
|
|
6. Расходы на амортизацию
|
40,60
|
60
|
2436
|
|
7. Расходы по оплате услуг других цехов
|
1840
|
60
|
110400
|
|
ИТОГО прямых затрат
|
*
|
*
|
506748
|
|
8. Цеховые затраты
|
*
|
*
|
76012,20
|
|
9. Управленческие расходы
|
*
|
*
|
128207,20
|
|
ИТОГО затрат на проведение мероприятия
|
*
|
*
|
710967,40
|
Расчет показателей, характеризующих эффективности внедрения мероприятия
Определяю:
Себестоимость добычи одной тонны нефти с учетом единовременных затрат на
проведение мероприятия:
С2 + Зе
С21 = ----------------
Q2
где: С12 - себестоимость добычи одной тонны нефти после внедрения
мероприятия;
С2 - полная себестоимость добычи нефти после внедрения мероприятия;
Зе - единовременные затраты на проведение мероприятия;- объем добычи
нефти после внедрения.
С21 = (8214860 + 710967,40)/2053 = 4347,70 руб.
Условно-годовую экономию:
Э = (С11 - С12) * Q2
где: С11 - себестоимость одной тонны до внедрения;
С12 - себестоимость одной тонны после внедрения.
Э = (7400 - 4347,70)*2053 = 6266371,9 руб. = 6,27 млн. руб.
Удельную условно-годовую экономию:
Э1 = Э/Q2
Э1 = 6266371,9/2053 = 3052,3 руб.
Прибыль до внедрения мероприятия:
П1 = (Ц - С11) * Q1
где: Ц - цена одной тонны нефти;
С11 - себестоимость добычи одной тонны нефти после внедрения
мероприятия;- объем добычи нефти до внедрения.
П1 = (8900 - 7400)*460 = 690000 руб. =690 тыс. руб.
Прибыль после внедрения мероприятия:
П2 = (Ц - С12) * Q2
где: Ц - цена одной тонны нефти;
С12 - себестоимость добычи одной тонны нефти после внедрения
мероприятия;2 - объем добычи нефти после внедрения.
П2 = (8900 - 4347,70)*2053 = 9345871,9 руб. = 9346 тыс. руб.
Прирост прибыли:
ΔП = П2 - П1
где: П2 - сумма прибыли, полученная после внедрения;
П1 - сумма прибыли, полученная до внедрения
ΔП = 9345871,9 - 690000 = 8655871,9
руб. = 8656 тыс. руб.
Удельная прибыль:
до внедрения:
П1 = П1 /Q1
П1 = 690000/460 = 1500 руб.
после внедрения:
П2 = П2 /Q2
П2 = 9345871,9/2053 = 4552,3 руб.
Удельный прирост прибыли:
ΔП1 = ΔП/Q2
ΔП1 = 8655871,9/2053 = 4216,21 руб.
Результаты расчетов представляю в таблице 15.
Таблица 15. Технико-экономические показатели.
|
Показатели
|
Единицы измерения
|
До внедрения
|
После внедрения
|
Отклонения
|
|
1. Дебит скважин
|
тонн
|
1,5
|
6,3
|
4,8
|
|
2. Объем добычи нефти
|
тонн
|
460
|
2053
|
1593
|
|
3. Себестоимость одной тонны нефти
|
руб.
|
7400
|
4347,70
|
-3052,3
|
|
4. Условно-годовая экономия
|
млн. руб.
|
|
6,27
|
6,27
|
|
5. Прибыль
|
тыс. руб.
|
690
|
9346
|
8656
|
|
6. Удельная прибыль
|
руб.
|
1500
|
4552,3
|
+3052,3
|
Экономическая эффективность внедрения мероприятий научно - технического
прогресса определяется как превышение стоимости оценки результатов над
затратами по внедрению данного мероприятия.
В результате применения горизонтальных скважин для повышения
эффективности разработки произошло увеличение дебита скважины на 48 тонн. Рост
дебита скважины привел к повышению объема добычи нефти на 1593 тонны.
Увеличение объема добычи нефти привело к экономии себестоимости одной
тонны нефти на 3052,3 руб.
Экономия затрат на добычу нефти позволила получить условно - годовую
экономию от применения горизонтальных скважин в сумме 6,27 млн. руб.
Фактическая сумма прибыли составила 9346 тыс. руб. и превысила сумму прибыли
получаемую до внедрения мероприятия на 8656 тыс. руб.
Удельная прибыль характеризует сумму дохода, приходящуюся на одну тонну
нефти и в результате внедрения мероприятия она выросла на 3052,3 руб.
На основании вышеизложенного, можно сделать вывод об экономической
целесообразности проведения мероприятия по применению горизонтальных скважин.
ЗАКЛЮЧЕНИЕ
Имеются несколько причин, из-за которых предпочтительно бурить
горизонтальные скважины, а не вертикальные. Наиболее важной причиной является
увеличение прибыльности инвестиционных капиталовложений. Горизонтальные
скважины используются для добычи нефти или газа, которые не являются
остаточными запасами и не требуют применения сложных технических методов, и, в
основном, залегают в геологически сложных и трудных для разработки коллекторах,
таких как естественные разломы или тонкие пласты. Следует избегать бурения в
водных слоях, находящихся ниже или выше нефтяных слоев, а также избегать
перфорирования в зонах, контактирующих с водой или газом, из-за возможности
образования конусов воды или газа. Горизонтальное бурение распространено в
формациях, содержащих сравнительные тонкие слои нефти по сравнению с
нижележащими слоями.
Применение горизонтальных скважин увеличивает площадь дренирования
скважины и боковую поверхность ствола скважины. Увеличение площади дренирования
скважины повышает накопленную добычу нефти. Горизонтальные скважины
распространены в формациях, содержащих тяжелые нефти.
Последние достижения в горизонтальном бурении, используемые отдельно или
вместе в различных комбинациях, способны совершить революционные преобразования
в технологии разработки коллектора многоствольными скважинами, сделали
возможным разбуривание шельфовых месторождений нефти и газа с берега, без
строительства дорогостоящих морских оснований и платформ.
Благодаря
вскрытию пластов горизонтальными скважинами достигаются:
-интенсификация добычи нефти и увеличение нефтеотдачи пластов;
увеличение срока эффективной эксплуатации скважин за счет значительного
уменьшения водогазоконусных образований;
минимальное загрязнение окружающей среды и сохранение экологически
чистыми больших площадей на поверхности;
уменьшение числа скважин, необходимых для разработки и до разработки
месторождений;
вовлечение в эксплуатацию месторождений, ранее считавшихся промышленно не
рентабельными (забалансовыми).
Кроме перечисленных выше причин следует отметить, что при наличии
горизонтального ствола работы по интенсификации притока могут дать больший
эффект, чем в вертикальных скважинах, так как по длине горизонтального ствола
можно провести несколько операций по гидроразрыву, сделать их селективно или
последовательно, начиная от конца горизонтального ствола.
Для трещиноватых коллекторов ствол горизонтальной скважины может быть
ориентирован с учетом главных направлений трещин.
Бурение горизонтальными скважинами позволяет за счет значительного
увеличения площади контакта ствола с породой существенно снизить величины
депрессии на пласт с получение экономически приемлемых дебитов в случае
незначительной мощности пластов при наличии подошвенной воды. Целесообразно
бурение горизонтальных скважин и при разработке ограниченных линзовидных
пластов, а также при вскрытии несцементированных и неустойчивых к разрушению
пластов.
СПИСОК ЛИТЕРАТУРЫ
1. Желтов
Ю.П. Разработка нефтяных месторождений. - М.: Недра, 1998.
. Желтов
Ю.П., Стрижов И.Н. Сборник задач по разработке нефтяных месторождений: Учебное
пособие для вузов/ Ю.П. Желтов, И.Н. Стрижов, А.Б. Золотухин, В.М. Зайцев - М.:
Недра, 1985.
. Ибатуллин
Р.Р. Теоретические основы процессов разработки нефтяных месторождений: Курс
лекций. Часть 1. Системы и режимы разработки: Учебно-методическое пособие. -
Альметьевск: АГНИ, 2007.
. Ибатуллин
Р.Р. Теоретические основы процессов разработки нефтяных месторождений: Курс
лекций. Часть 2. Процессы воздействия на пласты (Технологии и методы расчета):
Учебно-методическое пособие. - Альметьевск: АГНИ, 2008.
. Ибатуллин
Р.Р., Гарипова Л.И. Сборник задач по теоретическим основам разработки нефтяных
месторождений. - Альметьевск: АГНИ, 2008.
. Муслимов
Р.Х. Современные методы повышения нефтеизвлечения: проектирование, оптимизация
и оценка эффективности: Учебное пособие. - Казань: изд-во «Фэн» Академии наук
РТ, 2005.
. Увеличение
нефтеотдачи на поздней стадии разработки месторождений (методы, теория,
практика) /Р.Р. Ибатуллин, Н.Г. Ибрагимов, Ш.Ф. Тахаутдинов, Р.С. Хисамов. -
М.: Недра - Бизнесцентр, 2004.
. Волков О.И.
Экономика предприятия: Учебник. М.: ИНФРА- М, 2010.
. Выварец А.
Д. Экономика предприятия: Учебник. М.: ЮНИТИ - ДАНА, 2009.
. Дунаев В.
Ф. Экономика предприятий нефтяной и газовой промышленности. Учебник. - М.:
ЦентрЛитНефтегаз, 2008.
. Дунаев В.
Ф. Экономика предприятий нефтяной и газовой промышленности. Учебник. - М.:
Издательство «НЕФТЬ И ГАЗ» РГУ нефти и газа им. И. М. Губкина, 2009.
. Ильин А.И.
Экономика предприятия: Учебное пособие. М.: «ООО Новое знание», 2010.
. Раицкий К.
А. Экономика организации: Учебник. М.: Дашков и К, 2010.
. Сергеев
И.В., Веретенникова И. И. Экономика организации (предприятия): Учебник. - М.:ТК
Велби, Издательство Проспект, 2011.
. Пелих А. С.
Экономика отрасли: Учебник. Ростов-на-Дону. «Феникс», 2010.
. Чечевицына
Л.Н., Микроэкономика. Учебное пособие. Ростов на Дону. Феникс, 2010.