Технология сварного соединения металлов
Введение
Сварка является одним из ведущих технологических
процессов обработки металлов. Большие преимущества сварки обеспечили ее широкое
применение в народном хозяйстве; без нее сейчас немыслимо производство судов,
турбин, котлов, самолетов, мостов, реакторов и других конструкций. Сваркой
называется технологический процесс получения неразъемных соединений посредством
установления межатомных связей между свариваемыми частями при их местном или
общем нагреве, или пластическом деформировании, или совместном действии того и
другого. Сварное соединение металлов характеризуется непрерывностью структур.
Для получения сварного соединения необходимо осуществить межмолекулярное
сцепление между свариваемыми деталями, приводящее к установлению атомарной
связи в пограничном слое. Наибольшее распространение получили различные способы
электрической сварки плавлением, а ведущее место занимает дуговая сварка,
источником теплоты служит электрическая дуга. В 1802г. русский ученый В.В.
Петров (1761-1834гг.) открыл электрический дуговой разряд и указал на
возможность его использования для плавления металлов. Своим открытием Петров
положил начало развитию новых отраслей технических знаний, получивших
впоследствии практическое применение сначала в электродуговом освещении, а затем
при электрическом нагреве, плавке и сварке металлов. В 1882г. русский инженер
Н.Н.Бенардос (1842-1904гг.) работая над созданием крупных аккумуляторных
батарей, открыл способ электродуговой сварки металлов неплавящимся угольным
электродом. Им были также разработаны способы дуговой сварки в защитном газе,
дуговой резке и другие. Способ дуговой сварки получил дальнейшее развитие в
работах русского инженера Н.Г.Славянова (1854-1897гг.), предложившего в 1888г.
производить сварку плавящимся металлическим электродом. С именем Славянова
связано развитие металлургических основ электрической дуговой сварки, создание
первого автоматического регулятора длины дуги и первого сварочного генератора.
Им предложены флюсы, позволяющие получить высококачественный металл сварных
швов.
Изобретения Бенардоса и Славянова были
запатентованы и использованы не только в России, но и во всех промышленно
развитых странах. Отсталая промышленность дореволюционной России не могла в
должном объеме использовать дуговую сварку. Широкое промышленное применение и
развитие сварки в нашей стране началось после победы Великой Октябрьской
социалистической революции. В конце 40-х годов получил промышленное применение
способ дуговой сварки в защитных газах. Газ для защиты зоны сварки впервые
использовал американский ученый А.Александер еще в 1928г, однако в те годы этот
способ не нашел серьезного промышленного применения из-за сложности получения
защитных газов. Положение изменилось после того, как для защиты были
использованы пригодные для массового применения газы (гелий и аргон в США,
углекислый газ в СССР) и различные смеси газов. Сварку неплавящимся (угольным)
электродом в углекислом газе впервые осуществил Н.Г.Остапенко. Затем усилиями
коллективов ЦНИИТМАШа, института электросварки им. Е.О.Патона и ряда
промышленных предприятий был разработан способ дуговой сварки в углекислом газе
плавящимся электродом. Использование дешевых защитных газов, улучшение качества
сварки и повышение производительности процесса обеспечили широкое применение
этого способа главным образом при полуавтоматической сварке различных
конструкций. Объем применения полуавтоматической сварки в защитных газах из
года в год возрастает. Ее широко используют вместо ручной сварки покрытыми
электродами и автоматической сварки под флюсом.
1. Описательная часть
.1 Описание конструкции балки
В машиностроении балки являются основными
элементами рамных конструкций, кроме того балки являются элементами кранов,
разных перекрытий, мостов и других сооружений. Сварные двутавровые балки изготавливаются
высотой от 0,6 до 2 м, с толщиной стенки 10-16мм и с толщиной полок от 16 до
50мм. Такие балки при высоте до 800мм, не имеют ребер жесткости, при большей
высоте обязательно устанавливают вертикальные ребра жесткости. Для коротких
балок длиной 4-5м, для жесткости возможна установка только косынок. Сварные
двутавровые балки имеют преимущество по сравнению с прокатными, т. к. они имеют
меньший вес. Кроме того сваркой можно получить тонкостенные двутавровые балки с
облегченной стенкой или с не симметричными полками. Изготовление балок со
сплошной стенкой позволяет широко применять механизированные способы сварки.
Очень технологичны сварные балки из гнутых элементов, они могут свариваться
контактной сваркой. В строительстве применяют двутавровые балки с вырезами.
Такие балки имеют следующие преимущества:
· экономия веса;
· возможность изготовления балок
различной высоты и прочности из одного и того же профиля (листа);
· красивый вид в архитектурном
отношении;
уменьшение окрашиваемой поверхности; Балки коробчатого
сечения чаще всего используются при изготовлении конструкций крановых мостов и
могут иметь большую длину. В этом случае полки и стенки составляются из
нескольких листовых элементов, свариваемых встык. На общую сборку полки обычно
поступают в виде полосы требуемой длины, а боковые стенки или подают в готовом
виде или набирают из отдельных листов. Для повышения жесткости и предотвращения
скручивания внутри балки устанавливаются ребра жесткости, которые называют
диафрагмы, причем существует определенная схема расстановки, согласно которой
между 2 большими диафрагмами устанавливают 3 малых, высота которых в половину
меньше высоты больших диафрагм. Рассматриваемая в дипломном проекте коробчатая
балка (рисунок 1) состоит из 2 горизонтальных и 2 вертикальных листов, каждый
горизонтальный лист состоит из 5 листов размерами 10*450*2000 мм, каждый
вертикальный лист состоит из 5 листов размерами 8*1080*2000 мм. Для повышения
жесткости установлены 4 большие диафрагмы размерами 4*400*1080 мм и 11 малых
диафрагм размерами 4*400*540 мм. Коробчатые балки относятся к линейным
конструкциям, так как имеют прямолинейные швы, учитывая большой объем сварочных
работ и значительную протяженность сварных швов, с целью предотвращения
деформаций необходимо соблюдать определенную последовательность наложения швов
особенно поясных, кроме того нужно выполнять правку после сварки отдельных
узлов балки, эти мероприятия позволяют снизить сварочные деформации и повысить
работоспособность конструкции.
Обоснование выбора материала Низколегированными
называются стали, содержащие до 0,2% С и до 2-3% в основном недефицитных
легирующих элементов. Они не намного дороже углеродистых, но обладают рядом
важных преимуществ: более высоким пределом текучести, что позволяет снизить
расход металла на 15-30%, пониженной склонностью к механическому старению;
повышенной хладостойкостью, лучшей коррозионной стойкостью и износостойкостью;
возможностью значительно повысить после закалки и отпуска прочность, вязкость,
изностойкость и чувствительность к надрезу. Все это в сочетании с хорошей
свариваемостью обусловило широкое применение этих сталей при изготовлении
трубопроводов и аппаратов, всевозможных сварных конструкций в вагоностроении,
автомобилестроении, сельскохозяйственном машиностроении и других. Стали не
флокеночувствительны и не склонны или мало склонны к отпускной хрупкости. Для
изготовления коробчатой балки используется сталь 14Г2, характеристики которой
указаны в таблицах 1 и 2.
Таблица 1- Механические свойства стали
|
Сталь
14Г2
|
Толщина
проката, мм.
|
Толстолистовая
и широкополосная сталь
|
|
|
GВ, МПа
|
GТ, МПа
|
δ5, %
|
αн
(кг*м/см2) при температуре
|
|
|
|
|
|
+200
|
-400
|
-700
|
|
4
8
|
470
470
|
340
340
|
21
21
|
-
-
|
-
3,5
|
-
-
|
Таблица 2- Химический состав стали в %
|
Сталь
|
С
|
Si
|
Mn
|
Cr
|
Ni
|
Cu
|
S
|
P
|
|
14Г2
|
0.12-0.18
|
0.17-0.37
|
1.2-1.6
|
до
0.30
|
до
0.30
|
до
0.30
|
0.040
|
0.035
|
Входящие элементы влияют на свойства стали.
Углерод находится в стали обычно в виде химического соединения Fe3C
называемого цементитом. С увеличением содержания углерода до 1,2% твердость,
прочность и упругость стали увеличивается, но пластичность и сопротивление
удару понижаются, а обрабатываемость и свариваемость ухудшается. Кремний широко
используется при выплавке стали как раскислитель. Легирование кремнием
углеродистых и хромистых сталей увеличивает их жаростойкость. Уменьшая
подвижность углерода в феррите, кремний тем самым затрудняет формирование и
рост цементитных частиц, что проявляется в повышении устойчивости структуры
стали при отпуске. Содержание кремния в стали ограничивают, поскольку он повышает
склонность стали к тепловой хрупкости. Марганец снижает критическую скорость
охлаждения, уменьшает вязкость феррита. Марганец используется для частичной
замены никеля с целью получения нужного сочетания механических свойств стали, а
также с учетом меньшей стоимости марганца. Хром повышает жаростойкость и
коррозионную стойкость стали, увеличивает ее электрическое сопротивление и
уменьшает коэффициент линейного расширения.
Легирование стали хромом приводит к уменьшению
склонности аустенитного зерна к росту при нагреве, существенному увеличению ее
прокаливаемости, а также замедлению процесса распада мартенсита. Никель
увеличивает пластичность, и вязкость стали, снижает температуру порога
хладноломкости и уменьшает чувствительность стали к концентраторам напряжений;
Сера находится в стали главным образом в виде сульфида железа FeS
и является вредной примесью. Она сообщает стали хрупкость при высоких
температурах (красноломкость). Сера увеличивает истираемость стали, понижает
сопротивление усталости, уменьшает коррозионную стойкость. Фосфор образует с
железом соединение FeP,
которое растворяется в железе. Кристаллы этого химического соединения очень
хрупки, обычно они располагаются по границам зерен, резко ослабляя связь между
ними, вследствие чего сталь приобретает очень высокую хрупкость в холодном
состоянии.
2. Расчетно - технологическая часть
.1 Особенности сварки в среде
углекислого газа
Сущностью и отличительной особенностью дуговой
сварки в защитных газах является защита расплавленного и нагретого до высокой
температуры основного и электродного металла от вредного влияния воздуха
защитными газами, обеспечивающими физическую изоляцию металла и зоны сварки от
контакта с воздухом и заданную атмосферу в зоне сварки. Используют инертные и
активные защитные газы. При дуговой сварке применяют два основных способа
газовой защиты: местную и общую в камерах (сварка в контролируемой среде).
Наиболее распространенной является струйная местная защита в потоке газа,
истекающего из сопла сварочной горелки. Качество струйной защиты зависит от
конструкции и размеров сопла 1, расхода защитного газа и расстояния L
от среза сопла А-А до поверхности свариваемого материала (рисунок 5). В
строении газового потока различают две области: ядро струи 2 и периферийный
участок 3. При истечении в окружающую воздушную среду в ядре потока 2
сохраняются скорость и состав газа, имеющиеся в сечении А-А на срезе сопла.
Периферийная же часть потока 3 представляет собой область, в которой защитный
газ смешивается с окружающим воздухом, а скорость в любом сечении по длине
потока изменяется от первоначальной (с имеющейся на срезе сопла) до нулевой на
внешней границе струи, поэтому надежная защита металла может осуществляться
только в пределах потока ядра. Чем больше высота Н этого участка, тем выше его
защитные свойства. Максимальная высота Н наблюдается при ламинарном истечении
газа из сопла. При турбулентном характере истечения газа такое строение потока
нарушается, и защитные свойства его резко падают. Характер истечения зависит от
конфигурации проточной части сопла, его размеров и расхода газа. На практике
применяют 3 вида сопл: конические, цилиндрические и профилированные (рисунок
6).
Рисунок 6 Виды сопл а) конические б)
цилиндрические в)профилированные
Преимущество этого вида сварки перед сваркой под
флюсом состоит в том, что сварщик может наблюдать за ходом процесса и горения
дуги, которая не закрыта флюсом, не нужны приспособления для подачи и отсоса
флюса, усложняющие сварочное оборудование, отпадает необходимость в последующей
очистке швов от шлака и остатков флюса, что особенно важно при многослойной
сварке. Основными достоинствами способа сварки в углекислом газе являются:
· хорошее использование тепла
сварочной дуги, вследствие чего обеспечивается высокая производительность
сварки;
· высокое качество сварных швов;
· возможность сварки в различных
пространственных положениях с применением аппаратуры для полуавтоматической и
автоматической сварки;
· низкая стоимость защитного газа;
· возможность сварки металла малых
толщин и сварки электрозаклепками;
возможность сварки на весу без прокладки.
Коэффициент наплавки при сварке при сварке в углекислом газе выше, чем при
сварке под флюсом. При сварке постоянным током прямой полярности этот
коэффициент в 1,5- 1,8 раза выше, чем при обратной полярности. Процесс сварки
отличается высокой производительностью, достигающий 18кг/ч наплавленного
металла. Скорость достигает 60 м/ч. Производительность сварки в углекислом газе
в 1,5-4 раза выше, чем производительность ручной сварки покрытыми электродам, и
в 1,5 раза выше, чем при сварке под флюсом.
2.2 Подготовка металла к сварке
Подготовка включает резку металла, правку,
разметку и очистку от различных загрязнений. Резка может быть заготовительной и
как операция изготовления деталей без последующей механической обработки. Она
осуществляется различными способами: механическим, термическим и другие.
Механическая резка осуществляется ножницами, пилами и пригодна для всех
металлов. Листовой металл режут на пресс-ножницах, гильотинных, дисковых и
вибрационных ножницах. Ввиду больших пластических деформаций в месте реза на
кромках появляется наклеп. В зависимости от толщины металла область наклепа
распространяется до 4-6 мм. В ответственных сварных конструкциях явление
наклепа на кромках не допускается, а поэтому строгание кромок производят с
целью удаления всей области наклепанного металла. Резка листов на
пресс-ножницах осуществляется в поперечном и продольном направлениях. Длина
реза 500-700 мм. Толщина металла 13-32 мм. Число ходов 13-20 в минуту. На
пресс-ножницах для продольной обрезки листов возможна резка листов с небольшой
кривизной. Заготовки из листов после резки на пресс-ножницах требуют правки.
Узкие полосы приобретают спиральную и серповидную форму и их правят на ребрах.
Поэтому для прямолинейной резки длинных листов до 3 м и толщиной до 32 мм
применяют гильотинные ножницы с числом проходов 10-11 в минуту. Они более
производительны, дают чистый рез, а заготовки меньше деформируются, чем при
резке на пресс-ножницах. Резка листов одинаковой ширины на гильотинных ножницах
ведется по упорам, что сокращает трудоемкость и устраняет разметку.
На гильотинных ножницах можно производить
поперечную резку, резку кромки листов на фаску. Правка листов производится в
холодном состоянии путем местной пластической деформации, как правило, до
разметки, наметки и резки. Если необходима резка металла с целью грубого его
деления на части, то правку производят после такой резки. Правка основана на
растяжении металла до пределов текучести с целью сохранения его пластических
свойств. Правка производится многократным пропусканием листов между двумя
рядами валков. Правка металла осуществляется на гибочных вальцах или прессах, в
зависимости от сортамента металла, а иногда вручную на чугунных или сварных
плитах. Разметка деталей является трудоемкой операцией и требует высокой
квалификации рабочего. Она производится с помощью штангенциркуля, рулетки,
линейки и чертилки. При изготовлении коробчатой балки, разметка выполняется для
установки стенок на полку и для установки диафрагм. Очистка от окалины,
ржавчины и других загрязнений, является трудоемкой операцией и зависит от марки
материала, способа сварки и требований к качеству конструкции, кроме того
учитывается объем выполняемых работ. Для удаления окалины в единичном
производстве используют метод механической очистки кромок напильником или
шлифовальной машинкой, если производство серийное можно использовать зачистку
иглофрезой, которая представляет собой круглую щетку из нержавеющих самозатачивающихся
проволок. Иглофреза вращается и может снимать слой металла толщиной от 0,5 до 5
мм. Этот способ является высокопроизводительным и используется только для
углеродистых сталей с невысоким качеством отделки поверхности. К химическим
способам относится:
· обезжиривание;
травление; Травление применяют для подготовки
цветных металлов и высоколегированных сталей. Для низколегированной стали марки
14Г2 используется метод обезжиривания в растворе следующего состава:
· технический тринатрийфосфат -Na2PO4
50г/л
· кальцинированная сода -Na2CO3
25г/л
· едкий натр -NaOH
40г/л
температура 60-70 С. После обезжиривания ведется
промывка в горячей воде при температуре 70-800 С , затем в холодной проточной
воде. Химическая очистка может выполняться в ваннах методом окунания или
методом струйной обработки. Струйный метод производительней ванного он
заключается в том, что детали перемещаются вдоль ванны и при этом их
поверхность обливается струями раствора под давлением, этот метод требует
обязательной механизации травильного отделения, поэтому чаще всего применяется
в крупносерийном и массовом производстве. Так как коробчатые балки
изготавливаются в условиях мелкосерийного производства, то более целесообразным
является обезжиривание методом окунания в ваннах.
2.3 Сварочные материалы
Сварочными называют материалы, обеспечивающие
возможность протекания сварочных процессов и получения качественных сварных
соединений. Сварочными материалами для автоматической и полуавтоматической
сварки в среде углекислого газа является углекислый газ и сварочная проволока.
Углекислый газ (двуокись углерода). В природе широко распространен углекислый
газ. Его используют в пищевой промышленности, для тушения пожаров, при сварке,
в литейном производстве. Углекислый газ бесцветный, со слабым запахом, хорошо
растворяется в воде и придает ей кислый вкус. При 00 С и 760 мм рт. ст.
удельный вес углекислого газа равен 1,97686*10-3кгс/л, плотность по отношению к
воздуху составляет 1,524. Температура кипения 78,90 С, температура
затвердевания -56.60 С, критическая температура +310 С, критическое давление 75
кгс/см2. Жидкая углекислота - бесцветная жидкость. При температуре ниже +110С,
она тяжелее воды, а выше +110С - легче. Удельный вес углекислоты значительно
изменяется с температурой, поэтому количество углекислоты определяют и продают
по массе. Растворимость воды в жидкой углекислоте в интервале температур 5,8 -
22,90С не более 0,05%. Углекислота хорошо растворяет машинное масло. Твердая
двуокись углерода - «сухой лед», по внешнему виду напоминает снег или лед.
Удельный вес технического сухого льда равен γ=1,4*10-3
кгс/л. Содержание углекислого газа, получаемого из брикета сухого льда, высокое
- 99,93-99,99%; содержание влаги в пределах 0,06-0,13%. Сухой лед, находясь на
открытом воздухе, интенсивно испаряется, поэтому для хранения и транспортировки
его используют контейнеры емкостью 100-1500 кг. Потери сухого льда в этих
контейнерах составляют 3-9,54% в сутки. Получение углекислого газа из сухого
льда производится в специальных испарителях. Жидкая углекислота превращается в
газ при подводе к ней тепла. При нормальных условиях(200С и 760 мм рт. ст.) при
испарении 1 кг жидкой углекислоты образуется 509л газа. При чрезмерно быстром
отборе газа, понижении давления в баллоне и недостаточном подводе тепла
углекислота охлаждается, скорость ее испарения снижается и при достижении
тройной точки (давлении 5,28кгс/см2 и температуре -56,60С) она превращается в
сухой лед. При нагреве сухой лед непосредственно превращается в углекислый газ,
минуя жидкое состояние. Для испарения сухого льда необходимо подвести
значительно больше тепла, чем для испарения углекислоты; поэтому если в баллоне
образовался сухой лед, то испаряется он медленно. Для получения швов высокого
качества необходим углекислый газ высокой чистоты. Поэтому при сварке
используют только сварочный углекислый газ или пищевой с дополнительной осушкой
(таблица 3).
Таблица 3- Состав углекислого газа по ГОСТ
8050-79
|
Показатели
|
Сварочный
|
Пищевой
|
|
I сорт
|
II сорт
|
|
|
Содержание
углекислого газа (%) по объему (не менее) Содержание СО (%) по объему (не
более) Содержание воды в баллоне (%) по массе (не более) Содержание водяных
паров в газе при 760 мм рт. ст. и +200С, г/м3 (не более)
|
99,5
Нет Нет 0,178
|
99,0
Нет Нет 0,515
|
98,5
Нет 0,10 Не проверяется
|
Углекислота не должна содержать масел, кислот,
органических соединений, аммиака и моноэтаноламина. Углекислый газ получают в
промышленности несколькими способами, из которых наиболее распространены
следующие:
· из газов, образующихся при брожении
спирта, пива, расщепления жиров;
· из отходящих газов химического
производства, в первую очередь при производстве синтетического аммиака и
метанола, отходящие экспанзерные газы содержат примерно 90% углекислого газа;
· из дымовых газов промышленных
котельных, сжигающих уголь, природный газ и другое топливо, дымовой газ
содержит 12-20% углекислого газа. Жидкая углекислота хранится и
транспортируется в баллонах, причем в стандартные баллоны емкостью 40 литров
летом заливают 25 литров углекислоты, при испарении которой образуется 12600
литров газа, а зимой заливают 30 литров углекислоты, при испарении которой
образуется 15120 литров газа. Сварочную углекислоту не разрешается заливать в
баллоны из под пищевой и технической в связи с тем, что последние порции газа,
выходящие из баллона могут содержать повышенное количество паров воды. Нельзя
использовать сварочный углекислый газ при давлении меньше 4 атмосфер. Для
изготовления выбираю углекислый газ первого сорта по ГОСТ 8050-79. Сварочная
проволока. При сварке сталей используют холоднотянутую стальную сварочную
проволоку по ГОСТ 2246-80, который предусматривает изготовление проволоки 75
марок. В зависимости от уровня легирования, сварочная проволока подразделяется
на низкоуглеродистую, легированную, высоколегированную. Для изготовления
коробчатой балки из стали марки 14Г2 используется легированная проволока марки
Св-08Г2С. Химический состав проволоки указан в (таблице 4).
Таблица 4- Химический состав проволоки %
|
Марка
|
С
|
Si
|
Mn
|
Cr
|
Ni
|
S
|
P
|
|
|
|
|
|
|
не
более
|
|
Св-08Г2С
|
0,05-0,11
|
0,7-0,93
|
1,8-2,1
|
до
0,2
|
до
0,25
|
0,025
|
0,03
|
|
|
|
|
|
|
|
|
|
В зависимости от назначения стальную сварочную
проволоку подразделяют на проволоку для сварки и проволоку для изготовления
электродов. По виду поверхности проволоку подразделяют на неомедненную и
омедненую. Необходимость поставки проволоки с омедненой поверхностью
оговаривается в заказе. Для сварки коробчатой балки выбираю омедненую
проволоку, которая обеспечивает лучший электрический контакт, а следовательно
повышаются сварочно - технологические свойства. Проволоку с омедненой
поверхностью поставляют в мотках прямоугольного сечения, размеры которых должны
соответствовать указанным в (таблице 5).
Таблица 5- Размеры мотков прямоугольного
сечения, мм
|
Диаметр
проволоки
|
Наружный
диаметр
|
Внутренний
диаметр
|
высота
|
|
0,8-1,6 1,6-2,0 2,0-3,0
|
номинальный
|
предельное
отклонение
|
номинальный
|
предельное
отклонение
|
номинальная
|
Предельное
отклонение
|
|
175
250 320
|
+10
-5 +15 -5 +25 -5
|
100
175 220
|
+6
-2 +8 -4 +8 -4
|
50
85 90
|
+4
-4 +4 -6 +4 -6
|
Проволока в мотках должна состоять из одного
отрезка, свернутого не перепутанными рядами и плотно увязанного таким образом,
чтобы исключить возможность распушивания или разматывания мотка, концы
проволоки должны быть легко находимы, допускается контактная стыковая сварка
отдельных кусков проволоки одной плавки, при этом поверхность проволоки в зоне
сварного соединения должна соответствовать требованиям ГОСТ 2246-80. Временное
сопротивление разрыву проволоки должно соответствовать нормам указанным в
таблице 6.
Таблица 6- Временное сопротивление разрыву
кг/мм2
|
Диаметр
проволоки, мм
|
σв
|
|
0,-1,5
|
90-135
|
|
1,5
|
90-130
|
|
2,0
|
80-120
|
Колебания временного сопротивления разрыву в
одном мотке проволоки диаметром более 1,4мм не должны превышать 10кг/мм2.
Поверхность проволоки должна быть чистой и гладкой, без трещин, расслоений,
раковин, забоин, окалины, ржавчины, масла и других загрязнений, на поверхности
проволоки допускаются риски, царапины и отдельные вмятины, глубина которых не
превышает предельное отклонение по диаметру проволоки. По требованию
потребителя, проволока может поставляться с улучшенной поверхностью, в этом
случае на поверхности проволоки допускаются мелкие волочильные риски, царапины,
отдельные вмятины, глубина которых не более ј предельного отклонения по
диаметру. На поверхности проволоки не допускается наличие технологических
смазок за исключением следов мыльной смазки без графита и серы. Проволока
поставляется партиями. Каждая партия должна состоять из проволоки одной марки,
одной плавки, одного диаметра, одного назначения и одного вида поверхности.
Стальная сварочная проволока, применяемая в небольших количествах, может
изготавливаться по технологическим условиям, которые разработаны, согласованы и
утверждены в установленном порядке.
2.4 Режимы сварки
К основным параметрам режимов сварки в защитных
газах относятся: диаметр электродной проволоки, марка проволоки, сила
сварочного тока, род тока и полярность, напряжение дуги, скорость подачи
электродной проволоки, скорость сварки, расход защитного газа. Дополнительными
параметрами являются: наклон электрода вдоль оси шва, вылет электрода.
Рассмотрим влияние отдельных факторов режима сварки на форму и размеры шва, а
также его качество. Диаметр электродной проволоки выбирают в пределах 0,5-3мм в
зависимости от толщины свариваемого металла и положения шва в пространстве. С
уменьшением диаметра проволоки при прочих равных условиях повышается
устойчивость горения дуги, увеличивается глубина провара и коэффициент
наплавки, уменьшается разбрызгивание жидкого металла. С увеличением диаметра
проволоки должна быть увеличена сила сварочного тока. Марка электродной
проволоки. Углекислый газ является окислителем. При сварке в его среде
происходит окисление железа и примесей, находящихся в стали. Для восстановления
их, сварка должна производиться специальными электродными проволоками, в состав
которых входят раскислители. Для сварки низкоуглеродистых сталей такими
проволоками является Св08ГС, Св08Г2С, Св12ГС (ГОСТ 2246-70) с повышенным
содержанием марганца и кремния. Сила сварочного тока. С увеличением силы
сварочного тока повышается глубина провара, что приводит к увеличению доли
основного металла в шве. Ширина шва сначала несколько увеличивается, а затем
уменьшается. Силу сварочного тока устанавливают в зависимости от выбранного
диаметра электрода. Сила тока также зависит от диаметра и состава электрода и
скорости подачи электродной проволоки, полярности, вылета электрода и состава
газа. Силу тока регулируют путем изменения скорости подачи проволоки, подогрева
проволоки на вылете и изменения напряжения дуги. Стабильный процесс сварки с
хорошими технологическими свойствами можно получить только в определенном
диапазоне токов, который зависит от диаметра электрода. Сила тока является
одним из основных факторов, определяющих глубину и форму провара, а также
производительность расплавления проволоки.
Глубина провара при сварке в углекислом газе
несколько больше, чем при сварке под флюсом. Это обусловлено, по-видимому,
большим давлением дуги в углекислом газе, меньшим гидростатическим давлением
жидкого металла, уравновешивающим давление дуги благодаря отсутствию слоя флюса
на жидком металле, а также избыточного давления внутри флюсового пузыря. В
результате при сварке в углекислом газе, дуга интенсивнее оттесняет металл
из-под основания дуги. Сварку в углекислом газе плавящимся электродом
производят на постоянном токе обратной полярности. Это объясняется тем, что при
прямой полярности процесс сварки характеризуется большим разбрызгиванием даже
при сварке значительно меньшими величинами тока. Это приводит к уменьшению
глубины провара. Хотя коэффициент плавления электродной проволоки при сварке на
обратной полярности в 1,5-1,8 раза меньше, чем при сварке на прямой полярности,
это преимущество в большинстве случаев не удается использовать, т.к. при сварке
на прямой полярности ширина шва значительно меньше, а высота выпуклости больше,
чем при сварке на обратной полярности. Кроме того, сварка на прямой полярности
характеризуется увеличением окисления элементов и повышением склонности шва к
образованию пор. Но в некоторых случаях при сварке угловых швов в соединениях
впритык и многопроходных стыковых швов применяют прямую полярность. Напряжение
дуги и всего процесса является важнейшим элементом режима сварки. Особенно
велика роль напряжения дуги Uд
при сварке в углекислом газе с частыми короткими замыканиями. При уменьшении
диаметра электрода влияние возрастает. С повышением Uд
увеличивается общая длина дуги и ее внешняя составляющая, а также ширина шва,
уменьшается высота усиления и улучшается форма шва. Однако одновременно с
повышением Uд увеличиваются
потери на разбрызгивание и окисление металла. С целью получения хорошей формы
провара и внешнего вида шва и небольших потерь на разбрызгивание, а также
высокой производительности, сварку следует вести на оптимальных напряжениях
дуги. Величина их зависит от рода защитного газа, силы сварочного тока,
пространственного выполнения сварки, диаметра и состава электрода, динамических
свойств источника питания и других факторов. Скорость подачи электродной
проволоки связана с силой сварочного тока. Ее устанавливают с таким расчетом,
чтобы в процессе сварки не происходило коротких замыканий и обрывов дуги, а
протекал устойчивый процесс плавления электрода. Скорость сварки. С увеличением
скорости сварки уменьшаются все геометрические размеры шва. Она устанавливается
в зависимости от толщины свариваемого металла и с учетом обеспечения хорошего
формирования шва. Сварку металла большой толщины лучше выполнять более узкими
валиками на большей скорости. При слишком большой скорости сварки конец
электрода может выйти из зоны защиты и окислиться на воздухе. Медленная
скорость сварки вызывает чрезмерное увеличение сварочной ванны и повышает
вероятность образования пор в металле шва.
Расхода газа. Количество расходуемого
углекислого газа в значительной степени влияет на качество сварного шва.
Необходимое для сварки количество газа зависит от режима сварки и от формы и
размеров свариваемого изделия. С увеличением расхода газа снижаются значения
коэффициентов расплавления и наплавки, так как при этом столб дуги охлаждается
поступающим в зону сварки углекислым газом. Но малый расход газа не
удовлетворяет требованиям газовой защиты. Следовательно, величина расхода
углекислого газа должна быть минимальной, но достаточной для создания надежной
защиты расплавленного металла от окружающей атмосферы. При сварке проволокой
диаметром 0,8-1,2 мм расход углекислого газа составляет 6-10 л/мин, а
проволокой диаметром 1,6-2,0 мм составляет 10-20 л/мин. При этом наименьшее
количество газа расходуется при сварке тавровых соединений и соединений в
лодочку, при сварке стыковых - среднее, при сварке угловых соединений
наибольшее. Это связано с тем, что условия защиты сварочной ванны в
значительной мере зависят от типа соединения и положения шва. На расход углекислого
газа существенное влияние оказывает и скорость перемещения дуги. С повышением
скорости перемещения дуги расход углекислого газа надо увеличить, чтобы
улучшить защиту сварочной ванны углекислым газом. При большой скорости
перемещения дуги и недостаточном количестве углекислого газа сварочная
проволока и ванна расплавленного металла не будут иметь нужной защиты.
Повышение расхода углекислого газа при прочих постоянных факторах приводит к
некоторому увеличению выгорания раскислителей- кремния и марганца- и
практически не влияет на количество углерода в металле шва. Вылет электрода. С
увеличением вылета электрода ухудшаются устойчивость горения дуги и
формирование шва, а также увеличивается разбрызгивание жидкого металла. Очень
малый вылет затрудняет наблюдение за процессом сварки, вызывает частое
подгорание газового сопла и токоподводящего контактного наконечника. Кроме
вылета электрода необходимо выдерживать определенное расстояние от сопла
горелки до поверхности металла, так как с увеличением этого расстояния
ухудшается газовая защита зоны сварки и возможно попадание кислорода и азота в
расплавленный металл, что приводит к образованию газовых пор. Величину вылета
электрода, а также расстояние от сопла горелки до поверхности металла
устанавливают в зависимости от выбранного диаметра электродной проволоки.
Наклон электрода вдоль оси шва оказывает большое влияние на глубину провара и
качество шва. При сварке углом вперед труднее вести наблюдение за формированием
шва, но лучше видны свариваемые кромки и легче направлять электрод точно по
зазору между ними. Ширина шва при этом возрастает, а глубина провара
уменьшается. Сварку углом вперед рекомендуется применять при небольших толщинах
металла, когда существует опасность сквозных прожогов.
При сварке углом назад улучшается видимость зоны
сварки, повышается глубина провара и наплавленный металл получается более
плотным. Режимы подбираются в зависимости от толщины металла и типа соединения,
они указаны в таблице 7 и 8.
Таблица 7- Режимы сварки стыковых соединений
|
Толщина
металла, мм
|
Зазор,
мм
|
Число
проходов
|
Диаметр
проволоки мм
|
Сила
сварочного тока, А
|
Напряжение,
В
|
Скорость
сварки, м/ч
|
υп п м/час
|
Вылет
электрода мм
|
Расход
газа, л/мин
|
|
8
10
|
1
1
|
2
2
|
1,6
1,6
|
370
400
|
32
32
|
30
30
|
120
120
|
15
18
|
11-16
12-16
|
Таблица 8- Режимы сварки угловых соединений
|
Толщина
металла мм
|
Катет
шва мм
|
Защитный
газ
|
Диаметр
электрода мм
|
Сила
сварочного тока А
|
Напряжение
В
|
Скорость
сварки м/ч
|
υп п м/час
|
Вылет
электрода мм
|
Расход
газа л/мин
|
|
4
8
|
3
6
|
Углекислый
Углекислый
|
1,6
1,6
|
170
270
|
21
27
|
23
25
|
90
100
|
10
12
|
7
7-12
|
.5 Сборочно-сварочное оборудование и
инструмент
К оборудованию для сварки предъявляются
многочисленные и разнообразные требования, связанные с технологическими
особенностями способов сварки,
спецификой сварных конструкций различных классов
и технико-экономическими особенностями сварочного производства. Наиболее общими
требованиями, предъявляемыми к рассматриваемому оборудованию, являются
обеспечение высокого качества и производительности технологического процесса,
надежности работы и эргономических показателей оборудования, а также
рационального расходования материалов и электроэнергии, минимальных затрат на
его изготовление. Обеспечение высокого качества сварных соединений требует:
· точной сборки и фиксации свариваемых
соединений в рабочей зоне с учетом особенностей заготовок (значительные
допускаемые отклонения от номинальных размеров и форм, возможные заусенцы,
задиры, окалина, прилипшие брызги металла) и сварочных деформаций;
· надежной защиты сварочной ванны от
воздействия атмосферы путем подачи в зону сварки защитного газа, флюса,
использование самозащитных проволок, вакуумных;
· обеспечение заданного положения и
ориентации источника нагрева относительно свариваемого соединения с
компенсацией случайных отклонений линии соединения от расчетного положения;
· поддержания заданных значений
параметров процесса сварки или изменения их по заданному закону с учетом
случайных отклонений параметров соединения, подготовленного под сварку, от
номинальных значений;
применение прогрессивных сварочных технологий и
материалов (форсированные режимы, использование многодуговой и многоэлектродной
сварки, ленточных электродов). Высокая производительность сварочного процесса и
операций по изготовлению сварных конструкций достигается применением прогрессивных
сварочных процессов, механизацией, автоматизацией и роботизацией сварочного
производства. Автоматизация и роботизация сварки, в свою очередь, являются
факторами значительного улучшения качества и стабильности характеристик сварных
соединений. Высокая надежность оборудования для сварки достигается путем
принятия мер по обеспечению стабильной работы оборудования в условиях
характеризующихся высокой температурой вблизи зоны сварки шва, мощным
нестационарным магнитным полем, интенсивным световым излучением,
разбрызгиванием расплавленного металла, интенсивным выделением пыли и
аэрозолей, повышением ресурса работы быстроизнашивающихся элементов,
использования современных средств контроля состояния и диагностики и устранения
неисправностей за счет быстросменных деталей, блоков и устройств, использование
составных частей с высокими показателями надежности, прежде всего, путем
максимального применения ранее отработанных технических решений и серийных
устройств, унификации и агрегатирования. Высокая надежность оборудования для
сварки является одним из важнейших факторов обеспечения требуемого качества
сварных соединений и заданной производительности. Для изготовления коробчатой
балки длиной 10 метров, необходимо следующее оборудование:
· полуавтомат для сварки в среде
углекислого газа с комплектом газовой аппаратуры и источником питания
постоянного тока;
· сборочный портал;
· кантователь для установки балки в
удобное для сварки положение;
К источникам питания сварочной дуги
предъявляется ряд требований, источник питания должен:
· обеспечить быстрое и безопасное
возбуждение дуги;
· напряжение холостого хода должно
быть в 1,8-2,5 раза выше рабочего и быть в пределах 60-80 В, причем после
возбуждения дуги оно должно быстро снижаться до рабочего;
· в процессе сварки по тем или иным
причинам может происходить изменение длины дуги и источник питания, должен
быстро реагировать на эти изменения и не допускать значительного изменения
тока;
· время нарастания напряжения от нуля
до рабочего напряжения не должно превышать 0,03 сек.;
· источник питания должен обеспечивать
плавное регулирование силы тока и давать возможность настройки на различные
режимы;
· сила тока короткого замыкания не
должна превышать силу рабочего тока более чем на 40-60%;
источник питания не должен перегреваться при
работе выше нормы указанной в паспорте. Для сварки в среде углекислого газа
используют выпрямители.
Сварочные выпрямители представляют собой
устройства, предназначенные для преобразования переменного тока в постоянный.
Они состоят из следующих основных узлов: силового трансформатора для понижения
напряжения сети до необходимого напряжения холостого хода источника, блока
полупроводниковых элементов для выпрямления переменного тока, стабилизирующего
дросселя для уменьшения пульсации выпрямленного тока. Выпрямительный блок
представляет собой набор полупроводниковых элементов, включенных по
определенной схеме.
Особенность полупроводниковых элементов
заключается в том, что они проводят ток только в одном направлении, в
результате чего сила тока становится постоянной. Такие элементы обладают
вентильным эффектом - пропускают ток в одном направлении; их называют
полупроводниковыми вентилями.
Рисунок 8 Схема сварочного выпрямителя
Силовой трансформатор 2- Блок силовых вентилей
3- Стабилизирующий дроссель 4- Сварочная дуга 5- Блок защиты и сигнализации 6-
Система управления вентилями. Для полуавтоматической сварки используется
источник питания ВДГ 601 характеристики которого указаны в таблице 9.
Таблица 9- Основные технические данные
выпрямителя
|
Выпрямитель
|
Номинальная
мощность кВт*А
|
Сила
номинального сварочного тока А
|
Предел
регулирования сварочного тока А
|
Напряжение
холостого хода В
|
Номинальное
рабочее напряжение В
|
Габаритные
размеры мм
|
Масса
кг
|
|
ВДГ
601
|
69
|
630
|
100-630
|
90
|
66
|
1250*900*
1155
|
595
|
Сварочный выпрямитель ВДГ-601 (рисунок 9),
предназначен для однопостовой механизированной сварки в среде углекислого газа
на форсированных режимах. Он состоит из трехфазного силового сварочного
трансформатора, силового выпрямительного блока на тиристорах, собранного по
шестифазной кольцевой схеме, дросселя в сварочной цепи, вспомогательного
дросселя, блока управления полуавтоматом, блока управления тиристорами,
трансформатора питания цепей управления полуавтоматом и подогревателя газа,
пускорегулирующей и защитной аппаратуры, а также трансформатора подпитки с
выпрямительным блоком на кремниевых диодах.
Рисунок 9 Сварочный выпрямитель ВДГ 601:
Кнопка Пуск 2. Кнопка Стоп 3. Блок управления
полуавтоматом 4. Регулятор напряжения 5. Переключатель режимов сварки и места
регулирования 6. переключатель индуктивности сварочной цепи 7. Амперметр 8.
Вольтметр 9. Местное включение сварочного напряжения 10. Регулятор напряжения
11. Включение питания цепей управления полуавтоматом 12. Предохранители. 13-15.
Разъемы для подключения соответственно подогревателя газа, сварочных кабелей и
пульта дистанционного управления. Все составные части выпрямителя смонтированы
на раме и защищены кожухом. Для подъема предусмотрены два рым-болта,
установленные сверху выпрямителя. Для подключения к питающей сети со стороны
задней решетки выпрямителя на раме имеется панель с установленными на ней
штепсельным разъемом и емкостным фильтром для защиты от создаваемых при сварке
помех радиоприему. Для подключения сварочного кабеля с лицевой стороны
выпрямителя имеются два гнезда разъемов, обозначенных знаками «+» и «-». Болт
для заземления выпрямителя находится на раме со стороны задней решетки.
Первичные и вторичные обмотки намотаны концентрически, вторичная обмотка каждой
фазы выполнены из двух полуобмоток. Силовой выпрямительный блок состоит из
шести тиристоров. Охлаждение выпрямителя - воздушное, принудительное.
Вентилятор приводится во вращение трехфазным асинхронным двигателем.
Направление вращения вентилятора - правое (по часовой стрелке, смотря со
стороны блока управления). При правильном охлаждении выпрямителя воздух должен
входить со стороны блока управления и выбрасываться с задней стороны
выпрямителя, что обозначено надписью Выход воздуха. На лицевой панели блока
управления выпрямителя расположены приборы для регистрации сварочного режима -
амперметр и вольтметр, сигнальная лампа, тумблер местного включения -
выключения сварочного напряжения, переключатель места регулирования режима
сварки. Плавное регулирование сварочного напряжения осуществляется резисторами,
расположенными на блоке управления (местное регулирование), или с пульта
управления полуавтоматом (дистанционное регулирование). Выпрямитель имеет
жесткие (пологопадающие) внешние характеристики (рисунок 10).
Рисунок 10. Вольтамперные характеристики выпрямителя
ВДГ-601
Рисунок 11. Полуавтомат ПДГО-512 Урал
Таблица 10- Технические характеристики ПДГО-512
Урал
|
Параметры
|
Значения
|
|
Номинальный
сварочный ток (ПВ=60% при цикле сварки 10 минут)
|
500
А
|
|
Напряжение
питания
|
36
В/50 Гц или 50 В
|
|
Диаметр
используемой проволоки
|
0,8
…. 3,2 мм
|
|
Габариты
|
585х215х495
мм
|
|
Масса
(без кассеты с проволокой)
|
16
кг
|
|
Диапазоны
настройки параметров блока управления:
|
|
Скорости
подачи проволоки
|
0,7
… 16,6 (через 0,1) м/мин
|
|
Длительность
продува газа после сварки
|
1
… 25 (через 1) сек
|
|
Дискретность
дистанционной подстройки напряжения, не более
|
0,2
В
|
|
Длительность
заварки кратера
|
0
… 5 (через 0,5) сек
|
|
Длительность
сварки точки
|
1
… 25 (через 1) сек
|
Полуавтомат ПДГО-512 Урал предназначен для
дуговой сварки в защитных газах или самозащитной порошковой проволокой изделий
из низкоуглеродистых и легированных сталей протяженными, прерывистыми или
точечными швами, в различных пространственных положениях. Технические данные
полуавтомата указаны в таблице 10. Полуавтомат оснащен четырёхроликовым
механизмом подачи проволоки с электродвигателем мощностью 90Вт, евроразъёмом
типа К2-2, кассетодержателем под еврокассету диаметром 300мм для сварочной
проволоки, клапаном включения подачи газа, разъемом питания подогревателя газа
(-36В), цифровым блоком управления процессом сварки (БУСП). Наличие
специального канала обратной связи по напряжению сварочной дуги позволяет
устранить неопределённость, связанную с падением напряжения в сварочных
кабелях. Специальный потенциальный провод с латунной струбциной для подключения
к свариваемому изделию входит в комплект полуавтомата. Особенностью
полуавтомата ПДГО-512 «Урал» является способность обеспечивать автоматическую
заварку кратера с гарантированным предотвращением явления приваривания
проволоки к затвердевающей сварочной ванне при завершении сварки. Процесс
подачи электродной проволоки, защитного газа и сварочного напряжения
запрограммирован в микроконтроллере БУСП полуавтомата и инициируется кнопкой на
горелке.
Блок управления полуавтомата обеспечивает: -
плавную настройку и стабилизацию установленной скорости подачи проволоки;
дистанционное включение, отключение и
регулирование напряжения сварочного источника;
выбор режима работы кнопки горелки в зависимости
от способа сварки;
замедленную скорость подачи проволоки до момента
контакта со свариваемым изделием и последующее плавное нарастание скорости
подачи до установленной скорости («мягкий старт»);
настройку длительности процесса заварки кратера;
настройку длительности продувки газа после
сварки;
настройку длительности сварки точки при точечном
режиме сварки;
защиту двигателя при перегрузках;
установку необходимого начального вылета
проволоки кратковременными нажатиями кнопки горелки;
использование таймера обратного отсчёта во время
установки расхода газа;
сохранение выбранных настроек в памяти.
Циклограмма работы блока управления сварочным
полуавтоматом показана на рисунке 12. Блок управления работает следующим
образом. При нажатии кнопки пуск «S»
подается положительный потенциал на вход инвертора который приводит триггер «Д»
в рабочее состояние. Триггер подает сигнал через усилитель который включает
реле и через него источник питания «ИП» одновременно включает газ «У». При
отпускании кнопки пуск, рабочее состояние схемы сохраняется и процессом
руководит триггер, через время «t1»
которое необходимо для продувки шлангов, включается механизм подачи проволоки
«М» и начинается процесс сварки, сварка идет в течении времени «t2».
Для прекращения процесса сварки нужно повторно нажать кнопку Пуск. При этом
триггер отключается от процесса и переключается в исходное положение,
одновременно отключается электродвигатель подачи проволоки. Через время «t3»,
отключается источник питания, время «t3»
регулируется резистором через конденсатор и оно необходимо для заварки кратера.
Газ продолжает подаваться для защиты расплавленного металла и отключается через
время «t4», и регулируется
резистором через конденсатор, причем отключение происходит только тогда, когда
на конденсаторе напряжение 7В. Механизмы подачи электродной проволоки обычно
состоят из электродвигателя, редуктора и системы подающих и прижимных роликов.
Электродвигатель с редуктором обеспечивают вращение подающего ролика,
проталкивающего электродную проволоку по гибкому полому кабелю в зону сварки.
Они также позволяют настраивать скорость подачи проволоки и поддерживать ее
постоянной в процессе работы. В качестве привода в этих механизмах могут
использоваться электродвигатели как переменного, так и постоянного тока.
Скорость подачи электродной проволоки могут изменяться ступенчато с помощью
сменных шестерен или сменных подающих роликов, а
также плавным регулированием числа оборотов
электродвигателя постоянного тока. Для подачи электродных проволок различных
типов (сплошного сечения, порошковой) и диаметра применяют механизмы подачи с
одной или двумя парами подающих роликов. Для механизированной сварки в защитных
газах применяют механизм подачи проволок, открытый на тележке (рисунок 13), с
кассетным устройством для бухты до 50 кг стальной проволоки.
Рисунок 13 Механизм подачи электродной проволоки
Подающий механизм снабжен быстродействующими
разъемами, не требующими специального инструмента при подключении к нему
сварочной горелки и внешних соединений. Подключение проводов и шлангов внешних
соединений производится в средней части подающего механизма, что уменьшает его
размеры и предохраняет места подключений от возможных изломов. Гибкий шланг
предназначен для подачи электродной проволоки, сварочного тока, защитного газа,
а иногда и охлаждающей воды в горелке. Выпускают горелки на сварочный ток 150,
315, 500 и 630 А вместе с гибкими шлангами в основном двух типов. В шлангах
типа А-547 токоведущая часть набрана из нескольких медных плетенок, натянутых на
стальную спираль, внутри которой помещена сменная спираль для подачи
электродной проволоки. Токоведущая часть, провода управления от пусковой
кнопки, а также газовая трубка для защитного газа помещены в общий резиновый
рукав. Составной шланг состоит из канала типа КН для подачи электродной
проволоки, токоведущей части, изготовляемой из сварочного кабеля типа ПРГ,
проводов управления от пусковой кнопки и газовой трубки (иногда применяют
совмещенные токогазоподводы). Все эти элементы соединены гибкими хомутами-стяжками,
расположенными друг от друга на расстоянии 200 мм по длине. Такие составные
шланги по сравнению с монолитными более гибки и облегчают работу с
полуавтоматом. При работе на больших сварочных токах применяют водяное
охлаждение горелки ( в этом случае в составной шланг входят и шланги для воды).
Рисунок 14 Схема специального шлангового кабеля
1. Спираль 2. Токоведущая часть 3. Изолированные проводники 4. Хлопчатобумажная
оплетка 5. Изоляция.
Подающие ролики предназначены для проталкивания
электродной проволоки внутрь шлангового прохода. Для лучшего сцепления с
проволокой на поверхности подающего ролика делают канавку или тупую мелкую
насечку (с шагом 0,8 мм); поверхность прижимного ролика гладкая. Для порошковой
проволоки механизм подачи содержит две пары роликов с канавкой ( все ролики
ведущие). Основным узлом полуавтомата является сварочная горелка. Горелка
предназначена для подвода к месту сварки проволоки, тока и защитного газа.
Горелка - сменный инструмент. Конфигурация и размеры горелок, их устройство
должны соответствовать типоразмеру свариваемой детали. Универсальные горелки
наименее удобны. По назначению горелки разделяют на горелки для автоматической
и для полуавтоматической сварки; по устройству - на горелки без охлаждения, с
воздушным охлаждением и водяным охлаждением. Выбираю горелку SB
500 W. Эта горелка для
полуавтоматической сварки в среде защитных газов. Удобная конструкция позволяет
выполнять продолжительные сварочные работы даже в труднодоступных местах.
Сверхмощный, но гибкий кабель, удобный разъем обеспечивают износостойкость и
простоту в эксплуатации.
Технические данные горелки приведены в таблице
11.
Рисунок 15 Горелка SB
500 W
Таблица 11- Технические характеристики сварочной
горелки
|
Параметры
|
Значения
|
|
Сварочный
ток, А
|
500
|
|
Рабочий
цикл, %
|
100
|
|
Поток
газа л/мин
|
10-20
|
|
Диаметр
проволоки, мм
|
0.8-1.6
|
Для выполнения механизированной сварки в
защитных газах, необходимо применение специальной газовой аппаратуры. К газовой
аппаратуре относится:
Баллоны (Рисунок 16) предназначены для хранения
и транспортировки защитного газа под высоким давлением. В зависимости от
емкости, различают баллоны малого литража (12л) и большого литража (более 12
л). Наибольшее применение имеют баллоны емкостью 40 дм3, размеры и масса
которых приведены ниже таблица 12.
Рисунок 16 Стальной баллон для газов. 1. Колпак
2. Вентиль 3. Горловина 4. Корпус 5. Стальной башмак.S
толщина стенки, D диаметр, L
высота.
Таблица 12- Размеры и масса баллонов
|
Параметры
|
Значения
|
|
Емкость
баллона, л
|
100
- 150
|
|
Толщина
стенки, мм
|
5,2
|
|
Длина
корпуса, мм
|
1340
|
|
Наружный
диаметр, мм
|
219
|
|
Масса,
кг
|
43
|
|
|
|
Баллоны для углекислого газа выполнены
цельнотянутыми. Для установки их в вертикальное положение, в нижней части
баллона напрессован башмак, в верхней части баллон имеет горловину закрытую
вентилем.
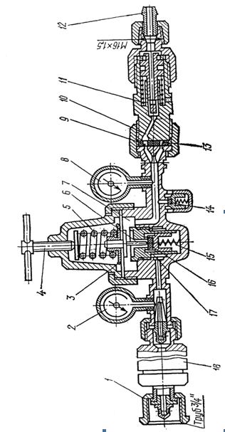
Редукторы предназначены для понижения давления
газа, поступающего в него из баллона или распределительного трубопровода, и
автоматического поддержания постоянным заданного рабочего давления. Давление
газа в баллоне показывает манометр высокого давления. Газ проходит через
приоткрытый пружиной клапан и поступает в камеру низкого давления. При
прохождении через клапан газ преодолевает значительное сопротивление, в
результате чего давление за клапаном, т.е. в камере низкого давления,
снижается. Это давление показывает манометр низкого давления. Из камеры низкого
давления защитный газ через вентиль направляется в сварочную головку
(держатель). Схема редуктора для углекислого газа показана на рисунке 14.
Регулирование рабочего давления защитного газа производится следующим образом.
При ввёртывании регулировочного винта сжимаются пружины, открывается клапан, и
давление в камере низкого давления повышается. Чем больше открыт клапан, тем
большее количество газа будет проходить через него и тем выше будет рабочее
давление газа. При вывёртывании винта, наоборот, клапан приоткрывается, и
давление газа в камере уменьшается. Автоматическое поддержание рабочего
давления в редукторе постоянным происходит таким образом. С уменьшением расхода
газа давление в камере низкого давления будет возрастать, и он с большой силой
будет давить на мембрану, которая отойдёт вниз и сожмёт пружину. При этом пружина
прикроет клапан и будет держать его в таком положении до тех пор, пока давление
в камере не станет вновь равным первоначальному. Наоборот, с увеличением
расхода газа его давление в камере низкого давления уменьшается, мембрана под
действием пружины перемещается вверх и открывает клапан. Таким образом,
автоматически регулируется подача газа из камеры высокого давления в камеру
низкого давления и тем самым поддерживается постоянным рабочее давление. При
случайном давлении свыше допустимого в камере низкого давления откроется
предохранительный клапан, и сжатый газ выйдет в атмосферу.
Рисунок 17. Схема газового редуктора У-30 для
углекислого газа
При сварке в углекислом газе или в его смесях
используют редукторы обратного действия, одновременно являющиеся расходомерами.
Подогреватель предназначен для подогрева углекислого газа, поступающего из
баллона в редуктор и предотвращения замерзания редуктора. При большом расходе
углекислого газа (вследствие поглощения теплоты при испарении жидкого
углекислого газа) температура газа понижается, что может привести к замерзанию
имеющейся в нём влаги и закупорке каналов редуктора.
Рисунок 18 Схема подогревателя
Подогреватель используют только при сварке в
углекислом газе. Он состоит из корпуса 1, трубки-змеевика 3, по которой проходит
углекислый газ, кожуха 2, теплоизоляции 4, и нагревательного элемента 5 из
хромоникелевой проволоки, расположенного внутри змеевика. Подогреватель крепят
к баллону накидной гайкой 6. Питание его осуществляется постоянным током
напряжением 36В. Провода от шкафа управления присоединяют к зажимам 7.
Осушитель, применяемый при использовании влажного углекислого газа для
поглощения из него влаги, может быть высокого и низкого давления. Осушитель
высокого давления устанавливают перед понижающим редуктором. Он имеет малые
размеры и требует частой замены влагопоглотителя, что неудобно в работе.
Осушитель низкого давления (рисунок19), имеющий значительные размеры,
устанавливают после понижающего редуктора.
Рисунок 19. Схема осушителя углекислого газа:
- камера; 2 - решетка; 3 - влагопоглотитель.
Он не требует частой замены влагопоглотителя.
Осушители низкого давления целесообразно применять главным образом при
централизованной газовой разводке. В качестве влагопоглотителя используют
силикагель или алюмогликоль, реже - медный купорос и хлористый кальций.
Силикагель и медный купорос, насыщенный влагой, поддаются восстановлению путем
прокаливания при температуре 250-3000С.
Расходомеры предназначены для измерения расхода
защитного газа. Они могут быть поплавкового и дроссельного типов. Расходомер
поплавкового типа - ротаметр (рисунок 20) - состоит из стеклянной трубки 1 с
коническим отверстием. Трубка располагается вертикально широким концом
отверстия вверх. Внутри трубки находится легкий поплавок 2. При прохождении
снизу вверх газ будет поднимать поплавок до тех пор, пока зазор между ним и
стеклянной трубкой не достигнет величины, при которой струи газа уравновешивают
массу поплавка. шкалой 3, тарированной по расходу воздуха. Для пересчета на
расход защитного газа пользуются графиками.
Рисунок 20 Общий вид ротаметра РС-3: а)
поплавкового типа б) дроссельного типа 1-стеклянная трубка с коническим
отверстием; 2-поплавок; 3-шкала.
Расходомер дроссельного типа построен на
принципе измерения перепада давления на участках до и после дросселирующей
диафрагмы, который зависит от расхода газа и замеряется манометрами. О
примерном расходе зашитого газа можно судить по показанию манометра низкого
давления газового редуктора. Для этого на выходе редуктора устанавливают
дросселирующую шайбу (дюзу) с небольшим калиброванным отверстием. Скорость
истечения газа через это отверстие, а следовательно, и расход газа будут
пропорциональны давлению газа в рабочей камере. Этот принцип использован в
редукторе У-30, где манометр показывает непосредственно расход газа, а не
давление в рабочей камере. С этой целью редуктор снабжен двумя дюзами с
калиброванными отверстиями разных диаметров. Поворотом корпуса клапана предельного
давления против соответствующей дюзы устанавливают канал, каждому положению
которого соответствует деление шкалы на манометре. При сборке балочных
конструкций необходимо обеспечить правильное взаимное расположение и прижатие
друг к другу по всей длине деталей, составляющих балку. Для изготовления балок
в условиях мелкосерийного и иногда серийного производства применяются стенды с
передвижными сборочными порталами. Передвижные порталы предназначены для сборки
вертикальных боковых стенок с горизонтальными поясами и диафрагмами коробчатых
балок. В зависимости от размеров собираемых балок применяются порталы разных
габаритных размеров, с пневматическими и гидравлическими прижимами, с приводом
передвижения и без него, с разным числом прижимов. На рисунке 21 изображен
самоходный портал с шестью горизонтальными и одним вертикальным пневматическими
прижимами. Портал состоит из сварной рамы 1, перемещающийся на колесах 6,
вертикального 3 и горизонтальных 4 пневмоприжимов и захватов 5. Захваты и
вертикальный прижим составляют замкнутую силовую систему, разгружающую раму и
ходовые колеса портала от вертикальных усилий. Воздух от цеховой сети
подводится к пневмоцилиндрам прижимов через распределительные краны 2. Портал
оборудован механизмом передвижения 7 с электродвигателем, червячным редуктором
и цепной передачей. Установленные на горизонтальном поясе, находящемся на
стеллаже, боковые листы удерживаются в вертикальном положении специальными
ручными стяжками. Портал устанавливается напротив мест прихватки (начиная с
конца балки), включаются боковые и верхний прижим, и производится прихватка
боковых стенок, прижатых к горизонтальному поясу и диафрагмам. После этого
прижим отводится, и портал передвигается вдоль балки к месту следующих
прихваток. Этот цикл повторяется необходимое число раз.
Рисунок 21 Схема сварочного портала Портал этого
типа используется для изготовления коробчатой балки длиной 10м с высотой 1.1м
Технические данные портала указаны в таблице 14
Таблица 13- Технические данные портала с
пневмоприжимом
|
Параметры
|
Значения
|
|
Размеры
собираемых балок, мм Высота Ширина Толщина вертикальных стенок Толщина
горизонтальных поясов
|
968-1374
450- 550 6 4-14
|
|
Количество
прижимов Вертикальных Горизонтальных
|
1
6
|
|
Усилия
прижимов, кгс Вертикальных Горизонтальных Колея портала, мм База портала, мм
Скорость передвижения портала м/мин
|
4000
1000 1250 1250 37
|
|
Габаритные
размеры портала, мм Длина Ширина Высота Масса, т
|
2600
2400 2915 2
|
Кантователи предназначены для установки свариваемых
изделий в удобное для сборки и сварки положение путем поворота вокруг
горизонтальной оси. Кантователи разделяются на двухстоечные, одностоечные,
цепные, рычажные, кольцевые, домкратные и для полотнищ. Двухстоечные
кантователи применяются для сборки и сварки балочных, рамных и решетчатых
конструкций и выполняются с неподъемными и с подъемными центрами. Последние
применяются для крупногабаритных изделий. Одностоечные имеют одну приводную
стойку типа, применяемого в двухстоечных кантователях, и используются при
сварке малогабаритных компактных изделий. Цепные служат для сварки балочных
конструкций и выполняются стационарными и передвижными. Рычажные используются
для сварки балочных конструкций и в отличие от цепных позволяют точно
фиксировать положение свариваемого изделия, поэтому они более предпочтительны
при автоматической сварке. Кольцевые применяются для сборки и сварки корпусных
и балочных конструкций, домкратные - для рамных и балочных. Для сварки балки
длиной десять метров используется передвижной кантователь с гидродомкратами.
Кантователь предназначен для перемещения и поворота при сварке балочных рамных
конструкций при сборке и сварке. Он состоит из двух подъемных крыльев 1,
несущей рамы 3 с двумя колесными парами холостой 5 и приводной 2, двух гидроцилиндров
4 и гидропривода. Рядом с кантователем устанавливают стеллажи, уровни которых
на 30 мм выше уровня крыльев в горизонтальном положении; таким образом,
кантователь в исходном положении (рисунок 22,а) может свободно передвигаться
под изделием, лежащим на стеллажах. Для поворота изделия направо поднимается
правое крыло и кантователь подъезжает вплотную к изделию (рисунок 22,б). Затем
крылья запирают замком и оба одновременно поворачивают на 900 направо вместе с
изделием (рисунок 22,в). Для поворота на больший угол (1800, 2700 и т.д.)
кантователь устанавливается в исходное положение (оба крыла опускаются),
проезжают под изделием (в сторону поворота) и цикл повторяется. Поворот в левую
сторону происходит аналогично. Для транспортировки изделие располагают под
углом 450 (как и для сварки «в лодочку», рисунок 22,г). При этом нижняя точка
изделия вместе с вершиной угла, образуемого крыльями, поднимается над стеллажом
на несколько десятков миллиметров, и изделие свободно устанавливается на место.
Рисунок 22 Схема кантователя с гидроприводом ст
р 48 Технические данные передвижного кантователя с гадродомкратами указаны в
таблице 14.
Таблица 14- Технические данные передвижного
кантователя с гидродомкратами
|
Параметры
|
Значения
|
|
Грузоподъемность,
т Наибольшие размеры свариваемых изделий: Длина, мм Ширина, мм Высота, мм
Угол поворота, град Габаритные размеры кантователя: Длина, мм Ширина, мм
Высота, мм Масса, кг
|
12
40000 2000 2000 360 3210 2000 550 5500
|
2.6 Контроль качества
Качество продукции - это совокупность свойств
продукции, обуславливающих ее пригодность удовлетворять определенные
потребности в соответствии с ее назначением. Контроль качества продукции- это
проверка соответствия показателей качества установленным требованиям. В
сварочном производстве в процессе сварки в металле шва и околошовной зоны могут
возникать различные отклонения от установленных норм и технологических
требований, приводящие к ухудшению работоспособности сварных конструкций и
снижению их эксплуатационной надежности, такие отклонения называются дефектами.
В сварочном производстве выделяют три типа дефектов:
· дефекты подготовки и сборки изделий
под сварку;
· дефекты формы шва;
наружные и внутренние дефекты; Дефекты
подготовки и сборки изделий под сварку. Характерными дефектами этого типа для
сварки плавлением являются неправильный угол скоса кромок в соединениях с
разделкой; слишком большое или малое притупление по длине стыкуемых кромок;
непостоянство зазора по длине стыкуемых элементов; слишком большой зазор;
расслоение и загрязнение кромок. Эти дефекты могут появиться из-за
неисправности станочного оборудования, на котором обрабатывались заготовки;
из-за плохого качества основного металла и из-за низкой квалификации
слесарей-сборщиков, ведущих подготовку.
Дефекты формы шва. Форма и размеры швов
указываются в чертежах, задаются техническими условиями и регламентируются
стандартами. Размеры швов зависят от толщины металла и условий эксплуатации,
при сварке плавлением могут появляться дефекты формы шва. Неравномерная ширина
шва, она образуется при неправильных движениях электрода зависящих от
зрительно-двигательной координации сварщика (ЗДК), а также из-за отклонения от
заданного зазора при сборке, (рисунок 23).
Подрезы представляют собой углубление в основном
металле по краям шва. Причинами появления этого дефекта является слишком
большой ток и повышенное напряжение дуги. Подрез уменьшает рабочую толщину
металла и вызывает местную концентрацию напряжений от рабочих нагрузок и может
явиться причиной разрушения шва.
Схема подреза Прожоги. Сквозное отверстие в
сварном шве, они образуются при сварке металла небольшой толщины и при сварке вертикальных
швов способом снизу вверх. Причинами прожогов является неравномерная скорость
сварки, увеличенный зазор между кромками деталей и резкое увеличение силы тока
из-за неисправности источника питания.
Это углубление, образующееся в конце шва при внезапном
прекращении шва. Особенно часто этот дефект возникает при выполнении коротких и
прерывистых швов. Размеры кратера зависят от величины сварочного тока и при
ручной дуговой сварке могут быть в пределах от 3 до 20 мм. Кратеры снижают
прочность сварного соединения т.к. являются концентраторами напряжения, при
вибрационной нагрузке прочность снижается в конструкциях из низкоуглеродистых
сталей на 25%, низколегированных 50%. Внутренние дефекты. К ним относятся:
поры, шлаковые включения, непровары, несплавления и трещины. Поры - полости
округлой формы заполненные газом, они образуются в результате загрязнения
кромок свариваемого металла, использование влажного флюса и газа, отсыревших
электродов, недостаточной защиты шва при сварке в среде углекислого газа, из-за
слишком большой длины дуги или скорости сварки. При сварке в углекислом газе и
под флюсом на больших токах могут образоваться сквозные поры (свищи), размеры
пор колеблются от 0,1 до 2-3 мм в диаметре.
а) равномерная сплошная б) скопление в) цепочка
· единичные - возникают из-за
случайных факторов;
· равномерная сплошная - возникает
из-за загрязнения основного металла, влажного газа, флюса
· скопление пор - из-за отсыревших
электродов;
цепочка пор - при сварке по ржавчине или при
подварке корня шва некачественными электродами; Непровар - дефект в виде
местного несплавления в сварном соединении из-за неполного расплавления кромок
или поверхностей, ранее выполненных валиков. Причинами напровара в корне шва
могут быть недостаточный скос кромок, слишком большое притупление или
недостаточная сила тока. Трещины - частичное местное разрушение сварного
соединения. Они могут быть в шве и околошовной зоне, являются самым опасным
дефектом т.к. могут привести к разрушению всей конструкции. металл сварка электростенд оборудование
Трещины могут быть:
· горячие - они образуются в процессе
кристаллизации и располагаются в основном на поверхности шва;
· холодные трещины - зарождаются по
истечении некоторого времени после окончания сварки и затем могут увеличиваться
на протяжении нескольких часов или даже суток, эти трещины чаще всего
располагаются в околошовной зоне.
Образованию трещин способствуют следующие
факторы:
· сварка легированных сталей в жестко
закрепленных конструкциях;
· высокая скорость охлаждения при
сварке среднеуглеродистых сталей, склонных к закалке на воздухе;
· применение высокоуглеродистой
проволоки при сварке легированных сталей;
· сварка при низких температурах.
Рисунок 29 трещины в сварных швах
а) в наплавленном металле б) в зонах сплавления
термического влияния. Трещины являются наиболее опасными дефектами, они
являются концентраторами напряжений и под действием нагрузки в процессе
эксплуатации могут привести к разрушению конструкции, поэтому относят к недопустимым
дефектам. По воздействию на материал или изделие методы испытаний
подразделяются на два класса: методы разрушающего (РК) и неразрушающего
контроля. Разрушающие испытания проводят обычно на образцах-свидетелях: на
моделях и реже на самих изделиях (на «штатных» стыках). Образцы-свидетели
сваривают из того же материала и по той же технологии, что и сварные
соединения. Разрушающие испытания, как правило, позволяют получить числовые
данные, прямо характеризующие прочность, качество или надежность соединений.
Если сварка образцов проведена в лабораторных условиях, то эти испытания
отображают качество образцов, выполненных без производственных дефектов. Обычно
механические испытания соединений и металла шва проводят на растяжение, изгиб,
сплющивание. По характеру нагрузки различают статические, динамические и
усталостные испытания. При НР-испытаниях, осуществляемых обычно на самих
изделиях, оценивают те или иные физические свойства, лишь косвенно
характеризующие качество, прочность или надежность соединения. Эти свойства
связаны с наличием дефектов и их влиянием на передачу энергии или движение
вещества в материале изделий.
Рисунок 16 Схема неразрушающего контроля Г.
генерирующий преобразователь П. приемный преобразователь И. индикаторное
устройство
Согласно ГОСТ 18353-79 методы НР-котроля в
зависимости от характера физических полей или веществ, взаимодействующих с
контролируемым объектом, подразделяют на девять основных видов: акустический,
магнитный, оптический, радиационный, радиоволновый, тепловой, проникающими
веществами (течеискание), электрический, вихретоковый. Для сварных соединений
широко применяют только пять: радиационный, акустический (ультразвуковой),
магнитный, капиллярный и течеискание. Технология контроля. При
радиаграфировании сварных соединений соблюдают определенную последовательность:
· выбирают источник излучения;
· выбирают радиаграфическую пленку и
определяют схему просвечивания;
· подготавливают объект к
просвечиванию;
· просвечивание сварных швов;
· фотообработка пленки, расшифровка
снимков оформления результатов контроля.
Выбор источника излучения обуславливается
технической целесообразностью и экономической эффективностью. Основными
факторами определяющими выбор источника является плотность и толщина материала,
кроме того учитываются условия контроля. Рентгенографию чаще применяют в
цеховых и реже в полевых условиях. Для контроля сварных соединений коробчатой
балки выбираю рентген аппарат РУП150-10П, который состоит из самостоятельного
генераторного устройства, рентгеновской трубки и пульта управления. Аппараты
этого типа выпускаются передвижными и стационарными, используются для работы в
цехе или лабораторных условиях. Технические данные которого указаны в таблице
17.
Таблица 16- техническая характеристика аппарата
|
Аппарат
|
Напряжение
на трубке
|
Ток,
мА
|
Размер
фокусного пятна, мм
|
Масса
аппарата, кг
|
Толщина
просвечивания, мм
|
|
РУП150-10П
|
35-100
|
10
|
5*5
|
670
|
45
|
Выбор пленки выполняется по толщине и плотности
материала конструкции, а также в зависимости от требуемой производительности и
чувствительности. Пленку РТ-1 используют для контроля сварных соединений
больших толщин так как она обладает высокой контрастностью и чувствительностью
к излучению. Пленку РТ-2 применяют при просвечивании деталей различной толщины
при этом время просвечивания по сравнению с другими пленками наименьшее. Пленки
РТ-3 и РТ-4 используются для контроля изделий из алюминиевых сплавов и черных
металлов толщиной до 5мм. Выбираю пленку РТ-5 которая применяется для контроля
ответственных изделий, эта пленка обладает высокой контрастностью и позволяет
выявлять даже незначительные дефекты, но имеет не высокую чувствительность к
излучению, поэтому время контроля увеличивается. Характеристики пленки указаны
в таблице 16.
Таблица 15- Характеристика радиаграфической
пленки
|
Тип
|
Чувствительность
р-1
|
Коэффициент
контрастности
|
Разрешающая
способность, мм-1
|
|
РТ-5
|
3-5
|
3,5
|
140-180
|
Сварное соединение разбивают на участки
контроля, которые маркируют для того чтобы после просвечивания можно было точно
установить место дефекта. Пленка должна маркироваться в том же порядке.
Просвечивание изделия. Источник нужно установить так чтобы во время
просвечивания он не мог сдвинуться с места иначе изображение на пленке будет
размыто. После определенного времени просвечивания кассету с пленкой снимают и
подвергают фотообработке, процесс фотообработки пленки подвергают следующим
операциям:
· проявление;
· промежуточную промывку;
· фиксирование изображения;
· промывку в непроточной воде;
окончательную промывку и сушку пленки. Самым
ответственным этапом является расшифровка снимков. Задача расшифровщика
заключается в выявлении дефектов, видов и размеров. При измерении размеров
изображений дефектов до 1,5 мм применяют измерительную лупу, если размер
дефекта больше 1,5 мм, то используют прозрачную измерительную линейку. При
расшифровке снимков нужно отличать дефекты, вызванные плохим качеством пленки
от дефектов шва. В сомнительных случаях шов подвергают повторному
просвечиванию. Результаты контроля оформляют в виде записи буквенно - цифровыми
обозначениями. При этом приняты следующие обозначения дефектов: Т - трещина, Н
- непровар, П - пора, Ш- шлаковое включение, В- вольфрамовое включение, Пд-
подрез, См- смещение кромок, Р- разностенность, О- ослабление корня шва, ЦП- цепочка
пор.
3. Специальная часть
.1 Описание конструкции
электростенда
Электростенд представляет собой планшет
размерами 50*780*1330мм, на котором изображена схема механизированного
сборочно-сварочного участка изготовления крановых балок (рисунок 31). Схема
включает пять рабочих мест, обозначенных соответствующими цифрами. На первом
рабочем месте изображен стеллаж, на котором с помощью магнитного
листоукладчика, раскладываются листы для сборки и сварки полок. Сварка ведется
двумя полуавтоматами в среде углекислого газа которые также изображены на
схеме.
Второе рабочее место показано также в виде
стеллажа, на котором ведется установка и сварка диафрагм с полкой. Третье
рабочее место представляет процесс сборки вертикальных листов с «гребенкой» с
помощью перемещающегося портала. Четвертое рабочее место показано в виде двух
стеллажей, на которых выполняется сварка стыков вертикальных листов и приварка
к ним диафрагм. Сварка на всех четырех участках ведется в среде углекислого
газа. На пятом участке показана сварка поясных швов балки которая выполняется
полуавтоматами с блоком БУСП настроенными на режим «сварка длинными швами», но
возможен и вариант обыкновенной полуавтоматической сварки. Процесс сварки на
всех рабочих местах показан светодиодами, которые включаются тумблерами с
пульта управления. Пульт управления расположен в левом верхнем углу стенда, что
удобно для включения и демонстрации. Стенд питается от сети 220 В. Электростенд
может использоваться в качестве учебно-наглядного пособия при изучении
дисциплин «Производство сварных конструкций», «Оборудование механизация
сварочных процессов», «Источники питания и оборудование для электрической
сварки плавлением». Использование электростенда в учебном процессе помогает
студентам лучше усвоить материал и повышает качество их знаний.
3.2 Принцип работы электростенда
Перед началом демонстрации электростенда
необходимо проверить исправность токоведущих частей и тумблеров пульта
управления. При включении вилки в сеть 220 В через блок питания на электростенд
подается напряжение 12 В, демонстрация стенда ведется с пульта управления,
схема которого показана на (рисунке 32).
При включении тумблера 1 в положение В
загораются два светодиода красного цвета которые имитируют сварку стыковых швов
полки. При включении тумблера 2 в положение В загораются два красных светодиода
имитирующие сварку диафрагм к полке. При включении тумблера 3 в положение В
загораются два светодиода синего цвета и два светодиода красного цвета, синие
светодиоды показывают положение сборочного портала, а красные, прихватку
вертикальных листов к диафрагмам и поясу. При включении тумблера 4 в положение
В загораются два красных светодиода красного цвета которые показывают процесс
приварки диафрагм к вертикальным листам. При включении тумблера 5 в положение В
загораются два красных светодиода которые имитируют процесс сварки поясных
швов. При включении всех тумблеров в положение 0 светодиоды отключаются. В
процессе эксплуатации стенда нужно периодически заменять светодиоды и проверять
контакты тумблеров пульта управления.
4. Экономическая часть
.1 Расчет первоначальной балансовой
стоимости оборудования
Таблица 18- Первоначальная балансовая стоимость
оборудования
|
Статьи
затрат
|
Единицы
измерений размеры
|
сумма
|
|
|
|
|
|
1.
Покупаемая стоимость оборудования
|
Тыс.
руб.
|
446
|
490,6
|
|
2.
Транспортные расходы
|
Тыс.
руб.
|
22,3
|
24,53
|
|
3.
Стоимость запчастей
|
Тыс.
руб.
|
22,3
|
24,53
|
|
4.
Стоимость тары и упаковки
|
Тыс.
руб.
|
14,05
|
15,46
|
|
5.
Стоимость не учтенных расходов
|
Тыс.
руб.
|
23,42
|
25,46
|
|
6.
Стоимость монтажных работ
|
Тыс.
руб.
|
133,8
|
147,18
|
|
7.
Заготовительно-складские, погрузочно-разгрузочные работы
|
Тыс.
руб.
|
18,73
|
20,6
|
|
Итого
|
Тыс.
руб.
|
680,6
|
748,66
|
. Расчет транспортных расходов

=
*(2;5)/100, (тыс. руб.),


- транспортные расходы

- покупная стоимость оборудования

=
*(2;5)/100=446*5/100=22.3 (тыс.
руб.)
Расчет
стоимости запасных частей

=
*5/100, (тыс. руб.)

-стоимость запасных частей

=
*5/100=446*5/100=22,3 (тыс. руб.)
2. Расчет стоимости тары и упаковки

=
*(2;3)/100, (тыс. руб.)

-стоимость упаковки или тары

=
*(2;3)/100=(446+22,3)*3/100=14,05
(тыс. руб.)
3. Расчет стоимости неучтенных расходов

=
*(3;5)/100, (тыс. руб.)

-стоимость неучтенных расходов

=
*(3;5)/100=(446+)*5/100=23,42 (тыс.
руб.)
4. Расчет стоимости строительно-монтажных
работ

=Со*(20;30)
/100, (тыс.
руб.)
где 
-стоимость строительно-монтажных
работ

=446*30/100=133,8 (тыс.руб.)
5. Расчет заготовительно-складских работ

=
(2;4)/100, (тыс. руб.)
где 
-стоимость складских работ

=
(2;4)/100=(446+22,3)*4/100=18,73
(тыс. руб.)
6. Расчет капитальных затрат
К=
,(тыс. руб.)
где К- капитальные затраты
К=446+22,3+22,3+14,05+23,42+133,8+18,73=
680,6 (тыс. руб.)

-капитальные затраты действующему
оборудованию

-капитальные затраты по проектному
оборудованию
К2=К1*1,1 4.2 Расчет годовой
производительности оборудования по проекту
Таблица 19- фонд рабочего времени
|
Наименование
показателей
|
Количество
дней
|
|
Календарный
фонд времени
|
365
|
|
Плановый
ремонт
|
45
|
Тпл=365-Р, (дней)
где Р- количество дней на ремонт оборудования
Тпл=365-45=320 дней
Расчет годовой производительности оборудования

=
*
, (нат. показ.)
Псут =26*23=598 метров

=
*
, (нат. показ.)
Где 
- годовая производительность
оборудования

-суточная производительность
оборудования

- плановый рабочий период (днях)

=598 метров
Пгод=598*320=191360 (нат. Показ)
Таблица 20- Производительность
оборудования
|
Наименование
оборудования
|
дни
|
м
|
м
|
|
ВДГ-601
|
320
|
598
|
191360
|
4.3 Расчет амортизации и силовой
энергии
12. Расчет амортизации по действующему
оборудования

=
*N/100, (тыс.
руб.)
где 
-первоначальная стоимость
оборудования

-амортизация действующего
оборудования, (тыс. руб.)
N-норма
амортизации(%) принимается от 12 до 15%

=446*15/100=66,9 (тыс. руб.)
13 Расчет силовой энергии и ее стоимости

=М*Ч*Д*Ц*
(тыс. руб.)
где 
- стоимость силовой энергии
М- мощность оборудования (кВт)
Ц- тарифная цена за 1кВТ/ч. (руб.)

- коэффициент использования мощности
двигателя,

=0,95
Д- число дней работы в году
Ч- число часов работы в сутки

=69*23*320*1,6*0,95=771,92(тыс.
руб.)
4.4 Расчет заработной платы и
отчислений
. Расчет заработной платы

=
*Ч*Т*t*N*n*(1+
/100), (руб.)
Где 
- тарифная ставка за час
Т- количество месяцев в году
Ч- число рабочих
t-
длительность смены
N- количество
дней в месяц
n- количество
дней в сутки

- премия с учетом дополнительной
з/п,

=50-70%

=25*12*6*11,5*30*2*(1+70/100)=2111400
руб.=2111,4(тыс.руб.)
К дополнительным затратам относятся:
Оплата отпускных, оплата
командировочных, оплата за работу ночное время и праздничные дни.
.Расчет районного коэффициента.

=
*
, (руб.)
где 
- весь фонд заработной платы за год
(руб.)

- районный коэффициент

=1,6

=2111,4*1,6=3378,24 (тыс. руб.)
Расчет отчислений от заработной
платы
Отчисления =
*
/100, (тыс. руб.)
где 
- процентное отчислений (26%)
Отчисления =3378,24*26/100=878,34
(тыс. руб.)
4.5 Расчет затрат на содержание и
текущий ремонт оборудования
. Расчет затрат на содержание и
текущий ремонт оборудования

=
*
/100, (тыс. руб.)
где 
- затраты на содержание и текущий
ремонт (тыс. руб.)

- процент отчислений на содержание и
текущий ремонт по нормативу
Условно принимаем 
=30%

=3378,24*30/100=1013,47(тыс. руб.)
. Расчет затрат на спецодежду
Согласно нормативу расход на спецодежду
3000руб. на человека

=3000*Ч/1000 (тыс. руб.)
где 
- расход на спецодежду
Ч- число людей

=3000*12/1000=36 (тыс. руб.)
4.6 Расчет эксплуатационных затрат
оборудования на действующем предприятие
.Рассчитывается амортизация
проектного оборудования

=
*N/100, (тыс.
руб.)
где 
- первоначальная стоимость
оборудования по проекту
N- норма
амортизации (%), принимается 15%

=490,6*15/100=73,59 (тыс. руб.)
.Расчитываем расход электродной
проволоки
G=(
*
*
*
)-3%
где 
- масса наплавленного металла

- величина сварочного тока

- время работы оборудования за сутки
G=(10*400*23*320)*0,97=28556,8кг
. Находим стоимость электродной
проволоки на производственную программу.
Рэ в год =G*Ц (тыс.
руб.)
где Ц- цена электродной проволоки
(тыс. руб.)
Рэ в год=28556,8*40/1000=1142,27
(тыс. руб.)
. Рассчитываем расход углекислого
газа
С= 16*Р*Д(литров)
где Р- число часов работы в сутки
Д- число дней работы в году
С = 16*23*320=117760(литров)
. Находим стоимость углекислого газа
Ц= С*ц/1000 (тыс.руб.)
где С - расход газа
ц - стоимость 1л газа (руб)
Ц=117760*8.5/1000=1000.96 (тыс.руб.)
. Рассчитываем стоимость за аренду
А=У*П*М/1000 (тыс.руб.)
где У- стоимость аренды за 1кв.м
П - требуемая площадь
М - количество месяцев в году
А=200*100*12/1000=240(тыс.руб.)
Таблица 21- Эксплуатационные затраты
оборудования на действующем и проектном предприятие
|
Наименование
статей затрат
|
Единицы
измерения
|
Действующие
оборудование С1
|
Проектное
оборудование С2
|
|
Годовая
производительность
|
М.
шва
|
191360
|
210496
|
|
Амортизация
|
Тыс.
руб
|
66,9
|
73,59
|
|
Энергия
|
Тыс.
руб
|
771,92
|
849,11
|
|
Заработная
плата
|
Тыс.
руб
|
3378,24
|
3378,24
|
|
Отчисления
|
Тыс.
руб
|
878,34
|
878,34
|
|
На
содержание и текущий ремонт
|
Тыс.
руб
|
1013,47
|
1013,47
|
|
На
спецодежду
|
Тыс.
руб
|
36
|
36
|
|
Расход
проволоки
|
Тыс.
руб
|
1142,27
|
1256,5
|
|
Расход
углекислого газа
|
Тыс.руб.
|
1000,96
|
1101,5
|
|
Расход
на аренду
|
Тыс.руб.
|
240
|
240
|
|
Итого
|
Тыс.
руб
|
8528,1
|
8826,5
|
Таблица 22- Расчет эксплуатационных затрат на
единицу изделия
|
Наименование
статей затрат
|
Единицы
измерения
|
Действующие
оборудование С1
|
Проектное
оборудование С1
|
|
Годовая
производительность
|
М
шва
|
191360
|
210496
|
|
Амортизация
|
руб
|
0,35
|
0,35
|
|
Энергия
|
руб
|
4,03
|
4,03
|
|
Заработная
плата
|
руб
|
17,65
|
16,05
|
|
Отчисления
|
руб
|
4,59
|
4,17
|
|
На
содержание и текущий ремонт
|
руб
|
5,29
|
4,81
|
|
На
спецодежду
|
руб
|
0,18
|
0,17
|
|
Расход
проволоки
|
руб
|
5,97
|
5,97
|
|
Углекислый
газ
|
руб
|
5,23
|
5,23
|
|
Аренда
|
Руб
|
1,25
|
1,25
|
|
Итого
|
руб
|
44,54
|
41,92
|
С1А=А1/П1*1000(руб.)
где С1- затраты действующего оборудования
С1Э=771,92/191360*1000=4,03(руб)
С1зп=3378,24/191360*1000=17,65(руб)
С1отч=878,34/191360*1000=4,59(руб)
С1стр=1013,47/191360*1000=5,29(руб)
С1Спец=36/191360*1000=0,18(руб)
С1Рп=1142,47/191360*1000=5,97(руб)
С1Р.уг=1000,96/191360=5,23(руб)
С1Ра=240/191360*1000=1,25(руб)
С1=С1А+С1Э+С1зп+С1отч+С1стр+С1Спец+С1Рп+С1Р.уг+С1Ра=0,35+4,03+17,65+4,59+5,29+0,18+5,97+5,23+1,25=44,54(руб.)
С2А=А2/П2*1000(руб.)
где С2- эксплуатационые затраты единиц изделия
по проектному оборудованию
С2А=73,59/210496*1000=0,35(руб)
С2Э=849,11/210496*1000=4,03(руб)
С2зп=3378,24/210496*1000=16,05(руб)
С2отч=878,34/210496*1000=4,17(руб)
С2ст.р=1013,47/210496*1000=4,81(руб)
С2спец=36/210496*1000=0,17 (руб)
С2Рп=1256,5/210496*1000=5,97(руб)
С2Руг=1101,5/210496*1000=5,23(руб)
С2Ра=240/210496*1000=1,14(руб)
С2=С2А+С2Э+С2зп+С2отч+С2ст.р+С2спец+С2Рп+С2Руг+С2Ра=0,35+4,03+16,05+4,17+4,81+0,17+5,97+5,23+1,14=41,92(руб.)
4.7 Расчет экономической
эффективности
Находим разность действующего оборудования к
проектному, по каждой статье эксплуатационных затрат.
П1год-П2год=191360-210496= 19136
С1А-С2А=66,9-73,59= -6,69
С1Э-С2Э=771,92-849,11= -77,19
С1зп-С2зп=3378,24-3378,24=0
С1отч-С2отч=878,34-878,34=0
С1стр-С2стр=1013,47-1013,47=0
С1спец-С2спец=36-36=0
С1Рп-С2Рп=1142,47-1256,5= -114,03
С1руг-С2Руг=1000,96-1101,5= -100,54
С1Ра-С2Ра=240-240=0
Таблица 23- Эффективность проектного
оборудования
|
Наименование
статей затрат
|
Отклонения
|
|
Годовая
производительность
|
19136
|
|
Амортизация
|
-6,69
|
|
Энергия
|
-77,19
|
|
Заработная
плата
|
0
|
|
Отчисления
|
0
|
|
На
содержание и текущий ремонт
|
0
|
|
На
спецодежду
|
0
|
|
Расход
проволоки
|
-114,03
|
|
Расход
газа
|
-100,54
|
|
Расход
на аренду
|
0
|
|
У.Г.Э.
|
557,81
|
Расчет условно годовой экономии (У.Г.Э.)
У.Г.Э.=(
-
)*
(тыс. руб.)
где 
- эксплуатационные затраты на
единицу изделия по действующему оборудованию

- эксплуатационные затраты на
единицу изделия по проектному оборудованию

- годовая производительность по
проекту
5. Охрана труда и пожарная
безопасность при сварке в защитных газах.
.1 Охрана труда
Охрана труда представляется
комплексом технических и организационных мероприятий, направленных на создание
безопасных и здоровых условий труда работающих. Охрана труда, прежде всего
предусматривает предотвращение производственного травматизма. Главной
материальной основой улучшения условий труда являются новые методы
производства, новая техника, комплексная механизация и автоматизация
производства. Трудовым законодательством предусмотрен ряд льгот для
рабочих-сварщиков. К сварочным работам допускаются лица не моложе 18 лет после
сдачи техминимума по правилам техники безопасности. Нормальная
продолжительность рабочего времени не может превышать 40 часов в неделю.
Работодатель обязан вести учет времени, фактически отработанного каждым
работником. По соглашению между работником и работодателем могут
устанавливаться как при приеме на работу, так и впоследствии неполный рабочий
день или неполная рабочая неделя. Продолжительность ежедневной работы (смены)
не может превышать:
· для работников в возрасте от 15 до
16 лет - 5часов, в возрасте от 16 до 18 лет - 7часов;
учащихся общеобразовательных учреждений,
образовательных учреждений начального и среднего профессионального образования,
совмещающих в течение учебного года учебу с работой, в возрасте от 14 до 16 лет
- 2,5 часа, в возрасте от 16 до 18 лет - 3,5 часа. В непрерывно действующих
организациях и на отдельных видах работ, при выполнении которых невозможно
уменьшение продолжительности работы (смены) в праздничный день, переработка
компенсируется предоставлением работнику дополнительного времени отдыха или, с
согласия работника, оплатой по нормам, установленным для сверхурочной работы.
Российским законодательством предусмотрены следующие льготы и компенсации:
· сокращенная (но не более 36 часов в
неделю) продолжительность рабочего времени (ст.92 ТК РФ);
· ежегодный дополнительный
оплачиваемый отпуск (ст. 116-119 ТК РФ);
· повышенная оплата труда (ст.146-150
ТК РФ);
· досрочный выход на пенсию (ст. 12
Закона РФ от 20 ноября 1990г №340-1 «О государственных пенсиях в Российской
федерации»;
· бесплатная выдача молока или других
равноценных пищевых продуктов (ст. 222 ТК РФ);
· бесплатное лечебно-профилактическое
питание (ст.222 ТК РФ);
· бесплатная выдача специальной
одежды, специальной обуви и других средств индивидуальной защиты (ст.221 ТК
РФ);
бесплатная выдача мыла и других моющих средств
(ст. 221 ТК РФ); Обязанность создания нормальных условий труда сварщикам
непосредственно на производственных участках и рабочих местах возлагается на
мастеров и начальников участков. Организация каждого рабочего места должна
обеспечивать безопасное выполнение работ. Рабочие места должны быть оборудованы
различного рода ограждениями, защитными и предохранительными устройствами и
приспособлениями. При правильно организованном производстве, обеспечении
условий охраны труда и соблюдении правил техники безопасности и
производственной санитарии сварка не представляет собой особо вредного и
опасного технологического процесса. Однако для создания безопасных условий
работы сварщиков необходимо учитывать кроме общих положений техники
безопасности на производстве также особенности выполнения различных сварочных работ.
Такими особенностями являются возможные поражения электрическим током,
отравления вредными газами и парами, ожоги излучением сварочной дуги и
расплавленным металлом, поражения от взрывов баллонов со сжатыми и сжиженными
газами.
5.2 Электробезопасность
Эксплуатация основного и вспомогательного
промышленного оборудования связана с применением опасной для человека
электрической энергии. Электрический ток, проходя через организм человека,
оказывает термическое, электролитическое и биологическое действие, вызывая
местные и общие электротравмы (электрические удары). Общие электрические травмы
или электрические удары по тяжести делятся на четыре степени:
· I
степень характеризуется судорожным сокращением мышц без потери сознания;
· II
степень характеризуется сокращением мышц с потерей сознания, но при
сохранившимся дыхании и работе сердца;
· III
степень характеризуется потерей сознания и нарушением сердечной деятельности
или дыхания (или того и другого сразу);
IV
степень характеризуется клинической («мнимой») смертью, то есть отсутствием
дыхания и кровообращения (обычно 4-5 минут, иногда 7-8). Поражение
электрическим током происходит при соприкосновении человека с токоведущими
частями оборудования. Сопротивление человеческого организма в зависимости от его
состояния (утомленность, влажность кожи, состояние здоровья) меняется в широких
пределах от 1000 до 20 000 Ом. Напряжение холостого хода источников питания
дуги достигает 90 В, а сжатой дуги - 200 В. В соответствии с законом Ома при
неблагоприятном состоянии сварщика через него может пройти ток, близкий к
предельному: Для предупреждения возможного поражения электрическим током при
выполнении электросварочных работ необходимо соблюдать основные правила.
· Корпуса
оборудования и аппаратуры, к которым подведен электрический ток, должны быть
надежно заземлены.
· Все электрические
провода, идущие от распределительных щитов и на рабочие места должны быть
надежно изолированы и защищены от механических повреждений.
· Запрещается
использовать контур заземления, металлоконструкций зданий, а также трубы
водяной и отопительной систем в качестве обратного провода сварочной цепи.
· 4. При выполнении
сварочных работ внутри замкнутых сосудов (котлов, емкостей, резервуаров)
следует применять деревянные щиты, резиновые коврики, перчатки, галоши. Сварку
необходимо проводить с подручным, находящимся вне сосуда. Следует помнить, что
для осветительных целей внутри сосудов, а также в сырых помещениях применяют
электрический ток напряжением не выше 12 В, а в сухих помещениях - не выше 36
В. В сосудах без вентиляции сварщик должен работать не более 30 мин с
перерывами для отдыха на свежем воздухе.
Монтаж, ремонт
электрооборудования и наблюдение за ним должны выполнять электромонтеры.
Сварщикам категорически запрещается исправлять силовые электрические цепи. При
поражении электрическим током необходимо немедленно выключить ток первичной
цепи или освободить от его воздействия пострадавшего, обеспечить к нему доступ
свежего воздуха, вызвать врача, а при необходимости до прихода врача сделать
искусственное дыхание.
5.3 Защита от
вредного влияния выделяющихся газов и пыли
В процессе сварки выделяется
значительное количество аэрозоля, состоящего в основном из оксидов железа (до
70%), марганца, диоксида кремния и фтористых соединений, способных отравить
работающего. Наряду с кратковременным отравлением, проявляющимся в виде
головокружения, головной боли, тошноты, рвоты слабости, отравляющие примеси
могут откладываться в тканях организма человека и вызывать хронические
заболевания. Особое внимание обращаю на концентрацию марганца, так как его
наличие в воздухе, в количестве 0,3 мг/м3 и выше может вызывать тяжелые
заболевания нервной системы. Наиболее вредной является ручная дуговая сварка
покрытыми электродами. При автоматических способах сварки количество выделений
значительно меньше. Под воздействием ультрафиолетового излучения дуги в зоне ее
горения образуется озон, а при попадании в зону сварки воздуха - оксиды азота.
Эти продукты являются весьма
вредными для дыхательных путей человека. Подаваемый в зону сварки углекислый
газ не ядовит, но под действием высокой температуры дуги он разлагается на
кислород и оксид углерода, который, выходя из области высоких температур, вновь
окисляется кислородом воздуха, снова превращаясь в углекислый газ. Последний
более тяжелый, чем воздух, и скапливается в нижних частях помещения, вытесняя
воздух. Это может привести к нехватке кислорода для дыхания сварщика. Поэтому
там, где ведется сварка в углекислом газе, а также в аргоне, необходимо
устраивать отсосы из нижних частей помещений. В зимнее время приточная
вентиляция должна подавать в помещение подогретый воздух.
Отсосы местной вытяжной
вентиляции на стационарных сварочных постах располагают в нижней задней части
сварочного стола, а на подвижных сварочных постах рекомендуется использовать
переносные отсосы. Успешно применяются также местные отсосы газа,
устанавливаемые непосредственно на сварочных горелках и держателях при
механизированной сварке. При отравлении пострадавшего необходимо вынести на
свежий воздух, освободить от стесненной одежды и предоставить ему покой до
прибытия врача, а при необходимости следует применить искусственное дыхание.
5.4 Правила
обращения с баллонами
Электросварщику в процессе
работы приходится пользоваться баллонами для сжатых (аргон, гелий) и сжиженных
(углекислый газ) газов. При работе с ними необходимо соблюдение следующих мер
безопасности:
. не следует допускать
падение баллонов, а также ударов их друг о друга;
. баллоны нужно носить
на носилках или перевозить на тележках;
. в летнее время баллоны
необходимо защищать от нагрева солнечными лучами брезентом или другими
средствами;
. открывать вентиль
баллона следует плавно, без рывков, пользоваться специальным ключом;
. при замерзании
баллонных вентилей и редукторов (что бывает при интенсивном отборе газа)
отогревать их можно только горячей водой (применять открытый огонь нельзя);
для понижения давления до
рабочего следует пользоваться исправными газовыми редукторами, предназначенными
для данного газа и окрашенными в соответствующий этому газу цвет. При
пользовании баллонами должны соблюдаться правила перевозки, хранения, установки
их в рабочее состояние, уровни наполнения и выработки, опознавательная окраска,
предусмотренные «Правилами устройства и безопасной эксплуатации сосудов,
работающих под давлением». Баллоны получают со склада только по нарядам
требованиям за подписью ответственного за работу лица. Баллоны, доставляемые к
месту производства работ, должны быть осторожно сняты с транспорта, вертикально
установлены и надежно прикреплены к стойке металлическим хомутом или цепью для
предохранения от падения, а также защищены от ударов и падения на них
каких-либо предметов с высоты.
5.5 Защита от
механических травм и ожогов
Основными причинами
механических травм на производстве при сборочно-сварочных работах могут быть:
отсутствие приспособлений для транспортировки и сборки тяжелых деталей;
неисправные транспортные средства (тележки, краны); неисправный и непроверенный
такелаж (канаты, цепи, тросы, захваты); неисправный инструмент (кувалды,
молотки, зубила, ключи); незнание и несоблюдение персоналом основных правил по
такелажным работам.
При сборочно-сварочных работах
чаще всего наблюдаются травмы в виде ушибов и ранений рук (от неумелого
обращения с инструментом и деталями) и ног (от падения собираемых деталей).
Правильно оснащенное рабочее место сварщика должно полностью обеспечить
работающих от всяких механических повреждений. Ожоги. При сварке электродный
металл и шлак разбрызгиваются; горячие брызги могут попасть на незащищенную
кожу сварщика или вызвать тление и прогорание одежды, а тем самым ожоги. Для
защиты от ожогов, сварщиков обеспечивают специальной одеждой, обувью,
рукавицами и головным убором. Электрическая сварочная дуга излучает яркие
видимые световые лучи и невидимые- ультрафиолетовые и инфракрасные. Световые
лучи оказывают ослепляющее действие, так как их яркость значительно превышает
норму, допускаемую для человеческого глаза (до 10 000 раз). Ультрафиолетовые
лучи даже при кратковременном воздействии в течение нескольких секунд вызывают
заболевание глаз, называемое электроофтальмией. Оно сопровождается острой
болью, резью в глазах, слезотечением, спазмами век. Продолжительное действие
ультрафиолетовых лучей приводит к ожогам кожи. Инфракрасные лучи при длительном
воздействии вызывают помутнение хрусталиков глаз (катаракта), что может
привести к ослаблению и потере зрения, тепловое действие этих лучей вызывает
ожоги кожи. Зашита зрения и кожи лица при дуговой сварке обеспечивается
применением щитков, масок или шлемов, в смотровые отверстия которых вставляют
светофильтры, задерживающие и поглощающие излучение дуги. В зависимости от
мощности дуги применяют различные светофильтры. Для защиты окружающих от
излучения дуги в стационарных условиях устанавливают закрытые кабины, а при
строительных и монтажных работах применяют переносные щиты и ширмы. Для
предохранения рук сварщиков от ожогов от излучения дуги, а также брызг
расплавленного металла необходимо надевать защитные рукавицы, а тело прикрывать
специальной одеждой (обычно брезентовые куртки, брюки).
5.6 Противопожарная
безопасность
Промышленные предприятия часто
характеризуются повышенной взрывопожаробезопасностью, так как их отличает
сложность производственных установок, значительное количество легковоспламеняющихся
и горючих жидкостей; сжиженных и горючих газов; твердых сгораемых материалов;
большое количество емкостей и аппаратов, в которых находятся пожароопасные
продукты под давлением; разветвленная сеть трубопроводов с регулировочной
аппаратурой; большая оснащенность электроустановками. Пожарная безопасность-это
состояние объекта, при котором исключается возможность пожара, а в случае его
возникновения предотвращается воздействие на людей опасных факторов пожара и
обеспечивается защита материальных ценностей. С учетом этого определения
разрабатывают профилактические мероприятия и систему пожарной защиты. Причинами
пожара при сварочных работах могут быть искры и капли расплавленного металла и
шлака. Опасность пожара особенно следует учитывать на строительно-монтажных
площадках и при ремонтных работах в неприспособленных для сварки помещениях.
Для предупреждения пожаров
необходимо соблюдать следующие противопожарные меры:
· нельзя хранить вблизи от места
сварки огнеопасные или легковоспламеняющиеся материалы, а также производить
сварочные работы в помещениях, загрязненных промасленной ветошью, бумагой,
отходами дерева;
· запрещается
пользоваться одеждой и рукавицами со следами масел, жиров, бензина, керосина и
других горючих жидкостей;
· запрещается
выполнять сварку аппаратов, находящим под электрическим напряжением, и сосудов,
находящихся под давлением; нельзя проводить без специальной подготовки сварку и
резку емкостей из-под жидкого топлива;
· нужно постоянно
иметь противопожарные средства - огнетушители, ящики с песком, лопаты, ведра,
пожарные рукава - и следить за их исправным состоянием, а также содержать в
исправности пожарную сигнализацию;
после окончания сварочных работ
необходимо выключить сварочный аппарат, а также убедиться в отсутствии горящих
или тлеющих предметов. Несмотря на принимаемые меры на производстве может
возникнуть необходимость локализации (тушения) пожара. Для этого используются
огнетушащие вещества.
К ним относятся - вода, пена,
газы, пар, порошковые составы.
Для подачи воды в установки
пожаротушения используют специальные водопроводы. Пена представляет собой
концентрированную эмульсию диоксида углерода в водном растворе минеральных
солей, содержащих пенообразующее вещество. При тушении пожара газами и паром
используют диоксид углерода, азот, дымовые газы.
Запрещается применять воду и
пенные огнетушители при тушении керосина, бензина, нефти, горящих электрических
проводов. В этих случаях следует пользоваться песком, углекислотными или сухими
огнетушителями.
Список используемых источников
1. Акулов А.И. Сварка в
машиностроении. Т.
Москва «Машиностроение» 1978г. 462с.
Виноградов В.С. Электрическая дуговая сварка. Москва «Академия» 2008г. 320с.
Волченко В.И. Контроль качества сварных конструкций. Москва «Машиностроение»
1986г. 152с. Зорин Ю.Н. Сварка в машиностроении. Т.2 Москва «Машиностроение»
1987г. 254с. Патон Б.Е. Технология электрической сварки металлов и сплавов
плавлением. Москва «Машиностроение» 1974г. 768с. Патон Б.Е. Машиностроение.
Москва «Машиностроение» 1999г. 496с. Потапьевский А.Г. Сварка в защитных газах
плавящимся электродом. Москва «Машиностроение» 1974г. 240с. Рукосуев А.П.
Материаловедение. Красноярск 2003г. 398с. Соломенцев Ю.М. Безопасность
жизнедеятельности в машиностроении. Москва «Высшая школа» 2002г. 310с. Гилевич
А.Д. Животинский Л.А. Клейнер А.И. Альбом механического оборудования сварочного
производства. Москва «Высшая школа» 1974г. 159с. Фетисов Г.П. Карпман В.М.
Матюнин В.С. Материаловедение и технология метолов. Москва «Высшая школа»
2000г. 436с. Николаев Г.А. Куркин С.А. Винокуров В.А. Расчет, проектирование и
изготовление сварных конструкций. Москва «Высшая школа» 1971г. 760с. Аленин
Н.П. Щербинский В.Г. Контроль качества сварочных работ. Москва «Высшая школа»
1986г. 207с.