Создание дорожной фрезы (холодное фрезерование) на базе МТЗ-80
Введение
Состояние автодорожного покрытия в нашей стране говорит о том, что-либо
строительством дорог никто хорошо не занимался, либо технология ремонта
находится в зачаточном состоянии. В связи с этим любое направление в деле
ремонта автодорог практически мало исследовано и отработано.
Дорожно-строительную технику, предназначенную для капитального ремонта,
можно разделить на следующие направления:
.Ручной труд, при этом ремонт производится рабочими, работающими
последовательно друг за другом.
.Это создание комплексной машины- дорожного ремонтера с полным набором
рабочих органов, необходимых для разрушения покрытий, его рыхления, подбора и
восстановления с последующей укладкой регенерированного асфальтобетона на
основание дороги.
Дорожные ремонтеры уже изготавливаются зарубежными фирмами: США,
Германии, Италии, Украины в различных вариантах. Все они работают от двигателя
внутреннего сгорания, приводящего в движение все рабочие органы. Вследствие
этого окружающей среде из-за выделяющихся продуктов сгорания дизельного топлива
наносится значительный ущерб.
Цель работы - создание дорожной фрезы (холодное фрезерование) на базе
МТЗ-80.
Рабочие органы, рассматриваемые в этой работе, предназначены для
разрушения асфальтобетона на мелкую фракцию.
1. Анализ состояния вопроса.
.1 Анализ способов ремонта дорожных покрытий без регенерации
Среди существующих конструкций рыхлительного оборудования для рыхления,
разрушения асфальтобетонных дорожных покрытий наиболее известными являются,
пожалуй, дорожные машины с прицепным, полуприцепным и навесным дорожным
оборудованием.
При ремонте дорог с целью разрушения, разрыхления асфальтобетона
применяют:
-хлители в виде рамы с рыхлительными зубьями
Рис.1. Навесной рыхлитель
1
базовая машина
2
навесной
рыхлитель
Недостатками данного вида оборудования является его малая
производительность, необходимость использования гусеничных тракторов большой
мощности с большим тяговым усилием.
-я разрушения асфальтовых и бетонных покрытий применяют также пневматические
или гидравлические молоты, смонтированные на базе экскаватора. Такое
оборудование позволяет разрушать довольно большой толщины и прочности слой
асфальтобетона без предварительной подготовки.
Однако недостатком данного оборудования является то, что разрушаемая
площадь мала, т.е. данное оборудование имеет низкую производительность. Поэтому
данный вид оборудования используется лишь при мелком ремонте дорог, или чаще
всего- для взлома ограниченного участка с целью прокладки труб, рыть траншей или
разрушения не дорожных построек.
Заглубление кола производится ударом, что повышает износ машины и влияет
на характер работы машиниста.
-для взлома старого асфальта применяется также бульдозерное оборудование.
Если твердость асфальтового слоя не велика, то отвал заглубляется до
бетона и движением вперед, одновременно поднимая вверх отвал, взламывает
покрытие.
Рис.2. Схема взлома асфальта бульдозерным оборудованием
-базовая машина; 2-рама отвала
-отвал; 4-гидрооборудование
Недостатком данного вида оборудования является невозможным взламывания
достаточной прочности асфальтобетона.
Кроме того возникает проблема удаления и последующей транспортировки с
места работы используемого асфальта.
Также данное оборудование непредусмотрено для таких работ, вследствие
чего возможен быстрый износ и малая производительность из-за циклического
характера работы машины. Поэтому оно применяется при местном характере работ,
когда требуется незначительное по размеру взламывания.
-за последние годы координально изменился подход к механизации среднего и
капитального ремонта асфальтобетонах покрытий. Если раньше широко
использовались ремонтеры, при капитальном ремонте производилась малоэффективная
и весьма дорогостоящая обработка утолщения покрытий новым слоем асфальтобетона,
то в настоящее время технология ремонта заключается в холодном или горячем
фрезеровании покрытия в снятии изношенной части с повторным использованием
(регенерации) снятого асфальта.
Рис.3. Машина
для фрезерования и резки дорожных покрытий
Машина устанавливается на стеле гидравлической машины, содержит раму 1,
вращающийся режущий элемент 2 и гидродвигатель 3 с низкой частотой вращения с
большим крутящим моментом соединенным с режущим элементом.
Применяют холодные или горячие фрезерные машины, основным рабочим
оборудованием которых является фрезерный барабан со сменными зубьями,
выполненных из твердого сплава (листов пластины из твердого сплава).
Рис.4. Фрезерный рабочий орган
-фрезерный барабан; 2-зуб фрезы; 3-рама фрезыглубина фрезерования
Барабан вращается в направлении, противоположным движению машины.
Аналогичный рабочий орган использован в машине, в которой установлен
барабан.
Рис.5. Ротор для фрезерного барабана
Изображенный на рис.5 ротор, имеет режущее устройство 1,2, распределенные
не менее чем по двум винтам 3,4 на наружной поверхности вращающейся части.
При фрезеровании асфальтобетона, он может быть подвергнут разогреву
инфракрасными горелками или разогревателями типа ТэН для размягчения стен тем,
чтобы легче было его рыхлить и соответственно уменьшается износ листов.
На рис.4а изображен барабан с прилепленными к нему резцами. Есть смысл
расставить эти резцы в поперечном сечении фрезы так, чтобы в фрезировании
участвовало как меньше зубьев. На данном рисунке показана расстановка из восьми
зубьев , которые фрезеруют отдельно друг от друга. На этом же рисунке
изображена устаревшая конструкция резца.
Резцы, используемые в дорожных фрезах имеют различную конструкцию.
Раньше использовались резцы , приваренные к барабану фрезы со съемными
режущими пластинами для замены их в процессе износа .
Данные съемные режущие пластины обычно крепятся с помощью болтового ( винтового
) соединения и наплавкой. Очевидно , что оба способа очень трудоемки.
Рис.6. Сменные резцы
1
зуб, применяемой
для фрезерования бетона
2
зуб для
фрезерования холодного асфальтобетона
3
зуб для
фрезерования разогретого асфальта бетона
Сегодня широко используется конструкция резца и разно держателя фирмы
«Виртен».
Главной особенностью такой конструкции (рис. 7) является оптимальный
износ резца и его самозатачивание в процессе работы за счет свободного вращения
резца в резцедержателе.
Одной из разновидностью резцов данного типов является конструкция
аналогичная указанной на рисунке 7 с той лишь разницей, что резец в
резцедержателе не имеет возможности вращения вокруг своей оси, а закреплен в
резцедержателе неподвижного с помощью резьбы.
Рис.7. Вращающийся резец фирмы «Виртен»
-резец цилиндрический ; 2- резцедержатель ; 3- стопорное кольцо ;
4
рабочая
траектория резца ( резец практически не изношен ); 5- траектория резца при его
полном износе ; 6- форма режущей части резца при его полном износе ; 7- втулка
( может и не быть).
Рис.8.Неподвижный
резец фирмы « Виртен»
1
резец
цилиндрический ; 2- резцедержатель ; 3- стопорное кольцо; 4- рабочая траектория
резца ; ( резец практически не изношен ); 5- траектория резца при его полном
износе ; 6- форма режущей части резца при его полном износе ; 7- резьба ; 8-
размер под ключ;
Данный вид резцов используется фирмой « Виртген» как для фрезерования
холодного асфальтобетона , так и для прочных грунтов.
Машина для фрезерования покрытия дороги смонтирована на пневмоколесном
шасси и перемещается к месту работы своим ходом.
При этом фреза находится в транспортном положении.
Подготовка к работе заключается в опускании фрезы в рабочие положение,
при этом резцы не должны касаться поверхности дорожного покрытия в момент
запуска фрезы.
Водитель из кабины регулирует скорость движения машины и направление, а
также поднимает рабочий орган при возникновении препятствий.
Первоначальное заглубление фрезы производится на рабочим месте. В
процессе работы регулирование процесса фрезерования не требует остановки
машины.
1.2 Анализ номенклатуры и конструктивного исполнения
существующих фрез для фрезерования прочных материалов и устройства дорожного
полотна
Существующие фрезерные установки для проведения работ в дорожной отрасли,
в основном подразделяются по следующим видам выполняемых работ:
1. Машины для стабилизации грунта.
2. Машины для фрезерования асфальтобетонных покрытий при
ремонтно-восстановительных мероприятиях.
. Машины для нарезки щелей.
Машины для стабилизации грунта подразделяются на однороторные дорожные
фрезы и многороторные однопроходные машины - грунтосмесители.
Однороторные дорожные фрезы осуществляют технологические операции по
рыхлению и измельчению грунта и по способу передвижения их подразделяют на
самоходные, навесные и прицепные. К последним могут быть отнесены и
полуприцепные фрезы.
В самоходных дорожных фрезах рабочие органы монтируются на шасси, изготовленных
специально для этой цели. Навесные дорожные фрезы устанавливают на серийно
выпускаемые тягачи (гусеничные или колесные). Прицепные фрезы работают в
прицепе за трактором. У полуприцепных фрез раму устанавливают на седле тяговой
машины. Привод рабочего органа прицепных и полуприцепных фрез осуществляется
преимущественно от собственной силовой установки; известны также прицепные
фрезы с приводом ротора от вала отбора мощности тягача.
По схеме привода рабочего органа различают фрезы с боковым (односторонним
или двухсторонним) и с центральным приводами (рис. 9).
По конструкции рабочего органа различают роторы: с жесткими, упругими и с
шарнирно подвешенными лопастями.
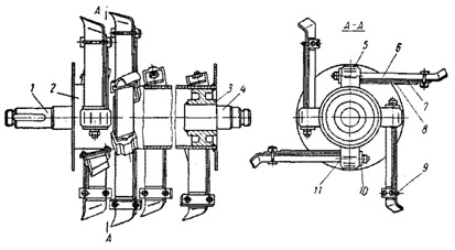
Дорожные фрезы состоят из следующих основных элементов: базового шасси;
рабочего органа; привода рабочего органа; системы дозирования и распределения
жидких вяжущих и воды.
Ведущие колеса самоходных фрез для грунтосмесительных работ оснащаются
шинами низкого давления большого диаметра для хорошей проходимости по
взрыхленному дорожному полотну.
Максимальные транспортные скорости самоходных фрез принимают 20 - 25
км/ч; поэтому часто устанавливают рессоры на переднюю управляемую ось.
Рис.9. Привод рабочего органа.
а - односторонний боковой; б - двухсторонний боковой;
в - центральный; 1 - ротор; 2 - рама; 3 - конический редуктор;
- карданный вал; 5 - боковой редуктор; 6 - левая половина ротора;
- правая половина ротора
Рис. 10. Схемы резания грунта.
а-сверху-вниз; б - снизу-вверх
Рис. 11. Схемы навесных дорожных фрез.
а - на колесном шасси; б-на гусеничном шасси
Рессоры должны быть снабжены блокирующим механизмом для выключения их во
время работы. В противном случае возникающие при вращении ротора колебания рамы
фрезы приведут к образованию переменной толщины обрабатываемого слоя грунта.
Задний мост с шинами низкого давления обычно рессорами не оснащают.
По направлению резания грунта фрезы подразделяют на режущие сверху вниз и
на режущие снизу вверх (рис. 10).
Базовыми шасси навесных дорожных фрез служат колесные (преимущественно) и
гусеничные тягачи промышленного исполнения, оборудованные ходоуменьшителями
(рис. 11).
Рис. 12. Схемы прицепных дорожных фрез.
а - с приводом от вала отбора мощности трактора;
б - с приводом от собственного двигателя
Установка рабочих органов на самоходных и навесных машинах производится
либо консольно по отношению к базовой машине, либо между осями, но обязательно
за ведущей осью. Ширина ротора должна перекрывать след от шин базовой машины.
Прицепные дорожные фрезы монтируются на одноосных прицепных тележках
(рис. 12). Если прицепная фреза имеет самостоятельный двигатель, то на раме
тележки находится площадка оператора с рычагами управления.
К рабочему органу фрезы относят ротор, кожух, раму ротора и гидросистему
подъема рабочего органа.
Ротор, расположенный перпендикулярно к продольной оси машины,
представляет собой фрезерный барабан, состоящий в общем виде из вала и лопастей.
В поперечном сечении ротора (в каждом ряду), может быть различное число
лопастей.
Лопасти каждого последующего поперечного ряда смещены относительно
лопастей предыдущего на угол в 12…40°. Таким образом, лопасти ротора
располагаются по винтовым линиям и в зависимости от их количества в каждом
поперечном ряду образуется соответствующее им количество винтовых линий.
Лопасти следует располагать с учетом необходимого обеспечения равномерной
нагрузки на опоры. Обычно это достигается расположением лопастей по правой и
левой винтовым линиям, сходящимся в осевой плоскости ротора.
Конструкция отдельных элементов ротора одинакова для бокового и
центрального приводов.
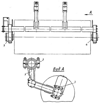
Рис. 13. Ротор фрезы с односторонним боковым приводом.
1 - ротор с
зубьями; 2 - левый стакан; 3 - роликовый подшипник;
- крышка; 5 - уплотнение; 6 - рама; 7 - корпус редуктора;
- шестерня; 9 - правый стакан
При боковом приводе (рис.13) рабочая часть ротора находится между
боковыми кронштейнами рамы и полная ширина обработки грунта соответствует
ширине ротора. При этом выступающие части вала ротора устанавливают в опорах
кронштейнов его рамы; за ними (с одной или двух сторон) на этот же вал
устанавливают шестерни или звездочки бокового редуктора.
При центральном приводе (рис. 14) ротор состоит из двух половин (левой и
правой), закрепленных на одном валу. Между половинами ротора находится редуктор
привода. Опорой ротора с центральным редуктором служит корпус редуктора,
который подвешивается на тягах к кронштейнам рамы базового шасси, либо
устанавливается на раме базовой машины.
Рис. 14. Ротор фрезы с центральным приводом.
а - с цилиндрическим редуктором; б - с коническим редуктором;
- ротор; 2 - редуктор
Наличие центрального редуктора приводит к разрыву в середине
обрабатываемой полоски. Поэтому для проработки слоя грунта, который расположен
под редуктором, применяется двухсторонний специальный плужок (рис. 15),
устанавливаемый либо на раме фрезы впереди ротора, либо на корпусе редуктора
ротора с таким расчетом, чтобы лезвия лемехов лежали в нижней плоскости
обрабатываемого слоя. Плужок, перемещаясь в массиве грунта, отваливает его в
обе стороны под ближайшие лопатки обеих половин ротора.
Преимуществом бокового привода является отсутствие разрыва в ширине
обрабатываемой полосы, а следовательно, равномерное (по ширине) качество
измельчения и перемешивания грунта с вяжущими материалами. Недостатком этого
привода по сравнению с центральным является ограниченная глубина обработки грунта
из-за наличия боковых редукторов, препятствующих заглублению.
Рис. 15.
Конструкция плужка.
1- лемех; 2 - отвал; 3 - стойка
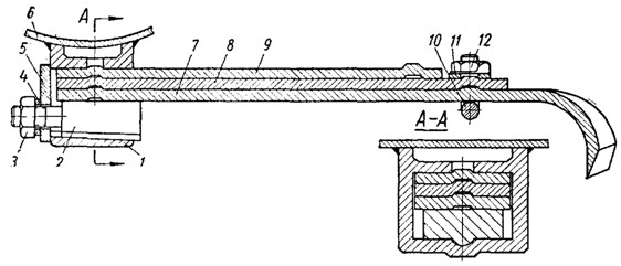
Конструкция ротора с жесткими лопастями (рис. 16) состоит из трубчатого
вала и приваренных к нему лопастей со сменными режущими ножами. Для защиты
такого ротора от поломок при встрече с препятствием необходимо в силовой
передаче устанавливать предохранительные устройства.
Ротор с пружинными (упругими) лопастями (рис. 17) состоит из трубчатого
вала с приваренными к нему скобами, в которые вставляют пружинные лопасти,
представляющие собой пакет полос из пружинной стали, скрепленных между собой
хомутом. Наружная, загнутая полоса выполняет роль режущей лопатки. При износе
загнутой части полоса заменяется целиком. Эти лопасти смягчают удар при встрече
с препятствием, но не предохраняют от поломок.
Ротор с шарнирно подвешенными лопастями (рис. 18) состоит из вала,
установленных на нем секций, шарнирно подвешенных лопастей и упругих
амортизаторов. Передачу крутящего момента, а также соединение секций между
собой осуществляют за счет эксцентричных выступов осей лопастей, заходящих в
соответствующие отверстия боковых листов соседних секций. Лопасти имеют сменные
режущие ножи. Резание грунта такими лопастями осуществляется за счет моментов
центробежных сил. При встрече с препятствием лопасть может отклониться,
поворачиваясь вокруг своей оси, тем самым предохраняя ротор от перегрузок и
поломок. Для смягчения удара при возвращении лопатки из отклоненного положения
применяются металлические либо резинометаллические амортизаторы.
Режущие ножи лопастей изготовляют из полосовой стали или поковки. Для
повышения износостойкости сверху на режущую часть наплавляется слой твердого
сплава толщиной 5…10 мм. Наплавка может производиться по любой технологии, но
наиболее износостойкой является наплавка порошковой лентой шириной 40…50 мм.
В зависимости от конструктивного исполнения лопастей возможны различные
виды крепления ножей. Для роторов с жесткими и шарнирно подвешенными лопастями
применяется клиновое и болтовое крепление (рис. 19). В роторах с пружинными
лопастями крепление пакета осуществляется при помощи клина (рис. 20).
Рис. 16. Ротор с жесткими лопастями.
На рис.16 изображено:
а - схема ротора; б - расположение лопастей на роторе;
- левая цапфа; 2 - труба; 3 - лопасть; 4 -режущий нож;
- правая цапфа; 6 - ступица
Кожух ротора образует рабочую камеру, в которой происходит измельчение
грунта и перемешивание его с вяжущими материалами. Задняя стенка кожуха обычно
соединена с ним шарнирно (на петлях) для обеспечения доступа к ротору,
возможности осмотра и замены режущих ножей. Закрепление задней стенки на
определенной высоте позволяет формировать слой обработанного грунта. На рис.21 показаны:
кожух плавающего типа и кожух, жестко закрепленный относительно оси ротора.
Кожух плавающего типа не связан с осью ротора. При любом заглублении ротора в
грунт опорные части вала ротора скользят в соответствующих пазах боковых
стенок.
Рис.17. Ротор с пружинными лопастями
а - схема ротора; б - расположение лопастей на роторе;
- левая цапфа; 2 - труба; 3 - ступица; 4 - правая цапфа; 5 - скоба;
- лопасть; 7 - подрессорник большой; 8 - подрессорник малый;
- крепежный хомут; 10 - накладка; 11 - клин.
При этом кожух, опираясь на грунт лыжами, укрепленными снизу боковых
стенок, надежно закрывает рабочую полость ротора. Для предотвращения
запрокидывания кожуха при переводе ротора в транспортное положение он
прикрепляется тягами к базовой машине. Впереди на некотором расстоянии от
поверхности грунта кожух не имеет стенки
Рис. 18. Ротор с шарнирно подвешенными лопастями.
а - схема ротора; б-схема расположения лопастей на роторе;
-приводной вал; 2-вал; 3 - втулка; 4 - шайба; 5 - кольцо;
-вращающийся резцедержатель; 7 -режущая пластина;
-поворотная щека; 9 -ось вращения; 10 -отбойник
Рис. 19. Крепление режущих ножей у роторов с жесткими и шарнирно
подвешенными лопастями.
а - с помощью болтов; б - с помощью клина;
- лопасть; 2 - режущие ножи; 3 - болт
Рис.20.
Крепление пружинных лопастей ротора.
1 - скоба; 2 -
клин; 3 - гайка; 4- шайба; 5-планка; 6-труба;
-лопасть; 8 -большой подрессорник; 9 - малый подрессорник;
-крепежный хомут; 11- планка; 12- гайка
Рис. 21. Кожух ротора.
а - плавающего типа; б - жестко закрепленный;
- кожух; 2 - лыжа; 3 -задняя стенка
для обеспечения возможности впрыска жидких вяжущих. На раме ротора
устанавливают щитки, препятствующие высыпанию грунта через боковые пазы кожуха.
Кожух, жестко закрепленный на раме рабочего органа, при заглублении или
выглублении ротора также перемещается вместе с ним. Для того чтобы
предотвратить выбрасывание грунта из-под кожуха при разной глубине обработки,
боковые стенки снизу оснащают щитками.
Рама ротора (рис. 22) является звеном, связывающим ротор с рамой базового
шасси. Шарнирное крепление ее на базовом шасси позволяет производить подъем и
опускание рабочего органа. В рабочих органах с центральным приводом рама ротора
отсутствует. В нижних кронштейнах рамы устанавливаются опоры ротора. Наличие
торцовых крышек позволяет производить быстрый демонтаж ротора. К поперечной
балке привариваются две стойки, имеющие сверху также съемные крышки для
шарнирной установки рамы на кронштейнах базового шасси. В стойки могут
упираться штоки гидроцилиндров подъемной системы. Возможен случай
одновременного боковых нижних кронштейнов рамы в качестве корпусов боковых
редукторов привода ротора. Установка ротора в опорах рамы должна осуществляться
на сферических подшипниках, предотвращающих заклинивание ротора при возможных
незначительных изгибах его вала.
Рис. 22. Рама ротора фрезы с боковым приводом.
1 - рама; 2 -
крышка вертикальных кронштейнов;
- крышка нижних кронштейнов;
4 - стакан малый;
5 - стакан большой
Подъем рабочего органа фрезы производится с использованием либо
гидросистемы базовой машины, либо автономной гидросистемы подъема ротора.
Гидросистема состоит из гидронасосов, распределителей, трубопроводов и
гидроцилиндров одностороннего действия, осуществляющих подъем рабочего органа;
его опускание (заглубление) происходит только под действием собственного веса.
Ограничение опускания ротора достигается с помощью специальных регулируемых
упоров, обеспечивающих заданную глубину обработки грунта.
В кинематическую цепь от приводного двигателя до ротора входят
промежуточные элементы управления (сцепления, муфты), дополнительные передачи и
боковой или центральный редуктор. В некоторых фрезах осуществляется
гидростатический привод рабочего органа, который обеспечивает защиту ротора при
встрече лопастей с препятствием. Но при этом трудно привести в соответствие
обороты ротора с поступательным перемещением фрезы для получения постоянной
толщины стружки. Трансмиссия машины должна обеспечивать возможность
независимого включения ротора и ходовой части.
Корпусы редукторов приводов могут изготавливаться как сварными, так и из
стального литья. В местах выхода вала редукторы должны иметь надежное
уплотнение, препятствующее вытеканию смазки.
Интересной является разработка с интенсификацией рабочего процесса (см.
рис. 23 - 24)
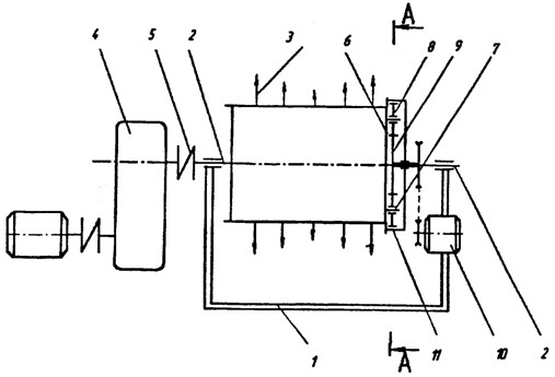
Рис. 23. Устройство для рыхления прочных грунтов
Рис. 24. Дебалансы устройства для рыхления прочных грунтов
Изобретение относится к строительству и может найти применение для
послойного рыхления прочных грунтов, а также снятия асфальтобетонных покрытий
при ремонте автомобильных дорог и тротуаров.
Устройство для рыхления прочных грунтов содержит раму 1, на которой на
опорах вращения установлен вал 2 с закрепленными к нему зубьями 3, привод 4,
который соединяется с валом упругой муфтой 5, кронштейн 6, жестко закрепленный
на валу с осями 7, на которых в опорах вращения смонтированы зубчатые колеса с
дебалансами 8, входящими в зацепление с зубчатым колесом 9, установленным на
валу 2 в опорах вращения, привод 10 зубчатого колеса 9 и кожух 11. Для рыхления
грунта рама 1 навешивается на базовую машину (трактор, автогрейдер, прицепное
устройство) с возможностью обеспечения нужного контакта с разрабатываемым
прочным грунтом, включается привод 4 вала 2 и привод 10 зубчатого колеса 9,
после чего базовая машина начинает движение. Зубья 3, вращаясь с валом 2,
поочередно входят в контакт с разрабатываемой средой. Зубчатое колесо 9
приводит во вращение колеса -дебалансы 8, которые создают центробежную силу.
Под действием этой возмущающей силы возникают крутильные колебания вала 2
вместе с закрепленными на нем зубьями 3. Следовательно, в момент взаимодействия
зуба с грунтом, который осуществляется основным приводом 4, добавляется момент
от крутильных колебаний Тдин. Так как Тдин изменяется по гармоническому закону,
то зуб при резании совершит гармонические колебания, т.е. вибрирует, в
результате чего на ножах снижается его трение о грунт, а режущие кромки
взаимодействуют с грунтом в частотно-ударном режиме, в результате чего особенно
хрупкие грунты разрушаются значительно легче, чем при статическом разрушении.
Упругая муфта 5 служит для предохранения привода 4 от дополнительных
динамических нагрузок. Кожух 11 защищает зубчатые колеса от попадания пыли.
Применение изобретения позволит не только повысить эффективность работы
фрез, но и значительно снизить энергоемкость фрезерования прочных грунтов, при
этом эффект увеличивается с увеличением хрупкости грунта.
Интересна конструкция с интенсификацией всего рабочего органа вместе с
охватывающей рамой (см. рис. 25-26).
Рис. 25.
Устройство для послойного рыхления горных пород
Рис.26. Устройство для послойного рыхления горных пород (вид в плане)
Устройство содержит передвижную платформу, которая состоит из рам 1, осей
2 и колес 3. На подвижной платформе монтируются силовое оборудование и пульт
управления (не показаны). К внутренним поверхностям рам 1 жестко закреплены
вертикальные направляющие 4, между которыми свободно размещен
вертикально-выдвижной элемент, который выполнен в виде прямоугольной опорной
плиты 5 с отверстиями для ударников 6 частотно-ударных механизмов, в корпусе 7
которых посредством ведомых валов 8 установлены два дебаланса 9. Ударники 6
закреплены к корпусу 7 снизу. Привод частотно-ударных механизмов может
осуществляться от базовой машины или дополнительной силовой установки через
звездочку 10, редуктор 11, промежуточные звездочки 12 и 13, ведомые звездочки
14 и 15. Все звездочки соединены между собой цепями 16 - 19. Вместо звездочки
12 может быть установлен шкив, а цепь 17 соответственно заменена клиновидным
ремнем. Механизм пылеподавления состоит из гидронасоса 20 с системой груб 21.
Напорный механизм состоит из маслонасоса 22 с напорным гидроцилиндром 23.
Приводы насосов могут быть, например, механические, кинематически связанные с
ходовой частью или независимые. Оба частотно-ударных механизма посредством,
стоек 24 и свободно надетых на них пружин 25 и 26 закреплены в один ряд сверху
опорной плиты 5. В центр плиты 5 свободно введен снабженный упорными
планшайбами 27 и 28 и виброгасящей перемычкой в виде пружины 29, шток 30
напорного гидроцилиндра 23, корпус которого посредством растяжек 31 и стоек 32
жестко закреплен к рамам 1 подвижной платформы. Под платформой, параллельно ее
оси 2, расположен породоразрушающий инструмент, выполненный в виде полого
цилиндра 33, армированного снаружи твердосплавными зубьями 34. Полый цилиндр 33
выполнен длиннее оси 2 и свободно установлен с возможностью вращения в соосных овальных
хомутах 35, которые изнутри, по периметру, снабжены шарикоподшипниками 36, а со
стороны забоя выполнены разомкнутыми, причем разомкнуты на меньшую величину,
чем наружный диаметр полого цилиндра 33.
Устройство работает следующим образом.
С началом перемещения по забою платформы с помощью базовой машины опорная
плита 5 посредством гидроцилиндра 23 опускается вниз и прижимает рабочий орган
к забою, создавая через пружину 29 напорное усилие.
При движении рабочий орган 33 прокатывается по забою, вращаясь в хомутах
35.
При включении частотно-ударных механизмов последние своими ударниками 6
наносят удары непосредственно по рабочему органу 33, минуя промежуточные
детали. Вращающийся рабочий орган 33 передает ударные нагрузки на породу,
вызывая ее рыхление.
Механизм пылеподавления обеспечивает снижение пылеобразования в зоне
работы рабочего органа и его охлаждение.
Перевод рабочего органа 33 в. транспортное положение осуществляется
гидроцилиндром 23, посредством которого обеспечивается подъем опорной плиты 5.
Применение изобретения повышает надежность работы устройства путем
непосредственного взаимодействия частотно-ударных механизмов с рабочим органом
минуя промежуточные детали, и улучшает условия работы.
Известна конструкция рабочего органа с ударно рыхлящим воздействием с
вибратором крутильных колебаний.
Рис. 27.
Рабочий орган с вибратором крутильных колебаний
Рабочий орган состоит из вибратора 1 крутильных колебаний, вибрирующего
ротора 2 с бойками 3 и рыхлящих наконечников 4, подвешенных к ротору на
шарнирах 5 и пружинной подвеске 6. Привод на вибратор крутильных колебаний
осуществляется через ведущий вал 7 солнечного колеса 8. Дебалансы 9 установлены
на сателлитах 10, а крутильные колебания одновременно с вращением совершает
водило 11, которое жестко связано с ротором через вал 12..
Работа описываемого рабочего органа осуществляется следующим образом.
Ротор 2 вращается по стрелке а и одновременно совершает крутильные
колебания вокруг центральной оси. Рыхлящие наконечники 4, связанные с ротором
шарнирами 5 и пружинами 13, вращаются вместе с ротором. Когда наконечники не
находятся в контакте с грунтом, они занимают положение, показанное на рис. 5-6 .
Определенным поджатием пружин 13 между бойком и наконечником обеспечен зазор,
исключающий нанесение ударов бойка по наконечнику.
Как только наконечник встречает препятствие (упирается в грунт), он
останавливается.
При вращении вибрирующего ротора 2 пружины 13 сжимаются и зазор между
бойком и наконечником исчезает. Боек 3 начинает наносить частые удары по
наконечнику 4. В случае частых ударов и течение всего времени контакта
наконечника с грунтом система вибрирующий ротор - рыхлящий наконечник работает
в виброударном режиме.
Как только, с поворотом ротора, данный наконечник вышел из контакта с
грунтом, он занимает первоначальное положение - отжимается пружиной 13 от бойка
и удары по нему не наносятся. Затем в работу вступает следующий наконечник, и
процесс повторяется.
Данная конструкция рабочего органа позволяет просто и эффективно
осуществить виброударное рыхление мерзлых и твердых грунтов роторным рабочим
органом, свойственным машинам непрерывного действия.
1.3 Технология холодного фрезерования и применяемое при этом
оборудование
Для восстановления дорожного полотна широко применяют машины для
фрезерования асфальтобетонных покрытий. Как правило, асфальтобетонные покрытия
воздействуют температурные колебания, нагрузки от автомобильного транспорта,
изменения нижних слоев основания и земляного полотна, режим зимнего содержания
автомобильных дорог, а также процессы старения асфальтобетона дорожных покрытий
улиц и автомагистралей. Деформации асфальтобетонных покрытий улиц и дорог
способствуют выкрашивания, трещины, сдвиги (волнообразования) и истирания.
Все это приводит к необходимости ремонта асфальтобетонного или
цементобетонного дорожного покрытия. При капитальном ремонте проезжей части
путепроводов и мостов весь старый асфальтобетон следует срезать, чтобы не
допускать увеличения нагрузок на сооружение. Проблема снятия асфальтобетона с
проезжей части при капитальном ремонте улиц, городских и автомобильных дорог
при наличии установок для его регенерации решается экономично и просто, и при
этом имеется полная возможность повторного использования асфальтобетона.
Само холодное фрезерование осуществляется при помощи самоходных фрезерных
машин, так называемых холодных фрез. На самоходном устройстве в горизонтальном
положении установлен фрезерный барабан с резцами. Резцы, как правило,
изготавливаются из высокопрочного мало истираемого сплава-карбида вольфрама.
Фрезерная машина движется по ремонтируемому покрытию, при этом вращающийся
фрезерный барабан опущен до глубины фрезерования, срезая слойа с фальтобетона.
Опускание фрезерного барабана возможно как параллельно, так и с определенным
наклоном к поверхности дорожного полотна, перемещение машины осуществляется
плавно при помощи колес или гусеничных тележек. Необходимая глубина
фрезерования (по отношению к базовой высоте) достигается посредством
регулирования глубины. В результате чего появляется новая, ровная и
удовлетворяющая требованиям к профилю плоскость, которая служит основой для
нового покрытия дороги. Получаемый при помощи фрезерования материал (крошка из
старого асфальтобетона) или остается лежать за машиной (в валках), или загружается
с помощью загрузочного конвейера на грузовые автомобили. Для выполнения
последующих укладочных работ нужно поддерживать глубину фрезерования,
доброкачественную поперечную плоскость покрытия, хорошую продольную плоскость
дорожного покрытия, точное исполнение продольного и поперечного профиля, чистые
кромки фрезерования. Глубина фрезерования и плоскостность отфрезерованных
участков должны соответствовать величинам, заказанным потребителем. Для
обеспечения равномерной толщины слоя покрытия по всей ширине дорожного полотна,
необходимо срезание фрезеруемой поверхности с учетом поперечного профиля
дороги. С технологической точки зрения применение холодного фрезерования имеет
ряд достоинств: оно обеспечивает снятие старого покрытия на ограниченной
площади, по этой технологии возможно послойное снятие отдельных слоев (из
битумоминеральной смеси или асфальтобетона), а кроме того это единственная
технология, при помощи которой возможно селективное снятие и разделение на виды
срезаемого материала, что создает "схватывающую" структуру
поверхности, производит вертикальные и чистые кромки фрезерования для хорошей
связки слоев покрытия и стыков. Экономически холодное фрезерование является
самой быстрой и самой производительной технологией для снятия поврежденных покрытий
дорог и магистралей, выгодно из-за незначительных расходов на персонал и
агрегаты, позволяет быстро окончить ремонтные работы, почти не ограничивая
движение транспорта, имеет более долгий срок службы восстановленных покрытий
дорог. В условиях города, когда непрерывное наращивание дорожных одежд при
капитальном ремонте приводит к закрытию цоколей зданий, нарушению водоотвода с
прилегающих территорий, а еще и требует солидных материальных, трудовых и
финансовых затрат на перестановку бортовых камней, переустройство тротуаров на
подъем люков колодцев сетей инженерных коммуникаций, вопрос о снятии слоев
асфальтобетонных дорожных покрытий становится актуальным. Снятие старых слоев
асфальтобетона решает две задачи: создаются условия для технически правильного
экономичного ремонта дорожной одежды мостов, путепроводов, улиц или
магистралей, при этом образуется неограниченное количество сырья для
регенерации.
Очень большая номенклатура выпускаемых фрез у известной немецкой фирмы
"Wirtgen GmbH". В качестве примера можно рассмотреть фрезу W 1000
(см.рис.28).
Компоновка специального шасси этой машины аналогична модели W 500. Между
задними опорными колесами расположена фреза шириной 1000 мм. Глубина
фрезерования составляет 180 мм. Габаритные размеры машины W 1000 - 4345х2400х2525
мм. Длина машины с конвейером достигает 10 615 мм, а высота - 4000 мм. На
машине установлен турбодизельный двигатель фирмы "Caterpillar" (США)
типа 3116DI-TA мощностью 149 кВт при частоте вращения коленчатого вала 2300 мин
-1. Привод хода гидравлический. Передние колеса ведущие и управляемые, задние -
опорные. Подвеска передних колес плавающая. Каждое из задних колес имеет
индивидуальную подвеску и индивидуальную регулировку по высоте, выполняемую
гидравлическим распределителем. Такая система обеспечивает возможность
установки фрезы на различную глубину резания, а также в горизонтальном или
наклонном положении.
На фрезерном барабане диаметром 508 мм установлены 96 резцов с шагом 15
мм. Привод фрезы механический, фреза выполнена из четырех пар сегментов с
быстросъемными резцами. Гидравлический привод хода позволяет иметь рабочие
скорости в диапазоне 0-25 м/мин и транспортные скорости в диапазоне 0-6 км/ч.
Рабочая масса машины составляет 16 400 кг. Модель W 1000 является дорожной
фрезой среднего размера. Ее используют для обработки как узких, так и
магистральных участков дорожного покрытия. Машина способна выполнять
фрезерование на закруглениях и стыках благодаря хорошей маневренности.
Дорожная фреза RX 20 (см. рис. 29) является наиболее маневренной однометровой
холодной фрезой в мире. Благодаря своей непревзойденной маневренности эта
машина, имеющая двигатель мощностью 230 л.с., эффективно выполняет различные
работы по срезанию грунта. Она имеет более низкий центр тяжести, чем все другие
фрезы, что позволяет ей работать на крутых склонах, например, на гоночных
треках с высокими откосами на поворотах. Кроме того, дорожная фреза RX 20
идеально подходит для использования при создании или ремонте подходов к мостам,
мостового полотна, откосов бордюров, траншей и перекрестков.
Дорожная фреза RX 50B - это холодная фреза с двигателем 600 л.с. с
оптимальным соотношением мощности, производительности и экономичности (см. рис.
30). Агрегат может снимать дорожное покрытие с максимальной шириной 2489 мм и
на максимальную глубину 305 мм. Специально разработанная система управления
тремя гусеницами позволяет иметь рабочий радиус поворота 2,5 м, двигаться при
работе с боковым смещением, снимать грунт как при движении вперед, так и назад.
Двухступенчатый конвейер имеет ширину 864 мм и может быть повернут для выгрузки
на 50 град. в любую сторону от осевой линии, тем самым облегчая работу в
городе.
В России лишь два предприятия: АО "Брянский Арсенал" и АО
"Дмитровский экскаваторный завод" - производят отечественные холодные
фрезы. Преимущество у этих машин перед зарубежными одно - они значительно
дешевле.
Фреза ФДН - 500 (см. рис. 31) предназначена для холодного фрезерования
асфальтовых покрытий при их ремонте. Рабочим органом фрезы является фрезерный
барабан, на котором крепятся съемные резцы, изготовленные из высоко стойкой
стали.
Фрезерует в асфальте прямолинейные и криволинейные полосы шириной 500 мм,
глубиной до 100 мм. Базовый тягач - МТЗ-80, МТЗ-82. Привод фрезерного барабана
- механический от вала отбора мощности трактора;
Ширина обрабатываемой полосы 500 мм при глубине обработки 0.1 м.
Охлаждение резцов осуществляется водой. Привод рабочего хода
гидромеханический с бесступенчатым регулированием от 0 до 800 м/час.
Мощность двигателя 57,4 кВт.
Фреза ДС-197 (см.рис.32) предназначена для послойного снятия
асфальтобетонных покрытий с автодорог, улиц, площадей при их ремонте,
реконструкции. Установка на рабочий орган дополнительной фрезы позволяет
вырезать канавки для укладки бордюрного камня.
В силовую установку входит дизельный двигатель Д-260.1, установка
насосов, система охлаждения, топливный и гидравлический баки.
Полезная мощность двигателя при 2100 об/мин - 114 кВт (155 л.с.);
Полезная мощность на маховике при 2100 об/мин - 110 кВт (150 л.с.);
Удельный расход топлива - 221 г/кВт;
Рабочий органом является барабан, оснащенный резцами диаметром 550 мм.
Ширина фрезерования изменяется ступенчато от 250 до 1000 мм. Максимальная
глубина фрезерования достигает 80 мм при поперечном уклон барабана 6 градусов.
Скорость движения машины рабочая - 0…10,0 м/мин; транспортная - 0…3,9 км/ч;
конвейер с максимальной высотой разгрузки - 2790 мм и углом поворота в плане 20
градусов.
На большинстве дорожных фрез используется режущий инструмент как
импортного, так и отечественного производства. По качественным параметрам
российские производители подобного инструмента не только входят в число мировых
лидеров, но и вследствие применения в производственном процессе новейших
отечественных научных разработок по целому ряду позиций превосходят зарубежных
конкурентов.
Одной из специализированных компаний поставками на рынок российского
твердосплавного инструмента занимается московская фирма "Экспо-МВ", в
ассортименте которой присутствуют поворотные резцы нового поколения повышенной
стойкости для ремонта дорожных покрытий, фрезерования асфальтов и бетонов.
Резцы, используемые в дорожных фрезах, имеют различную конструкцию. В
качестве примера можно привести резцы компании НТС - сервис (см. рис.33 и
рис.34).
Данные резцы отличаются высокой эффективностью и износоустойчивостью на
покрытиях любой прочности и абразивности в различных температурных режимах
работы.
Также серийно выпускаются и резцедержатели для данных серий резцов.
2. Техническое предложение
В данном проекте рассматривается фрезерный рабочий орган предназначенный
для ремонтно- восстановительных работ по снятию дефектного дорожного покрытия с
последующим восстановлением сфрезерованного материала на асфальтобетонном
заводе.
Проектируемый фрезерный рабочий орган будет установлен на шасси широко
распространенного трактора МТЗ-80, обладающим высокой мобильностью и
универсальностью.
Учитывая опыт зарубежных фирм в подобных разработках примем:
ширина барабана 700мм
глубина фрезерования 50мм
частота вращения фрезы 80 об/мин
Проектируемое оборудование состоит из основных узлов:
1- фрезерный рабочий орган (эксцентричная фреза)
2- рама фрезы
- привода фрезерного рабочего органа
4-механизма
поддержания глубины фрезерования
Рис.
35
Проведенный
графический анализ показал, что эксцентричная фреза будет иметь следующие
преимущества:
.
Меньшую мощность на привод за счет уменьшения суммарного пути всех зубьев в
разрабатываемом массиве.
.
Меньшие габариты и как следствие металлоемкость, так как траектория движения
зубьев эксцентричной фрезы вписана в траекторию движения зубьев традиционной
фрезы с постоянным радиусом фрезерования.
.
Отфрезерованная эксцентричной фрезой поверхность имеет повышенную
шероховатость, что приводит к увеличению сил сцепления свежеукладываемой
асфальтобетонной смеси на отфрезерованном участке за счет увеличения площади
контакта.
.
Возможность подбора геометрических и кинематических параметров, при которых
высота остающихся гребней после фрезерования материала может приближаться к
максимальной глубине фрезерования, что приведет к увеличению сдвигоустойчивости
слоев асфальтобетона или другого материала, применяемого для восстановления
дорожного полотна.
.
Экономия строительных материалов при проведении ремонтных работ за счет того,
что эксцентричная фреза вырезает не весь материал на максимальной глубине
фрезерования.
3. Расчеты основных элементов
.1 Проектировочные расчеты
Исходные данные:
1) Скорость
базовой машины (поступательная)
Максимальная
глубина фрезерования
2) Расстояние от оси вращения фрезы до дневной поверхности
фрезеруемого материала

,
примем
Частота
вращения фрезы
Ширина
разрушаемой полосы асфальтобетона
1. Определим радиус расположения зубьев относительно общего
геометрического центра [диссертация]:
(1)
2.
Определим эксцентриситет фрезы:
(2)
.
Определим максимальный радиус фрезерования:
(3)
.
Проведем проверку по значению максимальной скорости (очевидно, что они
определяются для значения Rmax):
, где (4)
αр=0-углы между поступательной с окружной скоростями, соответствующий
максимальному значению абсолютной скорости V
(5)
Тогда
(6)
По
условиям источников из Интернета максимальная абсолютная скорость не должна
превышать 4 м/с при фрезеровании асфальтобетона, т.е. справедливо
условие=Vпредельная
предельная-
определяется для каждого фрезеруемого материала опытным путем (оптимальный
износ зубьев)
Условие
2,6 м/с≤4 м/с- выполнено
4.
Определим максимальное число зубьев в поперечном сечении фрезы
.1
Угол контакта с фрезерующим материалом зуба базовой фрезы
(7)
4.2 Оптимальное число зубьев в поперечном сечении фрезы при
условии фрезерования одним зубом в данном сечении
пр=360/αR (8)
Принимаем
Zпр=10 зубъям
4.3 Определим угол расположения (равномерно) зубьев в
поперечном сечении фрезы
(9)
Определим радиус расположения относительно оси вращения для каждого зуба
по формуле:
, где
(10)
(11)
i-номер зуба,
для которого определяется Ri
Определим
угол расположения зубьев αзнij, эксцентричной фрезы относительно их геометрического
центра установки по формуле:
(12)
Определим угол контакта для каждого зуба с помощью программы на Языке
Бейсик [диссертация]
К исходным данным относится:
L=250
мм
U=0.1м/с
n=80об/мин
Зубьев 10 шт.
U`=
(13)
U`=
αh1=33,980
αh2=36,380
αh3=38,0440
αh4=35,980
αh5=35,2940
αh6=35,840
αh7=29,220
αh8=27,50
αh9=28,8770
αh10=30,9970
Тогда αзнij-угол между зубом
Выполним
проверку αзнij исходя из условия, что
-условие
выполнено
.Для
построения развертки фрезы, определим длину дуги между двумя со случайными
зубьями для окружности радиусом Rб по формуле:
(14)
Выполним
проверку полученных lij исходя из условия:
(15)
т.е.
.Длина
развертки базовой фрезы:
(16)

,
где
(17)
Куд-
удельное сопротивление резания асфальтобетона, принимаем
Куд=1·106
Па= 1 МПа
- угловая
скорость вращения фрезы, рад/с
(18)
где
n- частота вращения, об/мин
вэ-
минимальная ширина кромки разрушающего элемента, принимаем
вэ=0,02м
νi-абсолютная скорость для данного Ri,
м/с
αhi- угол
контакта с материалом для i-того зуба с радиусом расположения относительно оси
вращения Ri, рад
cosγ
-угол
между суммарным сопротивлением фрезерования и абсолютной скоростью зуба, тогда:
Тогда
работа для зуба №1
где
R1=0,2989 м
αh1=33,980=0,593 рад
При
расчете Аi, угол контакта с материалом αhi подставляем в радианах.
Аналогично
определим работу фрезерования остальными зубьями
А2=202,7
Дж
А3=214,7
Дж
А4=
206,5 Дж
А5=
205,2 Дж
А6=
209,4 Дж
А7=
170,3 Дж
А8=158,3
Дж
А9=163,5
Дж
А10=173,1
Дж
.Получим
работу за 1 оборот фрезы:
.0пределим
мощность силовой установки для фрезерования, выбранного материала для зубьев в
поперечном сечении фрезы (одна винтовая лопасть):
(19)
Строим
развертку фрезы по кромкам режущих элементов
Рис.36
Уточняем ширину фрезерования В с учетом расстановки зубьев по формуле:
,где (20)
(21)
Zобщ. раз-общее
число зубьев на развертке при ширине В
Zобщ. раз=36
Получение
итоговой мощности на фрезерование:
(22)
.
Высота гребня, получаемого после фрезерования эксцентричной фрезой:
гр=Rmax-Rmin=0,3011-0,2989=0,0022=2,2мм
(23)
при
hmax=50мм
Определение
мощность на фрезерование для фрезы с постоянным радиусом фрезерования.
Рис.37
(24)
(25)
(26)
Без
учета КПД, мощность на фрезерование
(27)
Тогда
эффективность применения эксцентричной фрезы составляет:
Таким
образом выигрыш в мощности позволяет экономить горюче-смазочные материалы при
проведении ремонтно-восстановительных работ.
Мкр10=309,32
Н·м
Расчет
гидрооборудования подъема и опускания фрезерного рабочего органа.
Для
изменения положения фрезерного рабочего органа устанавливаем два гидроцилиндра
подъема и опускания рамы фрезы с установленными на ней узлами и агрегатами.
Расчет гидроцилиндров произведем по рекомендациям [11].
Определим
усилие на одном гидроцилиндре из формулы:
, где
(30)
- усилие
гидроцилиндра, необходимое для подъема рабочего органа;
- площадь
штока;
Р-
давление в гидросистеме;
- КПД
объемного гидропривода (принимаем
)
Площадь
штока определим по формуле:
, где
(31)
-
диаметр поршня;
-диаметр
штока гидроцилиндра.
Диаметр
штока гидроцилиндра можно определить по формуле:
(32)
Требуемое
усилие на гидроцилиндре определим из формулы:
-
усилие действующее на два гидроцилиндра сразу.
Тогда
диаметр поршня гидроцилиндра можно определить из формулы:
Принимаем
по стандартному ряду гидрооборудования, используемого в СДМ диаметр
гидроцилиндра, равный 80 мм.
Тогда
диаметр штока:
Принимаем
диаметр штока dшт=50мм.
Гидросистема
представляет собой общую схему, включающую в себя гидрооборудование для подъема
и опускания рабочего органа и гидросистему рулевого управления.
Учитывая,
что в транспортном положении при скорости до 70 км/ч работает только рулевое
управление и не работают все остальные органы, номинального давления Р=16мПа
вполне хватает для нормальной работы рулевого управления. В рабочем положении
при скорости 0,1 м/с и значительных поворотах номинальное давление также будет
обеспечено.
Учитывая
тот факт, что подъем фрезерного рабочего органа производится за счет штоковой
полости, проверим ее на создаваемое усилие:
-создаваемое
усилие вполне достаточное для подъема фрезы даже одним гидроцилиндром.
Теперь
рассчитаем расход, необходимый на вытягивание штока гидроцилиндра.
Необходимый
расход для одного гидроцилиндра определим по формуле:
, где
(33)
Vшт - скорость
движения штока, принимаем Vшт =0,05м/с.
Расход,
необходимый для двух гидроцилиндров:
Мощность
необходимая на привод насоса:
Выбираем
насос по давлению Р=16 МПа и расходу не менее Q=20 л/мин.
Аксиально-
поршневой тип 210 №12 с рабочим объемом 11,6 см3/об при n=
2800 об/мин, что соответствует расходу Qн = 32480
см3/мин = 32,48 л/мин. При этом насос работает при давлении в гидроцилиндре
базовой машины Рн =16 МПа.
5.
Прочностные расчеты
.1
Прочностной расчет барабана фрезы
Для
расчета нам необходимо выяснить и определить число зубьев, находящихся на
фрезе. Общее число зубьев на фрезерном барабане- 35 шт, зубья расположены по
четырем расходящимся винтовым линиям.
Принимаем,
что на один зуб фрезы действует рассчитанная ранее нагрузка: она рассчитывается
исходя из следующих величин:
(34)
-результирующая
сила действующая на барабан фрезы.
Для
расчета напряжения, возникающего на одном зубе, разделим усилие, действующее на
фрезу на количество зубьев, находящихся в забое.
Данная
нагрузка условно действует на 1см2, что взято с некоторой неточностью в сторону
увеличения нагрузки.
Для
дальнейшего расчета напряжений растяжения- сжатия определим:
(35)
Теперь
для расчета необходимо определить минимальную толщину стенки барабана,
способную выдержать рассчитанную выше нагрузку.
Толщина
стенки барабана будет определяться из формулы:
(36)
Принимаем
толщину стенки 20мм. В качестве материала барабана принимаем наиболее дешевый и
удобный для технологической обработки, прочность которого удовлетворяет
заданным условиям сталь 20.
5.2
Прочностной расчет сварных соединений металлоконструкции
Так
как рама фрезы является сварной конструкцией, то необходимо проверить на
прочность сварные соединения.
Материал,
из которого изготовлена рама фрезы- Ст-3 сп.
Выбираем
согласно номеру швеллера, учитывая условия равнопрочности сварного соединения,
момент сопротивления сечения W=16см2 .
В
нашей конструкции усилие, приходящееся на один шов равно F=7000Н
Принимаем
в сварном шве высоту катета шва 4 мм, тогда длина сварного шва определиться из
формулы:
(37)
Таким
образом, выбранный шов будет длиной 26мм.
Определим
длину швов, прикрепляющих швеллеры друг к другу.
Соединение
также проектируем по условию равнопрочности целому изделию.
Горизонтальный
катет швов к1=5мм, вертикальный к2=5мм.
Длину
шва определим из формулы:
<
, где (38)
Миз-
изгибающий момент, действующий на сварной шов;
l- длина шва;
к-
изгибающий момент;
Из
этой формулы мы найдем длину шва:
(39)
Вычисленная
длина шва является минимальной, чтобы обеспечить условие прочности, поэтому
принимаем длину шва с запасом- 5см.
Таким
образом, длина принятого нами шва показывает, что свариваемый швеллер будет
обварен непрерывным швом по всей поверхности соединения.
5.3
Прочностной расчет на срез пальцев шарниров
Так как рама фрезы должна быть прикреплена таким образом, чтобы
обеспечить возможность подъема фрезы в транспортное положение и, наоборот,
опускание фрезы в рабочее положение, установим в месте соединения рамы фрезы с
рамой шасси шарнир.
Выбираем материал для пальца шарнира - сталь 20Х.
Проверим палец на срез и определим его диаметр.
,
где
(40)
Р
- усилие, действующее на палец шарнира;
Fср - площадь
среза пальца шарнира, которая равна
,
где
(41)
d - диаметр
пальца (см. рис.32)
-допускаемое
напряжение на срез
=120
Н/мм2-для стали 20Х
Определим
усилие, действующее на палец шарнира.
Вертикальную
составляющую определим по формуле:
,
где
(42)
Для
дальнейших расчетов принимаем ориентировочно массы составляющих узлов.
Mрамы=350кг-масса
рамы механизма,
mдв- масса двигателя
привода фрезы (mдв=450кг)
Массу
фрезы определим ориентировочно по формуле
,
dф- диаметр
барабана фрезерного рабочего органа (dф=0,3м),
В-
ширина барабана фрезерного рабочего органа (В=0,7м),
- толщина
стенки барабана фрезы 
,
-
плотность стали
mп- масса двух
подшипниковых узлов в сборе (принимаем mп=100кг)
Масса
фрезы:
Тогда
Горизонтальная составляющая:
Ргор=W1ф=3600Н
Общее результирующее усилие, действующее на палец шарнира найдем из
формулы:
(44)
Полученное
усилие Ррез=10003,4Н действует на все четыре пальца привода фрезы. Определим
усилие, приходящееся на два пальца:
Р=Ррез/2=10003,4/2=5001,7Н.
(45)
Тогда
диаметр пальца определим по формуле:
(46)
Принимаем
диаметр пальца d=30мм.
Проведем
расчет толщины проушины.
Толщину
проушины определим из условия:
, где
(47)
-
допускаемые напряжения на смятие,
=280
Н/мм2
b- толщина
проушины.
(48)
Принимаем
b=20 мм.
Схема
для расчета пальца.
Рис.38
5.4 Расчет
сварного соединения кронштейна зуба
Определим допускаемое напряжение растяжения основного металла, принимая
для Ст3 [7,табл. П3]
(49)
Из
уравнения прочности при растяжении
, где
(50)
Мизг=Ws=3877,3H
Определим
толщину полосы
(51)
принимаем
S=10мм
(52)
5.5
Расчет долговечности подшипников
Рис.40
s=3877,3 Н-
результирующее сопротивление фрезерованию.
Результирующее
сопротивление фрезерованию Ws определяем по положению крайнего зуба на барабане
фрезы (самый тяжелый расчетный случай).
Определим
усилие в ступице барабана фрезы Р2 из уравнения:
(53)
Определим
реакцию, возникающую в подшипнике «Д» из уравнения:
(54)
Для
выбора подшипников необходимо предварительно определить диаметр выходного конца
вала:
где (55)
-среднее
значение допускаемого напряжения.
Принимаем
диаметр выходного вала 30мм.
Окончательно
принимаем шарикоподшипник радиальный двухрядный сферический ГОСТ 5720-75, номер
1605 с диаметром внутреннего кольца d=25мм, внешнего кольца D=62
мм, шириной В=24 мм и динамической грузоподъемностью С=24000 Н.
Затем
определим эквивалентную нагрузку Рэ
Она будет составлять:
, где
(56)
=
73794Н -радиальная нагрузка на подшипник;a=0- осевая
нагрузка на подшипник;
Кб=1,2
коэффициент безопасности;
х=1-
для радиального подшипника;=1- вращается внутреннее кольцо;
Кт=1-
температурный коэффициент (рабочая температура подшипника до 1000С).
Рэ=1×1×4308,2×1,2×1=5169,8Н
Расчетная
долговечность в млн. оборотов L или Lh в часах определяется по
динамической грузоподъемности С и величине эквивалентной нагрузки:
(57)
Необходимая
долговечность обеспечена.
5.6
Уточненный расчет вала барабана
Перед
началом расчета вала следует упростить схему расчета, и вследствие этого мы
будем иметь трехступенчатый вал.
Вал
барабана фрезы по теоретической схеме имеет длину 2,5 метра, что является
экономически и технологически (с точки зрения изготовления с нужной точностью
вала такой длины) очень не целесообразно и учитывая то, что основная масса вала
не несет нагрузки установим один полувал в месте воздействия нагрузок (см.
рис.41)
Рис.41.
Вал,
изображенный на рисунке имеет три ступени, но наиболее нагружена только одна
ступень. В этой ступени мы проверим его на изгиб и на кручение.
А-А-
сечение места посадки подшипника.
Для
начала отсчета принимаем, что вал изготовлен из стали 45. Считаем, что
нормальные напряжения от изгиба изменяются по симметричному циклу, а
касательные от кручения- по нулевому (пульсирующему)[7].
Предел
выносливости:
дорожный покрытие фреза техника
В
опасных сечениях действуют максимальные изгибающие моменты и крутящий момент
Мкр.
Рассмотрим
сечение А-А: концентрация напряжений вызвана напрессовкой внутреннего конца
подшипника на вал.
-
эффективный коэффициент нормальных напряжений, который равен:
=1,66 (по рекомендациям [7]).
-
эффективный коэффициент концентрации касательных напряжений:
=1,2
-масштабный
фактор для нормальных напряжений, равный:
=0,76
-
масштабный фактор для касательных напряжений, равный:
=0,65
Далее
определяем отношение этих коэффициентов:
Момент
инерции равен:
, где
(58)
d=60-диаметр
вала под подшипник.
6. Расчет
экономической эффективности
.1 Выявление конструктивных и эксплуатационных преимуществ
новой техники
Разработанная конструкция фрезерного оборудования на базе МТЗ-80
позволяет расширить его эксплуатационные и функциональные возможности,
увеличить парк рабочей техники имеющейся у организации занимающейся ремонтом
дорожного покрытия, связанными с фрезерованием асфальтобетонного покрытия, а
также повысить коэффициент эксплуатации, вследствие снижения простоя техники.
Полагаем, что данная конструкция позволит повысить рентабельность и
конкурентоспособность предприятий имеющих относительно небольшие заказы на
выполнение работ.
6.2 Выбор базового варианта
В данном проекте производится разработка навесного фрезерного
оборудования на базе МТЗ-80. Прототипом для данной разработки послужило
фрезерное оборудование, устанавливаемое на тракторе МТЗ-80.
6.3 Расчет капитальных вложений
В объемах капиталовложений учитываются непосредственные капиталовложения
и затраты, необходимые для создания и использования техники. Капитальные
затраты по базовой и новой технике включают в себя оптовую цену и затраты на
доставку техники:
(59)
где
оптовая цена техники, руб.
коэффициент,
учитывающий затраты на доставку техники.
Оптовая
цена базовой техники
трактор МТЗ-80 (в ценах от 01.01 2005 г.).
Цена
модернизированной машины:
(60)
где
стоимость заменяемых сборочных единиц, руб.
стоимость
новых сборочных единиц, руб.
Стоимость
базовой машины:
(61)
Определим стоимость заменяемых и новых сборочных единиц.
Стоимость заменяемых сборочных единиц (см. табл.1):
(62)
масса
заменяемых механизмов и металлоконструкции, кг.
стоимость
1 кг. заменяемых механизмов и металлоконструкции, руб.
Стоимость
новых сборочных единиц (см. табл.1):
(63)
масса
заменяемых механизмов и металлоконструкции, кг.
стоимость
1 кг заменяемых механизмов и металлоконструкции, руб.
Стоимость
заменяемых сборочных единиц:
(64)
Стоимость новых сборочных единиц:
(65)
Цена модернизированной машины:
(66)
Сводная
плановая калькуляция стоимости
|
Наименование
|
|
Сварные конструкции
|
Узлы механизмов
|
|
  
|
|
|
|
|
Б.Т.
|
16.0
|
_
|
26.5
|
530
|
|
Н.Т.
|
16.0
|
600
|
26.5
|
860
|
Капитальные
затраты базовой техники:
.
Капитальные
затраты новой техники:
.
Балансовая
стоимость машины (
и
)
включают ее оптовую цену и затраты на транспортировку машины к месту
назначения.
(67)
(68)
Экономическое обоснование лимитных цен проверяется сопоставлением их с
действующими ценами на базовые модели с учетом изменения технико-экономических
параметров.
(69)
где
- срок службы базовой и новой машины.
-
нормативный коэффициент эффективности.
- годовая
эксплуатационная производительность базовой и новой машины
(70)
где
- эксплуатационная среднечасовая производительность,
-
количество машино-часов работы техники в году
-
коэффициент простоя
(71)
где
- количество смен в день
- время
смены
-
количество рабочих дней в году
(72)
где
- коэффициент перехода от технической
производительности к экспериментальной
-
техническая производительность,
Техническая
производительность базовой машины:
(73)
где
- объем фрезерования
-
коэффициент использования по времени
-
продолжительность рабочего цикла
Техническая
производительность новой машины:
Неравенство выполняется, следовательно, проектирование новой машины
экономически целесообразно.
Годовая выработка базовой машины:
(74)
Годовая выработка новой машины:
(75)
Коэффициент изменения производительности:
(76)
Межремонтный
цикл:
(77)
где
- средняя величина до первого капитального ремонта
Количество
технических обслуживаний:
(78)
где
- периодичность выполнения соответствующего
технического обслуживания (принимается из рекомендаций ЦНИИ ОМТ).
;
;
Количество
текущих ремонтов:
(79)
где
- периодичность выполнения текущего ремонта
-
количество капитальных ремонтов за срок службы
(80)
6.4
Расчет эксплуатационных затрат
Эксплуатационные затраты (без отчисления на реновацию) на выполнение
технологического процесса.
(81)
Затраты на заработную плату рабочих, занятых управлением машины:
(82)
где
- коэффициент, учитывающий премии, дополнительную
плату, доплаты и отчисления на социальные страхования.
- часовая
тарифная ставка машиниста 4-го разряда.
Амортизационные
отчисления:
(83)
где
коэффициент амортизационных отчислений;
капитальные
затраты базовой и новой техники;
,
,
Затраты на капитальные ремонты:
(84)
где
норма отчислений на капитальный ремонт;
капитальные
затраты базовой и новой техники;
Затраты на технические обслуживания и текущие ремонты:
(85)
где
- затраты на заработную плату ремонтных рабочих
(86)
где
- коэффициент, учитывающий премии, доплаты ремонтных
рабочих
- часовая
тарифная ставка рабочих по ремонту машин
-
количество ТО и ТР за межремонтный прцесс
-
трудоемкость выполнения ТО и ТР
Затраты
на материалы и запасные части:
(87)
где
- коэффициент, учитывающий накладные расходы на ремонт
-
коэффициент перехода от заработной платы к затратам на ТО и ТР
-
коэффициент, учитывающий накладные расходы на заработную плату
;
;
Затраты
на топливо для машины:
(88)
где
- сумма цен зимнего и летнего топлива
(89)
где
- цена летнего топлива
- цена
зимнего топлива
- часовой
расход топлива
(90)
где
- удельный расход топлива
-
мощность
Затраты на масло, смазочные и вспомогательные материалы:
(91)
где
коэффициент перехода от годовых затрат на топливо к
затратам на смазочные материалы;
(92)
Тогда эксплуатационные затраты равны:
Калькуляция годовых текущих затрат приведена в таблице 2.
Калькуляция годовых текущих затрат
|
№ п.п
|
Статьи затрат
|
Условное обозначение
|
Затраты, руб.
|
Удельный вес %
|
|
|
|
БТ
|
НТ
|
БТ
|
НТ
|
|
1
|
Заработная плата
|
38032,339070,38,538,2
|
|
|
|
|
|
2
|
Амортизационные отчисления
|
41420,743256,116,518,4
|
|
|
|
|
|
3
|
Затраты на капитальный
ремонт
|
2380524855,99,510,58
|
|
|
|
|
|
4
|
Затраты на ТО и ТР
|
1126512616,74,584,82
|
|
|
|
|
|
5
|
Затраты на топливо
|
118653,7121494,348,749,6
|
|
|
|
|
|
6
|
Затраты на масло, смазочные
и вспомогательные материалы
|
29663,430373,512,211,7
|
|
|
|
|
|
Общая стоимость годовых
текущих затрат
|
262840,1271666,8100100
|
|
|
|
|
6.5 Расчет
удельных приведенных затрат
Приведенные затраты:
(93)
где
- отчисления на реновацию базовой и новой машины
(94)
где
- нормативный коэффициент эффективности
Тогда
приведенные затраты равны
Удельные
приведенные затраты:
(95)
Себестоимость
годовой выработки:
(96)
где
- затраты на реновацию
(97)
6.6
Определение экономической эффективности
Суммарный экономический эффект определяется по формуле:
(98)
где
- экономический эффект производства
(99)
где
- коэффициент эквивалентности
(100)
где
- коэффициент реновации в зависимости от их срока
службы
Тогда экономический эффект производства равен:
Экономический
эффект в эксплуатации:
(101)
где
- удельные капиталовложения
(102)
Тогда
Суммарный
экономический эффект равен:
за 10
лет.
Годовой
экономический эффект:
(103)
Срок
окупаемости машины:
(104)
Результаты
расчетов заносим в таблицу 3
Технико-экономические показатели базовой и новой машины
|
№ п.п.
|
Технико-экономические
показатели
|
Условное обозначение
|
|
Отклонения
|
|
|
|
БТ
|
НТ
|
%
|
|
|
1
|
Капитальные затраты
|
414000432345183454,2
|
|
|
|
|
2 Годовые
текущие затраты: 2.1 Заработная плата 2.2 Амортизационные отчисления 2.3
Затраты на капитальный ремонт 2.4 Затраты на ТО и ТР 2.5 Затраты на топливо 2.6
Затраты на масло, смазочные и вспомогательные материалы
262840,1
38032,3
,7
,7
,4271666,8
39070,3
,1
,9
,7
,3
,5-8826,7
1038
,9
,7
,6
,13,2
,6
,2
,2
10,7
2,3
|
2,3
|
|
|
|
|
|
|
3
|
Удельные капитальные
затраты
|
136,6-6,4-96,9
|
|
|
|
|
|
4
|
Удельные приведенные
затраты
|
105,2-4,8-92,3
|
|
|
|
|
|
5
|
Экономический эффект, руб
|
1702904,5
|
|
|
|
6
|
Срок окупаемости, лет
|
1,1
|
|
|
В результате проведенных вычислений получили, при одинаковом объеме
фрезерования, высокую производительность новой машины и низкие удельные затраты
и капиталовложения. Сравнив эти значения с базовым вариантом, определили, что
производство этой машины выгодно и целесообразно.
7. Безопасность жизнедеятельности
.1 Использование дорожной фрезы
Охрана труда.
Охрана труда - система законодательных актов,
социально-экономических, гигиенических и лечебно-профилактических мероприятий и
средств, обеспечивающих безопасность, сохранение здоровья и работоспособности
человека в процессе труда.
Охрана труда базируется на достижениях различных
отраслей знаний: гигиена труда, производственная санитария, физиологии и
психологии труда, эстетики, экономики, социологии, решает экономические,
социальные, инженерно-технические и психофизиологические задачи.
За последнее десятилетие производство нашего
государства изменилось коренным образом: техника усложнилась, производство
расширилось, возникли новые отрасли промышленности.
Забота об охране труда находилась в центре внимания у
проектировщиков новой техники с давних времен. Происходило это потому, что
забота о том, чтобы изобретаемый предмет работал с наибольшим удобством для
человека и с наименьшей опасностью для его здоровья, являлось одной из
главнейших задач проектировщика.
В процессе трудовой деятельности возникает
закономерный для организма физиологический процесс - утомление. Физическая
работа даже при незначительных мускульных затратах, но в условиях опасных для
здоровья и жизни, характеризуется возрастанием нервного напряжения, что всегда
- приводит к быстрому утомлению. Пребывание в производственных условиях, где
безопасность труда не гарантирована, приводит к быстрому утомлению всего
организма. Вследствие этого относительно быстро снижается внимание и
работоспособность человека.
Широкое внедрение в технологические процессы получили
электрическая энергия, вибрация, емкости под высоким давлением и т.д. Возрастает
энергетическая мощность оборудования и машин, усилия и скорости рабочих
органов.
Следует отметить противоречие влияния
научно-технического прогресса на условия и охрану труда Научно-технический
прогресс позволяет освободить человека от физической нагрузки перекладывая ее
на машину, но одновременно в связи с применением различных видов энергии,
химических ускорителей, синтетических материалов а также машин и оборудования с
повышенными скоростями и большой мощностью возникают вредные опасные
производственные факторы, которые ранее не были известны и отрицательно
действующие на организм человека. Поэтому проблемные вопросы охраны труда не
снижаются, а приобретают актуальное значение и должны решаться одновременно с
другими вопросами научно-технического прогресса.
Анализ вредных и опасных производственных факторов при
эксплуатации дорожной фрезы.
В условиях работы ремонтера вредные и опасные
производственные факторы во много раз усиливаются, создавая потенциально
опасные условия труда. Обеспечение здоровья, санитарно-гигиенических условий
труда людей и внедрение современной техники безопасности труда, сокращающее до
минимума производственный травматизм и профессиональные заболевания - главная
задача современной промышленности.
Воздействие вредных и опасных производственных
факторов на организм человека приводит к ухудшению здоровья и потери
работоспособности.
Вредный производственный фактор - производственный
фактор, воздействие которого на работающего в определенных условиях приводит к
заболеванию или снижению работоспособности.
К вредным производственным факторам относят:
неблагоприятные метеорологические факторы ;
- пыль;
- шум;
вибрация;
промышленные яды и газы;
К опасным производственным факторам относятся :
недостаточная устойчивость, движущиеся детали, элементы механизмов и машин в
целом, недопустимая температура поверхностей машин, оборудования и воздуха в
рабочей зоне; недопустимый уровень шума, электромагнитных полей, недостаточная
освещенность рабочей зоны.
При оптимальном микроклимате в кабине, производительность
труда и комфортность увеличивается, снижается заболевание рабочих. Существует
несколько видов освещения: естественное, искусственное и совмещенное.
Правильное освещение также влияет на состояние
организма, оно стимулирует протекание процессов нервной системы и деятельности,
повышает работоспособность. При недостаточном освещении человек работает менее
продуктивно, быстро устает, растет вероятность ошибочных действий, что может
привести к травматизму. Поэтому освещение рабочих мест и помещений должно
удовлетворять следующим условиям :
уровень освещенности рабочей поверхности должен
соответствовать гигиеническим нормам для данного вида работы;
должны быть обеспечены равномерность и устойчивость
уровня, освещенности кабины, отсутствие резких контрастов между освещенностью
рабочей поверхности и окружающего пространства;
в поле зрения не должно создаваться блеска источниками
света и другими предметами;
искусственный свет, используемый для освещения по
своему спектральному составу должен приближаться к естественному.
Технологический процесс при эксплуатации дорожного ремонтера.
сопровождается выделением пыли, ядовитых газов, паров и других, вредных
веществ. Попадание этих веществ в организм человека может вызвать отравление,
болезни дыхательных путей, слизистой оболочки .
Наибольшую опасность представляет пыль, которая
находится во взвешенном состоянии и легко проникаете легкие.
Выделяются многочисленные продукты сгорания: оксид
углерода, оксид азота и другие. Многие соединения могут вызывать различные заболевания.
Для очистки воздуха для водителя от пыли, вредных
веществ в кабине оператора применяют фильтрующие элементы воздуха,
пылеулавливатели, кондиционеры.
Шум, возникающий при работе дорожной фрезы может
воздействовать раздражающе на органы слуха, а также не благоприятно
воздействует на сердечно-сосудистую и нервную системы.
В соответствии с нормами ГОСТ 12.1.029-80 защита от
шума обеспечивается звукоизоляцией кабины, которая выполнена из резины,
войлока, картона, кожзаменителя и из материалов - шумопоглатителей.
Значительно снижает производительность труда и
вибрация. Она увеличивает утомляемость оператора и может приводить к
профессиональному заболеванию - виброзаболеванию.
Защитой от вибрации служит виброизоляция - сидение,
которое смягчает толчки и удары. Плохие последствия могут быть при не
внимательном отношение к этому фактору.
Еще худшие последствия может иметь халатное отношение к
электробезопасности труда. При прохождении электрического тока на;
организм человека или воздействие электрической дуги
возникают электротравмы, которые по признаку поражения делятся на электрические
удары и травмы. В первом случае поражается весь организм и особенно его
внутренние органы. Во втором случае происходит местное поражение кожи, мышц и
других частей тела. Особенно опасен для человека электрический удар, при
котором нарушается сердечная, дыхательная и мозговая деятельность.
Действие электрического тока на организм человека
может быть химическим, приводящим к разложению крови, и тепловым, вызывающим
ожог участков тела. Возможны также металлизация кожи, биологическое
воздействие, при котором нарушается электрический процесс (биоток).
Степень опасности воздействия тока на организм зависит
от величины тока, длительности его воздействия, рода и частоты его, электрической
сопротивляемости тела человека, а также от напряжения и схемы включения тела
человека в электрическую сеть.
Техника безопасности при эксплуатации дорожной фрезы.
К управлению трактором допускаются лица, которым
исполнилось 18 лет, изучившие правила техники безопасности, устройство и
управление дорожной фрезы, прошедшие специальную подготовку и инструктаж по
технике безопасности и сдавшие экзамены на допуск к самостоятельной работе.
Перед началом работы проверяется рабочее оборудование
- надежность крепления сборочных единиц.
Перед подключением оборудования к сети проверяется
нейтральное положение рычагов управления.
Перед любым действием рабочих органов необходимо
убедится в том, что при этом не пострадают люди.
Во время движения и работы запрещается:
садиться на трактор и сходить с него;
-зависать на подножках;
-допускать к управлению дорожной фрезы посторонних лиц
и лиц , не имеющих ни допуска к работе, ни допуска к управлению;
работать на неисправном оборудовании
проводить осмотр рабочих органов при включенных
агрегатах;
появление на рабочем месте в нетрезвом состоянии; -
курение на рабочем месте.
Правильно спроектированный процесс работы дорожной
фрезы предотвратит вредное воздействие выделяющихся при работе ядовитых
испарении и пыли.
Защита человеческого от воздействия вредных веществ,
выделяющихся в ходе технологических процессов, осуществляется следующими
способами: удаление вредных веществ из рабочей зоны или герметизация ее,
применение вентиляционных систем, в частности местных отсосов или полостей с
избыточным давлением воздуха, а также расположением в отдельном помещении
оборудования, выделяющего вредные вещества.
Такие отсосы предусматривают у мест наибольшего
выделения вредных паров, газов или излишней теплоты. Для улавливания вредных выделений,
если не представляется возможным расположение над ними вытяжных зонтов,
применяют бортовые отсосы.
При проектировании местных отсосов рассчитывают объем
удаляемого воздуха от рабочей зоны оборудования, в которой образуются вредные
выделения. С этим объемом воздуха удаляются вредные вещества.
Расчет ведут в зависимости от оборудования и вида
вредных выделений
Объем удаляемого воздуха из вытяжного шкафа при
упрощенных расчетах будет вычисляться по формуле:
(105)
V- объем
удаляемого воздуха;
А-
площадь проемов и не плотности укрытия ;
v-
скорость воздуха в рабочем проеме .
7.2 Безопасность жизнедеятельности
при спасательных и других неотложных работах (СиДНР)
Спасательные и другие неотложные работы.
Спасательные и другие неотложные работы производятся с
целью обеспечения быстрого спасения людей и предупреждения катастрофических
последствий аварий и повреждений.
Спасательные работы - это работы в очагах поражения,
зонах стихийных бедствий по отысканию пострадавших людей и оказания им первой
медицинской помощи.
К спасательным работам относятся:
. Разведка маршрутов выдвижения и участков работ.
. Локализация и тушение пожаров на маршрутах
выдвижения и участках работ.
. Розыск пострадавших и извлечение их из поврежденных
горящих зданий, загазованных, задымленных, затопленных помещений и завалов.
. Вскрытие разрушенных, поврежденных и заваленных
защитных сооружений и спасение находящихся там людей.
. Подача воздуха в заваленные защитные сооружения с
поврежденной фильтро-изоляционной системой.
. Оказание первой медицинской помощи и первой
врачебной помощи пораженным людям и эвакуация их в лечебные учреждения.
. Вывод, вывоз населения из опасных мест в безопасные
районы.
. Санитарная обработка людей, ветеринарная обработка
сельскохозяйственных животных, дезактивация, дегазация техники, средств защиты
и одежды, обеззараживание территорий и сооружений, продовольствия, пищевого
сырья, воды.
Неотложные работы - работы в очагах поражениях и зонах
стихийных, бедствий по локализации и ликвидации аварий, угрожающих жизни людей,
- затрудняющих их спасение или усугубляющих последствия применения оружия
массового поражения.
К этим работам относятся:
. Прокладка колонных путей, устройство проездов, проходов
в завалах и на пораженных участках.
. Локализация аварий на газовых, энергетических,
водопроводных, канализационных и технологических сетях в целях создания условий
для проведения спасательных работ.
. Укрепление или обрушение конструкций, угрожающих
обвалом и препятствующих движению и ведению спасательных работ.
. Ремонт и временное восстановление поврежденных линий
связи и коммунально-энергетических сетей в целях обеспечения спасательных
работ.
. Ремонт поврежденных защитных сооружений для защиты
от возможных повторных ядерных ударов противника.
Особенности проведения СиДНР.
СиДНР могут проводиться в сложной обстановке, в
условиях полной и сильных разрушений, сплошных завалов, пожаров, заражения
атмосферы и местности и возможного затопления. Машина будет работать
практически круглосуточно в две и более смен и поэтому для бесперебойной работы
к машине предъявляются следующие требования:
. Износоустойчивость. Это прежде всего относится к
рабочему оборудованию, трущимся парам, системам управления. Они должны быть
устойчивы к износу.
. Универсальность. Машина должна по возможности
выполнять как можно больше объема работ за меньшее количество времени.
. Большой моторесурс. Машина работает круглосуточно в
условиях запыленности воздуха, при высоких температурах, что вредно сказывается
на двигательной установке, машинисте и машине в целом. Поэтому машина должна
быть устойчивой к вредным воздействиям и надежной в работе.
. Простота управления, т. к. работы по спасению людей
и разборке завалов надо производить как можно быстрее, то машинист не должен
испытывать трудности с управлением, терять время и утомляться .
. Возможность работы в любых условиях. Это работа при
радиоактивном излучении, химическом заражении, сильном ветре и т.п.
Виды работ, выполняемые дорожной фрезой.
Проектируемая дорожная фреза представляет собой
дорожную машину, способную производить разрушение асфальтобетона.
Проектируемая дорожная фреза на базе трактора МТЗ-80
может выполнять следующие виды работ:
. Ремонт колонных путей. Учитывая тот факт, что дороги
являются жизненно важными артериями государства, то существует необходимость
постоянного поддержания их в рабочем состоянии. Особое внимание уделяется
дорогам с твердым асфальтобетонным покрытием , так как, их пропускная
способность в несколько раз выше, чем у грунтовых дорог, что является важнейшим
фактором , играющим большую , а порой и решающую роль в чрезвычайных ситуациях
при проведении СиДНР.
Наличие дорог позволяет мобильно и в короткие сроки
осуществить эвакуацию населения из очагов поражения и зон стихийных бедствий.
Осуществлению этих задач в значительной степени будет способствовать
проектируемый дорожный ремонтер.
. Обеззараживание поверхности дорожного покрытия .
Данный вид работ может проводиться следующими способами :
а) Удалением зараженного покрытия. Данная машина
способна производить только фрезерование дорожного полотна на глубину 50 мм при
ширине фрезерования 700 мм со скоростью 6 м /мин с вывозом зараженного
материала дорожного покрытия, например, в могильник. Отличительной чертой
данной машины является и то, что фрезерный рабочий орган с нее можно снять и
установить на другое базовое шасси и использовать для удаления зараженного
грунта.
Особенности работ машиниста при проведении СиДНР.
При проведении СиДНР комплекс работает в самых
неблагоприятных условиях (загазованность, радиоактивная пыль и т. п.), что
требует специальных средств защиты машиниста.
Кабина оператора проектируемой машины не обладает
специальными средствами защиты и не рассчитана на работу в экстремальных условиях.
Но если оборудовать машину защитой, то она успешно может использоваться в СиДНР
при ликвидации радиоактивного и химического заражения.
Во-первых, кабину необходимо сделать полностью
герметичной, чтобы внутрь не проникали газы и пыль. Во-вторых, в кабину
необходимо подавать очищенный и обезвреженный воздух. Для этого на
воздухозаборник (патрубок) устанавливается фильтрующее устройство (можно фильтр
из марли эффективно защищает от радиоактивной пыли). Для защиты от газов
машинист должен пользоваться средствами индивидуальной защиты (СИЗ), в
частности,- противогазом, т. к. в процессе работы машинист может выйти из
кабины, то необходимы также средства защиты кожного покрова. Они бывают
изолирующие (защитный костюм Л-1, защитный комбинезон, резиновые сапоги,
перчатки и подшлемник) и фильтрующие (комплект фильтрующей одежды ЗФО-58,
состоящий из хлопчатобумажного комбинезона, мужского нательного белья,
хлопчатобумажного подшлемника и двух пар хлопчатобумажных портянок). Комбинезон
можно для лучшей защиты пропитать мыльным или масляным раствором.
Для защиты от радиации по полу кабины можно установить
защитные экраны из свинца, которые ослабят воздействие у-излучения на
машиниста. Так как работа происходит и в ночное время и в условиях запыленности
нужно установить дополнительные источники света на кабине для обзорности поля
работ и в кабине для освещения приборов.
Работа производится в зоне с повышенной температурой,
от горящих , конструкций, и поэтому можно установить "кондиционер большой
мощности с увеличенным расходом воздуха. После работы техники в зараженной
местности необходимо провести частичную специальную обработку. Ее проводят
следующими способами: смывание вредных веществ струей воды под давлением,
обработкой техники специальными растворами, протирание зараженной техники
ветошью, смоченной в бензине, керосине, дизельном топливе. При одновременном
заражении техники радиоактивными и отравляющими веществами сначала проводится
дегазация, а затем дезактивация (если степень заражения больше 200 мГр/час).
Рабочим, занятым управлением ремонтером, рекомендуется
проводить частичную дезактивацию и дегазацию, т.е. удалять радиоактивные и
обезвреживать отравляющие вещества, оказавшиеся на органах управления машиной,
в самой кабине, на ручках дверей и т.п.
Приборы безопасности и сигнализации.
При работе трактора в ночное время в ночное время требуется навешивать
дополнительные приборы освещения, так как сам он не в состоянии обеспечивать
требуемое освещение.
При повороте трактора, рабочий персонал должен быть осведомлён об этом
манёвре. Для получения необходимого сигнала экскаватор должен снабжаться
звуковой сигнализацией.
Учитывая множество приборов безопасности, необходимо также учесть приборы
для заднего обзора трактора. К таким приборам можно отнести зеркала приближающего
- увеличивающего действия.
Устойчивость машины.
Продольная
устойчивость обеспечивается тогда, когда подъем или уклон его не превышает
предельных углов
и
(рис.43,44),
при которых заторможенный трактор не опрокинется.
Расчетная
схема для определения продольной устойчивости на подъеме.
Рис.43
При подъеме трактор может опрокинуться вокруг т.0 (рис.43).Трактор будет
находится в состоянии устойчивости в том случае, пока будет соблюдаться
следующее условие:
(106)
где
- вес машины,
- высота
центра тяжести,
-
расстояние от задней оси до вертикали, проходящей через центр тяжести,
- угол
подъема,°
Определим
максимально допустимый угол подъема по формуле:
(107)
Таким образом трактор будет находится в состоянии устойчивости при
подъеме, если угол подъема не превышает 10°.
Проверим условие опрокидывания:
Условие
опрокидывания выполняется.
На
спуске трактор может опрокинуться вокруг т.О1 (рис.44)
Расчетная
схема для определения продольной устойчивости на спуске.
Трактор будет находится в состоянии устойчивости в том случае, пока будет
соблюдаться следующее условие:
(108)
-
расстояние от передней оси до вертикали, проходящей через центр тяжести,
Определим
угол наклона:
(109)
Трактор будет находится в состоянии устойчивости при спуске, если угол
наклона не превышает 57°.
Проверим условие устойчивости при спуске:
Условие устойчивости выполняется.
Поперечная устойчивость трактора характеризуется предельным углом
(рис.45) при движении поперек уклона:
Рис.45
При
движении поперек уклона трактор может опрокинуться вокруг т.О2.
Определим угол бокового наклона дороги:
(110)
где
- угол бокового наклона дороги,°
-ширина
колеи трактора,

Трактор будет находится в состоянии устойчивости при движении поперек уклона,
если угол бокового наклона не превышает 28°.
Проверим условие устойчивости при поперечном наклоне:
-условие
устойчивости выполняется.
Вывод.
Проектируемая машина благодаря своей конструктивной
особенности, позволяющей фрезеровать верхний слой асфальтобетона, шириной
разрушаемой полосы 700 мм и толщиной разрушаемого слоя 50 мм. При этом данное
оборудование позволяет получить на выходе мелкую фракцию, которую не нужно
дробить, то есть она готова к переработке старого асфальтобетона. Это делает
наиболее устойчивым применение дорожной фрезы для аварийных работ в
экстремальных ситуациях.
8. Экологическая безопасность
.1 Требования экологической безопасности при эксплуатации
разработанного оборудования
В настоящее время большое влияние уделяется экологической безопасности, а
именно уменьшению содержания токсичных веществ в отработанных газах, снижению
уровня вибрации и шума от работающих механизмов, уменьшению вредного
воздействия на почву движителем. Проблемы охраны окружающей среды требуют
участия в ее разработке специалистов различных отраслей знаний. Задачи и
конструктивные программные действия по охране и улучшению окружающей среды
становятся неотъемлемой частью различных видов проектных работ, начиная от
генеральной схемы расселения в масштабе страны, региона и кончая проектами
детальной планировки отдельных элементов города, что требует от проектировщика
глубокого знания взаимосвязей между проектируемыми объектами, их функционально
пространственной структурой и складывающейся экологической ситуацией на
территории этих объектов. Проектируемое оборудование установлено на базовой
машине - тракторе МТЗ-80, привод которой осуществляется от дизельного
двигателя, являющегося источником вредных выбросов и шума, что отрицательно
сказывается на состоянии окружающей среды.
8.2 Требования охраны окружающей среды
. Уровень шума и вибраций электродвигателя (двигателя внутреннего
сгорания) не должен превышать санитарных норм (85 дБ, по
ГОСТ 12.1.003-83) - «Допустимый уровень шума и вибраций в технологических
установках и транспортных средствах». Допустимый уровень шума и вибраций не
должен превышать уровней приведенных в таблице 1.
Таблица 1.
|
Типы транспортных средств
|
Уровни звука, дБ.
|
|
Уровень шума
|
Уровень вибраций
|
|
Легковые и
грузопассажирские автомобили Автобусы с полной массой свыше 3500кг и
двигателем кВт. менее 150 кВт 150 и более кВт Автобусы и грузовые
транспортные средства с полной массой, двигателем кВт не более 2000 кВт свыше
2000 кВт но не более 3500 кВт Грузовые транспортные средства с полной массой
свыше 3500 кг и двигателем мощностью, кВт менее 75 кВт 75 и более, но не
менее 150
|
77 80 83 78 79 81 83
|
79 73 67 85 82 91 97
|
Примечание:
Эквивалентные и максимальные уровни звука для шума, создаваемого
автомобильным, строительно-дорожным, железнодорожным транспортом в 2 м от
ограждающей конструкции первого ряда жилых и общественных зданий, обращенных в
сторону магистральных улиц, принимается на 10 дБ выше приведенных данных в
таблице 1.
При разработке средств защиты от шума и вибраций, прежде всего следует
выяснить вид данного шума, поскольку необходимое снижение шума можно достигнуть
только при правильном выборе средств защиты. Различают два вида шума -
воздушный и структурный.
Воздушный шум распространяется в воздухе от источника возникновения до
места наблюдения. Структурный шум излучается поверхностями колеблющихся
конструкций стен, перекрытий перегородок, зданий в звуковом диапазоне частот
20-2000 Гц.
В нашем случае вибрации и шум передаются от двигателя внутреннего сгорания
ДВС к конструкции машины. Воздушный шум попадает в кабину оператора машины
через перекрытия, воздуховоды, а также через проемы, щели и т.п. Вибрации
передаются основанию машины, трубопроводам насосных и воздуховодам
вентиляторных установок, вызывая возникновение структурного шума.
2. Конструкция агрегата должна исключать при его работе просачивание
жидкостей и паров, пропуск воздуха и образовавшихся газов в кабину машиниста и
рабочую зону.
.Параметры выбросов вредных веществ в отработавших газах не должны
превышать следующих значений:
СО - 21 г/кВт×ч;
СН - 1,8 г/кВт×ч;
NO -
6,8 г/кВт×ч.
Твёрдые частицы 0,14 г/кВт×ч.
Очистка отработавших газов двигателя внутреннего сгорания должна
производиться с помощью каталитического нейтрализатора, что способствует
совершенствованию экологического состояния окружающей среды.
. Неметаллические материалы, входящие в конструкцию дизеля и агрегата не
должны выделять токсичные вещества и распространять неприятный запах.
5. Параметры дымности отработавших газов не должны превышать допустимых
значений по ГОСТ 24.08-86 - «Допустимые санитарные нормы дымности отработавших
газов строительно - дорожных и коммунальных машин».
Эффективность использования лома и отходов металла
зависит от их качества. Загрязнение и засорение металлоотходов приводят к
большим потерям при переработке, поэтому сбор, хранение и сдача их
регламентируются специальными стандартами: ГОСТ 2787-75 «Лом и отходы черных
металлов. Шихтовые. Классификация и технические требования»; ГОСТ 1639-78 «Лом
и отходы цветных металлов и сплавов. Общие требования» и др.
Основные операции первичной обработки металлоотходов -
сортировка, разделка и механическая обработка. Сортировка заключается в
разделении лома и отходов по видам металлов. Разделка лома состоит в удалении неметаллических
включений. Механическая обработка включает рубку, резку, пакетирование и
брикетирование на прессах.
Пакетирование отходов организуется на предприятиях, на которых образуется
50 т и более высечки и обрезков в месяц. Каждая партия должна сопровождаться
удостоверением о взрывобезопасности и безвредности. Стружку перерабатывают на
пакетирующих прессах, стружкодробижах, брикетировочных прессах. Брикетированию
(окускование механическим уплотнением на прессах, под молотком и других
механизмах) подвергается сухая и неокисленная стружка одного вида, не
содержащая посторонних примесей с длиной элемента до 40 мм для стальной и 20 мм
для чугунной стружки. Прессование вьюнообразной стружки целесообразно приводить
в отожженном состоянии, так как при этом отпадает необходимость выполнения
таких подготовительных операций, как дробление, обезжиривание, отбор обтирочных
материалов и мелких кусков металла.
На предприятиях, где образуется большое количество
металлоотходов -организуются специальные цехи (участки) для утилизации
вторичных металлов. Чистые однородные отходы с паспортом, удостоверяющим их
химический состав, используют без предварительного металлургического передела.
Таблица 2. - составляющие материалы машины
|
Наименование детали (узла)
|
Материал детали (узла)
|
Масса, кг
|
|
Валы, оси, зубчатые колеса,
шестерни и т.д.
|
Сталь 45
|
600
|
|
Часть блока двигателя,
корпус коробки передач, раздаточной коробки и т.д.
|
Дюралюминий
|
2000
|
|
Аккумуляторная батарея
|
Свинец
|
50
|
|
Рама фрезы, редуктора,
кабина, верхнее днище, ковш, и т.д.
|
Ст 3
|
33000
|
|
Резиновые уплотнения,
пыльники, колеса скрепера и т.д.
|
Резина
|
1700
|
|
Стеклянные изделия (кабины,
фар и т.д.)
|
Стекло
|
350
|
|
Шейки коленчатого вала,
часть двигателя и т.д.
|
Серый чугун
|
4000
|
|
Приборы управления и
контроля, приборы системы зажигания и т.д.
|
Пластмасса
|
150
|
|
Обивочные материалы кабины
(утеплители, сиденья) и т.д.
|
Кожа, войлок, дермантин
|
100
|
|
Всего
|
41950
|
8.3
Проблема качественного использования воды (
)
Острая проблема предприятий города - очистка воды после мойки деталей.
Требования к размеру удаляемых примесей здесь невысокие, но требуется ускорение
процесса очистки. Для этого применяется отстаивание, что крайне долго. Сброс
неочищенной воды в городскую канализацию неэкономичен, из-за ее забивания,
загрязнения среды.
Требуемый расход сточной воды для очистки и фильтрования маслосъемных
деталей строительно - дорожных машин указан в таблице 3.
Таблица 3.
Расход
сточной воды, м/с
. Концентрация маслопродуктов до фильтра, кг/м
.Продолжительность фильтрования,
час.Эффективность
фильтрования
|
%
|
|
|
|
|
0,05 0,083 0,1 0,05 0,083
0,115 0,117
|
0,021….0,076 0,037….0,069
0,029….0,094 0,082….0,11 0,107….0,223 0,084….0,201 0,092….0,174
|
63 42 33 21 18 12 9
|
0,94 0,93 0,94 0,91 0,96
0,95 0,92
|
Это лишь небольшой перечень, где требуется очистка и где ее можно
ускорить с помощью центрифугирования и ультрацентрифугирования. Однако
существующие центрифуги имеют существенные недостатки, ограничивающие их
применение. У центрифуг обычных размеров быстро заполняется грязевое
пространство, большеобъемным центрифугам нельзя давать большие обороты, что
снижает разделяющий фактор и не позволяет эффективно удалять мелкие частицы.
Необходимы центрифуги с высокой частотой вращения, позволяющие выводить
грязевые отложения без остановки (“на ходу”). Известны подобные центрифуги
(молочные, творожные и некоторые другие), но они имеют чрезмерно большие
размеры и массу и высокую производительность (10…25 т/ч), не надежны в
эксплуатации.
Несмотря на выше перечисленные предложения по очистке использованных
масел и жидкостей базовой машины, всё же применяются “традиционные” способы по
замене масла. Отработавшее свой ресурс масло, сливают на незащищённую почву,
чем подвергают её сильному токсичному заражению и невозможности быть
плодородной. Во избежание этих последствий необходимо сооружать сточные канавы,
которые заканчиваются вместительными резервуарами для отработанного масла.
Далее из этих резервуаров отработанное масло может забираться вакуумными
насосами, которые в свою очередь могут применяться для утилизации различных
трудноутилизируемых жидкостей, содержащих вредные или ядовитые вещества, за
счет их полного высушивания до получения твердого остатка. В это время
необходимо также следить за тем, чтобы масло не попало в сточные воды, так как
в ряде городов случайно были обнаружены подземные озера масел. Также
отработанное масло можно отправить на бетонный завод, где оно будет
использоваться в качестве жидкости для смазывания форм различных бетонных
изделий.
При замене масла со старого на новое, новое масло следует заливать так,
чтобы не было утечек, что редко получается, а также применять настилы, которые
располагаются под данными агрегатами и имеют свойство впитывать в себя излишки
смазочных материалов.
8.4 Утилизация изношенных шин
Изношенные шины сами по себе достаточно инертны и не наносят прямого
ущерба окружающей среде. Однако сроки их биологического разложения исчисляются
десятилетиями, а по некоторым данным вулканизированная резина вообще не
подвергается биологическому разложению. Помимо проблемы захламленности
автомобильных дорог и городских территорий, этот вид отходов, учитавая его
пожароопасность, может создать большие проблемы со складированием, поскольку
расход покрышек при эксплуатации автотранспорта составляет в среднем 1,5 - 2
штуки в год на каждый зарегистрированный автомобиль.
Существует несколько вариантов утилизации изношенных шин. Наиболее
простой и распространенный - это их сжигание. Этот вариант при всей его
простоте далеко не рационален по двум причинам:
·
сжигание
изношенных покрышек сопровождается выделением в атмосферу диоксина, окислов
серы и азота, тяжелых металлов и сажи;
·
энергия,
получаемая при сжигании изношенных покрышек меньше затраченной на их
производство.
Таким образом, контролируемое сжигание изношенных покрышек можно рассматривать
лишь как временную меру их утилизации. Наиболее рациональным вариантом является
механическое дробление шин и повторное использование полученной крошки для
изготовления резиновых половых плит для производственных и животноводческих
комплексов, кровельных листов, уплотнителей, подрельсовых прокладок и т.д.
Заключение
В России, в настоящее время, одной из важнейших
проблем является плохое состояние автодорог с твердым покрытием. Отсутствие
хороших дорог сказывается на экономической, физической и моральной жизни
населения, поскольку плохое состояние покрытая, а зачастую полное его
отсутствие, не позволяет использовать в нужном объеме автотранспорт, снижает
его долговечность, наносит значительный экономический ущерб всему народному
хозяйству.
Причинами этого положения являются два фактора:
. Отсутствие передовой современной технологии
строительства, содержания и ремонта автодорог общего пользования.
. Отсутствие современной высокопроизводительной
техники для строительства, содержания и ремонта дорог с твердым покрытием.
Цель этой разработки - создание эффективной,
высокопроизводительной машины, заменяющей целый комплекс СДМ, используемый при
ремонте дорог.
Данная разработка позволит: увеличить
производительность, осуществить последние разработки крупнейших зарубежных
фирм, специализирующихся в области создания дорожных фрез, использующих старое
покрытие в качестве сырья для приготовления и укладки нового дорожного
покрытия, сократить трудоемкость производства работ, сократить экономические
затраты на обслуживание техники, использовать в качестве базового шасси трактор
МТЗ-80, выпускаемый серийно.
В дорожной фрезе применены стандартные узлы комплексы и детали.
Конструкция не требует повышенных затрат на материал и топливо, запасные части
и обслуживающий персонал. Используемая вспомогательная техника является
общераспространенной, недорогой, универсальной .
Список используемой литературы
. Баловнев В.И. Дорожно-строительные машины и комплексы.
М.: Машиностроение, 1988, 383с.
. Баловнев В.И. Дорожно-строительные машины с рабочими
органами интенсифицирующего действия. М.: Машиностроение, 1981. 223 с.
. Гроссман Л.Б., Ярмак Е.И., Носов П.М. Современные
зарубежные машины для разогрева и рыхления асфальтобетонных покрытий
автомобильных дорог при ремонте. М.: ЦНИИТЭстроймаш, 1979. 47 с.
. Бауман В.Л., Клушанцев Б.В., Мартынов Д.В. Механическое
оборудование предприятий строительных материалов, изделий и конструкций. М.:
Машиностроение, 1981. 324 с.
. Карошкин А.А., Краснолудский А.В. Диссертация. Определение
рациональных параметров эксцентричной дорожной фрезой. 95 с.
. Справочник конструктора дорожных машин. 2-е изд. /Под
редакцией Бородачева И.П./ М.: Машиностроение, 1973. 351 с.
. Чернавский С.А. Курсовое проектирование деталей машин. М.:
Машиностроение, 1973. 351 с.
. Ицкович Г.М. сопротивление материалов. 2-е изд. М.: Высшая
школа, 1966. 512 с.
. Детали машин. Атлас конструкций. / Под редакцией Д.Н.
Решетова/. М.: Машиностроение, 1968. 360 с.
. Подъемно-транспортные машины строительной промышленности.
Атлас конструкций /Под редакцией Вайсона А.А./ М.: Машиностроение, 1976. 150 с.
. Юшкин В.В. Основы расчета объемного гидропривода. М.:
Машиностроение, 1981. 90 с.
. Экономика отрасли, методические указания к разработке
раздела дипломного проекта для студентов специальностей 0510, 0511. -Саратов:
СГТУ, 1986. -19 с.
. Савицкий В.П. Грузоподъемные машины (курсовое
проектирование): [Учебное пособие для машиностроительных специальностей вузов].
-М. Высшая школа, 1981. 160 с.
. Сергеев В.П. Строительные машины и оборудование. М.: Высшая
школа, 1987. 376 с.
. Международная заявка № 81/ 03352, Н.В. Баушев: способ и
устройство для удаления старой и укладки новой дорожной одежды. Изобретения
стран мира. М.: ВНИИПИ НПО «поиск» Государственного комитета по изобретениям и
открытиям при ГКНТ СССР, 1991. 30 с.