Системы автоматического регулирования авиационных двигателей

  • Вид работы:
    Курсовая работа (т)
  • Предмет:
    Другое
  • Язык:
    Русский
    ,
    Формат файла:
    MS Word
    468 Кб
  • Опубликовано:
    2012-09-17
Вы можете узнать стоимость помощи в написании студенческой работы.
Помощь в написании работы, которую точно примут!

Системы автоматического регулирования авиационных двигателей

Задание

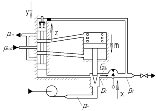
Рис.1 Принципиальная схема САР перепада давления топлива на дроссельном кране

 - перепад давления на дроссельном кране (РП);

 - расход топлива через дроссельный кран (РФ);

 - перемещение золотника дроссельного крана (ВВ);

 - настройка пружины чувствительного элемента (УВ);

 - изменение давление на выходе из насоса (ВВ).

При выводе уравнений предполагается: силы сухого трения и гидродинамические силы пренебрежимо малы; жидкость несжимаема; давление на выходе из дроссельного крана - постоянное, .

Исходные данные для расчёта

k1

k2

k3

k4

k5

k6

k7

k8

z

T1

T2

2

1

0,5

1

0,3

0,5

-

0,5

0,3

0,12

0,4

разбиение - k7;

Воздействие - ;

Критерии устойчивости - Р - Г; Н.

Содержание

Введение

. Назначение и принцип действия САР

. Вывод дифференциального уравнения дроссельной иглы

. Построение структурной схемы и определение передаточных функций САР

. Анализ устойчивости САР

. Оценка качества регулирования САР

Заключение

Список литературы

Введение


К системам автоматического регулирования (САР) авиационных двигателей предъявляются весьма жёсткие требования по статическим и динамическим характеристикам, поэтому важен выбор параметров САР, обеспечивающих заданные характеристики, и анализ влияния отдельных параметров на динамические свойства САР.

1. Назначение и принцип действия САР


САР состоит из объекта регулирования - дроссельного крана и гидромеханического регулятора перепада давления (рис.1).

При уменьшении площади дроссельного крана  перепад давления на нем  возрастает. Золотник чувствительного элемента переместиться вверх и соединит надпоршневую полость с магистралью , а подпоршневую полость - с магистралью . Дроссельная игла с поршнем переместиться вниз и уменьшит расход топлива . При этом перепад давления на дроссельном кране восстановится.

2. Вывод дифференциального уравнения дроссельной иглы


При выводе уравнения предполагается: силы сухого трения и гидродинамические силы пренебрежимо малы; жидкость несжимаема; давление на выходе из насоса - постоянное, .

Уравнение дроссельной иглы, связывающее массовый расход топлива с перемещением дроссельной иглы, определяется зависимостью


- объемный расход топлива;

- коэффициент расхода дросселя ();

- площадь проходного сечения;

- плотность жидкость ();

- давления на входе в дроссельную иглу и выходе из насоса.

Нелинейная расходная характеристика дроссельной иглы линеаризуется разложением в ряд Тейлора:

,

где .

Относительное приращение площади проходного сечения дроссельной иглы  связано с относительным его перемещением зависимостью:

.

Из совместного решения уравнений можно определить линеаризованное уравнение дроссельной иглы:

,

где ; ;  - коэффициенты передачи дроссельной иглы.

 

3. Построение структурной схемы и определение передаточных функций САР


Уравнения звеньев САР сводятся в систему уравнений:

 - объект регулирования;

 - чувствительный элемент;

 - сервопоршень;

 - дроссельная игла;

 - баланс расходов.

Система уравнений содержит 8 переменных (, , , , , , , ), т.е. за исключением управляющего  и возмущающего  и  воздействий число переменных равно числу уравнений. Система дифференциальных уравнений записывается в операторной форме и преобразуется к форме, удобной для построения структурной схемы САР. Для этого из системы операторных уравнений исключаем параметры  как входящие в простые зависимости. В результате получаем:


В структурном виде эти уравнения могут быть изображены следующим образом:

Рисунок 2. Составляющие структурной схемы САР

Структурная схема САР, соответствующая системе преобразованных операторных уравнений, представлена на рисунке 3. По структурной схеме легко прослеживается взаимодействие звеньев в системе регулирования перепада давления топлива на дроссельном кране.

Рисунок 3. Структурная схема САР

Для определения передаточной функции САР в разомкнутом состоянии в структурной схеме условно размыкается основная обратная связь и вводится входной и выходной параметры разомкнутой системы. Тогда передаточная функция разомкнутой САР определяется как отношение:


При этом предполагается: ;;.


После преобразования можно получить:

,

;

;

;

;

.

Передаточная функция замкнутой САР по управляющему воздействию (при  и ) определяется по формуле:


После преобразования можно получить:

,

;

;

;

;

.

Собственный оператор замкнутой САР имеет вид:

4. Анализ устойчивости САР

Построим D-разбиение в плоскости параметра k7 . Решаем уравнение :

.

Подставляя в данное уравнение значения всех коэффициентов и численные значения параметров САР (см. задание) и решая его относительно коэффициента k7, получаем следующее выражение:


Воспользовавшись программой RADIS, определим действительную и мнимую составляющие частотной функции k7 для ряда значений частот. В результате расчёта и построения получаем кривую D-разбиения для положительных значений частот (рис.5).

Рисунок 5. D - разбиение в плоскости коэффициента k7: I - область наибольшей вероятности устойчивой работы; II, III - области неустойчивой работы САР

Кривая D-разбиения заштриховывается с левой стороны по мере возрастания частоты колебаний. Воспользовавшись правилом подсчёта корней характеристического уравнения для каждой из выделенных областей D- разбиения определяем область I , соответствующую наибольшему числу корней с отрицательной вещественной частью, т.е. более вероятную область устойчивости САР.

Для проверки устойчивости САР в области I зададимся величиной Re k7 , взятой из этой области: k7=0, и запишем характеристический полином или собственный оператор замкнутой САР с числовыми значениями коэффициентов:

.

Для проверки устойчивости САР по критерию Рауса-Гурвица составим квадратную матрицу Гурвица из коэффициентов a0…an:


при  проанализируем знаки диагональных миноров:

;

;

.

Все диагональные миноры положительны, следовательно, САР устойчива и область I D-разбиения является областью устойчивости САР.

Для проверки устойчивости по критерию Найквиста анализируется АФЧХ разомкнутой системы. Передаточная функция разомкнутой САР при принятых значениях коэффициентов имеет вид:

;

Вначале определяется устойчивость системы. Для этого используется собственный оператор разомкнутой САР с числовыми значениями коэффициентов:


Воспользовавшись программой RADIS, рассчитывается и строится АФЧХ разомкнутой САР. Из представленного на рис. 6 графика следует, что АФЧХ разомкнутой САР не охватывает точку с координатой (-1;j0), следовательно, замкнутая САР будет устойчива.

Рисунок 6. Амплитудно-фазочастотная характеристика разомкнутой САР частоты вращения ГТД

5. Оценка качества регулирования САР


Качество регулирования САР определяется по показателям качества переходного процесса при ступенчатом управляющем и возмущающем воздействиях. Переходные характеристики рассчитываются по алгоритму и программе RADIS.

При заданных исходных данных передаточная функция замкнутой САР при управляющем воздействии имеет вид:


Задаваясь тремя значениями коэффициента k7 из области устойчивости D- разбиения, например, k7 =2; 4; 6, определяем переходные характеристики при ступенчатом возмущающем воздействии . Переходные характеристики рассчитываем по последнему выражению с использованием программы RADIS. Шаг интегрирования принимаем равным  с, время интегрирования  с.

Рисунок 7. Переходные характеристики САР частоты вращения авиационного ТРД (а - при k7 =2, б - при k7 =3, в - при k7 =4)

Из анализа графических зависимостей следует, что увеличение коэффициента усиления звена k7 в прямой цепи регулирования САР приводит к колебательному переходному процессу и в тоже время к снижению статической погрешности поддержания заданного расхода топлива через дроссельный кран. Изменяя коэффициент k7, можно добиться приемлемых показателей качества регулирования. Так, например, при k7 = 3 будут следующие показатели качества регулирования:  - максимальная величина перерегулирования;

с - время регулирования, в течение которого заканчивается переходный процесс (при допуске ±5% от );

N = 2 - число периодов колебаний за время переходного процесса;

с-1 - угловая частота собственных колебаний.

 

Заключение

автоматический давление дроссельный игла

Анализ устойчивости системы автоматического регулирования перепада давления топлива на дроссельном кране показал, что данная САР устойчива и область D-разбиения является областью устойчивости САР. Это подтвердили проверки устойчивости САР по критерию Найквиста и критерию Рауса-Гурвица.

Список литературы


1. Гимадиев А.Г. Динамические характеристики систем автоматического регулирования: Учебное пособие. - Куйбышев: КуАИ, 1986 - 60с.

2. Шорин В.П. Системы автоматического регулирования энергетических установок: Методическое пособие. - Куйбышев: КУАИ , 1986 - 39с.

Похожие работы на - Системы автоматического регулирования авиационных двигателей

 

Не нашли материал для своей работы?
Поможем написать уникальную работу
Без плагиата!
Без нейросетей!