Конструкция и эксплуатация систем кондиционирования воздуха магистральных пассажирских самолетов

  • Вид работы:
    Дипломная (ВКР)
  • Предмет:
    Транспорт, грузоперевозки
  • Язык:
    Русский
    ,
    Формат файла:
    MS Word
    735,69 kb
  • Опубликовано:
    2012-03-11
Вы можете узнать стоимость помощи в написании студенческой работы.
Помощь в написании работы, которую точно примут!

Конструкция и эксплуатация систем кондиционирования воздуха магистральных пассажирских самолетов

ОГЛАВЛЕНИЕ

Введение

. Факторы, влияющие на жизнедеятельность человека в полёте

.1 Основные свойства земной атмосферы

.2 Влияние высотных полётов на организм человека

.3 Влияние на человека теплового воздействия и влажности окружающей среды

.4 Требование к составу и чистоте воздуха герметической кабины

. Основные агрегаты авиационных систем кондиционирования воздуха

.1 Теплообменные аппараты

.1.1 Воздухо-воздушные теплообменники

.1.2 Канальные воздухо-воздушные теплообменники

.1.3 Воздухо-жидкостные испарительные теплообменники

.1.4 Воздухо-воздушные испарительные теплообменники

.1.5 Особенности теплообменника-конденстатора

.2 Турбохолодильники

.2.1 Конструкция и принцип работы турбохолодильника

.2.2 Требования, предъявляемые к турбохолодильникам

.3 Элементы специального назначения

.3.1 Заслонки регуляторов температуры воздуха в гермокабине

.3.2 Влагоотделители

.3.3 Увлажнители воздуха

.3.4 Фильтры

.3.5 Воздухопроводы

. Комплексная система кондиционирования воздуха самолёта Ту-154М

.1 Конструкция и принцип работы системы

.1.1 Основные технические данные СКВ

.1.2 Система отбора воздуха от двигателей

.1.3 Работа СКВ при запуске двигателей

.1.4 Подсистема плавного наддува

.1.5 Краны наддува левой и правой магистрали

.1.6 Пневматическая система весовой подачи воздуха (ПСВП)

.1.7 Подача воздуха в гермокабину (распределительные магистрали или система распределения/вентиляции)

.1.8 Принцип работы ТХУ 3318

.1.9 Система обогрева гермокабины

3.1.10 Вентиляция салонов

3.1.11 Система автоматического регулирования температуры воздуха

.1.12 Контроль за работой СКВ

.2 Эксплуатация системы

.3 Характерные отказы и неисправности. Методы их выявления и устранения

.4 Анализ надёжности. Предложения по модернизации

.5 Модернизация узлов охлаждения системы кондиционирования воздуха

. Система кондиционирования воздуха самолёта A-320

.1 Конструкция и принцип работы системы

.2 Эксплуатация системы

.3 Характерные отказы и неисправности. Методы их выявления и устранения

.4 Анализ надёжности. Предложения по модернизации

. Перспективные системы кондиционирования воздуха самолётов нового поколения

.1 Предпосылки создания самолёта с более мощной системой электроснабжения

.2 Конфигурация бортовых систем самолёта В-787 без отбора воздуха от двигателей

.3 Двигатели

.4 Запуск двигателя и вспомогательной силовой установки

.5 Система контроля параметров воздуха

.6 Вспомогательная силовая установка

.7 Выводы

Выводы и рекомендации

Список использованной литературы

ВВЕДЕНИЕ

Некоторые перелётные птицы летят на очень больших высотах. Например, горные гуси, одни из самых высоко летающих птиц, совершают перелёты через Гималаи на высотах, достигающих 8000 метров [1]. Это невероятная высота, если учесть, что на высоте даже 5000 метров плотность атмосферы на 63 % меньше её плотности на уровне моря. Летя на такой высоте, где атмосфера столь разрежена, птица должна чаще махать крыльями и, следовательно, ей необходимо большее количество кислорода.

Однако лёгкие этих существ сотворены так, что птицы могут извлечь из доступного на этих высотах кислорода максимальную выгоду. Их лёгкие по принципу работы, отличающиеся от лёгких млекопитающих, позволяют пернатым получить большее количество энергии из разреженного воздуха.

Человек же не способен находиться продолжительное время в столь жёстких условиях, это послужило причиной создания систем кондиционирования, обеспечивающих нормальную жизнедеятельность человека при полёте в самолётах на больших высотах. Сейчас каждый день миллионы людей спокойно пролетают на высоте на 3000 метров выше, чем гора Эверест.

Практика знает множество примеров отказов СКВ, приведших к созданию неблагоприятных условий для пассажиров и членов экипажей, инцидентам и даже катастрофам. Так, под Афинами 14 августа 2005 года разбился самолёт Boeing 737 авиакомпании Helios Airways, совершавший рейс 522 Ларнака-Афины-Прага. Причиной трагедии стали неполадки в подсистеме наддува, что привело к недостаточной герметизации салона при наборе высоты. В результате кислородного голодания все пассажиры и члены экипажа потеряли сознание, после чего самолёт разбился. Существует похожий случай, произошедший 25 октября 1999 года. Известный американский гольфист Пэйн Стюарт погиб в результате катастрофы чартерного самолёта Learjet, совершавшего перелёт из Орландо в Даллас. Причиной стал закрытый клапан отбора воздуха в системе СКВ, и как следствие - кислородное голодание и потеря сознания. Самолёт, пролетев 2500 км на автопилоте, упал после израсходования топлива.

Как видно из примеров, вопросы понимания конструкции, принципа работы, слабых мест систем кондиционирования воздуха очень важны для поддержания заданного уровня безопасности и регулярности полётов, решения проблем по устранению отказов, а также по решению возможно необходимых доработок, т.к. примеров инцидентов, возможно приведших бы к катастрофам, гораздо больше.

Система кондиционирования воздуха, как и другие системы, должна соответствовать требованиям нормативных документов, и, в частности, для неё - по расходу, давлению и скорости его изменения, температуре, влажности, газовому составу и скорости движения воздуха в гермокабине в ожидаемых условиях эксплуатации на земле, а также на всех этапах и режимах полёта. Такими нормативными документами являются: в России - ЕНЛГС (Единые нормы лётной годности гражданских самолётов). СКВ посвящена 5 глава. В США - FAR (Федеральные Авиационные Правила), определяющие нормы лётной годности для самолётов, отнесённых по терминологии FAR к категории транспортных, и соответствующих в отечественной классификации магистральным самолётам. СКВ посвящена 25 глава.

Системы кондиционирования воздуха на современных самолётах гражданской авиации по принципу работы одинаковы, но по конструктивному исполнению различны.

Принцип работы состоит из следующих этапов. Сначала происходит отбор воздуха от компрессоров двигателей. Эту функцию выполняет так называемая подсистема отбора или горячая часть системы (в ЭТД раздел 36 и на иностранных ВС - Pneumatic System, ATA 36), где воздух проходит первую стадию охлаждения, понижается его давление и регулируется расход. Затем воздух поступает в систему распределения (вентиляции) или холодную часть системы (в ЭТД раздел 21 и на иностранных ВС - Air Conditioning System & Ventilation, ATA 21), где проходит вторую стадию охлаждения, регулирования оптимального количество влаги, уменьшения шума и создания выходной (заданной) температуры перед подачей его в герметичную часть фюзеляжа с параметрами, необходимыми для нормальной жизнедеятельности пассажиров и членов экипажа.

В настоящее время совершенство систем кондиционирования и обеспечиваемый ими уровень комфортности условий в кабине летательного аппарата во время полёта входят в число важных факторов, определяющих его конкурентоспособность.

Произведём анализ и сравнение систем кондиционирования воздуха самого эксплуатируемого отечественного самолёта в России Ту-154М (на сегодняшний момент эксплуатируется 119 машин из 320 построенных) и одного из самых эксплуатируемых самолётов в мире иностранного производства - самолёта А-320 (на сегодняшний момент эксплуатируется 2161 машина из 2214 построенных). Сделаем оценку перспективной системы кондиционирования воздуха самолёта нового поколения В-787.

1. ФАКТОРЫ, ВЛИЯЮЩИЕ НА ЖИЗНЕДЕЯТЕЛЬНОСТЬ ЧЕЛОВЕКА В ПОЛЁТЕ

Человеческий организм достаточно хорошо приспособлен к разнообразным, но вполне определённым условиям среды обитания на земной поверхности. Однако полёты в земной атмосфере на воздушных шарах, начавшиеся в 1783 г., показали, что подъём на высоту может быть опасным для жизни. Человеку для совершения таких полётов необходимы специальные защитные средства. Для создания соответствующих эффективных средств потребовалось изучение особенностей условий полёта и способностей человека к преодолению воздействия неблагоприятных факторов.

1.1 Основные свойства земной атмосферы

Земная атмосфера в основном состоит (без учёта водяных паров) из азота (78,09 % по объёму), кислорода (20,95 %), аргона (0,93 %) и углекислого газа (0,03 %). Такой состав сохраняется неизменным до высот 80...100 км, в связи с чем данный слой называют гомосферой. Выше располагается гетеросфера - слой, где состав воздуха изменяется с изменением высоты. Под действием космического излучения молекулы компонентов воздуха разрушаются, и вещества переходят в атомарную и ионизированную форму. На высотах до 800 км главным газовым компонентом является атомарный кислород, а на высотах более 900 км преобладающими становятся водород и гелий, после чего земная атмосфера постепенно переходит в межпланетный газ.

Наличие водяных паров в самых нижних слоях атмосферы может быть весьма заметным. Во влажных тропиках водяной пар теоретически может занимать около 10 % объёма воздуха, соответственно тесня все остальные газовые компоненты. Решающим фактором, определяющим содержание водяного пара в воздухе, является сильная зависимость насыщающего влагосодержания от температуры. При +45 °С в воздухе может находиться в парообразном состоянии 65 г/м3 воды, при 0 °С - около 5 г/м3, при -50 °С - только 0,05 г/м3. Учитывая, что в нижних слоях атмосферы её температура быстро понижается с увеличением высоты (градиент равен -6,5 °С/км), можно легко объяснить факт присутствия в атмосфере водяных паров (в том числе и в виде облаков) лишь на малых высотах.

Следует отметить наличие в атмосфере озона - аллотропного видоизменения кислорода, отличающегося от обычной формы наличием трёх атомов в молекуле и образующегося из кислорода под действием коротковолновой ультрафиолетовой части спектра излучения Солнца на высотах 20...60 км. Распределение озона в атмосфере неравномерно, оно зависит от географической широты и, кроме того, имеет четко выраженные сезонные и суточные изменения. В средних широтах максимум концентрации озона наблюдается на высотах 19...21 км и составляет примерно 2,5·10-4 мг/л.

Озон весьма токсичен для человеческого организма: его предельно допустимая концентрация составляет 2·10-4 мг/л, что соответствует, например, предельно допустимой концентрации для отравляющего вещества фосгена. Отметим, что на высотах 19...21 км концентрация озона в атмосфере превосходит предельно допустимую ещё до сжатия воздуха (в 7...14 раз), необходимого для создания в кабине летательного аппарата требуемого давления. Следовательно, при полёте на этих высотах требуется защита человека от токсичного воздействия озона. Кроме того, под действием озона обесцвечиваются некоторые красители, а резиновые изделия разрушаются, рассыпаясь в порошок, при контакте в течение 2...4 ч с озоном с концентрацией 0,02...0,03 мг/л.

Экспериментально полученный график изменения температуры воздуха по высоте в атмосфере представлен на рис. 1. Следует отметить, что показанная на графике высокая температура воздуха на больших высотах (до 1000 К) отражает только высокую скорость движения микрочастиц воздуха на этих высотах (температура является мерой кинетической энергии атомов и молекул вещества) и не вызывает заметного нагрева поверхности летательных аппаратов из-за большой разрежённости газа. Более важными для авиации являются закономерности поведения температуры воздуха на малых и средних высотах.

Рис. 1. Зависимость температуры воздуха T от высоты h в земной атмосфере (штриховкой показаны границы предельных отклонений на высотах до 30 км) [2]

По характеру изменения температуры по высоте атмосферу делят на пять слоёв (рис. 1): тропосферу, стратосферу, мезосферу, термосферу, экзосферу. Участки перехода от слоя к слою называют паузами: тропопауза, стратопауза, мезопауза, термопауза.

Для получения зависимости давления от высоты рассмотрим статическое равновесие воздуха в поле гравитационных сил. Выделим элементарный элемент - цилиндр, в пределах которого плотность воздуха и ускорение свободного падения можно считать неизменными, с осью, перпендикулярной к поверхности гравитационного потенциала (рис. 2). Условие равновесия этого элемента будет иметь вид

pdF-(p+dp)dF-ρgdFdh = 0, (1)

где р - давление воздуха на высоте h; dp - изменение давления с изменением высоты на dh; dF - площадь основания элементарного цилиндра; ρ - плотность воздуха на рассматриваемой высоте; g - ускорение свободного падения.

Рис. 2. Схема равновесия цилиндрического элемента, выделенного из столба воздуха [2]

Из уравнения (1.1) легко получается зависимость

dp = -ρgdh, (2)

известная как дифференциальное уравнение гидростатики. Для интегрирования уравнения (1.2) и получения аналитической зависимости р от h необходимо знать характер изменения ρ и g по высоте. В частности, для несжимаемой жидкости, например воды, когда g = const и ρ = const, интегрирование даёт линейную зависимость давления от глубины погружения:

р = ро + ρgh,

где ро - давление на свободную поверхность жидкости; h - глубина погружения, отсчитываемая от свободной поверхности вниз.

Если известен характер изменения температуры по высоте, уравнение (2) может быть проинтегрировано. В частности, для тропосферы при

Th = Tо - αh, (3)

где Th , То - значения абсолютной температуры на высоте h и нулевой высоте соответственно; α - градиент изменения температуры по высоте, α = 6,5 К/км, получаем

ph = po· , (4)

где po - давление на нулевой высоте; g - ускорение свободного падения, g = 9,80665 м/с2; R - газовая постоянная для воздуха, R = 287,05287 Дж/(кг·К).

Для начального участка стратосферы, на котором температура воздуха постоянна,

ph = po ст·exp , (5)

где hо ст - высота начала изотермического слоя стратосферы, м; ро ст - давление на высоте hо ст; Tо ст - значение абсолютной температуры.

В реальных условиях параметры атмосферы подвержены заметным отклонениям от своих средних значений (сезонным, суточным, метеорологическим и др.). В целях обеспечения сравнимости между собой результатов лётных испытаний авиационной техники, полученных в различных ситуациях, в нашей стране и за рубежом используется так называемая стандартная атмосфера, параметры которой рассчитываются по формулам типа (4), (5) [3]. В качестве констант в ней приняты (помимо уже упомянутых): То = 288 К (tо = 15 °С); ро = 101 325 Па (760 мм рт. ст.); hо ст = 11 км; Tо ст = 216,5 К (tо ст = -56,5 °С); ро ст = 22 690 Па (170 мм рт. ст.).

1.2 Влияние высотных полётов на организм человека

С ростом высоты, как было показано выше, атмосферное давление понижается. Это является причиной целого ряда неблагоприятных воздействий на человека, но в первую очередь ухудшается обеспечение организма кислородом. Кислород непрерывно участвует во всех жизненно важных процессах и доставляется ко всем органам, тканям и клеткам с помощью систем дыхания и кровообращения. Важно отметить, что в человеческом организме нет сколько-нибудь заметных запасов кислорода. Человек может обходиться без пищи более месяца, без воды - до двух недель, а без кислорода смерть наступает в течение нескольких минут.

При дыхании воздух через носоглотку, трахею и бронхи попадает в лёгочные альвеолы (диаметром около 0,2 мм), густо оплетённые капиллярными кровеносными сосудами. Через очень тонкие стенки сосудов (0,003...0,004 мм), представляющие собой полупроницаемые мембраны, происходят насыщение крови кислородом О2 и удаление углекислого газа СО2 в воздух. Общая поверхность альвеол достигает 90...120 м2. Кровь, насыщенная кислородом, доставляет его тканям организма и, обогатившись углекислым газом, вновь поступает в лёгкие.

Передача кислорода и углекислого газа по всему тракту систем дыхания и кровообращения подчиняется законам диффузии, т.е. происходит под действием разности парциальных давлений. Парциальное давление - это часть общего давления смеси, обусловленная наличием в ней данного компонента (такое давление имел бы газ, входящий в состав смеси, если бы он один занимал объём, равный объёму смеси при той же температуре). Сумма парциальных давлений всех компонентов составляет полное давление газовой смеси (закон Дальтона). Следовательно, парциальное давление пропорционально объёмной концентрации рассматриваемого вещества. В частности, для кислорода в атмосферном воздухе

, (6)

где - парциальное давление кислорода; ph - атмосферное давление на рассматриваемой высоте; - объёмная концентрация кислорода (в долях единицы); О2 - процентное содержание кислорода.

Парциальное давление кислорода в альвеолах легких отличается от парциального давления кислорода в атмосфере в связи с происходящими в альвеолах процессами газообмена:

, (7)

где - парциальное давление насыщенного водяного пара при температуре человеческого тела; - парциальное давление углекислого газа.

Из зависимостей (6) и (7) следует, что с ростом высоты даже при неизменном газовом составе атмосферного воздуха (характерном для гомосферы) парциальное давление кислорода уменьшается. Это вызывает снижение интенсивности процессов передачи кислорода в организм человека, причём его парциальное давление в альвеолах лёгких снижается в большей степени, чем в атмосфере.

При подъёме до высоты не более 2 км человек не испытывает какого-либо ухудшения самочувствия. С этой точки зрения диапазон высот от 0 до 2 км называют индифферентной зоной. На высотах от 2 до 3,5...4 км насыщение крови кислородом продолжает снижаться, но может быть парировано рефлекторным усилением деятельности сердца и лёгких. Данный диапазон высот называют зоной полной компенсации.

На высоте 3,5...4 км парциальное давление кислорода в альвеолярном воздухе становится равным 7,2...6,3 кПа (54...47 мм рт. ст.), и при дальнейшем увеличении высоты даже в условиях гипервентиляции легких нормальный газообмен нарушается. Эффекты кислородного голодания развиваются достаточно интенсивно, вплоть до полной потери человеком работоспособности, а нередко и потери сознания, которая у ряда лиц происходит на высотах 5...6 км, а у подавляющего большинства - на высотах 6...7 км. На высотах более 8 км возникают смертельно опасные для человека явления. Следует иметь в виду, что интенсивность кислородного голодания усиливается при выполнении человеком какой-либо работы.

Нормальная жизнедеятельность человека при подъёме на высоту может быть обеспечена поддержанием парциального давления кислорода в альвеолярном воздухе на уровне = 14,7 кПа (110 мм рт. ст.). Технически это можно осуществить путём поддержания соответствующего давления воздуха в окружающей человека среде (в герметической кабине или скафандре) или повышением процентного содержания кислорода во вдыхаемой смеси (применение кислородных приборов).

Требуемое изменение процентного содержания кислорода во вдыхаемом воздухе по высоте можно рассчитать с помощью формулы (8), задавшись необходимым (например, указанным выше) уровнем . В частности, можно установить, что на высоте 10 км необходимо подавать для дыхания чистый кислород, чтобы обеспечить в альвеолах парциальное давление кислорода, равное 14,7 кПа (110 мм рт. ст.). При дальнейшем подъеме будет снижаться даже при дыхании чистым кислородом. Из физиологических исследований известно, что минимальным парциальным давлением кислорода в альвеолах лёгких, при котором кровь еще насыщается на 80...85 %, является давление 5,5...6,7 кПа (41...50 мм рт. ст.), что соответствует высоте 3,8...4,5 км при дыхании атмосферным воздухом или высоте 12,3...12,8 км, если для дыхания используется чистый кислород.

 (8)

Понижение атмосферного давления помимо кислородного голодания может вызвать ряд других неблагоприятных эффектов, в числе которых можно назвать высотный метеоризм, аэроэмболизм, высотную эмфизему и взрывную декомпрессию.

1.3 Влияние на человека теплового воздействия и влажности окружающей среды

В человеческом организме происходят процессы массоэнергообмена, при которых высвобождается энергия вследствие химического окисления веществ, получаемых с пищей, или окисления собственных органических веществ организма в случае, если суточный рацион не покрывает потребностей энергопотребления. Полученная энергия расходуется в основном на поддержание нормальной температуры тела (37 °С) и на выполнение физической работы, к которой относится, в том числе и работа, затрачиваемая на поддержание определенного положения тела в гравитационном поле. Исследования показывают, что в общем балансе энергообмена доля, приходящаяся на внешнюю работу, совершаемую человеком, не превосходит в среднем 5 %, в то время как 95 % энергии выделяется в виде теплоты.

Теплообмен между человеческим организмом и окружающей средой происходит с помощью конвекции, испарения, излучения и теплопроводности. Интенсивность протекания этих процессов зависит от многих факторов - температуры, влажности и скорости движения окружающего человека воздуха, температуры ограждающих поверхностей, вида и свойств одежды, характера выполняемой работы и т.п.

Согласно официально принятому в США инженерами-теплотехниками и специалистами по системам кондиционирования воздуха определению [4] под тепловым комфортом подразумевается такое душевное состояние человека, при котором он выражает удовлетворённость микроклиматическими условиями окружающей его среды. Такое очевидно субъективное состояние соответствует полному тепловому равновесию, поддержание которого требует минимальных физиологических усилий, т.е. это состояние, при котором вся метаболическая (т.е. выработанная в организме) теплота быстро передается среде, непосредственно окружающей человека, не вызывая у него каких-либо значительных реакций (потения или озноба). Опыты свидетельствуют, что в состоянии теплового комфорта потребление человеком кислорода минимально (это, несомненно, важно для космических летательных аппаратов).

1.4 Требования к составу и чистоте воздуха герметической кабины

Воздух в кабинах летательных аппаратов должен удовлетворять определенным санитарно-гигиеническим требованиям, в частности по содержанию вредных газовых примесей. Согласно Единым нормам лётной годности гражданских самолётов (ЕНЛГС) [5] концентрация вредных веществ в воздухе кабины пассажирского самолета не должна превышать (мг/м3):

окиси углерода - 20

окислов азота - 5

паров топлива (в пересчёте на углерод) - 300

ароматических углеводородов - 5

паров и аэрозолей синтетических смазочных масел - 5

фторорганических соединений (в пересчёте на фтористый водород) - 0,5

формальдегида - 0,5

альдегидов (суммарно) - 0,6

На высотах более 7 км при продолжительности полёта до 3 часов, включая время набора высоты и снижения, средневзвешенная концентрация озона О3 в воздушной среде кабины не должна превышать 0,2 мг/м3; при продолжительности полёта более 3 часов - 0,1 мг/м3. Не допускается присутствие в воздухе кабины других вредных веществ, влияющих на работоспособность и здоровье экипажа и пассажиров.

Вредные газовые примеси поступают в кабину от людей (членов экипажа и пассажиров), они являются основными источниками загрязнения воздуха. В процессе жизнедеятельности человек выделяет более 400 химических соединений, в том числе с выдыхаемым воздухом в окружающую среду поступает 149 веществ, с поверхности кожи - 271. Количество выделяемых человеком веществ весьма изменчиво и зависит от индивидуальных особенностей организма, питания, двигательной активности, возраста и некоторых других факторов. В наибольших количествах выделяются такие вещества, как аммиак, ацетон, альдегиды, жирные кислоты, окись углерода, углеводороды, углекислый газ. Токсикологическая значимость выделяемых соединений неодинакова.

Вредные газовые примеси могут поступать в воздух кабины ЛА также в результате газовыделений элементов её конструкции (воздухораспределительных решеток, ковровых дорожек, обивки кресел, стен, различных предметов интерьера салона и т.п.), выполненных из неметаллических материалов или имеющих неметаллические покрытия. В нормальных условиях поступление вредных примесей от этих источников достаточно низкое и имеет значение только при возгорании.

Необходимый газовый состав воздуха обеспечивается посредством вентиляции кабины атмосферным воздухом, при этом концентрация выделяемых вредных примесей уменьшается за счёт добавления к воздуху кабины чистого воздуха. Однако подаваемый в кабину воздух можно назвать чистым лишь условно. Во-первых, атмосферный воздух может содержать выбросы промышленных предприятий или транспорта, дым и т.д. Во-вторых, вентиляция кабин осуществляется воздухом, отбираемым от компрессоров авиационных двигателей. Загрязнение этого воздуха может произойти в результате попадания паров топлива или продуктов термодеструкции горюче-смазочных материалов. Концентрация вредных веществ существенно зависит от времени эксплуатации силовых установок. Подача в кабину воздуха с концентрацией вредной примеси выше её предельно допустимого значения совершенно недопустима.

Расчёт расхода воздуха, необходимого для вентиляции кабины, производится исходя из условия разбавления подаваемым в кабину воздухом вредных примесей, выделяющихся внутри кабины, до достижения их предельно допустимых концентраций. В случае присутствия в воздухе кабины двух или нескольких веществ однонаправленного биологического воздействия сумма отношений фактических концентраций каждого из них к их предельно допустимым концентрациям не должна быть больше единицы.

Расчёт вентиляции производят по веществу, которое принято в качестве критерия чистоты воздуха. Исследования показали, что в помещениях, где находятся люди, причиной их плохого самочувствия является накопление в воздухе антропотоксинов - продуктов жизнедеятельности человека. Спектр веществ, выделяемых человеком в процессах жизнедеятельности, широк, и в качестве критерия чистоты воздуха могут быть предложены различные химические соединения.

Чаще всего для расчёта воздухообмена в жилых и общественных зданиях, транспортных средствах в качестве гигиенического норматива чистоты воздуха используется концентрация углекислого газа СО2. В данном случае углекислый газ является косвенным показателем загрязнения воздушной среды летучими продуктами жизнедеятельности человека, содержащимися в выдыхаемом воздухе, поте, выделениях с поверхности тела и одежды. Предельно допустимая концентрация углекислого газа (3 %, 54 мг/м3) существенно превышает его концентрацию, принятую в качестве гигиенического норматива. Являясь не самым токсичным из продуктов жизнедеятельности, углекислый газ выделяется человеком в наибольших количествах - до 20 л/ч (≈ 40 г/ч). Его концентрация в выдыхаемом воздухе доходит до 7020 мг/м3, в то время как концентрация аммиака - до 2 мг/м3, ацетона - до 0,92 мг/м3, окиси углерода - до 50 мг/м3. При отсутствии вентиляции достижение концентрацией СО2 значения, принятого в качестве гигиенического норматива, происходит существенно быстрее, чем концентрациями других, более токсичных веществ их предельно допустимых концентраций.

В качестве критерия чистоты воздуха для жилых и общественных зданий приняты следующие значения концентрации углекислого газа: 0,1 % (по объёму) для помещений с постоянным пребыванием людей; 0,125 % для помещений с периодическим пребыванием людей; 0,2 % для помещений с кратковременным пребыванием людей. Такие же значения приняты при расчёте судовых СКВ. Для сравнения можно указать, что допустимая концентрация углекислого газа в обитаемых отсеках ЛА 0,3 %, на подводных лодках 0,5 %. Указанные значения объёмной концентрации являются средневзвешенными, т.е. рассчитаны при условии равномерного распределения газовой примеси по объёму.

Допустимые значения концентрации углекислого газа в кабинах самолетов в настоящее время не нормированы, но в ЕНЛГС [5] указано, что расход подаваемого в кабину воздуха при половине отказавших источников наддува должен быть не менее 12 кг/ч на одного пассажира и 24 кг/ч на одного члена экипажа. Эти значения расхода соответствуют средневзвешенной концентрации углекислого газа не более 0,25 и 0,14 % соответственно, что при штатной работе СКВ даёт такие же значения гигиенического норматива, как и для общественных зданий и морских и речных судов.

Анализ данных, приведённых в табл. 1, показывает, что в пассажирских самолётах значения подачи воздуха, определённые из условия поддержания заданного теплового режима в ГК, обычно превышают значения, необходимые для обеспечения требуемого газового состава воздуха.

Таблица 1. Характеристика вентиляции кабин некоторых пассажирских самолётов

Параметр

Тип самолёта

Ил-86

Ил-96

Ту-134

Ту-154

Ту-204

Ан-24

Як-40

Як-42

Подача воздуха на пассажира, кг/ч

36

40

25,7*

27…30

25…30

30*

24

28…33

37,5


Условные обозначения:

*СКВ с частичной рециркуляцией кабинного воздуха

2. ОСНОВНЫЕ АГРЕГАТЫ АВИАЦИОННЫХ СИСТЕМ КОНДИЦИОНИРОВАНИЯ ВОЗДУХА

.1 Теплообменные аппараты

Теплообменным аппаратом (теплообменником) называется агрегат, в котором происходит процесс передачи теплоты от среды с большей температурой к среде с меньшей температурой [2].

В СКВ применяются следующие типы теплообменников:

воздухо-воздушные (ВВТ);

топливовоздушные (ТВТ), в которых охлаждение воздуха происходит с помощью топлива, подаваемого из баков в двигатели самолета;

испарительные, в которых охлаждение воздуха происходит в результате изменения агрегатного состояния хладоносителя (воды, водоспиртовых смесей, сжиженных газов и т.п.).

Анализ современных СКВ показывает, что масса теплообменников на некоторых самолётах достигает 30 % массы системы [2].

Авиационные теплообменники характеризуются максимальной интенсификацией теплообмена, минимальными габаритными размерами и гидравлическим сопротивлением. Это обусловливает применение в их конструкции тонкостенных элементов и, следовательно, усложнение технологии изготовления.

В зависимости от направления относительного движения теплоносителей теплообменники бывают прямоточные, противоточные и перекрёстноточные. В прямоточных теплообменниках тепло- и хладоносители движутся параллельно в одном направлении друг с другом, поэтому разность температур по длине теплопередающей поверхности уменьшается (один поток охлаждается, а другой - нагревается); этот тип теплообменников наименее эффективен. В противоточном теплообменнике потоки движутся навстречу друг другу, при этом разность температур мало изменяется и теоретически можно охладить теплоноситель до входной температуры хладоносителя. Однако реализовать конструкцию противоточного компактного авиационного теплообменника не всегда удаётся. Поэтому на практике очень часто применяют перекрёстноточные многоходовые теплообменники. В перекрёстноточном многоходовом теплообменнике (при двух-трёх ходах) удаётся обеспечить практически ту же эффективность, что и в противоточном. Обобщенной характеристикой совершенства теплообменника является его эффективность, или температурный КПД η, представляющий собой отношение количества переданной теплоты Q к максимально возможному её значению Qmax.

Эффективность теплообменника зависит от относительного движения теплоносителей, отношения водяных эквивалентов и совершенства теплообменной поверхности.

Современные теплообменники характеризуются значениями коэффициента теплопередачи kт. ср = 75...140 Вт/(м2·К) [6]. Эффективность теплообменника η = 0,5...0,95 и зависит в основном от его конструкции и соотношения водяных эквивалентов холодного и горячего потоков.

Выбор размеров теплообменника производится в каждом конкретном случае с учётом условий его компоновки на самолёте.

По конструктивному оформлению теплопередающей поверхности теплообменники можно разделить на две группы: трубчатые и пластинчатые.

В трубчатых теплообменниках горячий воздух высокого давления проходит внутри трубок, а хладоноситель - между трубок.

Большое распространение благодаря высокой интенсификации теплообмена, компактности и простоте изготовления получили пластинчато-ребристые теплообменники.

В пластинчато-ребристых теплообменниках теплопередающая поверхность состоит из плоских листов, между которыми располагаются гофрированные листы. Гофры, соединяя плоские листы в монолитную конструкцию, выполняют роль рёбер, значительно увеличивающих теплопередающую поверхность и повышающих прочность теплообменника.

2.1.1 Воздухо-воздушные теплообменники

Охлаждение воздуха, отбираемого от компрессора двигателя, происходит за счёт передачи теплоты окружающей атмосфере. Наиболее распространён компактный ВВТ, в котором теплота отводится к специально организованному потоку продувочного воздуха. Часто встречается схема продува ВВТ с помощью вентилятора турбохолодильника. В этой схеме вентилятор обеспечивает продувку теплообменника при стоянке самолёта и его рулёжке по аэродрому, а в полёте основным побудителем движения продувочного воздуха становится скоростной напор. Вентилятор во время полёта может оказаться “узким местом”, ограничивающим расход и не позволяющим достигнуть максимально возможной эффективности ВВТ. Для преодоления данного недостатка схема может быть модернизирована введением обводной линии (вокруг вентилятора), соединяющей выходную полость теплообменника через обратный клапан с атмосферой. Увеличивая расход продувочного воздуха, удаётся получить коэффициент эффективности радиатора η = 0,8...0,85.

Понятие стартовой массы, заключается в идее о неэквивалентности установочной массы системы или агрегата с суммарной затратой массы на самолёте, учитывающей расход топлива на работу этой системы или агрегата и на транспортировку их на борту ЛА. Так, например, для работы ВВТ необходимо из общего потока отобрать какую-то часть воздуха, изменить направление его скорости и саму величину скорости, нагреть этот поток и выпустить в атмосферу. По оценке, приведенной в работе [7], стартовая масса отбора воздуха может превышать массу теплообменника в 20 раз. Отсюда вытекает важность оптимального выбора параметров теплообменника.

2.1.2 Канальные воздухо-воздушные теплообменники

Вместо компактных теплообменников на некоторых самолётах применяются поверхностные - канальные теплообменники, в которых стенка канала воздухозаборника представляет собой теплопередающую поверхность. Эта поверхность обдувается воздухом, поступающим в двигатель самолёта. Вследствие большого расхода воздуха в канале (50...200 кг/с) происходит интенсивная теплопередача и величина ηВВТ = 0,95. Сложность компоновки самолёта с таким радиатором (длина радиатора для СКВ с расходом 2500 кг/ч должна составлять около 1,5 м) и большая масса теплообменника не позволяют его применять на любом самолёте.

2.1.3 Воздухо-жидкостные испарительные теплообменники

Использование скрытой теплоты парообразования является одним из широко применяемых способов охлаждения воздуха в СКВ. В настоящее время многие скоростные самолёты в составе СКВ имеют воздухо-водяные или воздухо-водоспиртовые испарительные теплообменники. В испарительных теплообменниках охлаждаемый воздух, проходя по каналам, передаёт теплоту жидкости через стенки. Жидкость нагревается и при достижении насыщения при данном давлении начинает кипеть, интенсивно испаряясь. Воздухо-водяные испарительные теплообменники имеют коэффициент эффективности η = 0,85...0,9.

Наибольшее распространение в качестве хладагента получила вода. Она имеет крупный недостаток - замерзание при отрицательных температурах, однако её дешевизна, большая теплота парообразования заставляют конструкторов находить способы защиты конструкции от разрушения при замерзании воды.

2.1.4 Воздухо-водовоздушные испарительные теплообменники (ВВИТ)

В целях повышения эффективности охлаждения горячего воздуха в испарительных теплообменниках и уменьшения выходной температуры в ряде систем применяется охлаждение за счёт увлажнения продувочного воздуха посредством впрыска в него воды. Испарение воды в потоке воздуха приводит к существенному снижению его температуры.

В качестве испарительного теплообменника с впрыском (рис. 3) применяют обычные ВВТ, как пластинчато-ребристые, так и трубчатые. Во входном патрубке продувочной линии устанавливается форсунка, через которую впрыскивается вода или водоспиртовая смесь. Расход жидкости зависит от тепловой нагрузки на теплообменник, температуры продувочного воздуха и выходной температуры горячего воздуха, как правило, выше 45 °С.

Рис. 3. Схема продувки воздухо-водовоздушного испарительного теплообменника [2]: 1 - теплообменник, 2 - воздухозаборник, 3 - форсунка, 4 - запорный кран, 5 - водяной бак, 6 - охлажденный воздух, 7 - горячий воздух, 8 - эпюра температуры продувочного воздуха tпр

2.1.5 Особенности теплообменника-конденсатора

Теплообменник-конденсатор применяется для выделения влаги из воздуха в линии высокого давления до турбины турбохолодильника и включается в систему по схеме “петля” (рис. 4). После дополнительного сжатия воздуха в компрессоре 3 и охлаждения в ВВТ 6 сжатый воздух подаётся в горячий тракт конденсатора 1. В результате отвода от него теплоты при переходе точки росы происходит капельная конденсация влаги на стенках каналов.

Образующиеся капли выносятся из конденсатора и улавливаются влагоотделителем 5. Далее сжатый воздух поступает на турбину 2 турбохолодильника для его охлаждения за счёт газодинамического расширения. В проточной части турбины происходят процессы гомогенной конденсации паров воды, а также дробления лопатками турбины капельной влаги, не уловленной влагоотделителем 5. В итоге на выходе турбины образуется аэрозольный туман с каплями диаметром 0,1...15 мкм. При попадании этого тумана в холодный тракт конденсатора 1 по мере увеличения температуры воздуха происходит практически адиабатическое испарение аэрозоля. Наличие водного аэрозоля резко увеличивает охлаждающую способность холодного воздуха.

Рис. 4. Принципиальная схема включения теплообменника-конденсатора [2]: 1 - теплообменник-конденсатор, 2 - турбина турбохолодильника, 3 - компрессор турбохолодильника, 4 - аэрозольный туман, 5 - влагоотделитель, 6 - ВВТ

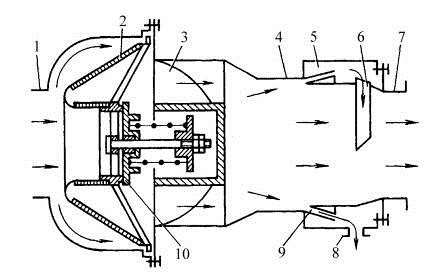
2.2 Турбохолодильники

.2.1 Конструкция и принцип работы турбохолодильника

Турбохолодильники - это лопаточные машины, в которых осуществляется близкий к адиабатическому процесс расширения потока воздуха с понижением его температуры. Заметим, что понижение температуры при расширении газов не единственный физический эффект, который можно использовать для искусственного охлаждения рабочего тела. Охлаждение достигается также, например, при фазовых превращениях, в процессах десорбции, при энергетическом разделении вихревых потоков, магнитотермических и магнитокалорических явлениях в парамагнитных веществах, использовании термоэлектрического эффекта, дросселировании.

При всех различиях перечисленных явлений у них есть одна общая принципиально важная особенность: стационарное (установившееся) охлаждение происходит только тогда, когда энергия, высвобождаемая при изменении теплового состояния рабочего тела, отводится от него и передается во внешнюю среду или в другие элементы системы. Более того, какими бы ни были исходные условия процессов охлаждения, количество потерянной теплоты будет зависеть от того, какая энергия отведена от рабочего тела.

Рассмотрим работу ТХ (рис. 5). Сжатый воздух поступает в турбину через патрубок 1 и с помощью улитки 2 направляется в кольцевой сопловой аппарат 3. В сопловом аппарате вследствие изменения площади проходного сечения межлопаточных каналов скорость движения воздуха увеличивается, а давление падает.








Рис. 5. Принципиальная схема турбохолодильника [2]: 1 - патрубок, 2 - улитка, 3 - сопловой аппарат, 4 - лопатки рабочего колеса, 5 - рабочее колесо турбины, 6 - вал, 7 - подшипник, 8 - рабочее колесо вентилятора

При падении давления в потоке температура газа понижается по адиабатическому закону (если пренебречь теплообменом с окружающей средой). Ускоренный и охлаждённый поток воздуха подаётся затем на лопатки 4 рабочего колеса 5 турбины, при обтекании которых возникают силы, создающие момент вокруг оси вращения. Поток воздуха в межлопаточных каналах рабочего колеса может не только отклоняться от первоначального направления вследствие кривизны этих каналов, но и ускоряться при соответствующем изменении их поперечного сечения. В последнем случае охлаждение воздуха происходит не только в сопловом аппарате, но и в межлопаточных каналах рабочего колеса. Возникающий на рабочем колесе момент вращения передаётся через вал 6, установленный в подшипниках 7, к рабочему колесу 8 вентилятора или компрессора, выполняющему в данном случае роль потребителя энергии, отводимой от потока воздуха в турбине. Воздух в турбине движется от периферии к центру в плоскости, параллельной диску рабочего колеса. Такие турбины называют радиальными центростремительными. В особых случаях радиальные турбины могут быть и центробежными, хотя, как будет показано, направление потока от оси к периферии неэффективно для турбин, но рационально для компрессоров и вентиляторов. Достаточно широко (особенно в турбореактивных двигателях ЛА) распространены так называемые осевые турбины, в которых поток движется в цилиндрическом слое, параллельном оси рабочего колеса.

В ТХ происходят преобразование внутренней энергии потока воздуха в кинетическую и последующее превращение части кинетической энергии в работу. Итоговое понижение температуры воздуха на турбине ТХ определяется, с одной стороны, полнотой преобразования внутренней энергии газа в кинетическую энергию потока, а с другой - степенью превращения кинетической энергии потока в работу. В реальных турбинах процесс расширения газа сопряжен с потерями, из-за которых воздух в ТХ удаётся охладить лишь на 70...95 % разности температур, соответствующей адиабатическому закону расширения газа.

Отношение разности температур на входе и выходе в реальном турбохолодильнике ∆ТД к разности температур при адиабатическом расширении газа ∆ТАД при одинаковых значениях начальной температуры и степени понижения давления называется КПД турбохолодильника:

ηТХ = ∆ТД /∆ТАД .

Основным условием долговечности и надежности высокооборотных ТХ является нормальное функционирование системы смазки и охлаждения. Поэтому их совершенствованию уделяется большое внимание.

Выбор системы смазки зависит от конструкции ТХ и условий его эксплуатации. Подробно эти вопросы изложены в работе [8]. Смазка ТХ может осуществляться с помощью фитилей, подводящих масло из камеры, заполненной пористым материалом, пропитанным маслом. Другим способом является шнековая смазка, когда с помощью винтовых нарезок на валу масло подаётся к подшипникам. Для каждого подшипника выполняется своя нарезка. В ТХ с большим расходом применяют принудительную систему смазки, осуществляющую подачу к узлам подшипников масляного тумана, который обеспечивает не только смазку, но и охлаждение. В техническое обслуживание ТХ входит проверка наличия масла и его уровня без применения дополнительных средств контроля [9]. В гражданской авиации такие проверки проводятся через 50...100 лётных часов в соответствии с технологическими указаниями по выполнению регламентных работ.

Для удобства контроля и обслуживания ТХ в системе смазки предусмотрен выносной уровнемер, выполняемый обычно в виде прозрачного цилиндра, на котором нанесены риски для контроля уровня масла. После отработки турбохолодильником установленного времени масло необходимо заменять. Для замены масла в конструкции ТХ должны быть предусмотрены сливная и заливная пробки, а при размещении ТХ - обеспечиваться возможность подхода к этим пробкам, а также доступность контроля.

При фитильной смазке масло в камеру заливают при помощи мерной ёмкости.

Основными требованиями, предъявляемыми ко всем агрегатам авиационных систем, являются минимальные масса и габаритные размеры агрегата, высокий КПД, заданный уровень надёжности и живучести, производственная и эксплуатационная технологичность, максимальное использование стандартных, нормализованных и унифицированных деталей, точность выполнения присоединительных и крепёжных размеров, обеспечивающая взаимозаменяемость. В турбохолодильнике воздух, проходящий через турбинное колесо, не должен засоряться маслом, нагреваться до пожароопасной температуры и нарушать работоспособность других элементов летательного аппарата. Необходимо предусмотреть возможность установки ТХ на звукоизолирующем основании.

Использование новых, более совершенных материалов, обладающих повышенной прочностью при небольшой плотности (например, титановых сплавов), применение наиболее экономичных профилей сопловых и рабочих лопаток, обеспечение высокой чистоты и точности механической обработки элементов проточной части, использование специальных подшипников, уплотнений и маслоподводящих устройств позволяют получить наиболее рациональный, высокоэффективный ТХ.

Эффективность работы ТХ зависит от большого числа факторов, которые не всегда поддаются учёту с помощью теоретических расчётов. Поэтому при разработке новой конструкции ТХ проводится большой объём испытаний, в результате которых определяют функциональные и эксплуатационные характеристики агрегата и получают данные о влиянии чисто конструктивных параметров на качество ТХ.

2.3 Элементы специального назначения

2.3.1 Заслонки регуляторов температуры воздуха в гермокабине

Регулирование температуры воздуха в гермокабине (ГК) происходит в результате изменения температуры подаваемого в кабину воздуха при относительно постоянном расходе. Схемы возможных систем регулирования показаны на рис. 6.

Регулирование температуры воздуха в ГК происходит следующим образом: воздух от компрессора разделяется на две линии - “горячую” и “холодную”. В “горячей” линии воздух в зависимости от температуры воздуха компрессора или частично охлаждается, или подогревается и через регулятор расхода поступает в общий трубопровод. В “холодной” линии воздух охлаждается и также поступает в общий трубопровод, где смешивается с горячим воздухом. Соотношение между расходами подаваемого в кабину горячего и холодного воздуха определяется положениями заслонок распределителя при схеме “а” или смесителя воздуха при схемах “б” и “г”, которые управляются с помощью привода по команде датчика температуры.







Рис. 6. Схемы систем регулирования температуры воздуха в ГК [2]: а - схема с распределителем воздуха, б - схема со смесителем воздуха, в - схема с одноканальной заслонкой, г - схема с раздельным вводом горячего и холодного воздуха, 1 - воздух, поступающий от двигателя, 2 - распределитель воздуха, 3 - агрегаты “горячей” линии, 4 - обратный клапан, 5 - воздух, поступающий в кабину, 6 - датчик температуры, 7 - ГК, 8 - регулятор температуры, 9 - агрегаты “холодной” линии, 10 - линия отбора холодного воздуха для создания микроклимата, 11, 13 - смеситель, 12 - одноканальная заслонка, М - мотор

При схеме “в” в кабину подаётся постоянно холодный воздух, а нужная температура обеспечивается подмешиванием к нему горячего воздуха с помощью заслонки регулятора температуры. В некоторых случаях для рационального использования холодного или горячего воздуха (холодный воздух - для создания вокруг человека микроклимата, горячий воздух - для защиты остекления от запотевания) в качестве смесителя используется сама кабина (схема “г”). Распределитель и смеситель регулятора температуры представляют собой агрегаты с двумя заслонками, кинематически связанными между собой рычагами и управляемыми электро- или пневмомеханизмом.













Рис. 7. Смеситель воздуха с электромеханизмом [2]: 1 - заслонка “холодной” линии, 2 - корпус, 3,14 - ось, 4 - втулка, 5,11,13 - рычаг, 6, 10, 12 - тяга, 7 - пружина, 8 - качалка, 9 - электромеханизм, 15 - заслонка “горячей” линии, 16 - дренажный штуцер

На рис. 7 показана конструкция смесителя воздуха с электромеханизмом. Работа регулятора температуры воздуха в кабине происходит следующим образом: при отклонении температуры воздуха в ГК биметаллическая спираль, изменяя угол закрутки, замыкает электрический контакт, и электрический ток после усиления поступает на обмотку электродвигателя, который поворачивает заслонки. Поворот заслонок изменяет расходы горячего и холодного воздуха и приводит к изменению температуры воздуха ГК.

В связи с большой инерционностью биметаллического термодатчика в настоящее время подобные регуляторы температуры заменяются на электронные регуляторы.

2.3.2 Влагоотделители

При полёте самолета на малой высоте в воздухе, поступающем в ГК после его охлаждения в теплообменнике и турбохододильнике, влага содержится в парообразном и капельном состояниях. Капельная жидкость оседает на стенках трубопроводов, в блоках оборудования, что может вызывать отказ аппаратуры, или создает в кабине туман, затрудняющий экипажу самолёта пилотирование и вызывающий неприятные ощущения у пассажиров. Для удаления капельной влаги в СКВ устанавливаются влагоотделители (рис. 8).

Сложность применения механических влагоотделителей в СКВ связана с малыми размерами (до 10 мкм) капель влаги. Такие капли не отделяются центробежными силами, и их необходимо коагулировать (укрупнять) до размеров 30...50 мкм.











Рис. 8. Схема влагоотделителя с коагулятором [2]: 1 - входной фланец, 2 - коагулятор, 3 - винт, закручивающий поток, 4 - сепарационный канал, 5 - водоловушка, 6 - возвратная трубка, 7 - выходной фланец, 8 - дренажный штуцер, 9 - кольцевой зазор, 10 - предохранительный клапан.

Для этого на входе во влагоотделитель устанавливается коагулятор из мелкоячеистой сетки (фетр), в порах которого капли задерживаются. В результате образуется плёнка жидкости, с которой затем воздушным потоком срываются укрупнённые капли.

Кроме описанной конструкции встречаются влагоотделители с вращающимся сепаратором, в которых отделение происходит вследствие прилипания капель воды к лопастям вращающегося сепаратора и образования на поверхности плёнки жидкости, которая стекает затем в водосборник.

2.3.3 Увлажнители воздуха

На больших высотах атмосферный воздух становится практически сухим. При длительных высотных полётах возникает неприятное ощущение сухости, которая может привести к заболеваниям гортани. Поэтому на некоторых самолётах в СКВ устанавливаются увлажнители воздуха. В увлажнителях воздуха парогенераторного типа вода в виде пара поступает в воздух. Электроувлажнители в СКВ применяются редко, так как при испарении воды в кипятильниках пар приобретает неприятный специфический запах.







Рис. 9. Форсуночный увлажнитель [2]: 1 - фланец, 2 - штуцер подвода воды, 3 - чека, 4 - кольцо, 5 - выходной фланец, 6 - стяжной винт, 7 - сетка, 8 - корпус, 9 - форсунка

Большое распространение получили конструкции испарительных увлажнителей (рис. 9) с пневматическим распылением воды непосредственно в увлажняемом воздухе. Такой увлажнитель, состоит из трубки Вентури, в горловине которой установлены форсунки 9, дозирующие и распыляющие воду в потоке воздуха. Неиспарившаяся вода попадает на сетку 7, где испаряется.

2.3.4 Фильтры

Подаваемый в кабину атмосферный воздух, загрязнённый взвешенными в нём твёрдыми частицами (пылью) размером от долей до десятков микрон, называется аэрозолем. К грубодисперсным аэрозолям относятся смеси с размером частиц от 1 до 100 мкм, к высокодисперсным - с размером менее 1 мкм.

Если попадающая в кабину вместе с воздухом пыль просто загрязняет кабину, то аэрозоли, осаждаясь на деталях электрорадиооборудования, изменяют параметры оборудования, что недопустимо. Поэтому в современных СКВ наличие аэрозольного фильтра считается обязательным.

В настоящее время разработаны специальные фильтрующие материалы, очищающие воздух от высокодисперсных аэрозолей. Эти материалы состоят из ультратонких волокон полиакрилата или стеклянных и базальтовых волокон и предназначены для фильтров, работающих при температуре до 250 или 450...600 °С соответственно.

2.3.5 Воздухопроводы

На пассажирских самолётах общая длина воздухопроводов СКВ достигает нескольких сот метров, а масса - 500...600 кг, что составляет 40...50 % массы всей системы. Воздухопроводы СКВ располагаются в гондолах двигателей, центроплане, проходят по пассажирским салонам, кабине экипажа. Трубы диаметром от 4 до 200 мм обеспечивают транспортировку воздуха с температурами от -40 до +600 °С и давлением до 2,6 МПа.

В основе проектирования воздухопровода лежат следующие положения:

минимальный вес и высокая надёжность в эксплуатации в течение всего технического ресурса самолёта;

геометрические размеры (диаметр и конфигурация) должны обеспечивать допустимое гидравлическое сопротивление;

применение современных технологий при изготовлении (автоматическая сварка, цельнотянутые трубы и т.п.) и монтаже (взаимозаменяемость отдельных участков); обеспечение компенсации температурных расширений и деформаций мест крепления на ЛА, герметичности воздухопровода.

Воздухопроводы изготавливаются из алюминиевых сплавов АМг или АМц, из стали Х18Н9Т, титановых сплавов ОТ4 или из армированных неметаллических материалов.

Весь воздухопровод можно условно разбить на три участка, как показано в табл. 2.

Для обеспечения минимальных масс труб желательно повышать скорость движения воздуха, но это приводит к росту гидравлического сопротивления, повышению шумов и вибраций воздухопроводов. На основании опыта эксплуатации можно рекомендовать следующие предельные скорости движения воздуха в воздухопроводах:

внутри кабин для пассажирских самолётов 15...20 м/с, для маневренных - до 30 м/с;

вне кабин до 100 м/с;

во вспомогательных устройствах (для продува ВВТ, загрузки ТХ) на отдельных режимах полёта до 300 м/с и выше.

На воздухопровод воздействуют нагрузки, обусловленные внутренним давлением, монтажными и температурными деформациями, сосредоточенными массами (стыки труб, агрегаты), знакопеременными нагрузками при пульсации движущейся среды, вибрациями и т.п. Толщина стенок труб выбирается из прочностных расчётов по допустимому напряжению материалов при максимальной эксплуатационной температуре стенки.

Таблица 2. Характеристики участков магистрали СКВ


Участок системы

Параметр

от компрессора до первичного узла охлаждения

от ВВТ до ТХ

от ТХ до кабин и внутри кабин

Температура, °С

150...600

50...200

-40...+15

Давление, МПа

0,2...2,6

0.2...0.9

0,20...0,04

Материал

Х18Н9Т

ОТ4, АМг

АМг, АМц, неметаллы


Для применяемых в СКВ воздухопроводов с учётом их диаметров и материалов, температур и давлений воздуха толщина стенки трубы в основном определяется технологией изготовления воздухопровода, в частности возможностями сварки. Исходя из этого толщина стенки для воздухопровода из стали Х18Н9Т составляет 0,6...0,8 мм, из титанового сплава ОТ4 - 0,8...1 мм, из алюминиевых сплавов - 1...1,2 мм.

Монтажные напряжения в воздухопроводах часто возникают из-за неточности изготовления патрубков. Для их компенсации применяются технологические компенсаторы в виде сильфонов, специальные фланцевые стыки или прорезиненные муфты. В полёте при прохождении по воздухопроводам горячего воздуха они разогреваются до 500...600 °С и удлиняются. Удлинения, приходящиеся на каждый метр длины трубопровода, для стальных труб достигают 1,74 мм, для труб из титанового сплава - 0,96 мм, для труб из алюминиевого сплава - 2,5 мм на каждые 100 °С нагрева. Поэтому в конструкциях должны быть предусмотрены температурные компенсаторы.

3. КОМПЛЕКСНАЯ СИСТЕМА КОНДИЦИОНИРОВАНИЯ ВОЗДУХА САМОЛЁТА ТУ-154М

.1 Конструкция и принцип работы системы

Комплексная система кондиционирования воздуха самолёта Ту-154М (рис. 10) предназначена для обеспечения комфортных условий жизнедеятельности пассажиров и экипажа на борту ВС на земле (в жарких странах, при высокой или низкой температуре атмосферного воздуха) и в полёте, а также для запуска основных двигателей от наземного источника питания или от ВСУ.





Рис. 10. Самолёт Ту-154М

Комплексная система кондиционирования входит в состав высотного оборудования, в которое входит также система автоматического регулирования давления (САРД) и кислородная система.

Работа КСКВ осуществляется за счёт отбора воздуха от основных двигателей или ВСУ и подачи его в гермокабину с соответствующими параметрами по давлению, расходу и температуре.

Оборудование системы КСКВ размещается в герметической и негерметической частях самолёта.

В состав КСКВ входит следующее:

три подсистемы отбора воздуха от двигателей и ВСУ;

система охлаждения воздуха в первичных узлах охлаждения;

подсистема плавного наддува;

пневматическая система весовой подачи воздуха (ПСВП);

система охлаждения воздуха во вторичных узлах охлаждения;

система вентиляции (система распределения) - распределительные магистрали подачи воздуха (магистрали горячего, холодного и тёплового воздуха);

система ускоренных режимов прогрева или охлаждения гермокабины;

система общей потолочной вентиляции и индивидуальной вентиляции пассажирских салонов, кабины экипажа;

система наземного кондиционирования гермокабины;

вытяжное устройство буфета-кухни и туалетов;

система вентиляции аппаратуры технического отсека №1 и охлаждение технического отсека № 2;

система обогрева гермокабины;

система обогрева дверей для пассажиров, экипажа и грузовой двери центрального буфета-кухни;

система обогрева отсека ВСУ;

система регулирования и контроля расхода воздуха;

система регулирования температуры воздуха;

система контроля температуры воздуха в кабине экипажа и пассажирских салонах;

система сигнализации опасной температуры в хвостовом отсеке фюзеляжа.

Название комплексной СКВ самолёта Ту-154М происходит из-за изменённой конструкции по сравнению с СКВ самолёта Ту-154Б. Комплексная в данном случае имеет значение как объединяющая в себе различные подсистемы.

Достоинствами СКВ Ту-154М являются доработки СКВ самолёта Ту-154Б:

. В подсистеме отбора установлены две регулирующие заслонки 1919Т для сброса воздуха в атмосферу при отсутствии потребителей КСКВ, во избежание разрывов трубопроводов;

. ПОС стала входить в КСКВ;

. Добавлена система ускоренных режимов прогрева или охлаждения гермокабины;

. Система отбора разбита на три подсистемы, что повысило надёжность первичного узла охлаждения, как первичного этапа охлаждения воздуха (при отказе одного из трёх ВВТ 5307АТ, в подсистеме отбора воздух будет охлаждаться в двух других первичных узлах);

. Управление со щитка СКВ на панели бортинженера стало проще;

. Большинство агрегатов заменено на более надёжные.

Данные изменения в конструкции, как показала многолетняя практика, уменьшили число отказов.

3.1.1 Основные технические данные СКВ

1. Количество отбираемого воздуха в СКВ от 3-х двигателей от XI ступени компрессора

Gвозд. = 5700 ± 1200 кг/ч

. Давление воздуха, отбираемого в СКВ от XI ступени компрессора

pвозд. за 11 ст. = 18 кгс/см2

. Температура воздуха, отбираемого в СКВ от XI ступени компрессора

tвозд. за 11 ст. < 490 °С

. Количество отбираемого воздуха от второго (наружного) контура от 3-х двигателей

Gвозд. = 17220 кг/ч (Н=0) и 7260 кг/ч (Н=11)

. Давление воздуха, отбираемого от второго (наружного) контура

pвозд. от 2 конт. < 2,1 кгс/см2

. Температура воздуха, отбираемого от второго (наружного) контура

tвозд. от 2 конт. < 130 °С

Примечание: Выше указанные данные соответствуют работе двигателей при pН = 760 мм.рт.ст. и tН = 15 °С на режиме 0,7 номинала, что соответствует 87,5…90 % или 9690 об/мин.

. Количество воздуха, отбираемого от ВСУ в СКВ

Gвозд. = 3900 кг/ч

. Давление воздуха, подаваемого от ВСУ

pвозд. от ВСУ < 4,9 ± 0,2 кгс/см2

. Температура воздуха, подаваемого от ВСУ

tвозд. от ВСУ < 295 °С

Примечание: СКВ может работать от ВСУ в полёте до высоты 3000 метров при скорости (приборной) не выше 525 км/ч.

. Температура воздуха в кабине, поддерживаемая регуляторами температуры

tвозд. в гермокаб. = 15…25 °С

3.1.2 Система отбора воздуха от двигателей

Система отбора (рис. 11) предназначена для предварительного понижения давления и температуры воздуха, отбираемого от двигателей, подачи его в гермокабину для её наддува, обогрева и вентиляции, коммутации (объединении) магистралей и изменения направления движения воздуха в системе при запуске двигателей от ВСУ [10].

Состоит из трёх отдельных подсистем, связанных каждая со своим двигателем. Подсистемы 1 и 3 двигателей идентичны и подают воздух соответственно к левому и правому кранам наддува. Подсистема 2 двигателя имеет дополнительные магистрали, которые обеспечивают отбор воздуха от ВСУ на запуск или кондиционирование и отбор от УВЗ на запуск.

Отбор воздуха осуществляется от XI ступеней компрессоров трёх двигателей. Агрегаты всех трёх подсистем располагаются в пилонах, в хвостовой части фюзеляжа и в 5-ом техотсеке (рис. 12). В составе каждой подсистемы отбора установлены следующие агрегаты (последовательно, за штуцером отбора воздуха):

. Кран отбора воздуха (исполнительный механизм) 5377Т (рис. 13). Краны управляются переключателями “КРАНЫ ОТБОРА ВОЗДУХА. ДВИГАТЕЛИ №1, 2, 3” на панели бортинженера на щитке СКВ. В исходном положении краны закрыты и при подаче электропитания на борт и включенных АЗС загораются 3 жёлтых светосигнализатора “ОТБОР ВЫК.”. При этом открываются регулирующие заслонки 1919Т в подсистемах 1 и 3 двигателей, предотвращающие повышение давления в трубопроводах из-за негерметичности кранов отбора.

























Рис. 11. Схема комплексной системы кондиционирования воздуха самолёта Ту-154М











Рис. 12. Фрагмент КСКВ в 5-ом техотсеке









Рис. 13. Кран отбора воздуха 5377Т

. Регулятор избыточного давления РИД 5606Т-1. Предназначен для понижения давления воздуха до 5,5…6,5 кгс/см2. По бюллетеню перерегулирован до p = 3,2…3,6 кгс/см2.

. Малогабаритный сигнализатор давления МСТ-10А. Электрическое питание на МСТ-10А подаётся при включении отбора воздуха от двигателей. В случае заброса давления в магистрали отбора до p > 10 ± 0,3 кгс/см2 по команде сигнализатора МСТ-10А электрический сигнал с задержкой 100 секунд поступает на:

включение красного светосигнализатора “ОТКАЗ ОТБОРА”, соответствующей магистрали отбора, на щитке СКВ. Красный светосигнализатор “ОТКАЗ ОТБОРА” можно отключить установкой переключателя “КРАНЫ ОТБОРА ВОЗДУХА” в положение “ЗАКРЫТЫ”;

автоматическое закрытие, соответствующего крана отбора 5377Т. После закрытия крана, загорается жёлтый светосигнализатор “ОТБОР ВЫК.”;

полное открытие заслонки 5419Т отбора продувочного воздуха;

включение (без задержки в 100 секунд) зелёного светосигнализатора “ОТКАЗ ОТБОРА ВОЗДУХА ПО ДАВЛЕНИЮ” соответствующей магистрали отбора, на щитке наземных проверок СКВ в 5-ом техотсеке. Включение светосигнализатора блокируется и продолжает гореть до конца полёта. Снятие блокировки осуществляется кнопкой “СБРОС СИГНАЛА”, расположенной там же.

. Обратный клапан 3203Т. Установлен в подсистемах 1 и 3 двигателей. Предотвращает утечки воздуха через кран отбора воздуха 5377Т (в компрессор) при запуске двигателя.

. Заслонка продувочного воздуха 5419Т. Предназначена для регулирования температуры воздуха в магистрали отбора от второго контура двигателя, путём изменения количества воздуха. Управление заслонкой 5419Т осуществляется только в автоматическом режиме блоком управления ЭП-528Т из комплекта РТА-36-9Т, настроенным на поддержание температуры воздуха в магистрали отбора за ВВТ 5307АТ 200 ± 20 °С. При отключенном отборе воздуха от двигателя заслонка 5419Т находится в исходном, полностью открытом положении, таким образом, продувка ВВТ воздухом второго контура начинается сразу же после запуска двигателя. При этом обеспечивается предварительный прогрев ВВТ и уменьшается вероятность его коробления после включения отбора воздуха в холодное время года.

. Сигнализатор температуры 5747Т. Установлен в магистрали отбора за ВВТ. Электропитание на 5747Т подаётся при включении отбора воздуха от двигателя. В случае заброса температуры воздуха в магистрали отбора за ВВТ выше +270 °С сигнализатор 5747Т выдаёт электрический сигнал с задержкой 100 секунд на:

включение красного светосигнализатора “ОТКАЗ ОТБОРА”, соответствующей магистрали отбора, на щитке СКВ;

автоматическое закрытие, соответствующего крана отбора 5377Т. После закрытия крана, загорается жёлтый светосигнализатор “ОТБОР ВЫК.”;

полное открытие заслонки 5419Т отбора продувочного воздуха;

включение (без задержки в 100 секунд) зелёного светосигнализатора “ОТКАЗ ОТБОРА ВОЗДУХА ПО ТЕМПЕР.” на щитке наземных проверок СКВ в 5-ом техотсеке (рис. 14).







Рис. 14. Щиток наземных проверок СКВ, расположенный в 5-ом техотсеке

На щитке наземных проверок СКВ расположена кнопка “КОНТРОЛЬ ТЕМПЕР.”, при нажатии на которую происходит срабатывание сигнализаторов температуры 5747Т тех двигателей, у которых включен отбор воздуха. При выполнении проверки сигнализаторов температуры 5747Т на борту должно быть электропитание - 27 В, 115 В.

. В магистралях отбора воздуха двигателей №1 и №3 установлены две регулируемые заслонки 1919Т, которые предназначены для предотвращения повышения давления воздуха в магистралях при включенном отборе воздуха от двигателей и неработающих потребителях. Заслонки установлены в 5-ом техотсеке на правом борту между шпангоутами 70, 71. Исходное положение заслонок открытое. В этом положении воздух из магистралей отбора выходит в атмосферу через два патрубка, расположенные под пилоном правого двигателя. Закрытие заслонок 1919Т двигателей №1 и №3 происходит автоматически в следующих случаях:

при включении главного переключателя запуска двигателей;

при включении ПОС крыла;

при открытии кранов наддува 3308Б, причём при открытии левого крана наддува, закрывается заслонка 1919Т двигателя №1, а при открытии правого крана наддува закрывается заслонка 1919Т двигателя №3. Таким образом, заслонки 1919Т закрываются всегда, когда есть расход воздуха в потребители.

Система отбора воздуха от двигателя №2 имеет следующие особенности:

. ВВТ 5307АТ установлен непосредственно в отсеке двигателя №2 справа по борту (рис. 15). Сброс продувочного воздуха этого ВВТ в атмосферу осуществляется через канал сброса воздуха ВВТ двигателя №3, имеющего немного большие размеры, чем канал сброса воздуха ВВТ двигателя №1.

. Воздух из магистрали отбора двигателя №2 подаётся в левую и правую магистрали наддува через два управляемых фиксируемых обратных клапана 5102А.

Системы отбора воздуха от ВСУ и УВЗ отличий не имеют. Трубопроводы отбора от ВСУ и УВЗ подключены через обратные клапаны к трубопроводу подсистемы отбора воздуха двигателя №2.







Рис. 15. Воздухо-воздушный теплообменник 5307АТ, установленный в гондоле 2-го двигателя

Штуцер подключения УВЗ находится в хвостовой части фюзеляжа справа по борту. Для подачи воздуха в СКВ на земле от ВСУ при неработающих двигателях необходимо после запуска ВСУ переключатель “ОТБОР ВОЗДУХА” на панели запуска ВСУ перевести в положение “ОТБОР ВОЗДУХА” с выдержкой 7…8 секунд, затем открыть краны наддува 3308Б переключателями на щитке СКВ панели бортинженера.

3.1.3 Работа СКВ при запуске двигателей

При включении главного переключателя запуска двигателей происходит следующее:

фиксируемые обратные клапаны 5102А фиксируются в открытом положении;

закрываются заслонки сброса воздуха 1919Т двигателей №1 и №3;

закрывается заслонка 1919Т эжектирования ВВТ 5307АТ среднего двигателя (если включен отбор воздуха от ВСУ);

открывается перепускная заслонка 3308Б, обеспечивающая подачу воздуха от УВЗ или ВСУ в магистраль среднего двигателя, минуя ВВТ 5307АТ;

выдаётся дублирующий сигнал на закрытие кранов наддува левой и правой магистралей;

закрывается заслонка 3161 подсистемы плавного наддува правой магистрали.

Сжатый воздух от ВСУ или УВЗ направляется к воздушно-пусковым турбинам (ВПТ или воздушному стартёру) всех трёх двигателей.

3.1.4 Подсистема плавного наддува

Подсистема плавного наддува предназначена для подачи воздуха в гермокабину через правую магистраль при закрытых кранах наддува, что обеспечивает плавное вступление в работу ПСВП перед взлётом, а также возможность для бортинженера быстро открывать краны наддува после того, как гермокабина будет наддута и стрелка кабинного вариометра установится на “0”.

Подсистема плавного наддува включает в себя заслонку плавного наддува 3161 и набор трубопроводов с диаметром внутреннего сечения 18 мм. Трубопроводы подключены к магистралям СКВ таким образом, что обеспечивают подвод воздуха в правую магистраль наддува при включении отбора воздуха от ВСУ или любого из двигателей даже при закрытом кране наддува этой магистрали. Поэтому сразу же после включения отбора воздуха от ВСУ или от двигателей по правой магистрали наддува наблюдается дросселированный расход воздуха, и кабинный вариометр начинает показывать “СПУСК”. Открытие кранов наддува разрешается после достижения установившегося режима давления в гермокабине, когда кабинный вариометр установится на отметке “0”. Заслонка плавного наддува 3161 установлена в 5-ом техотсеке. Исходное положение заслонки полностью открытое. Закрытие осуществляется автоматически в следующих случаях:

. При включении главного переключателя запуска двигателей в положение “ЗАПУСК”;

. При разжатии левой опоры.

3.1.5 Краны наддува левой и правой магистрали

В качестве кранов наддува используются заслонки 3308Б. Время полного перемещения заслонок 8 секунд. Управление кранами наддува осуществляется двумя нажимными переключателями “КРАН НАДДУВА” на щитке СКВ панели бортинженера. Контролируется положение кранов по расходу воздуха по двум указателям расхода воздуха (УРВ-1500К), расположенные также на щитке СКВ панели бортинженера. В полёте при неработающей ПСВП, устанавливается расход порядка 6 единиц. Перед запуском ВСУ или перед наземным кондиционированием необходимо установить переключатели в нижнее положение на время не менее 8 секунд. Для снижения неприятных ощущений на уши открытие и закрытие кранов наддува необходимо выполнять поочерёдно: сначала левый, а затем правый.

3.1.6 Пневматическая система весовой подачи воздуха (ПСВП)

ПСВП обеспечивает поддержание заданного весового расхода воздуха в КСКВ. Принцип работы ПСВП основан на преобразовании массового расхода воздуха, протекающего в магистрали КСКВ в пневматический сигнал, пропорциональный расходу.

В КСКВ имеются две аналогичные автономные системы ПСВП, встроенные в правую и левую магистрали горячего воздуха.

В каждой магистрали установлены:

командный прибор 5701Т.01;

дроссельная заслонка со следящим пневмоприводом 5701T.02;

два фильтра отстойника 5701Т.03;

два регулятора избыточного давления (над кабинным) 3206А.

При включении кранов отбора воздуха от двигателей или от ВСУ, но при закрытом кране наддува 3308Б подается пневмопитание в систему ПСВП (командный прибор), при этом дроссельная заслонка перекрывает трубопровод подачи воздуха. При открытии 3308Б командный прибор формирует сигнал на открытие дроссельной заслонки, которая перепускает воздух по трубопроводу. В случае отклонения расхода воздуха от установившегося (заданного) командный прибор формирует сигнал, пропорциональный величине отклонения расхода. Сигнал поступает на дроссельную заслонку, которая отрабатывает рассогласование, занимая новое положение и поддерживая заданный весовой расход воздуха по трубопроводу.

Для отключения ПСВП на щитке СКВ панели бортинженера установлены переключатели “ПСВП” (2 шт.). В положении переключателя "ВЫК." система ПСВП отключается, дроссельная заслонка открывается и не мешает проходу воздуха по трубопроводу.

Расположение:

командный прибор в районе шп. 57…59 под грузовым полом, в герметической части фюзеляжа;

дроссельная заслонка, фильтры-отстойники, регуляторы давления - в магистралях подачи (левой, правой), в 5-ом техотсеке, шп. 69…69.

Для проверки системы ПСВП на земле на щитке наземной проверки (в 5-ом техотсеке) расположены два зелёных светосигнализатора ПСВП “ЗАСЛОНКИ ПСВП ЗАКРЫТЫ”. При включении отбора воздуха от ВСУ светосигнализаторы загораются, а при открытии кранов наддува 3308Б - гаснут. АЗС системы находятся в кабине на левой и правой панелях АЗС.

3.1.7 Подача воздуха в гермокабину (распределительные магистрали или система распределения/вентиляции)

Распределительные магистрали подачи предназначены для подачи воздуха от системы отбора ко вторичным узлам охлаждения, распределителям воздуха 1408T и от распределителей до мест выхода воздуха в гермокабину.

Магистрали отбора от двигателей № 1 и № 3 образуют соответственно левую и правую магистрали подачи.

Магистраль отбора от двигателя №2 (общая с ВСУ) в районе шп. 71 стыкуется с ними, с установкой в каждой ветви управляемых (фиксируемых) обратных клапанов 5102A.

Похожие работы на - Конструкция и эксплуатация систем кондиционирования воздуха магистральных пассажирских самолетов

 

Не нашли материал для своей работы?
Поможем написать уникальную работу
Без плагиата!
Без нейросетей!