Расчет прямой балки на прочность и жесткость. Построение эпюр
Задание 1. Геометрические
характеристики плоских сечений
Цель работы: Развитие навыков самостоятельного
расчета геометрических характеристик, закрепление знаний основных теоретических
зависимостей между геометрическими характеристиками плоских сечений.
Задача 1
Для данного плоского сечения с одной осью
симметрии определить:
положение центра тяжести сечения;
положение главных центральных осей;
главные центральные моменты инерции.
Дано:
Сечение согласно рисунку 1,
. Вычерчиваем заданное сечение в
масштабе, с указанными размерами, выбираем вспомогательные оси координат z, y,
параллельные сторонам сечения.
. Наносим на чертеж центры тяжести
каждой
простой фигуры и определяем их координаты
относительно выбранной системы
координат
; i=1, 2,….,
n.
3. Определяем в выбранной системе
координат z, y положение центра тяжести с составного сечения:
. наносим на чертеж центр тяжести С
и центральные оси составного сечения
с началом в центре тяжести С.
. Определяем для каждой простой
фигуры осевые моменты инерции
.
. Находим осевые и центробежные
моменты инерции сечения относительно его центральных осей
.
Задача 2
Для заданного плоского
несимметричного сечения, составленного из двух прокатных профилей, определить:
положение центра тяжести сечения,
положение главных центральных осей,
главные центральные моменты инерции.
Дано:
Сечение профилей согласно рисунку 3,
Данные сечения профиля 1 и 2 согласно таблице 1:
Таблица
1
|
Название
профиля
|
m,
кг·м
|
h,
мм
|
b,
мм
|
s,
мм
|
t,
мм
|
А1,
см²
|
Jx
см Wx
см Ix
смSx см Jy
см Wy
см Iy
смz0 см
|
|
|
|
|
|
|
|
|
Швеллер
№20
|
18,4
|
200
|
76
|
5,2
|
9,0
|
23,4
|
1520
|
152
|
8,07
|
87,8
|
113
|
20,5
|
2,20
|
2,07
|
|
Швеллер
№18
|
16,3
|
180
|
70
|
5,1
|
8,7
|
20,7
|
1090
|
121
|
7,24
|
69,8
|
86
|
17,0
|
2,04
|
1.94
|
. Вычерчиваем заданное сечение в
масштабе, указываем размеры, выбираем вспомогательные оси координат z, y,
параллельные сторонам сечения.
. Наносим на чертеж центры тяжести
каждой простой
фигуры и определяем их координаты
относительно выбранной системы
координат
;
. Определяем в выбранной системе
координат z, y положение центра тяжести составного сечения:
. Определяем для каждой простой
фигуры осевые моменты инерции
и центробежный момент инерции
относительно
центральных осей фигуры по таблицам ГОСТов моментов инерции прокатных профилей.

. Находим осевые и центробежные
моменты инерции сечения относительно его центральных осей
.
. Находим положение главных
центральных осей составного сечения и наносим их на чертеж.
. Определяем главные центральные
моменты инерции составного сечения
.
Проверяем правильность вычисления:
а) 1047,19+5783,25
=
5571,94+1258,5
,44 = 6830,44
б)
Задание 2. Внутренние силовые
факторы
Задача 1
Для стержня построить эпюры продольных сил
Дано:
1. Находим реакцию заделки NА
-NA+F3+F2+F1+q∙0,6; NA
=12+20+50+30∙0,6=100кН
2. Разбиваем стержень на
участки
Сечение I-I
(л.ч.) 0≤x≤0,3
-NA+Nx1=0 ; Nx1=100кН
Сечение II-II (л.ч.) 0≤x≤0,6
-NA+ F3+q∙x+
Nx2=0
При х=0,
Nx2=NA- F3=100-12=88кН
х=0,6, Nx2= NA- F3-0,6q=100-12-18=70кН
Сечение III-III (п.ч.) 0≤x≤0,6
Nx3- F2-F1=0,
Nx3= F2+F1=20+50=70кН
Сечение IV-IV (п.ч.) 0≤x≤0,3
Nx4-F1=0, Nx4= F1=50кН
Задача 2
Для вала построить эпюры крутящих
моментов
Дано:
1. Находим М0
2. Разбиваем вал на участки.
Сечение I-I (л.ч.)
0≤x≤0,6


Сечение II-II (л.ч.) 0≤x≤0,3
Сечение III-III (л.ч.) 0≤x≤0,3
Сечение IV-IV (л.ч.) 0≤x≤0,6
Задача 7
Построить эпюры поперечных сил и изгибающих
моментов, для балки
Дано:
1. Опоры заменяем соответствующими реакциями, и
находим их.
2. Разбиваем балку на участки
Сечение I-I (л.ч.)
0≤x≤1,5
Сечение II-II (л.ч.) 0≤x≤1,5
Задача 3
Построить эпюры поперечных сил и
изгибающих моментов, для балки
Дано:
1. Находим реакции заделки.
2. Разбиваем балку на участки.
Сечение I-I (л.ч.)
0≤x≤3
Задача 4
Построить эпюры поперечных сил и изгибающих
моментов, для балки
Дано:
1. Опоры заменяем соответствующими реакциями, и
находим их.
2. Разбиваем балку на участки.
Сечение I-I (л.ч.)
0≤x≤2,3
При х=0:
Сечение II-II (л.ч.) 0≤x≤1
Задача 5
Построить эпюры продольных сил,
поперечных сил и изгибающих моментов, для рамы
Дано:
1. Находим реакции опор.
1. Разбиваем
раму на участки
Сечение I-I (п.ч.)
0≤x≤0,8
Сечение II-II (п.ч.) 0≤x≤1,5
Сечение III-III (л.ч.) 0≤x≤2,2
Сечение IV-IV (л.ч.) 0≤x≤1,5
Проверяем равновесие узлов
Узел С:
Узел D:
Задача 6
Построить эпюры продольных сил,
поперечных сил и изгибающих моментов, для рамы
Дано:
2. Находим реакции опор
балка сечение
прочность жесткость
1.
Разбиваем раму на участки.
Сечение I-I (л.ч.)
0≤x≤2,3
Сечение II-II (л.ч.) 0≤x≤1
Сечение III-III (п.ч.) 0≤x1,1
Сечение IV-IV
(п.ч.) 0≤x≤1,1
Проверяем равновесие узлов
Узел С:
Задание 3. Расчеты на прочность и
жесткость при растяжении - сжатии прямого стержня
Задача 1
Для стержня
- построить эпюры продольной силы N,
нормальных напряжений σ, перемещение
поперечных сечений u.
- определить площадь поперечного
сечения стержня из условия прочности.
Дано:
[σ] = 160 МПа, Е=
МПа
1. Находим реакцию заделки NА.
-NA -F1+F2+q∙0,5=0; NA=
-F1+F2+q∙0,5=-50+25+25=0кН
2. Разбиваем стержень на участки.
Сечение I-I (л.ч.)
0≤x≤0,5
-NA+Nx1; Nx1= NA=0кН
Сечение II-II (л.ч.) 0≤x≤0,5
-NA+q∙x+Nx2=0; Nx2= NA-q∙x ; Nx2/x=0=0кН; Nx2/x=0,5=-25кН
Сечение III-III (п.ч.) 0≤x≤0,5
Nx3+F1=0; Nx3=-50кН
[σ] = 160 МПа, σmax=50/A МПа
3. Перемещение поперечных сечений
;
;
;
;
;
;
;
;
Задача 2
Для стального стержня ступенчатого
стержня (Е=2∙105МПа) круглого сечения, жестко закреплённого
одним концом и нагруженного сосредоточенными силами, требуется:
- Определить реакцию заделки;
- построить эпюры продольной силы N,
нормальных напряжений σ, перемещение
поперечных сечений u;
- определить общее удлинение
(укорочение) стержня;
- определить прочность стержня, [Ϭ]=160МПа;
- дать характеристику напряженного
состояния.
Дано:
[σ] = 160 МПа, Е=
МПа.
1. Находим
реакцию заделки NА.
-NA +F1+F2+F3=0;
NA= F1+F2-F3=11+11-16,5=5,5кН
2. Разбиваем стержень на участки.
Сечение I-I (л.ч.)
0≤x≤0,13
-NA+Nx1; Nx1=
NA=5,5кН
Сечение II-II
(л.ч.) 0≤x≤0,2
-NA +Nx2+F1=0;
Nx2= NA- F1; Nx2=-5,5кН;
Сечение III-III (п.ч.) 0≤x≤0,6
x3+F3=0;
Nx3=-16,5кН
[σ] = 160 МПа, σ1=5,5∙103/2,2∙10-4=25
МПа
σ2=-5,5∙103/2,2∙10-4=-25
МПа
σ3=16,5∙103/4,4∙10-4=-37,5
МПа
Перемещение поперечных сечений.
;
;
;
;
;
Задача 3
Для стержневой системы требуется:
- найти внутренние усилия в стержнях 1
и 2 и построить эпюры продольных сил N;
- определить площади поперечных
сечений стержней 1 и 2 из условия прочности, найти размеры d,а;
- найти перемещение точки В.
1) Определяем внутренние усилия в стержнях 1 и
2:
Nx1-F∙sin60˚=0→
Nx1=F∙sin60˚=20∙0,866=17,32кН
Nx2-F∙cos60˚=0→
Nx2=-F∙cos60˚=-20∙0,5=-10кН
2)
Определяем площадь поперечного сечения стержней 1 и 2 из условия прочности,
находим размеры d,a.
[Ϭ]≥Nx1/A→
A1=
Nx1/[Ϭ]=17,32∙103/140∙106=1,24см2
[Ϭ]≥Nx2/A→
A2=
Nx2/[Ϭ]=10∙103/140∙106=0,7см2
А1=π∙d2/4→
d=√4A/π=1,26см
А2=а2 → а=√А=0,84см
) Определяем перемещение точки В:
∆l1=
Nx1∙x/A∙E=17,32∙1,1∙103/0,8∙1011∙1,24∙10-4=19,21∙10-4м
∆l2=
Nx2∙x/A∙E=-10∙0,64∙103/0,8∙1011∙0,7∙10-4=-11,42∙10-4м
Задание 4. Расчеты на прочность и
жесткость при кручении прямого вала
Цель работы: усвоение методики
расчета на прочность и жесткость прямых стержней (валов) при кручении
Задача 1
Для вала, требуется:
- найти момент М0;
- построить эпюры крутящего момента и
максимальных касательных напряжений;
- определить из условия прочности
диаметр вала;
- найти углы закручивания на участках
вала и полный угол закручивания вала. Построить эпюру углов закручивания по
длине вала.
Данные: a
= 0,2м;
М1 = 400Н∙м; М2 =
320Н∙м; М3 = 320Н∙м; М4 = 0Н∙м;
[τ] = 25МПа; G
= 8∙104 МПа.
Схема вала:

1. Составить
уравнение равновесия внешних моментов относительно оси вала и найти момент
заделки:
∑М =0: - Ма - М1 + М2
+ М3 - М4 = 0;
Ма = -400 + 320 + 320=240Н∙м.
Ма =240Н∙м
2. Разбить
вал на участки и методом сечений определить крутящий момент и касательные
напряжения на каждом участке:
где j - номер
участка;
Мi - внешние
моменты, приложенные к отсеченной части вала.
· Сечение I - I (в.
ч.)
(0 ≤ x1 ≤ 0,2)
Мкр1│0 = Мкр1│0,2
=240 Н∙м;
τ1│0
= τ
1│0,2
= М1/Wp=
240/Wp
· Сечение II
- II (в. ч.) (0 ≤
x2
≤ 0,2)
Мкр2│0 = Мкр2│0,2
= М1-М2 = 80 Н∙м;
τ 2│0
= τ
2│0,2
= 80/Wp
· Сечение III
- III (в. ч.) (0 ≤
x3 ≤
0,8)
Мкр3│0 = Мкр3│0,4
= М1-М2-М3= -1,5 + 1,5= 0 кН∙м;
τ 3│0
= τ
3│0,8
= 0/Wp
· Сечение IV
- IV (в. ч.) (0 ≤
x4 ≤
0,8)
М4│0 = М4│0,8
= - Мa
- М1 + М2+ М3= 400-320-320 = -240 Н∙м;
τ 4│0
=
τ 4│1.2 =
-240/Wp.
Эпюра касательных напряжений:
3. Построить
эпюры крутящих моментов и наибольших касательных напряжений. Найти опасное
сечение вала из условия прочности:
τ max
=
Mk
max
/
Wp
≤
[τ],
отсюда
Wp
≥
Mk
max
/[τ]
= 400 / 25 ∙106 =
16∙10-6 м3 =16см3
Wp
=
πd3/16
- момент сопротивления сечения при кручении, для круглого сечения,
следовательно
Подбираем ближайший диаметр - dпр=50мм.
Wp = 3,14∙(5)3
/ 16 = 24,5cм3 = 24,5∙10-6
м3
Определяем на каждом участке
касательные напряжения:
τ1│0
=
τ
1│0,2
= 400/24,5∙10-6 = 16,32МПа;
τ 2│0
=
τ
2│0,2
= 80/24,5∙10-6 =3,2МПа;
τ 3│0
=
τ
3│0,4
= -240/24,5∙10-6=9,8МПа;
4. Определить
угол закручивания на каждом участке по формуле:
,
где Мkj
-
крутящие моменты на участках;
lj
-
длина участков;
G - модуль сдвига, G
= 8∙104 МПа;
Jp
-
момент инерции при кручении
Jp
=
π∙d4/32
= 3,14∙0,054 / 32 = 6,13∙10-7м3
· сечение I-I (л.
ч.)
(0 ≤ l1 ≤ 0,4)
· сечение II-II
(л. ч.) (0 ≤ l2
≤ 0,2)
· сечение Ш-III
(л. ч.) (0 ≤ l3
≤ 0,2)
Задание 5. Расчеты на прочность и
определение перемещений балок при изгибе
Цель работы - усвоение методики расчета на
прочность балок при прямом изгибе.
Задача 1
Для балки требуется:
построить эпюру поперечной силы и изгибающего
моментов;
из условия прочности определить размеры
прямоугольного и двутаврового сечений балки и сравнить балки с этими сечениями
по расходу материала;
определить наибольшие касательные напряжения в
обоих сечениях балки, проверить выполнения прочности по касательным
напряжениям;
построить эпюры нормальных и касательных
напряжений в опасном сечении балки.
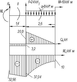
Данные: F1
= 24kH; F2
= 8kH; h/b
= 2,5;
M1
= 12кН*м; M2=
10kH*м;q=8kH/
м, а=1,4м, в=2,6м
[σ] = 160МПа.,[τ]=0,5[σ]
Схема балки:
Ход работы
1. Определить реакции опор:
∑МА = 0: -q∙2,6∙2,7+F∙1,4-M+Мз
= 0;
Мз = q∙2,6∙2,7-F∙1.4+
М =56.16+ 10-33,6 = 32,56кН.
∑y
= 0: RB
-q∙2,6+F=
0;
RB
=q∙2,6-F=
-3,2кН.
. Разбить вал на участки, ось x
совместить с продольной осью балки, а начало координат взять на левом конце
балки. Составить аналитические выражения поперечной силы и изгибающего момента
в продольном сечении на каждом участке:
· Сечение I - I (л.
ч.)
(0 ≤ x1 ≤ 2.6)
Qy
= q∙ x1;
Q1│0
= q∙ 0= 0кН;
Q1│2,6
= q∙ 2,6=20,8кН.
Mz
= -М- q∙ x12/2;
М1│0 = -10 кН∙м
М1│1,0 = -10 - 8∙2,62/2
= -37,04 кН∙м
· Сечение II
- II (п. ч.) (0 ≤
x2
≤ 1,4)
Qy
= RВ;
Q2│0
= Q2│1,4
= 3,2 кН.
Mz
= RВ∙x2;
М2│0 = -Мз
+RВ∙x2
=-Мз =32,56кН∙м
М1│1,4
= -37,04
кН∙м.
3.
Построить эпюры поперечной силы и изгибающего момента
4. По
эпюре изгибающего момента найти опасные сечения, в котором возникает наибольший
изгибающий момент Mz
max.
Из условия прочности по нормальным напряжениям определить момент сопротивления
поперечного сечения балки:
σ max = Mz max / Wp ≤
[σ],
отсюда
Wz ≥ Mz max /[σ] = 37,04∙103
/ 160 ∙106 = 0,23∙10-3 м3 =230см3
a) По
найденному значению Wz находим
размеры поперечного сечения:
Wz = b∙h2/6,
где h=2,5b, отсюда Wz = b∙(2,5b) 2/6
следовательно:
b = 6∙10-2м.
h = 2,5∙b
= 2,5∙6∙10-2 = 15∙10-2м,
h = 15∙10-2м.
b) Подбираем по
таблице номер стандартного двутаврового сечения:
номер двутавра - №22, Wz
= 230 см3.
с) Сравниваем
балки с заданными сечениями по расходу материала:
площадь прямоугольника:
A1
= h∙b
= 6∙15∙10-2 = 98∙10-4 м2 =90
см2,
площадь двутавра:
A2
= 30,6см2,
n = A1/
A2
= 90 / 30,6 = 2.9
Двутавр экономичнее прямоугольного сечения в 2,9
раз.
5. Определить
наибольшее касательное напряжение в точках поперечного сечения, лежащих на
нейтральной линии.
а) касательное напряжение прямоугольника:
где Qy -
наибольшая поперечная сила, определяемая по эпюре поперечных сил, Qy = 20,8∙103
кН.
А - площадь прямоугольника, A1=90∙10-4
м2.
b) касательное
напряжение двутавра:
где Qy
- наибольшая поперечная сила, определяемая по эпюре поперечных сил,
Qy
=
20,8∙103 кН,
Szотс-
статический момент полусечения, Szотс
= 131 см3,
Jz
- осевой момент инерции, Jz
=
2550см4 =2790∙10-8м,
by
- ширина поперечного сечения по нейтральной линии,
by
=
5.4мм = 5.4∙10-3м
,
[σ] = 160МПа, [τ] = 80МПа,
τmax = 3,5МПа ≤
80МПа
τmax = 19,8МПа ≤
80МПа
Прочность по касательным напряжениям
обеспечено.
6. Построить
эпюры σ
и
τ
в
опасном сечениях.
Все сечения 2 участка равноопасны:
Мzmax
= -37,04кН∙м = -37,04∙103Н∙м,
Qymax
= 20,8кН∙м = 20,8∙103Н.
Для прямоугольника:
Для двутавра:
Ответ: b = 6∙10-2м,
h = 15∙10-2м,
№ 22, τmax = 3,5МПа, τmax = 19,8МПа.
Задача 2
Для балки требуется:
построить эпюру поперечной силы и изгибающего
момента;
определить из условия прочности размеры
поперечного квадратного сечения балки;
определить прогибы и углы поворотов сечений D
или C.
Данные: M
= 5кН*м; q=8kH/
м, а=1,6м, в=2,4м
[σ] = 180МПа.
k = 1,5; q
= 2кН/м;
l = 1,2м; [σ]
= 160МПа;
Е = 2,0∙105МПа.
Схема балки:
Ход работы
1. Определить
реакции опор:
∑Ма = 0: -RB∙4
-M+q∙2,4∙2,8
= 0;
RB
= (-M+q∙2,4∙2,8)/
4= 12,19 кНм.
∑y
= 0: RB
+RA -q∙2,4=
0;
RA
=
-RB +q∙2,4
= -12,19 + 8∙2,4= 7,01кН
2. Разбить
вал на участки, ось x совместить
с продольной осью балки, а начало координат взять на левом конце балки.
Составить аналитические выражения поперечной силы и изгибающего момента в
продольном сечении на каждом участке:
· Сечение I - I (л.
ч.)
(0 ≤ x1 ≤ 1,6)
Qy
= RA;
Q1│0
= Q1│1.6
= RA
=
7,01кН;
Mz
= F∙x1
М1│0 = 0 кН∙м
М1│1,6 = 7,01∙1,6
= 11,2кН∙м
· Сечение II
- II (л. ч.) (0 ≤
x2
≤ 2,4)
Qy
= -RB+q∙x2;
Q2│0
=-RB=-12,19
Q2│2,4
=7,01 кН;
Mz
=RB∙ x2-q∙x2∙
x2/2;
М2│0 = 0 кН;
М2│2,4
= RB∙ x2-q∙x2∙ x2/2=
2,4∙12,19- 8∙2,42/2= 6,2 кНм
2. Построить
эпюры поперечной силы и изгибающего момента.
4. Из
условия прочности находим размер поперечного сечения:
σ max
=
Mz
max
/
Wz
≤
[σ],
отсюда
Wz
≥
Mz
max
/[σ]
= 11,2∙103
/ 180 ∙106 = 62∙10-6 м3 =62см3
По найденному значению Wz
находим
размеры поперечного сечения:
Wz
= a3/6,
a = 7,2cм.
Ответ: a =
7,2cм.
Задача 3
Балка изготовлена из материала, у которого [Ϭр]=[Ϭс]υ.
Требуется:
- построить эпюры поперечной силы и
изгибающего момента;
- из условия прочности по нормальным
напряжениям найти размер а заданного сечения балки и определить высоту h
и ширину b сечения,
расположить сечение относительно нагрузки рационально с учетом условия
экономичного использования материала;
- построить эпюры нормальных и
касательных напряжений в опасных сечениях.