Разработка привода с асинхронным двигателем
Задание
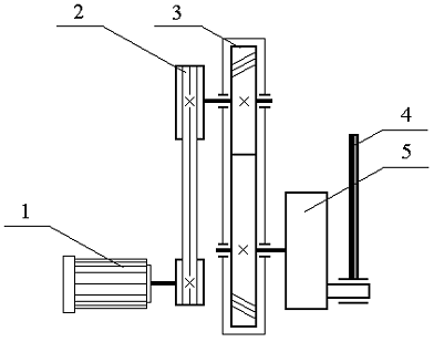
1 - электродвигатель
- клиноремённая передача
- редуктор
- шатун
- кривошип
Исходные данные:
Мощность на
валу кривошипа, P = 1,2 кВт;
Частота вращения кривошипа, n = 150 мин-1;
Срок службы - 15 тыс. час.
Содержание
Введение
. Выбор
двигателя и кинематический расчет привода
.1
Определение КПД привода
.2
Определение требуемой мощности двигателя
.3
Определение Uприв
.4
Распределение передаточного числа привода по ступеням
1.5
Определение частот вращения, угловых скоростей, вращающих моментов и мощностей
по валам привода
. Расчет
зубчатой передачи
2.1 Выбор
материала для изготовления колес
.2
Определение допускаемых контактных напряжений
.3
Определение допускаемых напряжения для проверки зубьев на изгиб
.4 Расчет
зубчатой передачи
. Расчет
клиноременной передачи
.
Предварительный расчет валов редуктора и выбор подшипников
. Пояснение к
эскизной компоновке редуктора, ее цель
. Определение
размеров элементов корпуса редуктора
. Общая схема
сил, действующих на валы
. Проверка
долговечности подшипников
. Подбор и
проверка шпонок
. Расчет на
прочность входного вала
. Анализ
посадок и допусков
. Выбор сорта
масла
. Сборка
редуктора
. Заключение
. Литература
Введение
Пояснительная записка составлена в соответствии с техническим заданием на
курсовой проект по дисциплине «Прикладная механика» на тему «Привод»
Редуктором называют механизм, состоящий из зубчатых или червячных
передач, выполненный в виде отдельного агрегата и служащий для передачи
вращения от вала двигателя к валу рабочей машины.
Назначение редуктора - понижение угловой скорости и соответственно
повышение вращающего момента ведомого вала по сравнению с ведущим. Редуктор
состоит из корпуса, в котором помещаются элементы передачи - зубчатые колеса,
валы, подшипники и т. д.
Редукторы классифицируют по следующим основным признакам: типы передачи,
числу ступеней, типу зубчатых колес, относительному расположению валов в
пространстве, особенностям кинематической схемы.
Основные требования, предъявляемые к создаваемой машине: высокая
производительность, надежность, технологичность, ремонтопригодность,
минимальные габариты и масса, удобство эксплуатации, экономичность, техническая
эстетика. Все эти требования учитывают в процессе проектирования и
конструирования.
Привод составлен из асинхронного двигателя, одноступенчатого
цилиндрического редуктора, открытой ременной передачи. Редуктор является
горизонтальным.
Основные цели проекта:
·
овладеть техникой
разработки конструкторских документов на различных стадиях проектирования;
·
приобрести навыки
самостоятельного решения инженерно - технических задач и умение анализировать
полученные результаты;
·
научиться
работать со стандартами, различной инженерной, учебной и справочной литературой
(каталогами, атласами, классификаторами ЕСКД);
·
уметь обоснованно
защитить проект.
1. Выбор электродвигателя и кинематический расчёт
Примем [1, c.5]
·
КПД пары
цилиндрических зубчатых колёс η1 = 0.98;
·
коэффициент,
учитывающий потери пары подшипников качения η2 = 0.99;
·
КПД клиноремённой
передачи η3 = 0.95 .
Определим общий коэффициент полезного действия (КПД привода)
[1, c.4]:
ηприв = η1 η2 η3 = 0,98∙0,99 2∙0,95 =
0,91;
Определим требуемую мощность двигателя:
(кВт).
Определение
Uприв:
(об/мин);
Uприв = UремUз.закр
= 2∙4,71 = 9,42;
В таблице [1, c.390] по требуемой мощности Ртр = 9800 Вт с учетом
возможности привода, состоящего из цилиндрического редуктора и ременной
передачи, выбираем электродвигатель трехфазный короткозамкнутый серии 4А,
закрытый, обдуваемый, с синхронной частотой вращения 1500 об/мин 80В4, с
параметрами Рдв = 1500 Вт (ГОСТ 19523-81), скольжение 5,8%. Номинальная частота
вращения [1, c.390] nдв = 1500 - 40 = 1460 мин-1
(об/мин).
Распределение передаточного числа привода по ступеням:
прив = nдв/nкрив = 1413/150 = 9,42;
Uприв = UремUз.закр
= 2∙4,71 = 9,42;
для ременной открытой - Uрем =
2;
для зубчатой закрытой - Uз.закр
= 4,71;
Частоты вращения, угловые скорости, вращающие моменты и мощности валов
привода:
nдв = 1413
(об/мин);
Вращающие моменты:
на валу двигателя:

на валу колеса:
2.
Расчет зубчатых колес редуктора
В задании нет особых требований в отношении габаритов передачи, выбираем
материалы со средними механическими характеристиками [1, с.34]: для шестерни
сталь 45, термическая обработка - нормализация, твердость НВ 160; для колеса -
сталь 45, термическая обработка - нормализация, твердость НВ 160.
Допускаемые контактные напряжения [2, с.33]:
где
sHlimb
- предел контактной выносливости при базовом числе циклов.
Для углеродистых сталей с твердостью поверхности менее НВ 350 и
термической обработкой (нормализация) [1, с.34]:
sHlimb
= 2 НВ +70.
- коэффициент долговечности. При числе циклов нагружения больше
базового, что имеет место при длительной эксплуатации редуктора
= (NHE/NHO)1/9 NHO = 107
NHE =
60∙c∙n∙t = 60∙150∙1∙15000
= 13,5∙107 KHL = (13,5)1/9 =
1.3; SH = 1,1.
Для косозубых колес расчетное допускаемое контактное напряжение [2,
с.35]:
для
шестерни:
для
колеса:
тогда
расчетное допускаемое напряжение:
[sн доп] = 0,45([sн1доп] + [sн2доп]) = 0,45∙(460,9 + 460,9)
= 414,81 (МПа).
Требуемое условие [1,с. 35]
([sн1доп] = 460,9) < (1,23∙[sн2доп] = 510,2) выполнено.
Межосевое расстояние из условия контактной выносливости активных
поверхностей зубьев для косозубых передач [1, с.32]:
,
где
Ка = 43;
Uз.закр(p) =
4,71;
КНb - коэффициент, учитывающий неравномерность распределения нагрузки по
ширине венца. Несмотря на симметричное расположение колес относительно опор
(рис.1), примем выше рекомендуемого для этого случая, так как со стороны
шатунной передачи действуют силы, вызывающие дополнительную деформацию ведомого
вала и ухудшающие контакт зубьев. Принимаем предварительно, как в случае
несимметричного расположения колес [1, с.32]:
КНb= 1,25.
yba - коэффициент ширины венца (выбирается по ГОСТ
2185-66). yba =
0,2
, аw =
122,12 (мм).
Ближайшее
значение межосевого расстояния (ГОСТ 2185-66):= 125 (мм).
Нормальный модуль зацепления принимаем по следующей рекомендации
[1, с.36]:
;
принимаем
по ГОСТ 9563-80 mn = 2 (мм).
Примем
предварительно угол наклона зубьев [1, с.37] b = 10 0 и
определим числа зубьев шестерни и колеса:
;
примем
Z1 = 22, тогда Z2 = Z1∙Up =
22∙4,71 = 103,62;
примем
Z2 = 100.
Уточненное
значение угла наклона зубьев:
, b = 12034/.
Основные
размеры шестерни и колеса:
диаметры
делительные:
проверка:
диаметры
вершин зубьев:
ширина
колеса:
ширина
шестерни:
Определяем
коэффициент ширины шестерни по диаметру:
Окружная
скорость колес и степень точности передачи:
при
такой скорости для косозубых колес следует принять 8-ю степень точности [1,
с.32].
Коэффициент
нагрузки.
При
ybd =
0,67, твердости менее 350 и несимметричном расположении колес относительно опор
с учетом изгиба ведомого вала от напряжения шатунной передачи КНb = 1,067 [1, с.39]. При v = 1,6 (м/с) и восьмой степени точности
КНa = 1,06 [1, с.39]. Для косозубых колес при v < 5 м/с
имеем КНv = 1,0 [1, с.40].
Таким
образом, коэффициент нагрузки равен:
Проверка
контактных напряжений [1, с.31]:
Силы,
действующие в зацеплении [1, с.294]:
окружная:
a = 20 0;
радиальная:
осевая:
Проверяем
зубья на выносливость по напряжениям изгиба [1, с. 46]:
.
Коэффициент
нагрузки
.
Здесь
KFb = 1,14; KFV = 1,1 [1, c.43].
YF -
коэффициент, учитывающий форму зуба и зависящий от эквивалентного числа зубьев Zv.
для
шестерни
для
колеса
При
этом YF1 = 3,9; YF2 = 3,6 [1, c.
42].
Допускаемое
напряжение при проверке зубьев на выносливость по напряжениям изгиба [1, c.
43]
Для
стали 45 нормализованной при твердости НВ меньше 350 [2, c.
295] предел выносливости при отнулевом цикле изгиба
;
для
шестерни
;
для
колеса
Коэффициент
безопасности
.
для
поковок и штамповок
[1, c.45]. Таким образом,
Допускаемые
напряжения при расчете зубьев на выносливость:
для
шестерни
для
колеса
Для
шестерни отношение
для
колеса
Коэффициент
Yb учитывает повышение прочности косых зубьев по сравнению с прямыми:
Коэффициент
КFa учитывает распределение нагрузки между зубьями.
где
ea - коэффициент торцового перекрытия и n -
степень точности зубчатых колес.
ea = 1,5; n = 8
[2, c.47].
Проверяем
прочность зуба колеса [2, c. 46]:
sF2 = FtKFYFYbKFa /b2mn £ [sF];
<
= 164,57 (МПа) - условие прочности выполнено.
3. Расчёт
клиноремённой передачи
Исходные данные для расчёта: передаваемая мощность Ртр = 1,3 кВт; частота
вращения ведущего (меньшего) шкива nдв = 1413 об/мин; передаточное отношение Uрем = 2; скольжение ремня e = 0,015.
По номограмме принимаем сечение клинового ремня О [1, c.134].
Вращающий момент
Диаметр
меньшего шкива [1, c.130]
Принимаем
d1 = 80 мм.
Диаметр
большего шкива [1, c.120]
2 = Uремd1(1
- e) = 2∙80(1 - 0,015) = 157,6 мм;
Принимаем d2 =
160 мм.
Уточняем передаточное
отношение
При этом угловая скорость
вала В будет
Расхождение с тем, что было
получено по первоначальному расчёту,
что менее допускаемого - ± 3 %.
Следовательно,
окончательно принимаем диаметры шкивов
d1 =
80 мм
d2 =
160 мм.
Межосевое расстояние ар следует принять в интервале [1, c.130]
аmin = 0,55(d1 + d2) + T0 = 0,55(80 + 160) + 6 = 138 мм;
аmax = d1 + d2 =
80 + 160 = 240 мм,
где Т0 = 6 мм (высота сечения ремня).
Принимаем предварительно близкое значение ар = 300 мм.
Расчётная длина ремня [1, c.121]
Ближайшее значение по стандарту L = 1000 мм.
Уточненное значение межосевого расстояния ар с учётом стандартной длины
ремня L [1, c.130]
где
w = 0,5p(d1 + d2) =
0,5∙3,14(80 + 160) = 376,8 мм;
Угол
обхвата меньшего шкива [1, c.130]
Коэффициент
режима работы, учитывающий условия эксплуатации передачи:
для
привода к ленточному конвейеру при односменной работе Ср = 1,0 [1, c.136].
Коэффициент,
учитывающий влияние длины ремня:
для
ремня сечения О при длине L = 1000 мм коэффициент СL = 0,92 [1, c.135].
Коэффициент,
учитывающий влияние угла обхвата:
при
a1 = 165° коэффициент Сa » 0,96 [1, c.135].
Коэффициент,
учитывающий число ремней в передаче: предполагая, что число ремней в передаче
будет от 2 до 3, примем коэффициент Сz = 0,95.
Число
ремней в передаче [1, c.135]
где
Р0 - мощность, передаваемая одним клиновым ремнём, кВт; для ремня сечения О при
длине L = 1320 мм, работе на шкиве d1 = 80 мм и U = 2
мощность P0 = 0,81 кВт (то, что в нашем случае ремень имеет
другую длину L = 1000 мм, учитывается коэффициентом СL);
Принимаем
z = 2.
Натяжение
ветви клинового ремня [1, c.136]
где
скорость υ = 0,5wдвd1 =
0,5∙147,89∙80∙10-3 = 5,91 (м/с); q - коэффициент, учитывающий влияние центробежных сил; для ремня сечения
О коэффициент
q = 0,06 Н∙с2/м2.
Тогда
Давление
на валы
Ширина
шкивов Вш
Вш
=(z - 1)e + 2f = (2 - 1)12 + 2∙8 = 28 мм.
Долговечность
ремней
Рассчитывается по формуле [1, c.136]:
.
[1, c.127]
при
постоянной нагрузке.
Для
ремней сечением О
,
.
Максимальное
напряжение [1, c.123]
.
Напряжение
от силы натяжения ведущей ветви F1 [1, c.123]
(Н) [1, c.121];
(Н);
(МПа),
где
А - площадь поперечного сечения ремня [1, c.131].
Напряжение
изгиба [1, c.123]
(МПа),
для
хлопчатобумажных ремней ЕИ = 50 - 80 МПа.
Напряжение
от центробежной силы [1, c.123]
;
где
- плотность ремня
,
(м/с);
(МПа).
(МПа).
Рабочий ресурс
4. Предварительный расчет валов редуктора и выбор подшипников
Предварительный расчет валов проведем на кручение по пониженным
допускаемым напряжениям.
Ведущий вал
Диаметр
выходного конца вала при допускаемом напряжении
[1,
c. 161]
Принимаем
большее ближайшее значение из стандартного ряда dв1 = 17 мм.
Диаметр
вала под подшипниками принимаем dп1 = 20 мм.
Ведомый
вал
Учитывая
влияние изгиба вала от шатунной передачи, принимаем
.
Принимаем
большее ближайшее значение из стандартного ряда dв2 = 28 мм,
Диаметр
вала под подшипники принимаем dn2 = 30 мм,
Под зубчатым колесом dк2=
32 мм.
Примем радиальные шарикоподшипники лёгкой серии, габариты подшипников
выбираем по диаметру вала в месте посадки подшипников [1,c 394]
dп1 =
20 мм; dп2 = 30 мм.
|
Условное обозначение
подшипника
|
d
|
D
|
B
|
|
Размеры (мм)
|
|
204 206
|
20 30
|
14 16
|
5. Пояснение к эскизной компоновке редуктора, ее цель
Эскизная компоновка служит для приближенного определения положения зубчатых
колес и звездочки относительно опор для последующего определения опорных
реакций и подбора подшипников.
Компоновочный чертеж выполняем в одной проекции - разрез по осям валов
при снятой крышке редуктора; масштаб 1:1, чертим тонкими линиями.
Примерно посередине листа параллельно его длинной стороне проводим
горизонтальную осевую линию; затем две вертикальные линии - оси валов на
расстоянии aw = 125 мм.
Вычерчиваем упрощенно шестерню и колесо в виде прямоугольников; шестерня
выполнена за одно целое с валом; длина ступицы колеса равна ширине венца и не
выступает за пределы прямоугольника.
6. Определение размеров элементов корпуса редуктора
Конструктивные размеры шестерни и колеса
Шестерню выполняем за одно целое с валом. Ее размеры определены выше:
d1 =
45,08 (мм); da1 = 49,08 (мм); b1 = 30 (мм).
Колесо кованное [1, c.233]:
d2 =
204,91 (мм); da2 = 208,91 (мм); b2 = 25 (мм).
Конструктивные размеры корпуса редуктора
Толщина стенок корпуса и крышки
d = 0,025×аw + 1 =
0,025×125 + 1 = 4,13 (мм); принимаем d = 8 (мм);
d1 = 0,02×аw + 1 =
0,02×125 + 1 = 3,5 (мм); принимаем d1 = 8 (мм).
Диаметры болтов
фундаментных
d1 =
0,03×аw + 12 = 0,03×125 + 12 = 15,75 (мм);
принимаем фундаментные болты с резьбой М16;
болтов, крепящих крышку к корпусу у подшипника
2 = 0,7 ×d1 = 0,7×66,7 = 11,2 (мм);
принимаем болты с резьбой
М12;
болтов, соединяющих крышку с
корпусом
3 = 0,5× d1 = 0,5×16 = 8 (мм);
принимаем болты с резьбой М8.
. Общая схема сил,
действующих на валы
8. Проверка долговечности подшипников
Ведущий вал
из предыдущих расчетов и первого этапа компоновки
Ft =
733,6 (H), Fr = 273,5 (Н), Fa =
163,5 (H),= 40 (мм), l2 = 64 (мм), d1 = 45,08
(мм).
Нагрузка на вал от клиноремённой передачи Fв = 375,26 (Н).
Составляющие этой нагрузки Fвx =0 (Н); Fвy = 375,26 (Н).
Реакции опор:
в плоскости xz
в
плоскости yz
Проверка
Строим
эпюру изгибающих моментов относительно оси x в характерных сечениях 1..4



Строим
эпюру изгибающих моментов относительно оси y в характерных сечениях 1..3
Строим
эпюру крутящих моментов
Суммарные
реакции
Подбираем
подшипники по более нагруженной опоре 1.
Намечаем радиальные шариковые
подшипники 204 легкой серии [2, с. 393]:= 20 (мм), D = 47 (мм), В = 14 (мм), С
= 12,7 (кН), С0 = 6,2 (кН).
Эквивалентная нагрузка [2, с.
212]
в которой радиальная нагрузка
Рr1 = 614,16 (H); осевая нагрузка
Ра = Fa=163,5 (Н); V = 1
(вращается внутреннее кольцо); коэффициент безопасности для приводов (лёгкие
толчки) Кd = 1; КТ = 1 [2, с. 214].
Отношение
- этой величине соответствует
е = 0,22 [2,с.212],
отношение
тогда X = 0,56, Y = 1,6.
Расчетная долговечность [2,
с. 211]
Расчетная долговечность
что удовлетворяет нашим
требованиям.
Ведомый вал
Несет такие же нагрузки, как
и ведущий
Определяем нагрузку на вал от
кривошипа
(м/с);

в = 1037 Н.
Из первого этапа компоновки
l4 = 60 (мм), l3 = 41 (мм), d2 = 204,91 (мм).
Реакции опор в плоскости xz
двигатель привод
мощность вращение
в плоскости yz
(Н);
(Н).
Проверка
Суммарные реакции
Подбираем подшипники по более
нагруженной опоре 4.
Намечаем радиальные шариковые
подшипники 206 легкой серии [2, с. 393]:= 30 (мм), D = 62 (мм), B = 16 (мм), C
= 19,5 (кН), C0 = 10 (кН).
Отношение
- этой величине соответствует
е = 0,19 [2, с. 212],
отношение
тогда X = 1, Y = 0.
Расчетная
долговечность
Расчетная
долговечность
что
удовлетворяет нашим требованиям.
9. Подбор и проверка шпонок
Шпонки призматические. Размеры сечений шпонок и пазов длины шпонок по
ГОСТ 23360-78 [2, с. 169].
Напряжения сжатия и условие прочности
.
Допускаемые
напряжения смятия при стальной ступице [sсм] = 100 - 120 МПа,
при
чугунной [sсм] = 50 - 70 МПа.
Ведущий вал= 17 (мм), b = 6
(мм), h = 6 (мм), t1 = 3,5 (мм).
Длина шпонки l = 20 (мм).
T1 = 
,
(МПа).
Условие sсм £ [sсм] выполнено.
Ведомый вал
Из двух шпонок - под зубчатым
колесом и под кривошипом - более нагруженная вторая (меньше диаметр вала и
поэтому меньше размеры поперечного сечения шпонки). Проверяем шпонку под
кривошипом.= 28 мм, b = 8 мм, h = 7 мм, t1 = 4 мм, l = 25 мм.
T2 = 
Условие sсм £ [sсм] выполнено.
10. Расчёт на прочность входного вала
Примем, что нормальные напряжения от изгиба изменяются по симметричному
циклу, а касательные от кручения - по отнулевому (пульсирующему).
Уточненный расчет состоит в определении коэффициентов запаса прочности S
для опасных сечений и сравнение их с требуемыми (допускаемыми) значениями [S].
Прочность соблюдена при S >[S].
Будем производить расчет для предположительно опасных сечений входного
вала.
Ведущий вал
Материал вала тот же, что и для шестерни (шестерня выполнена заодно с
валом), то есть сталь 45, термическая обработка - нормализация.
При диаметре заготовки до 90 мм (в нашем случае da1 = 49,08 (мм)) среднее
значение sв = 570 (МПа)
[1, с. 34].
Предел
выносливости при симметричном цикле изгиба
Предел выносливости при симметричном цикле касательных напряжений
Сечение
A-A.
Диаметр
вала в этом сечении 20 мм. Концентрация напряжений обусловлена посадкой
подшипника с гарантированным натягом.
и
; принимаем
и
.
Изгибающий
момент в сечении А-А (положим x1 = 64 (мм)),
Осевой
момент сопротивления
Амплитуда
нормальных напряжений
Полярный
момент сопротивления
Амплитуда
и среднее напряжение цикла касательных напряжений
Коэффициент запаса прочности по нормальным напряжениям
Коэффициент запаса прочности по касательным напряжениям

В
сечении А - А условие прочности вала выполнено. В сечении Б - Б проверять вал
нет смысла, так как диаметр его намного больше диаметра исследуемого сечения.
Сечение В-В.
Это сечение при передаче вращающего момента от ременной передачи
рассчитываем на кручение. Концентрацию напряжений вызывает наличие шпоночной
канавки.
Коэффициент запаса прочности по касательным напряжениям
где
амплитуда и среднее значение от нулевого цикла
При
d = 17 (мм), b = 6 (мм), h = 6 (мм), t1 = 3,5 (мм).
Принимаем
[1, c. 165, 166] kt = 1,5;
= 0,83; yt = 0,1.
11.
Анализ посадок и допусков
Посадки
зубчатого колеса и подшипников. Посадки назначаем в соответствии с указаниями,
данными в табл. [1, c.263].
Посадка
зубчатого колеса на вал
по ГОСТ 25347-82. Шейки валов под подшипники
выполняем с отклонением вала k6. Отклонения отверстий в корпусе под нагруженные
кольца по Н7.
Остальные
посадки назначаем, пользуясь данными табл. [1, c.263].
Пример:
посадка с натягом.
Æ32
Dmin = 32 (мм); dmin
= 32,026 (мм);
Dmax = 32,025
(мм); dmax = 32,042 (мм);
Nmax = dmax
- Dmin = 32,042 - 32 = 0,042 (мм);
Nmin = dmin
- Dmax = 32,026 - 32,025 = 0,001 (мм);
TD = Dmax
- Dmin = 32,025 - 32 = 0,025 (мм);
Тd = dmax
- dmin = 32,042 - 32,026 = 0,016 (мм).
12.
Выбор сорта масла
Смазывание
зубчатого зацепления производится окунанием зубчатого колеса в масло,
заливаемое внутрь корпуса до уровня, обеспечивающего погружение колеса примерно
на 12 (мм). Объем масляной ванны V определяем из расчета 0,25 (дм3) масла на 1 (кВт)
передаваемой мощности:
V = 0,25 . 1,3 =
0,33 (дм3).
Устанавливаем
вязкость масла [1, с. 253]. При контактных напряжениях
sН = 414,8 (МПа) и
скорости v = 1,6 (м/с) рекомендуемая вязкость масла должна быть
примерно равна 34 . 10-6 (м2/с). Принимаем масло индустриальное И-30А (по ГОСТ
1747,4-87) [1, с. 253].
Камеры
подшипников заполняем пластичным смазочным материалом УТ-1 [1, с. 204].
13.
Сборка редуктора
Перед сборкой внутреннюю полость корпуса редуктора тщательно очищают и
покрывают маслостойкой краской.
Сборку производят в соответствии со сборочным чертежом редуктора, начиная
с узлов валов:
на ведущий вал насаживают мазеудерживающие кольца и шарикоподшипники,
предварительно нагретые в масле до 80 - 100 0С;
в ведомый вал закладывают шпонку и напрессовывают зубчатое колесо до
упора в бурт вала; затем надевают распорную втулку, мазеудерживающие кольца и
устанавливают шарикоподшипники, предварительно нагретые в масле.
Собранные валы укладывают в основание корпуса редуктора и надевают крышку
корпуса, покрывая предварительно поверхности стыка крышки и корпуса спиртовым
лаком. Для центровки устанавливают крышку на корпус с помощью двух конических
штифтов; затягивают болты, крепящие крышку к корпусу.
После этого ставят распорные кольцо, в подшипниковые камеры закладывают
пластичную смазку, ставят крышки подшипников с комплектом металлических
прокладок для регулировки.
Перед постановкой сквозных крышек в проточки закладывают манжетные
уплотнения, пропитанные горячим маслом. Проверяют проворачиванием валов
отсутствие заклинивания подшипников (валы должны проворачиваться от руки) и
закрепляют крышки болтами.
Далее на конец ведомого вала в шпоночную канавку закладывают шпонку,
устанавливают кривошип и закрепляют ее торцовым креплением; винт торцового
крепления стопорят пружинной гайкой.
Затем ввертывают пробку маслоспускного отверстия с прокладкой и жезловый
маслоуказатель.
Заливают в корпус масло и закрывают смотровое отверстие крышкой с
прокладкой из технического картона; закрепляют крышку болтами.
Собранный редуктор обкатывают и подвергают испытанию на стенде по
программе, устанавливаемой техническими условиями.
14. Литература
1. Чернавский С.А. Курсовое
проектирование деталей машин - М.: Машиностроение, 1988. - 416с.: ил.
2. Шейнблит А.Е. Курсовое проектирование
деталей машин - Калининград: Янтар.сказ, 1999. - 454с.: ил.