Разработка конструкции теплообменника для охлаждения влажного газа

  • Вид работы:
    Дипломная (ВКР)
  • Предмет:
    Другое
  • Язык:
    Русский
    ,
    Формат файла:
    MS Word
    1,68 Мб
  • Опубликовано:
    2012-08-27
Вы можете узнать стоимость помощи в написании студенческой работы.
Помощь в написании работы, которую точно примут!

Разработка конструкции теплообменника для охлаждения влажного газа

Введение

С развитием нефтяной, химической и других отраслей промышленности непрерывно совершенствуется техника и технология аппаратостроения. Создаются новые виды аппаратов и оборудование для внедрения в промышленность специальных технических процессов большой производительности. Проводятся большие работы, направленные на повышение технического уровня серийно выпускаемой аппаратуры: ректификационных колон, теплообменных аппаратов, реакторов, аппаратов воздушного охлаждения, насосов и компрессоров.

Одними из разновидности аппаратов химических производств есть теплообменные аппараты, применяемые для осуществления теплообмена между двумя теплоносителями с целью нагревания или охлаждения одного из них. По принципу действия теплообменные аппараты делят на рекуперативные (поверхностные), регенеративные и смесительные.

В рекуперативных аппаратах- рекуператорах- оба теплоносителя разделены стенкой, причем тепло передается через поверхность этой стенки. В зависимости от конструктивного исполнения поверхности теплообмена рекуператоры разделяют на теплообменники- кожухотрубчатые, двухтрубчатые, змеевиковые, спиральные, оросительные, специальные и трубчатые выпарные аппараты.

Наиболее распространенный в химической технике тип теплообменной аппаратуры- кожухотрубчатые теплообменники. Они допускают создание больших поверхностей теплообмена в одном аппарате, просты в изготовлении и надежны в работе. По конструкции различают теплообменники с неподвижными трубными решетками (ТН), в которых обе решетки жестко прикреплены к корпусу и теплообменники с компенсирующими устройствами, в которых трубы могут свободно удлиняться.

Конструкция ТН применяется при разности температур между кожухом и трубами 25...30 оС. Если разность превышает указанные пределы, применяют теплообменники с различными компенсаторами температурных удлинений: теплообменники с плавающей головкой, с линзовым компенсатором, с сальниковым компенсатором, с U- образными трубами, с двойными трубами.

Поверхностные теплообменники классифицируются:

по назначению (подогреватели и холодильники);

по роду рабочих сред (паро-жидкостные, жидкостно-жидкостные, газо-жидкостные, газо-газовые);

по направлению потоков ( аппараты прямого тока, аппараты противоточные, аппараты перекрестного тока и аппараты смешанного тока);

по числу ходов (одноходовые и многоходовые);

по материалу (металлические и неметаллические);

по конфигурации поверхностей ( трубчатые, змеевиковые, аппараты спиральных типов, комбинированные);

по компоновке трубчатых и змеевиковых аппаратов ( элементные, кожуховые, погружные, оросительные);

по жесткости конструкции (аппараты жесткой конструкции, аппараты нежесткой конструкции, аппараты полужесткой конструкции);

по характеру температурного режима ( аппараты с установившимся температурным режимом, аппараты с неустановившимся температурным режимом)

Основными требованиями к промышленным теплообменным аппаратам являются обеспечение наиболее высокого коэффициента теплопередачи при возможно меньшем гидравлическом сопротивлении; компактность и наименьший расход материала; надежность и герметичность в сочетании с разборностью и доступностью поверхности теплообмена для механической очистки ее от загрязнений.

При создании более эффективных теплообменных аппаратов стремятся:

Уменьшить удельные затраты материалов, труда, средств и затрачиваемой при работе энергии по сравнению с показателями существующих теплообменников;

Повысить интенсивность и эффективность работы аппарата, т.е. увеличить количество тепла, передаваемого в единицу поверхности теплообмена при заданном тепловом режиме.

Задачей данного дипломного проекта является разработка конструкции теплообменника для охлаждения влажного газа.

1. Расчетно-конструкторская часть

.1 Краткое описание изделия, принципа действия, области применения

Проектируемый теплообменник предназначен для охлаждения влажного газа и применяется при разработке газовых месторождений на крайнем севере России.

Теплообменник представляет собой горизонтальный сдвоенный кожухотрубчатый теплообменный аппарат типа ТН ( с неподвижными трубными решетками ). К месту работы аппарат поставляется двумя блоками ( верхний и нижний теплообменники отдельно) и собирается на месте монтажа.

Основной частью верхнего теплообменника является трубчаткой (поз.1), состоящая из трубного пучка, ограниченного снаружи цилиндрическим кожухом. Снаружи трубчатки расположены основные технологические штуцера для входа и выхода осушенного газа, а также штуцера для воздушки и дренажа. Слева к верхней трубчатке при помощи фланцевого соединения присоединена камера (поз.3) , состоящая из цилиндрической обечайки, эллиптического днища, фланца, двух штуцеров для входа влажного газа и дренажа. Справа к верхней трубчатке присоединена правая камера (поз. 4), имеющая аналогичную конструкцию. Снаружи правой камеры расположены два штуцера для выхода влажного газа и воздушки.

Нижний теплообменник имеет аналогичную конструкцию, состоящую из трубчатки (поз.2) и двух камер (поз.5 и 6 ).

Для крепления аппарата к фундаменту предназначены две седловые опоры (поз. 8 и 9 ).

В штуцер В межтрубного пространства нижнего теплообменника подается осушенный природный газ, а в штуцер А трубного пространства верхнего теплообменника влажный газ с температурой 500С. В результате процесса теплообмена охлаждается влажный     природный газ, который выходит из штуцера Б трубного пространства нижнего теплообменника, а осушенный газ- из штуцера Г межтрубного пространства верхнего теплообменника.

.2 Принципиальная схема, техническая характеристика изделия. Определение группы аппарата

А- вход влажного газа

Б- выход влажного газа

В- вход осушенного газа

Г- выход осушенного газа

Рисунок 1.1 Принципиальная схема

Таблица 1.1 Техническая характеристика

 Параметры

Наименование пространства


Корпус

Трубное пространство

1

2

3

Рабочее давление, МПа (кг/см2)

9,0 (90)

16,0 (160)

Расчетное давление, МПа (кг/см2)

9,0 (90)

16,0 (160)

Максимально допустимая рабочая температура стенки, 0С

50

50

Минимально допустимая отрицательная температура стенки, 0С

 -60

 -60

Расчетная температура стенки, 0С

100

100

Наименование рабочей среды

Природный осушенный газ

Природный влажный газ

Характеристика рабочей среды: а) вредность- класс опасности по ГОСТ 12.1.007-76 б) пожароопасная в) взрывоопасная г) максимальная температура, 0С д) минимальная температура, 0С

 4 да да 50 -

 4 да да 50 -

Внутренний объем, м3

8,3

8,4

Поверхность теплообмена, м2

1390

Максимальная масса аппарата при гидроиспытании, кг

89650

Максимально допустимая разность температур «трубы- корпус», 0С

 20

Допустимая сейсмичность района установки аппарата, не более балл

 6

Срок службы, лет

20

Число циклов нагружения за весь срок службы

1000

Прибавка для компенсации коррозии(эрозии), мм

2

4


Исходя из характеристики рабочей среды, а именно вредности, пожароопасности, взрывоопасности, присваиваем 1 группу аппарата по ОСТ 26-291-94, как для трубного, так и для межтрубного пространства [ 1] с.6.

.3 Выбор материала элементов изделия. Мероприятия по защите от коррозии

При выборе материалов для изготовления аппарата (сборочных единиц, деталей) должны учитываться: расчетное давление, температура стенки (минимальная отрицательная и максимальная расчетная), химический состав и характер среды, технологические свойства и коррозионная стойкость материалов. Также при выборе материалов для сосудов и аппаратов, устанавливаемых на открытых площадках или в не отапливаемых помещениях, необходимо учитывать:

абсолютную минимальную температуру наружного воздуха данного района, если температура стенки сосуда, находящегося под давлением, может стать отрицательной от воздействия окружающего воздуха;

б) среднюю температуру воздуха наиболее холодной пятидневки данного района с обеспеченностью 0,92, если температура стенки сосуда, находящегося под давлением, положительна.

Учитывая вышеизложенное и то, что проектируемый аппарат устанавливается в северных районах России, то для изготовления основных деталей (трубчатки, камер ) следует взять низколегированную сталь 09Г2С-8.

Сталь 09Г2С ГОСТ 5520-79.

Назначение - различные детали и элементы сварных металлоконструкций, работающих при температуре от -70 до +4250С под давлением [ 2] с.106.

Таблица 1.2 Химический состав 09Г2С, в процентах

С

Si

Mn

Cr

Ni

Cu

P

S

As

N

Не более



Не более

0.12

0.5-0.8

1.3-1.7

0.30

0.30

0.30

0.035

0.040

0.08

0.08


Таблица 1.3 Механическая свойства стали 09Г2С

Состояние поставки

Сечение, мм

s0,2

d5(d4) %

КСU, Дж/см2 при температуре испытании, 0С



МПа





Не менее

+20

-40

-70

листы и полосы

св. 30 до 60 вкл

285

450

21

59

34

-


Технологические свойства.

Температура ковки, 0С: начала 1250, конца 850.

Свариваемость - сваривается без ограничений. Способы сварки: РДС, АДС под флюсом и газовой защитой, ЭШС.

Обрабатываемость резанием- в нормализованном, отпущенном состоянии sВ=520 МПа.

Склонность к отпускной хрупкости- не склонна.

Для изготовления патрубков фланцев и труб трубчатки применяется сталь 10Г2.

Сталь 10Г2 ГОСТ 4543-71.

Назначение - крепежные и другие детали, работающие при температуре от -700С под давлением [ 2] с.168.

Таблица 1.4 Химический состав стали 10Г2, в процентах

С

Si

Mn

Cr

Ni

Cu

P

S




Не более

0,07-0,15

0,17-0,37

1,2-1,6

0.30

0.30

0.30

0.035

0.035


Таблица 1.5 Механическая свойства стали 10Г2

Состояние поставки

Сечение, мм

s0,2

d5

y

КСU Дж/см2

НВ



МПа

%





Не менее


Не более

Поковки

До100

215

430

24

53

54

123-167

Трубы бесшовные

-

265

470

21

-

-

197


Технологические свойства.

Температура ковки, 0С: начала 1250, конца 800-780. Заготовки сечением до 100мм охлаждаются на воздухе.

Свариваемость - сваривается без ограничений. Способы сварки: РДС, АДС под флюсом и газовой защитой, ЭШС.

Обрабатываемость резанием - в нормализованном, отпущенном состоянии sВ=520 МПа.

Склонность к отпускной хрупкости - не склонна.

Коррозия- это разрушение металлических материалов, происходящее под химическим воздействием окружающей среды. Уже известно множество способов защиты металлов от коррозии. В частности производят замену материалов, подвергаемых коррозии, на коррозионно-стойкие. Также применяются различные лакокрасочные покрытия, еще покрывают открытые части тонким слоем хрома или никеля.

В проектируемом аппарате среды в трубном и межтрубном пространствах не обладают коррозионной активностью по отношениям к низколегированным сталям. Поэтому для изготовления всех частей аппарата, в том числе и соприкасающихся с теплоносителями, можно применять стали марок 09Г2С и 10Г2.

Также в п.1.5 (проверочные расчеты) следует предусмотреть прибавки для компенсации коррозии. Так как в корпусе проходит осушенный природный газ , то прибавку принимаем 2мм (0,1 мм в год). В трубном пространстве находится влажный природный газ, коррозионная активность которого немного выше. Прибавку на коррозию принимаем 4 мм (по 0,2 мм в год).

Для защиты от атмосферной коррозии все наружные поверхности проектируемого аппарата покрываются эмалью ПФ-115, цвет- серая по ГОСТ 6465-76.

.4 Технические требования на изготовление

.4.1 Аппарат изготовить в соответствие с ОСТ 26-291-94 и «Правилами устройства и безопасной эксплуатации сосудов, работающих под давлением».

.4.2 Сварные швы контролировать УЗД или рентгенопросвечиванием в объеме 100%. Швы недоступные контролю УЗД или рентгенопросвечиванию контролировать в соответствии с инструкцией РД26-11-01-85.

.4.3 Качество закрепления труб в трубных решетках проверить:

пневматическим испытанием межтрубного пространства давлением 0,07 МПа (0,7кгс/см2) после приварки (до развальцовки) труб;

б) испытанием трубного пространства гидравлическим давлением

МПа (200кгс/см2);

в) испытание межтрубного пространства гидравлическим давлением 11,25 МПа (112,5кгс/см2) с люминесцентным индикаторным покрытием решетки после развальцовки.

.4.4 Межтрубное пространство испытать гидравлическим давлением 11,25 МПа (112,5кгс/см2).

.4.5 Трубное пространство теплообменников в сборе испытать гидравлическим давлением 20 МПа (200кгс/см2). При гидроиспытании использовать водный раствор ингибитора коррозии М- 1 концентрацией 1-5%.

.4.6 Аппарат теплоизолировать. Толщина слоя теплоизоляции 120 мм.

.4.7 При проведении гидроиспытаний аппарата после его монтажа рекомендуется использовать штуцера А, Г для залива воды, штуцера Б, В, Ж для ее слива и штуцер Е для спуска воздуха.

.4.8 Подача среды в трубное пространство без наличия подачи среды в межтрубное пространство не допускается.

.4.9 Сосуды (сборочные единицы, детали) из углеродистых и низкоуглеродистых сталей, изготовленные с применением сварки, штамповки или вальцовки, подлежат обязательной термической обработке, если толщина стенки цилиндрического или конического элемента, днища, фланца или патрубка сосуда в месте их сварного соединения более 36 мм для углеродистых сталей и более 30мм для низколегированных марганцовистых и марганцевокремнистых сталей (марок 16ГС, 09Г2С, 10Г2 и др.).

1.5 Проверочные расчеты элементов аппарата

.5.1 Цилиндрическая обечайка камеры

Рисунок 1.2 Эскиз цилиндрической обечайки

Исходные данные:вн=1000мм

РR=16МПа=1000C

материал - 09Г2С

Определяем толщину стенки обечайки, нагруженной избыточным внутренним давлением [ 3] с.103.

S R= РR·Dвн/(2·[ s]·φR- РR) (1.1)

где РR- расчетное давление, РR=16МПа

[ s]- допускаемое напряжение при расчетной температуре tR=1000C,

[ s]=160 МПа [ 3] с.11

φ R-коэффициент прочности сварного шва, φR=1,0 [ 3] с.15.

R=16·1000/(2·160·1-16)=52,63 мм

Исполнительная толщина обечайки

≥ S R+с (1.2)

где с - общее значение прибавок

с=с1+с2+с3                                                                   (1.3)

с1 - прибавка для компенсации коррозии и эрозии, с1=2 мм;

с2 - прибавка, учитывающая минусовое предельное отклонение на толщину листа, с2=1,3 мм [ 4] с.6;

с3 - технологическая прибавка, с3=0

с=2+1,3+0=3,3 мм=52,63+3,3=55,93 мм

Принимаем S=60 мм.

Условие применяемости расчетных формул:

(S-с)/ Dвн ≤ 0,1

(60-3,3)/1000=0,0567 ≤ 0,1

Условие выполняется.

Допускаемое внутреннее избыточное давление:

[ Р]=2·[ s]·φR· (S-с)/(D+(S-с)) (1.4)

[ Р]=2·160·1· (60-3,3)/(1000+(60-3,3))=17,2 МПа

Условие [ Р] ≥ РR-выполняется (17,2 ≥ 16).

1.5.2 Эллиптическое днище камеры

Рисунок 1.3 Эскиз эллиптического днища камеры

Исходные данные:вн=1000мм

РR=16МПа=1000C

материал - 09Г2С

Определяем толщину стенки днища, нагруженной избыточным внутренним давлением [ 3] с.103.

S R= РR·Dвн/(2·[ s]·φ R-0,5· РR)                                  (1.5)

где РR- расчетное давление, РR=16МПа

[ s]- допускаемое напряжение при расчетной температуре tR=1000C, [ s]=160 МПа [ 3] с.11

φ R-коэффициент прочности сварного шва, φ R=1,0 [ 3] с.15.

R=16·1000/(2·160·1-0,5·16)=51,28 мм

Исполнительная толщина днища

≥ S R+с

где с- общее значение прибавок

с=с1+с2+с3

с1 - прибавка для компенсации коррозии и эрозии, с1=2 мм;

с2 - прибавка, учитывающая минусовое предельное отклонение на толщину листа, с2=1,3 мм [ 4] с.6;

с3- технологическая прибавка, с3=5 мм

с=2+1,3+5=8,3 мм=52,63+3,3=59,58 мм

Принимаем S=60 мм.

Условие применяемости расчетных формул:

,002 ≤ (S-с)/ Dвн ≤ 0,1                                                   (1.6)

,2 ≤ hВ/ Dвн ≤ 0,5                                                 (1.7)

где hВ- высота выпуклой части днища , hВ=250 мм

,002 ≤ (60-8,3)/1000 ≤ 0,1

,002 ≤ 0,0517 ≤ 0,1 условие выполняется

,2 ≤ 0,25 ≤ 0,5

Условие выполняется.

Допускаемое внутреннее избыточное давление:

[ Р]=2·[ s]·φ R· (S-с)/(D+0,5· (S-с)) (1.8)

[ Р]=2·160·1· (60-8,3)/(1000+0,5· (60-8,3))=16,13 МПа

Условие [ Р] ≥ РR - выполняется (16,13 ≥16).

.5.3 Расчет укрепления отверстия в обечайке камеры (штуцер для входа влажного газа

Исходные данные:

Внутренний диаметр штуцера d=284 мм

Длина внешней части штуцера l1=266 мм

Длина внутренней части штуцера l3=0

 

Рисунок 1.4 Эскиз укрепления отверстия

Наибольший диаметр отверстия, не требующий дополнительного укрепления [ 5] с.6

где DR= Dвн=1000 мм- внутренний расчетный диаметр обечайки;

Расчетный диаметр одиночного укрепляемого отверстия [ 5] с.3:

=d+2.c1=284+2.2=288 мм

≥ d0R, 288 ≥ 132,1- следовательно, требуются дальнейшие расчеты укрепления отверстия.

Расчетная длина внешней части штуцера [ 5] с.5:

где s1=65 мм- исполнительная толщина стенки штуцера.

Расчетная длина внутренней части штуцера [ 5] с.5

Отношение допускаемых напряжений для внешней части штуцера:

χ1=min{1,0;[s]1/[s]·} (1.13)

где [s]1=160 МПа - допускаемое напряжение материала штуцера, [ 3] с.11

χ1=min{1.0;160/160}=1

Расчетная толщина стенки штуцера :

S 1R= РR · (d+2·c3)/(2·[ s]1·φ R- РR)  (1.14)

S 1R= 16· (284+2·2)/(2·160-16)=15,2 мм

Условие укрепления:

L1R.(S1-S1R-cS).c1+l3R.(S3-2.cS).c3³0,5.(dR-d0R).SR (1.15)

266· (65-15·2-2) ·1+0≥0,5· (288-132,5) ·52,63

,8≥4102,5

Условие укрепления выполняется.

Условия применения расчетных формул:

/Dвн ≤ 1,0

/1000=0,288 ≤ 1,0

Условие выполняется.

/ Dвн ≤ 0,1

/1000=0,06 ≤ 0,1

Условие выполняется.

2 Технологическая часть

.1 Определение типа производства и его характеристика

В зависимости от уровня конструкции и степени специализации различают три типа производства: массовое, серийное и единичное.

Производство химической и нефтяной аппаратуры- единичное или мелкосерийное. Совершенствованию технологии аппаратостроения способствует использование методов серийного и массового производства. Несмотря на разнообразие аппаратуры, она имеет много нормализованных и стандартных деталей, например: тарелки; фланцы арматуры, соединительных частей и трубопроводов; штуцер, днища сосудов, аппаратов и котлов; решетки.

Исходя из того, что годовая программа изделия составляет 15 штук, а вес аппарата 41,983 т принимаем серийный тип производства [ 11] с.97. 17.

Серийный тип производства характеризуется следующим:

номенклатура выпускаемых аппаратов ограничена;

объем выпуска большой, обрабатывается партиями;

оборудование стационарное (станки для механической обработки, прессы, роликовые стенды, гибочное оборудование, правильные машины для механической резки) и передвижные (полуавтоматы и автоматы для сварки и резки, пневматический инструмент, нагревательные приборы, рентгеновские установки), расположенные по ходу технологического процесса;

режущий инструмент стандартный, меритель специальный;

квалификация рабочих, обычно на заготовительных операциях ниже, чем на финальной сборки и сварке.

2.2 Расчет количества материала. Определение припусков на обработку, разработка карт раскроя с определением коэффициента использования материала

.2.1 Цилиндрическая обечайка

Длина развертки обечайки:

=p.(Dвн+ S) (2.1)

где Dвн- внутренний диаметр обечайки, Dвн=1000 мм;толщина обечайки, S=60 мм

=p.(1000+60)=3328 мм

Рисунок 2.1 Эскиз обечайки камеры

Т.к. материал толстостенный, то его раскрой будет выполнятся на стационарных машинах для термической резки с одновременной X и V- образной разделкой кромок. Ширина реза при механизированном способе резки b=8 мм [ 4] с.13.

Исходя из размеров раскраиваемой заготовки по ГОСТ 19903-74, выбираем стандартный лист размерами: 60*1700*3500 [ 4] с.13.








Рисунок 2.2 Раскрой обечайки камеры

Коэффициент использования материала:

Ким=Fз/Fл.n (2.2)

где Fз- площадь заготовки обечайки, Fз=3328.800=2662400 мм2л- площадь стандартного листа, Fл=3500.1700=5950000 мм2число заготовок на листе, n=2.

Ким=2662400/595000. 2=0,89

2.2.2 Эллиптическое днище камеры

Рисунок 2.3 Эскиз днища камеры

Диаметр развертки эллиптического днища:

где h1-высота отбортованной части днища, h1=80 мм;коэффициент, зависящий от отношения Dвн/ hв, при Dвн/ hв=4 m=0,345 [ 6] с.89;


eвн- коэффициент, зависящий от отношения Dвн/ S, при Dвн/ S=16.7 eвн=1.017 [ 6] с.89.

Диаметр заготовки днища:

з= Dр+2·zн (2.4)

где 2·zн- припуск на механическую обработку, 2zн=0,02...0,05 Dр

з=1384+0,03.1384=1426 мм

Рисунок 2.4 Эскиз раскроя днища камеры

Исходя из габаритных размеров заготовки днища, выбираем стандартный лист размером: 60*1500*3000 [ 6] с.89.


Ким=p··14262/2/(3000·1500)=0,71

Кимср=(0,89+0,71)/2=0,8

.3 Разработка технологического процесса изготовления деталей с определением оптимальных режимов обработки, сварки, сборки, определением норм затрат времени. Выбор количества оборудования, инструментов и приспособлений

.3.1 Технологический процесс изготовления обечайки камеры

.3.1.1 Раскрой заготовки обечайки с одновременной подготовкой кромок под сварку

Раскрой заготовки выполняем на портальной машине для кислородной резки Юг- 2,5К1,6. Она предназначена для вырезки фигурных деталей и прямолинейной резки.

Таблица 2.1 Техническая характеристика Юг- 2,5К1,6

Наибольшая ширина разрезаемого материала, мм

2500

Толщина разрезаемого материала, мм

5-100

Число резаковых суппортов

2

Скорость перемещения резака в автоматическом режиме, мм/мин

100-1600

Расход газа на один резак, м3/ч: Кислорода Ацетилена

 1-1,2 0,2-0,6

Система управления

Фотокопировальная

Габаритные размеры ходовой части, мм Длина Ширина Высота

 4060 2400 1570


- раскройный стол, 2 - портал, 3 -тележка поперечная, 4 - задающая часть.Рисунок 2.5 Схема портальной машины

Норма штучно-калькуляционного времени [ 7] с.48

Тшк=Тн.ш. Lреза+Твсп (2.4)

где Тн.ш- норма неполного штучного времени на механизированную резку 1 м.п., Тн.ш=0,085 чел/час;реза- длина реза, Lреза=2.(808+3336)=8288 мм=8,288 м

Твсп- норма вспомогательного времени на установку листа, Твсп=0,15чел/час.

Тшк=0,085. 8,288+0,15=0,854 чел/час

Резку выполняет один резчик третьего разряда. Расценка работы равна:

Рсд=Сч·Тшк (2.5)

где Сч- часовая тарифная ставка рабочего данного разряда, грн.

Исходя из часовой тарифной ставки рабочего 3- го разряда, расценок равен:

Рсд=1,80.0,854=1,537 грн

.3.1.2 Вальцовка обечайки

Вальцевать обечайку f 1000 мм и Н=800 мм с проверкой ее диаметра по шаблону.

Исходя из габаритов вальцуемой обечайки выбираем 4-х валковую листогибочную машину фирмы “Хойслер” (Германия) [ 6] с.48.

Таблица 2.2 Техническая характеристика Машины «Хойслер»

Ширина листа, мм

3000

Толщина листа, мм

100

Диаметр валков, мм верхнего боковых

 725 580

Скорсть гибки, м/мин

5

Установленная мощность, кВт

163


Норма штучно-калькуляционного времени [ 8] с.117

Тшк=0,44 чел/час

Расценка сдельная по формуле (2.5). вальцовку выполняют два рабочих 2 и 4 разрядов.

Рсд=(1,46+2,00)/2.0,44=0,761 грн

2.3.1.3 Сборка продольного стыка

Подать обечайку на рабочее место. Проверить периметр. С помощью струбцин совместить кромки. Зафиксировать зазор, припасовать входные и сборочные планки, прихватить. Прихватку осуществить ручной электродуговой сваркой электродом УОНИИ 13/55-5,0. Iсв=250 А.

Рисунок 2.7 Схема сборки продольного стыка

Норма штучно-калькуляционного времени [ 8] с.31

Тшк=0,48 чел/час

Расценка сдельная по формуле (2.5). Сборку и прихватку выполняют два рабочих 3 и 4 разрядов.

Рсд=(1,80+2,00)/2.0,48=0,912 грн

.3.1.4 Сварка продольного стыка обечайки

Исходя из размеров обечайки и материала выбираем двустороннюю автоматическую сварку на флюсовой подушке.

По ОСТ 26-291-94 выбираем марку сварочной проволоки и флюса:

проволока - 10НМА ГОСТ 2246-70 [ 1] с.186

флюс- АН-348А или АН-47 по ГОСТ 9087-81.

Площадь поперечного сечения шва:

=2·0.75·e·g+b·s+4·1/2·(s-c)2/4·tga (2.6)

где e- величина усиления шва, e=2,5 мм;ширина провара, g=43 мм;величина зазора, b=2 мм;

с- прямолинейный участок кромки, с=2 мм;

a - угол разделки кромок, a=300.

=2.0.75.2,5.4,3+2.60+1/2.(60-2)2. tg300=1252,35 мм2

Сварочный ток [ 9]:

св=100.h/k

где h- глубина провара, h=10 мм;

к- коэффициент пропорциональности, к=1,25 мм/100А.

св=100.10/1,25=800 А.

Диаметр сварочной проволоки:

где i- плотность тока, i=50 А/мм2.


Принимаем d=5 мм - 5 св.- 10НМА.

Площадь поперечного сечения прохода:

н=(6-10). d (2.9)н=10.5=50 мм2

Количество проходов:

=F/Fн=1252,35/50=25

Скорость сварки:

св=aн. Iсв/( Fн.g.100) (2.10)

где aн- коэффициент наплавки, aн=15г/(А.ч);

g- плотность материала, g=7,8 г/см3.

св=15.800/(0,5.7,8.100)=30,8 м/ч.

Оборудование: универсальный сварочный трактор для автоматической сварки под слоем флюса ТС-17Р.

Таблица 2.3 Техническая характеристика ТС-17Р

Сила тока, А

300-2000

Диаметр электродной сварки, мм

1,6-5

Скорость подачи проволоки, м/мин

0,95-7,3

Скорость сварки,м/ч

16-126


Норма штучно-калькуляционного времени [ 10] с.7

Тшк=Тн.ш. Lшва+Тпз (2.11)

где Тн.ш- норма неполного штучного времени, которое включает в себя горение дуги, вспомогательное время, время на отдых и личные надобности, Тн.ш=0,40.2=0,80 чел/час

Тп3- подготовительно-заключительное время, Тп3=0,5 чел/час

Тшк=0,8.0,8+0,5=1,14 чел/час

Сварку производят бригада в составе 2-х человек 5 и 2 разрядов.

Расценка сдельная:

Рсд=1,14.(1,46+2,26)/2=2,12 грн.

.3.1.5 Калибрование обечайки

Калибровать обечайку после сварки для уменьшения погрешности формы поперечного сечения. Калибрование производится аналогично операции п.2.3.1.2 на 4-х валковой листогибочной машине.

Норма штучно-калькуляционного времени [ 8] с.17

Тшк=0,33 чел/час.

Калибровку производят два рабочих 4 и 2 разрядов.

Расценка сдельная:

Рсд=0,33.(1,46+2,00)/2=0,571 грн.

2.3.1.6 Вырезка отверстий

Обвести линии мелом. Вырезать два отверстия f 417 и f88 по разметке, снять фаски. Вырезка- газокислородная на специальной установке.

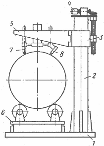
- станина, 2- колонна, 3- направляющая втулка, 4- привод, 5- устройство газопламенной вырезки отверстий, 6- роликовая опора, 7- датчик слежения, 8- резак.

Рисунок 2.10 Установка для вырезки отверстий

Норма штучно-калькуляционного времени [ 8] с.57

Тшк=(0,235+0,4).2=1,27 чел/час.

Вырезку производит рабочий 3 разряда.

Расценка сдельная:

Рсд=1,80.1,27=2,286 грн.

Технологический процесс изготовления обечайки сводим в таблицу 2.4.

Таблица 2.4 Техпроцесс изготовления обечайки камеры

Маршрут изготовления

По проекту

По заводу


разряд

Тшк, чел/час

Рсд, грн

разряд

Тшк, чел/час

Рсд, грн

Раскрой заготовки

3

0,854

1,537

3

0,899

1,618

Вальцовка

2;4

0,440

0,761

2;4

0,463

0,801

Сборка продольного стыка

3;4

0,480

0,912

3;4

0,505

0,960

Сварка продольного стыка

2;5

1,140

2,12

2;5

1,200

2,232

Калибрование

2;4

0,33

0,571

2;4

0,347

0,600

Вырезка отверстия

3

1,27

2,286

3

1,337

2,407

Итого


4,514

8,187


4,751

8,618


Коэффициент ужесточения норм:

где SТшкпр и SТшкзав - суммарная трудоемкость изготовления обечайки камеры по проекту и заводу соответственно.

Ку=4,514/4,751=0,95

.3.2 Технологический процесс изготовления эллиптического днища камеры

Техпроцесс сводим в таблицу 2.5.

Таблица 2.5 Техпроцесс изготовления днища камеры

Маршрут изготовления

По проекту

По заводу


разряд

Тшк, чел/час

Рсд, грн

разряд

Тшк, чел/час

Рсд, грн

Вырезка заготовки

3

0,272

0,490

3

0,268

0,482

Выбивка днища

5

6,63

14,984

5

6,979

15,773

Фланжировка

3;5

7,5

15,225

3;5

7,895

16,027

Обрезка борта днища

3

0,75

1,35

3

0,789

1,420

Итого


15,152

32,049


15,949

33,702

2.4 Разработка конструкции приспособления

Проектируемое приспособление предназначено для сборки кольцевого стыка кожуха трубчатки. Две обечайки кожуха укладывают на роликовые опоры. На расстоянии 100 мм от края обечаек приваривают уши (поз.4), равномерно расположенные по диаметру. При помощи оси (поз.6) уши соединены с гайками правой (поз.1) и левой (поз.2). гайки между собой соединены винтом (поз.5), который имеет с одного конца правую резьбу, а с другой- левую. Посередине винта имеется отверстие, куда вставляется ключ. Поворотом ключа совмещают кромки правой и левой обечаек, выравнивая их и выдерживая зазор между ними (3 мм).

После совмещения кромок и выдерживания сварочного зазора осуществляется прихватка. Далее узел передается на установку автоматической сварки кольцевых стыков.

3. Организационная часть

.1 Расчет трудоемкости годовой программы

.1.1 Расчет сдельной расценки изделий

Сдельная расценка изделия определяется по формуле:

Рсд=Сч.Тшт.к (3.1)

где Сч- часовая тарифная ставка, данного разряда работ, грн;

Тшт.к -норма штучного калькуляционного времени, н.час.

Для операции разметки:

Рсд=766,816.(1,46+1,80)/2=1249,910 грн

Для операции резки термической:

Рсд=1,80.1070,976=1927,757 грн

Расчеты для остальных операций аналогичны.

Результаты расчетов сводятся в таблицу 3.1.

.1.2 Определение трудоемкости годовой программы

Расчет трудоемкости годовой программы производим по формуле:

Тп=Тшт.к.Nг (3.2)

где Nг - годовая программа, шт.

Для операции разметки:

Тп=766,816.15=11502 н/ч

Суммарная трудоемкость ТпS=233805,78 н/ч.

Результаты расчета сводятся в таблицу 3.1.

Таблица 3.1 Расчет трудоёмкости годовой программы

 Наименование операции

По заводу

По проекту


Разряд работы

Часовая тарифная ставка, грн

Тшк,  н-час

Расценка Рсд ,  грн

Разряд работы

Часовая тарифная ставка, грн

Тшк,  н-час

Расценка Рсд ,  грн

Годовая программа выпуска, шт.

Трудоёмкость годовой программы Тп ,  н-час

Разметка

2,3

1,46; 1,80

807,175

1315,695

2,3

1,46; 1,80

766,816

1249,910

 15         

11502,24

Резка термическая

3

1,80

1127,343

2029,217

3

1,80

1070,976

1927,757


16064,64

Резка на гильотинах

2,3

1,46; 1,80

735,173

1198,332

2,3

1,45; 1,80

698,414

1138,415


10476,21

Вальцовка

2,3

1,46; 1,80

1014,104

1652,99

2,3

1,46; 1,80

963,399

1570,340


14450,985

Фланжировка

3,4

1,80; 2,00

1491,584

2834,01

3,4

1,80; 2,00

1417,005

2692,310


21255,075

Обрезка борта на манипуляторе

3

1,80

917,589

1651,660

3

1,80

871,710

1569,078


13075,65

Сборка крупных узлов

4

2,00

3747,616

7495,232

4

2,00

3560,235

7120,47


53403,525

Сварка крупных узлов

4

2,00

3015,170

6030,34

4

2,00

2864,412

5728,824


42966,18

Финальная сборка и сварка

4

2415,069

4830,138

4

2,00

2294,316

4588,632


34414,74

Испытание

2

1,46

730,712

1066,840

2

1,46

694,176

1013,497


10412,64

Покраска

2

1,46

405,887

592,595

2

1,46

385,593

562,966


5783,895

 Итого



16407,422

30697,049



15587,052

29162,199


233805,78

 3.2 Определение потребности в оборудовании

.2.1 Определение фондов времени работы оборудования

Действительный фонд времени работы оборудования определяется по формуле:

д=(T.b+t.b`).S.(1-a/100), (3.3)

где: Т и t- количество рабочих дней соответственно с полной и сокращенной сменной (Т=250 и t=6);и b`- продолжительность полной и сокращенной смен соответственно (b=8ч., b`=7ч.);количество смен, (S=2)

а - коэффициент, учитывающий потери рабочего времени, связанные с планово-предупредительным ремонтом, %.

Расчет действительного фонда времени работы оборудования ведется по следующим группам оборудования:

металлорежущее оборудование -а=7%

д=(250.8+6.7).2.(1-7/100)=3798,1 ч

Сварочное оборудование -а=17%

д=(250.8+6.7).2.(1-17/100)=3389,7 ч

заготовительное оборудование -а=5%

д=(250.8+6.7).2.(1-5/100)=3879,8 ч

Механизированные стенды -а=3%д=(250.8+6.7).2.(1-3/100)=3961,5 ч

Сборочные и разметочные столы -а=2%

д=(250.8+6.7).2.(1-2/100)=4002,3 ч

Результаты расчета сводятся в таблицу 3.2.

.2.2 Расчет потребности в оборудовании

Расчетное количество рабочих машин и оборудования для обработки изделий, включенных в производственную программу, определяется исходя из трудоемкости годовой программы по каждой операции и фонда времени действительной работы оборудования по формуле:

Ср=Тп/( Fд.Н0.Квн), шт (3.4)

где Н0- норма обслуживания единицы оборудования, чел.;

Квн- коэффициент выполнения норм, 141,25

разметка:

Ср=11502,24/(4002,3.2.1)=1,44, Сп=2 Ки= Ср/Сп=1,44/2=0,72

резка термическая:

Ср=16064,64/(3389,7.1.1)=4,74, Сп=5 Ки= Ср/Сп=4,74/5=0,95

резка на гильотинах:

Ср=10476,21/(3879,8.2.1)=1,35, Сп=2 Ки= Ср/Сп=1,35/2=0,68-недогр.

вальцовка:

Ср=14450,985/(3879,8.2.1)=1,86 Сп=2 Ки= Ср/Сп=1,86/2=0,93

фланжировка:

Ср=21255,075/(3879,8.2.1)=2,74, Сп=3 Ки= Ср/Сп=2,74/3=0,91

обрезка борта на манипуляторе:

Ср=13075,65/(3389,7.1.1)=3,86 Сп=4 Ки= Ср/Сп=3,86/4=0,96

сборка крупных узлов:

Ср=53403,525/(3961,5.3.1)=4,49, Сп=5 Ки= Ср/Сп=4,49/5=0,90

сварка крупных узлов:

Ср=42966,18/(3389,7.2.1)=4,23, Сп=5 Ки= Ср/Сп=4,23/5=0,85

финальная сборка и сварка:

Ср=34414,74/(3961,5.3.1)=2,90, Сп=3 Ки= Ср/Сп=2,90/3=0,97

испытание:

Ср=10412,64/(3961,5.2.1)=1,31, Сп=2 Ки= Ср/Сп=1,31/2=0,67-недогр

покраска:

Ср=5783,895/(3961,5.2.1)=0,73 Сп=1 Ки= Ср/Сп=0,73/1=0,73

При нехватке нормо-часов для загрузки оборудования догружаем его работой с других участков. Тдогр=2000 н/ч:

резка на гильотинах:

Ср=(10476,21+2000)/(3879,8.2.1)=1,61, Сп=2 Ки= Ср/Сп=1,61/2=0,80

испытание:

Ср=(10412,64+2000)/(3961,5.2.1)=1,57, Сп=2 Ки= Ср/Сп=1,57/2=0,78

Результаты расчетов сведены в таблицу 3.2.

Определяем средний коэффициент работы оборудования:

Киср=S Ср/S Сп (3.5)

Киср=(1,44+4,74+1,61+1,86+2,74+3,86+4,49+4,23+2,9+1,57+0,73)/34=

=0,9

Таблица 3.2 Расчет потребности в оборудовании

 Наименование операции

  a,%

Трудоемкость годовой программы,н/ч

   Fд, час

Норма обслу-живания  Н, ч

Количество оборудования

  Ки



По основному. изделию

Доза-груз-ка

 Всего



 Ср

 Сп.


1

2

3

4

5

6

7

8

9

10

Разметка

2

11502,24

-

11502,24

 4002,3

2

1,44

2

0,72

Резка термическая

17

16064,64

-

16064,64

3389,7

1

4,74

5

0,95

Резка гильотинная

5

10476,21

2000

12476,21

3879,8

2

1,61

2

0,80

Вальцовка

5

14450,98

-

14450,98

3879,8

2

1,89

2

0,95

Фланжировка

5

21255,075

-

21255,075

3879,8

2

2,74

3

0,91

Обрезка борта на манипуляторе

17

13075,65

-

13075,65

3389,7

1

3,86

4

0,96

Сборка крупных узлов

3

53403,525

-

53403,525

3961,5

3

4,49

5

0,90

Сварка крупных узлов

17

42966,18

-

42966,18

3389,7

3

4,23

5

0,85

Финальная сборка и сварка

3

34414,74

-

34414,74

3961,5

3

2,90

3

0,97

Испытание

3

10412,64

2000

12412,64

3961,5

2

1,57

2

0,78

Покраска

3

5783,895

-

5783,895

3961,5

2

0,73

1

0,73

 Итого


233805,78

4000

237805,78



30,17

34



.3 Определение численности промышленно-производственного персонала

Определение численности промышленно-производственного персонала ведется по каждой категории.

.3.1 Расчет численности основных производственных рабочих

Расчет численности основных производственных рабочих ведется по формуле:

 (3.6)

где Тоб- общая трудоемкость, н.ч;д- действительный фонд времени основных рабочих, ч;

Квн- коэффициент выполнения норм, Квн=141,1, принимаем Квн=1

 (3.7)

где П- регламентированные потери времени, связанные с нахождением рабочего в отпуске, на больничном или выполнением государственных обязанностей (%), П=10412 %, принимаем П=11%

др = (250 ·8+6 ·7) ·(1-11/100)=1817,4 ч.

Численность рабочих по операциям:

Разметка

Росн =11502,24/1817,4 ·1=6,33 Рпр=7 (чел)

Резка термическая

Росн =16064,64/1817,4 ·1=8,84 Рпр=9 (чел)

Резка гильотинная

Росн =12746,21/1817,4 ·1=6,86 Рпр=7 (чел)

Вальцовка

Росн =14450,985/1817,4 ·1=7,95 Рпр=8 (чел)

Фланжировка

Росн =21255,075/1817,4 ·1=11,69 Рпр=12 (чел)

Обрезка борта на манипуляторе

Росн =13075,65/1817,4 ·1=7,20 Рпр=7 (чел)

Сборка крупных узлов

Росн =53403,525/1817,4 ·1=29,38 Рпр=30 (чел)

Сварка крупных узлов

Росн =42966,18/1817,4 ·1=23,62 Рпр=24 (чел)

Финальная сборка и сварка

Росн =34414,74/1817,4 ·1=18,94 Рпр=19 (чел)

Испытание

Росн =12412,64/1817,4 ·1=6,83 Рпр=7 (чел)

Покраска

Росн =5783,895/1817,4 ·1=3,18 Рпр=3 (чел)

Результаты расчетов сводятся в таблицу 3.3

Таблица 3.3 Численность основных производственных рабочих

Наименование профессии

Тоб,ч

Численность рабочих



Рр

Рпр

В том числе по разрядам





2

3

4

5

6

Разметчик

11502,24

6,33

7

4

3

-

-

-

Терморезчик

16064,64

8,84

9

-

9

-

-

-

Резчик на ножницах

12476,21

6,86

7

4

3

-

-

-

Вальцовщик

14450,985

7,95

8

4

4

-

-

-

Фланжировщик

21255,075

11,69

12

-

6

6

-

-

Резчик на манипуляторе

13075,65

7,20

7

-

7

-

-

-

Сборщик

53403,525

29,38

30

-

10

20

-

-

Сварщик

42966,18

23,62

24

-

4

20

-

-

Котельщик

34414,74

18,94

19

-

-

-

-

Испытатель

12412,64

6,83

7

7

-

-

-

-

Маляр

5783,895

3,18

3

3

-

-

-

-

 Итого

237805,78

130,82

133

22

46

65

-

-


.3.2 Расчет численности вспомогательных рабочих

Численность вспомогательных рабочих определяется укрупненным методом из расчета 20-40% к числу основных рабочих:

Численность вспомогательных рабочих определяется по формуле:

Рвсп=Росн·квсп/100 (3.8)

 Рпр=27 (чел)

Численность вспомогательных рабочих по профессиям сведена в таблицу 3.4

Таблица 3.4 Численность вспомогательных рабочих

Наименование профессии

Количество человек

В том числе по разрядам



2

3

4

5

6

Машинист

2

-

-

2

-

-

Водитель электрокары

2

-

1

1

-

-

Стропольщик

4

-

2

2

-

-

Слесарь ремонтник

4

1

1

2

-

-

Наладчик

3

1

1

1

-

-

Электромонтер по ремонту

3

-

1

2

-

-

Распределитель работ

2

-

-

2

-

-

Кладовщик

2

-

2

-

-

-

Контроль ОТК

3

-

1

2

-

-

Раздатчик инструментов

2

-

2

-

-

-

Итого

27

2

11

14

-

-


3.3.3 Расчет численности специалистов

Численность специалистов определяется укрупненным методом из расчета 5-7% к числу основных и вспомогательных рабочих:

 (3.9)

 Чпр=10 (чел)

.3.4 Расчет численности служащих

Численности служащих определяется укрупненным методом из расчета 2-3% к числу основных и вспомогательных рабочих:

 (3.10)

 Чпр=5 (чел)

.3.5 Расчет численности руководителей

Численность руководителей определяется исходя из количества подразделений, типа и нормы управляемости (на 1 мастера должно приходиться не более 25 человек производственных рабочих, на 1 старшего мастера- 2-3 мастера, начальник участка). Результаты сводим в таблицу 3.5

Таблица 3.5 Ведомость численности персонала участка

Производственные рабочие

Всего, чел.

Основные производственные рабочие Разметчик Терморезчик Резчик на ножницах Вальцовщик Фланжировщик Резчик на манипуляторе Слесарь-сборщик Электросварщик Котельщик Испытатель Маляр

 7 9 7 8 12 7 30 24 19 7 3

Всего

133

Вспомогательные рабочие, в том числе по профессиям Машинист Водитель Стропольщик Слесарь-ремонтник Наладчик Электромонтер Контроллер ОТК Распределитель работ Кладовщик Раздатчик инструментов

 2 2 4 4 3 4 4 2 2 2

Всего

27

Специалисты, в том числе по профессиям: Инженер-механик

 2

Инженер-технолог Инженер-номировщик Инженер по планированию Энергетик цеха Сменный диспетчер

3 1 1 1 2

Всего

10

4. Служащии, в том числе по профессиям Нарядчик табельщик

 3 2

Всего

5

5.Руководители, в том числе по должностям мастер старший мастер начальник участка

 5 2 1

Всего

8

ИТОГО

183


3.6 Мероприятие по организации транспорта на участке

Выбор внутрицехового транспорта зависит от характера изготавливаемой продукции, ее массы, формы организации производства, размеров грузооборота и назначения транспорта.

Для передачи изделий по операциям и для установки изделий на оборудовании выбирается мостовой кран, а для перевозки других грузов- электрокары.

Расчет потребности мостовых кранов осуществляется по формуле:

  (3.11)

где i- количество транспортных операций на одно изделие, шт. (30-35);ср- средняя длина пути за одну операцию (45 м);ср- средняя скорость движения крана (50 м/мин);п- среднее время погрузки (3 мин);р- среднее время разгрузки кранов (2 мин);д- действительный фонд работы крана за год, Fд=3899,4 ч

 Кпр=1

Расчет площадей и планировка пролета

Площадь участка определяется по формуле:

=Sпроизв+Sвсп+Sпроч (3.12)

Производственная площадь (для оборудования, рабочих мест, мест складирования, проходов и проездов):произв= Sуд.Роснн (3.13)

где Sуд- удельная площадь, Sуд=18425 м2/чел

Роснн- количество основных рабочих, работающих в одну смену, Роснн=70 чел.

произв= (18425).70=126041750 м2

Принимаем 1500 м2.

Вспомогательная площадь (ремонтная площадка) составляет 15420% от производственной площади:

всп= (0,1540,2). Sпроизв (3.14)всп= (0,1540,2). 1500=2254300 м2

Принимаем Sвсп= 250 м2.

Прочая площадь (комната мастера) составляет 10% от производственной:

всп= 0,1. Sпроизв (3.15)всп= 0,1. 1500=150 м2.=1500+250+150=1900 м2.

Ширина пролета выбирается из стандартного ряда. Принимаем ширину пролета 30 м.

Длина пролета:

=Sобщ/B (3.16)

где В- ширина пролета, В=30 м.=1900/30=63,3.

Принимаем L=78 м.

Расстояние между несущими опорами принимаем 6 м. Посредине пролета находится проход шириной 3 м. Минимальное расстояние между оборудованием - 1м, а если между обрудованием находится рабочий- то1,5 м. Расстояние между выступом колонны и оборудованием- 0,8 м. На сварочном участке устанавливаются вытяжки, как местные, так и общие. Также на участке подвешивается пожарный щит.

На пролете соответственно технологическому процессу устанавливается следующее оборудование:

Разметочная плита РП с размерами 5000330003800 мм(длина3 ширина3высота).

Портальная машина для термической резки модели Юг- 2,85К1,6 с размерами 40603240031570

Ножницы гильотинные с наклонным ножом модели Н483 с размерами 52853430032660

Четырехвалковая листогибочная машина фирмы “Хойслер” с размерами 115,703300033670

Фланжировочная машина ЦНИИТМАШа с размерами 10750319603 10620

Манипулятор для обрезки борта днища 21803196031780

Универсальная сборочная плита УПС 5000330003800

Механизированная установка МУКС для сборки и сварки 105003 340033800

Испытательный стенд 105003340033800

Покрасочный стенд с роликовым стендом Т-30 105003340033800

Организация рабочего места

-верстак, 2-шкаф для инструмента, 3-стол для сборки узлов, 4-стул подъёмно-поворотный, 5-производственная тара, 6-сверлильный станок, 7-стеллаж для деталей, 8-место для складирования, 9-тара для мелких деталей

Рисунок3.2 Организация рабочего места бригады слесарей-сборщиков.

Организация рабочего места состоит из выбора рациональной сисциализации рабочего места, оснащения его оборудованием, создания комфортных условий труда, рациональной планировки, бесперебойного обслуживания рабочего места.

В системе мероприятий по организации рабочего места существенное значение имеет обеспечение целесообразного пространственного размещения функционально-взаимосвязанных средств производства: оборудования, оснастки, и других средств и предметов труда для человека.

Для примера изображаем организацию рабочего места бригады слесарей сборщиков.

Чтобы увеличить производство труда, шкафы, инструментальные тумбочки, стелажи для деталей и тара для мелких деталей располагаются ближе других инструментов и приспособлений. Это значительно экономит рабочее время рабочего. Эффективная работа зависит и от своевременной подачи на рабочее место заготовок, приспособлений, технической документации и правильное их расположение на рабочем месте.

3.7 Мероприятия по охране труда

.7.1 Основные опасные и вредные производственные факторы на участке:

мостовой кран- предназначенный для переноса тяжелых грузов;

электрокары - для транспортировки заготовок внутри и вне участка;

движущиеся части оборудования;

элетрооборудования и электроустройства;

брызги металла при резке и сварке;

выделение газов и паров при резке и сварке;

ультрафиолетовое излучение при сварке;

выделение пыли в рабочую зону;

избыточные тепловые выделения в рабочую зону от работающего оборудования.

.7.2 Основные мероприятия по охране труда на участке с целью нейтрализации опасных и вредных производственных факторов

Движение по территории предприятия должно осуществляться только по пешеходным дорожкам, тротуарам или по обочине, а там где их нет- по левой стороне проезжей части, на встречу движения транспорта.

Автомобильные или железнодорожные пути следует переходить только в установленных местах.

В цехе двигаться только по установленным проходам.

Не стойте и не переходите под поднятым или перемещаемым краном грузом.

Не проходите между работающими станками и машинами, в неустановленных для этого местах.

Находясь близко к месту работ электросварщиков, не смотрите на сварочную дугу.

Не курите и не пользуйтесь открытым огнем ближе 15 м от мест производства окрасочных работ и не применяйте легко воспламеняющиеся жидкости ближе 10 м от переносных ацетиленовых генераторв.

Не прикасайтесь к электропроводам, кабелям, не наступайте на переносные электропровода, так как через плохую электроизоляцию вас может ударить током.

Совместная прокладка электросварочных проводов с ацетиленовым или кислордным шлангами и пересечение их на одном уровне запрещается.

Для защиты окружающих от сварочной дуги, места сварки должны ограждаться щитами более 1,8 м, если этого сделать нельзя необходимо вывешивать табличку “Не смотрите на сварку”.

Обучение и инструктаж руководителей, специалистов и рабочих в соответствии с ДНАОП 0,00-4,12-99.

Все работающие должны быть обеспечены специальной одеждой и индивидуальными средствами защиты в соответствии с утвержденными нормами.

На каждом рабочем месте должна вывешиваться соответствующая инструкция по охране труда.

Освещение рабочее, аварийное и эвакуационное должно быть в соответствии с утвержденными нормами.

.7.3 Мероприятия по охране труда слесаря-сборщика

Подача узлов и деталей весом больше 20 кг должна быть механизирована.

Перед установкой на место тяжелых узлов и деталей предварительно проверить место установки.

При установке узлов и деталей грузоподъемными кранами пользуйтесь специальными крючками и оттяжками.

При установке высоких узлов и деталей освобождайте их от галочных средств, только после того, как они будут надежно закреплены.

Установленные вертикально высокие аппараты или каркасы надежно закрепить обтяжками или другими способами указанными в технологии.

Затягивание гаек производить только ключами, соответствующими размерами гаек или головок болтов.

Запрещается затягивание гаек ударами молотка по гаечному ключу.

При затягивании гаек на изделиях, работающих под давлением пользуйтесь накидными ключами, использование обыкновенных гаечных ключей запрещается.

При сборке цилиндрических аппаратов методом наращивания сверху или снизу запрещается оставлять собранные части на длительное время на застопоренных грузоподъемных механизмах. Под аппараты или их части должны быть подведены надежные опоры.

Для наводки, для правильного совпадения в деталях, при сборке и монтаже пользуйтесь только конусными оправками.

Не находитесь на установленном на домкраты или подвешенном на грузоподъемном оборудовании, а также под ним, если под него не подведены надежные опоры.

4. Экономическая часть

.1 Расчет цеховой себестоимости изделия

Себестоимость изделия включает следующие расходы:

Сп= См+ Зосн + Здоп + Ос.с + Ро.п + Радм + Р сб (4.1)

где См - стоимость основных материалов

Зосн - основная заработная плата производственных рабочих;

Здоп - дополнительная заработная плата;

Ос.с - отчисления в фонд социального страхования;

Ро.п- общепроизводственные расходы;

Радм .- административные расходы;

Р сб - расходы на сбыт.

.1.1 Расчет стоимости основных материалов

Стоимость основных материалов определяется по формуле:

См= Сзаг- Сотх (4.2)

где Сзаг- стоимость заготовки, грн.;

Сотх- стоимость отходов, грн.

Сзаг= Цз. Мз .Ктз (4.3)

где Цз - цена одной тонны материала, грн.;

Мз- масса заготовки, т;

Ктз- коэффициент, учитывающий транспортно-заготовительные расходы (1,0-1,1).

Мз= Мизд/Ким (4.4)

где Мизд - масса изделия, Мизд =41,983 т.

Пользуясь плановой калькуляцией масса заготовки Мз=73,834 т

Коэффициент использования материала по заводу:

Ким=41,983/73,834=0,57

Вследствие рационального раскроя по проекту Ким=0,60. Тогда масса заготовки:

Мз=41,983/0,60=69,972 т.

Стоимость заготовки по заводу:

Сзагзав=73834.1,62.1,1=131572,19 грн.

Стоимость заготовки по проекту:

Сзагпр=69972.1,62.1,1=124690,10 грн

Сотх= Цотх. Мотх (4.5)

где Цотх - цена одной тонны отходов, грн; где Цз =250 грн/т;

Мотх - масса отходов, т.

Мотхзав=73,834-41,983=31,851 т

Мотхпр=69,972-41,983=27,989 т

Сотхзав=250.31,851=7962,75 грн

Сотхпр=250.27,989=6997,25 грн

Стоимость основных материалов на изделие по заводу:

Смзав=131572,19-7962,75=123609,44 грн

Смпр=124690,10-6997,25=117692,85 грн

Стоимость вспомогательных материалов на технологические цели, при укрупненных расчетах принимаются в размере 243% от стоимости основных материалов на единицу изделия:

Свсп=(0,0240,03). См (4.6)

Свспзав=0,025.123609,44=3090,24 грн

Свсппр=0,025.117692,85=2942,32 грн

Результаты расчетов сводим в таблицу 4.1.

Таблица 4.1 Расчет стоимости основных материалов

Вариант

Марка материала

Ким

Мизд , т

Цз , грн/т

Мз, т

Сзаг, грн

Мотх , т

Цотх грн/т

Сотх, грн

См, грн

По заводу

09Г2С

0,57

41,983

1620

73,834

131572,19

31,851

250

7962,75

123609,44

По прое-кту

09Г2С

0,60

41,983

1620

69,972

124690,10

27,989

250

6997,25

117692,85


.1.2 Расчет годового фонда оплаты труда основных рабочих

Определяем тарифный фонд заработной платы основных рабочих:

Фтар= Фосн+ Фдоп (4.7)

где Фосн - фонд основной заработной платы, грн;

Фдоп - фонд дополнительной заработной платы, грн.

Фосн= Фоснизд+ Фосндогр (4.8)

где Фоснизд- фонд основной зарплаты по выпускаемому изделию, грн;

Фосндогр- фонд основной зарплаты по догружаемому изделию, грн.

Фоснизд=Nг.SРсд (4.9)

Фоснизд.зав=30697,049.15=460455,735 грн;

Фоснизд.пр=29162,199.15=437432,985 грн.

Фосндогр=S(Тдогр.Сч1.Ктср) (4.10)

где Тдогр- сумма часов догружаемой работы;

Сч1-часовая тарифная ставка 1-го разряда работы, грн;

Ктср-средний тарифный коэффициент;

Ктср= Кi.Роснi/S Роснi (4.11)

где Кi- тарифный коэффициент i-го разряда;

Роснi- количество основных рабочих i-го разряда;

S Роснi-количество основных рабочих.

Ктср=(22.1,46+46.1,80+65.2,00)/133=1,84

Фосндогр=4000.1,33.1,84=9788,8 грн

Фоснзав=460455,735+0=460455,735 грн

Фоснпр=437432,985+9788,8=447221,785 грн

Фонд дополнительной зарплаты определяется по формуле:

Фдоп= Фосн. Кдоп (4.12)

где Кдоп=0,16-коэффициент, учитывающий доплаты к основной заработной плате

Фдопзав=460455,735.0,16=73672,918 грн

Фдоппр=447221,785.0,16=71555,486 грн

Фтарзав=460455,735+73672,918=534128,653 грн


Определение годового фонда заработной платы производим по формуле:

Фг= Фтар. Кд (4.13)

где Кд -коэффициент, учитывающий доплаты к годовому фонду оплаты труда (1,4541,55).

Фгзав=534128,653.1,5=801192,98 грн

Фгпр=518777,27.1,5=778165,91 грн.

Среднемесячная заработная плата основного рабочего определяется по формуле:

Зср.м=Фг.Кмп/(12.SРпр) (4.14)

где Кмп- коэффициент, учитывающий выплаты из фонда материального поощрения (1,041,1).

Зср.м=778165,91.1,05/(12.133)=511,95 грн

.1.3 Расчет годового фонда оплаты труда вспомогательных рабочих

Фгвсп=Fдр.(S( Рвспi.Счi).(1+. Кдоп) (4.15)

Фгвсп=1817,4.(2.1,46+11.1,80+14.2,00).(1+0,16)=106927,09 грн

Среднемесячная зарплата вспомогательных рабочих:

Зср.мвсп=Фгвсп.Кмп/(12.SРвсп) (4.16)

Зср.мвсп=106927,09 .1,05/(12.27)=346,52грн

.1.4 Расчет основной и дополнительной зарплаты на изделие

Основная зарплата основных рабочих на изделие определяется:

Зосн=S Рсд (4.17)

Зоснзав=30697,049 грн Зоснпр=29162,199 грн

Дополнительная зарплата на изделие определяется по формуле:

Здоп= Зосн.Кдоп (4.18)

Здопзав=30697,049.0,17=5218,50 грн

Здоппр=29162,199.0,17=4957,57 грн

.1.5 Определение отчислений в фонды социального страхования

Ос.с =( Зосн+ Здоп).39,55/100 (4.19)

Ос.сзав=( 30697,049+5218,50).39,55/100=14204,60 грн

Ос.спр=(29162,199+4957,57).39,55/100=13494,37грн

.1.6 Определение общепроизводственных расходов

Общепроизводственные расходы делятся на постоянные и переменные. Эти расходы содержат затраты на организацию и управление производством, на содержание зданий и сооружений общепроизводственного назначения, а также затраты труда на охрану труда, проведения испытаний и исследований.

Роп= Зосн.Коп/100 (4.20)

где Коп=380%-общепроизводственные расходы

Ропзав= 30697,049 .380/100=116648,79 грн

Роппр= 29162,199 .380/100=110816,36 грн

.1.7 Определение административных расходов

Эти расходы содержат затраты на содержание зданий и сооружений административного назначения, заработную плату работников аппарата управления предприятия.

Радм= Зосн.К адм/100 (4.21)

где Кох=244%-общехозяйские расходы

Радмзав=30697,049 .244/100=74900,80 грн

Радмпр=29162,199 .244/100=71155,77 грн

.1.8 Определение себестоимости и цены изделия

.1.8.1 Определение производственной себестоимости

Определяем по формуле:

Спр= См+ Зосн + Здоп + Ос.с + Ро.п + Радм (4.22)

Спрзав=123609,44+30697,049+5218,50+14204,60+116648,79+74900,80 =

=365279,18 грн.

Спрпр= 117692,85+29162,199+4957,57+13494,37+110816,36+71155,77=

=347279,12 грн.

.1.8.2 Определение полной себестоимости

Сп= Спр + Рсб (4.23)

Рсб= Зосн .Ксб/100                                             (4.24)

где Ксб=35%;

Спзав= 365279,18+0,35·30697,049=376023,15 грн

Сппр= 347279,12+0,35 ·29162,199=357485,89 грн

.1.8.3 Определение цены изделия

Цену изделия определяем по формуле:

Ц= Сп+ПР                                                            (4.25)

где ПР- плановая прибыль, исходя из норматива рентабельности.

ПР=0,25. Сп ;

Цзав=376023,15+0,25.376023,15=470028,94 грн

Цпр=357485,89+0,25.357485,89=446857,36 грн

Составляем плановую калькуляцию изделия.

Результаты расчетов сводим в таблицу 4.2

Таблица 4.2 Плановая калькуляция изделия

 Статьи затрат

Сумму, грн


Завод

Проект

Основные материалы

123609,44

117692,85

Основная зарплата

30697,049

 29162,199

Дополнительная зарплата основных рабочих

5218,50

4957,57

Отчисления в фонд социального страхования

14204,60

13494,37

5. Общепроизводственные расходы

116648,79

110816,36

6. Административные расходы

74900,80

71155,77

Итого: производственная себестоимость

365279,18

347279,12

7. Расходы на сбыт

10743,97

10206,77

Итого: полная себестоимость

376023,15

357485,89

10. Полная прибыль

 94005,79

89371,47

11. Цена изделия

470028,94

446857,36


.2 Определение экономического эффекта

Для обоснования экономической эффективности определяем условный годовой эффект:

Э2=С`.N2                                                    (4.26)

где С`- снижение себестоимости, грн.

С`=Сзав-Спр                                                                 (4.27)

С`= 376023,15 - 357485,89 =18537,26 грн

Э2= 18537,26 .15=278058,9 грн

Снижение себестоимости изготовления изделия по проекту, а, следовательно, условно-годовая экономия, получена в результате снижения норм времени на изготовление изделия, рационального раскроя материала и внедрения современного оборудования на участке.

Основные технико-экономические показатели спроектированного участка по изготовлению теплообменника & 1000 ТН сведены в таблицу 4.3.

Таблица 4.3 Технико-экономические показатели по изготовлению

Наименование показателя

Величина

Годовой выпуск изделий в натуральном выражении, шт. по трудоемкости, н.час по себестоимости, грн

 15 233805,78 5362288,35

2. Количество единиц оборудования, шт.

34

3. Средний коэффициент загрузки оборудования

0,89

4. Количество транспортных единиц

1

5. Площадь участка, м2

1900

6. Средняя площадь на единицу оборудования

55,9

7. Численность промышленно-производственного персонала, чел. В том числе: основные производственные рабочие вспомогательные рабочие специалисты служащие руководители

183  133 27 10 5 8

8. Производительность труда на одного производственного рабочего: по трудоемкости, н.час по себестоимости, грн

 1277,63 29302,12

9. Средняя месячная заработная плата, грн.: основного производственного рабочего вспомогательного рабочего

 511,95 346,52

10. Себестоимость изделия, грн.: производственная полная

 347279,12  357485,89

11. Трудоемкость единицы изделия, н.час

15587,052

12. Цена изделия, грн.

 446857,36

теплообменник материал обработка технологический

Литература

ОСТ 26-291-94 Сосуды и аппараты стальные сварные. Общие технические условия. Москва, НПО ОБТ, 1994.

Марочник сталей и сплавов/В.Г. Сорокин, А.В. Волосникова, С.А. Вяткин и др.; Под общ. ред. В.Г. Сорокина- М.: Машиностроение,1989.-640 с.

Лащинский А.А. Конструирование сварных химических аппаратов: Справочник.- Л.: Машиностроение.1981.-382с,ил.

ГОСТ 19903-74 Прокат листовой горячекатаный. Сортамент- Москва: Издательство стандартов, 1987.

ГОСТ 24755-81 Сосуды и аппараты. Нормы и методы расчета на прочность укрепления отверстий- Москва: Издательство стандартов, 1981.

Никифоров А.Д., Беленький В.А., Поплавский Ю.В. Типовые технологические процессы изготовления аппаратов для химических производств. Атлас. - М.: Машиностроение,1979.-280 с ил.

Альбом норм времени на заготовительные работы. Сумы: ОАО СМНПО им. Фрунзе, 1998.

Альбом норм времени на котельно-сборочные работы. Сумы: ОАО СМНПО им. Фрунзе, 1998.

Дунаев С.И. Технология электрической сварки плавлением. - Л.: Машиностроение.1987.

Альбом норм времени на сварочные работы. Сумы: ОАО СМНПО им. Фрунзе, 1987.

Воронин П.Л. и др. Дипломное проектирование по специальности «Химическое, компрессорное и холодильное машиностроение»: Учеб. пособие для машиностроительных техникумов/П.Л. Воронин, Н.В. Скачодуб, В.И. Чалый- М.: Машиностроение,1986.-176 с. ил.

1.      


Не нашли материал для своей работы?
Поможем написать уникальную работу
Без плагиата!
Без нейросетей!