Проектирование цилиндрического двухступенчатого соосного редуктора
1. Выбор
электродвигателя
Методика расчета требуемой мощности и выбора
электродвигателя взята из [5].
Мощность на выходном валу редуктора N,
кВт определятся по формуле
где F
- тяговое усилие ленты конвейера, кН; V
- скорость движения ленты конвейера, м / с.
Согласно исходным данным
кН.
Общий коэффициент полезного действия (КПД)
η
вычисляется по формуле
где
-
КПД муфты;
- КПД подшипника
качения;
-
КПД зубчатой передачи.
Потребляемая мощность двигателя
,
кВт вычисляется по формуле
Из каталога [5] выбираются марки
электродвигателей мощностью более 10,7 кВт. Среди двигателей с различным
количеством совершаемых оборотов в минуту необходимо выбрать наиболее
подходящий для проектируемого привода.
Выбираем ближайшие по мощности электродвигатели:
) 4АМ160S6
мощностью
= 11 кВт с
номинальной частотой вращения вала двигателя
) 4АМ160М8 мощностью
=
11 кВт с номинальной частотой вращения вала двигателя
.
Передаточное число редуктора u
определяется по формуле
где n
- частота вращения барабана конвейера, об / мин.
Частота вращения барабана конвейера n
, об/мин определяется по формуле
где D
- диаметр барабана конвейера, м.
В случае с первым вариантом электродвигателя
передаточное число редуктора будет
при этом отклонение от стандартного значения
передаточного числа редуктора, равного 28, вычисляется по формуле
В случае со вторым двигателем согласно формуле
(4)
отклонение от стандартного значения, равного
22,4, составляет
Так как отклонение от стандартного передаточного
числа редуктора не должно превышать 4 %, то выбираем второй вариант двигателя -
4АМ160М8 и передаточное число редуктора, равное 21, 96.
2.
Кинематический расчет привода
Методика кинетического расчета взята из [5].
Для соосного двухступенчатого цилиндрического
редуктора передаточные отношения ступеней вычисляются по формулам:
передаточное число тихоходной ступени
- передаточное число быстроходной ступени
Согласно формулам (8) и (9) получаем
Крутящие моменты
,
Н· мм,
,
Н·мм и
,
Н·мм вычисляются по формулам
Тогда согласно формулам (2.3), (2.4) и (2.5)
Частоты вращения валов редуктора
, об/мин,
об/мин и
,
об/мин определяются формулами:
Следовательно, частоты вращения валов будут
Мощность вращения валов
,
кВт,
,
кВт,
,
кВт определяется по формулам
Тогда значения величин мощностей вращения валов
будут
3. Расчет размеров зубчатых колес
.1 Выбор материала для зубчатых
колес
Прежде всего необходимо выбрать материал, из
которого изготовлены шестерни и зубчатые колеса.
Выбираем легированную сталь марки 40Х
улучшенную, тогда:
для шестерен: предел прочности
,
предел текучести
, средняя
твердость в единицах Бринелля
;
для зубчатых колес: предел прочности
,
предел текучести
, средняя
твердость в единицах Бринелля
.
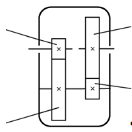
Далее в соответствии с рисунком 1 здесь и далее
по тексту обозначаются:
шестерня на быстроходном валу (позиция 1) -
«шестерня 1»;
зубчатое колесо на промежуточном валу (позиция
2) - « зубчатое колесо 2»;
шестерня на промежуточном валу (позиция 3) -
«шестерня 3»;
зубчатое колесо на тихоходном валу (позиция 4) -
« зубчатое колесо 4».
Рисунок 1
3.2 Расчет межосевого расстояния
редуктора
Метод расчета взят из [5].
Необходимо рассчитать допускаемое контактное
напряжение
., МПа. Оно
вычисляется по формуле
где
-
предел контактной выносливости в базовом цикле нагружения, МПа;
-
коэффициент долговечности;
- коэффициент
запаса прочности.
При улучшении материалов
берется
из интервала от 1,1 до 1,2. Для расчетов далее принимается
.
Предел контактной выносливости при базовом цикле
нагружения для улучшенных сталей
,
МПа определяется по формуле
Коэффициент долговечности
определяется
по формуле
где
-
базовое число циклов нагружения зуба колеса;
-
эквивалентное число циклов нагружения зуба колеса.
определяются по
формуле:
где Т - время работы редуктора, ч ; n
- частота вращения вала рассчитываемого вала, об/мин ;
-
величина, показывающая степень загруженности передачи;
-
доля времени от общего времени работы передачи, в течение которого передача
нагружена крутящим моментом .
Для проектируемого редуктора примем значения
величин
,
,
и
время работы Т = 30000 ч .
Базовое число циклов
определяются
в зависимости от твердости стали. Так как выбрана сталь 40Х с твердостью
,
то
определяется
по формуле
Так для шестерени 1 согласно формулам (3.1) -
(3.5)
Так как
,
то принимаем
, следовательно
Для зубчатого колеса 2 согласно формулам (3.1) -
(3.5)
Так как
,
то принимаем
, следовательно
Для шестерни 3 согласно формулам (3.1) - (3.5)
Так как
,
то принимаем
, следовательно
Для зубчатого колеса 4 согласно формулам (3.1) -
(3.5)
Так как
,
то принимаем
, следовательно
Для прямозубой передачи в качестве расчетного
допускаемого напряжения берется наименьшее из рассчитанных для шестерен и
зубчатых колес напряжений
. Таким образом для
дальнейших расчетов принимается
Межосевое расстояние
, мм определяется по
формуле
где
-
расчетный коэффициент нагрузки;
- коэффициент
ширины зубчатого венца.
Расчетный коэффициент нагрузки
определяется
по формуле:
где
-
коэффициент неравномерности распределения нагрузки междузубьями;
-
коэффициент, учитывающий неравномерность распределения нагрузки по длине зуба;
-
коэффициент динамичности, определяемый точностью изготовления передачи и
окружной скоростью зубьев колес.
В проектном расчете
и
определить
невозможно, поэтому принимают
Величина
определяется
в зависимости от расположения колеса относительно опор передачи и твердости
поверхности зубьев.
Поскольку в данном случае колеса передачи можно
расположить симметрично относительно опор передачи и
,
принимаем
. Тогда
Для прямозубых колес коэффициент ширины
зубчатого венца желательно принимать
.
Принимается
.
Межосевые расстояния тихоходной и быстроходной
ступеней в соосном редукторе равны. Согласно формуле (3.6) межосевое расстояние
на тихоходной ступени редуктора будет больше , чем на быстроходной (так как
крутящий момент на быстроходной ступени больше, а передаточные числа обеих
ступеней приблизительно равны). Поэтому рассчитывается межосевое расстояние для
тихоходной ступени, которое будет являться межосевым расстоянием соосного
редуктора:
Выбираем ближайшее большее значение межосевого
расстояния редуктора из стандартного ряда. Таким образом, принимаем
.
Необходимо сказать, что здесь наблюдается
условие, при котором создается недогруженность быстроходной передачи, так как
межосевое расстояние на быстроходной ступени должно быть гораздо меньше, чем на
тихоходной.
3.3
Расчет размеров шестерни и зубчатого колеса тихоходной передачи
Модуль зацепления
,
мм определяем по формуле
Выбирается модуль m
= 5 мм .
Суммарное число зубьев передачи
определяется
по формуле
Число зубьев шестерни
определяется по формуле
тогда число зубьев шестерни 3 будет согласно
формуле (3.11) равно
Число зубьев колеса определяется по формуле
тогда число зубьев
зубчатого колеса 4 согласно формуле (3.12) будет равно
Рассчитав число зубьев шестерни и число зубьев
зубчатого колеса, определяется фактическое передаточное число
ступени
по формуле
тогда фактическое передаточное число тихоходной
ступени редуктора будет
Отклонение передаточного отношения
не
должно превышать 2,5 % , оно определяется по формуле
таким образом, отклонение передаточного
отношения тихоходной ступени
будет
Отклонение
не
превышает 2,5 % , поэтому в дальнейших расчетах применяется
Делительный диаметр шестерни или зубчатого
колеса
,
мм определяется по формуле
диаметр выступов шестерни или зубчатого колеса
,
мм определяется по формуле
диаметр впадин шестерни или зубчатого колеса
,
мм определяется по формуле
Ширина зубчатого венца зубчатого колеса
,
мм определяется по формуле
ширина зубчатого венца шестерни
,
мм определяется по формуле
Таким образом согласно формулам (3.15) , (3.16),
(3.17) и (3.18) размеры зубчатого колеса 4 будут таковы:
Согласно формулам (3.15) , (3.16), (3.17) и
(3.19) размеры шестерни 3 будут
3.4 Расчет размеров шестерни и
зубчатого колеса быстроходной передачи
Модуль зацепления
определяем
по формуле (3.9)
Выбирается модуль m
= 4 мм .
Суммарное число зубьев передачи
определяется
по формуле (3.10)
Число зубьев шестерни 1 определяется по формуле
(3.11)

Число зубьев зубчатого колеса 2 определяется по
формуле
Фактическое передаточное число быстроходной
ступени редуктора по формуле (3.13) будет
Отклонение передаточного отношения быстроходной
ступени
по
формуле (3.14) будет
Отклонение
не
превышает 2,5 % , поэтому в дальнейших расчетах применяется
Согласно формулам (3.15) , (3.16), (3.17) и
(3.18) размеры зубчатого колеса 2 будут таковы:
Согласно формулам (3.15) , (3.16), (3.17) и
(3.19) размеры шестерни 1 будут
4. Предварительный расчет валов по
крутящим моментам
.1 Расчет быстроходного вала
Диаметр места крепления шестерни к быстроходному
валу
,
мм определяется по формуле (здесь крутящий момент
берется
в Н
)
Диаметр участка вала, на который устанавливается
подшипник
, мм, равен
где r
- величина, зависящая от диаметра вала в месте крепления шестерни или зубчатого
колеса.
Диаметр участка вала, образующего буртик
,
мм для установки шестерни или зубчатого колеса определяется по формуле
где f
- величина, зависящая от диаметра вала в месте крепления шестерни или зубчатого
колеса.

Рассчитанные значения диаметров различных
участков быстроходного вала показаны на рисунке 2.
Рисунок 2
4.2 Расчет промежуточного вала
Диаметр места крепления шестерни или зубчатого
колеса к промежуточному валу
, мм определяется
по формуле (здесь крутящий момент
берется
в Н
)
Диаметр участка вала, на который устанавливается
подшипник, определяется по формуле (4.2)
Диаметр участка вала, образующего буртик для
установки шестерни или зубчатого колеса определяется по формуле (4.3)
Диаметр участка вала, образующего буртик под
подшипник
,
мм определяется по формуле
Рассчитанные значения диаметров различных
участков промежуточного вала показаны на рисунке 3. Промежуточный вал
целесообразно выполнить как вал - шестерню.
Рисунок 3
4.3 Расчет тихоходного вала
Диаметр места крепления зубчатого колеса к валу
,
мм определяется по формуле (здесь крутящий момент
берется
в Н
)
Диаметр участка вала, на который устанавливается
подшипник, определяется по формуле (4.2)
Диаметр участка вала, образующего буртик для
установки зубчатого колеса определяется по формуле (4.3)
Рассчитанные значения диаметров различных
участков промежуточного вала показаны на рисунке 4.
Рисунок 4
5. Уточненный расчет валов
.1 Эскизная компоновка редуктора
Чтобы провести уточненный расчет валов,
необходимо составить эскизную компоновку редуктора. Она представлена на рисунке
5.
Рисунок 5
Сначала рассчитывается величина l,
мм:
Расстояние от внутренней стенки редуктора до
поверхности зубчатых колес, между подшипниками и зубчатыми колесами
мм вычисляется по формуле
Далее рассчитываются длины всех отрезков ,
показанных на рисунке 5.
Отрезок L,
мм рассчитывается следующим образом:
где В - ширина подшипника, мм .
Принимается В = 25 мм , тогда
Отрезок
,
мм определяется по формуле:
Определение длины отрезка
,
мм :
Отрезок
,
мм определяется следующим образом:
Отрезок
,
мм определяется по формуле
Определение длины отрезка
,
мм:
5.2 Уточненный расчет быстроходного
вала
Метод расчета взят из [1] и [2].
На рисунке 6 показаны все усилия, действующие на
быстроходный вал.
Окружное усилие на шестерне 1
,
Н определяется по формуле
Рисунок 6
Полное усилие, действующее на зубья колес
быстроходной передачи
, Н определяется по
формуле
где α - угол
зацепления зубьев шестерни и зубчатого колеса
Для прямозубой передачи принимается
,
тогда
Реакции опор в подшипниках
,
Н и
,
Н определяются по формулам
Максимальный изгибающий момент быстроходного
вала
,
определяется по формуле
Далее определяется приведенный момент в опасном
сечении вала. На быстроходном вале такое сечение находится в месте шпоночного
соединения шестерни с валом.
Приведенный момент для быстроходного вала
,
определяется по формуле
По рассчитанным значениям строится эпюра
крутящих и изгибающих моментов. Она показана в приложении А
5.3 Уточненный расчет промежуточного
вала
Метод расчета взят из [1] и [2].
На рисунке 7 показаны все усилия, действующие на
промежуточный вал. Необходимо определить составляющие реакций опор, действующих
в подшипниках, в горизонтальной и вертикальной плоскостях.
В горизонтальной плоскости реакции опор
подшипников
,Н и
,
Н будут
Рисунок 7
где
и
-
радиальные нагрузки, изгибающие вал, действующие со стороны шестерни 1 и со
стороны шестерни 3 соответственно , Н.
Радиальная нагрузка
,
Н определяется по формуле
Радиальная нагрузка
,
Н определяется по следующей формуле
где
-
полное усилие, действующее на зубья колес тихоходной передачи, Н .
где
-
окружное усилие на шестерне 3, Н.
Окружное усилие на шестерне 3
определяется
по формуле
Следовательно , по формулам (5.19) и (5.18)
Рассчитав усилия, действующие на вал, можно
определить реакции опор, возникающие в подшипниках. Так составляющие реакций
опор в горизонтальной плоскости определяются по формулам (5.15) и (5.16)
Составляющие реакций опор в вертикальной
плоскости
, Н и
,
Н определяются следующим образом:
Далее полные реакции опор, действующие на
подшипники
, Н и
,
определяются по формулам
Отсюда
Максимальный изгибающий момент промежуточного
вала
,
действует в месте нахождения шестерни 3 и определяется по формуле

Приведенный момент для промежуточного вала в
месте нахождения шестерни 3
,
определяется
по формуле
Приведенный момент в месте крепления зубчатого
колеса 2 к промежуточному валу
,
определяется
следующим образом:
электродвигатель редуктор привод
шпоночный
По рассчитанным значениям строится эпюра
крутящих и изгибающих моментов. Она показана в приложении Б
5.4 Уточненный расчет тихоходного
вала
Метод расчета взят из [1] и [2].
На рисунке 8 показаны все усилия, действующие на
тихоходный вал.
Рисунок 8
Реакции опор в подшипниках
,
Н и
,
Н определяются по формулам
Отсюда
Максимальный изгибающий момент тихоходного вала
,
определяется
по формуле
Далее определяется приведенный момент в опасном
сечении вала. На тихоходном вале такое сечение находится в месте шпоночного
соединения зубчатого колеса 4 с валом. Приведенный момент для быстроходного
вала
,
определяется по формуле
По рассчитанным значениям строится
эпюра крутящих и изгибающих моментов. Она показана в приложении В.
6. Проверочный расчёт валов по
коэффициентам запаса нормальных и касательных напряжений
.1 Теоретические сведения
Метод расчета взят из [ 4 ].
Уточненные расчеты на сопротивление усталости
отражают влияние разновидности цикла напряжений, статических и усталостных
характеристик материалов, размеров. Формы и состояния поверхности. Расчет
производят в форме проверки коэффициента запаса прочности. Для каждого из
установленного предположительно опасных сечений определяют расчетный
коэффициент запаса прочности S
и сравнивают его с допускаемым значением [S]
, принимаемым обычно в интервале от 1,3 до 2,1:
где
и
-
коэффициенты запаса соответственно по нормальным и касательным напряжениям,
определяемые по зависимостям:
где
и
-
амплитуды напряжений цикла,
и
-
пределы выносливости вала ,
Амплитуду напряжений цикла
и
в
опасном сечении определяют по формулам
где W
и
-
соответственно осевой и полярный моменты сопротивления сечения вала ,
.
Пределы выносливости вала
и
в
рассматриваемом сечении
где
и
-
коэффициенты концентрации напряжений рассматриваемого сечения.
Значения
и
находят
по зависимостям:
где
и
- эффективные
коэффициенты концентрации напряжений;
-
коэффициент влияния абсолютных размеров поперечного сечения;
-
коэффициент влияния шероховатости;
-
коэффициент влияния поверхностного упрочнения.
6.2 Выбор материала для валов
Необходимо выбрать материал, из которого
изготовлены валы редуктора. Принимается среднеуглеродистая сталь 5. Ее
характеристики: средняя твердость в единицах Бринелля
,
предел прочности
, предел текучести
,
6.3 Проверочный расчет для
быстроходного вала
Опасное сечение расположено в месте крепления
шестерни 1 призматической шпонкой к быстроходному валу. Диаметр вала в месте
крепления равен 40 мм. Значения W
и
выбираются
из таблицы [4, с. 211] в соответствии с диаметром вала в опасном сечении:
Далее по формулам (6.4) и (6.5)
Паз под шпоночное соединение выполняется
концевой фрезой, среднее арифметическое отклонение профиля принимается равным
3,2мкм. Отсюда по таблицам из [4, с. 212] выбираются значения коэффициентов:
Далее по формулам (6.1) - (6.9) проводятся
вычисления:
Статическая прочность вала обеспечивается.
6.4 Проверочный расчет для
промежуточного вала
Опасное сечение расположено в месте крепления
зубчатого колеса 2 призматической шпонкой к промежуточному валу. Диаметр вала в
месте крепления равен 60 мм. Значения W
и
выбираются
из таблицы [4, с. 211] в соответствии с диаметром вала в опасном сечении:
Далее по формулам (6.4) и (6.5)
Паз под шпоночное соединение выполняется
концевой фрезой, среднее арифметическое отклонение профиля принимается равным
3,2 мкм. Отсюда по таблицам из [4, с. 212] выбираются значения коэффициентов:
Далее по формулам (6.1) - (6.9) проводятся
вычисления:
Статическая прочность вала обеспечивается.
6.5 Проверочный расчет для
тихоходного вала
Опасное сечение расположено в месте крепления
зубчатого колеса 4 призматической шпонкой к тихоходному валу. Диаметр вала в
месте крепления равен 80 мм. Значения W
и
выбираются
из таблицы [4, с. 211] в соответствии с диаметром вала в опасном сечении
Далее по формулам (6.4) и (6.5)
Паз под шпоночное соединение выполняется
концевой фрезой, среднее арифметическое отклонение профиля принимается равным
3,2 мкм. Отсюда по таблицам из [4, с. 212] выбираются значения коэффициентов:
Далее по формулам (6.1) - (6.9) проводятся
вычисления:
Статическая прочность вала обеспечивается.
7. Выбор подшипников по требуемой
долговечности
Основным критерием работоспособности подшипников
качения является динамическая грузоподъемность. Номинальная долговечность подшипника
,
ч равна
где С -динамическая грузоподъемность по каталогу
, Н ; Р - нагрузка, действующая на подшипник, Н ; р - показатель степени; n
- частота вращения внутреннего кольца подшипника , об / мин .
Для шарикоподшипников показатель степени р = 3.
Основные параметры шарикоподшипника показаны на
рисунке 9.
Рисунок 9
Для подшипников быстроходного вала формула (7.1)
имеет вид
так как нагрузка, действующая на подшипник равна
реакции опоры в данном подшипнике. Из двух ранее рассчитанных значений реакций
опор в подшипниках необходимо выбрать наибольшую. Аналогично для подшипников
промежуточного вала
и для подшипников тихоходного вала
Время нормальной работы редуктора 30000 ч .
Выбор подшипников начинается с особо легкой серии.
Для быстроходного вала подбираются подшипники
легкой серии №206 по ГОСТ 8338-75. Его параметры: диаметр внутреннего кольца
30
, диаметр внешнего кольца D
= 62, ширина подшипника В =16 , динамическая грузоподъемность С = 19,5 кН.
Согласно формуле (7.2) номинальная долговечность подшипника
При выборе подшипников меньшей серии их
номинальная долговечность не достигла бы 30000 ч.
Для промежуточного вала подбираются подшипники
средней серии №310 по ГОСТ 8338-75. Его параметры: диаметр внутреннего кольца
50
, диаметр внешнего кольца D
= 100, ширина подшипника В =27 , динамическая грузоподъемность С = 61,8 кН.
Согласно формуле (7.3) номинальная долговечность подшипника
Для тихоходного вала подбираются подшипники
особо легкой серии №114 по ГОСТ 8338-75. Его параметры: диаметр внутреннего
кольца
70
, диаметр внешнего кольца D
= 110, ширина подшипника В =20 , динамическая грузоподъемность С = 37,7 кН.
Согласно формуле (7.4) номинальная долговечность подшипника
8.
Расчет шпоночных соединений
Материал взят из [3].
Основные параметры шпоночного соединения
показаны на рисунке 10.
Рисунок 10
Для места крепления шестерни 1 к участку
быстроходного вала диаметром 40мм выбирается шпонка
ГОСТ
23360 - 78.
Для концевого участка быстроходного вала
диаметром 30 мм выбирается шпонка 8
ГОСТ 23360 - 78.
Для места крепления зубчатого колеса 2 к участку
промежуточного вала диаметром 60 мм выбирается Шпонка
ГОСТ
23360 - 78.
Для места крепления зубчатого колеса 4 к участку
тихоходного вала диаметром 80 мм выбирается Шпонка
ГОСТ
23360 - 78.
Для концевого участка тихоходного вала диаметром
70 мм выбирается Шпонка
ГОСТ 23360 - 78.
Все вышеуказанные шпонки отображены в сборочном
чертеже редуктора КП 01. 85. 00 СБ и в спецификации КП 01. 85. 00 СП.
9.
Порядок сборки и разборки редуктора
Порядок сборки редуктора описан согласно
позициям деталей, обозначенных на сборочном чертеже КП 01. 85. 00 СБ и в
спецификации КП 01. 85. 00 СП.
1) Перед общей сборкой редуктора
производится сборка валов с насаживаемыми на них деталями: входной вал: в
начале в шпоночный паз вала 6 закладывается шпонка 35 для крепления шестерни,
далее в соответствии с принятой посадкой
при
помощи пресса напрессовывается шестерня 9 до упора ее в буртик, имеющийся на
валу; далее на вал устанавливается распорная втулка 16 и устанавливаются
шарикоподшипники 27, предварительно нагретые в масле до 80 до 90 є до упора в
буртик и в торец втулки; промежуточный вал: в шпоночный паз вала - шестерни 5
закладывается шпонка 36 для крепления зубчатого колеса, далее в соответствии с
принятой посадкой
зубчатое колесо 8
напрессовывается до упора его в буртик; далее надевается распорная втулка 15 и
устанавливаются по обоим концам вала нагретые шарикоподшипники 29 до упора в
буртик и в торец втулки; тихоходный вал: в шпоночный паз вала 4 закладывается
шпонка 38 для крепления зубчатого колеса, далее в соответствии с выбранной
посадкой
напрессовывается
зубчатое колесо 7 до упора его в буртик; далее на вал устанавливается втулка 14
и по обоим концам вала нагретые шарикоподшипники 28 до упора в буртик и торец
втулки.
Собранные таким образом валы вместе с
подшипниками устанавливаются в корпус 2; далее надевается крышка 3, устанавливаются
штифты 39 и после чего крышка крепится винтами 24 с шайбами 33 к корпусу. После
этого ставится крышка подшипника 13 ведущего вала с манжетой 25 и прокладкой 19
и крепится к корпусу болтами 21 с шайбами 31.
Затем устанавливается крышка подшипника 12 промежуточного
вала с прокладкой 20 и крепится к корпусу болтами 22 с шайбами 32.
После этого ставится крышка подшипника 11
тихоходного вала с манжетой 25 и прокладкой 19 и крепится к корпусу болтами 22
с шайбами 32.
Далее вместе с прокладкой 18 устанавливается
маслоспускная пробка 30, вставляется в отверстие корпуса маслоуказатель 1.
В корпус через отверстие крышки заливается
масло, на прокладки 17 устанавливается крышка люка 1 и крепится винтами 23.
После сборки редуктор подвергают обкатке и
испытанию.
Порядок разборки редуктор - обратный.
)
Заключение
Разработан проект цилиндрического
двухступенчатого соосного редуктора. По завершению работы можно сделать выводы.
В соосной схеме ось
быстроходного вала совпадает с осью тихоходного вала, это дает возможность
компоновать технические устройства в осевом направлении. Следует сказать, такая
компоновка валов влечет некоторое усложнение конструкции опоры быстроходного и
тихоходного вала, расположенной внутри редуктора.
Соосная схема ограничивает
компоновочные возможности подобных редукторов. По сравнению с близкими по
назначению планетарными редукторами они почти одинаковы по массе, но габариты
их больше, а наибольшее передаточное соотношение меньше. По конструкции соосные
редукторы проще планетарных, имеют меньшее число зубчатых колес и менее
трудоемки в изготовлении.
Также особенностью соосных
редукторов является недогруженность быстроходной ступени из-за равенства
межосевых расстояний тихоходной и быстроходной передач.
) К недостаткам соосных
редукторов также относят: габариты в направлении осей вращения валов больше,
чем у редукторов, выполненных в развернутой схеме; затрудена смазка
подшипников, расположенных во внутренней стенке корпуса; большое расстояние
между опорами промежуточного вала, что требует уделять большое внимание
обеспечению его прочности и жесткости.
Очевидно, что применение
соосных редукторов ограничивается случаями, когда нет необходимости иметь два
выходных конца быстроходного и тихоходного валов, а совпадение геометрических
осей входного и выходного валов удобно для обеспечения намеченной общей
компоновки привода.
Список использованной литературы
1 Алексеев З. К. Руководство по
расчету и проектированию редукторов / З.К. Алексеев. - М.: Государственное
научно-техническое издательство машиностроительной литературы, 1958. - 362с.
2 Анурьев В. И. Справочник
конструктора - машиностроителя: в 3т. / В.И.Анурьев. - 5-е изд., прераб. и доп.
- М.: Машиностроение, 1978. -557 с.
Чекмарев А. А. Инженерная
графика: учеб. для вузов/ А. А. Чекмарев.- М.: Высшая школа, 1988. - 335 с.
Дунаев П. Ф. Детали машин.
Курсовое проектирование: учеб. пособие для вузов / П. Ф. Дунаев, О. П. Леликов.
- 2-е изд., прераб. и доп..- М.: Высшая школа, 1990. - 399 с.
Хван Д. В. Проектирование
зубчатых редукторов: учеб. пособие / Д.В.Хван , В. А. Рябцев, В. В. Елисеев . -
Воронеж: ВГТУ, 2005. - 264 с.
Приложение 1
Эпюра крутящих и изгибающих моментов,
действующих на быстроходный вал
Приложение 2
Эпюра крутящих и изгибающих моментов,
действующих на промежуточный вал
Приложение 3
Эпюра крутящих и изгибающих моментов,
действующих на тихоходный вал