Основные правила конструирования узлов и механизмов в передаче крутящего момента
Введение
Механизм - составная часть любой машины и прибора, совокупность подвижно
соединенных между собой тел (деталей), преобразующая вид и характеристики
движения отдельных звеньев. Если в передаче движения участвуют жидкие или
газообразные тела, то механизм называют гидравлическим или пневматическим.
В механизме различают подвижные звенья и стойки (неподвижные
звенья).
По своим функциям звенья могут быть
входными и выходными,
ведущими и ведомыми,
начальными и промежуточными.
Звенья в механизме соединяются, образуя разного вида кинематические
пары.
В зависимости от числа связей, накладываемых на относительное движение
звеньев, различают пары одно-, двух-, трех-, четырех- и пятиподвижные.
В зависимости от вида движения одного звена относительно другого различают
вращательные, поступательные, сферические, винтовые и другие пары
Классификация механизмов
Кулачковые механизмы - механизмы с силовым замыканием звеньев. В их состав
входит кулачок (звено, имеющее рабочую поверхность переменной кривизны) и толкатель
или коромысло с роликом.
Рис. 1 Виды кинематических пар
Зубчатые механизмы, в которых движение передается за счет зацепления зубьев. Включают в себя
зубчатые колеса различной формы, зубчатые рейки, образующие вращательные
или поступательные пары.
Фрикционные механизмы, в которых передача движения осуществляете благодаря
силам трения между элементами пары.
Механизмы с гибкими звеньями (типа гибкой нерастяжимой нити).
Ременная передача, которая включает:
- ведущий шкив,
- ведомый шкив
- приводной ремень.
Механизмы с упругими звеньями, деформация которых влияет на движение механизма.
Волновая передача, которая включает:
- гибкое зубчатое колесо
- жесткое зубчатое колесо
- роликовый генератор волн (водило и 2 ролика)
По функциональному назначению и кинематической передаточной
функции скорости исполнительного звена:
механизмы с постоянным передаточным отношением (зубчатые, ременные,
цепные, канатные, червячные, фрикционные передачи и др.);
механизмы со ступенчато изменяющимся передаточным отношением (коробки
перемены скоростей, ступенчатая ременная передача, ступенчатая цепная передача
и др.);
механизмы для сообщения исполнительному органу возвратно-поступательного
движения;
механизмы для движения с остановками исполнительного органа (кулачковые,
мальтийские, анкерные, рычажные и др.);
механизмы сцепления (зубчатые, фрикционные, кулачковые муфты);
тормозные механизмы.
Назначение и классификация механических передач
Привод - устройство для приведения в действие двигателем различных
рабочих машин (рис.2). Энергия, необходимая для приведения в действие машины
или механизма, может быть передана от вала двигателя непосредственно без
изменений или с помощью дополнительных устройств. Механические устройства,
применяемые для передачи энергии от источника к потребителю с изменением
угловой скорости или вида движения, называют механическими передачами
(передачами).
Рис.2. Примеры привода
Необходимость установки передачи между двигателем и производственной
машиной объясняется следующими причинами:
источники энергии - двигатели - работают в режиме высоких угловых
скоростей, обеспечивающих им наибольшую мощность, КПД и малые габариты; угловые
скорости валов производственных машин обычно отличаются от угловой скорости
вала двигателя;
изменение скорости производственной машины, а, следовательно, и значения
вращающего момента выгоднее осуществлять с помощью передачи, а не путем
изменения угловой скорости вала двигателя, так как при уменьшении угловой
скорости вала двигателя его мощность и КПД понижаются;
двигатели обычно передают вращательное движение, а рабочие органы машины
иногда требуют возвратно-поступательного, качательного, винтового и других
видов движения;
часто возникает необходимость передачи энергии от одного двигателя к
нескольким производственным машинам, валы которых вращаются с неодинаковыми
угловыми скоростями.
Механические передачи
Классификация механических передач.
. По способу передачи движения различают механические передачи:
трением (фрикционные, ременные);
передачи зацеплением (зубчатые, червячные, винтовые, цепные).
. По способу соединения звеньев передачи делят на:
передачи непосредственного контакта (зубчатые, червячные, винтовые,
фрикционные);
передачи гибкой связью (ременные, цепные).
Основные параметры механических передач
В каждой передаче различают два основных вала - ведущий и ведомый
(индексы 1 и 2).
К основным параметрам передач относят (рис.3):
мощность на входе P1 и на выходе P2 передачи;
быстроходность, которая выражается частотой вращения n1 и n2-
= p × n/30 u = p × d
× n/60 × 1000
где d - диаметр, мм.
К дополнительным (производственным характеристикам) относят:
коэффициент полезного действия:
h = P 1/ P 2 h = h 1 × h
2 × ...× h n ,
h 1, h 2 , h n, .
передаточное отношение:
i = w1/ w2= n1/ n2 i = i1
× i2 × ...× in ,
i -
передаточное отношение многоступенчатой передачи;
i1,
i2 , in - передаточное отношение каждой из передач.
Для понижающей передачи i > 1 (w1>w2), такие закрытые передачи называют редукторами.
Для повышающих передач i < 1 (w1<w2), такие передачи называют мультипликаторами.
А
б
Рис. 3. Схемы к определению кинематических параметров передач:
а -
передачи трением; б - передачи зацеплением
Передачи выполняют с постоянным или переменным передаточным отношением.
Причём, регулирование передаточного отношения может быть ступенчатым и
бесступенчатым. Ступенчатые передачи выполняют в коробках скоростей с зубчатыми
колёсами, в ремённых передачах со ступенчатыми шкивами. Бесступенчатые -
фрикционные передачи, цепные вариаторы. Передачи для бесступенчатого
регулирования менее надёжны, имеют малое распространение.
При расчёте передач часто используют зависимости между различными
параметрами. Например:
P =
Ft ×
u
Где Ft -окружное усилие, Н
u- окружная скорость, м/сек
P -
мощность, кВт.
T = 9550 ×P/ n T2 = T1 × i1
×
h ,
Где Т - крутящий момент, Нм;
n -
число оборотов, об/мин;
T2
- крутящий момент на ведомом валу;
T1
- крутящий момент на ведущем валу;
h- КПД передачи.
Фрикционные передачи
Фрикционная передача - механизм, служащий для передачи вращательного
движения от одного вала к другому с помощью сил трения, возникающих между
насаженными на валы и прижатыми друг к другу дисками, цилиндрами или конусами.
Простейшая передача включает в себя ведущий и ведомый катки (рис. 4, а) и
две опоры, одна из которых может смещаться для создания начального прижатия
катков.
А б
Рис. 4. Схемы фрикционных механизмов
Достоинства:
) простота конструкции и обслуживания;
) равномерность и бесшумность вращения;
) возможность бесступенчатого регулирования передаточного числа, причем
на ходу, без останова передачи;
) невозможность аварий при перегрузках.
Недостатки:
) большое и неравномерное изнашивание рабочих поверхностей катков при
буксовании;
) большие нагрузки на валы и подшипники от прижимной силы, r F что
требует увеличения размеров валов и подшипников и, следовательно, делает
передачу громоздкой. Этот недостаток ограничивает передаваемую мощность;
) непостоянное передаточное число из-за проскальзывания катков.
Фрикционные передачи классифицируют по следующим признакам:
. По расположению осей валов
с параллельными осями (рис. 4, а );
с пересекающимися осями (рис. 4, б);
со скрещивающимися осями (рис. 5).
. В зависимости от назначения:
с нерегулируемым передаточным числом (рис. 4.);
с бесступенчатым (плавным) регулированием передаточного числа (рис. 5).
Такие передачи называют вариаторами.
. По форме тел качения:
с цилиндрическими катками;
с коническими катками и др.
. В зависимости от условий работы:
открытые - работают всухую;
закрытые - работают в масляной ванне.
В открытых фрикционных передачах коэффициент трения f выше,
прижимная сила r F катков меньше.
В закрытых фрикционных передачах масляная ванна обеспечивает хороший
отвод тепла, делает скольжение менее опасным, увеличивает долговечность
передачи.
Фрикционные передачи с нерегулируемым передаточным числом в
машиностроении применяют сравнительно редко, например, во фрикционных прессах,
молотах. В качестве силовых передач они громоздки и малонадежны. Эти передачи
используют преимущественно в приборах (спидометры, магнитофоны и др.), где
требуется плавность и бесшумность работы. Фрикционные передачи с бесступенчатым
регулированием - вариаторы - широко применяют в различных машинах, например в
металлорежущих станках, в текстильных и транспортирующих машинах и т. д.
Фрикционные передачи предназначены для мощностей, не превышающих 20 кВт,
окружная скорость катков допускается до 25 м/с. Материалы катков. Материалы
фрикционных катков должны иметь высокие коэффициент трения скольжения f и
модули упругости E , обладать высокой износостойкостью и прочностью
рабочих поверхностей.
Максимальную нагрузочную способность имеют катки из закаленной стали типа
ШХ15, которые могут работать в масленой ванне и всухую. Применяются в силовых
передачах также чугунные катки и сочетания текстолитовых и стальных или
чугунных катков. Кроме того, для изготовления кат ков или их облицовки (для
повышения коэф. трения) применяют кожу, резину, прорезиненную ткать, дерево,
фибру и др. Катки неметаллические работают всухую.
При использовании разных материалов тел качения ведущий каток имеет
меньшую прочность во избежание задиров в случае буксования передачи.
Принцип равной работоспособности тел качения при этом не нарушается, т.к.
рабочая поверхность ведущего катка является опережающей и обладает большей
нагрузочной способностью по сравнению с ведомым катком.
Цилиндрическая и коническая фрикционные передачи
Кинематика передачи. В результате неизбежного упругого скольжения
ведомый каток при работе передачи отстает от ведущего и передаточное
отношение будет определяться по формуле
u= w1/ w2= D2/ D1(1- e)
где ε - коэффициент скольжения (для металлических катков ε
= 0,01 -0,03, для
текстолитовых ε = 0,1).
Для силовых передач передаточное отношение u<7 для цилиндрических,
u<4 для конических, в приборах u<25.
Силовые соотношения в передаче. При передаче вращающего момента от одного
вала к другому необходимо за счет силы трения приложить к ведомому катку
окружную силу F t, которая должна быть меньше наибольшей силы трения
покоя, возникающей между катками, прижатыми друг к другу силой F r .
Условие работоспособности передачи:
f ³ F t
где: F t - передаваемая окружная сила;
R f - сила трения в месте контакта катков.
Нарушение условия работоспособности приводит к буксованию. При буксовании
ведомый каток останавливается, а ведущий скользит по нему, при этом рабочие
поверхности катков изнашиваются. Для создания требуемой силы трения R f катки
прижимают друг к другу силой F r, которая превышает силу F t.
= k F t /f
где k - коэффициент запаса сцепления, k = 1,3-1,4;- коэффициент трения, f
= 0,04-0,05 для металлических катков, работающих в масле; f = 0,15 -0,2,
работающих всухую; f = 0,2 -0,3 для неметаллических катков.
Большие силы прижатия катков создают значительные радиальные нагрузки на
валы и опоры и вызывают большие контактные напряжения на рабочих поверхностях
катков, что делает передачи громоздкими, а их нагрузочную способность
сравнительно невысокой.
КПД для закрытых цилиндрических передач h = 0,92…0,98; для открытых -h = 0,8 …0,92. Для конических передач h =0,85 …0,9.
Критерием работоспособности фрикционных передач является износостойкость
рабочих поверхностей тел качения.
Виды разрушения рабочих поверхностей фрикционных катков.
- Усталостное выкрашивание встречается в закрытых передачах, работающих
при обильной смазке и защищенных от попадания абразивных частиц. Прижимная
сила, вызывает в месте касания катков высокие контактные напряжения, которые
при работе циклически меняются вследствие перемещения места контакта по ободу
катка.
Циклическое действие контактных напряжений способствует развитию
усталостных микротрещин на рабочих поверхностях. При движении с трением в
поверхностном слое катка образуются наклонные микротрещины в результате
пластического течения металла. Силы трения сдвигают металл, а масло под высоким
давлением заполняет раскрытые трещины. При закрытии трещин давление масла
возрастает и частицы металла отделяются. На рабочей поверхности катка
появляются мелкие раковины. Для предотвращения усталостного выкрашивания
производят расчет на контактную прочность. Повышение твердости поверхностей
катков обеспечивает более высокие допустимые контактные напряжения.
Задир возникает в быстроходных сильно нагруженных передачах при разрыве
масляной пленки на рабочей поверхности катков. В месте касания катков
развивается высокая температура, масляный слой разрывается, и катки
непосредственно соприкасаются друг с другом. В результате происходит привар
частиц металла с последующим отрывом от одной из поверхностей катков. Приварившиеся
частицы задирают рабочие поверхности в направлении скольжения. Для
предупреждения задира применяют специальные масла.
Износ - повышенный износ имеют открытые передачи.
Таким образом, все виды разрушения рабочих поверхностей катков зависят от
контактных напряжений H, следовательно, основной расчет
- расчет на прочность по контактным напряжениям.
Вариаторы
Вариаторы служат для плавного (бесступенчатого) изменения на ходу угловой
скорости ведомого вала при постоянной угловой скорости ведущего.
Применяются в станках, прессах, конвейерах и т. п. Бесступенчатое
регулирование скорости способствует повышению производительности работы машины
вследствие возможности выбора оптимального процесса, оно благоприятно для
автоматизации и управления на ходу.
Главной характеристикой вариатора является диапазон регулирования, равный
отношению максимальной угловой скорости ведомого катка w2 max к его минимальной
угловой скорости w2min
:
Д= w
2max /w2min =u
max / u min =
R max /R min
.
Практически для одноступенчатых вариаторов Д=3...8.
Вариаторы подбирают по каталогам или справочникам в зависимости от
передаваемого момента, диапазона регулирования и угловой скорости ведущего
вала.
Разновидности вариаторов. В зависимости от формы тела качения вариаторы
бывают лобовые, конусные, торовые и др.
Лобовые вариаторы (рис. 5) применяют в винтовых прессах и приборах.
Бесступенчатое изменение угловой скорости ведомого вала достигается
передвижением малого катка вдоль вала, т. е. изменением радиуса R 2 .
Допускают реверсирование вращения. Имеют интенсивный износ рабочих поверхностей
катков и пониженный КПД вследствие разности скоростей на площадке контакта. Так
как R1 const , диапазон регулирования лобового
вариатора:
Д =R
2max / R 2min
Рис. 5 Схемы лобового вариатора
Торовые вариаторы (рис. 6) состоят двух соосных катков 1 и 2 с тороидной
рабочей поверхностью и двух промежуточных роликов - 3.
Регулирование угловых скоростей производится поворотом роликов с помощью
поворотного механизма в результате чего изменяются радиусы контакта R 1
и R 2 . Текущее значение передаточного числа:
= w /w » R /
R .
Рис. 6 Схема торового вариатора
Из всех вариаторов торовые наиболее компактны и совершенны, КПД до 0,95,
но имеют сложную конструкцию и требуют высокой точности изготовления.
Зубчатые передачи
Механизм, предназначенный для передачи вращательного движения от одного
вала к другому с помощью находящихся в зацеплении зубчатых колес, называют зубчатой
передачей. Зубчатые передачи могут быть с внешним (рис. 7, а,б, в,
е,ж,и) и внутренним (рис. 7, д) зацеплением, а также реечными (рис.
7, г). Наиболее распространены передачи с внешним зацеплением.
Рис. 7 Виды зубчатых передач
К достоинствам зубчатых передач относят:
возможность передачи практически любых мощностей (до 50000 кВт и более)
при широком диапазоне окружных скоростей (до 30...150 м/с). При высоких скоростях
рекомендуют применять передачи с косыми зубьями.
постоянство передаточного отношения;
компактность, надежность и высокую усталостную прочность передачи;
высокий КПД (h =0,95..0,98
) при высокой точности изготовления и монтажа;
простота обслуживания и ухода;
сравнительно небольшие силы давления на валы и их опоры;
возможность изготовления из самых разнообразных материалов, металлических
и неметаллических.
Недостатки:
- ограниченность передаточного отношения. Для одной пары зубчатых
колес imax = 12,5,
но практически i £7, лишь в открытых тихоходных, малонагруженных передачах i £ 15;
вибрации и шум, особенно при низком качестве изготовления и монтажа и
значительных скоростях;
поломка деталей при больших перегрузках;
относительная сложность изготовления высокоточных зубчатых колес.
По применению и распространению в различных областях народного хозяйства
зубчатые передачи по праву занимают первое место. В любой отрасли
машиностроения, приборостроения, на транспорте и т.д. зубчатые передачи находят
широкое применение.
Классификация зубчатых передач:
. По конструктивному оформлению:
открытые, не имеющие защитного кожуха и масляной ванны;
полуоткрытые, имеющие защитный кожух;
закрытые, имеющие картер и крышку, хорошо изолирующие передачу
от внешней среды.
. По окружной скорости:
тихоходные ( umax
до 3-4 м/с);
средне-скоростные (4 м/с £ u £ 15 м/с);
высокоскоростные ( u > 15 м/с).
. По взаимному расположению осей валов:
с параллельными осями валов (цилиндрические передачи рис.7, а, б, в, г);
с пересекающимися осями валов (конические передачи рис. 7, д, ж);
со скрещивающимися осями валов (винтовые).
. По форме линии зубьев:
с прямым зубом (рис.7, а, б. д);
- с косым зубом (рис. 7, в );
с круговым зубом (рис. 7, е);
с шевронными зубьями (рис. 7, з).
. По форме профиля зуба:
с эвольвентным (предложен Эйлером в 1754 году);
с круглым (предложен Новиковым в 1954 году).
Геометрические параметры цилиндрических передач
Эвольвентой или разверткой окружности называют кривую,
описываемую точкой прямой, лежащей в плоскости круга и перекатывающейся без
скольжения по его окружности.
Эту окружность называют основной окружностью эвольвенты.
Зубья, профиль которых очерчен эвольвентой, относительно легко, просто и точно
могут быть нарезаны на зуборезных станках простейшим режущим инструментом -
гребенкой (инструментальной рейкой) с прямолинейными режущими кромками.
Эвольвентное зацепление обеспечивает высокую прочность зубьев, простоту и
удобство измерения параметров зацепления, а также взаимозаменяемость зубчатых
колес при любых передаточных отношениях.
Непрерывное зацепление при вращении зубчатых колес с постоянным
передаточным отношением возможно только в случае очерчивания профиля зуба по
кривой, подчиняющейся основной теореме зацепления: общая нормаль (линия
зацепления, см. рис. 8) к сопряженным профилям зубьев делит межосевое
расстояние (aO1O2 ) на
отрезки (O 1 П и O 2 П), обратно пропорциональные
угловым скоростям 1 и 2 .
Если положение точки П, называемой полюсом зацепления,
неизменно в любой момент зацепления, то передаточное отношение
O 2 П/O 1 П= w1/w2= i =const
Окружности, касающиеся друг друга в полюсе зацепления, имеющие общие с
зубчатыми колесами центры и перекатывающиеся одна по другой без скольжения,
называют начальными.
Если заменить одно из колес зубчатой рейкой, то для каждого зубчатого
колеса найдется только одна окружность, катящаяся по начальной прямой рейки без
скольжения; эту окружность называют делительной (обозначают d).
В дальнейшем рассматриваются только такие зубчатые передачи, у которых
начальные и делительные окружности зубчатых колес совпадают.
Окружность, ограничивающую высоту зубьев, называют окружностью
вершин (выступов) зубчатого колеса; ее диаметр обозначают da.
Окружность, ограничивающую впадины зубьев, называют окружностью впадин
зубчатого колеса; ее диаметр обозначают df.
Часть профиля зуба, ограниченная делительной окружностью и окружностью
выступов, называют головкой зуба (ha). Часть профиля зуба,
ограниченная делительной окружностью и окружностью впадин, называют ножкой
зуба (hf). Высота зуба - h =ha hf .
Окружной шаг зубьев (р) - расстояние между одноименными сторонами
двух соседних зубьев, взятое по длине делительной окружности. Он складывается
из окружной толщины зуба (s) и окружной ширины впадины зуба(e).
Рис. 8 Эвольвентное некорригированное зацепление
Прямую линию, проходящую через полюс зацепления П касательно
к основным окружностям шестерни (зубчатое колесо с меньшим числом зубьев) и
колеса, называют линией зацепления. Линия зацепления является
линией давления сопряженных профилей зубьев в процессе эксплуатации зубчатой
передачи.
Угол a w
, образованный линией зацепления и общей касательной, проведенной через полюс
зацепления к делительным окружностям шестерни и колеса, называют углом
зацепления. По стандарту a w = 20° .
Для предотвращения заклинивания, компенсации температурных деформаций, а
также ошибок изготовления и сборки предусмотрен радиальный зазор - с.
Кроме того, для обеспечения нормальной работы, необходим боковой зазор между
зубьями соприкасающихся колес.
Часть делительной окружности, приходящейся на один зуб колеса, называют модулем
зацепления.
Модуль - основной параметр зацепления. Значения модулей
стандартизированы. Все размеры зубчатых колёс вычисляют с учетом модуля
зацепления - m.
Например для прямозубых цилиндрических передач:
диаметр делительной окружности d =m×z;
диаметр выступов зубьев da =d 2 ×m;
диаметр впадин зубьев d f =d 2,5×m;
высота головки зуба ha =m;
высота ножки зуба h f =1,25 ×m
высота зуба h =2,25 ×m;
межосевое расстояние a w =d1 d2)/2
=m×z1 z2))/2,
где z1 и z2 - число зубьев шестерни и колеса.
Особенности геометрии косозубых цилиндрических колес
У косозубых колес зубья располагаются не по образующей делительного
цилиндра, а составляют с ней некоторый угол b(рис. 9)
Рис. 9. Схема косозубого цилиндрического колеса
Наклон зуба при его нарезании образуют соответствующим поворотом
инструмента на угол b.
Профиль косого зуба в нормальном сечении n-n совпадает с профилем
прямого зуба. Модуль в этом сечении обозначают mn .
В торцевом сечении t-t параметры косого зуба зависят от угла b:
окружной шаг P t =P n/ cosb;
окружной модуль m t= m n / cosb;
диаметр делительной окружности d= mt x z=(mn×z)/ cosb;
В отличие от прямозубой передачи в косозубой зубья входят в зацепление не
сразу по всей длине, а постепенно. Увеличивается время контакта одной пары
зубьев, в течение которого входят новые пары зубьев, нагрузка передается
большему числу контактных линий, что значительно снижает шум и динамические
нагрузки. Причем, чем больше угол наклона линии зуба, тем выше плавность
зацепления. Такие передачи рекомендуют применять в качестве быстроходных.
Основной недостаток косозубых передач - возникновение осевой силы,
усложняющей конструкцию опор и сдвигающей колесо по валу. Вследствие этого
величину угла наклона зуба ограничивают в пределах 8..18о. Избавиться от
этого недостатка можно, применив шевронный зуб (как бы сдвоенный косозубый).
При этом осевые силы на каждой из половинок колеса взаимоуравновешиваются. Угол
наклона зуба у таких колес достигает 40…45о.
Планетарные передачи
Планетарными называют передачи, которые имеют хотя бы одну подвижную
геометрическую ось зубчатого колеса. В планетарных передачах применяются
цилиндрические или конические колеса. Зубья могут быть прямые или косые.
Существует множество различных схем планетарных механизмов.
На рис 10. показана схема четырехзвенной простейшей планетарной зубчатой
передачи, состоящей из центрального вращающегося колеса 1 с
неподвижной осью; сателлитов 2, оси которых перемещаются; неподвижного
колеса 3 с внутренними зубьями; вращающегося водила h, на
котором закреплены оси сателлитов. При работе планетарной передачи сателлиты 2
совершают движение подобное движению планет (плоскопараллельное движение).
Рис. 10. Планетарная зубчатая передача
Ведущим в планетарной передаче может быть либо центральное колесо, либо
водило.
Если в планетарной передаче (рис. 10) освободить неподвижное колесо 3 и
сообщить ему дополнительное вращение, то рассматриваемый механизм превратится в
дифференциал. С помощью дифференциала одно движение можно
разложить на два или два сложить в одно. Например - от колес 1 и 3 передать
движение водилу или от колеса 3 - колесу 1 и водилу.
Планетарные передачи могут быть одно - и многоступенчатыми (образуются
при последовательном соединении простых механизмов).
Достоинства планетарных передач:
малая масса и габариты конструкций;
удобны при компоновке машин благодаря соосности ведущих и ведомых валов;
работают с меньшим шумом, что связано с меньшими размерами колес и
замыканием сил в механизме - при симметричном расположении сателлитов силы в
передаче взаимно уравновешиваются;
малые нагрузки на валы и опоры;
возможность получения больших передаточных чисел (до 1000 и более).
Недостатки планетарных передач:
повышенные требования к точности изготовления и сборки конструкции,
снижение КПД передачи с ростом передаточного числа. (Для одной
ступени рациональные значения КПД=0,96-0,98 при u<16, для двух
последовательно соединенных передач КПД=0,92-0,97 при u<125).
Планетарную передачу применяют как
редуктор в силовых передачах и приборах;
коробку перемены передач, передаточное число в которой изменяются путем
торможения различных звеньев (водила или одного из колес);
дифференциал в автомобилях, станках и приборах.
Для кинематического анализа планетарных передач используют обычно метод
Виллиса (метод остановки водила). При этом всей планетарной передаче
сообщается (мысленно) вращение с угловой скоростью водила ωh,
т.е. водило мысленно
останавливается, а другие звенья освобождаются. Полученный механизм называется обращенным.
Сателлиты при этом становятся промежуточными (паразитными,
которые не влияют на передаточное число) колесами.
Мысленная остановка водила равноценна вычитанию его угловой скорости из
угловых скоростей подвижных колес. Тогда передаточное отношение
Uh13 =(ω1 -ωh )/(
ω3 -ωh)=-z3/z1
где ω1, ω3, ωh - угловые скорости колес и водила; z -
числа зубьев колес; нижние индексы показывают ведущее и ведомое звено, верхний
- мысленно остановленное звено. Знак передаточного отношения:
положительный знак, если в обращенном механизме ведущее и ведомое звенья
вращаются в одну сторону и отрицательный - при вращении в разные стороны.
При ω3=0
U= ω1 /ωh =1+ z3/z1
Подбор чисел зубьев. Числом зубьев центрального колеса 1 задаются
из условия неподрезания ножки зуба, принимая z1≥17.
Число неподвижного колеса 3 определяют по формуле
3 =z1
(u 1)
Число зубьев сателлитов вычисляют из условия соосности, по
которому межосевые расстояния зубчатых пар с внешним и внутренним зацеплением
должны быть равны.
ω =0.5d1 d2)
=0.5d3 d2)
Так как модули зацепления планетарной передачи одинаковые, то
Z2=0.5(z3 -z1)
Полученные числа зубьев проверяют по условию сборки и соседства.
Условие сборки требует, чтобы во всех зацеплениях центральных колес с
сателлитами имело место совпадения зубьев со впадинами, иначе передачу собрать
невозможно. Установлено, что при симметричном расположении сателлитов, условие
сборки выполняется, когда сумма зубьев (z1+z3) кратна числу сателлитов с = 2…6
(обычно с = 3), т.е.
(z1 +z3 )/c=целому числу
Условие соседства требует, чтобы сателлиты при вращении не задевали
зубьями друг друга. Для этого необходимо, чтобы сумма радиусов вершин
соседних сателлитов была меньше расстояния между их осями. Тогда условие
соседства выполняется когда
z2+2<(z1 +z2) sin p / c
Критерием работоспособности планетарной передачи является прочность зубьев.
Расчет ведут по формулам обыкновенных зубчатых передач. Расчет выполняют для
каждого зацепления.
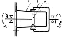
Волновые передачи
Волновые зубчатые передачи кинематически представляют собой планетарные
передачи с одним гибким зубчатым колесом.
Наиболее распространенная волновая передача (рис. 11) состоит из водила
Н, вращающегося гибкого колеса 1 с наружными зубьями и неподвижного жесткого
колеса 2 с внутренними зубьями.
Водило состоит из овального кулачка и специального шарикоподшипника.
Гибкое зубчатое колесо изготовляют в виде стакана с легко деформирующейся
стенкой и соединяют с валом. Длина стакана колеса близка к его диаметру.
Жесткое зубчатое колесо соединено с корпусом. Зубья колес чаще всего
эвольвентные.
Сборку зацепления осуществляют после деформирования гибкого колеса
водилом. Гибкое колесо деформируется так, что на концах большой оси овала зубья
зацепляются на полную рабочую высоту. На малой оси зубья не зацепляются. Между
этими участками зацепление частичное. Таким образом, волновая передача может
обеспечить одновременное зацепление большого числа зубьев.
В волновой передаче преобразование движения осуществляется за счет
деформирования зубчатого венца гибкого колеса. При вращении водила волна
деформации бежит по окружности гибкого зубчатого венца; при этом венец
обкатывается в обратном направлении по неподвижному жесткому колесу, вращая
стакан и вал. Поэтому передача называется волновой, а водило -волновым
генератором.
Рис. 11 Схема волновой передачи
Существует много разновидностей волновых передач. Например, для передачи
движения через герметическую стенку в химической, авиационной, космической,
атомной и др. отраслях техники применяют герметическую волновую передачу (рис.
11). Гибкий зубчатый венец расположен в середине глухого стакана 1, герметично
соединенного с корпусом. Движение передается от генератора волн Н к жесткому
колесу 2, соединенному с валом.
Достоинства волновой передачи:
- способность передавать большие нагрузки при малых габаритах, т.к. в
зацеплении может находиться до 1/3 всех зубьев;
высокая кинематическая точность, как результат многопарного зацепления;
большое передаточное число при малых габаритах и сравнительно высоком КПД
(для одной ступени u<315 при КПД=0,8 -0,9);
высокая долговечность;
работа с меньшим шумом и высокой демпфирующей способностью.
Рис. 12. Схема волновой передачи движения в герметизированное
пространство
Недостатки:
- сложность изготовления гибкого колеса и генератора;
ограничение угловой скорости вала генератора при больших диаметрах колес.
Применение: Волновые передачи применяют в подъемно-транспортных машинах,
станкостроении, промышленных роботах и манипуляторах, химической
промышленности, авиационной и ракетной технике и др.
В волновой передаче при вращении генератора происходит относительный
поворот колес, при этом зубья колеса 1 должны переходить из одной впадины в
другую. Для этого необходимо расцепление зубьев. При неподвижном колесе 2 за
половину оборота генератора зубья колеса 1 смещаются на один шаг, за полный
оборот - на 2 шага. Это возможно при условии, если разность чисел зубьев колес
z2 - z1=2. Передаточное число волновых передач
определяется так же, как и для планетарных, методом остановки водила.
При неподвижном жестком колесе
U=wH/w1=-z1/( z2 - z1)= - z1/2
(-), потому что направление вращения генератора и гибкого колеса не
совпадают.
При неподвижном гибком колесе
U=wH/w2=z2/( z2 - z1)=z1/2
Направление вращения генератора и жесткого колеса совпадают.
Критерием работоспособности волновой передачи является прочность гибкого
колеса, которая оценивается сопротивлением усталости зубчатого венца.
Червячные передачи
Червячные передачи применяют для передачи вращательного движения между
валами, оси которых скрещиваются обычно под углом 90°.
Параметрам червяка приписывают индекс - 1, а колеса - 2.
Классификация, достоинства, недостатки, области применения
червячных передач
Червячные передачи применяют при небольших и средних мощностях, обычно не
превышающих 50 кВт. Применение этих передач для больших мощностей ограничено
из-за сравнительно низкого КПД и требует специальных мер для охлаждения
передачи.
Червячные передачи широко применяют в станках, подъемно-транспортных
машинах, приборах и т.д. При проектировании передач сочетающих в себе зубчатые
и червячные пары, червячную пару рекомендуют применять в качестве быстроходной
ступени, т.к. при более высоких скоростях создаются лучшие условия для смазки.
Передаточное отношение (число) червячной передачи находят:
U=n1/n2=z2/z1
где z2 - число зубьев колеса;
z1 - число заходов червяка.
Обычно z1 = 1...4 , следовательно,
червячные передачи имеют большие передаточные числа. В силовых червячных
передачах передаточное число рекомендуют до 10…60; в приборах и делительных
механизмах u до 300 и более.
Достоинства передачи:
плавность и бесшумность работы;
компактность и сравнительно небольшая масса конструкции;
возможность большого редуцирования;
возможность осуществления самотормозящей передачи;
большая кинематическая точность.
Таблица 1.
Зависимость КПД η от числа заходов червяка z1
|
Z1 =1
|
Z1 =2
|
Z1 =3
|
Z1 =4
|
|
η = 0,7-0,75
|
η = 0,75-0,8
|
η =0,8-0,85
|
η = 0,85-0,9
|
|
|
|
|
Недостатки:
- сравнительно низкий КПД;
повышенный износ и склонность к заеданию;
применение для колес дорогих антифрикционных материалов;
повышенные требования к точности сборки.
Классификация червячной передачи:
. В зависимости от формы внешней поверхности червяка передачи различают:
с цилиндрическим червяком (рис.13);
с глобоидным червяком (рис.13).
Рис. 13. Червячная пара с различным червяком
. В зависимости от формы профиля резьбы цилиндрического червяка различают
червяки:
архимедов (в осевом сечении имеет трапецеидальный профиль резьбы, в
торцевом сечении очерчен архимедовой спиралью);
конволютный (в торцевом сечении имеет трапецеидальный профиль резьбы);
эвольвентный.
Наибольшее применение получили архимедовы червяки.
. В зависимости от направления линии витка червяка различают червячные
передачи:
с правым направлением нарезки;
с левым.
. В зависимости от числа витков различают:
многовитковые (многозаходные);
однозаходные червяки.
. В зависимости от расположения червяка относительно колеса различают
передачи:
с нижним;
боковым;
верхним расположением червяка.
Нижнее расположение обычно применяют при скорости скольжения до 4 м /с.
Силы в зацеплении червячной передачи
Рассмотрим направление сил в зацеплении червячной передачи (рис. 14) и
формулы для их вычислений:
Рис. 14. Силы в зацеплении червячной передачи
окружная сила Ft1 на червяке равна осевой силе Fa2 на колесе,
но противоположно направлена
a2=
Ft1 =2T1/d1
осевая сила Fa1 равна окружной силе Ft2
на колесе, но противоположно направлена
Ft2 =Fa1 =2T2/d2
- радиальные силы червяка Fr1 и колеса Fr2
равны и направлены к центру вращения
Fr1 = Fr2=Ft2 × tga
Особенностью червячной передачи являются большие осевые силы.
Ременные передачи
Передачу механической энергии, осуществляемую гибкой связью посредством
трения между ремнем и шкивом, называют ременной. Она состоит из
двух шкивов 1 и 2 и ремня 3 (рис.15).
Рис. 15.Ременная передача
Классификация
1. В зависимости от формы поперечного сечения ремня различают следующие
виды ременных передач (рис.15):
плоскоременные (с прямоугольным профилем поперечного сечения ремня);
клиноременные (с трапециевидным профилем поперечного сечения ремня);
поликлиноременные (с бесконечными плоскими ремнями, имеющими продольные
клиновые выступы-ребра на внутренней поверхности ремня, входящие в кольцевые
клиновые канавки шкивов);
круглоременные;
- зубчатые.
Рис. 16. Различные профили ремней
. По взаимному расположению осей валов:
с параллельными осями (рис. 17, а, б);
с пересекающимися осями (рис. 17, г);
со скрещивающимися (рис. 17, в).
Рис. 17 Ременная передача с различным расположением валов
3. По направлению вращения шкивов:
с одинаковым (рис. 17, а, в);
с противоположным (рис. 17, б).
. По способу создания натяжения ремня:
простые (рис. 15);
с натяжным роликом (рис. 18);
с натяжным устройством.
Рис. 18. Натяжные устройства ременной передачи
Достоинства ременных передач:
возможность передачи энергии на значительные расстояния: до 12…15 м -
плоскими ремнями, до 6 м - клиновыми ремнями;
простота и низкая стоимость конструкции;
плавность и бесшумность хода, способность смягчать удары благодаря
эластичности ремня и предохранять механизм от поломок при буксовании, вызванном
перегрузкой;
возможность передачи мощностей от долей киловатта до сотен киловатт (чаще
до 50 кВт, реже до 300 кВт) при окружной скорости до 30 м/с;
простота обслуживания и ухода;
относительно высокий КПД: h = 0,91…0,98;
передаточное отношение i 7 (обычно i 4...5).
Недостатки:
- непостоянство передаточного отношения вследствие упругого скольжения,
меняющегося в зависимости от нагрузки;
относительно большие габариты передачи и невысокая долговечность ремня
(особенно в быстроходных передачах);
вытягивание ремня в процессе эксплуатации передачи приводит к
необходимости установки дополнительных устройств (натяжной ролик);
большие нагрузки на валы и их опоры (подшипники).
Несмотря на перечисленные недостатки, ременные передачи по применению в
промышленности и народном хозяйстве занимают второе место после зубчатых
передач. В любой отрасли машиностроения и приборостроения можно встретить
плоскоременную или клиноременную передачу: приводы насосов, вентиляторов,
транспортеров, конвейеров, рольгангов и др.
Плоскоременные передачи рекомендуют применять при высоких окружных скоростях,
больших межосевых расстояниях, повышенных требованиях к плавности работы
передачи.
Клиноременные и поликлиноременные передачи применяют при сравнительно больших
передаточных отношениях, вертикальном и наклонном расположении параллельных
осей валов, требовании малогабаритности передачи и меньших нагрузок на опоры
валов, передаче энергии нескольким валам.
Круглоременные передачи предназначены в основном для передачи малых мощностей
и потому имеют меньшее распространение (швейные машины, приборы, настольные
станки и т.д.).
Зубчато-ременные передачи
Зубчатые (полиамидные) ремни сочетают в своей конструкции все
преимущества плоских ремней и зубчатых зацеплений На рабочей поверхности ремней
4 имеются выступы, которые входят в зацепление в выступами на шкивах 1,2 и З.
Полиамидные ремни пригодны для высокоскоростных передач, а также для передач с
небольшим межосевым расстоянием. Они допускают значительные перегрузки, очень
надежны и прочны.
Рекомендуют при больших нагрузках.
Передаточное отношение ременных передач:
=ω1 / ω2=n1/n2=D2/D1(1-e)
где ω1 и ω2 - угловые скорости на ведущем и ведомом валах;
n1
и n2- частоты вращения валов;
D2 и D1- диаметры ведущего и ведомого
шкивов;
e =0,01…0,02 - коэффициент упругого скольжения.
Сшивку применяют для ремней всех типов. Она производится посредством жильных
струн или ушивальниками-ремешками из сыромятной кожи III. Более совершенной и
надежной считают сшивку встык жильными струнами с наклонными проколами IV.
Критерии работоспособности ременных передач
Основными критериями работоспособности ременных передач являются тяговая
способность ремня и его долговечность. Основным расчетом является расчет по
тяговой способности, который сводится к определению площади поперечного сечения
ремня, обеспечивающего передачу необходимого усилия. Долговечность ремня,
которая определяется в основном его усталостной прочностью, зависит не только
от величины напряжений, но и от характера и частоты цикла изменения этих
напряжений (или числа пробегов ремня)
n = u/ l £ [n ],
где u - окружная
скорость, м/с;
l -
длина ремня, м;
[n] - допускаемое число пробегов ремня:
для плоских ремней [n ] £5; - для клиновых [n ] <10 .
Практика показывает, что при соблюдении необходимых рекомендаций
долговечность ремней составляет 2000…3000 часов.
Конструкции основных элементов ременных передач
Ремень является тяговым органом, от качества которого зависят долговечность и
нормальная работа передачи. К нему предъявляют следующие требования:
достаточная прочность, надежность и долговечность, невысокая стоимость и не
дефицитность материала ремня; высокая тяговая способность и эластичность;
достаточно высокий коэффициент трения между ремнем и шкивом.
Плоские приводные ремни представляют собой гибкую конечную или реже
бесконечную ленту из прорезиненной хлопчатобумажной ткани или кожи.
Кожаные ремни обладают высокой тяговой способностью упругостью и
эластичностью. Из-за дефицитности и высокой стоимости их рекомендуют к
применению только в ответственных передачах с часто изменяющимися нагрузками и
высокими скоростями до 40 м/с.
Резинотканевые ремни при спокойных нагрузках обладают хорошей тяговой способностью
и упругостью, малодефицитны, а потому широко распространены. Они работают в
широком диапазоне мощностей (до 50 кВт) со значительными скоростями (до 30
м/с).
Клиновые ремни изготовляют бесконечными (бесшовными) в специальных
пресс-формах. Они состоят из крученого прорезиненного хлопчатобумажного или
синтетического шнура (корда), расположенного в области нейтрального слоя ремня,
резинотканевого или резинового слоя, расположенного над кордом и работающего на
растяжение при изгибе ремня, резинового слоя, расположенного под кордом и
работающего на сжатие при изгибе и обертки из прорезиненной ткани. Клиновые
ремни подразделяются на кордтканевые (рис. 19,а) и корд-шнуровые (рис.19,б).
Рис. 19. Клиновые ремни
Применение клинового ремня позволило увеличить тяговую способность
передачи за счет повышения трения и сцепление ремня со шкивом по сравнению с
плоскоременной передачей.
В поликлиновых ремнях (стандарта нет) несущий слой выполняют в виде кордшнура из
химических волокон (вискоза, лавсан, стекловолокно).
Эти ремни сочетают достоинства плоских ремней - монолитность и гибкость и
клиновых - повышенное сцепление со шкивом.
Зубчатые ремни способны передавать энергию при неизменном передаточном
отношении с высокими окружными скоростями и мощность до сотен киловатт. Эти
ремни изготовляют из армированного металлическим тросом неопрена, значительно
реже используют пластмассу (полиуретан).
Шкивы ременных передач изготовляют из стали, алюминиевых сплавов или текстолита
при u
>30 м/с.
Наиболее распространенным материалом для изготовления шкивов при u £30 м/с является серый чугун
СЧ 15 и СЧ 21, при u £25 м/с - СЧ 12
Рис.20 Шкивы ременной передачи
Форму канавки шкива (рис. 20) в клиноременной передаче выполняют так,
чтобы между ремнем и ее основанием был гарантированный зазор, при этом рабочими
являются боковые грани ремня. В то же время ремень не должен выступать за
пределы наружного диаметра шкива, иначе своими острыми кромками канавка будет
быстро разрушать ремень.
Цепные передачи
Цепную передачу относят к передачам зацеплением с гибкой связью (рис.
21).
Рис. 21. Цепная передача
К достоинствам цепной передачи следует отнести:
по сравнению с зубчатыми передачами: могут передавать движение
между валами при значительных межосевых расстояниях (до 8 м);
по сравнению с ременными передачами: они более компактны; могут
передавать большие мощности до нескольких тысяч кВт, чаще до 100 кВт; силы,
действующие на валы значительно меньше; отсутствует проскальзывание; могут
передавать движение одной цепью нескольким звездочкам.
Недостатки:
значительный шум вследствие удара звена цепи при входе в зацепление.
Из-за этого ограничивают применение цепных передач при больших скоростях, а
число зубьев меньшей звёздочки рекомендуют принимать z 1 ³15;
сравнительно быстрый износ шарниров цепи вследствие затруднительного
подвода смазки;
удлинение цепи из-за износа шарниров, что требует применения натяжных
устройств.
Цепные передачи применяют в станках, транспортных машинах, горном
оборудовании, подъёмно-транспортных устройствах и т.д. при значительных
межосевых расстояниях, когда зубчатые передачи не применимы, а ременные
передачи ненадежны.
Наибольшее применение получили цепные передачи мощностью до 120 кВт при
окружных скоростях до 15 м/с (500 об/мин).
Передаточное отношение цепной передачи
=n1/n2=d2/d1`
Рекомендуют применять передачи с передаточным отношением до 7, допускают
до 10…14. Следует учитывать, что с увеличением передаточных отношений
значительно возрастают габариты передачи.
Потери в цепной передаче складываются из потерь на трение в шарнирах
цепи, на зубьях звездочек и опорах валов. Среднее значение КПД цепной передачи
достигает h = 0,96...0,98
.
Основные геометрические соотношения
Основным параметром цепи является шаг передачи, который принимается по
ГОСТу. Чем больше шаг, тем выше нагрузочная способность цепи, но сильнее удар
звена цепи о зуб звёздочки в период набегания цепи на звездочку, меньше
плавность, бесшумность и долговечность передачи.
Оптимальное межосевое расстояние передачи принимают из условий
долговечности цепи:
a =30...50×t ,
где t - шаг цепи.
Рекомендуют принимать меньшие значения межосевого расстояния для передач
с передаточным отношением i = 1...2, большие значения - для
передач у которых i = 6...7 .
Число звеньев цепи W определяют в зависимости от межосевого расстояния,
округляют до целого числа, которое желательно брать четным, чтобы не применять
специальных соединительных звеньев.
Для нормальной работы передачи ведомая ветвь должна иметь небольшое
провисание для чего расчетное межосевое расстояние уменьшают на величину равную
(0,002 ...0,004 ) × a
Конструкции основных элементов цепных передач
Главный элемент цепной передачи - приводная цепь (рис. 22), которая
состоит из соединенных шарнирами звеньев. Цепи стандартизованы и
изготавливаются на специальных заводах.
Втулочно-роликовая цепь состоит из валика 3, запрессованного в отверстие
внешнего звена 2, и втулки 4, запрессованной в отверстие внутреннего звена 1.
Втулка на валике и ролик 5 могут свободно поворачиваться (рис.23). Зацепление
цепи с зубом звездочки осуществляется через ролик.
Рис. 23. Втулочно-роликовая цепь Рис. 24. Зубчатая цепь
Втулочные цепи аналогичны втулочно-роликовым цепям, но у них нет ролика 5.
Вследствие этого износ цепи и звездочек увеличивается, при этом снижается масса
и стоимость цепи.
Зубчатые цепи состоят из набора пластин с двумя зубообразными выступами
(рис. 24). Пластины цепи зацепляются с зубьями звездочки своими торцевыми
плоскостями. Зубчатые цепи работают плавно, с меньшим шумом. Их рекомендуют
применять при сравнительно высоких скоростях до 35 м/с. Для устранения бокового
сползания цепи со звездочки применяют направляющие пластины. Зубчатые цепи
различают в основном по конструкции шарниров. Применяют шарниры скольжения и
шарниры качения.
Звездочки во многом подобны зубчатым колесам. Профиль и размеры зубьев
звездочки зависят от типа и размеров цепи. Для цепей все размеры звездочек
стандартизованы.
Материал звездочек должен быть износостойким и хорошо сопротивляться ударным
нагрузкам. Звездочки изготовляют из углеродистых или низколегированных сталей
45, 40Х, 40ХН и др. с цементацией венцов на глубину 1…1,5 мм. Твердость
поверхности зубьев 45…55 HRC. Перспективным является изготовление венца
звездочки из пластмассы, что понижает шум при работе передачи и изнашивание
цепи.
Критерии работоспособности и расчета цепных передач
Стандартные цепи конструируют равнопрочными по напряжениям во всех
деталях. Для большинства условий работы цепных передач основной причиной потери
работоспособности является износ шарниров цепи.
Поэтому основным критерием работоспособности цепных передач
является долговечность цепи, определяемая износом шарниров. Долговечность
приводных цепей по износу составляет 3…5 тыс. часов работы. Для увеличения
долговечности цепной передачи принимают по возможности большее число зубьев
меньшей звездочки (z1 = 19… 31).
При большом числе зубьев даже у малоизношенной цепи в результате
радиального сползания по профилю зубьев нарушается зацепление со звездочкой,
поэтому ограничивают максимальное число зубьев большой звездочки. Рекомендуют:
для втулочной цепи z2 ≤ 90;
для роликовой z2 ≤ 120;
для зубчатой z2 ≤ 140.
Предпочтительно принимать нечетные числа зубьев звездочек, что в
сочетании с четным числом звеньев цепи способствует более равномерному ее
износу.
Муфты
Муфты - это устройства, служащие для соединения валов и передачи крутящего
момента. Потребность в соединении валов связана с тем, что большинство машин
компонуют из отдельных узлов с входными и выходными валами. Так, например,
двигатель, редуктор и рабочая машина. Непосредственную кинематическую и силовую
связь отдельных узлов выполняют с помощью муфт.
Соединение валов является общим, но не единственным назначением муфт.
Например, муфты используют для выключения и включения исполнительного механизма
при непрерывно работающем двигателе (управляемые муфты); для предохранения
машины от перегрузки (предохранительные муфты); для компенсации вредного
влияния несоосности валов, связанной с неточностью монтажа (компенсирующие
муфты); для уменьшения динамических нагрузок (упругие муфты) и т.д.
В современном машиностроении применяют большое количество муфт,
различающихся по принципу действия, назначению, конструкции.
Широко применяемые муфты стандартизированы.
Основной паспортной характеристикой их является величина крутящего
момента, на передачу которого она рассчитана. Муфты подбирают по ГОСТу по
диаметру соединяемых валов и расчётному моменту:
Трасч=КТ
где K - коэффициент режима работы муфты, K = 1,5...2,5.
Рассмотрим назначение некоторых видов муфт.
Глухие муфты. Глухие муфты образуют жесткое и неподвижное соединение валов.
К ним относят втулочную и фланцевую муфты.
Втулочная муфта нашла широкое применение в легких машинах при соединении
валов d 60…70 мм. Отличается простотой конструкции и
малыми габаритами. Скрепление втулки с валами выполняется с помощью штифтов,
шпонок или шлицев (рис. 24).
Рис. 24. Глухие муфты
На рис. 25 представлены две конструкции фланцевой муфты. Одна изображена
сверху от осевой линии, другая - внизу. В первом варианте полумуфты соединяются
болтами, поставленными без зазора, во втором - с зазором
Рис. 25 Фланцевая муфта
Во втором варианте крутящий момент передается за счет сил трения,
возникающих в стыке полумуфт от затяжки болтов, в первом - непосредственно
болтами, которые работают на срез и смятие.
Болты, поставленные без зазора, могут одновременно выполнять функцию
центровки валов (во втором варианте такая центровка производится цилиндрическим
выступом). Установка болтов без зазора позволяет получить муфту меньших
габаритов, поэтому она более распространена.
Фланцевые муфты широко распространены в машиностроении. Их применяют для
соединения валов диаметром до 200 мм и более. Достоинства таких муфт: простота
конструкции и сравнительно небольшие габариты.
Муфты компенсирующие жесткие. Вследствие погрешностей изготовления
и монтажа всегда имеется некоторая неточность взаимного расположения
геометрических осей соединяемых валов.
Различают следующие виды отклонений от правильного взаимного
расположения валов (несоосности валов) (рис.26):
продольное смещение Dl , вызывается ошибками монтажа или температурным удлинением
валов;
радиальное смещение Dr или эксцентриситет - вызывается неточностью монтажа или
биением конца вала неточность обработки;
угловое смещение или перекос, обусловленный теми же причинами, что и
радиальное смещение.
Рис. 26. Отклонение валов
На практике чаще всего встречается комбинация указанных отклонений,
которую условимся называть "несоосностью валов".
При соединении глухими муфтами требуется высокая точность расположения
осей валов. Для понижения этих требований применяют компенсирующие муфты.
Компенсация вредного влияния несоосности валов достигается:
за счет подвижности практически жестких деталей - компенсирующие жесткие
муфты;
за счет деформации упругих деталей - упругие муфты.
Наибольшее распространение из группы компенсирующих жестких муфт получили
кулачково-дисковая со скользящим вкладышем и зубчатая.
Кулачково-дисковая муфта (рис. 27) состоит из двух полумуфт 1 и 2 и промежуточного
диска 3. На внутреннем торце каждой полумуфты образовано по одному диаметрально
расположенному пазу. У собранной муфты выступы диска располагаются в пазах
полумуфт. Перпендикулярное расположение пазов позволяет муфте компенсировать
эксцентриситет и перекос валов. При этом выступы скользят в пазах, а центр
диска описывает окружность радиусом, равным эксцентриситету. Зазоры между
диском и полумуфтами позволяют компенсировать также и продольные смещения
валов.
Рис. 27. Кулачково-дисковая муфта
Зубчатая муфта (рис. 28) состоит из двух полумуфт с наружными зубьями и
разъемной обоймы с двумя рядами внутренних зубьев. Муфта компенсирует все виды
смещения валов. Зубчатые муфты обладают компактностью и хорошими
компенсирующими свойствами. Их широко применяют в машиностроении, особенно для
передачи больших крутящих моментов.
Рис. 28. Зубчатая муфта
Управляемые или сцепные муфты. Эти муфты позволяют соединять или
разъединять валы при помощи механизма управления. По принципу работы все эти
муфты можно разделить на две группы:
муфты, основанные на зацеплении (кулачковые и зубчатые);
муфты, основанные на трении (фрикционные).
В кулачковой муфте (рис. 29) на торцах полумуфт выполняют кулачки. Для
включения и выключения муфты одну из полумуфт устанавливают на валу подвижно в
осевом направлении. Кулачки муфты могут иметь прямоугольный, трапецеидальный
симметричный и несимметричный профиль. Эти муфты требуют точной центровки
валов.
Рис. 29. Кулачковая муфта
При включении фрикционных муфт крутящий момент возрастает постепенно по
мере увеличения силы нажатия на поверхности трения. Это позволяет соединять
валы под нагрузкой и с большой разностью начальных угловых скоростей. В
процессе включения муфта пробуксовывает, а разгон ведомого вала происходит
плавно, без удара. Будучи отрегулированной на передачу предельного крутящего
момента, безопасного для прочности машины, фрикционная муфта выполняет
одновременно функции предохранительного устройства.
Муфты автоматические или самоуправляемые. Эти муфты предназначены для
автоматического разъединения валов в тех случаях, когда параметры работы машины
становятся недопустимыми по тем или иным показателям. Они предъявляют высокие
требования к соосности валов.
К ним относят:
муфты предохранительные служат для защиты машины от перегрузки.
Например, муфта со специальным разрушающимся элементом, рассчитанным на
определенную величину передаваемого крутящего момента (рис. 30) или кулачковая
предохранительная с трапецеидальным профилем кулачков, которые под действием
осевых сил, превышающих норму, раздвигают полумуфты и выводят их из зацепления;
центробежные муфты соединяют валы только тогда, когда угловая скорость
превысит некоторую заданную величину. Их используют для включения
исполнительного механизма с помощью регулировки угловой скорости двигателя; для
разгона машин с большими маховыми массами при двигателе с малым пусковым
моментом; для повышения плавности пуска;
Рис. 30.
Муфта предохранительная упругая втулочно-пальчиковая - муфты свободного
хода передают крутящий момент только в одном заданном направлении. Их применяют
в станках, автомобилях. Простейшим их представителем является устройство с
храповиком. Сюда же относят фрикционные шариковые или роликовые муфты.
В тех случаях, когда ни одна из рассмотренных выше муфт не может
полностью удовлетворить всем требованиям, предъявляемым к соединению валов,
используют комбинированные муфты, обычно сочетающие в себе комбинации упругих
муфт с предохранительными или управляемыми.
Дифференциалы
Дифференциал - это механическое устройство, которое делит момент входного
вала между выходными валами, которые называются полуосями. Наиболее широко
применяется в конструкции привода автомобилей, где момент от выходного вала
коробки передач (или карданного вала) поровну делится между полуосями правого и
левого колеса. В полноприводных автомобилях также может применяться для деления
момента в заданном соотношении между ведущими осями, хотя здесь достаточно
распространены конструкции и без дифференциала (например, свискомуфтой).
Необходимость применения дифференциала в конструкции
привода автомобилей обусловлена тем, что внешнее колесо при повороте проходит
более длинную дугу, чем внутреннее. То есть при вращении ведущих колёс с
одинаковой скоростью поворот возможен только с пробуксовкой, а это негативно
сказывается на управляемости и сильно повышает износ шин.
Назначение дифференциала в автомобилях:
§ позволяет ведущим колёсам вращаться с
разными угловыми скоростями;
§ неразрывно передаёт крутящий момент
от двигателя на ведущие колёса;
§ в сочетании с главной передачей
служит дополнительной понижающей передачей.
В случае единственного приводного колеса или
отдельного двигателя для каждого из ведущих колёс дифференциал не требуется. В
конструкции раллийных автомобилей иногда дифференциал намертво блокируют
(заваривают), жёстко связывая колёса ведущей оси - это допустимо, так как на
гравии или снегу в ралли повороты проходятся только с заносом. Также
дифференциал отсутствует в конструкции картов, при этом их рамы обычно
позволяют вывешивать ведущее заднее колесо с внутренней стороны поворота без
отрыва передних колёс от трассы. В веломобилях с ведущей осью вместо
дифференциала часто применяются более простые и доступные трещотки (обгонные
муфты) в колёсах - такой привод допускает вращение колёс на ведущей оси с
разной скоростью, но при этом весь момент передаётся только на то колесо,
которое медленнее вращается.
Классические автомобильные дифференциалы основаны на
планетарной передаче. Карданный вал 1 через коническую зубчатую передачу
передает вращение на корпус дифференциала 2. Корпус дифференциала через
независимые друг от друга шестерни (сателлиты) 3 вращает полуоси 4. Такое
зацепление имеет не одну, а две степени свободы, и каждая из полуосей вращается
с такой скоростью, с какой может. Постоянна лишь суммарная скорость вращения
полуосей.
Может показаться, что обычный дифференциал - это
бессмысленный механизм, который направляет крутящий момент двигателя именно на
то колесо, которое легче прокручивается. Конечно, целесообразнее было бы
передавать больше крутящего момента на колесо с лучшим сцеплением, но этого не
происходит в силу устройства дифференциала.
Дело в том, что создаваемый двигателем момент зависит
от силы реакции на каждом из ведущих колёс автомобиля. В случае потери
сцепления одним из колёс, его сопротивление падает, а раскрутка происходит без
существенного увеличения момента сопротивления (трение скольжения в пятне
контакта меньше трения покоя и несущестенно зависит от скорости пробуксовки). В
момент когда колесо начинает проскальзывать, моменты на колесах тоже равны друг
другу, но при этом они равны наименьшей силе реакции точки опоры в системе
(т.е. у проскальзывающего колеса), а весь лишний момент (который превышает
момент точки опоры) уходит в раскрутку буксующего колеса.
Данную ситуацию можно выразить следующим выражением:
момент не буксующего колеса равен моменту буксующего колеса плюс момент на
раскрутку буксующего колеса.
Ручная блокировка дифференциала
По команде из кабины шестерни дифференциала
блокируются, и колёса вращаются синхронно. Таким образом, дифференциал стоит
блокировать перед преодолением сложных участков пути (вязкий грунт,
препятствия), и затем отключать блокировку после выезда на обычную дорогу.
Также нужно знать, что крутящий момент, создаваемый мотором, настолько велик,
что может сломать механизм блокировки или полуось. Обычно производители
автомобиля отдельно указывают рекомендованную максимальную скорость движения
при заблокированном дифференциале, в случае ее превышения возможны поломки
трансмиссии. Включенная блокировка, особенно в переднем мосту, отрицательно
влияет на управляемость.
Электронное управление дифференциалом
На внедорожниках, снабжённых антипробуксовочной
системой (TRC и другие), если одно из колёс буксует, оно подтормаживается
рабочим тормозом.
Преимущество электронного управления в том, что
повышается тяга в повороте, и степень блокировки можно настроить в зависимости
от предпочтений гонщика. На прямой совсем не теряется мощность двигателя.
Недостаток в том, что датчики и исполнительные механизмы обладают некоторой
инерцией, и такой дифференциал нечувствителен к быстро меняющимся дорожным
условиям.
Фрикционный самоблокирующийся дифференциал

Этот тип дифференциала (как, впрочем, и вязкостная
муфта) основан на том, что на прямой полуоси вращаются синхронно с корпусом
дифференциала, но в повороте появляется разница в угловых скоростях.
Между корпусом дифференциала 2 и полуосевой шестерней
4 установлен фрикцион (в зависимости от конструкции, фрикцион может быть
установлен с одной стороны или с двух; на ходовые качества это не влияет).
Когда автомобиль движется по прямой, корпус и шестерня вращаются с одной и той
же скоростью, и потерь нет. При появлении разницы в скоростях вращения корпуса
и шестерни на отстающую шестерню подается дополнительный крутящий момент из-за
наличия трения между шестерней и корпусом дифференциала.
Этот вид дифференциала требует периодического
обслуживания (так как трущиеся части фрикциона изнашиваются, снижается сила
трения и эффективность блокировки) и поэтому редко устанавливается на серийные
машины.
Вязкостная муфта (Вискомуфта)
Упрощённый вариант фрикционного дифференциала. На
одной из полуосей имеется резервуар, заполненный вязкой жидкостью. В эту
жидкость погружены два пакета дисков; один соединён с ротором, второй с
полуосью. Чем больше разница в скоростях колёс, тем больше разница в скоростях
вращения дисков, и тем больше вязкое сопротивление.
Достоинство такой конструкции в простоте и дешевизне.
Недостаток в том, что вязкостная муфта довольно инерционна и отказывается
работать на полном бездорожье. Хороших ходовых качеств вязкостная муфта не
обеспечивает. Для установки в качестве осевого дифференциала такая конструкция
слишком громоздка.
Иногда вместо дифференциала ставят коническую зубчатую
передачу с вязкостной муфтой на одной из полуосей.
Кулачковый/зубчатый самоблокирующийся дифференциал
Принцип действия аналогичен, но полуоси соединяются
зубчатой или кулачковой парой. Таким образом, при пробуксовке одного из колёс
дифференциал резко блокируется. Поэтому такая система применяется только в
военной и специальной технике, где нужно большое тяговое усилие и долговечность
в ущерб управляемости.
Гидророторный самоблокирующийся дифференциал
Попытка повысить эффективность и долговечность фрикционного
дифференциала. При возникновении разницы в угловых скоростях насос закачивает
жидкость в цилиндр, и поршень сжимает фрикционный пакет, блокируя дифференциал.
Шестеренчатые самоблокирующиеся дифференциалы
Существует три типа таких дифференциалов - планетарные,
типа Quaife и типа Torsen. Все они основаны на свойстве косозубой
или червячной передачи «заклинивать» при определённом соотношении крутящих
моментов. Такие дифференциалы передают бо́льшую часть крутящего момента (до 80
%) небуксующему колесу.
Недостатки: сложность; большая потеря мощности, чем у
обычного дифференциала.
Дифференциал типа Torsen изобретён в 1958 г.
американцем Верноном Глизманом. Имеет достоинства вязкостной муфты и не имеет
её недостатков. Принцип работы основан на свойстве червячной передачи
«расклиниваться»..
Разновидностей конструкций не так уж и много - можно
выделить три основных:
Первый тип(T-1) Червячными парами являются шестерни
ведущих полуосей и сателлиты. При этом каждая полуось имеет собственные
сателлиты, которые парно связанны с сателлитами противоположной полуоси обычным
прямозубым зацеплением. Следует отметить, что ось сателлита перпендикулярна
полуоси. При нормальном движении и равенстве передаваемых на полуоси моментов,
червячные пары «сателлит / ведущая шестерня» либо остановлены, либо
проворачиваются, обеспечивая разницу угловых скоростей полуосей в повороте. Как
только дифференциал пытается отдать момент на одну из полуосей, то червячную
пару этой полуоси начинает расклинивать и блокировать с чашкой дифференциала,
что приводит к частичной блокировке дифференциала. Данная конструкция работает
в самом большом диапазоне отношений крутящего момента - от 2.5/1 до 5.0/1, то
есть является самой мощной в серии. Диапазон срабатывания регулируется углом
наклона зубцов червяка.
Второй тип(T-2) В данном случае, оси сателлитов
параллельны полуосям. Сателлиты расположены в своеобразных карманах чашки
дифференциала. При этом парные сателлиты имеют косозубое зацепление, которое
расклиниваясь, так же участвует в процессе блокировки
Третий тип(Т-3) Планетарная структура конструкции
позволяет сместить номинальное распределение момента в пользу одной из осей.
Срабатывание частичной блокировки происходит при 20-30 % разнице в передаваемых
на оси моментах. Подобная структура дифференциала делает его компактным, что в
свою очередь, упрощает конструкцию и улучшает компоновку раздаточной коробки.
В отличие от других конструкций, датчики вращающего
момента работают практически в любых условиях. Даже если колеса вращаются с
различными скоростями (поворот, прохождение через ухабы), они тем не менее
всегда получают вращающий момент основанный на сцеплении.
Данные дифференциалы не требуют применения специальных
присадок к маслу (в отличие от фрикционных дифференциалов), однако лучше
использовать качественное масло для нагруженных гипоидных передач.
Ступицы
механизм машина передача привод
Ступица колеса
Большинство двигателей, используемых в машиностроении,
создают вращательное движение. Поэтому в инженерной практике часто встречается
задача передачи крутящего момента от выходного вала на элементы приводов -
шкивы, звездочки и др.
Различают два основных способа передачи крутящего
момента: жесткий и фрикционный. При первом способе крутящий момент передается
жесткими элементами, работающими на срез, изгиб или смятие. При втором - силами
трения, получаемыми на цилиндрических, конических или торцовых поверхностях
вала.
Главные виды жестких соединений: шпоночные, шлицевые,
профильные, штифтовые и фланцевые. К фрикционным относятся соединения с
натягом, конусные, клеммовые и с зажимными кольцами.
фрикционные винтовые затяжные ступицы и гидравлические
зажимные ступицы ,представляющие дальнейшее развитие зажимных колец.
Такая ступица с помощью сил трения передает крутящий момент с гладкого
цилиндрического вала отбора мощности на приводимый элемент с гладким цилиндрическим
отверстием. Поставляются зажимные ступицы готовым блоком.
Применяются зажимные ступицы для передачи крутящего
момента с вала на шкив в ременных передачах; с вала на звездочку в цепных
передачах; с вала на зубчатое колесо; на барабаны ленточных конвейеров; для
фиксации кривошипов; соединения валов (выполняют роль жесткой муфты). А
поскольку зубчатые, ременные и цепные передачи имеют широкое распространение в
машиностроении, то, соответственно, зажимные ступицы можно встретить в самых
разных машинах.
Основное преимущество зажимных ступиц - возможность
бесступенчатой регулировки осевого положения приводимого элемента (шкива,
звездочки, зубчатого колеса, барабана). К другим достоинствам следует отнести:
снижение стоимости изготовления валов и шкивов (звездочек); увеличение
прочности вала, т.к. сечение не ослабляется шпоночным пазом или шлицами;
соединение нечувствительно к динамическим и вибрационным нагрузкам;
сравнительная простота сборки с использованием стандартных инструментов;
механизм защищен от превышения крутящего момента проскальзыванием по валу
(однако, такого режима следует избегать). Недостатками зажимных ступиц
являются: сравнительно высокие требования к культуре сборки агрегата; возможное
увеличение стоимости привода в целом (определяется для каждого случая
индивидуально).
Винтовая зажимная ступица состоит из наружного кольца;
внутреннего кольца и затяжных винтов . Кольца сопрягаются по коническим
поверхностям и имеют разрез. При затягивании винтов внутреннее и наружное
кольца надвигаются одно на другое. При этом наружное кольцо растягивается и
плотно прижимается к ступице, а внутренне кольцо сжимается и плотно прижимается
к валу. Вследствие этого на поверхности вала и отверстия возникает натяг и
соединение способно передавать крутящий момент силами трения на трех
поверхностях. Момент затяжки винтов нормируется производителем. Для демонтажа
ступицы предусмотрены резьбовые отверстия.
Требования к посадочной поверхности валов и отверстий приводных элементов
сравнительно невысоки. Максимально допустимые отклонения валов по h8,
отверстий - H8. Допустимая шероховатость поверхности - Rz16.
Производители предлагают
конструкторам-машиностроителям целую гамму винтовых зажимных ступиц, имеющих
различные области применения. Прежде всего, существуют ступицы внутренней и
наружной установки.
Различают также самоцентрирующие и нецентрирующие
зажимные ступицы. Самоцентрирующие ступицы не требуют дополнительных
конструкторских мероприятий для обеспечения центровки шкива относительно вала.
Величина несоосности указана в каталогах производителей и обычно находится в
пределах 0,02…0,04 мм. Нецентрирующие зажимные ступицы центровки не
дают, поэтому необходимо предусматривать центрирующую поверхность на
охватывающей детали.
Наиболее универсальными являются ступицы, имеют
компактную и простую конструкцию. При установке ступицы, она упирается буртом в
охватывающую деталь. В этом случае при затяжке отсутствует осевое смещение
охватывающей детали. Ступицы не передают больший крутящий момент, однако, при
затяжке ступиц происходит небольшое осевое смещение деталей. Данный тип ступиц
самоцентрирующийся. Диапазон передаваемого крутящего момента для подобных
конструкции зажимных ступиц T=428…44 056 Нм, допускаемая осевая сила F=43…640
кН при диаметре вала d=20…180 мм соответственно.
Существует так же ступицы, которые обеспечивают более
точную центровку и больший передаваемый момент (примерно на 10…30%). Это
достигается за счет увеличения длины посадочной поверхности. Диапазон
передаваемого крутящего момента для подобных конструкции зажимных ступицT=513…57
642 Нм при диаметре вала d=20…180 мм соответственно.
Для приводных элементов, которые по конструктивным
ограничениям имеют ограничение по наружному диаметру (толщине стенки),
применяют винтовые зажимные ступицы. Это достигается за счет переноса
резьбового фланца за посадочное место ступицы и увеличения длины посадочного
места. Передаваемый крутящий моментT=14…23 911 Нм при диаметре вала d=6…130
мм соответственно.
В приводах, где действуют большие динамические или
вибрационные нагрузки, применяют винтовые зажимные ступицы с удвоенным
количеством поверхностей трения. Для этого добавляется еще одно внутреннее
коническое кольцо, а наружное кольцо выполняется с двумя ответными
поверхностями трения. Данные ступицы являются самоцентрирующимися. Передаваемый
крутящий момент T=714…797 384 Нм, допускаемая осевая сила F=59…3 987
кН при диаметре вала d=24…400 мм соответственно. Например,
такие конструкции применяют в барабанах ленточных конвейеров. Следует иметь
ввиду, что при установке нескольких ступиц для высоких нагрузок на один вал,
необходимо ввести уменьшающий коэффициент передаваемого момента.
В качестве недостатка рассмотренных выше конструкций
указывалась относительно высокая трудоемкость сборки. представлена коническая
зажимная ступица с центральной шлицевой гайкой. Сборка аналогична установке
подшипников на затяжных втулках. Эти ступицы допускают изготовление валов с
отклонением по h9, отверстий - H9. Передаваемый крутящий момент T=10,1…2
320 Нм при диаметре вала d=5…50 мм соответственно. Ступица
самоцентрирующаяся.
Рассмотренные выше зажимные ступицы центровали
приводной элемент с валом. нецентрующая ступица с двумя внутренними кольцами и
одним наружным. Эта конструкция имеет меньшие габариты. Требования к посадочным
поверхностям самые низкие: отклонение вала поh11, отверстия - H11.
Благодаря увеличенному числу поверхностей трения нагрузочная способность ступиц
высокая: передаваемый крутящий моментT=240…773 517 Нм при диаметре вала d=18…600
мм соответственно. При установке нескольких ступиц на один вал расчетный
передаваемый крутящий момент необходимо уменьшить (см. выше).
Простейшим и самым дешевым вариантом, предлагаемым
производителями, являются два зажимных кольца. Такие кольца используются только
в паре с зажимным фланцем, изготовленным потребителем. Соединение предназначено
для передачи небольших крутящих моментов. Свойством самоцентрирования кольца не
обладают. Требования к посадочным поверхностям более жесткие: отклонение вала
по h6, отверстия - H7 для соединений диаметром менее 38 мм;
при больших диаметрах отклонение вала по h8, отверстия - H8. Рекомендуемая
шероховатость поверхности - Rz6.Передаваемый крутящий момент T=2…178
138 Нм при диаметре вала d=6…400 мм соответственно.
Допускается устанавливать до 4 пар зажимных колец на один вал-ступицу. Для двух
ступиц передаваемый момент равен для трех , для четырех .
Существует ступица внешней установки. В этой конструкции зажимная ступица
насаживается на тонкостенный полый вал (хвостовик приводного элемента).
Создаваемое при затяжке давление деформирует охватываемую деталь, прижимая ее к
сплошному валу. Сил трения хватает для передачи небольших и средних нагрузок.
Посадка полого хвостовика (вала) по сплошному валу H6/j6 для диаметров
18…30 мм; H6/h6 для диаметров 31…50 мм;H6/g6 для диаметров
51…80 мм и H7/g6 для диаметров 81…500 мм. Отклонения
наружного диаметра полого хвостовика (вала) по h6. Передаваемый крутящий
момент T=24…7 200 Нм при диаметре вала d=14…90 мм
соответственно.
Производители предлагают также и другие модификации
винтовых зажимных ступиц. Для более полной информации необходимо обратиться к
соответствующим каталогам. Однако, помимо винтовых производятся и
гидравлические зажимные ступицы, изображенные на. Такая ступица представляет
собой тонкостенную полую втулку, заполненную жидкостью. Во втулке расположено
уплотнительное кольцо и поршень, на который воздействует нажимной фланец.
Усилие на нажимном фланце создают зажимные винты, ввернутые в резьбовые
отверстия на фланце полой втулки. Затяжка винтов приводит к перемещению
нажимного фланца и поршня. При перемещении поршня создается давление,
распирающее втулку. Деформированная втулка создает силы трения на вале и в
ступице приводного элемента. Количество зажимных винтов в таких ступицах
меньше, чем в механических ступицах (от 4 до 8).
Также существует другие разновидности гидравлической зажимной ступицы. В
этой конструкции во фланец втулки установлен поршень с уплотнением, упирающийся
в зажимной винт. При его затяжке поршень перемещается и создает давление,
распирающее втулку.
Основным достоинством гидравлических ступиц является
быстрота сборки - разборки. В отличие от винтовых ступиц, где необходимо
затягивать от 4 до 14 винтов, в гидравлических ступицах оперируют существенно
меньшим количеством винтов, либо вообще одним винтом. Передаваемый крутящий
момент 940 Нм и 1100 Нм. В случае механической ступицы необходимо
равномерно затянуть 14 винтов, а гидравлической 6 или 1 винт. Такая ступица
более компактная.
Недостаткам гидравлических ступиц следует отнести
чувствительность к изменению температуры. Поскольку мы имеем дело с жидкостью,
заключенной в ограниченный объем, то при нагреве (или охлаждении) происходит
увеличение (или уменьшение) внутреннего давления. Пропорционально изменяется
величина передаваемого крутящего момента. Диапазон допустимой рабочей
температуры t=-30…+85°С. Коэффициенты коррекции крутящего момента для
различных типов ступиц приведены в каталогах производителей.
Другой недостаток - уменьшение величины передаваемого
крутящего момента с увеличением частоты вращения вала. Падение несущей
способности может быть существенным. Так, для одного из типов ступиц,
передаваемый крутящий момент T=2 000 Нм при n=0 мин-1,
T=1 200 Нм при n=15 000 мин-1 и T=0 Нм при n=23
000 мин-1! Поэтому при установке гидравлических ступиц на
быстроходные валы необходимо проконсультироваться с производителем.
Передаваемый крутящий момент гидравлических ступиц T=46…17
000 Нм при диаметре вала d=15…100 мм соответственно.
Требования к посадочным поверхностям: поле допуска вала по h8, отверстия
- H7. При изготовлении вала с полем допуска по h9 необходимо
уменьшить расчетный крутящий момент на 25%, а при поле допуска по k6 увеличить
на 20%. Рекомендуемая шероховатость поверхности - Ra 1…3 мкм. Гидравлические
ступицы самоцентрирующиеся. Точность центрирования у них сравнимая или даже
выше (несоосность менее 0,02 мм), чем у механических.
Принцип создания поверхностного давления с помощью
гидравлики расширяет области применения зажимных ступиц. Механизм с двумя
гидравлическими ступицами, подсоединенными к одному источнику давления, такая
конструкция позволяет быстро изменять взаимное положение плиты и толкателей.
Предлагаются и другие типы гидрозажимных ступиц.
Литература
http://files.lib.sfu-kras.ru/ebibl/umkd/Kosolapova/u_lectures.pdf://www.prikladmeh.ru/lect4.htm://www.cherch.ru/mechanicheskie_peredachi/remennie_peredachi.html://www.detalmach.ru/lect10.htm://www.licrym.org/index.php/%D0%9C%D1%83%D1%84%D1%82%D1%8B://www.ohotniki.ru/transport/boats/article/2012/01/26/634428-chto-takoe-differentsial-i-dlya-chego-nuzhnyi-blokirovki.html