Определение вероятности брака для формообразующих операций, выполняемых в условиях несовмещения баз

  • Вид работы:
    Практическое задание
  • Предмет:
    Другое
  • Язык:
    Русский
    ,
    Формат файла:
    MS Word
    21,2 Кб
  • Опубликовано:
    2012-06-06
Вы можете узнать стоимость помощи в написании студенческой работы.
Помощь в написании работы, которую точно примут!

Определение вероятности брака для формообразующих операций, выполняемых в условиях несовмещения баз

Министерство образования и науки Украины

Национальный аэрокосмический университет

им. Н.Е. Жуковского «ХАИ»










Определение вероятности брака для формообразующих операций, выполняемых в условиях несовмещения баз

Лабораторная работа №4 по курсу:

“Технология авиадвигателестроения”









Харьков, 2007

 

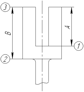
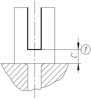
Рис. 1. Эскиз детали           Рис. 2. Эскиз обработки детали

Исходные данные:

А=56 ± 0,055 мм.

В=90 - 0,060 мм.

С=С ± 0,075 мм.

С=В - А = 90 - 56 = 34 мм.ИК = SУК = δВ = 0,060 мм.

Исходя из условия получения размера  до рассматриваемой операции, обеспечивающей размер C, заданный чертежный размер  получается последним в операции «сам собой», т.е. становится замыкающим звеном A´ в цепи: A´= B - C = 90 - 34 = 56 мм.

Верхнее отклонение замыкающего звена A´ равно разнице верхнего отклонения звена В и нижнего отклонения звена C:

мм.

Соответственно нижнее отклонение звена A´ равно разнице нижнего отклонения звена В и верхнего отклонения звена C´:

мм.

Сравнивая заданный чертежный размер АЗ с ожидаемым значением технологического размера A´, можно установить соответствие и вероятность брака. В результате получаем действительный (технологический) размер = мм.










Рис. 3. Расчетная схема для нормального закона распределения

Для нормального закона распределения расстояния от центра группирования до границ поля допуска

В1 = Ац - АЗном = 55,970 - 55,945 = 0,025 мм,

В2 = АЗмакс - Ац = 56,055 -55,970 = 0,085 мм.

Принимая δ АЗ = 6σ, получаем

Тогда величины параметров (z1 и z2) нормированной функции Лапласа будут z1 = В1 : σ = 1,366, z2 = В2 : σ = 4,644.

По таблице значений нормированной функции Лапласа Ф(z) находим ее значения для соответствующих z1 и z2: Ф(z1) = 0,4236; Ф(z2) = 0,4999. 

Брак составит

= 1 - (Ф(z1)+ Ф(z2)) = 1 - (0,4236 + 0,4999) = 0,0765 = 7,65 %.

На рис. 4 приведена расчетная схема для треугольного закона и закона равной вероятности распределения.


Рис. 4. Расчетная схема для треугольного закона и закона равной вероятности распределения

Для треугольного закона брак составит

 

Для закона равной вероятности (пунктирная линия PQ на рис. 4) брак составит

.

Похожие работы на - Определение вероятности брака для формообразующих операций, выполняемых в условиях несовмещения баз

 

Не нашли материал для своей работы?
Поможем написать уникальную работу
Без плагиата!
Без нейросетей!