Нахождение оптимальных условий для протекания производственных процессов, экономии сырья и материалов
Содержание
Введение
1. Описание объекта
1.1 Общие сведения о ОАО «ЕВРАЗ ЗСМК»
1.2Характеристика существующей технологии и системы управления
1.3 Машина непрерывного литья заготовок
1.4 Контроль технологического процесса
1.5 Метрологическое обеспечение
1.6 Дефекты непрерывного слитка
2. Создание математической модели кристаллизации слитка и
образования дефектов
2.1 Математическая модель кристаллизатора
2.2 Математическая модель дефектов
2.3. Проверка адекватности модели
3. Программное обеспечение автоматизированной технологии
3.1 Алгоритмы расчета основных параметров модели
3.2 Разработка интерфейса
4. Экономическая часть
4.1. Расчет затрат на проектирование
4.2. Затраты на внедрение системы
4.3 Экономическая эффективность проекта
5. Управление качеством
5.1 Методы управления качеством
5.2 Причины дефектов и способы их устранения
6. Безопасность и экологичность проекта
6.1 Охрана труда
6.2 Мероприятия по безопасности труда при эксплуатации УПСА
6.3 Мероприятия по производственной санитарии
6.4 Пожарная безопасность
6.5 Охрана окружающей среды
6.6 Мероприятия при чрезвычайных ситуациях
Заключение
Список использованных источников
Введение
Важнейшей проблемой, стоящей перед отечественной
металлургией, является повышение эффективности производства и улучшение
качества выпускаемой металлопродукции. В области непрерывной разливки стали
это, прежде всего, создание современных конкурентоспособных MHJI3, расширение
типоразмерного и марочного сортамента непрерывнолитой заготовки, по форме и
профилю близкой к конечной продукции и обеспечение гарантированного качества
металла при наименьших затратах по переделу.
Автоматизированный контроль направлен на
своевременное выявление дефектов поверхности и реже на определение дефектов
макроструктуры. Поверхностные и внутренние дефекты возникают в непрерывнолитых
слитках по целому ряду причин, которые нередко комбинируются и усиливают
взаимодействие друг друга. Для исключения возможности образования дефектов,
обусловленных характером работы УНРС, требуется анализ влияния металлургических
факторов на качество непрерывнолитых слитков. Существует два основных подхода к
созданию автоматизированной системы контроля качества заготовок. Один из них
базируется на использовании математических моделей, устанавливающих взаимосвязи
между параметрами процесса разливки, характеризующими условия формирования
заготовки.
Целью дипломного проекта является нахождение
оптимальных условий для протекания производственных процессов, экономии сырья и
материалов. Главной задачей данного проекта является повышение качества
непрерывнолитой заготовки. Для этого в работе применялись методы оптимизации в
среде Microsoft Excel и программирование в среде Delphi c использованием
технологических инструкций ОАО «НКМК» и экспериментальных данных.
1. Описание объекта
.1 Общие сведения о ОАО «ЕВРАЗ ЗСМК»
.07.2011г. создано ОАО «ЕВРАЗ Объединенный
Западно-Сибирский металлургический комбинат», в состав которого вошли два
комбината - ОАО «НКМК» и ОАО «ЗСМК».
Решение об объединении ОАО «НКМК» и ОАО «ЗСМК» в
одно предприятие было продиктовано рядом причин, таких как необходимость
повышения конкурентоспособности предприятий, снижения производственных
издержек, управленческих и административных затрат, формирование единой
корпоративной культуры, единого стандарта в области управления персоналом и
социальной политики. Ранее, в 2007-2009 гг. произошло объединения ряда
управленческих функций (дирекции по правовым вопросам, дирекции по
информационным технологиям, дирекции по транспорту, дирекции по социальным
вопросам), которое доказало эффективность принятого решения о сокращении
управленческих уровней. В 2009 г. коксохимические производства объединены в
рамках филиала ЗСМК - «Евраз Кокс - Сибирь». История ОАО «ЕВРАЗ ЗСМК» - это
история двух легендарных комбинатов.
История Новокузнецкого металлургического
комбината начинается со строительства гиганта советской индустрии - Кузнецкого
металлургического комбината (КМК), который был возведен за 1000 дней. В июне
1929 года начались первые земляные работы на площадке Кузнецкстроя, а уже в
апреле 1932 года был получен первый чугун. 30 декабря 1932 года были прокатаны
первые рельсы Сибири. Так впервые в мировой практике металлургический цикл
замкнулся за один год.
- 1940 годы - идет формирование «кузнецкой
металлургической школы». Осваиваются новые производственные мощности,
технологии, зарождаются и укрепляются традиции рационализаторства,
изобретательства, трудовых соревнований. Мощность завода по сравнению с
проектной увеличена в 1,5 раза.
За успешное выполнение заданий Государственного
Комитета Обороны по обеспечению страны высококачественным металлом для
производства танков, самолетов, вооружения и боеприпасов в годы Великой
Отечественной войны КМК награжден: 10 апреля 1943 года - орденом Ленина; 31
марта 1945 года - орденом Трудового Красного Знамени; 13 сентября 1945 года -
орденом Кутузова 1 степени. 17 февраля 1971 года КМК награжден орденом
Октябрьской Революции за большие достижения в выполнении пятилетнего плана по
увеличению выпуска металла на действующих мощностях и в повышении эффективности
производства.
В состав ОАО «ЕВРАЗ-ЗСМК» входят следующие цеха:
Площадь комбината - 1233 Га; Количество
трудящихся - 5071 человек (в январе 2010 г.).
Начиная с 2002 года по настоящее время в рамках
программы модернизации рельсового производства введены в эксплуатацию следующие
объекты:
Печь с шагающими балками в РБЦ;
АКОС №1 и АКОС №2 вакууматор в ЭСПЦ;
Цех разделения воздуха;
Замена подины печи ДСП №2 в ЭСПЦ на эркерный
выпуск;
На сегодняшний день ОАО «ЕВРАЗ-ЗСМК» успешно
прошла модернизацию рельсового производства в целом.
Комбинат может в полном объеме удовлетворить
потребности в качественной рельсовой продукции, соответствующей новому, более
жесткому, ГОСТу. Реконструкция позволила обеспечить производство рельсов из
непрерывнолитой заготовки с достижением требований по геометрическим
параметрам, качеству поверхности, неметаллическим включениям, массовой доле
кислорода, водорода и азота, механическим свойствам.[1]
.2 Характеристика существующей технологии и
системы управления
Электросталеплавильный цех
Характеристика ЭСПЦ
Электросталеплавильный цех №2 введен в
эксплуатацию в 1980-81г.г. Цех состоит из двух отделений: электропечного и
отделения непрерывной разливки стали (ОНРС). Электропечное отделение состоит из
4 пролетов: шихтового, бункерного, печного и разливочного. ОНРС состоит из 5
пролетов: раздаточного, МНЛЗ, двух вспомогательных пролетов и термозачистного
отделения. Отделение непрерывной разливки стали введено в эксплуатацию в
1989-90г.г.
Цех оснащен двумя электропечами типа ДСП-100И7 и
ДСП-100Н10 емкостью 100 тонн.
Основной продукцией цеха является рельсовый
металл марок: НЭ76Ф, Э76Ф, Э76Ф(СС2). Низкотемпературные, износостойкие для ж/д
транспорта, высокоскоростные, трамвайные, крановые.
Также производится сталь марок:
Ст20 - трубная сталь для производства труб на
ОАО «НТМК»;
Ст3, Ст5 - для производства листопроката и
сортового проката.
Шихтовый пролет
Схематический план шихтового пролета представлен
на рисунке 1.
В шихтовом пролете производится приемка,
разгрузка и хранение определенного запаса металлолома (легковесной обрези с
листостана и тяжелой обрези рельсобалочного цеха и цеха сортового проката),
шлакообразующих материалов и ферросплавов, подготовка материалов к плавке и
передача их в печной пролет для загрузки в печи.
Стальной лом доставляется в шихтовый пролет
железнодорожным транспортом в контейнерах объемом 14м3 и с помощью кранов
грузоподъемностью 30/15 т. перегружается в бадьи, установленные на самоходных
скраповозных тележках. Тележка с загруженной бадьей взвешивается на
платформенных весах и передается в печной пролет для загрузки электропечей.
Магнитный лом перегружается в бункеры глубиной 3 метра.
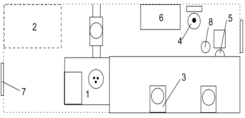
- железнодорожный путь; 2 - автовъезд; 3 - ямные
бункера для металлолома; 4 - ямный бункер для чугуна; 5 - участок для резервных
контейнеров с ломом; 6 - участок для технологического оборудования; 7 -
напольные весы; 8 - загрузочная бадья; 9 - помещение для вспомогательных служб;
10 - участок для электродов
Рисунок 1 - План шихтового пролета
Автотранспортом и на ж/д платформах в шихтовый
пролёт также поступают следующие материалы: чугун чушковый; электроды;
алюминий; кокс и коксовый порошок; магнезит электропечной; жидкое стекло; часть
ферросплавов.
Чушковый чугун хранится в отдельном бункере.
Электроды, поступающие в цех, выгружают мостовым краном на напольные стеллажи,
откуда они передаются на балкон рабочей площадки. В функции шихтового пролёта
входит так же закачка коксовой пыли из ж/д ёмкостей в накопительную ёмкость установки
для вдувания коксовой пыли в электропечь №1, №2. Пыль поступает по ж/д пути в
цистернах с ЗСМК. [3]
Средний вес первой бадьи сейчас составляет 57
тонн при насыпной массе металлолома 0,76 т/м3. Ширина пролета 30 метров, длина
- 169 метров. В пролете установлены три мульдо-магнитных крана г/п 30/15 тонн.
Бункерный пролет
Предназначен для приемки, разгрузки и хранения
ферросплавов и шлакообразующих. Расположен над печным пролетом. Ширина пролета
12,5 метров. Ферросплавы и шлакообразующие материалы подаются в бункерный
пролет цеха автотранспортом в саморазгружающихся контейнерах, которые с помощью
крана грузоподъемностью 20/5 тонн в расходные бункеры. Каждая печь снабжена
отдельной группой бункеров. По точкам загрузки материалы распределяются
автоматизированной системой дозирования и подачи сыпучих материалов.
Печной пролет
Работа печного пролета подчинена выполнению
следующих задач:
доставка и загрузка в печь металлошихты,
шлакообразующих и ферросплавов;
заправка печей, доставка электродов и
организация их наращивания по мере расхода;
выпуск жидкого металла в сталеразливочный ковш;
организация капитальных, холодных и горячих
ремонтов печей.
План печного пролета ЭСПЦ показан на рисунке 2.
- дуговая печь; 2 - проем для подачи загрузочной
бадьи; 3 - пост управления;
- мульдозавалочная машина; 5 - печь для
прокаливания материалов; 6 - место для наращивания электродов; 7 - печной
трансформатор; 8 - бадья на бадьевозе; 9 - комфортблок; 10 - сводовое отделение
Рисунок 2 - План печного пролета
В печном пролете размещаются две дуговые
сталеплавильные печи типа ДСП-100И7 и ДСП-100Н10, электропечь №1 оснащена
трансформатором мощностью 80 МВА, электропечь №2 с эркерным выпуском металла -
95 МВА. Печи установлены на фундаментах. Обслуживание печей происходит с
рабочей площадки, которая возвышается относительно нулевой отметки уровня цеха
на 8 метров. Дуговая сталеплавильная печь (ДСП) на современном этапе развития
металлургии является наряду с кислородным конвертером одним из основных
агрегатов сталеплавильного производства. ДСП переменного тока получили развитие
в черной металлургии и машиностроении для выплавки высококачественных
высоколегированных сталей, таких как коррозионностойкие, трансформаторные,
подшипниковые, инструментальные и другие. ДСП особенно большой вместимости
(100-200 т) используют и для выплавки рядовых углеродистых сталей. В качестве
шихтовых материалов в ДСП используют отходы собственного металлургического
производства, амортизационный лом, различного вида ферросплавы, в
незначительных количествах в завалке применяют твердый чугун.
В последние годы возникла концепция
преимущественной установки ДСП на мини-заводах, которые, как правило,
дислоцируются в непосредственной близости от источников образования лома.
Под рабочей площадкой размещаются часть
электропечной подстанции, склады огнеупоров, ремонтные мастерские, тракты
подвода газообразного кислорода, природного газа. В одном из торцов пролета,
полностью перекрытом рабочей площадкой, расположен участок для сборки, ремонта
и опрессовки водоохлаждаемого свода и стеновых панелей. Ширина печного пролета
составляет 36 метров. Расстояние между печами - 45 метров. В печном пролете
работает три электромостовых литейных крана, 2 грузоподъемностью 210/63/20 и
один 180/63/20 тонн. [3]
Доставка и загрузка металлошихты из шихтового
пролета и крановой эстакады в печной осуществляется в саморазгружающихся бадьях
(с шихтой), которые на тележках по поперечным путям передаются из шихтового
пролета в печной. Доставка шлакообразующих материалов и ферросплавов в печной
пролет осуществляется из шихтового и бункерного пролетов. Сырые материалы
(магнезит) подается в пролет в мешках. Загрузка сыпучих материалов в печь
осуществляется через труботечку из бункерного пролета.
Технология плавки электростали
Выплавка стали в печах производится одношлаковым
процессом с выпуском без раскисления металла и шлака в печи. Она включает в
себя следующие этапы плавки:
загрузка металлолома;
проплавление;
подвалка;
заливка жидкого чугуна;
расплавление;
выпуск.
Плавка стали осуществляется на «болоте». Полное
скачивание «болота» производится перед ппр.
После выпуска предыдущей плавки сталевар печи
визуально проверяет состояние подины, откосов, исправность стеновых панелей и
шибера эркера. Затем шибер эркера закрывается и выпускное отверстие засыпается
стартовой смесью.
Разливочный пролет
Ширина разливочного пролета составляет 30
метров. В торце пролета расположены два железнодорожных пути. Один (горячий
путь) предназначен для приема составов, жидкого чугуна в чугуновозном ковше,
второй служит для подачи шлаковых чаш, думпкаров под бой кирпича и мусора,
вагонов с огнеупорными материалами и оборудованием. Для погрузочно-разгрузочных
работ в пролете работает два электромостовых литейных крана грузоподъемностью 180/63/20
и 210/63/20 т.
План разливочного пролета ЭСПЦ-2 показан на
рисунке 3.
- сталевоз; 2 - ж/д пути; 3 - шлаковая чаша; 4 -
сталеразливочный ковш;
- стенд для сушки футеровки стальковша; 6 -
стенд для разогрева футеровки стальковша; 7 - участок для ремонта футеровки
стальковшей; 8 - стенд для установки шиберных затворов; 9 - поворотный стенд;
10 - АКОС №2; 11 - комфортблок; 12 - стенд для ломки футеровки стальковшей; 13
- автовъезд.
Рисунок 3 - План разливочного пролета
Внепечная обработка стали осуществляется на АКП
№2 в разливочном пролете и на АКП №1 в раздаточном пролете ОНРС. На АКОС
выполняются практически все технологические операции: раскисление, легирование,
десульфурация, вдувание порошкообразных материалов, подогрев металла, продувка
металла нейтральным газом. АКП (рисунок 4) оснащен комплектом устройств для
ввода порошков; системой бункеров и дозаторов для ферросплавов и сыпучих
материалов, устройством для подачи алюминиевой проволоки, подачи в сталь нейтральных
газов.
После выпуска плавки ковш с металлом на
сталевозе транспортируется в разливочный пролет, где берется краном и
переставляется на сталевоз АКП №2. Затем - под водоохлаждаемую крышку АКП.
Управление сталевозом дистанционное.
Сталеразливочные ковши представляют собой
открытую футерованную емкость, предназначенную для приема плавки из печи и
разливки на МНЛЗ.
- пост управления; 2 - водоохлаждаемая крышка; 3
- труботечка; 4 - Электроды; 5 - электрододержатели; 6 - трансформаторная
подстанция;
- сталеразливочный ковш с металлом 8 - сталевоз.
Рисунок 4 - АКП
Основными элементами футеровки ковша являются:
корпус, шиберный затвор и футеровка. В ЭСПЦ-2 используются ковши емкостью 130
тонн. Ковши имеют цапфы и обслуживаются мостовыми кранами, оснащенными
траверсами с двумя крюками. Такие ковши можно устанавливать только на
специальные стенды или укладывать на бок.
Шиберный затвор предназначен для выпуска металла
из сталеразливочного ковша. Принцип работы шиберного затвора заключается в том,
что относительно неподвижно закрепленного в днище ковша сталеразливочного
стакана с отверстием перемещается элемент из огнеупорного материала с
отверстием, установленный снаружи ковша. При совпадении осей отверстий в
подвижном и неподвижном огнеупорных элементах происходит полное открывание
отверстия и обеспечивается максимальная скорость струи из ковша.
Отделение непрерывной разливки стали
Отделение состоит из 5 пролетов: раздаточного,
пролета МНЛЗ, передаточного, транспортно-отделочного и термо-зачистного
отделения.
Раздаточный пролет
Раздаточный пролет служит для:
приема и обработки стали на АКП №1, доводки ее
до требуемой температуре и химическому составу;
обработки стали на вакууматоре;
приема и установки сталеразливочного ковша с
металлом на подъемно-поворотный стенд МНЛЗ;
транспортировки порожних сталеразливочных ковшей
для кантовки шлака и установки на сталевозе.
Ширина пролета 27 метров. Для
погрузочно-разгрузочных работ в пролете работают два электромостовых литейных
крана грузоподъемностью 180/63/20 тонн. План раздаточного пролета представлен
на рисунке 5.
- АКП №1; 2 - вакууматор; 3 -
подъемно-поворотный стенд МНЛЗ; 4 - стенд для сушки футеровки стальковшей; 5 -
стенд для обработки стальковшей; 6 - участок для набора фурм; 7 - автовъезд; 8
- шлаковая чаша.
Рисунок 5 - План раздаточного пролета
В раздаточном пролете располагается АКП №1,
который работает в одной технологической линии с печью №1. В настоящее время
продувка стали в ковше осуществляется при помощи аргона, поступающего через
пористую огнеупорную пробку в днище ковша.
Пролет МНЛЗ
В литейном пролете (рисунок 6) размещены:
подъемно-поворотные стенды; тележки с промежуточными ковшами 12; МНЛЗ; участок
отстоя промежуточных ковшей; участок для ремонта промковшей.
Для погрузочно-разгрузочных работ в пролете
расположены два мостовых крана грузоподъемностью 50/12,5 тонн. Также краны
участвуют в монтаже и демонтаже клетей и кристаллизаторов, подают и убирают с
рабочей площадки промковши и кристаллизаторы и т. д. Ширина пролета составляет
30 метров.
- подъемно-поворотный стенд; 2 - автовъезд; 3 -
площадка разливщика;
- пульт управления МНЛЗ; 5 - печь для разогрева
погружных стаканов; 6 - участок складирования кристаллизаторов; 7 - участок
отстоя промковшей; 8 - участок для ремонта футеровки промковшей; 9 - стенд для
выдавливания остатков металла промковша; 10 - участок для скрапа промковшей; 11
- стенд сушки футеровки промковшей; 12 - тележка промковшей.
Рисунок 6- План литейного пролета
Для разливки металла в пролете расположены две
МНЛЗ радиального типа с радиусом 12 метров.
Передаточное, Транспортно-отделочное и
Термо-зачистное отделение
В передаточном пролете формируются пакеты
заготовок от всех ручьев МНЛЗ №1 и №2 и передаются при помощи рольганг-телеги в
транспортно-отделочный пролет. Здесь размещены сталкиватели, с помощью которых
заготовки собираются в один пакет, для передачи в термозачистное отделение
(ТЗО). ТЗО служит для: зачистки, замедленного охлаждения и отгрузки в прокатные
цеха заготовок. Ямы замедленного охлаждения заготовок, кроме отгрузочного,
расположены и в передаточном пролете.
Доставка заготовок в прокатные цеха
осуществляется на железнодорожном транспорте[2, 3, 4].
Информационно-технологическая система ЭСПЦ
Информационно-технологическая система ЭСПЦ,
далее по тексту - ИТС, предназначена для формирования электронной базы данных
(БД), паспорта производства стали ЭСПЦ, для оформления паспорта плавки участка
ДСП в печатном виде, для своевременного обеспечения достоверной информацией о
технологическом процессе технологического и управленческого персонала ЭСПЦ, для
обеспечения оперативной информацией о работе ЭСПЦ АСУ уровня комбината.
ИТС введена 11 июля 2005г и предназначена для
работы в круглосуточном непрерывном режиме.
В основном информация о технологическом процессе
производства стали в ДСП поступает в БД ИТС автоматически из АСУ ТП ДСП и
компьютерной системы химлаборатории.
Запуск ИТС приложения «Основного информационного
экрана» (рис.7) осуществляется через Internet Explorer после запуска Windows и
авторизации.
Рисунок 7 - Основной информационный экран
Ниже приведены экранные формы для формирования
паспорта плавки на МНЛЗ (рис. 8).
Рисунок 8 -
Форма «Паспорт плавки»
Первая часть паспорта плавки МНЛЗ (рис. 9), его
формат и откуда в нём появляются данные.
Далее приводится описание сносок рисунка
«Паспорт плавки», и приводится описание процесса формирования информации в
первой части паспорта плавки МНЛЗ.
.1) Предыдущая плавка в серии. Для первой плавки
в серии там будет пусто. А для остальных плавок в серии - предыдущая плавка.
.2), 1.3) Марка заданная, профиль. Эти параметры
предлагаются с предыдущего агрегата (АКОС).
.4) Номер плавки в серии автоматически
увеличится при приёмке ковша (плавки). Оператор должен своевременно установить
№ плавки в серии в единицу при начале новой серии.
.5) № ковша. Имеется в виду - сталь ковш, и
информация о номере поступает через работу оператора с формой «Движение
ковшей».
.6) Вес ППС - вес стали с весов ППС. Этот блок
работает автоматически, без участия оператора. Оператор обязан проследить за
качеством этой информации (возможен отказ в работе весов).
Рисунок 9 - Паспорт плавки (первая часть)
.1) № промковша, тип футеровки промковша,
температура футеровки промковша, защита струи из сталь ковша, остаток металла в
промковше, аварийный скрап, тип ШОС в промковше, эти параметры паспорта плавки
формируются оператором в форме «Общие данные».
.2) Сечение кристаллизатора, номер кристаллизатора,
стойкость кристаллизатора, тип ШОС для кристаллизатора, все эти параметры также
формируются в форме «Общие данные».
.3) Расход воды на кристаллизатор. Вычисляется
ИТС на основе информации о расходе воды на кристаллизатор (с датчиков) за период
времени от начала разливки до конца разливки.
.1) Время подачи, открытия и закрытия сталь
ковша ИТС сформирует на основе информации с весов ППС.
.2) Время открытия стопоров, наполнение
кристаллизатора, время запуска машины предложатся ИТС.
.3) Начало разливки, окончание разливки по
каждому ручью соответствуют резу начала и окончания данной плавки.
.1) Температура стали в промковше. Эта
информация не может быть исправлена оператором! Информация о замерах
температуры в промковше вводится в ИТС автоматически и изменится человеком не
может!
.2) Все параметры этой части паспорта плавки
формируются оператором поста управления №2 через форму «Карта порезки».
Параметры карты порезки предложатся компьютером. Оператор поста №2 проверяет
параметры предложенные компьютером вносит свои изменения, и вводит информацию о
карте порезки разлитой плавки.
.1) Остановки по ручьям. Остановки по ручьям
формируются (предлагаются) компьютером.
.1) Химанализ ШОС. Информация о химанализе ШОС
поступает в ИТС автоматически из химлаборатории, никакой возможности изменять
эту информацию у операторов - нет.
.1) Замечания по плавке. Формируется оператором
в форме «Замечания».
.1) Персонал. Персонал на плавку для паспорта
плавки формируется оператором в формах «Персонал на смену» и «Персонал на
плавку».
Вторая часть паспорта плавки МНЛЗ «Контроль
температурно-скоростного режима разливки стали», его формат и откуда в нём
появляются данные (рис. 10).
Форма «Скорость вытягивания литой заготовки»
является одновременно средством для формирования второй части паспорта плавки -
графическое отображение температурно-скоростного режима разливки плавки.
Информация о скорости разливки, температуре стали в промковше поступает в ИТС с
автоматических датчиков и не может редактироваться или дополняться
человеком-оператором! Таким образом, достигается наивысшая достоверность
информации о температурно-скоростном режиме разливки.
Рисунок 10 - Форма «Скорость вытягивания литой
заготовки»
Информационные экраны ИТС (‘Печь 1’, ‘Печь
2’,’Химанализ’) доступны всем пользователям корпоративной сети ЕВРАЗ-ЗСМК и не
требуют аутентификации. АРМы ИТС - требует проведение аутентификации (ввод
имени и пароля) для допуска.
При первом обращении пользователя к АРМу
(нажатие мышью кнопки “АРМы”) ИТС выполняет запрос на ввод имени пользователи и
пароля (см. рис.11). Имя пользователя необходимо ввести английскими буквами в
соответствии звучания фамилии на русском языке. Например, для ввода имени
пользователя Попова Владимира Ивановича, необходимо ввести - popov_vi и свой
пароль, зарегистрированный в домене «ЕВРАЗ-ЗСМК».
Полученные идентификационные данные проверяются
на их соответствие для допуска к АРМам, и только после этого пользователь может
быть допущен к работе с АРМ- ми ИТС. На экране появится основной информационный
экран работы с доступными АРМами (рис. 12).
Рисунок 11 - Ввод имени и пароля
Рисунок 12 - Основной информационный
экран работы с доступными АРМами
Описание основных полей работы с
АРМ-ми ИТС на примере формы «Экспресс анализы стали» проиллюстрирован на
рисунке 13.
Вся форма условно разделена на пять
частей (выделены красной линией):
Поле со списком форм для
редактирования определенных групп параметров (поз.1), и вызова формы
«Информационные экраны»;
Поле для ввода параметров,
необходимых для выбора необходимого номера плавки (поз.2);
Поле для редактирования и ввода
определенной группы параметров (поз.3);
Поле с кнопками сохранения или
отмены операций ввода (поз.4);
Поле с логотипом и названием ИТС
(поз.5).
Рисунок 13 - Форма
Экспресс анализ стали
Функция отслеживания движения ковшей
по цеху является одной из центральных функций в технологическом процессе производства
стали. Отслеживание осуществляется путем ввода вручную участниками
технологического процесса признаков наличия ковша на агрегате. В связи с тем,
что информация ИТС является общедоступной для всех пользователей, все
одновременно и видят перемещение ковшей по цеху.
Форма предназначена для отслеживания
движения сталеразливочных ковшей в ЭСПЦ. При вызове формы на экране (см. рис.
14) отображается список сталеразливочных ковшей ЭСПЦ с жидким металлом и
номером плавки. В колонке “Агрегат” будет обозначен агрегат, на котором
присутствует ковш и в колонке “длительность”- время нахождения
сталеразливочного ковша с момента поступления его на агрегат.
В нижней части таблицы отображаются
текущие плавки на ДСП с фиксацией времени от начала плавки. В правой части экрана
(в таблице “Общие данные”) отображаются данные по текущей плавке (№ плавки и
заданная марка стали).
Рисунок 14 - Форма «Движение ковшей»
Обновление информации о состоянии
ковшей на экране производится автоматически с интервалом 10 секунд.
Считается, что ковш находится с
жидким металлом до того момента, пока на МНЛЗ не будет введен признак, что ковш
с данной плавкой полностью разлит на агрегате. С этого момента ковш считается
пустым (номер плавки «отвязывается от номера ковша) и строка с этой плавкой
исчезает с экранной формы - «Движение ковшей».
По окончанию работы (смены),
пользователю необходимо закрыть IExplorer (выйти из ИТС).
.3 Машина непрерывного литья
заготовок
Состав технологического оборудования
и технологические характеристики МНЛЗ №2
МНЛЗ №2 отделения непрерывной
разливки стали ЭСПЦ, представляет собой радиальную четырёхручьевую машину
непрерывного литья заготовок (МНЛЗ) производства ЮУМЗ проект 1989 г (рис. 15).
Обозначение: I - радиальный участок
зоны вторичного охлаждения, II - горизонтальный участок, 1 - разливочный ковш,
2 - промежуточный ковш, 3 - радиальный кристаллизатор, 4 - вторичное охлаждение
водой из форсунок, 5 - направляющие ролики, 6 - тянуще-правильные ролики, 7
-резак, 8 - рольганг горизонтального участка.
Рисунок 15 - Радиальная МНЛЗ
Сущность способа непрерывной
разливки стали заключается в том, что жидкую сталь непрерывно заливают в
водоохлаждаемую изложницу без дна - кристаллизатор, из нижней части которого
вытягивают затвердевший по периферии слиток с жидкой сердцевиной. Далее слиток
движется через зону вторичного охлаждения, где полностью затвердевает, после
чего его разрезают на куски определенной длины. Разливку ведут до
израсходования металла в сталеразливочном ковше или же разливают без перерыва
металл из нескольких сталеразливочных ковшей.
Агрегаты для непрерывной разливки
стали называют машинами непрерывного литья заготовок (МНЛЗ) или установками
непрерывной разливки стали (УНРС).
Кратко рассмотрим основные
технологические узлы МНЛЗ:
Промежуточный ковш предназначен для
приема из сталеразливочного ковша жидкого металла и распределение его по
отдельным ручьям машины с минимальными потерями тепла при одновременном
обеспечении предотвращения вторичного окисления расплавленного металла и
загрязнения его неметаллическими включениями.
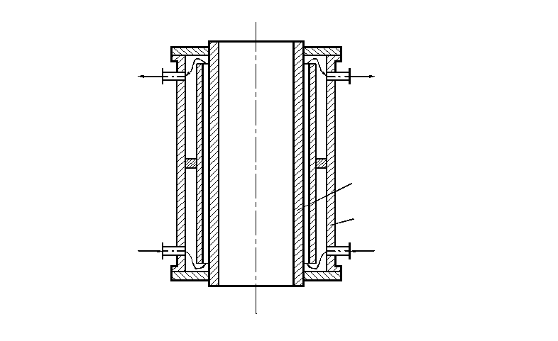
Кристаллизатор является одним из
важнейших узлов МНЛЗ, который в значительной степени определяет их
производительность и качество получаемой продукции, так как в кристаллизаторе
формируется слиток. Кристаллизатор должен обеспечивать интенсивный отвод тепла
от кристаллизующейся стали и образование по периметру корочки, которая на
выходе должна выдерживать ферростатическое давление жидкой фазы. Поскольку в
кристаллизаторе формируется оболочка слитка необходимой толщины и прочности,
такие дефекты заготовок как наружные складки и ужимы находятся в прямой
зависимости от конструктивных и теплофизических характеристик кристаллизатора,
способа подачи металла в кристаллизатор и защиты от вторичного окисления.
В состав основного технологического
оборудования МНЛЗ входят:
) стенд подъемно-поворотный
для сталеразливочных ковшей емкостью 130 т;
) оборудование разливочной
площадки, включающее в себя: установку тележек для промежуточных ковшей;
промежуточные ковши; шлаковни; аварийные емкости; кристаллизаторы; механизмы
качания кристаллизаторов; площадку разливщика; устройства для разогрева
промежуточных ковшей;
) оборудование
радиально-транспортного участка, включающее в себя: секции вторичного
охлаждения; секции поддерживающих роликов; тянущие клети; механизм тянуще -
правильный; резак - для порезки непрерывно - литого слитка в потоке;
) оборудование приемной линии
транспортно-отделочного отделения МНЛЗ: рольганги спаренные; устройство для
центрирования затравки; гидравлические опускающиеся упоры; установку
клеймителей для клеймения заготовок в оба торца нарезанных резаком;
) транспортно-отделочное
оборудование, включающее: рольганг-тележку сдвоенную; участки хранения
заготовок; участок загрузки печи замедленного охлаждения; участок выдачи слитка
из печи замедленного охлаждения; участок нарезки заготовок; механизированный
стеллаж с кантователем; участок порезки темплетов.
Кроме того, МНЛЗ укомплектованы
системой объемных гидроприводов, системой пластичной и жидкой смазки
оборудования, системой подачи воды к кристаллизаторам и узлам машин, воды и
воздуха к вторичному охлаждению, а также предусмотрены места для встройки
электромагнитного перемешивания.
МНЛЗ оборудована поворотным стендом,
удерживающим сталеразливочный ковш над промежуточным и обеспечивающим быструю
смену ковшей при разливке методом «плавка на плавку». Для замены промежуточного
ковша применяют тележки, перемещаемые под поворотным стендом по рельсовому
пути.
В кристаллизаторе действует система
водяного охлаждения. Внутренняя часть кристаллизатора, соприкасающаяся с жидким
металлом, выполнена из высокотеплопроводной меди. Кристаллизатор состоит из
четырех стенок, скрепленных между собой с помощью специальных стяжных устройств.
Каждая стенка состоит из медной и стальной плит, соединенных между собой
шпильками. Для предотвращения коробления медных плит их толщина составляет 20
мм.
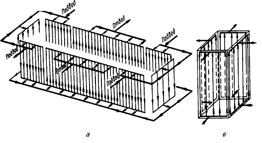
Зона вторичного охлаждения состоит
из трех секций и имеет секционную систему водо-воздушного охлаждения.
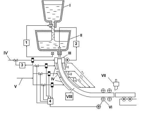
На рисунке 16 показана система
регулирования подачи воды к кристаллизаторам и узлам машин, воды и воздуха к
вторичному охлаждению, регулированию уровню металла.
сталеразливочный ковш;
II-промежуточный ковш; III-кристаллизатор; IV-вода, подаваемая на охлаждение
кристаллизатора; V-вода, подаваемая на зону вторичного охлаждения; VI-тянущие
клети; VII-резак; VIII-измерение температуры слитка на выходе зоны вторичного
охлаждения; 1-регулирование уровня металла в промежуточном ковше;
2-регулирование уровня металла в кристаллизаторе; 3-регулирование расхода воды,
подаваемой на охлаждение кристаллизатора; 4-регулирование расхода вводы,
подаваемой в зону вторичного охлаждения.
Рисунок 16 - Машина непрерывного
литья заготовок
В таблице 1 приведены основные
технические характеристики
МНЛЗ №2.
Таблица 1 - Технические
характеристики МНЛЗ №2
|
Наименование
характеристики
|
Количественный
(качественный) показатель
|
|
1.
Тип машины
|
радиальная
|
|
2.
Число ручьев
|
4
|
|
3.
Базовый радиус
|
12
м
|
|
4.
Емкость сталеразливочного ковша
|
130
т
|
|
5.
Емкость промежуточного ковша
|
25
т
|
|
6.
Технологическая скорость разливки
|
0,5-0,75
м/мин
|
|
7.
Сечение заготовки
|
300х340
мм
|
|
8.
Длина порезки мерных слитков
|
3;
4; 6 м
|
|
9.
Максимальный диапазон регулирования скорости разливки
|
0,2-1,5
м/мин
|
|
10.
Тип затравки
|
гибкая,
цепная
|
|
11.
Скорость ввода затравки
|
0,23
м/мин
|
|
12.
Диапазон регулирования частоты качания кристаллизатора
|
20-125
кач/мин
|
|
13.
Ход кристаллизатора
|
5-14,5
мм
|
|
14.
Скорость транспортировки заготовок рольгангами
|
0,82
м/с
|
|
15.
Метод разливки
|
"плавка
на плавку"
|
Описание технологии непрерывной разливки стали
на МНЛЗ №2
Основными условиями осуществления процесса
непрерывной разливки стали являются:
подготовка металла к разливке и
последовательность проведения технологических операций в процессе разливки;
подготовка и проверка всех узлов, механизмов и
контрольно-измерительных приборов МНЛЗ перед разливкой, а также выполнение
текущих и плановых ремонтов;
тщательная подготовка сталеразливочных,
промежуточных ковшей и подводящих устройств.
Технология процесса непрерывной разливки стали
содержит следующую последовательность действий:
а) Подготовка металла к непрерывной разливке.
Подготовка металла для разливки на МНЛЗ
производится на стенде внепечной обработки стали.
Температура металла в сталеразливочном ковше
(стальковше) плавки, взятой на новый промежуточный ковш (промковш) перед его
установкой на МНЛЗ должна быть на 10-15 °С выше верхнего предела для
разливаемой марки стали.
б) Подготовка МНЛЗ к разливке.
Ответственность за подготовку узлов и механизмов
МНЛЗ к разливке несут мастер и старший оператор МНЛЗ.
Проверяется состояние кристаллизаторов. С плиты
кристаллизатора удаляются остатки шлака, металла, шлакообразующей смеси,
которые при этом запрещается сбрасывать в полость кристаллизатора. Рабочие
стенки кристаллизатора очищаются от остатков шлака, корольков металла,
продуваются сжатым воздухом. Проводится осмотр состояния рабочей поверхности
кристаллизатора. Мелкие дефекты в виде задиров, царапин, заусенцев зачищаются.
При необходимости производится подчеканка стыков. Контролируется отсутствие
течи воды в рабочую полость кристаллизатора, а также в местах ее подвода и
слива.
Производится подготовка затравок. Ввод затравки
в кристаллизатор контролируется оператором визуально.
На тележку промковша подают подготовленный
промежуточный ковш и устанавливают на стенд разогрева промежуточных ковшей.
Промежуточный ковш для снижения тепловых потерь накрывают футерованной крышкой,
а перед началом разливки ковш прогревают до температуры 1100-1200 °С.
До начала выпуска металла из печи мастер МНЛЗ
проверяет:
фактическую готовность МНЛЗ к работе;
наличие аварийных емкостей и шлаковен;
наличие инструментов и материалов.
После этого сообщает на пульт управления марку
стали и заданные мерные длины порезки заготовок.
Оператор пульта управления за 15 минут до начала
разливки проверяет наличие обслуживающего персонала на рабочих местах и дает
команду на следующие действия: сборка гидро- и электросхемы; проверка давления
воды, сжатого воздуха, природного газа, кислорода и аргона; проверка работы
резака; включение пароотсоса; установка механизмов в исходное положение;
проверка охлаждения оборудования и при необходимости подача воды на отдельные
элементы.
Прекращается подача горючего газа к горелкам
устройства разогрева промковша, которое поднимается в верхнее положение. После
этого разогретый промежуточный ковш перемещается тележкой для промковша в
рабочую позицию (над кристаллизаторами), на выпускные отверстия ковша
устанавливается четыре огнеупорных подогретых стакана. Промежуточный ковш -
общий для четырех ручьев МНЛЗ, четырехстопорный. В обойму устройства для защиты
струи металла от окисления на пути из стальковша в промковш вставляется
предварительно нагретый защитный стакан.
На промковш навешиваются исполнительные
механизмы (по одному на стопор), обеспечивающие возможность дистанционного,
ручного, а также автоматического управления стопорами.
Промковш опускается в нижнее рабочее положение.
Жидкий металл от электропечей к МНЛЗ подается в сталеразливочном ковше, который
литейным краном устанавливается на траверсу подъемно-поворотного стенда. При
необходимости для уменьшения потерь тепла стальковш накрывается крышкой. В
резервной позиции на один из шиберных затворов (стальковш имеет два шибера)
навешивается управляющий гидроцилиндр. Поворотом траверсы на 180°
сталеразливочный ковш перемещается в позицию разливки (над промковшом).
в) Разливка стали.
Перед началом разливки открываются задвижки
системы подвода воды к кристаллизаторам, вторичному охлаждению и оборудованию
МНЛЗ. Перед подачей металла на МНЛЗ с помощью локальной информационной системы
производится контроль готовности всех систем МНЛЗ к разливке. Разливку стали из
стальковша начинают по команде мастера МНЛЗ или старшего разливщика, при этом
разливочные стаканы промковша должны быть плотно закрыты стопорами.
Сталеразливочный ковш опускается в нижнее
рабочее положение. Открывают шибер сталеразливочного ковша. Если металл не
поступает в промежуточный ковш при открытом шиберном затворе, канал
сталеразливочного стакана прожигают с помощью кислорода до появления металла.
На поверхность жидкого металла наводят шлак путем засыпки шлакообразующей смеси
или перлито-графитовой смеси. Расход утепляющих смесей - 0,5 кг/т.
По достижению уровня металла в промковше не
менее 450 - 550 мм открываются стопора и производится наполнение
кристаллизаторов жидким металлом. Одновременно с наполнением кристаллизаторов
подают воду и воздух в первую секцию зоны вторичного охлаждения, а затем во
вторую и третью секции зоны вторичного охлаждения.
Наполнение кристаллизаторов и пуск ручьев
производят в течение 40-60 c следующим образом.
Стопор промковша открывают на полную струю,
через 2-5 с проверяют на закрытие и производят приработку. Одновременно с
началом подачи металла в кристаллизатор дают охладитель (выштамповка цеха
рельсовых скреплений или использованные “угольники” литого металла). После
наполнения половины кристаллизатора производят дополнительную дачу охладителя.
С целью уменьшения потерь тепла на зеркало металла добавляют шлакообразующие
материалы, которые, взаимодействуя с жидким металлом, расплавляются и образуют
слой жидкого шлака. Кристаллизатор наполняют металлом до уровня 120 - 150 мм от
верхней кромки стенок кристаллизатора, включают механизм качания
кристаллизатора и механизмы вращения валков и тянущих клетей для вытягивания
затравки со скоростью 0,2 м/мин. Вытягивание затравки со слитком вначале
производится тянущей клетью на малой скорости с плавным увеличением до
технологической скорости разливки 0,6 м/мин.
Рабочая скорость разливки металла должна
составлять 0,6 м/мин. При отклонении температуры металла в промежуточном ковше
от нормы скорость разливки уменьшают (увеличивают) на 0,1 м/мин на каждые 10 °С
превышения (понижения) верхнего (нижнего) предела температуры металла в
промковше.
Расход воды и воздуха на вторичное охлаждение
устанавливается в зависимости от скорости разливки и отслеживается
автоматически. При отказе автоматики переходят на ручной режим работы.
После запуска всех ручьев промковш опускают до
погружения нижних торцов стаканов в металл на 100 - 120 мм. При этом уровень
металла в кристаллизаторах в течение всей разливки поддерживают в пределах 110
± 10 мм от верхнего среза кристаллизатора (определяется визуально или с помощью
гамма-уровнемеров).
Замер температуры металла в промковше производят
в начале, в середине и конце разливки.
По окончании разливки плавки закрывают шиберное
устройство сталеразливочного ковша, отсоединяют гидроцилиндры шиберных
устройств. Скорость разливки плавно снижают до 0,3 - 0,5 м/мин и заканчивают
разливку из промковша.
По окончании подачи металла в кристаллизаторы
соответствующие стопора промковша закрываются по возможности на мерной длине.
Скорость вытягивания снижается до 0,15 м/мин до выхода заготовки из
кристаллизатора.
После окончания разливки плавки или серии плавок
снимаются гидроцилиндры привода стопора, снимаются погружные стаканы.
Промежуточный ковш поднимается и переводится в резервную позицию,
обрабатывается, а затем передается на участок ремонта промковшей.
Отрезание переднего конца слитка и последующий
порез слитка на мерные заготовки производится газовым резаком. Резак
перемещается вместе со слитком во время резки и возвращается в исходное
положение после отрезания очередной заготовки.
После того, как у поднятых упоров всех четырех
ручьев соберутся четыре заготовки, к МНЛЗ подходит сдвоенная рольганг-тележка.
После ее точной установки по оси МНЛЗ опускаются упоры, происходит клеймение
заготовок в торец клеймителями, а затем заготовки загружаются на
рольганг-тележку. Тележка транспортирует заготовки на линию загрузки печи
замедленного охлаждения темплетов. Из печи заготовки загружаются на рольганги
линии выгрузки печи, транспортируются, а затем сталкивателем передаются на
стеллаж.
Заготовки со стеллажей убираются краном. Для
осмотра и удаления дефектов заготовок предназначен стеллаж с кантователем.
Для порезки заготовок на длины 1,5 и 2 м
предназначен участок порезки заготовок. Порезка заготовок и отрезка темплетов
производится машинами газовой резки.
При непрерывной разливки сериями существуют
некоторые особенности технологического процесса, которые необходимо пояснить.
Методом "плавка на плавку" разливается
сталь только одной марки. Количество плавок, разливаемых через один промковш,
определяется состоянием его футеровки, стопоров, стаканов.
Промежуточный ковш перед сменой
сталеразливочного ковша наполняют металлом до максимально допустимой высоты (до
сливного носка). Смену сталь ковшей осуществляют путем вращения стенда,
скорость разливки при этом устанавливается не более 0,5 м/мин.
Непосредственно перед открытием нового
стальковша производится измерение остатков металла предыдущей плавки в
промковше кислородной трубкой или визуально по кирпичам промковша. Выход на
рабочую скорость осуществляется плавно в течение одной минуты.
Разделение серии на плавки и выделение
переходной зоны осуществляется следующим образом.
В момент поступления металла новой плавки в
промковш оператор пульта управления фиксирует этот момент в памяти ЭВМ. На
цифровом табло высвечивается расстояние от резака до пояса, разделяющего
плавки. С этого момента идет обратный отсчет длины отлитой заготовки. Данная
цифровая индикация при переходе через “0” указывает, что в этом месте “стык”
плавок.
В случае разливки разных марок стали через один
промковш (по указанию начальника цеха) рассчитывается протяженность переходного
участка. В случае смены промковша переходной зоной является 1,5 м от пояса в
предыдущей плавке и не менее 400 мм от пояса в последующей.
Годовой фонд времени работы МНЛЗ принят 300
суток в год, время подготовки МНЛЗ к разливке после одиночной плавки - 60
минут.
Сведения о технологическом процессе, регламенте
и режиме
Технологический процесс выплавки стали является
непрерывно дискретным с наличием значительного количества не контролируемых и
не прогнозируемых возмущений и помех. Кроме того, он характеризуется
отсутствием возможности непрерывного контроля основных переменных
электротермического процесса (температуры металла, концентрации компонентов и
т. д.) и сложностью математических моделей взаимосвязи основных переменных
процесса и нерешённостью задач их параметрической идентификации.
Электропечь ДСП - 100 и 7 эксплуатируется в
технологической линии с установкой внепечной обработки стали и МНЛЗ.
Длительность плавки при производительности технологической линии 400 / 500 тыс.
т. в год не должна превышать 100 минут. При этом продолжительность периодов
плавки должна соответствовать следующим ориентировочным показателям:
предплавочные операции (заправка, завалка,
подвалка, замена и пропуск элементов) - не более 20 минут;
расплавление (под током) - не более 55 минут;
доводка и выпуск - не более 25 минут.
Технология производства стали в ДСП - 100
высокой производительности характеризуется следующими основными положениями:
Марочный сортамент включает в углеродистые,
низколегированные легированные стали.
Основным принципам технологического процесса
является ориентация плавки в печи на расплавление шихты, окисление
рафинирование (дефосфоризация, обезуглероживание) и нагрев металла до
температуры выпуска (1600° - 1700° С) с последующей десульфурацией,
легированием, корректировка расплава и температуры в ковше при внепечной
обработке, в том числе и с другим подогревом стали. При отсутствие подогрева в
ковше операция легирования может частично осуществляться в печи.
Основными составляющими шихты является
подготовленный стальной лом и внутризаводские отходы, а также чушковый чугун.
При наличие особых требований к качеству стали в состав шихты включаются
металлизированные окатыши. Металлозавалка готовится в страпном отделении цеха,
где где подготовленный лом с помощью кранов загружается в завалочные корзины.
Корзины в процессе заполнения шихтой взвешиваются. Металлозавалка должна
составляться таким образом, чтобы обеспечить загрузку печи не более, чем в два
приёма: завалка - 70/75 тонн, подвалка - 35/40 тонн. Общий вес Загружаемой
шихты - не более 115 тонн.
Добавочные материалы (шлакообразующие,
ферросплавы, кокс, окатыши) загружаются в печь через отверстие в своде. В
отдельных случаях легирующие могут вводится через рабочее окно мульфозавалочной
машиной. Предусматривается также подача металла в ковш. Шлакообразующие
материалы и ферросплавы , используемые для выплавки и внепечной обработки
металла, соответствуют стандартным требованиям и техническим условиям.
Для интенсификации расплавление шихты
используются газокислородные горелки ориентировочной мощностью по 7кВт. При
общей длительности расплавление под током 50-55 минут длительность работы
горелки составляет 15-20 минут. Максимальный расход газа на горелку составляет
700 м/час.
Кислород для окислительного рафинирования
подаётся через фурму , вводимую в печь. Расход кислорода через фурму 50 м/мин
при давлении 1.2-1.5 МПа. Длительность продувки - 15-40 мин.
Для обеспечения необходимой стойкости футеровки
и снижения потерь энергии во время доплавления шихты и нагрева жидкого металла
формируют пенистый шлак, экранирующий душ, присадки по ходу плавки известняка
или извести, кокса, окисленых окатышей и вводя кислород через погруженную в металл
фурму.
Для контроля химического состава металла в
процессе плавки обирается 3-4 пробы металла из печи, 1-2 из ковша при внепечной
обработке. Время от момента отбора пробы до получения результатов анализа
составляет 8-10 минут. Выпуск стали из печи производится без печного
окислительного шлака, оставляемого в электропечи с некоторым количеством
металла (до 10 тон ). Масса металла, сливаемая в ковш , измеряется взвешивающим
устройством установленном на сталевозе. Периодически , через 5-7 плавок, металл
и шлак выпускаются полностью, после чего производится заправка футеровки печи.
Технологический процесс выплавления стали в ДСП
состоит из следующих основных стадий и операций:
загрузка шихты в печь;
закрытие свода;
перевод скрапа в жидкое состояние, представляющий
собой ряд стадий (заглубление электродов, проплавление колодцев, формирование
зоны плавления, доплавление, подвалка скрапа);
окислительное рафинирование спомощью кислородной
продувки;
отборы проб металла;
замеры температуры металла;
подача в печь шлакообразующих;
Выпуск металла из печи , отворот свода и наклон
ванны.
Поддержание на каждой стадии оптимальных
электрических режимов позволяет минимизировать продолжительность расплавления и
расход электроэнергии.
Под оптимальными режимами работы ДСП понимается
работа с максимальным термическим КПД при соблюдении ограничений, накладываемых
на температуру футерованных частей стен и свода и на электрические параметры
трансформатора, короткой сети и электродов.
Перечень используемых энергоресурсов и их
характеристики.
Электропитание аппаратуры КИПиА и АСУ ТП ДСП-100
осуществляется переменным трехфазным током частотой 50 Гц, напряжением 380/220
В.
Сжатый воздух давлением 7-8 кгс/см, очищенный и
осушенный до точки росы 40С.
Вода химочищенная 5-7 кгс/см.
Кислород давлением 12-16 кгс/см, частотой не
ниже 99.5% влажностью 0.07 г/нм.
Вода на охлаждение печи.
Основные требования к используемым материалам и
шихтовка плавок
Все материалы: металлическая шихта,
шлакообразующие и ферросплавы - должны соответствовать действующим стандартам и
техническим условиям. При этом материалы, присаживаемые в печь, должны быть
визуально сухими. Металлическая часть шихты должна быть проверена в отношении
взрывобезопасности соответствующими специалистами управления заготовки и
переработки лома. Запрещается в шихту рельсовых плавок использовать
обезличенную обрезь прокатных цехов; отходы, легированные никелем или
молибденом, а также загрязненные оловом, цинком, свинцом, медью и лом с
повышенным содержанием серы и фосфора. Контроль за качеством металлошихты
производится в управлении заготовки и переработки лома.
Шихта составляется следующим образом:
блюминговая обрезь, в т.ч. ЗШ-не более 10 т;
чугун -20-30 т;
лом и отходы с насыпной плотностью 0,8-1,2 т/м3
- остальное,
известь -6-8 т.
Рекомендуется такая укладка шихты в бадьях,
чтобы на подине располагалась малогабаритная, но плотная шихта, выше нее -
тяжеловесная, сверху - мелочь.
Все материалы (шлакообразующие, ферросплавы и
твердые окислители), присаживаемые в печь или в ковш, должны быть сухими
(визуально).
Запрещается использовать известь со следами
гашения.
Размер фракции материалов, применяемых для
раскисления шлака:
порошок кокса 0-5 мм
дробленый ферросилиций 0-20 мм
алюминий в виде дроби.
Размер фракции шлакообразующих и легирующих (ферросилиция,
силикомарганца, феррованадия) - не более 100мм.
Межплавочное обслуживание футеровки печи
Запрещается выплавка рельсовой стали при наличии
значительных разрушений подины и откосов, а также подварки магнезитовым
порошком, после холодного ремонта и простоя более шести часов.
Расплавление
Для ускорения процесса проплавления металлошихты
после выхода на максимальную рабочую ступень трансформатора после завалки и
подвалки производят включение дверной и стеновых газокислородных горелок.
Подача кислорода начинается после проплавления
колодцев и образования жидкой ванны (через 10-15мин после включения печи) с
интенсивностью 1000-1500 м3/ ч с помощью сводовой фурмы либо с использованием
системы «FUCHS».
В конце периода расплавления для удаления
фосфора производится обновление шлака. Для лучшей дефосфорации в печь
присаживаются известь и твердые окислители (железная руда, агломерат и пр.).
Моментом расплавления считается достижение
температуры металла 1500-1530 ºС.
При этом производится отбор первой пробы металла для определения содержания
углерода и остаточных элементов. К этому времени рекомендуется иметь расход
электроэнергии 38000-42000 кВт/час.
Содержание углерода по расплавлении должно быть
не менее 0,92%. При получении в пробе металла по расплавлении содержания
углерода менее 0,92% выплавляется другая марка стали.
Окислительный период
Окисление углерода проводится газообразным
кислородом, вводимым через сводовую водоохлаждаемую фурму, расположенную над
металлом на уровне 200-300мм, с расходом 2000-3000м3/ч либо с помощью установки
«FUCHS» с расходом до 3000 м3/ч.
В течение всего окислительного периода, для
корректировки количества и состава шлака, присаживают шлакообразующие и твердые
окислители. Шлак должен быть пенистым, достаточно жидкоподвижным и «самотеком»
сходить через порог рабочего окна.
Во время окислительного периода отбираются
промежуточные пробы металла для определения химического состава. Интервалы
между пробами определяются начальным содержанием углерода, интенсивностью
окисления и другими конкретными условиями плавки.
При достижении необходимого содержания углерода
(но не менее 0,65%) отбираются две пробы на химанализ. В случае получения
содержания углерода менее 0,65%, фосфора более 0,015% выплавляется другая марка
стали.
После проведения дефосфорации шлаковая чаша
должна быть наполнена не менее чем на 2/3 высоты.
Температура металла перед раскислением должна
быть 1625-1655°С при разливке на МНЛЗ и 1580-1600°С при разливке в изложницы.
Раскисление
Металл в печи предварительно раскисляют кусковым
алюминием в количестве до 50 кг и, при необходимости, ферросилицием или
силикомарганцем из расчета введения в металл до 0,10% кремния без учета угара.
Через две минуты от включения печи после
предварительного раскисления отбирают две пробы для определения химического
состава стали. После получения результатов экспресс-анализа в печь присаживают
необходимое по расчету количество силикомарганца (ферромарганца) и
ферросилиция.
Разрешается корректировка содержания углерода
чугуном до 1500 кг в печи и коксиком до 70 кг в ковше, причем присадка чугуна
должна осуществляться нe позднее, чем за 5 минут до выпуска.
Раскисление шлака в печи производится присадкой
порошка кокса, дробленого ферросилиция ФС75 и гранулированного алюминия в
количестве по 100 кг/плавку каждого.
Выпуск и доводка
Температура металла в печи перед выпуском должна
быть в пределах 1625-1655 ºС
при разливке на МНЛЗ и 1580-1600 ºС
при разливке в изложницы.
Форма и размер сталевыпускного отверстия должны
обеспечивать сход из печи металла и шлака компактной струей.
Начало выпуска плавки производится при
включенной печи.
Раскисление металла 1 группы в ковше во время
выпуска производится присадкой ванадийсодержащих сплавов из расчета ввода в
металл 0,03-0,07% ванадия (для рельсовой стали низкотемпературной надежности
0,05-0,08% ванадия) и силикокальцием из расчета ввода в металл 600-850 г/т либо
комплексными кремний-кальций-ванадийсодержащими сплавами из расчета ввода
ванадия на 0,03-0,07% (для рельсовой стали низкотемпературной надежности
0,05-0,08), кальция 600-850 г/т. Присадка ферросплавов в ковш заканчивается до
наполнения 1/3 высоты ковша.
В начале выпуска в ковш вместе с раскислителями
присаживается, до наполнения 1/3 высоты ковша, шлаковая смесь, состоящая из;
извести 1300-1500 кг,
плавикового шпата 300-400кг.
Присадка алюминия в ковш не допускается.
Рекомендуется следующая укладка ферросплавов и
сыпучих в совок: нижние горизонты- известь, плавиковый шпат, верхние горизонты
- силикокальций и ванадийсодержащие сплавы,
Продолжительность выпуска должна быть не более
10 мин.
Внепечная обработка металла
После выпуска плавки производится обязательная
предварительная двухминутная продувка стали на установках продувки стали азотом
(УПСА), после которой температура должна быть 1580-1620°С при разливке на МНЛЗ
и 1550-1570 ºС при разливке в
изложницы. Отбираются ковшевые пробы металла и шлака. Содержание FeO в шлаке
должно быть не более 3,5%, СаС - не менее 45%, основность - не менее 2.
Разрешается корректировка состава шлака в ковше
после выпуска присадками извести и плавикового шпата (до 200 кг каждого) с
последующей продувкой азотом не менее 5 минут.
Допускается корректировка химического состава
стали в ковше на УПСА присадками силикомарганца (ферромарганца), ферросилиция и
ванадийсодержащих сплавов. Суммарная масса корректирующих присадок ферросплавов
до 400 кг, порциями не более 200 кг с последующей продувкой не менее 3 минут
после каждой порции. При необходимости, после присадки ферросплавов, из ковша
отбирается дополнительные пробы металла.
Допускается корректировка температуры металла в
ковше присадкой выштам-повки общей массой до 600 кг порциями до 200 кг с
обязательной продувкой азотом после присадки каждой порции в течение не менее 2
мин.
Корректировка металла по углероду на УПСА не
допускается.
Длительность продувки азотом после присадки
корректирующих добавок и выштамповки одновременно должна быть не менее 7 мин.
Продувка металла азотом начинается одновременно
с введением корректирующих добавок и выштамповки.
Фурма погружается в металл до включения
концевого выключателя механизма опускания фурмы. Не допускается использование
фурм с отгаром более двух колец (0,5м) при общей длине футерованной части фурмы
3,5 м (14 колец).
Обработка металла азотом производится с расходом
газа 45-60 м3/час, обеспечивающим интенсивное перемешивание металла по всему
объему ковша (при давлении 6-8 атм).
После обработки на УПСА температура перед
разливкой на МНЛЗ должна составлять 1535-1550 ºС,
при разливке в изложницы - 1515-1525 ºС.
При разливке в изложницы выдержка металла в
ковше от конца выпуска до начала разливки должна быть не более одного часа[8,
9, 10, 11].
В случае возврата с МНЛЗ плавка обрабатывается
на УПСА до температур, необходимых для разливки в изложницы. При этом выдержка
металла в ковше не оговаривается и при удовлетворительном температурном
интервале, для разливки на состав, металл аттестуется по прямому назначению с
двойными копровыми испытаниями.
Время от последнего замера температуры на УПCA
до начала разливки должно быть не более 15 мин.
Разливка металла в изложницы
Сталеразливочный ковш устанавливается на
сталевоз не позднее, чем за 5 минут до выпуска плавки. Запрещается подавать
ковш под плавку после ремонта, а также с наличием скрапин.
Состав с изложницами готовится в цехе подготовки
составов и подается к разливочной площадке не позднее, чем за 30 минут до
выпуска плавки.
Изложницы перед разливкой очищаются с помощью
пылесоса и принимаются контролером ОTK и мастером разливки. При осмотре
визуально проверяются:
центровка изложниц на составах;
отсутствие сколов, трещин, сетки разгара,
боковых и донных выгаров;
качество покраски изложниц и отсутствие остатков
шлака на стенках изложниц;
положение прибыльных надставок и отсутствие
зазоров между надставкой и изложницей;
качество обмазки утеплителя;
положение пробок в изложницах;
температура поверхности изложниц и прибыльных
надставок (теплые на ощупь).
При обнаружении дефектов состав или изложница
бракуются с отметкой дефектности в плавильных документах.
Сцепки между парами тележек состава для изложниц
должны быть исправными и проверяться в ЦПС. Перед разливкой плавки мартеновский
состав разделяется на две равные части,
Перед первым открытием шиберных затворов
стакан-коллектор очищают от коксика путем открытия над специальной (копровой)
изложницей.
При замерзании металла в канале ковшевого
стакана последний прожигается кислородом. При сужении или ином изменении формы
струи в процессе разливки стакан-коллектор также промывается кислородом.
Промывание допустимо только над свободным пространством между изложницами.
Открытие шиберных затворов производится плавно в
течение 3-5 сек. на совмещение отверстий в шиберных плитах. Наполнение
изложницы до прибыльной надставки производится полной струей без перерывов и
сокращение струи. Струя должна быть вертикальной и отцентрирована по оси
изложницы.
Образовавшиеся настыли удаляются при переезде на
следующую изложницу. Разрешается удаление настылей при наполнении тела слитка,
при этом не допускается попадание в изложницу потемневших настылей и разбивания
струи металла.
Разливка стали производится в изложницы П8 через
стакан-коллектор с диаметром канала 60 мм. Длительность наполнения тела слитка
- не более 2 минут 30 секунд. Длительность наполнения головной части слитка -
30-90 сек, недолив до верхнего среза утеплителя - не более 60 мм.
Выдержка состава с изложницами у разливочной
площадки - не менее 1часа 20 минут от окончания заливки последнего слитка.
Перестановка состава в этот период запрещается. Время от конца разливки до
снятия прибыльных надставок - не менее 2 часов 35 минут; до посадки в колодцы
блюминга - не более 3 часов 15 минут. В зимний период с 1 ноября по 31 марта
время от конца разливки до снятия утеплителей и общее время прохождения состава
сокращается на 15 минут.
Утепление зеркала металла в изложницах
производится асбеститом в количестве не менее 16 литров на слиток через 1-2
минуты после окончания заливки или керамзитом фракции 0-10 мм в количестве
15-20 литров на слиток через 2,5-3,0 минуты.
Отбор проб для маркировочного анализа
производится в середине состава (на 6-7 слитках). При корректировке стали по
химическому составу на УПСА дополнительно производится отбор проб от двух
первых и трех последних по разливке слитков с фиксированием анализов всех
слитков в паспорте.
Отбор шлака осуществляется на УПСА посредством
намораживания на шомпол.
Разливка металла на МНЛЗ
Металл разливается сериями по 2-4 плавки.
Допускается разливка одиночными плавками Порядок разделения плавок приведен в
ТИ 103-ЭС-388-98.
Подготовка машины непрерывной разливки и
разливка производятся согласно требованиям ТИ 103-ЭC-388-98
В середине разливки из-под стальковша отбираются
две маркировочные пробы металла на химический анализ. Каждая проба маркируется
номером плавки и порядковым номером пробы. В том случае, когда после выпуска
металла из печи химсостав стали корректировали добавками ферросплавов с
последующей продувкой азотом, при разливке на МНЛЗ из-под стальковша
дополнительно отбираются две контрольные пробы металла в начале и в конце
разливки металла из ковша.
Рекомендуется защита струи металла от вторичного
окисления, для чего должна устанавливаться огнеупорна труба на участке
«стальковш-промковш».
Запрещается разливка с погружением стакана в
кристаллизаторе под уровень менее 80 мм.
Температура металла в промковше должна
составлять 1475-1500 ºС.
Соотношение температуры металла в промковше и
скорости разливки должно быть следующим:
менее 1480 ºС 0,6
м/мин
1480-1490 ºС 0,55м/мин
более 1490 ºС 0,5
м/мин
Вторичное охлаждение осуществляется в
соответствии с технологией разливки стали с содержанием углерода более 0,5%
поТИ 103-ЭС-388-98.
Первые заготовки первой плавки в серии, с учетом
хвостовой обрези, должны быть на 800 мм длиннее следующих за ними мерных
заготовок. Хвостовая обрезь отделяется в ТОО и переводится в отходы.
Последняя заготовка в ручье отрезается с
головной обрезью, общей длиной не более 6 м. Отделение головной обрези длиной
1,5м производится в ТОО и обрезь переводится в отходы. Немерные заготовки
переводятся в шаровую заготовку[4,5].
Порядок обработки, маркировки и отгрузки из
ЭСПЦ-2
Рельсовая непрерывнолитая заготовка является
готовым сортом. В части химического состава непрерывнолитая заготовка
аттестуется в ЭСПЦ-2 и приравнивается к требованиям стандартов для готового
проката с учетом допускаемых отклонений, без контроля химического состава стали
в готовом прокате. В случае, если химический состав маркировочной пробы
отличается от требований ГОСТ на величину допускаемых отклонений, плавка
аттестуется по результатам контрольного химического анализа литых блюмов.
По мере выдачи заготовок на стеллаж сталкивателя
они должны незамедлительно транспортироваться для охлаждения в коробах (ямах)
замедленного охлаждения до температуры 200 ºС,
при этом короба должны быть закрыты крышками либо горячим металлом рядовых
марок стали. Температура замеряется стационарными или контактными, термопарами.
Хвостовые и головные заготовки должны отрезаться
при температуре не менее 200 ºС.
Длина заготовки, поставляемой в РБЦ, должна быть
4800+50 мм. Допускается поставка отдельных заготовок длиной 2400+50 мм.
Маркировка порезанных на МНЛЗ заготовок
производится оператором ПУ-2 мелом или вакуумной резиной. Маркировка наносится
на широкой грани хвостового конца заготовки с указанием номера ручья и
порядкового номера заготовки в ручье. Головные блюмы с каждого ручья
дополнительно маркируются литером «А» и номером плавки с хвостового конца.
Хвостовые блюмы дополнительно маркируются с хвостового конца литером «Н» и
номером плавки. Запрещается передача обезличенных заготовок в ТОО.
Оператором ПУ-2 заполняется карта порезки, в
которой указывается: количество заготовок по длинам каждого ручья, общее
количество и общая длина заготовок в плавке, остаток металла в промковше.
После охлаждения заготовок в коробах
замедленного охлаждения на широкой грани хвостовой части каждой заготовки
несмываемой краской наносится маркировка. В маркировке указывается:
номер плавки;
номер ручья;
порядковый номер заготовки от начала разливки
ручья;
марка стали,
Первая, средняя и последняя по разливке
заготовка каждого ручья являются контрольными и маркируются дополнительно
буквами «Н», «С», «А» соответственно. Для контрольных заготовок буквы «Н», «С»,
«А» наносятся также на торцы. В случае забракования первых (последних)
контрольных заготовок берутся последующие (предыдущие) по разливке заготовки. В
случае получения первой или последней заготовки короткой (менее 4800 мм)
контрольной назначается последующая (предыдущая) требуемой длины.
Вырубка дефектов поверхности заготовок не
производится. Заготовки с поверхностными дефектами переводятся в шаровую
заготовку или брак.
Отгрузка заготовок осуществляется по ручьям.
Допускается отгрузка контрольных заготовок с рядовыми одного и того же ручья
сверху отдельным подъемом.
Металл отгружается на склад слитков ЦПС при
наличии накладной, выписываемой мастером ТОО.
Порядок складирования заготовок на складе
слитков ЦПС
Складирование доставленных в ЦПС заготовок
производится на подготовленной площадке.
Заготовки одной плавки складируются отдельным
штабелем. При этом не разрешается складирование в один ряд заготовок разных
ручьев.
Допускается складирование контрольных заготовок
с рядовыми одного и того же ручья.
Заготовки подаются поплавочно в рельсобалочный
цех в простои без металла или под перевалки.
Нагрев непрерывнолитых заготовок под прокатку
рельсов
Посадка в камерные печи рельсобалочного цеха и
выдача в прокатку заготовок производится по ручьям с сопровождением номера
ручья.
Посадка и выдача контрольных заготовок каждого
ручья производится в одно окно камерной печи с фиксацией места посадки каждой
заготовки. Выдача контрольных заготовок в прокатку производится после прокатки
всех остальных заготовок плавки.
Температура печи при посаде холодного металла
должна быть не выше 850 ºС.
Нагрев холодных блюмов производится по
следующему режиму:период - нагрев до температуры печи 1150 ºC
без
коксоприродной смеси;
. II период - выдержка при температуре печи 1150
ºС
в течение 3 часов;
. III период - нагрев до температуры печи
1240-1260 ºС на ручном
управлении с расходом коксоприродной смеси не более 500 м3/ч.
. IV период - нагрев в автоматическом режиме с
установкой заданной температуры 1320-1340 ºС.
. Выдача из печи нагретых блюмов холодного всада
производится по готовности.
. После второго периода разрешается пересаживать
металл в горячую печь для дальнейшего нагрева.
Прокатка рельсов на рельсобалочном стане
Прокатка, отделка, сортировка, складирование и
отгрузка рельсов производится согласно требованиям ТИ 103-СТ.П.-12-96
Все рельсы плавки после прокатки должны быть
загружены в один короб замедленного охлаждения. Рельсы контрольных заготовок
должны находиться в пределах 1-3 верхних рядов. Температуру рельсов при
загрузке в короб рекомендуется иметь не ниже 500 ºС.
.4 Контроль технологического процесса
Управление технического контроля совместно с
мастером печей осуществляет наблюдение за качеством поступающих материалов.
Металлическая шихта, ферросплавы и
науглероживатели, используемые на плавку, подлежат взвешиванию. Точность
взвешивания в сочетании с пределами измерения должна обеспечивать получение
заданного содержания элементов в готовой стали. Шлакообразующие взвешиваются
или отмеряются тарированными емкостями.
Контроль химического состава металла и шлака
осуществляется путем отбора соответствующих проб. Проба должна соответствовать
среднему составу металла (шлака).
Все основные технологические параметры -
используемые материалы и их характеристика, время выполнения операций, состав и
температура металла, отклонения от технологии выплавки и разливки и др.-
фиксируются в паспорте плавки, являющимся основным документом, отображающим
процесс плавки. Количество непрерывнолитых заготовок, их вес и длина заносятся
в карту порезки плавки. Отобранные пробы на ТОО сопровождаются путевкой на
пробы. Отгрузка в ЦПС производится согласно накладным на отгружаемую сталь, в
прокатные цехи сталь отгружается при наличии технологической карты.
.5 Метрологическое обеспечение
Измерение технологических параметров
производится средствами измерений, указанными в ТИ 103-ЭС-388-98, ТИ
103-СТ.П.-12-96.
Применяемые средства измерения должны:
соответствовать ГОСТ и ТУ;
своевременно поверяться в органах Государственной
метрологической службы либо в метрологической службе комбината с оформлением
результатов поверки в паспорте и (или) иметь клеймо поверки.
Физические величины выражены в единицах системы
МКГСС (длина, сила, время: метр, килограмм-сила, секунда). Физические величины
могут быть выражены в единицах системы СИ.
Измерение технологических параметров
производится средствами измерений, указанными в таблице 2.
Таблица 2- Метрологическое обеспечение
|
Технологический
параметр
|
№
пунктов ТИ
|
Средства
измерения
|
Диапазон
измерений
|
Класс
точности, цена деления
|
Суммарная
погрешность измеряемого параметра, %, абсолютная
|
|
|
Масса
шихтовых материалов (в завалочной бадье)
|
2.5
2.6
|
Платформенные
тензометрические весы 4122 П125
|
от
6,3 до 125 т
|
|
+/-
0,5% от НПВ
|
|
|
Масса
шлакообразующих и ферросплавов
|
2.2
|
Дозаторы
весового комплекса 4277К
|
от
0.1 до 1,9 т
|
|
±0,5
% от НПВ (±10 кг)
|
|
|
Масса
ферросплавов (присадка материалов)
|
2.2
7.1
|
Дозаторы
весового комплекса 4278
|
от
0,1 до 4,0 т
|
|
+/-0,5%
от НПВ (+/-20кг)
|
|
|
Масса
ферросплавов (взвешивание в мульдах)
|
7.2
|
Весы
вагонеточные РС 10Ш13
|
От
0 до 10 т
|
|
+/-7,5
кг
|
|
|
Масса
корректирующих добавок при внепечной обработке
|
9.7
|
Весовой
дозатор 4312Д0,5
|
0-500
кг
|
|
1,25%НПВ
+/-6 кг
|
|
|
Расход
аргона (азота) на продувку стали в печах
|
6.5
|
Расходомер
|
0-160
м3/ч
|
|
+/-2,2%
|
|
|
Температура
металла в печи
|
5.6
|
Термоэлектрический
Преобразователь ПР(В) Потенциометр КСП-4
|
1300-1800°С
|
к.т.0,5
|
±0,5
°С
|
|
|
Расход
кислорода на фурму
|
5.3
|
Расходомер
|
0-3200
м3/ч 0-5000 м3/ч
|
|
+/-2,28%
|
|
|
Давление
кислорода на фурму
|
|
Преобразователь
измерит.
|
0-16
кгс/см
|
к.т.0,5
к.т.0,5
|
0,7%
|
|
|
Расход
кислорода на газокислородную горелку
|
5.2
|
Расходомер
|
0-1600
м3/ч 0-3200 м3/ч
|
к.т.1,5
|
+/-2,5%
|
|
|
Давление
кислорода на газокислородную горелку
|
|
Преобразователь
измерительный А-542
|
0-16
кгс/см2
|
к.т.0,5
к.т.0,5
|
0,7%
|
|
|
Температура
металла в ковше
|
9.1
|
Термоэлектрический
преобразователь ПР(В) Потенциометр КСП-4
|
1300-
1800°С
|
к.т.0,5
|
+/-5°С
|
|
|
Расход
природного газа на газокислородную горелку
|
5.2.
|
Расходомер
|
0-800
м3/ч 0-1000 м3/ч
|
|
+/-2,42%
|
|
|
Давление
природного газа на газокислородную горелку
|
|
Преобразователь
измерительный А542
|
0-2,5
кгс/см2 0-16 кгс/см2
|
0;5
0,5
|
+/-0,7%
|
|
|
Расход
аргона (азота) на пневмотранспорт и чистую продувку УПСА-1
|
9.4
|
Расходомер
|
0-65
м3/ч
|
|
+/-2,66%
|
|
|
Геометрические
размеры материалов
|
2.4
|
Линейка
металлическая Штангенциркуль
|
0-500мм
0-250мм
|
|
ц.
д 1,0мм ц.д 1,0мм
|
|
|
Скорость
вытягивания слитка Скорость разливки
|
11.2.
12.10 13.7.3 13.7.4 13.15/ 15.8 15.10
|
Датчик-преобразователь
Измерительный прибор аналоговый, показывающий и регистрирующий амперметр
узкопрофильный показывающий
|
0+100%
|
|
+0,5%
|
|
|
Общая
и мерная длина слитка
|
11.2
|
Датчик-подсистема
"Слиток" КТС Лиуис-2
|
0-500м
|
|
к.т.0,5
|
|
|
Температура
стали в промковше и стальковше
|
11.4
13.1 12.20 13.12
|
Преобразователь
термоэлектрический гр.ПР(В) Прибор, показывающий автоматический потенциметр
|
1300-1800°С
|
к.т.0,5
|
+/-5°С
|
|
|
Расход
воды на охлаждение кристаллизатора
|
12.3.3
13.8 ДК25-200
|
Расходомер
|
0-250
м3/ч
|
|
+/-3%
|
|
|
Давление
воды на охлаждение кристаллизатора
|
12.3.3
|
Преобразователь
измерительный избыточного давления Амперметр узкопрофильный
|
0-1,0
МПа
|
к.т.0,5
к.т.1,5
|
+М,6°С
|
|
|
Температура
воды на охлаждение
|
12.3.4
|
Термопреобразователь
сопротивления медный гр.100 м, преобразователь измерительный, амперметр
узкопрофильный
|
0-20°С
0-20°С,
|
к.т.0,4 к.т.1.5
|
+/- 0,3°С
|
|
|
Температура
воды после кристаллизатора
|
12.3.4
|
то
же
|
то
же
|
то
же
|
+/-0,3°С
|
|
|
Перепад
температуры охлаждающей воды
|
12.3.4
|
Термопреобразователь
сопротивления гр.100м Преобразователь измерит., вт. прибор
|
0-20С)С
|
к.т.1),4
к.т. 0,5
|
+/-0,3ЬС
|
|
|
Линейные
размеры кристаллизатора
|
|
Линейка
|
0-500
мм
|
ц.д..1,0
мм
|
|
|
|
Расход
воды на зону вторичного охлаждения
|
13.8
|
Расходомер
ДК25-50
|
0-4м3/ч
|
|
+/-0,3°С
|
|
|
Сигнализация
давления воды на зону вторичного охлаждения
|
12.6
|
Преобразователь
измерительный избыточного давления амперметр узкопрофильный контактный
трехпозиционный блок трехпозиционный сигнализации и регулирования
|
0-1,0
МПа
|
к.т.0,5
к.т.1,5
|
+/-1,6%
|
|
|
Конусность
рабочей полости кристаллизатора
|
12.3.5
|
Нутромер
|
0-25мм
|
ц.д.
0,01мм
|
|
|
|
Уровень
металла в промежуточном ковше
|
13.5
13.6 13. 10
|
Визуально
|
|
|
|
|
|
Уровень
металла в кристаллизаторе
|
13.9
|
Система
измерения уровня металла радиационная установка-блок преобразования Ремиконт,
прибор аналоговый, показывающий и регистрирующий
|
0-100%
|
+3
% от диапазона измерения
|
|
|
|
Коробление
кристаллизатора
|
12.3.4
|
Специальный
шаблон, щуп
|
|
|
|
|
|
Выставка
кристаллизатора
|
12.4.1
|
Специальный
шаблон, щуп
|
|
|
|
|
Установка
затравки в кристаллизаторе
|
12.11
|
Медный
стержень с меткой
|
650мм
|
|
|
|
|
Контроль
продолжительности операций
|
13.7
14.5 14.9 12.21 14.8.
|
Секундомер
|
0-60
мин.
|
ц.д.
1 сек.
|
|
|
|
Температура
кожуха промежуточного ковша перед началом разливки
|
12.17
|
Термощуп
|
50-150°С
|
+5°С
|
|
|
|
|
|
|
|
|
|
|
Технологические требования к уровню точности
измерений при аналитическом контроле в ЭСПЦ-2 с гарантированными показателями
точности, определяемыми Государственными стандартами России и НТД на методы
химического анализа сырья, материалов приведены в таблице 3.
Таблица 3
|
Наименование,
определяемых компонентов
|
№
пунктов
|
Наименование
НТД
|
Кем
утвержден НТД
|
|
Массовая
доля углерода, серы, марганца, фосфора, меди, никеля, молибдена, кремния,
алюминия, ванадия, бора, титана в стали
|
5.1
6.4 6.6 9.2
|
ГОСТ
18895-81 и МВИ С-249-83 С-232-82 Х-335-79 Х-838-81
|
Госкомстандарт
Директор ИСО ЦНИИЧермет
|
|
Содержание
FеО, СаО, основность шлака
|
9.2
|
Методика
выполнения измерений
|
Директор
по производству и тех. вопросам комбината
|
1.6 Дефекты непрерывного слитка
Условия формирования непрерывного слитка могут
вызвать появление тех или иных дефектов, которые разделяются на внутренние и
внешние (поверхностные).
Структурная неоднородность. У непрерывных слитков
корковая мелкозернистая зона, как правило, толще, величина зоны столбчатых
кристаллов (при одном и том же сечении и температуре разливки) больше, а зона
равноосных кристаллов значительно меньше, чем у слитков, отлитых в изложницы.
Кристаллы столбчатой зоны непрерывного слитка тоньше, длиннее, более плотно
упакованы, что связано с большей интенсивностью охлаждения. Соотношение
размеров структурных зон непрерывного слитка зависит от химического состава
стали, поперечного сечения и технологических факторов разливки (температуры,
скорости, режима охлаждения).
Металл в зоне транскристаллитов имеет пониженную
пластичность (особенно снижается ударная вязкость), поэтому желательно получать
структуру с ограниченной столбчатой и развитой зоной равноосных кристаллов,
рассредоточением усадочной пористости на относительно большой объем
затвердевающего металла. Мелкие поры с незначительными следами химической
неоднородности легко завариваются в процессе пластической деформации (прокатки,
ковки). Необходимо в период затвердевания глубинной зоны замедлить отвод
теплоты от слитка (т.е. уменьшить градиент температуры в кристаллизующейся
оболочке) или повлиять на затвердевание микролегированием, введением
микрохолодильников, ультразвуком, перемешиванием электромагнитным полем и др.
Эти способы могут расширить зону твердожидкого состояния, увеличить количество
активных частиц, способных исполнять роль зародышей новых кристаллов, уменьшить
температурный градиент, снять теплоту перегрева и частично кристаллизации.
Дендритная химическая неоднородность.
Неоднородность в содержании химических элементов по оси дендрита и на его
периферии определяется по соотношению содержания данного элемента на оси
дендрита и в междендритных участках: чем больше это соотношение, тем больше
степень неоднородности.
Степень дендритной неоднородности легирующих
элементов в слитке, разлитом в изложницу, значительно выше, чем в непрерывном,
что заметно даже вблизи поверхностной зоны. По мере удаления от поверхности эта
разница увеличивается. В центре степень дендритной неоднородности слитка,
разлитого в изложницу, на 30 % выше, чем непрерывного[6].
Различие в степени дендритной неоднородности
объясняется неодинаковой скоростью затвердевания и дисперсностью дендритного
строения. Увеличение степени неоднородности вызвано повышением концентрации
элемента в межосных участках. Содержание легирующих элементов в осях дендритов
практически одинаково и не зависит от способа разливки, что свидетельствует о
постоянстве температуры кристаллизации осевых участков дендритов.
Химическая неоднородность. Непрерывный слиток
имеет сравнительно небольшое сечение. Скорость затвердевания его выше, а время
кристаллизации меньше, чем у обычного слитка, поэтому зональная неоднородность
на участке от поверхности до оси не получает значительного развития.
При разливке плавок холодной и плохо
раскисленной стали, а также при попадании влаги с какими-либо материалами
возникает точечная и пятнистая неоднородность.
Точечная неоднородность выявляется на поперечных
темплетах в виде разбросанных по их полю мелких черных точек, представляющих
собой скопления неметаллических включений (главным образом сульфидов). Точечная
неоднородность может снижать пластические свойства стали в поперечном сечении.
Пятнистая неоднородность выявляется в виде пятен
различного размера. В этих местах под микроскопом видны скопления сульфидных
включений. Пятнистая неоднородность снижает относительное сужение и ударную
вязкость в поперечном сечении и не влияет на механические характеристики в
продольном.
Правильный метод раскисления, присадка алюминия
в необходимом количестве, устранение попадания в металл влаги предотвращают
появление неоднородности.
Неоднородность химического состава по высоте
слитка. Продолжительность непрерывной разливки стали одной плавки из больших
ковшей достигает двух и более часов. В течение этого периода в ковше могут
развиваться реакции между металлом, шлаком и футеровкой, в результате чего
изменяется состав стали, возникнет химическая неоднородность по высоте слитка.
Особенно нежелательно восстановление фосфора.
Полосчатая неоднородность (ликвационные полосы).
Обнаруживается на серных отпечатках в виде линий, перпендикулярных к грани
слитка. Предполагают, что ликвационные полосы - следствие трещин, образующихся
в металле чаще всего вдоль дендритных осей первого порядка столбчатой зоны. В
трещины под действием разрежения засасывается обогащенный примесями жидкий
металл, находящийся у фронта затвердевания. Для устранения этого вида
неоднородности следует предотвращать деформации, приводящие к трещинам (не
обжимать имеющие жидкую сердцевину слитки с критической величиной деформации;
избегать образования термических напряжений, больше допустимых и др.).
Внеосевая неоднородность. В непрерывных слитках
такой вид неоднородности развит слабо. Предупреждают этот вид неоднородности
присадкой редкоземельных элементов, что вызывает выделение сульфидов на ранней
стадии кристаллизации и позволяет их фиксировать в структуре в виде тугоплавких
высокодисперсных соединений.
Осевая химическая (а также физическая) неоднородность.
Обычно образуется при обогащении (вследствие ликвации) внутренних зон примесями
и усадке металла в замкнутом объеме в процессе затвердевания осевой зоны.
Неоднородность несколько уменьшается с повышением температуры разливки.
Глубина жидкой фазы, в которой образуется осевая
зона, достигает значительных размеров. При этом в процессе затвердевания вдоль
жидкой лунки развиваются интенсивные конвективные потоки, усиливающие осевую
ликвацию в непрерывном слитке. Вытянутая сравнительно узкая лунка и
конвективные потоки обуславливают образование в осевой зоне пористости и
ликвационных пятен.
Перемещение жидкости в процессе затвердевания
приводит к резкому перераспределению примесей (диффузия атомов и фильтрационный
массоперенос многократно усиливаются конвекцией), в результате чего существенно
ими обогащаются объемы металла, затвердевающие последними. С увеличением
концентрации примесей обогащенная ими жидкость, несмотря на снижение
температуры, становится подвижнее и при определенных концентрациях может
свободно перемещаться среди разветвленных кристаллов двухфазной зоны. Такая
жидкость, обогащенная ликватами, проникает сквозь сомкнутые дендриты, заполняя
пустоты, образовавшиеся в кристаллизующемся металле. В итоге образуются
ликвационные участки. Если в кристаллизующемся слитке основное развитие получит
зона твердожидкого состояния с преобладанием твердой фазы, то при этом
протекание фильтрационных и диффузионных процессов будет ослаблено.
В данном случае по всему объему слитка
образуется микронеоднородность в локальных объемах, которая впоследствии может
быть практически полностью ликвидирована в процессе нагрева слитка перед
деформацией и самой деформации. В связи с этим все мероприятия, способствующие
улучшению макроструктуры непрерывнолитого слитка, направлены на создание
широкой двухфазной зоны с преобладанием твердой фазы, где протекание усадочных
и ликвационных явлений ограничено.
Разрывы в структуре металла - осевая пористость,
трещины, пузыри различна: осевая пористость образуется при затвердевании
металла в замкнутом объеме, куда не проникает жидкая фаза; трещины появляются
вследствие деформаций, превышающих допустимые; пузыри обусловлены выделением
газов из кристаллизующейся стали[10, 11, 12].
Усадочные процессы, вызывающие физическую
неоднородность, сопровождаются также химической неоднородностью. Осевая
пористость на продольном темплете имеет V-образную форму, что объясняется
действием сил тяжести на объемы жидкой фазы, затвердевающие по оси слитка в
последнюю очередь. Она может иметь вид отдельных усадочных раковин или быть
сосредоточенной, когда разобщенные пустоты сливаются в цепочку вдоль оси
слитка, что четко проявляется в слитках квадратного сечения. Причинами
образования осевой пористости являются специфические условия затвердевания непрерывнолитого
слитка, связанные с образованием глубокой лунки жидкого металла и
протяженностью зоны твердожидкого состояния.
Развитая зона твердожидкого состояния
способствует появлению трехзонной структуры непрерывного слитка и
рассредоточенной осевой пористости, которая обычно заваривается при горячей
пластической деформации, обеспечивая получение требуемых механических свойств
проката.
Сравнительно малая протяженность зоны
твердожидкого состояния приводит к образованию двухзонной структуры слитка и
концентрированной осевой пористости, которая при горячей пластической
деформации не всегда заваривается.
Внутренние трещины. Обычно образуются при
неправильном режиме вторичного охлаждения всего или части периметра слитка.
Вероятность образования внутренних трещин возрастает с увеличением концентрации
некоторых легирующих элементов (например, хрома, серы и фосфора).
Трещины могут быть обнаружены на поперечных
темплетах слитков. По расположению различают следующие виды трещин:
) перпендикулярные узким граням;
) перпендикулярные широким граням
(расположенные, как правило, по ужиминам и ближе к узким граням);
) направленные к углам и расположенные по стыкам
кристаллов, растущих от широких и узких граней. Эти трещины обусловлены
ромбичностью (параллелограмностью) слитка и располагаются против тупых углов
(рисунок 17);
) вначале перпендикулярные широкой грани, а
затем направленные по стыку кристаллов (по биссектрисе угла);
) осевые, расположенные в районе встречи фронтов
затвердевания.
Рисунок 17 - Угловые трещины
Трещины первого и второго видов образуются при
резком охлаждении грани слитка или отдельного участка поверхности, которое
приводит к прогибу грани внутрь и к возникновению в горячих слоях у фронта
затвердевания недопустимых растягивающих напряжений (рисунок 18). Устраняются
отработкой вторичного охлаждения.
Рисунок 18 - Трещины, перпендикулярные граням
Равномерное охлаждение слитка по периметру и
снижение интенсивности охлаждения углов позволяют ликвидировать трещины
третьего вида.
Трещины четвертого вида являются следствием
напряжений, действующих вдоль смежных граней, их устраняют так же, как трещины
первого и второго видов.
Трещины пятого вида образуются при разогреве
наружных слоев после смыкания фронтов затвердевания. При этом широкие грани
стремятся выпучиваться, что вызывает напряжения по оси слитка, которые могут
привести к появлению осевых трещин. Чтобы такие напряжения не возникали, слиток
в период затвердевания осевой зоны до момента ее достаточного упрочнения
следует охлаждать с интенсивностью, не допускающей уменьшения перепада
температур между осевой и поверхностной зонами[].
К внешним поверхностным дефектам относятся:
искажение профиля; наружные продольные и поперечные трещины; наружные трещины,
имеющие форму сетки, паука или расположенные по впадинам складок; шлаковые
включения; «пояса» (таблица 4).
Таблица 4 - Общая характеристика основных видов
дефектов геометрической формы и поверхности
|
Дефект
|
Описание
дефекта
|
Причины
возникновения
|
Способы
предупреждения
|
|
|
Ромбичность
|
Профиль
поперечного сечения имеет форму ромба
|
Напряжения
в корке заготовки из-за неравномерного отвода тепла в кристаллизаторе; износ
рабочих стенок и отклонения геометрических параметров кристаллизатора
|
Равномерный
теплоотвод, контроль геометрии гильзы кристаллизатора и работы форсунок в
зоне вторичного охлаждения
|
|
|
Раздутие
(выпуклость)
|
Бочкообразность
поперечного сечения
|
Высокая
скорость или температура разливки; недостаточное охлаждение гильзы
кристаллизатора; неудовлетворительная настройка правильно-тянущей клети
|
Соблюдение
температурного и скоростного режимов разливки, охлаждения; контроль
геометрических параметров кристаллизатора
|
|
|
Продольная
угловая трещина
|
Трещина,
проходящая вдоль оси заготовки
|
Износ
донной части кристаллизатора; неравномерное охлаждение заготовки в
кристаллизаторе; повышенная температура стали в промковше; высокое содержание
вредных примесей (S, Р, Sn, РЬ, Sb)
|
Контроль
геометрических параметров кристаллизатора; поддержание оптимальной температуры
разливки; ограничение содержания вредных примесей и пр.
|
|
|
Поперечные
трещины
|
Трещина,
проходящая по боковой поверхности граней поперек продольной ОСИ заготовки
|
Неравномерное
затвердевание заготовки; повышенное трение слитка в кристаллизаторе; вследствие
циклических надрывов оболочки при качании кристаллизатора; зависание слитка в
кристаллизаторе
|
Соблюдение
температурного интервала разливки; контроль состояния кристаллизатора;
соблюдение режимов вторичного охлаждения смазки и пр.
|
|
|
Поры
|
Углубления
или полые пространства на поверхности заготовки
|
Избыточные
влажность или количество смазочного масла с завышенным кислотным числом;
газовыделение из смазочного материала у края кристаллизатора
|
Регламентированное
использование смазочного материала; обеспечение требуемой раскисленности
стали
|
|
|
Следы
качания кристаллизатора
|
Надрывы
оболочки заготовки в виде поперечных углублений
|
Неправильный
выбор режимов качания кристаллизатора; смазки, температуры разливки;
неправильная настройка поддерживающих роликов
|
Соблюдение
оптимального режима возвратно поступательного движения кристаллизатора;
контроль состояния кристаллизатора
|
|
Загрязнения
на поверхности заготовки
|
Скопление
неметаллических включений вследствие частично залитых металлом частиц шлака
|
Размыв
огнеупоров ковша; затягивание шлака из промковша; всплывшие из металла
продукты вторичного окисления
|
Соблюдение
технологии внепечной обработки стали; применение огнеупоров высокого качества
и качественной шлакообразующей смеси для промковша и кристаллизатора
|
|
|
|
|
|
Паукообразные
трещины
|
Расходящиеся
от центра тонкие трещины
|
Внутренние
напряжения I вследствие местного периодического переохлаждения или разогрева
поверх-
|
Использование
специальных ШОС в совокупности с равномерной подачей водовоздушной смеси в
ЗВО
|
|
|
|
|
|
|
Искажение профиля заготовок. Ромбичность,
овальность, раздутие или изменение геометрии отдельных участков их периметров
могут быть косвенными показателями пораженности заготовок трещинами (рисунок
19).
Рисунок 19 - Дефекты формы
Искажение профиля заготовок создает ряд
трудностей при дальнейшем их переделе. Факторы, вызывающие увеличение
разнотолщинности оболочки, служат причиной образования этого вида дефекта.
Такими факторами могут быть: местный износ рабочих стенок кристаллизатора,
засорение рабочих каналов охлаждения кристаллизаторов, тепловое и размывающее
действие потоков металла на оболочку слитка, неправильная настройка
технологической оси.
Для устранения искажения профиля непрерывнолитых
заготовок необходимо обеспечить равномерное формирование оболочки слитка в
кристаллизаторе и уменьшить интенсивность вторичного охлаждения.
Раздутие граней слитка происходит тогда, когда
суммарные напряжения от ферростатического давления и термические превышают
прочность его оболочки, а поддерживающая система в зоне вторичного охлаждения
не обеспечивает постоянства геометрии слитка (рисунок 20). Прочность оболочки
можно увеличить уменьшением скорости вытягивания, повышением интенсивности
вторичного охлаждения и жесткости его конструкции.
Рисунок 20 - Раздутие граней слитка
Наружные продольные и поперечные трещины.
Трещины в непрерывнолитых заготовках разделяют на «горячие»
(кристаллизационные) и «холодные». Кристаллизационные трещины не пересекают осей
дендритов. Их стенки или окончания трещин обогащены ликватами. Холодные трещины
пересекают оси дендритов. По расположению трещин в дендритной структуре можно
оценить их природу: продольные на гранях; продольные по ребрам; продольные по
формам; поперечные (рисунок 21).
Появление продольных трещин на гранях, связано с
нарушениями технологического режима выплавки и разливки: отсутствием или
неудовлетворительным качеством шлаковой смеси, перегретым металлом, высокой
скоростью разливки, неудовлетворительной организацией струи, смещением оси
стакана для разливки под уровень. Кроме того, продольные трещины могут
образоваться при наличии дефектов в кристаллизаторе и неудовлетворительной
настройке технологической оси МНЛЗ.
Продольные трещины по ребрам возникают вследствие
искажения профиля заготовки (ромбичности) и повышенного радиуса закругления
углов. Если же продольные трещины появляются в непосредственной близости от
углов, это свидетельствует о том, что радиус закругления очень мал.
Рисунок 21 - Продольные трещины по граням
Продольные трещины по кромкам наблюдаются обычно
при отливке слябов. Основной причиной, определяющей частоту их образования,
является содержание углерода. Очень часто трещины возникают при содержании 0,15..,0,23
% С. Образование трещин по кромкам зависит также от интенсивности охлаждения в
кристаллизаторе, его конусности системой вторичного охлаждения. Появление
трещин по кромкам определяется также длиной кристаллизатора: замена
кристаллизатора на более короткий, имеющий аналогичную конусность, позволяет
резко снизить количество данного вида трещин.
Поперечные трещины (рисунок 22) вызываются
растягивающими напряжениями вдоль слитков, возникающими вследствие
неравномерности затвердевания, трения слитка в кристаллизаторе и в зоне
вторичного охлаждения, деформации оболочки слитка при его изгибе или
выпрямлении на криволинейной МНЛЗ. Образованию поперечных трещин способствуют
также разрывы оболочки слитка от движения кристаллизатора. На появление этих
трещин влияют «ужимины», образующиеся в результате остановки МНЛЗ и прекращения
подачи металла в кристаллизатор, а также химический состав стали.
Рисунок 22 - Поперечные трещины по граням
Для устранения причин появления поперечных
трещин необходимо тщательно следить за состоянием кристаллизатора, своевременно
подавать теплоизолирующую смесь, оптимально и равномерно распределять воду в
зоне вторичного охлаждения в зависимости от скорости разливки, не допускать
остановок МНЛЗ в процессе разливки.
Наружные трещины, имеющие форму сетки, паука
(рисунок 23) или расположенные по впадинам складок в непрерывно-литых
заготовках возникают в результате снижения пластических свойств стали
(например, вследствие налипания меди рабочих стенок кристаллизатора на
поверхность слитка). Медь диффундирует по границам зерен металла и вызывает
красноломкость отдельных участков слитка. Этот вид дефекта выявляется после
горячего травления или после огневой зачистки. При прокатке он преобразуется в
плену.
Рисунок 23 - Паукообразные трещины
Для устранения трещин, имеющих форму сетки или
паука, рабочие стенки кристаллизатора хромируют, кроме того при обеспечении
соосности кристаллизатора с направляющими элементами зоны вторичного охлаждения
уменьшается налипание меди на слиток.
В результате возвратно-поступательного движения
кристаллизатора в процессе непрерывной разливки на поверхности заготовок
образуются горизонтально расположенные складки (рисунок24).
По впадинам складок, в отдельных случаях,
располагаются поперечные трещины.
Рисунок 24 - Складчатость на поверхности
заготовки
Поперечные трещины по складкам, расположенным на
широких гранях, не являются кристаллизационными. Они пересекают оси дендритов и
ориентированы по границам первичного зерна аустенита, следовательно, возникают
в результате термических и структурных напряжений. Это связано с циклическим
изменением температуры поверхности слитка (охлаждение - разогрев) в интервале 700...900
°С. Данный дефект можно устранить, если исключить цикличность режима вторичного
охлаждения заготовок.
Подкорковые пузыри (поры) и участки шлаковых
включений. Поры и шлаковые включения появляются чаще всего одновременно и
беспорядочно на поверхности и непосредственно под поверхностью непрерывнолитой
заготовки.
Поры и участки шлаковых включений на поверхности
становятся заметными только на поверхности, свободной от окалины и обработанной
огневой зачисткой. Причины их появления - неправильно выбранная шлакообразующая
смесь (недостаточно жидкотекучая и легкоплавкая), которая вызывает повреждение
твердой оболочки слитка; колебания уровня мениска в кристаллизаторе; скопления
неметаллических включений, формирующихся в процессе разливки.
Поры и шлаковые включения в виде гнезд,
расположенных в продольных дорожках встречаются при образовании перехватов в
кристаллизаторе (частичное затвердевание стали на зеркале металла). Перехват,
постоянно наталкиваясь в мениске на корку слитка, оседает там. Для устранения
этого дефекта необходимо избегать слишком низкой температуры стали и добиваться
достаточной интенсивности потока в зоне зеркала металла (т.е. подавать в эту
зону горячие порции стали).
Поры по всей поверхности слябов встречаются в
тех случаях, когда сталь недостаточно раскислена, а шлакообразующая смесь
содержит большое количество влаги. Эти поры следует отличать от пор, которые
расположены под поверхностью заготовки на глубине 10-15 мм. Подповерхностные
поры обычно связываются с продувкой стали аргоном через стопор-моноблок или
погружной стакан,
Неметаллические включения в виде скоплений,
пленок и единичных вкраплений (рисунок 25) могут встречаться на поверхности
заготовки и в подповерхностных слоях. В большей степени они проявляются на
радиальных и криволинейных МНЛЗ на грани меньшего радиуса изгиба.
Рисунок 25 - Шлаковые включения
Неметаллические включения могут быть как
экзогенного, так и эндогенного происхождения. Источниками их появления могут
быть шлакообразующая смесь, захватываемая в металл быстро движущимися потоками
металла из погружного стакана (недостаточное заглубление погружного стакана в
расплав или трещина в нем в районе зеркала металла), отслоившийся огнеупорный
материал из разливочного и промежуточного ковшей, продукты реакции стали и
содержащегося в ней алюминия с огнеупорным материалом, продукты раскисления и
вторичного окисления металла, большая глубина проникновения струи стали в
жидкую ванну заготовки, захват шлаковых отложений (на внутренней поверхности
погружного стакана) струей металла и пр.[13, 14 15].
Чтобы уменьшить загрязненность стали
неметаллическими включениями и порами, необходимо обеспечить рациональные
режимы движения стали на участке «промковш-кристаллизатор» и непосредственно в
кристаллизаторе, по возможности, исключить ее вторичное окисление с помощью
использования защитных мероприятий и продувки аргоном, использовать
высококачественные огнеупорные материалы для разливки, а также широко применять
методы внепечной обработки для раскисления, модифицирования и рафинирования
металла.
Подкорковые пузыри (рисунок 26) представляют
собой дефекты поверхностной зоны заготовки в виде заполненных газом единичных
или групповых пор и небольших пустот округлой и вытянутой формы, иногда
выходящих на поверхность. Пузыри располагаются по периметру непрерывнолитых
заготовок в захоложенных участках. Наибольшее количество пузырей наблюдается в
районе узких граней и углов, а также на стыке кристаллитов. Возникновение
подкорковых пузырей чаще всего связано с недостаточным раскислением металла.
Рисунок 26 - Газовые пузыри
Пояса. При прекращении подачи металла, например
в случае замены погружаемого стакана промежуточного ковша, прожигании
дозирующих каналов или в результате неполадок в газорезке оболочка слитка в
районе зеркала отходит от стенок кристаллизатора по всему периметру.
Возобновление процесса разливки приводит к переливу металла через верх оболочки
слитка и образованию пояса металла, загрязненного шлаковыми включениями (рисунок
27). Этот вид дефекта может быть предотвращен стабильной разливкой без
длительного перерыва струи и образования окисленной корочки на зеркале металла
в кристаллизаторе.
Рисунок 27 - Пояс
Практически все дефекты не являются органическим
пороком непрерывнолитой заготовки, что позволяет предотвратить их возникновение
при достижении рациональных режимов разливки и функционирования МНЛЗ. С
определенной степенью допущений можно выделить три основные категории причин
образования дефектов:
обусловленные технологическим процессом разливки
стали (слишком высокая или низкая температура разливки, химическая
неоднородность стали, загрязненность ее неметаллическими, шлаковыми и газовыми
включениями и пр.);
связанные с обслуживанием МНЛЗ в ходе разливки
(слишком сильные колебания зеркала металла, нарушения в подаче шлакообразующей
смеси, неравномерность охлаждения в зоне вторичного охлаждения и пр.);
вызванные неудовлетворительным содержанием МНЛЗ
(состояние внутренней поверхности кристаллизатора, расположение поддерживающих
роликов, усилие тянущей клети и т.п.).
Таблица 5 - Факторы, влияющие на возникновение и
развитие дефектов поверхности
|
Фактор
|
Трещины
|
Грубые
следы возвратно-поступательного движения кристаллизатора
|
Пузырь
|
Шлаковые
включения
|
Пояс
|
|
угловые
поперечные
|
продольные
ребровые
|
поперечные
|
продольные
|
Сетчатые
и паукообразные
|
|
|
|
|
|
Состав
стали
|
●
|
●
|
●
|
●
|
●
|
▬
|
●
|
▬
|
▬
|
|
Температура
металла
|
●
|
●
|
●
|
●
|
▬
|
▬
|
●
|
●
|
▬
|
|
Уровень
металла в промежуточном ковше
|
▬
|
▬
|
▬
|
▬
|
▬
|
▬
|
|
●
|
▬
|
|
Подвод
металла в кристаллизатор
|
●
|
●
|
▬
|
●
|
▬
|
▬
|
|
●
|
▬
|
|
Защита
металла в кристаллизаторе
|
●
|
●
|
●
|
●
|
●
|
●
|
●
|
●
|
▬
|
|
Скорость
разливки
|
▬
|
▬
|
●
|
●
|
▬
|
▬
|
▬
|
▬
|
▬
|
|
Режим
вторичного охлаждения
|
●
|
●
|
●
|
●
|
●
|
▬
|
▬
|
▬
|
▬
|
|
Конусность
кристаллизатора
|
●
|
●
|
●
|
●
|
▬
|
▬
|
▬
|
▬
|
▬
|
|
Режим
качания кристаллизатора
|
●
|
▬
|
●
|
▬
|
▬
|
●
|
▬
|
▬
|
▬
|
|
Нарушение
траектории движения кристаллизатора
|
▬
|
▬
|
●
|
●
|
▬
|
▬
|
▬
|
▬
|
▬
|
|
Несоосность
кристаллизатора и поддерживающей системы
|
▬
|
▬
|
●
|
●
|
▬
|
▬
|
▬
|
▬
|
▬
|
|
Нарушение
геометрии рабочего пространства кристаллизатора
|
●
|
●
|
●
|
●
|
▬
|
▬
|
▬
|
▬
|
▬
|
|
Температура
слитка в зоне разгиба
|
●
|
▬
|
●
|
▬
|
▬
|
▬
|
▬
|
▬
|
▬
|
|
Резкие
колебания уровня металла в кристаллизаторе
|
▬
|
▬
|
▬
|
●
|
▬
|
▬
|
▬
|
●
|
▬
|
|
Остановки
вытягивания слитка
|
▬
|
▬
|
▬
|
▬
|
▬
|
▬
|
▬
|
▬
|
●
|
Таблица 6 - Факторы, влияющие на развитие
внутренних дефектов непрерывнолитой заготовки
|
Фактор
|
Угловые
трещины
|
Трещины
в промежуточной зоне
|
Трещины
в осевой зоне
|
Осевая
ликвация
|
Осевая
пористость
|
Осевые
трещины
|
Пузырь
|
Краевое
точечное загрязнение
|
Гнездообразные
трещины
|
|
Состав
стали
|
●
|
●
|
●
|
●
|
●
|
●
|
●
|
▬
|
●
|
|
Внепечная
обработка
|
▬
|
▬
|
▬
|
▬
|
●
|
▬
|
●
|
●
|
▬м
|
|
Тип
УНРС
|
▬
|
▬
|
▬
|
▬
|
▬
|
▬
|
▬
|
▬
|
●
|
|
Температурно-скоростной
режим разливки
|
▬
|
●
|
●
|
●
|
●
|
●
|
▬
|
▬
|
●
|
|
Вторичное
охлаждение
|
●
|
●
|
▬
|
●
|
●
|
▬
|
▬
|
▬
|
▬
|
|
Подача
металла в кристализатор
|
●
|
▬
|
▬
|
●
|
●
|
▬
|
●
|
●
|
|
Форма
рабочей полости кристаллизатора
|
●
|
●
|
▬
|
▬
|
▬
|
▬
|
▬
|
●
|
▬
|
|
Смазка
в кристаллизаторе
|
●
|
▬
|
▬
|
▬
|
▬
|
▬
|
●
|
▬
|
▬
|
|
Состояние
поддерживающей системы
|
●
|
●
|
●
|
●
|
●
|
▬
|
▬
|
▬
|
●
|
|
Состояние
тянуще- правильного механизма
|
▬
|
▬
|
●
|
▬
|
▬
|
▬
|
▬
|
▬
|
●
|
2. Создание математической модели кристаллизации
слитка и образования дефектов
.1 Математическая модель кристаллизатора
Разливка стали и ее затвердевание являются
завершающими этапами металлургического производства и в значительной степени
определяют качество готовой продукции. В последние десятилетия произошло
значительное изменение в технологии разливки стали - переход от традиционной
разливки в слитки к непрерывной разливке стали.
Непрерывное литье - один из наиболее
прогрессивных технологических процессов в черной металлургии. К его
преимуществам по сравнению с разливкой в изложницы относятся:
однородность кристаллического строения и
технологических свойств литой стали вдоль оси слитка;
повышение качества непрерывно литой стали за
счет интенсивного охлаждения поверхности слитка с применением водяных форсунок;
возможность механизации и автоматизации процесса
и существенное улучшение условий труда на разливочной площадке;
возможность совмещения непрерывного литья и
прокатки в единой технологической линии;
исключение целого ряда стадий традиционного
металлургического производства - разливка металла в изложницы, затвердевание
слитков, их стриппирование, нагрев в специальных устройствах - колодцах,
предварительное обжатие на обжимных станах. В этом случае имеет место еще и
существенное снижение капитальных затрат и экономия трудовых и материальных
ресурсов.
Необходимость детального рассмотрения тепловых
явлений процесса формирования слитка вызвана тем, что кристаллизация стали есть
агрегатное превращение, протекающее при сравнительно высоких температурах
(1480-1500 оС) и значительных перепадах температуры как в самом затвердевающем
слитке, так и в элементах машины, соприкасающихся с ним. Опыт показывает, что
задание неверного режима охлаждения или отсутствие согласования между скоростью
вытягивания слитка и скоростью его кристаллизации приводит либо к аварийным
ситуациям (прорыву жидкой стали через твердую оболочку), либо к образованию в
слитке недопустимо большого количества дефектов. Особое значение приобретает
теплофизическое обоснование рациональных режимов непрерывного литья слитков
крупного сечения, когда протяженность их незатвердевшей части (жидкой фазы)
достигает десятков метров, а температура поверхности слитка в зоне вторичного
охлаждения, как правило, не опускается ниже 900-1000 оС.
Следует отметить, что непосредственный, по ходу
плавки, контроль контура фронта кристаллизации, в частности, полной глубины
жидкой металлической фазы, пока не представляется возможным. В этой ситуации
возрастает роль теоретических методов прогнозирования режимов затвердевания
слитков в различных зонах машины непрерывного литья.
Назначение и устройство кристаллизатора
Кристаллизатор - важнейший элемент МНЛЗ -
выполняет две функции: во-первых, определяет форму поперечного сечения слитка;
во-вторых, служит для формирования твердой корки (оболочки) слитка, способной
выдержать ферростатическое давление в зоне вторичного охлаждения, где в
основном происходит затвердевание слитка.
От конструктивных и теплофизических
характеристик кристаллизатора во многом зависят производительность машины в
целом и качество слитка. Поэтому помимо выполнения основных функций конструкция
кристаллизатора должна обеспечивать высокую его стойкость, возможность
регулирования размеров сечения профиля отливаемой заготовки, а в случае
необходимости - его быструю замену.
К основным конструктивным параметрам
кристаллизатора относятся внутренние размеры по сечению, определяющие профиль
слитка, высота, толщина и материал рабочих стен, их конусность, система
охлаждения и система регулирования размеров.
В настоящее время кристаллизатор представляет
собой сквозную водоохлаждаемую изложницу с медными полыми стенками. Для
повышения жесткости и прочности такая изложница устанавливается в литом или
сварном корпусе. Однако, несмотря на общие принципы устройства и работы,
существует большое количество самых разнообразных конструкций кристаллизаторов.
В настоящее время все конструкции
кристаллизаторов по способу изготовления и области применения можно объединить
в три большие группы: блочные, гильзовые и сборные. Все они в зависимости от
формы технологической оси МНЛЗ могут быть прямолинейными и радиальными.
Блочные кристаллизаторы изготавливаются из
цельнокованных или литых медных блоков с толщиной стенок 150-175 мм. В стенках
просверлены отверстия, по которым проходит вода для охлаждения. Число
отверстий, их диаметр и расстояние между ними определяются условиями теплоотвода.
Обычно диаметр отверстий составляет 20-22 мм с шагом 40-60 мм. Готовый медный
блок крепится для повышения прочности в стальном корпусе (рисунок 28).
- медный блок; 2 - каналы для охлаждающей воды
Рисунок 28 - Схема блочного кристаллизатора
Кристаллизаторы такого типа характеризуются
сравнительной долговечностью, отсутствие стыков между стенками обеспечивает
достаточно высокую надежность их в работе. В то же время они дороги в
изготовлении и в процессе эксплуатации.
Гильзовые кристаллизаторы изготавливаются из
цельнотянутых медных труб с толщиной 5-20 мм. Из трубной заготовки различными
методами обработки металла давлением получают деталь с заданным профилем
поперечного сечения, называемую гильзой, которая и является внутренней рабочей
стенкой кристаллизатора. Гильза вставляется в стальной корпус и крепится в
верхней и нижней части с помощью фланца (рисунок 29). Вода двигается между
корпусом и гильзой по зазору шириной 4-7 мм, обеспечивая равномерный и
интенсивный отвод теплоты[11,13,14,16].
- медная гильза; 2 - стальной корпус
Рисунок 29 - Схема гильзового
кристаллизатора
Гильзовые кристаллизаторы получили
широкое распространение на МНЛЗ, отливающих сравнительно небольшие по сечению
сортовые заготовки преимущественно квадратного сечения с максимальным размером
сторон 200-250 мм. Применяются они при отливке круглых, полых и других
профилей. Большим достоинством таких кристаллизаторов являются:
возможность достижения высоких
скоростей разливки вследствие большой интенсивности теплоотдачи через тонкие
стенки гильзы;
отсутствие стыков в рабочей
поверхности стенки, которые часто являются причиной зависания слитка;
небольшой расход меди и легкая сменяемость
изношенных гильз, а также простота конструкции и сравнительно невысокая
стоимость.
Однако гильзовые кристаллизаторы
непригодны из-за недостаточной жесткости медных тонкостенных гильз для разливки
прямоугольных и крупных квадратных сечений, а также практически не
восстанавливаются при ремонтах.
Сборные кристаллизаторы
изготавливаются из четырех отдельных медных плит, каждая из которых для большей
жесткости крепится шпильками на отдельной стальной плите.
В зависимости от толщины плит
кристаллизаторы делятся на тонко- (15-25 мм) и толстостенные (50-100 мм).
Собранные все вместе и стянутые по боковым граням болтами они образуют
изложницу с медной рабочей поверхностью, расположенную в стальном корпусе.
Такие кристаллизаторы широко
применяются для отливки прямоугольных листовых заготовок - слябов и крупных
блюмов, так как высокая жесткость стен позволяет выдерживать без деформации
очень большое ферростатическое давление.
Сборная конструкция по мере износа
поверхности медных плит обеспечивает возможность неоднократных ее ремонтов
путем прострачивания и шлифовки рабочей поверхности плит с последующим их
использованием, что дает большую экономию меди.
Характерной особенностью сборного
кристаллизатора является возможность изменения ширины отливаемой заготовки. Это
достигается перемещением узких стен, вставленных между широкими, с помощью
различных механических или электромеханических приводов (рисунок 30). Такая
конструкция кристаллизатора позволяет, оперативно меняя конусность, снизить
износ медных стенок и улучшить качество слитка. Кроме того, снижается парк
кристаллизаторов и увеличивается производительность за счет снижения простоев
машин. В настоящее время получают распространение конструкции кристаллизаторов,
позволяющие изменять ширину отливаемой заготовки без прерывания процесса
разливки.
Длина сборных кристаллизаторов
колеблется в широких пределах от 650 до 1200 мм. За рубежом при скоростях
разливки до 1 м/мин получили наиболее широкое распространение короткие
кристаллизаторы, длина которых 650-850 мм. При увеличении скорости разливки до
1,2-1,8 м/мин рекомендуется применять кристаллизаторы длиной более 900 мм.
- широкая стенка большого радиуса
машины; 2 - узкая стенка; 3 - стяжки; 4 - боковина; 5 - электромеханический механизм
для перемещения узких стен и изменения их конусности; 6 - подвижная широкая
стенка малого радиуса; 7 - коллекторы для подвода и отвода воды; 8 - рама
механизма качания
Рисунок 30 - Слябовый сборный
кристаллизатор
Равномерность и интенсивность охлаждения
зависят не только от формы и расположения каналов, но и от системы циркуляции
воды. В настоящее время в сборных кристаллизаторах применяют петлевую и
прямоточную системы. При петлевой системе движения воды все вертикальные каналы
по периметру кристаллизатора объединены с помощью коллекторов в три секции -
две крайние и одну среднюю. В крайние секции входят каналы узких стен и края
широких. Вода подается сверху вниз через крайние секции, затем проходит снизу
вверх среднюю секцию и поступает на слив (рисунок 31а). В этой системе вода
дважды проходит по каналам и может нагреваться до критических значений
температур, при которых начинается выпадение осадков на стенках каналов, что
обычно происходит с неочищенной водой при 35-40 оС. В то же время, учитывая что
расход воды при отливке слитков крупных сечений достигает 300-400 м3/час,
большим достоинством петлевого охлаждения является экономия расхода воды.
При прямоточной системе вода
поступает к нижним торцам медных стенок, проходит по каналам снизу вверх и идет
на слив (рисунок 31б). В результате вода нагревается значительно меньше,
достигается более эффективное охлаждение, что позволяет иметь более высокие
скорости разливки. Недостатком такой системы охлаждения является высокий расход
воды.
Рисунок 31 - Петлевидная (а) и
прямоточная (б) схемы охлаждения кристаллизаторов
Тепловая работа кристаллизатора
Тепло от кристаллизующегося слитка
отводится в двух основных зонах - в зоне первичного охлаждения -
кристаллизаторе и в зоне вторичного охлаждения (ЗВО). Часть тепла отводится
самопроизвольно в третьей зоне - при охлаждении на воздухе.
Анализ тепловой работы МНЛЗ можно
провести с помощью составления теплового баланса, который в общем виде можно
записать так:
, (1)
где
- начальное количество тепла,
вносимое жидким металлом в кристаллизатор из промковша;
- тепло, отведенное в
кристаллизаторе с охлаждающей водой (зона первичного охлаждения);
- тепло, отведенное охлаждающей
водой и паром в ЗВО;
- тепло, отводимое при охлаждении
на воздухе (в пределах машины);
- тепло слитка, уходящего из
машины.
Величиной
- потерями
на нагрев оборудования МНЛЗ пренебрегаем.
Удельное количество тепла,
поступающего в машину с жидким металлом (энтальпия), рассчитывается по
уравнению:
, (2)
где
- скрытая теплота кристаллизации,
равная 270 кДж/кг;
и
- теплоемкости твердой и жидкой
фазы, соответственно 0,75 и 0,90 кДж/кг°С;
- температура начала затвердевания,
°С;
- конечная температура стали, °С;
- перегрев стали сверх температуры
ликвидус, °С.
Приняв величину перегрева металла
=20°С,
удельное количество тепла, вносимое с жидким металлом в кристаллизатор,
составит около 1300 кДж/кг.
Полное количество тепла,
поступающего в МНЛЗ в единицу времени (полный тепловой поток) составит:
,
(3)
где
- производительность МНЛЗ, кг/с.
Из этого баланса следует, что общее
количество тепла, отводимого в МНЛЗ, составит около 55-60% и уходит за машину
около 40-45% тепла. Из всего количества тепла, отнимаемого от металла в
пределах МНЛЗ, в кристаллизаторе отводится 20-25% тепла, в ЗВО-50% тепла и в
зоне воздушного охлаждения - 25-30% тепла. Таким образом, около 70-75% тепла
отводится принудительно в кристаллизаторе и в ЗВО.Данные представлены в таблице
7. Рассмотрим процессы теплоотвода в этих зонах более подробно.
Кристаллизатор является важнейшим
технологическим узлом МНЛЗ, так как в нем происходит формирование корочки
непрерывного слитка. Основная задача - отвод такого количества тепла, которое
обеспечит условие непрерывного формирования твердой оболочки (корочки)
достаточной толщины и прочности, способной противостоять действиям сил трения и
ферростатического давления, а так же изгибающего момента на выходе из
кристаллизатора.
Таблица 7 - Тепловой баланс МНЛЗ
|
Зоны
МНЛЗ
|
Удельное
количество тепла, кДж/кг
|
Относительное
количество тепла, %
|
|
Кристаллизатор
Зона вторичного охлаждения Воздушное охлаждение (до резки)
|
210
320 190
|
16
25 15
|
|
Итого:
в машине уходит с заготовкой за машину
|
720
580
|
56
44
|
|
Всего:
|
1300
|
100
|
Кристаллизатор как охладитель условно можно
разделить на две части - верхнюю, где наличие плотного контакта между корочкой
слитка и стенкой кристаллизатора, обеспечивает достаточно эффективный
теплообмен, и нижнюю - эффективность теплоотвода в которой резко падает из-за
образования воздушного зазора между кристаллизующейся корочкой и стенкой
кристаллизатора.
При поступлении жидкого металла в кристаллизатор
величину перегрева рекомендуется поддерживать на уровне 30°С, таким образом
температура низкоуглеродистого металла на входе в кристаллизатор составляет 1530-1550°С.
В верхней части кристаллизатора, где обеспечивается плотный контакт
кристаллизующейся корочки и стенок кристаллизатора, температура поверхности
корочки падает до 600-900°С, позже образуется воздушный зазор и температура
корочки на выходе из кристаллизатора повышается до 1100-1200°С. Средняя
температура корочки слитка в кристаллизаторе составляет 1300-1350°С.
В кристаллизаторе происходит процесс передачи
тепла от жидкого металла к охлаждающей воде, циркулирующей в охлаждающих
каналах стенки кристаллизатора.
Теплота расплавленной стали отводится из
кристаллизатора, при этом она должна пройти от жидкого металла к поверхности
корочки, сквозь образовавшуюся корочку оттуда передаться на кристаллизатор,
затем пройти через стенки последнего и наконец закончить свой путь в холодной
воде - воде первичного охлаждения.
Интенсивность теплопередачи в
кристаллизаторе характеризуется величиной средней плотности теплового потока -
и
записывается так:
,
где
- удельная интенсивность
теплопередачи (Вт/м2);
- усредненный коэффициент
теплопередачи (Вт/м2 К);
и
- температуры жидкого металла и
охлаждающей воды соответственно, °С.
Величина полного теплового потока
равна:
,
(4)
где
- поверхность теплообмена, м2.
Сложный процесс теплопередачи в
кристаллизаторе можно записать с помощью ряда уравнений, отражающих различные
стадии этого процесса:
- от жидкого металла к поверхности
корочки;
- через образовавшуюся твердую
корочку;
- от поверхности слитка к стенке
кристаллизатора;
- через медную стенку
кристаллизатора;
- от стенки кристаллизатора к
охлаждающей воде;
где
- коэффициент теплоотдачи от
жидкого металла к твердой
корочке (Вт/м2×К);
- температура солидуса для заданной
марки стали, °С;
- температура жидкой стали, °С;
- коэффициент теплопроводности
металла, (Вт/м×К);
- толщина закристаллизовавшейся
корочки металла, м;
- температура поверхности слитка,
°С;
- температура наружной стенки
кристаллизатора, °С;
- термическое сопротивление области
контакта поверхности слитка с рабочей стенкой кристаллизатора, (Вт/м×К);
- коэффициент теплопроводности
стенки кристаллизатора, (Вт/м×К);
- толщина стенки кристаллизатора,
м;
- коэффициент теплоотдачи от воды к
стенке кристаллизатора, (Вт/м2×К);
- температура охлаждающей воды, °С.
Необходимо помнить, что 1 Вт = 1
Дж/с.
Общее уравнение коэффициента
теплообмена для приведенной выше схемы можно записать:
(5)
Экспериментальные данные соотношения
термических сопротивлений на отдельных участках приведены ниже, %:
Газовый зазор 71/(60-65)
Корка слитка 26/(23-31)
Медная стенка кристаллизатора 1/-
От стенки кристаллизатора к воде 2/(4-6)
Итого 100/100
Расчет толщины твердой оболочки на
выходе из кристаллизатора
Одной из основных задач,
рассматриваемых при исследовании теплообмена в зоне кристаллизатора является
определение
- толщины
твердой корочки на выходе из кристаллизатора, которая должна выдерживать без
разрушения воздействие растягивающих напряжений, возникающих из-за действия сил
трения, ферростатического давления и изгибающего момента из-за асимметричности
приложения действующих сил.
Для упрощенных инженерных расчетов
обычно применяют уравнение:
,
(6)
где
- расстояние от мениска металла в
кристаллизаторе до сечения на выходе из кристаллизатора, м;
- скорость вытягивания заготовки,
м/мин;
= 2,3…3,2 см/мин0,5.
Задаем
(высоту
кристаллизатора) равной 120 см,
- скорость разливки равной 0,8
м/мин, тогда
.
Более точно и физически более
обосновано толщина корочки на выходе из кристаллизатора может быть определена
по количеству отводимого тепла в кристаллизаторе:
,
(7)
где
- тепловой поток в кристаллизаторе
(задаемся по экспериментальным данным);
- плотность стали, равная 7000
кг/м3;
- периметр сечения заготовки, м;
- удельная скрытая теплота
затвердевания и охлаждения до
;
- скорость разливки, м/с.
Суммарная теплота затвердевания:
, (8)
где
= 270 кДж/кг - скрытая теплота
плавления;
= 0,75 кДж/кг×°С -
удельная теплоемкость твердой стали;
- средняя температура поверхности
заготовки на выходе из кристаллизатора, °С (задаемся 1100 °С);
.2 Математическая модель дефектов
Существует достаточно большое
множество различных дефектов в практике непрерывного литья .
На примере нескольких дефектов (а
именно - трещина поперечная, пояс и неметаллические включения на поверхности)
была реализована модель, которая выявляет образование дефекта, и вследствие
чего рекомендует принять меры по его ликвидации.
Высокое содержание фосфора, серы,
меди, олова, сурьмы, мышьяка в стали вызывают ослабляющий эффект на прочность
корки непрерывнолитого слитка. При содержании углерода в стали более 0,2 %
присутствие хрома, ванадия, ниобия увеличивает склонность к появлению
поперечных трещин на поверхности слитка. Если только их содержание не является
крайне высоким, данные элементы в одиночку, обычно, не приводят к образованию
трещин. Однако, в комбинации с другими отрицательными факторами, они могут
вызвать поперечное растрескивание НЛЗ. Низкое отношение Mn/S в стали ведет к
повышению хрупкости слитка в горячем состоянии и образованию трещин[9,15,16].
Алгебраическая часть модели имеет
следующую структуру:
Y = a0+
a1*x1+ a2*x2+ a3*x3+ a4*x4+ a5*x5+ a6*x6+ a7*x1*x2+ a8*x1*x3+
a9*x1*x4+a10*x1*x5+a11*x1*x6+a12*x2*x3+a13*x2*x4+a14*x2*x5+a15*x2*x6+a16*x3*x4+a17*x3*x5+a18*x3*x6+а19*x4*x5+а20*x4*x6+а21*x5*x6+а22*x1*x2*x3+а23*x1*x2*x4+а24*x1*x2*x5+а25*x1*x2*x6+а26*x1*x3*x4+а27*x1*x3*x5+а28*x1*x3*x6+а29*x1*x4*x5+а30*x1*x4*x6+а31*x1*x5*x6+а32*x2*x3*x4+а33*x2*x3*x5+a34*x2*x3*x6+a35*x2*x4*x5+a36*x2*x4*x6+a37*x2*x5*x6+a38*x3*x4*x5+a39*x3*x4*x6+a40*x3*x5*x6+a41*x4*x5*x6.
(9)
В уравнении (9):, x2, x3, x4, x5 х6
- входные параметры, где
x1 -
[S+Cu+Sn+Sb+P+As];- [C];- [Cr+V+Nb];- [Mn/S];
x5 - V, скорость вытягивания
слитка;-. Tстн, температура металла на входе в кристаллизатор., a1, a2,…, a41 -
коэффициенты модели.
Настройка коэффициентов модели
осуществлялась поисковым методом, а именно - методом подстраиваемой модели.
Возможности Microsoft Excel
позволяют реализовать поисковый метод настройки коэффициентов модели. На
рисунке 32 приведена схема подстраиваемой модели, использующая оптимизатор
«Поиск решения» встроенный в MS Excel. Суть метода заключается в следующем.
Сумма квадратов разностей по всем опытам между фактическим значением выходного
параметра и модельным значением при одинаковых входных параметрах
минимизируется с помощью оптимизатора «Поиск решения» путем настройки
коэффициентов модели a0, a1, a2,…, a41.
Рисунок 32 - Схема метода
подстраиваемой модели
Таким образом, получаем расчетные
значения этих коэффициентов:
а0=0,9993, а1=0,9996,
a2=0,9992, a3=0,9997, a4=0,9996, a5=0,9994, a6=-0,1802, a7=0,9996, a8=0,9999,
a9=0,9993, a10=0,9998, a11=0,4263, a12=0,9998, a13=0,9996, a14=0,9994,
a15=-0,2664, a16=0,9992, a17=0,9998, a18=0,5652, a19=0,9994, a20=0,1193,
a21=0,0408, a22=1, a23=0,9991, a24=0,9997, a25=0,2867, a26=1, a27=0,9034,
a28=0,9995, a29=-0,1566, a30=0,6089, a31=0,9996, a32=0,9999, a33=0,7506,
a34=0,9995, a35=0,0185, a36=0,0762, a37=0,9995, a38=-0,2700, a39=0,7209,
a40=-0,1455, a41=1.
Далее находим значение У. Если
выполняется условие, что У > 0, то система сообщает, что технологические
параметры соблюдены, в противном случае информирует нас о том, что возможен
риск возникновения дефекта, следует обратить внимание на технологию.
Дефекты непрерывной разливки изучены
и описаны достаточно хорошо, факторы влияющие на появление того или иного
дефекта известны[2, 4, 9, 10, 11, 15, 18]. Поэтому, используя данный подход
можно построить математические модели, описывающие и другие виды дефектов.
.3 Проверка адекватности модели
Для проверки модели образования
дефектов используем данные о браке и паспорта плавок взятые в ОАО «ЕВРАЗ-ЗСМК»
и сравним их с полученными данными, для этого составим таблицу 8.
Таблица 8- настройка модели
|
№
|
х1
|
х2
|
х3
|
х4
|
х5
|
х6
|
Y
|
Yфакт
|
E
|
y
мод
|
|
1
|
0,197
|
0,63
|
0,05
|
8
|
0,55
|
1530
|
58,1481
|
0
|
3381,21
|
0
|
|
2
|
0,2
|
0,72
|
0,03
|
2
|
0,55
|
1540
|
-65,684
|
1
|
4446,69
|
1
|
|
3
|
0,4
|
1,34
|
0,04
|
2
|
0,6
|
1570
|
141,769
|
0
|
20098,43
|
0
|
|
4
|
0,197
|
0,76
|
0,02
|
1
|
0,55
|
1530
|
-122,16
|
1
|
15169,43
|
1
|
|
5
|
0,2
|
1,32
|
0,03
|
8
|
0,6
|
1510
|
22,4896
|
0
|
505,78
|
0
|
|
6
|
0,179
|
0,5
|
0,16
|
1
|
0,65
|
1592
|
205,301
|
0
|
42148,57
|
0
|
|
7
|
0,25
|
1,2
|
0,05
|
1,3
|
0,55
|
1570
|
-44,677
|
1
|
2086,37
|
1
|
|
8
|
0,21
|
0,74
|
0,04
|
7,3
|
0,6
|
1530
|
-7,9844
|
1
|
80,72
|
1
|
|
9
|
0,17
|
0,4
|
0,01
|
6,3
|
0,6
|
1520
|
1,09602
|
0
|
1,20
|
0
|
|
10
|
0,39
|
0,76
|
0,1
|
8,1
|
0,55
|
1530
|
-24,139
|
1
|
631,95
|
1
|
|
11
|
0,197
|
0,4
|
0,1
|
7,4
|
0,6
|
1520
|
-58,416
|
1
|
3530,21
|
1
|
|
12
|
0,21
|
0,9
|
0,05
|
6,5
|
0,65
|
1580
|
-65,076
|
1
|
4366,08
|
1
|
|
13
|
0,15
|
0,34
|
0,1
|
8,22
|
1578
|
7,26134
|
0
|
52,73
|
0
|
|
14
|
0,197
|
0,41
|
0,04
|
7,4
|
0,55
|
1560
|
53,4285
|
0
|
2854,60
|
0
|
|
15
|
0,3
|
1,22
|
0
|
1,5
|
0,65
|
1530
|
-89,56
|
1
|
8201,02
|
1
|
Таблица 9- проверка модели
|
№
|
х1
|
х2
|
х3
|
х4
|
х5
|
х6
|
Y
|
Yфакт
|
E
|
y
мод
|
|
1
|
0,177
|
1,06
|
0,02
|
5,26
|
0,65
|
1530
|
-105,5
|
1
|
11340,73
|
1
|
|
2
|
0,17
|
0,63
|
0,04
|
4,59
|
0,6
|
1580
|
-36,27
|
1
|
1389,40
|
1
|
|
3
|
0,178
|
0,8
|
0,03
|
7,03
|
0,55
|
1578
|
55,379
|
0
|
3066,87
|
0
|
|
4
|
0,153
|
0,63
|
0,02
|
7,03
|
0,6
|
1560
|
3,8467
|
0
|
14,80
|
0
|
|
5
|
0,178
|
1,17
|
0
|
7,91
|
0,6
|
1530
|
21,977
|
0
|
482,99
|
0
|
|
6
|
0,135
|
0,57
|
0,03
|
1,87
|
0,6
|
1530
|
-115,8
|
1
|
13646,36
|
1
|
|
7
|
0,27
|
0,48
|
0,04
|
4
|
0,55
|
1520
|
45,466
|
0
|
2067,17
|
0
|
|
8
|
0,333
|
1,11
|
0,03
|
3,25
|
0,55
|
1530
|
39,986
|
0
|
1598,89
|
0
|
|
9
|
0,025
|
0,85
|
0,04
|
6,08
|
0,65
|
1540
|
-110,7
|
1
|
12483,72
|
1
|
|
10
|
0,136
|
0,69
|
0,03
|
7,6
|
0,65
|
1530
|
-53,11
|
1
|
2927,99
|
1
|
|
11
|
0,175
|
1
|
0,03
|
7,69
|
0,6
|
1540
|
9,8668
|
0
|
97,35
|
0
|
|
12
|
0,168
|
0,62
|
0,04
|
4,28
|
0,6
|
1570
|
-42,92
|
1
|
1928,60
|
1
|
|
13
|
0,258
|
1,31
|
0
|
5,92
|
0,55
|
1530
|
-2,344
|
0
|
5,50
|
1
|
|
14
|
0,187
|
0,87
|
0,03
|
3,21
|
0,65
|
1510
|
-97,96
|
1
|
9792,41
|
1
|
|
15
|
0,189
|
0,46
|
0
|
5,38
|
0,65
|
1540
|
-64,32
|
1
|
4266,86
|
1
|
В таблицах 8 и 9 приведены результаты
моделирования.
Как видно из таблицы настройки модели,
совпадение модельных и фактических данных составляет 100%. А из таблицы
проверки модели видно, что имеется одна ошибка, что в процентном отношении
составляет 6,7%.
Это говорит о том, что данная модель адекватна,
и ей можно пользоваться для решения практических задач (прогнозирование,
управление).
3. Программное обеспечение автоматизированной
технологии
.1 Алгоритмы расчета основных параметров модели
В условиях производства входные данные берутся
из АСУ, в таких условиях работа программы может осуществляться как в
автоматическом режиме, так и в ручном. Для проверки работы программы данные
может вводить сам пользователь.
На основе предложенной модели кристаллизации и
образования дефектов была создана программа.
Для определения возможности возникновения
дефекта необходимо задать 12 параметров: толщину оболочки, начальную
температуру, температуру солидус, периметр сечения слитка, высоту
кристаллизатора, скорость вытягивания слитка, расход воды, температуру металла
на входе, количество углерода, хрома, ванадия, ниобия, серы, меди, стронция,
сурьмы, фосфора, мышьяка и отношение количества марганца к количеству воды .
После того как заданы все параметры производится расчет коэффициента
теплоотдачи, температуры воды, изменения температуры воды, толщины оболочки
слитка и Умодельного.
.2 Разработка интерфейса
При запуске программы пользователь видит
следующую форму (рисунок 33).
Рисунок 33 - Главное окно программы
«Бездефектная разливка стали»
Главное окно представляет собой форму, в которой
находится кнопа «Рассчитать», и «Выход».
При нажатии на кнопку «Рассчитать» производится
расчет технологических параметров.
Для того, чтобы закрыть программу пользователь
должен нажать кнопку «Выход».
4. Экономическая часть
В данной части дипломного проекта
рассматриваются:
а) проектные затраты, включающие в себя затраты
времени, заработной платы участников дипломного проекта, затраты на материалы,
энергетические затраты;
б) затраты на внедрение и эксплуатацию
создаваемой системы;
в) расчет эффективности созданной системы.
В данном дипломном проекте рассматривается
создание проекта по модернизации автоматизированной системы бездефектной
разливки стали.
Данный проект не предусматривает модернизацию
действующего оборудования.
План работ представлен в таблице 10.
Таблица 10- план работ
|
Наименование
этапа
|
Исполнитель
|
Количество
дней исполнения
|
Коэф.
загрузки
|
|
Постановка
задачи
|
Парфенова
А.Л. ст. гр.ИСМ-07
|
12
|
1
|
|
Буинцев
В. Н. к.т.н., доцент
|
|
0,9
|
|
Обзор
литературы
|
Парфенова
А.Л. ст. гр.ИСМ-07
|
10
|
0,2
|
|
Буинцев
В. Н. к.т.н., доцент
|
|
0,8
|
|
Составление
плана работы
|
Парфенова
А.Л. ст. гр.ИСМ-07
|
10
|
0,2
|
|
Буинцев
В. Н. к.т.н., доцент
|
|
0,8
|
|
Описание
объекта автоматизации
|
Парфенова
А.Л. ст. гр.ИСМ-07
|
12
|
1
|
|
Описание
действующей АСУ ТП
|
Парфенова
А.Л. ст. гр.ИСМ-07
|
12
|
1
|
|
Безопасность
и экологичность проекта
|
Парфенова
А.Л. ст. гр.ИСМ-07
|
10
|
0,8
|
|
Темлянцев
Н.В. доцент, к.т.н.
|
|
0,2
|
|
Технико-экономическое
обоснование проекта
|
Парфенова
А.Л. ст. гр.ИСМ-07
|
10
|
0,8
|
|
Думова
Л.В ст.пр.
|
|
0,2
|
|
Управление
качеством проекта
|
Парфенова
А.Л. ст. гр.ИСМ-07
|
10
|
0,8
|
|
Падалко
А. Г. к.т.н., доцент
|
|
0,2
|
|
Оформление
пояснительной записки и графической части
|
Парфенова
А.Л. ст. гр.ИСМ-07
|
12
|
0,8
|
|
Буинцев
В. Н. к.т.н., доцент
|
|
0,2
|
Занятость в разработке проекта составила 98
дней.
.1 Расчет затрат на проектирование
Затраты на проектирование определяются по
формуле:
З = Змат + Зз/пл +ЗСВ+ Зэл + Зн.р + Зпр,
где: З - затраты на выполнение разработки, руб;
Змат - затраты на материалы, руб;
Зз/п соц - расходы на оплату труда, руб;
ЗСВ- отчисления на социальное страхование, руб;
Зэл - затраты на электроэнергию, руб;
Зн.р-накладные расходы, руб;
Зпр - прочие затраты, руб.
Расчет затрат на материалы
Затраты на материалы состоят из затрат на
приобретение материалов.
Необходимые материалы отражены в таблице 11.
Таблица 11-перечень необходимых материалов,
затраты.
|
Наименование
материалов
|
Цена
за ед., руб.
|
Количество
|
Сумма,
руб.
|
|
|
|
|
|
Бумага
А4 (Svetocopy)
|
180
|
2
|
360
|
|
Флеш-накопитель
Transcend 16Гб
|
650
|
1
|
650
|
|
Картридж
для лазерного принтера Brother TN-2080
|
1190
|
1
|
1190
|
|
Итого
|
|
|
2200
|
Расчет затрат на оплату труда проектировщиков
Расчет заработной платы рассчитывается на каждом
этапе проекта и зависят от коэффициента загрузки работника на этапе,
длительности этапа и оклада инженера- проектировщика и руководителя проекта.
Определим среднедневную оплату труда по формуле
11:
дн= заработная плата/кол-во рабочих дней в
месяце. (11)
Подставив значения получим :дн руководителя
проекта= 15000/22=681,8 (руб/день).дн инженера-разработчика=10000/22=454,5
(руб/день).дн консультантов=10000/22=454,5 (руб/день).
Зарплата исполнителей рассчитывается по формуле
12:
Зз/пл=
дн*кол-во дней в этапе*коэф.
загрузки). (12)
Подставив значения в формулу
получим:
Зз/пл руководителя проекта =
(12*0,9+10*0,8+10*0,8+12*0,2)*681,8=19908,56 (руб.),
Зз/плинженера-разработчика=
(12*1+10*0,2+10*0,2+12*1+12*1+10*0,8+10*0,8+10*0,8+12*0,8)*454,5=33451,2
(руб.),
Зз/пл консультанта =
10*0,2*454,5=909(руб.).
Общие затраты на оплату труда
проектировщика расчитываются по формуле 13:
Зз/пл= Зз/пл руководителя проекта+
Зз/пл инженера-разработчика+ 3*Зз/пл консультанта (13)
Зз/пл=19908,56+33451,2+3*909=56086,76
(руб.).
Расчет отчислений на социальное
страхование.
Размер страховых отчислений
составляют 30% от заработной платы, рассчитывается по формуле 14:
Зсв= Зз/пл*30%. (14)
Подставив значения получаем:
Зсв= 56086,76 *30%=16826,02(руб).
Расчет накладных расходов.
Накладные расходы принимаем в
размере 7% от суммы заработной платы и страховых отчислений на социальные нужды
и рассчитываем по формуле 15
Зн.р=(Зз/пл+ЗСВ)*7%. (15)
Подставив значения в формулу
получаем:
Зн.р=(56086,76+16826,028)*7%=5103,89
(руб.).
Расчет затрат на электроэнергию.
Затраты на электроэнергию
рассчитываются по формуле 16:
Зэл.эн=Сэл.эн*Р*Т*Кр*КТ, (16)
где Сэл.эн- цена за 1 кВт ч, руб;
Р-мощность токоприемника, кВт;
Т-время использования
токоприемника,ч;
Кр-коэффициент загрузки по мощности;
КТ-коэффициент загрузки по времени.
Общее время использования компьютера
составляет 86 дней. Продолжительность рабочего дня - 8 часов. Принтер
используется только на заключительных стадиях, поэтому будем считать, что время
его использования составляет 10 дней. Причем продолжительность работы
составляет не более 20 минут в сутки, что составляет 4% от общего времени.
Затраты на электроэнергию
представлены в таблице 12.
Таблица 12- Затраты на
электроэнергию
Наименование
токоприем-ника
|
Мощность,
кВт
|
Время
использования, ч
|
Цена
за 1 кВт ч, руб
|
Коэффициент
загрузки по мощности
|
Коэффициент
загрузки по времени
|
Затраты
на электро-энергию
|
|
1
|
Ноутбук
|
0,5
|
688
|
1,53
|
0,9
|
1
|
473,69
|
|
2
|
Принтер
|
0,012
|
80
|
1,53
|
1
|
0,04
|
0,05
|
|
Итого:
|
473,74
|
Расчет прочих затрат
Прочие затраты принимаем в размере 2% от всех
существующих затрат, кроме накладных и рассчитываем по формуле 17:
Зпр=(Змат+Зз/пл+Зсв+Зэл.эн)*2%. (17)
Подставив значения в формулу получим:
Зпр=(2200+56086,76+16826,02+473,74)*2%=1511,73
(руб.).
Смета проектных затрат
Смету проектных затрат представим в виде таблицы
13.
Таблица 13- Смета проектных затрат
|
№
|
Статья
затрат
|
Ед.измерения
|
Значение
показателя
|
|
1
|
Затраты
на материалы
|
руб.
|
2200
|
|
2
|
Затраты
на оплату труда
|
руб.
|
56086,76
|
|
3
|
Отчисления
на социальное страхование
|
руб.
|
16826,02
|
|
4
|
Накладные
расходы
|
руб.
|
5103,89
|
|
5
|
Затраты
на электроэнергию
|
руб.
|
473,74
|
|
6
|
Прочие
затраты
|
руб.
|
1511,73
|
|
Итого
|
руб.
|
82202,14
|
.2 Затраты на внедрение системы
Затраты на внедрение системы определяются по
формуле 18:
Звн = Зоб + Зз/пл +ЗСВ+ Зэл + Зн.р + Зпр,
(18)
где:
Звн -затраты на внедрение сиситемы, руб.;
Зоб - затраты на обучение персонала, руб.;
Зз/п соц - расходы на оплату труда, руб.;
ЗСВ- отчисления на социальное страхование ,
руб.;
Зэл - затраты на электроэнергию, руб.;
Зн.р-накладные расходы, руб.;
Зпр - прочие затраты, руб.
Заработная плата и отчисление на социальное
страхование персонала, эксплуатирующего систему
Для эксплуатации системы необходимы: оператор
МНЛЗ, оператор ПУ, разливщик, технолог, бухгалтер.
Заработная плата персонала рассчитывается по
формуле 19
З з/п = Ом + (Ом * В * 0,3), (19)
где
З з/п - заработанная плата;
Ом - месячный оклад сотрудника;
В - время работы;
,3 - районный коэффициент 30 %.
Отчисления на социальное страхование
рассчитываются по формуле.
Сведения о заработной плате сведены в таблицу
14.
Таблица 14 - заработная плата персонала
|
Должности
исполнителей
|
Месячный
оклад, руб.
|
Время
работы
|
Районная
надбавка, руб.
|
Общая
зарплата, руб.
|
|
Оператор
МНЛЗ
|
12000
|
1
месяц
|
3600
|
15600
|
|
Оператор
ПУ
|
10000
|
1
месяц
|
3000
|
13000
|
|
Разливщик
|
12000
|
1
месяц
|
3600
|
15600
|
|
Технолог
|
14000
|
1
месяц
|
4200
|
18200
|
|
Бухгалтер
|
15000
|
1
месяц
|
4500
|
19500
|
|
ИТОГО
|
81900
|
|
Стаховой
взнос
|
24570
|
Таким образом, общие затраты на оплату труда
обслуживающему персоналу и отчисление на социальное страхование:
Зз/п = 81900 руб. + 24570 руб. = 106470 руб.
Затраты на электроэнергию
Затраты на электроэнергию, затрачиваемую при
работе оборудования рассчитываются по формуле:
Зэл.эн=Сэл.эн*Р*Т*Кр*КТ*Кк,
где Сэл.эн- цена за 1 кВт ч, руб;
Р-мощность токоприемника, кВт;
Т-время использования токоприемника,ч;
Кр-коэффициент загрузки по мощности;
КТ-коэффициент загрузки по времени.
Кк - количество компьютеров;
Месячные плановый фонд рабочего времени
рассчитывается следующим образом:
Фрв = (Дг - Дв - Дп - Дпр) * Тд, где:
Дг = 31 - количество дней в месяце;
Дв = 5 - количество выходных дней в месяце;
Дп = 1 - количество праздничных дней в месяце;
Дпр = 2 - количество дней профилактики;
Тд = 8 - число рабочих часов в день;
Фрв = (31-5-1-2)*8 = 184 часа
Таким образом получаем:
Сэл = 5 * 0,5 * 184 * 1,53 * 0,9 * 0,9 = 570,078
(руб.).
Затраты на обучение персонала
Обучение персонала производится разработчиком
системы. Срок обучения 15 академических часов, оплата производится из расчета
500 руб. 1 академический час.
С обуч = 15 * 500 = 7500 руб.
Накладные расходы
Накладные расходы принимаем в размере 7% от
суммы заработной платы и отчислений на социальное страхование.
Спр = 106470* 0,07 = 7452,9 руб.
Расчет прочих затрат
Прочие затраты принимаем в размере 2% от всех
существующих затрат, кроме накладных
Зпр=(81900+24570+570,08+7500)*2%=2290,8 (руб.).
Смета затрат на внедрение проекта приведена в
таблице 15.
Таблица 15 - Смета затрат.
|
№
|
Статья
затрат
|
Ед.измерения
|
Значение
показателя
|
|
1.
|
Затраты
на оплату труда
|
руб.
|
81900
|
|
2
|
Отчисления
на социальное страхование
|
руб.
|
24570
|
|
3
|
Затраты
на обучение персонала
|
|
7500
|
|
4
|
Накладные
расходы
|
руб.
|
7452,9
|
|
5
|
Затраты
на электроэнергию
|
руб.
|
570,08
|
|
6
|
Прочие
затраты
|
руб.
|
2290,8
|
|
Итого
|
руб.
|
206485,92
|
Теперь можно рассчитать суммарные затраты на
разработку и внедрение автоматизированной системы:
З = Зпр + З вн = 82202,14+ 206485,92= 288688,06
(руб.).
.3 Экономическая эффективность проекта
Современные наука и практика пока не позволяют
предложить режимы, гарантирующие полное отсутствие дефектов в непрерывнолитых
заготовках.
Важнейшим требованием к управлению МНЛЗ является
недопустимость аварии, вызванной прорывом оболочки слитка. С другой стороны
существует необходимость обеспечения максимальной производительности разливки.
После внедрения на предприятии данной системы
существенно повысится качество разливки заготовок.
Экономический эффект от внедрения этой системы
достигается в результате сокращения доли отбраковки заготовок.
Это приведет к уменьшению расходов, повысит
производительность, что в свою очередь повысит прибыльность предприятия.
По данным ЭСПЦ-2 ОАО «ЕВРАЗ-ЗСМК» за 2010г. доля
брака составила 2051,7 т стали.
После внедрения автоматизированной системы брак
планируется снизить до 1830,59т (на 10,8%), тогда ожидаемая годовая экономия
составит:
Эг=221,11*10000=2211100 (руб.),
где 10000 руб. - стоимость 1т стали.
Для условий экономической эффективности
необходимо рассчитать срок окупаемости (формула 20):
Тср.ок. = З/Эг, (20)
где Тср.ок.- срок окупаемости;
З - суммарные затраты на разработку и внедрение
автоматизированной системы;
Эг - ожидаемая экономия;
Тогда срок окупаемости после внедрения новой
автоматизированной системы будет равен:
Тср.ок. = 288688,06/ 2211100=0,24года=2,86мес.
Следовательно, внедрение данного проекта имеет
высокую экономическую эффективность.
5. Управление качеством
.1 Методы управления качеством
Особое место среди организационно-технологических
методов занимают статистические методы управления качеством. Кратко рассмотрим
концепцию статистического управления качеством и некоторые наиболее
распространенные методы статистического анализа и управления качеством.
Статистическое регулирование качества результата
процесса обеспечивается путем воздействия непосредственно на процесс (рис.34).
Рисунок 34 - Статическое регулирование процесса
Для анализа и улучшения качества широко
используются такие методы, как диаграммы Парето и Исикавы. Анализ качества
методами Парето и Исикавы находит применение в производственных подразделениях
предприятий, а также в делопроизводстве, финансовой и хозяйственной сферах, в
области материально-технического снабжения, а также при управлении,
проектировании, разработке и освоении технологий, контроле качества на
различных стадиях цикла жизни продуктов труда и т.п. Как правило, подобный
контроль качества заключается в том, чтобы, проверяя специальным образом
подобранные данные, обнаружить отклонение параметров от контролируемых значений
в момент их возникновения, найти причину их появления и после устранения
причины проверить соответствие данных стандарту или норме.
Диаграмма Парето
Таблица 16-Типы и число дефектов
|
Технология
|
Число
дефектов
|
Накопленная
сумма числа дефектов
|
Доля
числа дефектов в %
|
Суммарная
доля, %
|
|
Пояс
|
835,516
|
835,516
|
40,7231
|
40,72314736
|
|
Шлаковые
включения на поверхности
|
420,531
|
1256,047
|
20,4967
|
61,21987739
|
|
аварийный
скрап
|
240,402
|
1496,449
|
11,7172
|
72,93709893
|
|
Хим/анализ
|
219,969
|
1716,418
|
10,7213
|
83,65841367
|
|
Немерная
длина
|
179,212
|
1895,63
|
8,73481
|
92,39322746
|
|
Кривизна
заготовки
|
43,694
|
1939,324
|
2,12965
|
94,52287812
|
|
Осевая
рыхлость на торце заготовки
|
36,365
|
1975,689
|
1,77243
|
96,29531247
|
|
газовые
пузыри
|
22,789
|
1998,478
|
1,11074
|
97,40605099
|
|
Продольная
трещина поверхности
|
15,747
|
2014,225
|
0,76751
|
98,17356161
|
|
Технология
|
12,703
|
12,703
|
0,61915
|
98,79270731
|
|
Кристаллизационная
борозда
|
7,823
|
20,526
|
0,38129
|
99,17400124
|
|
Заливины
|
7,194
|
27,72
|
0,35064
|
99,52463764
|
|
Ужимы
|
3,802
|
31,522
|
0,18531
|
99,70994757
|
|
Поперечная
трещина поверхности
|
3,481
|
35,003
|
0,16966
|
99,87961191
|
|
косой
рез
|
2,007
|
37,01
|
0,09782
|
99,97743333
|
|
Трещины
в торце заготовки (угловые)
|
0,463
|
37,473
|
0,02257
|
100
|
|
2051,698
|
|
100
|
|
На рисунке 35 изображена диаграмма Парето,
отображающая распределение брака, начиная от максимально количества.
Рисунок 35.-Диаграмма Парето
Большое значение для успешного бизнеса
организации имеет контроль качества выпускаемой продукции. Организация контроля
качества - это система мероприятий, направленных на обеспечение производства
продукции, полностью соответствующей требованиям нормативно-технической
документации. Под контролем качества понимается проверка соответствия
количественных или качественных характеристик свойств продукции или процесса,
от которого зависит соответствие качества продукции установленным техническим
требованиям.
.2 Причины дефектов и способы их устранения
Неметаллические включения
На загрязненность стали включениями существенное
влияние оказывают особенности формирования слитка при непрерывной разливке.
Большое отношение длины непрерывнолитого слитка
к его толщине, приводящее к увеличению глубины жидкой фазы, непрерывное
опускание жидкого металла с его твердой оболочкой и непрерывное наращивание
сверху новых слоев затрудняют процесс отстаивания и всплывания неметаллических
включений.
Более длительный контакт разливаемого металла с
атмосферой окружающего воздуха активизирует процессы вторичного окисления в
ходе разливки.
В то же время, при непрерывной разливке скорость
кристаллизации выше, ширина 2-х фазной зоны и время пребывания металла в 2-х
фазном состоянии меньше. В отличие от слитка, отлитого в изложницу, каждое
поперечное сечение непрерывнолитой заготовки по ее высоте формируется при
постоянных теплофизических условиях.
Эти отличия благоприятно сказываются на
содержании и характере распределения неметаллических включений в объеме НЛЗ.
Технология производства стали, то есть
раскисление, и уровень содержания кислорода до раскисления оказывают
определяющее влияние на уровень загрязненности НЛЗ включениями.
Один из значимых источников неметаллических
включений в стали являются огнеупоры, применяемые для футеровки
сталеразливочных и промежуточных ковшей. Включения образуются при химических
реакциях огнеупорных материалов с жидкой сталью. Повышенная загрязненность
продуктами эрозии огнеупоров отмечается в НЛЗ из стали с повышенной
окисленностью.
После эффективно проведенных операций
раскисления и доводки стали на УКП важна надежная защита стали от вторичного
окисления в ходе разливки.
При неблагоприятных гидродинамических условиях в
промковше крупные включения могут затягиваться в дозирующий узел и попадать в
кристаллизаторы.
При определении чистоты непрерывнолитых
заготовок используют такой оценочный параметр, как краевые точечные загрязнения
(КТЗ).
Краевые точечные загрязнения проявляются в виде
точечных скоплений ликватов (в основном сульфидов и шлаков) по сечению НЛЗ и
определяются величиной точек и плотностью их расположения.
Основными мерами, позволяющими снизить загрязненность
стали неметаллическими включениями являются:
тщательное раскисление стали (минимизация
содержания кислорода в металле, подаваемом для разливки);
обработка металла кальцием для оптимизации формы
и состава включений;
использование износостойких огнеупоров для
футеровки сталеразливочного и промежуточного ковшей;
обеспечение надежной защиты струй металла из
сталеразливочного и промежуточного ковшей (применение погружных труб и
стаканов, использование инертного газа);
изоляция зеркала металла в промковше и
кристаллизаторах;
обеспечение оптимальных условий всплывания
включений в промежуточном ковше (обеспечение оптимальной формы промковша,
поддержание высокого уровня металла, установка специальных перегородок,
применение рафинирующих смесей для ассимиляции включений, продувка металла
инертным газом через пористые пробки в днище ковша);
применение электромагнитного перемешивания
металла для облегчения всплывания включений в кристаллизаторах и их более
равномерного распределения в НЛЗ.
На загрязненность стали неметаллическими
включениями, также, могут оказывать влияние точность и быстрота выполнения
технологических операций в процессе разливки стали на МНЛЗ:
наполнение промежуточного ковша металлом, в
начале разливки, должно производится максимально быстро, при этом, зеркало
металла в ковше должно быть быстро и эффективно защищено с помощью изолирующей
засыпки;
количество шлака из стальковша, попадающего в
промковш во время перековшовок плавок, должно быть минимизировано;
при перековшовках плавок нельзя допускать
существенного падения уровня металла в промковше, так как это может привести к
ухудшению организации струй металла и затягиванию в металл шлака с поверхности;
по возможности должно быть ограничено количество
случаев использования кислорода для прожигания каналов дозирующих узлов ковшей
и обрезки возможных настылей;
операции по замене защитных труб, стаканов,
сильфонов должны производится максимально оперативно;
при разливке без защиты стали от вторичного
окисления должна быть обеспечена удовлетворительная плотность и минимальная
длина струй металла.
Рекомендуется поддерживать отношение марганца к
кремнию в стали на уровне около 3,0.
Пояс
При прекращении подачи металла, например в
случае замены погружаемого стакана промежуточного ковша, прожигании дозирующих
каналов или в результате неполадок в газорезке оболочка слитка в районе зеркала
отходит от стенок кристаллизатора по всему периметру. Возобновление процесса
разливки приводит к переливу металла через верх оболочки слитка и образованию
пояса металла, загрязненного шлаковыми включениями. Этот вид дефекта может быть
предотвращен стабильной разливкой без длительного перерыва струи и образования
окисленной корочки на зеркале металла в кристаллизаторе.
Наибольшее влияние на пораженность НЛЗ данным
дефектом оказывает уровень «свободного» кислорода в стали. Ввиду высокой
скорости охлаждения слитка, присущей процессу непрерывной разливки, в металле
присутствует «свободный» кислород для образования окиси углерода. Чтобы
избежать образования газовых пор, уровень «свободного» кислорода в стали должен
быть снижен до минимального уровня (особенно при разливке низкоуглеродистых
марок стали), поэтому очень важно эффективное проведение операции раскисления
стали.
Избыточное количество смазки в кристаллизаторе,
повышенное содержание влаги в масле или ШОС могут привести к образованию
поверхностных газовых пузырей.
Расход смазки в кристаллизаторы должен быть
установлен на минимальном уровне, достаточном для исключения подвисаний слитка
на стенках гильз. Необходим постоянный контроль за содержанием влаги в смазке,
подаваемой в кристаллизаторы.
Резкие изменения уровня металла в
кристаллизаторе, также приводят к образованию корковых пузырей в НЛЗ.
Причиной пузырей в НЛЗ может стать повышенное
содержание влаги в футеровке промковша и засыпке зеркала металла.
Продольные поверхностные трещины
Трещины представляют собой нарушения сплошности
в виде разрывов металла. Образование трещин в непрерывнолитом слитке связано с
напряжениями, возникающими в процессе его формирования, и обусловлено
пониженной прочностью и пластичностью в различных температурных интервалах.
Поверхностные продольные трещины, связанные с
искажением профиля слитка, являются результатом повышенной ромбичности
заготовок, ужимин на поверхности или выпучивания граней НЛЗ. Трещины данного
вида распространяются изнутри заготовки вдоль диагонали между тупыми углами.
Обычно такая трещина сворачивает в сторону от диагонали непосредственно перед
углом и появляется на поверхности около угла, где корка слитка наиболее тонкая.
Данный дефект НЛЗ, при его грубом развитии,
может привести к прорыву металла при нахождении слитка в ЗВО.
Продольные трещины, не связанные с искажением
профиля НЛЗ, могут иметь вид от коротких нитевидных (иногда не видимых без
зачистки поверхности) до грубых со значительной шириной раскрытия. Данные
трещины могут располагаться непосредственно по углам, на некотором смещении от
углов или по граням заготовок .
Основной причиной появления продольных трещин
является износ или деформация профиля гильз кристаллизаторов. По мере
эксплуатации кристаллизаторов происходит износ и деформация рабочих стенок
гильз по граням и углам, что снижает эффективность и равномерность первичного
охлаждения слитка, ведет к появлению локальных утонченных участков корки НЛЗ, в
районе которых могут образовываться продольные трещины.
При значительном расширении трещины металл может
прорываться из жидкой середины наружу, и если это происходит в кристаллизаторе,
образуются наплывы на поверхности НЛЗ.
Грубые трещины могут явиться причиной разрыва
оболочки слитка под кристаллизатором (прорыва металла). По данной причине
необходим строгий контроль за изменением профиля гильз кристаллизаторов в ходе
эксплуатации, для определения момента их предельного износа и замены.
Опыт показывает, что проблемы с растрескиванием
НЛЗ возникают после содержания углерода в стали около 0,15 % и достигают своего
максимума при [C] = 0,40 %. При содержании углерода около 0,40 % усадка
приближается к максимуму, прочность на растяжение падает, в то время как пластичность
все еще относительно низкая.
Для нелегированных углеродистых марок стали с
содержанием углерода около 0,18 % (0,17¸0,24 %)
пластичность минимальная. Этим можно объяснить высокую трещиночувствительность
данных сталей.
Присутствие вредных и остаточных элементов в
стали (например, повышенное содержание P, S, Cu, Sb, Sn, As) при углероде в
диапазоне 0,30 ¸ 0,50 % оказывает
дополнительное существенное ослабляющее влияние на прочность корки слитка.
Для ограничения растрескивания НЛЗ отношение
Mn/S в стали рекомендуется поддерживать на уровне не менее 25.
Поверхностные пузыри
Газовые пузыри - это дефект в виде единичных или
групповых пор, пустот округлой или вытянутой формы.
Пузыри на поверхности НЛЗ могут быть результатом
газовыделения при затвердевании слитка, при сгорании смазки в кристаллизаторе,
при использовании огнеупоров с повышенной влажностью.
Наибольшее влияние на пораженность НЛЗ данным
дефектом оказывает уровень «свободного» кислорода в стали. Ввиду высокой
скорости охлаждения слитка, присущей процессу непрерывной разливки, в металле
присутствует «свободный» кислород для образования окиси углерода. Чтобы
избежать образования газовых пор, уровень «свободного» кислорода в стали должен
быть снижен до минимального уровня (особенно при разливке низкоуглеродистых
марок стали), поэтому очень важно эффективное проведение операции раскисления
стали.
Избыточное количество смазки в кристаллизаторе,
повышенное содержание влаги в масле или ШОС могут привести к образованию
поверхностных газовых пузырей.
Расход смазки в кристаллизаторы должен быть
установлен на минимальном уровне, достаточном для исключения подвисаний слитка
на стенках гильз. Необходим постоянный контроль за содержанием влаги в смазке,
подаваемой в кристаллизаторы.
Резкие изменения уровня металла в
кристаллизаторе, также приводят к образованию корковых пузырей в НЛЗ.
Причиной пузырей в НЛЗ может стать повышенное
содержание влаги в футеровке промковша и засыпке зеркала металла.
Для исключения пораженности НЛЗ поверхностными
пузырями необходимо проведение оптимального раскисления стали, минимизация
содержания влаги в смазке кристаллизаторов, огнеупорах промковшей, применяемых
теплоизолирующих засыпках
6. Безопасность и экологичность проекта
.1 Охрана труда
Анализ условий труда на УПСА в ЭСПЦ-2 ОАО
"ЕВРАЗ-ЗСМК"
ЭСПЦ-2 размещен в закрытом здании. Планировка
цеха соответствует последовательности производимых технологических операций, в
результате чего исключается встречное движение сырья и готовой продукции, что
важно для создания нормальных санитарно-гигиенических условий и безопасности
труда.
При выполнении технологических операций
работником используется оборудование, которое связано с применением электротока
высокого напряжения (до 10000 В) и инертных газов (азот/аргон). Эксплуатация
такого оборудования является ответственной технологической операцией, которая
требует разработки проектных решений.
К числу опасных и вредных факторов при работе
оператора УПСА относятся:
опасность травмирования на площадке под
консольно-поворотным механизмом фурмы;
травмирование передаточной тележкой для
установки бухты с алюминиевой проволокой при запасовке в трайб-аппарат;
опасность ожога: от шахты постановки кассет с
фурмами,
при отборе проб металла и шлака,
при замере температуры жидкого металла в ковше,
от расплавленного металла или шлака при подрезке
"козла";
тепловое излучение расплавленного металла и шлака
(более 0,35 КВт/м2) ;
загазованность окружающей среды при продувке
металла;
запыленность воздушной среды при транспортировке
сыпучих, загрузке бункеров с ферросплавами для корректировки химсостава жидкого
металла (5,1-8,1 г/м3); выпуске стали и шлака в печном пролете (5,0-7,0 г/м3);
газовые выделения при работе газовых горелок и
при сушке футеровок ковшей и печи (состав:15-25% СО, 5-11% СО2, 0,5-3,5% Н2,
3,5-10% О2, 61-72% N 2, концентрация пыли в газе 2-10 г/м3);
электромагнитные излучения;
шум от работы различного технологического
оборудования.
Наибольшую опасность в ЭСПЦ-2 представляют
возможные взрывы при протекании различных процессов и большое количество
оборудования, работающего под высоким напряжением.
Взрывы в цехе могут наблюдаться при контакте расплавленного
металла и шлака с водой; вследствие бурного протекания химических реакций при
продувке, раскислении и разливке стали. Взрывы при контакте металла и шлака с
водой могут происходить из-за утечки воды из устройства охлаждения фурмы.
Взрывы могут вызывать и ферросплавы, нарушая равновесие ванны. К мерам
предупреждения взрывов относятся: недопустимость подачи раскислителей в пустой
ковш; сушка ковшей; подача ферросплавов небольшими дозами; измельчение крупных
кусков ферросплавов.
Электросталеплавильный цех относится к
помещениям, особо опасным в отношении поражения электротоком, оборудование
расположено на различной высоте и работает при высокой температуре окружающего
воздуха и наличии пыли и газов.
Общее электроснабжение цеха осуществляется через
цеховую подстанцию. Все подключения на ней осуществляются с помощью
высоковольтной аппаратуры, обслуживание которой должно быть безопасным, так как
напряжение достигает 10 кВ, а сила тока до 100 А. Подача и распределение
электроэнергии по потребителям внутри цеха осуществляется по кабелям, проводам,
шинам. Кабели уложены в специальных каналах, туннелях, трубах открыто вдоль
стен. Токопровода в доступных для соприкосновения местах ограждены сетками. Все
токоведущие части машин закрыты кожухами. Для защиты рабочих от поражения током
оборудование снабжено защитным заземлением (в соответствии с ПУЭ-2001).
Инфракрасное (тепловое) излучение играет
определяющую роль при формировании микроклимата в ЭСПЦ-2 и оказывает
неблагоприятное действие на организм трудящихся. Значительная площадь,
занимаемая электросталеплавильным цехом, и неравномерность распределения
источников тепловыделения в нем обуславливают неравномерный нагрев воздуха на
различных его участках.
Оптимальные и допустимые величины температуры,
относительной влажности и скорости движения воздуха (в соответствии с СанПиН
2.2.4.548-96) устанавливаются для рабочей зоны производственных помещений с
учетом избытков явного тепла, тяжести выполняемой работы и сезонов года.
Данные параметров микроклимата в тёплые и
холодные периоды года приведены в таблице 17.
Таблица 17 - Температура воздуха рабочей зоны
производственных помещений ОНРС
|
Наименование
участка
|
Фактическая
температура, °С
|
|
Тёплый
период года
|
Холодный
период года
|
|
Передвижная
площадка
|
21-31/26
|
1-15/8
|
|
ПУ
(слив металла)
|
22-32/27
|
16-16/16
|
|
ПУ№1
|
24-24/24
|
18-25/22
|
|
Кабина
крана №16
|
24-29/27
|
18-24/21
|
|
ПУ№2
|
22-25/24
|
14-19/17
|
Таблица 18 - Относительная влажность воздуха
рабочей зоны ОНРС
|
Наименование
участка
|
Допустимая
относительная влажность, %
|
Фактическая
относительная влажность, %
|
|
|
Теплый
период
|
Холодный
период
|
|
Передвижная
рабочая площадка
|
75%
при t=24°С
|
58
|
54
|
|
Пульт
управления (слив металла)
|
70%
при t=25°С
|
47
|
59
|
|
Пульт
управления №1
|
65%
при t=26°С
|
45
|
55
|
|
Кабина
крана
|
60%
при t=27°С
|
51
|
62
|
|
Пульт
управления №2
|
55%
при t=28°С
|
55
|
45
|
Анализ параметров микроклимата в тёплые и
холодные периоды года показывает, что имеются отклонения от требуемых норм, что
является нарушением СанПиН 2.2.4.548 - 96 "Гигиенические требования к
микроклимату производственных помещений".
Сведения о максимальной запыленности и
загазованности рабочего мета в ЭСПЦ-2 представлены в таблице 19.
Таблица 19 - Сведения о максимальной
запыленности и загазованности рабочего места в ЭСПЦ-2
|
Рабочее
место
|
Определяемое
вещество
|
Количество
замерных проб
|
ПДК,
мг/м3
|
Максимальная
концентра ция, мг/м3
|
Средняя
из всех проб, мг/м3
|
|
Выпуск,
пост управления сталевозом
|
Пыль
|
2
|
4.0
|
14.7
|
13.7
|
|
Оксид
Mn
|
2
|
0.05
|
0.2
|
0.193
|
Максимальная концентрация пыли и оксида марганца
превышает ПДК на всех рабочих местах цеха: в печных пролетах печей №1, 2; в
кабине крана на шихтовом дворе; на рабочей площадке шихтовщика; в бункерном
отделении; на участке ремонта ковшей; на передвижной разливочной площадке у
пульта управления; в пультах управления №1, 4; в кабинах крана №16, 24; на
посту управления №2; на рабочей поверхности обработчика поверхностных пороков.
Для отвода из помещения выделяемого тепла, а
также снижения концентрации пыли и газов в рабочей зоне максимально
используется аэрация: приточные и вытяжные камеры группируются и размещаются
вне производственных площадей, располагаясь на антресолях, во вставках между
пролетами. На сталеразливочном участке воздух подается в рабочую зону на высоте
3.5-5 метров от пола. Скорость воздуха в проемах для локализации паров и газов
составляет 0.15-0.25 м/с при отсосе тепла.
Работа оборудования сопровождается шумом.
Фактические и предельно-допустимые уровни шума в
"ЭСПЦ-2 приведены в таблице 20.
Таблица 20 - Уровни шума в условиях ЭСПЦ-2
|
Уровень
шума
|
Уровни
звукового давления, дБА, в октавных полосах со среднегеометрическими
частотами, Гц.
|
|
63
|
125
|
250
|
300
|
1000
|
2000
|
4000
|
8000
|
|
Допустимый
СН 2.2.4/2.1.8.562-96
|
83
|
74
|
68
|
63
|
60
|
57
|
55
|
54
|
|
Фактический
|
78
|
62
|
74
|
73.8
|
71
|
68.2
|
67.1
|
66
|
Из таблицы 20 видно, что шум превышает норму
(максимальное отклонение от нормы 40 дБ).
Вследствие многих технологических операций в
ЭСПЦ-2 создаются неблагоприятные условия для труда обслуживающего персонала.
Во время обработки стали на УПСА происходят
различные химические реакции, которые сопровождаются образованием различных
газов. Эти газы содержат продукты выгорания электродов, железа, кремнезема,
глинозема и других элементов, а также различные испарения.
В данном дипломном проекте разработана
автоматизированная система сбора, обработки и отображения информации на УПСА,
которая позволяет производить более точный контроль за ходом внепечной
обработки стали благодаря применению специальных программ и алгоритмов,
реализуемых посредством ЭВМ, что облегчает труд работников (оператора УПСА).
Автоматизированная система основывается на
использовании средств вычислительной техники. Работа обслуживающего персонала
производится сидя, стоя, или связана с ходьбой, не требует систематического
физического напряжения и относится к категории "легкая". Монотонная работа
за компьютером вызывает быструю утомляемость человека, приводит к ухудшению его
здоровья и повышает расход энергии от 60 до 100%. Работники вычислительного
центра (ВЦ) подвергаются воздействию вредных и опасных факторов
производственной среды:
опасность поражения электрическим током
(U=5-220В, I=0,01-25А) при контакте с токоведущими проводами, корпусами ЭВМ,
оказавшимися под напряжением в результате пробоя изоляции;
электромагнитные поля;
статическое электричество;
шум работающей вентиляции и подвижных частей ЭВМ,
шум печатающих устройств;
психоэмоциональное напряжение зрительного
аппарата с появлением жалоб на неудовлетворенность работой, головную боль и др.
Опасные и вредные факторы не превышают
допустимых значений (СанПиН 2.2.2.542-96). Для снижения риска заболеваний в ВЦ
соблюдаются требования к параметрам микроклимата и требованиям безопасности
работы с компьютером.
Для достижения нормативных параметров
микроклимата предусматривается кондиционирование воздуха, что позволяет достичь
постоянства температуры, относительной влажности, подвижности и чистоты
воздуха. Для повышения надежности предусматривается блокировка кондиционеров
попарно по приточным и рециркуляционным воздуховодам, дублирование наиболее
важных элементов системы (вентиляционные агрегаты, компрессоры, насосы) или
целиком кондиционеров.
Системы кондиционирования воздуха имеют
устройства, обеспечивающие автоматическое регулирование, контроль, блокировку и
дистанционное управление со световой сигнализацией. Подача охлажденного воздуха
к устройствам ЭВМ производится из подпольного пространства или по воздуховодам,
подсоединенным к устройствам ЭВМ. Помещение ВЦ оборудовано общеобменной
вентиляцией в соответствии со СНиП 2.04.05.-91*. Системы вентиляции и
кондиционирования воздуха оснащены устройствами для виброизоляции и защиты от
шума, обеспечивающими допустимые уровни звукового давления и уровни звука на
рабочих местах в помещениях. Ввиду использования вычислительной техники,
предусматривается защита от шума и вибрации. Вибрация от внешних воздействий и
работы оборудования в помещении с частотой 25 Гц не должна превышать амплитуды
0.1 мм, а уровень звука не должен быть больше 60 дБ. Вибрирующее оборудование
выносится в помещение с ограниченным числом обслуживающего персонала,
используются перегородки из бетона, покрытие пола демпфирующим покрытием. Стены
и потолки производственных помещений, где устанавливаются ЭВМ, телетайпные
аппараты и другое оборудование, являющееся источником шума, облицованы
звукопоглощающим материалом.
В помещениях ВЦ предусматривается совмещенное
освещение: естественное и искусственное в соответствии со СНиП 23-05-95.
Искусственное освещение в помещениях ВЦ осуществляется с помощью люминесцентных
ламп ЛБ-80 в светильниках общего освещения: светильники располагаются над
рабочими поверхностями в шахматном порядке. Осветительные установки
обеспечивают равномерную освещенность с помощью отраженного и рассеянного
светораспределения. Для исключения бликов отражения на экранах от светильников
общего освещения применяются специальные антибликовые сетки и фильтры для
экранов, защитные козырьки. Источники света по отношению к рабочему месту
расположены таким образом, чтобы исключить попадания в глаза прямого света.
Защитный угол арматуры у этих источников должен быть не менее 30°.
Для защиты от статического электричества в
помещениях ВЦ используют нейтрализаторы и увлажнители, а полы имеют
антистатическое покрытие.